Главная // Актуальные документы // ГОСТ (Государственный стандарт)СПРАВКА
Источник публикации
М.: Издательство стандартов, 1989
Примечание к документу
Документ утратил силу с 01.03.2023 в связи с изданием Приказа Росстандарта от 14.07.2022 N 629-ст. Взамен введен в действие
ГОСТ 8420-2022.
С 01.07.2003 до вступления в силу технических регламентов акты федеральных органов исполнительной власти в сфере технического регулирования носят рекомендательный характер и подлежат обязательному исполнению только в части, соответствующей целям, указанным в
пункте 1 статьи 46 Федерального закона от 27.12.2002 N 184-ФЗ.
Ограничение срока действия снято с 01.07.1988 Постановлением Госстандарта СССР от 29.09.1987 N 3821.
Документ
введен в действие с 01.01.1975.
Взамен ГОСТ 8420-57.
Название документа
"ГОСТ 8420-74 (СТ СЭВ 1443-78). Материалы лакокрасочные. Методы определения условной вязкости"
(утв. Постановлением Госстандарта СССР от 17.05.1974 N 1219)
(ред. от 01.10.1987)
"ГОСТ 8420-74 (СТ СЭВ 1443-78). Материалы лакокрасочные. Методы определения условной вязкости"
(утв. Постановлением Госстандарта СССР от 17.05.1974 N 1219)
(ред. от 01.10.1987)
Утвержден и введен в действие
Постановлением Госстандарта СССР
от 17 мая 1974 г. N 1219
ГОСУДАРСТВЕННЫЙ СТАНДАРТ СОЮЗА ССР
МАТЕРИАЛЫ ЛАКОКРАСОЧНЫЕ
МЕТОДЫ ОПРЕДЕЛЕНИЯ УСЛОВНОЙ ВЯЗКОСТИ
Paint and Lacquer Materials.
Method for determination of relative viscosity
ГОСТ 8420-74
(СТ СЭВ 1443-78)
| | Список изменяющих документов (в ред. Изменения N 1, утв. в марте 1988 г., Изменения N 2, утв. в октябре 1987 г.) | |
Дата введения
1 января 1975 года
1. Разработан и внесен Министерством химической промышленности СССР.
Исполнители: А.И. Непомнящий, К.Т. Сулимова, Р.Е. Шмайн.
2. Утвержден и введен в действие Постановлением Государственного комитета стандартов Совета Министров СССР от 17.05.1974 N 1219.
3. Периодичность проверки - 5 лет.
4. Стандарт содержит все требования СТ СЭВ 1443-78, в стандарт введен международный стандарт ИСО 2431-84.
5. Взамен ГОСТ 8420-57.
6. Ссылочные нормативно-технические документы
───────────────────────────────┬──────────────────────────────────
Обозначение НТД, │ Номер пункта, Приложения
на который дана ссылка │
───────────────────────────────┼──────────────────────────────────
ИС МЕГАНОРМ: примечание.
Взамен ГОСТ 33-82 Постановлением Госстандарта РФ от 27.03.2001
N 137-ст с 1 января 2002 года введен в действие ГОСТ 33-2000.
7. Постановлением Госстандарта СССР от 29.09.1987 N 3821 ограничение срока действия снято с 01.07.1988.
8. Переиздание (август 1988 г.) с Изменениями N 1, 2, утвержденными в марте 1988 г. и октябре 1987 г. (ИУС 5-80, 1-88).
Настоящий стандарт распространяется на лакокрасочные материалы и относящиеся к ним продукты - ньютоновские или приближающиеся к ним жидкости (полуфабрикаты, смолы и т.д.).
За условную вязкость лакокрасочных материалов, обладающих свободной текучестью, принимают время непрерывного истечения в секундах определенного объема испытуемого материала через калиброванное сопло вискозиметра типа ВЗ-246.
За условную вязкость лакокрасочных материалов густой консистенции, определяемую шариковым вискозиметром, принимают время прохождения в секундах стального шарика между двумя метками вертикально установленной стеклянной трубки вискозиметра, наполненной испытуемым материалом.
(Измененная редакция, Изм. N 2).
1. АППАРАТУРА, МАТЕРИАЛЫ И ОБОРУДОВАНИЕ
1.1. Для определения условной вязкости применяют:
1.1.1. (Исключен, Изм. N 2).
1.1.2. Вискозиметр типа ВЗ-246 с диаметром сопла 2, 4 и 6 мм и вместимостью не менее (100 +/- 1) см3 по
ГОСТ 9070-75.
Размер диаметра сопла вискозиметра указывают в нормативно-технической документации на лакокрасочный материал (
Приложения 1,
2).
Допускалось до 01.01.1993 применять вискозиметры ВЗ-1 с диаметрами сопла 2,5 и 5,4 мм и ВЗ-4 с диаметром сопла 4 мм.
Примечание. Допускается использование вискозиметров другой конфигурации и размеров, если это установлено в нормативно-технической документации на лакокрасочный материал. В этом случае результаты испытаний отличаются от результатов испытаний по стандартному вискозиметру.
(Измененная редакция, Изм. N 2).
--------------------------------
<*> Рекомендуемые размеры.
<**> Конструкция нижней части может предусматривать взаимозаменяемые сопла.
Черт. 1
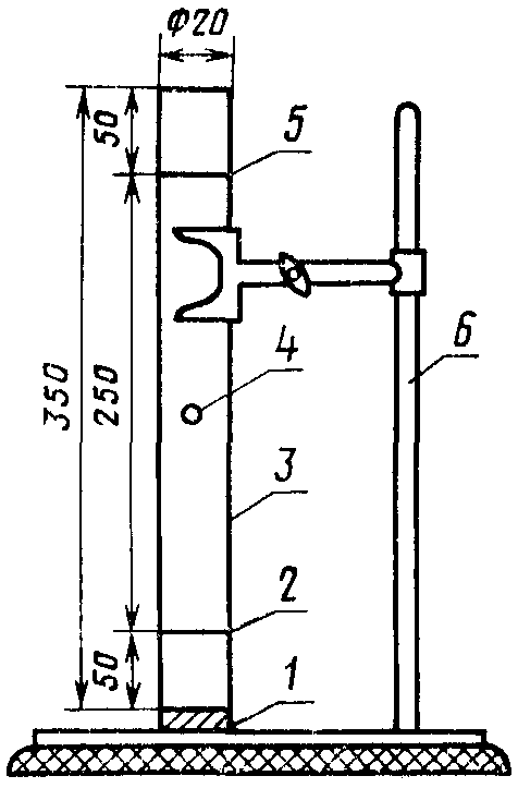
1.1.3. Вискозиметр шариковый (черт. 2), представляющий собой стеклянную трубку 3, нижний конец которой закрыт пробкой 1, в комплекте со стальным шариком 4 диаметром 7,938 мм по
ГОСТ 3722-81.
1 - пробка; 2 - нижняя метка; 3 - трубка;
4 - шарик; 5 - верхняя метка; 6 - штатив
Черт. 2
Стеклянная трубка длиной 350 мм и диаметром 20 мм с нанесенными на ней метками 2 и 5, расстояние между которыми 250 мм, вертикально укреплена в штативе 6.
1.1.4. Штатив для укрепления вискозиметра в горизонтальном положении.
1.1.5. Термометр ртутный стеклянный лабораторный с пределами измерения от 0 до 55 °С и ценой деления шкалы не более 0,5 °С.
1.1.6. Секундомер с погрешностью не более 0,2 с.
1.1.7. Мешалка.
(Введен дополнительно, Изм. N 1).
1.1.8. Сито (сетка N 0,4 - 0,1 по
ГОСТ 6613-86) с диаметром отверстия от 0,1 до 0,4 мм.
1.1.9. Термостат, обеспечивающий температуру (20 +/- 0,5) °С.
1.1.10. Пластина из стекла размером не менее 90 х 120 мм или алюминиевый диск диаметром не менее 55 мм.
1.1.11. Сосуд вместимостью 110 - 150 см3.
1.1. (Измененная редакция, Изм. N 1, 2).
1.1.13. (Введен дополнительно, Изм. N 2).
2. ПОДГОТОВКА К ИСПЫТАНИЮ
2.1. Пробу испытуемого материала, отобранную в соответствии с
ГОСТ 9980.2-86, перед определением условной вязкости тщательно перемешивают, избегая образования в ней пузырьков воздуха. Испытуемый лакокрасочный материал должен быть однородным. Для устранения посторонних веществ образец перемешивают, фильтруют через сито и непосредственно перед измерением снова тщательно перемешивают.
2.2. Испытание проводят при температуре воздуха (20 +/- 2) °С. Вискозиметр и испытуемый материал непосредственно перед испытанием должны иметь температуру (20 +/- 0,5) °С.
2.3. Вискозиметр и особенно сопло тщательно очищают растворителем.
2.1 - 2.3. (Измененная редакция, Изм. N 1).
2.4. При необходимости температуру испытуемого материала в шариковом вискозиметре поддерживают помещением стеклянной трубки вискозиметра, заполненной испытуемым материалом, в стакан с водой необходимой температуры.
3.1. Определение условной вязкости по вискозиметру типа ВЗ-1
В ванну вискозиметра наливают воду для поддержания температуры испытуемого материала (20 +/- 0,5) °С, закрывают сопло стержнем и во внутренний резервуар наливают испытуемый материал до уровня остриев крючков; при помощи установочных винтов штатива вискозиметр устанавливают так, чтобы все три острия крючков находились в одной плоскости и были едва заметны на поверхности испытуемого материала. Внутренний резервуар закрывают крышкой, в отверстие которой вставляют термометр, под сопло вискозиметра ставят мензурку. После поднятия пузырьков воздуха на поверхность испытуемого материала и при его температуре (20 +/- 0,5)°С быстро вынимают стержень, одновременно с появлением испытуемого материала из сопла вискозиметра включают секундомер. Когда испытуемый материал в мензурке достигнет точно уровня метки 50 см3, секундомер останавливают и отсчитывают время истечения с погрешностью не более 0,2 с.
3.2. Определение условной вязкости по вискозиметру типа ВЗ-246 (и ВЗ-4)
Вискозиметр помещают в штатив и с помощью уровня устанавливают в горизонтальном положении. Под сопло вискозиметра ставят сосуд. Отверстие сопла закрывают пальцем, испытуемый материал наливают в вискозиметр с избытком, чтобы образовался выпуклый мениск над верхним краем вискозиметра. Наполняют вискозиметр медленно, чтобы предотвратить образование пузырьков воздуха. Избыток материала и образовавшиеся пузырьки воздуха удаляют при помощи стеклянной пластинки или алюминиевого диска, сдвигаемых по верхнему краю воронки в горизонтальном направлении таким образом, чтобы не образовалось воздушной прослойки.
Открывают отверстие сопла и одновременно с появлением испытуемого материала из сопла включают секундомер. В момент первого прерывания струи испытуемого материала секундомер останавливают и отсчитывают время истечения.
(Измененная редакция, Изм. N 1, 2).
3.3. Определение условной вязкости по шариковому вискозиметру
3.3.1. Определение условной вязкости прозрачных лакокрасочных материалов
Стеклянную трубку вискозиметра устанавливают вертикально и заполняют испытуемым материалом на 1 - 2 см выше верхней метки. В случае образования пузырьков воздуха их удаляют стеклянной палочкой после поднятия на поверхность. Затем свободно опускают стальной шарик в центр трубки и в момент достижения нижним краем шарика верхней метки включают секундомер. Когда шарик достигнет нижним краем нижней метки трубки, секундомер останавливают и отсчитывают время прохождения шарика в секундах между двумя метками трубки вискозиметра с погрешностью не более 0,2 с.
3.3.2. Определение условной вязкости непрозрачных материалов
В вертикально установленную стеклянную трубку до нижней метки наливают глицерин, а затем трубку вискозиметра заполняют испытуемым материалом до верхней метки. Далее испытание проводят по
п. 3.3.1. Вместо глицерина можно применять другую прозрачную жидкость, не смешивающуюся с испытуемым материалом.
3.4. Определение условной вязкости во всех типах вискозиметров проводят не менее трех раз. Повторное измерение проводят сразу после окончания предыдущего (без очистки вискозиметра) путем заполнения новой порцией испытуемого материала. После окончания измерения вискозиметр тщательно очищают растворителем, особенно осторожно очищая сопло, чтобы предотвратить его повреждение.
(Измененная редакция, Изм. N 1, 2).
4.1. За результат испытания принимают среднее арифметическое результатов не менее трех измерений времени истечения в секундах.
Для вискозиметров типов ВЗ-1 и ВЗ-4 условную вязкость (X) вычисляют по формуле

,
где t - среднее арифметическое значение времени истечения испытуемого материала, с;
К - поправочный коэффициент вискозиметра.
Допускаемые отклонения отдельных определений времени истечения от среднеарифметического значения при проведении испытания одним исполнителем не должны превышать +/- 3%, при проведении испытания разными исполнителями +/- 5%.
(Измененная редакция, Изм. N 1, 2).
4.1.1. Поправочный коэффициент для вискозиметров типов ВЗ-1 и ВЗ-4 определяют по
Приложению 3.
(Измененная редакция, Изм. N 2).
4.2. За величину условной вязкости, определенной по шариковому вискозиметру, принимают среднее арифметическое значение трех параллельных определений времени прохождения стального шарика между двумя метками вискозиметра.
Допускаемые отклонения отдельных определений от среднего значения не должны превышать +/- 2,5%.
4.3. (Исключен, Изм. N 2).
Справочное
ОПТИМАЛЬНОЕ ВРЕМЯ ИСТЕЧЕНИЯ
ИЗ ВИСКОЗИМЕТРА ТИПА ВЗ-246 С СОПЛАМИ РАЗНОГО ДИАМЕТРА
(ОРИЕНТИРОВОЧНЫЕ ПОКАЗАТЕЛИ)
──────────────────┬─────────────────────┬─────────────────────────
Тип вискозиметра │ Диаметр сопла │ Оптимальный диапазон
│ вискозиметра, мм │ времени истечения, с
──────────────────┼─────────────────────┼─────────────────────────
ВЗ-246 │ 2 │ От 70 до 300
│ 4 │ " 20 " 200
│ 6 │ " 20 " 200
Примечание. Допускается измерять вискозиметром с диаметром сопла 4 мм время истечения от 12 до 200 с при разбавлении материала до рабочей вязкости.
(Измененная редакция, Изм. N 2).
Справочное
ЗАВИСИМОСТЬ ВРЕМЕНИ ИСТЕЧЕНИЯ (с) ОТ ВЯЗКОСТИ (мм2/с)
ЛАКОКРАСОЧНОГО МАТЕРИАЛА В ВИСКОЗИМЕТРАХ
С РАЗЛИЧНЫМ ДИАМЕТРОМ СОПЛА
(Введено дополнительно, Изм. N 1).
Справочное
УСТАНОВЛЕНИЕ ПОПРАВОЧНОГО КОЭФФИЦИЕНТА
ДЛЯ ВИСКОЗИМЕТРОВ ТИПОВ ВЗ-1 И ВЗ-4
(ПОВЕРКА ВИСКОЗИМЕТРОВ)
1.1. Поправочный коэффициент для вискозиметров устанавливают сравнением времени истечения контрольной жидкости из контрольного и поверяемого вискозиметров при (20 +/- 0,2) °С.
1.2. Для установления поправочного коэффициента применяют следующие контрольные жидкости: авиационное масло марки МС-20 или марки МК-22 по
ГОСТ 21743-76 - для вискозиметра типа ВЗ-1 с диаметром сопла 5,4 мм;
смесь, 1 ч трансформаторного масла по
ГОСТ 982-80 и 0,5 ч авиационного масла марки МС-20 или марки МК-22 - для вискозиметра типа ВЗ-1 с диаметром сопла 2,5 мм;
смесь, 1 ч трансформаторного масла и 2 ч авиационного масла марки МС-20 или марки МК-22 - для вискозиметра типа ВЗ-4.
1.3. Поправочный коэффициент (К) вычисляют по следующей формуле

,
где

- время истечения контрольной жидкости из контрольного вискозиметра, с;

- время истечения контрольной жидкости из поверяемого вискозиметра, с.
Величина поправочного коэффициента должна быть в пределах от 0,9 до 1,1.
Не допускается определение условной вязкости по вискозиметрам с величиной поправочного коэффициента менее 0,9 и более 1,1. Величина поправочного коэффициента должна быть указана в паспорте на вискозиметр.
Установление поправочного коэффициента вискозиметров, находящихся в работе, проводят один раз в год и величину поправочного коэффициента указывают в соответствующем документе о поверке вискозиметра.
1.4. Допускается при отсутствии контрольного вискозиметра время истечения контрольной жидкости (

) в секундах вычислять по следующим формулам:
для вискозиметра типа ВЗ-1 с диаметром сопла 5,4 мм

;
для вискозиметра типа ВЗ-1 с диаметром сопла 2,5 мм

;
для вискозиметра типа ВЗ-4

,
| | ИС МЕГАНОРМ: примечание. Взамен ГОСТ 33-82 Постановлением Госстандарта РФ от 27.03.2001 N 137-ст с 1 января 2002 года введен в действие ГОСТ 33-2000. | |
где

- кинематическая вязкость контрольной жидкости, определяемая по ГОСТ 33-82, при (20 +/- 0,2) °С, сСт.