Главная // Актуальные документы // ГОСТ (Государственный стандарт)СПРАВКА
Источник публикации
М.: ИПК Издательство стандартов, 1996
Примечание к документу
С 01.07.2003 до вступления в силу технических регламентов акты федеральных органов исполнительной власти в сфере технического регулирования носят рекомендательный характер и подлежат обязательному исполнению только в части, соответствующей целям, указанным в
п. 1 ст. 46 Федерального закона от 27.12.2002 N 184-ФЗ.
Документ
введен в действие с 01.01.1997.
Взамен ГОСТ 127-76 (в части методов анализа).
Название документа
"ГОСТ 127.2-93. Межгосударственный стандарт. Сера техническая. Методы испытаний"
(введен в действие Постановлением Госстандарта России от 21.03.1996 N 199)
"ГОСТ 127.2-93. Межгосударственный стандарт. Сера техническая. Методы испытаний"
(введен в действие Постановлением Госстандарта России от 21.03.1996 N 199)
Введен в действие
по стандартизации, метрологии
и сертификации
от 21 марта 1996 г. N 199
МЕЖГОСУДАРСТВЕННЫЙ СТАНДАРТ
СЕРА ТЕХНИЧЕСКАЯ
МЕТОДЫ ИСПЫТАНИЙ
Sulphur for industrial use.
Test methods
ГОСТ 127.2-93
Дата введения
1 января 1997 года
1. Разработан Научно-исследовательским и проектным институтом серной промышленности с опытным заводом, Украина.
Внесен Техническим секретариатом Межгосударственного совета по стандартизации, метрологии и сертификации.
2. Принят Межгосударственным советом по стандартизации, метрологии и сертификации 21 октября 1993 г. (приказом N 1 к протоколу N 4-93).
За принятие проголосовали:
Наименование государства | Наименование национального органа по стандартизации |
Республика Армения | Армгосстандарт |
Республика Белоруссия | Белстандарт |
Республика Казахстан | Госстандарт Республики Казахстан |
Республика Молдова | Молдовастандарт |
Российская Федерация | Госстандарт России |
Туркменистан | Туркменглавгосинспекция |
Республика Узбекистан | Узгосстандарт |
Украина | Госстандарт Украины |
3.
Постановлением Комитета Российской Федерации по стандартизации, метрологии и сертификации от 21.03.96 N 199 межгосударственный стандарт ГОСТ 127.2-93 введен в действие непосредственно в качестве государственного стандарта с 1 января 1997 г.
4. Взамен ГОСТ 127-76 (в части методов анализа).
Ссылочные нормативно-технические документы:
Обозначение НТД, на который дана ссылка | Номер пункта, подпункта |
| |
| |
| |
| |
| |
| |
| |
| |
| |
| |
| |
| |
| |
| |
| |
| |
| |
| |
| |
| |
| |
| |
| |
| |
| |
| |
| |
| |
| |
| |
| |
| |
| |
| |
| |
| |
| |
|
|
ГОСТ 7328-82 | |
| |
| |
| |
| |
| |
| |
| |
| |
| |
| |
| |
| |
| |
| |
| |
|
|
ГОСТ 24104-88 | |
| |
| |
| |
Настоящий стандарт распространяется на техническую серу жидкую, комовую и молотую и устанавливает методы испытания ее физических и химических свойств.
1.1. Пределы применения методов указаны в таблице 1.
Таблица 1
Определяемый показатель | Метод анализа | Пределы применения метода, массовая доля элемента, % | Раздел, пункт стандарта, содержащий метод анализа |
1. Сера | Расчетный | - | |
2. Зола | Весовой | От 0,007 до 0,4 | |
3. Кислоты | Титриметрический | Более 0,001 | |
4. Органические вещества | Газообъемный | Более 0,005 | |
Спектральный | " | |
Весовой | " | |
Экстракционный | " | |
5. Мышьяк | Фотометрический с применением диэтилдитиокарбамата серебра | От 0,00005 до 0,005 | |
Спектральный | От 0,0001 до 1,0 | |
Фотометрический с применением молибденовой сини | От 0,005 до 0,1 | |
6. Селен | Фотометрический с применением 3,3'-диаминобензидина | От 0,0005 до 0,04 | |
Фотометрический с применением сернокислого гидразина | " | |
7. Железо | Фотометрический с применением О-фенантролина | От 0,002 до 0,2 | |
Спектральный | От 0,001 до 1 | |
8. Марганец | Фотометрический с применением формальдегидоксима | От 0,0005 до 0,002 | |
Фотометрический с применением йоднокислого калия | " | |
Спектральный | От 0,001 до 1 | |
9. Медь | Фотометрический с применением диэтилдитиокарбамата свинца | От 0,0005 до 0,001 | |
Фотометрический с применением диэтилдитиокарбамата натрия | От 0,0002 до 0,002 | |
Спектральный | От 0,001 до 1 | |
10. Вода | Весовой | Более 0,001 | |
11. Гранулометрический состав | Весовой | От 0,001 до 0,01 | |
1.2. Установленная доверительная вероятность (P), с которой погрешность определений находится в границах, указанных в методах анализа, равна 0,95.
1.3. Результаты анализов округляют до значащих цифр в соответствии с нормами, установленными стандартами на соответствующий вид серы.
1.4. При проведении анализов и приготовлении растворов реактивов в случае, если нет других указаний, применяют:
- реактивы квалификации не ниже чистый для анализа (ч.д.а.);
- весы лабораторные общего назначения 2-го класса точности по ГОСТ 24104 с наибольшим пределом взвешивания 200 г;
- набор гирь общего назначения 2-го класса точности по ГОСТ 7328 массой 210 г.
1.5. Допускается использовать для контроля качества любые методы, средства измерения и аппаратуру, прошедшие метрологическую аттестацию и имеющие точностные характеристики не ниже приведенных в настоящем стандарте. При разногласиях в оценке качества определение проводят методами настоящего стандарта.
1.7. Градуировочные графики строят один раз в три месяца и после каждой замены реактивов.
При построении градуировочных графиков каждая точка должна представлять собой среднее арифметическое результатов трех параллельных измерений.
2. ОПРЕДЕЛЕНИЕ МАССОВОЙ ДОЛИ СЕРЫ
Массовую долю серы в пересчете на сухое вещество

, вычисляют по формуле

, (1)
где

- массовая доля золы, определенная по разд. 3, %;

- массовая доля кислот в пересчете на серную кислоту, определенная по
разд. 4, %;

- массовая доля органических веществ, определенная по
разд. 5, %.
3. ОПРЕДЕЛЕНИЕ МАССОВОЙ ДОЛИ ЗОЛЫ
3.1. Сущность метода
Метод основан на весовом определении массы остатка после прокаливания пробы при температуре (800 +/- 10) °C.
- электропечь сопротивления лабораторная типа СНОЛ, обеспечивающая устойчивую температуру нагрева (800 +/- 10) °C;
3.3. Проведение анализа
(20,0 +/- 0,1) г пробы помещают в чашу, предварительно прокаленную и доведенную до постоянной массы. Чашу устанавливают на электрическую плитку, слегка расплавляют серу и поджигают. Температуру нагрева поддерживают около 220 °C, чтобы сера медленно горела в течение 30 мин до полного сгорания серы. Затем чашу помещают в электропечь, прокаливают при температуре (800 +/- 10) °C до постоянной массы, охлаждают в эксикаторе и взвешивают. Результаты всех взвешиваний в граммах записывают с точностью до третьего десятичного знака.
Если массовая доля золы в сере менее 0,02%, допускается увеличивать навеску до 50,0 г.
3.4. Обработка результатов
Массовую долю золы

, вычисляют по формуле

, (2)
где

- масса остатка после прокаливания в электропечи, г;
m - масса анализируемой пробы, г.
За результат анализа принимают среднее арифметическое результатов двух параллельных определений, абсолютное допускаемое расхождение между которыми, а также абсолютная суммарная погрешность результатов анализа не превышают значений, указанных в таблице 2.
Таблица 2
В процентах
Массовая доля золы | Допускаемое расхождение | Суммарная погрешность |
От 0,007 до 0,030 включ. | 0,004 | 0,002 |
Св. 0,030 до 0,070 " | 0,010 | 0,006 |
" 0,07 до 0,10 " | 0,02 | 0,01 |
" 0,10 до 0,30 " | 0,03 | 0,01 |
" 0,30 до 0,40 " | 0,07 | 0,03 |
4. ОПРЕДЕЛЕНИЕ МАССОВОЙ ДОЛИ КИСЛОТ
В ПЕРЕСЧЕТЕ НА СЕРНУЮ КИСЛОТУ
4.1. Сущность метода
Метод основан на экстракции кислых веществ с помощью воды и титровании полученного экстракта гидроокисью натрия или гидроокисью калия в присутствии фенолфталеина.
4.2. Аппаратура, реактивы и растворы:
- пипетка вместимостью 100 см3;
- бюретки вместимостью 5 и 10 см3;
- бумага фильтровальная лабораторная по
ГОСТ 12026;
- фенолфталеин (индикатор), спиртовой раствор с массовой долей 1%;
- калия гидроокись по
ГОСТ 24363 или натрия гидроокись по
ГОСТ 4328, раствор концентрации c (KOH, NaOH) = 0,01 моль/дм3 (0,01 н.);
- вода дистиллированная, не содержащая

; готовят по
ГОСТ 4517.
4.3. Проведение анализа
(50 +/- 1) г серы взвешивают, записывая результат взвешивания в граммах с точностью до трех десятичных знаков, помещают в стакан, смачивают 25 см3 этилового спирта и добавляют 200 см3 воды. Содержимое стакана перемешивают, стакан накрывают часовым стеклом и кипятят в течение 15 - 20 мин, периодически перемешивая. После охлаждения содержимое стакана фильтруют через складчатый бумажный фильтр в мерную колбу, доводят объем раствора до метки водой, не содержащей

, и тщательно перемешивают. 100 см3 фильтрата отбирают в коническую колбу, титруют из бюретки раствором гидроокиси калия или натрия в присутствии фенолфталеина до светло-розовой окраски, не исчезающей в течение 1 минуты. Допускается проводить титрование с помощью потенциометра, принимая за точку эквивалентности (окончание титрования) pH = 8,2 - 8,3.
Одновременно проводят контрольный опыт с раствором, содержащим воду и спирт в тех же условиях и с тем же количеством реактивов, но без анализируемого продукта.
4.4. Обработка результатов
Массовую долю кислот в пересчете на серную кислоту

, вычисляют по формуле

, (3)
где

- объем раствора гидроокиси натрия или калия, израсходованный на титрование анализируемого раствора, см3;

- объем раствора гидроокиси натрия или калия, израсходованный на титрование раствора контрольной пробы, см3;
0,00049 - масса серной кислоты, соответствующая 1 см3 раствора гидроокиси натрия или калия концентрации точно 0,01 моль/дм3, г;
m - масса навески серы, г;
K - поправочный коэффициент для приведения концентрации раствора гидроокиси натрия или калия точно к 0,01 моль/дм3.
За результат анализа принимают среднее арифметическое результатов двух параллельных определений, абсолютное допускаемое значение расхождений между которыми, а также абсолютные значения суммарной погрешности результата анализа не превышают значений, указанных в таблице 3.
Таблица 3
В процентах
Массовая доля кислот | Допускаемое расхождение | Суммарная погрешность |
От 0,0010 до 0,0020 включ. | 0,0002 | 0,0001 |
Св. 0,0020 до 0,0060 " | 0,0003 | 0,0002 |
" 0,060 до 0,0200 " | 0,0010 | 0,0006 |
" 0,020 | 0,001 | 0,001 |
5. ОПРЕДЕЛЕНИЕ МАССОВОЙ ДОЛИ ОРГАНИЧЕСКИХ ВЕЩЕСТВ
5.1.1. Сущность метода
Метод основан на сжигании пробы серы в печи в токе кислорода и поглощении выделившейся двуокиси углерода раствором гидроокиси калия.
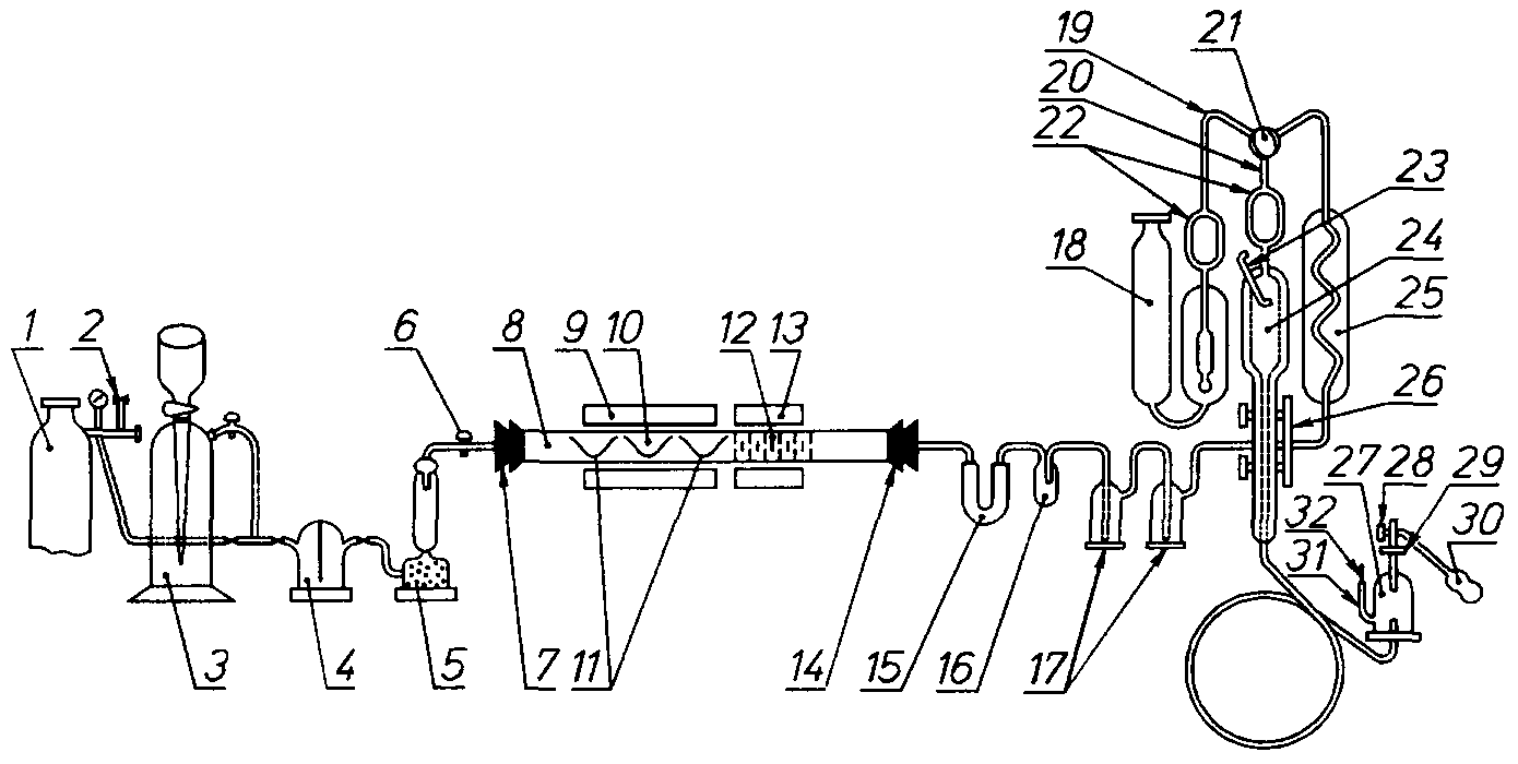
5.1.2. Аппаратура, реактивы и растворы:
1 - кислородный баллон, 2 - редуктор; 3 - газометр
6 - соединительный стеклянный кран К1Х по
ГОСТ 7995;
7, 14 - пробки; 8 - трубка из прозрачного кварцевого стекла
или фарфоровая; 9 - печь трубчатая, обеспечивающая
устойчивую температуру нагрева (850 +/- 50) °C;
10, 11 - лодочка ЛСГ по
ГОСТ 9147; 12 - медная сетка
или медная проволока ММ-0,5 по ГОСТ 2112;
13 - печь трубчатая, обеспечивающая устойчивую температуру
нагрева (525 +/- 25) °C; 15 - трубка ТХ-2-100
18 - 32 - газоанализатор ГОУ-1
Рисунок 1. Установка для определения углерода
- секундомер;
- пипетка;
- асбест, прокаленный при температуре (800 +/- 25) °C, хранят в эксикаторе;
- стекловата;
- калия гидроокись по
ГОСТ 24363, раствор с массовой долей 35%;
- хрома (VI) окись по
ГОСТ 3776; хромовую смесь готовят следующим образом: 4 г хромового ангидрида растворяют в 10 см3 воды, затем прибавляют небольшими порциями при постоянном помешивании 5 см3 серной кислоты;
- натрий сернокислый 10-водный по
ГОСТ 4171, раствор с массовой долей 20% или натрий сернокислый безводный по
ГОСТ 4166, раствор с массовой долей 10%, насыщенный углекислым газом или кислородом. К раствору прибавляют 5 - 6 капель серной кислоты и несколько капель метилового оранжевого (затворная жидкость);
- кальций или барий кремнекислый, не содержащий

; при наличии

кремнекислый кальций или барий прокаливают в электропечи сопротивления, затем в трубе для сжигания при (950 +/- 10) °C в токе кислорода или сернистого газа;
- окись меди гранулированная по
ГОСТ 16539, медная сетка, проволока или стружка;
- метиловый оранжевый (индикатор), водный раствор с массовой долей 0,1%;
- калий марганцовокислый по
ГОСТ 20490, раствор с массовой долей 5%;
- аскарит;
- кальций хлористый;
- образец сравнения серы с массовой долей углерода 0,03% для серы сортов 9998, 9995, 9990 и 0,15% - для других сортов. Образец сравнения готовят по
5.2.3.
5.1.3. Подготовка к анализу
В печи 9 и 13 вставляют кварцевую или фарфоровую трубку 8, которая должна выступать из печей не менее чем на 175 мм с каждой стороны. Оба конца трубы закрывают пробками 7 и 14, в отверстия которых вставлены одноходовые стеклянные краны 6.
В трубу 8 печи 13 между асбестовыми пробками помещают медную сетку 12, свернутую в виде цилиндра, пересыпанную кремнекислым кальцием (барием), не содержащим

. Вместо сетки можно применять медную проволоку, медную стружку или окись меди.
Для сжигания пробы серы в печь подают кислород из баллона 1 с редуктором 2 или из газометра 3. Кислород очищают, пропуская через склянку Тищенко 4, содержащую раствор марганцовокислого калия в растворе гидроксида калия, затем через колонку 5 для сухих поглотителей, наполненную внизу стеклянными бусами, а вверху - аскаритом и хлористым кальцием, разделенными стеклянной или гигроскопической ватой. Подачу кислорода регулируют краном 6.
Газы из печи для очистки от продуктов сгорания серы пропускают последовательно через U-образную трубку 15, наполненную стеклянной или гигроскопической ватой (для удержания твердых частиц, увлекаемых газом, и конденсирующегося тумана серной кислоты), через буферную склянку 6, препятствующую перебрасыванию хромового ангидрида в U-образную трубку 15, через две поглотительные склянки 17, содержащие по 50 см3 раствора хромового ангидрида в серной кислоте. После этого газ поступает в газоанализатор типа ГОУ-1 для измерения объема углекислого газа.
Газоанализатор типа ГОУ-1 состоит из газоизмерительной бюретки (эвдиометра) <*> 24 вместимостью 250 см3 с автоматическим затвором-поплавком 22, термометром 23 и шкалой 26, холодильника 25 и поглотительного сосуда 18, наполненного раствором гидроксида калия и снабженного автоматическим затвором-поплавком 22. Деления шкалы показывают процентное содержание углерода в сере при навеске 1 г.
--------------------------------
<*> При определении углерода в сере сортов 9998 и 9995 используется микроэвдиометр с делением шкалы 0 - 0,25%.
Бюретка 24 имеет двойные стенки (рубашку), пространство между которыми через специальное отверстие вверху бюретки заполняется водой для поддержания постоянной температуры.
Уравнительная склянка 27 имеет боковую трубку 31, закрываемую пробку 32. Склянку 27 наливают от 400 до 500 см3 водного раствора сернокислого натрия и закрывают резиновой пробкой 29, в отверстие которой вставлен трехходовой кран 28 с резиновой грушей 30.
При помощи груши газовую смесь перекачивают из бюретки 24 в поглотительный сосуд 18 и обратно.
Перед началом работы печи 9 и 13 нагревают до температуры (850 +/- 50) °C и (525 +/- 25) °C соответственно. Проверяют все соединения и краны на герметичность и приводят аппарат в рабочее состояние. Для этого кран 21 гребенки 19 ставят в положение, при котором бюретка 24, поглотительный сосуд 18 и холодильник 25 разобщены между собой. Открыв кран 29 на соединение бюретки 24 с атмосферой, с помощью уравнительной склянки 27 и груши 30 наполняют бюретку 24 затворной жидкостью (при этом кран 28 уравнительной склянки 27 ставят в положение разобщения с атмосферой, а трубку 31 закрывают пробкой 32).
Как только жидкость заполнит бюретку 24, кран 20 закрывают, кран 21 ставят в положение, при котором бюретка 24 соединена с поглотительным сосудом 18. Кран 28 уравнительной склянки 27 ставят на соединение с атмосферой, жидкость при этом из бюретки 24 начинает стекать в склянку 27, уровень раствора щелочи в поглотительном сосуде 18 при этом повышается, поднимая поплавок 22.
Как только поплавок закроет выход из поглотительного сосуда 18, кран 21 гребенки 19 ставят в положение, при котором бюретка 24, поглотительный сосуд 18 и холодильник 25 разобщены между собой. Малый кран 20 снова ставят на соединение бюретки с атмосферой и точно так же, как указано выше, при помощи уравнительной склянки 27, крана 28 и груши 30 наполняют бюретку 24 жидкостью до верхнего предела (поплавок закрывает выход из бюретки).
Когда бюретка 24 заполнится жидкостью, кран 20 закрывают, а кран 28 уравнительной склянки 27 ставят на соединение с атмосферой.
Если прибор герметичен, то поглотительный сосуд 18 остается заполненным, а уровень жидкости в бюретке остается без изменений. Постоянство уровня наблюдают, когда жидкость находится в узкой части бюретки 24, отсчет проводят по делениям шкалы 26.
Если уровни растворов опускаются, то прибор не герметичен, его следует разобрать, протереть краны, смазать их вазелином и вновь проверить на герметичность.
5.1.4. Условия проведения анализа
Измерительная бюретка должна быть тщательно очищена от загрязнений промывкой хромовой смесью, а затем дистиллированной водой.
При отсчете показаний шкалы бюретки необходимо всегда одинаковым способом подносить трубку 31 уравнительной склянки 27 к бюретке, держа ее так, чтобы жидкость всегда была на одном уровне. Шланг, соединяющий бюретку с уравнительной склянкой, должен находиться всегда в одном положении и не свисать со стола.
Отсчеты показаний бюретки можно проводить только после 15 - 20 с выдержки (измеряют с помощью секундомера), чтобы жидкость могла полностью стечь со стенок.
При появлении в трубке 8 капель серной кислоты кремнекислый кальций (барий) заменяют свежим.
Фарфоровые или кварцевые лодочки длиной 80 - 100 мм прокаливают в печи при 800 - 900 °C и хранят в эксикаторе.
5.1.5. Проведение анализа
В трубку для сжигания 8 при помощи медного крючка вдвигают через отверстие для пробки 7 три лодочки 10 и 11 с кремнекислым кальцием (барием) и включают обогрев печей 9 и 13.
Как только печи нагреются до соответствующих температур, газоанализатор ставят в рабочее положение, а трубку 8 с помощью пробок 7 и 14 соединяют с U-образной трубкой 15 и с краном 6, после чего проводят контрольный опыт, т.е. пропускают ток кислорода через накаленную трубку 8 и наблюдают показания шкалы 26 бюретки 24 до и после поглощения двуокиси углерода.
Как только в системе исчезнет углерод, разность показаний шкалы до и после поглощения двуокиси углерода будет равна нулю или будет давать одно и то же значение величины (1 - 2 деления шкалы), которое вычитают при расчете. Затем работу прибора проверяют по образцу сравнения серы, для этого из трубки 8 печи 9 вынимают лодочки 10 и 11, в лодочку 10 помещают 0,3 - 0,5 г образца сравнения серы, засыпают кремнекислым кальцием (барием). Лодочки 10 и 11 быстро вдвигают с помощью крючка в трубку 8 печи 9 и закрывают трубку резиновой пробкой 7. Открывают кран 6 и пропускают из газометра 3 ток кислорода со скоростью 4 - 5 пузырьков в секунду. Кран 21 должен быть отрегулирован так, чтобы спуск затворной жидкости из бюретки 24 в склянку 27 проходил равномерно (наполнение бюретки 24 газами должно длиться около 1 - 1,5 мин). При этом кран 28 уравнительной склянки 27 ставят на соединение с атмосферой.
Как только узкая (нижняя) часть бюретки заполнится газами и уровень жидкости достигнет нулевого деления шкалы 26, кран 21 ставят в положение разобщения с холодильником 25, бюреткой 24 и поглотителем 18, прекращают подачу кислорода (закрывают кран 6), жидкости дают стечь со стенок и через 15 - 20 с измеряют объем полученной газовой смеси. Для этого с трубки 31 склянки 27 снимают пробку 32 и, перемещая склянку 27 при соответствующем положении крана 28 вдоль бюретки (рядом с ней), достигают положения, при котором уровни жидкости в бюретке 24 и трубке 31 склянки 27 находятся на одном уровне. Записывают показания шкалы 26, трубку 31 закрывают пробкой 32. Краном 28 разобщают склянку 27 с атмосферой, поворотом крана 21 соединяют бюретку 24 с сосудом 18 и с помощью груши 30 газообразные продукты переводят 2 - 3 раза из бюретки 24 в поглотительный сосуд 18 и обратно. При переводе газа в бюретку 24 кран 28 уравнительной склянки ставят в положение сообщения с атмосферой. Записывают показания шкалы. По разности отсчетов до и после поглощения

определяют объем поглощенной двуокиси углерода. После измерения объема поглощенной двуокиси углерода с помощью крана 20 освобождают бюретку от газа, заполняют ее затворной жидкостью и проводят вторичное сжигание. Определение считают законченным, если при контрольном сжигании пробы разность отсчетов до и после поглощения

будет равна нулю. В конце каждого испытания проводят замер температуры и атмосферного давления и по таблице, приложенной к прибору, находят поправку для условий, при которых проводилось определение углерода.
Массовую долю углерода в анализируемой сере определяют так же, как в образце сравнения.
5.1.6. Обработка результатов
Массовую долю углерода

, вычисляют по формуле

, (4)
где V - объем углекислого газа, выраженный в процентах углерода;
K - поправка на температуру и давление;
m - масса навески серы, г.
Массовую долю органического вещества

, вычисляют по формуле

, (5)
где

- массовая доля углерода, %;
1,25 - коэффициент пересчета углерода на органическое вещество.
За результат анализа принимают среднее арифметическое результатов двух параллельных определений, абсолютное допускаемое расхождение между которыми, а также абсолютная суммарная погрешность результатов анализа не превышают значений, указанных в таблице 4.
Таблица 4
В процентах
Массовая доля углерода | Допускаемое расхождение | Суммарная погрешность |
От 0,005 до 0,030 включ. | 0,006 | 0,004 |
Св. 0,030 до 0,060 " | 0,010 | 0,006 |
" 0,06 до 0,20 " | 0,02 | 0,01 |
" 0,20 до 0,50 " | 0,06 | 0,04 |
Газообъемный метод определения содержания углерода является арбитражным.
5.2.1. Сущность метода
Метод основан на фотографировании спектров проб и определении общего углерода по градуировочному графику.
5.2.2. Аппаратура, материалы и реактивы:
- спектрограф ИСП-30 с однолинзовым кварцевым конденсором;
- генератор дуги переменного тока ДГ-2 в режиме низковольтной искры;
- микрофотометр типа ИФО-451 или МФ-2, МФ-4;
- электроды алюминиевые марки АД-1, диаметром 6 мм. На концах электродов высверливается цилиндрический канал, наружным диаметром 3 мм, внутренним 2,5 мм, глубиной 3 - 5 мм. Для работы используются два электрода, заполненных пробой. Алюминиевые электроды, изготовленные на токарном станке или с помощью штампа, протирают и промывают в ацетоне или бензоле для удаления следов смазочных масел, просушивают под тягой и затем на алюминиевом противне обжигают в электропечи при (500 +/- 10) °C в течение 20 мин для удаления следов органических соединений. После охлаждения электроды помещают в закрытую стеклянную банку и хранят в сухом месте;
- пластина алюминиевая размером 24 x 70 x 10 мм для дозировки заполнения электродов пробами, в которой фрезой сделано плоское углубление глубиной 8 мм и размером 16 x 16 мм;
- фольга алюминиевая для хранения образцов;
- проявитель и фиксаж;
- ступка агатовая или стальная хромированная диаметром 90 мм;
- линейка алюминиевая;
- электропечь сопротивления типа СНОЛ, обеспечивающая устойчивую температуру нагрева (500 +/- 10) °C;
- шкаф сушильный типа СНОЛ, обеспечивающий устойчивую температуру (80 +/- 2) °C;
- сера ос.ч. 16-5;
- сера с массовой долей органических веществ 0,3 - 0,5%;
5.2.3. Подготовка к анализу
Для подготовки основного образца измельчают около 50 г серы с массовой долей органических веществ от 0,3 до 0,5%, просеивают и выдерживают в сушильном шкафу при (80 +/- 2) °C в течение 20 ч до постоянной массы. Затем определяют массовую долю органических веществ по
5.1.
За значение массовой доли органических веществ принимают среднее арифметическое результатов десяти параллельных определений.
Образцы сравнения готовят смешением серы основного образца с серой квалификации ос.ч., предварительно измельченной и просеянной через сито. Для этого навески серы основного образца массой 20; 6 и 2 г тщательно смешивают в ступке соответственно с навесками серы квалификации ос.ч. массой 40, 54, 58 г. Результаты всех взвешиваний в граммах записывают с точностью до третьего десятичного знака. Массовая доля углерода в первом образце - 0,1 - 0,2%, втором образце - 0,003 - 0,06% и в третьем образце - 0,01 - 0,02%.
Образцы хранят в стеклянных стаканчиках с притертыми пробками. Образцы сравнения вводят в электроды (верхний и нижний), для чего образец перед съемкой помещают на дозировочную пластину ровным слоем, возвышающимся над пластиной на 3 - 5 мм.
Ребром алюминиевой линейки делают 5 - 6 последовательных надрезов слоя порошка в виде прямоугольной сетки, затем излишек порошка срезают этой же линейкой. Электрод вдавливают в слой порошка до упора в дно пластины и с небольшим поворотом извлекают из него.
Между электродами зажигают низковольтную искру силой тока 6 А. Расстояние между электродами - 2 мм, экспозиция - 25 с, ширина щели - 0,01 мм.
По результатам фотометрирования спектров образцов сравнения строят градуировочный график, откладывая по оси абсцисс логарифм массовой доли углерода (lgC) в сере, а по оси ординат - почернение (S) на спектрограмме аналитической линии углерода 247,86 нм и фона вблизи нее.
5.2.4. Проведение анализа
Анализируемую пробу измельчают, просеивают, вводят в электроды и проводят фотометрирование по
п. 5.2.3.
Массовую долю углерода находят по градуировочному графику.
5.2.5. Обработка результатов
Массовую долю органического вещества

, вычисляют по формуле

, (6)
где

- массовая доля углерода в сере, найденная по градуировочному графику, %;
1,25 - коэффициент пересчета углерода на органическое вещество.
За результат анализа принимают среднее арифметическое результатов двух параллельных определений, относительное расхождение между которыми не превышает допускаемое расхождение, равное 30% от среднего значения.
Пределы допускаемой относительной суммарной погрешности результата анализа +/- 15%.
5.3.1. Сущность метода
Метод основан на весовом определении остатка по разности масс после двукратного прокаливания пробы при температуре (250 +/- 10) °C и (800 +/- 10) °C.
- электропечь сопротивления лабораторная типа СНОЛ, обеспечивающая устойчивую температуру нагрева (800 +/- 10) °C и (250 +/- 10) °C;
- баня песчаная.
5.3.3. Проведение анализа
(50 +/- 1) г пробы помещают в чашу, предварительно прокаленную и взвешенную. Пробу расплавляют и обжигают на песчаной бане. Затем чашу с остатком прокаливают при температуре (250 +/- 10) °C в течение 2 ч для удаления следов серы.
Чашу с остатком, состоящим из органических веществ и золы, переносят в эксикатор, охлаждают и взвешивают. Затем чашу с остатком помещают в электропечь, прокаливают при температуре (800 +/- 10) °C до постоянной массы, охлаждают в эксикаторе и взвешивают. Результаты всех взвешиваний в граммах записывают с точностью до третьего десятичного знака.
5.3.4. Обработка результатов
Массовую долю органических веществ

, вычисляют по формуле

, (7)
где m - масса анализируемой пробы, г;

- масса остатка, содержащего органические вещества и золу, г;

- масса остатка после прокаливания в электропечи, г.
За результат анализа принимают среднее арифметическое результатов двух параллельных определений, относительное расхождение между которыми не превышает допускаемое расхождение, равное 30% от среднего значения.
Пределы допускаемой относительной суммарной погрешности результата анализа +/- 15%.
5.4. Экстракционный метод
5.4.1. Сущность метода
Метод основан на экстракции органических веществ с помощью хлороформа или четыреххлористого углерода в аппарате Сокслета и весовом определении остатка после выпаривания растворителя. Метод не может быть применен при наличии летучих органических веществ, растворимых в воде.
5.4.2. Аппаратура, реактивы и растворы:
- шкаф сушильный типа СНОЛ, обеспечивающий устойчивую температуру нагрева (70 +/- 2) °C;
- баня водяная или одноконфорочная электроплитка по
ГОСТ 14919;
- бумага фильтровальная лабораторная по
ГОСТ 12026;
- хлороформ или углерод четыреххлористый по
ГОСТ 20288, свежеперегнанный;
- натрий сернистый 9-водный по
ГОСТ 2053, раствор с массовой долей 45% (раствор должен быть прозрачным).
5.4.3. Проведение анализа
(25 +/- 1) г серы помещают в стакан, смачивают 10 см3 этилового спирта, перемешивают стеклянной палочкой, затем добавляют 200 см3 раствора сернистого натрия, нагревают раствор на водяной бане до (80 +/- 2) °C и перемешивают при этой температуре до полного растворения серы. После охлаждения до комнатной температуры раствор фильтруют через бумажные фильтры, предварительно экстрагированные хлороформом или четыреххлористым углеродом. Остаток на фильтре промывают три раза теплым раствором сернистого натрия и теплой дистиллированной водой до полного обесцвечивания фильтра, сушат 30 мин в эксикаторе под вакуумом с применением водоструйного насоса и экстрагируют в аппарате Сокслета до полного обесцвечивания растворителя в верхней части аппарата.
По окончании экстракции количественно переносят экстракт в стеклянную выпарную чашу, предварительно высушенную и взвешенную. Выпарную чашу с экстрактом помещают на водяную баню, отгоняют растворитель, под вытяжным шкафом сушат остаток в сушильном шкафу при (70 +/- 2) °C до постоянной массы и взвешивают.
Результаты всех взвешиваний в граммах записывают с точностью до третьего десятичного знака.
5.4.4. Обработка результатов
Массовую долю органических веществ

, вычисляют по формуле

, (8)
где

- масса выпарной чаши с органическими веществами, г;

- масса выпарной чаши, г;
m - масса навески анализируемой пробы, г.
За результат анализа принимают среднее арифметическое результатов двух параллельных определений, относительное расхождение между которыми не превышает допускаемое расхождение, равное 25% от среднего значения.
Пределы допускаемой относительной суммарной погрешности результата анализа +/- 10%.
6. ОПРЕДЕЛЕНИЕ МАССОВОЙ ДОЛИ МЫШЬЯКА
6.1. Фотометрический метод с применением диэтилдитиокарбамата серебра
6.1.1. Сущность метода
Метод основан на восстановлении мышьяка в мышьяковистый водород, поглощении его пиридиновым раствором диэтилдитиокарбамата серебра и фотометрическом измерении оптической плотности полученного раствора.
6.1.2. Аппаратура, реактивы и растворы:
- установка для определения мышьяка
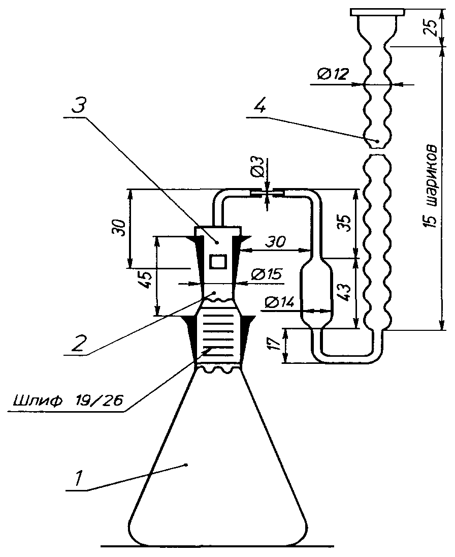
(рисунок 2) или аппарат дистилляционный для отгонки мышьяка по
ГОСТ 10485-75, состоящий из реакционной колбы (коническая колба вместимостью 100 см3), отводной трубки, расширенной в верхней части и зауженной в нижней, пробирки вместимостью 10 см3. Отводная трубка соединена с реакционной колбой через шлиф;
1 - коническая колба вместимостью 100 см3;
2 - насадка для поглощения сероводорода;
3 - резиновая пробка; 4 - абсорбер для поглощения

,
изготовленный по указанным размерам.
Рисунок 2. Установка для определения мышьяка
- спектрофотометр типа СФ с пределом видимого излучения и кюветами с толщиной поглощающего свет слоя раствора 1 см или фотоэлектроколориметр типа ФЭК;
- баня водяная;
- баня песчаная;
- колбы 2-1000-2, 2-100-2, 2-50-2 по
ГОСТ 1770;
- колбы Кн-500-34 ТУ и Кн-1-100-19/26 ТС по
ГОСТ 25336;
- пипетки вместимостью 1, 2, 5, 10 и 25 см3;
- кислота серная по
ГОСТ 4204, разбавленная 1:2;
- кислота азотная по
ГОСТ 4461, плотностью 1,4 г/см3;
- кислота серная по
ГОСТ 4204, свободная от мышьяка, плотностью 1,84 г/см3, концентрации

(21,5 н.);
- смесь брома и четыреххлористого углерода, взятых 2:3;
- олово двухлористое, раствор с массовой долей 40%;
- цинк гранулированный, х.ч., свободный от мышьяка;
- свинец уксуснокислый по
ГОСТ 1027, х.ч., насыщенный раствор;
- калий йодистый по
ГОСТ 4232, раствор с массовой долей 15%;
- диэтилдитиокарбамат серебра, раствор с массовой долей 0,5% готовят следующим образом: 1 г диэтилдитиокарбамата серебра растворяют в 200 см3 пиридина. Раствор хранят в бутыли из темного стекла. Раствор устойчив в течение 14 сут;
- вата по
ГОСТ 4517, пропитанная раствором уксуснокислого свинца;
- мышьяк, основной раствор с массовой концентрацией 0,1 мг/см3, готовят по
ГОСТ 4212;
- мышьяк, рабочий раствор с массовой концентрацией 0,0025 мг/см3, готовят следующим образом: в мерную колбу вместимостью 1 дм3 отбирают 25 см3 основного раствора и доливают водой до метки.
6.1.3. Подготовка к анализу
Для построения градуировочного графика в конические колбы вместимостью 100 см3 отбирают поочередно 1; 2; 3; 4; 6 и 8 см3 рабочего раствора, содержащего соответственно 0,0025; 0,005; 0,0075; 0,010, 0,011 и 0,020 мг мышьяка, добавляют по 10 см3 раствора серной кислоты и доливают водой до 40 см3, добавляют 2 см3 раствора йодистого калия, 2 см3 раствора двухлористого олова и оставляют раствор на 15 мин.
В насадку 2 установки
(рисунок 2) помещают вату, пропитанную уксуснокислым свинцом, а в абсорбер 4 наливают 5 см3 раствора диэтилдитиокарбамата серебра. По истечении 15 мин в коническую колбу с раствором помещают 5 г цинка и быстро соединяют колбу с насадкой и абсорбером. Выделившийся мышьяковистый водород поглощают раствором диэтилдитиокарбамата серебра в пиридине в течение 45 мин. Затем раствор доливают пиридином до объема 5 см3, перемешивают в абсорбере и измеряют оптическую плоскость раствора при длине волны 540 нм, применяя в качестве раствора сравнения раствор диэтилдитиокарбамата серебра в пиридине.
На основе полученных результатов строят градуировочный график, откладывая на оси абсцисс массу мышьяка в миллиграммах, а на оси ординат - соответствующее значение оптической плотности.
6.1.4. Проведение анализа
Для приготовления раствора анализируемой пробы (10 +/- 1) г серы взвешивают, записывая результат взвешивания в граммах с точностью до четвертого десятичного знака, помещают в коническую колбу с широким горлом вместимостью 500 см3, добавляют 40 см3 смеси брома с четыреххлористым углеродом, перемешивают содержимое колбы около 30 мин, после чего вводят малыми порциями по 1 - 2 см3 50 см3 азотной кислоты при постоянном перемешивании. После добавления первой порции ждут, пока температура смеси резко повысится, и лишь тогда добавляют такие же порции азотной кислоты, ожидая более быстрого выделения брома, повышения температуры и слабого кипения смеси. В случае сильного разогрева смеси (резкое и продолжительное интенсивное выделение брома) колбу охлаждают в смеси воды со льдом перед добавлением каждой новой порции азотной кислоты. Всю операцию проводят в вытяжном шкафу, соблюдая меры предосторожности.
При неполном разложении серы операции разложения повторяют, используя меньшее количество реактивов.
Избыток брома и четыреххлористого углерода устраняют нагреванием раствора вначале на водяной бане, а затем на песчаной до появления белых паров.
Раствор охлаждают, добавляют 25 см3 воды и выпаривают до появления белых паров, эту операцию повторяют три раза до полного удаления азотной кислоты.
Остаток охлаждают, переносят в мерную колбу вместимостью 50 см3 и доливают водой до метки. (Раствор используют для определения массовой доли селена фотометрическим методом).
Для приготовления контрольного раствора 40 см3 смеси брома с четыреххлористым углеродом и 50 см3 азотной кислоты выпаривают до объема в несколько миллилитров, добавляют 2 см3 раствора серной кислоты, выпаривают до белых паров, добавляют 5 см3 воды и выпаривание повторяют. После охлаждения остаток заливают раствором серной кислоты (1:2), переливают в мерную колбу вместимостью 50 см3 и доливают до метки тем же раствором серной кислоты.
25 см3 полученного раствора отбирают в колбу вместимостью 100 см3, добавляют 2 см3 раствора серной кислоты (1:2) и доливают водой до объема 40 см3, далее анализ проводят по
п. 6.1.3, измеряя оптическую плотность анализируемого раствора по отношению к контрольному раствору.
Массу мышьяка в миллиграммах в анализируемом растворе находят по градуировочному графику.
6.1.5. Обработка результатов
Массовую долю мышьяка

, вычисляют по формуле

, (9)
где

- масса мышьяка, найденная по градуировочному графику, мг;
m - масса навески анализируемой пробы, г;
V - объем раствора, отобранный для определения, см3.
За результат анализа принимают среднее арифметическое результатов двух параллельных определений, относительное расхождение между которыми не превышает допускаемое расхождение, равное 30% от среднего значения.
Пределы допускаемой относительной суммарной погрешности результата анализа +/- 15%.
Определение массовой доли мышьяка фотометрическим методом с применением диэтилдитиокарбамата серебра является арбитражным.
6.2.1. Сущность метода
Метод основан на фотографировании спектров проб и определении мышьяка по градуировочному графику.
6.2.2. Аппаратура, материалы и растворы:
- спектрограф ИСП-30 с однолинзовой системой освещения;
- генератор дуги переменного тока ДГ-2 в дуговом режиме и режиме низковольтной искры;
- микрофотометр типа ИФО-451 или МФ-4, МФ-2;
- приспособление для заточки угольных электродов;
- электроды угольные марки ос.ч. 7-4 или С-1. Нижний и верхний электрод с кратером диаметром 4 мм, глубиной 5 мм. До проведения анализа угольные электроды анализируют на отсутствие в их спектрах линий мышьяка в условиях метода анализа. При наличии линий мышьяка электроды подвергают обжигу в течение 20 с в режиме анализа;
- пластинка дозировочная из органического стекла для заполнения электродов пробой размером 24 x 70 x 8 мм, в которой фрезой сделано плоское углубление глубиной 6 мм и размером 16 x 16 мм;
- фотопластинки спектрографические типа 1 и 3 спектральной чувствительности в относительных единицах, равной соответственно 6 и 9 единиц;
- фотопластинки типа УФШ спектральной чувствительности 20 единиц;
- конденсор кварцевый (F = 75 мм);
- ступка агатовая или стальная хромированная диаметром 90 мм;
- проявитель и фиксаж;
- спирт этиловый технический по
ГОСТ 18300, перегнанный;
- сера ос.ч. 16-5;
- сера с массовой долей мышьяка от 0,3 до 0,6%.
6.2.3. Подготовка к анализу
Для приготовления основного образца измельчают около 50 г серы с массовой долей мышьяка от 0,3 до 0,6%, затем просеивают через сито и определяют по
п. 6.1 значение массовой доли мышьяка.
Образцы сравнения готовят последовательным смешением серы основного образца с серой квалификации ос.ч., предварительно измельченной и просеянной через сито.
Для этого навески серы основного образца массой 20 и 6 г тщательно смешивают в ступке под спиртом соответственно с навесками серы квалификации ос.ч. массой 40 и 54 г.
Получены таким образом первый и второй образцы сравнения с массовой долей от 0,1 до 0,2 и от 0,03 до 0,06% мышьяка.
Третий и четвертый образцы сравнения с массовой долей мышьяка от 0,01 до 0,02 и от 0,003 до 0,006% готовят аналогичным образом, используя в качестве основы 20 и 6 г серы второго образца сравнения. Их смешивают соответственно с 40 и 54 г серы квалификации ос.ч.
Используя серу четвертого образца сравнения, готовят пятый и шестой образцы сравнения с массовой долей мышьяка от 0,001 до 0,002 и от 0,0003 до 0,0006% путем смешивания 20 и 6 г четвертого образца сравнения соответственно с 40 и 54 г серы квалификации ос.ч.
Седьмой образец сравнения с массовой долей мышьяка от 0,0001 до 0,0002% готовят смешением 20 г серы шестого образца и 40 г серы квалификации ос.ч. Результаты всех взвешиваний в граммах записывают с точностью до четвертого десятичного знака.
Для приготовления одного образца сравнения используется 100 см3 спирта.
Полученные образцы хранят в стаканчиках.
Образцы сравнения вводят в электроды (верхний и нижний) и фотометрируют:
а) при массовой доле мышьяка от 0,0001 до 0,01%.
Между электродами зажигают дугу переменного тока от генератора ДГ-2, силой тока 18 А (с включенным дополнительным реостатом - 11 Ом; 15 А). Расстояние между электродами 2,5 мм, экспозиция 15 с.
Спектры образцов сравнения фотографируют по три раза спектрографом (конденсор кварцевый с F = 75 мм устанавливается на расстоянии 67 мм от источника и 316 мм от щели), при ширине щели спектрографа 0,025 мм. Для фотографирования спектров мышьяка применяют фотопластинки "спектральные, тип 3" или "УФШ-3".
На полученных спектрограммах измеряют почернение аналитической линии мышьяка 228,81 нм (или 234,98 нм) и фона вблизи аналитической линии.
б) при массовой доле мышьяка от 0,001 до 0,6%.
Между электродами зажигают низковольтную искру от генератора ДГ-2 силой тока 5 А (положение переключателя реостата 80 Ом, 10 А). Расстояние между электродами 2,5 мм, экспозиция 15 с.
Спектры образцов сравнения фотографируют по три раза спектрографом при ширине щели спектрографа 0,015 мм. Для фотографирования спектров мышьяка применяют фотопластинки спектральные, тип 1.
На полученных спектрограммах измеряют почернения аналитических линий мышьяка 234,98 нм (при массовой доле мышьяка от 0,001 до 0,1%) и 245,65 нм (при массовой доле мышьяка от 0,1 до 0,6%) и фона вблизи аналитических линий.
По результатам фотометрирования спектров образцов сравнения строят градуировочный график, откладывая на оси абсцисс логарифм массовой доли мышьяка, на оси ординат - почернение аналитических линий.
6.2.4. Проведение анализа
Анализируемую пробу измельчают, просеивают, вводят в электроды (верхний и нижний) и фотометрируют по
6.2.3.
По результатам фотометрирования спектров проб находят по градуировочному графику массовую долю мышьяка в анализируемой пробе.
За результат анализа принимают среднее арифметическое результатов двух параллельных определений, относительное расхождение между которыми не превышает допускаемое расхождение, равное 30% от среднего значения.
6.3. Фотометрический метод с применением молибденовой сини
6.3.1. Сущность метода
Метод основан на образовании комплекса мышьяка с молибденовокислым аммонием в присутствии сернокислого гидразина и фотометрическом измерении оптической плотности полученного комплекса.
6.3.2. Аппаратура, реактивы и растворы:
- фотоэлектроколориметр типа ФЭК-56, ФЭК-60;
- спектрофотометр с пределом видимого излучения и кюветами с толщиной поглощающего свет слоя раствора 1 см типа СФ;
- электропечь сопротивления лабораторная типа СНОЛ, обеспечивающая устойчивую температуру нагрева (500 +/- 10) °C;
- шкаф сушильный типа СНОЛ, обеспечивающий устойчивую температуру нагрева (130 +/- 5) °C;
- колбы 2-100-2, 2-1000-2, 2-50-2 по
ГОСТ 1770;
- пипетка вместимостью 10 см3;
- бюретка вместимостью 50 см3;
- баня водяная или одноконфорочная электроплитка по
ГОСТ 14919;
- бумага фильтровальная лабораторная по
ГОСТ 12026;
- кислота азотная по
ГОСТ 4461, плотностью 1,4 г/см3;
- кислота серная по
ГОСТ 4204, х.ч., 5 н. раствор;
- аммоний молибденовокислый по
ГОСТ 3765, перекристаллизованный, раствор с массовой долей 1%. Перекристаллизацию проводят следующим образом: 200 г молибденовокислого аммония тщательно взбалтывают с 300 см3 дистиллированной воды, нагретой до 70 - 80 °C. Нерастворившийся осадок отфильтровывают, а к фильтрату добавляют 1/3 по объему этилового спирта. Выпавший мелкокристаллический осадок чистого молибденовокислого аммония отфильтровывают на воронке Бюхнера с отсасыванием. Осадок на фильтре промывают три раза спиртом и высушивают на воздухе;
- гидразин сернокислый по
ГОСТ 5841, кристаллический, раствор с массовой долей 0,15%;
- спирт этиловый ректификованный технический по
ГОСТ 18300;
- основной раствор с массовой концентрацией мышьяка 1 мг/см3 готовят по
ГОСТ 4212 или следующим образом: 0,1320 г мышьяковистого ангидрида, взвешенного в стаканчике, окисляют 5 см3 концентрированной азотной кислоты, выпаривают почти досуха и высушивают в сушильном шкафу при (130 +/- 5) °C в течение получаса. Остаток в стаканчике растворяют в дистиллированной воде, переводят в мерную колбу вместимостью 100 см3. Стаканчик смывают несколько раз водой в ту же колбу, раствор в колбе доводят водой до метки и тщательно перемешивают;
- рабочий раствор с массовой концентрацией мышьяка 0,01 мг/см3 готовят следующим образом: отбирают пипеткой с резиновой грушей 10 см3 основного раствора в мерную колбу вместимостью 1 дм3, доводят водой до метки и перемешивают.
6.3.3. Подготовка к анализу
Для построения градуировочного графика в мерные колбы вместимостью 50 см3 отбирают поочередно 3; 5; 10; 15; 20 и 30 см3 рабочего раствора, которые содержат соответственно 0,03; 0,05; 0,10; 0,15; 0,20 и 0,30 мг мышьяка.
Объем раствора в каждой колбе доводят водой до 35 - 40 см3.
Затем в каждую колбу добавляют последовательно по 3 см3 раствора серной кислоты, раствора молибденовокислого аммония и раствора сернокислого гидразина.
Содержимое колбы взбалтывают после добавления каждого реактива.
Колбы с растворами помещают в кипящую водяную баню на 10 мин таким образом, чтобы часть колбы, заполненная жидкостью, была погружена в воду. Затем колбы охлаждают, доводят дистиллированной водой до метки и измеряют оптическую плотность растворов относительно контрольного раствора, который готовят в тех же условиях и с тем же количеством реактивов, но без рабочего раствора, применяя красный светофильтр с областью светопропускания 835 нм.
По полученным данным строят градуировочный график, откладывая на оси абсцисс массу мышьяка в миллиграммах, а на оси ординат - соответствующее значение оптической плотности.
6.3.4. Проведение анализа
0,3 - 0,6 г серы (в зависимости от содержания мышьяка) взвешивают, записывая результат взвешивания в граммах с точностью до четвертого десятичного знака, смешивают в кварцевом тигле с 2,2 г пиросульфата калия. Тигель ставят в электропечь и постепенно повышают температуру до (500 +/- 10) °C. Тигель выдерживают при этой температуре до тех пор, пока вся сера не возгонится и сплав не станет прозрачным.
После этого тигель вынимают из электропечи, охлаждают, помещают в стакан и выщелачивают содержимое небольшими количествами воды при нагревании.
Раствор из стакана переводят в мерную колбу вместимостью 50 см3 и несколько раз смывают стакан небольшими порциями воды, которые добавляют в ту же колбу.
Затем последовательно добавляют по 3 см3 раствора серной кислоты, раствора молибденовокислого аммония и раствора сернокислого гидразина. Содержимое колбы взбалтывают после добавления каждого раствора.
Колбу помещают на 10 мин в кипящую водяную баню таким образом, чтобы часть колбы, заполненная жидкостью, была погружена в воду.
Затем колбу охлаждают, доводят водой до метки и измеряют оптическую плотность анализируемого раствора относительно контрольного раствора по
6.3.3.
Массу мышьяка в анализируемом растворе находят по градуировочному графику.
6.3.5. Обработка результатов
Массовую долю мышьяка

, вычисляют по формуле

, (10)
где

- масса мышьяка, найденная по градуировочному графику, мг;
m - масса навески серы, г.
За результат анализа принимают среднее арифметическое результатов двух параллельных определений, относительное допускаемое расхождение между которыми не превышает допускаемое расхождение, равное 30% от среднего значения.
Пределы допускаемой относительной суммарной погрешности результата анализа +/- 15%.
7. ОПРЕДЕЛЕНИЕ МАССОВОЙ ДОЛИ СЕЛЕНА
7.1. Фотометрический метод с применением 3,3'-диаминобензидина
7.1.1. Сущность метода
Метод основан на фотометрическом измерении оптической плотности экстракта толуола желтого комплекса, образованного селеном (IV) с солянокислым 3,3'-диаминобензидином.
7.1.2. Аппаратура, реактивы и растворы:
- спектрофотометр типа СФ с пределом видимого излучения и кюветами с толщиной поглощающего свет слоя раствора 1 см;
- иономер универсальный ЭВ-74;
- пипетки вместимостью 1, 2, 5, 10, 25 и 50 см3;
- селен марки СВЧ;
- 3,3'-диаминобензидин солянокислый, раствор с массовой долей 0,5%; готовят с применением дистиллированной свежекипяченой охлажденной воды; раствор устойчив в течение 4 ч;
- кислота серная по
ГОСТ 4204, раствор с массовой долей 10%;
- соль динатриевая этилендиамин-N,N,N',N',-тетрауксусной кислоты, 2-водная (трилон Б) по
ГОСТ 10652, раствор концентрации

;
- кислота муравьиная по
ГОСТ 5848, раствор с массовой долей 10%;
- аммиак водный по
ГОСТ 3760, раствор с массовой долей 10%;
- аммоний хлористый по
ГОСТ 3773; раствор с массовой долей 20%;
- индикатор универсальный бумажный;
- селен, основной раствор с массовой концентрацией селена 1 мг/см3 готовят по
ГОСТ 4212;
- селен, рабочий раствор с массовой концентрацией селена 0,01 мг/см3 готовят следующим образом: основной раствор 100-кратно разбавляют водой.
7.1.3. Подготовка к анализу
Для построения градуировочного графика в стаканы вместимостью 100 см3 отбирают поочередно 1, 2, 3, 4 см3 рабочего раствора, добавляют 50 см3 раствора хлористого аммония, затем раствор серной кислоты до pH раствора 2,5, определяя pH потенциометром или бумажным индикатором, добавляют 2 см3 раствора муравьиной кислоты и 4 см3 раствора солянокислого 3,3'-диаминобензидина, перемешивают стеклянной палочкой и оставляют на 40 мин, затем добавляют раствор водного аммиака, доводят pH раствора до 6 - 7, переносят в делительную воронку вместимостью 100 см3, добавляют 10 см3 толуола двумя порциями (6 и 4 см3), каждый раз встряхивая в течение 1 мин.
После добавления каждой порции следует отделять слой толуола, фильтровать через вату в мерную колбу вместимостью 10 см3 и доливать толуолом до метки.
Раствор помещают в кюветы и измеряют оптическую плотность относительно оптической плотности толуола при длине волны 420 нм.
На основании полученных результатов строят градуировочный график, откладывая на оси абсцисс массу селена в миллиграммах, а на оси ординат - соответствующее значение оптической плотности.
7.1.4. Проведение анализа
В стакан вместимостью 100 см3 отбирают 10 - 25 см3 раствора анализируемой пробы, приготовленного по
6.1.4, добавляют 50 см3 раствора хлористого аммония, 5 см3 раствора трилона Б. Затем, добавляя раствор водного аммиака, доводят pH раствора до 2,5, измеряя pH потенциометром или бумажным индикатором. Добавляют 2 см3 раствора муравьиной кислоты, 4 см3 раствора солянокислого 3,3'-диаминобензидина, перемешивают раствор стеклянной палочкой и оставляют на 40 мин, затем добавляют раствор водного аммиака, доводят pH раствора до 6 - 7, переносят в делительную воронку вместимостью 100 см3, добавляют 10 см3 толуола двумя порциями (6 и 4 см3) каждый раз встряхивая в течение 1 минуты.
После добавления каждой порции следует отделять слой толуола, фильтруя через вату в мерную колбу вместимостью 10 см3 и доливать толуолом до метки.
Измерение оптической плотности проводят по
7.1.3.
Массу селена в миллиграммах определяют по градуировочному графику.
7.1.5. Обработка результатов
Массовую долю селена

, вычисляют по формуле

, (11)
где

- масса селена в анализируемом растворе, определенная по градуировочному графику, мг;
m - масса навески серы, г;
V - объем раствора, отобранный для анализа, см3.
За результат анализа принимают среднее арифметическое результатов двух параллельных определений, относительное расхождение между которыми не превышает допускаемое расхождение, равное 15% от среднего значения.
Пределы допускаемой относительной суммарной погрешности результата анализа +/- 10%.
Фотометрический метод определения массовой доли селена с применением 3,3'-диаминобензидина является арбитражным.
7.2. Фотометрический метод с применением сернокислого гидразина
7.2.1. Сущность метода
Метод основан на фотометрическом измерении оптической плотности окрашенного раствора элементарного селена, полученного восстановлением соединений селена гидразином.
7.2.2. Аппаратура, реактивы и растворы:
- спектрофотометр с пределом видимого излучения и кюветами с толщиной поглощающего свет слоя раствора 1 и 2 см типа СФ;
- пипетки вместимостью 1, 2, 5, 10 и 20 см3;
- кислота серная по
ГОСТ 4204, х.ч., разбавленная 1:2;
- кислота азотная по
ГОСТ 4461, х.ч., плотностью 1,4 г/см3;
- смесь брома и четыреххлористого углерода, взятых 2:3;
- гидразин сернокислый по
ГОСТ 5841, раствор с массовой долей 1%;
- селен марки СВЧ;
- основной раствор с массовой концентрацией селена 1 мг/см3 готовят по
ГОСТ 4212 или следующим образом: 1 г селена взвешивают, записывая результат взвешивания в граммах с точностью до четвертого десятичного знака, растворяют в 10 см3 концентрированной азотной кислоты, выпаривают досуха, два раза заливают 10 см3 воды, выпаривают досуха, переносят в мерную колбу вместимостью 1000 см3, доливают водой до метки и перемешивают;
- рабочий раствор с массовой концентрацией селена 0,1 мг/см3 готовят 10-кратным разбавлением основного раствора водой.
7.2.3. Подготовка к анализу
Для построения градуировочного графика в конические колбы вместимостью 100 см3 отбирают пипеткой 0,5; 2; 4, 10; 15; 30 см3 рабочего раствора, содержащего соответственно 0,05; 0,2; 0,4; 1,0; 1,5; 3,0 мг селена, доводят раствором серной кислоты до 40 см3 и добавляют 1 см3 раствора сернокислого гидразина. Содержимое колбы осторожно нагревают до кипения и охлаждают под струей холодной воды. Охлажденный раствор переводят в мерную колбу вместимостью 50 см3 и доливают водой до метки.
Оптическую плотность растворов измеряют по отношению к воде в кювете с толщиной поглощающего свет слоя 2 см при длине волны 600 нм.
По полученным данным строят градуировочный график, откладывая на оси абсцисс массу селена в миллиграммах, а на оси ординат - соответствующее значение оптической плотности.
7.2.4. Проведение анализа
Пипеткой отбирают 10 - 40 см3 раствора (в зависимости от содержания селена), приготовленного по
п. 6.1.4, переносят в коническую колбу вместимостью 100 см3, добавляют 1 см3 сернокислого гидразина. Содержимое колбы осторожно нагревают до кипения и охлаждают под струей холодной воды. Появившаяся красная окраска раствора свидетельствует о наличии селена. Охлажденный раствор переводят в мерную колбу вместимостью 50 см3, доливают водой до метки.
Измерение оптической плотности анализируемого раствора проводят по
7.2.3. Раствором сравнения служит раствор, приготовленный в тех же условиях и с тем же количеством реактивов, но без анализируемого раствора.
Массу селена в анализируемом растворе в миллиграммах находят по градуировочному графику.
7.2.5. Обработка результатов
Массовую долю селена

, вычисляют по формуле

, (12)
где

- масса селена, найденная по градуировочному графику, мг;
m - масса навески серы, г;
V - объем раствора, отобранный для анализа, см3.
За результат анализа принимают среднее арифметическое результатов двух параллельных определений, относительное расхождение между которыми не превышает допускаемое расхождение, равное 30% от среднего значения.
Пределы допускаемой относительной суммарной погрешности результата анализа +/- 15%.
8. ОПРЕДЕЛЕНИЕ МАССОВОЙ ДОЛИ ЖЕЛЕЗА
8.1. Сущность метода
Метод основан на фотометрическом измерении оптической плотности красного комплекса железа (II) с о-фенантролином при pH 3 - 4.
8.2. Аппаратура, реактивы и растворы:
- спектрофотометр типа СФ с пределом видимого излучения и кюветами с толщиной поглощающего свет слоя раствором 1 и 2 см;
- электропечь сопротивления лабораторная типа СНОЛ, обеспечивающая устойчивую температуру нагрева (500 +/- 10) °C;
- колбы 2-50-2, 2-100-2, 2-500-2, 2-1000-2 по
ГОСТ 1770;
- пипетки вместимостью 5, 10, 20, 25 и 50 см3;
- кислота азотная по
ГОСТ 4461, х.ч., разбавленная 1:1;
- кислота серная по
ГОСТ 4204, х.ч. разбавленная 1:2;
- гидроксиламин солянокислый по
ГОСТ 5456, раствор с массовой долей 10%;
- натрий лимоннокислый по
ГОСТ 22280, раствор с массовой долей 25% и pH 3 - 5;
- о-фенантролин, ч., раствор с массовой долей 0,25%, полученный растворением в горячей воде (свежеприготовленный);
- квасцы железоаммонийные, х.ч.;
- основной раствор с массовой концентрацией железа 0,1 мг/см3 готовят следующим образом: 0,8635 г железоаммонийных квасцов растворяют в воде с добавлением 4 см3 концентрированной серной кислоты и доливают водой в мерной колбе вместимостью 1 дм3 до метки, рабочий раствор с массовой концентрацией железа 0,01 мг/см3 готовят 10-кратным разбавлением основного раствора водой.
8.3. Подготовка к анализу
Для построения градуировочного графика в мерные колбы вместимостью 50 см3 пипеткой отбирают поочередно 0; 2,5; 5; 10; 12,5; 15; 20; 25 и 30 см3 рабочего раствора, содержащего соответственно 0,000; 0,025; 0,050, 0,100, 0,125; 0,200; 0,250 и 0,300 мг железа, разбавляют водой до 20 см3, добавляют 1 см3 раствора солянокислого гидроксиламина, выдерживают 5 мин, затем добавляют 5 см3 раствора о-фенантролина, 2 см3 раствора лимоннокислого натрия, доливают водой до метки и перемешивают. Через 15 мин измеряют оптическую плотность растворов по отношению к воде при длине волны 500 нм, в кювете с толщиной поглощающего свет слоя раствора 1 см.
По полученным данным строят градуировочный график, откладывая на оси абсцисс массу железа в миллиграммах, а на оси ординат - соответствующее значение оптической плотности.
(20 +/- 1) г серы взвешивают, записывая результат взвешивания в граммах с точностью до четвертого десятичного знака, помещают в кварцевый тигель, осторожно сжигают и остаток прокаливают при (500 +/- 10) °C в течение 15 - 20 мин.
После охлаждения остаток в тигле заливают 10 см3 раствора азотной кислоты, нагревают примерно 10 мин, осторожно добавляют 2 см3 раствора серной кислоты и выпаривают до появления белых паров.
Затем охлаждают и добавляют 20 см3 воды. Полученный раствор фильтруют и количественно переносят в мерную колбу вместимостью 100 см3. Раствор используют для определения массовой доли марганца и меди.
Отбирают пипеткой 5 см3 аликвотной части раствора, помещают в мерную колбу вместимостью 50 см3, разбавляют водой до 20 см3, добавляют 1 см3 раствора солянокислого гидроксиламина, выдерживают 5 мин, затем добавляют 5 см3 раствора о-фенантролина, 2 см3 раствора лимоннокислого натрия, доливают водой до метки, перемешивают и через 15 мин измеряют оптическую плотность анализируемого раствора по
8.3.
Раствором сравнения служит раствор, приготовленный в тех же условиях и с тем же количеством реактивов, но без анализируемого продукта.
Массу железа в анализируемом растворе в миллиграммах находят по градуировочному графику.
8.5. Обработка результатов
Массовую долю железа

, вычисляют по формуле

, (13)
где

- масса железа, найденная по градуировочному графику, мг;
m - масса навески серы, г;
V - объем раствора, отобранный для анализа, см3.
За результат анализа принимают среднее арифметическое результатов двух параллельных определений, относительное расхождение между которыми не превышает допускаемое расхождение, равное 20%.
Пределы допускаемой относительной суммарной погрешности результата анализа +/- 10% от среднего значения.
Фотометрический метод определения массовой доли железа с применением о-фенантролина является арбитражным.
9. ОПРЕДЕЛЕНИЕ МАССОВОЙ ДОЛИ МАРГАНЦА
9.1. Фотометрический метод с применением формальдоксима
9.1.1. Сущность метода
Метод основан на фотометрическом измерении оптической плотности коричнево-красного комплекса, образованного марганцем с формальдоксимом.
9.1.2. Аппаратура, реактивы и растворы:
- спектрофотометр типа СФ с пределом видимого излучения и кюветами с толщиной поглощающего свет слоя раствора 1 см;
- электропечь сопротивления лабораторная типа СНОЛ, обеспечивающая устойчивую температуру нагрева (400 +/- 10) °C;
- баня водяная или одноконфорочная плита по
ГОСТ 14919;
- пипетки вместимостью 1, 2, 5 и 10 см3;
- формалин по
ГОСТ 1625; раствор с массовой долей 38% формальдегида;
- кислота серная по
ГОСТ 4204, х.ч., плотность 1,84 г/см3;
- индикатор бумажный универсальный;
- формальдоксим

, 1 М раствор, готовят следующим образом: 7,0 г солянокислого гидроксиламина растворяют в небольшом количестве воды в мерной колбе вместимостью 1 дм3, добавляют 7,9 г формалина и доводят до метки водой. Раствор устойчив в течение 1 мес;
- марганец, основной раствор с массовой концентрацией 1 мг/см3 готовят следующим образом: 2,743 г сернокислого марганца, полученного из 5-водного сернокислого марганца высушиванием при температуре (400 +/- 10) °C до постоянной массы, растворяют в мерной колбе вместимостью 1 дм3 в воде с добавлением 1 см3 концентрированной серной кислоты и доводят водой до метки;
- марганец, рабочий раствор с массовой концентрацией марганца 0,01 мг/см3 готовят 100-кратным разбавлением основного раствора;
- натрия гидроокись по
ГОСТ 4328, раствор концентрации c (NaOH) = 1 моль/дм3 (1 н.).
9.1.3. Подготовка к анализу
Для построения градуировочного графика в мерные колбы вместимостью 25 см3 отбирают поочередно 1,0; 2,0; 3,0; 4,0 и 5,0 см3 рабочего раствора, содержащего соответственно 0,01; 0,02, 0,03; 0,04 и 0,05 мг марганца, добавляют 2 см3 раствора формальдоксима и немедленно нейтрализуют в присутствии универсальной лакмусовой бумажки раствором гидроокиси натрия, добавляют еще 2 см3 раствора гидроокиси натрия, доливают водой до метки и оставляют на 10 мин. Затем нагревают на водяной бане при (70 +/- 2) °C в течение 5 мин, охлаждают до комнатной температуры и измеряют оптическую плотность раствора при длине волны 455 нм, применяя воду в качестве раствора сравнения.
На основании полученных результатов строят градуировочный график, откладывая на оси абсцисс массу марганца в миллиграммах, а на оси ординат соответствующее значение оптической плотности.
9.1.4. Проведение анализа
В мерную колбу вместимостью 25 см3 отбирают 10 см3 раствора, приготовленного по
8.4, добавляют 2 см3 раствора формальдоксима, нейтрализуют раствором гидроокиси натрия в присутствии универсальной лакмусовой бумажки и добавляют 2 см3 раствора гидроокиси натрия и доливают водой до метки, оставляя на 10 мин. Затем нагревают на водяной бане при (70 +/- 2) °C в течение 5 мин, охлаждают до комнатной температуры и измеряют оптическую плотность анализируемого раствора относительно воды по
9.1.3.
Массу марганца в миллиграммах определяют по градуировочному графику.
9.1.5. Обработка результатов
Массовую долю марганца

, вычисляют по формуле

, (14)
где

- масса марганца в растворе анализируемой пробы, найденная по градуировочному графику, мг;
V - объем раствора, отобранный для анализа, см3;
m - масса навески серы, г.
За результат анализа принимают среднее арифметическое результатов двух параллельных определений, относительное расхождение между которыми не превышает допускаемое расхождение, равное 15% от среднего значения.
Пределы допускаемой относительной суммарной погрешности результата анализа +/- 10%.
Фотометрический метод определения массовой доли марганца с применением формальдоксима является арбитражным.
9.2. Фотометрический метод с применением йоднокислого калия
9.2.1. Сущность метода
Метод основан на фотометрическом измерении оптической плотности окрашенного комплекса, образованного в результате окисления марганца (II) йодистым калием.
9.2.2. Аппаратура, реактивы и растворы:
- спектрофотометр типа СФ с пределом видимого излучения и кюветами с толщиной поглощающего свет слоя раствора 1 и 2 см;
- пипетки вместимостью 2, 5, 10, 20, 50 см3;
- кислота азотная по
ГОСТ 4461; х.ч., разбавленная 1:1;
- кислота серная по
ГОСТ 4204; х.ч., разбавленная 1:2;
- кислота ортофосфорная по
ГОСТ 6552; х.ч., раствор с массовой долей 85%;
- калий йоднокислый (мета);
- вода дистиллированная, дважды перегнанная;
- основной раствор с массовой концентрацией марганца 0,1 мг/см3 готовят следующим образом: 0,1440 г марганцовокислого калия взвешивают, записывая результат взвешивания в граммах с точностью до четвертого десятичного знака, растворяют в бидистиллированной воде в мерной колбе вместимостью 500 см3;
- рабочий раствор с массовой концентрацией марганца 0,01 мг/см3 готовят 10-кратным разбавлением основного раствора водой.
Для построения градуировочного графика в стакан вместимостью 50 см3 отбирают пипеткой 2, 3, 4, 6 и 8 см3 рабочего раствора, содержащего соответственно 0,02; 0,03; 0,04; 0,06 и 0,08 мг марганца, добавляют 2 - 3 капли ортофосфорной кислоты, 20 мг йоднокислого калия, осторожно нагревают до кипения, кипятят 1 - 2 мин, охлаждают, переносят в мерную колбу вместимостью 25 см3 и доливают водой до метки. Содержимое колбы перемешивают и измеряют оптическую плотность растворов по отношению к воде при длине волны 540 нм, применяя кюветы с толщиной поглощающего свет слоя раствора 2 см.
По полученным данным строят градуировочный график, откладывая на оси абсцисс массу марганца в миллиграммах, а на оси ординат - соответствующее значение оптической плотности.
9.2.4. Проведение анализа
Пипеткой отбирают 20 см3 раствора, приготовленного по
п. 8.4, переносят в стакан вместимостью 50 см3, добавляют 2 - 3 капли ортофосфорной кислоты, 20 мг йоднокислого калия, осторожно нагревают до кипения, кипятят 1 - 2 мин, охлаждают, переносят в мерную колбу вместимостью 25 см3, доливают водой до метки, перемешивают и измеряют оптическую плотность анализируемого раствора по 9.2.3.
Массу марганца в анализируемом растворе в миллиграммах находят по градуировочному графику.
9.2.5. Обработка результатов
Массовую долю марганца

, находят по формуле

, (15)
где

- масса марганца, найденная по градуировочному графику, мг;
m - масса навески серы, г;
V - объем раствора, отобранный для анализа, см3.
За результат анализа принимают среднее арифметическое результатов двух параллельных определений, относительное расхождение между которыми не превышает допускаемое расхождение, равное 30% от среднего значения.
Пределы допускаемой относительной суммарной погрешности результата анализа +/- 15%.
10. ОПРЕДЕЛЕНИЕ МАССОВОЙ ДОЛИ МЕДИ
10.1. Фотометрический метод с применением диэтилдитиокарбамата свинца
10.1.1. Сущность метода
Метод основан на фотометрическом измерении оптической плотности хлороформового экстракта меди (II) с диэтилдитиокарбаматом свинца
10.1.2. Аппаратура, реактивы и растворы:
- спектрофотометр с пределом видимого излучения и кюветами с толщиной поглощающего свет слоя раствора 1 см, СФ-4А, СФ-16 или СФ-26;
- пипетки вместимостью 1, 5, 10, 20 и 50 см3;
- кислота серная по
ГОСТ 4204, раствор концентрации

(1 н.);
- индикатор универсальный лакмусовый бумажный;
- свинца диэтилдитиокарбамат, раствор с массовой долей 0,25% в четыреххлористом углероде или хлороформе;
- натрия N,N-диэтилдитиокарбамат по
ГОСТ 8864, раствор с массовой долей 0,4%;
- натрий виннокислый или калий виннокислый;
- свинец уксуснокислый по
ГОСТ 1027, раствор с массовой долей 0,4%;
- феноловый красный индикатор, водный раствор с массовой долей 0,1%;
- аммиак водный по
ГОСТ 3760, раствор с массовой долей 5%;
- хлороформ, х.ч., или углерод четыреххлористый по
ГОСТ 20288.
Примечание. Реактивы - диэтилдитиокарбамат натрия, виннокислый натрий или калий, уксуснокислый свинец, феноловый красный, водный аммиак в хлороформе или четыреххлористом углероде - применяют при отсутствии готового раствора диэтилдитиокарбамата свинца с массовой долей 0,025%, который готовят следующим образом: 50 см3 раствора диэтилдитиокарбамата натрия и 1 г виннокислого натрия (калия) взвешивают, записывая результат взвешивания в граммах с точностью до четвертого десятичного знака, помещают в делительную воронку вместимостью 1 дм3, добавляют 30 см3 раствора уксуснокислого свинца, перемешивают и нейтрализуют раствором водного аммиака в присутствии фенолового красного. Раствор вместе с белым осадком во взвеси встряхивают с 500 см3 четыреххлористого углерода или хлороформа. Осадок должен раствориться. Затем отделяют водный слой, встряхивают неводный слой с двумя порциями воды по 100 см3 каждая. Неводный слой отделяют, фильтруя через гигроскопическую вату в мерную колбу вместимостью 1 дм3 и доливают хлороформом или четыреххлористым углеродом до метки. Раствор устойчив в течение 1 мес.
- основной раствор с массовой концентрацией меди 0,1 мг/см3 готовят следующим образом: 0,3928 г кристаллической сернокислой меди взвешивают, записывая результат взвешивания в граммах с точностью до четвертого десятичного знака, растворяют в воде с добавлением 2 см3 концентрированной серной кислоты в мерной колбе вместимостью 1 дм3, доливают раствор водой до метки и перемешивают;
- рабочий раствор с массовой концентрацией меди 0,001 мг/см3 готовят 100-кратным разбавлением основного раствора.
10.1.3. Подготовка к анализу
Для построения градуировочного графика в делительные воронки вместимостью 100 см3 отбирают поочередно 1,0; 5,0; 10,0; 15,0 и 20,0 см3 рабочего раствора, содержащего соответственно 0,001; 0,005; 0,010; 0,015; 0,020 мг меди и доливают водой до объема 20 см3. Добавляя раствор серной кислоты, доводят pH до 1 - 6 в присутствии универсальной лакмусовой бумажки, добавляют 5 см3 раствора диэтилдитиокарбамата свинца и встряхивают в течение 2 мин. Затем отделяют неводный слой, фильтруют через гигроскопическую вату в мерную колбу вместимостью 10 см3. Затем добавляют еще 4 см3 раствора диэтилдитиокарбамата свинца, встряхивают в течение 1 мин, отделяют неводный слой, фильтруют через вату и добавляют к раствору, который находится в мерной колбе, и доливают хлороформом или четыреххлористым углеродом до метки.
Оптическую плотность измеряют при длине волны 435 нм, применяя хлороформ или четыреххлористый углерод в качестве раствора сравнения.
На основании полученных результатов строят градуировочный график, откладывая на оси абсцисс массу меди в миллиграммах, а на оси ординат - соответствующее значение оптической плотности.
10.1.4. Проведение анализа
10 см3 раствора анализируемой пробы, приготовленной по
п. 8.4, помещают в делительную воронку вместимостью 100 см3, доливают водой до 20 см3. Добавляя раствор серной кислоты, доводят pH до 1 - 6 в присутствии универсальной лакмусовой бумажки, добавляют 5 см3 раствора диэтилдитиокарбамата свинца и встряхивают в течение 2 мин. Неводный слой отделяют, фильтруя через гигроскопическую вату в мерную колбу вместимостью 10 см3. Затем добавляют еще 4 см3 раствора диэтилдитиокарбамата свинца, встряхивают в течение 1 мин, отделяют неводный слой, фильтруют через вату, добавляют к раствору, который находится в мерной колбе, и доливают хлороформом или четыреххлористым углеродом до метки.
Оптическую плотность анализируемого раствора измеряют по
10.1.3, применяя в качестве раствора сравнения раствор, приготовленный в тех же условиях и с тем же количеством реактивов, но без анализируемого раствора.
Массу меди в анализируемом растворе находят по градуировочному графику.
10.1.5. Обработка результатов
Массовую долю меди

, находят по формуле

, (16)
где

- масса меди в анализируемой пробе, найденная по градуировочному графику, мг;
V - объем раствора, отобранный для анализа, см3;
m - масса навески серы, г.
За результат анализа принимают среднее арифметическое результатов двух параллельных определений, относительное расхождение между которыми не превышает допускаемое расхождение, равное 15% от среднего значения.
Пределы допускаемой относительной суммарной погрешности результата анализа +/- 10%.
Определение массовой доли меди с применением диэтилдитиокарбамата свинца является арбитражным методом.
10.2. Фотометрический метод с применением диэтилдитиокарбамата натрия
10.2.1. Сущность метода
Метод основан на фотометрическом измерении оптической плотности экстракта меди (II) с диэтилдитиокарбаматом натрия, окрашенного в желтый цвет.
10.2.2. Аппаратура, реактивы и растворы:
- спектрофотометр с пределом видимого излучения и кюветами с толщиной поглощающего свет слоя раствора 1 см типа СФ;
- пипетки вместимостью 1, 2, 5 и 10 см3;
- бумага фильтровальная лабораторная по
ГОСТ 12026;
- кислота азотная по
ГОСТ 4461, х.ч., разбавленная 1:1;
- хлороформ, х.ч.;
- соль динатриевая этилендиамин-N,N,N'N'-тетрауксусной кислоты, 2-водная (трилон Б) по
ГОСТ 10652-73, х.ч., раствор с массовой долей 10%;
- натрия N,N'-диэтилдитиокарбамат по
ГОСТ 8864-71, раствор с массовой долей 1% (свежеприготовленный);
- аммоний лимоннокислый двузамещенный, раствор с массовой долей 25%;
- основной раствор с массовой концентрацией меди 0,1 мг/см3 готовят по
10.1.2;
- рабочий раствор с массовой концентрацией меди 0,01 мг/см3 готовят 10-кратным разбавлением основного раствора.
10.2.3. Подготовка к анализу
Для построения градуировочного графика в делительные воронки вместимостью 50 см3 отбирают пипеткой 1, 2, 4, 6, 8 см3 рабочего раствора, содержащего соответственно 0,01; 0,02; 0,04; 0,06; 0,08 мг меди и осторожно по каплям нейтрализуют раствором аммиака, добавляют 1 см3 раствора трилона Б, 5 см3 раствора лимоннокислого аммония, 1 см3 раствора диэтилдитиокарбамата натрия и 10 см3 хлороформа. Полученный раствор встряхивают в течение 2 мин. После разделения слоев слой хлороформа фильтруют через сухой бумажный фильтр и измеряют оптическую плотность окрашенного экстракта при длине волны 435 нм по отношению к раствору, приготовленному в тех же условиях и с тем же количеством реактивов, но без рабочего раствора меди.
По полученным данным строят градуировочный график, откладывая на оси абсцисс массу меди в миллиграммах, а на оси ординат - соответствующее значение оптической плотности.
10.2.4. Проведение анализа
10 см3 раствора, приготовленного по
8.4, отбирают пипеткой в делительную воронку вместимостью 50 см3 и далее проводят анализ по
10.2.3.
Раствором сравнения служит раствор, приготовленный в тех же условиях и с тем же количеством реактивов, но без анализируемого раствора.
Массу меди в анализируемом растворе находят по градуировочному графику.
10.2.5. Обработка результатов
Массовую долю меди

, вычисляют по формуле

, (17)
где

- масса меди в анализируемой пробе, найденная по градуировочному графику, мг;
m - масса навески серы, г;
V - объем раствора, отобранный для анализа, см3.
За результат анализа принимают среднее арифметическое результатов двух параллельных определений, относительное расхождение между которыми не должно превышать допускаемое расхождение, равное 25% от среднего значения.
Пределы допускаемой относительной суммарной погрешности результата анализа +/- 15%.
11. ОПРЕДЕЛЕНИЕ МАССОВОЙ ДОЛИ ЖЕЛЕЗА, МАРГАНЦА И МЕДИ
11.1. Сущность метода
Метод основан на фотографировании спектров анализируемых проб и образцов сравнения и определении массовой доли железа, марганца и меди по градуировочному графику.
11.2. Аппаратура, реактивы и растворы:
- спектрограф кварцевый ИСП-30 или ИСП-28 с однолинзовой системой освещения;
- генератор дуги переменного тока ДГ-2 в режиме низковольтной искры;
- микрофотометр ИФО-451 (МФ-2);
- спектропроектор СПП-1;
- приспособление для заточки угольных электродов;
- ступки агатовые или халцедоновые диаметром 90 мм;
- фотопластинки спектрографические типа "микро" чувствительностью 90 единиц;
- лампа инфракрасная;
- электроды угольные марки ос.ч. 7-4 или С-1; нижний электрод с кратером диаметром 4 мм, глубиной - 4 мм; верхний электрод заточен на усеченный конус с площадкой 2 мм;
- железа окись;
- сера ос.ч. 16-5;
- проявитель и фиксаж;
- спирт этиловый технический по
ГОСТ 18300, перегнанный.
11.3. Подготовка к анализу
Основной образец серы с массовой долей железа, марганца и меди по 10% каждого элемента готовят следующим образом: 6,027 г серы ос.ч. смешивают с 1,429 г окиси железа, 1,253 г окиси меди и 1,291 г окиси марганца. Смесь перетирают в агатовой ступке под слоем спирта в течение 1,5 - 2 ч, затем подсушивают под инфракрасной лампой при (80 +/- 2) °C до постоянной массы.
Образцы сравнения готовят из основного образца последовательным разбавлением чистой серы. Массовая доля железа, марганца и меди в образцах, %:
первый образец сравнения - по 1;
второй образец сравнения - по 0,3;
третий образец сравнения - по 0,1;
четвертый образец сравнения - по 0,03;
пятый образец сравнения - по 0,01;
шестой образец сравнения - по 0,003;
седьмой образец сравнения - по 0,001.
Образцы сравнения так же, как и основной образец, готовят в агатовой ступке под слоем спирта. Образцы хранят в пластмассовых емкостях с притертыми пробками.
Образцы сравнения вводят в отверстие нижнего электрода с помощью дозировочной пластинки из органического стекла.
Между электродами зажигают низковольтную искру от генератора ДГ-2 силой тока 6 А, расстояние между электродами 2 мм, экспозиция 25 с.
Спектры образцов сравнения фотографируют по три раза спектрографом при ширине щели 0,01 мм.
На полученных спектрограммах измеряют почернения аналитических линий и фона вблизи аналитических линий по таблице 5.
Таблица 5
Определяемый элемент | Аналитическая линия, нм |
Железо | 259,94 |
Марганец | 280,11 |
Медь | 324,75 |
По результатам фотометрирования спектров образцов сравнения строят градуировочные графики в координатах - массовая доля (железа, марганца и меди) - почернение аналитических линий.
11.4. Проведение анализа
Анализируемую пробу серы измельчают под спиртом до такой же крупности, как и образцы сравнения, и проводят измерение почернения аналитических линий по 11.3.
По результатам фотометрирования спектров по градуировочному графику находят массовую долю железа, марганца и меди в анализируемой пробе.
За результат анализа принимают среднее арифметическое результатов двух параллельных определений, относительное допускаемое расхождение между которыми не должно превышать допускаемое расхождение, равное 30% от среднего значения.
Пределы допускаемой относительной суммарной погрешности результата анализа +/- 15%.
Воспроизводимость спектрального метода определения массовой доли железа, марганца и меди в сере характеризуется средней квадратической ошибкой +/- 15%.
12. ОПРЕДЕЛЕНИЕ МАССОВОЙ ДОЛИ ВОДЫ
12.1. Сущность метода
Метод основан на весовом определении потери массы в результате высушивания при (70 +/- 2) °C.
- шкаф сушильный типа СНОЛ, обеспечивающий устойчивую температуру нагрева (70 +/- 2) °C;
12.3. Проведение анализа
(100 +/- 1) г комовой серы и (10 +/- 1) г молотой серы взвешивают в чашках, высушенных до постоянной массы, сушат в сушильном шкафу при температуре (70 +/- 2) °C до постоянной массы и взвешивают.
Результаты всех взвешиваний в граммах записывают с точностью до третьего десятичного знака.
12.4. Обработка результатов
Массовую долю воды

, вычисляют по формуле

, (18)
где m - масса навески серы, г;

- масса остатка после высушивания, г.
За результат анализа принимают среднее арифметическое результатов двух параллельных определений, абсолютное допускаемое расхождение между которыми, а также абсолютная суммарная погрешность результатов анализа не превышает значений, указанных в таблице 6.
Таблица 6
В процентах
Массовая доля воды | Допускаемое расхождение | Суммарная погрешность |
До 0,80 включ. | 0,1 | 0,05 |
Св. 0,80 | 0,02 | 0,01 |
13. ОПРЕДЕЛЕНИЕ ГРАНУЛОМЕТРИЧЕСКОГО СОСТАВА
13.1. Сущность метода
Метод основан на весовом определении содержания фракций, полученных путем рассева пробы на ситах.
13.2. Аппаратура и реактивы:
- сита с обечайкой диаметром 75 мм, высотой 45 мм, сетка 014Н и 0071Н по
ГОСТ 6613;
- кисть-флейц (N 18 из конского волоса);
- шкаф сушильный типа СНОЛ, обеспечивающий устойчивую температуру нагрева (70 +/- 2) °C;
13.3. Проведение испытания
(20 +/- 1) г высушенной при (20 +/- 2) °C молотой серы переносят на сито с сеткой 014Н, под него помещают сито с сеткой 0071Н, а затем поддон и проводят рассев в течение 20 мин. Затем открывают крышку, раздавливают комки серы на ситах мягкой кистью и снимают серу с обратной стороны сита в следующее сито или поддон. Рассев повторяют до тех пор, пока остаток на ситах не перестанет уменьшаться.
Примечание. При отсутствии аппарата для механического рассева рассев производят вручную на тех же ситах, протирая серу на сите при помощи кисти.
По окончании рассева остаток переносят при помощи кисти во взвешенный стаканчик и взвешивают.
Результаты всех взвешиваний в граммах записывают с точностью до третьего десятичного знака.
13.4. Обработка результатов
Остаток на сите

, вычисляют по формуле

, (19)
где m - масса навески серы, г;

- масса остатка на сите, г.
За результат анализа принимают среднее арифметическое результатов двух параллельных определений, относительное расхождение между которыми не превышает допускаемое расхождение, равное 10% от среднего значения.
Пределы допускаемой относительной суммарной погрешности результата анализа +/- 7%.