Скачать СТО НОСТРОЙ 2.31.11-2011 Промышленные дымовые и вентиляционные трубы. Строительство, реконструкция, ремонт. Выполнение, контроль и сдача работДата актуализации: 01.01.2021 СТО НОСТРОЙ 2.31.11-2011
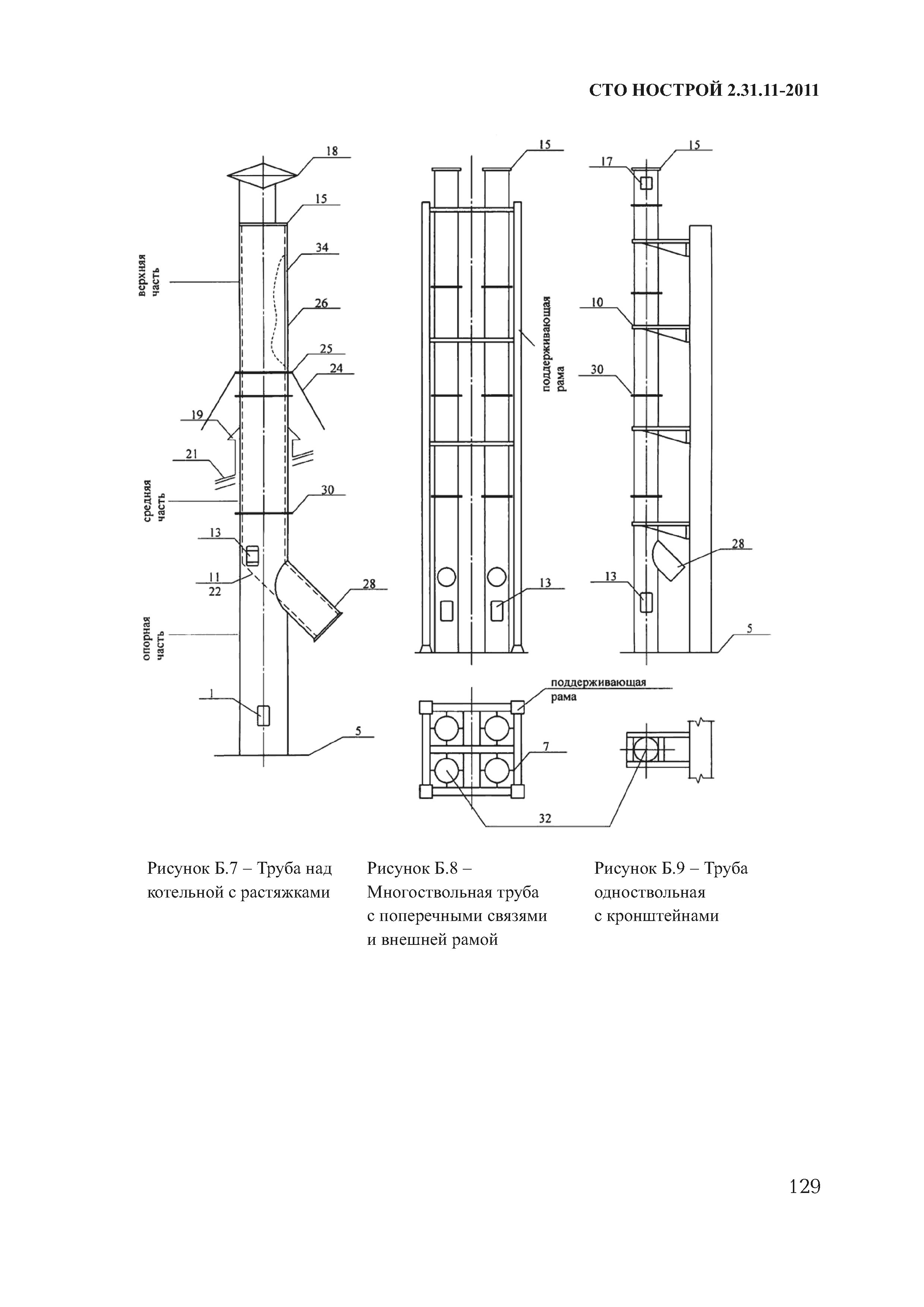
Промышленные дымовые и вентиляционные трубы. Строительство, реконструкция, ремонт. Выполнение, контроль и сдача работ| Обозначение: | СТО НОСТРОЙ 2.31.11-2011 | | Обозначение англ: | 2.31.11-2011 | | Статус: | введен впервые | | Название рус.: | Промышленные дымовые и вентиляционные трубы. Строительство, реконструкция, ремонт. Выполнение, контроль и сдача работ | | Название англ.: | Industrial chimney and air pipes. Construction, reconstruction and repair. Performance, control of execution and acceptance of work | | Дата добавления в базу: | 01.09.2013 | | Дата актуализации: | 01.01.2021 | | Область применения: | Стандарт распространяется на промышленные дымовые и вентиляционные трубы из различных материалов: кирпичные, железобетонные монолитные и сборные; металлические не футерованные и футерованные; трубы из композиционных материалов. В стандарте установлены правила выполнения работ по строительству, ремонту, обследованию, консервации, ликвидации промышленных труб. Положения пункта 10.1 является рекомендуемыми | | Оглавление: | Введение 1 Область применения 2 Нормативные ссылки 3 Термины и определения 4 Общие требования к выполнению работ 4.1 Особенности конструкций труб, учитываемые при выполнении работ 4.2 Светофорные площадки 4.3 Молниезащита 4.4 Футеровка труб 4.5 Особенности монтажа металлических труб и труб из композиционных материалов 4.6 Подготовка к началу работ по сооружению ствола трубы 4.7 Организация выполнения работ 4.8 Требования к безопасности выполнения работ 5 Кирпичные трубы 5.1 Общие требования к организации работ 5.2 Кладка цоколя 5.3 Кладка ствола трубы 5.4 Монтаж стяжных колец, светофорной площадки и молниезащиты 5.5 Особенности выполнения работ в зимних условиях 5.6 Контроль выполнения работ 6 Монолитные железобетонные трубы 6.1 Подготовительные работы 6.2 Машины и техническое обслуживание для производства работ 6.3 Опалубочные работы 6.4 Арматурные работы 6.5 Бетонные работы 6.6 Производство бетонных работ в зимних условиях 6.7 Монтаж стальных конструкций 6.8 Антикоррозийные работы 6.9 Футеровочные и теплоизоляционные работы 6.10 Сдача выполненных работ 7 Сборные железобетонные трубы 7.1 Подготовка к монтажным работам 7.2 Выполнение монтажа царг 7.3 Монтаж светофорной площадки и молниеприемников 7.4 Контроль выполнения работ пи монтаже 8 Металлические трубы 8.1 Особенности монтажа трубы в металлических конструкциях (башнях) 8.2 Металлические самонесущие трубы 8.3 Окраска конструкций труб 9 Трубы из полимерных композиционных материалов 9.1 Перевозка и хранение 9.2 Требования к состоянию элементов конструкций 9.3 Маркировка элементов конструкций 9.4 Окрасочные работы 9.5 Монтаж трубы 10 Обследование, реконструкция, ремонт, консервация 10.1 Обследование труб 10.2 Реконструкция и ремонт труб 10.3 Консервация труб Приложение А (рекомендуемое) Методические рекомендации по определению остаточного ресурса трубы Приложение Б (справочное) Конструкции и схемы организации работ по строительству труб Приложение В (рекомендуемое) Перечень рекомендаций для устранения дефектов и повреждений в трубах Приложение Г (справочное) Наиболее характерные повреждения ствола и футеровки Приложение Д (обязательное) Технические мероприятия по консервации труб Библиография | | Разработан: | Ассоциация Ростеплостроймонтаж
| | Утверждён: | 05.12.2011 Совет Национального объединения строителей (22)
| | Издан: | Издательство БСТ (2011 г. )
| | Список изменений: | | | Нормативные ссылки: |   ГОСТ 21779-82 «Система обеспечения точности геометрических параметров в строительстве. Технологические допуски»  ГОСТ 9179-77 «Известь строительная. Технические условия»  ГОСТ 10178-85 «Портландцемент и шлакопортландцемент. Технические условия»  ГОСТ 22266-94 «Цементы сульфатостойкие. Технические условия»  ГОСТ 12730.5-84 «Бетоны. Методы определения водонепроницаемости»  ГОСТ 17624-87 «Бетоны. Ультразвуковой метод определения прочности»  ГОСТ 18105-86 «Бетоны. Правила контроля прочности»  ГОСТ 22690-88 «Бетоны. Определение прочности механическими методами неразрушающего контроля»  ГОСТ 23732-79 «Вода для бетонов и растворов. Технические условия»  ГОСТ 26633-91 «Бетоны тяжелые и мелкозернистые. Технические условия»  ГОСТ 27006-86 «Бетоны. Правила подбора состава»  ГОСТ 4.233-86 «Система показателей качества продукции. Строительство. Растворы строительные. Номенклатура показателей»  ГОСТ 8267-93 «Щебень и гравий из плотных горных пород для строительных работ. Технические условия»  ГОСТ 8736-93 «Песок для строительных работ. Технические условия»  ГОСТ 10597-87 «Кисти и щетки малярные. Технические условия»  ГОСТ 10831-87 «Валики малярные. Технические условия»  ГОСТ 12871-93 «Асбест хризотиловый - хризотил. Общие технические условия»  ГОСТ 5632-72 «Стали высоколегированные и сплавы коррозионно-стойкие, жаростойкие и жаропрочные. Марки»  ГОСТ 8713-79 «Сварка под флюсом. Соединения сварные. Основные типы, конструктивные элементы и размеры»  ГОСТ 474-90 «Кирпич кислотоупорный. Технические условия»  ГОСТ 24297-87 «Входной контроль продукции. Основные положения»  ГОСТ 28013-98 «Растворы строительные. Общие технические условия»  СП 82-101-98 «Приготовление и применение растворов строительных»  ГОСТ 22353-77 «Болты высокопрочные класса точности В. Конструкция и размеры»  ГОСТ 22356-77 «Болты и гайки высокопрочные и шайбы. Общие технические условия»  ГОСТ 14771-76 «Дуговая сварка в защитном газе. Соединения сварные. Основные типы. Конструктивные элементы и размеры»  ГОСТ 11371-78 «Шайбы. Технические условия» ГОСТ 23037-99 «Заполнители огнеупорные. Технические условия»  СП 13-101-99 «Правила надзора, обследования, проведения технического обслуживания и ремонта промышленных дымовых и вентиляционных труб»  ГОСТ 21631-76 «Листы из алюминия и алюминиевых сплавов. Технические условия»  ГОСТ 13078-81 «Стекло натриевое жидкое. Технические условия»  ГОСТ 1779-83 «Шнуры асбестовые. Технические условия»  ГОСТ 11533-75 «Автоматическая и полуавтоматическая дуговая сварка под флюсом. Соединения сварные под острыми и тупыми углами. Основные типы, конструктивные элементы и размеры»  ГОСТ 10181-2000 «Смеси бетонные. Методы испытаний»  ГОСТ 23518-79 «Дуговая сварка в защитных газах. Соединения сварные под острыми и тупыми углами. Основные типы, конструктивные элементы и размеры»  ГОСТ 1759.0-87 «Болты, винты, шпильки и гайки. Технические условия»  ВСН 286-72 «Указания по расчету железобетонных дымовых труб»  Федеральный закон 184-ФЗ «О техническом регулировании»  ПБ 03-445-02 «Правила безопасности при эксплуатации дымовых и вентиляционных промышленных труб»  ТСН 20-302-2002 Краснодарского края «Нагрузки и воздействия. Ветровая и снеговая нагрузки»  ГОСТ 10906-78 «Шайбы косые. Технические условия»  ГОСТ 10834-76 «Жидкость гидрофобизирующая 136-41. Технические условия»  ГОСТ 11358-89 «Толщиномеры и стенкомеры индикаторные с ценой деления 0,01 и 0,1 мм. Технические условия»  ГОСТ 28379-89 «Шпатлевки ЭП-0010 и ЭП-0020. Технические условия»  ГОСТ 6467-79 «Шнуры резиновые круглого и прямоугольного сечений. Технические условия»  ГОСТ Р 52085-2003 «Опалубка. Общие технические условия»  РД 03-610-03 «Методические указания по обследованию дымовых и вентиляционных промышленных труб»  ГОСТ Р 51641-2000 «Материалы фильтрующие зернистые. Общие технические условия»  СП 52-101-2003 «Бетонные и железобетонные конструкции без предварительного напряжения арматуры»  Кодекс «Градостроительный кодекс Российской Федерации»  РД 11-02-2006 «Требования к составу и порядку ведения исполнительной документации при строительстве, реконструкции, капитальном ремонте объектов капитального строительства и требования, предъявляемые к актам освидетельствования работ, конструкций, участков сетей инженерно-технического обеспечения»  ГОСТ Р 52644-2006 «Болты высокопрочные с шестигранной головкой с увеличенным размером под ключ для металлических конструкций. Технические условия»  ГОСТ 530-2007 «Кирпич и камень керамические. Общие технические условия» Технический регламент «Технический регламент о безопасности зданий и сооружений»  ГОСТ Р 53231-2008 «Бетоны. Правила контроля и оценки прочности»  ГОСТ Р ИСО 4759-1-2009 «Изделия крепежные. Допуски. Часть 1. Болты, винты, шпильки и гайки. Классы точности А, В и С»  ГОСТ Р ИСО 6157-2-2009 «Изделия крепежные. Дефекты поверхности. Часть 2. Гайки»  ГОСТ 24211-2008 «Добавки для бетонов и строительных растворов. Общие технические условия»  СП 48.13330.2011 «Организация строительства»  СП 16.13330.2011 «Стальные конструкции»  СП 27.13330.2011 «Бетонные и железобетонные конструкции, предназначенные для работы в условиях воздействия повышенных и высоких температур»  СП 14.13330.2011 «Строительство в сейсмических районах»  СП 20.13330.2011 «Нагрузки и воздействия»  СП 28.13330.2012 «Защита строительных конструкций от коррозии»  ГОСТ Р МЭК 62305-1-2010 «Менеджмент риска. Защита от молнии. Часть 1. Общие принципы»  ГОСТ Р МЭК 62305-2-2010 «Менеджмент риска. Защита от молнии. Часть 2. Оценка риска»  ГОСТ 7473-2010 «Смеси бетонные. Технические условия»  СП 15.13330.2012 «Каменные и армокаменные конструкции»  СТО НОСТРОЙ 2.31.5-2011 «Промышленные печи и тепловые агрегаты. Строительство, реконструкция, ремонт. Выполнение, контроль выполнения и сдача работ»
|
                                                                                                                                                                    
Текстовое изменение № 1 от 14.04.2014
                      
Текстовое изменение Поправка от 02.06.2017
|