Скачать СП 27.13330.2011 Бетонные и железобетонные конструкции, предназначенные для работы в условиях воздействия повышенных и высоких температурДата актуализации: 01.01.2021
|
| Обозначение: | СП 27.13330.2011 |
| Обозначение англ: | SP 27.13330.2011 |
| Статус: | не подлежит применению |
| Название рус.: | Бетонные и железобетонные конструкции, предназначенные для работы в условиях воздействия повышенных и высоких температур |
| Название англ.: | Concrete and Reinforced Concrete Structures intended for the Service in Elevated and High Temperatures |
| Дата добавления в базу: | 01.09.2013 |
| Дата актуализации: | 01.01.2021 |
| Дата введения: | 20.05.2011 |
| Дата окончания срока действия: | 16.11.2017 |
| Область применения: | Правила распространяются на проектирование бетонных и железобетонных конструкций, систематически подвергающиеся воздействиям повышенных (от 50 до 200 градусов Цельсия включительно) и высоких (свыше 200 градусов Цельсия) технологических температур и увлажнению техническим паром. |
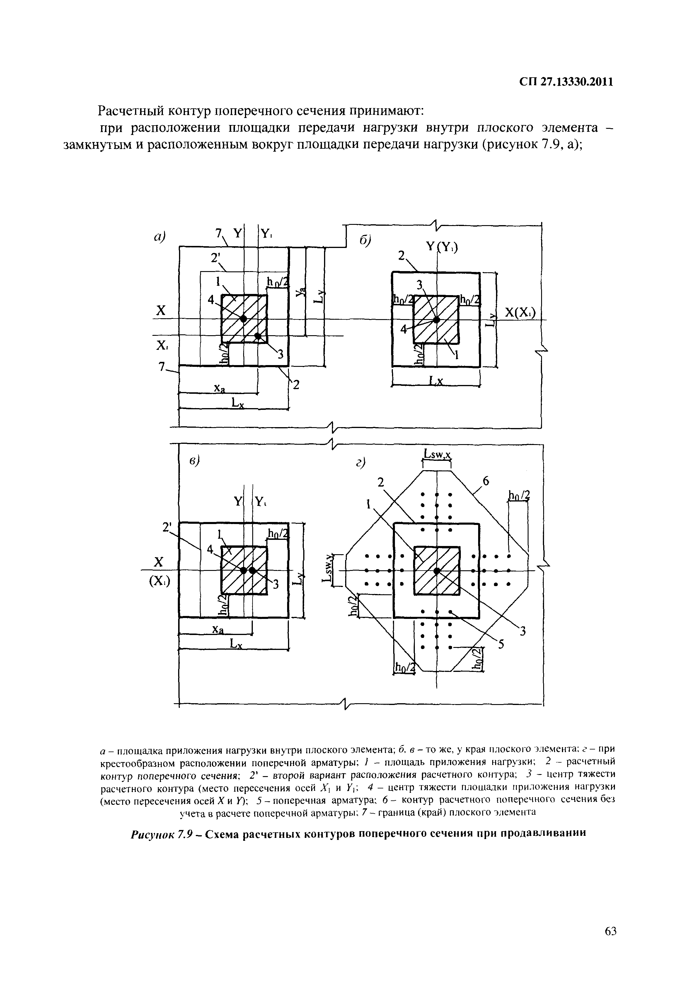
| Оглавление: | Введение 1. Область применения 2. Нормативные ссылки 3. Термины и определения 4. Общие указания Основные положения Основные расчетные расчетные требования Дополнительные указания по расчету предварительно напряженных конструкций 5. Материалы для бетонных и железобетонных конструкций Бетон Показатели качества бетона и их применение при проектировании Нормативные и расчетные характеристики бетона Деформационные характеристики бетона Арматура Показатели качества Нормативные и расчетные характеристики арматуры Деформационные характеристики бетона 6. Расчет элементов бетонных и железобетонных конструкций на воздействие температуры Расчет температуры в бетоне железобетонных конструкций Расчет деформаций от воздействия температуры Расчет усилий от воздействия температуры 7. Расчет элементов бетонных и железобетонных конструкций по предельным состояниям первой группы Расчет бетонных элементов по прочности Расчет железобетонных элементов по прочности Основные положения Прочность сечений изгибаемых элементов Прочность внецентренно сжатых элементов Прочность растянутых элементов Проверка прочности нормальных сечений на основе деформационной модели Расчет прочности железобетонных элементов на действие поперечных сил Общие положения Расчет железобетонных элементов по полосе между наклонными сечениями Расчет железобетонных элементов по наклонным сечениям на действие поперечных сил Расчет железобетонных элементов по наклонным сечениям на действие моментов Расчет железобетонных элементов на местное сжатие Общие положения Расчет элементов на местное сжатие при отсутствии косвенной арматуры Расчет элементов на местное сжатие при наличии косвенной арматуры Расчет железобетонных элементов на продавливание Общие положения Расчет элементов без поперечной арматуры на продавливание при действии сосредоточенной силы Расчет элементов с поперечной арматурой на продавливание при действии сосредоточенной силы Расчет элементов на продавливание при действии сосредоточенных сил и изгибающего м0мента 8. Расчет элементов железобетонных конструкций по предельным состояниям второй группы Общие положения Расчет железобетонных элементов по раскрытию трещин Определение момента образования трещин, нормальных к продольной оси элемента Расчет ширины раскрытия трещин, нормальных к продольной оси элемента Расчет элементов железобетонных конструкций по деформациям Расчет железобетонных элементов по прогибам Жесткость железобетонного элемента на участке без трещин в растянутой зоне Жесткость железобетонного элемента на участке с трещинами в растянутой зоне Определение кривизны железобетонных элементов на основе деформационной модели 9. Конструктивные требования Общие положения Геометрические размеры конструкций Армирование Защитный слой бетона Минимальное расстояние между стержнями арматуры Продольное армирование Поперечное армирование Анкеровка арматуры Соединение арматуры Гнутые стержни Стыки элементов сборных конструкций Отдельные конструктивные требования Требования, указываемые в проектах Приложение А (рекомендуемое). Примеры применения жаростойкого бетона в элементах конструкций тепловых агрегатов Приложение Б (обязательное). Основные буквенные обозначения Библиография |
| Разработан: | ОАО НИЦ Строительство НИИЖБ им. А.А. Гвоздева |
| Утверждён: | 28.12.2010 Министерство регионального развития Российской Федерации (827) |
| Список изменений: |
|
| Нормативные ссылки: |
|
























































































































Текстовое изменение опечатки от 01.06.2011