Главная // Актуальные документы // ПереченьСПРАВКА
Источник публикации
Документ опубликован не был
Примечание к документу
Документ
введен в действие с 15 марта 2018 года.
Название документа
"ЛВ2.0003 КО. Руководство. Электропоезда. Общее руководство по капитальному ремонту"
(утв. Распоряжением ОАО "РЖД" от 25.12.2017 N 2726р)
"ЛВ2.0003 КО. Руководство. Электропоезда. Общее руководство по капитальному ремонту"
(утв. Распоряжением ОАО "РЖД" от 25.12.2017 N 2726р)
от 25 декабря 2017 г. N 2726р
РУКОВОДСТВО
ЭЛЕКТРОПОЕЗДА. ОБЩЕЕ РУКОВОДСТВО
ПО КАПИТАЛЬНОМУ РЕМОНТУ
ЛВ2.0003 КО
Настоящий документ "Электропоезда. Общее руководство по капитальному ремонту" ЛВ2.0003 КО (далее - Руководство) определяет требования к проведению опытного капитального ремонта электропоездов серий: ЭД2Т, ЭД4, ЭД4М, ЭД4МК, ЭД4МКМ-АЭРО, ЭД4МКу, ЭД9М, ЭД9МК, ЭД9Т, ЭД9Э, ЭМ2К, ЭМ9, ЭР2, ЭР2К, ЭР2Р, ЭР2Т, ЭР9Е, ЭР9М, ЭР9МК, ЭР9П, ЭР9Т, ЭТ2, ЭТ2М, ЭМ4, ЭМ2И (далее - электропоезд).
Руководство разработано в соответствии с требованиями Единой системы конструкторской документации, конструкторской документацией предприятий - изготовителей электропоездов и конструкторской документацией изготовителей установленного на электропоездах оборудования.
Перечень документов, которыми необходимо руководствоваться при проведении капитального ремонта электропоездов, приведен в
Приложении А.
Руководство устанавливает:
- правила и порядок проведения капитальных ремонтов электропоездов в соответствии с "
Правилами технической эксплуатации железных дорог Российской Федерации" (далее - ПТЭ), введенными приказом Минтранса России от 21.12.2010 N 286 и
Положением "О планово-предупредительном ремонте моторвагонного подвижного состава открытого акционерного общества "Российские железные дороги", введенным распоряжением ОАО "РЖД" от 19.12.2016 N 2585р;
- объем работ, выполняемых при капитальных ремонтах КР-1 и КР-2 электропоездов;
- требования к электропоездам и оборудованию электропоездов после выполнения капитального ремонта;
- требования по допускам и износам деталей и сборочных единиц электропоездов;
- требования по применению смазочных материалов согласно
Приложению Р;
- правила и порядок приемки электропоездов после ремонта.
Руководство предназначено для использования на предприятиях, выполняющих капитальный ремонт электропоездов, и обязательно для исполнения работниками, выполняющими ремонт электропоездов.
1 Термины, определения и сокращения
1.1 В Руководстве применены следующие термины с соответствующими определениями:
1.1.1 дефект - Каждое отдельное несоответствие объекта установленным требованиям. |
1.1.2 дефектация - Техническое диагностирование электропоезда и (или) сборочных единиц электропоезда, выполняемое с частичной или полной их разборкой.
1.1.3 исправная деталь - Деталь, которая по результатам проверки (освидетельствования, ревизии, испытаний) удовлетворяет требованиям технической документации и данного Руководства и пригодна для дальнейшей работы без ремонта.
1.1.4 негодная деталь (сборочная единица, изделие) - Деталь, которая не удовлетворяет требованиям технической документации и данного Руководства, и ремонт которой технически невозможен или экономически нецелесообразен.
1.1.5 неисправная деталь (сборочная единица, изделие) - Деталь, которая по результатам проверки (освидетельствования, ревизии, испытаний) не удовлетворяет требованиям технической документации и данного Руководства и требует ремонта.
Примечание. После проведения ремонта деталь пригодна для дальнейшего использования.
1.1.6 отпайка - Отвод, ответвление провода от основной линии.
1.1.7 технический объект (объект) - Любое изделие (элемент, устройство, подсистема, функциональная единица или система), которое можно рассматривать в отдельности. |
1.1.8 ревизия - Комплекс операций по определению технического состояния и техническому обслуживанию электропоезда или его составных частей с применением средств технологического оснащения.
1.1.9 ремонт - Комплекс операций по восстановлению исправности или работоспособности электропоезда (объекта ремонта) и восстановления ресурса электропоезда или его составных частей.
Примечание. В ремонт могут входить операции по проверке, дефектации, ревизии, разборке, очистке, восстановлению, сборке, смазке, испытанию и др.
1.1.10 технический контроль - Проверка соответствия объекта установленным техническим требованиям. |
1.1.11 технический осмотр (проверка) - Контроль, осуществляемый в основном при помощи органов чувств и, в случае необходимости, средств контроля, номенклатура которых установлена соответствующей документацией. |
1.1.12 техническое диагностирование (диагностирование) - Определение технического состояния объекта (поиск и обнаружение дефектов) приборами без его разборки.
1.1.13 техническое освидетельствование (освидетельствование) - Технический осмотр и испытание электропоезда и (или) сборочных единиц электропоезда на соответствие требованиям нормативной документации и Руководства с применением средств технологического оснащения.
1.1.14 техническое состояние объекта (состояние) - Состояние, которое характеризуется в определенный момент времени, при определенных условиях внешней среды, значениями параметров, установленных технической документацией на объект. |
1.15 Фехраль - лента (провод) с высоким электрическим сопротивлением
ГОСТ 12766.2-90.
1.1.16 элемент - Составная часть технического объекта, рассматриваемая при проведении анализа как единое целое, не подлежащее дальнейшему разукрупнению. |
1.2 В Руководстве применены следующие сокращения:
АДО | - | шина из сплава АДО ГОСТ 15176-89; |
АЛСН | - | автоматическая локомотивная сигнализация непрерывного действия; |
АМД | - | автомат минимального давления выключателя ВОВ-25-4М; |
ВТК | - | вихретоковый метод неразрушающего контроля; |
в/и | - | все исполнения; |
ЕСКД | - | Единая система конструкторской документации; |
КЛУБ-У | - | унифицированное комплексное локомотивное устройство безопасности движения; |
КПД | - | |
КПД | - | |
КР-1 (КР-2) | - | капитальный ремонт первого (второго) объема; |
ЛММ, ШММ | - | |
МПК | - | магнитопорошковый метод неразрушающего контроля; |
МПСУТП | - | микропроцессорная система управления тяговым приводом; |
ОТК | - | отдел технического контроля; |
ПБД | - | провод ТУ 16.К28.001-90; |
ПСД | - | провод ТУ 16.К56.006-91; |
ПЭВ-1, ПЭВ-2, ПЭЛ, ПЭЛШД, ПЭЛШКД, ПЛШО, ПЭТВ, ПЭТВ-2, ПЭТ-155, ПЭТ-200 | - | |
САВПЭ | - | система автоведения пригородных электропоездов; |
САУТ | - | система автоматического управления торможением поезда; |
СПЛ | - | сплав порошковый легированный; |
ССБТ | - | Система стандартов безопасности труда; |
УАПВ | - | установка аэрозольного пожаротушения вагонов; |
УЗК | - | ультразвуковой метод неразрушающего контроля; |
1211, 1212, 1521, 1572, 2211, 2212, 3406, 3407, 3408, 3413, 3414 | - | марки стали группы ГОСТ 21427 |
2.1 Порядок планирования, учет проведения и нормирование продолжительности капитального ремонта электропоездов определены
Положением "О планово-предупредительном ремонте моторвагонного подвижного состава открытого акционерного общества "Российские железные дороги" (
N 98 Приложения А).
2.2 Планово-предупредительная система ремонта моторвагонного подвижного состава предназначена для обеспечения устойчивой работы электропоездов, поддержания их в исправном техническом состоянии и повышения эксплуатационной надежности.
2.3 Планово-предупредительная система ремонта электропоездов предусматривает следующие виды капитального ремонта электропоездов:
- капитальный ремонт КР-1;
- капитальный ремонт КР-2.
2.4 КР-1 и КР-2 электропоездов проводятся на локомотиворемонтных и электровагоноремонтных заводах ОАО "РЖД" или в сторонних организациях, сертифицированных в установленном порядке на проведение ремонта электропоездов (далее - ремонтное предприятие).
КР-1 электропоездов проводится также и в специализированных моторвагонных (локомотивных) депо.
2.5 При отсутствии необходимых стендов и оснастки для проведения ремонта сборочных единиц, агрегатов и оборудования электропоездов на ремонтном предприятии допускается в установленном в ОАО "РЖД" порядке производить ремонт этих сборочных единиц, агрегатов и оборудования на других предприятиях.
2.6 Межремонтные пробеги электропоездов должны соответствовать нормативным документам ОАО "РЖД", устанавливающим периодичность проведения капитальных ремонтов электропоездов.
2.7 Руководство определяет основные требования и устанавливает перечень необходимых работ при КР-1 и КР-2 электропоездов.
2.8 Объем и порядок выполнения обязательных работ при капитальном ремонте, браковочные признаки и допускаемые методы восстановления деталей, узлов и агрегатов устанавливаются данным Руководством, эксплуатационной и ремонтной документацией на электропоезда, их сборочные единицы и агрегаты.
2.9 При КР-1 и КР-2 на электропоездах допускается производить конструктивные изменения оборудования и электрических схем, постановку нового оборудования только на основании утвержденной или согласованной с ОАО "РЖД" технической документации.
Изменения, вносимые при ремонте в конструкцию электропоезда, его оборудование и электрическую схему, необходимо указывать в паспортах (формулярах) электропоезда (оборудования).
Ранее выполненная модернизация оборудования должна быть сохранена по требованию Заказчика.
Ремонт узлов, агрегатов и оборудования электропоездов, не указанных в данном Руководстве, проводить по технической документации предприятия-изготовителя по согласованию с ОАО "РЖД". При проведении модернизации электропоездов руководствоваться требованиями
раздела 6 Технического регламента Таможенного союза 001/2011 "О безопасности железнодорожного подвижного состава".
2.10 Материалы, полуфабрикаты и комплектующие изделия, применяемые при капитальном ремонте электропоездов, должны отвечать требованиям соответствующих стандартов или технических условий. На каждую партию материалов, полуфабрикатов и комплектующих изделий, поступающих на предприятие, должен быть сертификат или другой документ, подтверждающий качество материалов, полуфабрикатов и комплектующих изделий.
Материалы, полуфабрикаты и комплектующие изделия должны быть подвергнуты верификации по утвержденному ремонтным предприятием перечню в соответствии с
ГОСТ 24297-2013.
Условия и сроки хранения материалов, полуфабрикатов и комплектующих изделий должны соответствовать требованиям нормативной документации на соответствующую продукцию.
2.11 Отремонтированные и изготовленные детали, узлы и агрегаты, а также электропоезд после сборки должны быть проверены и испытаны в соответствии с установленными требованиями, для чего предприятия должны иметь необходимые для этого стенды, приборы, приспособления и инструмент.
2.12 На отремонтированные электропоезда, их сборочные единицы и агрегаты устанавливаются гарантийные сроки службы, приведенные в
разделе 20 данного Руководства.
Взаимоотношения между ремонтным предприятием и заказчиком по вопросам ремонта электропоездов, сборочных единиц и агрегатов, их модернизации, планов ремонта, гарантийных сроков службы, гарантийной ответственности за произведенный ремонт определяются нормативными документами ОАО "РЖД" и договорами.
2.13 Измерительные приборы, дефектоскопы, инструменты и устройства для проверки и испытания электропоезда, его деталей, сборочных единиц и агрегатов, а также поступающих материалов и комплектующих должны содержаться в постоянной исправности и подвергаться периодической калибровке (поверке, метрологическому контролю) в установленные сроки. Испытательные стенды должны быть аттестованы в соответствии с документом (
N 92 Приложения А).
2.14 Детали электропоездов, перечень которых приведен в
Приложении Б, подлежат обязательному неразрушающему контролю в соответствии с требованиями документов по неразрушающему контролю (
N 103,
133,
134,
135,
136 Приложения А).
2.15 Сварочные и наплавочные работы и контроль сварки и наплавки при ремонте или изготовлении деталей и сборочных единиц электропоездов выполнять в соответствии с требованиями (
N 130 Приложения А), конструкторской документации.
2.16 Защитные и декоративные покрытия деталей электропоезда должны быть выполнены в соответствии с
ГОСТ Р 54893-2012.
Допускается замена хромирования деталей другим защитным покрытием по согласованию с ОАО "РЖД".
2.17 Резинотехнические изделия (втулки, манжеты, прокладки и др.) заменить новыми в соответствии с требованиями Руководства.
Резинотехнические изделия, устанавливаемые при ремонте электропоездов, должны соответствовать конструкторской документации на эти изделия и требованиям нормативной документации ОАО "РЖД" к качеству продукции.
Допускается изготавливать резинотехнические изделия из резины, соответствующей требованиям ТУ 2500-295-00152106-93.
2.18 Детали и сборочные единицы, устанавливаемые взамен негодных, должны изготавливаться по конструкторской документации.
2.19 При креплении деталей и сборочных единиц электропоездов не допускается оставлять или устанавливать вновь болты, винты, шпильки и гайки с изношенной, сорванной или забитой резьбой, деформированными гранями головок или трещинами. Концы шплинтов должны быть разведены в соответствии с требованиями конструкторской документации.
Пружинные, стопорные шайбы и шплинты заменить новыми независимо от состояния. В соответствии с требованиями нормативной документации на комплектующие изделия заменить детали крепления на новые, соответствующие ТУ.
2.20 Все отремонтированные и вновь изготовленные детали, сборочные единицы и агрегаты должны быть проверены (в соответствии с требованиями нормативной документации) и приняты ОТК.
2.21 Перечень деталей, сборочных единиц и агрегатов электропоезда, подлежащих испытаниям, определен данным Руководством. Объем, параметры и порядок проведения испытаний и проверки должны соответствовать данному Руководству, документам, приведенным в
Приложении А, и конструкторской документации.
2.22 Обязательной проверке и испытаниям подлежат:
- тяговые двигатели, тяговые трансформаторы;
- вспомогательные электрические машины, все электрические аппараты и электронное оборудование;
- компрессоры;
- электрические цепи каждого вагона в отдельности и электропоезда в целом;
- системы кондиционирования воздуха салона;
- электропневматические клапаны, краны машиниста, реле давления, воздухораспределители, предохранительные и обратные клапаны, пробковые и концевые краны, стоп-краны, воздушные резервуары, рукава соединительные тормозной и напорной магистрали, воздухопроводы;
- авторегуляторы тормозной рычажной передачи;
- детали центрального подвешивания, детали тормозной рычажной передачи, гидравлические гасители колебаний;
- рукава токоприемников;
- колесно-редукторные блоки;
- пружины;
- система пожарной сигнализации.
3.1 Администрация ремонтных предприятий обязана обеспечить надлежащее техническое оснащение рабочих мест, организацию труда на них и создать условия, соответствующие требованиям ССБТ и отраслевым Правилам и Инструкциям по охране труда и пожарной безопасности (
N 90,
95,
101 Приложения А).
3.2 Действующие и разрабатываемые вновь технологические процессы ремонта должны полностью обеспечивать безопасное производство работ и соответствовать требованиям указанных нормативных документов.
3.3 К выполнению работ по ремонту электропоездов допускаются лица, имеющие профессиональную подготовку (в том числе по охране труда). Организация обучения и проверки знаний работников по охране труда должна соответствовать
ГОСТ 12.0.004-2015.
3.4 Требования охраны труда с учетом местных условий должны быть отражены в технологической документации и других документах по охране труда, пожарной безопасности и производственной санитарии (стандартах, инструкциях по охране труда для различных профессий и др.), утвержденных руководством ремонтного предприятия.
4.1 КР-1
4.1.1 При КР-1 электропоездов выполнить следующие работы:
- ремонт тележек:
а) выкатку, очистку, разборку, дефектацию и ремонт рам со снятием всего оборудования;
б) дефектоскопию ответственных узлов и деталей;
в) замену не подлежащих ремонту валиков, болтов, втулок;
г) ремонт обрезиненных изделий с заменой не подлежащих ремонту деталей;
д) дефектацию цилиндрических пружин;
е) ремонт и восстановление деталей тормозной рычажной передачи с заменой изношенных валиков и втулок;
ж) окраску рам и деталей тележек;
и) ремонт рессорного подвешивания и измерение высоты пружин под рабочей нагрузкой;
- полное освидетельствование и ремонт колесных пар в соответствии с документом (
N 99 Приложения А);
- ремонт буксового и редукторного узлов - в соответствии с документом (
N 108 Приложения А);
- ремонт буксовых поводков в соответствии с документом (
N 145 Приложения А);
- наружную обмывку (зону расположения электрооборудования под кузовом вагона не мыть), очистку и окраску кузова (допускается окрашивать только поврежденные участки);
- ремонт потолков, стен, полов, люков, оконных блоков, багажных полок;
- ремонт диванов, внутренней фурнитуры;
- ремонт покрытия пола;
- ремонт переходных площадок, ударных переходных металлических рам, шпинтонов пятниковых опор и скользунов после снятия с кузова, обеспечивая их соответствие требованиям, приведенным в
Приложении В;
- ремонт автосцепных устройств в соответствии с Инструкцией (
N 96 Приложения А);
- ремонт сцепных устройств БСУ-4 и БСУ-ТМ в соответствии с требованиями документов (
N 129,
184 Приложения А);
- восстановление защитных и декоративных покрытий деталей вагона в соответствии с конструкторской документацией и требованиями документа (
N 62 Приложения А);
- ремонт (средний или капитальный) тяговых двигателей, вспомогательных электрических машин (в том числе расщепителя фаз РФ1Д.6 1У1) в соответствии с документом (
N 112 Приложения А);
- ремонт тяговых трансформаторов в соответствии с документом (
N 113 Приложения А);
- ремонт электрической аппаратуры - снятие, очистку, разборку, ремонт деталей и сборочных единиц, замену не подлежащих ремонту аппаратов, регулировку всех электрических аппаратов;
- установку новых аккумуляторных батарей;
- проверку состояния и крепления высоковольтных и низковольтных проводов с диагностированием их целостности и электрической прочности. Для проверки наконечники силовых проводов разбандажировать и забандажировать после проверки;
- ремонт (замену) поврежденных проводов. При замене проводов устанавливать только провода пониженной пожарной опасности, не распространяющие горение
ГОСТ 33326-2015 и требованиями документа (
N 1 Приложения А);
- ремонт (замену) контактных соединений, междувагонных соединений цепей управления и отопления;
- ремонт пневматического и тормозного оборудования - снятие, очистку, ремонт и испытание всего тормозного оборудования, воздухопроводов в соответствии с документом (
N 109 Приложения А), ремонт воздушных резервуаров в соответствии с документом (
N 93 Приложения А);
- ремонт электропневматического клапана, скоростемеров.
4.2 КР-2
4.2.1 При КР-2 электропоездов выполнить работы по КР-1 и дополнительные работы:
- полную очистку от старой краски и ржавчины металлической наружной поверхности кузова и очистку от разрушенного покрытия и отслоившейся ржавчины скрытых внутренних поверхностей;
- полную разборку внутренней обшивки стен и потолков вагонов с заменой теплоизоляции, замену полов в тамбурах и салонах вагонов, ремонт оконных блоков с разборкой оконного проема, разборку и ремонт диванов, дверей;
- полную замену высоковольтных и низковольтных проводов на провода пониженной пожарной опасности, не распространяющие горение
ГОСТ 33326-2015 в соответствии с требованиями документа (
N 1 Приложения А);
- полную разборку и очистку воздухопроводов и кондуитов с заменой негодных труб и соединений;
- гидравлические испытания воздухопроводов, тормозной и питательной магистралей. Испытания производить в соответствии с документом (
N 109 Приложения А).
4.3 Сдача электропоездов в ремонт
4.3.1 Порядок сдачи и приема электропоездов в ремонт регламентируются нормативными документами ОАО "РЖД" и определяются договорами.
4.3.2 Электропоезд перед отправкой на ремонтное предприятие должен быть очищен от мусора и загрязнений. Салоны, тамбуры и туалетные помещения вагонов должны быть промыты и продезинфицированы. Вагоны электропоездов, оборудованные туалетными комплексами "Экотол ЭП" и "Экотол ЭП-И", направляются в ремонт только после опорожнения, промывки, дезинфекции, механической очистки сливного бака и унитаза, слива воды из расходных баков и трубопроводов, ведущих к унитазу и раковине, сброса давления воздуха в подводящих пневмомагистралях. Сливные отверстия унитаза, раковины, трубы откачки должны быть закрыты и опломбированы в соответствии с документами (
N 111,
171 Приложения А).
Санитарная обработка электропоездов должна подтверждаться справкой организации государственного надзора за санитарным состоянием.
4.3.3 Электропоезда, направляемые в ремонт, должны быть укомплектованы деталями и сборочными единицами в соответствии с конструкторской документацией. Дополнительно электропоезда оснастить инструментом и инвентарем, необходимым при следовании в ремонт и из ремонта, перечень которого приведен в
Приложении Г, и комплектом заряженных огнетушителей в соответствии с документами (
N 101,
104 Приложения А), сопроводительной и технической документацией. Перед отправкой в ремонт не допускается снимать с электропоездов агрегаты, сборочные единицы и детали, за исключением указанных в пункте 4.3.4 Руководства.
4.3.4 Перед отправкой в ремонт демонтировать с электропоезда съемные блоки приборов безопасности (КЛУБ, КПД, УАПВ, САУТ и др.), радиостанции и аккумуляторные батареи.
4.3.5 В ремонт Заказчик должен передать ремонтному предприятию электропоезда со следующей документацией:
- комплект технических паспортов (формуляров) на электропоезд, его сборочные единицы и агрегаты, содержащий сведения о выполненных пробегах, состоянии основного оборудования, ранее выполненных изменениях при модернизации, с обозначением проекта, дополнительно установленных приборах, опытных конструкций в соответствии с действующими нормативными документами ОАО "РЖД";
- предварительную опись неисправностей электропоезда. Заявку на выполнение работ по модернизации предоставлять ремонтному предприятию не позднее, чем за шестьдесят дней до подачи подвижного состава в ремонт;
- заявку на ремонт или сохранение оборудования, установленного с разрешения ОАО "РЖД", вместе с утвержденной технической документацией на это оборудование, если это разрешение не носит сетевого характера. При отсутствии разрешения ОАО "РЖД" и необходимой документации ремонтное предприятие ремонтирует электропоезд в соответствии с утвержденной технической документацией на данную серию электропоезда по согласованию с заказчиком. Конструкции с изменениями в этом случае подлежат демонтажу;
- техническую документацию необходимую для выполнения ремонта и модернизации в соответствии с договором на ремонт;
- заявку на выполнение дополнительных работ сверх объема ремонта, согласованную в ОАО "РЖД".
4.3.6 Сдача электропоезда в ремонт производится на ремонтном предприятии и оформляется приемочным актом уполномоченными представителями Заказчика и ремонтного предприятия.
4.4 Разборка электропоезда и подготовка к дефектации и ремонту
4.4.1 Очистить и обмыть вагоны электропоезда от транспортных загрязнений и установить на ремонтные позиции, выкатить тележки из-под вагонов.
4.4.2 Сборочные единицы и агрегаты вагона осмотреть, неисправные и подлежащие обязательному съему с вагона вне зависимости от их технического состояния снять и переместить в соответствующие цеха или отделения для ремонта.
Порядок и объем разборки сборочных единиц и агрегатов вагонов электропоезда указан в соответствующих разделах Руководства.
4.4.3 Все детали после каждого этапа разборки сборочных единиц и агрегатов перед дефектацией и ремонтом должны быть очищены.
Определение износа и годности деталей в процессе дефектации производят наружным осмотром, соответствующими средствами измерений и неразрушающего контроля.
При дефектации определяют согласно требованиям Руководства и конструкторской документации детали, годные для дальнейшей эксплуатации без ремонта, детали, требующие ремонта, в том числе с восстановлением поверхностей, и детали, не подлежащие ремонту (негодные детали).
5.1.1 Тележки полностью разобрать.
Провести дефектацию деталей тележек перед дальнейшим ремонтом.
5.2.1 Рамы тележек установить на опоры, осмотреть и измерить.
Проверить наличие заводской маркировки с датой изготовления тележки. Рамы тележки с истекшим сроком службы, а также тележки, срок службы которых истекает через 2 года после проведения КР, - браковать.
5.2.2 Снять неисправные и поврежденные съемные детали и узлы, отремонтировать; при невозможности ремонта заменить.
5.2.3 Осмотреть все сварные соединения с целью выявления трещин в основном металле и сварных швах. Особое внимание обратить на места соединения продольных и поперечных балок, всех кронштейнов, приваренных к раме тележки, упоров боковых скользунов к поперечным балкам, привалочных плоскостей крепления тяговых двигателей и кронштейнов тормозных подвесок.
5.2.4 Заварить трещины в основном металле и сварных швах согласно требованиям документа (
N 130 Приложения А) и конструкторской документации.
5.2.5 Проверить основные размеры рам тележек.
Размеры должны соответствовать допустимым требованиям
Приложения Д. Допускается оставлять вмятины глубиной не более 10 мм. Допускается прогиб продольных и поперечных балок в вертикальном и горизонтальном направлении не более 10 мм.
5.2.6 Горизонтальные поверхности опоры под тяговый двигатель при износе до 2 мм зачистить и выровнять, более 2 мм восстановить электродуговой наплавкой с последующей обработкой на вертикальных привалочных поверхностях. Отклонение от плоскостности допускается не более 0,25 мм.
5.2.7 Определить износ рабочих поверхностей кронштейнов, выработку в отверстиях втулок и прочность их посадки.
Допускается использовать на тележках головного вагона рамы прицепных тележек, доработанные под установку приемных катушек АЛСН.
5.3 Буксовые направляющие с наличниками
5.3.1 Выработанные отверстия под крепежные винты и болты, канавки, служащие упором наличников, и выработанные узкие боковые грани буксовых направляющих восстановить электронаплавкой с последующей механической обработкой. На обработанных поверхностях буксовых направляющих допускаются литейные раковины диаметром до 2 мм, глубиной до 3 мм, общей площадью не более 25 мм2.
5.3.2 Буксовые наличники с износом по широким и узким граням более допустимых требований, указанных в
Приложении Д, восстановить или заменить новыми.
5.3.3 Буксовые наличники рам тележек должны плотно прилегать к буксовым направляющим. Допускается зазор по узким граням до 0,2 мм по всей длине и местные зазоры до 0,3 мм на длине 50 мм. По плоскости прилегания широкой грани зазор допускается до 0,5 мм на длине 50 мм.
5.3.4 Головки винтов и болтов, крепящих наличники, должны быть утоплены в тело наличника на глубину от 1 до 2 мм. Допускается изготовление наличников моторных колесных пар из стали марки Ст09Г2
ГОСТ 19281-89.
5.3.5 Крепление допускается простыми гайками с пружинными шайбами или корончатыми со шплинтами. Болты крепления наличников должны соответствовать чертежам изготовителя.
5.3.6 Для обеспечения прилегания буксовых направляющих к наличникам в соответствии с требованиями
Приложения Д допускается обработка привалочных поверхностей наличников буксовых направляющих. Допускается подкладывать одну стальную прокладку толщиной не более 2 мм.
5.4.1 Шпинтоны с износом более допустимых требований, указанных в
Приложении Д, восстановить наплавкой с последующей механической обработкой до чертежных размеров.
5.4.2 Проверить правильность постановки шпинтонов измерением расстояний середин проемов между шпинтонами вдоль, поперек и по диагонали.
5.4.3 Для обеспечения правильного положения шпинтонов допускается установка прокладок под основание шпинтонов с креплением их не менее чем двумя болтами. Количество прокладок до обеспечения вертикального положения шпинтонов допускается ставить не более двух с общей толщиной не более 8 мм. При установке прокладок под основание шпинтона допускается зазор до 2 мм между шпинтоном и рамой.
5.5 Центральное подвешивание
5.5.1 Надрессорный брус снять с тележки, осмотреть на отсутствие трещин в основном металле и сварных швах. Проверить сварные швы крепления опор скользунов и кронштейнов. Заварить трещины в сварных швах и основном металле в соответствии с конструкторской документацией согласно требованиям документов (
N 196,
130 Приложения А).
5.5.2 Изношенные отверстия кронштейнов надрессорного бруса тележки моторного вагона восстановить: рассверлить отверстие до диаметра 42Н9 и запрессовать втулку с диаметром отверстия 32Н11, и наружным диаметром, обеспечивающим натяг от 0,01 до 0,05 мм.
5.5.3 Втулки в кронштейнах надрессорного бруса тележки под валик гидравлического гасителя колебаний, ослабшие или изношенные более допустимых размеров, указанных в
Приложении Д, заменить.
5.5.4 Опорные поверхности надрессорного бруса под пружины с износом более 2 мм, восстановить наплавкой.
5.5.5 Торцевые упоры и упоры подвесок центрального подвешивания при наличии расслоения и трещин в резине заменить. Незначительные задиры и неровности зачистить. Проверить детали крепления упоров. Болты и гайки с поврежденной резьбой заменить.
5.5.6 Пружины центрального подвешивания очистить, осмотреть и испытать при рабочей нагрузке на действительный прогиб с постановкой бирок. Цилиндрические пружины лопнувшие, с изломами, трещинами, отколами витков, потертостями или коррозионными поражениями глубиной более 10% диаметра прутка заменить.
Комплектовать пружины в соответствии с конструкторской документацией на вагон.
5.5.7 Подвеску, серьги и валики испытать на растяжение в соответствии с документом (
N 154 Приложения А) с последующим неразрушающим контролем в соответствии с
Приложением Б.
5.5.8 На всех трущихся поверхностях деталей центрального подвешивания (подвесках, валиках, опорных шайбах, вкладышах, основных серьгах) выщербины и задиры металла не допускаются.
Детали с трещинами, надрывами, износом более допустимых, указанных в
Приложении Д, заменить.
5.5.9 Допускается наплавлять изношенные поверхности:
- валиков в средней части при износе не более 3 мм по диаметру;
- серег центрального подвешивания при износе не более 3 мм на сторону;
- отверстий в подвесках, при износе по диаметру не более 3 мм;
- подшипника подвески рессорного подвешивания с последующей обработкой до чертежных размеров.
Допускается при замене валиков гидравлических гасителей колебаний устанавливать оси без бурта с креплением их шайбами и шплинтами.
5.5.10 Осмотреть резинометаллические амортизаторы поводков. Трещины, изломы в амортизаторах, отслоения резины от армировки не допускаются. Амортизатор испытать на сжатие нагрузкой 45 +/- 2,25 кН с измерением нормативной величины прогиба.
5.5.11 Поводок надрессорного бруса разобрать, осмотреть и ремонтировать, обеспечивая соответствие допустимым требованиям, указанным в
Приложении Д.
Осмотреть тягу поводка. При наличии трещины в любом месте тягу заменить. Тягу с изгибом более 5 мм, выправить в горячем состоянии. Выкрашивание и смятие резьбы не допускается.
5.5.12 Вкладыши скользунов устанавливать повышенного ресурса из полимерного материала, скользун должен выступать из коробки под тарой вагона на высоту не менее 3 мм.
5.5.13 Допускаются в эксплуатацию скользуны с размерами согласно
Приложению Д, с мелкими задирами на поверхности трения, если ими повреждено не более 30% поверхности и глубина задиров не превышает 1 мм.
5.6 Буксовое подвешивание
5.6.1 После разборки элементы буксового подвешивания очистить, проверить комплекты пружин, детали фрикционных гасителей моторной и прицепной тележки, поводки моторной тележки. Поврежденные детали отремонтировать или заменить новыми.
5.6.2 Пружины буксового подвешивания испытать при рабочей нагрузке на действительный прогиб с постановкой бирок. Цилиндрические пружины лопнувшие, с изломами, трещинами, отколами витков, потертостями или коррозионными поражениями глубиной более 10% диаметра прутка заменить.
5.7 Гидравлические гасители колебаний
5.7.1 Гидравлические гасители колебаний снять, разобрать, очистить, промыть, осмотреть, непригодные детали заменить. Ремонт гидравлических гасителей колебаний производить в соответствии с требованиями документа (
N 105 Приложения А).
5.8 Фрикционные гасители колебаний
5.8.1 Фрикционные гасители колебаний снять, разобрать, очистить, промыть, осмотреть, непригодные детали заменить. Ремонт фрикционных гасителей колебаний производить в соответствии с требованиями документа (
N 105 Приложения А).
5.9 Тормозная рычажная передача
5.9.1 Тормозную рычажную передачу разобрать, очистить от грязи, осмотреть, проверить соответствие размеров деталей требованиям
Приложения Д. Отремонтировать детали и узлы в соответствии с требованиями документа (
N 109 Приложения А).
5.9.2 Изношенные детали восстановить наплавкой, разработанные отверстия заварить, рассверлить или расточить.
5.9.3 Втулки тормозной рычажной передачи при износе более 1,0 мм заменить втулками из композиционного материала КПМ ТУ 2292-006-56867231-07.
5.9.4 При ремонте тормозной рычажной передачи допускается:
- изготавливать кронштейны ручного тормоза сварным вариантом, кронштейн переда точного вала, верхнюю державку тормозного винта, пятник тормозного винта, маховик с откидной ручкой моторного и прицепного вагона, головки тяг и стяжные муфты;
- заваривать трещины в башмаках и сварных швах траверс, заменять перемычки тормозного башмака;
- сваривать тяги в соответствии с требованиями конструкторской документации;
- ремонтировать тормозные балансиры постановкой на вытертые места стальных сменных планок толщиной от 4 до 5 мм. Место под планку обработать. Планки к балансиру приварить прерывистым швом;
- восстанавливать разработанные отверстия в головке штока поршня тормозного цилиндра установкой стальной втулки;
- контролировать детали и качество сварки в соответствии с требованиями нормативных документов.
5.9.5 Тормозные тяги и соединительные муфты тормозной рычажной передачи испытать на растяжение нагрузкой, регламентированной техническими требованиями чертежа детали. После испытаний на растяжение проверить детали на наличие трещин, на годных деталях поставить клеймо ремонтного предприятия.
5.9.6 При сборке тормозной рычажной передачи необходимо соблюдать следующие требования:
- траверсы не должны касаться предохранительных скоб и деталей направляющих как в заторможенном положении, с максимально допустимым выхода штока ТЦ, так и в отпущенном положении. Зазор во всех случаях должен быть не менее 10 мм;
- шарнирные соединения и трущиеся поверхности необходимо смазать (кроме втулок из композиционного материала), валики установить стандартные и зашплинтовать. Валики, расположенные вертикально, необходимо установить головками вверх, а расположенные горизонтально - головками к боковинам рамы тележки шплинтами наружу. Чеки и шплинты на концах траверс и валиков развести. Запрещается устанавливать составные или сварные чеки;
- стяжные муфты на тормозных тягах должны быть законтрены;
- тормозные колодки не должны набегать на гребни бандажей и сползать с наружной грани бандажа. Для регулировки положения колодки относительно бандажей допускается устанавливать шайбы на цапфы траверс с внутренней стороны, не более одной на сторону. При замене тормозных колодок обеспечить зазор их прилегания к кругу катания от 7 до 11 мм;
- балансиры, тяги и рычаги при движении не должны касаться воздухопроводов, кондуитов, подвесных болтов компрессора и др.;
- вертикальные рычаги при тормозном режиме должны занимать наиболее отвесное положение с одинаковым наклоном с обеих сторон тележки;
- при сборке подвесок башмаков допускается устанавливать на оттормаживающий поводок шайбу вместо стакана;
- при сборке траверс и подвесок башмаков допускается устанавливать в башмак вместо пальца валик с креплением его шплинтами и шайбами.
5.9.7 Ремонт авторегуляторов 574Б, РТРП-675, РТРП-675М и регуляторов пневматического действия произвести в соответствии с документом (
N 109 Приложения А).
5.9.8 При износе резьбы тяги авторегуляторов пневматического действия тягу заменить на новую.
Тяги тормозной рычажной передачи должны иметь дополнительные отверстия в сторону укорочения в соответствии с требованиями конструкторской документации.
5.9.9 Ремонт пневмомеханического регулятора выхода штока 102.40.10.001.
5.9.9.1 Регулятор разобрать, детали промыть и продуть сжатым воздухом до полного удаления влаги и проверить. Детали со сколами, трещинами, поврежденной резьбой заменить. Забитую, смятую резьбу восстановить и проверить резьбовыми калибрами. Изношенную собачку механизма стопорения и регулятора заменить. Пружины при наличии трещин или изломов, при потере упругости заменить. Паронитовые прокладки заменить.
5.9.9.2 Зачистить коррозию на корпусе при наличии.
5.9.9.3 Проверить состояние резиновой втулки шпинделя, при необходимости перепрессовать. Зачистить заусенцы на зубьях храповика при наличии, зубья при необходимости наплавить и обработать до чертежных размеров.
| | ИС МЕГАНОРМ: примечание. В официальном тексте документа, видимо, допущена опечатка: имеется в виду ГОСТ 1805-76, а не ГОСТ 1805-7667. | |
5.9.9.4 Сетку и капроновую леску в фильтре стакана заменить. Перед установкой леску пропитать в приборном масле МВП
ГОСТ 1805-7667.
5.9.9.5 Перед сборкой все обработанные и трущиеся поверхности деталей, находящихся внутри регулятора, покрыть смазкой ЖТ-79Л ТУ 0254-002-01055954 01.
5.9.9.6 Проверить регулятор на плотность давлением 0,5 МПа. Нанести мыльный раствор на места соединений и подать сжатый воздух через отверстие в крышке, образование мыльных пузырей не допускается.
5.9.9.7 Шпиндель, после установки регулятора на раме тележки, при выключенном механизме стопорения должен от руки свободно вращаться в обе стороны. Колпак шпинделя должен иметь длину, соответствующую конструкторской документации. Рукоятки колпака должны обеспечивать необходимый зазор между тележкой и кузовом.
5.9.9.8 При проверке рычажно-тормозной передачи в заторможенном состоянии допускается уменьшение зазора В (чертеж 102.40.10.001 СБ) до 2 мм. При расторможенном состоянии рычажно-тормозной передачи осевой люфт шпинделя должен быть в пределах от 1,0 до 2,5 мм (чертеж 102.40.10.001 СБ).
5.10.1 Осмотр, ремонт и освидетельствование колесных пар производить в соответствии с требованиями документа (
N 99 Приложения А).
5.10.2 При выпуске электропоездов из капитального ремонта допускается устанавливать колесные пары как отремонтированные, так и нового формирования. Колесные пары при подкатке должны полностью соответствовать требованиям документа (
N 99 Приложения А).
Допускается при ремонте электропоездов производить замену колесных пар прицепных вагонов РУ-1-950 на колесные пары типа РУ1Ш-957.
5.10.3 Разница диаметров бандажей по кругу катания колесных пар, подкатываемых под вагон электропоезда, должна быть в пределах допустимых требований
Приложения Д.
5.10.4 Оси браковать после 40 лет эксплуатации.
5.10.5 На торцах осей моторных колесных пар проверить величину диаметра посадки лабиринтной крышки заземляющего устройства (90-0,07 мм), при необходимости восстановить.
5.11 Буксы и буксовые поводки
5.11.1 Буксовые узлы ремонтировать в соответствии с требованиями документа (
N 108 Приложения А).
5.11.2 Проверить резьбу М20 в отверстиях корпуса буксы на наличие сорванных ниток, вмятин. Допускаются отдельные сорванные нитки, если в сумме они составляют не более 1/3 витка в каждом отверстии.
Отверстие с поврежденной резьбой заварить, просверлить и нарезать новую резьбу согласно чертежу.
5.11.3 Проверить два отверстия диаметром 120+0,4 мм. Допускается износ не более 2 мм. При несоответствии размера отверстие восстановить наплавкой с последующей обработкой до чертежных размеров.
5.11.4 Проверить размеры пазов в щеках корпуса буксы под валики поводков. При необходимости пазы доработать наплавкой с последующей обработкой до чертежных размеров. Допускается увеличение размера между щеками кронштейнов до 182 мм. При большем износе щеки наплавить и обработать до чертежных размеров.
5.11.5 Произвести неразрушающий контроль буксового поводка и хвостовиков валиков в соответствии с
Приложением Б. Поводок и валики с трещинами заменить.
Буксовые поводки ремонтировать в соответствии с документом (
N 145 Приложения А).
5.11.6 Допускается устанавливать крепительные крышки колесных пар с толщиной фланцев: моторных - 13,5 мм, прицепных - 20,0 мм.
5.11.7 Проварку широких наличников производить в соответствии с требованиями нормативной документации.
Зазор между сопряженными плоскостями наличников и корпуса буксы на участке между болтами должен быть не более 0,25 мм на глубине не более половины ширины наличников. Сквозной зазор должен быть не более 0,10 мм, кроме мест в зоне головок болтов на радиусе 35 мм, где щуп 0,1 мм проходить не должен.
5.11.8 Заземляющее устройство разобрать полностью. Деформированные детали восстановить до чертежных размеров.
Проверить размеры лабиринтного кольца. Посадочные выступы кольца лабиринтного на торец шейки оси и отверстия под болты крепления кольца на ось доработать до чертежных размеров. Вогнутую торцевую плоскость лабиринтного кольца восстановить расточкой или прессовкой.
Токосъемный диск по поверхности контакта обточить. Шероховатость поверхности должна соответствовать требованиям конструкторской документации. При толщине стенки менее 4 мм диск заменить. Монтаж заземляющего устройства произвести согласно действующей документации и
Приложению Д.
5.12 Подшипники колесных пар
5.12.1 Роликовые подшипники осмотреть и отремонтировать в соответствии с документами (
N 108,
106 Приложения А).
5.12.2 Демонтаж, замену и монтаж кассетных конических роликовых подшипников производить в соответствии с документом (
N 108 Приложения А).
5.13.1 Корпус редуктора очистить и проверить. Перекос верхней и нижней половин корпуса по привалочным плоскостям до 0,5 мм допускается оставлять без исправления. При перекосе более 0,5 мм устранить перекос с обязательным подогревом корпуса.
5.13.2 Неравномерный износ отверстий корпуса номинальным диаметром 260 мм устранить расточкой, предельный диаметр расточки 263 мм. Крышки подогнать к горловине редуктора, соблюдая установленный натяг.
5.13.3 Износ от 0,8 до 2,0 мм на сторону отверстий номинальным диаметром 500 мм устранить наплавкой с последующей обработкой до чертежного размера.
При расточке отверстий диаметром 260+0,045 мм и 500+0,38 мм выдерживать расстояние между центрами отверстий в соответствии с конструкторской документацией, обеспечивая зазор между ступицей и корпусом не более 2 мм.
5.13.4 Резьбу в отверстиях корпуса редуктора проверить калибрами, при необходимости отверстия заварить, просверлить и нарезать новую резьбу.
5.13.5 Окрасить поверхности деталей, кроме посадочных и резьбовых.
5.13.6 При монтаже редуктора на колесной паре на привалочные поверхности верхней и нижней частей корпуса нанести герметизирующий материал или установить прокладку из электрокартона или паронита толщиной от 0,2 до 1,5 мм. Обе части корпуса стянуть между собой и прикрепить болтами к опорному стакану на оси колесной пары. При сборке соблюдать последовательность затяжки болтов. Запрещается разукомплектовывать верхнюю и нижнюю части корпуса редуктора.
5.13.7 По окончании монтажа редуктора на колесную пару проверить свисание шестерни относительно зубчатого колеса и зазор между стенками кожуха и зубчатым колесом на соответствие допустимым требованиям, указанным в
Приложении Д.
Не допускается монтаж шестерен с неустраненными механической обработкой кромками зубьев, невыработанными по толщине вследствие их свисания в процессе эксплуатации.
5.13.8 Колесно-редукторный блок после сборки обкатать на холостом ходу в обе стороны, при вращении вала шестерни с частотой 200 - 250 об/мин не менее 15 минут в каждую сторону, в соответствии с конструкторской документацией. Перед обкаткой редуктор заполнить смазкой в соответствии с документом (
N 127 Приложения А).
5.13.9 Во время обкатки определить качество сборки редуктора по нагреву и шуму при работе и с помощью вибродиагностических средств. Температура крышек подшипников шестерни должна быть не выше 70 °C.
5.13.10 Во время обкатки по плоскости разъема корпуса редуктора не допускается появление смазки из внутренней полости редуктора.
5.13.11 Заменить болты крепления опорного стакана и малой шестерни и сочленяющие болты верхней и нижней частей корпуса редуктора.
Зазор между головками предохранительного болта и фланцем нижней половинки редуктора должен быть не менее 29 мм.
5.13.12 Разница толщины зубьев шестерни и колеса должна быть не более 3,3 мм.
5.13.13 Призонные болты осмотреть на наличие дефектов, соответствие натягу и подвергнуть МК. При пробеге венца большого зубчатого колеса (БЗК) более 1 млн. км призонные болты заменить. Произвести отметку о замене призонных болтов в паспорте венца БЗК.
5.13.14 Допускается изготовление вала малой шестерни из списанной оси РУ1 и РУ1Ш после дефектации.
5.13.15 Выточку в крышке узла малой шестерни выполнить, обеспечивая глубину натяга 0,9 - 1 мм вместо 0,4 мм по конструкторской документации.
5.14 Подвеска редуктора и упругая муфта
5.14.1 Подвеска редуктора
5.14.1.1 Детали узла подвески редуктора по перечню
Приложения Б проверить средствами неразрушающего контроля. Проверить состояние резьбовых поверхностей, детали с трещинами, изношенной и сорванной резьбой заменить.
5.14.1.2 Амортизаторы установить новые. При сборке узла подвески подбирать в пакеты резиновые амортизаторы с разницей по жесткости в соответствии с требованиями конструкторской документации.
5.14.1.3 При сборке узлов подвесок (верхний и нижний) узел подвески сжать до размера

.
5.14.2 Упругая муфта
5.14.2.1 Детали упругой муфты (фланцы, кольца, полукольца и втулки) с трещинами, сколами и изломами, заменить новыми. Фланцы с торцовым биением по большему диаметру более 0,5 мм ремонтировать. Устранение биения обточкой не допускается.
5.14.2.2 Осмотреть все посадочные поверхности деталей муфты. Задиры, забоины, коррозия и другие дефекты не допускаются.
5.14.2.3 При ослаблении посадки втулок в разъемном кольце и полукольцах втулки заменить. При невозможности обеспечить натяг заменить кольца или полукольца. Новые втулки запрессовать с натягом от 0,03 до 0,10 мм. Увеличение диаметра отверстия более чем на 2 мм не допускается. Болты заменить новыми. Упругую оболочку заменить новой. Не допускается разукомплектование фланцев и полуколец.
При наличии в конструкции муфт данной серии МВПС втулок, имеющих натяг в отверстии фланца, обеспечить натяг в соответствии с конструкторской документацией. Схему расположения втулок сохранить.
5.14.2.4 Масса полуколец на одном фланце не должна отличаться более чем на 0,05 кг. Избыточную массу устранить сверлением. Сверление производить между отверстиями под втулки.
5.14.2.5 Затяжку болтов проводить равномерно сначала в диаметрально противоположных точках, а затем последовательно моментом 260+40 Н·м со стороны шестерни, 310+40 Н·м со стороны двигателя.
5.14.2.6 Равномерность затяжки упругой оболочки проверять через отверстия во фланцах. Разность размеров на одном фланце не должна превышать 2 мм.
5.14.2.7 После регулировки упругой муфты размеры должны соответствовать допустимым требованиям
Приложения Д.
5.14.2.8 Резинокордовые оболочки "Экотайз", изготовленные согласно ТУ 2527-001-11578920-96 заменить.
5.15 Проверочно-регулировочные работы
5.15.1 Контроль собранной моторной тележки
5.15.1.1 Тяговый двигатель должен опираться без перекосов на обе нижние опоры поперечной балки и плотно прилегать к ее вертикальным плоскостям. Плотность прилегания двигателя к вертикальным плоскостям балок проверять щупом 0,25 мм. Местный зазор по вертикальным плоскостям тягового двигателя и рамы тележки проверять щупом 0,50 мм. Кроме того, допускается в отдельных местах сквозной проход щупа 0,10 мм между остовом двигателя и опорными поверхностями нижних опор.
5.15.1.2 Зазор между приливом двигателя и клином по вертикали должен быть в пределах от 0,5 до 5,0 мм.
5.15.1.3 Зазор между выступом клина и лапой двигателя должен быть не менее 8 мм.
5.15.1.4 Зазор между станиной двигателя и ступицей колеса должен быть не менее 10 мм.
5.15.1.5 Зазор между валиком буксового поводка и дном паза кронштейна корпуса буксы и рамы должен быть не менее 2 мм. При КР-1 при зазоре менее 2 мм установить регулировочные прокладки.
5.15.1.6 Прилегание клиновых частей валиков буксовых поводков в пазах должно быть не менее 50% при условии отсутствия зазора в узкой части клина.
5.15.1.7 Зазор между бандажом и крышкой редуктора должен быть не менее 5 мм.
5.15.1.8 Тяговый привод обкатать в обе стороны, по 5 мин в каждую сторону, в соответствии с требованиями технической документации изготовителя и проведением вибродиагностики.
5.15.2 Проверочно-регулировочные работы на тележках под тарой вагона
5.15.2.1 Все проверочные работы на тележках производить под нагрузкой, соответствующей таре брутто (экипированного) вагона на выверенном участке пути.
5.15.2.2 Проверить наличие бирок на комплектах пружин центрального и буксового подвешивания в соответствии с конструкторской документацией.
5.15.2.3 Измерить зазор между накладкой продольной балки рамы прицепной (головной) тележки и опорным листом надрессорного бруса, зазор должен быть не менее 23 мм. Разность зазоров, относящихся к одной продольной балке, должна быть не более 8 мм.
5.15.2.4 Зазор между продольными балками рамы моторной тележки и надрессорным брусом, замеренный в средней части под тарой вагона, должен быть не менее 35 мм.
5.15.2.5 Измерить зазор между рамой и потолком буксы, который должен быть в пределах допустимых требований, указанных в
Приложении Д.
5.15.2.6 Отрегулировать положение надрессорного бруса относительно поперечной балки рамы тележки.
На моторном вагоне надрессорный брус установить по центру между поперечными балками с разницей зазоров по сторонам и углам не более 5 мм.
5.15.2.7 Зазор между нижней частью балансира и корпусом буксы должен быть не менее 3 мм.
5.15.2.8 Проверить правильность установки боковых поводков центрального подвешивания, выпуклость резины по отношению к металлической армировке пакета должна быть от 0 до 3 мм.
Допускается при снятой нагрузке от кузова одностороннее увеличение указанного размера для каждого из резинометаллических пакетов не более 6 мм.
5.15.2.9 Допускается неравномерный кольцевой зазор между втулкой шпинтона и кромкой отверстия в крыле буксы не менее 8 мм.
5.15.2.10 При отпущенном положении тормоза тормозные колодки не должны касаться поверхности катания бандажей.
Тормозную рычажную передачу отрегулировать в соответствии с диаметром колесных пар.
5.15.2.11 Проверить высоту горизонтальной оси автосцепки от головки рельсов, которая должна соответствовать требованиям Инструкции (
N 96 Приложения А).
Провисание автосцепки должно быть не более 3 мм, а отклонение от горизонтали вверх не более 5 мм. Разность между высотами осей автосцепок по концам вагона должна быть не более 15 мм.
5.15.2.12 Проверить перекос кузова отвесом. Допускается перекос кузова не более 15 мм.
5.15.2.13 Регулировку горизонтальной оси автосцепки по концам вагонов производить:
- установкой прокладок под вкладыши скользунов в количестве двух штук общей толщиной не более 4 мм, при этом необходимо, чтобы вкладыши скользунов на тележке выходили из гнезда не менее 3 мм и не более 25 мм;
- установкой прокладок под опорные подшипники до двух штук общей толщиной не более 20 мм, при этом необходимо под два подшипника одной стороны тележки устанавливать прокладки одной толщины;
- установкой прокладок толщиной до 15 мм под пружины центрального подвешивания;
- установкой под пружины буксового подвешивания прокладок толщиной до 12 мм на прицепные и головные тележки, толщиной до 6 мм на моторные тележки;
- на тележках типа ТВЗ-ЦНИИ-М установкой валиков и опорных шайб в одно из трех возможных положений. С одной стороны тележки все валики и опорные шайбы должны быть установлены в одном положении.
5.15.2.14 На прицепных и головных вагонах с тележками КВЗ-ЦНИИ/Э, ТВЗ-ЦНИИ-М зазор между наружной кромкой тарелки подпятника и кромкой пятника должен быть в пределах

.
Отрегулировать зазор между подпятником тележки и пятником вагона подбором прокладок 302.30.30.117, 302.30.30.117-01, 304.30.30.103 под вкладыши скользунов. Суммарная толщина прокладок должна быть не более 6 мм, прокладки укладывать не более двух штук в одну коробку скользуна на новую резиновую прокладку, изготовленную из пластины 2Н-I-ТМКЩ-Т
2-14
ГОСТ 7338-90.
5.15.2.15 Зазор между надрессорным брусом и предохранительной скобой для тележек КВЗ-ЦНИИ/Э должен быть не менее 130 мм. При необходимости зазор отрегулировать установкой регулировочных шайб.
5.15.2.16 Проверить вертикальное смещение фланцев тягового двигателя и малой шестерни, которое должно быть в пределах допустимых требований, указанных в
Приложение Д.
5.16.1 Окраску тележек производить до подкатки под вагон в соответствии с требованиями документа (
N 62 Приложения А).
5.16.2 Оболочку упругой муфты окрашивать не допускается.
6.1 Рама кузова
6.1.1 При капитальном ремонте с рамы кузова снять пятники, шкворни, скользуны, сцепные устройства, упругие площадки, пневматическое оборудование, электрические машины и электрические аппараты.
При КР-1 очистить вентиляционные каналы от пыли.
6.1.2 Раму кузова очистить от загрязнений и ржавчины. Очищенные от ржавчины места проверить на наличие трещин и повреждений.
Проверить хребтовые и шкворневые балки, буферные брусья, продольные и поперечные балки, балки и кронштейны для крепления электрической и пневматической аппаратуры и электрических машин на наличие трещин. Осмотреть и проверить прогиб рамы натяжением струны вдоль нижнего обвязочного угольника на участке между шкворневыми балками.
Допускается прогиб рамы в вертикальной плоскости не более 25 мм и изгиб в горизонтальной плоскости не более 20 мм.
6.1.3 Измерить перекос боковых стен кузова по вертикали на уровне верхней полки обвязочного угольника, величина которого должна соответствовать допустимым требованиям
Приложения В.
6.1.4 Горизонтальные полки и поперечные балки продольных и диагональных угольников, буферных брусьев с местными вмятинами более 5 мм, выправить с нагревом поврежденного места. Изношенные и забитые места на кромках полок восстановить усиливающей наплавкой или приваркой накладки.
6.1.5 Хребтовые балки в местах установки поглощающих аппаратов с износом вертикальных стенок не более 3 мм, допускается не ремонтировать. Изношенные более 3 мм места наплавить с последующей зачисткой или приварить усиливающие пластины.
6.1.6 Хребтовые балки с расширением более 4 мм или сужением более 2 мм в местах постановки поглощающих аппаратов, ремонтировать с подогревом. При сужении или расширении хребтовых балок более 15 мм поврежденный конец балки отрезать, выправить (изготовить новую часть) и приварить. Соединение балок производить сваркой встык с установкой накладки толщиной, равной толщине листа, из которого изготовлена балка.
6.1.7 При наличии трещин в хребтовой, продольной и консольной балках в местах постановки угольников, образующих гнездо пятника, трещины заварить. Для усиления хребтовой балки поставить плоскую накладку с внутренней стороны балки и корытообразную накладку между шкворневыми балками. Накладку изготавливать толщиной 10 мм, угольники, образующие гнезда пятника и шкворневые коробки, в этом случае должны быть меньшей ширины.
6.1.8 При ремонте в балках и угольниках кузова допускается:
- заваривать дуговой сваркой поперечные трещины с установкой усиливающих накладок в соответствии с документом (
N 130 Приложения А);
- вырезать в балках газовым резаком отверстия для желобов с последующей зачисткой кромок;
- вырезать в балках газовым резаком отверстия для воздухопроводных труб и кондуитов с последующим рассверливанием отверстий.
6.1.9 Шкворневые коробки с трещинами заменить.
6.1.10 Угольники, образующие гнездо пятника погнутые, расположенные не на одном уровне с косынками, с выработанной опорной поверхностью заменить. Для уменьшения вертикального зазора между опорными угольниками и пятником допускается угольники по ширине подобрать по месту в пределах 35 +/- 3 мм.
6.1.11 При повреждении нижней усиливающей косынки в месте заделки шкворневой балки в раму вагона у обвязочного угольника допускается для усиления узла приварить дополнительную косынку без снятия старой.
6.1.12 Буферные брусья и буферные скобы с вмятинами или изгибом, допускается выправлять с нагревом поврежденного места.
Буферные брусья с трещинами в зоне розетки усилить в соответствии с документом (
N 122 Приложения А).
6.1.13 Изношенные поверхности упорных угольников поглощающих аппаратов восстановить до чертежных размеров наплавкой или приваркой планок.
6.1.14 При наличии трещин снять и отремонтировать розетки автосцепных устройств. Трещины и раковины в верхней и боковой части розетки допускается заваривать дуговой сваркой. Трещины или раковины в нижнем поясе и в нижних углах литой розетки заваривать не допускается, розетку заменить.
6.1.15 При установке розетки допускается устанавливать для уплотнения между розеткой и стенками хребтовых балок одну сплошную прокладку толщиной 3 мм, местные зазоры между розеткой и буферным брусом допускаются не более 1 мм.
6.2 Наружная обшивка
6.2.1 Плавные выпуклости и вогнутости наружной металлической обшивки на боковых и лобовых стенах кузова допускаются глубиной до 4 мм. Выпуклость и вогнутость большего размера выправить после снятия внутренней обшивки и теплоизоляции кузова.
6.2.2 Допускаются неплоскостность и отдельные неровности окрашиваемых металлических поверхностей лобовых и боковых стен кузова в соответствии с требованиями документа (
N 5 Приложения А).
6.2.3 Глубокие вмятины в углах кузова исправить наложением заплаток с последующей зачисткой швов заподлицо.
6.2.4 Наружную обшивку с коррозионными повреждениями ремонтировать в соответствии с действующей документацией.
6.2.5 При КР-1 допускается производить дробеструйную очистку подоконного пояса и торцов кузова при наличии дефектов: отслаивание, шелушение, сетка на поверхности лакокрасочного покрытия, общая толщина покрытия более 2000 мкм.
6.3 Крыша
6.3.1 При КР-1 произвести полную или частичную очистку от старой краски. Признаки необходимости выполнения очистки: сетка трещин, отслаивание, шелушение и другие, даже незначительные дефекты.
При КР-1 очистить сварные швы деталей сопрягаемых с крышей (тумбы, короба токоприемника, тумбы воздушного привода токоприемника, кронштейны разрядника и изоляторов и др.) с целью выявления скрытых дефектов швов.
При КР-2 произвести полную очистку крыши.
6.3.2 Проверить поверхность крыши на наличие трещин, механических и коррозионных повреждений. Очищенные от ржавчины места проверить на наличие трещин и повреждений.
Трещины заварить в соответствии с требованиями документа (
N 130 Приложения А).
Поврежденные участки ремонтировать приваркой накладок, перекрывающих дефектные места не менее чем на 120 мм в каждую сторону. Толщина накладок должна быть равна толщине листа, из которого изготовлена крыша. При большем повреждении крыши заменять листы обшивки. Сварные швы проверить на герметичность.
Допускается производить ремонт коррозионных или механических повреждений крыши наклеиванием на поврежденное место с наружной стороны крыши металлических накладок клеевыми композициями (например, полиуретановый клей Виланд-11К-1).
Поврежденную обшивку крыши допускается также ремонтировать наклеиванием накладок из стеклоткани марки Т-10 (Т-11, Т-12)
ГОСТ 19170-2001, пропитанной клеевым составом. В качестве клеевого состава использовать эпоксидный клей на основе смолы К-115 ТУ 6-05-1251-75, эпоксидную шпатлевку ЭП-00-10 (ЭП-00-20)
ГОСТ 10277-90, герметик У-30М (УТ-31)
ГОСТ 13489-79 и аналогичные материалы, разрешенные к применению в ОАО "РЖД".
6.3.3 Местные вмятины глубиной до 4 мм и площадью до 30 см2 допускается устранять шпатлеванием.
6.4 Пятники и скользуны рамы кузова
6.4.1 Пятники с износом более 7 мм ремонтировать до чертежных размеров. На обработанных поверхностях пятников допускаются забоины глубиной до 1 мм и диаметром не более 5 мм.
6.4.2 При износе опорной части плоского пятника допускается приварка накладки толщиной не менее 8 мм, которую обварить по контуру с последующей механической обработкой шва.
6.4.3 Отверстия для смазки в пятнике прочистить. Со стороны опорной поверхности отверстия для смазки зенковать диаметром 13 мм на глубину 3 мм.
6.4.4 Раковины и трещины в ушках фланца пятника, не переходящие на опорную поверхность плоского пятника, заварить дуговой сваркой. При наличии трещин на фланце и на опорной поверхности пятник заменить.
6.4.5 При установке пятника на кузов вагона допускаются местные неплотности до 0,5 мм между опорной поверхностью пятника и необработанными поверхностями кузова. Зазоры между ушками пятника и косынками допускаются до 2 мм.
6.4.6 Опорную поверхность скользуна рамы кузова восстановить наплавкой с последующей механической обработкой или приварить на нее сплошную стальную планку толщиной не менее 5 мм.
6.4.7 После ремонта толщина опорной части (дна) скользуна рамы должна быть не менее 15 мм.
6.4.8 Коробки скользунов осмотреть, болты их крепления снять и осмотреть. При наличии дефектов детали заменить новыми.
6.4.9 Болты крепления скользунов и пятника до постановки на вагон должны быть смазаны индустриальным маслом
ГОСТ 20799-88.
6.4.10 После установки верхнего пятника и скользунов необходимо проверить размеры в соответствии с конструкторской документацией на тележку.
6.4.11 Непараллельность плоскости скользуна по отношению к плоскости верхнего пятника допускается не более 2 мм на длине 300 мм.
Допускается изгиб балки до 2,5 мм на длине 3000 мм.
6.4.12 Проверить плотность прилегания пятника к листу шкворневой балки щупом. Зазор между соединениями должен быть не более 0,1 мм в радиусе 25 мм от тела болта и не более 0,5 мм в пространстве между болтами.
6.4.13 Перед опуском вагона тележки расставить на канаве выдерживая размер базы вагона. Пятник, подпятник и скользуны смазать в соответствии с требованиями документа (
N 127 Приложения А).
6.4.14 Кузов вагона опускать на тележки равномерно без перекоса, соблюдая необходимые меры безопасности.
7.1 Автосцепное устройство СА-3 отремонтировать в соответствии с документом (
N 83 Приложения А).
7.1.1 Расстояние между хвостовиком автосцепного устройства и упорной плитой поглощающего аппарата должно быть не более 4 мм, для поглощающих аппаратов типа Р-2П, Р-5П расстояние должно быть от 4 до 10 мм.
7.1.2 Требуемую твердость восстанавливаемых поверхностей контура зацепления и замков автосцепного устройства обеспечить в соответствии с документом (
N 128 Приложения А) или наплавкой специальными электродами.
7.2 Беззазорное сцепное устройство БСУ-4 ремонтировать в соответствии с документом (
N 129 Приложения А).
7.3 Беззазорное сцепное устройство БСУ-ТМ ремонтировать в соответствии с документом (
N 184 Приложения А).
7.3.1 Общие положения
При капитальном ремонте сцепки выполняются следующие работы:
- демонтаж сцепного устройства вагона;
- разборка сцепного устройства;
- дефектация узлов и деталей;
- ремонт деталей и узлов в специализированном ремонтном отделении;
- сборка, установка на вагон и проверка работоспособности.
7.3.2 Разобрать сцепное устройство на элементы:
- головная часть;
- клиновой и автоматический замок;
- расцепной механизм;
- расцепной привод;
- центрирующая балочка;
- поглощающий аппарат;
- упорная плита;
- тяговый узел.
При ремонте БСУ-ТМ применять смазочные материалы согласно таблице 7.1.
Таблица 7.1
Смазочный материал | Допускаемый заменитель | Использование |
| | ИС МЕГАНОРМ: примечание. В официальном тексте документа, видимо, допущена опечатка: имеется в виду ГОСТ 1033-79, а не ГОСТ 1033-79-65. | |
|
ЦИАТИМ-201 | Солидол Ж Буксол ТУ 0254-107-01124328-01 | Резьбовые поверхности болтов, резьбовая втулка центрирующей балочки, резьба шарового пальца, резьбовая часть шарнирного узла, внутренняя полость и пружина автоматического замка, стопоры (засовы) замка ручного |
| Смазка класса "ШРУС"; ЦИАТИМ-201 | Выступающая часть стопора автоматического замка, зев корпуса сцепки, центрирующий конус, втулка резьбовая балочки центрирующей |
Шрус-МС ТУ 0254-011-45540231-2004 | Шрус-4 ТУ 0254-001-45540231-2004 или ТУ 38УССР-201312 | Внутренняя полость шарнирного узла при сборке, а также последующая периодическая запрессовка смазки, гофрочехол при замене |
7.3.3 Очистить детали и узлы сцепки.
Допускается при сильных загрязнениях производить обмывку узлов сцепки с литыми деталями 5% раствором кальцинированной соды, избегая попадания раствора на внутренние поверхности корпуса сцепного устройства.
7.3.4 Осмотр, дефектация и ремонт узлов и деталей сцепки.
7.3.4.1 Головная часть сцепки
Допускается:
- смятие нерабочих кромок окон центрирующего конуса;
- наличие следов взаимодействия острия центрирующего конуса и корпуса головы сцепки.
Не допускается:
- механические повреждения и трещины корпуса сцепки и центрирующего конуса;
- износ более 3 мм опорной поверхности корпуса сцепки, соприкасающейся с опорой центрирующей балочки. Наличие задиров, забоин и вмятин боковых кромок этой поверхности глубиной или высотой до 2 мм не является браковочным признаком;
- трещины, разрывы и выкрашивание эластичных элементов поглощающего аппарата, гофрочехла и тягового демпфера узла.
При ремонте произвести замену фигурных стопорных шайб на новые.
7.3.4.2 Корпус сцепки
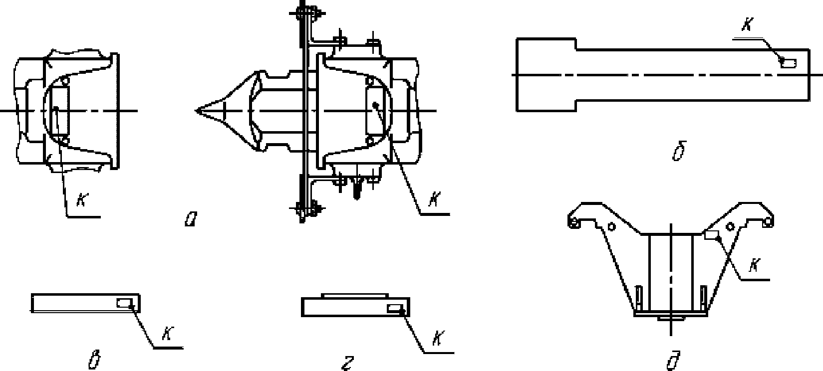
Измерить корпус сцепки
рисунок 7.1 и произвести неразрушающий контроль магнитопорошковым или вихретоковым методом.
Корпус сцепки заменить, если:
- диаметр 190+0,29 мм (приемное отверстие) более 191 мм;
- размер 160+0,25 мм (между внутренними гранями) более 161 мм;
| | ИС МЕГАНОРМ: примечание. В издании допущен типографский брак. Текст, не пропечатанный в официальном тексте документа, в электронной версии данного документа выделен треугольными скобками. | |
- размер 55<...> мм (ширина окна) более 56 мм;
- размер 70 +/- 0,2 мм (расстояние от окна до торца) более 71 мм;
- трещины в зонах, подлежащих неразрушающему контролю.
Рисунок 7.1 - Корпус сцепки
При износе опорной поверхности корпуса сцепки на величину более 3 мм, но не более 8 мм, произвести наплавку изношенной поверхности и обработать в размер 112
-0,6 мм. Наплавку выполнить в соответствии с документом (
N 130 Приложения А).
7.3.4.3 Центрирующий конус
Измерить центрирующий конус рисунок 7.2 и произвести неразрушающий контроль магнитопорошковым или вихретоковым методом.
Рисунок 7.2 - Конус центрирующий
Центрирующий конус заменить, если:
- диаметр

центрирующего конуса менее 189 мм;
- размер 160 центрирующего конуса менее 159 мм;
- не выдержан размер окна 55,6+0,2 мм;
- трещины в зонах, подлежащих неразрушающему контролю;
- щуп толщиной 0,3 мм проходит между шаблонами и контролируемыми поверхностями приемных окон центрирующего конуса
(рисунок 7.3).
Наплавка центрирующего конуса и исправление дефектов сваркой не допускается.
Проверить клиновой замок рисунок 7.3.
1 - шток; 2 - стопор; 3 - стопор с резьбовым отверстием;
4 - регулировочная гайка; 5 - контровочная гайка
Рисунок 7.3 - Клиновой замок
Не допускается:
- искривление штока. При необходимости шток рихтовать;
- износ резьбы штока (контролировать калибрами-кольцами);
- механические повреждения, вмятины, трещины на стопорах;
- износ рабочей поверхности стопоров
рисунок 7.4 более 0,4 мм (проверить по зазору между стопором и шаблоном);
- износ резьбы стопора (контролировать калибрами-пробками);
- местный износ стопоров по клиновой части более 0,3 мм.
Произвести неразрушающий контроль стопоров магнитопорошковым или вихретоковым методом в зонах, указанных на
рисунке 7.4. Трещины на поверхности стопоров не допускаются.
Проверить износ клиновой поверхности прикладыванием к ней линейки, местные износы (провалы) определять щупом. Допускается износ не более 0,3 мм. Угол скоса должен быть не более 7°.
Допускаются местные вмятины и забоины на поверхностях А, Б и В глубиной не более 0,3 мм в количестве не более 6 штук на каждую поверхность и общей площадью не более 40% от площади соответствующих поверхностей.
Изношенные стопоры заменить. Наплавка стопоров и исправление дефектов сваркой не допускаются.
Рисунок 7.4 - Стопор клинового замка
7.3.4.5 Автоматический замок
Проверить автоматический замок. Не допускается:
- сколы, трещины, обломы концов пружины. При обнаружении дефектов пружину заменить;
- искривление штока стопора. При необходимости шток рихтовать;
- механические повреждения, вмятины, трещины стопора;
- износ резьбовой поверхности штока (контролировать калибрами-кольцами);
- износ рабочей поверхности стопоров рисунок 7.5 более 0,4 мм (проверить по зазору между стопором и шаблоном).
Рисунок 7.5 - Стопор автоматического замка
Произвести неразрушающий контроль стопора автоматического замка магнитопорошковым или вихретоковым методом в зонах, указанных на рисунке 7.5. Трещины на поверхности стопоров не допускаются.
Проверить износы стопора и наличие механических повреждений согласно
пункту 7.3.4.4 Руководства.
Проверить характеристики пружины замка на соответствие конструкторской документации:
- при сжатии на 10 мм усилие должно быть 700+100 Н;
- при сжатии на 45 мм усилие должно быть не менее 3000 Н.
При несоответствии указанных характеристик пружину заменить.
7.3.4.6 Расцепной механизм винтового типа
Проверить расцепной механизм винтового типа.
Не допускаются трещины в сварных швах кронштейнов правого и левого рычагов и их механические повреждения (погнутость и т.п.). При наличии трещин произвести разделку и заварку швов. При необходимости кронштейны рихтовать.
В резьбовых отверстиях допускаются задиры и забоины не более чем на трех витках с каждой стороны. Повреждение или износ резьбы контролировать резьбовыми калибрами-пробками. Допускается калибровать резьбу метчиками.
Проверить прямолинейность и резьбу ходового винта механизма расцепки.
Прямолинейность контролировать в центрах индикатором часового типа. При обнаружении непрямолинейности (стрела прогиба больше 1 мм) винт рихтовать.
Износ резьбы винта контролировать резьбовыми калибрами-кольцами. Допускаются задиры и забоины не более чем на трех витках резьбы с каждой стороны. Дефекты резьбы запилить надфилем. Допускается калибровать резьбу плашками.
7.3.4.7 Центрирующая балочка
Проверить центрирующую балочку.
Не допускается:
- сколы, трещины, обломы концов пружины. При обнаружении дефектов пружину заменить;
- непрямолинейность винта. Прямолинейность контролировать в центрах индикатором часового типа. При обнаружении непрямолинейности (стрела прогиба больше 1 мм) винт рихтовать;
- повреждение или износ резьбы на штоке (контролировать резьбовыми калибрами-кольцами);
- повреждение или износ резьбы на винте (контролировать резьбовыми калибрами-кольцами);
- деформация или износ более 3 мм плоской части опоры балочки;
- выработка "проушин" на кронштейнах корпуса центрирующей балочки более 3 мм.
При выработке "проушин" на кронштейнах корпуса центрирующей балочки более 3 мм с опорами маятниковых подвесок произвести наплавку изношенных поверхностей и обработать до размеров ремонтных чертежей. Наплавку выполнить в соответствии с документом (
N 116 Приложения А).
Наличие смятия боковых кромок "проушин" на кронштейнах корпуса центрирующей балочки не является браковочным признаком. Наличие смятия или износа боковых выступов не является браковочным признаком.
При износе опорной поверхности балочки более 3 мм, но не более 5 мм, опорную поверхность наплавить в соответствии с документом (
N 116 Приложения А) и обработать до размеров ремонтного чертежа.
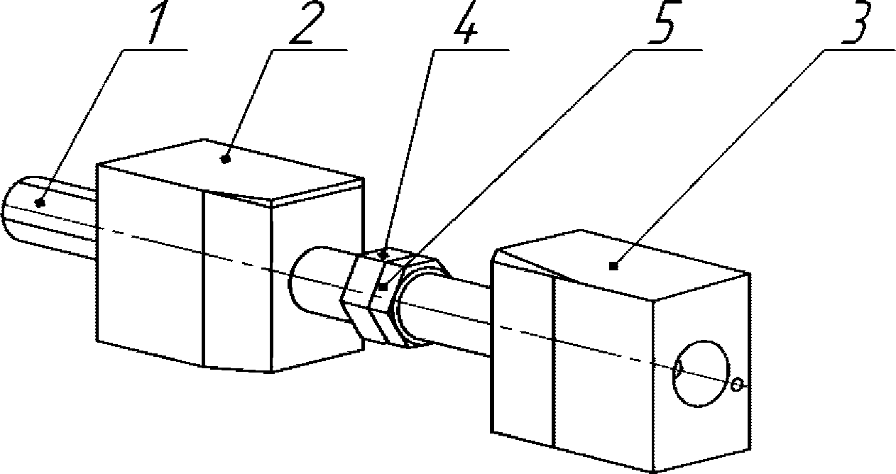
7.3.4.8 Шарнирный узел
Осмотреть и проверить шарнирный узел.
Не допускаются трещины, изгиб, деформация, повреждение более двух ниток резьбы резьбового пальца вала шарнирного узла.
Вал шарнирного узла должен свободно поворачиваться на угол не менее 16° от усилия руки. Проверить отсутствие заедания во всех плоскостях.
Проверить осевой зазор (люфт) в шарнирном узле, который должен быть не более 1,5 мм. При осевом зазоре более 1,5 мм шарнирный узел ремонтировать согласно пункту 7.3.4.9.
Заменить гофрочехол новым.
Заложить в полость гофрочехла перед его установкой 100 грамм и запрессовать через отверстие в шарнирном узле 50 грамм смазки Шрус-МС ТУ 0254-011-45540231-2004 или Шрус-4М ТУ 38.401-58-128-95.
7.3.4.9 КР-2 сцепки
При КР-2 сцепки выполнить работы по КР-1 и дополнительные работы.
Разобрать шарнирный узел, промыть детали.
Тарельчатые пружины заменить новыми.
Произвести неразрушающий контроль деталей шарнирного узла магнитопорошковым или вихретоковым методом:
- палец шарнирного узла (сфера, поверхность перехода от сферы к резьбе
рисунок 7.6);
- вкладыш и подпятник сферы.
Трещины не допускаются.
Проверить износ и отклонение от сферичности поверхности сферы пальца шарнирного узла в трех сечениях: Д, Д1, Д2 рисунок 7.6.
Допускается выпуск из ремонта пальца шарнирного узла с разницей размеров сферы не более 0,4 мм.
Рисунок 7.6 - Палец шарнирного узла
Проверить износ рабочих поверхностей сферы пальца шарнирного узла, вкладыша и подпятника по размеру L мм рисунок 7.7, который должен быть не более чем на 0,4 мм меньше установленного конструкторской документацией.
Рисунок 7.7 - Проверка износа деталей шарнирного узла
Проверить шероховатость поверхности сферы пальца шарнирного узла, вкладыша и подпятника, которая должна быть не хуже Ra 0,8, по контрольному образцу или прибором для измерения шероховатости.
Вкладыш и подпятник с износами, контактно-усталостными повреждениями (шелушение, выкрашивание, отслоение металла), с коррозионными раковинами заменить новыми. При необходимости заменить палец шарнирного узла.
7.3.4.10 Клеймение сцепки и деталей
Зачистить старые ремонтные клейма и, при необходимости, места клеймения.
Клеймить ударным способом условный номер ремонтного предприятия, месяц и год ремонта цифрами высотой не менее 6 мм и глубиной 0,25 мм (например, 375.05.08).
Клейма о производстве ремонта наносить на нижнюю поверхность головной части корпуса сцепки, на тяговый корпус, корпус центрирующей балочки, основание поглощающего аппарата.
Места расположения клейм на деталях БСУ-ТМ после ремонта показаны на рисунке 7.8.
а - корпус сцепки; б - тяговый корпус;
в - плита упорная; г - основание поглощающего аппарата;
д - корпус центрирующей балочки
Рисунок 7.8 - Места клеймения
7.3.4.11 До установки на вагон отремонтированную сцепку окрасить серой грунтовкой в соответствии с
ГОСТ Р 54893-2012.
Не подлежат окрашиванию следующие элементы и узлы:
- защитный гофрочехол;
- замки;
- отверстия корпуса сцепки;
- направляющий конус.
После монтажа на вагон окрасить сцепку совместно с подвагонным оборудованием. Детали, не подлежащие окраске, защитить от непроизвольного попадания на них краски.
8 Ремонт наружного оборудования
8.1 Упругие переходные площадки
8.1.1 Демонтировать ударные балки и шпинтоны резинового суфле, разобрать, проверить; при наличии выработки заменить стаканы шпинтонов и втулки суфле.
Заменить листовые накладки рамы упругой переходной площадки толщиной менее 8 мм. Выправить рамы упругой переходной площадки с прогибом более 4 мм на всю длину.
8.1.2 Изношенные отверстия в угольниках шарниров нижних шпинтонов рамы упругой переходной площадки и в угольниках для крепления амортизаторов восстановить заваркой с последующей обработкой по чертежу. Разность диагоналей просвета рамы должна быть не более 5 мм. Изогнутость рамы (при проверке на плите) допускается до 5 мм.
8.1.3 Изношенные листы упругих переходных площадок заменить новыми. Листы изготовить из рифленой или листовой стали. На поверхность листа листовой стали наплавить бугорки высотой от 2 до 3 мм и диаметром от 4 до 5 мм с шагом от 10 до 15 мм.
8.1.4 Пружины шпинтонов осмотреть, лопнувшие и деформированные заменить. Отклонение высоты пружины в свободном состоянии от номинального чертежного размера допускается от плюс 9 мм до минус 2 мм.
Зазоры между штоком и втулкой шпинтона восстановить в соответствии с допустимыми требованиями
Приложения В. При установке шпинтонов на раму использовать герметизирующие прокладки.
8.1.5 Изношенные верхние шарниры амортизаторов упругих переходных площадок восстановить дуговой сваркой с последующей механической обработкой.
8.1.6 Верхние рессорные кронштейны рамы упругой переходной площадки с изношенными отверстиями или с износом полки до 5 мм, восстановить наплавкой на месте. Допускается восстанавливать отверстия приваркой втулок с последующей механической обработкой.
8.1.7 При установке упругой переходной площадки на вагон должны быть выдержаны зазоры между шпинтонами и направляющими гнездами в пределах допусков
Приложения В.
8.1.8 После установки упругой переходной площадки на место, защемление шпинтонов в их гнездах не допускается.
8.1.9 Трубы резинового суфле при КР-1 отремонтировать в соответствии с документом (
N 150 Приложения А), а при КР-2 заменить новыми.
8.1.10 Мостики при КР-1 отремонтировать, а при КР-2 заменить новыми.
8.1.11 После ремонта верхних амортизаторов упругих переходных площадок размеры должны соответствовать допустимым требованиям
Приложения В.
8.2 Переходные площадки с герметичными переходами фирмы "Hubner" отремонтировать по техническому состоянию в соответствии с документацией изготовителя, при необходимости заменить новыми.
8.2.1 При КР-1 провести очистку и проверку на наличие механических повреждений межвагонного перехода.
8.2.2 Проверить правильное и надежное закрепление половин перехода на вагоне, при необходимости крепление подтянуть. Уплотнить раму в месте прилегания к торцевой стенке вагона герметиком.
8.2.3 Осмотреть двойной волнообразный сильфон на наличие порезов, трещин и разрывов материала. При обнаружении дефектов поврежденные участки ремонтировать установкой заплат. Заплаты, устанавливаемые в области крыши, пола и углов, а также все заплаты размером более 30 x 50 мм дополнительно закрепить пустотелыми заклепками.
8.2.4 Проверить наличие и состояние фиксирующего троса. При наличии повреждений фиксирующий трос заменить, отсутствующий трос установить.
8.2.5 Проверить надежность крепления жестяного мостика к полу вагона, при необходимости крепеж подтянуть, отсутствующий дополнить. Жесть мостика должна подниматься и опускаться свободно, без заеданий. При заклинивании или затрудненном движении мостика очистить и смазать рояльную петлю. При невозможности восстановления свободного движения или если жесть мостика устанавливается с перекосами, рояльную петлю заменить. Осмотреть планку скольжения мостика. Изношенную планку скольжения заменить. Поврежденный жестяной мостик заменить.
8.2.6 Осмотреть резиновое уплотнение сцепной рамы перехода. Поврежденное резиновое уплотнение заменить.
8.2.7 Проверить работоспособность механизма сцепления, при обнаружении неисправностей заменить детали механизма.
8.2.8 При КР-2 переходные площадки с герметичными переходами фирмы "Hubner" заменить.
8.3 Аппарели для пассажиров с ограниченными физическими возможностями
8.3.1 Откидные рампы (аппарели)
рисунок 8.1 для посадки инвалидов-колясочников на высоких платформах отремонтировать, при невозможности ремонта заменить.
1 - откидная площадка; 2 - поддон (днище); 3 - шарнир;
4 - профиль; 5 - ручка; 6 - ключ; 7 - датчик положения;
8 - винт с потайной головкой ISO 10642-М4х20-A2-70;
9 - шайба DIN 9021-4,3-140 HV-A2;
10 - шестигранная гайка ISO 4032-M4-A2-70
Рисунок 8.1 - Ручная откидная рампа НК-модуль
Очистить шарниры, проверить на легкость хода, поврежденные отремонтировать или заменить. Обработать шарниры аэрозольной смазкой WD-40 или BERULUB ECO GD40.
Проверить профиля на наличие повреждений. При наличии трещин, излома или износа более 1 мм заменить.
Заменить противоскользящее покрытие и напольное покрытие (линолеум) новым. Поврежденные крепежные элементы заменить.
Проверить работу датчика положения, неисправный датчик заменить.
8.3.2 Ремонт подъемных устройств для пассажиров с ограниченными физическими возможностями выполнять в соответствии с ремонтной документацией изготовителя.
8.4 Шкворни, лестницы, подножки, инструментальные ящики и настилы
8.4.1 Ремонт шкворней производить по техническому состоянию, обеспечив требования конструкторской документации. Погнутый шкворень выправить. Допускается изготавливать шкворни из осевой стали
ГОСТ 4728-2010 по утвержденному ремонтному чертежу. Допускается производить ремонт шкворней с восстановлением резьбовой части наплавкой и последующей механической обработкой по чертежу.
8.4.2 Проверить состояние резины, посадочных мест, резьбы. При наличии отслоений, трещин, сползания резины шкворень заменить. При монтаже шкворня на кузов, опорные поверхности пятника и шкворня доработать по месту.
8.4.3 Складная лестница должна легко складываться и раскладываться. Изгиб, трещины, ослабшие заклепки и болты на деталях лестницы не допускаются.
8.4.4 При опущенном положении лестницы поперечные прутки ее должны располагаться горизонтально. Перекос лестницы по диагонали допускается не более 5 мм. Замки лестниц должны открываться только специальным ключом.
8.4.5 Подножки с коррозионными повреждениями ремонтировать, при невозможности ремонта подножки заменить новыми.
8.4.6 Инструментальные ящики, расположенные под вагоном, ремонтировать с заменой негодных деталей.
8.4.7 Настилы ремонтировать.
8.5 Поручни
8.5.1 Деформированные трубки поручней заменить. Восстановить покрытие поручней. Кронштейны поручней отремонтировать.
8.6 Окраска вагона
8.6.1 Окрашивание наружных поверхностей кузовов производить материалами алкидно-модифицированными или двухкомпонентными повышенной долговечности.
Подготовку поверхностей под окраску и их окраску производить в соответствии с требованиями следующих документов:
-
ГОСТ 9.402-2004 Покрытия лакокрасочные. Подготовка металлических поверхностей к окрашиванию;
-
ГОСТ Р 54612-2011 Требование к обмывке и очистке. Вагоны пассажирские локомотивной тяги и моторвагонный подвижной состав;
-
ГОСТ Р 54893-2012 Вагоны пассажирские локомотивной тяги и моторвагонный подвижной состав. Требования к лакокрасочным покрытиям и противокоррозионной защите;
- Технология противокоррозионной защиты внутренних поверхностей кузовов моторвагонного подвижного состава (МВПС) ТИ-ЦЛПр-7/22-2003;
- Перечень лакокрасочных материалов для окрашивания пассажирских вагонов и моторвагонного подвижного состава, утвержденный вице-президентом ОАО "РЖД" Акуловым М.П. 05.02.2011 г.
8.6.2 При КР-1 произвести полную или частичную очистку от старой краски. Признаки необходимости выполнения очистки: сетка трещин, отслаивание, шелушение и другие даже незначительные дефекты.
При КР-2 произвести полную очистку вагона. Допускается очистка механизированным способом.
Для изоляции стальных внутренних поверхностей кузова при КР-2 применять защитный состав ПРИМ-БОДИ ТУ 2458-013-53945212-03 или аналогичные по характеристике составы, согласованные в установленном порядке.
8.6.3 Цвет наружных поверхностей кузова выбирать в соответствии с Альбомом цветографических схем по окраске моторвагонного подвижного состава 104.008-2010.
8.6.4 Металлический пол кузова очистить от загрязнений и окрасить.
8.6.5 Автоматические двери и предохранительные решетки их окон, раздвижные двери пассажирского салона, тамбурные двери, двери низковольтных и высоковольтных шкафов со стороны тамбурного помещения окрасить под общий цвет тамбурного помещения.
8.6.6 Мостики, бобышки разного назначения, заземляющие шины, жалюзи, кондуиты, трубы и поручни, находящиеся на крыше вагона, окрасить под цвет крыши.
8.6.7 Токоприемники окрасить в соответствии с требованиями конструкторской документации.
8.6.8 Поврежденные места старой краски стен в тамбурах и на панелях кабин очистить. Облицовочный материал стен и линолеум промыть моющими средствами. Верхние панели стен пассажирских помещений, кабин машиниста, потолков тамбуров окрасить соответствующей краской.
Линолеум пола не окрашивать.
8.6.9 Стойки и щиты ограждения электрических печей, ножки диванов окрасить под цвет пола.
8.6.10 Головки соединительных рукавов тормозной магистрали, стоп-краны, корпуса кранов машиниста, краны двойной тяги (разобщительные), краны токоприемника, концевые краны тормозной магистрали, ручки выпускных кранов окрасить в красный цвет.
Концевые краны и головки соединительных рукавов напорной магистрали окрасить в голубой цвет.
8.6.11 Деревянные детали внутренних конструкций и внутреннего оборудования после зачистки обработать огнебиозащитным составом КСД-А ТУ 2389-008-36567372-02 или аналогичным и покрыть лаком.
8.6.12 Деревянные диваны лакировать воднодисперсионным акрилполиуретановым лаком Балет или Интерьер ТУ 2316-004-0-31953544-97. Допускается применение аналогичного лака и алкидно-модифицированных эмалей, разрешенных к применению в ОАО "РЖД" в установленном порядке.
8.6.13 Лицевые стороны и торцы дюралюминиевых раскладок в кабинах машиниста, салонах и тамбурах вагонов окрашивать порошковой краской, светло-серой эмалью или осветлять травлением в зависимости от требований заказчика или колера интерьера вагона.
8.6.14 Наружные поверхности стеклопластиковых пультов кабины машиниста производства ОАО "ЭЛАРА" восстановить окрашиванием аэрозольной краской соответствующей цвету пульта.
8.6.15 Алюминиевые оконные рамы с потемневшим оксидированным слоем промыть и полировать. Допускается окрашивать рамы эмалью КО-8104 ТУ 2312-421-05763441-2003.
8.6.16 По окончании окрасочных работ нанести знаки и надписи снаружи и внутри вагона в соответствии с требованиями нормативных документов.
9 Ремонт электрических аппаратов
Технические характеристики электрических аппаратов приведены в
Приложении Е.
Требования по допускам и износам электрических аппаратов приведены в
Приложении Ж.
9.1.1 Демонтировать электрические аппараты с вагонов электропоезда.
9.1.2 Снятые электрические аппараты очистить от загрязнений и продуть сухим сжатым воздухом давлением от 0,2 до 0,3 МПа.
9.1.3 Аппараты разобрать, детали очистить и осмотреть.
Контактные поверхности, изоляционные стойки, валы, барабаны, поверхности изоляторов из пластмассы протереть салфетками, смоченными в бензине
ГОСТ 1012-2013 или в денатурированном спирте
ГОСТ Р 52574-2006 или в уайт-спирите
ГОСТ 3134. Для протирки металлических и изоляционных деталей применять чистую ветошь.
9.1.4 Осмотреть металлические каркасы аппаратов. Трещины заварить, повреждения отремонтировать. Окрасить металлические каркасы аппаратов эмалью МЛ-165
ГОСТ 12034-77. Прутковые конструкции очистить от ржавчины и заусенцев, покрыть электроизоляционным лаком
ГОСТ 15865-70, обмотать одним слоем киперной ленты
ГОСТ 4514-78 с перекрытием 1/2 ширины ленты. Киперную ленту покрыть электроизоляционным лаком или электроизоляционной эмалью холодной сушки (эмаль ГФ-92ХС
ГОСТ 9151-75).
Допускается устанавливать на прутковые конструкции трубки полиэтиленовые, поливинилхлоридные, трубки из кремнийорганической резины по
ГОСТ 17675-87.
9.1.5 Промыть воздухопроводные металлические трубки аппаратов в керосине ТУ 38.401.58-8-90 или бензине
ГОСТ 1012-2013, продуть сухим сжатым воздухом. Металлические трубки с трещинами или вмятинами глубиной более 25% диаметра заменить.
Резиновые воздухопроводные трубки заменить.
9.1.6 Осмотреть наконечники проводов и места соединений наконечников с проводами. Наконечники проводов внутреннего монтажа электроаппаратов с трещинами, изломами, размерами, не соответствующими сечению провода, или уменьшенной на 15% контактной поверхностью заменить. Наконечники с поврежденной или недостаточно надежной пайкой перепаять. Все наконечники облудить. Кабельные наконечники всех типов, закрепляемые опрессовкой, с ослабленным обжатием провода заменить.
9.1.7 Провода внутреннего монтажа аппаратов с местным повреждением оплетки изолировать двумя слоями электроизоляционной ленты
ГОСТ 28018-89 с перекрытием 1/2 ширины ленты с последующим покрытием электроизоляционным лаком или электроизоляционной эмалью холодной сушки.
9.1.8 Провода внутреннего монтажа аппаратов с поврежденной, с признаками попадания масла или потерявшей эластичность изоляцией, а также с обрывами проволок более 10% от общего их количества в жиле, заменить новыми.
Местные повреждения изоляции проводов на длине до 150 мм не более чем в двух местах на одном проводе допускается ремонтировать при условии обеспечения требуемых характеристик.
Провода должны располагаться свободно и крепиться надежно.
Прокладка проводов в местах, подвергающихся воздействию электрической дуги, не допускается.
Провода в скобах и клицах должны быть плотно зажаты и защищены от продавливания изоляции. Для этого под скобы необходимо установить прокладки из пластмассы, электроизоляционного картона ГОСТ 2824-86, листовой резины
ГОСТ 7338-90 или лакоткани
ГОСТ 28034-89. Ширина прокладки должна быть больше, чем ширина скоб на 3 - 5 мм.
В клицах провода обмотать смоляной лентой ТУ 16-503.020-91 или листовой резиной.
9.1.9 Изолировать термоусаживающейся трубкой ТУ 6-19-299-2010 места соединения проводов с наконечниками. Допускается изолировать места соединения проводов с наконечниками поливинилхлоридной изоляционной лентой ПВХ 15 x 0,20
ГОСТ 16214-86 или лентой из лакоткани ЛШМ
ГОСТ 28034-89 с последующей намоткой поверх ее прорезиненной изоляционной ленты
ГОСТ 2162-97.
Заделку высоковольтных проводов покрыть эмалью глифталевой ГФ-92ХС
ГОСТ 9151-75 (или аналогичной), низковольтных - электроизоляционным лаком. При использовании наконечников с обжимом изоляции концы низковольтных проводов не заделывать.
Допускается изолирование проводов выполнять в соответствии с требованиями документа (
N 144 Приложения А).
9.1.10 При ремонте электропроводов запрещается:
- сращивание проводов внутреннего монтажа в аппаратах;
- присоединение проводов к соединительным зажимам без наконечников (кроме проводов цепей связи, оповещения и освещения);
- прокладка низковольтных и высоковольтных проводов в одном пучке;
- присоединение проводов в натянутом состоянии.
9.1.11 При необходимости замены негодных проводов внутреннего монтажа аппаратов при КР-1 допускается укладка новых проводов по поверхности пучков с креплением их к пучку без дополнительного бандажирования.
9.1.12 В местах, где провода огибают острые углы металлических конструкций, необходимо подложить изоляционные прокладки.
9.1.13 Проверить наличие на проводах бирок с маркировкой. На проводах должна быть четкая маркировка в местах, доступных для осмотра. Для маркировки применять бирки из меди, латуни, алюминия, полимерных материалов с рельефной маркировкой или маркировкой специальными несмывающимися чернилами, допускается применять самоламинирующиеся этикетки.
9.1.14 Провода в пучке, за исключением специально свитых проводов, должны идти параллельно, не перекрещиваясь и не образуя пустот. Проложенные пучки проводов плотно увязать и прибандажировать киперной лентой.
Бандаж покрыть электроизоляционным лаком или электроизоляционной эмалью. Допускается бандажирование проводов ремешками из ленты ПВХ или стяжкой монтажной из морозостойкого материала.
9.1.15 Осмотреть контакты главной и вспомогательной цепей, контактные поверхности зачистить. Проверить толщину, раствор, провал и нажатие подвижных и неподвижных контактов, которые должны соответствовать допускам, указанным в
Приложении Ж. Контакты с износом контактной поверхности более допустимой величины заменить. Запрещается восстанавливать контактные поверхности стальных рычажных контактов наплавкой или напылением.
Серебряные контакты электрических аппаратов паять серебросодержащими припоями
ГОСТ 19738-2015. Допускается приварка металлокерамических контактов на контактно-сварочных машинах. Изношенные поверхности медных контактов электропневматических и электромагнитных контакторов восстановить пайкой пластины из меди марки М1
ГОСТ 859-2014 согласно документу (
N 130 Приложения А).
Контакты реле и вспомогательные контакты контакторов и переключателей зачистить стальной закаленной полированной пластиной, обезжиренной в спирте или бензине и протереть насухо ветошью. Контакты кнопочных выключателей зачистить надфилем с последующей протиркой безворсовой салфеткой. Зачищать указанные контакты абразивными материалами не допускается.
9.1.16 Проверить состояние медных и изоляционных пластин блокировок. При наличии износа более допустимого, указанного в
Приложении Ж, пластины заменить.
Головки винтов, крепящие медные и изоляционные пластины блокировок, должны быть утоплены на глубину от 0,5 до 1,5 мм, а при установке новых медных и изоляционных пластин - от 1,0 до 2,0 мм. Контактную поверхность рычажных контактов устанавливать на расстоянии не менее 3,0 мм от стыка медной и изоляционной пластин. Головки винтов, крепящие медные и изоляционные пластины, в рабочем положении аппаратов не должны располагаться под рычажными контактами.
При переходе из одного рабочего положения барабана в другое допускается перекрытие рычажными контактами отверстия под винт, крепящий пластину, не более чем на 50%.
9.1.17 Нажатие рычажных контактов должно быть от 10 до 25 Н. Суммарная длина линии касания рычажного контакта с медной пластиной блокировки должна быть не менее 80% ширины контактной поверхности рычажного контакта. Все рычажные контакты аппаратов маркировать в соответствии с обозначениями в монтажных схемах.
9.1.18 Все пружины осмотреть, проверить на соответствие чертежу. Деформированные пружины заменить.
Восстановить защитное покрытие пружин в соответствии с чертежом.
9.1.19 Рабочие поверхности клапанов и седел электромагнитных вентилей при наличии утечек воздуха обработать и притереть. Клапаны, утечки воздуха в которых невозможно устранить притиркой, заменить.
Ход клапанов у электромагнитных вентилей, магнитные зазоры под якорем должны соответствовать допускам
Приложения Ж. Клапаны, не обеспечивающие хода по всей длине, заменить.
Все электромагнитные вентили проверить на герметичность в соответствии с конструкторской документацией.
Электромагнитные вентили на пневмоприводы устанавливать соответствующего типа, установленного изготовителем, или аналогичные по характеристикам.
9.1.20 Цилиндры пневматических приводов аппаратов разобрать, очистить и осмотреть. Цилиндры пневматических приводов аппаратов должны быть со шлифованной рабочей поверхностью. Внутреннюю поверхность цилиндра при наличии глубоких рисок, овальности и конусообразности свыше 0,3 мм шлифовать. В случае выработки внутреннего диаметра более допустимого, цилиндр восстановить гальваническим способом или заменить.
Допускается на рабочих поверхностях наличие небольших рисок, если цилиндры выдерживают испытания на герметичность в соответствии с конструкторской документацией.
9.1.21 Крышки пневматических цилиндров с радиальными трещинами длиной до половины радиуса, допускается ремонтировать заваркой с последующей механической обработкой в соответствии с требованиями нормативной документации. Уплотнения крышек цилиндров заменить.
9.1.22 Кожаные и резиновые манжеты, резиновые кольца, прокладки и бронзовые шайбы с изломом лепестков заменить. Кожаные манжеты смазать в соответствии с документом (
N 127 Приложения А).
Установка резиновых манжет со сроком хранения более 3-х лет и отличных от маркировки 1 или 1А группы резины по ГОСТ 6878-72 не допускается.
9.1.23 Все катушки аппаратов проверить на соответствие требованиям конструкторской документации. Отклонение сопротивления постоянному току от номинального значения при температуре плюс (20 +/- 5) °C должно быть в пределах: для катушек напряжения от плюс 8% до минус 5%, для токовых катушек - от плюс 5% до минус 8%.
9.1.24 На низковольтных катушках изоляцию покрыть электроизоляционным лаком МЛ-92
ГОСТ 15865-70 или электроизоляционной эмалью ЭП-91
ГОСТ 15943-80.
На высоковольтных катушках и на низковольтных катушках с ослабленными выводами или повреждением изоляции снять верхний слой изоляции, ослабшие выводы перепаять.
Изоляцию восстановить и пропитать лаком в соответствии с требованиями конструкторской документации. Катушки с заливкой эпоксидным компаундом при пробое изоляции или междувитковом замыкании заменить.
Проверить сопротивление катушек постоянному току, электрическую прочность изоляции относительно корпуса и отсутствие междувиткового замыкания.
9.1.25 Выводы катушек магнитного дутья из шинной меди при повреждении мест пайки перепаять. При восстановлении катушек из шинной меди допускается наварка поврежденных концов газосваркой с последующим доведением их до чертежных размеров.
Поврежденную изоляцию из лакоткани на концах дугогасительной катушки контакторных элементов заменить. Катушки из шинной меди после ремонта покрыть электроизоляционным лаком МЛ-92 по
ГОСТ 15865-70 или электроизоляционной эмалью ЭП-91
ГОСТ 15943-80.
9.1.26 Изоляционные валы, стойки, планки, шпильки и болты с незначительными повреждениями отпрессованной изоляции (риски, наплывы или шелушения лака), отремонтировать зачисткой мелкой шлифовальной шкуркой
ГОСТ 13344-79 с последующей окраской изоляции электроизоляционной эмалью ЭП-91
ГОСТ 15943-80. При повреждениях изоляции до половины ее толщины допускается восстанавливать изоляцию намоткой пропитанной слюдинитовой ленты
ГОСТ 26103-84 и стеклополиэфирной ленты ТУ 8151-01-89778459-2010 с последующей опрессовкой, сушкой в печи и окраской электроизоляционной эмалью или установкой термоусадочной трубки. Место повреждения предварительно зачистить.
У изоляционных валов, стоек, планок, шпилек и болтов с повреждениями изоляции больше половины ее толщины, изоляцию заменить в соответствии с чертежом.
После ремонта изоляционные валы, стойки и планки проверить на электрическую прочность в соответствии с чертежами.
Болты и шпильки с изоляцией гальваническому покрытию не подлежат.
9.1.27 Осмотреть фарфоровые изоляторы на наличие трещин, сколов, прожогов, очистить изоляторы от грязи.
Очистку наружных поверхностей изоляторов производить техническими салфетками, увлажненными бензином, ацетоном или другим растворителем, затем протереть сухой мягкой безворсовой салфеткой. Фарфоровые изоляторы с трещинами, сколами или поврежденной глазурью на поверхности более 10% длины пути возможного перекрытия электрической дугой, заменить.
Исправные фарфоровые изоляторы очистить и промыть в щелочном растворе. Пластмассовые, стеклопластиковые изоляторы и детали аппаратов с рисками и ожогами не более 10% всей поверхности, зачистить и шлифовать с последующим покрытием электроизоляционным кремнийорганическим лаком или электроизоляционной эмалью в соответствии с документом (
N 145 Приложения А).
9.1.28 Опорные изоляторы аппаратуры, установленной на крыше вагона с ослаблениями в армировке, залить заново. Металлическую армировку изоляторов после ремонта окрасить электроизоляционным лаком.
9.1.29 Очистку и ремонт пластмассовых изоляторов производить в соответствии с документом (
N 145 Приложения А). Отремонтированные пластмассовые изоляторы должны быть с глянцевой поверхностью.
9.1.30 Шунты с обрывами проволок более 5% от общего их количества в жиле, заменить. Наконечники шунтов облудить. Наконечники со следами оплавления перепаять. Шунты в аппарате не должны быть натянуты при любом из положений механизмов аппарата.
9.1.31 Оси и валики шарнирных соединений с износом более допустимых размеров, указанных в
Приложении Ж, заменить. Изношенные отверстия под валики допускается заваривать с последующей обработкой до чертежных размеров.
9.1.32 Шариковые подшипники промыть, осмотреть и проверить в соответствии с документом (
N 126 Приложения А). Негодные подшипники заменить новыми. В шариковые подшипники заложить смазку в соответствии с документом (
N 127 Приложения А).
9.1.33 Кожуха и замки кожухов электрической аппаратуры отремонтировать. На кожуха и крышки аппаратов с прожогами допускается устанавливать заплаты. Внутренняя поверхность крышек кожухов со стороны выдувания электрической дуги должна быть оклеена асбестовой бумагой, материалом "Элпрег-155" или другим дугостойким материалом.
Трущиеся поверхности стержней замков и пружин смазать Солидолом Ж
ГОСТ 1033-79.
9.1.34 Внутренние поверхности всех ящиков, крышек и кожухов аппаратов окрасить электроизоляционной эмалью. Наружные поверхности всех крышек и кожухов покрыть эмалью согласно документу (
N 62 Приложения А) и нанести по трафарету надписи и знаки безопасности.
9.1.35 Деревянные клицы вводов проводов в аппараты должны быть изготовлены из ясеня или березы влажностью не более 12% и пропитаны натуральной олифой, парафином, трансформаторным маслом или антипиреном. В клицах не допускаются трещины, сколы и щели в их соединениях.
При КР-2 клицы заменить. При КР-1 допускается ремонтировать клицы установкой накладок, а также оставлять без замены клицы с небольшими сколами и несквозными трещинами, не влияющими на прочность и не ухудшающими их уплотняющие свойства.
Запрещается устранять неплотности в клицах подмазкой, скрывающей дефекты клиц. Клицы окрасить в соответствии с требованиями чертежей.
9.1.36 Уплотнение кожухов аппаратов должно быть чистым и мягким без надрывов и трещин.
Уплотнение проверить по всему периметру:
- установить в уплотнение под кожух ленту из лакоткани ЛСК
ГОСТ 28034-89 толщиной 0,15 мм, шириной 20 мм;
- тянуть ленту с усилием 20 Н, прикладывая нагрузку по периметру через расстояние от 150 до 200 мм. Лента не должна извлекаться.
При КР-1 дефектное уплотнение заменить.
При КР-2 все уплотнения заменить новыми.
9.1.37 Резиновые уплотнения люковых вводов проводов подвагонной аппаратуры заменить.
9.1.38 Асбоцементные стенки ящиков аппаратов, дугогасительных камер, панели и стенки камер высоковольтных вставок и коробок, межконтакторные перегородки пропитать в растворе гидрофобизирующей жидкости или кремнийорганическом лаке в соответствии с требованиями чертежей.
9.1.39 Конденсаторы, резисторы, полупроводниковые элементы в электрических цепях проверить, неисправные, с истекшим согласно техническим условиям сроком службы, заменить новыми. Допускается устанавливать конденсаторы, резисторы, полупроводниковые элементы более высокого класса.
9.1.40 Поврежденное защитное покрытие деталей аппаратов и крепежных деталей восстановить. Пружинные шайбы заменить.
Установка крепежных изделий с поврежденными шлицами, гранями и изношенной резьбой не допускается.
9.1.41 При сборке аппаратов на трущиеся поверхности нанести смазку в соответствии с документом (
N 127 Приложения А).
9.1.42 Всю защитную аппаратуру отрегулировать и опломбировать в соответствии с требованиями конструкторской документации.
На каждом аппарате должна быть маркировка в соответствии с обозначениями в монтажных схемах.
9.1.43 После ремонта проверить герметичность всех аппаратов с пневматическим приводом. Электропневматические клапаны проверить сжатым воздухом и подачей напряжения. Наибольшее и наименьшее давление воздуха и напряжение срабатывания аппаратов должны соответствовать конструкторской документации.
9.1.44 Проверить электрическую прочность изоляции отремонтированных аппаратов, за исключением электронной аппаратуры и люминесцентных светильников, переменным напряжением частоты 50 Гц в течение 1 минуты. Величина испытательного напряжения должна соответствовать требованиям
Приложения И.
Параметры сопротивления изоляции и испытательного напряжения для проверки изоляции цепей приведены в
Приложении К.
9.1.45 Результаты регулировки аппаратов, замеров сопротивлений, испытаний изоляции на электрическую прочность должны быть занесены в специальный журнал, хранящийся на испытательном стенде.
9.1.46 Аккумуляторный ящик демонтировать с вагона и отремонтировать.
9.2.1 Симметричные токоприемники
9.2.1.1 Токоприемник разобрать. Очистить детали токоприемника.
9.2.1.2 Установить основание рамы токоприемника на специальные опоры, выверенные по уровню и проверить наличие прогибов и перекосов балок и кронштейнов.
Осмотреть основание на наличие трещин в сварных швах, повреждения цинкового покрытия на бобышках кронштейнов, дефекты устранить.
9.2.1.3 Снять с кронштейнов основания упоры и разобрать. Валики упоров, при наличии выработки, поврежденной резьбы заменить.
9.2.1.4 Осмотреть нижние рамы. Трещины в сварных швах рамы заварить.
Осмотреть узлы соединения подъемных пружин с рычагами валов. Изношенные отверстия рычагов восстановить наплавкой латуни с последующей обработкой до чертежных размеров или установкой латунных (бронзовых) втулок.
Осмотреть шарнирные соединения рам токоприемников. Шарнирные подшипники при наличии коррозии, трещин, вмятин, выщербин, несоответствия чертежным размерам заменить. Рычаги и шарниры с трещинами заменить.
Оси и валики шарнирных соединений с износом более допустимых требований
(Приложение Ж) заменить. Изношенные отверстия под валики допускается заваривать с последующей обработкой до чертежных размеров.
9.2.1.5 Осмотреть главный и вспомогательный валы. Подшипники выпрессовать, промыть, осмотреть и проверить в соответствии с документом (
N 126 Приложения А). Негодные подшипники заменить новыми. В шариковые подшипники заложить смазку согласно требованиям документа (
N 127 Приложения А).
9.2.1.6 Трубы верхних и нижних рам с трещинами, изгибами и прожогами, а также составные трубы с муфтами заменить.
Трубы верхних рам, при наличии вмятин до 3 мм, и трубы нижних рам, при наличии вмятин до 5 мм, выправить на специальных оправках. При наличии вмятин большей величины трубы заменить.
При ремонте труб нижних рам токоприемников допускаются вмятины глубиной 3 мм на длине до 150 мм не более чем в двух местах при отсутствии изгиба труб.
9.2.1.7 Детали кареток (основания, рычаги, кронштейны, упоры) при наличии трещин заменить. Заваривать трещины и отверстия в шарнирных деталях каретки не допускается.
9.2.1.8 Осмотреть пружины токоприемника. При наличии трещин, изломов пружины заменить. Заменить натяжные болты и гайки при наличии сорванной или забитой резьбы.
9.2.1.9 Измерить высоту пружин в свободном состоянии. Заменить пружину при наличии отклонения высоты от номинального размера более чем на 5%.
Проверить пружины на соответствие нагрузочным диаграммам. Заменить пружины при отклонении характеристик от требований чертежа более чем на 8%.
9.2.1.10 Нанести на поверхность пружин лакокрасочное или металлическое покрытие в соответствии с требованиями чертежа.
9.2.1.11 Разница расстояний между отверстиями по диагоналям при установке основания токоприемника на фарфоровых изоляторах должна быть не более 3 мм, а при установке на пластмассовых изоляторах - не более 10 мм.
Контактные поверхности в местах присоединения наконечников проводов и шунтов зачистить и облудить.
9.2.1.12 Пневматический привод разобрать, детали проверить. Шлифовать внутреннюю поверхность цилиндра. При износе внутреннего диаметра более допустимых требований, цилиндр восстановить гальваническим способом или заменить.
Допускается на рабочих поверхностях наличие небольших рисок, если цилиндры выдерживают испытания на герметичность в соответствии с чертежом.
Допускается изношенный цилиндр токоприемника ремонтировать установкой втулки с предварительной расточкой цилиндра.
Размеры поршней, штоков и отверстий для прохода штоков в крышках должны быть в пределах допустимых требований, указанных в
Приложении Ж. При большем износе поршни, штоки и крышки заменить.
Атмосферные отверстия в крышках прочистить.
При сборке цилиндра на трущиеся поверхности нанести смазку в соответствии с документом (
N 127 Приложения А).
Ход поршня цилиндра отрегулировать в соответствии с чертежом.
9.2.1.13 Стержни упоров токоприемников с выработкой и поврежденной резьбой и резину буферов токоприемников, потерявшую эластичность, заменить.
9.2.1.14 Воздухопроводные трубы на основании токоприемника разобрать, прочистить и продуть. Трубы с поперечными трещинами, вмятинами глубиной более 2 мм и поврежденной резьбой, заменить. Трубы с продольными трещинами допускается заваривать с последующей зачисткой сварных швов и проверкой герметичности.
Трубы должны быть закреплены на основании токоприемника без люфта.
9.2.1.15 Воздушные рукава устанавливать только полиэтиленовые. Материал и размеры полиэтиленовой трубки должны соответствовать чертежу. Полиэтиленовые рукава перед установкой проверить:
- на плотность - воздухом давлением 0,8 МПа;
- на электрическую прочность между буртами в течение 1 минуты напряжением 70000 В частоты 50 Гц для электропоездов переменного тока и напряжением 12000 В для электропоездов постоянного тока. Нанести на трубку маркировку с указанием даты и места испытаний.
9.2.1.16 Токоприемник разобрать. Каркас полоза заменить новым.
9.2.1.17 Контактные поверхности нижних и верхних рам и основания токоприемника зачистить и лудить.
9.2.1.18 Шунты осмотреть, при наличии обрыва более 10% проволок, следов перегрева, выплавления припоя, повреждения наконечников - заменить.
9.2.1.19 Изоляторы токоприемника осмотреть и отремонтировать согласно
пунктам 9.1.27,
9.1.28 данного Руководства.
9.2.1.20 Токоприемник собрать, установить на выверенные тумбы и проверить на соответствие следующим требованиям:
- рама основания токоприемника, опираясь на тумбы, не должна качаться более 0,5 мм для токоприемников Л-13У, Л-14М и более 2 мм для остальных токоприемников;
- отклонение верхней поверхности полоза от горизонтали в рабочей зоне токоприемника должно быть не более 5 мм. Проверку горизонтальности полозов производить по верхним кромкам кареток полоза относительно основания токоприемника или установкой в середине полоза линейки длиной 1000 мм с уровнем;
- шунты шарниров, полоза, главного вала и рам должны быть надежно прикреплены к контактным поверхностям;
- разница по длине подъемных пружин на отрегулированном токоприемнике не должна превышать 6,0 мм для токоприемников Л-13У, Л-14М и 8,0 мм для остальных токоприемников;
- утечка воздуха из пневматической части при давлении 0,675 МПа должна быть в пределах, установленных нормативными документами;
- статическая характеристика токоприемника в диапазоне от 400 до 1900 мм рабочей высоты должна удовлетворять требованиям
Приложения Ж.
9.2.1.21 Опорные изоляторы под один токоприемник подбирать с разницей по высоте не более 2 мм. Качку токоприемников на изоляторах устранять установкой шайб соответствующей толщины.
9.2.1.22 Все трубчатые рамы и основание токоприемника, за исключением полиэтиленовых трубок, электрических и шарнирных соединений, шунтов, силуминовых рычагов и полозов, окрасить в соответствии с конструкторской документацией.
9.2.2 Асимметричные токоприемники
Токоприемник асимметричный ТасС-16-02
9.2.2.1 Демонтировать токоприемник.
9.2.2.2 Токоприемник разобрать, узлы и детали осмотреть. Проверить детали и узлы на соответствие требованиям документа (
N 198 Приложения А).
9.2.2.3 Провести ревизию подшипниковых узлов в соответствии с требованиями документа (
N 198 Приложения А).
9.2.2.4 Провести ревизию и ремонт пневмомодуля ПМ-01-05(03) ТУ 3185-001-24039780 в соответствии с требованиями конструкторской документации.
9.2.2.5 Собрать токоприемник, нанести на поверхность деталей смазку согласно таблице 9.1, провести испытания согласно требованиям документа (
N 198 Приложения А).
| | ИС МЕГАНОРМ: примечание. Текст дан в соответствии с официальным текстом документа. | |
Таблица 9.1
в приложение
Места смазки | Смазка |
Подвижные части токоприемника | Смазка антиобледенительная ЦНИИ КЗ ТУ 0254-005-01055954 (в зимнее время) |
Узел подвеса привода пневматического (ось, шарнирные узлы), масленки | |
Трущиеся поверхности, шарнирные узлы, подшипники, резьбовые соединения, шток буфера (амортизатора) | Смазка ЦИАТИМ-201 ГОСТ 6267-74 или смазка ЖТ-79 Л ТУ 0254-002-01055954-01 |
Поверхности контакта с шунтами несущего рычага, верхней рамы полоза | Смазка УВС Суперконт ТУ-0254-003-51844550-2009 |
Плоские поверхности баллона пневматического привода при сборке | Замазка ТГ-18 ТУ 38-10555-85 |
Полоз токоприемника | Смазка графитовая СГС-О - основная СГД-Д - дополнительная (ремонтная) ТУ 32 ЦТ 554-84 |
9.3.1 Главный воздушный выключатель ВОВ-25 10/400
9.3.1.1 Произвести полную разборку главного выключателя. Детали очистить и проверить их состояние.
9.3.1.2 Воздушный резервуар выварить в щелочной ванне с последующей промывкой в горячей воде или пропарить. Ремонт и гидравлические испытания воздушного резервуара давлением 1,5 МПа провести в соответствии с документом (
N 109 Приложения А) и (
N 93 Приложения А). Резервуары должны быть изготовлены из нержавеющих материалов.
9.3.1.3 Воздухопроводный изолятор очистить и проверить на отсутствие повреждений согласно
пункту 9.1.28 данного Руководства. Исправные изоляторы испытать гидравлическим давлением 1,5 МПа в течение 1 минуты. Давление поднимать и снижать плавно.
Крепление изоляторов проводить моментом затяжки 20 Н·м. Производить окончательную затяжку фарфоровых изоляторов ключами без контроля момента затяжки не допускается.
9.3.1.4 Выработка внутренней поверхности цилиндра дугогасительной камеры допускается не более 0,4 мм. Изношенные резиновые демпферы поршня заменить новыми. В сквозных отверстиях цилиндра и ламели контактной трубы не должно быть следов оплавления. Расстояние между диаметрально противоположными ламелями должно быть не более 43,05 мм. При выплавлении припоя в месте соединения контактной трубы с цилиндром места соединения пропаять серебряным припоем ПСР-70
ГОСТ 21931-76. Токоведущие части дугогасительной камеры серебрить по поверхностям, указанным в чертежах.
9.3.1.5 Ножи и контактные пластины при износах более допускаемых указанных в
Приложении Ж, заменить. Дугогасительные контакты с оплавлениями киритовой накладки, выработкой более допускаемых требований, заменить.
Исправные и новые контакты, ножи, контактные пластины серебрить по поверхностям, указанным в чертежах.
9.3.1.6 Измерить сопротивление постоянному току и сопротивление изоляции катушек реле и электромагнитов блока управления.
Катушки, у которых сопротивление изоляции менее 0,5 МОм, заменить. Ремонт катушек произвести в соответствии с
пунктами 9.1.23,
9.1.24 данного Руководства.
9.3.1.7 Изоляторы кулачковых элементов контрольно-сигнального аппарата с трещинами, сколами, поврежденной резьбой, а также металлические части кулачковых элементов с трещинами, ослаблением посадки осей, заменить. Толщина контактов должна быть не менее 0,8 мм.
9.3.1.8 Проверить внутренний диаметр втулок блока клапанов. Клапаны притереть по втулкам. Блок клапанов после сборки проверить на плотность сжатым воздухом давлением 1,0 МПа в течение 3 минут.
9.3.1.9 Проверить зазоры между уплотняющими кольцами и поршнем пневматического привода. Кольца, у которых зазоры с поршнем больше 0,09 мм и которые невозможно восстановить притиркой, заменить.
Овальность и конусообразность внутренней поверхности направляющей втулки штока у привода разъединителя не должна превышать 0,03 мм, а износ по диаметру должен быть не более 0,40 мм. При износе более допустимого втулку заменить.
9.3.1.10 Разработанные отверстия в рычажной системе привода, а также в крышке цилиндра под шток поршня восстановить до чертежных размеров. Оси, не соответствующие конструкторской документации, заменить.
9.3.1.11 Нелинейные резисторы и варисторы отремонтировать и испытать согласно документации изготовителя.
9.3.1.12 При сборке выключателя:
- проверить поверхность соприкосновения ножей с неподвижным контактом;
- проверить нажатие каждого ножа на неподвижный контакт, которое должно быть в пределах от 90 до 100 Н;
- проверить вжим подвижного дугогасительного контакта в неподвижный, его величина должна соответствовать требованиям
Приложения Ж;
- отрегулировать расстояние между торцовой поверхностью цилиндра корпуса дугогасительной камеры и поршнем, которое должно быть в пределах от 7 до 8 мм;
- проверить снижение давления сжатого воздуха в резервуаре выключателя в соответствии с требованиями
Приложения Ж;
- отрегулировать угол поворота вала разъединителя из включенного положения в отключенное, который должен соответствовать требованиям
Приложения Ж;
- проверить производительность патрона аэрации;
- смазать пневматический привод, внутреннюю поверхность корпуса дугогасительного контакта, трущиеся детали шарнирных соединений и электромагнитов, ножей разъединителя и неподвижных контактов в соответствии с документом (
N 127 Приложения А).
9.3.2 Главный вакуумный выключатель CVB25
9.3.2.1 Вакуумный выключатель CVB25 производства Schaltbau разработан на гарантированный срок службы 200000 циклов переключений и на протяжении установленного периода не требует ремонта. Контроль состояния, периодичность контроля, замену изношенных и поврежденных деталей производить в соответствии с руководством по эксплуатации выключателя (
N 194 Приложения А). При выявлении неисправности в период гарантийного срока направить выключатель в сервисный центр производителя.
9.3.2.2 При проведении ремонта проверить:
- износ механических частей;
- состояние гибких плоских подводящих проводов. Допускается не более 10% обрывов видимых медноаммиачных волокон;
- отсутствие, демонтировав нижнюю крышку двигательного отсека, на днище крышки металлической стружки и (или) обломков деталей, что указывает на повреждение деталей;
- отсутствие механических повреждений и ослаблений креплений электрических проводов;
- прилегание якоря к электромагниту полностью по всей поверхности, отсутствие деформированных поверхностей;
- отсутствие повреждений или ослаблений фиксатора электромагнита, подвижность фиксирующих болтов, определяющих люфт электромагнита;
- отсутствие повреждений или ослаблений тяги или болтов соединяющих якорь со стопорной защелкой;
- отсутствие износа передней кромки стопорной защелки. Допускается износ поверхности трения защелки и основания тяги управления в виде вдавливаний или истирания материала. Основная геометрическая форма должна быть сохранена, а износ должен быть равномерным. Защелка должна свободно перемещаться по всему рабочему диапазону, на поверхностях скольжения не должно быть повреждений. Во включенном положении защелка должна выходить из паза до ограничителя, допускается зазор не более 1,5 мм;
- износ и отсутствие повреждений кулачка;
- отсутствие повреждений и ослаблений крепления нижнего демпфера и демпфера стопорной защелки;
- отсутствие признаков утечки заполненной жидкости демпферов. При снятии нагрузки демпфер должен возвращаться в конечное положение. Для контроля демпфера стопорной защелки якорь электромагнита поднять до упора и отпустить. Удар якоря должен быть амортизирован (отсутствие металлического звука), и якорь должен полностью лечь на электромагнит.
При наличии повреждений и дефектов выключатель ремонтировать в аттестованном сервисном центре.
9.3.2.3 Проверить износ (обгорание) контактов по изменению хода главных контактов. Ход контакта должен быть 18 +/- 1 мм. Меньшая величина хода указывает на неисправность механического привода. Если величина хода больше допустимой на 3 мм, значит вакуумная камера изношена. При наличии дефекта выключатель ремонтировать в аттестованном сервисном центре.
9.3.2.4 Испытать вакуумную камеру выключателя. Испытания проводить при зазоре между контактами не менее 16 мм. Для контроля применять один из двух видов приборов.
Допускается проводить испытание аналогичным прибором, аттестованным производителем выключателя.
9.3.2.4.1 Испытание приборами HIGH VOLTAGE: PTS-37,5F (выходное напряжение 0 - 37,5 кВ постоянного тока, максимальный выходной ток 10 мА; минимальный диапазон 0 - 1 мкА) или прибором PTS-75F (выходное напряжение 0 - 75 кВ постоянного тока, максимальный выходной ток 10 мА; минимальный диапазон 0 - 1 мкА). Испытание проводится измерением напряжения при 37,5 - 40 кВ постоянного тока. При таком напряжении ток в вакуумной камере должен быть меньше 0,3 мА. Если значение тока больше вакуумную камеру заменить в аттестованном сервисном центре.
9.3.2.4.2 Испытание прибором VIDAR фирмы MEGGER
У прибора нет индикаторов измерения, он показывает состояние вакуумной камеры по сравнению с двумя контрольными камерами. На приборе установить диапазон измерений 40 кВ. Если сравнение с контрольными камерами показывает неисправность, то вакуумную камеру ремонтировать в аттестованном сервисном центре.
9.3.3 Заземляющий разъединитель SES25
9.3.3.1 Заземляющий разъединитель ремонтировать по конструкторской документации SES25.00 или в аттестованном сервисном центре.
9.4.1 Ввод проверить на отсутствие сколов и трещин в изоляторах, проверить состояние армировочной заливки и крепления верхней крышки к фланцу изолятора, надежность пайки гибкого металлического рукава к корпусу муфты и его целостность.
9.4.2 Разделку высоковольтного ввода отремонтировать в соответствии с документом (
N 144 Приложения А).
9.4.3 Оборванный и поврежденный гибкий металлический рукав при КР-1 ремонтировать с установкой хомутов, не более восьми штук на ввод.
9.4.4 При наличии повреждений армировочной заливки разрушенный слой удалить и залить вновь эпоксидным компаундом.
9.4.5 При изготовлении нового высоковольтного ввода длина кабеля должна быть с запасом (не менее 15 м), обеспечивающим двухразовую замену концевых муфт. Длина отремонтированного ввода должна быть не менее 13,8 м.
9.4.6 Отремонтированный или вновь изготовленный ввод испытать на электрическую прочность переменным напряжением 70000 В частоты 50 Гц в течение 1 минуты.
9.4.7 Шинный ввод очистить и отремонтировать согласно конструкторской документации.
9.4.8 Проверить электрическую прочность изоляции изоляторов и трансформаторов.
9.4.9 Изоляторы трансформатора тока и втулки проходной очистить и проверить на отсутствие повреждений согласно
пункту 9.1.27 данного Руководства.
9.4.10 Трансформаторы тока проверить согласно конструкторской документации.
9.5 Силовые контроллеры, реверсивные и тормозные переключатели
9.5.1 Силовые контроллеры и переключатели разобрать.
9.5.2 Осмотреть рамы каркаса. Трещины в рамах, изношенные отверстия и отверстия с поврежденной резьбой заварить газовой или электродуговой сваркой с последующей обработкой до чертежных размеров. Текстолитовые установочные планки с трещинами или выжигами заменить.
9.5.3 Шейки валов, износ которых более допустимого, в соответствии с требованиями конструкторской документации, восстановить хромированием. Изоляционные поверхности вала должны быть гладкими и очищенными от загрязнений. При необходимости изоляционные поверхности необходимо шлифовать с последующим покрытием красной электроизоляционной эмалью.
Профили кулачков и кулачковых шайб обработать в соответствии с требованиями конструкторской документации с учетом допустимых износов, указанных в
Приложении Ж, негодные заменить.
9.5.4 Пневматический привод разобрать, очистить и осмотреть. Проверить износ зубчатой передачи, звезды, роликов. При износе зубьев шестерни и рейки заменить. Звезду имеющую износ более 0,2 мм заменить новой. Цилиндры пневматического привода отремонтировать согласно
пункту 9.1.20 данного Руководства.
Проверить шток цилиндра с роликами. Царапины на поршне шлифовать. Поршень, при износе которого более допустимого, заменить или восстановить хромированием. Проверить плотность посадки осей роликов в поршне. Люфт оси не допускается. При наличии люфта ось ремонтировать, при невозможности ремонта заменить.
Допускается, без подачи напряжения на вентили переключения реверсивных и тормозных переключателей, свободный ход вала с условием сохранения развертки.
9.5.5 Изношенные детали переключателя вентилей заменить.
Зазор между шпилькой рычага и втулкой, между ползуном и шпилькой должен быть не более 0,6 мм.
Изношенные контакты переключателя вентилей заменить.
Проверку развертки переключателя производить согласно диаграмме включения контактов.
Храповик переключателя проверить по шаблону. Изношенный храповик восстановить или заменить новым.
9.5.6 Подшипники промыть, осмотреть и отремонтировать согласно
пункту 9.1.32 данного Руководства.
При ослаблении бронзового вала подшипника в каркасе реверсора допускается установка подшипников с завышенным диаметром с запрессовкой по месту.
При ослаблении посадки подшипников вала звезды привода силового пневматического контроллера допускается увеличивать наружный диаметр кольца подшипника хромированием.
9.5.7 Проверить фиксатор силовых контроллеров. Изношенные отверстия стенок рычага и кронштейна заварить с последующей обработкой отверстий по чертежу.
Допускается установка бронзовой втулки в отверстие кронштейна фиксатора. Заклепки, скрепляющие фиксатор, устанавливать с увеличенными размерами. Фиксатор на фиксированных позициях должен точно устанавливаться во впадину храповика.
Изношенные шайбы между роликом и корпусом фиксатора заменить.
9.5.8 При движении по рабочим поверхностям кулачков ролики-контакторы должны касаться не менее 75% образующей кулачка. На фиксированных позициях ролики замкнутых контактов силовых контроллеров всех типов должны располагаться не ближе 3 мм от склонов кулачков.
Допускается осевое смещение роликов контакторов относительно кулачковых шайб не более 1 мм. Для устранения смещения допускается опиливание текстолитовых реек в крайних отверстиях под болты крепления к раме до размера на 2 мм большего, чем номинальный. Опиленные поверхности окрасить электроизоляционной эмалью.
9.5.9 Допускается осевое смещение шестерен в парном зацеплении до 1,5 мм.
9.5.10 При качении ролика силового контакторного элемента по образующей кулачковой шайбы допускается изменение раствора силовых контакторов до 2 мм в пределах указанного на раствор допуска.
9.5.11 Контакторные элементы очистить и осмотреть. Изоляторы с трещинами, прожогами, сколами и сорванной резьбой заменить. Изолятор с рисками на поверхности, незначительными обгарами и сколами, зачистить мелкой шлифовальной шкуркой
ГОСТ 6456-82, шлифовать, полировать и покрыть электроизоляционным лаком.
9.5.12 Ролики, оси и контакты, изношенные более допустимых требований в соответствии с конструкторской документацией, заменить. Ролики и оси должны быть закаленные и шлифованные. Подвижные рычаги, держатели контактов со сквозными трещинами, изношенные более допустимых требований в соответствии с конструкторской документацией, заварить с последующей обработкой.
Допускается изготавливать оси контакторов КР-3А диаметром до 6,5 мм с заплечиками на конце.
9.5.13 Разрыв контактов кулачковых контакторов допускается регулировать установкой электроизоляционных прокладок из электрокартона или фибры под края паза изолятора. Прокладки должны быть толщиной не более 1 мм и приклеены на электроизоляционной эмали. Допускается регулировать разрыв и провал кулачковых контакторов опиливанием посадочной поверхности паза изолятора.
Касание медных контактов по линии должно быть не менее 80% ширины контакта. Допускается опиливание поверхностей медных контактов.
9.5.14 Дугогасительные камеры и перегородки с трещинами, сколами, прожогами отремонтировать с заменой поврежденных асбоцементных деталей, камеры пропитать согласно
пункту 9.1.38 данного Руководства.
9.5.15 Защитные экраны, шины, рейки восстановить в соответствии с требованиями конструкторской документации.
9.5.16 Неисправные роликовые подшипники контакторных элементов заменить. Пружины проверить согласно
пункту 9.1.18 данного Руководства.
9.5.17 У собранных контакторов проверить вращение роликов контакторных элементов на оси рычага. Ролик должен вращаться без заеданий.
Типы кулачковых контакторов, устанавливаемых на аппарат, должны быть одинаковыми.
9.5.18 После сборки силовые контроллеры и переключатели проверить и испытать:
- проверить отсутствие повышенного трения или заедания при ручном переводе кулачкового вала из одной позиции в другую;
- определить последовательность и длительность замыкания и размыкания контактов согласно диаграмме замыкания контактов;
- развертки контакторных элементов должны соответствовать требованиям чертежа;
- проверить четкость работы электропневматических переключателей при давлении воздуха 0,35 МПа и напряжении 35 В (рабочее напряжение 50 В) и при напряжении 75 В (рабочее напряжение 110 В);
- определить время вращения кулачкового вала от первой до последней позиции при номинальном значении сжатого воздуха и напряжении цепи управления.
Время вращения кулачкового вала от первой до последней позиции должно соответствовать конструкторской документации.
9.6 Электропневматические контакторы
9.6.1 Демонтировать ящики, снять и разобрать контакторы.
9.6.2 Дугогасительные камеры полностью разобрать. Асбоцементные стенки и перегородки дугогасительных камер со сколами, трещинами и прогарами глубиной более 2 мм, заменить или отремонтировать установкой вставок.
9.6.3 Проверить состояние катушек магнитного дутья (дугогасительные катушки). Катушки с выжигами витков до 3% площади сечения шины зачистить, при выжигах более 3% площади сечения ремонтировать наплавкой меди с последующей обработкой.
При невозможности восстановления катушку заменить. Поврежденную изоляцию на концах катушки полностью заменить.
С внутренней стороны вывода проложить текстолитовую планку толщиной от 1,5 до 2,0 мм. Концы катушек приварить к дугогасительному рогу и наконечнику латунью марки ЛО62
ГОСТ 15527-2004.
Изоляцию сердечника дугогасительной катушки восстановить.
9.6.4 Дугогасительные рога осмотреть и зачистить. Дугогасительные рога с выжигами более 3 мм, восстановить наплавкой. Допускается восстановление рога по длине припайкой медно-вольфрамовых наконечников МВ-70 размером 20 x 28 x 5 мм с последующим восстановлением до чертежных размеров.
9.6.5 Цилиндры пневматических приводов ремонтировать согласно
пункту 9.1.20 данного Руководства.
9.6.6 Изношенное отверстие в цилиндре под шток поршня восстановить до чертежных размеров установкой бронзовых втулок. Зазор между штоком и цилиндром допускается не более 0,5 мм. Запрещается устранение зазора между штоком и цилиндром установкой штоков большего диаметра.
Поршни пневматических приводов в нижней части штока закрепить гайкой с пружинной шайбой.
9.6.7 Изоляторы штоков с трещинами или ослаблением металлической армировки заменить. При выработке наконечника изолятора в допустимых пределах наконечник запилить, при выработке более допустимого изоляторы заменить.
9.6.8 Валики с повреждениями или износом более допустимого в соответствии с требованиями конструкторской документации, заменить.
9.6.9 Отверстия в рычаге, кронштейнах и держателях контактов, у которых износ более допустимого в соответствии с требованиями конструкторской документации, восстановить заваркой с последующей обработкой до чертежных размеров.
Допускается рассверливать изношенные отверстия до диаметра больше чертежного на 2 мм и устанавливать в них стальные или бронзовые втулки.
9.6.10 Контакты контакторов отремонтировать согласно
пункту 9.1.30 данного Руководства. При износе серебряных напаек напайки выпаять, контакт обработать и напаять новую серебряную напайку в соответствии с требованиями конструкторской документации.
9.6.11 Раствор и провал контактов контакторов должны соответствовать конструкторской документации.
Допускается для регулировки раствора и провала контакта контактора дополнительно прокладывать одну шайбу толщиной до 3 мм.
Регулировку разрывов контактов контакторов ПК-306 производить установкой втулки на шток цилиндра между приливом цилиндра и поршнем штока.
9.6.12 Проверить колодки блокировок. Выработки в фибровых колодках глубиной до 1 мм запилить. Люфт рычажной системы контакторов ПК-350 должен соответствовать требованиям чертежа.
Толщина вспомогательных рычажных контактов и нажатие контактов должны соответствовать допустимым требованиям, указанным в
Приложении Ж.
9.6.13 После ремонта и сборки контакторы должны соответствовать следующим требованиям:
- включение контакторов при давлении воздуха 0,35 МПа и напряжении равном 75% от номинального должно быть четким, без рывков, с плотным касанием контактов;
- смещение контактов относительно друг друга должно быть не более 1 мм;
- площадь касания контактов контакторов должна быть не менее 80% ширины контактов;
- все подвижные части контакторов должны перемещаться свободно, без заедания, между подвижными частями контакторов и дугогасительной камерой должен быть зазор не менее 1 мм;
- при выключении разрыв контактов должен быть одновременным;
- между витками дугогасительной катушки и держателем должен быть зазор не менее 2 мм;
- витки дугогасительной катушки не должны касаться друг друга;
- полюсы дугогасительных камер должны плотно касаться полюсов дугогасительных катушек;
- изоляция дугогасительной камеры между дугогасительными рогами, а также между дугогасительными рогами и деталями электромагнитного дутья должна соответствовать требованиям, установленным нормативными документами;
- дугогасительные камеры должны свободно сниматься, устанавливаться на место и с исправными запирающими устройствами;
- утечка воздуха из пневматического цилиндра не должна превышать величины, установленной нормативными документами, или требованиями конструкторской документации;
- головки винтов, крепящих изоляционные колодки держателей межконтакторных перегородок контакторов ПК-306, должны быть заподлицо с поверхностями колодок и залиты компаундной массой.
9.7 Электромагнитные контакторы
9.7.1 Электромагнитные контакторы
9.7.1.1 Демонтировать контакторы из камер, разобрать их, детали очистить и проверить. Дугогасительные рога при наличии выжигов до 2 мм зачистить, при наличии выжигов более 2 мм - наплавить. Допускается дугогасительный рог контактора КМБ-3 восстанавливать припайкой медновольфрамовой пластины МВ-70 размером 20 x 28 x 5 мм с последующим опиливанием согласно чертежу.
Контакты контакторов с износом в пределах требований конструкторской документации зачистить, с большим износом - заменить.
Кронштейны дугогасительной камеры осмотреть, при наличии трещин заварить латунью.
Дугогасительные камеры и перегородки отремонтировать согласно
пункту 9.5.14 данного Руководства. Полюсы камер контакторов МК-310 окрасить снаружи черным лаком или оцинковать. Изоляторы блокировок контакторов КМ с трещинами, прожогами, заменить.
9.7.1.2 Осмотреть состояние выводов катушек магнитного дутья и включающей катушки. При обгорании или ослаблении выводов катушки магнитного дутья выводы отремонтировать, а включающие катушки - согласно
пунктам 9.1.23 и
9.1.24 данного Руководства.
Для восстановления изоляции выводов подъемной катушки контакторов МК-310 проложить два слоя лакоткани между ярмом и планкой основания контактора.
9.7.1.3 Кронштейны и контактные рычаги ремонтировать согласно
пункту 9.6.9 данного Руководства. При наличии трещин в рычагах рычаги заменить.
9.7.1.4 Вспомогательные контакты зачистить, отрегулировать их раствор, провал и нажатие согласно требованиям конструкторской документации.
9.7.1.5 Собранные электромагнитные контакторы должны удовлетворять следующим требованиям:
- все подвижные части должны перемещаться свободно, без заеданий;
- дугогасительная камера должна свободно устанавливаться и сниматься. Полюсы камеры должны плотно касаться полюсов дугогасительной катушки и не должны касаться выводов катушки;
- площадь касания контактов контакторов должна быть не менее 80% ширины контактов;
- зазор между подвижным контактом и стенками камеры должен быть не менее 1,0 мм;
- зазор между валиком камеры контакторов МК-310 и пазом держателя контактора должен быть не более 0,8 мм;
- ширина щели устья камеры контакторов КМВ должна быть в пределах от 3,0 до 4,5 мм;
- полярность и величина намагничивания постоянного магнита камер контакторов 1КМ.014 (КМВ-104) должны соответствовать требованиям чертежа;
- контакторы должны четко срабатывать при пониженном напряжении на включающей катушке в соответствии с требованиями чертежей.
9.7.1.6 Контакторы КМБ-3Д испытать и отрегулировать в соответствии с требованиями конструкторской документации.
9.7.1.7 Контакторы крепить к ящику болтами с пружинными шайбами. При установке контакторов МК-310 низковольтные перемычки монтировать в резиновых или полихлорвиниловых трубках.
9.7.1.8 При КР-2 при наличии контакторов КМВ-104 произвести их замену на контактор 1КМ.016.
9.7.2 Электромагнитные контакторы серии КМ2000 и МК
9.7.2.1 Электромагнитные контакторы серий МК и КМ2000 очистить и разобрать.
9.7.2.2 Проверить дугогасительные и включающие катушки на наличие следов перегрева изоляции, обрыва и межвитковых замыканий обмотки. Проверить выводные провода на наличие обрыва жил и дефектов пайки наконечников.
Катушки со следами перегрева изоляции, обрывом или межвитковым замыканием обмотки, обрывы жил и оплавление наконечников выводных проводов заменить.
9.7.2.3 Осмотреть детали дугогасительной камеры - основание, крышку, пламегаситель. При наличии трещин, сколов, прогаров, оплавления детали дугогасительной камеры заменить.
9.7.2.4 Осмотреть контакты и контактные мостики главной цепи. При наличии трещин, деформаций, толщины контактных накладок менее 0,5 мм контакты и контактные мостики главной цепи заменить.
9.7.2.5 Заменить вспомогательные контакты:
- при наличии трещин, деформаций;
- при полном износе контактных накладок;
- при величине неодновременности замыкания мостиковых контактов более значения, указанного в конструкторской документации;
- при смещении контактных накладок подвижных и неподвижных контактов более 1 мм;
- при уменьшении толщины контактных пластинок клиновидных контактов на величину более 50% от первоначальной.
9.7.2.6 Все пружины осмотреть, проверить на соответствие чертежу. Деформированные пружины заменить.
Восстановить защитное покрытие пружин в соответствии с чертежом.
9.7.2.7 По окончании ремонта контакторы собрать, проверить свободу перемещения всех подвижных частей, зазоры, провалы, одновременность касания контактов, усилие нажатия контактов на соответствие значениям, указанным в конструкторской документации.
9.7.2.8 Сборку, проверку и регулировку контакторов серии КМ2000 проводить в соответствии с требованиями ОБС.463.114 ТО "Контакторы электромагнитные серии КМ2000. Техническое описание и инструкция по эксплуатации".
9.7.2.9 Сборку, проверку и регулировку контакторов серии МК проводить в соответствии с требованиями БКЖИ.644 200.001 ТО "Контакторы серии МК. Техническое описание и инструкция по эксплуатации".
9.7.3 Электромагнитные контакторы Schaltbau
9.7.3.1 Электромагнитные контакторы Schaltbau CT1115, CT1130, CH800 на протяжении установленного срока службы (20 лет) не требуют проверки и регулировки зазоров, контактного усилия и др. Контроль состояния, замену изношенных и поврежденных деталей производить в соответствии с руководствами по эксплуатации контакторов (
N 182,
195 Приложения А).
9.7.3.2 Запрещается смазка контактора и зачистка главных контакторов напильником или абразивными материалами. Образование нагара черного цвета на главных контакторах и дугогасительных рогах в процессе эксплуатации допустимо.
9.8 Быстродействующие выключатели
9.8.1 Быстродействующие выключатели разобрать. Детали очистить и проверить их состояние. Магнитопроводы разобрать в случае их повреждения.
9.8.2 Дугогасительную камеру разобрать.
Дугогасительный рог при наличии оплавления восстановить наплавкой или припайкой медновольфрамового наконечника МВ-70 размером 20 x 10 x 5 мм с последующей обработкой до чертежных размеров. При невозможности ремонта заменить. Стенки камеры и перегородки со сколами, трещинами, поврежденной изоляцией полюсов или толщиной менее допустимой заменить. Остальные изоляционные детали дугогасительной камеры зачистить, при наличии трещин или сколов заменить.
9.8.3 Основания, рычаг, держатель, пружинный упор с трещинами заменить. Поврежденную резьбу восстановить. Бронзовые втулки с износом заменить.
9.8.4 Контакты быстродействующего выключателя, не соответствующие требованиям конструкторской документации заменить. Контактные поверхности контактов припилить с обеспечением прилегания, установленного чертежом.
9.8.5 Контактные поверхности якоря и полюсов удерживающего магнита обработать, обеспечивая прилегание не менее установленного требованиями конструкторской документации. Надежность соприкосновения якоря и полюсов магнита проверить снижением напряжения на удерживающей катушке.
Проверить ток удерживающей катушки на отпадание и удержание якоря в соответствии с требованиями конструкторской документации.
9.8.6 Панель неподвижных контакторов, дугогасительных катушек и полюсов снять. Поврежденную изоляцию заменить. Изоляцию панели по отношению к стержням держателей испытать переменным напряжением 10000 В частоты 50 Гц в течение 1 минуты.
9.8.7 Резиновую диафрагму заменить.
9.8.8 Ролики включающего рычага при наличии выработки по поверхности более допустимых конструкторской документацией, заменить.
9.8.9 Резиновый воздушный рукав заменить полиэтиленовым. Рукав тщательно промыть, высушить и испытать переменным напряжением 12000 В частоты 50 Гц в течение 1 минуты. Рукав, не выдержавший испытаний, заменить. При монтаже воздухопровода его детали должны быть на расстоянии не менее 5 мм от других деталей быстродействующего выключателя. Проверить герметичность рукава сжатым воздухом давлением 0,75 МПа. Провести испытание на герметичность собранного быстродействующего выключателя.
9.8.10 На выводах удерживающей катушки поставить краской обозначение полярности. Соответствующие обозначения должны быть нанесены на главных выводах быстродействующего выключателя.
9.8.11 Собранный быстродействующий выключатель проверить, испытать и отрегулировать в соответствии с требованиями конструкторской документации. Регулировочные винты опломбировать.
9.9.1 Держатели патронов высоковольтных предохранителей должны быть изготовлены из фосфористой или кремнисто-марганцовистой бронзы. Стальные обоймы держателей патронов должны быть изготовлены из пружинной стали.
Расстояния между держателями патронов и их положение относительно выхлопной втулки должны соответствовать чертежам.
9.9.2 Высоковольтные предохранители перегоревшие, с поврежденными или закопченными фибровыми и асбестовыми втулками заменить.
9.9.3 Плавкая вставка предохранителя по сечению должна соответствовать установленному номинальному току. Величина номинального тока должна быть нанесена на патроне. Внутренняя асбестовая трубка верхним концом должна упираться в упорный штифт камеры, а нижний конец ее должен быть на расстоянии не менее 5 мм от торца фибровой трубы.
9.9.4 Контактные поверхности патрона предохранителя должны обхватываться держателями, обеспечивая надежный линейный контакт без люфта предохранителя в держателях.
9.9.5 Осмотреть контактные стойки низковольтных предохранителей. Проверить состояние резьбовых отверстий в планках. Поврежденную резьбу восстановить. Держатели патронов должны удовлетворять требованиям
пункта 9.9.4 данного Руководства. Годные держатели патронов облудить электролитическим способом.
Осмотреть состояние контактов и фибровых трубок низковольтных предохранителей. На контактах не должно быть подгаров. Фибровые трубы с выбоинами более 1 мм или поврежденной резьбой наконечников заменить.
9.9.6 Осмотреть опорные фарфоровые изоляторы предохранителей. Изоляторы с трещинами, значительными сколами заменить. Поверхностные сколы площадью не более 1 мм допускается закрашивать красной электроизоляционной эмалью.
Кронштейны держателей патронов в изоляторах залить свинцовым глетом или составом, состоящим из 50% серы и 50% кварцевого песка. Под изолятор проложить прокладки из асбестовой бумаги.
9.9.7 Все предохранители перезарядить (кроме высоковольтных ПКПС) с заменой плавкой вставки. Перезарядку высоковольтных предохранителей производить в соответствии с инструкцией изготовителя.
9.9.8 На вводные провода в стенках ящиков должны быть установлены резиновые втулки.
9.9.9 Болты и верхние упорные скобы оцинковать.
9.10.1 Реле проверить на соответствие токо-временной характеристике. На металлических деталях восстановить поврежденное защитное покрытие и окраску в соответствии с конструкторской документацией. Катушки реле не должны перемещаться на сердечниках, посадка их должна быть плотной. Изоляторы дисковых контактов с трещинами заменить. Проверить соответствие раствора, провала контактов и воздушных зазоров якорей требованиям документации изготовителей.
9.10.2 Призму реле Р-40 с забоинами, рисками шлифовать. Изоляционные втулки и фланцы сердечника магнитопровода с трещинами, сколами, следами перекрытия заменить.
9.10.3 Пружины проверить согласно
пункту 9.1.18 данного Руководства, негодные заменить.
9.10.4 На осях шарнирных соединений должны быть шайбы и шплинты, соответствующие конструкторской документации.
9.10.5 Проверить толщину контактов. Контакты, изношенные более допустимых требований, заменить.
9.10.7 Монтаж панелей производить проводом согласно требованиям конструкторской документации. Контактные кольца перемычек облудить. На кольцевом контакте должна быть установлена металлическая чашечка, препятствующая развертыванию кольца при креплении перемычки.
9.10.8 Гетинаксовые (текстолитовые) панели с трещинами, крупными сколами заменить. Панели с выжигами глубиной до 50% толщины панели отремонтировать разделкой поврежденного места, заливкой жидким стеклом с асбоцементным порошком или эпоксидной смолой, шлифовкой и окраской.
Асбоцементные панели отремонтировать согласно
пункту 9.6.2 данного Руководства. При повреждении лакового покрытия панель зачистить шлифовальной шкуркой и окрасить электроизоляционной эмалью в соответствии с чертежом.
9.10.9 Элементы магнитной системы и контактных групп реле типа РП-23, МКУ-48 при наличии коррозионных повреждений заменить. Провода реле с поврежденной изоляцией заменить, поврежденные паяные соединения восстановить. Изоляционные прокладки с трещинами и сколами заменить. Крепежные изделия с поврежденной резьбой заменить. Поврежденное защитное покрытие крепежных изделий восстановить. Все реле должны быть закрыты крышками и закреплены специальными защелками или винтами.
9.10.10 После ремонта реле проверить и отрегулировать на испытательном стенде, регулировочные винты шплинтовать или опломбировать в соответствии с требованиями конструкторской документации.
9.10.11 У тепловых реле проверить состояние термобиметаллического элемента. Реле проверить на ток срабатывания.
9.10.12 У термоконтакторов ТК проверить состояние контактов, капилляра, пайку проводов к корпусу. Разрыв столбика ртути устранить охлаждением резервуара с ртутью в минусовой ванне согласно инструкции изготовителя. Проверить температуру замыкания термоконтактора.
9.10.13 Термозащитные реле с легкоплавким сплавом при наличии сколов, трещин, следов перегрева заменить.
Сменить негодные, погнутые, потерявшие упругость листовые и контактные пружины. При наличии следов расплавления плавкий контакт заменить.
Блоки управления отопления и вентиляции салонов и кабин управления с датчиками температуры снять и проверить, неисправные заменить.
9.10.14 Термические сигнализаторы (контакторы) снять и проверить, неисправные заменить.
9.10.15 При ремонте регулятора напряжения вибрационного типа угольные контакты заменить новыми. Допускается использование контактов с износом рабочей поверхности до 10%. Площадь соприкосновения контактов должна быть не менее 75% общей площади поверхности, а зазор между правым и левым контактом должен быть от 0,5 до 1,0 мм. Биметаллическую пластину с трещинами заменить.
9.10.16 Герконовое реле снять и отрегулировать в соответствии с требованиями изготовителя.
9.11 Резисторы пусковые, ослабления возбуждения
9.11.1 Перед ремонтом ящики резисторов продуть сухим сжатым воздухом.
9.11.2 Резисторы разобрать. Проверить состояние элементов, изоляционных трубок, медных и миканитовых шайб.
9.11.3 Изолированные шпильки с отслоениями изоляции или выжигами, длиной, не соответствующей требованиям конструкторской документации, заменить новыми, при ремонте изоляции применять термоусадочные трубки или стеклослюдинитовую ленту.
9.11.5 Фехралевую ленту со следами оплавления и перегрева, а также несоответствующую требованиям по сопротивлению постоянному току, заменить. Резисторы подлежат переборке с заменой изоляторов при наличии трещин в ребристых изоляторах или скола ребер величиной более 10% его длины. В одном элементе допускается не более четырех изоляторов со сколами ребер указанной величины. Допускаются поперечные трещины ребер изоляторов, с условием сохранения целостности ребра. Допускается элементы резисторов выполнять из трех-четырех кусков фехраля с наименьшим числом витков в куске не менее пяти. Соединение кусков производить газовой сваркой с применением латуни до укладки ленты резисторов в пазы изоляторов. Приварку производить по всей ширине ленты. Зазор между витками элементов резисторов должен соответствовать требованиям чертежа.
9.11.6 Стойки с трещинами, изношенными отверстиями отремонтировать электросваркой с последующей обработкой до чертежных размеров.
9.11.7 При сборке в комплект боковые стойки ящиков установить так, чтобы расстояния между центрами отверстий под подвесные болты соответствовали чертежу. При несоответствии расстояний отверстий в ящиках допускается прокладка разрезных дистанционных шайб. Медные шины с трещинами или оплавлениями отремонтировать заваркой с последующим опиливанием и лужением.
9.11.8 Сопротивление резисторов, отклонение сопротивления постоянному току от номинального значения при температуре 20 °C должно находиться в пределах, установленных конструкторской документацией.
9.12 Резисторы типа ПЭВ, ПЭВР, С5-35В, С5-36В, СР, ТСО
9.12.1 Резисторы СР, ТСО продуть сухим сжатым воздухом, осмотреть, измерить сопротивление постоянному току.
Изоляторы с трещинами, сколами и повреждениями глазури на поверхности более 10% пути возможного перекрытия электрической дугой заменить.
При обрыве спирали резисторов типа СР, ТСО или несоответствии значения сопротивления постоянному току требованиям конструкторской документации элемент резистора перемотать. Запрещается при перемотке элементов сращивать провода. Выводные зажимы паять. При невозможности ремонта резистор заменить.
9.12.2 Трубчатые резисторы осмотреть, проверить на целостность и измерить сопротивление. Ослабшие крепления лапок подтянуть. Трубчатые резисторы с оплавленными выводами, следами перегрева, сколами, повреждениями глазури более 10% площади заменить.
9.12.3 Хомут сопротивления должен быть затянут и обеспечивать надежный контакт с проводом.
9.12.4 Проверить электрическую прочность изоляции и величину сопротивления собранных резисторов типа СР на соответствие требованиям конструкторской документации.
9.12.5 Отклонение величины сопротивления постоянному току резисторов ПЭВ, ПЭВР, С5-35В, С5-36В, СР, ТСО от номинального значения при температуре 20 °C не должно превышать 10%.
9.13 Сглаживающие реакторы, индуктивные шунты, тиристорные шунты
9.13.1 Сглаживающие реакторы продуть сжатым воздухом, разобрать, проверить состояние деталей.
9.13.2 Проверить величины сопротивления и индуктивного сопротивления катушек. Измерить сопротивление изоляции катушек относительно магнитопровода. Проверить катушки на отсутствие междувиткового замыкания.
Катушки с пробоем изоляции на корпус, глубокими выжигами или механическими повреждениями, пониженным сопротивлением изоляции, не устраняемым сушкой, отремонтировать с полной заменой изоляции.
Катушки с местными повреждениями изоляции витка отремонтировать восстановлением изоляции этого витка.
Катушки пропитать и просушить. Выводы катушки облудить.
9.13.3 Магнитопровод сглаживающего реактора с выжигом, расслоением или повреждением пластин разобрать и собрать вновь с заменой негодных пластин.
9.13.4 Проверить сопротивление изоляции стяжных шпилек верхнего и нижнего ярма магнитопровода, которое должно быть не менее 5 МОм.
9.13.5 Изоляторы отремонтировать согласно
пункту 9.1.27 данного Руководства.
9.13.6 Проверить электрическое сопротивление и индуктивное сопротивление реактора. Проверить отсутствие междувитковых замыканий. Испытать электрическую прочность изоляции реактора относительно корпуса. После ремонта реактор окрасить в соответствии с конструкторской документацией.
9.13.7 Индуктивные шунты отремонтировать согласно инструкции ремонтного предприятия, согласованной в установленном порядке.
Катушки индуктивных шунтов должны соединяться с обеспечением согласного магнитного потока.
9.13.8 Тиристорные шунты отремонтировать в соответствии с требованиями документа (
N 119 Приложения А).
9.14 Главные разъединители
9.14.1 Проверить состояние основания, изоляторов, ножа, стоек. Проверить заземляющие шины. Погнутые клеммы и нож выправить, очистить, отшлифовать и восстановить покрытие согласно чертежу.
9.14.2 Прилегание ножа к подвижным контактам должно обеспечивать надежный линейный контакт.
Изоляционные стойки отремонтировать согласно
пункту 9.1.26 данного Руководства.
9.14.3 Собранный главный разъединитель должен удовлетворять следующим требованиям:
- переключение ножа должно производиться без заеданий и перекоса его в неподвижных контактах. Переключение производить реверсивной рукояткой: рукоятка должна свободно входить и извлекаться только после окончания включения или выключения разъединителя. Ножи смазать в соответствии с требованиями документа (
N 127 Приложения А);
- контактные стойки переключателя должны быть надежно закреплены;
- свободный ход оси вращения ножа не допускается;
- контактные поверхности разъединителя и подводящих шин в местах подсоединения высоковольтных наконечников должны быть облужены;
- толщина ножа и контактной стойки должна соответствовать требованиям конструкторской документации.
9.15.1 Разрядники отремонтировать и испытать в соответствии с инструкциями изготовителя. Разрядники с истекшим согласно техническим условиям сроком службы и разрядники, не подлежащие ремонту, заменить новыми.
9.16 Электрические печи и электрокалориферы
9.16.1 Электрические печи и электрокалориферы снять, разобрать, детали очистить. Нагревательные элементы при наличии обрыва спирали, ослабления крепления выводной шпильки, коробления корпуса заменить. Допускается производить очистку изоляторов моющим раствором без снятия нагревателей. Изоляторы с трещинами или отколами, заменить. На выводных перемычках и соединениях между элементами не должно быть трещин и надрывов. Перемычки между элементами изготовить и установить согласно чертежу. Кожуха электропечей выправить и покрыть эмалью в соответствии с требованиями документа (
N 62 Приложения А). Места заземления кожухов печей зачистить и облудить.
9.16.2 Проверить величину сопротивления постоянному току нагревательных элементов каждой печи, калорифера.
Запрещается комплектовать для одной печи элементы, отличающиеся по величине сопротивления постоянному току более чем на 5%. Проверить сопротивление изоляции спирали каждого элемента относительно трубки, которое должно быть не менее 1 МОм.
При комплектации на вагон величина сопротивления постоянному току печей в группе не должна отличаться более чем на 5%.
9.16.3 В собранных печах и калориферах элементы должны быть жестко закреплены.
9.16.4 Вентилятор калорифера с электродвигателем снять, разобрать, очистить, отремонтировать и испытать в соответствии с документом (
N 112 Приложения А).
9.16.5 Допускается устанавливать нагревательные панели кабины машиниста, изготовленные с применением нагревательного кабеля.
9.17 Электрообогреватель баков туалетных помещений
9.17.1 Электронагреватель и панель 1ПА-025 с переключателем обогревателя бака туалета с вагона снять. Проверить сопротивление постоянному току и сопротивление изоляции нагревательных элементов, неисправные заменить.
Промыть фарфоровые втулки, изоляторы. Изоляторы с трещинами, сколами заменить.
9.17.2 Провода выводных концов с поврежденной изоляцией заменить. Коробку отремонтировать. Пакетный переключатель разобрать. Контакты пакетного переключателя зачистить, лопнувшие пружины заменить.
9.18 Конденсаторы, индуктивные фильтры, дроссели, магнитные усилители, стабилизаторы напряжения
9.18.1 Проверить электрическую прочность конденсатора конденсаторного фильтра ФСК постоянным напряжением.
Конденсатор должен выдерживать в течение 10 секунд без электрического пробоя и поверхностного разряда приложенное между выводами, а также между любым выводом и корпусом напряжение, равное для конденсаторов до 15000 В - двойному номинальному, а для конденсаторов до 1000 В - тройному номинальному.
Напряжение, прикладываемое к конденсатору, необходимо поднимать постепенно в течение 10 секунд. Не выдержавшие испытаний конденсаторы заменить.
Проверить емкость конденсатора.
9.18.2 Коробку конденсаторного фильтра отремонтировать с заменой неисправных вводных резиновых втулок, прокладок, изоляторов с трещинами и ослабленными армированными деталями.
Коробку после ремонта внутри окрасить согласно чертежу.
9.18.3 Индуктивный фильтр разобрать, проверить надежность паяных соединений выводных концов катушки и их изоляцию.
Проверить катушку на отсутствие междувиткового замыкания и испытать на электрическую прочность изоляции относительно корпуса в соответствии с чертежом. Катушки индуктивных фильтров, ремонтируемые с заменой изоляции, после ремонта пропитать согласно требованиям чертежа. Катушки, ремонтируемые без замены изоляции, а также катушки после пропитки покрыть электроизоляционной эмалью.
У индуктивных фильтров должны быть медные луженые выводные концы. Допускается наличие алюминиевых выводных концов при использовании биметаллических (Cu-Al) шайб между выводами и наконечниками кабелей.
9.18.4 Измерить сопротивление изоляции магнитных усилителей и стабилизаторов напряжения между обмотками, а также между обмотками и корпусом. Сопротивление изоляции, измеренное мегомметром на 1000 В, должно быть не менее 80 МОм для стабилизатора напряжения и не менее 5 МОм для магнитного усилителя.
Испытать обмотки стабилизаторов напряжения, магнитных усилителей и дросселей на электрическую прочность изоляции в соответствии с требованиями
Приложения И.
Измерить электрическое сопротивление обмоток стабилизатора напряжения и магнитных усилителей, величина которого должна соответствовать требованиям
Приложения К.
Залить в стабилизаторы напряжения трансформаторное масло Т-750
ГОСТ 982-80.
Проверить стабилизатор напряжения на отсутствие междувитковых замыканий в обмотках.
Проверить контрольные точки вольтамперной характеристики магнитных усилителей.
9.18.5 Блок управления и стабилизации БУС-МК проверить и ремонтировать в соответствии с документом (
N 188 Приложения А).
9.18.6 Стабилизаторы зарядного напряжения СЗН-МК проверить и ремонтировать в соответствии с документом (
N 189 Приложения А).
9.19 Автоматические выключатели
9.19.1 Автоматические выключатели разобрать. Детали промыть и осмотреть. Биметаллическую пластину теплового расцепителя с трещинами или вмятинами, заменить. При наличии повреждения покрытия провода катушки электромагнитного расцепителя защитный слой катушки восстановить электроизоляционным лаком.
9.19.2 Дугогасительные камеры отремонтировать с заменой поврежденных деталей. При наличии трещин, изломов и выжигов камеры заменить.
9.19.3 Потерявшую упругость пружину механизма свободного расцепления заменить. Проверить величину хода кнопок, которая должна быть у кнопки включения - 14 мм, у кнопки отключения - 4 мм.
9.19.4 Отремонтированный и собранный автоматический выключатель испытать и отрегулировать.
9.20 Соединительные коробки, соединительные зажимы
9.20.1 Соединительные коробки разобрать и осмотреть. Внутреннюю поверхность коробки окрасить электроизоляционной эмалью. Панели коробок при наличии выжигов, заменить. Соединительные зажимы зачистить. Соединительные зажимы и планки облудить, крепежные болты и шайбы оцинковать.
Крышки соединительных коробок плотно подогнать по месту и поставить прокладки в соответствии с требованиями конструкторской документации.
9.20.2 Изоляторы коробок, резистора киловольтметра с трещинами, сколами, потертостями глазури заменить. Ослабшую металлическую армировку изолятора залить вновь. Заливку производить согласно
пункту 9.9.6 данного Руководства.
9.20.3 Планки соединительных зажимов при наличии трещин и изношенных отверстий под болты заменить.
Головки болтов, крепящие панели и планки соединительных зажимов, должны быть утоплены не менее чем на 5 мм. Болты соединений цепей отопления после закрепления проводов не должны выступать над гайками более чем на 2 мм.
9.21 Осветительное оборудование
9.21.1 Плафоны, прожекторы, системы люминесцентного освещения, световые линии, сигнальные фонари, светильники тяговых двигателей снять, очистить и проверить.
В осветительной арматуре устранить неисправности в замках и петлях, заменить изношенные крючки, трехгранники и т.д. Стекла, рассеиватели люминесцентных светильников, светодиодных модулей промыть, разбитые заменить. В каждом вагоне стекла плафонов и рассеиватели люминесцентных светильников, светодиодных модулей должны быть одинаковой формы, расцветки. Поверхность плафона грунтовать и красить в соответствии с чертежом. У рефлекторов восстановить никелевое покрытие. Неисправные патроны заменить, стекла плафонов уплотнить, заменив изношенные прокладки. Между корпусом плафона и патроном установить изоляционную (фибровую или текстолитовую) прокладку.
9.21.2 Пускорегулирующую аппаратуру люминесцентных светильников ремонтировать в соответствии с документацией изготовителя.
9.21.3 Светодиодные модули проверить и ремонтировать в соответствии с документом (
N 166 Приложения А).
9.22 Электроизмерительные приборы
9.22.1 Электроизмерительные приборы, шунты и добавочные сопротивления снять и разобрать для осмотра и ремонта. Катушки при наличии обрыва проводов или повреждения изоляции заменить. Подпятники и оси подвижной системы, спирали при наличии повреждений заменить. Проверить величину сопротивления подвижной системы прибора и отрегулировать.
9.22.2 Проверить состояние шунтов и добавочных резисторов. Шунты проверить при номинальном токе на величину падения напряжения. Проверку выполнять в соответствии с требованиями стандартов на методы и средства поверки.
9.22.3 Произвести балансировку подвижной системы и регулировку прибора. Регулировку производить вместе с добавочным резистором или шунтом.
Допускается при отсутствии высоковольтного или многоамперного агрегата регулировать приборы без добавочного сопротивления или шунта. После ремонта, калибровки и испытания на электрическую прочность изоляции приборы клеймить и опломбировать. Калибровку производить в соответствии с требованиями стандартов на методы и средства поверки.
9.22.4 Счетчики электроэнергии отремонтировать, калибровать и испытать в соответствии с требованиями стандартов на методы и средства поверки.
9.23 Контроллеры машиниста
9.23.1 Контроллеры машиниста полностью разобрать. Проверить состояние валов и барабанов. Изношенные или с оплавлением сегменты заменить. Изношенные более допустимых требований кулачки восстановить наплавкой с последующей обработкой до чертежных размеров. Шестерни с уменьшением толщины зуба по окружности зацепления более 0,1 мм заменить. Кулачковые шайбы, изношенные по диаметру более допустимых требований, а также с повреждением профиля склонов заменить. Устранить люфт вала барабана в опорном подшипнике. Пружины контроллера проверить согласно
пункту 9.1.18 данного Руководства. Кулачковые контакторы отремонтировать согласно
пунктам 9.5.11 -
9.5.13 данного Руководства.
9.23.2 После ремонта кулачковые валы и барабан проверить на станке. Сегменты обточить и отшлифовать. У контроллера КМР-2 текстолитовый сегмент рычага безопасности при необходимости заменить.
Серебряные контакты блокировки безопасности и контактные пальцы заменить.
9.23.3 Износ отверстий рычагов блокировочного механизма и механизма безопасности проверить шаблонами и калибрами. Изношенные детали восстановить наплавкой с последующей обработкой до чертежных размеров.
9.23.4 Упорные диски реверсивной рукоятки с изношенными отверстиями под шурупы, трещинами и несоответствующими чертежу размерами между упорами заменить. Новые упорные диски изготовить из чугуна или стали.
9.23.5 Изношенные грани квадрата вала реверсивного барабана восстановить до чертежных размеров.
9.23.6 Изношенные храповики, фиксирующие положения валов и барабанов, ремонтировать наплавкой с последующей обработкой до чертежных размеров.
9.23.7 Оси и ролики рычага клапана безопасности, механизма блокировки контроллера должны соответствовать требованиям
Приложения Ж.
9.23.8 Изношенные отверстия под подшипники отремонтировать установкой бронзовой втулки с толщиной стенки от 1,5 до 2,0 мм и внутренним диаметром, соответствующим чертежу, или заваркой с последующей обработкой до чертежных размеров.
9.23.9 Диаметр атмосферного отверстия клапана безопасности должен быть не менее 6 мм. В корпусе клапана допускается устанавливать сеточный пылеуловитель.
9.23.10 Собранный контроллер должен удовлетворять следующим требованиям:
- при нулевом положении рукоятки свободный ход главного вала контроллера должен быть не более 2 мм по дуге окружности;
- зазор между храповиком главного вала и роликом фиксатора должен быть не менее 1 мм;
- разрыв между бронзовым двойным контактом и рычажными контактами должен быть не менее 8 мм;
- зазор между торцом пневматического клапана и приливом рычага вала механизма безопасности в рабочем положении контроллера не должен превышать 3 мм. Защелка рукоятки, запирающая подвижную шпонку, должна находиться от нее на расстоянии не менее 1 мм;
- усилие, необходимое для нажатия рукоятки контроллера, должно быть не более 70 Н, для удержания рукоятки - от 10 до 25 Н.
9.23.11 Механическая блокировка рукояток контроллера машиниста должна обеспечивать:
- перевод реверсивной рукоятки только при нулевом положении главной рукоятки;
- перевод главной рукоятки только при ходовом положении реверсивной рукоятки;
- при нулевом положении реверсивной рукоятки и не нажатой главной рукоятке, а также при ходовом положении реверсивной рукоятки и нажатой главной рукоятке контакты механизма безопасности должны быть замкнуты, а клапан безопасности закрыт;
- при ходовом положении реверсивной рукоятки и не нажатой главной рукоятке на любом ее положении контакты механизма безопасности должны быть разомкнуты, а клапан безопасности открыт;
- главная рукоятка может быть нажата только на нулевом положении;
- реверсивная рукоятка может быть снята только при нулевом ее положении.
9.23.12 Концевой переключатель блокировки прибора безопасности разобрать, детали очистить, промыть и проверить. Переключатель отремонтировать, при невозможности ремонта заменить.
9.23.13 Контроллер 1КМ3А отремонтировать в соответствии с инструкцией изготовителя.
9.24 Клапан токоприемника
9.24.1 Клапан разобрать, детали очистить, промыть и осмотреть.
9.24.2 Корпус клапана, цилиндр при наличии трещин (не заходящих на внутреннюю поверхность цилиндра), разработанных отверстий и отверстий с поврежденной резьбой отремонтировать заваркой с последующей обработкой до чертежных размеров. Цилиндр клапана отремонтировать согласно
пункту 9.1.20 Руководства.
Втулку корпуса, изношенную более допустимых требований, указанных в
Приложении Ж, заменить.
9.24.3 Поршень с рисками, царапинами отшлифовать. При износе поршня по диаметру более допустимого поршень заменить. Допускается растачивать канавку поршня и устанавливать кольца ремонтных размеров, отличающиеся по ширине от номинальных на величину от 0,5 до 1,5 мм.
9.24.4 Пробку проверить калибром. Пробку изношенную и с поврежденной резьбой заменить.
Изношенный хвостовик и головку ручного управления восстановить наплавкой с последующей обработкой до чертежных размеров.
9.24.5 Шток поршня с сорванной резьбой заменить. Ролики, изношенные по диаметру более допустимого, в соответствии с требованиями конструкторской документации, заменить.
9.24.6 Вентили отремонтировать согласно
пункту 9.1.19 данного Руководства. Клапаны и пробки притереть.
9.24.7 Собранный клапан отрегулировать в соответствии с требованиями конструкторской документации и проверить на герметичность согласно
пункту 9.1.43 данного Руководства.
9.24.8 Редуктор клапана токоприемника разобрать, детали промыть, каналы прочистить, клапаны притереть и отрегулировать.
9.24.9 Клапан токоприемника, не поддающийся регулировке или неисправный, заменить.
9.25.1 Детали регулятора очистить и осмотреть. Поврежденные детали восстановить до чертежных размеров, при невозможности ремонта заменить. Резиновую диафрагму регулятора заменить.
Детали приводного механизма, главную пружину и поврежденный кожух восстановить до чертежных размеров, при невозможности ремонта заменить.
При сборке регулятора не допускается заедание и повышенное трение.
9.25.2 Проверить регулятор на утечку воздуха и отрегулировать в соответствии с требованиями чертежа.
9.25.3 Регулятор давления, не поддающийся регулировке или неисправный, заменить.
9.26.1 Гетинаксовые (текстолитовые) панели отремонтировать согласно
пункту 9.10.8 данного Руководства. Под резисторы установить экран из асбоцементной плиты толщиной 6 мм на расстоянии от 10 до 12 мм от панели. Трубчатые резисторы отремонтировать согласно
пункту 9.12.2 данного Руководства.
9.26.2 Проверить состояние всех держателей патронов предохранителей и рубильника. Неисправные детали отремонтировать или заменить. Контактные поверхности зачистить.
9.26.3 Проверить состояние соединительных зажимов проводов, наконечников и перемычек на задней стороне щита, поврежденные детали заменить. Наконечники облудить. Наконечники с поврежденной пайкой к проводам перепаять. Восстановить надписи обозначений выключателей и предохранителей.
9.26.4 Пульты управления с электронным оборудованием (биотуалетов, системы климат-контроля, стеклообогрева и др.) отремонтировать в соответствии с документацией изготовителя, при невозможности выполнения ремонта заменить новыми.
9.27 Разъединители цепей управления
9.27.1 Разъединители снять для ремонта, разобрать, детали очистить. Восстановить защитное покрытие болтов, гаек и пластин разъединителя, зачистить рычажные контакты и сегменты, изношенные заменить. Проверить состояние барабана, подшипников и крепление рукоятки. Изоляционную доску покрыть электроизоляционным лаком БТ-99
ГОСТ 8017-74.
9.27.2 После сборки разъединитель проверить на плотность прилегания подвижных контактов и нажатие их на сегменты барабана. Барабан должен вращаться свободно.
9.27.3 Проверить состояние пластмассовых шайб и перегородок разъединителя универсального переключателя типа УП. Перегородки и шайбы с трещинами заменить. Подвижные контакты толщиной менее 1 мм, неподвижные с износом более 2 мм, заменить.
9.27.4 Осмотреть состояние универсальных переключателей типа УП. Исправные контакты с подгарами зачистить.
9.27.5 Подвижные контакты со сломанными пластинчатыми шунтами, пружинами заменить. Перегородки с изломами, значительными сколами заменить. Сколы глубиной не более 2 мм зачистить шлифовальной шкуркой
ГОСТ 6456-82. Стягивающие шпильки с поврежденной резьбой заменить.
9.27.6 Кулачки переключателя с трещинами или износами, не обеспечивающими полного включения контактов заменить.
Неплотную посадку рукоятки на валу переключателя устранить установкой на вал втулок или прокладок.
9.27.7 Укрепить перемычки внутреннего монтажа переключателя, восстановить маркировку контактов в соответствии с монтажной схемой.
9.28 Кнопочные выключатели
9.28.1 Проверить состояние плоских контактов (контакты пластин), колодок, изоляции токоведущих шин. На металлические головки кнопок нанести покрытие согласно конструкторской документации. Пластмассовые ручки с трещинами или выжигами заменить. Соединительные пластины облудить.
Проверить состояние панели предохранителей. При наличии трещин панель заменить. Головки болтов, крепящих держатели патронов с обратной стороны панели, утопить и залить компаундной массой.
9.28.2 Зажимные пружины держателя патрона низковольтных предохранителей должны быть из фосфористой или кремнисто-марганцовистой бронзы.
9.28.3 Изношенные отверстия в корпусах под кнопки допускается разворачивать и изготовить кнопки большего диаметра, обеспечивающие установленный зазор. Диаметр кнопки не должен отличаться от чертежного более чем на 3 мм. Надписи восстановить.
9.28.4 Отремонтировать предохранители согласно
пункту 9.9.5 данного Руководства. Внутреннюю поверхность кожухов окрасить серой электроизоляционной эмалью, а наружную - черным электроизоляционным лаком БТ-99
ГОСТ 8017-74.
9.28.5 Контакты со значительными выжигами и износами более допустимых, в соответствии с требованиями конструкторской документации, заменить. Незначительные оплавления зачистить шлифовальной шкуркой. Исправные подвижные контакты облудить, неподвижные оцинковать.
9.28.6 Работа механической блокировки выключателя должна быть четкой и надежной. Разблокированные кнопки должны свободно включаться и выключаться, кнопки без возвратных пружин должны надежно фиксироваться в конечных положениях.
Ключ блокировки должен свободно входить в гнездо и не должен извлекаться при заблокированном выключателе. Неисправные пружины и детали заменить.
9.28.7 По окончании сборки проверить надежность контактов предохранителей в зажимах и в зоне рычажных контактов. Нажатие рычажных контактов регулировать согласно требованиям конструкторской документации.
9.28.8 Запрещается использовать кнопочные выключатели при наличии:
- заедания кнопок в гнездах;
- неисправной механической блокировки;
- неисправности возвращающих пружин, импульсных кнопок и пружин включения контактов.
9.29 Выключатели управления, пакетные и концевые выключатели
9.29.1 Проверить состояние соединительных зажимов, бронзовой пружинной шайбы, ножа, пружин и других деталей выключателя управления. Защитное покрытие на болтах и шайбах должно соответствовать чертежу. Дугогасительную камеру и детали контактов зачистить, неисправные заменить. В предохранители установить новые плавкие вставки. Изоляционную панель при наличии трещин заменить. При сборке выключателя головки болтов должны быть утоплены на глубину 5 мм и залиты компаундной массой. Положения включающего ножа должны четко фиксироваться, бронзовая пружинная шайба должна обеспечивать равномерное нажатие. Полное сжатие шайбы не допускается.
Серебряные контакты выключателей управления, изношенные более допустимого, перепаять. Пластмассовые рукоятки с трещинами и выжигами заменить. Пружины проверить, неисправные заменить.
9.29.2 Пакетные выключатели и переключатели разобрать, очистить, негодные детали заменить. После сборки проверить работу согласно требованиям чертежа.
9.30 Автоматический выключатель управления Э-119 и пневматический выключатель ПВУ
9.30.1 Выключатель разобрать, очистить и осмотреть.
Манжеты поршня, уплотнительные кольца и прокладки заменить.
Цилиндры проверить согласно
пункту 9.1.20 данного Руководства, при необходимости отшлифовать или заменить.
Контакты смятые, треснувшие, с износом более допустимого заменить.
Детали с поврежденной резьбой заменить. При износе по диаметру фиксирующего буртика поршня пневматического выключателя ПВУ более требований установленных конструкторской документацией, поршень заменить.
После сборки отрегулировать выключатель управления в соответствии с требованиями конструкторской документации.
9.30.2 Неразборный пневматический выключатель ПВУ, не поддающийся регулировке или неисправный, заменить.
9.31 Сигнализатор отпуска тормозов
9.31.1 Сигнализаторы отпуска тормозов разобрать, осмотреть, неисправные детали ремонтировать, при невозможности ремонта заменить. После сборки сигнализатор испытать в соответствии с документом (
N 109 Приложение А).
9.32.1 При КР-1 окна кабины машиниста с проволочными стеклообогревателями снять. Проверить состояние и электрическое сопротивление проволочных обогревателей. Обогреватели с обрывом проволоки, со следами перегрева, с сопротивлением, не соответствующим конструкторской документации, заменить. При КР-2 стекла заменить.
9.32.2 При КР-1 на головных вагонах электропоездов, оборудованных остеклением с пленочным обогревом лобовых и боковых оконных блоков, проверить целостность цепи, при неисправности блоки заменить. При КР-2 пленочный обогреватель заменить.
9.32.3 Держатели с трещинами и потерявшие упругость заменить. Выводные провода с обрывами или повреждениями изоляции заменить.
9.32.4 Проверить сопротивление силикатного электрообогревателя стекол триплекс. Электрообогреватели с отклонением сопротивления от требований конструкторской документации заменить.
9.32.5 Снять и отремонтировать панель с переключателями режимов стеклообогрева. Пакетные переключатели отремонтировать согласно
пункту 9.29.2 данного Руководства.
9.33 Выпрямительные установки
9.33.1 Выпрямительные установки демонтировать и разобрать.
9.33.2 Текстолитовые панели со сколами, трещинами заменить. Проверить сопротивление изоляции изоляционных втулок, неисправные заменить.
9.33.3 Охладители вентилей очистить.
Охладители с трещинами и сколами заменить. У исправных охладителей поверхности соприкосновения с полупроводниковыми вентилями отшлифовать.
9.33.4 Проверить состояние вентилей. Оплавления гибких шунтов, разрушения изолятора, повреждения корпуса вентиля (вмятины, срыв резьбы хвостовика, повреждение контактной поверхности и др.) не допускаются.
Измерить обратный ток при номинальном напряжении и при температуре 140 °C и прямое падение напряжения при номинальном токе каждого вентиля на специальных стендах. Поврежденные вентили, вентили с истекшим сроком службы или вентили с несоответствующими параметрами заменить.
Замена лавинного вентиля дополнительно обуславливается требованием правильного подбора вентилей по напряжению стабилизации согласно требованиям на выпрямительные установки для электропоездов.
Восстановить защитное покрытие крепежных деталей.
9.33.5 При установке полупроводниковых вентилей на охладитель, контактные поверхности покрыть тонким слоем теплопроводящей пасты. У таблеточных диодов отрегулировать усилие сжатия таблетки в соответствии с документацией изготовителя. На контактные поверхности таблеточных диодов, установленных в выпрямителе В-ОПЕД, теплопроводящую пасту не наносить.
9.33.6 Затяжку вентилей производить тарированным моментным ключом. Зазор между вентилем и охладителем должен быть не более 0,03 мм.
9.33.7 В собранном блоке проверить сопротивление изоляции между охладителями вентилей и корпусом. Сопротивление изоляции в холодном состоянии должно быть не менее 10 МОм.
9.33.8 В собранных установках проверить распределение тока. Отклонение величины тока по параллельным ветвям не должно превышать 10% от среднего значения для установок УВП-1, УВП-3 и 15% от среднего значения для установок УВП-5А. Проверить работу выпрямительной установки при максимальном обратном напряжении.
9.33.9 Трансформаторы блока защиты снять и проверить электрическое сопротивление обмоток и целостность витковой изоляции. При выявлении неисправностей отремонтировать.
9.33.10 Панели с защитными аппаратами отремонтировать и испытать совместно с выпрямительными установками.
9.33.11 Провода в цепи датчиков защиты с поврежденной изоляцией или обрывами заменить. Сращивание проводов не допускается.
9.34.1 Проверку работоспособности и ремонт пульта машиниста выполнить в соответствии с документацией производителя:
- Пульт машиниста УПУ. Руководство по эксплуатации КЖИС.468367020-30РЭ;
- Пульт машиниста УПУ. Руководство по эксплуатации КЖИС.468367.020-51РЭ;
- Пульт 4161МЛ.07.15.000-1. Руководство по эксплуатации 4161МЛ.07.15.000-1РЭ;
- Электропоезда постоянного тока типа ЭМ2, ЭМ2К. Руководство по эксплуатации С61.00.00.000-01РЭ.
9.35 Системы безопасности, диагностики, сигнализации и связи
9.35.1 Всю аппаратуру автоматической локомотивной сигнализации с вагона снять, разобрать, проверить, отремонтировать, отрегулировать и испытать в соответствии с документами (
N 140,
137 Приложения А). Детали и аппараты, характеристики которых не соответствуют требованиям конструкторской документации, заменить.
Монтаж оборудования АЛСН произвести в соответствии с требованиями конструкторской документации.
9.35.2 Аппаратуру Комплекса технических средств пожарной и охранной сигнализации, оповещения видеонаблюдения и диагностики КТС-ПОС-ОВД демонтировать с электропоезда, проверить, ремонтировать и испытать в соответствии с требованиями документа (
N 177 Приложения А).
9.35.3 Системы пожарной сигнализации и пожаротушения
9.35.3.1 Системы пожарной сигнализации ПРИЗ-И (в модификациях ПРИЗ, ПРИЗ-О, ССЗН-И и других) отремонтировать в соответствии документом (
N 101 Приложения А).
9.35.3.2 Заменить установку автоматического пожаротушения УАПВ "Экспресс" с истекшим согласно документу (
N 88 Приложения А) сроком службы или если срок службы истекает ранее проведения следующего капитального ремонта.
9.35.4 Аппаратуру системы видеонаблюдения демонтировать с электропоезда, проверить, ремонтировать и испытать согласно Руководству по эксплуатации (
N 110,
170 Приложения А).
9.35.5 Аппаратуру радиооповещения (усилители, громкоговорители, микрофоны, пульты управления, преобразователи) демонтировать с вагона, разобрать, испытать. При необходимости ремонтировать. Заменить неисправные и поврежденные сопротивления, конденсаторы, диоды, триоды, трансформаторы согласно
разделу 11 Руководства.
9.35.6 Микропроцессорная система управления тяговым приводом
9.35.6.1 Диагностировать и настроить МСУТП документа (
N 175 Приложения А).
9.36 Термореле и термоконтакторы
9.36.1 Термореле и термоконтакторы снять, очистить и проверить. Неисправные детали отремонтировать, при необходимости заменить. После сборки отрегулировать согласно документации изготовителя. Допускается замена ртутных термоконтакторов на электронные.
9.37 Статические преобразователи
9.37.1 Ремонт статических преобразователей произвести на предприятии-изготовителе.
9.38 Межвагонные электрические соединения
9.38.1 Межвагонные низковольтные соединения типа РУ-101А и ШУ-101А, ПУС-101А; РШМУ-1, ВШМУ-1, ДШМУ-1 и отремонтировать в соответствии с документацией изготовителя и нормативной документацией ОАО "РЖД".
9.38.2 Ревизию и ремонт неснимаемых вилок и розеток произвести на вагоне.
В случае неремонтопригодности вилки (розетки) произвести ее демонтаж с необходимой разборкой электрооборудования в шкафу.
9.38.3 Заменить резиновые уплотнения по контуру вилок, розеток, холостых приемников.
9.38.4 Межвагонные высоковольтные электрические соединения РСБ-20-16Б и ШС-20-16Б; 1РШ.006 и 1ВШ.006, ПОС 1Л, 1ДШ.0006 отремонтировать в соответствии с документацией изготовителя и нормативной документацией ОАО "РЖД".
9.38.5 Межвагонные соединения типа "Harting" отремонтировать в соответствии с документацией изготовителя.
9.39 Блокировки безопасности
9.39.1 Произвести ревизию блокировок безопасности от попаданий под высокое напряжение в высоковольтных шкафах, подвагонных ящиках с электрической аппаратурой, лестнице для подъема на крышу, киловольтметра пульта машиниста. При необходимости блокировки заменить.
9.39.2 Произвести ревизию блокировок контроля открытия автоматических дверей, при неисправности блокировки заменить.
10 Ремонт трансформаторов
10.1.1 Снять трансформаторы с вагона, переместить в ремонтное отделение, очистить и продуть сухим сжатым воздухом.
10.1.2 Осмотреть крепление выводов, выводы, наружную изоляцию катушек, уголки и рейки, магнитопровод, стяжные шпильки магнитопровода на наличие выжигов, механических повреждений, повреждений покрытия. При наличии дефектов трансформатор разобрать, обнаруженные дефекты устранить.
Табличку с паспортными данными катушки и схемой ее подключения поврежденную или с поврежденной записью заменить новой.
10.1.3 Провести проверку электрических параметров трансформатора на соответствие требованиям
Приложения Е, подключив к первичной обмотке источник питания, значение напряжения которого соответствует паспортным данным. Контролировать напряжение на вторичных обмотках, ток холостого хода и управляемость.
Проверить электрическую прочность изоляции на соответствие требованиям, приведенным в
Приложении И.
Измерить сопротивление изоляции между обмотками и магнитопроводом. При обнаружении катушек с межвитковым замыканием трансформатор разобрать, катушки ремонтировать, при невозможности ремонта заменить.
10.2 Ремонт тягового трансформатора
Дефектацию, ремонт и проверку тяговых трансформаторов производить в соответствии с требованиями документов (
N 113,
160 Приложения А).
10.2.1 Общие положения
10.2.1.1 Для тяговых трансформаторов электропоездов переменного тока установлены следующие виды капитального ремонта:
- КР-1 - без разборки активной части;
- КР-2 - с разборкой активной части, со сменой изоляции и обмоток по состоянию.
10.2.1.2 При КР-1 трансформаторов выполнить следующие работы:
- предварительные испытания для определения состояния изоляции обмоток и магнитопровода;
- демонтаж расширителя, охладителя, маслопровода, насоса и выемку активной части;
- ремонт активной части, при необходимости, включающий перешихтовку верхнего ярма и замену изоляции, восстановление местных повреждений витковой изоляции наружных обмоток и изоляции шпилек;
- ремонт охладителя с восстановлением или заменой секций, кранов, насоса, воздухоосушителя, клапанов воздухоосушителя;
- ремонт или замену шинных отводов, демпферов, выводов сетевой и тяговой обмоток, обмоток отопления и собственных нужд;
- ремонт бака, расширителя, крышки, балок;
- нанесение защитных покрытий в соответствии с документацией предприятия-изготовителя;
- вакуумную сушку активной части и подтяжку крепления обмоток;
- замену всех уплотнений, изготовленных из резины, паронита и асбеста;
- регенерацию или замену трансформаторного масла;
- поверку измерительных приборов;
- послеремонтные испытания;
- окраску трансформатора.
10.2.1.3 При КР-2 трансформаторов выполнить работы по КР-1 и дополнительные работы:
- демонтаж бака;
- разборку активной части;
- замену обмоток при наличии межвитковых замыканий или выжига провода;
- замену или ремонт деталей ярмовой уравнительной изоляции, экранов, уголков, бумажно-бакелитовых цилиндров;
- сушку и пропитку обмоток;
- ремонт магнитопровода с восстановлением нарушенной изоляции и заменой листов магнитопровода;
- ремонт (замену) шпилек и их изоляции;
- замену трансформаторного масла.
10.2.1.4 Произвести усиление подвески трансформатора ОДЦЭР-1600/25 согласно проекту С892.
10.2.1.5 На электропоездах ЭР9Е произвести модернизацию трансформаторов ОДЦЭР-1600/25 в части установки воздухоосушителя согласно конструкторской документации производителя.
10.2.2 Бак, крышка бака и расширитель
10.2.2.1 Бак осмотреть, проверить сварные швы кронштейнов для транспортировки трансформаторов. Трещины (повреждения) в сварных соединениях заварить.
Перед выполнением сварочных работ стенки бака насухо протереть. Места, подлежащие заварке, очистить от краски.
Сварку произвести плотным швом, все сварные швы зачистить.
Сварные швы проверить на плотность. Течь устранить.
10.2.2.2 Вывернуть сливную пробку из дна бака и проверить резьбу в сливном отверстии и на пробке калибрами для контроля резьбы с полем допуска 7H и 8g. Уплотнение заменить.
10.2.2.3 Снять уплотняющие прокладки с рамы бака и фланцев патрубков демонтированных устройств и очистить поверхность от остатков старых прокладок.
10.2.2.4 Наружную поверхность бака, расширителя, крышки окрасить согласно конструкторской документации.
Перед окраской протереть поверхности чистой хлопчатобумажной ветошью, смоченной в бензине, а затем сухой.
10.2.2.5 Выправить стенки и фланцы дутьевых камер, пластины уплотнений при наличии деформаций в соответствии с чертежом или заменить.
10.2.2.6 Магнитные усиления со сломанными пластинами или выжигами более 10% по глубине и общей площадью до 10% общей поверхности элемента усиления отремонтировать в соответствии с чертежом.
10.2.2.7 Открыть смотровые фланцы расширителя, очистить расширитель от загрязнений и осадков масла и осмотреть. Очистить внутренние поверхности бака от ржавчины. При наличии на стенке бака трещин, раковин, стенку заменить. Промыть отремонтированный бак расширителя трансформаторным маслом.
10.2.2.8 Разобрать маслоуказатель, заменить прокладки, очистить стекло и атмосферную трубку.
10.2.2.9 Крышку бака трансформатора очистить от загрязнений и ржавчины, очистить места под выводы. Осмотреть крышку бака. Трещины в сварных швах заварить.
10.2.2.10 Проверить резьбу шпилек крепления выводов. Шпильки с поврежденной резьбой более 5% витков заменить.
Трещины в скобах шинного монтажа и кронштейнах установки разрядников заварить.
10.2.3 Система охлаждения
10.2.3.1 Разобрать маслопровод, очистить и осмотреть. Поврежденные детали ремонтировать, при невозможности ремонта заменить.
10.2.3.2 Ремонтировать краны, вентили. При невозможности устранения дефектов краны и вентили заменить.
10.2.3.3 Воздухоосушитель разобрать, удалить адсорбент, очистить и осмотреть. Поврежденные детали заменить. Адсорбент заменить.
10.2.3.4 Отремонтировать выхлопной и всасывающий клапаны с заменой неисправных деталей.
10.2.3.5 Проверить и ремонтировать электронасос согласно документации производителя. Проверить правильное направление вращения ротора электронасоса.
Проверить сопротивление изоляции обмоток статора электродвигателя относительно корпуса, которое должно быть не менее 0,5 МОм. При низком сопротивлении изоляции обмотки статора просушить. При невозможности восстановления величины сопротивления изоляции до требуемых параметров электронасос ремонтировать.
Проверить работоспособность электронасоса. Шум работающего электронасоса должен быть монотонным, без ударов, стуков и повышенной вибрации.
10.2.4 Контрольно-измерительные приборы
10.2.4.1 Проверить на стенде исправность контрольно-измерительных приборов: манометра, термометра, датчика реле температуры, индикатора уровня масла. При наличии неисправности или погрешности показаний большей, чем указано в паспорте, прибор заменить.
10.2.5 Активная часть
10.2.5.1 Вводы трансформатора
10.2.5.1.1 Осмотреть фарфоровые изоляторы и фланцы вводов высокого и низкого напряжения. При наличии трещин, сколов, следов перебросов электрической дуги изоляторы и фланцы заменить.
10.2.5.1.2 При наличии размягчения армировочной замазки между фланцем и фарфоровым изолятором разрушенный слой удалить, заполнить свежей замазкой и испытать. Если при проверке обнаружена течь по месту армирования ввода, провести армирование вторично.
10.2.5.1.3 Осмотреть шпильки крепления вводов на крышке бака, гайки, металлические стержни, колпачки. Поврежденную резьбу гаек, шпилек, стержней, колпачков восстановить. При невозможности восстановления детали с поврежденной резьбой заменить. При наличии более 5% поврежденных витков шпильки, гайки, металлические стержни, колпачки заменить.
10.2.5.1.4 Бумажно-бакелитовые трубки при наличии механических повреждений, ожогов и выжигов и при снижении электрической прочности заменить.
10.2.5.1.5 Вводы обмоток установить на торцовую стенку бака. Перед установкой внутреннюю поверхность фарфорового изолятора протереть салфеткой, смоченной в техническом спирте
ГОСТ Р 52574-2006 и промыть чистым трансформаторным маслом
ГОСТ 982-80. Пространство между изолятором и фланцем заполнить специальной замазкой в соответствии с конструкторской документацией.
Проверить на плотность армированные изоляторы.
Поверхность замазки покрыть маслостойким лаком
ГОСТ 8018-70.
1 - крышка бака; 2 - изолятор; 3 - металлический стержень;
4 - бумажно-бакелитовая трубка; 5 - пространство,
заполняемое маслом; 6 - колпачок; 7 - замазка;
8 - фланец; 9 - втулка; 10 - контактный зажим
I - сетевая обмотка 25 кВ,
II - тяговая обмотка,
III, IV - обмотки собственных нужд
Рисунок 10.1 - Вводы тяговых трансформаторов
10.2.5.2 КР-1 магнитопровода
10.2.5.2.1 Осмотреть доступную часть магнитопровода. При наличии на поверхности верхнего ярма цветов побежалости, следов разрушений и замыканий провести частичную разборку магнитопровода. Осмотреть пластины магнитопровода.
Допускается использование поврежденных пластин, если глубина выжига не превышает 0,1 ширины пластины и общее снижение площади сечения активной стали составляет не более 2% площади сечения ярма. Поврежденные пластины при шихтовке ярма укладывать между двумя неповрежденными.
10.2.5.2.2 Деформированные пластины магнитопровода выпрямить, зачистить заусенцы на кромках, протереть ветошью, смоченной в бензине.
Пластины с поврежденной лаковой изоляцией, очистить от старой изоляции и покрыть одним слоем лака КФ-965
ГОСТ 15030-78 в соответствии с документацией изготовителя. Толщина лакового слоя должна быть от 0,015 до 0,020 мм.
10.2.5.2.3 Проверить сопротивление изоляции стяжных шпилек верхнего и нижнего ярма. При сопротивлении изоляции стяжной шпильки менее 5 МОм извлечь ее из отверстия вместе с бумажно-бакелитовой трубкой и осмотреть. Заменить бумажно-бакелитовые трубки при наличии повреждения или признаков перегрева.
10.2.5.2.4 У снятых с ярма прокладок, изолирующих консоли от магнитопровода, при необходимости, заменить электрокартонные рейки. Новые рейки изготовить из пропитанного электрокартона и приклеить к прокладкам бакелитовым лаком
ГОСТ 901-78 с последующей опрессовкой.
Прокладки под прессующие планки ярма с повреждениями или пониженным сопротивлением изоляции заменить.
10.2.5.2.5 Проверить сопротивление изоляции консолей, прессующих планок и стяжных шпилек по отношению к активной стали магнитопровода. Величина сопротивления изоляции должна быть не менее 5 МОм. При пониженном сопротивлении изоляции заменить прокладки под прессующие планки ярма.
10.2.5.3 КР-2 магнитопровода
10.2.5.3.1 Разобрать активную часть с расшихтовкой магнитопровода при необходимости восстановления изоляции пластин активной стали, при наличии значительного выгорания пластин, вызвавшего уменьшение площади сечения магнитопровода более чем на 2%, или других повреждениях, устранение которых невозможно без перешихтовки.
10.2.5.3.2 Консоли верхнего и нижнего ярма, прессующие планки и плиты очистить, проверить, восстановить резьбовые отверстия, окрасить маслостойкой эмалью и высушить.
10.2.5.3.3 Деревянные бруски, поврежденные коробки и бумажно-бакелитовые трубки заменить. Снять с прокладок, изолирующих консоли от магнитопровода, поврежденные рейки и установить новые на электрокартонных заклепках или приклеить бакелитовым лаком с последующей опрессовкой.
10.2.5.3.4 Пластины магнитопровода с разрушенной изоляцией очистить от старого лака. Очищенные и подготовленные к изолировке пластины покрыть лаком КФ-965
ГОСТ 15030-78 и высушить. У пластин должна быть гладкая поверхность без следов подтекания лака. Толщину лаковой пленки проверить измерением толщины пакета из 50-ти пластин до и после покрытия лаком.
10.2.5.3.5 Новые пластины для комплектации пакета магнитопровода изготовить из электротехнической стали.
10.2.5.3.6 Собрать магнитопровод. Опрессовку стержней проводить равномерным завинчиванием гаек на стяжных шпильках от середины стержня в обе стороны.
Собранный магнитопровод должен соответствовать следующим требованиям:
- отклонение толщины по основному пакету должно быть не более 3 мм;
- отклонение толщины по остальным (смежным) пакетам должно быть не более 1 мм;
- общая толщина магнитопровода после стяжки стержней не должна превышать номинальный размер более чем на 3 мм;
- зазор в стыках должен быть не более 1 мм.
10.2.5.3.7 Проверить сопротивление изоляции стяжных шпилек относительно магнитопровода, которое должно быть не менее 5 МОм.
10.2.5.3.8 Отсоединить заземление и проверить сопротивление изоляции консолей по отношению к магнитопроводу. Сопротивление изоляции должно быть не менее 5 МОм. Проверить заземление на отсутствие обрывов и трещин. Монтировать заземление в соответствии с требованиями конструкторской документации.
10.2.5.3.9 Проверить электрическое сопротивление отдельных пакетов. Сопротивление симметричных пакетов должно быть равно общему сопротивлению, замеренному по всей толщине магнитопровода.
10.2.5.3.10 Испытать электрическую прочность изоляции стяжных шпилек и консолей переменным напряжением 1000 В частоты 50 Гц в течение 1 минуты.
10.2.5.3.11 Покрыть торцы магнитопроводов грунтовкой ГФ-019
ГОСТ 23343-78 и высушить на воздухе. Верхнюю сторону верхнего ярма не покрывать.
10.2.5.4 КР-1 обмоток трансформатора
10.2.5.4.1 Стянуть обмотки трансформатора после вскрытия бака и расшихтовки магнитопровода хомутами.
Сетевую обмотку вместе с обмотками тяговой и собственных нужд установить на стенд, разобрать главную изоляцию и осмотреть все катушки.
Проверить наличие деформации, смещение и целостность витков изоляции.
10.2.5.4.2 Промыть обмотку струей горячего трансформаторного масла, очистить поверхности в доступных местах. Устранить ослабление опрессовки равномерной подтяжкой нажимных шпилек. Если осевой размер наружной обмотки меньше, чем у внутренних обмоток, допускается разгон наружной обмотки установкой дополнительных изоляционных дистанционных прокладок для выравнивания размеров.
Запрещается устанавливать прокладки под плоскости катушек. Дистанционные прокладки установить без боковых смещений, и они не должны перемещаться от усилия руки.
10.2.5.4.3 Оголенные места на наружных витках катушек регулировочной обмотки изолировать кабельной бумагой.
При повреждении изоляции в удаленной части радиального размера катушки между витками намотать полоску из электрокартона толщиной от 0,3 до 0,5 мм. В месте восстановления изоляции витка поверх всей катушки наложить общий бандаж из тафтяной ленты
ГОСТ 4514-78.
10.2.5.4.4 Смещение витков дисковой катушки устранить, поврежденную изоляцию восстановить. Провод выправлять, применяя деревянные бойки.
10.2.5.5 КР-2 обмоток трансформатора
10.2.5.5.1 Отводы отпаять от шин, снять катушки с магнитопровода и осмотреть.
10.2.5.5.2 Катушки обмоток заменить при наличии выжига меди или дефектов витковой изоляции.
Отводы заменить при наличии прожогов.
Отремонтированные катушки пропитать в электроизоляционном лаке и просушить в соответствии с документацией изготовителя.
10.2.5.6 Ремонт главной и продольной изоляции
10.2.5.6.1 Заменить ярмовую и уравнительную изоляцию, электрокартонные шайбы прессующих колец, опорные кольца обмоток, экраны, уголки, накладки, замковые скобы и другие изолирующие детали активной части.
10.2.6 Тяговый трансформатор ОДЦЭ-2000/25Б
При капитальном ремонте тяговых трансформаторов ОДЦЭ-2000/25Б выполнить работы по ремонту тяговых трансформаторов и дополнительные работы.
10.2.6.1 Проверить прессовку обмоток. При необходимости прессовать усилием не менее 3 тонны.
10.2.6.2 Проверить демпферы вводов. При наличии трещин демпферы ремонтировать, при невозможности ремонта заменить.
10.2.6.3 Через 24 часа после заливки взять пробу масла и проверить. Электрическая прочность масла согласно
ГОСТ 982-80 должна быть не менее 35 кВ.
10.2.6.4 Измерить мегомметром 2500 В сопротивление изоляции всех обмоток по отношению к корпусу и между собой. Сопротивление изоляции при температуре 15 °C может быть меньше указанного в паспорте не более чем на 30%. Но не ниже величин, приведенных в таблице 10.1.
Таблица 10.1
Температура обмотки, °C | 10 | 20 | 30 | 40 | 50 | 60 | 70 |
Сопротивление изоляции, МОм | 450 | 300 | 200 | 130 | 90 | 60 | 40 |
10.2.7 Заземлитель трансформатора ГРЭ-2А-6.1 У2
10.2.7.1 Заземлитель разобрать. Очистить изоляционную панель, изоляторы, поворотные ножи, контактные стойки, контактные узлы, детали механизма поворота от пыли и грязи. Головку и подшипник механизма поворота очистить от смазки.
Перечень возможных неисправностей приведен в таблице 10.2.
Таблица 10.2
Перечень возможных неисправностей | Причина | Действия при их возникновении |
1 Ножи не входят в щеки стоек | Смещены плоскости щек стоек и ножей | Расположить плоскости щек в одной плоскости |
Маленький зазор между губками | Подогнуть щеки, обеспечив зазор между щеками стоек 2,5 - 2,8 мм |
2 Ножи не фиксируются в крайних положениях | Большой зазор между щеками стоек | Подогнуть щеки, обеспечив зазор между щеками стоек 2,5 - 2,8 мм |
10.2.7.2 Проверить изоляционную панель, изоляторы, поворотные ножи, контактные стойки, контактные узлы, детали поворотного механизма на отсутствие механических повреждений, коррозии, повреждений лакокрасочных и гальванических покрытий. Поверхности ножей, щек контактных стоек и контактных узлов при наличии коррозии зачистить шлифовальной шкуркой и покрыть эмалью ГФ-92ХС
ГОСТ 9151-75. Изоляторы при наличии трещин отколов заменить.
10.2.7.3 Измерить зазор между щеками контактных стоек. Если зазор больше 3,2 мм, отрегулировать зазор до размера 2,5 - 2,8 мм.
10.2.7.4 Выправить щеки контактных стоек и ножи при наличии деформации, отшлифовать и восстановить покрытие согласно конструкторской документации.
10.2.7.5 Проверить детали поворотного механизма: головку, фланец, поводок, колодку на наличие механических повреждений. При наличии трещин, отколов детали поворотного механизма заменить.
10.2.7.6 Собрать заземлитель. На трущиеся поверхности головки нанести тонкий слой смазки ЦИАТИМ-221
ГОСТ 9433-80.
10.2.7.7 Выполнить контрольное включение заземлителя поворотом рукоятки, без нагрузки в главной цепи. При этом нож должен замкнуть контакты. Проверку замыкания произвести визуально.
10.3 Ремонт масляного трансформатора 1ТР.071
Вид и элементы трансформатора приведены на рисунке 10.1, принципиальная электрическая схема трансформатора приведена на
рисунке 10.2.
1 - пробка маслосливного отверстия; 2 - пробка наливного
патрубка; 3 - крышка; 4 - ручка; 5 - коробка; 6 - втулка
для входа жгута проводов; 7 - шпилька стягивающая
магнитопровод; 8 - пробка с отверстиями для выхода
воздуха; 9 - кронштейн; 10 - бак;
11 - магнитопровод; 12 - катушка
Рисунок 10.1 Трансформатор 1ТР.071
10.3.1 Снять трансформатор с вагона.
10.3.2 Проверить состояния изоляции обмоток и магнитопровода. Проверку производить на стенде с измерением входного напряжения и тока, и напряжений на вторичных обмотках.
Перечень основных неисправностей, причины их появления и способы устранения приведены в
таблице 10.3.

- первичная обмотка;

- катушки вторичной обмотки
Рисунок 10.2 Принципиальная схема трансформатора 1ТР.007
10.3.3 Слить масло. Очистить масло от примесей.
10.3.4 Отвернуть болтовые соединения по периметру крышки и снять крышку с закрепленным на ней трансформатором. Снять трансформатор с крышки и разобрать активную часть.
10.3.5 Заменить катушки с межвитковыми замыканиями.
10.3.6 Очистить и осмотреть пластины магнитопровода. Пластины с выжигами заменить. Новые пластины изготовить из стали марки 10895(Э)
ГОСТ 3836-83.
10.3.7 Очистить бак от грязи, ржавчины, трансформаторного масла салфеткой, смоченной в бензине для промышленно-технических целей
ГОСТ 8505-80, и высушить. Осмотреть бак. Трещины в сварных швах заварить.
| | ИС МЕГАНОРМ: примечание. Нумерация пунктов дана в соответствии с официальным текстом документа. | |
10.3.9 Окрасить наружную и внутреннюю поверхность бака в соответствии с документацией изготовителя.
10.3.10 Заменить маслостойкие резиновые уплотнения бака 10, пробки 2 и войлочное уплотнение пробки 8
рисунок 10.1 новыми.
10.3.11 Собрать трансформатор и проверить на маслоплотность. Для этого на сварные швы нанести мыльный раствор, снять пробку 8 и подать в бак сжатый воздух давлением 0,05 - 0,07 МПа. Выдержать давление не менее 1 минуты. Конструкция считается герметичной, если в местах нанесения мыльного раствора отсутствуют мыльные пузыри.
Неисправность | Причина | Способ устранения |
1 Ток холостого хода при напряжении на первичной обмотке 220 В более 4 А | 1 Межвитковое замыкание | Определить неисправную катушку и заменить |
2 Соединение обмоток отличается от соединений на принципиальной схеме трансформатора | |
2 Значение напряжения на вторичных обмотках при напряжении на первичной обмотке 220 В - клеммы 61-62ЛА не соответствует требуемым значениям. На вторичных обмотках (рисунок 10.2) должны быть значения напряжения на клеммах: | 1 Межвитковое замыкание | Определить неисправную катушку и заменить |
2 Соединение обмоток отличается от соединений на принципиальной схеме трансформатора | |
3 Обрыв в цепи обмоток | Проверить соединение обмоток и устранить неисправность |
3 Сопротивление изоляции менее 1 МОм | 1 Характеристики трансформаторного масла не соответствуют требуемому стандарту | Заменить масло |
2 Повышенная влажность изоляции | Сушить активную часть трансформатора |
4 Сопротивление изоляции равно нулю | 1 Замыкание выводов на крышке | Проверить соединение обмоток и устранить неисправность |
2 Пробой изоляции катушки | Заменить катушку |
5 Нарушена герметичность бака | Трещины в сварных швах | Заварить |
10.3.12 Залить в бак очищенное трансформаторное масло Т-750
ГОСТ 982-80.
10.3.13 Проверить сопротивление изоляции между первичной и вторичными обмотками, а также между обмотками и магнитопроводом омметром на 1000 В. Сопротивление изоляции должно быть не менее 1 МОм.
10.4 Выпрямительно-инверторный преобразователь ВИП-1000-У1
10.4.1 Преобразователь ремонтировать в соответствии с документом (
пункт 169 Приложения А).
10.4.2 При КР-1 демонтировать преобразователь с вагона, разобрать, промыть и прочистить узлы и детали. Проверить блоки, панели, узлы и детали, поврежденные и неисправные ремонтировать, при невозможности ремонта заменить. Восстановить поврежденное покрытие токоведущих шин гальваническим способом оловом толщиной 9 микрон и лакокрасочное покрытие каркаса и других частей, имеющих нарушение окраски, покрытием черной эмалью МС-17 ТУ 6-10-1012-78.
10.4.3 После сборки преобразователь проверить по программе и методике приемо-сдаточных испытаний ИЕАЛ.435411.046 ТУ и установить на электропоезд.
10.4.4 При КР-2 заменить преобразователь с истекшим сроком службы (28 лет). Через 14 лет с учетом срока хранения необходимо произвести капитальный ремонт преобразователя, включающего замену тиристоров, монтажных проводов и комплектующих изделий, очистку моноплит-охладителей, восстановление лакокрасочного и гальванического покрытия.
11 Ремонт электронного оборудования
11.1 К электронному оборудованию электропоездов относятся узлы и блоки, в которых применяются полупроводниковые электронные элементы (диоды, стабилитроны, транзисторы, тиристоры, микросхемы и др.).
11.2 При капитальных ремонтах необходимо обнаружить, устранить и зарегистрировать все неисправности, выявить все недопустимые отклонения параметров и характеристик электронного оборудования.
11.3 Ремонт электронного оборудования включает следующие работы:
- внешний осмотр;
- внутренний осмотр с проверкой электрического монтажа;
- измерение параметров электронных блоков;
- поиск и замену неисправных элементов;
- регулировку блоков для приведения выходных параметров в соответствие с требованиями конструкторской документации на испытательном стенде;
- окончательную проверку и настройку электронного оборудования производить при испытаниях на электропоезде.
11.4 В процессе капитального ремонта электронного оборудования допускается заменять элементы на другие типы, если обеспечивается их функциональная взаимозаменяемость и если их электрические, механические, температурные, временные, помехозащитные и другие характеристики не хуже, чем у снятых.
Допускается замена электронных одноименных (однотипных) элементов на элементы более высокого класса (качества).
11.5 В процессе ремонта, сборки и монтажа электронного оборудования следует последовательно контролировать качество каждого узла, блока, обеспечивая дефектацию всего оборудования.
11.6 Проверку, ремонт и замену проводов и кабелей, штепсельных соединений, внешнего монтажа производить согласно
пунктам 9.1.6 -
9.1.14 данного Руководства.
Внутренний проводной и печатный монтаж проверить при наличии признаков повреждения и неисправности.
11.7 Проверку, ремонт и настройку электронного оборудования электропоездов производить согласно документации изготовителя.
11.8 Работоспособность блока управления контактором защиты БУКЗ-МК.01 проверить согласно требованиям документа "Блок управления контактором защиты (БУКЗ-МК.01). Руководство по эксплуатации" ТЮКН.426471.020-01РЭ. Неисправный блок заменить.
11.9 Электронные блоки продуть очищенным сухим сжатым воздухом давлением от 0,04 до 0,05 МПа.
Кожухи и каркасы блоков очистить от загрязнений.
Очистку от загрязнений плат с электронными элементами (в том числе и плат с печатным монтажом) производить в соответствии с документацией изготовителя. Использование для этой цели стиральных порошков, мыла или других щелочных материалов не допускается.
11.10 Изоляционные панели с изломами, трещинами, следами перекрытий и обгаров заменить.
11.11 Ослабленные бандажи и хомуты заменить.
11.12 Изоляционные детали (рейки, держатели, изоляторы) при наличии трещин, подгаров, сколов заменить.
11.13 Восстановить поврежденное защитное покрытие деталей.
11.14 После очистки, сушки проверить состояние лакированных поверхностей панелей и плат.
Все неповрежденные лакированные поверхности покрыть одним слоем изоляционного лака. Поврежденные места лакового покрытия, места перепайки покрыть двумя слоями изоляционного лака.
11.15 При ремонте электронных блоков проверить все паяные соединения легким подергиванием проводов и подводящих выводов пинцетом.
11.16 Гнезда всех разъемов очистить и протереть. Разъемы со следами окисления, с кратерами и эрозией заменить.
11.17 Платы при наличии видимых окислений, в том числе под слоем лака (позеленение, потемневший сплав Розе, оловянистая "чума") заменить.
11.18 Модули с деформированными, треснувшими корпусами, окисленными выводными ножками заменить.
11.19 Полупроводниковые элементы при наличии деформирования корпуса, коробления краски, почернения выпаять и заменить новыми.
11.20 Потемневшие резисторы или резисторы, у которых пожелтела, потрескалась или обуглилась изоляция на выводах или на проводе, заменить.
11.21 Проверку функционирования электронных блоков производить на специальных испытательных стендах, подавая сигналы воздействия на входы блока и одновременно контролируя выходные сигналы блока.
Проверку блоков производить на вибростоле.
11.22 В электрических цепях, в которых обнаружены отклонения выходных параметров и характеристик, произвести проверку исправности электронных элементов. Неисправные элементы заменить.
Для проверки исправности полупроводниковых элементов (транзисторов, тиристоров, диодов, стабилитронов), а также резисторов и конденсаторов, их следует выпаять из схемы.
Проверку параметров полупроводниковых элементов проводить стандартными диагностическими приборами или на специальных испытательных стендах.
11.23 Значения проверяемых сопротивлений резисторов и емкостей конденсаторов должны быть в пределах величин, установленных конструкторской документацией.
11.24 Стабилитроны аппаратуры управления проверить на стенде по двум точкам стабилизации. Неисправные стабилитроны заменить.
11.25 При выполнении ремонта и наладки электронных блоков с печатными платами необходимо соблюдать следующие требования:
- вся поверхность печатных плат, как со стороны монтажа, так и со стороны деталей, должна быть покрыта электроизоляционным лаком;
- перед отпайкой элемента с печатной платы осторожно удалить лак с места пайки. При распаивании применять паяльник мощностью не свыше 50 Вт с обязательным теплоотводом между местом пайки и элементом. Во избежание отслаивания печатных проводников и перегрева элемента, продолжительность соприкосновения паяльника с местом пайки не должна превышать 3 секунд;
- дефекты печатного монтажа устранить наложением на поврежденное место медного проводника без изоляции с последующей пайкой припоем ПОС 61
ГОСТ 21931-76 или продублировать поврежденную цепь изолированным медным проводом;
- в местах ненадежного соединения выводов элементов с печатным монтажом произвести перепайку в соответствии с требованиями чертежей;
- новые элементы, устанавливаемые вместо негодных, паять припоем ПОС 61
ГОСТ 21931-76, применяя канифольно-спиртовые флюсы. Расстояние от места пайки вывода до корпуса детали должно быть не менее 10 мм. Применение кислоты при пайке не допускается;
- для отпайки модулей и микросхем применять паяльники со специальными насадками и отсосом припоя;
- пайка элементов на печатных платах должна производиться так, чтобы припой выступал мениском с обеих сторон металлизированных отверстий. При отсутствии мениска с любой стороны произвести перепайку;
- место новой пайки и зачищенный от лака печатный проводник вновь покрыть двойным слоем лака согласно
пункту 11.15 данного Руководства.
При покрытии лаком контролировать, чтобы лак не попадал на подвижные контакты регулируемых резисторов (ставить защитные колпачки). Сами резисторы допускается покрывать лаком только по концам. Рабочая область резисторов должна оставаться без изоляции для улучшения теплообмена.
11.26 Выводы всех электронных элементов, резисторов, конденсаторов и проводов непосредственно перед монтажом облудить в соответствии с требованиями конструкторской документации.
11.27 Все экраны проводов, экранизирующие обмотки трансформаторов, экраны и кожуха приборов, блоков и аппаратов заземлять в соответствии с чертежом.
11.28 После монтажа или замены элементов и узлов проверить правильность выполнения внешних, внутренних и контрольных присоединений, а также проверить отсутствие коротких замыканий и обрыва электрических цепей.
11.29 Проверить изоляцию.
Сопротивление и электрическую прочность изоляции отдельных блоков и узлов, входящих в состав электронного оборудования (трансформаторы, реле и др.), проверить согласно требованиям чертежей изготовителя.
11.30 При выполнении ремонта запрещается, во избежание повреждений микросхем и других электронных элементов, прикасаться к ним руками или инструментами без предварительного снятия с них электростатических зарядов.
Для исключения влияния статического электричества на микросхемы принять меры в соответствии с требованиями, указанные в
Приложении Л.
11.31 Подготовка к монтажу микросхем.
11.31.1 Проверить чистоту выводов. При потемнении (окислении) выводов или обнаружении на них лака, краски, их необходимо очистить механическим способом.
Расстояние от корпуса микросхемы до места зачистки должно составлять не менее 1 мм.
11.31.2 Радиусы изгиба выводов при их формовке и минимальные расстояния от места изгиба до корпуса должны соответствовать техническим условиям на данный тип микросхемы.
11.31.3 Для формовки и подрезки выводов применять шаблоны.
11.32 После окончания проверки электронное оборудование закрыть крышками и опломбировать согласно требованиям чертежей.
11.33 После окончания капитального ремонта заполнить эксплуатационную техническую документацию на электропоезд с указанием типа и номеров установленных блоков и узлов, а также типов и параметров установленных полупроводниковых приборов (в журнале комплектации).
12 Ремонт пневматического оборудования
12.1.1 Демонтировать все тормозное оборудование, включая змеевик компрессора.
12.1.2 Ремонт и испытания деталей, узлов и приборов тормозного пневматического оборудования производить в соответствии с документом (
N 109 Приложения А).
12.1.3 При монтаже трубопровода соблюдать следующие требования:
- отклонение труб от прямолинейности в вертикальной плоскости должно быть не более 10 мм на всю длину трубы (цельной или составной);
- отклонение труб от прямолинейности в горизонтальной плоскости или отклонение от параллельности труб продольной оси вагона электропоезда должно быть не более 40 мм на всю длину прямой трубы (цельной или составной);
- трубы должны быть надежно закреплены. Они не должны вибрировать и касаться друг друга, задевать о детали кузова или тележки во время движения электропоезда.
12.1.4 Трубы закрепить в соответствии с чертежами. При проходе труб через пол отверстия уплотнить специальными шайбами с войлочными прокладками.
12.1.5 Змеевик и трубы от главного компрессора до главного резервуара подлежат обязательной выварке в щелочном растворе с последующей очисткой и промывкой горячей водой.
12.1.6 Гидравлические испытания змеевика проводить при давлении 1,4 МПа в течение 5 минут. Змеевик считается исправным, если не обнаружено течи.
12.1.7 При соединении трубопровода с токоприемником рукав не должен касаться рамы токоприемника и крыши. Расстояние от рукава до заземленных частей должно быть не менее 75 мм.
12.1.8 Плотность напорной и тормозной магистралей проверить согласно требованиям документа (
N 109 Приложения А).
12.2.1 Воздухопроводы проверить в соответствии с требованиями документа (
N 109 Приложения А).
12.2.2 Воздухопроводы продуть сжатым воздухом давлением от 0,6 до 0,8 МПа в течение 1 минуты.
12.2.3 Соединения труб, выполненные накидными гайками или муфтами, перебрать.
12.2.4 Трубы при наличии вмятин менее 5,0 мм и изношенных мест менее 0,5 мм, отремонтировать. При наличии трещин, вмятин более 5,0 мм и изношенных мест более 0,5 мм трубы заменить.
12.2.5 Неповрежденные трубы, бывшие в эксплуатации, или новые при установке на вагон должны удовлетворять требованиям нормативных документов. Концы труб должны быть ровно обрезаны со стандартной трубной цилиндрической резьбой и зенковкой внутренних краев. Резьба должна быть чистой, без заусенцев.
12.2.6 В пределах требуемой длины нарезки допускаются нитки с неполной резьбой, если в сумме они составляют не более 10% требуемой длины. Резьба с неполным профилем, получающимся из-за овальности трубы, допускается, если уменьшение высоты профиля резьбы не превышает 15%.
12.2.7 Пылеулавливающие сетки, пылеуловители и фильтры на трубах к электропневматическим аппаратам продуть сухим сжатым воздухом, фильтры разобрать, леску в них заменить новой промасленной.
12.3 Воздушные резервуары
12.3.1 Срок службы воздушных резервуаров устанавливается в соответствии с
ГОСТ Р 52400-2005. Воздушные резервуары, бывшие в эксплуатации более 20 лет, заменить новыми. Выбраковку воздушных резервуаров проводить в соответствии с документами (
N 109,
93 Приложения А).
12.3.2 Провести гидравлические испытания и ремонт всех воздушных резервуаров в соответствии с документами (
N 109,
93 Приложения А).
12.3.3 Перед гидравлическими испытаниями воздушные резервуары выварить в щелочном растворе, промыть горячей водой или пропарить.
12.3.4 После ремонта и проверки резервуары окрасить.
12.3.5
Книгу формы 1 (ТКУ-6) главных резервуаров,
карточки формы 2 (ТКУ-7) на запасные и другие резервуары хранить в паспорте электропоезда.
12.3.6 Контроль по учету и отчетности по надзору за резервуарами на ремонтном предприятии возлагается на начальника ОТК.
12.4.1 Фильтр главного компрессора разобрать, очистить от пыли и грязи, окрасить внутри и снаружи, порванную сетку заменить. Набивку заменить промасленной капроновой нитью. При установке фильтра не допускается уменьшение сечения (смятие) гофрированного рукава.
12.4.2 Всасывающий фильтр-глушитель компрессора ЭК7В очистить снаружи и разобрать. Продуть войлочный фильтрующий элемент сухим сжатым воздухом давлением от 0,1 до 0,2 МПа. Промыть кассету с капроновой набивкой уайт-спиритом или растворителем по
ГОСТ 3134-78, продуть сухим сжатым воздухом давлением от 0,1 до 0,2 МПа. Пропитать капроновую набивку компрессорным маслом. Протереть внутреннюю полость корпуса, резьбы деталей ветошью, продуть, забитую резьбу прорезать. При КР-1 заменить капроновую набивку по состоянию, при КР-2 заменить капроновую набивку новой. При КР-2 заменить войлочный элемент новым.
12.4.3 Фильтр тонкой очистки А167.000 очистить снаружи и разобрать. Уплотнительные прокладки заменить новыми. Забитую резьбу прорезать и проверить калибрами. Фильтрующий элемент очистить, продуть и осмотреть; при необходимости заменить новым. Фильтр-глушитель собрать, перед сборкой прокладки и резьбу смазать согласно требованиям конструкторской документации. Испытать фильтр на герметичность пневматическим давлением 0,8 МПа методами обмыливания или погружения в ванну. Образование мыльных пузырей при обмыливании в местах сопряжения крышки и основания с корпусом или пузырей в ванне, наполненной водой, в течение 1 минуты не допускается.
12.5.1 Маслоотделитель разобрать, очистить от грязи и масла, промыть. Проверить корпус на отсутствие трещин и раковин, заварить при необходимости, и окрасить внутренние поверхности маслостойкой краской.
12.5.2 Заменить в маслоотделителе стальную стружку иной формы на витую или на латунные трубки диаметром 10 мм и длиной от 10 до 12 мм.
12.5.3 Маслоотделитель испытать согласно требованиям документа (
N 109 Приложения А).
12.6.1 Влагосборник разобрать и очистить от грязи. Проверить корпус на отсутствие трещин и раковин, заварить при необходимости, и окрасить внутренние поверхности маслостойкой краской.
12.6.2 Кран влагосборника снять, испытать на герметичность, негодный заменить.
12.6.3 Электрообогрев влагосборника проверить на целостность и на отсутствие замыкания на корпус нагревательного элемента, негодный заменить.
12.7.1 Клапаны предохранительные, обратный, выпускной, переключательный и тифона разобрать, промыть в керосине и проверить. При наличии на притирочных поверхностях рисок, забоин и износа клапаны притереть до образования матовой непрерывной полосы шириной от 1 до 2 мм. Просевшие пружины и резиновые уплотнения заменить.
12.7.2 Отремонтированные клапаны проверить на герметичность. Клапан в закрытом положении не должен пропускать воздух. Допускается образование мыльного пузыря в течение 10 секунд. Отрегулировать предохранительный клапан на срыв при давлении воздуха (0,9 +/- 0,2) МПа.
12.7.3 Отремонтированные клапаны должны соответствовать требованиям документа (
N 109 Приложения А).
12.7.4 Клапан прислонно-раздвижных дверей снять и проверить в соответствии с документацией изготовителя. Неисправный клапан заменить.
12.8.1 Краны концевые, разобщительные, трехходовые, водоспускные, комбинированные, двойной тяги, стоп-краны должны соответствовать требованиям документа (
N 109 Приложения А).
Главный и вспомогательный компрессоры отремонтировать и испытать по документации изготовителя.
12.9.1 Винтовые компрессорные установки отремонтировать в соответствии с документом (
N 187 Приложения А).
12.9.2 Агрегат компрессорный винтовой АКВ-0,65 ремонтировать в соответствии с документом (
N 161 Приложения А).
Параметры агрегата после ремонта должны соответствовать техническим характеристикам, приведенным в таблице 12.1.
Таблица 12.1
Технические характеристики агрегата АКВ-0,65
Наименование показателя | Единица измерения | Значение показателя |
Начальное давление | МПа | 0,1 |
Максимальное давление нагнетания конечное, избыточное | МПа | 1,0 +/- 0,05 |
Объемная производительность, приведенная к начальным условиям | м3/мин | 0,65 +/- 7% |
Число оборотов вала винтового блока | мин-1 | 2895 |
Потребляемая мощность агрегата, не более | кВт | 6,0 |
Потребляемая мощность для подогрева масла, не более | кВт | 1,0 |
| - | IP54 |
Температура воздуха на выходе, не более | °C | 90 |
Потребление воздуха на охлаждение, не более | м3/ч | 2000 |
Удельный расход масла, не более | мг/м3 | 5 |
Количество переносимого тепла (вторичная энергия) | ккал/ч | 4500 |
Уровень звукового давления в зоне на расстоянии 1 м от агрегата, не более | дБА | 78 |
Агрегат заправить, не смешивая, одной из марок синтетических масел, приведенных в таблице 12.2, полный объем масла для агрегата составляет 6 литров.
Таблица 12.2
Марки масла для агрегата АКВ-0,65
Фирма-изготовитель масла | Наименование и марка компрессорного масла |
MOBIL | RARUS SHC 1025 |
SHELL | CORENA PAO Oils 46; CORENA PAO Fluids 46 |
ESSO | KOMPRESSOR OIL RS 46 |
CASTROL | AIRCOL SR 46 |
12.9.3 Компрессор ВКУ 1/10МД.0000.000
12.9.3.1 Снять компрессор, разобрать, очистить. Проверить состояние деталей. Неисправные детали заменить новыми.
12.9.3.2 Капитальный ремонт возможно проводить на предприятии - производителе компрессора.
12.9.3.3 После ремонта компрессор должен соответствовать требованиям конструкторской документации ВКУ 1/10МД.0000.000 и ВКУ 1/110МЭ.ОООО.ТУ.
12.9.4 Компрессор поршневой модели ВВ 0,05/7-1000
12.9.4.1 Снять компрессор, разобрать, очистить детали. Проверить корпус и блок цилиндров на наличие трещин и дефектов. Трещины в корпусе длиной менее 30 мм заварить.
12.9.4.2 При наличии трещин, задиров, выработки рабочей поверхности более допустимых блок цилиндров заменить. Допускается шлифовать рабочую поверхность блок цилиндров в пределах допуска на размер.
12.9.4.3 Внутреннюю поверхность корпуса до сборки окрасить маслостойкой эмалью или покрыть лаком и просушить.
12.9.4.4 Проверить шарикоподшипник, при наличии дефектов ремонтировать, при невозможности ремонта заменить.
12.9.4.5 Клапанную коробку с трещинами заменить. Заварка трещин не допускается. Прокладку между цилиндром и клапанной коробкой заменить новой.
12.9.4.6 Проверить поршни. При наличии трещин, задиров, несоответствии геометрических размеров требованиям конструкторской документации, поршень заменить новым. При выработке отверстий под поршневой палец допускается расточка их до ремонтных размеров.
12.9.4.7 Поршневые кольца заменить новыми, выдержав установленный зазор по ширине между кольцом и стенками ручья поршня. Поршневые кольца должны соответствовать диаметру цилиндра и обеспечивать установленные зазоры в замках. Радиальный зазор между поршневым кольцом и цилиндром допускается не более чем в двух местах на дуге не более 30° в каждом месте, и не ближе 30° от замка.
12.9.4.8 Шатуны, шатунные болты проверить дефектоскопом, при наличии трещин детали заменить. Заварка трещин не допускается. Искривленные шатуны заменить. Шатунные болты с изношенной и сорванной резьбой заменить. Головки шатунов перезалить баббитом, обработать по диаметру и ширине и пришабрить по коленчатому валу.
12.9.4.9 Поршневой палец при наличии трещин и втулку поршневого пальца при наличии износа заменить. Допускается восстанавливать поршневые пальцы хромированием.
12.9.4.10 Проверить шейки коленчатого вала дефектоскопом, при наличии трещин вал заменить. Заварка трещин коленчатого вала не допускается. В случае, если отклонение профиля продольного сечения и отклонение круглости превышает допустимые значения, шейку коленчатого вала прошлифовать. При выработке шпоночной канавки фрезеровать ее на больший размер и изготовить специальную шпонку.
12.9.4.11 Зазоры между шейками коленчатого вала и подшипниками головок шатунов отрегулировать прокладками. Зазор должен обеспечивать свободное вращение шатуна под действием собственного веса, без стука и ударов.
12.9.4.12 Проверить зазор в замке поршневых колец. Пространство между днищем поршня и клапанами выдержать в соответствии с требованиями конструкторской документации. Плотно завернуть пробку в отверстие для слива масла, залить в корпус компрессорное масло до верхнего уровня.
Произвести полную разборку электродвигателя с дефектацией всех узлов и деталей в соответствии с требованиями конструкторской документации. Неисправные детали отремонтировать, при невозможности ремонта заменить. После ремонта проверить работоспособность электродвигателя.
После сборки обкатать компрессор на холостом ходу в течение 30 минут для проверки нагрева и подгонки всех деталей. При испытании не должно быть чрезмерного нагрева компрессора, ударов, заеданий и шумов. При наличии неисправностей устранить.
12.9.4.13 Проверить работоспособность компрессора вместе с электродвигателем. При испытании проверить утечку воздуха, производительность компрессора согласно паспортным данным. После испытаний компрессора взять пробу масла и проверить, в масле не должно быть металлических включений и выплавленного или выдавленного баббита.
12.9.4.14 Произвести окраску компрессора.
12.9.4.15 Допустимые износы деталей компрессора приведены в
Приложении М.
12.10.1 Насос разобрать, промыть и осмотреть. Изношенные клапаны и манжеты заменить. Манжеты прожировать.
12.10.2 При сборке цилиндр клапана и манжету смазать смазкой ЖТ-79Л ТУ 0254-002-01055954-01, ЖТКЗ-65 ТУ 32 ЦТ 546-83. Запрещается приваривать цилиндр к основанию.
12.10.3 Проверить действие ручного насоса после ремонта пробным поднятием токоприемников.
Подъем токоприемников Л-13У, Л-13У-01, Л-14М должен происходить не более чем после 25 полных рабочих ходов поршня.
12.11.1 Тифон разобрать, промыть, очистить. Проверить положение плоскостей упорных буртов мембраны и соответствие площадей входного и выходного отверстий. Проверить резьбу на раструбе и крышке и крепление к корпусу.
12.11.2 Собранный тифон должен удовлетворять следующим требованиям:
- мембрана должна входить в корпус с зазором от 0,5 до 1,0 мм;
- упорный кольцевой бурт в корпусе по отношению к плоскости седла (выступа) должен быть ниже на величину от 0,1 до 0,2 мм;
- площадь входного отверстия должна быть меньше площади выходного отверстия в полтора - два раза;
- крышка тифона должна плотно прижимать мембрану к упорному бурту так, чтобы не было пропуска воздуха с другой стороны мембраны;
- атмосферное отверстие должно быть прочищено;
- мембрана должна быть изготовлена из фосфористой бронзы, углеродистой или нержавеющей стали. Мембрана из углеродистой стали должна быть оксидирована.
12.11.3 После ремонта и проверки тифон испытать на стенде и отрегулировать громкость сигнала с ГОСТ 54746-2011.
12.12 Соединительные рукава
12.12.1 Соединительные рукава снять, очистить, осмотреть, отремонтировать и испытать в соответствии с требованиями документа (
N 109 Приложения А) и
ГОСТ 2593-2009.
12.13 Цилиндры привода автоматических дверей
12.13.1 Цилиндр разобрать. Все детали, кроме резиновых манжет и уплотнений, промыть в керосине. Резиновые уплотнения, прокладки, манжеты заменить. При наличии задиров глубиной более 0,5 мм на штоке и более 0,3 мм на втулке детали заменить.
12.13.2 Проверить соответствие деталей требованиям конструкторской документации.
12.13.3 При повреждении резьбы, наличии трещин в цилиндре и штоке детали заменить.
12.13.4 Войлочные уплотнения цилиндра пропитать маслом МВП
ГОСТ 1805-76 или смазкой ЖТ-79Л.
12.13.5 На все трущиеся поверхности нанести пластичную смазку в соответствии с требованиями документа (
N 127 Приложения А).
12.13.6 Собранный цилиндр испытать на плотность манжет, уплотнений и резьбовых соединений. Утечка воздуха при испытании не допускается.
12.13.7 Ремонт приводов управления дверьми ПУД-Э-023 производить в соответствии с требованиями документа (
N 176 Приложения А).
12.13.8 Приводы автоматических дверей фирм "Camozzi" и "Festo" отремонтировать в соответствии с документацией изготовителя.
12.14.1 Тормозные приборы отремонтировать, отрегулировать и испытать согласно инструкции изготовителя.
12.14.2 Заменить сетку фильтра воздухораспределителя новой.
12.15.1 Стеклоочистители разобрать, проверить состояние деталей. Неисправные детали отремонтировать, при невозможности ремонта заменить. Щетки и поводки стеклоочистителей заменить.
12.15.2 Отремонтировать панель ППС 130 стеклоочистителей. Неисправные детали отремонтировать, моторедукторы заменить новыми.
12.15.3 Стеклоочиститель пневматический СЛ440Д и кран запорно-регулировочный Кр30В обмыть снаружи, просушить, полностью разобрать. Детали очистить, продуть сухим сжатым воздухом, осмотреть и измерить. Детали с отколами, трещинами, повреждениями резьбы заменить. Восстановить поврежденное покрытие деталей. Заменить уплотнительные резиновые кольца у стеклоочистителя и крана запорно-регулировочного. Прокладку пластмассовую и прокладку кожаную у пневмоцилиндра стеклоочистителя с трещинами и надрывами заменить. Рейку-поршень и сектор зубчатого стеклоочистителя при наличии отколов, выкрашиваний и изломов зубьев заменить. При необходимости заменить рычаг с щеткой. Ось с направляющей планкой заменить комплектно. Детали скомплектовать, продуть перед сборкой, собрать стеклоочиститель и запорно-регулировочный кран, смазывая поверхности трения, резьбовые соединения в соответствии с требованиями документа (
N 127 Приложения А).
Испытать кран запорно-регулировочный на плотность и работоспособность пневматическим давлением от 0,5 до 0,9 МПа во включенном и выключенном положении. Пропускание воздуха через соответствующие перепускные отверстия не допускается.
Испытать стеклоочиститель в сборе с вентилем на плотность и работоспособность пневматическим давлением от 0,5 до 0,9 МПа, обмылив места соединений, образование воздушных пузырей не допускается.
Контролировать угол размаха рычага со щеткой, который должен быть равен 100° +/- 8°. Дополнительно контролировать угол размаха рычага при испытаниях вагона при максимально прижатой к стеклу щетке и по мокрому стеклу. Число двойных ходов в минуту должно быть 30 +/- 5, при необходимости отрегулировать стеклоочиститель вентилем.
12.16 Автоматический стояночный тормоз
12.16.1 Автоматический стояночный тормоз отремонтировать в соответствии с документом (
N 87 Приложения А).
13 Электромонтажные работы
13.1 Подготовка проводов под монтаж
13.1.1 Монтаж электрических цепей на электропоездах выполнять проводами, согласованными нормативной документацией ОАО "РЖД".
13.1.2 Для проверки состояния проводов открыть все съемные крышки желобов и проходных коробок. Пылесосом или сухим сжатым воздухом удалить с желобов пыль. При КР-1 проверить крепление и состояние проводов, ослабевшие провода обмотать лакотканью, смоляной или изоляционной лентой в клицах.
13.1.3 Проверить состояние изоляции всех проводов. При КР-1 проверку производить по концам, выходящим к приборам и аппаратам.
Местные нарушения наружной оплетки не служат основанием для браковки провода.
13.1.4 Проверить целостность проводов и правильность укладки их в соответствии с маркировкой по утвержденным принципиальным и монтажным схемам.
13.1.5 Проверить электрическую прочность и сопротивление изоляции низковольтных и высоковольтных проводов в соответствии с требованиями нормативных документов.
В случае пробоя изоляции провод заменить. При пониженном сопротивлении изоляции провода просушить или заменить.
13.1.6 В местах выхода проводов из труб наложить бандаж из смоляной ленты и шнура крученого льнопенькового в следующих случаях:
- при расположении труб вне кузова - на все места выхода проводов;
- при переходе труб из шкафов, камер, чердачных помещений в другие помещения - с одного любого конца трубы;
- в потолочном вентиляционном канале - на оба конца трубы с высоковольтными проводами, соединяющей оба калорифера, и на конец трубы, идущей к контактным термометрам, со стороны калорифера.
В потолочном канале места выхода проводов из труб обмотать асбестовой лентой, бандажировать и покрыть термостойкой электроизоляционной эмалью.
Для бандажирования внутри кузова вместо шнура допускается применять пластмассовый ремешок. Концы резиновых и пластмассовых трубок обмотать изоляционной лентой.
13.1.7 Заделку изоляции проводов высокого напряжения у наконечников снять, проверить состояние жил и пайку наконечников. Концы проводов с ненадежной пайкой наконечников перепаять. Наконечники с трещинами или обгоревшие заменить.
В высоковольтных цепях наконечники проводов сечением до 16 мм2 должны быть латунными или медными, а наконечники проводов сечением более 16 мм2 - медными. Несоответствующие наконечники заменить.
13.1.8 При КР-1 наконечники проводов очистить и промыть. Поврежденную полуду восстановить. Пайку новых наконечников взамен неисправных и восстановление полуды медных наконечников производить припоем ПОС-30 или ПОС-40
ГОСТ 21931-76. Взамен пайки допускается обжимать наконечники, используя специальный инструмент.
13.1.9 На проводах освещения проверить места пайки к лампам плафонов, при необходимости разделать места пайки и изолировать. Концы отводов проводов от магистрали к плафонам должны быть сращены и пропаяны оловянистым припоем. Сращивание проводов простой скруткой не допускается.
13.1.10 При КР-1 проверить состояние кондуитов визуальным осмотром.
Кондуиты с наружным диаметром от 1/2" до 1" с вмятинами глубиной более 4 мм заменить.
Кондуиты диаметром от

до 2" с вмятинами глубиной более 7 мм заменить.
Кондуиты со сквозными повреждениями стенок, износом или выжигами глубиной более 1 мм, поврежденной резьбой на концах заменить.
13.1.11 Снятые и остающиеся на вагоне кондуиты, после извлечения из них проводов, очистить от загрязнений, ржавчины внутри и снаружи. Внутреннюю очистку провести механическим или химическим способом и продуть сухим сжатым воздухом.
13.1.12 Все кондуиты должны быть надежно укреплены и оконцованы брассбушами, резиновыми или пластмассовыми муфтами, уплотнительными гайками с резиновыми втулками. Допускается развальцовывать по концам тонкостенные бесшовные трубы. При установке кондуитов в печах и калориферах применять только металлические брассбуши.
13.1.13 Кондуиты, расположенные под рамой вагона и подходящие к аппаратам, подвешенным изолированно от рамы, должны подходить к месту ввода аппарата не ближе чем на 60 мм.
13.1.14 Гайки на кондуитах должны быть с закругленными кромками. Резьба на кондуитах, в гайках и муфтах должна быть чистой и неповрежденной.
13.1.15 Кондуиты должны быть прочно укреплены и не касаться движущихся частей тележки. На прямых участках не должно быть провисания и изгибов (мешков) кондуитов.
13.1.16 Стальные желоба осмотреть, поврежденные части отремонтировать. Кронштейны клиц закрепить к желобам заклепками или электросваркой.
Крышки желобов выправить и плотно подогнать. Желоба и крышки очистить от продуктов коррозии, окрасить черным электроизоляционным лаком БТ-99
ГОСТ 8017-74.
13.1.17 Под крышки соединительных коробок в цепях отопления и тяговых двигателей установить и приклеить резиновые прокладки. Прилегание крышек должно быть плотным.
13.2 Общие требования к монтажу электрической проводки
13.2.1 Металлические прутки, к которым крепятся провода, должны быть обмотаны киперной лентой в один слой с перекрытием 1/2 ширины с последующим покрытием электроизоляционным лаком или электроизоляционной эмалью. Прутки допускается подгибать по месту. Допускается изолирование проводить трубками соответствующего диаметра из полиэтилена, полихлорвинила или трубками из кремнийорганической резины.
13.2.2 Провода, находящиеся на расстоянии ближе, чем 200 мм от калорифера, должны быть проложены в огнеупорных трубках с последующим покрытием термостойкой электроизоляционной эмалью. Выходящие из трубок провода обмотать асбестовой лентой, наложить бандаж и покрыть термостойкой электроизоляционной эмалью.
13.2.3 Металлические желоба должны быть ровными без вмятин, заусенцев и острых кромок.
На металлических деталях не должно быть повреждений защитного покрытия. Деревянные детали должны быть изготовлены из древесины влажностью не более 12%.
13.2.4 Все концы проводов, выходящие из желобов под вагоном, провода межвагонных соединений силовых цепей, цепей отопления и управления должны быть защищены рукавами из винилискожи согласно конструкторской документации.
13.2.5 Запрещается:
- прокладка проводов с повреждениями изоляции;
- сращивание проводов (кроме отпаек к плафонам освещения);
- совместная прокладка проводов высоковольтных и низковольтных цепей в одних и тех же трубах, желобах или по пруткам.
13.2.6 Монтаж проводов и их крепление должны исключать возможность перетирания изоляции и излом жил.
13.2.7 Расстояние между оголенными разнопотенциальными токоведущими частями, голыми токоведущими и заземленными частями по воздуху в зависимости от номинального напряжения должно быть не менее:
- в цепях до 380 В включительно - 5 мм;
- в цепях от 380 до 1000 В включительно - 10 мм;
- в цепях 3000 В внутри кузова - 30 мм;
- в цепях 3000 В снаружи кузова - 140 мм;
- в тяговых двигателях, растворах контактов и вспомогательных машинах цепей 3000 В - 20 мм;
- в цепях 25000 В внутри кузова - 230 мм;
- в цепях 25000 В снаружи кузова - 270 мм.
13.2.8 Расстояние от оголенных токоведущих частей до заземленных частей по поверхности диэлектрика внутри кузова должно быть не менее:
- в цепях до 380 В включительно - 6 мм;
- в цепях от 380 до 1000 В включительно - 14 мм;
- в цепях от 1000 до 2000 В включительно - 30 мм;
- в цепях 3000 В - 45 мм.
13.2.9 При изготовлении жгутов проводов на макете стяжку их между собой проводить пластмассовыми ремешками. Ремешки устанавливать на всех разветвлениях жгутов, а также на прямых участках с шагом:
- для проводов сечением до 16 мм2 и при количестве проводов в жгуте от 5 до 20 штук - от 300 до 400 мм;
- для проводов сечением до 16 мм2 и при количестве проводов в жгуте более 20 штук, а также для проводов сечением свыше 16 мм2 и при количестве проводов в жгуте 5 штук и более - от 300 до 500 мм.
Взамен ремешков стяжку проводов допускается проводить киперной лентой, наматывая ее с перекрытием в 1/2 ширины ленты с последующим покрытием электроизоляционным лаком или электроизоляционной эмалью.
13.2.10 Соединение проводов к аппаратам производить с применением луженых кабельных наконечников и контактных зажимов. Допускается соединение проводов без наконечников: к патронам осветительной и сигнальной арматуры, датчикам термометров, штепсельным разъемам штыревого типа.
13.2.11 Монтаж проводов внутри аппаратов должен обеспечивать удобный доступ к элементам аппаратов, не закрывать место размещения подвижных контактов аппаратов и обеспечивать возможность демонтажа элементов.
13.2.12 При КР-2 произвести закладку в основной макет дополнительных проводов системы КЛУБ, КПД, САВПЭ (при их отсутствии на электропоезде). Тип и модификация систем должны быть согласованы с Заказчиком.
13.3 Требования по прокладке проводов
13.3.1 Провода в желобе должны быть уложены ровно, без переплетений, предохранены от перетирания изоляции, для чего в местах выхода проводов из желоба устанавливать резиновые прокладки.
На съемных крышках должны быть резиновые прокладки. Резиновые прокладки должны быть надежно приклеены к съемным крышкам.
13.3.2 В распределительных коробках провода не должны быть в натянутом положении.
13.3.3 Протяжку проводов через трубы производить, не повреждая изоляцию проводов и предварительно покрыв их тальком.
13.3.4 Провода в скобах и клицах должны быть плотно зажаты и защищены от продавливания изоляции резиновыми прокладками или прокладками из электрокартона шириной от 3 до 5 мм большей, чем ширина скобы.
В клицах провода предохранить намоткой из смоляной ленты или установкой листовой резины.
Провода в пучке между скобами или клицами, если они не проложены в резиновых или пластмассовых трубках, брезентовых рукавах или рукавах из винилискожи и не зажгутованы предварительно на шаблонах, увязываются между собой бандажами во всех местах перегиба, поворота и разветвления пучка провода. На прямых участках бандажи должны располагаться друг от друга и от закрепляющих деталей на расстоянии не более 250 мм. Бандажи выполнить из шнура крученого льнопенькового или киперной ленты, наложить по ширине, не менее диаметра пучка проводов и с числом витков не менее пяти, покрыть электроизоляционным лаком или электроизоляционной эмалью. Бандажи могут выполняться также пластмассовыми ремешками.
13.3.5 Крепление проводов или жгутов, предварительно собранных на шаблонах, к пруткам или монтажным скобкам производить пластмассовыми ремешками и пластмассовыми кабельными стяжками (хомутами) из морозостойкого материала. Расстояние между ремешками должно быть от 300 до 400 мм. Допускается крепление проводов или жгутов проводить киперной лентой или шнуром крученым льнопеньковым с последующим покрытием электроизоляционным лаком или электроизоляционной эмалью.
Расстояние между бандажами из шнура должно быть от 300 до 400 мм. Ширина бандажа должна быть не менее диаметра пучка и с числом витков не менее пяти.
13.3.6 Провода должны быть прочно закреплены к пруткам, должна быть исключена возможность перетирания изоляции и провисания проводов.
13.3.7 Перед местами присоединения провода должен быть запас его длины от 50 до 60 мм по отношению к натянутому состоянию, необходимый для одной смены наконечника, а в местах присоединения к плафонам освещения пассажирского помещения - не менее 150 мм. Для проводов сечением до 6 мм2 допускается запас по длине от 30 до 40 мм.
13.3.8 Провода, подходящие к машинам и аппаратам, установленным на амортизаторах, должны быть со свободным участком, воспринимающим вибрацию машины или аппарата. Длина свободного участка должна быть:
- при сечении провода до 10 мм2 - от 100 до 250 мм;
- при сечении провода от 10 до 25 мм2 - от 200 до 300 мм;
- при сечении провода от 25 до 50 мм2 - от 350 до 500 мм;
- при сечении провода от 50 до 120 мм2 - от 500 до 700 мм.
13.4 Требования к оконцеванию проводов
13.4.1 Наконечники должны быть укреплены на проводах пайкой или холодной опрессовкой.
13.4.2 Перед пайкой наконечника произвести снятие изоляции с провода на длину, указанную в
таблице 13.1.
Оголенные жилы провода зачистить и скрутить по направлению навива.
13.4.3 Пайку наконечников производить погружением в расплавленный припой ПОС-40. При пайке не допускается перегрев изоляции провода.
13.4.4 Холодную опрессовку наконечников производить специальным инструментом без предварительного лужения проводников. Типы наконечников под холодную опрессовку и подготовка проводников перед опрессовкой определяются требованиями стандартов.
Сечение провода, мм2 | Длина снятой изоляции, мм |
1,5 | 6,0 - 12,0 |
2,5 | 10,0 - 15,0 |
4,0 | 15,0 |
6,0 | 15,0 |
10,0 | 20,0 |
16,0 | 20,0 |
25,0 | 25,0 |
35,0 | 30,0 |
50,0 | 30,0 |
70,0 | 40,0 |
95,0 | 40,0 |
120,0 | 45,0 |
13.4.5 При холодной опрессовке проводов заделку проводов произвести термоусаживающейся трубкой. При использовании изолированных наконечников заделку проводов термоусаживающейся трубкой не производить.
13.4.6 На проводах должна быть четкая маркировка в местах, доступных для осмотра. Для маркировки применять бирки из полимерных материалов. Маркировку выполнять рельефным тиснением или специальными несмывающимися чернилами или на самоламинирующейся этикетке.
13.4.7 Допускается применение термоусадочных трубок с соответствующим напряжением изоляции при разделке наружных и внутренних силовых проводов и проводов цепей управления.
13.4.8 Монтаж цепей силового заземления производить с использованием резьбовых деталей не менее 10 мм.
Не допускается подсоединение к средней части токоизмерительных шунтов никаких проводов, кроме проводов измерительных приборов.
13.5 Монтаж электрической аппаратуры
13.5.1 Для обеспечения надежности подвески аппаратов под вагон проверить все детали подвешивания. На кронштейнах и балках не должно быть надрывов и трещин, повреждения устранить.
13.5.2 Электрические аппараты и электрические машины устанавливать после их ремонта и приемки ОТК.
13.5.3 Подвесные болты всех вспомогательных машин и компрессоров, заменить. На головках болтов поставить клейма - присвоенный номер ремонтного предприятия и дата изготовления. Подвесные изоляторы при КР-1 заменить при наличии дефектов (сколов, трещин), при КР-2 изоляторы заменить новыми.
13.5.4 Электрические аппараты и вспомогательные машины устанавливать без перекосов. Изоляторы подвесные и воздухопроводы должны быть чистыми.
13.5.5 Контактные поверхности стальных деталей, к которым крепятся заземляющие провода или шины, должны быть очищены от загрязнений и краски и облужены. Во всех случаях сопротивление заземления не должно превышать 0,02 Ом.
Допускается устанавливать заземляющие шины из стали круглого проката сечением не менее 120 мм2 или из стали прямоугольного проката толщиной не менее 3 мм, обеспечивая такое же сечение.
13.5.6 Контактные поверхности клемм в аппаратах должны быть очищенными, без следов краски и загрязнений.
Наконечники проводов должны быть плотно присоединены к клеммам аппаратов.
13.5.7 Амортизаторы блочного и подвесного крепления электрооборудования заменить.
13.6 Приемка электромонтажных работ и проверка действия аппаратов
13.6.1 Узловая приемка электромонтажных работ в процессе ремонта и проверка действия аппаратов после окончания монтажа должны производиться мастерами ОТК.
На проверку должны предъявляться полностью отремонтированные детали, сборочные единицы, агрегаты.
13.6.2 По окончании монтажных работ ОТК должен проверить и принять:
- монтаж электрических аппаратов и электрических машин. При этом проверяется правильность установки электрических аппаратов и электрических машин, крепление и соединение кондуитных труб, надежность крепления наконечников проводов;
- правильность монтажа электрических схем силовой цепи, цепей вспомогательных машин и отопления. При этом прозваниваются цепи в соответствии с монтажными схемами, измеряется величина сопротивления изоляции высоковольтных и низковольтных цепей, измеряются сопротивления цепей печного и калориферного отопления по группам, пусковых реостатов по позициям на групповом контроллере, вспомогательных машин, заземляющих шин и проводов;
- электрическую прочность изоляции цепей в соответствии с требованиями
Приложения К;
- правильность монтажа цепей и работу аппаратов.
14 Ремонт внутренних конструкций
14.1 Деревянные и пластиковые конструкции стен, потолков, линолеумные полы
14.1.1 При капитальном ремонте КР-1 производить:
- проверку состояния внутренней обшивки стен, потолков и пола в салоне и тамбурах вагона, ремонт обшивки стен и потолков. Поврежденный облицовочный материал заменить с подбором по цвету. Допускается симметричная установка облицовочного материала трех цветов. Разрешается использовать повторно панели с неповрежденным облицовочным материалом с подбором цвета повагонно. На стеклопластиковых панелях (стеновые, тамбурные) не должно быть царапин, сколов или изломов. Допускается устранять повреждения специальными материалами без снятия с вагона;
- замену поврежденных деревянных конструкций (прогнившие или изношенные доски, столярные плиты и половые брусья при наличии мест гниения, трещин или прогиба). Допускается производить выравнивание пола тамбура фанерой;
- восстановление покрытия пола;
- замену оконных, дверных стоек и брусьев оконных проемов при наличии признаков гниения в местах соединений. При наличии участков гниения стойки длиной не более 200 мм и глубиной до трети толщины стойки допускается ее ремонтировать установкой накладки.
При КР-1 допускается ремонтировать линолеумное покрытие пола кабины машиниста с креплением по периметру дополнительной алюминиевой армировкой, без разборки внутренних конструкций кабины.
14.1.2 При КР-2 производить:
- полную разборку внутренней обшивки стен, потолков пассажирского салона и тамбуров;
- восстановление поврежденных антикоррозионных покрытий внутренних поверхностей металлоконструкций кузова;
- замену полов пассажирского салона и тамбуров, кабины машиниста, брусьев крепления диванов.
14.1.3 При КР-1 и КР-2:
- крышки смотровых люков салонов (два шкворневых и четыре редукторных в моторном вагоне, два шкворневых в головном и прицепном вагонах) отремонтировать, при невозможности ремонта заменить. Верхняя поверхность люков должна быть заподлицо с линолеумом пола;
- все изготавливаемые деревянные детали, не подлежащие окраске, должны быть предварительно обработаны антисептическими и огнеупорными растворами, загрунтованы и просушены.
14.1.4 При КР-2 потолок кабины машиниста из оцинкованной стали отремонтировать, при повреждениях более 20% площади поверхности потолка заменить потолок на стеклопластиковый или потолок из другого материала, разрешенного к применению.
14.1.5 При ремонте выполнять все работы внутри салона в соответствии с противопожарными мероприятиями и по утвержденной документации.
14.2 Теплоизоляция кузова
14.2.1 При КР-1 материал теплоизоляции пола, стен и потолков заменить при наличии повреждений, расслоений, оседания изоляционного материала или пакетов.
Допускается изготавливать пакеты изоляции из нескольких частей, но не более трех, при условии плотной подгонки стыков. В пакетах, заполненных крошкой, должны быть установлены по краям рамки бруски мипоры ТУ 6-05-1112-92 с плотной набивкой крошкой всего пакета.
14.2.2 При КР-2 произвести полную замену теплоизоляции на новую в соответствии с конструкторской документацией или на теплоизоляцию из другого материала, согласованного к применению в ОАО "РЖД".
14.3 Внутренняя отделка вагона
14.3.1 При КР-1 поврежденные места облицовочного материала допускается исправлять установкой заплат заподлицо со старым материалом с последующим окрашиванием.
14.3.2 При КР-2 поврежденный облицовочный материал заменить.
14.3.3 Крепление линолеума к полу производить наклеиванием, стыки линолеума сваривать горячей сваркой шнуром ПВХ. Допускается крепление линолеума к полу по периметру вагона производить дюралюминиевой раскладкой и шурупами.
14.3.4 Ремонт металлопластовых листов внутренней облицовки выполнить в соответствии с инструкцией ремонтного предприятия, согласованной в установленном порядке.
14.4 Раскладки, шайбы, розетки плафонов
14.4.1 Устанавливать на вагон раскладки потолка из одной породы дерева.
Допускаются к постановке раскладки потолка с местными потемнениями после зачистки.
14.4.2 При КР-1 допускаются устанавливать в кабине, салоне и тамбурах вагона раскладки из дюралюминиевого профиля. При КР-2 всю раскладку в кабине, салоне и тамбурах вагона устанавливать из дюралюминиевого профиля.
14.4.3 Раскладки крепить шурупами. Во избежание деформирования в эксплуатации необходимо между торцами раскладок, устанавливаемых по стыку потолка и боковых стен, оставлять зазоры от 1 до 2 мм. Провисание раскладок не допускается.
14.4.4 Расклеившиеся розетки плафонов и шайбы вентиляторов переклеить, детали со сколами и сквозными трещинами заменить.
14.4.5 Под плафоны освещения устанавливать термоизолирующие прокладки толщиной от 2 до 3 мм.
15.1 Автоматические двери
15.1.1 Створки дверей и направляющие рейки, направляющие полозки, решетки, резиновые уплотнения, волосяные щетки, уплотнения верхней части створок дверей, пневмопривод снять для ремонта. Допускается вместо волосяных щеток уплотнения верхней части створок дверей устанавливать листовую морозостойкую резину
ГОСТ 7338-90 толщиной 4 мм.
15.1.2 Прогиб створки двери должен быть не более 2 мм по всей длине, разность размеров по диагоналям должна быть не более 3 мм.
15.1.3 При наличии порезов, вырывов и сквозных трещин резиновое уплотнение двери, резиновую окантовку стекол и резиновые замки стекол заменить новыми. Допускается наличие не более двух стыков, проклеенных клеем. Стык резиновой окантовки и замка производить на верхней и боковой стороне проема. Стыки окантовки и замка не должны совпадать друг с другом.
15.1.4 Суммарный износ желобов и рельса допускается не более 0,2 мм.
15.1.5 Прижимной ролик заменить.
15.1.6 Устанавливаемые на вагон дверные цилиндры и направляющие рейки должны находиться в одной плоскости.
15.1.7 Уплотнение створок со стороны карманов заменить. Резиновые амортизаторы осмотреть, при наличии усадки, трещин, вырывов заменить.
15.1.8 Металлическую обшивку дверей с коррозионными повреждениями и изношенными более 0,5 мм местами заменить. Допускается установка нового листа в нижней части встык под направляющим полозом.
При КР-1 допускается установка нового листа под верхний направляющий полозок автоматической двери. Допускается замена профиля с коррозионными повреждениями на П-образный.
15.1.9 Сборку и установку автоматических дверей выполнить согласно конструкторской документации.
15.1.10 Проверку и регулировку автоматических дверей производить при давлении воздуха в цилиндрах 0,6 МПа.
15.1.11 Проверку на срабатывание сигнализации закрытого положения наружных раздвижных дверей производить в следующем порядке.
15.1.11.1 Отрегулировать створки автоматических дверей.
Открыть лючки, расположенные в верхних углах дверных створок, и наддверный люк. Отогнуть стопорные шайбы подвески створок, отпустить гайки.
Вращая винт подвески за квадратную головку, отрегулировать створки так, чтобы при ручном закрытии дверей уплотнители створок плотно прилегали друг к другу в нижней части, а в верхней части оставался зазор от 6 до 10 мм.
При пневматическом закрытии дверей уплотнители должны плотно прилегать друг к другу по всей высоте двери.
Как при ручном закрытии, так и при пневматическом, створки должны перемещаться без заеданий.
После регулировки завинтить гайки, загнуть лепестки стопорных шайб, закрыть лючки.
15.1.11.2 Проверить срабатывание сигнализации закрытого положения дверей.
Разместить на уровне пола тамбура вагона между резиновыми уплотнителями створок дверей деревянный брусок сечением 55 x 55 мм длиной от 200 до 250 мм. При пневматическом закрытии дверей выключатели сигнализации не должны срабатывать и на пульте машиниста не должна гореть лампочка "Двери закрыты".
Если выключатели сигнализации сработают, и на пульте загорится лампочка "Двери закрыты", то необходимо регулировать концевые выключатели.
15.1.11.3 Отремонтировать концевые выключатели, при невозможности ремонта заменить.
Регулировку концевых выключателей провести перемещением кронштейнов крепления выключателей по овальным отверстиям согласно требованиям чертежей.
15.1.11.4 Проверить срабатывание сигнализации повторно.
15.1.12 При КР-2 провести установку запорных устройств на автоматические двери при их отсутствии.
При КР-1 снять запорные устройства автоматических дверей, проверить и отремонтировать. При отсутствии или невозможности отремонтировать установить новые запорные устройства.
15.1.13 При КР-2 допускается производить установку цельных смотровых лючков автоматических дверей, согласно конструкторской документации.
15.1.14 Ремонт прислонно-сдвижных дверей производить в соответствии с конструкторской документацией изготовителей.
Дверные блоки ФКГП 385 ремонтировать в соответствии с документом (
N 192 Приложения А). Прислонно-сдвижные дверные блоки ДБПС 001 ремонтировать в соответствии с документами (
N 167,
168 Приложения А).
Заменить зубчатые ремни дверных блоков с электромеханическим приводом новыми.
Заменить резиновые уплотнения стеклопакетов и створок дверей новыми. Контактирующие поверхности резиновых уплотнений створок покрыть аэрозольной смазкой "Si-M" ТУ 2257-001-54736950-2001 или смазкой ПМС-300
ГОСТ 13032-77.
Заменить стеклопакеты створок дверей при выполнении КР-1 по состоянию, при наличии трещин или глубоких царапин, при КР-2 независимо от состояния. Установку (вклейку) стеклопакета выполнить в соответствии с требованиями документа (
N 192 Приложения А).
Повреждения поверхности створок дверей, вмятины глубиной не более 5 мм на площади не более 20 см
2 ремонтировать заполнением эпоксидной шпатлевкой, на площади более 20 см
2 - стеклонаполнителем с эпоксидным связующим. При наличии сквозных повреждений створок дверей допускается производить ремонт по технологии в соответствии с требованиями документа (
N 153 Приложения А).
Линейные подшипники очистить от старой смазки и грязи, проверить на легкость хода, наличие износа. При люфте более 1 мм, затрудненном ходе подшипник заменить. Смазать линейные подшипники смазкой WGF 130.
Проверить тяги, рычаги и кронштейны на наличие коррозии, трещин, износов.
При износе более 1 мм детали заменить. Поверхности, пораженные коррозией зачистить, восстановить поврежденное покрытие. При наличии трещин отремонтировать сваркой или заменить.
Проверить пружины амортизаторов механизмов фиксации створок на наличие повреждений. Пружину с трещинами, изломом, прослабленную (с просадкой более 10%) заменить. Проверить пластины и ролики механизмов фиксации створок на наличие износа. При износе более 1 мм детали заменить. Смазать трущиеся поверхности пластин и роликов смазкой ЦИАТИМ-201
ГОСТ 6267-74.
Проверить тросики механизмов аварийного (ручного) открытия дверей. При наличии повреждений хотя бы одной из прядей, тросик заменить. Смазать открытые части тросиков смазкой ЦИАТИМ-201
ГОСТ 6267-74.
Проверить направляющие троса аварийного открытия двери на наличие износа. При износе более 1 мм направляющие заменить.
Проверить полиамидные ролики на легкость вращения. При тугом вращении, наличии посторонних звуков при вращении, заедании или закусывании устранить причину. При износе наружного диаметра более 2 мм полиамидный ролик заменить.
Проверить пластины с фигурным пазом и ролики на наличие износа. При износе более 1 мм направляющие заменить. Смазать трущиеся поверхности пластин и роликов смазкой ЦИАТИМ-201
ГОСТ 6267-74.
Проверить фигурный паз направляющих пластин и Г-образный паз алюминиевых планок неподвижного основания на наличие износа. При увеличении ширины паза на 1 мм и более детали заменить.
Проверить работу мотор-редуктора. При наличии постороннего шума при работе, пониженном сопротивлении изоляции (менее 30 МОм) мотор-редуктор отремонтировать. При невозможности ремонта заменить.
Проверить концевые выключатели, нажимные кнопки на наличие повреждений и работоспособность, поврежденные и неисправные заменить. Ослабленное крепление контактов подтянуть, поврежденные провода заменить.
Проверить работу блока управления дверей на соответствие конструкторской документации.
Для дверных блоков с пневмоэлектрическим приводом дополнительно:
- проверить пневматическую систему на герметичность. Утечки воздуха устранить. Соединительную арматуру и пластмассовые пневматические провода (трубки) при наличии трещин заменить;
- очистить, проверить на наличие повреждений воздушный фильтр. Резиновые уплотнения заменить;
- разобрать пневмоцилиндр, заменить уплотнения (манжеты). Замену производить в соответствии с документом (
N 192 Приложения А). Смазать уплотнения (манжеты) средством Isoflex LDS 8 Special A компании "KLUBER Lubrication" или смазкой ЖТ-79Л ТУ 0254-002-01055954-01;
- проверить работу магнитного датчика положения поршня пневмоцилиндра. При необходимости выполнить настойку положения датчика, неисправный датчик заменить;
- проверить работу элементов пневмопанели управления. Неисправные элементы заменить. Проверку и замену элементов производить в соответствии с документом (
N 192 Приложения А);
- проверить крепление и износ трущихся поверхностей редуктора, зубчатых реек, шкивов. Ослабленные элементы крепления затянуть. При наличии износа более 1 мм детали заменить.
Перед установкой крепежных элементов резьбовую часть обезжирить любым органическим растворителем, нанести контровочное средство (анаэробный герметик, клей-фиксатор), рекомендуемое к применению производителем на начальные витки резьбы и затянуть крепежные элементы с требуемым моментом.
Установку и проверку работоспособности дверных блоков на вагоны электропоезда проводить в соответствии с Инструкцией по монтажу и Руководством по эксплуатации на дверной блок.
15.1.15 При КР-1 заменить стекла дверей со сколами, трещинами, царапинами более допустимой величины. Допускается наличие не более 3 волосных царапин общей длиной 45 мм на стекло. Допускается наличие не более 2 грубых царапин общей длиной 20 мм на стекло. Допускается наличие полировочной матовости в сосредоточенном виде по периметру на площади 0,2 дм2. Общее количество допускаемых дефектов в одном изделии должно быть не более 5.
При КР-2 стекла дверей заменить новыми.
15.2 Раздвижные двери пассажирского салона
15.2.1 Ремонтировать или заменить раздвижные двери салона при наличии царапин, сколов и трещин.
Заменить стекла створок дверей при выполнении КР-1 по состоянию, при наличии трещин или глубоких царапин, при КР-2 независимо от состояния.
15.2.2 Прогиб створки двери должен быть не более 2 мм по всей длине, разность размеров по диагоналям должна быть не более 3 мм.
15.2.3 При наличии порезов, вырывов и трещин резиновое уплотнение двери, резиновую окантовку стекол и резиновые замки стекол заменить новыми. Допускается наличие не более трех стыков.
15.2.4 Суммарный износ ролика и рельса допускается до 2 мм.
Верхние направляющие раздвижных дверей изготовить из стали. Установка алюминиевых направляющих не допускается.
Ролики салонных дверей снять, отремонтировать, изношенные заменить.
15.2.5 Бруски деревянных раздвижных дверей со сквозными трещинами, надломами и сколами, допускается ремонтировать установкой накладки длиной до 400 мм, толщиной от 15 до 20 мм и шириной, равной ширине бруска.
Каждая накладка должна быть изготовлена из однородной древесины. Накладку приклеить и закрепить шурупами. На брусок допускается установка не более одной накладки.
Расклеившиеся филенки и дверные бруски переклеить. Новые бруски изготовить из лиственницы или из древесины твердых пород влажностью от 7 до 15%.
Карнизы, раскладки допускается ремонтировать установкой не более одной накладки на деталь.
Допускается алюминиевые вентиляционные решетки дверей заменять стальными с декоративным покрытием.
Остановы раздвижных дверей установить на вертикальной стойке в пазах двери. Раздвижные двери должны закрываться под собственным весом и фиксироваться в закрытом положении прижимными устройствами.
Верхний дверной рельс раздвижных дверей при наличии износа более 0,5 мм допускается восстанавливать наплавкой с последующей обработкой.
Нижний направляющий рельс толщиной менее 2,0 мм заменить.
Дверные верхние угловые обоймы при наличии трещин, забоин, раковин, разработанных отверстий под ролики и шурупы отремонтировать электродуговой или газовой сваркой с последующей обработкой по чертежу.
Расклепывать концы осей роликов в державках не допускается. Ролики дверных обойм смазать в соответствии с требованиями документа (
N 127 Приложения А).
Решетки дверные наружные или внутренние снять, очистить от краски и отремонтировать, негодные заменить. Допускается устанавливать только разборные решетки на колонках.
15.2.6 При КР-2 допускается производить установку цельных смотровых лючков дверей пассажирского салона, согласно конструкторской документации.
15.3 Сдвижные двери пассажирского салона производства ОАО "ПФ "КМТ" ФКГП549.10.00.000, ФКГП549.20.00.000, ФКГП549.50.00.000 с приводом (пружинно-возвратным механизмом) и двери ФКГП 549.60.00.000, ФКГП 549.70.00.000, ФКГП 549.80.00.000 без привода ремонтировать в соответствии с техническими требованиями документа "Комплект дверей внутренних сдвижных электропоезда. Руководство по эксплуатации" ФКГП 549.00.00.000 РЭ.
Двери с приводом и привод дверей показаны на рисунках 15.1 и
15.2 соответственно.
1 - створка; 2 - привод; 3 - фиксатор
Рисунок 15.1 - Сдвижные двери с приводом
(пружинно-возвратным механизмом) и синхронным
движением створок
1 - направляющая; 2 - каретка; 3 - отбойник;
4 - фиксатор; 5 - натяжной шкив; 6 - приводной ремень;
7 - пневмоцилиндр
Рисунок 15.2 - Привод двери
Выполнить предварительную диагностику сдвижных дверей для выявления неисправностей деталей и узлов и определения требуемого объема ремонтных работ. Проверить:
- плавность хода створок, отсутствие заедания и скрипа при движении;
- синхронность открытия и закрытия створок за ручку одной из створок - поочередно для каждой створки двустворчатой двери;
- усилие перемещения створки при открытии, которое должно быть не более 90 Н;
- усилие снятия створок двери с фиксации в открытом положении, которое должно быть в пределах от 150 до 200 Н.
Значение усилия измерять динамометром с диапазоном измерения от 0,01 до 0,5 кН.
Если ход створок тугой и усилие перемещения створок при открытии более 90 Н, отрегулировать давление пневмоцилиндра рисунок 15.3 регулировочным винтом или заменить неисправный пневмоцилиндр. Проверить вращение и ход роликов каретки привода. При повреждении подшипников (тугое вращение, заедание и скрип) заменить ролики каретки в сборе с подшипниками.
При КР-2 заменить ролики каретки в сборе с подшипниками.
1 - регулировочный винт; 2 - пневмоцилиндр каретка
Рисунок 15.3 - Регулировка пневмоцилиндра
Если усилие снятия створок двери с фиксации не соответствует требованиям, указанным в конструкторской документации, отрегулировать фиксатор или заменить поврежденные детали фиксатора. Для регулировки фиксатора рисунок 15.4 изменить положение регулировочного винта фиксатора предварительно ослабив фиксирующий винт.
1 - фиксирующий винт; 2 - регулировочный винт
Рисунок 15.4 - Регулировка фиксатора
Проверить резиновые уплотнительные профили створок и притворов дверей, буфера, отбойники на наличие повреждений. При наличии растрескиваний и потери эластичных свойств в результате старения резиновых уплотнений и амортизаторов и при механических повреждениях, не подлежащих восстановлению уплотнительные профили, буфера и отбойники заменить.
При КР-2 заменить резиновые уплотнительные профили створок и притворов дверей, буфера, отбойники новыми. На контактирующие поверхности резиновых уплотнительных профилей створок нанести аэрозольную смазку "Si-M" ТУ 2257-001-54736950-2001 или смазку ПМС-300
ГОСТ 13032-77.
Заменить плоскозубчатые приводные ремни синхронного движения створок новыми. Проверить вращения шкивов. При тугом вращении, заедании и скрипе при движении заменить подшипники шкивов. Проверить и отрегулировать при необходимости натяжение установленного ремня. Перемещение ремня рисунок 15.5 при приложении через динамометр нагрузки 50 +/- 5 Н к середине ветви ремня должно быть в пределах 15 - 20 мм.
Рисунок 15.5 - Проверка натяжения ремня
Монтаж крепежных элементов выполнить моментом затяжки, в соответствии с конструкторской документацией производителя. Соединения контрить анаэробным резьбовым клеем-фиксатором.
После монтажа нанести на крепежные элементы контрольную риску (маркировку сплошной линией) краской или несмываемым маркером для визуального контроля ослабления резьбового соединения.
Болты прочностью 10.9, гайки прочностью 10 и выше, самоконтрящиеся гайки DIN 985, пружинные шайбы после демонтажа повторному применению не подлежат.
Поврежденные крепежные элементы с дефектами резьбы, шлицов, деформированные шайбы заменить новыми.
15.4 Двери тамбурные, кабины машиниста, служебных помещений
15.4.1 Двери снять с петель и разобрать.
15.4.2 Двери отремонтировать в соответствии с конструкторской документацией изготовителей.
15.4.3 Закрытые двери должны плотно прилегать к раме. Допускается несквозной зазор до 3 мм. Перекос дверей и люфт в петлях не допускается.
Заменить стекла и стеклопакеты створок дверей при выполнении КР-1 по состоянию, при наличии трещин или глубоких царапин, при КР-2 независимо от состояния.
16.1 На вставных стеклах или стеклопакетах оконных блоков допускаются не более трех волосных царапин общей длиной не более 45 мм, не более двух грубых царапин общей длиной 20 мм на стекло, наличие полировочной матовости в сосредоточенном виде по периметру на площади 0,2 дм2. Общее количество допускаемых дефектов в одном изделии должно быть не более пяти.
Стеклопакеты оконных блоков негерметичные, со сколами, трещинами, царапинами более допустимой величины заменить. Новые стеклопакеты оконных блоков устанавливать в соответствии с
Приложением Н.
В оконные блоки салона вагона устанавливать закаленные стекла или стеклопакеты, оборудованные закаленными стеклами толщиной не менее 5 мм.
16.2 Окна салона вагона с металлическими рамами
16.2.1 При КР-1 демонтировать окна с неисправными металлическими рамами, разобрать, проверить и отремонтировать:
- отремонтировать или заменить рамы, допускается окрашивать рамы эмалью КО-8104 ТУ 2312-421-05763441-2003 с наружной и внутренней стороны вагона;
- заменить стекла или стеклопакеты оконных блоков при наличии повреждений более допускаемых;
- заменить детали с дефектами и коррозионными повреждениями;
- заменить поврежденные резиновые уплотнения;
- заменить замки в случае износа деталей выше допустимых пределов или их заклинивания.
16.2.2 При КР-1 допускается ремонтировать окна с исправными рамами без снятия с вагона. Снять элементы окна, проверить, отремонтировать или заменить, установить на вагон.
16.2.3 При КР-2:
- демонтировать окно с вагона и произвести дефектацию;
- отремонтировать или заменить оконные рамы и другие элементы окна;
- заменить стекла или стеклопакеты оконных блоков новыми.
16.3 Окна салона вагона алюмопластмассовые, из алюминиевых профилей
16.3.1 При КР-1:
- заменить стеклопакеты оконных блоков при наличии повреждений более допустимых;
- заменить резиновые уплотнения окон новыми при повреждении и разрушении резиновых уплотнений, обеспечивающих герметизацию основного каркаса окна относительно кузова вагона, стеклопакеты относительно основного каркаса и основного каркаса относительно внутренней обшивки стен (резиновый наличник);
- ремонтировать форточку;
- отремонтировать откидные и запорные устройства.
16.3.2 При КР-2:
- демонтировать все оконные блоки, произвести дефектацию и отремонтировать;
- заменить стеклопакеты оконных блоков новыми;
- заменить оконные блоки новыми при невозможности отремонтировать.
16.4 Окна салона вагона с деревянными рамами
При КР-1 допускается:
- повторно применять восстановленные оконные рамы пассажирского помещения из лиственницы или твердых пород дерева;
- ремонтировать рамы с забоинами и сколами фасок установкой наделки.
При КР-1 запрещается:
- ставить на вагон оконные рамы с трещинами, загниванием, изломом шипов или проушин;
- ставить на вагон рамы, изготовленные из древесины влажностью более 12%.
При КР-2 окна с деревянными рамами заменить на окна с металлической рамой или на окна из алюминиевых профилей, которые должны соответствовать требованиям документа (
N 82 Приложение А).
16.5 На электропоездах, оборудованных окнами "стеклянная линейка" замену стеклоблоков проводить по документации изготовителя.
16.6 Штампованные наличники из слоистого стекловолокна с трещинами, сколами и глубокими царапинами демонтировать, отремонтировать с применением эпоксидной смолы и окрасить. При невозможности ремонта наличники со сквозными трещинами, сколами, глубокими царапинами, разрывами или изломом заменить.
16.7 Лобовые окна кабины машиниста
При КР-1:
- лобовые окна кабины машиниста с трещинами, царапинами, сколами, не работающим пленочным обогревом заменить новыми с заменой резинового профиля;
- вытертости от щеток стеклоочистителя полировать;
- в лобовые окна кабины машиниста устанавливать закаленные стекла (Сталинит). Допускается устанавливать трехслойные стекла (Триплекс);
- резиновый профиль при наличии надрывов, порезов, трещин, потере эластичности заменить новым. Протечки и одинокие трещины в профиле устранить с использованием герметика.
При КР-2 лобовые окна кабины машиниста заменить новыми.
16.8 Боковые окна кабины машиниста:
- стекла боковых окон кабины машиниста с трещинами, царапинами, сколами, не работающим пленочным обогревом заменить новыми толщиной не менее 5 мм;
- резиновый профиль при наличии надрывов, порезов, трещин, потере эластичности заменить новым;
- демонтировать неисправную форточку и ремонтировать, форточка должна открываться и закрываться с небольшим усилием, без перекосов и фиксироваться запорным устройством;
- при невозможности устранить неисправности заменить форточку в сборе новой.
16.9 Вклеиваемые лобовые и боковые стекла кабины машиниста с трещинами, царапинами, сколами, не работающим пленочным обогревом, заменить новыми. При КР-1 проверить целостность резиновых уплотнений, при необходимости устранить протечки с использованием герметика.
16.10 Окна "Аварийный выход"
Окна "Аварийный выход" с ручкой механизма выдавливания стекла снять, проверить работоспособность, при неисправном механизме заменить новыми.
Окна "Аварийный выход" в разбивающемся варианте не демонтировать.
17 Ремонт внутреннего оборудования
17.1 Диваны и кресельные блоки
17.1.1 Нижние и верхние бруски диванов при наличии забитых концов ремонтировать, а при наличии отколов и забоин заменить.
17.1.2 Боковую облицовку деревянных диванов при наличии трещин, зазоров в соединениях заменить.
17.1.3 Все исправные и отремонтированные деревянные и ламинированные диваны очистить под лакировку, риски и неровности на лицевой поверхности диванов не допускаются.
17.1.4 Металлические каркасы диванов отремонтировать. Обивку диванов заменить новой.
При КР-1 допускается оставлять без замены мягкие части и обивку диванов в случае их хорошего состояния. Обивки диванов очистить. Кант - разделитель спинок и сидений допускается не устанавливать.
17.1.5 Кресельные блоки 1 и 2 класса снять, отремонтировать механизмы откидывающихся спинок, ручек, подлокотников и откидных столиков. При необходимости заменить обивку и мягкие части кресельных блоков новыми с подбором по цвету.
17.1.6 Диваны из стеклопластика отремонтировать в соответствии с документацией изготовителей и окрасить гелькоутом GN 10470 S или аналогичным в цвет дивана, допускается окраска двухкомпонентными эмалями
ГОСТ 23143-83.
Запрещается окраска диванов красками на масляной основе.
17.1.7 На вагон устанавливать диваны (кресельные блоки) одной конструкции с одинаковой отделкой (обивкой).
17.1.8 Диваны (кресельные блоки) должны быть надежно закреплены и установлены в салоне в соответствии с конструкторской документацией.
17.1.9 Допускается устанавливать ручки диванов, изготовленные из морозостойкого полиамида, в соответствии с чертежом на типовую ручку. Все диваны одного вагона должны быть укомплектованы одинаковыми ручками.
17.2 Багажные полки, крючки вешалок, замки
17.2.1 При КР-1 багажные полки очистить, осмотреть и отремонтировать. Кронштейны с трещинами или изломами, заменить. Продольные прутки комбинированных багажных полок с сорванной резьбой заменить, изогнутые прутки выпрямить. Поперечные планки для крепления продольных прутков с отломанными концами заменить.
При КР-2 комбинированные багажные полки заменить цельнометаллическими. На электропоездах, оборудованных багажными стеллажами и багажными полками со стеклянными секциями, на поверхности стен и полок не должно быть царапин, сколов и трещин. Поврежденные детали заменить. Устанавливаемые на вагон багажные полки должны быть одной конструкции.
17.2.2 При КР-1 допускается на продольные прутки багажных полок устанавливать поливинилхлоридные трубки светлых тонов.
17.2.3 Крючки вешалок устанавливать в вертикальном положении и крепить шурупами.
Устанавливать разнотипные крючки на одном вагоне не допускается.
17.2.4 На деталях внутреннего убранства (внутренние и наружные ручки, личины тамбурных дверей, ручки задвижных и кабинных дверей, диванов, кранов машиниста, ручки стеклоочистителей, личины замков задвижных и кабинных дверей, корпуса замков задвижных дверей, разборные полки, оконные замки, их остановы, ключи оконных рам, рукоятки и крышки контроллеров, металлические кнопки выключателей, внутренние и наружные колончатые предохранительные решетки дверей, кронштейны поручней) восстановить поврежденное декоративное покрытие. Установленные в салонах вагонов поручни снять, проверить, поврежденные заменить. Ржавчина на деталях не допускается.
17.2.5 Замки тамбурных и служебных дверей при КР-1 отремонтировать, при КР-2 заменить.
Квадратный стержень замка тамбурной двери заменить.
17.2.6 Ручки тамбурных и служебных дверей установить на квадратном стержне без люфта. Ручки и стержни должны соответствовать чертежу.
Допускается устанавливать ручки тамбурных и служебных дверей, изготовленные из морозостойкого полиамида в соответствии с чертежом на типовую ручку. Все тамбурные и служебные двери одного вагона должны быть укомплектованы одинаковыми ручками.
17.2.7 Замки верхних оконных рам снять, очистить, осмотреть и отремонтировать, негодные детали заменить. Собранный замок должен работать без заеданий при небольшом усилии руки.
17.2.8 Ручки диванов крепить шурупами с потайной головкой. Наличие заусенцев и выступание головок шурупов над поверхностью ручки не допускается.
17.3 Таблички в салоне, тамбурах
17.3.1 Таблички установить согласно документации изготовителя. Допускается наносить надписи стикерами (наклейками) или устанавливать таблички, изготовленные методом "Металлфото".
При КР-1 допускается установка в салонах, тамбурах, кабине машиниста ламинированных табличек с креплением на двухсторонний скотч.
17.4 Служебные купе
17.4.1 При КР-1 оборудование служебного купе снять, проверить, неисправное отремонтировать, при невозможности ремонта заменить.
17.4.2 При КР-2 восстановить оборудование служебного купе в соответствии с технической документацией изготовителей.
18 Ремонт систем обеспечения микроклимата
18.1 Вентиляционное оборудование
18.1.1 Потолочные вентиляторы демонтировать, очистить, осмотреть и, при необходимости, отремонтировать. Негодные детали заменить. Короткие поводки запора наплавить и обработать в соответствии с требованиями конструкторской документации. Изношенный квадрат запора заменить или восстановить газовой сваркой с последующей обработкой по конструкторской документации.
18.1.2 Крышевые жалюзи воздухопроводных каналов отремонтировать, негодные детали заменить. Жалюзи установить на деревянную рамку на лаковой подмазке и закрепить шурупами.
18.1.3 Снятые с вагона фильтры выварить в растворе каустической соды, промыть водой, просушить, неисправные отремонтировать, пропитать маслом в соответствии с требованиями
Приложения Р.
18.1.4 Разделки вентиляторных отверстий снять, негодные заменить.
18.1.5 Стальную обшивку чердачных помещений осмотреть, негодные части заменить. Деревянные детали чердачных помещений, стен радиорубок, потолков, стен и дверей, шкафов и электроаппаратов, фрамуги поперечной стены со стороны тамбура оклеить термоизолирующим материалом и покрыть стальной обшивкой.
18.1.6 Установить гибкие вентиляционные патрубки, сшитые в два слоя из парусины высокой водоупорности СКПВ
ГОСТ 15530-93, пропитанной огнезащитным составом, на тяговые двигатели, вспомогательные электрические машины, вентиляторы калориферного отопления. Допускается изготовление патрубков из винилискожи - Т марки ОПП ТУ 17-1267-75.
18.2 Кондиционеры
18.2.1 Кондиционеры пассажирских салонов и кабины машиниста, системы отопления и вентиляции отремонтировать в соответствии с документацией производителя:
- Кондиционер КЖ 2-0,5. Технические условия ТУ 3184-003-52203190-2003;
- Агрегат моноблочный вентиляционно-отопительный АМВО ВЭ. Руководство по эксплуатации АМВО ВЭ 02.00.00.000 РЭ;
- Установка кондиционирования воздуха кабины машиниста УКВ-4,5-ЭД. Руководство по монтажу и эксплуатации 851290100 РЭ.
18.2.2 Кондиционер ремонтировать в сервисном центре производителя.
18.3 Системы обеспечения микроклимата в салоне
18.3.1 Оборудование обеспечения микроклимата в салоне вагонов ремонтировать в соответствии с документацией производителя:
- Система обеспечения микроклимата на поезда серии ЭД4. Руководство по эксплуатации СТО22.85.02.00.000 РЭ;
- Система отопления и вентиляции для салонов вагонов электропоездов типа ЭД4М СОВ-48-ЭД4М. Руководство по монтажу и эксплуатации 851410000 РЭ;
- Система обеспечения микроклимата на электропоездах серии ЭД9. Руководство по эксплуатации ТТ410.85.25.000 РЭ;
- Система обеспечения климата салонов вагонов городского электропоезда. Руководство по эксплуатации СОК ГЭП 01.00.00.00.000 РЭ;
- Блок автоматического управления СВиО. Руководство по эксплуатации СМПК.421415.004-01 РЭ.
18.4 Системы обеспечения микроклимата в кабине машиниста
18.4.1 Оборудование обеспечения микроклимата в кабине машиниста ремонтировать в соответствии с документом "Система обеспечения климата кабины машиниста городского электропоезда. Руководство по эксплуатации СОК КМ 06.00.00.00.000 РЭ.
18.5 Вентиляция тамбуров вагонов
18.5.1 Агрегат вентиляции тамбура вагона электропоезда АВТ-500 ремонтировать в соответствии с Руководством по эксплуатации БНШИ.305243.008-01 РЭ.
18.6 Установки обеззараживания воздуха
18.6.1 Установку обеззараживания воздуха салона вагона МЕГАЛИТ-2ЭП ремонтировать в соответствии с Руководством по эксплуатации ОВП 072 РЭ.
18.6.2 Установку обеззараживания воздуха кабины машиниста МЕГАЛИТ-2ЖТ.030 ремонтировать в соответствии с Руководством по эксплуатации ОВП 119 РЭ.
19 Ремонт туалетных помещений и сантехнического оборудования
19.1 Принадлежности туалетных и служебных помещений: унитазы, раковины, баки для воды, смывные устройства, трубопровод, клозетные кольца и крышки снять, осмотреть, отремонтировать, при необходимости заменить.
Бак туалетного комплекса с вагона снять, произвести ремонт системы обогрева. После ремонта произвести проверку бака на герметичность.
19.2 Теплоизоляцию бака и трубопроводов заменить. Выводы умывальной и смывной системы установить так, чтобы вода и отбросы не могли попадать на детали тележки.
19.3 При КР-1 разбитые керамические плитки на полу заменить новыми.
При КР-2 полы из керамической плитки заменить стеклопластиковыми или из других материалов, разрешенных к использованию.
19.4 При КР-2 допускается монтаж туалетного оборудования по чертежам ремонтных предприятий, утвержденных в установленном порядке.
19.5 Ремонт экологически чистых туалетных комплексов "Экотол-ЭП" и "Экотол-ЭП-И" производить в соответствии с документами (
N 111,
171 Приложения А). Ремонт агрегата должен выполнять персонал, аттестованный сервисным центром предприятия-изготовителя или в сервисном центре предприятия-изготовителя или лицом, уполномоченным сервисным центром.
19.6 Ремонт экологически чистых туалетных комплексов других модификаций производить согласно конструкторской документации производителя.
19.7 Ремонт блока контроля уровня и температуры воды бака туалета УКУТВ производить согласно конструкторской документации производителя.
20 Контроль, испытания, обкатка и приемка электропоезда
20.1 Общие положения
20.1.1 Отдел технического контроля предприятия обязан контролировать качество работ, соблюдение установленной технологии, требований нормативной и технической документации и принимать в процессе ремонта электропоезд и следующие узлы:
- колесные пары, тяговые зубчатые передачи, устройства привода и собранные колесно-редукторные блоки;
- тележки, их рамы, подвеску редукторов, центральное и буксовое подвешивание, гидравлические гасители колебаний, тормозную рычажную передачу;
- буксы и собранные узлы, резинометаллические блоки, роликовые подшипники;
- сцепные устройства;
- рамы, шкворневые соединения и опоры кузова;
- приборы автоматического и электропневматического тормозов, манометры;
- воздушные резервуары;
- краны машиниста;
- песочницы, звуковые сигналы, скоростемеры с их приводами;
- тяговые двигатели, тяговые трансформаторы и вспомогательные электрические машины, включая их испытания;
- токоприемники, компрессоры для подъема токоприемников;
- электрическую аппаратуру (ремонт, испытание, монтаж), зарядные устройства;
- электрические цепи электропоезда (правильность работы в соответствии со схемой);
- сопротивление и электрическую прочность изоляции электрического оборудования и высоковольтных и низковольтных цепей;
- системы пожарной сигнализации и пожаротушения.
20.1.2 Отдел технического контроля должен проверять надежность крепления всего оборудования: электрических машин, корпусов редукторов, предохранительных устройств, путеочистителей, приемных катушек АЛСН, тормозных цилиндров и воздушных резервуаров, устройств для подъема на крышу, а также качество отделки ремонтируемых узлов и окраски электропоездов.
20.1.3 Окончательная приемка вагонов (секций) электропоездов должна производиться после опускания кузова на тележки и окончания всех работ по ремонту.
20.1.4 После ремонта и проверки отделом технического контроля каждый признанный годным вагон (секция) электропоезда должен быть подвергнут приемо-сдаточным испытаниям.
20.1.5 Приемо-сдаточные испытания состоят из стационарных (стендовых) испытаний при напряжении 3000 В для вагонов (секций) электропоездов постоянного тока и 25000 В для вагонов (секций) электропоездов переменного тока. Наружные размеры электропоезда должны соответствовать установленным габаритам.
20.1.6 При проведении испытаний вагонов (секций) электропоезда должны соблюдаться требования правил и инструкций по охране труда и пожарной безопасности.
20.1.7 Принятые после проведения испытаний вагоны (секции) электропоезда проходят испытание обкаткой. При проведении КР-1 электропоездов в специализированных моторвагонных (локомотивных) депо, испытание обкаткой проводят работники депо приписки.
20.2 Приемо-сдаточные испытания
20.2.1 При приемо-сдаточных испытаниях должны производиться:
- проверка внутреннего оборудования. Объектом проверки путем визуального осмотра являются: двери служебного тамбура, наружные и внутренние раздвижные двери, замки торцевых дверей, дверей туалетной, служебного тамбура и кабины машиниста, диваны пассажирских салонов, кресла машиниста и помощника, полки багажные, окна пассажирских салонов, светозащитный экран, обзорность (видимость) из кабины машиниста, наличие санитарно-бытового оборудования в кабине машиниста, туалет, отсутствие травмоопасных элементов в конструкции салона, обеспечение фиксации в открытом положении входных дверей (служебного тамбура, кабины машиниста); наличие знаков и надписей в соответствии с требованиями нормативной документации; мусоросборников; крепление элементов герметичного межвагонного перехода (при наличии);
- проверка качества электромонтажа. Проверяются путем визуального осмотра: наличие и крепление электрооборудования под вагонами, на крышах вагонов, в шкафах и ящиках; плотность закрывания крышек, регулировку замков, закрывание дверей шкафов; соответствие маркировки монтажных проводов, маркировки клемм аппаратов, электрических машин, межвагонных соединений, клеммовых реек; отсутствие замыкания наконечников проводов с проводами, подключенными к другим клеммам, а также с корпусами аппаратов, машин, кузовом вагона; состояние контактов в местах пайки, наличие и затяжку контргаек на регулировочных пружинах аппаратов; чистоту поверхности и отсутствие повреждения изоляторов; крепление наконечников проводов на клеммовых рейках и клеммах аппаратов; наличие предохранителей в гнездах, а также калиброванных вставок в них; соединение обмоток электрических двигателей вентустановок и компрессора; установку аккумуляторной батареи в соответствии с КД; проверка сопротивления изоляции и электрической прочности изоляции силовых и вспомогательных цепей, цепей управления, заземления; проверка работы и последовательность включения электрических аппаратов при номинальных значениях напряжения и давления воздуха в магистралях; измерения сопротивления постоянному току пусковых, переходных, шунтирующих, демпферных и добавочных резисторов; измерения сопротивления постоянному току электрических цепей. При проведении испытаний руководствоваться схемами электрическими принципиальными, схемами соединений и инструкцией по электромонтажу;
- проверка соответствия направления вращения тяговых двигателей, работы вспомогательных машин, цепей отопления, освещения и другого оборудования;
- проверка работы пневматической и тормозной систем. Испытания тормозного и пневматического оборудования вагонов производить сжатым воздухом при давлении не менее 0,8 МПа; перед установкой на вагоны пневматические приборы и аппараты должны быть испытаны и отрегулированы в соответствии с требованиями комплекта документов на технологический процесс испытания пневмооборудования ремонтного предприятия;
- проверка работы автостопов, компрессоров для подъема токоприемника, звуковых сигналов, систем оповещения и другого оборудования электропоезда;
- проверка системы пожарной сигнализации;
- проверка функционирования системы вентиляции и кондиционирования воздуха электропоезда. Проверяются путем визуального контроля: крепление и состояние оборудования; состояние фильтров: вентиляции салона, вентиляции тяговых двигателей для моторных вагонов, вентиляции преобразователей для головных и прицепных вагонов; работоспособность заслонок: - коллектора распределительного системы вентиляции салона; - камеры смесительной системы вентиляции салона; - заслонки в системе вентиляции кабины машиниста; крепление крышек люков вентканала; наличие знаков заземления.
20.2.2 При положительных результатах приемо-сдаточных испытаний вагон (секция) электропоезда предъявляются уполномоченному представителю ОАО "РЖД" для проведения инспекторского контроля в соответствии с
ГОСТ 32894-2014.
20.2.3 После устранения выявленных несоответствий при инспекторском контроле уполномоченный представитель ОАО "РЖД" подписывает "Акт приемки из ремонта" формы ТУ-31 на вагон (секцию) электропоезда.
20.3 Испытания обкаткой
Прошедшие приемо-сдаточные испытания вагоны (секции) сформировываются в электропоезд для проведения испытаний обкаткой.
20.3.1 Для допуска отремонтированного электропоезда в эксплуатацию он должен пройти обкатку на электрифицированных путях предприятия. При отсутствии электрифицированных путей предприятия ходовые испытания электропоездов обкаткой производить на электрифицированных магистральных путях дороги.
20.3.2 Испытание обкаткой проводить с участием представителя заказчика и уполномоченного представителя ОАО "РЖД" в соответствии с документом (
N 125 Приложения А).
20.3.3 До проведения обкатки на путях предприятия произвести осмотр электропоезда: подвеску и крепление аппаратов, электрических машин и редукторов, состояние тормозной рычажной передачи, соединение тормозных рукавов, сцепного устройства, узлов заземления.
20.3.4 Во время обкатки проверить работу всего электрического, механического, пневматического и тормозного оборудования электропоезда на всех режимах работы из обеих кабин машиниста при наибольшей допустимой скорости движения (на предприятии).
20.3.5 После испытаний электропоезд осмотреть. Все неисправности, обнаруженные при обкатке и осмотре, устранить.
При осмотре необходимо:
- проверить нагрев буксовых, якорных подшипников, состояние аппаратов, электрических машин и токоведущих частей;
- проверить состояние крепления деталей ходовых частей, кузовного оборудования;
- проверить плотность соединения частей корпусов тяговых редукторов;
- измерить габариты вагона, зазоры в центральном и буксовом подвешивании и ходовой части, при необходимости их отрегулировать;
| | ИС МЕГАНОРМ: примечание. Текст дан в соответствии с официальным текстом документа. | |
- проверить высоту автосцепок согласно в соответствии с требованиями документа (
N 83 Приложения А).
20.3.6 Допуск электропоезда, прошедшего ремонт, в эксплуатацию осуществляется в случае, если в технический паспорт (формуляр) внесены соответствующие сведения.
20.3.7 Для решения вопроса о допуске на железнодорожные пути общего пользования уполномоченный представитель ОАО "РЖД" осуществляет осмотр железнодорожного подвижного состава, в ходе которого проводятся:
- идентификация электропоезда по техническим и эксплуатационным характеристикам, указанным в техническом паспорте (формуляре);
- сверка идентификационных номеров составных частей, определенных данными информационных систем учета железнодорожного подвижного состава.
20.3.8 По результатам осмотра уполномоченным представителем ОАО "РЖД" в соответствии с документом (
N 2 Приложения А) оформляется "
Акт допуска железнодорожного подвижного состава к эксплуатации на железнодорожных путях общего пользования после изготовления, модернизации, ремонта".
20.3.9 При выявлении несоответствий установленным требованиям представитель, уполномоченный представитель ОАО "РЖД" не допускает электропоезд к эксплуатации с указанием в Акте причин отказа.
20.3.10 После устранения несоответствий электропоезд повторно предъявляется к осмотру для допуска на инфраструктуру железнодорожного транспорта.
20.3.11 При отсутствии несоответствий уполномоченный представитель ОАО "РЖД" подписывает "
Акт допуска железнодорожного подвижного состава к эксплуатации на железнодорожных путях общего пользования после изготовления, модернизации, ремонта" и "
Акт проверки технического состояния локомотива (крана), моторвагонного поезда (секции), предназначенных для пересылки в недействующем состоянии" формы ТУ-25.
20.3.12 Перед отправлением электропоезда после ремонта в депо приписки аккумуляторные батареи должны быть приведены в рабочее состояние (по согласованию с заказчиком).
20.4 Гарантийные сроки на агрегаты, сборочные единицы и детали электропоездов приведены в
Приложении П. Срок гарантии исчисляется от даты выдачи формы ТУ-31.
(обязательное)
ПЕРЕЧЕНЬ НОРМАТИВНЫХ ДОКУМЕНТОВ
Перечень нормативной документации используемой при капитальном ремонте электропоездов приведен в таблице А.1.
Таблица А.1
Обозначение документа | Наименование документа |
| Федеральный закон от 22.07.2008 N 123-ФЗ | Технический регламент о требованиях пожарной безопасности |
| - | Правила технической эксплуатации железных дорог Российской Федерации, утверждены приказом Минтранса России от 21.12.2010 N 286 |
3 | - | Правила технического обслуживания тормозного оборудования и управления тормозами железнодорожного подвижного состава, утверждены Советом по железнодорожному транспорту государств - участников Содружества (протокол от 6 - 7 мая 2014 г. N 60) |
4 | | ГСИ. Аттестация испытательного оборудования. Основные положения |
| | ЕСЗКС. Покрытия лакокрасочные. Группы, технические требования и обозначения |
6 | | ЕСЗКС. Покрытия лакокрасочные. Подготовка металлических поверхностей к окрашиванию |
7 | | ССБТ. Организация обучения безопасности труда. Общие положения |
8 | | Проволока прямоугольного сечения и шины медные для электротехнических целей. Технические условия |
9 | | Медь. Марки |
10 | | Лаки бакелитовые. Технические условия |
11 | | Масла трансформаторные. Технические условия |
12 | | Бензин авиационный. Технические условия |
13 | | Смазка солидол жировой. Технические условия |
14 | | Масло приборное МВП. Технические условия |
15 | | Лента изоляционная прорезиненная. Технические условия |
16 | ГОСТ 2824-86 | Картон электроизоляционный. Технические условия |
17 | | Картон асбестовый. Технические условия |
18 | | Сталь электротехническая тонколистовая и лента. Технические условия |
19 | | Ленты для электропромышленности. Технические условия |
20 | | Заготовки осевые для железнодорожного подвижного состава. Технические условия |
21 | | Смазка ЦИАТИМ-201. Технические условия |
22 | | Шкурка шлифовальная бумажная. Технические условия |
23 | | Пластины резиновые и резинотканевые. Технические условия |
24 | | Лак БТ-99. Технические условия |
25 | | Нефрас - С50/170. Технические условия |
26 | | Эмали марок ГФ-92. Технические условия |
27 | | Смазка ЦИАТИМ-221. Технические условия |
28 | | Шпатлевки. Технические условия |
29 | | Эмали марок МП-165, МП-165ПМ и МС-160. Технические условия |
30 | | Лак электроизоляционный пропиточный ФЛ-98. Технические условия |
31 | | Лента из прецизионных сплавов с высоким электрическим сопротивлением. Технические условия |
32 | | Жидкости полиметилсилоксановые. Технические условия |
33 | | Шкурка шлифовальная тканевая водостойкая. Технические условия |
34 | | Герметики марок У-30М и УТ-31. Технические условия |
35 | | Паста ВНИИ НП-232. Технические условия |
36 | | Лак КФ-965. Технические условия |
37 | ГОСТ 15176-89 | Шины прессованные электротехнического назначения из алюминия и алюминиевых сплавов. Технические условия |
38 | | Сплавы медно-цинковые (латуни), обрабатываемые давлением. Марки |
39 | | Парусины и двунитки. Общие технические условия |
40 | | Лак электроизоляционный МП-92. Технические условия |
41 | | Эмаль электроизоляционная ЭП-91. Технические условия |
42 | | Лента поливинилхлоридная изоляционная с липким слоем. Технические условия |
43 | | Лаки кремнийорганические электроизоляционные. Технические условия |
44 | | Трубки электроизоляционные гибкие. Общие технические условия |
45 | | Стекловолокно. Ткань конструкционного назначения. Технические условия |
46 | | Припои серебряные. Марки |
47 | ГОСТ 21427 | Группа ГОСТ на сталь электротехническую тонколистовую |
48 | | Припои оловянно-свинцовые в изделиях. Технические условия |
49 | ГОСТ 22050-76 | Магнитопроводы ленточные. Типы и основные размеры |
50 | | Грунтовка ГФ-019. Технические условия |
51 | | Верификация закупленной продукции. Организация проведения и методы контроля |
52 | | Материалы электроизоляционные на основе слюдяных бумаг. Общие технические условия |
53 | | Провода обмоточные с эмалевой изоляцией. Общие технические условия |
54 | | Ленты липкие электроизоляционные. Общие технические требования |
55 | | Лакоткани электроизоляционные. Общие технические требования |
| | Токоприемники железнодорожного электроподвижного состава. Общие технические условия |
57 | | Продукция железнодорожного назначения. Инспекторский контроль. Общие положения |
58 | | Кабели и провода для подвижного состава железнодорожного транспорта. Общие технические условия |
59 | | Резервуары воздушные для тормозов вагонов железных дорог. Общие технические условия |
60 | | Спирт этиловый синтетический технический и денатурированный. Технические условия |
61 | | Вагоны пассажирские локомотивной тяги и моторвагонный подвижной состав. Требования к обмывке и очистке |
| | Вагоны пассажирские локомотивной тяги и моторвагонный подвижной состав. Требования к лакокрасочным покрытиям и противокоррозионной защите |
63 | ОСТ 24.151.07-90 | Втулки из порошковых материалов для шарнирных соединений вагонов железных дорог широкой и узкой колеи. Конструкция и размеры |
64 | ТУ 6-05-1112-92 | Мипора. Технические условия |
65 | ТУ 6-05-1251-75 | Смолы эпоксидные модифицированные марок К-115, К-168, К-176, К-201, К-293, Кдж-5-20 |
66 | ТУ 6-19-229-2010 | Радпласт Т-212/6 ТУ 6-19-229-2010 |
67 | ТУ 14-4-661-91 | Провода стальные многопроволочные для воздушных электрических линий передач |
68 | ТУ 16.К28.001-90 | Провода обмоточные с хлопчатобумажной изоляцией |
69 | ТУ-16.К56.006-91 | Провод обмоточный ПСД |
70 | ТУ 16-503.020-91 | Смоляная лента |
71 | ТУ 17-1267-75 | Винилискожа - Т марки ОПП |
72 | ТУ 32 ЦТ 546-83 | Смазка ЖТКЗ 65 |
73 | ТУ 32 ЦТ 544-84 | Смазка графитовая СГС-О и СГС-Д |
74 | ТУ 38.401.58-8-90 | Керосины для технических целей |
75 | ТУ 38.10555-85 | Замазка ТГ-18 |
76 | ТУ 0254-002-01055954-01 | Смазка ЖТ-79Л |
77 | ТУ 0254-003-51844550-2009 | Смазка УВС Суперконт |
78 | ТУ 0254-005-01055954-2009 | Смазка антиобледенительная ЦНИИ КЗ |
79 | ТУ 2257-001-54736950-2001 | Смазка силиконовая "Si-M". Технические условия |
80 | ТУ 2292-006-56867231-2007 | Втулки из композиционного материала КПМ для тормозной рычажной передачи пассажирских вагонов |
81 | ТУ 2312-421-05763441-2003 | Эмаль термостойкая КО-8104 серебристо-серая. Технические условия |
| ТУ 2316-004-0-31953544-97 | Водные лакокрасочные материалы для отделки древесины |
| ТУ 2389-008-36567372-02 | Огнебиозащитный состав для древесины КСД-А |
84 | ТУ 2458-013-53945212-03 | Технические условия ТУ 2458-013-53945212-03 "Защитный пенетрирующий состав ПРИМ-БОДИ" |
85 | ТУ 2500-295-00152106-93 | Изделия резиновые технические для подвижного состава железных дорог и требования к резинам, применяемым для их изготовления |
86 | ТУ 3184-003-52203190-2003 | Кондиционер КЖ 2-0,5 Технические условия |
| ТУ 3184-006-57485371-2006 | Тормоз стояночный автоматический встраиваемый в заднюю крышку тормозного цилиндра диаметром 10" (254 мм). Технические условия |
| ТУ 4854-302-54876390-2004 | Установка аэрозольного пожаротушения вагонов и электропоездов пригородного сообщения постоянного и переменного тока УАПВ "Экспресс". Технические условия |
89 | ТУ 8151-01-89778459-2010 | Стеклополиэфирная лента ЛСПЭ |
| НПАОП 63.21-1.40-90 Москва "Транспорт" 05.03.1991 г. | Правила по охране труда при капитальном ремонте подвижного состава и производстве запасных частей |
91 | N ЦШ-4783 22.12.1989 г. Утв. Зам. Министра путей сообщения СССР | Правила и нормы по оборудованию магистральных локомотивов, электропоездов и дизель-поездов средствами радиосвязи и помехоподавляющими устройствами |
| РД 32.136-99 25.04.2000 г. | Руководящий документ. Аттестация испытательного оборудования на предприятиях Федерального железнодорожного транспорта |
| 04.08.1998 г. | Правила надзора за воздушными резервуарами подвижного состава железных дорог Российской Федерации |
94 | | Положение о метрологической службе Федерального железнодорожного транспорта |
| | Санитарные правила по организации пассажирских перевозок на железнодорожном транспорте |
| | Инструкция по ремонту и обслуживанию автосцепного устройства подвижного состава железных дорог |
97 | | Положение "О порядке пересылки локомотивов и моторвагонного подвижного состава на инфраструктуре железнодорожного транспорта ОАО "РЖД" |
| | Положение "О планово-предупредительном ремонте моторвагонного подвижного состава открытого акционерного общества "Российские железные дороги" |
| | Инструкция по осмотру, освидетельствованию, ремонту и формированию колесных пар локомотивов и моторвагонного подвижного состава железных дорог колеи 1520 мм |
100 | Утвержден вице-президентом ОАО "РЖД" Акуловым М.П. 05.02.2011 г. | Перечень лакокрасочных материалов для окрашивания пассажирских вагонов и моторвагонного подвижного состава |
| ЦЛПР-11/17 | Инструкция по обеспечению пожарной безопасности на моторвагонном подвижном составе |
| | ИС МЕГАНОРМ: примечание. Текст дан в соответствии с официальным текстом документа. | |
|
102 | | Положение о метрологической службе Федерального железнодорожного транспорта |
| СТО РЖД 11.008-2014 31.12.2014 г. N 3230р | Система неразрушающего контроля в ОАО "РЖД" Основные положения |
| 29.12.1995 г. | Общие технические требования к противопожарной защите тягового подвижного состава (с изменениями и дополнениями от 25.05.1998 г., от 11.11.1998 г., от 30.03.1999 г.) |
| ЦЛПР-7.2/49-2009 | Гидравлические и фрикционные гасители колебаний моторвагонного подвижного состава. Руководство по техническому обслуживанию и текущему ремонту |
| ЦТГ-3 03.08.2000 г. | Инструкция по техническому обслуживанию, монтажу и демонтажу букс и узлов малой шестерни тяговых редукторов с коническими роликовыми подшипниками электропоездов и электровозов (с дополнением от 05.03.2007 г.) |
107 | 14.06.1995 г. | Инструкция по формированию, ремонту и содержанию колесных пар тягового подвижного состава железных дорог колеи 1520 мм |
| ПКБ ЦТ.06.0073 12.12.2013 г. N 2747р | Руководство по техническому обслуживанию и ремонту "Узлы с подшипниками качения железнодорожного тягового подвижного состава" |
| 27.01.1998 г. | Инструкция по техническому обслуживанию, ремонту и испытанию тормозного оборудования локомотивов и моторвагонного подвижного состава |
| КЖИС.468367.020-01 СО | Пульты машиниста УПУ ЭД4М. Руководство по среднему ремонту |
| РД 104.2.741-2008 25.06.2009 г. | Экологически чистый туалетный комплекс "Экотол-ЭП". Руководство по ремонту |
| 104.03.00672-2009 КО | Электрические машины электропоездов. Общее руководство по ремонту |
| ТВ6.500.003РК | Руководство по капитальному ремонту. Трансформаторы тяговые ОЦР-1000/25, ОДЦЭР-1600/25 |
114 | ВИТЯ.426471.001 РК 29.04.2003 г. | Блок управления контактором защиты БУКЗ. Руководство по капитальному ремонту |
115 | ВИТЯ.426471.002 РК 19.03.2003 г. | Блок управления автоматического управления торможением БУ САУТ. Руководство по капитальному ремонту |
| ВИТЯ.426471.003 РК 29.04.2003 г. | Блок регулятора частоты БРЧ. Руководство по капитальному ремонту |
117 | ВИТЯ.426471.004 РК 29.04.2003 г. | Блок регулировки ускорения БРУ. Руководство по капитальному ремонту |
118 | ВИТЯ.426471.005 РК 29.04.2003 г. | Блок управления преобразователем БУП. Руководство по капитальному ремонту |
| ВИТЯ.674711.003 РК 26.11.2003 г. | Тиристорный шунт ТШ-М. Руководство по капитальному ремонту |
120 | ЦЛПр-9/11 20.11.2006 г. | Руководство по капитальному ремонту системы пожарной сигнализации ПРИЗ-И (в модификациях ПРИЗ, ПРИЗ-О, ССЗН-И и других) электропоездов в/и в условиях завода |
121 | РД 103.11.039-96 | Технические требования. Изготовление и ремонт листовых рессор локомотивов |
| ТУСВО13А от 25.02.81 г. | Технические указания с дополнением НС-051274 РВЗ ОГК от 1986 г. |
123 | М 858.00 | Проект установки и ремонта кронштейнов от саморасцепа |
124 | ПКБ ЦТС961.00.00 | Проект усиления надрессорного бруса |
| Н11.103.031-75 | Типовые инструктивные указания по обкатке электроподвижного состава после заводского ремонта |
| Цттеп-87/11 | Временные инструктивные указания по обслуживанию и ремонту узлов с подшипниками качения дизелей и вспомогательного оборудования тягового подвижного состава |
| 01ДК.421457.001И 23.12.2005 г. | Локомотивы и моторвагонный подвижной состав. Инструкция по применению смазочных материалов |
| ЦТ-ЦВ-ЦЛ-590 27.08.1998 г. | Инструкция по восстановлению и упрочению индукционно-металлургическим способом деталей узлов трения подвижного состава |
| N 74/07-05 | Инструкция по обслуживанию беззазорного сцепного устройства жесткого типа БСУ-4 |
| СТО РЖД 13.003-2012 03.12.2012 г. N 2437р | Общие требования к сварочным и наплавочным работам при ремонте подвижного состава |
131 | ЦТЭП-11/23 | Технические указания по осмотру, дефектированию и ремонту рам тележек немоторных вагонов поездов ЭР2Р |
132 | ЦТ-3921 15.08.1980 г. | Инструкция по эксплуатации и ремонту локомотивных скоростемеров ЗСЛ-2М и приводов к ним |
| ЦТт-18/1 29.06.1999 г. | Инструкция по неразрушающему контролю деталей и узлов локомотивов и моторвагонного подвижного состава. Магнитопорошковый метод (с изм. N 1 от 26.12.06 г., N 2 от 12.12.08 г.) |
| ЦТт-18/2 29.12.1999 г. | Инструкция по неразрушающему контролю деталей и узлов локомотивов и моторвагонного подвижного состава. Вихретоковый метод (с изм. N 1 от 12.07.07 г., N 2 от 15.04.08 г., N 3 от 15.05.08 г.) |
| | ИС МЕГАНОРМ: примечание. Дата дана в соответствии с официальным текстом документа. | |
|
| ЦТт-18/3 23.06.2000 г. | Инструкция по ультразвуковому контролю деталей локомотивов и вагонов электропоездов на базе программируемого дефектоскопа УД2-102 (с изменением N 1 от 17.0.2001 г.) |
| Цтэп-6 30.06.1999 г. | Инструкция по ультразвуковому контролю элементов колесно-редукторного узла вагонов электропоездов |
| 24.09.2001 г. | Инструкция по техническому обслуживанию автоматической локомотивной сигнализации непрерывного типа (АЛСН) и устройств контроля бдительности машиниста |
138 | ЦТ МПС | Технологическая инструкция по установке и эксплуатации полиамидных прокладок в узле "пятник-подпятник" электропоездов с вагонной опорой на пятнике |
139 | ЦТ МПС | Технологическая инструкция по установке и эксплуатации скользунов (вкладышей) из композиционного материала для боковых опор электропоездов с опорой кузова на боковые скользуны |
| 103.25200.60022 | Технологическая инструкция на капитальный ремонт аппарата АЛСН |
141 | 103.25200.60042 22.12.1986 г | Технологическая инструкция "Скоростемер локомотивный ЗСЛ-2М" |
142 | 104.008-2010 | Альбом цветографических схем по окраске моторвагонного подвижного состава |
143 | 301.70.00.000 И | Электропроводка на вагонах электропоездов. Инструкция по монтажу |
| КС-164 ПКБ ЦТ | Технологическая инструкция на ремонт разделки высоковольтного провода электропоездов переменного тока типа ЭР9 |
| ПКБ ЦТ.25.0097 | Технологическая инструкция на формирование, проверку, ремонт и эксплуатацию резинометаллических амортизаторов буксовых поводков локомотивов и электросекций |
146 | ТИ-237 ПКБ ЦТ 15.12.1975 г. | Технологическая инструкция по очистке от загрязнений и нанесению защитного электроизоляционного покрытия на поверхности стеклопластиковых изоляторов при ремонте электроподвижного состава |
147 | ТрТ.25201.00025Р | Технологическая инструкция по капитальному ремонту беззазорного сцепного устройства БСУ-ТМ |
148 | ЦТ, ВНИИЖТ | Технологическая инструкция по применению воднодисперсной краски АКРЕМ-217 при окраске наружных поверхностей подвижного состава |
149 | ЦТ, ВНИИЖТ | Технологическая инструкция по нанесению флуоресцентных материалов на лобовые поверхности кузовов локомотивов и МВС |
| ЦМВ-104-24.25102.00008 24.25102.00008 | Технологическая инструкция по ремонту изделий из резины переходных площадок |
151 | ТИ-ЦЛПр-7/22-2003 | Технология противокоррозионной защиты внутренних поверхностей кузовов моторвагонного подвижного состава |
152 | ТИ-ЦТТ-18/2 02.10.2000 г. | Техническое обслуживание и ремонт КПД-3. Технологическая инструкция |
| ТП-ЦЛВП-1/11-2007 | Типовой технологический процесс восстановления кузова пассажирского вагона поврежденного коррозией, с применением клеевой технологии |
| 656-2000 ПКБ ЦВ | Детали грузовых и пассажирских вагонов. Методика испытаний на растяжение |
155 | 041295644 | Половина перехода  в комплекте |
156 | 6ТС.260.016-02 РЭ | Руководство по эксплуатации токоприемника ТасС-16-02 |
157 | 36991-00-00 РЭ | Комплексное локомотивное устройство безопасности КЛУБ-У. Руководство по эксплуатации |
158 | 851290100 РЭ | Установка кондиционирования воздуха кабины машиниста УКВ-4,5 - ЭД. Руководство по монтажу и эксплуатации |
159 | 851410000 РЭ | Система отопления и вентиляции для салонов вагонов электропоездов типа ЭД4М СОВ-48-ЭД4М. Руководство по монтажу и эксплуатации |
| 1ВП. 713.004 РЭ | Трансформатор тяговый однофазный типа ОДЦЭ-2000/25Б-У1. Руководство по эксплуатации |
| 3322.00.00.000 РЭ | Агрегат компрессорный винтовой. Модель: АКВ-0,65. Руководство по эксплуатации |
162 | АМВО ВЭ 02.00.00.000 РЭ | Агрегат моноблочный вентиляционно-отопительный АМВО ВЭ. Руководство по эксплуатации |
163 | БКЖИ.644 200.001 ТО | Контакторы серии МК. Техническое описание и инструкция по эксплуатации |
164 | БНШИ.305243.008-01 РЭ | Агрегат вентиляции тамбура вагона электропоезда АВТ-500. Руководство по эксплуатации |
165 | ВВ 005/7-1000 | Компрессор поршневой воздушный ВВ 005/7-1000. Техническое описание и инструкция по эксплуатации |
| ВО1.676754.002 РЭ | Система освещения "Световая светодиодная линия". Руководство по эксплуатации |
| ДБПС 001 01 00 000 РЭ | Дверной блок прислонно-сдвижного типа для электропоезда. Руководство по эксплуатации |
| ДБПС 001 02 00 001 РЭ | Дверной блок прислонно-сдвижного типа для электропоезда. Руководство по эксплуатации |
| ИЕАЛ.435411.046 РЭ | Выпрямительно-инверторный преобразователь ВИП-1000У1. Руководство по эксплуатации |
| КЖИС.468367.020 РЭ | Пульт машиниста УПУ. Руководство по эксплуатации |
| КШМС.667410.008-65 РЭ | Комплекс туалета экологически чистого "Экотол-ЭП-И" для головного вагона электропоезда ЭД4М. Инструкция персоналу по монтажу, испытаниям и обслуживанию |
172 | ОБС.463.114 ТО | Контакторы электромагнитные серии КМ2000. Техническое описание и инструкция по эксплуатации |
173 | ОВП 072 РЭ | Моноблочная установка обеззараживания воздуха МЕГАЛИТ 2ЭП. Руководство по эксплуатации |
174 | ОВП 119 РЭ | Установка обеззараживания воздуха МЕГАЛИТ 2ЖТ.030. Руководство по эксплуатации |
| ОКЖ.414.003 РЭ | Руководство оператора. Инструкция по настройке и проверке ПО аппаратуры МПСУТП электропоезда ЭД9Э |
| ПГЮИ.303381.023 ТО | Комплект приводов управления дверьми ПУД-Э-023. Техническое описание |
| ПМИЯ 002.00.0000.00 РЭ | Комплекс технических средств пожарной и охранной сигнализации, оповещения видеонаблюдения и диагностики КТС-ПОС-ОВД. Руководство по эксплуатации |
178 | СМПК.421415.004-01 РЭ | Блок автоматического управления СВиО. Руководство по эксплуатации |
179 | СОК ГЭП01.00.00.00.000 РЭ | Система обеспечения климата салонов вагонов городского электропоезда. Руководство по эксплуатации |
180 | СОК КМ01.00.00.00.000 РЭ | Система обеспечения климата кабины машиниста городского электропоезда. Руководство по эксплуатации |
181 | СТ022.85.02.00.000 РЭ | Система обеспечения микроклимата на поезда серии ЭД4. Руководство по эксплуатации |
| СТ1115/04, СТ1115/08, СТ1130/04, СТ1130/08 | Однополюсные силовые контакторы переменного и постоянного тока. Инструкция по техническому обслуживанию |
183 | С883.00.00РЭ | Руководство по технической эксплуатации тиристорных шунтов |
| ТМ120.01.05.000 РЭ | Руководство по эксплуатации беззазорного сцепного устройства БСУ-ТМ |
185 | ТП 7805-0031 РЭ | Пневмомодуль ПМ-01-05 (03)-110DC |
186 | ТТ410.85.25.000РЭ | Система обеспечения микроклимата на поезда серии ЭД9. Руководство по эксплуатации |
| ТЭК-ВКУ-001-РЭ-2004 | Компрессорная установка винтовая для электропоездов ВКУ-0,6-ЭП. Руководство по эксплуатации и монтажу |
| ТЮКН.426471.020-01 РЭ | Блок управления контактором защиты (БУКЗ-МК.01). Руководство по эксплуатации |
| ТЮКН.426471.028 РЭ | Стабилизатор зарядного напряжения (СЗН-МК). Руководство по эксплуатации |
190 | ТЮКН.426471.034 РЭ | Блок управления и стабилизации напряжения (БУС-МК). Руководство по эксплуатации |
191 | Т7П. 00.00.000 РЭ | Аппарат поглощающий с полимерными упругими элементами для автосцепных устройств пассажирского подвижного состава. Руководство по эксплуатации и техническому обслуживанию |
| ФКГП 385.10.00.000 РЭ | Дверной блок прислонно-сдвижного типа. Руководство по эксплуатации |
193 | ФКГП 549.00.00.000 РЭ | Комплект дверей внутренних сдвижных электропоезда. Руководство по эксплуатации |
| CVB15/CVB25 | Вакуумный выключатель, работающий на переменном токе серии CVB. Руководство по эксплуатации |
| - | Контакторы электромагнитные серий СН500, СН715, СН800, С801, СН802, СН815, СН829, СН1030, СН1130. Руководство по эксплуатации |
| 11.08.1995 г. | Инструкция по сварочным и наплавочным работам при ремонте тепловозов, электровозов и дизель-поездов |
197 | 11.06.1995 г. | Инструкция по техническому обслуживанию и ремонту узлов с подшипниками качения локомотивов и моторвагонного подвижного состава |
| Руководство 6ТС.260.016-02 РЭ | Руководство по эксплуатации |
(обязательное)
ДЕТАЛЕЙ, ПОДЛЕЖАЩИХ НЕРАЗРУШАЮЩЕМУ КОНТРОЛЮ
Таблица Б.1
Наименование узлов и деталей | Зоны контроля | Периодичность контроля | Метод контроля |
1 | 2 | 3 | 4 |
1 Колесная пара |
1.1 Ось (свободная) | Вся поверхность | При освидетельствовании колесной пары с заменой оси | МПК |
1.2 Ось частично разобранной колесной пары (открытые части) | Шейки, предподступичные части, средняя и другие открытые поверхности | При освидетельствовании колесной пары без замены оси | МПК |
1.3 Шейки и подступичные части оси | По акустической схеме контроля | При освидетельствовании колесной пары | УЗК |
1.4 Колесный центр | Углы между спицами | При освидетельствовании колесной пары | ВТК или МПК |
1.5 Цельнокатаное колесо | Обод, приободная зона диска, переход от диска к ступице, кромки ступицы | При освидетельствовании колесной пары | ВТК, или МПК |
1.6 Бандажи | Внутренняя обработанная поверхность | Перед насадкой на колесный центр | МПК |
Основное сечение, гребень, поверхность катания и подповерхностная зона | При освидетельствовании колесной пары | УЗК |
Гребень, прижимной бурт | До и после упрочнения | ВТК |
Кромки внутренней и наружной боковой поверхностей | При освидетельствовании колесной пары | ВТК |
1.7 Венец зубчатого колеса | Межзубные впадины, зубья | При освидетельствовании колесной пары | МПК и УЗК |
Торцы | При освидетельствовании колесной пары | ВТК или МПК |
1.8 Стопорная планка буксовой гайки | Вся поверхность | Перед монтажом в буксовый узел | МПК |
1.9 Призонные болты зубчатого колеса | Вся поверхность | Перед монтажом зубчатого венца и установкой болтов | МПК |
2 Тяговый редуктор |
2.1 Шестерня | Межзубные впадины, зубья | Перед монтажом в корпус редуктора | МПК |
Торцы | Перед монтажом в корпус редуктора | ВТК или МПК |
2.2 Вал шестерни | Вся поверхность | При сборке узла шестерни и при монтаже в корпус редуктора | МПК и УЗК |
2.3 Фланцы упругой муфты | Все поверхности | Перед монтажом на валы | МПК или ВТК |
2.4 Болты упругой муфты | Все поверхности | Перед монтажом | МПК |
3 Детали подвески тягового редуктора |
3.1 Стержень | Все поверхности | Перед монтажом | МПК |
3.2 Серьга, подвесной и шарнирный болт, предохранительная пластина | Все поверхности | Перед монтажом | МПК |
3.3 Хвостовик верхней половины корпуса редуктора | Вся поверхность | Перед монтажом | МПК |
4 Гасители колебаний | | | |
4.1 Поводок, рычаги и оси фрикционных гасителей | Все поверхности | Перед сборкой | МПК |
5 Тележки |
5.1 Серьги, цапфы подрессорных балок (брусьев), болты рессорного подвешивания | Все поверхности | Перед сборкой | МПК |
5.2 Проушины центрального подвешивания, буксовые поводки, предохранительные стержни, валики, поводки (тяги) надрессорного бруса, средние подвески, рычаги надбуксового подвешивания, шкворни | Все поверхности | Перед сборкой | МПК |
5.3 Сварные швы рамы и надрессорного бруса | По всей длине | Перед сборкой | ВТК или МПК |
6 Болты крепления тяговых двигателей, подвесные болты вспомогательных машин, реактора, балки подвешивания трансформаторов, главных компрессоров | Все поверхности | Перед установкой агрегатов на вагон | МПК |
7 Подвески тормозной рычажной передачи и тормозных башмаков | Все поверхности | Перед сборкой | МПК |
8 Автосцепное устройство |
8.1 Корпус автосцепки | Поверхность хвостовика, переход от хвостовика к головной части | При каждой установке детали | ВТК и МПК |
Кромки отверстия для клина тягового хомута, верхний и нижний углы окна для замка и замко-держателя, угол сопряжения боковой и ударной поверхностей большого зуба, угол сопряжения тяговой и боковой поверхностей большого зуба |
8.2 Тяговый хомут | Тяговые полосы, соединительные планки, переходы от соединительных планок к тяговым полосам, переходы от задней опорной части к тяговым полосам, переходы от ушек для болтов к тяговой полосе, переходы от приливов отверстия для клина к тяговым полосам | При каждой установке детали | ВТК |
8.3 Клин и валик тягового хомута, маятниковая подвеска, стяжной болт поглощающего аппарата | Все поверхности | Перед монтажом | МПК |
| | ИС МЕГАНОРМ: примечание. Нумерация пунктов дана в соответствии с официальным текстом документа. | |
|
8.3 Детали беззазорного сцепного устройства БСУ-ТМ Шаровой палец шарнирного узла-сфера, стопоры автоматических замков, стопоры ручных замков, конус центрирующий переходник | В соответствии с требованиями производителя | Перед монтажом | МПК |
9 Тяговые двигатели и вспомогательные электрические машины |
В соответствии с требованиями документа "Электрические машины электропоездов. Общее руководство по ремонту" 104.03.00672-2009 КО |
10 Роликовые подшипники качения |
10.1 Внутренние и наружные кольца, ролики | Все поверхности | При ревизии подшипниковых узлов II объема | МПК |
10.2 Ролики подшипников буксового узла | Цилиндрическая поверхность | При ревизии подшипниковых узлов II объема | ВТК |
10.3 Латунный сепаратор подшипника буксового узла | Диски и перемычки по периметру окон под ролики | При ревизии подшипниковых узлов II объема | ВТК |
11 Компрессор (главный и вспомогательный) |
11.1 Коленчатый вал | Шейки шатунные и коренные | Перед сборкой | МПК |
11.2 Шатуны, пальцы поршней, болты шатунов, шпильки, оси эксцентриковые | Все поверхности | Перед сборкой | МПК |
12. Токоприемник Синхронизирующая тяга токоприемника | Все поверхности | Перед сборкой | МПК |
(обязательное)
ДОПУСКИ И ИЗНОСЫ КУЗОВОВ ВАГОНОВ
Таблица В.1
В миллиметрах
Наименование деталей и размеров | Серия электропоезда | Размер |
Чертежный | Допустимый при выпуске из ремонта КР-1, КР-2 | Браковочный в эксплуатации |
1 | 2 | 3 | 4 | 5 |
1 Рама кузова |
1.1 Перекос боковых стен кузова по вертикали на уровне рамы | ЭД2Т, ЭД4, ЭД4М, ЭД4МК, ЭД9М, ЭД9МК, ЭД9Т, ЭМ2, ЭМ2К, ЭР2, ЭР9в/и, ЭТ2, ЭТ2М | 5, не более | 30 | 50, более |
1.2 Расстояние между хребтовыми балками в местах установки поглощающего аппарата | ЭД2Т, ЭД4, ЭД4М, ЭД4МК, ЭД9М, ЭД9МК, ЭД9Т | 328-1 | 328-1 | 328, более |
ЭТ2, ЭТ2М | 330 +/- 3 | | 337, более 325, менее |
1.3 Толщина полки угольника, образующего гнездо пятника | ЭМ2, ЭМ2К, ЭР2, ЭР9в/и | | 12,75 - 9,50 | 9,50, менее |
ЭД2Т, ЭД4, ЭД4М, ЭД4МК, ЭД9М, ЭД9МК, ЭД9Т | 8 | 8 | 8, менее |
1.4 Ширина горизонтальной полки угольника, образующего гнездо пятника | ЭД2Т, ЭД4, ЭД4М, ЭД4МК, ЭД9М, ЭД9МК, ЭД9Т | 50 +/- 1 | 45 - 55 | 55, более |
ЭМ2, ЭМ2К, ЭР2, ЭР9в/и, ЭТ2, ЭТ2М | 35+0,34 | 30 - 40 | 40, более |
1.5 Износ вертикальных стен хребтовой балки в местах установки поглощающих аппаратов | ЭД2Т, ЭД4, ЭД4М, ЭД4МК, ЭД9М, ЭД9МК, ЭД9Т, ЭМ2, ЭМ2К, ЭР2, ЭР9в/и, ЭТ2, ЭТ2М | 3 | 3, не более | 3, более |
1.6 Расстояние между передним и задним упорными угольниками | ЭД2Т, ЭД4, ЭД4М, ЭД4МК, ЭД9М, ЭД9МК, ЭД9Т, ЭМ2, ЭМ2К, ЭР2, ЭР9в/и, ЭТ2, ЭТ2М | 625-3 | 625-3 | 622, менее |
1.7 Толщина упорной части упорных угольников | ЭД2Т, ЭД4, ЭД4М, ЭД4МК, ЭД9М, ЭД9МК, ЭД9Т, ЭМ2, ЭМ2К, ЭР2, ЭР2Р, ЭР2Т, ЭР9в/и, ЭТ2, ЭТ2М | | | 20, менее |
1.8 Местный зазор между розеткой автосцепки и лобовым брусом | ЭМ2, ЭМ2К, ЭР2, ЭР2Р, ЭР2Т, ЭР9в/и, ЭТ2, ЭТ2М | 1, не более | 1, не более | 1, более |
1.9 Местный зазор между розеткой автосцепки и хребтовой балкой | ЭМ2 ЭМ2К, ЭР2, ЭР2Р, ЭР2Т, ЭР9в/и, ЭТ2, ЭТ2М | 2, не более | 2, не более | 2, более |
1.10 Местный зазор между хребтовой балкой и упорным угольником | ЭМ2, ЭМ2К, ЭР2, ЭР2Р, ЭР2Т, ЭР9в/и, ЭТ2, ЭТ2М | 1 | 1, не более | 1, более |
1.11 Глубина местной выработки рабочей поверхности скользуна кузова | ЭМ2, ЭМ2К, ЭР2, ЭР2Р, ЭР2Т, ЭР9в/и, ЭТ2, ЭТ2М | 1 | 3, не более | 3, более |
1.12 То же, при вкладыше скользуна люлечного бруса из ДСП-Г | ЭМ2, ЭМ2К, ЭР2, ЭР2Р, ЭР2Т, ЭР9в/и, ЭТ2, ЭТ2М | 0,5 | 1,0, не более | 1,0, более |
1.13 Суммарный зазор между опорными скользунами люлечного бруса и скользунами кузова на одной тележке с пятниковой опорой | ЭМ2, ЭМ2К, ЭР2, ЭР2Р, ЭР2Т, ЭР9в/и, ЭТ2, ЭТ2М | 2 - 6 | 2 - 6 | 1, менее 8, более |
1.14 Зазор между наружной кромкой тарелей подпятника и пятника тележки прицепного вагона с увеличенным статическим прогибом | ЭД2Т, ЭД4, ЭД4М, ЭД4МК, ЭД9М, ЭД9МК, ЭД9Т, ЭМ2, ЭМ2К, ЭР2, ЭР2Р, ЭР2Т, ЭР9в/и, ЭТ2, ЭТ2М | | | 9, менее |
1.15 Зазор между наружной кромкой тарелей подпятника и пятника тележки прицепного вагона с увеличенным статическим прогибом с опорой на пятник | ЭМ2, ЭМ2К, ЭР2, ЭР2Р, ЭР2Т, ЭР9в/и, ЭТ2, ЭТ2М | 3 | 3, не менее | 1, менее |
1.16 Зазор между амортизатором шкворня и упорной шайбой на тележки моторного вагона с увеличенным статическим прогибом | ЭД2Т, ЭД4, ЭД4М, ЭД4МК, ЭД9М, ЭД9МК, ЭД9Т, ЭМ2, ЭМ2К, ЭР2, ЭР2Р, ЭР2Т, ЭР9в/и, ЭТ2, ЭТ2М | 3 | 3, не менее | 2, менее |
1.17 Расстояние между любыми подрессорными деталями тележки и кузова, измеренное по вертикали под массой тары моторного вагона | ЭД2Т, ЭД4, ЭД4М, ЭД4МК, ЭД9М, ЭД9МК, ЭД9Т, ЭМ2, ЭМ2К, ЭР2, ЭР2Р, ЭР2Т, ЭР9в/и, ЭТ2, ЭТ2М | 110 | 110, не менее | 110, менее |
1.18 То же для прицепного и головного вагона | ЭД2Т, ЭД4, ЭД4М, ЭД4МК, ЭД9М, ЭД9МК, ЭД9Т, ЭМ2, ЭМ2К, ЭР2, ЭР2Р, ЭР2Т, ЭР9в/и, ЭТ2, ЭТ2М | 130 | 130, не менее | 130, менее |
2 Упругая площадка |
2.1 Толщина накладки ударной рамы упругой площадки | ЭМ2, ЭМ2К, ЭР2, ЭР9в/и, ЭТ2, ЭТ2М | 10 | 8 - 10 | 4, менее |
2.2 Разность диагоналей просвета ударной рамы упругой площадки | ЭМ2, ЭМ2К, ЭР2, ЭР2Р, ЭР2Т, ЭР9в/и, ЭТ2, ЭТ2М | 5 | 5, не более | 5, более |
2.3 Изогнутость (качка при проверке на плите) ударной рамы | ЭМ2, ЭМ2К, ЭР2, ЭР2Р, ЭР2Т, ЭР9в/и, ЭТ2, ЭТ2М | 3 | 3, не более | 3, более |
2.4 Прогиб ударной рамы на всю длину | ЭМ2, ЭМ2К, ЭР2, ЭР2Р, ЭР2Т, ЭР9в/и, ЭТ2, ЭТ2М | 4 | 4, не более | 10, более |
2.5 Смещение середины листов рессоры от центра хомута | ЭМ2, ЭМ2К, ЭР2, ЭР2Р, ЭР2Т, ЭР9в/и, ЭТ2, ЭТ2М | 3 | 3, не более | 3, более |
2.6 Перекос рессоры по вертикали | ЭМ2, ЭМ2К, ЭР2, ЭР2Р, ЭР2Т, ЭР9в/и, ЭТ2, ЭТ2М | 5 | 5, не более | 5, более |
2.7 Диаметр шпинтона со стороны корпуса амортизатора | ЭМ2, ЭМ2К, ЭР2, ЭР2Р, ЭР2Т, ЭР9в/и, ЭТ2, ЭТ2М | | 58, не менее | 55, менее |
2.8 Диаметр шпинтона со стороны стакана | ЭМ2, ЭМ2К, ЭР2, ЭР2Р, ЭР2Т, ЭР9в/и, ЭТ2, ЭТ2М | | 48, не менее | 45, менее |
2.9 Диаметр отверстия во втулке корпуса амортизатора | ЭМ2, ЭМ2К, ЭР2, ЭР2Р, ЭР2Т, ЭР9в/и, ЭТ2, ЭТ2М | 62+0,4 | 64, не более | 66, более |
2.10 Диаметр отверстия во втулке стакана амортизатора | ЭМ2, ЭМ2К, ЭР2, ЭР2Р, ЭР2Т, ЭР9в/и, ЭТ2, ЭТ2М | 52+0,4 | 54, не более | 56, более |
2.11 Зазор между шпинтоном и втулкой корпуса или стакана | ЭМ2, ЭМ2К, ЭР2, ЭР2Р, ЭР2Т, ЭР9в/и, ЭТ2, ЭТ2М | 2,2 - 3,9 | 2,0 - 7,0 | 11,0, более |
2.12 Износ нижних кронштейнов ударной рамы | ЭМ2, ЭМ2К, ЭР2, ЭР2Р, ЭР2Т, ЭР9в/и, ЭТ2, ЭТ2М | - | 3, не более | 5, более |
3 Амортизатор переходной баллонной площадки |
3.1 Диаметр шпинтона в корпусе | ЭД2Т, ЭД4, ЭД4М, ЭД4МК, ЭД9М, ЭД9МК, ЭД9Т | | 129, не менее | 128, менее |
ЭМ2, ЭМ2К, ЭР2, ЭР2Р, ЭР2Т, ЭР9в/и, ЭТ2, ЭТ2М | | 143, не менее | 140, менее |
3.2 Диаметр шпинтона во фланце | ЭД2Т, ЭД4, ЭД4М, ЭД4МК, ЭД9М, ЭД9МК, ЭД9Т | | 129, не менее | 128, менее |
ЭМ2, ЭМ2К, ЭР2, ЭР2Р, ЭР2Т, ЭР9в/и, ЭТ2, ЭТ2М | | 133, не менее | 130, менее |
3.3 Диаметр отверстия в корпусе под шпинтон | ЭД2Т, ЭД4, ЭД4М, ЭД4МК, ЭД9М, ЭД9МК, ЭД9Т | 132+0,26 | 133, не более | 136, более |
ЭМ2, ЭМ2К, ЭР2, ЭР2Р, ЭР2Т, ЭР9в/и, ЭТ2, ЭТ2М | 145+0,26 | 146, не более | 149, более |
3.4 Диаметр отверстия во фланце под шпинтон | ЭД2Т, ЭД4, ЭД4М, ЭД4МК, ЭД9М, ЭД9МК, ЭД9Т | 132+0,26 | 133, не более | 136, более |
ЭМ2, ЭМ2К, ЭР2, ЭР2Р, ЭР2Т, ЭР9в/и, ЭТ2, ЭТ2М | 135+0,26 | 136, не более | 139, более |
4 Пневматические двери |
4.1 Зазор между створками двери в закрытом положении | ЭМ2, ЭМ2К, ЭР2, ЭР2Р, ЭР2Т, ЭР9в/и, ЭТ2, ЭТ2М | 2 | 2, не более | 3, более |
4.2 Диаметр цилиндра внутренний | ЭД2Т, ЭД4, ЭД4М, ЭД4МК, ЭД9М, ЭД9МК, ЭД9Т, ЭР9в/и, ЭМ2, ЭМ2К, ЭР2, ЭР2Р, ЭР2Т, ЭТ2, ЭТ2М | 36,0+0,34 | 36,5, не более | 37,0, более |
4.3 Диаметр направляющей втулки внутренний | ЭД2Т, ЭД4, ЭД4М, ЭД4МК, ЭД9М, ЭД9МК, ЭД9Т | 15,0+0,11 | 15,3, не более | 15,5, более |
ЭМ2, ЭМ2К, ЭР2, ЭР2Р, ЭР2Т, ЭР9в/и, ЭТ2, ЭТ2М | 15,0+0,03511 | 15,3, не более | 15,5, более |
4.4 Диаметр штока | ЭД2Т, ЭД4, ЭД4М, ЭД4МК, ЭД9М, ЭД9МК, ЭД9Т | | 14,5, не менее | 14,0, менее |
ЭМ2, ЭМ2К, ЭР2, ЭР2Р, ЭР2Т, ЭР9в/и, ЭТ2, ЭТ2М | | 14,5, не менее | 14,0, менее |
(обязательное)
ИНСТРУМЕНТА И ИНВЕНТАРЯ ЭЛЕКТРОПОЕЗДА,
НАПРАВЛЯЕМОГО В РЕМОНТ
При следовании в ремонт и из ремонта электропоезд должен быть укомплектован инструментом и инвентарем. В наборе должны быть:
- молоток слесарный;
- бородок;
- зубило слесарное;
- кувалда;
- набор слесарных ключей;
- набор ключей (дверной, трехгранный, четырехгранный);
- реверсивная рукоятка;
- бидон для смазки вместимостью 20 л;
- масленка вместимостью 3 л;
- ломик;
- фонарь ручной сигнальный;
- огнетушитель сухой;
- ведро пожарное с песком и совком;
- башмаки тормозные;
- зеркало обратного вида.
(обязательное)
ДОПУСКИ И ИЗНОСЫ ДЕТАЛЕЙ ТЕЛЕЖЕК
Таблица Д.1
В миллиметрах
Наименование деталей и размеров | Серия электропоезда | Размер |
Чертежный | Допустимый при выпуске из ремонта КР-1, КР-2 | Браковочный в эксплуатации |
1 | 2 | 3 | 4 | 5 |
1 Тележки |
1.1 Расстояние между продольными балками рамы тележки: |
- тележки моторного вагона | ЭД2Т, ЭД4, ЭД4М, ЭД4МК, ЭР2Р, ЭР2Т ЭД9Т, ЭТ2, ЭТ2М | 1880 +/- 2 | 1880,0 +/- 8,0 | 1892,0 более, 1868,0 менее |
ЭМ2, ЭМ2К, ЭР2, ЭР2Р | 1880,0 +/- 2,5 |
- тележки головного и прицепного вагона | ЭД2Т, ЭД4, ЭД4М, ЭД4МК, ЭД9Т, ЭМ2, ЭМ2И, ЭМ2К, ЭМ4, ЭР2Р, ЭР2Т | 1886 +/- 2,5 | 1886,0 +/- 8,0 | 1898,0, более, 1874,0, менее |
ЭТ2, ЭТ2М | 1880 +/- 2 |
1.2 Расстояние между внутренними плоскостями пазов буксовых поводков в одном кронштейне | ЭД2Т, ЭД4, ЭД4М, ЭД4МК, ЭД9Т, ЭР2Р, ЭР2Т, ЭТ2, ЭТ2М | 180+0,5 | 180+1,0 | - |
1.3 Расстояние между внутренними плоскостями кронштейнов буксовых поводков вдоль оси колесной пары | ЭД2Т, ЭД4, ЭД4М, ЭД4МК, ЭД9Т, ЭР2Р, ЭР2Т, ЭР9Т, ЭТ2, ЭТ2М | | 1950 +/- 2 | - |
1.4 Расстояние между осями шпинтонов противоположных сторон рамы тележки прицепного вагона (вдоль оси колесной пары) | ЭД2Т, ЭД4, ЭД4М, ЭД4МК, ЭД9Т, ЭМ2, ЭМ2К, ЭР2Т, ЭР2Р, ЭР9Т, ЭТ2, ЭТ2М | 2036 +/- 2 | 2036 +/- 2 | - |
1.5 Расстояние между наружными гранями наличников вдоль оси колесной пары, замеренной в верхних и нижних частях: моторная тележка с диаметром шейки оси 130 мм | ЭМ2, ЭМ2К, ЭР2Т, ЭР2Р, ЭР9Т | 2298-1 | 2298-1 | - |
1.6 Зазоры между наличниками буксовых направляющих и буксами в тележках моторных вагонов суммарно на обе стороны: |
- в продольном направлении для моторных тележек электропоездов | ЭМ2, ЭМ2К, ЭР2Т, ЭР2Р | 1 - 3 | 1 - 3 | 5, более |
- в поперечном направлении для моторных тележек электропоездов | ЭМ2, ЭМ2К, ЭР2Т, ЭР2Р | 2 - 4 | 2 - 4 | 7, более |
1.7 Смещение осей пазов под валик буксового поводка относительно друг друга в одном кронштейне | ЭР9Т, ЭТ2, ЭТ2М | 0,2 | 0,3 | - |
1.8 Смещение внутренней поверхности паза для поводков в кронштейнах рамы одной боковины | ЭД2Т, ЭД4, ЭД4М, ЭД4МК, ЭД9М, ЭД9МК, ЭД9Т, ЭР2Р, ЭР2Т, ЭР9Т, ЭТ2, ЭТ2М | 0,5 | 0,7 | - |
1.9 Разность расстояний между вертикальными осями надбуксового подвешивания (или шпинтонов) одной и другой продольных балок рамы тележки прицепного вагона | ЭМ2, ЭМ2К, ЭР2, ЭР2Р, ЭР2Т, ЭР9Т ЭТ2, ЭТ2М | 2,0 | 2,0 | - |
1.10 Расстояние между наличниками буксовых направляющих в одном буксовом проеме для электропоездов с диаметром шейки оси 130 мм | ЭМ2, ЭМ2К, ЭР2, ЭР9Т | 320 - 321 | 320 - 321 | - |
1.11 Расстояние между осями пазов на кронштейнах рамы для валиков поводков в одном буксовом проеме (моторные вагоны, бесчелюстных тележек) | ЭР2Р, ЭР2Т, ЭТ2, ЭТ2М | 1000 +/- 0,75 | 1000 +/- 1,00 | - |
1.12 Разность расстояний между осями шпинтонов противоположных сторон рамы тележки прицепного вагона | ЭД2Т, ЭД4, ЭД4М, ЭД4МК, ЭД9М, ЭД9МК, ЭД9Т, ЭТ2, ЭТ2М, ЭР2Р, ЭР2Т | 2, не более | 2, не более | - |
1.13 Разность диагоналей по вертикальным осям надбуксового подвешивания тележки прицепного вагона | ЭД2Т, ЭД4, ЭД4М, ЭД4МК, ЭД9М, ЭД9МК, ЭД9Т, ЭТ2, ЭТ2М | 4, не более | 5 | - |
ЭМ2, ЭМ2К, ЭР2, ЭР2Р, ЭР2Т, ЭР9Т | 4 | 5 | - |
1.14 Непараллельность осей пазов на расстоянии 45 +/- 0,1 мм кронштейнов буксовых поводков между собой, не более | ЭР2Р, ЭР2Т, ЭР9Т, ЭТ2, ЭТ2М | 1 | 1 | - |
1.15 То же, относительно привалочных поверхностей поперечных балок под тяговые двигатели на длине 500 мм, не более | ЭР2Р, ЭР2Т, ЭР9Т, ЭТ2, ЭТ2М | 2 | 2 | - |
1.16 Суммарный зазор между боковыми скользунами тележки и скользунами верхнего люлечного бруса |
- для моторного вагона | ЭР2Т, ЭР9Т | | 1 - 4 | 7, более, 1, менее |
- для прицепного и головного вагонов | ЭР2Т, ЭР9Т | 5, не более | 5, не более | 8, более |
1.17 Зазор между вертикальными скользунами поперечной балки тележки и надрессорным брусом прицепной тележки КВЗ-ЦНИИ: |
- на сторону | ЭД2Т, ЭД4, ЭД4М, ЭД4МК, ЭД9М, ЭД9МК, ЭД9Т, ЭТ2, ЭТ2М | 5, не менее | 5 | - |
ЭМ2, ЭМ2К, ЭР2, ЭР9П | 5 | 5 | - |
- суммарный | ЭТ2, ЭТ2М | 25, не более | 25 | - |
ЭР2Р, ЭР2Т | 25 | 25 | - |
1.18 Расстояние от нижней точки путеочистителя до головок рельса под тарой вагона для электропоездов с тележками КВЗ-ЦНИИ: |
| ЭР2Р, ЭР2Т, ЭР9Т | 180+6 | 180 - 186 | 170, менее |
ЭД2Т, ЭД4М, ЭД9М, ЭД9МК, ЭД9Т | 180-5 | 175 - 180 |
ЭТ2, ЭТ2М | 180 +/- 6 | 174 - 186 |
1.19 Зазор между надрессорным брусом и предохранительной скобой тележек КВЗ-ЦНИИ под тарой вагона: |
| ЭР2Т, ЭР9Т | | 130, не менее | 120, менее |
1.20 Зазор между крюком поддона и предохранительной скобой тележки КВЗ-ЦНИИ под тарой вагона: |
| ЭР9Т | 50+20 | 50, не менее | 75, более, 45, менее |
| ЭД2Т, ЭД4, ЭД4М, ЭД4МК, ЭД9М, ЭД9МК, | 50+10 | 50, не менее | 75, более, 45, менее |
1.21 Односторонний зазор между скользунами надрессорного бруса и скользунами продольных балок тележки КВЗ-ЦНИИ: |
| ЭД2Т, ЭД4, ЭД4М, ЭД4МК, ЭД9М, ЭД9МК, ЭД9Т | 35, не менее | 35, не менее | 30, менее |
1.22 Зазор между надрессорным брусом и продольными балками тележки КВЗ-ЦНИИ (замеряется по центрам пружин под тарой вагонов): |
| ЭД2Т, ЭД4, ЭД4М, ЭД4МК, ЭД9М, ЭД9МК, ЭД9Т, ЭМ2, ЭМ4, ЭР2Р, ЭР2Т | 23, не менее | 23, не менее | - |
1.23 Зазор между рамой тележки и потолком буксы прицепного и головного вагонов | ЭД2Т, ЭД4, ЭД4М, ЭД4МК, ЭД9М, ЭД9МК, ЭД9Т, ЭР2Р, ЭР9Т | 50, не менее | 50, не менее | 45, менее |
ЭР2Р, ЭР2Т, ЭТ2, ЭТ2М | 60 | 55 | 45, менее |
1.24 Зазор между рамой тележки и потолком бесчелюстной буксы моторного вагона: |
| ЭД2Т, ЭД4, ЭД9Т, ЭР2Р, ЭР2Т, ЭР9Т, ЭТ2, ЭТ2М | 50, не менее | 50, не менее | 45, менее |
1.25 Суммарный зазор между проушинами корпуса буксы и балансиром тележки моторного вагона | ЭР2Р, ЭР2Т, ЭР9Т | 1 - 5 | 1 - 7 | - |
1.26 Радиальный зазор между валиком и втулкой балансира тележки моторного вагона | ЭР2, ЭР2Т, ЭР9Т | 0,4 - 0,8 | 0,4 - 1,5 | 3,0, не более |
1.27 Зазор между буксовым балансиром и опорным стаканом тележки моторного вагона | ЭР2Р, ЭР2Т, ЭР9Т | 0 - 0,5 | 0 - 0,1 | - |
1.28 Вертикальный зазор между крылом корпуса буксы и опорным кольцом спиральной пружины тележек прицепного и головного вагонов | ЭР2Р, ЭР2Т, ЭР9Т, ЭТ2, ЭТ2М | 8 | 7 | 3, менее |
1.29 Минимальный зазор между серьгой подвески редуктора и ребром кронштейна под тарой вагона | ЭР2Р, ЭР2Т, ЭР9Т | 8 | 8 | 6 |
1.30 Зазор между предохранительной вилкой серповидной подвески редуктора и предохранительной гайкой под тарой вагона | ЭР2Р, ЭР2Т, ЭР9Т | 8+2 | 8, не менее | 6, менее |
2 Упругая муфта |
2.1 Расстояние между наружными плоскостями фланцев редуктора тягового двигателя и упругой муфты | ЭД2Т, ЭД4, ЭД4М, ЭД9М, ЭД9МК, ЭД9Т, ЭР2Р, ЭР2Т, ЭР9Т, ЭТ2, ЭТ2М | 174 +/- 3 | 171 - 177 | - |
ЭР2Р, ЭР2Т, ЭР9Т | 158 - 170 | 158 - 170 | - |
2.2 Смещение фланцев упругой муфты в вертикальной плоскости под тарой вагона (фланец тягового двигателя выше фланца редуктора) | ЭД2Т, ЭД4, ЭД4М, ЭД4МК, ЭД9М, ЭД9МК, ЭД9Т, ЭР2Р, ЭР2Т, ЭР9Т, ЭТ2, ЭТ2М | 3,0 +/- 1,5 | 3,0 +/- 1,5 | 4,5, более, 1,5, менее |
ЭР9Е | 3+1 | 3 - 4 | 4, более, 2, менее |
2.3 Минимальный зазор между резино-кордовой оболочкой и корпусом заземления под тарой вагона | ЭР9МК, ЭР9П, ЭР9ПК | 10 | 10 | 8, менее |
3 Буксовые направляющие |
3.1 Диаметр отверстий под болты на привалочной полке | ЭР2Р, ЭР2Т, ЭР9Т | 20,0 | 20,0 - 21,5 | - |
3.2 Овальность отверстий под болты на привалочной полке | ЭР2Р, ЭР2Т, ЭР9Т | в пределах допуска на диаметр отверстия |
4 Наличники буксовых направляющих |
4.1 Ширина наличника для тележек электропоездов с диаметром шейки 130 мм | ЭР2Р, ЭР2Т, ЭР9Т | 170 | 170 - 172 | - |
4.2 Толщина наличника для тележек электропоездов с диаметром шейки 130 мм | ЭР2Р, ЭР2Т, ЭР9Т | | 11 - 16 | 7, менее |
4.3 Толщина упорного бурта для тележек электропоездов с диаметром шейки 130 мм | ЭД2Т, ЭД4, ЭД4М, ЭД4МК, ЭД9М, ЭД9МК, ЭД9Т, ЭР2Р, ЭР2Т, ЭР9Т, ЭТ2, ЭТ2М | | 11 - 16 | 7, менее |
5 Фрикционный гаситель буксового подвешивания прицепной тележки |
5.1 Износ бурта втулки шпинтона чертеж 27.20-112, 30.31-102 | ЭР2Т, ЭР2Р, ЭР9Т | - | 4 | 7, более |
5.2 Износ втулок шпинтонов по диаметру | ЭР2Т, ЭР2Р, ЭР9Т | - | 2 | 5 |
5.3 Износ сухарей | ЭР2Р, ЭР2Т, ЭР9Т | - | 2 | 5 |
5.4 Износ кольца по поверхности трения | ЭР2Р, ЭР2Т, ЭР9Т | - | 2 | 5 |
5.5 Диаметр стержня шпинтона буксового подвешивания | ЭТ2, ЭТ2М | 67-0,74 | 63, не менее | 58, менее |
ЭР2Р, ЭР2Т, ЭР9Т | 67-0,20 | 63, не менее | 58, менее |
5.6 Толщина резинового кольца под пружину буксового подвешивания моторного вагона | ЭР2Р, ЭР2Т, ЭР9Т | 24 | 21, не менее | - |
5.7 Толщина резинового кольца под пружину буксового подвешивания прицепного вагона | ЭД2Т, ЭД4, ЭД4М, ЭД4МК, ЭД9М, ЭД9МК, ЭД9Т, ЭР2Р, ЭР2Т, ЭР9Т, ЭТ2, ЭТ2М | 37 | 34, не менее | - |
6 Фрикционный гаситель буксового подвешивания моторной тележки |
6.1 Толщина фрикционной накладки рычага | ЭД2Т, ЭД4, ЭД4М, ЭД4МК, ЭД9М, ЭД9МК, ЭД9Т, ЭР2Р, ЭР2Т, ЭР9Т | 8,0 +/- 0,1 | 7,0 - 8,1 | 4,0, менее |
ЭТ2, ЭТ2М | 8,0 +/- 0,5 | 7,0 - 8,1 | 4,0, менее |
6.2 Толщина крышки | ЭР2Р, ЭР2Т, ЭР9Т | 12-1 | 10 - 12 | 6, менее |
6.3 Толщина опорного стакана (по месту трения фрикционной накладки) | ЭР2Р, ЭР2Т, ЭР9Т | 8+1,0 | 7 - 9 | 6, менее |
6.4 Толщина шайбы, укрепленной на раме | ЭД2Т, ЭД4, ЭД4М, ЭД4МК, ЭД9М, ЭД9МК, ЭД9Т | 8+0,5 | 7 - 8 | 5, менее |
ЭР2Р, ЭР2Т, ЭР9Т | 8 | 7 - 8 | 5, менее |
6.5 Высота пружины в свободном состоянии | ЭД2Т, ЭД4, ЭД4М, ЭД4МК, ЭД9М, ЭД9МК, ЭД9Т, ЭР2Р, ЭР2Т, ЭР9Т, ЭТ2, ЭТ2М | | 95, не менее | 90, менее |
6.6 Расстояние между чашкой и опорным стаканом у собранного гасителя | ЭД2Т, ЭД4, ЭД4М, ЭД4МК, ЭД9М, ЭД9МК, ЭД9Т, ЭР2Р, ЭР2Т, ЭТ2, ЭТ2М | 38,0 +/- 0,5 | 38,0 +/- 0,5 | 38,5, более, 37,5, менее |
6.7 Диаметр опорного стакана в месте трения о втулку рычага | ЭД2Т, ЭД4, ЭД4М, ЭД4МК, ЭД9М, ЭД9МК, ЭД9Т, ЭР2Т, ЭР2Р, ЭТ2, ЭТ2М | | 114, не менее | - |
6.8 Внутренний диаметр втулки в рычаге | ЭД2Т, ЭД4, ЭД4М, ЭД4МК, ЭД9М, ЭД9МК, ЭД9Т, ЭТ2, ЭТ2М | 115+0,35 | 115+0,35 | - |
ЭР2Р, ЭР2Т | 115+0,46 | 115+0,46 | - |
6.9 Расстояние между опорной поверхностью под пружину шайбы и рычага для гасителя, чертеж 62.30.00.012 | ЭР2Р, ЭР2Т | 67,0 +/- 0,5 | 67,0 +/- 0,5 | 67,5, более, 66,5, менее |
ЭР9Т | 62,0 +/- 0,5 | 62,0 +/- 0,5 | 62,5, более, 61,5, менее |
6.10 Диаметр оси в местах посадки рычага | ЭР2Р, ЭР2Т, ЭР9Т | | 24, не менее | - |
6.11 Толщина шайбы амортизатора поводка | ЭР2Р, ЭР2Т, ЭР9Т | 15 | 13 - 15 | 8, менее |
7 Поводок надрессорного бруса моторных и прицепных тележек КВЗ-ЦНИИ |
7.1 Высота амортизатора поводка: |
- прицепного и головного вагонов | ЭД2Т, ЭД4, ЭД4М, ЭД4МК, ЭД9М, ЭД9МК, ЭД9Т, ЭР2Р, ЭР2Т, ЭР9Т, ЭТ2, ЭТ2М | 42 +/- 1 | 39, не менее | - |
- моторного вагона | ЭД2Т, ЭД4, ЭД4М, ЭД4МК, ЭД9М, ЭД9МК, ЭД9Т, ЭР2Р, ЭР2Т ЭТ2, ЭТ2М | 54 +/- 1 | 51, не менее | - |
8 Подрессорная балка моторной тележки |
8.1 Диаметр цапфы под подвеску моторного вагона | ЭР2Т, ЭР2Р, ЭР9Т | 60 | 59 - 60 | 53, менее |
9 Подвеска моторной и прицепной тележки |
9.1 Толщина перемычки головки подвески | ЭД2Т, ЭД4, ЭД4М, ЭД4МК, ЭД9М, ЭД9МК, ЭД9Т | 22 | 21 | 18, менее |
ЭР2Т, ЭР2Р, ЭР9Т | 43,5 | 41,5 | 34,0, менее |
9.2 Разница расстояний по центрам отверстий у двух подвесок, установленных на одну сторону центрального подвешивания | ЭР2Р, ЭР2Т, ЭР9Т | 0,5 | 0,5 | - |
10 Центральное подвешивание |
10.1 Диаметр отверстия во втулке под валик с резьбой: |
- тележка моторного вагона | ЭР2Т, ЭР2Р, ЭР9Т, ЭТ2, ЭТ2М | 60,0+0,3 | 60,0 - 61,5 | 62,0, более |
- тележка прицепного вагона | ЭД2Т, ЭД4, ЭД4М, ЭД4МК, ЭД9М, ЭД9МК, ЭД9Т, ЭТ2, ЭТ2М | 65,0+0,19 | 65,0 - 66,5 | 67,0, более |
ЭР2Т, ЭР2Р, ЭР9Т | 65,0+0,3 | 65,0 - 66,5 | 67,0, более |
10.2 Диаметр валика с резьбой: |
- тележка моторного вагона | ЭД2Т, ЭД4, ЭД4М, ЭД4МК, ЭД9М, ЭД9МК, ЭД9Т, ЭТ2, ЭТ2М | | | 58, менее |
ЭР2Т, ЭР2Р, ЭР9Т | | | 58, менее |
- тележка прицепного вагона | ЭД2Т, ЭД4, ЭД4М, ЭД4МК, ЭД9М, ЭД9МК, ЭД9Т, ЭТ2, ЭТ2М | 64,5-0,30 | | 63,0, менее |
ЭР2Т, ЭР2Р, ЭР9Т | | | 63, менее |
10.3 Радиальный зазор в шарнирах | ЭР2Т, ЭР2Р, ЭР9Т, ЭТ2, ЭТ2М | 0,1 - 0,8 | 0,1 - 2,0 | 4,0, более |
10.4 Износ в цилиндрических опорных поверхностях подшипников серег и шайб подвески по высоте | ЭР2Т, ЭР2Р, ЭР9Т | - | 1 | - |
10.5 Толщина перемычки головки подвески (тяги) тележки: |
- прицепного и головного вагонов | ЭР9Т | 43,5 | 42,5 | 34,0, менее |
ЭР2Р, ЭР2Т | 48,5 | 47,5 | 42,0, менее |
- моторного вагона | ЭТ2, ЭТ2М | | | 41, менее |
| ЭР2Т, ЭР2Р, ЭР9Т | 30 | 29 | 26, менее |
10.6 Диаметр средней части валика верхнего шарнира: |
- тележки головного и прицепного вагонов | ЭД2Т, ЭД4, ЭД4М, ЭД4МК, ЭД9М, ЭД9МК, ЭД9Т | 45,0+0,5 | 44,0 - 45,5 | 43,0, менее |
ЭР2Р, ЭР2Т, ЭР9Т | 62,0+0,5 | 61,0 - 62,5 | 60,0, менее |
- тележки моторного вагона | ЭР2Р, ЭР2Т, ЭР9Т | 45,0+0,5 | 44,0 - 45,5 | 43,0, менее |
10.7 Расстояние от оси отверстия подвески (тяги) до опорной поверхности на тележке прицепного вагона | ЭР2Р, ЭР2Т, ЭТ2, ЭТ2М | 179,00 +/- 1,25 | 177,75 - 181,00 | 183,00, более |
10.8 Разница расстояния (179 мм) от оси отверстия до опорных поверхностей тяг одной подвески | ЭР2Р, ЭР2Т, ЭР9Т, ЭТ2, ЭТ2М | 0,5 | 0,5 | - |
10.9 Расстояние между центрами отверстий у подвески: |
- головных и прицепных тележек КВЗ-ЦНИИ | ЭД2Т, ЭД4, ЭД4М, ЭД4МК, ЭД9М, ЭД9МК, ЭД9Т, ЭМ2, ЭМ2К, ЭР2, ЭР2Р, ЭР2Т, ЭР9Т, ЭТ2, ЭТ2М | 585+3 | 585 - 589 | - |
- моторных тележек КВЗ-ЦНИИ | ЭД2Т, ЭД4, ЭД4М, ЭД4МК, ЭД9М, ЭД9МК, ЭД9Т, ЭР2Р, ЭР2Т, ЭР9Т, ЭТ2, ЭТ2М | 510,0 +/- 1,0 | 509,0 - 511,5 | - |
10.10 Износ вкладыша подвески моторной тележки | ЭР2Р, ЭР2Т, ЭР9Т | - | 1 | - |
10.11 Разница в длине двух штампованных серег в одной подвеске | ЭД2Т, ЭД4, ЭД4М, ЭД4МК, ЭД9М, ЭД9Т, ЭД9МК, ЭР2Р, ЭР2Т, ЭР9Т, ЭТ2, ЭТ2М | 0,6 | 0,6 | - |
11 Пружины центрального подвешивания |
11.1 Высота комплекта цилиндрических пружин тележки моторного вагона под нагрузкой 36200 Н: |
I группа | ЭР2Т, ЭР2Р | 312 - 316 | 312 - 316 | - |
II группа | 316 - 320 | 316 - 320 |
III группа | 320 - 324 | 320 - 324 |
11.2 Высота комплекта цилиндрических пружин тележки моторного вагона под нагрузкой 38200 Н: |
I группа | ЭТ2, ЭТ2М | 386 - 391 | 386 - 391 | - |
II группа | 381 - 386 | 381 - 386 |
III группа | 376 - 381 | 376 - 381 |
11.3 Высота комплекта цилиндрических пружин тележки моторного вагона под нагрузкой 43500 Н: |
I группа | ЭТ2, ЭТ2М | 383 - 388 | 383 - 388 | - |
II группа | 378 - 383 | 378 - 383 |
III группа | 373 - 378 | 373 - 378 |
11.4 Высота комплекта цилиндрических пружин тележки моторного вагона под нагрузкой 42450 Н: |
I группа | ЭР9 | 317,0 - 321,5 | 317,0 - 321,5 | - |
ЭР9П | 317,5 - 321,5 | 317,5 - 321,5 |
II группа | ЭР9 | 321,0 - 325,5 | 321,0 - 325,5 |
ЭР9П | 321,5 - 325,5 | 321,5 - 325,5 |
III группа | ЭР9 | 325,5 - 328,5 | 325,5 - 328,5 |
ЭР9П | 325,5 - 329,5 | 325,5 - 329,5 |
11.5 Высота комплекта цилиндрических пружин тележки моторного вагона под нагрузкой 31400 Н: |
I группа | ЭР2Р | 376 - 381 | 376 - 381 | - |
II группа | 381 - 386 | 381 - 386 |
III группа | 386 - 391 | 386 - 391 |
11.6 Высота комплекта цилиндрических пружин тележки моторного вагона под нагрузкой 32000 Н: |
I группа | ЭР2Т | 376 - 381 | 376 - 381 | - |
II группа | 381 - 386 | 381 - 386 |
III группа | 386 - 391 | 386 - 391 |
11.7 Высота комплекта цилиндрических пружин тележки моторного вагона под нагрузкой 37500 Н: |
I группа | ЭД2Т, ЭД4 | 373 - 378 | 373 - 378 | - |
ЭР9Т | 380 - 385 | 380 - 385 |
II группа | ЭД2Т, ЭД4 | 368 - 373 | 368 - 373 |
ЭР9Т | 385 - 390 | 385 - 390 |
III группа | ЭД2Т, ЭД4 | 363 - 368 | 363 - 368 |
ЭР9Т | 390 - 395 | 390 - 395 |
11.8 Высота комплекта цилиндрических пружин тележки моторного вагона под нагрузкой 43000 Н: |
I группа | ЭД9в/и | 378 - 383 | 378 - 383 | - |
II группа | 373 - 378 | 373 - 378 |
III группа | 368 - 373 | 368 - 373 |
11.9 Высота комплекта цилиндрических пружин тележки моторного вагона под нагрузкой 45000 Н: |
I группа | ЭД9в/и | 378 - 383 | 378 - 383 | - |
II группа | 373 - 378 | 373 - 378 |
III группа | 368 - 373 | 368 - 373 |
11.10 Высота комплекта цилиндрических пружин тележки прицепного вагона под нагрузкой 25000 Н |
I группа | ЭТ2, ЭТ2М | 415 - 420 | 415 - 420 | - |
ЭР2Р | 416 - 420 | 416 - 420 |
II группа | ЭТ2, ЭТ2М | 410 - 415 | 410 - 415 |
ЭР2Р | 410 - 415 | 410 - 415 |
III группа | ЭТ2, ЭТ2М | 405 - 410 | 405 - 410 |
ЭР2Р | 405 - 409 | 405 - 409 |
11.11 Высота комплекта цилиндрических пружин тележки головного вагона в свободном состоянии |
I группа | ЭТ2, ЭТ2М | 501 - 506 | 501 - 506 | - |
II группа | 496 - 501 | 496 - 501 |
III группа | 491 - 496 | 491 - 496 |
11.12 Высота комплекта цилиндрических пружин передней тележки головного вагона под нагрузкой 45000 Н |
I группа | ЭД2Т, ЭД4, ЭД9 | 385 - 390 | 385 - 390 | - |
II группа | 380 - 385 | 380 - 385 |
III группа | 375 - 380 | 375 - 380 |
11.13 Высота комплекта цилиндрических пружин задней тележки головного и тележки прицепного вагонов под нагрузкой 39000 Н |
I группа | ЭД2Т, ЭД4 | 385 - 390 | 385 - 390 | - |
II группа | 380 - 385 | 380 - 385 |
III группа | 375 - 380 | 375 - 380 |
11.14 Высота комплекта цилиндрических пружин задней тележки головного и тележки прицепного вагонов под нагрузкой 34000 Н |
I группа | ЭД9в/и | 385 - 390 | 385 - 390 | - |
II группа | 380 - 385 | 380 - 385 |
III группа | 375 - 380 | 375 - 380 |
11.15.1 Высота комплекта цилиндрических пружин тележки головного и прицепного вагонов под нагрузкой 25000 Н (I группа) | ЭР2, ЭР9в/и (кроме ЭР9Т) | 416 - 420 | 416 - 420 | - |
ЭР2Т | 416 - 420 | 416 - 420 |
ЭР9Т | 406 - 411 | 406 - 411 |
11.15.2 То же II группа | ЭР2, ЭР9в/и (кроме ЭР9Т) | 410 - 415 | 410 - 415 | - |
ЭР2Т | 410 - 416 | 410 - 416 |
ЭР9Т | 400 - 405 | 400 - 405 |
11.15.3 То же III группа | ЭР2, ЭР9в/и (кроме ЭР9Т) | 405 - 409 | 405 - 409 | - |
ЭР2Т | 405 - 410 | 405 - 410 |
ЭР9Т | 394 - 399 | 394 - 399 |
12 Пятник |
12.1 Диаметр отверстия для шкворня | ЭД2Т, ЭД9Т, ЭР2Р, ЭР2Т, ЭР9Т | 84+0,46 | 85 | 86, более |
12.2 Диаметр пятника | ЭД2Т, ЭР2Р, ЭР2Т, ЭР9Т | 356-1,35 | 354 | 352 |
12.3 Толщина опорного фланца | ЭД2Т, ЭД9Т, ЭР2Р, ЭР2Т, ЭР9Т | 25 +/- 1 | 23 - 26 | 23, менее |
12.4 Высота пятника от основания опорного фланца | ЭД2Т, ЭД9Т, ЭР2Р, ЭР2Т, ЭР9Т | 131-0,53 | 129 - 131 | - |
12.5 Толщина опорной стенки пятника | ЭД2Т, ЭД9Т, ЭР2Р, ЭР2Т, ЭР9Т | 20 | 15, не менее | - |
13 Подпятник |
13.1 Диаметр отверстий под шкворень | ЭД2Т, ЭД9Т, ЭР2Р, ЭР2Т, ЭР9Т, ЭТ2, ЭТ2М | 84,0 | 85,5 | 86,5 |
13.2 Толщина опорного фланца | ЭД2Т, ЭД9Т, ЭР2Р, ЭР2Т, ЭР9Т, ЭТ2, ЭТ2М | 20,0 | 19,0 - 20,0 | 17,5, менее |
13.3 Толщина опорной плоскости (дна) | ЭД2Т, ЭД9Т, ЭР2Р, ЭР2Т, ЭР9Т, ЭТ2, ЭТ2М | 25 | 23 - 25 | - |
13.4 Диаметр подпятника | ЭД2Т, ЭД9Т, ЭР2Р, ЭР2Т, ЭР9Т, ЭТ2, ЭТ2М | 358+0,68 | 360 | - |
14 Скользун нижний плоский |
14.1 Толщина коробки скользуна | ЭМ2Р, ЭР2Т, ЭР9Т | | 6 | - |
14.2 Высота скользуна в сборе | ЭР2Т, ЭР2Р, ЭР9Т | 72 +/- 1 | 65, не менее | - |
14.3 Толщина наличника скользуна рамы кузова моторного вагона | ЭР2Р, ЭР2Т, ЭР9Т | 13 | 12 - 13 | - |
14.4 Расстояние от верха скользуна до упорной поверхности подпятника | ЭР2Р, ЭР2Т, ЭР9Т | 150+0,3 | 150+0,3 | - |
15 Горизонтальный скользун тележек КВЗ-ЦНИИ головного, прицепного и моторного вагонов |
15.1 Общая высота скользуна | ЭР2Р, ЭР2Т, ЭР9Т | 72+2 | 68 - 72 | 64, менее |
15.2 Толщина съемного вкладыша: |
- тележки моторного вагона | ЭД2Т, ЭД4, ЭД4М, ЭД4МК, ЭД9М, ЭД9МК, ЭД9Т, ЭР2Р, ЭР2Т | 50-0,8 | 48 - 50 | 45, менее |
- тележки головного и прицепного вагонов | ЭД2Т, ЭД4, ЭД4М, ЭД4МК, ЭД9М, ЭД9МК, ЭД9Т, ЭР2, ЭР2Р, ЭР2Т, ЭР9Т | 45-2 | 43 - 45 | 40, менее |
15.3 Толщина резиновой прокладки | ЭД2Т, ЭД4, ЭД4М, ЭД4МК, ЭД9М, ЭД9Т, ЭД9МК | 8 - 14 | 8 - 14 | 8, менее |
ЭР2Р, ЭР2Т, ЭР9Т | 15 | 14 - 15 | 13, менее |
15.4 Величина выступа съемного вкладыша из коробки |
- вкладыша из композиционного материала | ЭР2Р, ЭР2Т, ЭРТ | 3, не менее | 3, не менее | 3, менее |
- чугунного | ЭР2Р, ЭР2Т, ЭР9Т | 5, не менее | 5, не менее | 5, менее |
15.5 Толщина съемного скользуна кузова: |
- моторного вагона | ЭР2Р, ЭР2Т, ЭР9Т | 18-0,6 | 16 - 18 | 10, менее |
- прицепного и головного вагонов | ЭР2Р, ЭР2Т, ЭР9Т | 34,0 +/- 0,5 | 32,0 - 34,5 | 26, менее |
| | ИС МЕГАНОРМ: примечание. В издании допущен типографский брак. Текст, не пропечатанный в официальном тексте документа, в электронной версии данного документа выделен треугольными скобками. | |
|
16 Скользун вертикальный и торцовый надрессорного бруса тележ<...> |
16.1 Высота торцового упора надрессорного бруса | ЭТ2, ЭТ2М | | 50 - 53 | 48, менее |
ЭР2Т, ЭР2Р, ЭР9Т | | 73 - 77 | 70, менее |
17 Скользун вертикальный и торцовый надрессорного бруса тележки прицепного и головного вагонов |
17.1 Высота | ЭТ2, ЭТ2М | 46 - 52 | 45 - 52 | 42, менее |
ЭР2Т, ЭР2Р, ЭР9Т | 75 | 74 - 75 | 70, менее |
17.2 Толщина съемного скользуна | ЭТ2, ЭТ2М | 45-2 | 43 | 40, менее |
ЭР2Т, ЭР2Р, ЭР9Т | | 22 | 18, менее |
17.3 Толщина амортизатора | ЭД2Т, ЭД4, ЭД4М, ЭД4МК, ЭД9М, ЭД9МК, ЭД9Т, ЭТ2, ЭТ2М | 15,0 +/- 0,5 | 15,0 +/- 0,5 | 12,0, менее |
ЭР2Т, ЭР2Р, ЭР9Т | 32 | 30 | 26, менее |
17.4 Глубина гнезда скользуна | ЭТ2, ЭТ2М | 12 | 11 | 9, менее |
ЭР2Т, ЭР2Р, ЭР9Т | 8 | 7 | 5, менее |
18 Упоры центрального подвешивания на пружинах |
18.1 Общая высота торцевого упора надрессорного бруса тележки моторного вагона | ЭД2Т, ЭД9Т, ЭР2Р, ЭР2Т, ЭР9Т, ЭТ2, ЭТ2М | | 50 - 53 | 47, менее |
18.2 Общая высота торцевого упора надрессорного бруса тележки прицепного вагона | ЭР2Р, ЭР2Т | 55 | 53 - 55 | 50, менее |
18.3 Высота упора на раме моторной тележки для подвески | ЭР2Р, ЭР2Т, ЭР9Т | | 34,00 - 37,25 | 30, менее |
18.4 Высота упора на раме прицепной и головной тележки для подвески | ЭР2Р, ЭР2Т, ЭР9Т | 41+3 | 40 - 44 | 35, менее |
18.5 Зазор между подвеской и упором | ЭР2Р, ЭР2Т, ЭР9Т | 7 | 6 - 8 | 6, менее |
19 Надбуксовые цилиндрические пружины |
19.1 Высота пружины тележек РВЗ в свободном состоянии | ЭР2Р, ЭР2Т | | 304 - 316 | - |
19.2 Высота комплекта пружин тележки прицепного и тележки головного вагонов под нагрузкой 30000 Н: |
I группа | ЭР2Р, ЭР2Р, ЭР9Т | 218 - 223 | 218 - 223 | - |
II группа | 211 - 217 | 211 - 217 |
III группа | 204 - 210 | 204 - 210 |
19.3 Прогиб наружной пружины тележек прицепного и головного вагонов под нагрузкой 28700 Н: |
I группа | ЭД2Т, ЭД4, ЭД9 | 67 - 74 | 67 - 74 | - |
II группа | 63 - 67 | 63 - 67 |
III группа | 59 - 63 | 59 - 63 |
IV группа | 55 - 59 | 55 - 59 |
19.4 Высота комплекта пружин тележки прицепного и тележки головного вагонов под нагрузкой 28700 Н: |
I группа | ЭР2Р, ЭР2Т, ЭР9Т, ЭТ2, ЭТ2М | 332 - 335 | 332 - 335 | - |
II группа | 329 - 332 | 329 - 332 |
III группа | 326 - 329 | 326 - 329 |
19.5 Высота комплекта пружин тележки моторного вагона под нагрузкой 30000 Н: |
I группа | ЭР2Р, ЭР2Т, ЭР9Т, ЭТ2, ЭТ2М | 197 - 200 | 197 - 200 | - |
II группа | 194 - 197 | 194 - 197 |
III группа | 191 - 194 | 191 - 194 |
| | ИС МЕГАНОРМ: примечание. Нумерация пунктов дана в соответствии с официальным текстом документа. | |
|
19.7 Высота комплекта пружин тележки моторного вагона под нагрузкой 32000 Н: |
I группа | ЭТ2, ЭТ2М | 197 - 200 | 197 - 200 | - |
II группа | 194 - 197 | 194 - 197 |
III группа | 191 - 194 | 191 - 194 |
19.8 Высота комплекта пружин тележки моторного вагона под нагрузкой 35800 Н: |
I группа | ЭД2Т, ЭД4, ЭД9 | 187 - 190 | 187 - 190 | - |
II группа | 190 - 193 | 190 - 193 |
III группа | 193 - 196 | 193 - 196 |
19.9 Высота комплекта пружин тележки моторного вагона под нагрузкой 26200 Н |
I группа | ЭР2Т, ЭР2Р | 270,0 - 272,0 | 270,0 - 272,0 | - |
II группа | 272,0 - 274,5 | 272,0 - 274,5 |
III группа | 274,5 - 276,5 | 274,5 - 276,5 |
IV группа | 276,5 - 279,0 | 276,5 - 279,0 |
19.10 Высота пружины тележки прицепного вагона в свободном состоянии: |
- наружной | ЭТ2, ЭТ2М | | 323 - 335 | - |
ЭР2Р, ЭР2Т | | 304 - 316 | - |
- внутренней | ЭТ2, ЭТ2М | | 165 - 175 | - |
ЭР2Р, ЭР2Т | | 160 - 170 | - |
20 Гидравлический гаситель колебаний |
20.1 Диаметр валиков | ЭД2Т, ЭД9Т, ЭР2Р, ЭР2Т, ЭР9Т | | 31,5 | 30,0, менее |
ЭТ2, ЭТ2М | | 31,5 | 30,0, менее |
20.2 Диаметр втулки валика | ЭД2Т, ЭД9Т, ЭР2Р, ЭР2Т, ЭР9Т, ЭТ2, ЭТ2М | 32,5+0,17 | 33,0 | 34,0, более |
20.3 Радиальный зазор между втулкой и валиком | ЭД2Т, ЭД9Т, ЭР2Р, ЭР2Т, ЭР9Т, ЭТ2, ЭТ2М | 0,58 - 0,93 | 0,58 - 1,50 | 4,00, более |
20.4 Диаметр цилиндра | ЭД2Т, ЭД9Т, ЭР2Р, ЭР2Т, ЭР9Т, ЭТ2, ЭТ2М | 68,0+0,03 | 68,2 | 68,5, более |
20.5 Диаметр поршня | ЭД2Т, ЭД9Т, ЭР2Р, ЭР2Т, ЭР9Т, ЭТ2, ЭТ2М | | 67,8 | 67,5, менее |
20.6 Диаметр штока поршня | ЭД2Т, ЭД9Т | 48-0,016 | 48-0,016 | - |
ЭТ2, ЭТ2М | 48 | 48 | - |
ЭР2Р, ЭР2Т, ЭР9Т | 48-0,017 | 48-0,017 | - |
20.7 Диаметр отверстия буксы | ЭД2Т, ЭД9Т, ЭР2Р, ЭР2Т, ЭР9Т, ЭТ2, ЭТ2М | 48+0,025 | 48+0,025 | - |
20.8 Натяг при посадке клапана на цилиндр | ЭД2Т, ЭД9Т, ЭР2Р, ЭР2Т, ЭР9Т, ЭТ2, ЭТ2М | - | 0,015 - 0,060 | - |
20.9 Толщина притирочной поверхности разгрузочного клапана | ЭД2Т, ЭД9Т, ЭР2Р, ЭР2Т, ЭР9Т, ЭТ2, ЭТ2М | 2+0,3 | 2+0,3 | 1,5, менее |
20.10 Зазор суммарный между штоком и отверстием буксы (направляющей) | ЭД2Т, ЭД9Т, ЭР2Р, ЭР2Т, ЭР9Т, ЭТ2, ЭТ2М | 0,041, не более | 0,041, не более | - |
21 Тормозная рычажная передача |
21.1 Тормозные траверсы, шарнирные соединения |
21.1.1 Диаметр цапф траверсы моторного вагона | ЭД2Т, ЭД4, ЭД4М, ЭД4МК, ЭД9М, ЭД9МК, ЭД9Т, ЭР2Р, ЭР2Т, ЭР9Т, ЭТ2, ЭТ2М | | 68, не менее | - |
21.1.2 Диаметр цапф траверсы прицепного вагона | ЭД2Т, ЭД9Т, ЭР2Р, ЭР2Т, ЭР9Т, ЭТ2, ЭТ2М | | 44,5, не менее | - |
21.1.3 Наружный диаметр втулок цапф тележек прицепного вагона | ЭД2Т, ЭД9Т ЭР2Р, ЭР2Т, ЭР9Т, ЭТ2, ЭТ2М | | 54, не менее | - |
21.1.4 Длина по торцам цапф: |
- тележек моторного вагона | ЭД2Т, ЭД4, ЭД4М, ЭД4МК, ЭД9М, ЭД9МК, ЭД9Т, ЭР2Р, ЭР2Т, ЭР9Т | 1505 +/- 1 | 1505 +/- 2 | - |
ЭТ2, ЭТ2М | 1865 +/- 3 | 1865 +/- 4 | - |
- тележек прицепного и головного вагонов | ЭД2Т, ЭД4, ЭД4М, ЭД4МК, ЭД9М, ЭД9МК, ЭД9Т, ЭР2Р, ЭР2Т, ЭР9Т | | | - |
| ЭТ2, ЭТ2М | 1514-5 | 1514-5 | - |
21.1.5 Зазоры между валиком и втулкой во всех шарнирных соединениях для диаметра: |
- до 30 мм включительно | ЭД2Т, ЭД9Т, ЭМ2, ЭМ2К, ЭР2, ЭР2Р, ЭР2Т, ЭР9в/и, ЭТ2, ЭТ2М | 0,28 - 0,56 | 1,50, не более | 3,00, более |
- свыше 30 до 50 мм включительно | ЭД2Т, ЭД9Т, ЭМ2, ЭМ2К, ЭР2, ЭР2Р, ЭР2Т, ЭР9в/и, ЭТ2, ЭТ2М | 0,34 - 0,67 | 1,50, не более | 3,00, более |
- свыше 50 до 80 мм включительно | ЭД2Т, ЭД9Т, ЭР2, ЭР2Р, ЭР2Т, ЭР9в/и, ЭТ2, ЭТ2М | 0,4 - 0,8 | 1,5, не более | 4,0, более |
21.1.6 Износ валиков рычажной передачи | ЭД2Т, ЭД9Т, ЭМ2, ЭМ2К, ЭР2, ЭР2Р, ЭР2Т, ЭР9в/и, ЭТ2, ЭТ2М | - | 0 - 1,0 | 2,5, более |
21.2 Рычаги, балансиры и серьги |
21.2.1 Отклонение размеров плеч | ЭД2Т, ЭД4, ЭД4М, ЭД4МК, ЭД9М, ЭД9МК, ЭД9Т, ЭТ2, ЭТ2М | +/- 1 | +/- 1 | - |
ЭМ2, ЭМ2К, ЭР2, ЭР2Р, ЭР2Т, ЭР9в/и | +/- 0,5 | +/- 0,5 | - |
21.2.2 Отклонение по толщине тела и головок | ЭД2Т, ЭД4, ЭД4М, ЭД4МК, ЭД9М, ЭД9МК, ЭД9Т | +0,5 -1,0 | +0,5 -1,0 | - |
ЭТ2, ЭТ2М | +0,2 -0,8 | +0,2 -0,8 | - |
ЭМ2, ЭМ2К, ЭР2, ЭР2Р, ЭР2Т, ЭР9в/и | +/- 0,5 | +/- 0,5 | - |
21.3 Подвески |
21.3.1 Отклонение размеров плеч | ЭД2Т, ЭД4, ЭД4М, ЭД4МК, ЭД9М, ЭД9МК, ЭД9Т, ЭМ2, ЭМ2К, ЭР2, ЭР2Р, ЭР2Т, ЭР9в/и, ЭТ2, ЭТ2М | +/- 1 | +/- 1 | - |
21.3.2 Отклонение по толщине тела и головок | ЭД2Т, ЭД4, ЭД4М, ЭД4МК, ЭД9М, ЭД9МК | -0,8 -0,3 | +/- 1 | - |
ЭТ2, ЭТ2М | +/- 1 |
ЭМ2, ЭМ2К, ЭР2, ЭР2Р, ЭР2Т, ЭР9в/и | +/- 0,5 |
21.3.3 Отклонение расстояний между центрами отверстий у тяг длиной: |
- от 0 до 1000 мм включительно | ЭД2Т, ЭД4, ЭД4М, ЭД4МК, ЭД9М, ЭД9Т, ЭД9МК, ЭМ2, ЭМ2К, ЭР2, ЭР2Р, ЭР2Т, ЭР9в/и | +/- 2 | +/- 2 | - |
ЭТ2, ЭТ2М | +/- 1 | +/- 1 | - |
- свыше 1000 до 2000 мм включительно | ЭД2Т, ЭД4, ЭД4М, ЭД4МК, ЭД9М, ЭД9МК, ЭД9Т, ЭМ2, ЭМ2К, ЭР2, ЭР2Р, ЭР2Т, ЭР9в/и | +/- 3 | +/- 3 | - |
- свыше 2000 мм | ЭД2Т, ЭД9Т, ЭМ2, ЭМ2К, ЭР2, ЭР2Р, ЭР2Т, ЭР9в/и | +/- 5 | +/- 7 | - |
21.3.4 Отклонения по толщине головки | ЭД2Т, ЭД4, ЭД4М, ЭД4МК, ЭД9М, ЭД9МК, ЭД9Т | -1 | -2 | - |
ЭТ2, ЭТ2М | +1,3 -0,7 | -2 | - |
ЭМ2, ЭМ2К, ЭР2, ЭР2Р, ЭР2Т, ЭР9в/и | -1 | -2 | - |
21.3.5 Отклонения по толщине щечек | ЭД2Т, ЭД4, ЭД4М, ЭД4МК, ЭД9М, ЭД9МК ЭД9Т | -1,0 | -1,2 | 2,0, более |
ЭТ2, ЭТ2М | +/- 1,0 | +/- 1,2 | 2,0, более |
ЭМ2, ЭМ2К, ЭР2, ЭР2Р, ЭР2Т, ЭР9в/и | +/- 0,5 | +0,5 -1,0 | 2,0, более |
21.3.6 Отклонение по ширине зева вилки | ЭД2Т, ЭД4, ЭД4М, ЭД4МК, ЭД9М, ЭД9МК ЭД9Т | +/- 1 | +/- 2 | 4, более |
ЭТ2, ЭТ2М | +2 -1 | +/- 2 | 4, более |
ЭМ2, ЭМ2К, ЭР2, ЭР2Р, ЭР2Т, ЭР9в/и | +/- 1 | +/- 2 | 4, более |
21.3.7 Отклонение по диаметру стержня: |
- до 30 мм включительно | ЭМ2, ЭМ2К, ЭД2Т, ЭД9Т, ЭР2, ЭР2Р, ЭР2Т, ЭР9в/и | +/- 0,5 | +0,75 -1,00 | 2, более |
ЭТ2, ЭТ2М | +0,4 -0,5 | +0,75 -1,00 | 2, более |
- от 30 до 50 мм включительно | ЭД2Т, ЭД9Т | +/- 0,75 | +0,75 -1,50 | 3, более |
ЭМ2, ЭМ2К, ЭР2, ЭР2Р, ЭР2Т, ЭР9в/и | +0,75 -1,50 | +0,75 -1,50 | 3, более |
21.4 Кронштейны подвески тормозных башмаков |
21.4.1 Отклонения по толщине ушков | ЭД2Т, ЭД4, ЭД4М, ЭД4МК, ЭД9М, ЭД9Т, ЭД9МК | +/- 0,5 | +0,5 -1,5 | - |
ЭТ2, ЭТ2М | +0,50 -1,48 | +0,50 -1,50 | - |
ЭМ2, ЭМ2К, ЭР2, ЭР2Р, ЭР2Т, ЭР9в/и | +/- 0,5 | +0,5 -1,5 | - |
21.4.2 Отклонение по ширине проушины | ЭД2Т, ЭД4, ЭД4М, ЭД4МК, ЭД9М, ЭД9МК, ЭД9Т | -0,5 | +/- 2,0 | - |
ЭТ2, ЭТ2М | +0,5 | +/- 2,0 | - |
ЭМ2, ЭМ2К, ЭР2, ЭР2Р, ЭР2Т, ЭР9Т | +/- 1,5 | +/- 2,0 | - |
21.5 Подвеска внутренних башмаков тележки моторного вагона |
21.5.1 Ширина паза между втулками | ЭД2Т, ЭД4, ЭД4М, ЭД4МК, ЭД9М, ЭД9Т, ЭР2Р, ЭР2Т, ЭР9Т, ЭТ2, ЭТ2М | 155+0,53 | 155+1,0 | - |
21.6 Башмак тормозной |
21.6.1 Отклонения по диаметру отверстий под цапфу тормозного вала | ЭД2Т, ЭД4, ЭД4М, ЭД4МК, ЭД9М, ЭД9МК, ЭД9Т, ЭР2Р, ЭР2Т, ЭР9Т, ЭТ2, ЭТ2М | - | +/- 0,5 | - |
21.6.2 Ширина паза между ушками | ЭД2Т, ЭД4, ЭД4М, ЭД4МК, ЭД9М, ЭД9МК, ЭД9Т, ЭР2Р, ЭР2Т, ЭР9Т, ЭТ2, ЭТ2М | 40 | 43, не более | - |
21.6.3 Ширина паза по внешней ширине ушков | ЭД2Т, ЭД4, ЭД4М, ЭД4МК, ЭД9М, ЭД9МК, ЭД9Т | 80 +/- 2 | 77, не менее | - |
ЭР2Р, ЭР2Т, ЭР9Т, ЭТ2, ЭТ2М | 80 +/- 1 | 77, не менее | - |
21.6.4 Толщина перемычки под чеку | ЭД2Т, ЭД4, ЭД4М, ЭД4МК, ЭД9М, ЭД9МК, ЭД9Т, ЭР2Р, ЭР2Т, ЭР9вТ, ЭТ2, ЭТ2М | 7 +/- 1 | 5 - 8 | 5, менее |
21.6.5 Толщина тормозной колодки | ЭД2Т, ЭД4, ЭД4М, ЭД4МК, ЭД9М, ЭД9МК, ЭД9Т, ЭР2Р, ЭР2Т, ЭР9Т, ЭТ2, ЭТ2М | 62 | 40 - 60 | 10, менее |
21.7 Шток поршня тормозного цилиндра |
21.7.1 Износ тела головки | ЭД2Т, ЭД9Т, ЭР2Р, ЭР2Т, ЭР9Т, ЭТ2, ЭТ2М | - | 1 | 3, более |
21.7.2 Износ отверстия по диаметру или паза по ширине | ЭД2Т, ЭД9Т, ЭР2Р, ЭР2Т, ЭР9Т, ЭТ2, ЭТ2М | - | 2 | - |
21.7.3 Износ отверстия под шток по диаметру | ЭД2Т, ЭД9Т, ЭР2Р, ЭР2Т, ЭР9Т, ЭТ2, ЭТ2М | - | 0,5 | - |
21.7.4 Износ отверстия под шпильку по диаметру | ЭД2Т, ЭД9Т, ЭР2Р, ЭР2Т, ЭР9Т, ЭТ2, ЭТ2М | - | 0,5 | - |
21.7.5 Износ штока тормозного цилиндра по диаметру | ЭД2Т, ЭД9Т, ЭР2Р, ЭР2Т, ЭР9Т, ЭТ2, ЭТ2М | - | 1 | 6, более |
21.8 Звено соединения вертикального рычага с балансиром |
21.8.1 Износ уха по ширине на сторону | ЭД2Т, ЭД9Т, ЭР2Р, ЭР2Т, ЭР9Т, ЭТ2, ЭТ2М | - | 2 | 5, более |
21.8.2 Износ направляющей планки | ЭД2Т, ЭД9Т, ЭР2Р, ЭР2Т, ЭР9Т, ЭТ2, ЭТ2М | - | 1 | - |
21.9 Монтажные допуски тормозной рычажной передачи |
21.9.1 Зазор вдоль оси валика в проушинах: |
а) в сочленении кронштейнов с подвесками | ЭД2Т, ЭД4, ЭД4М, ЭД4МК, ЭД9М, ЭД9МК, ЭД9Т | 0,5-1 | 0,5 - 1,0 | 0,5, менее 5,0, более |
ЭР2Р, ЭР2Т, ЭР9Т, ЭТ2, ЭТ2М | 1,0 - 3,5 | 1,0 - 3,5 | 1,0, менее 7,0, более |
б) в сочленении между собой и рычагами | ЭД2Т, ЭД9Т, ЭР2Р, ЭР2Т, ЭР9Т, ЭТ2, ЭТ2М | 0,5 - 2,5 | 0,5 - 2,5 | 0,5, менее 6,0, более |
21.9.2 Минимальный зазор между валиками рычагов и буксовыми направляющими | ЭР2Т, ЭР2Р, ЭР9Т | 8 - 10 | 8 | 6 |
21.9.3 Минимальный зазор между валиками вертикальных рычагов и наружной гранью бандажа | ЭД2Т, ЭД9Т, ЭР2Р, ЭР2Т, ЭР9Т, ЭТ2, ЭТ2М | 8 - 12 | 8 - 12 | 6 |
21.9.4 Суммарный зазор между направляющими пальцами тормозного балансира и направляющими угольниками тележки | ЭД2Т, ЭД9Т, ЭР2Р, ЭР2Т, ЭР9Т, ЭТ2, ЭТ2М | - | 5, не менее | 4, менее |
21.9.5 Зазор между средними накладками тележки и средними тягами | ЭР2Т, ЭР2Р, ЭР2, ЭР9в/и | 8, не менее | 8, не менее | 5, менее |
| | ИС МЕГАНОРМ: примечание. Нумерация пунктов дана в соответствии с официальным текстом документа. | |
|
23 Авторегулятор пневмомеханического действия |
23.1 Внутренний диаметр подшипника шпинделя чертеж 102.40.10.101 | ЭД2Т, ЭД4, ЭД4М, ЭД4МК, ЭД9М, ЭД9МК, ЭД9Т, ЭР2Р, ЭР2Т, ЭР9Т, ЭТ2, ЭТ2М | 45+0,16 | 45+0,16 | 46, более |
23.2 Диаметр шпинделя под подшипник | ЭД2Т, ЭД4, ЭД4М, ЭД4МК, ЭД9М, ЭД9МК, ЭД9Т, ЭТ2, ЭТ2М | | 44,5 | 43, менее |
ЭР2Р, ЭР2Т, ЭР9Т | | 44,5 | 43, менее |
23.3 Диаметр шпинделя под кольцо | ЭД2Т, ЭД4, ЭД4М, ЭД4МК, ЭД9М, ЭД9МК, ЭД9Т, ЭТ2, ЭТ2М | | | 69, менее |
ЭР2Р, ЭР2Т, ЭР9Т | | | 69, менее |
23.4 Внутренний диаметр кольца чертеж 102.40.10.105 | ЭД2Т, ЭД4, ЭД4М, ЭД4МК, ЭД9М, ЭД9Т, ЭД9МК, ЭТ2, ЭТ2М | 70+0,19 | 70+0,19 | 71, более |
ЭР2Р, ЭР2Т, ЭР9Т | 70+0,20 | 70+0,20 | 71, более |
23.5 Диаметр корпуса под поршень | ЭД2Т, ЭД4, ЭД4М, ЭД4МК, ЭД9М, ЭД9МК, ЭД9Т | 75,0+0,19 | 75,5 | 77, более |
ЭТ2, ЭТ2М | 70,0+0,74 | 75,5 | 77, более |
ЭР2Р, ЭР2Т, ЭР9Т | 70,0+0,20 | 75,5 | 77, более |
23.6 Высота пружины собачки в свободном состоянии | ЭД2Т, ЭД4, ЭД4М, ЭД4МК, ЭД9М, ЭД9МК, ЭД9Т, ЭР2Р, ЭР2Т, ЭР9Т, ЭТ2, ЭТ2М | | 63 | 61, менее |
23.7 Высота возвратной пружины в свободном состоянии | ЭД2Т, ЭД4, ЭД4М, ЭД4МК, ЭД9М, ЭД9МК, ЭД9Т, ЭР2Р, ЭР2Т, ЭР9Т, ЭТ2, ЭТ2М | | 152,5 | 149,0, менее |
23.8 Высота пружины стопорения в свободном состоянии | ЭД2Т, ЭД4, ЭД4М, ЭД4МК, ЭД9М, ЭД9МК, ЭД9Т, ЭР2Р, ЭР2Т, ЭР9Т, ЭТ2, ЭТ2М | 25+3 | 24 | 22, менее |
24 Буксовый узел |
24.1 Расстояние между широкими боковыми рабочими гранями корпуса буксы | ЭР2Р, ЭР2Т, ЭР9Т | 319-1 | 319-3 | - |
24.2 Толщина наличника буксы | ЭР2Р, ЭР2Т, ЭР9Т | 14-0,24 | 12 - 16 | - |
24.3 Зазор между передней большой крышкой и торцовой частью корпуса буксы | ЭД2Т, ЭД4, ЭД4М, ЭД4МК, ЭД9М, ЭД9МК, ЭД9Т | 1,0+1 | 0,5 - 3,0 | 0,5, менее |
ЭР2Р, ЭР2Т, ЭР9Т | 2,0 +/- 0,6 |
24.4 Радиальный зазор между наружным диаметром лабиринтного (упорного) кольца и выточкой буксы | ЭР2Р, ЭР2Т, ЭР9Т | 1,0 - 1,3 | 1,0 - 1,5 | 0,7, менее |
24.5 Натяг вдоль оси валиков комплекта буксовых поводков при установке их в гнездо буксы или кронштейна рамы | ЭД2Т, ЭД4, ЭД4М, ЭД4МК, ЭД9М, ЭД9МК, ЭД9Т | 2 - 3 | 2 - 3 | - |
| | ИС МЕГАНОРМ: примечание. Нумерация пунктов дана в соответствии с официальным текстом документа. | |
|
24.5 Натяг вдоль оси валиков комплекта буксовых поводков при установке их в гнездо буксы или кронштейна рамы | ЭТ2, ЭТ2М | 1,4 - 5,0 | 1,4 - 5,0 | - |
ЭР2Т, ЭР2Р, ЭР9Т | 2,1 - 4,0 | 2,1 - 4,0 | - |
24.6 Зазор между узкой клиновой частью валика поводка и дном паза в щеке буксы или кронштейна рамы (в сборе) | ЭД2Т, ЭР2Р, ЭР2Т, ЭР9Т, ЭТ2, ЭТ2М | - | 2,0 | 0,2, менее |
24.7 Натяг при посадке валика в сборе с сайлент-блоком в отверстие тяги поводка | ЭД2Т, ЭД4, ЭД4М, ЭД4МК, ЭД9М, ЭД9МК, ЭД9Т, ЭР2Р, ЭР2Т, ЭТ2, ЭТ2М | 0,07 - 0,21 | 0,07 - 0,21 | - |
24.8 Расстояние между малыми наличниками | ЭР2Р, ЭР2Т | 2300+1 | 2300+5 | |
25 Заземляющее устройство на буксе |
25.1 Зазор между корпусом щеткодержателя и крышкой для токосъема | ЭД2Т, ЭД9Т, ЭР2Р, ЭР2Т, ЭР9Т, ЭТ2, ЭТ2М | 4 - 9 | 4 - 9 | - |
25.2 Усилие нажатия нажимного рычага щеткодержателя в направлении осевой линии щеток Н | ЭД2Т, ЭД4, ЭД4М, ЭД4МК, ЭД9М, ЭД9МК, ЭД9Т, ЭР2Р, ЭР2Т, ЭР9Т, ЭТ2, ЭТ2М | 28 - 52 | 28 - 52 | - |
25.3 Высота щеток | ЭД2Т, ЭД4, ЭД4М, ЭД4МК, ЭД9М, ЭД9МК, ЭД9Т, ЭР2Р, ЭР2Т, ЭР9Т, ЭТ2, ЭТ2М | 50 | 50 | 33, менее |
25.4 Высота окна корпуса щеткодержателя под щетки | ЭД2Т, ЭД4, ЭД4М, ЭД4МК, ЭД9М, ЭД9МК, ЭР2Р, ЭР2Т, ЭР9т, ЭТ2, ЭТ2М | | | 33, более |
26 Тяговый редуктор |
26.1 Длина общей нормали зубчатого колеса | ЭД2Т, ЭД4, ЭД4М, ЭД4МК, ЭД9М, ЭД9МК, ЭД9Т, ЭТ2, ЭТ2М, ЭР2Р, ЭР2Т, ЭР9Т | | 259,50 - 261,66 | 258,00, менее |
26.2 Длина общей нормали шестерни | ЭД2Т, ЭД4, ЭД4М, ЭД4МК, ЭД9М, ЭД9МК, ЭД9Т, ЭР2Р, ЭР2Т, ЭР9Т, ЭТ2, ЭТ2М | | 108,00, не менее | 106,50, менее |
26.3 Толщина зуба венца зубчатого колеса |
- по делительному диаметру (измеренная на расстоянии 10,69 мм от вершины зуба) | ЭР2Р, ЭР2Т | | 13,70, не менее | 11,00, менее |
- по хорде (измеренная на расстоянии 7,98 мм от вершины зуба) | ЭР2Р, ЭР2Т | | 11,70, не менее | 9,00, менее |
- по хорде (измеренная на расстоянии 7,89 мм от вершины зуба) | ЭР2Р, ЭР2Т, ЭР9Т, ЭТ2, ЭТ2М | | 11,90, не менее | 9,00, менее |
26.4 Толщина зуба венца шестерни |
- по делительному диаметру (измеренная на расстоянии 14,60 мм от вершины зуба) | ЭР2Р, ЭР2Т, ЭР9Т | | 17,00, не менее | 15,50, менее |
- по хорде (измеренная на расстоянии 11,17 мм от вершины зуба) | ЭР2Р, ЭР2Т, ЭР9Т | | 15,0, не менее | 12,0, менее |
- по хорде (измеренная на расстоянии 11,26 мм от вершины зуба) | ЭР2Р, ЭР2Т, ЭР9Т, ЭД4М, ЭТ2, ЭТ2М | | 15,00, не менее | 12,00, менее |
26.5 Торцевое биение венца зубчатого колеса | ЭД2Т, ЭД9Т, ЭР2Р, ЭР2Т, ЭР9Т, ЭТ2, ЭТ2М | 0,2 | 0,5 | - |
26.6 Торцевое биение венца шестерни | ЭД2Т, ЭД9Т, ЭР2Р, ЭР2Т, ЭР9Т, ЭТ2, ЭТ2М | 0,6 | 0,6 | - |
26.7 Радиальное биение поверхности зубьев при проверке роликом: |
- зубчатого колеса | ЭД2Т, ЭД4, ЭД4М, ЭД4МК, ЭД9М, ЭД9МК, ЭД9Т, ЭР2Р, ЭР2Т, ЭР9Т | 0,4 - 0,9 | 0,4 - 0,9 | - |
- шестерни | ЭР2Р, ЭР2Т, ЭР9Т, ЭД2Т, ЭД4М | 0,09 | 0,15 | - |
26.8 Боковой зазор между зубьями зубчатой передачи | ЭТ2, ЭТ2М | 0,4 - 1,2 | 0,4, не менее | - |
ЭР2Р, ЭР2Т, ЭР9Т | 0,28 - 1,00 | 0,28, не менее | - |
26.9 Свисание шестерни по отношению к зубчатому колесу | ЭД2Т, ЭД4, ЭД4М, ЭД4МК, ЭД9М, ЭД9МК, ЭД9Т, ЭР2Р, ЭР2Т, ЭР9Т | 3,0 | 3,5, не более | - |
27 Привод скоростемера. Червячный редуктор |
27.1 Диаметр отверстия в корпусе редуктора под шарикоподшипники | ЭД2Т, ЭД4, ЭД4М, ЭД4МК, ЭД9М, ЭД9МК, ЭД9Т | 47+0,025 | 47+0,025 | - |
ЭР2Р, ЭР2Т | 47+0,027 | 47+0,027 | - |
27.2 Диаметр вала червячного колеса и червяка под шарикоподшипник | ЭД2Т, ЭД4, ЭД4М, ЭД4МК, ЭД9М, ЭД9МК, ЭД9Т | | | - |
ЭР2Р, ЭР2Т | | | - |
27.3 Толщина зуба червячного колеса (в нормальном сечении) | ЭД2Т, ЭД4, ЭД4М, ЭД4МК, ЭД9М, ЭД9МК, ЭД9Т, ЭР2Р, ЭР2Т | 3,88-0,7 | 3,88-0,7 | - |
27.4 Толщина витка червяка на высоте 2,5 мм от вершины зуба | ЭД2Т, ЭД4, ЭД4М, ЭД4МК, ЭД9М, ЭД9МК, ЭД9Т, ЭР2Р | | | - |
28 Привод скоростемера. Конический редуктор |
28.1 Диаметр отверстия в корпусе подшипников под подшипники N 204 | ЭД2Т, ЭД4, ЭД4М, ЭД4МК, ЭД9М, ЭД9МК, ЭД9Т | 55+0,074 | 55+0,074 | - |
ЭР2Р | 47+0,027 | 47+0,027 | - |
28.2 Диаметр хвостовика конической шестерни под шариковый подшипник | ЭД2Т, ЭД4, ЭД4М, ЭД4МК, ЭД9М, ЭД9МК, ЭД9Т | | | - |
ЭР2Р | | | - |
29 Привод скоростемера. Телескопический вал |
29.1 Толщина стержня телескопического вала по квадрату | ЭД2Т, ЭД4, ЭД4М, ЭД4МК, ЭД9М, ЭД9МК, ЭД9Т | | | - |
ЭР2Р | | | - |
29.2 Размер квадратного отверстия во втулке под стержень | ЭД2Т, ЭД4, ЭД4М, ЭД4МК, ЭД9М, ЭД9МК, ЭД9Т | 15+0,027 | 15+0,027 | - |
ЭР2Р | 15+0,035 | 15+0,035 | - |
29.3 Зазор между стержнем и втулкой по квадрату (суммарный) | ЭР2Р | 0,020 - 0,105 | 1,00, не более | - |
30 Колесные пары |
30.1 Наибольшая разница в диаметрах бандажей по кругу катания: |
- у одной колесной пары моторного вагона | ЭД2Т, ЭД4, ЭД4М, ЭД4МК, ЭД9М, ЭД9МК, ЭД9Т, ЭР2Р, ЭР2Т, ЭР9Т, ЭТ2, ЭТ2М | - | 0,5 | 3, более |
- то же у прицепного и головного вагонов | - | 1 | 3, более |
- у двух колесных пар одной тележки моторного вагона | - | 5 | 10 |
- то же у прицепного и головного вагонов | - | 10 | 30 |
- у колесных пар разных тележек моторного вагона | - | 10 | 20 |
- то же у прицепного и головного вагонов | - | 10 | 35 |
(справочное)
ТЕХНИЧЕСКИЕ ХАРАКТЕРИСТИКИ ЭЛЕКТРИЧЕСКИХ АППАРАТОВ
Таблица Е.1
Токоприемники
Показатели | Значения показателей токоприемников |
П-1У | Л-13У/Л-14М | Л-13У-01 | ТАсС-16 |
1 Номинальное напряжение сети, В: |
постоянного тока | 3000 | 3000 | 3000 | 3000 |
переменного тока | 25000 | 25000 | 25000 | |
2 Номинальный ток, А: |
при движении | 1500/500 | 550/1500 | 500 | 3300 |
при стоянке | 270/50 | 80/270 | 50 | 215 |
3 Наибольшая скорость движения, км/ч | 150 | 140/160 | 160 | 160 |
4 Рабочая высота, мм: |
наибольшая | 1900 | 1900 | 1900 | 1900 |
наименьшая | 400 | 400 | 400 | 400 |
5 Статическое нажатие на контактный провод в диапазоне рабочей высоты, Н: |
активное, не менее | 70 | 70 | 70 | 70 |
пассивное | 90 - 110 | 90 - 110 | 90 - 110 | 90 - 110 |
6 Разница между наибольшим и наименьшим нажатиями при одностороннем движении в рабочем диапазоне, Н, не более | 15 | 15 | 15 | 15 |
7 Наибольшая высота подъема от сложенного положения, мм | 2200 | 2100 | 2100 | 2100 |
8 Длина в сложенном положении, мм | 3540 | 3280 | 3280 | |
9 Ширина по концам полоза, мм | 2260 | 2260 | 2260 | 2260 |
10 Опускающая сила в диапазоне рабочей высоты, Н, не менее | 120 | 120 | 120 | 120 |
11 Время подъема до наибольшей рабочей высоты при номинальном давлении сжатого воздуха, с, не более | 10 | 10 | 10 | 10 |
12 Время опускания подвижной системы с наибольшей рабочей высоты, с, не более | 6 | 6 | 6 | 6 |
13 Давление сжатого воздуха, МПа: |
номинальное | 0,50 | 0,50 | 0,50 | 0,35 |
наименьшее | 0,35 | 0,35 | 0,35 | - |
14 Диаметр поршня пневматического привода, мм | 100 | 180 | - | - |
15 Масса токоприемника с изоляторами, кг | 440 | 260/315 | 315 | 141 |
Таблица Е.2
Высоковольтный ввод с трансформатором тока
Показатели | Тип |
ТРП-25 | ТПОФ-25 |
1 Номинальный первичный ток, А | 120 | 400 |
2 Номинальное напряжение, кВ | 25 | 25 |
3 Коэффициент трансформации | 8,0 +/- 0,5 | 16,0 +/- 0,5 |
4 Ток динамической устойчивости (амплитудное значение), кА | 25 | 25 |
5 Масса, кг | 68 | 50 |
Таблица Е.3
Силовые контроллеры
Показатели | Значения показателей контроллеров типа |
КСП-1 | 1КС-009 | КСП-6Б-2 1КС-006 | 1КС-015 | КС-26 |
1 Номинальное напряжение, В: | |
силовой цепи | 3000 | 3000 | 2200 | 2200 | 3000 |
цепи управления | 50 | 110 | 110 | 110 | 110 |
2 Тип контактов силовой цепи | КЭ-4Д | КЭ-4Д-2 КР-9А-1 | КР-6А-1 КР-8А-1 | КР-8А-1 КР-6А-1 | КЭ-2А КЭ-13 |
3 Число кулачковых контактов силовой цепи | 12 | 17/1 | 14/2 | 2/13 | 17/1 |
4 Тип кулачковых контактов цепи управления | КР-3А-1 | КЭ-42А | КР-3А-1 | КР-3А-1 | КЭ-153 |
5 Число кулачковых контактов цепи управления | 13 | 13 | 11 | 7 | 12 |
6 Число фиксированных позиций | 18 | 20 | 20 | 20 | 20 |
7 Угол поворота главного кулачкового вала на одну позицию, градус | 20 | 18 | 18 | 18 | 18 |
8 Номинальное давление сжатого воздуха, МПа | 0,5 | 0,5 | 0,5 | 0,5 | 0,5 |
9 Минимальное давление сжатого воздуха, МПа | 0,35 | 0,35 | 0,35 | 0,35 | 0,35 |
10 Время полного поворота вала при номинальном давлении сжатого воздуха, с | 6 - 7 | 7 - 9 | 6 - 8 | 6 - 8 | 7 - 9 |
11 Диаметр цилиндра пневматического привода, мм | 58 | 58 | 58 | 58 | 60 |
12 Ход поршня, мм | 56 | 56 | 56 | 56 | 56 |
13 Тип вентиля | ВВ-3А | ВВ-2А | ВВ-3А | ВВ-3А | ЭВ-05-24 |
14 Масса контроллера, кг | 88 | 110 | 110 | 110 | 117 |
Таблица Е.4
Реверсивные и тормозные переключатели
Показатели | Значения показателей |
ПР-320А | ПР-320Б ПР-320Б-1 | 1П-0041/ П-004.42 | 1КС.022 | ПКЦ-25А |
1 Номинальное напряжение, В: | |
силовой цепи | 3000 | 3000 | 3000 | 2200 | 3000 |
цепи управления | 50 | 110 | 110 | 110 | 110 |
2 Номинальный ток силовых контактов, А | 220 | 220 | 220 | 220 | 220 |
3 Тип кулачковых контакторов силовой цепи | КЭ-4Д | КЭ-4Д | КЭ-4Д-2 | КР-6А-1 | КЭ-2А |
4 Число кулачковых контакторов силовой цепи | 8 | 8 | 4/8 | 14 | 12 |
5 Тип контакторного элемента цепи управления | КР-3А-2 | КР-3А-2 | КЭ-42А | КЭ-42 | КЭ-153 |
6 Число кулачковых контакторов цепи управления | 2 | 2 | 2/6 | 8 | 5 |
7 Число рабочих позиций | 2 | 2 | 2 | 2 | 2 |
8 Угол поворота кулачкового вала из одного рабочего положения в другое, градус | 45 | 45 | 45/40 | 45 | 45 |
9 Диаметр цилиндра пневматического привода, мм | 58 | 58 | 58 | 90 | 60 |
10 Ход поршня, мм | 40 | 40 | 40 | 40 | 40 |
11 Номинальное давление сжатого воздуха, МПа | 0,5 | 0,5 | 0,5 | 0,5 | 0,5 |
12 Тип электропневматического вентиля | ВВ-2Д | ВВ-2Г | ВВ-2Г | 1В.008 | ЭВ-5-09 |
13 Масса переключателя, кг | 41 | 41 | 70 | 80 | 86 |
Таблица Е.5
Главные разъединители (переключатели)
Показатели | Тип переключателя |
ГР-1Б 1РВ.002 | ГР-2А | ГРЭ-2А-6 | Р-9А |
1 Номинальное напряжение относительно заземленных частей, В | 3000 | 1100 | 1100 | 3000 |
2 Номинальное напряжение между силовыми контактами, В | 3000 | 2200 | 2200 | 3000 |
3 Номинальный ток, А | 400 | 200 | 220 | 400 |
4 Тип силовых контактов | клиновый | клиновый | клиновый | клиновый |
5 Сечение ножа, мм | 6 x 40 | 4 x 30 | 4 x 30 | 6 x 40 |
6 Количество блок-контактов | 2 | 2 | 2 | 2 |
7 Количество положений | 2 | 2 | 2 | 2 |
8 Масса, кг | 10,3 | 16,0 | 16,0 | 10,3 |
Таблица Е.6
Электромагнитные высоковольтные контакторы МК-18 и МК-19
Показатели | Значения показателей контакторов |
МК-18 | МК-18-01 | МК-19 | МК-19-01 |
1 Главная цепь | |
номинальное напряжение, В | 3000 | 3000 | 3000 | 3000 |
номинальный ток, А | 3,2 | 16 | 25 | 25 |
количество замыкающих контактов с двойным зазором | 1 | 1 | 1 | 1 |
2 Вспомогательная цепь | |
номинальное напряжение, В | - | - | 110 | 110 |
номинальный ток, А | - | - | 15 | 15 |
количество контактов | |
замыкающих | - | - | 1 | 2 |
размыкающих | - | - | 2 | 2 |
3 Цепь управления | |
номинальное напряжение, В | 110 | 110 | 110 | 110 |
сопротивление катушки, Ом | 214,4 | 214,4 | 214,4 | 214,4 |
число витков | 10000 | 10000 | 10000 | 10000 |
марка провода | ПЭТ-200 | ПЭТ-200 | ПЭТ-200 | ПЭТ-200 |
диаметр провода, мм | 0,45 | 0,45 | 0,45 | 0,45 |
4 Масса контактора, кг | 14,46 | 14,5 | 14,73 | 14,86 |
Таблица Е.7
Электропневматические контакторы
Показатели | Значения показателей |
ПК-306Т | ПК-306Ф ПК-306.45 | ПК-350А ПК-350В.1 | 1КП-006 1КП-008 | 1КП-003 1КП-005 | ПК-12А | ПК-22А |
1 Номинальное напряжение, В | 3000 | 3000 | 3000 | 3000 | 3000 | 3000 | 3000 |
2 Номинальный ток, А | 250 | 400 | 250 | 250/400 | 250/400 | 400 | 250 |
3 Силовые контакты: |
раствор, мм | 21 - 24 | 21 - 24 | 21 - 24 | 25,5 - 29 | 28 - 32 | 24 - 27 | 24 - 27 |
провал, мм | 9 - 12 | 9 - 12 | 9 - 12 | 9 | 9 | 9 - 10 | 9 - 10 |
4 Вспомогательные контакты: |
номинальное напряжение, В | 110 | 110 | 50 | 110 | 110 | 110 | 110 |
номинальный ток, А | 5 | 5 | 5 | 5/0,035 | 5/0,035 | 15 | 15 |
5 Дугогасительная катушка: |
число витков | 7,75 | 3,75/7,75 | 7,75 | 9,00 | 9,00 | 3,00 | 8,00 |
сечение провода, мм2 | 95,00 | 145,00/ 95,00 | 95,00 | 13,57 | 4,48 | 249,00 | 73,64 |
6 Тип вентиля | ВВ-2Б | ВВ-3Г | ВВ-2Б | ВВ-2Г/ ВВ-3Г | ВВ-2Г | ЭВ-5-10 | ЭВ-5-10 |
7 Давление сжатого воздуха, МПа: |
номинальное | 0,50 | 0,50 | 0,50 | 0,50 | 0,50 | 0,90 | 0,90 |
минимальное | 0,35 | 0,35 | 0,35 | 0,35 | 0,35 | 0,35 | 0,35 |
8 Нажатие контактов, Н: |
начальное | 250 - 300 | 200 - 300 | 250 - 300 | 105 - 145 | 56 +/- 1,5 | 29, не менее | 29, не менее |
конечное | 420 - 500 | 420 - 550 | 420 - 500 | 170 - 230 | 164 +/- 36 | 230, не менее | 230, не менее |
9 Масса, кг | 46,0 | 37,0 | 23,0 | 18,0/35,0 | 18,5 | 26,2 | 23,5 |
Таблица Е.8
Электромагнитные высоковольтные контакторы КМВ и 1КМ
Показатели | Значения показателей контакторов |
КМВ-104.1 | КМВ-104А | 1КМ-015 | 1КМ-016 |
1 Номинальное напряжение, В | 3000 | 3000 | 3000 | 3000 |
2 Силовые контакты: | |
номинальный ток, А | 250 | 100 | 10 - 100 | 1,6 - 100 |
раствор, мм | 21 - 24 | 21 - 24 | 19 - 25 | 19 - 25 |
провал, мм | 6,0 - 12,0 | 6,0 - 12,0 | 4,5 - 9,0 | 4,5 - 9,0 |
конечное нажатие, Н | 10 - 12 | 10 - 12 | 0,7 - 11 | 10 - 15 |
3 Вспомогательные контакты: | |
номинальный ток, А | 20 | 20 | 6 | 6 |
раствор, мм | 7 - 8 | 7 - 8 | 6 - 10 | 6 - 10 |
провал, мм | 4,0 - 5,0 | 4,0 - 5,0 | 2,5 - 5,0 | 2,5 - 5,0 |
конечное нажатие, Н | 1,0 - 1,5 | 1,0 - 1,5 | 1,0 - 2,6 | 1,7 |
4 Включающая катушка: | |
номинальное напряжение, В | 50 | 50 | 110 | 110 |
марка провода | ПЭЛ | ПЭЛ | ПЭЛ | ПЭЛ |
диаметр провода, мм | 0,44 | 0,44 | 0,29 | 0,29 |
число витков | 4700 | 4700 | 10300 | 10300 |
сопротивление при 20 °C, Ом | 84,4 | 84,4 | 250 | 250 |
5 Дугогасительная катушка: | |
марка провода | ПБД | ПБД | ПБД | ПБД |
диаметр провода, мм | 3,28 | 3,28 | 1,50 | 5,00 |
число витков | 66,5 | 66,5 | 4830,0 | 7300,0 |
6 Масса контактора, кг | 12,0 | 12,0 | 14,5 | 14,5 |
Таблица Е.9
Электромагнитные контакторы вспомогательных цепей
переменного тока и цепей управления
Показатели | Значения показателей контакторов |
КМ-1Б | КМ-3А КМ-3Г КМ-3Д КМ-3Е | КМ-15 | КТПВ-621 | КМ1.21 | КМ-2311 КМ-2312 КМ-2313 |
1 Силовые контакты: | |
номинальное напряжение, В постоянный (переменный) ток | 110 (380) | 110 (380) | 220 | 380 | 220 | 380 |
номинальный ток, А | 100 | 100 | 250 | 50 - 63 | 40 | 25 - 100 |
раствор, мм | 8 - 10 | 6 - 8 | 8 - 10 | 11 - 15 | 4 - 6 | 6 - 8 |
провал, мм | 5,0 - 7,0 | 5,0 - 7,0 | 3,5 - 5,0 | 2,4 - 3,0 | 2,5 - 3,0 | 5,0 - 7,0 |
конечное нажатие, Н | 10,0 - 13,0 | 11,0 - 13,0 | 20,0 - 25,0 | 8,0 - 10,0 | 5,0 - 7,0 | 10,0 - 13,0 |
2 Вспомогательные контакты: | |
номинальный ток, А | 10 | 10 | 15 | 10 | 10 | 10 |
раствор, мм | 5,0 - 7,0 | 5,0 - 7,0 | 3,0 - 5,0 | 4,0 | 5,0 - 7,0 | 4,5 - 5,0 |
провал, мм | 2,0 - 4,0 | 2,0 - 4,0 | 1,3 - 3,0 | 1,5 - 2,0 | 1,5 - 3,5 | 2,0 - 3,0 |
конечное нажатие, Н | 1,6 - 2,2 | 1,6 - 2,2 | 1,0 - 1,5 | 1,0 | 0,9 - 1,2 | 2,5 - 3,0 |
3 Включающая катушка: |
номинальное напряжение, В | 110 | 110 | 110 | 110 | 50 | 110 |
номинальный ток, А | 0,09 | 0,09 | 0,09 | - | 0,66 | - |
ток срабатывания, А | 0,065 - 0,071 | 0,065 - 0,071 | 0,15 | 0,20 | 0,53 | - |
марка провода | ПЭЛ | ПЭЛ | ПЭЛ | ПЭЛ | ПЭЛ | ПЭЛ |
диаметр провода, мм | 0,20 | 0,20 | 0,29 | 0,27 | 0,44 | - |
число витков | 14100 | 14100 | 10300 | 6800 | 2560 x 2 | - |
сопротивление при 20 °C, Ом | 162 - 940 | 162 - 940 | 437 | 343 | 37 (одного провода) | - |
4 Масса, кг | 2,4 | 2,7 | 5,0 | 7,0 | 4,4 | 2,1/3,7/6,7 |
Таблица Е.10
Электромагнитные контакторы вспомогательных цепей
Параметры | Значения показателей контакторов |
МК1-30А | КН-143 |
1 Главная цепь | |
номинальное напряжение, В | 380 | 250 |
номинальный ток, А | 40 | 25 |
2 Вспомогательная цепь | |
номинальное напряжение, В | 110 | 110 |
номинальный ток, А | 10 | 1,5 |
3 Цепь управления | |
номинальное напряжение, В | 110 | 110 |
4 Масса, кг | 4,2 | 1,5 |
Таблица Е.11
Резисторы пусковые КФ-115-1
Показатели | Значения |
1 Номинальное напряжение, В | 3000 |
2 Количество ящиков | 2 |
3 Количество элементов в ящике | 18 |
4 Материал резисторов (два элемента в резисторе) | Фехраль 1,5 x 10 |
5 Активное сопротивление, Ом: | |
ящика | 8,82 +/- 5% |
10 элементов | 0,57 +/- 5% |
8 элементов | 0,39 +/- 5% |
6 Номинальный ток элемента при t = 350 °C, А: |
10 элементов | 62 |
8 элементов | 74 |
7 Масса ящика, кг | 129 |
Таблица Е.12
Резисторы пусковые и переходные КФ-108А
Показатели | Значения |
1 Номинальное напряжение, В | 220 |
2 Номинальный ток элемента при t = 350 °C, А | 32 |
3 Материал резисторов | Фехраль 1,1 x 10 |
4 Активное сопротивление, Ом: |
элемента | 0,75 +/- 5% |
ящика | 1,5 +/- 5% |
5 Масса ящика, кг | 15 |
Таблица Е.13
Резисторы пусковые и переходные КФ-129А-1, 1С.013
Показатели | Значения |
КФ-129А-1 | 1С.013 |
1 Номинальное напряжение, В | 220 |
2 Номинальный ток элемента при t = 350 °C, А | 32 |
3 Материал резисторов: | |
пусковой резистор 62Ж-63Д | Фехраль 1,1 x 10 | Фехраль 1,1 x 10 |
переходной резистор 62У-62Э | Фехраль 1,5 x 10 | Фехраль 1,1 x 10 |
4 Активное сопротивление, Ом: | |
пускового элемента | 0,42 +/- 5% |
переходного элемента | 0,23 +/- 5% |
5 Масса ящика, кг | 15 |
Таблица Е.14
Резисторы ослабления возбуждения и демпферный резистор
КФ-33С-4, КФ-33У-4, КФ-35С-2
Показатели | Значения |
КФ-33С-4 КФ-33У-4 | КФ-35С-2 |
1 Номинальное напряжение, В | 3000 | 3000 |
2 Количество элементов | 2 | 2 |
3 Материал резистора | Фехраль 1,1 x 10 (два элемента) | Фехраль 1,1 x 10 |
4 Активное сопротивление ящика, Ом | 0,225 +/- 5% | 1,8 +/- 10% |
5 Номинальный ток без обдува, А | 45 | 32 |
Таблица Е.15
Резисторы ослабления возбуждения
Показатели | Тип резисторов |
КФ-116В-1 | КФ-116В-2 | 1БС.047 | 1БС.065 | БРВЦ-46 |
1 Секции резисторов | R4 - R6, R7 - R9 | R4, R7, R5, R8 | R4, R7, R5, R8 | R2, R3, R5, R9, R5, R8 | 1 - 10 |
2 Сопротивление секции, Ом | 0,440 | 0,440 | 0,523 | 0,545 | 0,050 - 2,000 |
3 Количество элементов | 2 | 2 | 2 | 2 | 6 |
4 Сопротивление элемента, Ом | 0,200 - 0,240 | 0,200 - 0,240 | 0,221 - 0,302 | 0,195 - 0,155 | 0,200 - 2,000 |
5 Длительный ток, А | 107-06 | 107-95 | 107-06 | 107-95 | 33-240 |
6 Секции резисторов | R4 - R10, R7 - R11 | R3, R9 | R3, R9 | R4, R7 | - |
7 Сопротивление секции, Ом | 4 | 4 | 4 | 2 | - |
8 Количество элементов | 2 | 2 | 2 | 2 | 6 |
9 Сопротивление элемента, Ом | 2 | 2 | 2 | 2 | - |
10 Длительный ток, А | 33 | 33 | 33 | 33 | - |
11 Масса ящика и(блока), кг | 72,0 | 72,0 | 70,0 | 55,0 | 64,5 |
Таблица Е.16
Резисторы ослабления возбуждения и маневровые КФ-116Б-1
Показатели | Значения |
1 Номинальная мощность, В | 3000 |
2 Мощность элемента, Вт | 2150 |
3 Активное сопротивление маневровых резисторов R1 - R2, Ом | 0,2 +/- 5% |
4 Номинальный ток элемента маневровых резисторов, А | 107 |
5 Активное сопротивление резисторов ослабления поля, Ом: | |
R4 - R5; R7 - R8 | 0,169 +/- 5% |
R5 - R6; R8 - R9 | 0,271 +/- 5% |
R4 - R10; R7 - R11 | 4 +/- 5% |
6 Номинальный ток резисторов, А: | |
R4 - R6; R7 - R9 | 107 |
R4 - R10; R7 - R11 | 33 |
7 Масса ящика, кг | 72 |
Таблица Е.17
Резисторы маневровые
Показатели | Тип резисторов |
КФ-116В-1 | 1БС.026 |
1 Секции резисторов | R1 - R2 | R2 |
2 Сопротивление секции, Ом | 0,20 | 0,24 |
3 Количество элементов | 1 | 2 |
4 Длительный ток, А | 107 | 95 |
Таблица Е.18
Пускотормозные резисторы электропоезда ЭД4М
Показатели | Тип резистора |
ПТР-97 | ПТР-98 | ПТР-99 | ПТР-100 | ПТР-101 | ПТР-102 | ПТР-103 | ПТР-104 | ПТР-105 | ПТР-106 | ПТР-107 | ПТР-108 | ПТР-109 |
1 Сопротивление секции, Ом |
1-2 | 1,760 | 1,560 | 1,760 | - | - | 1,200 | 1,200 | 1,000 | - | 0,635 | - | - | - |
1-3 | - | - | - | - | - | - | - | - | - | - | 0,780 | 0,780 | - |
1-4 | - | - | - | 0,400 | 0,952 | - | - | - | - | - | - | - | - |
1-6 | - | - | - | | | - | - | - | 1,200 | - | - | - | - |
2-3 | - | - | - | 2,900 | 1,000 | - | - | - | - | - | 1,170 | | - |
2-4 | - | - | - | - | - | - | - | - | - | - | - | 0,780 | - |
9-1 | - | - | - | - | - | - | - | - | - | - | - | - | - |
9-2 | - | - | - | - | - | - | - | - | - | - | - | - | - |
9-10 | - | - | - | - | - | - | - | - | - | - | - | - | - |
2 Номинальный ток секции, А |
1-2 | 67 | 67 | 67 | - | - | 126 | 154 | 141 | - | 169 | - | - | - |
1-3 | - | - | - | - | - | - | - | - | - | - | 89 | 89 | - |
1-4 | - | - | - | 67 | 57 | - | - | - | - | - | - | - | - |
1-6 | - | - | - | - | - | - | - | - | 154 | - | - | - | - |
2-3 | - | - | - | 67 | 126 | - | - | - | - | - | 89 | | - |
2-4 | - | - | - | - | - | - | - | - | - | - | - | 89 | - |
9-1 | - | - | - | - | - | - | - | - | - | - | - | - | 89 |
9-2 | - | - | - | - | - | - | - | - | - | - | - | - | 89 |
9-10 | - | - | - | - | - | - | - | - | - | - | - | - | 27 |
3 Время включения номинального тока на секцию, секунд |
1-2, не более | 210 | 210 | 210 | - | 190 | 150 | 100 | 120 | - | 100 | - | - | - |
1-3, не более | - | - | - | - | - | - | - | - | - | - | 90 | 90 | - |
1-4, не более | - | - | - | 210 | - | - | - | - | - | - | - | - | - |
1-6, не более | - | - | - | - | - | - | - | - | 100 | - | - | - | - |
2-3, не более | - | - | - | 210 | 150 | - | - | - | - | - | 90 | - | - |
2-4, не более | - | - | - | - | - | - | - | - | - | - | - | 90 | - |
9-1, не более | - | - | - | - | - | - | - | - | - | - | - | - | 90 |
9-2, не более | - | - | - | - | - | - | - | - | - | - | - | - | 90 |
9-10 | - | - | - | - | - | - | - | - | - | - | - | - | длительное |
4 Количество резисторов | 5 | 4 | 5 | 4 | 6 | 6 | 6 | 5 | 6 | 6 | 5 | 4 | 6 |
5 Материал резистора | Фехраль |
6 Масса, кг | 49,1 | 52,0 | 55,7 | 46,8 | 59,4 | 58,9 | 63,0 | 58,5 | 63,2 | 63,4 | 49,3 | 42,8 | 53,3 |
Таблица Е.19
Демпферные резисторы типа СР
Показатели | Блок БС-3А | Блок БС-3Б |
СР-322 | СР-323 | СР-324 | СР-323А | СР-325А |
1 Количество элементов | 4 | 2 | 6 | 2 | 8 |
2 Активное сопротивление одного элемента, Ом | 9 +/- 10% | 7 +/- 10% | 6 +/- 10% | 7 +/- 10% | 4,8 +/- 10% |
3 Материал провода | Фехраль |
4 Диаметр провода, мм | 1,2 | 1,4 | 1,6 | 1,4 | 1,8 |
5 Количество витков провода | 50 - 53 | 55 - 57 | 60 - 62 | 57 | 61 |
6 Номинальный ток, А | 5,2 | 6,0 | 6,5 | 6,0 | 7,0 |
7 Масса, кг | 28,0 | 23,4 |
Таблица Е.20
Демпферные резисторы типа РД
Показатели | Тип резистора |
РД-41 | РД-42 |
1 Секции резисторов | 1 - 2 | 2 - 3 |
2 Сопротивление секции резистора, Ом | 12 | 6 |
3 Сопротивление резистора, Ом | 2 | 2 |
4 Материал провода | Фехраль 1,1 x 10 |
5 Количество резисторов | 6 | 3 |
6 Номинальный ток, А | 17 | 17 |
7 Масса, кг | 57,0 | 31,7 |
Таблица Е.21
Блок резисторов БС-1Б-1
Показатели | Значения |
1 Номинальное напряжение, В | 3000 |
2 Активное сопротивление, Ом: | |
10 трубок | 1500 +/- 10% |
16 трубок | 5100 +/- 10% |
3 Масса, кг | 16,9 |
Таблица Е.22
Блок резисторов БС-16А
Показатели | Значения |
1 Материал проволоки | Нихром |
2 Диаметр проволоки, мм | 1,8 |
3 Активное сопротивление, Ом | 4,8 +/- 5% |
Таблица Е.23
Междувагонное соединение высоковольтных цепей
Показатели | Значение показателей соединения |
РСБ-20-16 (Б и В) ШС-20-16 (Б и В) | МВС-В9 МВС-Р169 | 1РШ.006 1ВШ.006 |
1 Силовые контакты: | |
номинальное напряжение, В | 3000 | 3000 | 3000 |
номинальный ток, А | 45 | 45 | 45 |
число контактов | 1 | 1 | 1 |
2 Вспомогательные контакты: | |
номинальное напряжение, В | 110 | 110 | 110 |
номинальный ток, А | 5 | 5 | 5 |
число контактов | 1 | 1 | 1 |
3 Масса, кг: | |
розетки | 11,0 (12,5) | 12,0 | 12,5 |
вилки (штепселя) | 3,7 (4,5) | 4,1 | 4,5 |
Таблица Е.24
Междувагонное соединение низковольтных цепей
Показатели | Значение показателей соединения |
РУ-101А, ШУ-101А | 2РШ.001, 2ВШ.001 | 2РШ.005, 2ВШ.005 | РУ-167, ВУ-21М | ВУ-7 |
1 Номинальное напряжение, В | 110/220 | 220 | 380 | 110/220 | 110/220 |
2 Длительный ток, А | 20 | 25 | 150 | 20 | 20 |
3 Число контактов | 34 | 34 | 4 | 37 | 34 |
4 Нормальное усилие включения, Н | 200 | 200 | 100 | - | - |
5 Масса розетки, кг | 12,00 | 12,00 | 12,10 | 3,58 | 6,80 |
6 Масса штепселя, кг | 4,0 | 4,0 | 4,0 | 4,7 | 4,3 |
Таблица Е.25
Выпрямительные установки
Показатели | Тип установки |
УВП-3 | УВП-5А | В-ОПЕД-400 |
1 Напряжение выпрямленное номинальное, В | 1650 | 1650 | 1650 |
2 Ток выпрямленный номинальный, А | 600 | 600 | 400 |
3 Ток пусковой длительностью не более 1 мин, А | 1000 | 1000 | 1000 |
4 Ток пусковой длительностью не более 30 с, А | 1200 | 1200 | 1200 |
5 Напряжение повторяющееся обратное, В | 3600 | 3600 | 3600 |
6 Схема выпрямления | однофазная мостовая |
7 Параллельно в плече | 3 | 3 | 1 |
8 Последовательно в ответвлении плеча | 6 | 4 | 3 |
9 Параллельно в ответвлении плеча | 2 | 2 | 2 |
10 Всего диодов | 84 | 60 | 16 |
11 КПД, % | 99,26 | 99,26 | 99,26 |
12 Тип диодов | ВЛ200-6 | ВЛ7-320 или ДЛ123-320 | ДЛ153-1250 |
13 Охлаждение | принудительное | естественное | естественное |
14 Масса, кг | 370 | 450 | 150 |
Таблица Е.26
Шунт тиристорный ТШ-М
Показатели | Значения |
1 Напряжение питания (постоянное), В | 50 +/- 15 |
2 Ток, А, не более | 0,8 |
3 Частота, Гц | 50 |
4 Наработка на отказ, час | 20000 |
5 Режим работы | Продолжительный |
6 Масса, кг | 140 |
Таблица Е.27
Силовые (тяговые) трансформаторы
Показатели | Типы трансформаторов |
ОЦР-1000/25 | ОДЦЭР-1600/25А | ОДЦЭ-2000/25А |
1 Номинальная мощность обмоток кВА: |
сетевой | 965 | 965 | 1652 |
тяговой | 773 | 773 | 1320 |
собственных нужд | 92 | 92 | 150 |
отопления | 100 | 100 | 150 |
2 Номинальное напряжение (холостого хода) обмоток, кВ: |
сетевой | 25 | 25 | 25 |
тяговой | 1744 | 2208 | 2200 |
собственных нужд на отводе Х1 | 220 | 220 | 220 |
собственных нужд на отводе Х2 | 276 | 276 | 280 |
отопления | 628 | 628 | 635 |
3 Номинальный (длительный) ток обмоток, А: |
сетевой | 39,0 | 39,0 | 66,1 |
тяговой | 443 | 350 | 600 |
собственных нужд | 420,0 | 420,0 | 267,9 |
отопления | 159 | 159 | 238 |
4 Выпрямленное напряжение, В | 1650 | 1650 | - |
5 Полные потери мощности при напряжении 25 кВ, кВт | 23,7 | 22,0 | 36,5 |
6 КПД, % | 97,3 | 97,8 | 97,5 |
7 Масса, кг | 3122 (с маслом) | 2700 (без масла) 3600 (с маслом) | 3500 (с маслом) |
Таблица Е.28
Трансформаторы электропоездов ЭД2Т, ЭР2Т, ЭР9Е, ЭР9М
Показатели | Значение показателей трансформаторов |
1ТР.021 | 1ТР.030 | 1ТР.031 | 1ТР.066 | 1ТР.033 | 1ТР.068 | 1ТР.069 | 1ТР.070 |
1 Частота, Гц | 50 | 50 | 1000 | 50 | 100 | 50 | 50 | 50 |
2 Марка стали магнитопровода | 1212 | 1572 | 1572 | 3413 | 1572 | 3413 | 1572 | 1212 |
3 Первичная обмотка: |
обозначение выводов | Н1-К1 | Н1-К1 | Н1-К1 | Н1-К1 | Н1-К1 | Н1-К1 | Н1-К1 | Н1-К1 |
номинальное напряжение, В | 220 | - | 11 | 220 | 11 | 320 | 220 | - |
номинальный ток, А | 14 | 35 | 0,3 | - | 0,3 | 0,03 | 0,95 | 0,02 |
марка провода | ПСД | ПБД | ПЭЛШО | - | ПЭЛШО | ПЭВ-2 | ПЭВ-2 | ПЭВ-2 |
сечение провода, см2 | 13,42 | 2,83 | 0,20 | - | 0,20 | 0,18 | 0,44 | 0,18 |
количество витков | 104 | 10 | 36 | 3000 | 36 | 4000 | 645 | 4660 |
активное сопротивление при 20 °C, Ом, +/- 10% | 0,067 | 0,0045 | 1,1 | 114 | 0,8 | 330 | 16 | 340 |
4 Вторичная обмотка: |
обозначение выводов | Н2-К2 | Н2-К2 | Н6-К6 | Н2-К2 | Н2-К2 | Н2-К2 | Н2-К2 | Н2-К2 |
номинальное напряжение, В | 85 | - | 15 | 40 | 25 | 64 | 72 | - |
номинальный ток, А | 32,00 | 0,01 | 1,80 | 0,25 | 1,70 | 0,01 | 3,50 | 60,00 |
марка провода | ПБД | ПЭВ-2 | ПЭЛШО | ПЭТВ | ПЭЛШО | ПЭВ-2 | ПЭВ-2 | ПС-1000 |
сечение провода, см2 | 22,63 | 0,18 | 0,41 | 0,35 | 0,41 | 0,18 | 0,96 | - |
количество витков | 40 | 5900 | 50 | 545 | 80 | 810 | 220 | - |
активное сопротивление при 20 °C, Ом, +/- 10% | 0,015 | 400 | 0,55 | 21 | 0,6 | 83 | 1,2 | - |
5 Вторичная обмотка: |
обозначение выводов | Н3-К3 | - | Н3-К3 | Н3-К3 | Н3-К3 | Н3-К3 | - | - |
номинальное напряжение, В | 51 | - | 25 | 10 | 15 | 32 | - | - |
номинальный ток, А | 9,00 | - | 0,01 | 0,10 | 1,80 | 0,01 | - | - |
марка провода | ПБД | - | ПЭЛШО | ПЭВ | ПЭЛШО | ПЭВ-2 | - | - |
сечение провода, см2 | 2,83 | - | 0,20 | 0,23 | 0,41 | 0,18 | - | - |
количество витков | 24 | - | 80 | 130 | 50 | 0,18 | - | - |
активное сопротивление при 20 °C, Ом, +/- 10% | 0,04 | - | 1,8 | 5 | 0,4 | 46 | - | - |
6 Масса, кг | 93,00 | 1,90 | 1,00 | 1,05 | 0,10 | 1,10 | 4,20 | 0,75 |
Таблица Е.29
Трансформаторы электропоезда ЭД9М
Показатели | Тип трансформатора |
1ТРЭ.071.1 | 1ТРЭ.033.1 | 1ТРЭ.110.2 | 1ТРЭ.069 | 1ТРЭ.129 | 1ТРЭ.056.2 | 1ТРЭ.096 | 2ТРЭ.037.1 | 2ТРЭ.037.2 | 2ТРЭ.037.5 |
1 Мощность, ВА | 9000 | - | 10 | 210 | - | - | - | - | - | - |
2 Частота, Гц | 50 | - | 50 | 50 | 50 | - | 50 | 50 | 50 | 50 |
3 Род тока | переменный | импульсный | переменный | импульсный | переменный |
4 Сердечник: |
сечение, см2 | 84,00 | 0,90 | 4,75 | 16,00 | 22,00 | 0,90 | 7,00 | 0,50 | 0,50 | 0,50 |
марка стали | 2212 | 3414 | 1521 | 3413 | 3413 | 3413 | 3414 | 3414 | 3414 | 3414 |
5 Масса, кг | 125,00 | 0,06 | 1,40 | 6,50 | 1,20 | 0,30 | 3,40 | 0,06 | 0,06 | 0,06 |
6 Первичная обмотка (Н1-К1) |
номинальное напряжение, В | 220,00 | 9,00 | 320,00 | 220,00 | - | 50,00 | 220,00 | 12,00 | 40,00 | 6,50 |
номинальный ток, А | 50,00 | 0,30 | 0,05 | 0,95 | 400,00 | 0,30 | 0,20 | 0,05 | 0,05 | 0,05 |
марка провода | ПСД | ПЭТВ-2 | ПЭТВ-2 | ПЭТВ-2 | - | ПЭТВ-2 | ПЭТВ-2 | ПЭВ-2 | ПЭВ-2 | ПЭВ-2 |
размер сечения (диаметр) провода, мм | 2,500 x 6,300 | 0,200 | 0,200 | 0,700 | - | 0,400 | 0,355 | 0,125 | 0,125 | 0,125 |
количество витков | 54 x 2 | 36 | 3000 | 690 | 1 | 80 | 1100 | 1000 | 3260 | 12000 |
7 Вторичная обмотка (Н2-К2) |
номинальное напряжение, В | 188 | 25 | 64 | 72 | 50 | 30 | 127 | 24 | 11 | 6,5 |
номинальный ток, А | 50,00 | 1,70 | 0,15 | 3,50 | 0,12 | 0,30 | 0,10 | 0,05 | 0,05 | 0,05 |
марка провода | ПСД | ПЭТВ-2 | ПЭТВ-2 | ПЭТВ-2 | ПЭТВ-2 | ПЭТВ-2 | ПЭТВ-2 | ПЭВ-2 | ПЭВ-2 | ПЭВ-2 |
размер сечения (диаметр) провода, мм | 2,500 x 6,300 | 0,4 | 0,315 | 1,250 | 0,224 | 0,400 | 0,280 | 0,125 | 0,125 | 0,125 |
количество витков | 23 x 2 | 115 | 614 | 226 | 4000 | 20 | 647 | 2000 | 900 | 1200 |
8 Вторичная обмотка (Н3-К3) |
номинальное напряжение, В | 188 | 11 | 32 | - | - | - | 127 | - | - | - |
номинальный ток, А | 50,00 | 1,80 | 0,15 | - | - | - | 0,10 | - | - | - |
марка провода | ПСД | ПЭТВ-2 | ПЭТВ-2 | - | - | - | ПЭТВ-2 | - | - | - |
размер сечения (диаметр) провода, мм | 2,500 x 6,300 | 0,400 | 0,315 | - | - | - | 0,280 | - | - | - |
количество витков | 23 x 2 | 50 | 312 | - | - | - | 647 | - | - | - |
9 Вторичная обмотка (Н4-К4) |
номинальное напряжение, В | - | - | - | - | - | - | 127 | - | - | - |
номинальный ток, А | - | - | - | - | - | - | 0,1 | - | - | - |
марка провода | - | - | - | - | - | - | ПЭТВ-2 | - | - | - |
диаметр провода, мм | - | - | - | - | - | - | 0,280 | - | - | - |
количество витков | - | - | - | - | - | - | 647 | - | - | - |
Таблица Е.30
Трансформаторы электропоезда ЭД9Т
Показатели | Тип трансформатора |
1ТРЭ.071.1 | 1ТРЭ.033.1 | 1ТРЭ.110.2 | 1ТРЭ.069 | 1ТР.085 | 1ТРЭ.129 | 1ТРЭ.056.2 | 1ТРЭ.096 | 2ТРЭ.037.1 | 2ТРЭ.037.2 | 2ТРЭ.037.5 |
1 Мощность, ВА | 9000 | - | 10 | 210 | - | - | - | - | - | - | - |
2 Частота, Гц | 50 | 1000 | 50 | 50 | 50 | 50 | 50 | 50 | - | - | - |
3 Род тока | переменный | импульсный | переменный | импульсный | переменный |
4 Сердечник: |
сечение, см2 | 80,0 | 0,5 | 4,0 | 16,0 | 22,0 | 22,0 | 1,5 | 9,3 | 0,5 | 0,5 | 0,5 |
марка стали | 1212 | 3414 | 1521 | 3414 | 3414 | 3414 | 3414 | 3414 | 3414 | 3414 | 3414 |
5 Масса, кг | 125,00 | 0,10 | 0,70 | 4,20 | 1,20 | 1,20 | 0,30 | 3,40 | 0,06 | 0,06 | 0,06 |
6 Первичная обмотка (Н1-К1) |
номинальное напряжение, В | 220,0 | 11,0 | 320,0 | 220,0 | 220 | - | 50,0 | 220,0 | 12,0 | 40,0 | 6,5 |
номинальный ток, А | 50,00 | 0,30 | 0,05 | 0,95 | 200,00 | 400,00 | 0,30 | 0,20 | 0,05 | 0,05 | 0,05 |
марка провода | ПБД | ПЭТВ-2 | ПЭТВ-2 | ПЭТВ-2 | - | - | ПЭТВ-2 | ПЭТВ-2 | ПЭВ-2 | ПЭВ-2 | ПЭВ-2 |
размер сечения (диаметр) провода, мм | 2,500 x 6,300 | 0,200 | 0,160 | 0,440 | - | - | 0,400 | 0,355 | 0,125 | 0,125 | 0,125 |
количество витков | 54 x 2 | 36 | 2500 | 645 | 1 | 1 | 80 | 920 | 1000 | 2220 | 1200 |
7 Вторичная обмотка (Н2-К2) |
номинальное напряжение, В | 188,0 | 25,0 | 64,0 | 72,0 | 50,0 | 50,0 | 30,0 | 127,0 | 24,0 | 11,0 | 6,5 |
номинальный ток, А | 50,00 | 1,70 | 0,15 | 3,50 | 0,10 | 0,10 | 0,30 | 0,10 | 0,05 | 0,05 | 0,05 |
марка провода | ПБД | ПЭТВ-2 | ПЭТВ-2 | ПЭТВ-2 | ПЭТВ-2 | ПЭТВ-2 | ПЭТВ-2 | ПЭТВ-2 | ПЭВ-2 | ПЭВ-2 | ПЭВ-2 |
размер сечения (диаметр) провода, мм | 2,500 x 6,300 | 0,400 | 0,310 | 1,250 | 0,224 | 0,400 | 0,280 | 0,125 | 0,125 | 0,125 | 0,125 |
количество витков | 23 x 2 | 80 | 510 | 212 | 4000 | 4000 | 20 | 540 | 1800 | 600 | 1200 |
8 Вторичная обмотка (Н3-К3) |
номинальное напряжение, В | 188 | 15 | 32 | - | - | - | 127 | - | - | - | - |
номинальный ток, А | 50,00 | 1,80 | 0,15 | - | - | - | 0,1 | - | - | - | - |
марка провода | ПБД | ПЭТВ-2 | ПЭТВ-2 | - | - | - | ПЭТВ-2 | - | - | - | - |
размер сечения (диаметр) провода, мм | 2,50 x 6,30 | 0,41 | 0,16 | - | - | - | 0,28 | - | - | - | - |
количество витков | 23 x 2 | 50 | 250 | - | - | - | 540 | - | - | - | - |
9 Вторичная обмотка (Н4-К4) |
номинальное напряжение, В | - | - | - | - | - | - | 127 | - | - | - | - |
номинальный ток, А | - | - | - | - | - | - | 0,10 | - | - | - | - |
марка провода | - | - | - | - | - | - | ПЭТВ-2 | - | - | - | - |
диаметр провода, мм | - | - | - | - | - | - | 0,280 | - | - | - | - |
количество витков | - | - | - | - | - | - | 540 | - | - | - | - |
Таблица Е.31
Трансформаторы электропоезда ЭД2Т, ЭД4М
Показатели | Тип трансформатора |
1ТР.021 (Г-33) | 1ТР.025 (Г-34) | 1ТР.030 (ТО-42) | 1ТР.033.1 | 1ТР.056.1 | 1ТР.060 (ТО-44) | 1ТР.088 (ТО-43) | 1ТР.096 | 2ТРЭ.110 | 2ТР.037.1 | 2ТР.037.2 | 2ТР.034.4 | 2ТР.037.5 |
1 Мощность, ВА | 5000 | 4200 | - | - | - | 200 | 245 | - | - | - | - | - | - |
2 Частота, Гц | 50 | 50 | 50 | 1000 | 50 | 50 | 50 | - | - | 50 | 50 | 50 | 50 |
3 Род тока | переменный | переменный | постоянный | импульсный | переменный | импульсный | переменный | переменный | - | - | - | - | - |
4 Сердечник: |
сечение, см2 | 54,0 | 54,0 | 28,0 | 0,5 | 1,5 | 3,4 | 10,0 | 9,3 | 4,0 | 0,5 | 0,5 | 0,5 | 0,5 |
марка стали | 2211 | 2211 | 3414 | 1572 | 3413 | 3414 | 1212 | 3414 | | 1572 | 1572 | 1572 | 1572 |
| | ИС МЕГАНОРМ: примечание. Нумерация пунктов дана в соответствии с официальным текстом документа. | |
|
6 Первичная обмотка (Н1-К1) |
номинальное напряжение, В | 127 | 127 | 3000 | 11 | 50 | - | 7 | 220 | 220 | 12 | 40 | 3 | 6,5 |
номинальный ток, А | 14,00 | 33,00 | 35,00 | 0,30 | 0,30 | - | 35,00 | 0,20 | - | 0,05 | 0,05 | 0,40 | 0,05 |
марка провода | ПСД | ПСД | ПСДЛ | ПЭВ-2 | ПЭВ-2 | - | ПСДТ | ПЭВ-2 | ПЭТВ-2 | ПЭВ-2 | ПЭВ-2 | ПЭВ-2 | ПЭВ-2 |
диаметр (размер сечения) провода, мм | 2,800 | 2,650 x 7,100 | 1,6 x 40 | 0,200 | 0,400 | - | 3,15 | 0,355 | 0,180 | 0,125 | 0,125 | 0,355 | 0,125 |
количество витков | 104 | 57 | 11 | 36 | 80 | - | 28 | 920 | 2000 | 1000 | 2220 | 200 | 1200 |
<*> Или 3407 или 3408 или другой, применяемый для шины типоразмера ШЛ16 x 25 ГОСТ 22050-76. |
7 Вторичная обмотка (Н2-К2) |
номинальное напряжение, В | 85,0 | 90,0 | - | 25,0 | 30,0 | - | 80,0 | 127,0 | 40,0 | 24,0 | 11,0 | 30,0 | 6,5 |
номинальный ток, А | 32,00 | 42,00 | 0,01 | 0,30 | 0,30 | - | 2,50 | 0,10 | 0,23 | 0,05 | 0,05 | 0,05 | 0,05 |
марка провода | ПСД | ПСД | ПЭТ 200 | ПЭВ2 | ПЭВ2 | - | ПСДТ | ПЭВ2 | ПЭТВ-2 | ПЭВ2 | ПЭВ2 | ПЭВ2 | ПЭВ2 |
размер сечения (диаметр) провода, мм | 2,650 x 7,100 | 2,650 x 7,100 | 0,2 | 0,200 | 0,400 | - | 4,5 | 0,270 | 0,224 | 0,125 | 0,125 | 0,125 | 0,125 |
количество витков | 40 | 40 | 6500 | 80 | 20 | - | 320 | 540 | 365 | 1800 | 600 | 2000 | 1200 |
8 Вторичная обмотка (Н3-К3) |
номинальное напряжение, В | 42 | - | - | 15 | 30 | 50 | - | 127 | 10 | 42 | - | - | 15 |
номинальный ток, А | 9,00 | - | - | 0,01 | 0,30 | 3,00 | - | 0,10 | - | 9,00 | - | - | 0,01 |
марка провода | ПСД | - | - | ПЭВ-2 | ПЭВ-2 | ПЭТ 200 | - | ПЭВ-2 | ПЭТВ-2 | ПСД | - | - | ПЭВ-2 |
диаметр провода, мм | 2,80 | - | - | 0,20 | 0,40 | 1,0 | - | 0,27 | 0,18 | 2,80 | - | - | 0,20 |
количество витков | 34 | - | - | 50 | 20 | 100 | - | 540 | 95 | 34 | - | - | 50 |
9 Вторичная обмотка (Н4-К4) |
номинальное напряжение, В | - | - | - | - | - | - | - | 127 | - | - | - | - | - |
номинальный ток, А | - | - | - | - | - | - | - | 0,1 | - | - | - | - | - |
марка провода | - | - | - | - | - | - | - | ПЭТВ-2 | - | - | - | - | - |
диаметр провода, мм | - | - | - | - | - | - | - | 0,28 | - | - | - | - | - |
количество витков | - | - | - | - | - | - | - | 540 | - | - | - | - | - |
10 Масса, кг | 95,00 | 95,00 | 2,0 | 0,06 | 0,30 | 2,1 | 5,00 | 3,40 | 0,07 | 0,06 | 0,06 | 0,06 | 0,06 |
Таблица Е.32
Разделительный трансформатор 1ТР.071 электропоезда ЭР9М
Показатели | Значение |
1 Мощность, кВА | 9 |
2 Частота, Гц | 50 |
3 Род тока | переменный |
4 Сердечник: | |
марка стали | 1212 |
сечение, см2 | 80 |
| | ИС МЕГАНОРМ: примечание. Нумерация пунктов дана в соответствии с официальным текстом документа. | |
|
6 Масса трансформатора без масла, кг | 125 |
7 Первичная обмотка (два провода): |
номинальное напряжение, В | 220 |
номинальный ток, А | 50 |
марка провода | ПБД |
сечение провода, см2 | 16,84 |
количество витков | 2 x 54 |
активное сопротивление при 20 °C, Ом | 0,057 +/- 0,005 |
8 Вторичная обмотка: |
номинальное напряжение, В | 188 |
номинальный ток, А | 50 |
марка провода | ПБД |
сечение провода, см2 | 16,84 |
количество витков: | |
первой обмотки (два провода) | 2 x 23 |
второй обмотки | 23 |
третьей обмотки | 23 |
активное сопротивление при 20 °C, Ом | 0,053 +/- 0,005 |
Таблица Е.33
Импульсные трансформаторы электропоездов ЭР2Р, ЭР9Е, ЭР9М
Показатели | Значение |
1ТР.013 | 1ТР. 031 | 1ТР.033 |
1 Частота тока, Гц | 1000 | 1000 | 1000 |
2 Первичная обмотка (Н1-К1) |
номинальное напряжение, В | 12 | 11 | 11 |
номинальный ток в импульсе, А | - | 0,3 | 0,3 |
число витков | 40 | 36 | 36 |
3 Вторичная обмотка (Н2-К2) |
номинальное напряжение, В | 12 | 15 | 25 |
номинальный ток в импульсе, А | 1,0 | 1,8 | 1,7 |
число витков | 60 | 50 | 80 |
4 Вторичная обмотка (Н3-К3) |
номинальное напряжение, В | 120 | 25 | 15 |
номинальный ток в импульсе, А | 0,05 | 0,01 | 1,80 |
число витков | 400 | 80 | 50 |
5 Вторичная обмотка (Н4-К4) |
номинальное напряжение, В | - | 25 | - |
номинальный ток в импульсе, А | - | 1,7 | - |
число витков | - | 80 | - |
Таблица Е.34
Трансформатор ТО-45
Показатели | Значение |
Номинальное вторичное фазное напряжение Х.Х., В | 127 |
| | ИС МЕГАНОРМ: примечание. Нумерация пунктов дана в соответствии с официальным текстом документа. | |
|
2 Номинальный ток обмоток, А | 0,47 |
3 Номинальное линейное напряжение питания, В | 220 |
4 Номинальное напряжение изоляции, вторичных обмоток, В | 116 |
5 Номинальная мощность, кВт | 0,104 |
6 Частота питающей сети, Гц | 50 |
7 Масса, кг | 2,67 |
8 Климатическое исполнение | У |
9 Категория размещения | 2 |
10 Верхнее значение рабочей температуры, °C | 60 |
11 Степень защиты | 1РОО |
12 Группа условий эксплуатации в части воздействия механических факторов внешней среды | М25 |
13 Охлаждение | воздушное, естественное |
14 Род тока | переменный |
15 Номинальное напряжение обмотки Н1-К1, В | 220 |
16 Напряжение холостого хода обмотки Н2-К2, В | 127 +/- 2 |
17 Напряжение холостого хода обмотки Н3-К3, В | 127 +/- 2 |
18 Номинальный ток обмоток Н1-К1, А | 0,47 |
19 Номинальный ток обмоток Н2-К2, А | 0,2 |
20 Номинальный ток обмоток Н3-К3, А | 0,2 |
21 Сопротивление изоляции, Мом, не менее: | |
после испытаний на теплостойкость | 6 |
после испытаний на влагостойкость | 1 |
22 Рабочее положение | произвольное |
23 Напряжение изоляции обмоток между собой и относительно магнитопровода, В | 220 |
24 Класс изоляции катушек | F |
Таблица Е.35
Реакторы
Показатели | Типы реакторов |
СР-800 | Реактор, встроенный в трансформатор ОДЦЭР-1600/25А |
1 Номинальный выпрямленный ток, А | 400 | 400 |
2 Переменная составляющая тока (эффективное значение), А | 85 | 85 |
3 Индуктивность, мГ, при пульсирующем токе: | |
250 А | 20 +/- 2 | 22 +/- 2,2 |
530 А | 10 +/- 1 | 17 +/- 1,7 |
4 Индуктивность при переменном токе 60 А, мГ | 21 +/- 2 | 22 +/- 2,2 |
5 Потери в проводе при номинальном выпрямительном токе, кВт | 10,5 | 9,5 |
6 Масса, кг | 966 | 965 |
Таблица Е.36
Индуктивные шунты
Показатели | Типы шунтов |
ИШ-104А1 | ИШ-108 | 1ШИ.001 | 1ШИ.001.1 | ИШ-38 |
1 Номинальное напряжение, В | 3000 | 3000 | 3000 | 3000 | 3000 |
2 Номинальный ток при скорости обдува 4 м/с, А | 35 | 165 | 165 | 165 | 180 |
3 Индуктивность, мГн при токе: | | | | | |
50 А | 240 - 350 | 40 - 60 | 120 +/- 12 | 120 +/- 12 | - |
100 А | 120 - 170 | 2 - 45 | - | - | - |
200 А | - | - | 75,0 +/- 7,5 | 75,0 +/- 7,5 | 40 |
330 А | - | - | 65,0 +/- 6,5 | 65,0 +/- 6,5 | - |
4 Сопротивление при 20 °C, Ом | 0,352 | 0,0306 | 0,045 | 0,045 | 0,049 |
5 Катушка: | |
тип провода | ПММ | ПММ | ЛММ | ПСД | ПСДТ |
размер сечения провода, мм | 0,80 x 25,00 | 2,26 x 25,00 | 2,26 x 25,00 | 3,15 x 9,50 | 4,50 x 11,20 |
число витков | 2 x 175 | 68 | 68 | 204 | 34 |
6 Количество катушек | 2 | 2 | 3 | 2 | 12 |
7 Масса, кг | 300 | 435 | 555 | 555 | 540 |
Таблица Е.37
Дроссели типа 1ДР
Показатели | Тип дросселя |
1ДР.001 | 1ДР.007 | 1ДР.007.1 | 1ДР.016 | 1ДР.020 | 1ДР.021 | 1ДР.044 | 1ДР.059 |
1 Номинальный ток, А | 2,00 | 40,00 | 40,00 | 0,50 | 0,50 | 0,05 | 10,40 | 40,00 |
2 Сердечник: |
сечение, см2 | 14,60 | 39,00 | 39,00 | 2,90 | 2,90 | 0,56 | 2,90 | 3,40 |
марка стали | 1572 | 1212 | 2212 | 3414 | 3414 | 1572 | 3414 | 1572 |
3 Марка провода | ПЭВ-2 | ПБД | ПСД | ПЭТВ-2 | ПЭТВ-2 | ПЭТВ-2 | ПЭТВ-2 | ПБД |
4 Диаметр (размер сечения) провода, мм | 0,96 | 3,80 x 6,40 | 2,00 x 9,50 | 0,22 | 0,18 | 0,12 | 0,31 | 2,50 x 6,30 |
5 Количество витков | 400 | 118 | 120 | 2000 | 4660 | 1700 | 1640 | 60 |
6 Сопротивление обмотки, Ом | 2,000 | 0,044 | 0,044 | 92,000 | 320,000 | 120,000 | 41,000 | 0,011 |
7 Масса, кг | 3,10 | 50,00 | 50,00 | 0,70 | 0,70 | 0,06 | 1,10 | 2,70 |
Таблица Е.38
Дроссели типа Д
Показатели | Тип дросселя |
Д-33 | Д-34 | Д-35 | Д-39 | Д-86-02 | ДП-32 | Д101В | Д102Б-1 | Д-116А-1 | Д-117 |
1 Номинальный ток, А | 0,200 | 0,005 | 0,200 | 0,005 | 2,200 | 600,000 | 40,000 | 10,000 | 15,000 | 8,000 |
2 Сердечник: |
сечение, см2 (размер сечения, см) | 2,88 | 2,88 | 2,88 | 0,60 | 9,00 | - | 12,00 | 7,20 | 2,00 x 16,00 | 6,10 |
марка стали | 3413 | 3413 | 3413 | 3413 | 3413 | - | 1572 | 1211 | 1211 | 1572 |
| | ИС МЕГАНОРМ: примечание. Нумерация пунктов дана в соответствии с официальным текстом документа. | |
|
4 Марка провода | ПЭТ-200 | ПЭТ-200 | ПЭТ-200 | ПЭТ-200 | ПЭТ-155 | Шина АДО | ПСД | ПБД | ПБД | ПБД |
5 Диаметр (размер сечения) провода, мм | 0,224 | 0,200 | 0,244 | 0,200 | 1,000 | 3,000 x 40,000 | 3,530 x 6,900 | 1,160 x 4,100 | 2,260 | 2,260 |
6 Количество витков | 2400 | 4660 | 1640 | 1700 | 600 | 27 | 40 | 80, 120 и 150 | 2 x 115 | 3 x 55 |
7 Сопротивление обмотки, Ом | 105,000 | 210,000 | 67,000 | 64,000 | 2,420 | 0,008 | 0,008 | 0,116 | 0,073 | 0,037 |
8 Масса, кг | 0,68 | 0,75 | 0,65 | 0,20 | 2,80 | 32,00 | 6,20 | 4,30 | 10,60 | 5,0 |
Таблица Е.39
Магнитные усилители
Показатели | Тип усилителя |
МУ-113 | МУ-106А-1 |
1 Напряжение питания, В | 220 | 127 |
2 Частота, Гц | 50 | 50 |
3 Сечение сердечника, см2 | 10,0 | 11,6 |
4 Марка стали сердечника | 1212 | 1572 |
5 Рабочая обмотка: | |
номинальный ток, А | 2,3 | 1,0 |
марка провода | ПЭВ-2 | ПЭЛ |
диаметр провода, мм | 1,35 | 0,64 |
число витков | 366 | 2 x 350 |
активное сопротивление при 20 °C, Ом | 0,800 | 9,900 |
6 Обмотка управления: | |
номинальный ток, А | 0,35 | 0,30 |
марка провода | ПЭВ-2 | ПЭЛ |
диаметр провода, мм | 0,41 | 0,38 |
число витков | 2000 | 1000 |
активное сопротивление при 20 °C, Ом | 138 | 60 |
7 Обмотка смещения: | |
номинальный ток, А | - | 0,08 |
марка провода | - | ПЭЛ |
диаметр провода, мм | - | 0,38 |
число витков | - | 400 |
активное сопротивление при 20 °C, Ом | - | 25 |
8 Масса, кг | 12,5 | 7,0 |
Таблица Е.40
Воздушный выключатель ВОВ-25-4М и ВОВ-25-10/400
Показатели | Значение |
1 Номинальное напряжение, кВ | 25 |
2 Номинальный ток, А | 400 |
3 Номинальный ток отключения, кА | 10 |
4 Сквозной ток короткого замыкания (амплитуда), кА | 25 |
5 Ток термической стойкости за время 0,1 с, кА | 10 |
6 Номинальное давление сжатого воздуха в резервуаре, МПа | 0,8 |
7 Диапазон рабочего давления в баке, МПа | 0,6 - 0,9 |
8 Минимальное давление срабатывания механизмов выключателя, МПа: | |
при отключении от электромагнита постоянного тока | 0,35 |
при включении от электромагнита постоянного тока | 0,3 |
при отключении от электромагнита переменного тока или от АМД | 0,4 |
9 Сброс давления, МПа, не более | |
при отключении выключателя от удерживающего электромагнита или от АМД | 0,25 |
при включении выключателя от электромагнита включения | 0,05 |
10 Суммарный расход воздуха на цикл "включение-отключение", м3, не более | 0,038 |
11 Давление срабатывания АДМ: | |
на размыкание контактов, МПа | 0,48-0,02 |
на замыкание контактов, МПа | 0,58-0,02 |
12 Снижение давления за счет утечек (без учета потерь на вентиляцию полостей изоляторов) при начальном номинальном давлении, МПа в час | 0,1 |
13 Мощность отключения при давлении сжатого воздуха, МВА: | |
0,6 - 0,9 МПа | 250 |
0,6 - 0,46 МПа | 125 |
14 Мощность отключения при двукратном отключении без пополнения запаса воздуха в резервуаре выключателя и начальном давлении, МВА: | |
не менее 0,8 МПа | 250 |
не менее 0,7 МПа | 125 |
15 Номинальная мощность нагревательного элемента, Вт | 400 |
16 Номинальное напряжение постоянного тока цепей управления, В | 110 |
17 Ток срабатывания электромагнита отключения переменного тока, А, не более | 15 |
18 Величина импульса тока для катушки АМД, А, не более | 4500 |
19 Длительность подаваемого импульса тока на катушку АМД, мс, не более | 40 |
20 Расход воздуха для вентиляции внутренних полостей изоляторов, с учетом утечек, м3/ч, не более | 0,233 |
21 Минимальное напряжение, при котором якорь удерживающего электромагнита останется в подтянутом положении при включенном выключателе, В | 71,5 |
22 Минимальное напряжение срабатывания включающего электромагнита, В | 32,5 |
23 Допускаемая длительность электрического импульса на электромагнит включения, с, не более | 5 |
24 Сопротивление всего токоведущего контура, мкОм, не более | 350 |
25 Собственное время автоматического отключения от электромагнита переменного тока при номинальном токе в катушке и номинальном давлении сжатого воздуха, мс | 30 |
26 Собственное время автоматического отключения от промежуточного реле при номинальном давлении и номинальном напряжении цепи управления, мс: | |
при токе равном 130% от тока срабатывания | 60, не более |
при токе равном 200% и более тока срабатывания | 50, не более |
27 Время запаздывания разъединителя (время от размыкания дугогасительных контактов до размыкания разъединителя) при номинальном давлении, мс | 30 - 40 |
28 Время от размыкания контактов разъединителя до замыкания разъединителя с заземляющим контактом при отключении, мс | 40 - 70 |
29 Собственное время включения выключателя при номинальном давлении и напряжении в цепи управления 110 В постоянного тока, с, не более | 0,14 |
30 Собственное время автоматического отключения от электромагнита переменного тока при номинальном давлении и токе в катушке, равном 15 А, мс, не более | 30 |
31 Масса, кг | 200 |
Таблица Е.41
Блок ускоренного отключения воздушного выключателя
Показатели | Тип блока |
БУ-2 | БУ-3 | БУЗ-3 | БТЗ |
1 Напряжение питания, В | 110 | 110 | 110 | 77 - 150 |
2 Потребляемая мощность номинальная (не более), ВА | 15,0 | 15,0 | 8,5 | (15) |
3 Уставки блока: | |
канал короткого замыкания выпрямительной уставки, А | 5,6 А +/- 5% | (25,0 +/- 1,25) А | 8,0 А +/- 5% | (300 +/- 15) мА |
канал перегрузки тяговых двигателей, В | 25 +/- 5% | 25 +/- 1,25 | 25 +/- 3% | 25 +/- 3% |
4 Амплитуда выходного импульса тока, А | 40 - 60 | 40 - 60 | 40 - 60 | 70, не более |
5 Длительность выходного импульса тока, с | 0,12 - 0,14 | 0,12 - 0,14 | 0,20, не более | 0,30, не более |
6 Время срабатывания блока при перегрузке в цепи выпрямительной установки или тяговых двигателей, с | 25 - 30 | 25 - 30 | 25 - 30 | 30, не более |
7 Масса, кг | 8 | 8 | 5 | 6 |
Таблица Е.42
Разрядники переменного и постоянного тока
Показатели | Тип разрядника |
РВЭ-25М | РВМК-УМ | РМВУ-3,3 | РВКУ-3,3 А |
1 Номинальное напряжение, кВ | 25,00 | 2,06 | 3,30 | 3,30 |
2 Наибольшее допустимое напряжение, кВ | 29,0 | 2,5 | 4,2 | 4,0 |
3 Пробивное напряжение при частоте 50 Гц, кВ: | |
не менее | 58,0 | 3,9 | 6,7 | 5,3 |
не более | 66,0 | 4,7 | 7,4 | 6,0 |
4 Импульсное пробивное напряжение при перезарядном времени 2 - 20 мкс, кВ, не более | 100,0 | 7,4 | 12,5 | 8,5 |
5 Ток проводимости, мкА | 500 - 620 | 10 | 70 - 130 | 165 - 220 |
6 Масса, кг | 45,0 | 22,0 | 22,5 | 30,0 |
Таблица Е.43
Быстродействующие выключатели БВП-105А
Показатели | Тип выключателя |
БВП-105А-1 | БВП-105А-4 | БВП-105А-11 |
1 Номинальное напряжение силовой цепи, В | 3000 | 3000 | 3000 |
2 Номинальный (длительный) ток, А | 250 | 250 | 250 |
3 Номинальное напряжение цепи управления, В | 50 | 110 | 110 |
4 Ток уставки, А | 575 +/- 25 | 600 +/- 50 | 650 +/- 50 |
5 Собственное время срабатывания, мс | 5 | 5 | 4 |
6 Предельный отключаемый ток, кА | 20 | 20 | 20 |
7 Номинальное давление сжатого воздуха привода, МПа | 0,5 | 0,5 | 0,5 |
8 Раствор силовых контактов, мм | 30 +/- 5 | 30 +/- 5 | 30 +/- 5 |
9 Ширина силовых контактов, мм | 11 | 11 | 11 |
10 Нажатие силовых контактов, Н | 90 - 100 | 90 - 100 | 90 - 100 |
11 Главные контакты: | | | |
число пар | 2 | 2 | 2 |
раствор, мм | 30 +/- 5 | 30 +/- 5 | 30 +/- 5 |
ширина силовых контактов, мм | 11 | 11 | 11 |
нажатие главных контактов, Н | 90 - 100 | 90 - 100 | 90 - 100 |
12 Вспомогательные (блокировочные) контакты: | | | |
номинальный ток, А | 6 | 6 | 6 |
раствор, мм | 6,5 - 9,5 | 6,5 - 9,5 | 6,5 - 9,5 |
провал, мм | 2 - 4 | 2 - 4 | 2 - 4 |
нажатие, Н | 20 - 40 | 20 - 40 | 20 - 40 |
13 Удерживающая катушка: | | | |
номинальный ток, А | 1,25 | - | - |
число витков | 4305 | 9500 | - |
марка провода | ПЭЛ | ПЭЛ | - |
диаметр провода, мм | 0,96 | 0,64 | - |
сопротивление при 20 °C, Ом | 32,5 | 161,0 | - |
| | ИС МЕГАНОРМ: примечание. Нумерация пунктов дана в соответствии с официальным текстом документа. | |
|
15 Число витков размагничивающей катушки | 3 | 3 | - |
16 Масса, кг | 305 | 305 | 305 |
Таблица Е.44
Быстродействующие выключатели ВБ-6 и ВБ-11
Показатели | Тип выключателя |
ВБ-6 | ВБ-11 | ВБ-14 |
1 Номинальное напряжение, В: | | |
силовой цепи | 3000 | 3000 | 3000 |
цепи управления | 110 | 110 | 100 |
2 Номинальный ток, А | 250 | 260 | 260 |
3 Собственное время срабатывания, мс | 4 | 4 | 4 |
4 Раствор контактов, мм: | | |
главных | 32 | 32 | - |
вспомогательных | 3 | 3 | - |
5 Нажатие контактов, Н: | | |
главных | 210,0 - 250,0 | - | - |
вспомогательных | 1,76 | - | - |
6 Включающая катушка: | | |
марка провода | ПЭТ-200 | - | - |
диаметр провода, мм | 0,355 | - | - |
количество витков | 8600 | - | - |
сопротивление, Ом | 375 | - | - |
7 Масса, кг | 70 | 92,5 | 94 |
Таблица Е.45
Блок быстродействующего выключателя
Показатели | Значение |
БВБ-368 |
1 Максимальное напряжение, В | 4000 |
2 Номинальное напряжение силовой цепи, В | 3000 |
3 Номинальный (длительный) ток, А | 260 |
4 Ток срабатывания, А | 650 +/- 50 |
5 Номинальное напряжение цепи управления, В | 110 |
6 Собственное время срабатывания, мс | 4 |
7 Предельный отключаемый ток, кА | 20 |
8 Номинальное давление сжатого воздуха привода, МПа | 0,5 |
9 Сопротивление изоляции, МОм, не менее: | |
после испытаний на теплостойкость | 10 |
после испытаний на влагостойкость | 1 |
10 Масса, кг | 210,3 |
Таблица Е.46
Быстродействующие контакторы
Показатели | Тип контактора |
КМБ-3А | КМБ-3 | КМБ-3Д | КМБ-3,13 |
1 Номинальное напряжение, В: | | | | |
силовой цепи | 3000 | 3000 | 3000 | 3000 |
цепи управления | 50 | 110 | 110 | 220 |
2 Номинальный ток, А | 160 | 160 | 220 | 195 |
3 Собственное время срабатывания, мс | 3 | 8 | 4 | 4 |
4 Раствор контактов, мм: | |
главных | 8 - 12 | 10 | 10 | 8 - 12 |
вспомогательных | 5 - 10 | 7,5 | 7,5 | 5 - 10 |
5 Нажатие контактов, Н: | | | | |
главных | 45 | 45 | 45 | 13 |
вспомогательных | 1,00 | 1,00 | 1,00 | 2,00 +/- 0,50 |
6 Включающая катушка: | | | | |
марка провода | ПЭЛ | ПЭЛ | ПЭЛ | ПЭТВ-2 |
диаметр провода, мм | 0,96 | 0,80 | 0,80 | 0,80 |
количество витков | 1012 | 1140 | 2220 | 2070 |
сопротивление, Ом | 6,1 | 6,0 | 18,0 | 18,0 |
7 Суммарный зазор магнитного шунта, мм | 2,00 - 3,00 | 0,40 - 0,60 | 0,40 - 0,60 | 0,50 +/- 0,01 |
8 Масса, кг | 65 | 65 | 45 | 65 |
Таблица Е.47
Реле перегрузки Р-103
Показатели | Тип реле |
Р-103.1 | Р-103.4 | Р-103.5 | Р-103.19 |
1 Номинальное напряжение, В | 3000 | 3000 | 3000 | 3000 |
2 Ток срабатывания, А | 27 +/- 0,5 | 490 +/- 20 | 600 +/- 20 | 75 +/- 5 |
3 Длительный ток, А | - | 250 | 250 | - |
4 Масса, кг | 1,1 | 1,2 | 1,2 | 1,1 |
Таблица Е.48
Дифференциальное реле типа Р-104Б, Р-104М, РДБ-101
Показатели | Тип реле |
Р-104Б-2 | Р-104Б-3 | Р-104М | РДБ-101 |
1 Номинальное напряжение, В | 3000 | 3000 | 3000 | 3000 |
2 Ток срабатывания, А | - | 40,0 - 60,0 | 50,0 - 100,0 | - |
3 Время срабатывания, мс | 6,0 - 7,0 | 6,0 - 7,0 | 6,0 - 7,0 | - |
4 Магнитопровод: | |
материал | 1211 | 1211 | 1211 | 1572 |
размеры пластины, мм | 220 x 21 | 220 x 21 | 220 x 21 | 130 x 70 |
размеры окна, мм | 56 x 21 | 56 x 21 | 56 x 46 | 90 x 30 |
толщина пакета (листа), мм | 0,5 | 0,5 | - | 17,0 |
5 Катушка подмагничивания: | |
напряжение, В | - | 50 | 110 | 110 |
марка провода | ПЭЛ |
диаметр, мм | 0,44 | 0,44 | 0,29 | 0,2 |
количество витков | 2700 | 2200 | 4950 | 2500 |
сопротивление, Ом | 45 | 2 x 34 | 2 x 177 | 140 - 180 |
6 Вспомогательные контакты: | |
номинальный ток, А | 20 | 20 | 20 | - |
раствор контактов, мм, не менее | 5 | 3 | 3 | - |
провал, мм | 1,5 - 3,5 | 3,0, не менее | 3,0, не менее | - |
конечное нажатие, Н | 2 - 3 | 2 - 3 | 2 - 3 | |
7 Масса, кг | 3,3 | 3,3 | 3,3 | 1,9 |
Таблица Е.49
Реле перегрузки РТ-16-01
Показатели | Тип реле |
РТ-16-01 |
1 Номинальное напряжение, В | 3000 |
2 Ток срабатывания, А | 95 - 105 |
3 Размер сечения провода, мм | 3,55 x 5,00 |
4 Марка провода | ПСД-Т |
5 Количество витков | 24 |
6 Количество замыкающих витков | 1 |
7 Масса, кг | 22 |
Таблица Е.50
Реле ускорения типа Р-40
Показатели | Тип реле |
Р-40Б-3 Р-40Б-9 | Р-40.1 | Р-40.4 | Р-40.18 Р-40.22 | Р-40В |
1 Номинальное напряжение, В | 3000 | 3000 | 3000 | 3000 | 3000 |
2 Напряжение цепи управления, В | 50 | 50 | 110 | 110 | 110 |
3 Номинальный ток, А | 1,5 | 3,0 | 1,5 | 3,0 | 1,5 |
4 Раствор контактов, мм | 1,5 - 2,0 | 1,5 - 2,0 | 1,5 - 2,0 | 1,5 - 2,0 | 1,5 - 2,0 |
5 Нажатие, Н | 1,50 | 1,50 | 1,50 | 1,50 | 1,50 |
6 Силовая (включающая) катушка: | |
длительный ток, А | 150 | 150 | 250 | 250 | 250 |
ток включения, А | 215, не более | 215, не более | 425 - 450 | 425 - 450 | 425 - 450 |
ток отпадания, А | 175-5 | 175-5 | 365 +/- 10 | 365 +/- 10 | 365 +/- 10 |
марка провода | Шина ШММ |
размеры сечения, мм | 4,0 x 30,0 | 2,6 x 25,0 | 2,6 x 25,0 | 2,6 x 25,0 | 2,6 x 25,0 |
количество витков | 8 | 8 | 6 | 6 | 6 |
7 Подъемная катушка: | |
длительный ток, А | 0,50 | 0,50 | 0,11 | 0,11 | 0,11 |
марка провода | ПЭЛ |
диаметр провода, мм | 0,35 | 0,35 | 0,20 | 0,20 | 0,20 |
количество витков | 1650 | 1650 | 5900 | 5900 | 5900 |
сопротивление, Ом | 44,2 | 44,2 | 440,0 | 440,0 | 440,0 |
8 Масса, кг | 2,6 | 2,6 | 2,6 | 2,6 | 2,6 |
Таблица Е.51
Реле возврата типа Р102
Показатели | Тип реле |
Р-102.1 - Р-102.18 | Р-102.29 |
1 Номинальное напряжение, В | 50 | 110 |
2 Ток срабатывания, А | 0,95 | 0,42 |
3 Марка провода | ПЭЛ |
4 Диаметр провода, мм | 0,38 | 0,25 |
5 Количество витков | 1550 | 3610 |
6 Сопротивление, Ом | 23 | 119 - 135 |
7 Количество контактов: | |
размыкающих | 1 | 1 |
замыкающих | 1 | 2 |
8 Длительный ток контактов, А | 20 | 20 |
9 Контактное нажатие, Н | 2,0 - 3,0 | 2,0 - 3,0 |
10 Раствор контактов, мм | 4 | 4 |
11 Суммарный раствор, мм, не менее | 5 | 5 |
12 Провал, мм | 1,5 - 3,5 | 1,5 - 3,5 |
13 Масса, кг | 1,10 - 1,34 | 1,34 |
Таблица Е.52
Реле боксования
Показатели | Тип реле |
Р-304Г | Р-304Г-1 |
1 Номинальное напряжение, В | 50 | 110 |
2 Ток срабатывания, мА | 14 - 16 | 25 - 30 |
3 Ток отпадания, мА | 5 - 7 | 12 - 14 |
4 Включающая катушка: | |
марка провода | ПЭЛ |
диаметр провода, мм | 0,15 |
количество витков | 21000 |
сопротивление, Ом | 2575 | 2441 - 2776 |
5 Контакты вспомогательные: | |
количество | 2 |
номинальный ток, А | 1,0 |
раствор, мм | 2 - 3 |
провал, мм | 1,0 - 1,5 | 2,0 - 2,5 |
нажатие, Н | 1,50 - 2,00 |
6 Масса, кг | 2,0 | 2,2 |
Таблица Е.53
Промежуточное реле Р-306, РП
Показатели | Тип реле |
Р-306.1, Р-306.4, Р-306.7, Р-306.10, Р-306.13, Р-306.16 | Р-306.5, Р-306.7, Р-306.8 | РП-8, РП-8-02, РП-8-03 | РП-280 |
1 Ток срабатывания, мА | 65 - 71 | 16 - 19 | 0,09 | - |
2 Катушка: | |
номинальное напряжение, В | 110 | 50 | 110 | 50 |
длительный ток, мА | 90 | 280 | 195 | 330 |
марка провода | ПЭЛ |
диаметр провода, мм | 0,200 | 0,310 | 0,224 | 0,355 |
количество витков | 14100 | 5850 | 10000 | 6200 |
сопротивление, Ом | 940 | 152 | 580 | 156 |
3 Вспомогательные контакты: | |
длительный ток, А | 20 | 2 | 5 |
раствор верхних, мм | 8 - 12 | 3 | 3 |
раствор нижних, мм | 5 - 7 | 3 | 3 |
провал, мм | 2 - 4 | 2 | 2 |
нажатие на мостик, Н | 1,600 - 2,200 | 1,764 |
Таблица Е.54
Реле герконовое типа 1Р.006
Показатели | Тип реле |
1Р.006 | 1Р.006.1 | 1Р.006.2 | 1Р.006.4 |
1 Номинальное напряжение, В | 3000 | 3000 | 3000 | 3000 |
2 Ток катушки, А | 22 | 17 | 22 | 30 |
3 Разность токов в катушках, при которой срабатывает реле, А | 2,5 - 3,5 | 1,3 - 1,9 | 1,7 - 2,0 | 5 - 11 |
4 Ток контактов, А, не более | 0,5 | 0,5 | 0,5 | 0,5 |
5 Напряжение цепи, В | 110 | 110 | 110 | 110 |
6 Время срабатывания, мс, не более | 1,0 | 1,0 | 1,0 | 1,0 |
7 Сопротивление катушки, Ом | 0,0067 | 0,1240 | 0,0067 | 0,00306 |
8 Масса, кг | 0,6 | 0,6 | 0,6 | 0,6 |
Таблица Е.55
Промежуточное реле Р-101
Показатели | Тип реле |
Р-101.1 - Р-101.4, Р-101.6 | Р-101.8 - Р-101.11, Р-101.13 |
1 Ток срабатывания, мА | 90 - 95 | 180 |
2 Катушка: | | |
номинальное напряжение, В | 110 | 50 |
длительный ток, А | 0,125 | 0,230 |
марка провода | ПЭЛ |
диаметр провода, мм | 0,18 | 0,23 |
количество витков | 10500 | 5500 |
сопротивление, Ом | 750 | 175 |
3 Контакты: | |
длительный ток, А | 20 |
раствор вертикальных контактов, мм: | |
верхних | 4 - 6 |
нижних, не менее | 1 |
суммарный зазор, мм, не менее | 5 |
раствор нижних горизонтальных контактов, мм | 3 - 5 |
нажатие контактов, Н | 2,0 - 3,0 |
провал, мм | 2,4 - 2,6 |
4 Масса, кг | 0,713 - 0,886 |
Таблица Е.56
Промежуточное реле РП21, РЭК29, РНЕ, РЭП26
Показатели | Тип реле |
РП-21 | | | |
1 Номинальное напряжение, В | 110 | 24 (48) | 27 (110) | 24 (48, 220) |
2 Сопротивление катушки, Ом | 5460 | 950 (3500) | 86 (1430) | 7400 |
3 Номинальный ток контактов, А | 5 | 5 | 12 | 10 |
4 Масса, кг | 0,096 | 0,035 | 0,220 | 0,100 |
<*> Исполнение в зависимости от цепи применения. |
Таблица Е.57
Промежуточное реле МКУ-48С
Показатели | Тип реле МКУ-48С |
постоянный ток | переменный ток |
1 Номинальное напряжение, В | 24 | 48 | 110 | 220 |
2 Напряжение срабатывания, В | 20 | 40 | 93 | 187 |
3 Марка провода | ПЭЛ |
4 Диаметр провода, мм | 0,14 | 0,10 | 0,07 | 0,09 |
5 Количество витков | 5500 | 10000 | 17000 | 12000 |
6 Время срабатывания, мс | 60 | 50 | 60 | 60 |
7 Сопротивление катушки, Ом | 510 | 1900 | 6000 | 2700 |
8 Число размыкающих контактов | 2 | 2 | 2 | 2 |
9 Число замыкающих контактов | 2 | 2 | 2 | 2 |
10 Номинальный ток вспомогательных контактов, А | 5 | 5 | 5 | 5 |
11 Масса, кг | 0,6 | 0,6 | 0,6 | 0,6 |
Таблица Е.58
Промежуточное реле РП-23
Показатели | Тип реле |
РП-23 | РП-23/48 |
1 Номинальное напряжение, В | 110 | 48 |
2 Напряжение срабатывания, В | 77 | 35 |
3 Катушка: | |
марка провода | ПЭВ-1 |
диаметр провода, мм | 0,11 | 0,19 |
количество витков | 15200 | 9000 |
сопротивление катушки, Ом | 2400 | 500 |
4 Вспомогательные контакты: | |
номинальный ток, А | 5 | 5 |
раствор, мм, не менее | 2,5 | 2,5 |
провал, мм | 0,7 - 1,0 | 0,7 - 1,0 |
нажатие, Н, не менее | 0,150 | 0,150 |
5 Масса, кг | 0,7 | 0,7 |
Таблица Е.59
Реле напряжения типа РП, РЭВ, РЭ
Показатели | Типы реле |
РП-11 | РП-26 | РЭВ-261 | РП-252 | РЭ-14 |
исп. 1 | исп. 2 |
1 Номинальное напряжение, В | 127 | 127 | 127 | 220 | 110 | 220 |
2 Напряжение включения, В | 89, не более | 103 - 108 | 110 +/- 3 | 165 +/- 5 | 165 +/- 5 | 165 +/- 5 |
3 Катушка: | |
марка провода | ПЭВ-2 |
диаметр провода, мм | 0,17 | 0,20 | 0,33 | 0,25 | 0,11 | - |
количество витков | 4750 | 3850 | 1250 | 2700 | 12500 | - |
сопротивление, Ом | - | - | 50 | 156 | 1800 | 156 |
4 Вспомогательные контакты: | |
номинальный ток, А | 5 | 5 | 10 | 10 | - | 10 |
раствор, мм | 3,5 - 4,0 | 3,5 - 4,0 | 3,5 - 4,0 | 3,5 - 4,0 | 2,5 - 4,0 | 3,5 |
провал, мм | 5,0 | 5,0 | 5,0 | 5,0 | 0,7 - 1,0 | 5,0 |
конечное нажатие, Н | 0,15 - 0,30 | 0,15 - 0,30 | 0,70 - 1,00 | 0,70 - 1,00 | 1,00 - 1,20 | 0,70 - 1,00 |
Таблица Е.60
Реле герконовое обратного тока 1Р.009, 1Р.009-1, РОТ-19
Показатели | Типы реле |
1Р.009 | 1Р.009-1 | РОТ-19 |
1 Номинальный ток катушки, А | 22 | 30 | 22 |
2 Ток срабатывания, А | 2,0 | 2,5 | 1,5 |
3 Напряжение, В | 110 | 110 | 110 |
4 Время срабатывания, мс, не более | 1 | 1 | 1 |
Таблица Е.61
Реле герконовое типа 1Р.008
Показатели | Тип реле |
1Р.008 | 1Р.008.1 | 1Р.008.2 |
1 Номинальное напряжение, В | 3000 | 3000 | 3000 |
2 Ток срабатывания, мА | 1,7 - 2,4 | 24,4 - 26,4 | 2,9 - 4,0 |
3 Коэффициент возврата | 0,3 - 0,8 | 0,3 - 0,8 | 0,3 - 0,8 |
4 Напряжение контактов, В, не более | 250 | 250 | 250 |
5 Ток контактов, А, не более | 1,0 | 1,0 | 1,0 |
6 Время срабатывания, мс, не более | 2,5 | 2,5 | 2,5 |
7 Сопротивление катушки, Ом | 6200 | 1190 | 6200 |
8 Масса, кг | 0,16 | 0,13 | 0,16 |
Таблица Е.62
Реле герконовое дифференциальной защиты РДЗ-21, РДЗ-22
Показатели | Тип реле |
РДЗ-21 | РДЗ-22 |
1 Номинальное напряжение изоляции катушек относительно друг друга и контакта, В | 3000 | 3000 |
2 Номинальный ток катушек, А | 22 | 22 |
3 Разность токов в катушках, при которой срабатывает реле, А | 2,0 | 3,5 |
4 Номинальный отключаемый ток контакта при номинальном напряжении, А | 0,09 | 0,09 |
5 Номинальное напряжение контакта, В | 110 | 110 |
6 Время срабатывания, мс, не более | 1 | 1 |
7 Масса, кг | 0,21 | 0,20 |
Таблица Е.63
Реле герконовое типа РНГ
Показатели | Тип реле |
РНГ-18 | РНГ-18-01 | РНГ-18-02 |
1 Номинальное напряжение изоляции, В | 3000 | 3000 | 3000 |
2 Ток срабатывания, мА | 1,93 - 2,67 | 2,90 - 4,00 | 16,00 - 1,00 |
3 Напряжение контактов, В, не более | 110 | 110 | 110 |
4 Ток контактов, А, не более | 0,25 | 0,25 | 0,25 |
5 Сопротивление катушки, Ом | 6760 | 6760 | 1190 |
6 Масса, кг | 0,14 | 0,14 | 0,06 |
Таблица Е.64
Реле напряжения типа Р-301, Р-302, Р-3100
Показатели | Тип реле |
Р-301Г Р-302 | Р-3100Ф Р-3100.3 Р-3100.13 | Р-3100.7 |
1 Номинальный (длительный) ток, мА | 60 | 60 | 60 |
2 Ток срабатывания, мА | 30/37 | 30 | 10 |
3 Марка провода | ПЭЛ |
4 Диаметр провода, мм | 0,15 | 0,15 | 0,20 |
5 Количество витков | 21000 | 21000 | 14100 |
6 Сопротивление катушки, Ом | 2570 | 2570 | 1015 |
7 Номинальный ток контактов, А | 5/20 | 20 | 20 |
8 Раствор, мм | 3 - 8 |
9 Провал, мм | 1,5 - 2,5 |
10 Нажатие, Н | 2,0 - 3,0 |
11 Масса, кг | 1,95 |
Таблица Е.65
Реле сигнальное типа РУ
Показатели | Типы реле |
РУ-21/110 | РУ-21/48 |
1 Номинальное напряжение, В | 110 | 48 |
2 Напряжение срабатывания, В, не более | 66 | 29 |
3 Потребляемая мощность, Вт | 1,75 | 1,75 |
4 Катушка: | |
марка провода | ПЭЛ |
диаметр провода, мм | 0,07 | 0,11 |
количество витков | 32000 | 14000 |
5 Сопротивление, Ом | 7500 | 1440 |
6 Масса, кг | 0,4 | 0,4 |
Таблица Е.66
Реле перегрузки отопления и заземления РЭВ-202
Показатели | Значения показателей реле |
перегрузки отопления | заземления |
1 Номинальный ток катушки, А | 40 | 40 |
2 Ток уставки для реле, А | 85 +/- 5 | 50 +/- 5 |
3 Время срабатывания реле, мс | 40 - 80 | 40 - 80 |
4 Контакты вспомогательные: | |
номинальное напряжение, В | 110 | 110 |
длительный ток, А | 20 | 20 |
допустимый разрываемый ток в индуктивной цепи, А, не более: | |
постоянного тока при напряжении 110 В | 2,5 | 2,5 |
переменного тока напряжением 380 В | 20 | 20 |
раствор контактов, мм, не менее | 4 | 4 |
провал контактов, мм, не менее | 1,5 | 1,5 |
нажатие контактов, Н: | |
начальное | 1,0 | 1,0 |
конечное | 3,6 | 3,6 |
5 Масса, кг | 2 | 2 |
Таблица Е.67
Реле времени типа РЭВ
Показатели | Тип реле |
РЭВ-811 РЭВ-815 | РЭВ-813 РЭВ-818 | РЭВ-816 РЭВ-817 | РЭВ-882 РЭВ-884 | РЭВ-2161 | РЭВ-5-04 | РЭВ-5-05 |
1 Время срабатывания, с | 0,400 - 1,500/0,400 - 0,900 | 2,200 - 3,800 | 0,600 - 1,700/1,200 - 2,000 | 8,000 - 13,000/6,000 - 10,000 | 0,014 - 0,080 | 0,110 | 0,110 |
2 Номинальное напряжение, В | 110 | 110 | 110 | 110 | 110 | 110 | 110 |
3 Катушка: |
марка провода | ПЭВ-1 | ПЭВ-1 | ПЭВ-1 | ПЭВ-1 | ПЭЛ | ПЭТ-155 | ПЭТ-155 |
диаметр провода, мм | 0,250 | 0,250 | 0,250 | 0,250 | 0,410 | 0,224 | 0,224 |
количество витков | 5800 | 5800 | 5800 | 5800 | 1850 | 6500 | 6500 |
сопротивление, Ом | 415,0 | 415,0 | 415,0 | 415,0 | 35,6 | 410,0 | 410,0 |
4 Вспомогательные контакты: |
раствор, мм | 3,5 - 4,0 | 3,5 - 4,0 | 3,5 - 4,0 | 3,5 - 4,0 | 3,5 - 4,0 | 3,0-0,5 | 3,0-0,5 |
провал, мм | 1,5, не менее | 1,5, не менее | 1,5, не менее | 1,5, не менее | 1,5, не менее | 1,5+0,5 | 1,5+0,5 |
нажатие, Н: | |
начальное | 0,70 - 1,00 | 0,70 - 1,00 | 0,70 - 1,00 | 0,70 - 1,00 | 0,70 - 1,00 | 1,47 | 3,38 |
конечное | 1,00 - 1,20 | 1,00 - 1,20 | 1,00 - 1,20 | 1,00 - 1,20 | 1,00 - 1,20 | 8,64 | 12,35 |
5 Масса, кг | 2,0/2,5 | 3,5 | 2,7/3,1 | 6,0 | 2,0 | 2,7 | 2,7 |
Таблица Е.68
Электромагнитное токовое реле защиты типа ТРФ
Показатели | Значения показателей реле |
1 Ток уставки, А: | |
на включение | 170 +/- 5 |
на отключение, не менее | 150 |
2 Зазор якоря в отключенном положении, мм | 2,4 +/- 0,3 |
3 Катушка: | |
ток номинальный, А | 150 |
частота, Гц | 50 |
число витков | 2 |
сечение провода, мм2, не менее | 28 |
4 Вспомогательные контакты: | |
тип контактов | размыкающий | замыкающий |
номинальный ток, А | 0,3 - 1,0 | 1,0 |
раствор, мм | 0,5 - 1,0 | 1,0, не менее |
провал, мм | 1,2 - 2,0 | 0,4 - 0,8 |
нажатие, Н, не менее | 0,70 | 6,00 |
Таблица Е.69
Реле минимального тока
Показатели | Значения показателей реле |
Р-305Б | Р-307А-1 Р-307А-2 | Р-311-3 |
1 Номинальное напряжение, В | 220 | до 220 | 110 |
2 Ток срабатывания, А | 0,003 - 0,005 | 33,000 - 37,000/5,500 - 6,000 | 0,300/0,270 |
3 Катушка (в реле Р-311А-3 две секции): |
марка провода | ПЭЛ | ПБД | ПЭВ-2 |
диаметр, мм | 0,15 | 3,28 | 0,20/0,27 |
количество витков | 21000 | 25/80 | 3000/5400 |
сопротивление, Ом | 2570 | 10 | 184/280 |
4 Вспомогательные контакты: | |
номинальный ток, А | 10 | 20 | 10 |
раствор, мм | 2,0 - 3,0 | 3,0 - 8,0 | 3,5 |
провал, мм | 1,0 - 1,5 | 1,5 - 2,5 | 1,5 - 2,0 |
конечное нажатие, Н | 1,8 - 2,0 | 2,0 - 3,0 | 0,9 |
5 Масса, кг | 1,9 | 2,0 | 1,3 |
Таблица Е.70
Тепловое реле типа ТРТП
Показатели | Типы реле |
ТРТП-114 | ТРТП-115 | ТРТП-137 | ТРТП-136 | ТРТП-141 | ТРТП-122 | ТРТП-135 | ТРТП-131 |
1 Номинальный ток, А | 5,0 | 7,0 | 56,0 | 45,0 | 110,0 | 11,5 | 35,0 | 14,5 |
2 Длительный ток контактов при напряжении 110 В постоянного тока, А | 1 | 1 | 1 | 1 | 1 | 1 | 1 | 1 |
3 Масса, кг | 0,22 | 0,22 | 0,22 | 0,22 | 0,22 | 0,22 | 0,22 | 0,22 |
Таблица Е.71
Предохранители электропоезда ЭР2
Обозначение по схеме | Наименование цепей | Номинальный ток плавкой вставки, А |
1 | 2 | 3 |
Головной вагон |
П1 | Генератор динамометра | 200 |
П2, П3 | Аккумуляторная батарея | 60 |
П4, П5 | Освещение салона | 15 |
П6 | Двигатели вентиляторов | 35 |
П7 | Двигатель вентилятора кабины | 25 |
П8 | Управление тяговыми электродвигателями | 45 |
П9 | Отопление салона | 6 |
П10 | Возврат вспомогательных машин | 6 |
П11 | Дежурное и служебное освещение | 6 |
П12 | Обогрев маслоотделителя | 25 |
П13 | Контактор динамотора | 6 |
П14 | Контактор компрессора | 15 |
П15 | Электропневматический тормоз | 6 |
П16 | Токоприемник | 6 |
П17 | Контакторы освещения, вентиляции и обогрева маслоотделителя | 10 |
П18 | Освещение кабины, пульта служебного тамбура | 6 |
П19 | Прожектор, верхние сигналы | 10 |
П20 | Двери | 10 |
П21 | Сигнальные лампы | 6 |
П22 | Буферные фонари, усилитель | 10 |
П23 | Отопление кабины | 6 |
П24 | Стеклообогрев | 15 |
П27 | Обогрев оборудования, туалетной и подножек | 6 |
П28 | Управление песочницами | 6 |
П30 | Регулятор напряжения | 15 |
Моторный вагон |
ВП | Вспомогательные цепи | 30 |
П3 | Конденсатор удерживающей катушки БВ-У | 6 |
П4, П5 | Освещение салона | 15 |
П6 | Двигатели вентиляторов | 35 |
П8 | Сигнальные лампы | 6 |
П9 | Токоприемник | 6 |
П10 | Секционный провод 20 | 15 |
П11 | Отопление салона | 6 |
П12 | Контактор вентиляции | 6 |
П13 | Поездной провод 22 | 15 |
П14 | Дежурное и служебное освещение | 10 |
П15 | Двигатель вспомогательного компрессора | 25 |
Прицепной вагон |
П1 | Регулятор динамометра | 160 |
П2, П3 | Аккумуляторная батарея | 35 |
П4, П5 | Освещение салона | 15 |
П6 | Двигатель салона | 35 |
П8 | Управление тяговыми электродвигателями (цепи выключателя ВУ) | 6 |
П9 | Отопление салона | 6 |
П10 | Возврат вспомогательных машин | 15 |
П11 | Дежурное и служебное освещение | 15 |
П12 | Обогрев маслоотделителя | 10 |
П13 | Контактор динамотора | 10 |
П14 | Контактор компрессора | 6 |
Таблица Е.72
Предохранители электропоезда ЭР2Т
Обозначение по схеме | Наименование цепей | Номинальный ток плавкой вставки, А |
1 | 2 | 3 |
Головной и прицепной вагон |
Пр1 | Высоковольтные цепи отопления | 20 |
Пр2 | Двигатель преобразователя | 31,5 |
Пр3 | Нейтраль генератора | 6 |
Пр4, Пр5 | Фазы генератора | 160 |
Пр13 | Параллельное соединение аккумуляторных батарей | 35 |
Пр15, Пр16 | Фазы мотор-компрессора | 80 |
Пр17 | Управление мотор-компрессорами, резервированием | 6 |
Пр18 | Нейтраль вторичных обмоток трансформатора управления | 10 |
Пр19 | Цепи вольтодобавки для заряда аккумуляторной батареи | 35 |
Пр23 | Цепь восстановления БВ | 15 |
Пр25 | Катушка контактора мотор-компрессора | 6 |
Пр26 | Питание блока БУП | 6 |
Пр29, Пр30 | Аккумуляторная батарея | 6 |
Пр31 | Средняя точка батареи | 10 |
Пр32, Пр33 | Обогрев бака туалетной | 10 |
Пр34, Пр35 | Мотор-вентиляторы | 25 |
Пр36 - Пр38 | Главное освещение | 10 |
Пр39 | Управление отоплением | 6 |
Пр40 | Дежурное освещение | 6 |
Пр41 - Пр43 | Резервная трехфазная магистраль переменного тока | 60 |
Пр47 | Пескоподача | 6 |
Пр48 | Управление освещением | 6 |
Пр49 | Управление обогревом маслоотделителей | 6 |
Пр50, Пр51 | Токоприемники, вспомогательные компрессоры | 6 |
Пр52 | Сигнальные лампы | 6 |
Пр53 | Управление отоплением поезда | 6 |
Пр54 | Выключатель управления | 6 |
Пр55 | Двери | 15 |
Пр56 | Отопление кабины | 6 |
Пр57 | Цепи системы АЛСН | 6 |
Пр58 | Прожектор, верхние сигналы | 10 |
Пр59 | Буферные фонари | 6 |
Пр60 | Радиооповещение | 6 |
Пр61 | Дополнительный обогрев кабины | 15 |
Пр62 | Радиостанция | 3 |
Пр63 | Стеклообогрев | 25 |
Пр66 - Пр68 | Резервирование трехфазной магистрали переменного тока | 60 |
Пр400 | Переключение уставок реле ускорения (БРУ) | 1 |
Моторный вагон |
Пр1 | Высоковольтная цепь отопления | 20 |
Пр2 (Пр6, Пр7) | Высоковольтное междувагонное соединение | 31,5 |
Пр3, Пр5 | Трансформатор возбуждения | 125 |
Пр19 | Промежуточное реле управления ПРУ, повторители | 6 |
Пр21 | Катушки БВ (БВ-У и БВ-В) | 15 |
Пр22 | Вспомогательный компрессор | 15 |
Пр23 | Питание блока защиты | 4 |
Пр28 - Пр30 | Блок САУТ | 5 |
Пр31 | Питание блока защиты | 6 |
Пр32 | Управление резервированием | 6 |
Пр34, Пр35 | Мотор-вентиляторы | 25 |
Пр36 - Пр38 | Главное освещение | 10 |
Пр39 | Управление отоплением | 6 |
Пр40 | Дежурное освещение | 6 |
Пр41 - Пр43 | Резервирование трехфазной магистрали переменного тока | 60 |
Таблица Е.73
Предохранители электропоезда ЭД2Т
Обозначение по схеме | Наименование цепей | Номинальный ток плавкой вставки, А |
1 | 2 | 3 |
Головной вагон |
Пр1 | Высоковольтные цепи отопления | 20 |
Пр2 | Двигатель преобразователя | 20 |
Пр3 | Нейтраль генератора | 6 |
Пр4, Пр5 | Фазы генератора | 160 |
Пр8, Пр9 | Управление двигателями вентиляторов калориферного отопления, кабины машиниста | 6 |
Пр13 | Параллельное соединение аккумуляторных батарей | 35 |
Пр15, Пр16 | Фаза мотор-компрессора | 80 |
Пр17 | Управление мотор-компрессорами, резервированием | 6 |
Пр18 | Нейтраль вторичных обмоток трансформатора управления | 10 |
Пр19 | Цепи вольтодобавки для заряда аккумуляторной батареи | 35 |
Пр23 | Цепь восстановления БВ | 15 |
Пр25 | Катушка контактора мотор-компрессора | 6 |
Пр26 | Питание блока БУП | 6 |
Пр29, Пр30 | Аккумуляторная батарея | 35 |
Пр31 | Средняя точка батареи | 10 |
Пр32, Пр33 | Обогрев бака туалетной | 10 |
Пр34, Пр35 | Мотор-вентиляторы | 25 |
Пр36 - Пр38 | Главное освещение | 10 |
Пр39 | Управление отоплением | 6 |
Пр40 | Дежурное освещение | |
Пр41 - Пр43 | Резервная трехфазная магистраль переменного тока | 60 |
Пр47 | Пескоподача | 6 |
Пр48 | Управление освещением | 6 |
Пр49 | Управление обогревом маслоотделителей | 6 |
Пр50, Пр51 | Токоприемники, вспомогательные компрессоры | 6 |
Пр52 | Сигнальные лампы | 6 |
Пр53 | Управление отоплением поезда | 6 |
Пр54 | Выключатель управления | 15 |
Пр55 | Двери | 6 |
Пр56 | Отопление кабины | 6 |
Пр57 | Цепи системы АЛСН | 6 |
Пр58 | Прожектор, верхние сигналы | 10 |
Пр59 | Буферные фонари | |
Пр60 | Радиооповещение | 6 |
Пр61 | Дополнительный обогрев кабины | 15 |
Пр62 | Радиостанция | 3 |
Пр63 | Стеклообогрев | 25 |
Пр65 | Обогрев маслоотделителей | 25 |
Пр66 | Резервирование трехфазной магистрали переменного тока | 15 |
Пр400 | Переключение уставок реле ускорения | 1 |
Моторный вагон |
Пр1 | Высоковольтная цепь отопления | 20 |
Пр3 | Трансформатор возбуждения | 125 |
Пр5 | Трансформатор возбуждения | 125 |
Пр19 | Промежуточное реле управления ПРУ, повторители | 6 |
Пр21 | Катушки БВ (БВ-У и БВ-В) | 15 |
Пр22 | Вспомогательный компрессор | 15 |
Пр23 | Питание блока защиты | 4 |
Пр28 - Пр30 | Блок САУТ | 5 |
Пр31 | Питание блока защиты | 6 |
Пр32 | Управление резервированием | 6 |
Пр34, Пр35 | Мотор-вентиляторы | 25 |
Пр36 - Пр38 | Главное освещение | 15 |
Пр39 | Управление отоплением | 6 |
Пр40 | Дежурное освещение | |
Пр41 - Пр43 | Резервирование трехфазной магистрали переменного тока | 35 |
Прицепной вагон |
Пр1 | Высоковольтные цепи отопления | 20 |
Пр2 | Двигатель преобразователя | 20 |
Пр3 | Нейтраль генератора | 6 |
Пр4, Пр5 | Фаза генератора | 160 |
Пр13 | Параллельное соединение аккумуляторных батарей | 35 |
Пр15, Пр16 | Фаза мотор-компрессора | 80 |
Пр17 | Управление мотор-компрессорами, резервированием | 6 |
Пр18 | Нейтраль вторичных обмоток трансформатора управления | 10 |
Пр19 | Цепи вольтодобавки для заряда аккумуляторной батареи | 35 |
Пр23 | Цепь восстановления БВ | 15 |
Пр25 | Катушка контактора мотор-компрессора | 6 |
Пр26 | Питание блока БУП | 6 |
Пр29, Пр30 | Аккумуляторная батарея | 35 |
Пр31 | Средняя точка батареи | 10 |
Пр32, Пр33 | Обогрев бака туалетной | 10 |
Пр34, Пр35 | Мотор-вентиляторы | 25 |
Пр36 - Пр38 | Главное освещение | 10 |
Пр39 | Управление отоплением | 6 |
Пр40 | Дежурное освещение | 6 |
Пр41 - Пр43 | Резервная трехфазная магистраль переменного тока | 60 |
Пр47 | Пескоподача | 6 |
Пр48 | Управление освещением | 6 |
Пр49 | Управление обогревом маслоотделителей | 6 |
Пр50, Пр51 | Токоприемники, вспомогательные компрессоры | 6 |
Пр52 | Сигнальные лампы | 6 |
Пр53 | Управление отоплением поезда | 6 |
Пр54 | Выключатель управления | 15 |
Пр55 | Двери | 6 |
Пр56 | Отопление кабины | 6 |
Пр57 | Цепи системы АЛСН | 6 |
Пр58 | Прожектор, верхние сигналы | 10 |
Пр59 | Буферные фонари | 6 |
Пр60 | Радиооповещение | 6 |
Пр61 | Дополнительный обогрев кабины | 15 |
Пр62 | Радиостанция | 3 |
Пр63 | Стеклообогрев | 25 |
Пр65 | Обогрев маслоотделителей | 6 |
Пр66 - Пр68 | Резервирование трехфазной магистрали переменного тока | 35 |
Пр400 | Переключение уставок реле ускорения | 1 |
Таблица Е.74
Предохранители и автоматические выключатели
электропоездов ЭД4, ЭД4М
Обозначение по схеме | Номинальный ток плавкой вставки предохранителя или номинальный ток расцепителя (кратность тока срабатывания) выключателя, А |
ЭД4М (электрооборудование РЭЗ) | ЭД4 | ЭД4М (электрооборудование НЭВЗ) |
1 | 2 | 3 | 4 |
Головной вагон |
Пр1, Пр2 | 20 | 20 | 20 |
Пр4, Пр5 | 160 | 160 | 160 |
Пр7, Пр8 | - | 1 | - |
Пр19 | 80 | 80 | 80 |
Пр12, Пр13 | 35 | 35 | 35 |
Пр62 | 3 | 3 | 3 |
Пр400 | 1 | 1 | 1 |
Q1 | 31,5 | 31,5 | 31,5 |
Q3 | 6,3 (x 2) | 6,3 (x 2) | 6,3 (x 2) |
Q8 | 6,3 (x 10) | 6,3 (x 10) | 6,3 (x 10) |
Q13 | 40 (x 2) | 40 (x 2) | 40 (x 2) |
Q15 | 63 (x 10) | 40 (x 10) | 40 (x 10) |
Q17 | 6,3 (x 2) | 6,3 (x 2) | 6,3 (x 2) |
Q18 | 10 (x 2) | 10 (x 2) | 10 (x 2) |
Q23 | 16 (x 2) | 16 (x 2) | 16 (x 2) |
Q25 | 6,3 (x 2) | 6,3 (x 2) | 6,3 (x 2) |
Q26, Q28 | 6,3 (x 2) | 6,3 (x 2) | 6,3 (x 2) |
Q29, Q30 | 40 (x 2) | 40 (x 2) | 40 (x 2) |
Q31 | 10 (x 2) | 10 (x 2) | 10 (x 2) |
Q32 | 16 (x 2) | 16 (x 2) | 16 (x 2) |
Q34 | 25 (x 5) | 25 (x 5) | 25 (x 5) |
Q36 - Q38 | 10 (x 5) | 10 (x 5) | 10 (x 5) |
Q39, Q40 | 6,3 (x 2) | 6,3 (x 2) | 6,3 (x 2) |
Q41 - Q43 | 63 (x 5) | 63 (x 5) | 63 (x 5) |
Q47 | 6,3 (x 2) | 6,3 (x 2) | 6,3 (x 2) |
Q48 - Q51 | 6,3 (x 2) | 6,3 (x 2) | 6,3 (x 2) |
Q52, Q53 | 6,3 (x 2) | 6,3 (x 2) | 6,3 (x 2) |
Q54 | 16 (x 2) | 16 (x 2) | 16 (x 2) |
Q55 | 6,3 (x 2) | 6,3 (x 2) | 6,3 (x 2) |
Q56, Q57 | 6,3 (x 2) | 6,3 (x 2) | 6,3 (x 2) |
Q58 | 10 (x 2) | 10 (x 2) | 10 (x 2) |
Q59 | 6,3 (x 2) | 6,3 (x 2) | 6,3 (x 2) |
Q60 | 6,3 (x 2) | 6,3 (x 2) | 6,3 (x 2) |
Q61 | 16 (x 2) | 16 (x 2) | 16 (x 2) |
Q63 | 25 (x 2) | 25 (x 2) | 25 (x 2) |
Q65 | 10 (x 2) | 10 (x 2) | 10 (x 2) |
Q66 | 10 (x 2) | 6,3 (x 2) | 6,3 (x 2) |
Q67 | 10 (x 2) | 10 (x 2) | 10 (x 2) |
Q69 | 10 (x 2) | - | - |
Моторный вагон |
Пр1 | 20 | 20 | 20 |
Пр6, Пр7 | 20 | 20 | 20 |
Пр22 | 15 | 15 | 15 |
Пр23 | 4 | 4 | 4 |
Пр28 - Пр30 | 5 | 5 | 5 |
Q3 | 6,3 (x 10) | 6,3 (x 10) | 6,3 (x 10) |
Q19 | 6,3 (x 2) | 6,3 (x 2) | 6,3 (x 2) |
Q21 | 16 (x 2) | 16 (x 2) | 16 (x 2) |
Q31 | 6,3 (x 5) | 6,3 (x 5) | 6,3 (x 5) |
Q32 | 6,3 (x 2) | 6,3 (x 2) | 6,3 (x 2) |
Q34 | 25 (x 2) | 25 (x 2) | 25 (x 2) |
Q36 - Q38 | 10 (x 5) | 10 (x 5) | 10 (x 5) |
Q39 - Q40 | 6,3 (x 2) | 6,3 (x 2) | 6,3 (x 2) |
Q41 - Q43 | 63 (x 5) | 63 (x 5) | 63 (x 5) |
Прицепной вагон |
Пр1, Пр2 | 20 | 20 | 20 |
Пр4, Пр5 | 160 | 160 | 160 |
Пр19 | 35 | 35 | 35 |
Q1 | 31,5 | 31,5 | 31,5 |
Q3 | 63 (x 2) | 63 (x 2) | 63 (x 2) |
Q13 | 40 (x 2) | 40 (x 2) | 40 (x 2) |
Q15 | 63 (x 10) | 40 (x 10) | 40 (x 10) |
Q17 | 6,3 (x 2) | 6,3 (x 2) | 6,3 (x 2) |
Q18 | 6,3 (x 2) | 6,3 (x 2) | 6,3 (x 2) |
Q23 | 16 (x 2) | 16 (x 2) | 16 (x 2) |
Q25 | 6,3 (x 2) | 6,3 (x 2) | 6,3 (x 2) |
Q26 | 6,3 (x 2) | 6,3 (x 2) | 6,3 (x 2) |
Q28 | - | 6,3 (x 2) | 6,3 (x 2) |
Q29, Q30 | 40 (x 2) | 40 (x 2) | 40 (x 2) |
Q31 | 10 (x 2) | 10 (x 2) | 10 (x 2) |
Q34 | 25 (x 5) | 25 (x 5) | 25 (x 5) |
Q36 - Q38 | 10 (x 5) | 10 (x 5) | 10 (x 5) |
Q39, Q40 | 6,3 (x 2) | 6,3 (x 2) | 6,3 (x 2) |
Q41 - Q43 | 63 (x 5) | 63 (x 5) | 63 (x 5) |
Q65 | 10 (x 2) | 10 (x 2) | 10 (x 2) |
Q66 - Q68 | 40 (x 5) | 40 (x 5) | 40 (x 5) |
Q70 | 6,3 (x 2) | 6,3 (x 2) | 6,3 (x 2) |
Таблица Е.75
Предохранители электропоездов ЭР9М, ЭР9Е, ЭР9Т, ЭД9Т, ЭД9М
Обозначение по схеме | Номинальный ток плавкой вставки, А |
ЭР9М | ЭР9Е | ЭР9Т | ЭД9Т | ЭД9М |
Головной вагон |
Пр1 - Пр6 | 6 | 6 | 6 | 6 | 6 |
Пр7 | 15 | 15 | 15 | 15 | 15 |
Пр8, Пр9 | 6 | 6 | 6 | 6 | 6 |
Пр10 | 80 | 80 | 80 | 80 | 80 |
Пр12, Пр13 | 6 | 6 | 6 | 6 | 6 |
Пр14, Пр15 | 35 | 35 | 35 | 35 | 35 |
Пр17 | 6 | 6 | 10 | 10 | 10 |
Пр18 - Пр20 | 6 | 6 | 6 | 6 | 6 |
Пр21 | 6 | 6 | 6 | 10 | 15 |
Пр22 | 6 | 6 | 6 | 6 | 6 |
Пр23 | 20 | 20 | 20 | 20 | 20 |
Пр24 | 6 | 6 | 6 | 6 | 6 |
Пр25 | 6 | 6 | 6 | 10 | 10 |
Пр31 | 10 | 10 | 10 | 10 | 10 |
Пр33 | 25 | 25 | 25 | 25 | 25 |
Пр34 | 6 | 6 | 6 | 6 | 6 |
Пр36 | 45 | 45 | 45 | 45 | 45 |
Пр38, Пр39 | 10 | 10 | 10 | 10 | 10 |
Пр40, Пр41 | 100 | 100 | 100 | 100 | 100 |
Пр42, Пр43 | 25 | 25 | 25 | 25 | 25 |
Пр44 | 6 | 6 | 6 | 6 | 6 |
Пр45 | 60 | 60 | - | 60 | 60 |
Пр46 | 60 | 60 | - | - | - |
Пр47 | 2 | 2 | 2 | 2 | 2 |
Пр48 - Пр52 | 6 | 6 | 6 | 6 | 6 |
Пр53 | 6 | 6 | 6 | - | - |
Пр54 | - | - | - | 5 | 5 |
Пр55 | - | - | - | 25 | 25 |
Пр70, Пр71, Пр77 | - | - | - | - | 10 |
Моторный вагон |
Пр1 | 80 | 80 | 80 | 80 | 80 |
Пр2 | 80 | 80 | 80 | 160 | 160 |
Пр3 | 6 | 6 | 6 | 6 | 6 |
Пр4 | 15 | 15 | 15 | 15 | 15 |
Пр5 - Пр7 | 6 | 6 | 6 | 6 | 6 |
Пр8 | 15 | 15 | 15 | 15 | 15 |
Пр9, Пр10 | 6 | 6 | 6 | 6 | 6 |
Пр11, Пр12 | 15 | 15 | 15 | 15 | 15 |
Пр13 - Пр14 | 25 | 25 | 25 | 25 | 25 |
Пр15 | 25 | 25 | 25 | 35 | 35 |
Пр16, Пр17 | 6 | 6 | 6 | 6 | 6 |
Пр18 | 25 | 25 | 25 | 35 | 35 |
Пр19 | - | - | - | 2 | 2 |
Пр20 | - | 1 | 2 | 2 | 2 |
Пр22 | - | 2 | 2 | 2 | 2 |
Пр23 | - | 2 | 2 | 2 | 2 |
Пр24 | - | - | 100 | 200 | 200 |
Пр25 | - | - | 2 | 2 | 2 |
Пр26 | - | - | - | - | 6 |
Прицепной вагон |
Пр1, Пр2 | 6 | 6 | 6 | 6 | 6 |
Пр5, Пр6 | 6 | 6 | 6 | 6 | 6 |
Пр7 | - | - | 15 | 15 | 15 |
Пр8 | 6 | 6 | 6 | 6 | 6 |
Пр12, Пр13 | 6 | 6 | 6 | 6 | 6 |
Пр14, Пр15 | 35 | 35 | 35 | 35 | 35 |
Пр33 | 25 | 25 | 25 | 25 | 25 |
Пр38 | 10 | 10 | 10 | - | - |
Пр40, Пр41 | 100 | 100 | 100 | 100 | 100 |
Пр42, Пр43 | 25 | 25 | 25 | 25 | 25 |
Пр45, Пр46 | - | - | - | - | 10 |
Пр47 | - | - | - | - | 5 |
Таблица Е.76
Высоковольтные предохранители типа ПКЭ
Показатели | Технические данные предохранителя |
ПКЭ-4/30 | ПКЭ-4/75 |
1 Напряжение номинальное, В | 3000 | 3000 |
2 Ток номинальный, А | 30 | 75 |
3 Сопротивление, Ом | 0,028 - 0,039 | 0,015 - 0,021 |
4 Материал плавкой вставки | Проволока медная посеребренная |
5 Размеры плавкой вставки, мм: | | |
диаметр мостика | 0,3 | 0,3 |
длина мостика | 200 | 200 |
6 Количество плавких вставок | 4 | 4 |
7 Масса, кг | 3,85 | 5,11 |
Таблица Е.77
Высоковольтные предохранители ВПК и ПКЖ
Показатели | Технические данные предохранителя |
ВПК-006 | ПКЖ106-3-20-20 | ПКЖ106-3-31,5-20 |
1 Напряжение номинальное, В | 3000 | 3000 | 3000 |
2 Ток номинальный, А | 31,5 | 20,0 | 31,5 |
3 Масса, кг | 5,4 | 4,1 | 4,5 |
Таблица Е.78
Конденсаторные фильтры
Показатели | Тип фильтра |
ФСК-1 | ФСК-4 | 1Ф.004 | 1Ф.005, 1Ф.006 |
1 Номинальное напряжение, кВ | 6 | 3 | 6 | 6 |
2 Тип конденсатора | КБГП | КБГП | К41-1а | К41-1а |
3 Номинальная емкость, мкФ | 1 | 1 | 1 | 1 |
4 Число конденсаторов | 1 | 1 | 1 | 3/2 |
5 Масса, кг | 11 | 13 | 90 | 15/10 |
Таблица Е.79
Автоматические выключатели
Показатели | Тип выключателя |
А-3134П | А-3785П | ВА57-35-340010-20 | АЕ2541М | АЕ2542М | ВА21-29 |
1 Номинальный ток расцепителя, А | 200 | 200 | 250 | 0,6; 0,8; 1,0; 1,25; 1,6; 2,0; 2,5; 3,15; 4,0; 5,0; 6,3; 8,0; 10,0; 12,5; 16,0; 20,0; 25,0; 31,5; 40,0; 50,0; 63,0 | 0,6; 1,0; 1,6; 2,0; 2,5; 3,15; 4,0; 5,0; 6,3; 8,0; 10,0; 12,5; 16,0; 20,0; 25,0; 31,5; 40,0; 50,0; 63,0 |
2 Уставка на мгновенное срабатывание, А | 1400 +/- 15% | 1600 +/- 15% | 1600 +/- 15% | - | - |
3 Кратность тока срабатывания по отношению к номинальному току расцепителя |
постоянный ток | - | - | - | 1,3; 2; 5; 10 | - |
переменный ток | - | - | - | 2; 5; 10 | 1,5; 3; 12 |
4 Предельно допустимый ток короткого замыкания, кА (при напряжении переменного тока, В): |
| 40 (220) | 75 (380) | 75 (380) | - | - |
5 Предельная коммутационная способность, кА (при напряжении, В): |
постоянный ток | - | - | - | 5,0 (110) | 5,0 (220) | - |
переменный ток | - | - | - | 4,5 (380) | 6,0 (660) |
6 Масса, кг | 9,10 | 7,10 | 5,90 | 3,29 | 2,87 | 1,50 |
Таблица Е.80
Индуктивные фильтры
Показатели | Тип фильтра |
ФС-2Б | ФС-3Б | 1Ф.002 | 1ДР.050 | ДП-32 | ФСЭ-3Б-3 |
1 Номинальное напряжение изоляции относительно "земли", кВ | 3,0 | 25,0 | 3,0 | 3,0 | 3,0 | 25,0 |
2 Номинальный ток (при обдуве 12 - 15 м/с), А | 190 | 45 | 270 | 300 | 600 | 45 |
3 Индуктивность при 50 Гц, мГн | 0,63 | 1,60 | 0,64 | 0,25 | 0,25 | 0,64 |
4 Катушка: |
количество витков | 38,0 | 70,5 | 40,0 | 27,0 | - | 74,5 |
размер сечения провода, мм | 3 x 40 | 1 x 19,5 | 2,1 x 40 | 3 x 40 | 3 x 40 | 1 x 19,5 |
сопротивление при 20 °C, Ом | 0,009 | 0,070 | 0,009 | 0,008 | 0,008 | 0,056 |
5 Масса, кг | 40 | 25 | 90 | 23 | 32 | 25 |
Таблица Е.81
Контроллеры машиниста
Показатели | Тип контроллера |
КМР-2А КМР-2А-1 | 1КУ.021 | 1КУ.019 | КМП-9А | 1КУ.023 | 1КУ.035 | 1КУ.039 | 1КУ.040 | 1КУ.040.1 | КМ-9 |
1 Номинальное напряжение, В | 50 | 50 | 110 | 110 | 110 | 110 | 110 | 110 | 110 | 110 |
2 Номинальный ток, А | 20 | 20 | 20 | 20 | 20 | 20 | 20 | 16 | 16 | 16 |
3 Тип кулачковых контакторов | КР-3А-1 | КЭ42А | КЭ42А | КР-3А-1 | КЭ42 | КЭ-42А | КЭ-42 | КЭ-42 | КЭ-42 | КЭ-153 |
4 Количество контакторов | 12 | 13 | 21 | 8 | - | 15 | - | - | - | 21 |
5 Количество контакторов на главном (реверсивном) валу | - | - | - | - | 16 (5) | - | 16 (5) | 9 (5) | 9 (5) | - |
6 Номинальный ток контакторов блокировки, А | 5 | 5 | 5 | 5 | 5 | 5 | 16 | 16 | 16 | 16 |
7 Угол поворота главного вала, градус | 0 - 185,0 | 0 - 192,5 | 0 - 142,5 | 0 - 135,0 | 142,5 - 0 - 142,5 | 67,5 - 0 - 117,0 | 142,5 - 0 - 142,5 | 67,5 - 0 - 117,5 | 42,5 67,5 | 83,0 - 0 - 83,0 |
8 Угол поворота реверсивного вала | 30 - 0 - 30° |
9 Сила нажатия на кнопку главной рукоятки, Н: |
для срабатывания блокировки, не более | 25,0 | 25,0 | 25,0 | 25,0 | 25,0 | 25,0 | 25 | 25 | - | - |
для удержания, не более | 10,0 | 10,0 | 10,0 | 10,0 | 10,0 | 10,0 | 10,0 | 10,0 | - | - |
10 Нажатие контактных пальцев, Н | 5,0 - 7,5 | 5,0 - 7,5 | 5,0 - 7,5 | 5,0 - 7,5 | 5,0 - 7,5 | 5,0 - 7,5 | 5,0 - 7,5 | 5,0 - 7,5 | - | - |
| | ИС МЕГАНОРМ: примечание. Нумерация пунктов дана в соответствии с официальным текстом документа. | |
|
10 Масса, кг | 28,0 25,0 | 20,5 | 24,0 | 25,0 | 22,0 | 20,0 | 23,0 | 24,0 | 26,0 | 33,8 |
Таблица Е.82
Вентили электропневматические (электромагнитные)
Показатели | Тип вентиля |
ВВ-2А | ВВ-2Г | ВВ-3 | ВВ-3Г | 1В.008 | ЭВ-55-01 | ЭВ-55-05 | ЭВ-58-02 | ЭВ-5-10 | ЭВ-5-17 | ЭВ-5-21 | ЭВ-5-24 |
1 Номинальное напряжение, В | 50 | 110 | 50 | 110 | 110 | 50 | 110 | 110 | 110 | 50 | 110 | 10 |
2 Минимальный ток срабатывания при давлении 0,5 МПа, мА | 130 | 80 | 180 | 80 | 90 | 92 | 70 | 70 | 70 | 150 | 70 | 107 |
3 Давление сжатого воздуха, МПа: |
номинальное | 0,5 | 0,5 | 0,5 | 0,5 | 0,5 | 0,5 | 0,5 | 0,5 | 0,5 | 0,5 | 0,5 | 0,5 |
минимальное | 0,35 | 0,35 | 0,35 | 0,35 | 0,35 | 0,35 | 0,35 | 0,35 | 0,35 | 0,35 | 0,35 | 0,35 |
4 Площадь сечения воздушного прохода клапанов, мм2: |
впускного | 6,00 | 6,00 | 8,00 | 8,00 | 6,00 | 5,50 | 1,76 | 5,50 | 1,76 | 28,00 | 28,00 | 15,00 |
выпускного | 6,5 | 6,5 | 19,0 | 19,0 | 6,5 | 10,5 | 10,5 | 10,5 | 8,2 | 8,2 | 8,2 | 8,2 |
5 Ход клапана, мм | 0,90 +/- 0,05 | 0,90 +/- 0,05 | 1,30 +/- 0,05 | 1,30 +/- 0,05 | 0,50 +/- 0,10 | 0,50 +/- 0,10 | 0,50 +/- 0,10 | 0,50 +/- 0,10 | 0,50 +/- 0,10 | 0,50 +/- 0,10 | 0,50 +/- 0,10 | 0,80 +/- 0,10 |
6 Катушка вентиля: |
число витков | 4500 | 14500 | 3890 | 9500 | - | 5750 | 8900 | 8900 | - | 4550 | 9200 | - |
марка провода | ПЭЛ | ПЭЛ | ПЭЛ | ПЭЛ | - | ПЭТ-200 | - | - | - | ПЭТ-200 | ПЭТ-200 | - |
сопротивление при 20 °C, Ом | 180 | 1430 | 97 | 550 | - | 286 | 810 | 810 | 810 | 173 | 810 | 810 |
7 Масса, кг | 2,20 | 2,20 | 2,40 | 2,40 | 2,20 | 1,26 | 1,28 | 1,25 | 1,27 | 1,28 | 1,27 | 1,28 |
Таблица Е.83
Кулачковые контакторы
Показатели | Тип кулачковых контакторов |
КР-3А-1 | КР-6А, КР-8А | КР-9А | КЭ-2А | КЭ-4Д | КЭ-13 | КЭ-153, КЭ-4Д-2 | КЭ-353 КЭ-9А-1 | КЭ-42 | КЭ-46А-1 |
1 Номинальное напряжение постоянного (переменного) тока, В | 250 | 750 | 750 | 750 | 750 | 750 | 110 (380)/750 | 110/750 | 250 | 750 |
2 Номинальный ток, А | 35 | 350/100 | 220 | 250 | 220 | 220 | 16 | 16 | 20 | 260 |
3 Контакты: |
раствор, мм | 4,0, не менее | 8,0 - 10,0 | 8,0 - 12,0 | 8,0 - 16,0 | 8,0 - 12,0 | 8,0 - 16,0 | 4,0, не менее/8,5 - 10,5 | 4,0, не менее/8,5 - 10,5 | 8,0 - 12,0 | 8,0 - 12,0 |
провал, мм | 2,5 - 3,5 | 8,0, не менее | 8,0 - 10,5 | 6,0 - 7,0 | 8,0 - 10,5 | 6,0 - 7,0 | 1,5 - 2,0/2,5 - 3,5 | 1,5 - 2,0/2,5 - 3,5 | 2,5 - 3,5 | 8,0, не менее |
нажатие, Н | 2,0 - 2,5 | 50,0 - 55,0 | 45,0 - 50,0 | 35,4 - 50,0 | 45,0 - 50,0 | 35,4 - 50,0 | 3,0 | 3,0 | 4,5 - 5,5 | 50,0 - 55,0 |
4 Масса, кг | 0,220 | 1,800/2,850 | 2,700 | 3,000 | 1,800 | 2,700 | 0,070 | 0,072 | 0,150 | 2,300 |
Таблица Е.84
Клапаны токоприемников
Показатели | Тип клапана |
КЛП-101А | КЛП-101Б, КЛП-101В | КТ-19 КТ-28 |
1 Тип вентиля | ВВ-2А | ВВ-2Г | ЭВ-5-21 |
2 Номинальное напряжение, В | 50 | 110 | 110 |
3 Номинальное давление воздуха, МПа | 0,5 | 0,5 | 0,5 |
4 Площадь сечения воздушного прохода клапана, мм2: | | | |
для впуска | 12,6 | 12,6 | 5,5 |
для выпуска | 50,5 | 50,5 | 8,2 |
5 Диаметр цилиндра, мм | 45,0 | 45,0 | 4,5 |
6 Ход поршня, мм | 70 | 70 | 20 |
7 Угол поворота, градус | 90 | 90 | |
8 Масса, кг | 12,6 | 12,2 | 12,8 |
Таблица Е.85
Клапан электропневматический КП-2Г
Показатели | Тип клапана |
КП-2Г |
1 Номинальное давление воздуха, МПа | 0,5 |
2 Ход клапана, мм, не менее | 4 |
3 Масса, кг | 5 |
Таблица Е.86
Клапан электропневматический КП-8
Показатели | Тип клапана |
КП-8 | КП-8-01 | КП-8-02 | КП-8-03 | КП-8-04 | КП-8-05 |
1 Номинальное напряжение постоянного тока, В | 50 | 75 | 110 | 50 | 75 | 110 |
2 Номинальный ток, А | 0,21 | 0,13 | 0,1 | 0,21 | 0,13 | 0,1 |
3 Масса, кг | 4,54 | 4,55 | 4,53 | 4,59 | 4,6 | 4,6 |
Таблица Е.87
Выключатели управления пневматические
Показатели | Тип выключателя |
ПВУ-2 ПВУ-4 | ПВУ-7 | ПВУ-5 | ПВУ-5-03 |
1 Номинальное напряжение контакторного элемента, В | 110 | 110 | 110 | 110 |
2 Продолжительный ток, А | 35 | 35 | 16 | 16 |
3 Раствор контактов, мм | 5 - 8 | 5 - 8 | 4 - 7 | 4 - 7 |
4 Ход штока, мм | 5 - 6 | 5 - 6 | 11 - 12 | 11 - 12 |
5 Установка аппарата, МПа: | |
на замыкание | 0,45 - 0,48 | 0,05, не менее | 0,27 - 0,29 | 0,05, не менее |
на размыкание | 0,27 - 0,29 | 0,13 - 0,15 | 0,45 - 0,48 | 0,13 - 0,15 |
6 Масса, кг | 3,50 | 3,30 | 2,54 | 2,44 |
Таблица Е.88
Выключатели типа ВУ
Показатели | Тип |
ВУ-223А | ВУ-226 |
1 Номинальное напряжение, В | 250 | 250 |
2 Номинальный ток, А | 20 | 20 |
3 Раствор контактов, мм | 14 - 17 | 16 - 17 |
4 Нажатие на контакт, Н | 2,50 - 4,50 | 2,50 - 4,00 |
5 Масса, кг | 0,74 | 0,45 |
Таблица Е.89
Выключатели типа КУ
Показатели | Тип |
КУ-5-162 | КУ-9-164 |
1 Номинальное напряжение, В | 110 | 110 |
2 Номинальный ток, А | 15 | 15 |
3 Разрыв контактов, мм | 9 | 9 |
4 Нажатие контактов, Н | 3,50 - 5,50 | 3,50 - 5,50 |
5 Усилие включения рукоятки, Н | 12,0 - 17,0 | 12,0 - 17,0 |
6 Число рукояток | 5 | 9 |
7 Масса, кг | 4,1 | 6,5 |
Таблица Е.90
Выключатели концевые
Показатели | Тип выключателя |
ВК-300А | ВПК-3312 | ВПК-2112 |
1 Номинальное напряжение, В | 220 | 220 | 110 |
2 Номинальный ток, А | 6 | 6 | 10 |
3 Рабочий ход подвижной системы, мм | - | 8 - 10 | 6 - 10 |
4 Угол поворота подвижной системы, градус | 12 | - | - |
| | ИС МЕГАНОРМ: примечание. Нумерация пунктов дана в соответствии с официальным текстом документа. | |
|
4 Масса, кг | 1,035 | 0,750 | 0,433 |
Таблица Е.91
Кнопочные выключатели
Показатели | Тип кнопки |
КУ-1М | КЕ-011 |
1 Номинальное напряжение, В | 110 | 220 |
2 Номинальный ток, А | 6 | 6 - 10 |
3 Количество замыкающих контактов | 2 | 2 |
4 Раствор контактов, мм | 2,5 | 2,5 |
5 Провал контактов, мм | 1 | 1 |
6 Масса, кг | 0,13 | 0,15 |
Таблица Е.92
Регулятор давления
Показатели | Тип |
АК-11Б |
1 Номинальное напряжение, В | 220 |
2 Номинальный ток, А | 20 |
3 Перепад величины давления включения и выключения, МПа: | |
при растворе контактов 5 мм | 0,14 |
при растворе контактов 15 мм | 0,14 - 0,20 |
4 Пределы регулирования уставки, МПа | 0,3 - 0,9 |
5 Контакты: | |
раствор, мм | 5 - 15 |
провал, мм | 2,5 - 3,5 |
нажатие, Н, не менее | 4,50 |
6 Масса, кг | 1,7 |
Таблица Е.93
Регулятор напряжения СРН-8А-1
Показатели | Значение |
1 Напряжение уставки, В | 50 +/- 2 |
2 Наибольшее допустимое напряжение при размыкании контактов, В | 28 |
3 Наибольший ток контактов, А | 7 |
4 Зазор между подвижным и неподвижным контактами, мм | 0,5 - 1,0 |
5 Катушка параллельная неподвижная: | |
номинальный ток, А | 1,8 |
марка провода | ПЭВ-1 |
диаметр провода, мм | 1,0 |
число витков | 825 |
сопротивление при 20 °C, Ом | 2,3 |
6 Катушка параллельная подвижная: | |
номинальный ток, А | 1,8 |
марка провода | ПЭВ-1 |
диаметр провода, мм | 0,55 |
число витков | 145 |
сопротивление при 20 °C, Ом | 0,96 |
7 Катушка последовательная: | |
номинальный ток, А | 60 |
марка провода | ПБД |
размер сечения, мм | 3,28 x 3,80 |
число витков | 13 |
8 Масса, кг | 5,1 |
Таблица Е.94
Универсальные переключатели типа УП
Показатели | Тип переключателя |
УП5312-Ф105 | УП5314-С388 | УП5316-Е139 | УП5317-Л137 | УП5316-С497 |
1 Номинальное напряжение, В | 110 | 110 | 110 | 110 | 110 |
2 Номинальный ток, А | 16 | 16 | 16 | 16 | |
3 Число секций | 6 | 8 | 12 | 16 | 12 |
4 Число фиксированных положений | 4 | 3 | 3 | 5 | 3 |
5 Масса, кг | 1,20 | 1,85 | 2,90 | 2,75 | 2,40 |
Таблица Е.95
Стабилизатор напряжения СН-104Б-1
Показатели | Значения |
1 Частота, Гц | 50 |
2 Номинальный ток, А | 50 |
3 Сердечник: | |
марка стали | 1212 |
сечение, см2 | 90 |
ширина стержня, мм | 60 |
длина средней линии, мм | 48 |
4 Рабочая обмотка: | |
марка провода | ПБД |
сечение провода, мм2 | 24,32 |
число витков | 60 |
активное сопротивление при 20 °C, Ом | |
5 Обмотка управления: | |
марка провода | ПЛЭШД |
диаметр провода, мм | 0,86 |
число витков | 180 |
активное сопротивление при 20 °C, Ом | |
6 Обмотка смещения: | |
марка провода | ПЛЭШКД |
диаметр провода, мм | 0,86 |
активное сопротивление при 20 °C, Ом | |
7 Масса стабилизатора без масла, кг | 12 |
Таблица Е.96
Печи электрические
Показатели | Значения показателей |
ПЭТ-2А | ПЭТ-1У3 | 302.85.40.010 |
1 Номинальное напряжение, В | 750 | 750 | 800 |
2 Испытательное напряжение, В | 9500 | 9500 | 9500 |
3 Номинальная мощность, Вт | 1000 | 1000 | 1000 |
4 Сопротивление изоляции, Мом | Не менее 5 | Не менее 5 | Не менее 5 |
5 Активное сопротивление при 20 °C, Ом | 484 - 595 | 670 - 760 | 580 - 712 |
6 Количество нагревательных элементов | 4 | 4 | 4 |
7 Номинальная мощность нагревательного элемента, Вт | 250 | 250 | 250 |
8 Номинальное напряжение нагревательного элемента, В | 187,5 | 187,5 | 250 |
9 Тип нагревательного элемента | ТЭН-90 | ТЭН-90 | ТЭН-90 |
Таблица Е.97
Блоки сопротивлений ограничения токов короткого
замыкания при отключении контакторов защиты
и демпферных сопротивлений электропоездов
ЭР2Р, ЭР2Т, ЭД2Т, ЭТ2
Показатели | Тип блоков |
1БС.022 | 1БС.059 | 1БС-060 |
1 Ступень | 1 - 2 | 3 - 4 | 1 - 2 | 1 - 2 |
2 Номинальное напряжение, В | 3000 | 3000 | 3000 | 3000 |
3 Сопротивление, Ом | 4 | 8 | 12 | 6 |
4 Ток номинальный, А | 39 | 17 |
5 Масса, кг | 47 | 55 | 30 |
Таблица Е.98
Резисторы ослабления возбуждения, демпферные,
пусковые, балластные, токоограничивающие
электропоездов ЭД4, ЭД4М
Показатели | Резистор |
РТ-45 | РОВ-40 | РД-41 | РД-42 | РП-43 | РБ-44 |
1 Ступень | 1 - 2 | 3 - 4 | 1 - 2 | 2 - 3 | 3 - 4 | 4 - 6 | 7 - 8 | 6 - 7 | 2 - 5 | 1 - 2 | 2 - 3 | - | 1 - 2 | 2 - 3 |
2 Номинальное напряжение, В | 3000 | 3000 | 3000 | 3000 | 3000 | 110 |
3 Сопротивление, Ом | 4,000 | 8,000 | 0,368 | 0,130 | 0,070 | 0,050 | 0,050 | 0,037 | 0,200 | 12,000 | 6,000 | 28,800 | 9,000 | 6,800 |
4 Номинальный ток, А | 32 | 60 | 120 | 120 | 120 | 240 | 240 | 132 | 17,0 | 17,0 | 100,0 | 5,3 | 9,3 |
5 Масса, кг | 60,0 | 58,0 | 57,0 | 31,7 | 13,5 | 8,8 |
Таблица Е.99
Блок пуско-тормозных сопротивлений
электропоездов ЭД2Т, ЭД4М
Показатели | Тип блоков |
1БС.085 | 1БС.085.1 | 1БС.085.2 1БС.085.3 1БС.085.4 | 1БС.085.5 | 1БС.086 | 1БС.086.1 | 1БС.0862 |
1 Ступень | 1 - 2 | 3 - 4 | 1 - 2 | 1 - 2 | 1 - 2 | 3 - 4 | 1 - 2 | 3 - 4 | 1 - 2 | 3 - 4 | 1 - 2 |
2 Номинальное напряжение, В | 3000 | 3000 | 3000 | 3000 | 3000 | 3000 | 3000 |
3 Сопротивление, Ом | 0,570 | 1,950 | 0,635 | 1,200 | 0,952 | 1,000 | 0,400 | 0,400 | 2,900 | 0,400 | 1,472 |
Таблица Е.100
Блоки пуско-тормозных сопротивлений и сопротивлений
ослабления возбуждения электропоездов ЭД2Т, ЭД4М
Показатели | Тип блоков |
1БС.087 | 1БС.087.1 | 1БС.087.2 | 1БС.087.3 | 1БС.088 |
1 Ступень | 1 - 2 | 1 - 2 | 1 - 2 | 1 - 2 | 1 - 2 | 1 - 3 | 1 - 4 | 4 - 5 | 5 - 6 | 6 - 7 | 7 - 8 |
2 Номинальное напряжение, В | 3000 | 3000 | 3000 | 3000 | 3000 | 3000 | 3000 | 3000 | 3000 | 3000 | 3000 |
3 Сопротивление, Ом | 1,950 | 1,000 | 1,840 | 1,840 | 0,368 | 0,200 | 0,125 | 0,070 | 0,050 | 0,040 | 0,040 |
Таблица Е.101
Блоки управления
Показатели | Тип блоков |
БЗРГ-50 | БЗРГ-50Щ | БУП | БРУ | БРЧ | БУ САУТ | БУКЗ | ТЩ |
1 Напряжение питания, В | постоянное 50 | постоянное 55 | постоянное 220 | переменное 220 | переменное 220 | переменное 220 | постоянное 50 +/- 15 |
2 Ток, А, не более | 0,035 | 2,000 | 0,100 | 0,015 | 0,080 | 2,000 | 0,800 |
3 Наработка на отказ, час | 5000 | 5000 | 20000 | 20000 | 20000 | 20000 | 1500 | 40000 |
4 Режим работы | продолжительный | продолжительный | продолжительный | повторно-кратковременный с продолжительностью включения 15% | продолжительный | повторно-кратковременный с продолжительностью включения 15% | продолжительный | продолжительный |
5 Масса, кг | 1,2 | 3,5 | 3,7 | 1,8 | 1,9 | 5,5 | 10,0 | 5,5 |
Таблица Е.102
Резисторы пуско-тормозные электропоездов ЭД4, ЭД4М
Показатели | Резистор |
ПТР-97 ПТР-99 | ПТР-98 | ПТР-100 | ПТР-101 | ПТР-102 ПТР-103 | ПТР-104 | ПТР-105 | ПТР-106 | ПТР-107 | ПТР-108 | ПТР-107 |
1 Ступень | 1 - 2 | 1 - 2 | 1 - 4 | 2 - 3 | 1 - 4 | 2 - 3 | 1 - 2 | 1 - 2 | 1 - 6 | 1 - 2 | 1 - 3 | 2 - 3 | 1 - 3 2 - 4 | 2 - 9 | 1 - 9 | 9 - 10 |
2 Номинальное напряжение, В | 3000 | 3000 | 3000 | 3000 | 3000 | 3000 | 3000 | 3000 | 3000 | 3000 | 3000 |
3 Сопротивление, Ом | 1,76 | 1,56 | 0,40 | 2,90 | 0,952 | 1,00 | 1,20 | 1,00 | 1,20 | 0,635 | 0,78 | 1,17 | 0,78 | 1,17 | 0,78 | 0,53 |
4 Ток максимальный, А | 67 | 67 | 67 | 33 | 57 | 126 | 126 | 141 | 154 | 169 | 89 | 89 | 89 | 89 | 89 | 27 |
5 Время нагрузки, с | 210 | 210 | 150 | 210 | 190 | 150 | 150 | 120 | 100 | 100 | 90 | 90 | 90 | 90 | 90 | длительное |
6 Количество элементов | 5 | 4 | 2 | 2 | 1 | 5 | 6 | 5 | 6 | 6 | 2 | 3 | 2 | 3 | 2 | 1 |
7 Масса, кг | 56,0 | 52,0 | 52,0 | 66,0 | 63,0 | 58,5 | 63,2 | 68,6 | 55,4 | 50,9 | 64,0 |
Таблица Е.103
Контакторы Shaltbau
Показатели | Значение |
СТ1115 | СТ1130 | СН800 |
Номинальное напряжение силовой цепи, В | 1500 | 3000 | 3000 |
Количество силовых контактов | 1 | 1 | 1 |
Номинальный ток, А | 400 | 400 | 30 |
Отключающая способность постоянного тока (Т2 = 1 мс) при напряжении, А/В | 900/1800 | 800/3600 | 80/4000 |
Отключающая способность переменного тока (  , f = 50 Гц) при напряжении, А/В | 700/1800 | 800/3600 | 130/4000 |
Момент затяжки выводных наконечников, Н·м | 20 | 20 | 0,9 |
Частота циклов коммутации при номинальной нагрузке за час, не более | - | - | 30 |
Механический срок службы, цикл | 2 x 106 | 2 x 106 | 1 x 106 |
Номинальное напряжение катушки управления, В | 110 |
Допустимый рабочий диапазон напряжения управления, В | 77 - 137,5 |
Потребляемая мощность катушкой управления, Вт: |
холодная катушка | 55 | 55 | 18 |
катушка, нагретая до установившейся температуры | 40 | 40 | 15 |
Номинальный ток блок-контактов при напряжении 110 В и Т2 = 5 мс, А | 7 | 7 | 10 |
Масса, кг | 11 | 13 | 4,3 |
Таблица Е.104
Выключатель вакуумный CVB25
Показатели | Значение |
1 Номинальное напряжение, кВ | 25 |
2 Расчетное рабочее напряжение, кВ | 30 |
3 Расчетный рабочий ток, А | 450 |
4 Термический установившийся ток, А | 750 |
5 Время размыкания, мс, не менее | 60 |
6 Включающая способность при коротком замыкании (номинальное напряжение,  , f = 50 Гц), кА | 40 |
7 Отключающая способность при коротком замыкании (номинальное напряжение,  , f = 50 Гц), кА | 20 |
8 Расчетный кратковременный выдерживаемый ток за время 100 мс, кА | 40 |
9 Механический ресурс, цикл | 250000 |
10 Номинальное напряжение катушки управления, В | 110 |
11 Масса, кг | 148 |
Таблица Е.105
Заземляющий разъединитель SE25
Показатели | Значение |
1 Номинальное напряжение, кВ | 15 |
2 Номинальный ток термической стойкости, А | 400 |
3 Механический срок службы, цикл | 20000 |
4 Масса, кг | 22 |
Таблица Е.106
Электромагнитные контакторы серии КМ2000
Наименование параметров | Значение параметров контакторов |
КМ2143-23 | КМ2211-7 | КМ2311-9 | КМ2291-7 | КМ2291-10 | КМ2392-23 |
1 Главная цепь |
номинальное напряжение, В | 320 | 380 | 660 |
род тока | постоянный | переменный, 50 Гц |
номинальный ток, А | 100 | 25 | 25 | 25 | 25 | 50 |
главные контакты: количество и исполнение | 1з | 2з | 3з | 2з | 2з | 3з |
вспомогательные контакты: количество и исполнение |
клиновые | 2з + 2р | 1з | 1з | 1з | 1з | 2з + 2р |
мостиковые | 1з | - | 1р | - | 2з | 1з |
2 Напряжение включающей катушки, В | 110 постоянного тока |
3 Контакт управления |
зазор контакта, мм | 2,5 - 3,0 | - |
4 Мостиковые вспомогательные контакты |
зазор размыкающего контакта, мм | - | - | 4,0 - 4,5 | - | - | - |
провал замыкающего контакта, мм | 2,5 - 3,0 | - | - | - | 2,5 - 3,0 | 2,5 - 3,0 |
5 Клиновой вспомогательный контакт |
ход подвижного контакта после срабатывания, мм | - | 4,0 - 4,5 | - |
6 Масса, кг | 4,4 | 2,0 | 2,1 | 2,3 | 2,3 | 5,3 |
Примечание: з - замыкающий контакт, р - размыкающий контакт. |
Таблица Е.107
Электромагнитные контакторы серии МК
Наименование параметров | Значение параметров контакторов |
МК2-20 | МК1-11 | МК1-01 | МК1-20 | МК1-30 | МК1-22 |
1 Главные контакты |
количество и исполнение | 2з | 1р + 1з | 1р | 2з | 3з | 2р + 2з |
номинальный ток, А | 63 | 40 | 40 | 40 | 40 | 40 |
раствор, мм | 4 - 6 |
провал, мм | 2,5 - 3,0 | 2,5 - 3,0 для контакта з | 2,5 - 4,0 | 2,5 - 3,0 | 2,5 - 3,0 | 2,5 - 3,0 для контакта з |
2,5 - 4,0 для контакта р | 2,5 - 4,0 для контакта р |
начальное нажатие на мостик, МПа | 5,0 - 7,0 | 5,0 - 7,0 для контакта з | 3,5 - 4,5 | 5,0 - 7,0 | 5,0 - 7,0 | 5,0 - 7,0 для контакта з |
3,5 - 4,5 для контакта р | 3,5 - 4,5 для контакта р |
2 Напряжение включающей катушки постоянного тока, В | 110 |
3 Вспомогательные контакты |
количество и исполнение | 2з + 2р | 2з + 2р | 2з + 2р | 2з + 2р | 2з + 2р | 2з + 2р |
номинальный ток, А | 10 |
раствор, мм | 5 - 7 |
провал, мм | 1,5 - 3,5 |
начальное нажатие на мостик, МПа | 0,9 - 1,2 |
4 Масса, кг | 3,95 | 4,05 | 3,6 | 3,95 | 4,2 | 4,7 |
Примечание: з - замыкающий контакт, р - размыкающий контакт. |
(обязательное)
ДОПУСКИ И ИЗНОСЫ ЭЛЕКТРИЧЕСКИХ АППАРАТОВ
Таблица Ж.1
Размеры в миллиметрах
Наименование деталей и размеры | Тип аппарата | Размер |
Чертежный | Допустимый при выпуске из ремонта КР-1, КР-2 | Браковочный в эксплуатации |
1 | 2 | 3 | 4 | 5 |
1 Общая часть |
1.1 Уменьшение сечения шунтов, % | Все типы | - | 5 | 15 |
1.2 Толщина сегментов на блокировочных колодочках и барабанах | Все типы | 4,0 | 3,0 - 4,5 | 2,0, менее |
5,0 | 3,5 - 5,5 | 2,5, менее |
6,0 | 4,5 - 6,5 | 3,0, менее |
1.3 Толщина стального блокировочного пальца в рабочей части | Все типы | 1,25 | 1,00 - 1,30 | 0,50, менее |
1.4 Нажатие блокировочного пальца, Н | Все типы | 10 - 25 | 10 - 25 | 70, менее |
1.5 Допустимое отклонение от номинальных размеров валиков и осей при диаметре: |
от 5 до 10 включ. | Все типы | 0,015 - 0,055 | 0,015 - 0,150 | 0,500, более |
св. 10 до 18 включ. | 0,020 - 0,070 | 0,020 - 0,180 | 1,100, более |
св. 18 до 30 включ. | 0,025 - 0,085 | 0,025 - 0,210 | 1,300, более |
св. 30 до 50 включ. | 0,032 - 0,100 | 0,032 - 0,250 | 1,600, более |
1.6 Допустимое отклонение от номинальных размеров отверстий под валики и оси при диаметре: |
от 5 до 10 включ. | Все типы | 0 - 0,030 | 0 - 0,100 | 0,500, более |
св. 10 до 18 включ. | 0 - 0,035 | 0 - 0,120 | 1,100, более |
св. 18 до 30 включ. | 0 - 0,045 | 0 - 0,140 | 1,300, более |
св. 30 до 50 включ. | 0 - 0,05 | 0 - 0,170 | 1,600, более |
1.7 Допустимый зазор в шарнирах при диаметре отверстий: |
от 5 до 10 включ. | Все типы | 0,015 - 0,085 | 0,015 - 0,250 | 1,000, более |
св. 10 до 18 включ. | 0,020 - 0,105 | 0,020 - 0,300 | 2,200, более |
св. 18 до 30 включ. | 0,025 - 0,130 | 0,025 - 0,350 | 2,600, более |
св. 30 до 50 включ. | 0,032 - 0,150 | 0,032 - 0,420 | 3,200, более |
2 Токоприемники |
2.1 Толщина угольных вставок полоза | Л-13У П-1У | 25+5 | 25 - 30 | 10, менее |
2.2 Толщина пластин полоза: |
- медных | Л-14М | 5+1 | 5,0 - 6,0 | 2,5, менее |
- металлокерамических | Л-14М | 7,3 +/- 0,4 | 6,9 - 7,7 | 2,5, менее |
2.3 Зазор в стыках между вставками, смонтированными на полозе со стороны контактной поверхности, не более: |
- для угольных вставок | Л-13У П-1У | 0,5 | 0,8 | 0,8, более |
- для медных и металлокерамических пластин | Л-14М | 1 | 1 | 1, более |
2.4 Смещение центра полоза относительно центра основания токоприемника поперек его оси в пределах рабочей высоты, измеренное на крыше вагона |
| Все типы | 0 - 10 | 0 - 20 | 30, более |
2.5 Отклонение верхней поверхности полоза от горизонтали на длине 1 м при установке: |
- на выверенных тумбах в цехе | Все типы | 0 - 5 | 0 - 5 | 10, более |
- на крыше моторного вагона | Все типы | 0 - 10 | 0 - 10 | 20, более |
2.6 Вогнутость прямолинейной части полоза на длине 1 м |
| Все типы | 0 - 2 | 0 - 2 | 2, более |
2.7 Наибольший суммарный аксиальный зазор в любом шарнире рамы |
| Все типы | 2 | 2 | 4, более |
2.8 Высота резинового буфера в запрессованном стакане |
| Л-13У Л-14М | 25 +/- 1 | 23 - 26 | 18, менее |
2.9 Расстояние между резиновой головкой и шайбой в упоре |
| Л-13У Л-14М | 18, не менее | 18, не менее | 18, менее |
2.10 Поперечный люфт на тяге токоприемника | Л-13У Л-14М П-1У | 1,5, не более | 1,5, не более | 3,0, более |
2.11 Выработка отверстия во втулке крышки цилиндра от штока поршня |
| Все типы | 1,5, не более | 1,5, не более | 3,0, более |
2.12 Ход каретки | Все типы | 50 | 48 - 52 | 52, более, 48, менее |
2.13 Износ цилиндра пневмопривода по рабочей поверхности |
| Все типы | 0,5 | 0,5 | 0,8, более |
2.14 Износ поршня пневмопривода по рабочей поверхности |
| Все типы | 0,1 | 0,1 | 0,2, более |
2.15 Статическое нажатие на контактный провод в диапазоне рабочей высоты, Н: |
- активное (при подъеме) | Л-13У Л-14М | 70, не менее | 70, не менее | 60, менее |
П-1У | 70, не менее | 70, не менее | 70, менее |
- пассивное (при опускании) | Л-13У Л-14М | 90 - 110 | 90 - 110 | 110, более |
П-1У | 90 - 110 | 90 - 110 | 110, более |
2.16 Разница между наибольшим и наименьшим нажатием полоза при одностороннем его движении в рабочем диапазоне, Н |
| Л-13У Л-14М | 15, не более | 10, не более | 10, более |
| П-1У | 15, не более | 15, не более | 15, более |
2.17 Разница между пассивным и активным нажатием в любой точке при подъеме и опускании в диапазоне рабочей высоты, Н |
| Л-13У Л-14М | 20, не более | 20, не более | 20, более |
| П-1У | 30, не более | 30, не более | 30, более |
3 Быстродействующие выключатели |
3.1 Быстродействующие выключатели БВП-105А-1 (-4, -5, -6), БВП-105А.10 |
3.1.1 Толщина рабочей части неподвижного контакта |
| Все типы | 12,5-0,43 | 11,0 - 12,5 | 7,0, менее |
3.1.2 Высота выступа рабочей части неподвижного контакта |
| Все типы | 15-0,3 | 13 - 15 | 5, менее |
3.1.3 Раствор силовых контактов |
| Все типы | 30 +/- 5 | 25 - 35 | 53, более |
3.1.4 Толщина дугогасительных рогов |
| Все типы | 10,0 +/- 0,2 | 9,8 - 10,2 | 5,0, менее |
3.1.5 Износ дугогасительных рогов по длине |
| Все типы | - | 0 | 20, более |
3.1.6 Расстояние между дугогасительными рогами подвижного и неподвижного контактов |
| Все типы | 40 | 40 | 64, более |
3.1.7 Износ включающего ролика по диаметру |
| Все типы | - | 0 - 0,04 | - |
3.1.8 Зазор между включающим роликом и осью |
| Все типы | 0,045 - 0,140 | 0,045 - 0,300 | 0,800, более |
3.1.9 Зазор между стенкой паза в поршне механизма возврата и уплотнительным кольцом |
| Все типы | 0,01 - 0,25 | 0,01 - 0,25 | 0,50, более |
3.1.10 Толщина стенок дугогасительной камеры |
| Все типы | 6,0 | 5,0 - 7,5 | 3,0, менее |
3.1.11 Толщина перегородки дугогасительной камеры |
| Все типы | 5-1 | 4 - 5 | 3, менее |
3.1.12 Линия касания контактов в % от ширины |
| Все типы | 80, не менее | 80, не менее | 80, менее |
3.1.13 Толщина вспомогательного контакта: |
- подвижного | Все типы | 1,2-0,15 | 0,8 - 1,2 | 0,5, менее |
- неподвижного | 0,5 | 0,4 - 0,5 | 0,1, менее |
3.1.14 Раствор вспомогательных контактов |
| Все типы | 6,5 - 9,5 | 6,0 - 9,5 | 11,0, более |
3.1.15 Наибольшее горизонтальное смещение силовых контактов относительно друг друга |
| Все типы | 0,5 | 0,5 | 1,0, более |
3.2 Быстродействующие выключатели ВБ-6, ВБ-11, ВБ-14 |
3.2.1 Поперечное смещение главных контактов относительно друг друга |
| Все типы | 0,5, не более | 0,5, не более | 1,0, более |
3.2.2 Высота рабочей части подвижного контакта |
| ВБ-6 | 30-0,5 | 28 - 30 | 25, менее |
3.2.3 Высота рабочей части неподвижного контакта | ВБ-6 | 36 +/- 1 | 33 - 37 | 26, менее |
ВБ-11 ВБ-14 | 40 +/- 0,5 | 37,5 - 40,5 | 30, менее |
3.2.4 Линия прилегания главных контактов, в % от ширины |
| Все типы | 70, не менее | 70, не менее | 70, менее |
3.2.5 Зазор между главными контактами |
| Все типы | 32, не менее | 32, не менее | 35, более |
3.2.6 Диаметр поршня пневмопривода |
| Все типы | | 58,9 - 59,2 | 58,7, менее |
3.2.7 Диаметр цилиндра пневмопривода |
| Все типы | 60,0+0,19 | 60,0 - 60,5 | 60,8 |
4 Контакторы электромагнитные быстродействующие КМБ-3, КМБ-3А, КМБ-3Д, КМБ-3.10, КМБ-3.12 |
4.1 Ширина подвижного контакта контактора в плоскости контактного касания |
| Все типы | 19 | 18 - 19 | 16, менее |
4.2 Ширина неподвижного контакта контактора в плоскости контактного касания |
| Все типы | 17-0,5 | 16 - 17 | 14, менее |
4.3 Раствор силовых контактов | Все типы | 8 - 12 | 8 - 12 | 8, менее, 16, более |
4.4 Линия касания силовых контактов в % от ширины |
| Все типы | 80, не менее | 80, не менее | 80, менее |
4.5 Поперечное смещение силовых контактов относительно друг друга |
| Все типы | - | 1,0, не более | 1,5, более |
4.6 Толщина напайки вспомогательных контактов |
| Все типы | 0,5-0,04 | 0,3 - 0,5 | 0,1, менее |
4.7 Раствор вспомогательных контактов |
| Все типы | 5 - 10 | 5 - 10 | 5, менее, 14, более |
4.8 Поперечное смещение блокировочных контактов относительно друг друга |
| Все типы | - | 1,0, не более | 1,5, более |
4.9 Толщина стенок дугогасительной камеры |
| Все типы | 5,0-0,3 | 4,5 - 5,0 | 3,0, менее |
4.10 Толщина перегородки плоскощелевой дугогасительной камеры |
| Все типы | 6 | 5 - 6 | 3, менее |
4.11 Ширина щели устья в собранной (лабиринтно-щелевой) дугогасительной камере |
| Все типы | 3,0 +/- 0,5 | 2,5 - 3,5 | 2,5, менее, 3,5, более |
4.12 Ширина щели устья в собранной (лабиринтно-щелевой) дугогасительной камере, на выходе |
| Все типы | 6,0 +/- 0,5 | 5,5 - 6,5 | 5,5, менее, 6,5, более |
5 Главные выключатели ВОВ-25-4М и ВОВ-25-10/400 |
5.1 Толщина ножей разъединителя: |
- неподвижного | | 10,0 | 9,5 - 10,0 | 8,5, менее |
- подвижного | 3,0 | 2,8 - 3,0 | 2,0, менее |
5.2 Нажатие ножей разъединителя на неподвижные контакты, Н |
| | 90 - 100 | 90 - 100 | 85, менее, 105, более |
5.3 Вжим подвижного контакта дугогасительной камеры в неподвижный |
| | 14 - 15 | 14 - 15 | 14, менее |
5.4 Несовпадение осевых линий ножей разъединителя и неподвижного контакта |
| | 0 - 5 | 0 - 5 | 7, более |
5.5 Натяг между подвижными ножами разъединителя и неподвижными контактами |
| | 1,5 - 2,0 | 1,5 - 2,0 | 1,0, менее, 2,0, более |
5.6 Поверхность касания контактной части ножа с неподвижными контактами, % |
| | 80, не менее | 80, не менее | 70, менее |
5.7 Расстояние между токоведущими частями, разделенными разрывом разъединителя |
| | 230, не менее | 230, не менее | 230, менее |
5.8 Высота киритовой накладки у контактов дугогасительной камеры: |
- подвижного (накладки) | | 8,0 | 6,0 | 2,8, менее |
- неподвижного (электрода) | | 24,0 | 22,5 | 20,0, менее |
5.9 Площадь касания контактов в дугогасительной камере, % |
| | 80, не менее | 80, не менее | 80, менее |
5.10 Внутренний диаметр цилиндра дугогасительной камеры |
| | 80,00+0,06 | 80,06 - 80,47 | 81,00, более |
5.11 Толщина серебряных контактов контрольно-сигнального аппарата |
| | 12,0-0,12 | 0,8 - 1,2 | 0,1, менее |
5.12 Неодновременность замыкания контактов, градус |
| | 3, не более | 3, не более | 3, более |
5.13 Величина сброса давления при включении выключателя от электромагнита включения, МПа |
| | 0,05, не более | 0,05, не более | 0,05, более |
5.14 Величина сброса давления при отключении выключателя от удерживающего электромагнита при начальном давлении в баке 0,8 МПа, МПа |
| | 0,25, не более | 0,25, не более | 0,25, более |
5.15 Угол поворота вала разъединителя из положения "включено" в положение "отключено", градус |
| | 60 - 61 | 57 - 63 | 57, менее, 63, более |
5.16 Ток срабатывания электромагнита переменного тока при давлении в баке 0,9 МПа, А |
| | 11, не более | 11, не более | 11, более |
5.17 Минимальное напряжение срабатывания включающего электромагнита при давлении в баке 0,9 МПа, В |
| | 71,5, не более | 71,5, не более | 71,5, более |
5.18 Наименьшее давление срабатывания механизма выключателя, МПа: |
- при отключении от электромагнита переменного тока | | 0,4, не более | 0,4, не более | 0,4, более |
- при отключении от удерживающего электромагнита | | 0,35, не более | 0,35, не более | 0,35, более |
- при включении от электромагнита постоянного тока | | 0,3, не более | 0,3, не более | 0,3, более |
5.19 Пределы ступенчатого регулирования тока уставки на промежуточном реле, А |
| 80 +/- 12 | 80 +/- 12 | 80, более | 80 +/- 12 |
| 100 +/- 15 | 100 +/- 15 | 100, более | 100 +/- 15 |
| 120 +/- 18 | 120 +/- 18 | 120, более | 120 +/- 18 |
5.20 Давление сжатого воздуха для срабатывания автомата минимального давления, МПа |
- на размыкание контактов | | 0,48-0,02 | 0,48-0,02 | 0,46, менее 0,48, более |
- на замыкание контактов | | 0,58-0,02 | 0,58-0,02 | 0,56, менее 0,58, более |
5.21 Снижение давления воздуха при давлении в баке 0,8 МПа через час после подачи на патрон аэрации, МПа |
| | 0,60 +/- 0,15 | 0,60 +/- 0,15 | 0,45, менее 0,75, более |
5.22 Снижение давления воздуха (из-за утечки) в резервуаре выключателя в течение часа при начальном давлении в баке 0,8 МПа, МПа |
- без учета вентиляции полости изолятора (при перекрытом патроне аэрации) | | 0,1 | 0,1 | 0,1, более |
- с учетом вентиляции полости изолятора (при открытом патроне аэрации) | | 0,60 +/- 0,15 | 0,60 +/- 0,15 | 0,45, менее 0,75, более |
5.23 Собственное время автоматического отключения от промежуточного реле при давлении в баке 0,8 МПа и номинальном напряжении на катушках электромагнитов, секунд: |
- при 130% токе уставки | | 0,06, не более | 0,06, не более | 0,06, более |
- при 200% токе уставки | | 0,05, не более | 0,05, не более | 0,05, более |
5.24 Собственное время автоматического отключения от электромагнита переменного тока при токе в катушке 15 А, секунд |
| | 0,03, не более | 0,03, не более | 0,03, более |
5.25 Время между замыканием контактов дугогасительной камеры и замыканием ножа разъединителя с контактами заземляющей стойки, секунд |
| | 0,03, не более | 0,03, не более | 0,03, более |
5.26 Собственное время отключения удерживающего электромагнита от момента размыкания цепи удерживающего электромагнита до размыкания контактов дугогасительной камеры, секунд |
| | 0,04, не более | 0,04, не более | 0,04, более |
5.27 Время от момента размыкания контактов разъединителя до замыкания ножа разъединителя с заземляющим контактом при отключении, с |
| | 0,04 - 0,07 | 0,04 - 0,07 | 0,04, менее 0,07, более |
5.28 Время от момента размыкания контактов дугогасительной камеры до размыкания контактов разъединителя при давлении 0,9 МПа, секунд |
| | 0,03 - 0,04 | 0,03 - 0,04 | 0,03, менее 0,04, более |
5.29 Собственное время включения выключателя от момента подачи импульса на катушку включающего электромагнита до замыкания контактов разъединителя, секунд |
6 Главные разъединители (переключатели) ГР-1Б, 1РВ.002, Р-9А |
6.1 Толщина ножа в рабочей части | Все типы | 6,0, не более | 5,5 - 6,0 | 4,5, менее |
6.2 Толщина пластин в месте контакта с ножом | Все типы | 2,0 | 1,6 - 2,0 | 1,2, менее |
6.3 Натяг между двумя контактными пластинами и пластинами ножа | ГР-1Б 1РВ.002 | 2,8 - 3,2 | 2,8 - 3,2 | 2,0 менее |
6.4 Расстояние между щеками пластин | Р-9А | 3, не более | 3, не более | 4, более |
6.5 Линия касания ножей с контактными пластинами, % | ГР-1Б 1РВ.002 | 80, не менее | 80, не менее | 70, менее |
6.6 Суммарная длина линии касания ножа с контактными стойками: |
- в положении "Токоприемник" | Р-9А | 32, не менее | 32, не менее | 32, менее |
- в положении "Земля" | Р-9А | 16, не менее | 16, не менее | 16, менее |
7 Силовые контроллеры |
7.1 Силовые контроллеры 1КС.006, 1КС009, 1КС-015, 1КС-022, КСП-1А, КСП-6Б |
7.1.1 Износ звезды привода по шаблону | Все типы | - | 0 - 0,2 | 0,6, более |
7.1.2 Диаметр ролика штока привода | Все типы | 32,0-0,05 | 32,0-0,05 | 31,3, менее |
7.1.3 Внутренний диаметр цилиндра привода | Все типы | 58,0+0,06 | 58,0 - 58,5 | 58,8 |
7.1.4 Наружный диаметр поршня привода | Все типы | | 57,7 - 58,0 | 57,5, менее |
7.1.5 Диаметр кулачковых шайб главного вала и вала управления | 1КС.006 1КС-022 КСП-1А КСП-6Б | 152,00 +/- 0,25 | 150,00 - 152,25 | 146,00, менее |
1КС.009 1КС-015 | 80,00 +/- 0,25 | 78,00 - 80,25 | 74,00, менее |
7.1.6 Биение окружности кулачковых шайб |
| Все типы | +/- 0,5 | 1,0 не более | 2,0 более |
7.1.7 Осевое смещение контактов относительно кулачковых шайб |
| Все типы | +/- 1 | +/- 1 | 2, более |
7.1.8 Осевое смещение шестерен в парном зацеплении |
| Все типы | +/- 1,5 | +/- 1,5 | 2,5, более |
7.2 Силовой контроллер КС-26 |
7.2.1 Внутренний диаметр цилиндра привода |
| | 60,0+0,19 | 60,0 - 60,5 | 60,8 |
7.2.2 Наружный диаметр поршня привода |
| | | 59,2 - 59,6 | 59,0, менее |
7.2.3 Длина линии касания контакторов главной цепи |
| | 14, не менее | 14, не менее | 14, менее |
8 Переключатели реверсивные и реверсивно-тормозные |
8.1 Биение окружности кулачковых шайб | 1П.004 ПР-320А ПР-320Б | +/- 0,5 | +/- 1,0 | 2,0, более |
8.2 Внутренний диаметр цилиндра привода | 1П.004 ПР-320А ПР-320Б | 58,0+0,06 | 58,0 - 58,5 | 58,8, более |
ПКД-25А | 60,0+0,19 | 60,0 - 60,5 | 60,8, более |
8.3 Наружный диаметр поршня привода | 1П.004 ПР-320А ПР-320Б | | 57,7 - 58,0 | 57,5, менее |
ПКД-25А | | 59,2 - 59,6 | 59,0, менее |
8.4 Диаметр кулачковых шайб главного вала и вала управления | 1П.004 ПР-320А ПКД-25А | 152,00 +/- 0,25 | 150,00 - 152,25 | 146,00, менее |
1П.004 | 80,00 +/- 0,25 | 78,00 - 80,25 | 74,00, менее |
8.5 Осевое смещение контактов относительно кулачковых шайб | 1П.004 ПР-320А ПР-320Б | +/- 1 | +/- 1 | +/- 2 |
9 Кулачковые контакторы контроллеров и переключателей |
9.1 Толщина главных контактов: |
- подвижного | КР-9А КЭ-4Д | 10,0 +/- 0,3 | 8,5 - 10,3 | 5,0, менее |
КР-6А КР-8А КЭ-3А | 8-0,5 | 7 - 8 | 4, менее |
КЭ-2А КЭ-13 | 8 | | |
КЭ-153 | 2,0 | 1,5 - 2,0 | 1,3, менее |
- неподвижного | КР-6А КР-8А КР-9А КЭ-3А КЭ-4Д | 10,0 +/- 0,3 | 8,5 - 10,3 | 5,0, менее |
КЭ-2А КЭ-13 | 12,0 | 10,5 - 12,0 | 6,0, менее |
КЭ-153 | 1,2 | 1,0 - 1,2 | 0,8, менее |
9.2 Раствор главных контактов | КР-3А | 4, не менее | 4 - 7 | 4, менее, 10, более |
КР-6А | 8 - 10 | 8 - 10 | 6, менее, 14, более |
КР-8А КР-9А | 8 - 10 | 8 - 10 | 8, менее, 12, более |
КЭ-42А | 6 - 12 | 6 - 12 | 6, менее, 14, более |
КЭ4Д | 8 - 11 | 8 - 11 | 8, менее, 12, более |
КЭ-2А КЭ-13 | 8 - 16 | 8 - 16 | 8, менее, 17, более |
КЭ-153 | 4,5, не менее | 4,5 - 7,5 | 4,5, менее 10,5, более |
9.3 Линия касания главных контактов: |
- в % от ширины | КР-6А КР-8А КР-9А КЭ-3А КЭ-42А КЭ-4Д | 80, не менее | 80, не менее | 80, менее |
- в мм | КЭ-2А КЭ-13 | 14, не менее | 14, не менее | 14, менее |
9.4 Толщина контактов (напаек) низковольтной цепи | КР-3А | 1,5-0,2 | 1,0 - 1,5 | 0,5, менее |
КЭ-42А | 1,8-0,15 | 1,0 - 1,8 | 0,5, менее |
9.5 Смещение главных контактов друг относительно друга | КР-6А КР-8А КР-9А КЭ-42А КЭ-4Д КЭ-2А КЭ-13 | 1,0, не более | 1,0, не более | 1,5 более |
9.6 Наибольшее поперечное смещение вспомогательных контактов относительно друг друга | КЭ-42А КЭ-3Д | 1,0 | 1,0 | 1,5, более |
9.7 Толщина стенки дугогасительной камеры | КР-8А КР-9А | 4,5 +/- 0,5 5,0 +/- 0,5 | 4,0 - 5,0 4,5 - 5,5 | 3,0 менее |
9.8 Диаметр оси ролика | КР-3А КР-6А КР-8А КЭ-4Д | 9,0-0,01 | 8,8 - 9,0 | 9,0 более |
10 Электропневматические контакторы |
10.1 Толщина дугогасительных контактов | 1КП.003 1КП.005 1КП.006 1КП.008 | 6,0 | 5,5 - 6,0 | 4,0 менее |
10.2 Толщина главных контактов | 1КП.003 1КП.005 1КП.006 1КП.008 | 6,0 +/- 0,2 | 5,0 - 6,2 | 4,0, менее |
ПК-306Т ПК-306Ф ПК-350В | 8,0 +/- 0,2 | 7,0 - 8,2 | 5,0, менее |
ПК-12А ПК-22А | 12 | 11 - 12 | 9,0, менее |
10.3 Раствор дугогасительных контактов | 1КП.003 | 20 - 23 | 20 - 23 | 18, менее, 25, более |
1КП.005 | 19 - 24 | 19 - 24 | 18, менее, 25, более |
1КП.006 1КП.008 | 18 - 25 | 18 - 25 | 17, менее 26, более |
10.4 Раствор главных контактов | 1КП.0031 КП.005 1КП.006 | 28 - 32 | 28 - 32 | 27, менее, 35, более |
1КП.008 | 27 - 35 | 27 - 35 | 26, менее, 38, более |
ПК-306Т ПК-306Ф | 21 - 24 | 21 - 24 | 21, менее, 29, более |
ПК-12А ПК-22А | 24 - 27 | 24 - 27 | 23, менее, 30, более |
10.5 Линия касания главных контактов: |
- в % от ширины | ПК-306Т ПК-306Ф ПК-350В | 80, не менее | 80, не менее | 80, менее |
- в мм | 1КП.003 1КП.005 1КП.006 1КП.008 | 38, не менее | 38, не менее | 38, менее |
ПК-12А ПК-22А | 16, не менее | 16, не менее | 16, менее |
10.6 Линия касания дугогасительных контактов | 1КП.0061 КП.008 | 7, не менее | 7, не менее | 7, менее |
10.7 Допустимое поперечное смещение главных контактов во включенном положении | 1КП.0031 КП.005 | 1,5 | 1,5 | 2,0, более |
ПК-306Т ПК-306Ф ПК-350В | - | 1,0 | 2,0, более |
10.8 Длина дугогасительного выступа кронштейна неподвижного контакта | ПК-306Т ПК-306Ф ПК-350В | 17 | 15 - 17 | 10, менее |
10.9 Наибольший зазор между штоком поршня и отверстием для него в цилиндре | 1КП.0031 КП.005 | 0,1 | 0,5 | 1,0, более |
ПК-306Т ПК-306Ф ПК-350В | 0,13 | 0,50 | 1,00, более |
10.10 Зазор между валиком и наконечником штока поршня | Все типы | 0,2 - 0,6 | 0,2 - 1,1 | 2,0, более |
10.11 Толщина перегородки внутри продольно-щелевой дугогасительной камеры | 1КП.003 | 10,0 +/- 0,3 | 10,0 - 15,0 | 8,0, менее |
1КП.005 | 8,0 +/- 0,3 | 8,0 - 14,0 | 7,0, менее |
ПК-306Т ПК-306Ф ПК-350В | 5+0,3 | 5 - 6 | 3, менее |
10.12 Толщина стенки продольно-щелевой дугогасительной камеры | 1КП.0031 КП.005 ПК-306Т ПК-306Ф ПК-350В | 8+0,3 | 5 - 7 | 3, менее |
10.13 Внутренний диаметр цилиндра пневмопривода | 1КП.003 1КП.005 1КП.006 | 45,0+0,062 | 45,0 - 45,5 | 45,8, более |
ПК-350В | 45,0+0,005 | 45,0 - 45,5 | 45,8, более |
ПК-306Т ПК-306Ф | 58,0+0,6 | 58,0 - 58,5 | 58,8, более |
ПК-12А ПК-22А | 45,0+0,16 | 45,0 - 45,5 | 45,8, более |
10.14 Наружный диаметр поршня пневмопривода | 1КП.1003 1КП.005 1КП.1006 | 43,0-0,62 | 42,3 - 43,0 | 42,1, менее |
ПК-12А ПК-22А | 44,0-0,62 | 43,3 - 43,0 | 43,1, менее |
10.15 Ход поршня в цилиндре пневмопривода | 1КП.1003 1КП.005 | 40,0 | 39,5 - 41,5 | 39,5, менее, 41,5, более |
ПК-306Т ПК-306Ф | 25,5 | 25,5 | 25,5, менее |
ПК-350В | 24,5 | 24,5 | 24,5, менее |
11 Электромагнитные контакторы |
11.1 Толщина главного подвижного контакта | КМ-15 | 10,0 +/- 0,3 | 8,0 - 10,3 | 5,0, менее |
КМ-1 КМ-3 КМВ-104 | 5,00 +/- 0,07 | 4,50 - 5,10 | 2,50, менее |
КТПВ-621 | 6,00 +/- 0,07 | 5,50 - 6,10 | 3,00, менее |
1КМ.015 1КМ.016 | 6,0 +/- 0,2 | 5,0 - 6,2 | 3,0, менее |
КМ-2311 МК1-21 | 3,0 | 2,5 - 3,0 | 1,0, менее |
КМ-2312 КМ-2313 | 4,0 | 3,5 - 4,0 | 2,0, менее |
МК1-30 МК2-30 | 4 | 3 - 4 | 2, менее |
МК1-22 | 4,75 | 3,50 - 4,75 | 2,00, менее |
МК-18 МК-18-01 МК-19 МК-30 | 8 | 7 - 8 | 5, менее |
МК1-11 МК2-20 | - | 8, не менее | 6, менее |
11.2 Толщина главного неподвижного контакта | КМ-1 КМ-3 КМ-15 КМВ-104 1КМ.015 1КМ.016 | 6,0 +/- 0,2 | 5,5 - 6,2 | 3,0, менее |
КТПВ-621 | 4,10 +/- 0,05 | 3,50 - 4,15 | 2,00, менее |
КМ-2311 МК1-21 | 4,0 | 3,5 - 4,0 | 2,0, менее |
КМ-2312 КМ-2313 | 5,0 | 4,5 - 5,0 | 3,0, менее |
МК1-30 МК2-30 | 4,25 | 3,50 - 4,25 | 2,50, менее |
МК1-22 | 4,25 | 3,50 - 4,25 | 2,75, менее |
МК-18 МК-18-01 МК-19 МК-30 | 23,0 | 22,5 - 23,0 | 21,0, менее |
МК1-11 МК2-20 | - | 6, не менее | 3, менее |
11.3 Раствор главных контактов | КМ-1 КМ-15 | 8 - 10 | 8 - 10 | 6, менее, 12, более |
КМ-3 | 6 - 8 | 6 - 8 | 6, менее, 11, более |
КМВ-104 | 21 - 24 | 21 - 24 | 19, менее, 26, более |
1КМ.015 1КМ.016 | 19 - 25 | 19 - 25 | 19, менее, 26, более |
МК1-22 МК1-30 МК2-30 | 6+1 | 5 - 7 | 4, менее, 7, более |
КТПВ-621 | 11 - 15 | 11 - 15 | 10, менее, 18, более |
МК1-21 | 5 +/- 1 | 4 - 6 | 4, менее, 7, более |
КМ-2311 | 5 - 6 | 5 - 6 | 5, менее, 8, более |
КМ-2312 КМ-2313 | 8 - 9 | 8 - 9 | 6, менее, 11, более |
МК-18 МК-18-01 МК-19 МК-30 | 21 +/- 2 | 19 - 23 | 19, менее, 24, более |
МК1-11 МК2-20 | - | 4 - 6 | 1,8, менее |
11.4 Линия касания главных контактов, в % от ширины | КМ-1 КМ-3 КМ-15 КМВ-104 1КМ.015 1КМ.016 МК1-11 МК1-21 МК1-22 МК1-30 МК2-20 МК2-30 КТПВ-621 КМ-2311 КМ-2312 КМ-2313 | 80, не менее | 80, не менее | 80, менее |
11.5 Линия касания главных контактов | МК-18 МК-18-01 МК-19 МК-30 | 12, не менее | 12, не менее | 12, менее |
МК1-11 МК2-20 | 12, не менее | 12, не менее | 11, менее |
11.6 Наибольшее поперечное смещение силовых контактов относительно друг друга | КМ-1 КМ-3 КМ-15 КМВ-104 1КМ.015 1КМ.016 МК1-11 МК1-21 МК1-22 МК1-30 МК2-20 МК2-30 КТПВ-621 КМ-2311 КМ-2312 КМ-2313 | 1,0 | 1,0 | 1,5, более |
11.7 Толщина стенки дугогасительной камеры | КМВ-104 | 7-0,5 | 5 - 7 | 3, менее |
КМ-15 | 6-0,5 | 5 - 7 | 3, менее |
1КМ.015 1КМ.016 | 8 | 6 - 8 | 4, менее |
МК1-11 МК2-20 | - | 5, не менее | 3, менее |
11.8 Толщина перегородки внутри дугогасительной камеры | МК-310 | 5,0+0,3 | 4,0 - 5,6 | 2,0, менее |
1КМ.015 1КМ.016 | 15 | 12 - 14 | 8, менее |
11.9 Раствор вспомогательных контактов | КМ-1 КМ-3 | 5 - 7 | 5 - 7 | 5 менее, 11, более |
КМ-15 | 3 - 5 | 3 - 5 | 3 менее, 7, более |
КМВ-104 | 7 - 8 | 7 - 8 | 7 менее, 12, более |
1КМ.015 1КМ.016 | 6 - 10 | 6 - 10 | 5 менее, 11, более |
КТПВ-621 | 4 | 4 - 6 | 4 менее, 10, более |
МК1-21 МК1-22 МК1-30 МК2-30 | 6 +/- 1 | 5 - 7 | 5, менее, 9, более |
КМ-2311 | 4,0 - 4,5 | 4,0 - 4,5 | 4 0, менее, 6,0, более |
КМ-2312 КМ-2313 | 4,5 - 5,0 | 4,5 - 5,0 | 4,0, менее, 7,0, более |
МК1-11 МК2-20 | 6 - 8 | 6 - 8 | 5, менее, 9, более |
11.10 Толщина напаек вспомогательных контактов | КМ-15 | 1,2-0,15 | 1,0 - 1,2 | 0,5, менее |
КМ-1 КМ-3 1КМ.015Д КМ.016 МК1-21 МК1-22 МК1-30 МК2-30 КМВ-104 КТПВ-621 КМ-2311 КМ-2312 КМ-2313 | 1,6-0,2 | 1,0 - 1,6 | 0,5, менее |
МК1-11 МК2-20 | - | 1,2 | 0,1, менее |
11.11 Наибольшее поперечное смещение вспомогательных контактов относительно друг друга | КМ-1 КМ-3 КМ-15 КМВ-104 1КМ.015 1КМ.016 МК1-11 МК1-21 МК1-22 МК1-30 МК2-20 МК2-30 КТПВ-621 КМ-2311 КМ-2312 КМ-2313 | 1,0 | 1,0 | 1,5, более |
11.12 Ширина щели устья в собранной лабиринтно-щелевой дугогасительной камере | КМВ-104 | 3,5+1,5 | 3,5 - 5,0 | 3,5, менее, 5,0, более |
11.13 Износ наружных стенок неразборных дугогасительных камер, % | КМ-1 КМ-3 КМ-15 КМВ-104 1КМ.015 1КМ.016 МК1-11 МК1-21 МК1-22 МК1-30 МК2-20 МК2-30 КТПВ-621 КМ-2311 КМ-2312 КМ-2313 | 10, не более | 10, не более | 50, более |
12 Электропневматические вентили |
12.1 Зазор между якорем и сердечником вентиля во включенном положении | 1В.008 ВВ-2 ВВ-2А ВВ-2Г ВВ-2Г-1 ВВ-3 ВВ-3Г ВВ-3Г-1 | 1,3 +/- 0,1 | 1,2 - 1,4 | 0,6, менее |
12.2 Зазор между якорем и сердечником вентиля в выключенном положении | 1В.008 ВВ-2 ВВ-2А ВВ-2Г ВВ-2Г-1 | 2,2 +/- 0,1 | 2,1 - 2,3 | 2,5, более |
ВВ-3 ВВ-3Г ВВ-3Г-1 | 2,6 +/- 0,1 | 2,5 - 2,7 | 3,0, более |
12.3 Ход клапана вентиля | 1В.008 ВВ-2 ВВ-2А ВВ-2Г | 0,90-0,05 | 0,80 - 1,00 | 0,70, менее, 1,10, более |
ВВ-3 ВВ-3Г ВВ-3Г-1 | 1,30 +/- 0,05 | 1,20 - 1,40 | 1,00, менее, 1,60, более |
12.4 Толщина бурта у седла вентиля | 1В.008 ВВ-2 ВВ-2А ВВ-2Г ВВ-2Г-1 | 2,00+0,05 | 1,00 - 2,05 | 0,20, менее |
ВВ-3 ВВ-3Г ВВ-3Г-1 | 2,50+0,05 | 1,50 - 2,55 | 0,30, менее |
13 Контроллеры машиниста |
13.1 Износ профиля храповика главного и реверсивного валов | КМР-2 КМР-2А-1 КМ-9 КМР-9А КМР-9А-1 1КУ.019 1КУ.021 1КУ.023 1КУ.035 | 0 - 0,5 | 0 - 0,5 | 2,0, более |
13.2 Свисание роликов кулачковых контакторов с профилей кулачковых шайб, не более | 1КУ.019 1КУ.021 1КУ.023 1КУ.035 КМР-2 КМР-2А-1 | 1 | 1 | 2, более |
КМ-9 | 0,5 | 0,5 | 1,5, более |
13.3 Диаметр кулачковых шайб - меньший | 1КУ.021 1КУ.019 1КУ.023 1КУ.035 КМР-2 КМР-2А-1 | 66,00-1,24 | 64,76 - 66,00 | 61,00, менее |
КМ-9 | 120-0,22 | 119,78 - 120,00 | 117, менее |
13.4 Диаметр кулачковых шайб - больший | 1КУ.019 1КУ.021 1КУ.023 1КУ.035 КМР-2 КМР-2А-1 | 80,0 +/- 0,5 | 79,0 - 80,5 | 75,0, менее |
КМ-9 | 120,00-0,22 | 119,78 - 120,00 | 117,00, менее |
13.5 Диаметр ролика рычага механизма блокировки безопасности | КМР-2А-1 КМР-9А | 23,0-0,28 | 19,7 - 20,0 | 18,0, менее |
13.6 Толщина пластины контактного пальца в рабочей части | 1КУ.019 1КУ.021 1КУ.023 1КУ.035 КМР-2 КМР-2А-1 КМ-9 | 0,8 | 0,8 - 1,0 | 0,4, менее |
13.7 Толщина кольца под блокировочный палец подвижного контакта | 1КУ.019 1КУ.021 1КУ.023 1КУ.035 КМР-2 КМР-2А-1 КМ-9 | 8-0,2 | 6 - 8 | 4, менее |
14 Регулятор давления АК-11Б |
14.1 Толщина неподвижного контакта в рабочей части | | 3,44-0,12 | 3,00 - 3,44 | 2,50, менее |
14.2 Толщина подвижного контакта в рабочей части | | | 2,5 - 3,2 | 2,0 менее |
15 Регуляторы напряжения СРН-7У-3, СРН-8А-1 |
15.1 Толщина неподвижного контакта | | 45-2 | 40 - 45 | 30, менее |
15.2 Толщина подвижного контакта | | 18-0,6 | 15 - 18 | 10, менее |
16 Реле |
16.1 Высота серебряных или металлокерамических контактов | Все типы | 0,5-0,04 | 0,3 - 0,5 | 0,1, менее |
1,2-0,15 | 0,8 - 1,2 |
1,5-0,2 | 1,0 - 1,5 |
1,6-0,2 | 1,0 - 1,6 |
16.2 Наибольшее поперечное смещение контактов относительно друг друга во включенном положении реле | Все типы | 1,0 | 1,0 | 1,5, более |
17 Кнопочные выключатели типа КУ |
17.1 Толщина подвижного контакта в рабочей части | Все типы | 1,5 | 1,5 | 1,0, менее |
17.2 Толщина неподвижного контакта | Все типы | 2,0 | 1,6 | 1,0, менее |
17.3 Выработка отверстия подвижного контакта | Все типы | 2,0 | 1,6 | 1,2, более |
17.4 Наибольший осевой люфт рукояток | Все типы | 0,5 - 1,0 | 0,5 - 1,0 | 1,2, более |
17.5 Разрыв контактов выключателя | Все типы | 9 | 7 - 10 | 7, менее, 1, более |
17.6 Нажатие контактов выключателя, Н | Все типы | 3,50 - 5,50 | 3,50 - 5,50 | 3,50, менее |
18 Разрядники |
18.1 Зазор между электродами искрового промежутка | РМВУ-3,3 РВКУ-3,3 | 1,22 - 1,25 | 1,22 - 1,25 | 1,22, менее, 1,25, более |
18.2 Ток проводимости при напряжении 4 кВ, мкА | РМВУ-3,3 | 70 - 130 | 70 - 130 | 130, более |
РВКУ-3,3 | 170 - 220 | 170 - 220 | 220, более |
| | ИС МЕГАНОРМ: примечание. Нумерация пунктов дана в соответствии с официальным текстом документа. | |
|
18.3 Ток проводимости при напряжении 2,5 кВ, мкА | РВМК-УМ | 10 | 10 | 10, более |
18.3 Ток проводимости при напряжении 28 кВ, мкА | РВЭ-25М | 500 - 620 | 500 - 620 | 620, более |
19 Ограничители перенапряжения |
19.1 Ток проводимости при переменном напряжении 50 Гц 2,7 кВдейств., мАдейств. | ОПН-2,2 | 0,4 - 0,8 | 0,4 - 0,8 | 0,4, менее, 0,8, более |
19.2 Ток проводимости при переменном напряжении 50 Гц 3,3 кВдейств., мАдейств. | ОПН-3,3Э | 3,0 - 7,2 | 3,2 - 7,0 | 3,0, менее, 7,2, более |
19.3 Ток проводимости при переменном напряжении 50 Гц 29 кВдейств., мАдейств. | ОПН-25ЭП ОПН-25М | 0,4 - 0,8 | 0,4 - 0,8 | 0,4, менее, 0,8, более |
19.4 Сопротивление ограничителя, измеренное мегомметром на напряжение 1,0 кВ, МОм | ОПН-2,2 | 500, не менее | 500, не менее | 500, менее |
19.5 Сопротивление ограничителя, измеренное мегомметром на напряжение 2,5 кВ, МОм | ОПН-3,3Э | 100, не менее | 100, не менее | 100, менее |
19.6 Сопротивление ограничителя, измеренное мегомметром на напряжение 2,5 кВ, МОм | ОПН-25М, ОПН-25ЭП | 5000, не менее | 5000, не менее | 5000, менее |
(обязательное)
ПАРАМЕТРЫ ДЛЯ ПРОВЕРКИ ЭЛЕКТРИЧЕСКОЙ ПРОЧНОСТИ
ИЗОЛЯЦИИ ЭЛЕКТРИЧЕСКОГО ОБОРУДОВАНИЯ
Таблица И.1
Оборудование | Приложение испытательного напряжения переменного тока промышленной частоты продолжительностью 1 минута | Величина испытательного напряжения, В |
1 | 2 | 3 |
1 Выключатели |
1.1 Выключатели быстродействующие: |
1.1.1 Выключатели БВП-105А-1 БВП-105А-4 БВП-105А-5 БВП-105А-6 БВП-105А-11 БВП-105.10 | Силовая цепь - корпус | 9500 |
Силовая цепь - цепь управления | 8100 |
Между подвижным и неподвижным силовыми контактами при надетой дугогасительной камере |
1.1.2 Выключатели ВБ-6 ВБ-11 ВБ-14 | Главная цепь - вспомогательная цепь | 9500 |
Главная цепь - корпус |
Между разомкнутыми выводами главной цепи |
Корпус - отключающая катушка | 2250 |
Корпус - вспомогательная цепь | 1500 |
1.2 Выключатель воздушный (главный) ВОВ-25-4М | Силовая цепь - корпус | 80000 |
Цепь управления - корпус | 2000 |
1.3 Выключатель ВУ-223А, ВУ-226 | Токоведущие части - корпус | 2000 |
1.4 Выключатель кнопочный КУ-5-162, КУ-9-164 | Токоведущие части - корпус | 1500 |
1.5 Выключатели концевые ВК-300А, ВПК-2112, ВКП-3312, ВА-21-29В | Токоведущие части - корпус | 1500 |
1.6 Выключатели управления пневматические ПВУ-2, ПВУ-4, ПВУ-5, ПВУ-5-03, ПВУ-7 | Токоведущие части - корпус | 1500 |
1.7 Кнопка КУ-1М, КЕ-011, КЕ-021 | Токоведущие части - корпус | 1500 |
1.8 Выключатель В6, В-007 | Между выводами выключателя при разомкнутых контактах | 2250 |
Между выводами выключателя и панелью |
2 Блок ускоренного отключения воздушного выключателя |
БУ-2, БУ-3, БУЗ-3, БТЗ | Силовая цепь - корпус | 80000 |
Токоведущие части - корпус | 1500 |
3 Контакторы |
3.1 Контакторы быстродействующие КМБ-3, КМБ-3А, КМБ-3Д, КМБ-3.10, КМБ-3.12 | Силовая цепь - корпус | 9500 |
Силовая цепь - цепь управления | 8100 |
Цепь управления - корпус | 1500 |
3.2 Контакторы кулачковые цепи управления КЭ-42А, КР-3А-1, КЭ-153, КЭ-353 | Цепь управления - корпус | 1500 |
3.3 Контакторы кулачковые силовой цепи |
3.3.1 Контакторы КР-6А, КР-8А, КР-9А, КЭ-46А-1, КЭ-4Д | Силовая цепь - корпус | 9500 |
3.3.2 Контактор КЭ-2А | Между разомкнутыми контактами и корпусом | 4000 |
3.3.3 Контактор КЭ-13 | Между разомкнутыми контактами | 4000 |
Между одним из контактов и корпусом |
3.4 Контакторы электромагнитные |
3.4.1 Контактор КТПВ-621 | Силовые контакты - магнитопровод | 2000 |
Силовые контакты - цепь управления |
Между разомкнутыми силовыми контактами |
Вспомогательные контакты - магнитопровод | 1500 |
Выводы выключающей катушки - магнитопровод |
3.4.2 Контакторы МК-18, МК-18-01 | Между неподвижными контактами при отключенном контакторе при установленной дугогасительной камере | 9500 |
Между скобой магнитопровода и неподвижными и подвижными контактами |
Между выводами втягивающей катушки и скобой магнитопровода | 1500 |
3.4.3 Контакторы МК-19, МК-19-01 | Между неподвижными контактами при отключенном контакторе при установленной дугогасительной камере | 9500 |
Между скобой магнитопровода и неподвижными и подвижными контактами |
Между выводами втягивающей катушки, клеммами блокировки и скобой магнитопровода | 1500 |
3.4.4 Контактор МК-30 | Между скобой магнитопровода и неподвижными и подвижными контактами | 9500 |
Между выводами втягивающей катушки, клеммами блокировки и скобой магнитопровода | 1500 |
Между неподвижными контактами при отключенном контакторе при установленной дугогасительной камере | 2500 |
3.4.5 Контакторы КМ-1Б, КМ-3А, КМ-3Г, КМ-3Д, КМ-3Е, КМ-15, МК1-01(30), МК1-30А, МК2-30, МК-20, КН-143, КМ-1.21, КМ-2311, КМ-2312, КМ-2313 | Между разомкнутыми силовыми контактами при установленной дугогасительной камере | 8100 |
Цепь управления - магнитопровод | 1500 |
3.4.6 Контакторы КМВ-104А, КМВ-104.1, 1КМ-015, 1КМ-016 | Силовая цепь - цепь управления | 9500 |
Между разомкнутыми силовыми контактами при установленной дугогасительной камере | 8100 |
Цепь управления - магнитопровод | 1500 |
3.4.7 Контакторы МК1-11, МК2-20 | Силовая цепь - цепь управления | 8000 |
Цепь управления - корпус | 1250 |
3.4.8 Контактор КМ2291-7 | Силовая цепь - цепь управления | 2000 |
Между разомкнутыми силовыми контактами при установленной дугогасительной камере | 2000 |
Цепь управления - корпус | 1500 |
3.5 Контакторы электропневматические |
3.5.1 Контакторы ПК-12А, ПК-22А | Между разомкнутыми контактами при установленной дугогасительной камере | 8250 |
Между кронштейном и поверхностью стержня, а также кронштейном и цилиндром, кронштейном и выводами блокировки | 9500 |
Между цилиндром, выводами катушки вентиля и выводами блокировки | 1500 |
3.5.2 Контакторы ПК-306Т, ПК-306Ф, ПК-306.45, ПК-350А, ПК-350В.1, 1КП.003, 1КП.005 | Силовая цепь - корпус | 9500 |
Силовая цепь - цепь управления | 8100 |
Цепь управления - корпус | 1500 |
3.5.3 Контакторы 1КП.006, 1КП.008 | Между главной цепью и втулкой стойки при включенном контакторе | 9500 |
Между главной цепью и вспомогательными контактами при включенном контакторе |
Между полюсами дугогасительной камеры |
Между подвижным и неподвижным главными контактами при установленной дугогасительной камере | 8100 |
Между вспомогательными контактами и втулкой стойки | 1500 |
Между рядом расположенными вспомогательными контактами |
4 Силовые контроллеры |
4.1 Контроллеры КСП-1, КСП-6Б-2, 1КС.006, 1КС.009, 1КС.015, 1КС.022, 1КС.023, 1КС.024 | Силовая цепь - корпус | 4750 |
Силовая цепь - цепь управления |
Между разомкнутыми силовыми контактами | 6350 |
Между соседними силовыми контакторами |
Цепь управления - корпус | 1500 |
4.2 Контроллер КС-26 | Между контактами силовых кулачковых контакторов и рамами | 9500 |
Между контактами силовых кулачковых контакторов и болтами | 4000 |
Между разомкнутыми контактами силовых кулачковых контакторов |
Между смежными несоединенными контакторами при разомкнутых контактах | 6000 |
Между контактами кулачковых контакторов блокировки и рамой | 1500 |
Между выводами вентилей и рамой |
5 Переключатели |
5.1 Главные разъединители (переключатели) |
5.1.1 Переключатели ГР-1Б (1РВ.002), Р-9А | Силовая цепь - корпус | 9500 |
5.1.2 Переключатель ГРЭ-2А-6 | Силовая цепь - корпус | 9500 |
Между стойками 2 (ножи отключены) | 7500 |
Между стойками 2.4 (ножи отключены) |
Между стойкой 2 и вспомогательными контактами (ножи отключены) | 4750 |
Цепь управления - корпус (ножи включены) | 1500 |
5.2 Реверсивные и тормозные переключатели |
5.2.1 Переключатели ПР-320А, ПР-320Б, ПР-320Б-1, 1П-004, 1П-004.42, 1КС.022 | Цепь управления - корпус | 1500 |
Силовая цепь - корпус | 9500 |
5.2.2 Переключатель ПКД-25А | Между разомкнутыми главными контактами | 4000 |
Между смежными главными контактами | 9500 |
Между главными контактами и корпусом |
Между главными контактами и вспомогательной цепью |
Между разомкнутыми вспомогательными контактами | 2250 |
Между смежными вспомогательными контактами и корпусом |
5.3 Универсальные переключатели УП5312-Ф105, УП5314-С388, УП5316-Е139, УП5317-Л137, УП5316-С497 | Цепь управления - корпус | 1500 |
6 Трансформаторы, дроссели, магнитные усилители |
6.1 Трансформаторы |
6.1.1 Трансформаторы ОЦР-1000/25, ОДЦЭР-1600/25А | Между сетевой обмоткой (ВН) и корпусом: | |
- при КР-2 | 70000 |
- при КР-1 | 53000 |
Между сетевой обмоткой (ВН) и другими обмотками | |
- при КР-2 | 70000 |
- при КР-1 | 53000 |
Тяговая обмотка (НН) - корпус | |
- при КР-2 | 8000 |
- при КР-1 | 6000 |
Между обмоткой собственных нужд (СН) и корпусом | 5000 |
Между отопительной обмоткой (ОТ) и корпусом | 3500 |
6.1.2 Трансформаторы 1ТР.013, ПР.068, 1ТР.070, 2ТР.034.4, 2ТР.037.1, 2Р.037.2, 2ТР.037.5, 1ТРЭ.033.1, 1ТРЭ.071.1, 1ТРЭ.056.2, 1ТРЭ.069, 1ТРЭ.096, 1ТРЭ.110.2, 1ТРЭ.129, 2ТРЭ.033.1, 2ТРЭ.037.1, 2ТРЭ.037.2, 2ТРЭ.037.5, 2ТРЭ.069, 2ТРЭ.110 | Между обмотками | 1500 |
Между обмотками и магнитопроводом |
6.1.3 Трансформатор 1ТР.025 | Между вторичной обмоткой и магнитопроводом | 9500 |
Между обмотками |
Между первичной обмоткой и магнитопроводом | 2000 |
6.1.4 Трансформаторы 1ТР.031, 1ТР.033.1 | Между первичной и вторичными обмотками, магнитопроводом | 2000 |
Между вторичными обмотками и магнитопроводом | 750 |
Между вторичными обмотками |
6.1.5 Трансформатор 1ТР.085 | Между первичной обмоткой и магнитопроводом | 2000 |
6.1.6 Трансформатор Т-34 | Между вторичной обмоткой и магнитопроводом | 9500 |
Между обмотками |
Между первичной обмоткой и магнитопроводом | 1500 |
6.1.7 Трансформаторы 1ТР.030, ТО-42 | Между вторичной обмоткой и магнитопроводом | 1500 |
Между обмотками | 9500 |
Между первичной обмоткой и магнитопроводом |
| | ИС МЕГАНОРМ: примечание. Нумерация пунктов дана в соответствии с официальным текстом документа. | |
|
6.1.4 Трансформатор 1ТР.056 | Между первичной и вторичной обмотками | 9500 |
Между вторичными обмотками | 1500 |
6.1.8 Трансформаторы 1ТР.060, ТО-44 | Между вторичной обмоткой и магнитопроводом | 1500 |
6.1.9 Трансформаторы ТИО-35, ТИО-37, ТИО-38, ТИО-40 | Между обмотками | 750 |
6.1.10 Трансформатор ТИО-36 | Между обмотками | 1500 |
6.1.11 Трансформатор ТИО-39 | Между первичной и вторичными обмотками | 9500 |
Между вторичными обмотками | 750 |
6.2 Дроссели Д-33, Д-34, Д-35, Д-39, Д-86, Д-86-02, Д-101В, Д-102Б-1, Д-116А-1, Д-117, ДП-32, 1ДР.001, 1ДР.007, 1ДР.016, 1ДР-020, 1ДР-021, 1ДР-044, 1ДР-050, 1ДР-055, 1ДР-059 | Между обмотками | 1500 |
6.3 Магнитные усилители МУ-106А-1, МУ-113 | Между обмотками и магнитопроводом | 1500 |
7 Реактор |
7.1 Реактор СР-800 | Между обмотками и корпусом | 8000 |
7.2 Реактор, встроенный в трансформатор ОДЦЭР-1600/25А | Между обмотками и корпусом | 8000 |
Между обмотками | 1500 |
8 Шунты индуктивные |
8.1 Шунты ИШ-104-1, ИШ-38, ИШ-108, 1ШИ.001, 1ШИ.001.1 | Обмотка - сердечник | 9500 |
Сердечник - металлическое кольцо, наложенное на изоляцию болта крепления подвески | 7000 |
9 Электропневматические (электромагнитные) вентили |
9.1 Вентили В5-09, ВВ-2, ВВ-2А, ВВ-2Г, ВВ-2Г-1, ВВ-3, ВВ-3Г, ВВ-3Г-1, 1В.008, ЭВ-5-09, ЭВ-5-10, ЭВ-5-17, ЭВ-5-21, ЭВ-5-24, ЭВ-55-01, ЭВ-55-02, ЭВ-55-05, ЭВ-58-02 | Между обмотками и корпусом | 1500 |
10 Регуляторы |
10.1 Регуляторы давления АК-11Б | Токоведущие части - корпус | 1500 |
10.2 Регулятор напряжения СРН-8А-1, СРН-7У-3 | Токоведущие части - корпус | 1500 |
11 Стабилизатор напряжения |
11.1 Стабилизатор СН-104Б-1 | Зажим обмотки управления 71М - корпус | 2100 |
Зажим обмотки смещения 89Б - корпус |
Зажим 71М - зажим 79Б |
Зажим обмотки управления 71В - корпус | 1300 |
Зажим 71М - зажим 71В |
12 Реле напряжения |
12.1 Реле РП-11, РП-26, РП-252, РЭ-14, РЭВ-261 | Между разомкнутыми главными контактами | 1500 |
12.2 Реле Р-301Г, Р-302 | Высоковольтная катушка - контакты | 5750 |
12.3 Реле Р-3100Ф, Р-3100.3, Р-3100.7, Р-3100.13 | Между разомкнутыми главными контактами | 1500 |
12.4 Реле герконовые 1Р.006, 1Р.006.1, 1Р.006.2 | Между разомкнутыми главными контактами | 1500 |
12.5 Реле герконовые 1Р.008, 1Р.008.1, 1Р.008.2 | Общая выводная клемма реле - болт крепления | 1500 |
12.6 Реле герконовые обратного тока 1Р.009, РОТ-19 | Общая выводная клемма реле - болт крепления | 1500 |
Изоляция катушки - контакт панели | 9500 |
12.7 Реле герконовые дифференциальной защиты РДЗ-21, РДЗ-22 | Общая выводная клемма реле - болт крепления | 1500 |
Изоляция катушек относительно друг друга и контакта | 9500 |
12.8 Реле герконовые РНГ-18, РНГ-18-01, РНГ-18-02 | Общая выводная клемма реле - болт крепления | 1500 |
12.9 Реле боксования Р-304Г, Р-304Г-1 | Высоковольтная катушка - катушка возврата | 5750 |
Высоковольтная катушка - контакт между силовыми контактами | 9500 |
12.10 Реле дифференциальное Р-104, Р-104Б-2, Р-104Б-3, Р-104М, РДБ-101 | Между разомкнутыми контактами | 1500 |
12.11 Реле ускорения Р-40Б-3, Р-40Б-9, Р-40В, Р-40.1, Р-40.4, Р-40.18, Р-40.22 | Включающая катушка - контакт | 6000 |
Подмагничивающая катушка - включающая катушка | 3300 |
Между главными контактами | 1500 |
Подмагничивающая катушка - контакт |
12.12 Реле возврата Р-102.1 - Р-102.18, Р-102.29 | Между главными контактами | 1500 |
12.13 Реле перегрузки Р-103.1, Р-103.4, Р-103.5, Р-103.19 | Высоковольтная катушка - контакты | 5750 |
Высоковольтная катушка - катушка возврата |
Между разомкнутыми главными контактами | 1500 |
12.14 Реле перегрузки РТ-16, РТ-16-01 | Выводы катушки - выводы блокировки | 9500 |
Выводы катушки - магнитопровод |
Вывод блокировки - магнитопровод | 1500 |
12.15 Реле перегрузки отопления и заземления РЭВ-202 | Высоковольтная катушка - контакты | 5750 |
Высоковольтная катушка - катушка возврата |
Между разомкнутыми главными контактами | 1500 |
12.16 Реле сигнальные РУ-21/48, РУ-21/110 | Выводная клемма - болт крепления к панели | 1500 |
12.17 Реле времени |
12.17.1 Реле РЭВ-811, РЭВ-813, РЭВ-815, РЭВ-816, РЭВ-817, РЭВ-818, РЭВ-882, РЭВ-884, РЭВ-2161 | Выводы катушек - магнитопровод | 2000 |
Вспомогательные контакты - болт крепления панели |
12.17.2 Реле РЭВ-5, РЭВ-5-01, РЭВ-5-02, РЭВ-5-03, РЭВ-5-04, РЭВ-5-05, РЭВ-5-06 | Магнитопровод - вывод катушки | 2250 |
12.18 Реле тепловое ТРТП-114, ТРТП-115, ТРТП-122, ТРТП-131, ТРТП-135, ТРТП-136, ТРТП-137, ТРТП-141 | Выводная клемма - болт крепления к панели | 1500 |
12.19 Электромагнитное токовое реле защиты ТРФ | Выводная клемма - болт крепления к панели | 1500 |
12.20 Реле минимального тока Р-305Б, Р-307А-1, Р-307А-2, Р-311А-3 | Между разомкнутыми контактами | 1500 |
12.21 Реле промежуточное РП-272, РП-273, РП-274, РП-275, РП-277, РП-278, РП-279, РП-281, РП-282, РП-283, РП-284, РП-285, РП-286, РП-287, РП-289 | Между магнитопроводом и выводами катушки и блокировки | 1000 |
12.22 Реле промежуточное: - Р-306.1, Р-306.4, Р-306.5, Р-306.7, Р-306.8, Р-306.10, Р-306.13, Р-306.16, РП-8, РП-8-02, РП-8-03, РП-280; - Р.101.1 - Р.101.4, Р.101.6, Р.101.8 - Р.101.11, Р.101.13; - МКУ-48С; - РП-23, РП-23/48; - РНЕ, РП-21, РЭК-29, РЭК-59, РЭП-26 |
| Выводная клемма - болт крепления к панели | 1500 |
12.23 Реле промежуточное РП-8-01, РП-8-04, РП-8-05, РП-8-06, РП-8-07 | Между магнитопроводом и выводами катушки и блокировки | 2250 |
13 Штепсельные соединения высоковольтных цепей |
13.1 Межвагонное соединение высоковольтных цепей РСБ-20-16 (Б и В), ШС-20-16 (Б и В), 1РШ.006, 1ВШ.006, МВС-В9, МВС-Р169 | Силовой контакт - корпус | 9500 |
13.2 Межвагонное соединение низковольтных цепей РУ-101А, ШУ-101А, 2РШ.001, 2ВШ.001, 2РШ.005, 2ВШ.005, РУ-167, ВУ-21М, ВУ-7 | Блокировочный контакт - корпус | 1500 |
14 Резисторы |
14.1 Резисторы пусковые и переходные |
14.1.1 Резисторы 1С.013, КФ-108А, КФ-115А-1, КФ-129А-1 | Вывод - стойка | 8100 |
14.1.2 Резистор РП-43 | Вывод - основание изолятора | 9500 |
14.2 Резисторы пускотормозные ПТР-97, ПТР-98, ПТР-99, ПТР-100, ПТР-101, ПТР-102, ПТР-103, ПТР-104, ПТР-105, ПТР-106, ПТР-107, ПТР-108, ПТР-109 | Вывод - стойка | 7000 |
Стойка - основание изолятора | 9500 |
14.3 Резисторы ослабления возбуждения и маневровые КФ-116Б-1, КФ-116В-1, КФ-116В-2, 1БС.026, 1БС.047, 1БС.065 | Вывод - стойка | 9500 |
14.4 Резисторы ослабления возбуждения |
14.4.1 Резисторы КФ-33С-4, КФ-33У-4, КФ-35С-2 | Вывод - стойка | 9500 |
14.4.2 Резистор РОВ-40 | Вывод - стойка | 7000 |
Стойка - основание изолятора | 9500 |
14.5 Демпферные резисторы |
14.5.1 Резисторы СР-322, СР-323, СР-324, СР-323А, СР-325А | Вывод - стойка | 9500 |
14.5.2 Резисторы РД-41, РД-42 | Вывод - стойка | 7000 |
Стойка - основание изолятора | 9500 |
14.6 Блоки резисторов |
14.6.1 Блоки БС-1Б-1, БС-3Б-1, БС-16А | Вывод - планка | 7000 |
Вывод - стойка | 9500 |
14.6.2 Блок БРВЦ-46 | Вывод - стойка | 7000 |
Стойка - основание изолятора | 9500 |
Вывод - вывод | 4500 |
14.6.3 Блоки 1БС.013, 1БС.014, 1БС.015, 1БС.016, 1БС.022, 1БС.048, 1БС.059, 1БС.060 | Вывод - стойка | 7000 |
Основание изолятора - стойка | 9500 |
14.7 Резистор токоограничивающий РТ-45 | Вывод - стойка | 7000 |
Стойка - основание изолятора | 9500 |
15 Выпрямительные установки |
15.1 Установка УВП-3, УВП-5А, В-ОПЕД-400 | Силовая цепь - корпус | 7500 |
16 Электрические печи и калориферы |
16.1 Печи ПЭТ-2А, ПЭТ-1У3 | Силовая цепь - корпус | 9500 |
Электрокалорифер ВВНБЭ | Корпус ТЭН - вагон Корпус ТЭН - спираль | 2500 |
(обязательное)
ПАРАМЕТРЫ СОПРОТИВЛЕНИЯ ИЗОЛЯЦИИ И НАПРЯЖЕНИЯ
ДЛЯ ПРОВЕРКИ ЭЛЕКТРИЧЕСКОЙ ПРОЧНОСТИ ИЗОЛЯЦИИ ЦЕПЕЙ
Таблица К.1
Наименование цепей | Наименьшее сопротивление изоляции при выпуске из КР-1 и КР-2, МОм | Браковочная величина в эксплуатации, МОм | Величина испытательного напряжения, В |
1 | 2 | 3 | 4 |
1 Электропоезда постоянного тока |
1.1 Цепь: токоприемник и кабель, идущий к быстродействующему выключателю БВ, линейным контакторам ЛК и высоковольтному предохранителю | 5,0 | 1,2 | 8000,0 |
1.2 Цепь: быстродействующий выключатель, линейные контакторы, отключатели моторов ОМ и пусковые резисторы | 3,0 | 1,2 | 6000,0 |
1.3 Цепь тяговых двигателей со всем высоковольтным оборудованием | 3,0 | 1,2 | 6000,0 |
1.4 Цепь вспомогательных машин 3000 В и электропечей (калориферов) со всем высоковольтным оборудованием | 3,0 | 1,2 | 6000,0 |
1.5 Цепь управления, цепи электропневматических тормозов, освещения и вентиляции | 0,8 | 0,1 | 1000,0 |
1.6 Аккумуляторная батарея (ящик по отношению к раме вагона) | 0,8 | 0,3 | 1000,0 |
2 Электропоезда переменного тока |
2.1 Цепь 25 кВ (токоприемник Т, индуктивный фильтр ДП, воздушный выключатель ВВ, кабель с разделками, сетевая обмотка АХ трансформатора ОЦР-1000/25) | 100 | 12 | 60000 |
2.2 Тяговая цепь (обмотка 1-8, контроллер силовой пневматический КСП, выпрямительная установка, линейные контакторы ЛК1-2, контакторы защиты КЗ, реверсор, сопротивления, тяговые двигатели, сглаживающий реактор) | 5,0 | 1,2 | 4000,0 |
2.3 Цепь отопления (обмотка собственных нужд и обмотка отопления трансформатора ОЦР-1000/25, реле перегрузки отопления РПО, контактор высоковольтной розетки КРС, контакторы отопления КО 1-2, нагревательный элемент КЭ1-2, печь электрическая ЭП) | 2,5 | 1,2 | 2500,0 |
2.4 Цепь вспомогательных машин (включатель автоматический АВ, реле напряжения РН, провода 61, 62, 63, 67, 68, вспомогательные двигатели) | 2,5 | 1,2 | 1500,0 |
2.5 Цепь управления, электрические цепи тормозного оборудования, цепи дежурного освещения | 0,8 | 1,2 | 1000,0 |
2.6 Провода 1 - 58 и все аппараты управления | 0,8 | 0,2 | 1000,0 |
Примечание - Измерение величины сопротивления изоляции по пунктам 1.1 - 1.4 и 2.1 - 2.3 производить мегомметром на 2500 В, а в остальных случаях - мегомметром на 500 В. Величину сопротивления изоляции измерять через 20 секунд после приложения напряжения. |
(обязательное)
ПРОФИЛАКТИЧЕСКИЕ МЕРЫ ПО ИСКЛЮЧЕНИЮ ВЛИЯНИЯ
СТАТИЧЕСКОГО ЭЛЕКТРИЧЕСТВА НА МИКРОСХЕМЫ
1 Применять малоэлектризующуюся одежду (хлопчатобумажные халаты, обувь на кожаной подошве).
2 Создавать относительную влажность в рабочих помещениях в пределах 50 - 60%.
3 Покрывать поверхность столов и полов малоэлектризующимися материалами или устанавливать на рабочих столах металлические листы размером не менее 100 x 200 мм, надежно соединенные с заземлением через ограничительный резистор 10 МОм.
4 Ремонтному персоналу при работе с микросхемами надевать на руки специальные антистатические браслеты, соединенные с заземлением.
5 Снимать заряд статического электричества с рук ремонтного персонала, инструмента и с выводов микросхем прикосновением через резистор 10 МОм к заземлению.
6 Для покрытия столов, пола, стульев применять специальные антистатические краски или пасты ("Чародейка", "Антистатик" и др.).
(обязательное)
ДОПУСКИ И ИЗНОСЫ ДЕТАЛЕЙ КОМПРЕССОРА ВВ 0,05/7-1000
Таблица М.1
Наименование | Номинальный размер, мм | Браковочный размер, мм |
Диаметр цилиндра | 62,0+0,030 | Более 63 |
Допуск профиля продольного сечения и допуск круглости цилиндра: | | |
- при расточке, не более | 0,03 | - |
- без расточки, не более | - | Более 0,25 |
Диаметр поршня | | Менее 61,8 |
Зазор между поршнем и стенками цилиндра | 0,13 - 0,19 | - |
Диаметр уплотнительного кольца | 62 | - |
Диаметр маслосъемного кольца | 62 | - |
Зазор в замке уплотнительного кольца | Наибольший 0,4 Наименьший 0,2 | Более 1,0 |
Зазор в замке маслосъемного кольца | Наибольший 0,4 Наименьший 0,2 | Более 1,0 |
Диаметр отверстия под палец | | - |
Диаметр поршневого пальца | | - |
Посадка поршневого пальца в поршне | Зазор - 0,014 Натяг - 0,006 | - |
Внутренний диаметр втулки поршневого пальца | | - |
Зазор между втулкой поршневого пальца и пальцем | Зазор - 0,015 Натяг - 0,005 | Более 0,1 |
Суммарная толщина прокладок между стержнем и крышкой шатуна | 0,5 | Менее 0,2 |
Зазор между шейкой коленчатого вала и шатуном | 0,009 - 0,050 | Более 0,08 |
Износ баббитовой заливки шатуна по диаметру | - | Более 1,5 |
Суммарный осевой зазор шатуна по шейке коленчатого вала | 0,06 - 0,26 | Более 0,35 |
Диаметр шатунных шеек вала | 28,0-0,02 | Менее 27 |
Диаметр коренных шеек | | - |
Допуск профиля продольного сечения и допуск округлости шеек вала | 0,008 | Более 0,1 |
Расстояние от торца поршня в ВМТ до плиты клапана | 0,53 - 1,75 | Более 2,5 |
(справочное)
ОСНОВНЫЕ ТИПОРАЗМЕРЫ СТЕКЛОПАКЕТОВ ОКОН САЛОНА ВАГОНА
Таблица Н.1
N | Изготовитель | Серия поезда | Типоразмер стеклопакета |
1 | ООО "Мосавтостекло" МАС | Все серии электропоездов | Низ широкий | 1064 x 470 x 26 2R55 |
Форточка широкая | 1064 x 295 x 26 2R55 |
Низ узкий | 436 x 470 x 26 2R55 |
Форточка узкая | 436 x 295 x 26 2R55 |
Аварийный выход | 1064 x 846 x 26 4R55 |
2 | ООО "Мосавтостекло" МАС | ЭД4М, ЭД4МК | Низ широкий | 1054 x 545 x 29 2R104 |
Форточка широкая | 1008 x 215 x 29 2R83 |
Низ узкий | 427 x 545 x 29 2R104 |
Форточка узкая | 384 x 215 x 29 2R83 |
Аварийный выход | 1054 x 850 x 29 4R104 |
Глухой узкий | 427 x 850 x 29 4R104 |
3 | ООО "Мосавтостекло" МАС | ЭТ2, ЭТ2М | Низ широкий | 1056 x 500 x 29 2R56 |
Форточка широкая | 1010 x 260 x 29 2R35 |
Низ узкий | 430 x 500 x 29 2R56 |
Форточка узкая | 384 x 260 x 29 2R35 |
Аварийный выход (мал.) | 1006 x 802 x 29 4R35 |
Аварийный выход (бол.) | 1056 x 854 x 29 4R56 |
4 | ООО "ДАК" ("СИАЛ"), ООО "МИРА-М" | ЭР2, ЭР2Р, ЭР2Т, ЭД2Т | Низ широкий | 1107 x 652 x 24 2R82 |
Форточка широкая | 1053 x 170 x 24 2R55 |
Низ узкий | 481 x 652 x 24 2R82 |
Форточка узкая | 427 x 170 x 24 2R55 |
Аварийный выход | - |
5 | ООО "ДАК" ("СИАЛ"), ООО "МИРА-М" | ЭР2, ЭР2Р, ЭР2Т, ЭД2Т | Низ широкий | 1107 x 535 x 24 2R82 |
Форточка широкая | 1053 x 295 x 24 2R55 |
Низ узкий | 481 x 535 x 24 2R82 |
Форточка узкая | 427 x 295 x 24 2R55 |
Аварийный выход | - |
6 | ООО "ДАК" ("СИАЛ"), ООО "МИРА-М" | ЭР2, ЭР2Р, ЭР2Т, ЭД2Т | Без радиусов |
Низ широкий | 1074 x 492 x 18 |
Форточка широкая | 967 x 269 x 18 |
Низ узкий | 493 x 444 x 18 |
Форточка узкая | 341 x 269 x 18 |
7 | НПП "РОСТ" (Украина), ООО "МИРА-М" | ЭР2, ЭР2Р, ЭР2Т, ЭД2Т | Низ широкий | 1074 x 543 x 29 2R64 |
Форточка широкая | 1030 x 250 x 29 2R44 |
Низ узкий | 446 x 543 x 29 2R64 |
Форточка узкая | 402 x 250 x 29 2R44 |
Аварийный выход | 1074 x 868 x 29 4R64 |
8 | ОАО "Стекломаш", ООО "МИРА-М" | ЭР2, ЭР2Р, ЭР2Т, ЭД2Т | Низ широкий | 1046 x 466 x 14 2R100 |
Форточка широкая | 1015 x 334 x 14 2R83 |
Глухой широкий | 1046 х 848 x 14 4R100 |
Глухой узкий | 424 x 848 x 14 4R100 |
9 | ОАО "Стекломаш", ООО "МИРА-М" | ЭР2, ЭР2Р, ЭР2Т.ЭД2Т | Низ широкий | 1190 x 457 x 14 2R84 |
Форточка широкая | 1159 x 437 x 14 2R68 |
Глухой широкий | 1190 x 937 x 22 4R84 |
Глухой узкий | 589 x 937 x 22 4R84 |
(обязательное)
ГАРАНТИЙНЫЕ СРОКИ НА АГРЕГАТЫ, СБОРОЧНЫЕ ЕДИНИЦЫ
И ДЕТАЛИ ЭЛЕКТРОПОЕЗДОВ ПОСЛЕ РЕМОНТА
Таблица П.1
Наименование узлов, агрегатов, деталей | Гарантийные сроки |
1 Рама тележки (при ремонте сварных швов) | 48 месяцев |
2 Пружины центрального, буксового подвешивания | 12 месяцев |
3 Гидравлические амортизаторы | 12 месяцев |
4 Сцепное устройство | 12 месяцев |
5 Тормозное оборудование: | |
- воздухораспределитель 292 | 6 месяцев |
- воздухораспределитель 242 | 24 месяца |
- электровоздухораспределитель 305 | 12 месяцев |
- реле давления | 12 месяцев |
6 Авторегулятор тормозной рычажной передачи | 12 месяцев |
7 Краны концевые, разобщительные | 12 месяцев |
8 Тормозные цилиндры | 6 месяцев |
9 Главные резервуары | 18 месяцев |
10 Компрессоры | 12 месяцев |
11 Аккумуляторные батареи | 12 месяцев |
12 Тяговые двигатели: | |
- после среднего ремонта | 18 месяцев |
- после капитального ремонта | 24 месяца |
13 Вспомогательные электрические машины: | |
- после среднего ремонта | 18 месяцев |
- после капитального ремонта | 24 месяца |
Якорные подшипники | 30 месяцев |
14 Тяговые трансформаторы | 24 месяца |
15 Выпрямительные установки и инверторные преобразователи | 18 месяцев |
16 Низковольтные и высоковольтные цепи: | |
- после проведения КР-1 | 12 месяцев |
- после проведения КР-2 | 30 месяцев |
17 Межвагонные электрические соединения: | |
- после проведения КР-1 | 18 месяцев |
- после проведения КР-2 | 24 месяца |
18 Контрольно-измерительные электрические приборы | 12 месяцев |
19 Наружная окраска кузова: | |
- алкидными материалами | 36 месяцев |
- полиуретановыми материалами | 72 месяца |
20 Упругие муфты тягового привода | 24 месяца |
21 Колесные пары по прочности прессового соединения: | |
- головных и прицепных вагонов | |
- моторных вагонов | |
22 Подшипники буксовых узлов: | |
- головных и прицепных вагонов | |
- моторных вагонов | |
23 Сборка торцевого крепления буксового узла колесной пары: | |
- головных и прицепных вагонов | |
- моторных вагонов | до первого демонтажа крепления |
24 Корпус буксы, корпус тягового редуктора | 24 месяца |
25 Бандажи по прочности соединения: | |
- старогодные | 24 месяца или 200 тыс. км пробега |
- новые | 48 месяца или 400 тыс. км пробега |
26 Зубчатые передачи колесных пар: | |
- старогодные | 24 месяца |
- новые | 48 месяца |
(обязательное)
КАРТА ПРИМЕНЕНИЯ СМАЗОЧНЫХ МАТЕРИАЛОВ (СМ)
ПРИ КАПИТАЛЬНОМ РЕМОНТЕ ЭЛЕКТРОПОЕЗДОВ
Таблица Р.1
Наименование и обозначение сборочной единицы | Наименование и обозначение марок СМ | Кол. сборочных единиц в поезде | Масса СМ, заправляемых в поезд при смене, кг | Примечание |
основные | дублирующие |
1 | 2 | 3 | 4 | 5 | 6 |
Узлы тележки, тормоза и кузова |
Тяговый редуктор и колесная пара: | | | | | |
- подшипниковый узел ведущей шестерни редуктора | Смазка Буксол ТУ 0254-107-01124328-2001 | - | 40 | 40 x 0,3 | Воспринимают радиальную и осевую знакопеременную нагрузку |
- опорный подшипниковый узел тягового редуктора | Смазка Буксол ТУ 0254-107-01124328-2001 | - | 40 | 40 x 1,4 | Трение "качения" |
- зубчатая передача | Масло трансмиссионное ТНК ТРАНС ТМ-3-18к ТУ 0253-008-00151779-2004 ТСп-10ТУ38.401809-90 | Масло трансмиссионное ТМ-9п ТУ 0253-034-00148843-2002 | 20 | 20 x 3,0 | Нагрузка знакопеременная с ударами |
- буксовые подшипники | Смазка Буксол ТУ 0254-107-01124328-2001 | - | 80 | | Передают нагрузку от веса вагона на ось колесной пары. Во время движения подвергаются знакопеременным нагрузкам и ударам |
1) тележек моторных вагонов | 40 x 1,2 |
2) тележек головных и прицепных вагонов | 40 x 1,0 |
Подвеска редуктора (резьбовые соединения) | Смазка Солидол Ж | - | 20 | 20 x 0,1 | Нагрузка знакопеременная с ударами |
Рычажно-тормозная передача: | | | | | |
- шарнирные соединения | Смазка Солидол Ж | - | 20 | 20 x 1,0 | Нагрузка знакопеременная с ударами |
- цилиндр тормозной | Смазка ЖТ-79Л ТУ 0254-002-01055954-01 | - | 40 | 40 x 0,04 | Манжета работает по поверхности цилиндра |
Колонка привода ручного тормоза | Смазка Солидол Ж | Смазка Солидол С | 10 | 10 x 1,0 | Легко нагруженный узел |
Центральное подвешивание: | | | | | |
- опорные скользуны | | - | 40 | 40 x 0,05 | Воспринимает вертикальную нагрузку |
- шарнирные соединения маятниковых подвесок | Смазка Буксол ТУ 0254-107-01124328-2001 | - | 80 | 80 x 0,1 | Воспринимает вертикальную нагрузку |
- резьбовые поверхности втулки тяговых поводков | | - | 80 | 80 x 0,1 | Воспринимает продольные тяговые усилия |
- гидравлический демпфер: | Масло гидравлическое ВМГ3 ТУ 38.101479-00 | Масло АМГ-10 | 60 | | Воспринимает переменную нагрузку |
879.000 или 679.000; | 60 x 1,2 |
331.00.000; | 60 x 1,2 |
гаситель колебаний 45.30.045 | 60 x 0,9 |
- пятники головных и прицепных вагонов | | - | 10 | 10 x 1,0 | Поверхности трения "металл-металл" |
Регулятор выхода штока | Смазка ЖТ-79Л ТУ 0254-002-01055954-01 | Смазка ЦИАТИМ 201 | 40 | 40 x 0,1 | Передает усилия; регулирует зазоры в передаче |
Автосцепка СА-3 (трущиеся опорные поверхности балочки центрирующей и маятниковой подвески) | | Смазка Солидол Ж или Солидол С | 2 или 20 | 2 x 0,05 или 20 x 0,05 | Поверхности трения "металл-металл" |
Сцепка БСУ-4 или БСУ-ТМ: | | | 16 | | |
- шарнирный узел | Смазка Шрус-МС ТУ 0254-11-45540231-2004 | Шрус 4М ТУ 38.401-58-128-95 или Шрус 4 ТУ 38УССР-201312-81 | 16 | 16 x 0,1 | Трение в шарнире |
- резьбовой палец шарнирного узла (резьбовая поверхность) | Смазка графитная УСсА | Смазка ЦИАТИМ 201 | 16 | 16 x 0,05 | Защита металлической поверхности от коррозии |
- ручной замок (резьбовая поверхность) | Смазка графитная УСсА | Смазка ЦИАТИМ 201 | 16 | 16 x 0,05 | Защита металлической поверхности от коррозии |
- автоматический замок (внутренняя полость) | Смазка графитная УСсА | Смазка ЦИАТИМ 201 | 16 | 16 x 0,05 | - |
- головка сцепки (внутренняя полость) | Смазка Солидол Ж | Смазка ЦИАТИМ 201 | 16 | 16 x 0,05 | Поверхности трения "металл-металл" |
Переходная баллонная площадка: | | | 18 | | |
- шпинтон - фланец | Смазка графитная УСсА | - | 36 | 36 x 0,5 | Поверхности трения "металл-металл" |
- опорная поверхность упорных балок | | - | 18 | 18 x 1,2 | Поверхности трения "металл-металл" |
- шарнирные соединения амортизаторов с балками упорными | Смазка Солидол Ж | - | 36 | 36 x 0,3 | Трение в шарнирах |
Замок лестницы подъема на крышу (болт поз. 22, чертеж 234.00.15.010СБ) | Смазка Солидол Ж | - | 5 | 5 x 0,005 | Трение в шарнирах |
Наружные раздвижные двери (канавки для шариков в рельсе и рейке, сепаратор, ось держателя прижимного ролика) | Смазка Буксол ТУ 0254-107-01124328-2001 | - | 40 | 40 x 0,1 | Трение "качения" |
или двери прислонно-сдвижного типа: | | 40 | | |
- линейные подшипники | Смазка "WGF-130" | - | 40 | 40 x 0,03 | Трение "качения" |
- ролик, пластины с фигурным пазом | Смазка ЦИАТИМ 201 | - | 40 | 40 x 0,01 | Поверхности трения "металл-металл" |
- тросик и его направляющие | Смазка ЦИАТИМ 201 | - | 40 | 40 x 0,01 | Поверхности трения "металл-металл" |
- шкивы и зубчатые рейки | Смазка ЦИАТИМ 201 | - | 0 | 40 x 0,025 | Поверхности трения "металл-металл" |
- уплотнения (манжеты) пневмоцилиндра | Смазка ЖТ-79Л ТУ 0254-002-01055954-01 | Смазка Isoflex LDS 18 Special A | 40 | 40 x 0,04 | Поверхности трения "металл-резина" |
- контактные поверхности резиновых уплотнений створок | Смазка ПМС-300 | Аэрозольная смазка "Si-M" ТУ 2257-001-54736950-2001 | 40 | 40 x 0,06 | Защитное антифрикционное покрытие |
Внутренние двери | | | | | |
Сдвижные салонные двери: | | | 35 | | |
- рабочая поверхность рельса | Смазка Буксол ТУ 0254-107-01124328-2001 | или Солидол Ж | 35 | 35 x 0,05 | Поверхности трения "металл-металл" |
- подшипник ролика | Смазка Буксол ТУ 0254-107-01124328-2001 | - | 70 | 70 x 0,01 | Трение "качения" |
или сдвижные салонные двери синхронного движения: | | 20 | | |
- контактные поверхности резиновых уплотнений створок | Аэрозольная смазка "Si-M" ТУ 2257-001-54736950-2001 | Смазка ПМС-300 | 40 | 40 x 0,06 | Защитное антифрикционное покрытие |
- шкив и ремень | | - | 20 | 20 x 0,025 | - |
Распашные двери: | | | | | |
Петли дверей (торцовых, кабины машиниста и т.д.) | Смазка Буксол ТУ 0254-107-01124328-2001 | - | 114 | 114 x 0,01 | Поверхности трения "металл-металл" |
Замки дверные (трущиеся поверхности) | Смазка ЦИАТИМ 201 или ЦИАТИМ 203 | - | 52 | 52 x 0,005 | Поверхности трения "металл-металл" |
Узлы пневматического оборудования | | | | | |
Кран машиниста 395.М-5-01: | | | 2 | | |
- поверхности трения подвижных частей и обработанные наружные поверхности | Смазка ЖТ-79Л ТУ 0254-002-01055954-01 | - | 2 | 2 x 0,003 | Закрытые поверхности трения "металл-металл" и "металл-резина" |
- золотник и зеркало золотника | Смазка ПКГ-1 ТУ 3185-003-01055954-02 | - | 2 | 2 x 0,002 | Закрытые притертые поверхности |
- резьба и уплотнительные поверхности резьбовых деталей | | - | 2 | 2 x 0,003 | Поверхности трения "металл-металл" |
Редуктор, реле давления, электровоздухораспределитель: | | | 31 | | |
- закрытые поверхности трения | Смазка ЖТ-79Л ТУ 0254-002-01055954-01 | - | 31 | 31 x (0,015 - 0,030) | Поверхности трения "металл-металл" и "металл-резина" |
- резьбовые детали и переключательные пробки | | - | 31 | 31 x 0,01 | Защита металлической поверхности от коррозии |
Детали ЭПК-150И | Смазка ЖТ-79Л ТУ 0254-002-01055954-01 | - | 2 | 2 x 0,02 | Закрытые поверхности трения |
Блок КОН (посадочное место уплотнительного кольца) | Смазка ЖТ-79Л ТУ 0254-002-01055954-01 | - | 2 | 2 x 0,002 | - |
Агрегат компрессорный винтовой АКВ-0,65/8 | Масло Mobil Rarus SHC 1025, Shell Corena PAO Oils 46, Shell Corena PAO Fluids 46, Esco Compressor Oil RS 46, Castrol Aircol SR 46 | - | 5 | 5 x 5,3 | - |
или винтовая компрессорная установка ВКУ-0,65-ЭП | Масло Gardner Denver AEON 6000 | - | 5 | 5 x 6,3 | - |
или электрокомпрессор ЭК-7В | Масло компрессорное: - зимой: К3-10С СТО 065561488-018-2013 | - | 5 | 5 x 2,5 | - |
Компрессор вспомогательный ВВ 0,05/7-1000 | Масло компрессорное: - зимой: К3-10С СТО 065561488-018-2013 | - | 5 | До указанного уровня 5 x 0,18 | Поверхности трения "металл-металл" |
Воздухораспределитель: | | | 9 | | |
- закрытые поверхности трения | Смазка ЖТ-79Л ТУ 0254-002-01055954-01 | | 9 | 9 x 0,02 | Поверхности трения "металл-металл" и "металл-резина" |
- притирочные поверхности пробки и втулки | Смазка Буксол ТУ 0254-107-01124328-2001 | - | 9 | 9 x 0,02 | - |
- резьбовые разборные соединения | Смазка графитная УСсА | - | 9 | 9 x 0,01 | Защита металлической поверхности от коррозии |
Электростеклоочиститель (узлы качения рычагов пантографного устройства и уплотнительное резиновое кольцо выходного вала моторредуктора) | Смазка ЦИАТИМ-201 | - | 4 | 4 x 0,005 | Поверхности трения "металл-металл" и "металл-резина" |
Регулятор давления АК-11Б | Смазка ЖТ-79Л ТУ 0254-002-01055954-01 | - | 9 | 9 x 0,005 | Поверхности трения "металл-металл" |
Клапаны обратные, клапаны предохранительные (трущиеся и резьбовые поверхности) | Смазка ЦИАТИМ-201 | - | 27 | 27 x 0,01 | Поверхности трения "металл-металл" |
Краны концевые 4314 (трущиеся и обработанные поверхности) | Смазка ЖТ-79Л ТУ 0254-002-01055954-01 | Смазка ЦИАТИМ-201 | 36 | 36 x 0,001 | Поверхности трения "металл-металл" и "металл-резина" |
Краны шаровые разобщительные 4300, 4301Э, 4302, 4308 (внутренние обработанные поверхности, резьбовые соединения) | Смазка ЖТ-79Л ТУ 0254-002-01055954-01 | - | 94 | 94 x 0,005 | Поверхности трения "металл-металл" |
Узлы электрооборудования и вентиляции |
Выключатели ПВУ-5 и ПВУ-5-03 (цилиндры и манжеты поршней пневмопривода) | Смазка ЖТ-79Л ТУ 0254-002-01055954-01 | - | 8 | 16 x 0,01 | Поверхности трения "металл-металл" |
Токоприемник: | | | 5 | | |
- медные подкладки полоза, трущиеся поверхности упора, резьбовая часть пружинодержателей и тяг | Смазка ЦИАТИМ-201 | - | 5 | 5 x 0,05 | Открытая пара трения |
- узлы подшипников, луженые поверхности резьбовых частей деталей | Смазка ЖТКЗ-65 ТУ 0254-004-01055954-02 | - | 5 | 5 x 0,2 | - |
- шарниры каретки | Смазка ЖТКЗ-65 ТУ 0254-004-01055954-02 | - | 5 | 5 x 0,05 | Поверхности трения "металл-металл" |
- привод пневматический | Смазка ЖТ-79Л ТУ 0254-002-01055954-01 | - | 5 | 5 x 0,05 | Поверхности трения "металл-резина" |
Тяговый двигатель ТДЭ 235У1: | | | 20 | | |
- подшипник роликовый НО-62417К1М; | Смазка Буксол ТУ 0254-107-01124328-2001 | | | 20 x 0,36 | Трение "качения" |
- подшипник роликовый НО-32419М | | | 20 x 0,6 |
или тяговый двигатель ТЭД ЗУ1 (подшипники роликовые ТУ ВНИПП.048-1-00: | Смазка Буксол ТУ 0254-107-01124328-2001 | - | 20 | | Трение "качения" |
- НО-62417К1М со стороны коллектора, | 20 x 1,1 |
- НО-32419М со стороны привода) | 20 x 1,2 |
Преобразователь НВП-44/38 (подшипники) | Смазка Буксол ТУ 0254-107-01124328-2001 | - | 5 | 10 x 0,6 | - |
Разъединитель Р-9А: | | | 5 | | |
- подшипник, головка привода; | Смазка ЦИАТИМ-201 | - | 5 | 5 x 0,1 | Трение "качения" |
- трущиеся контактные поверхности | Смазка графитная УСсА | - | 5 | 5 x 0,1 | - |
Контактор пневматический ПК-22А: | | | 20 | | |
- цилиндр, шток, манжеты, поршень привода; | Смазка ЖТ-79Л ТУ 0254-002-01055954-01 | - | 20 | 20 x 0,4 | - |
- шарниры; | Смазка ЦИАТИМ-201 | | 20 | 20 x 0,2 | Поверхности трения "металл-металл" |
- смазочные кольца привода | Масло приборное МВП | | 20 | 20 x 0,2 | - |
Переключатель ПКД-25А: | | | 5 | | |
- подшипники, шарниры; | Смазка ЦИАТИМ-201 | - | 5 | 5 x 0,5 | - |
- манжеты, поршни, валики, стержни; | Смазка ЖТ-79Л ТУ 0254-002-01055954-01 | | 5 | 5 x 0,5 | Поверхности трения "металл-резина" |
- смазочные кольца привода | Масло приборное МВП | | 5 | 5 x 0,3 | - |
Контроллер силовой КС-26: | | | 5 | | |
- подшипники, рамки, втулки; | Смазка ЦИАТИМ-201 | - | 5 | 5 x 0,01 | - |
- зубчатые передачи; | Смазка ЦИАТИМ-201 | | 5 | 5 x 0,1 | Поверхности трения "металл-металл" |
- электропневматический привод: манжеты, цилиндр, поршень, рабочие поверхности трехлучевой звезды | Смазка ЖТ-79Л ТУ 0254-002-01055954-01 | | 10 | 10 x 0,01 | Поверхности трения "металл-резина", "металл-металл" |
- смазочные кольца привода | Масло приборное МВП | | 10 | 10 x 0,01 | - |
Контроллер силовой 1КСЭ.023.1 У2, | | | 5 | | |
контроллер тормозной 1КСЭ.024.1 У2: | | | 5 | |
- манжеты, рабочие полости цилиндра; | Смазка ЦИАТИМ-201 | - | 10 | 10 x 0,01 | |
- профиль звезды, подшипники звезды; | 10 | 10 x 0,06 | - |
- ролики поршня, подшипники кулачкового вала | 10 | 60 x 0,005 | |
- зубчатый венец шестеренки привода | Смазка ЦИАТИМ-201 | | 10 | 10 x 0,18 | |
- зубчатый венец шестерни кулачкового барабана | 10 | 10 x 0,30 | |
Пневматический привод выключателей ВБ-11 и ВБ-6 (цилиндры, манжеты, поршни, сальники) | Смазка ЖТ-79Л ТУ 0254-002-01055954-01 | - | 10 | 10 x 0,01 | Поверхности трения "металл-резина" |
Выключатель ПВУ-5 и ПВУ-5-03 (цилиндры и манжеты поршней привода) | Смазка ЖТ-79Л ТУ 0254-002-01055954-01 | - | 10 | 20 x 0,01 | Поверхности трения "металл-резина" |
Клапан электропневматический КП-8-02 (цилиндры и манжеты поршней привода) | Смазка ЖТ-79Л ТУ 0254-002-01055954-01 | - | 5 | 10 x 0,01 | Поверхности трения "металл-резина" |
Электромагнитные контакторы (шарниры) | Смазка ЦИАТИМ-201 | - | 60 | 60 x 0,005 | - |
Блокировка контроллера машиниста КМ9 (шарниры) | Смазка ЦИАТИМ-201 | - | 2 | 16 x 0,005 | |
Контроллер машиниста 1КУЭ.40.1 УЗ: | | | 2 | | |
- подшипник шариковый главного вала; | Смазка Солидол Ж | - | | 2 x 0,005 | - |
- подшипник игольчатый главного вала; | 2 x 0,001 |
- подшипник шариковый реверсивного вала; | 2 x 0,006 |
- подшипник скольжения реверсивного вала; | 2 x 0,001 |
- зубчатое зацепление реверсивного вала и шестерни | 2 x 0,013 |
Расщепитель фаз РФ-1Д6У1: | | | 4 | | |
- подшипник роликовый 32312М1 ГОСТ 8328-75; | Смазка Буксол ТУ 0254-107-01124328-2001 | - | 4 | 4 x 0,65 | Трение "качения" |
или расщепитель фаз РФЭ: | | | 5 | | |
- подшипник роликовый 32312М1 ГОСТ 8328-75; | Смазка Буксол ТУ 0254-107-01124328-2001 | - | 5 | 5 x 0,65 | Трение "качения" |
Аккумуляторная батарея (перемычки, резьбовые поверхности прижимных болтов) | Смазка Буксол ТУ 0254-107-01124328-2001 | - | 10 | 10 x 0,6 | - |
Трансформатор со встроенным реактором ОДЦЭР-1600/25А У1 или ОДЦЭ-2000/25 или ОЦР-1000/25 | Масло трансформаторное Масло трансформаторное селективной очистки | - | 5 | 5 x 700 или 5 x 800 | - |
Заземлитель трансформатора ГРЭ-2А-6 У2 (трущиеся поверхности головки) | Смазка ЦИАТИМ-201 | - | 5 | 5 x 0,001 | - |
Переключатель реверсивный 1ПЭ.008.2 У2 и 1ПЭ.008.3 У2: | | | 8 | | |
- манжеты, рабочие полости цилиндра и толкатель привода; | Смазка ЦИАТИМ-201 | - | | 8 x 0,01 | - |
- подшипники кулачкового барабана | | 16 x 0,005 |
Клапан пантографа КЛП-101Б У3: | | | 5 | | |
- рабочие полости цилиндра; | Масло МВП | - | 5 | 5 x (0,002 - 0,003) | Поверхности трения "металл-резина" |
- пробка крана; | Смазка Солидол Ж | - | 5 | 5 x 0,002 | - |
- трущиеся поверхности звезды | 5 | 5 x 0,001 |
Электродвигатель главного компрессора МАК 160М (подшипники 60310 АК) | Смазка ЦИАТИМ-221 | - | 5 | 10 x 0,05 | Трение "качения" |
Электродвигатель вспомогательного компрессора П31М (подшипники 76-305Ш2У или 76-307Ш2У) | Смазка ВНИИ НП-242 | - | 5 | 10 x 0,05 | Трение "качения" |
Фильтр А 167.000: | | | 5 | | |
- резьба | Смазка ЦИАТИМ-201 | - | 5 | 5 x 0,05 | - |
- прокладка | Смазка графитная УСсА | - | 5 | 5 x 0,05 | - |
| | ИС МЕГАНОРМ: примечание. Взамен ГОСТ 610-72 Приказом Росстандарта от 25.10.2017 N 1519-ст с 1 июля 2019 года введен в действие ГОСТ 610-2017. | |
|
Фильтры вентиляционные | Зимой - масло осевое "З" ГОСТ 610-72 или масло трансформаторное селективной очистки | Летом - масло осевое "Л" ГОСТ 610-72 Зимой - масло АМГ-10 | 25 | 25 x 0,1 | Увеличение эффективности |
Директор ПКТБ Л ОАО "РЖД"
Н.В.ПИГЛОВСКИЙ
Начальник отдела
А.В.КЕВРОЛЕТИН