Главная // Актуальные документы // ГОСТ (Государственный стандарт)СПРАВКА
Источник публикации
М.: Стандартинформ, 2005
Примечание к документу
С 1 июля 2003 года до вступления в силу технических регламентов акты федеральных органов исполнительной власти в сфере технического регулирования носят рекомендательный характер и подлежат обязательному исполнению только в части, соответствующей целям, указанным в
пункте 1 статьи 46 Федерального закона от 27.12.2002 N 184-ФЗ.
Документ
введен в действие с 1 июля 1978 года.
Взамен ГОСТ 12707-67, ГОСТ 5.1414-72.
Название документа
"ГОСТ 12707-77. Межгосударственный стандарт. Грунтовки фосфатирующие. Технические условия"
(утв. и введен в действие Постановлением Госстандарта СССР от 29.04.1977 N 1104)
(ред. от 01.10.1987)
"ГОСТ 12707-77. Межгосударственный стандарт. Грунтовки фосфатирующие. Технические условия"
(утв. и введен в действие Постановлением Госстандарта СССР от 29.04.1977 N 1104)
(ред. от 01.10.1987)
Утвержден и введен в действие
Постановлением Государственного
комитета СССР по стандартам
от 29 апреля 1977 г. N 1104
МЕЖГОСУДАРСТВЕННЫЙ СТАНДАРТ
ГРУНТОВКИ ФОСФАТИРУЮЩИЕ
ТЕХНИЧЕСКИЕ УСЛОВИЯ
Wash primers. Specifications
ГОСТ 12707-77
| | Список изменяющих документов (в ред. Изменения N 1, утв. в феврале 1983 г., Изменения N 2, утв. в октябре 1987 г.) | |
Дата введения
1 июля 1978 года
1. Разработан и внесен Министерством химической промышленности.
2. Утвержден и введен в действие Постановлением Государственного комитета СССР по стандартам от 29 апреля 1977 г. N 1104.
3. Взамен ГОСТ 12707-67 и ГОСТ 5.1414-72.
4. Ссылочные нормативно-технические документы
Обозначение НТД, на который дана ссылка | Номер пункта, подпункта |
| |
| |
| |
| |
| |
| |
| |
| |
| |
| |
| |
| |
| |
| |
| |
| |
| |
| |
| |
| |
| |
| |
| |
| |
| |
| |
| |
| |
| |
ГОСТ 18573-86 | |
| |
| |
| |
| |
| |
5. Ограничение срока действия снято по протоколу N (2-92) Межгосударственного совета по стандартизации, метрологии и сертификации (ИУС 2-93).
6. Издание (июнь 2005 г.) с Изменениями N 1, 2, утвержденными в феврале 1983 г., октябре 1987 г. (ИУС 6-83, 1-88), Поправкой (ИУС 8-2004).
Настоящий стандарт распространяется на фосфатирующие грунтовки, представляющие собой смесь двух компонентов - основы и кислотного разбавителя.
Основа грунтовок представляет собой суспензию пигментов и наполнителя в растворе поливинилбутираля и идитольной смолы или без нее в смеси летучих органических растворителей.
Кислотный разбавитель представляет собой спиртовой раствор ортофосфорной кислоты.
Фосфатирующие грунтовки предназначаются для грунтования металлических поверхностей, для защиты металла при межоперационном хранении, а также вместо фосфатирования и оксидирования.
Показатели технического уровня, установленные настоящим стандартом, предусмотрены для высшей категории качества.
(Измененная редакция, Изм. N 2).
1. МАРКИ И ТЕХНИЧЕСКИЕ ТРЕБОВАНИЯ
1.1. В зависимости от рецептуры и назначения фосфатирующие грунтовки выпускают марок, указанных в табл. 1а.
Таблица 1а
Наименование марки | Код ОКП | Назначение |
ВЛ-02 (на основе поливинилбутираля) | 23 1363 0104 09 | Для грунтования металлических поверхностей перед нанесением лакокрасочных материалов |
ВЛ-023 (на основе поливинилбутираля и идитольной смолы) | 23 1363 0508 04 | Для грунтования металлических поверхностей перед нанесением лакокрасочных материалов и для защиты металла при межоперационном хранении |
(Измененная редакция, Изм. N 1).
1.2. Срок выдержки грунтовочного покрытия до последующего нанесения лакокрасочных материалов для грунтовки марки ВЛ-02 - не более 14 сут, марки ВЛ-023 - не более 6 мес, минимальный срок выдержки - 30 мин.
1.3. Фосфатирующие грунтовки должны изготовляться в соответствии с требованиями настоящего стандарта по рецептуре и регламенту, утвержденным в установленном порядке.
1.4. По физико-химическим показателям основа грунтовок должна соответствовать нормам, указанным в табл. 1.
Таблица 1
Наименование показателя | Норма для марки | Метод испытания |
ВЛ-02 | ВЛ-023 |
1. Массовая доля нелетучих веществ, % | 20 - 22 | 25 - 27 | |
2. Степень перетира, мкм, не более | 30 | 30 | |
3. Плотность при (20 +/- 2) °C, г/см3 | 0,890 - 0,950 | 0,910 - 0,960 | |
1.5. По физико-химическим показателям кислотный разбавитель должен соответствовать нормам, указанным в табл. 2.
Таблица 2 <*>
--------------------------------
<*> Табл. 3. (Исключена, Изм. N 2).
Наименование показателя | Значение | Метод испытания |
1. Внешний вид | Прозрачная бесцветная жидкость без осадка и взвешенных частиц, не расслаивающаяся при хранении | |
2. Массовая доля ортофосфорной кислоты, % | 15,0 - 15,5 | |
3. Плотность при температуре (20 +/- 2) °C, г/см3 | 0,908 - 0,918 | |
1.6. Фосфатирующие грунтовки должны изготовляться непосредственно перед применением смешением основы и кислотного разбавителя в соотношениях (по массе):
ВЛ-02-4:1;
ВЛ-023-5:1.
1.5, 1.6. (Измененная редакция, Изм. N 2).
1.7. В зависимости от температуры хранения срок годности готовых грунтовок должен соответствовать табл. 4.
Таблица 4
Температура, °C | Срок годности, ч |
От минус 10 до плюс 10 | 24 |
Св. плюс 10 до плюс 20 | 8 |
Св. плюс 20 до плюс 30 | 6 |
Св. плюс 30 до плюс 40 | 4 |
1.8. (Исключен, Изм. N 2).
1.9. По физико-механическим показателям фосфатирующие грунтовки должны соответствовать требованиям и нормам, указанным в табл. 5.
Таблица 5
Наименование показателя | Значение для марки | Метод испытания |
ВЛ-02 | ВЛ-023 |
1. Внешний вид пленки | После высыхания грунтовка должна образовывать ровную, однородную, матовую или полуглянцевую лессирующую пленку зеленовато-желтого цвета | После высыхания грунтовка должна образовывать ровную, однородную, матовую пленку защитно-зеленого цвета | |
Оттенок пленки не нормируется |
2. Условная вязкость по вискозиметру типа ВЗ с диаметром сопла 4 мм при температуре (20,0 +/- 0,5) °C, с | 20 - 35 | 20 - 40 | |
3. Стабильность | Через 6 ч после изготовления вязкость грунтовки не должна изменяться более чем на 20% | |
4. Разбавление грунтовок растворителями, %, не более: | | | |
РФГ, 648, Р-6 | 20 | 30 | |
толуол, ксилол | 20 | - | |
5. Время высыхания до степени 5 при температуре (20 +/- 2) °C, мин, не более | 15 | 15 | |
6. Эластичность пленки при изгибе, мм, не более | 1 | 1 | |
7. Прочность пленки при ударе по прибору типа У-1, см, не менее | 50 | 50 | |
8. Адгезия пленки, баллы, не более | | | |
(Измененная редакция, Изм. N 2, Поправка).
(Измененная редакция, Изм. N 2).
3.2. Массовую долю нелетучих веществ в основе грунтовок определяют при (100 +/- 2) °C в течение 1 ч. Масса навески - (2,0 +/- 0,2) г.
3.1, 3.2. (Измененная редакция, Изм. N 2).
3.3. Определение плотности основы
3.3.1. Прибор
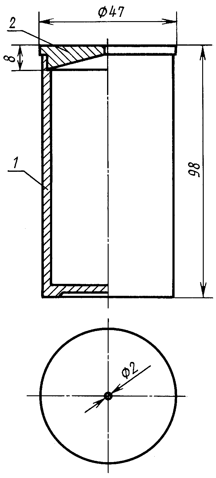
Прибор (см. чертеж) представляет собой дюралюминиевый стакан с крышкой. Крышка, плотно входящая в стакан до упора в торец, имеет коническую вытачку, которая предназначена для удаления избыточного количества испытуемого материала через центральное отверстие диаметром 2 мм. На внешней стороне дна стакана ставят клеймо, указывающее собственную массу стакана.
1 - корпус; 2 - крышка
3.3.2. Проведение испытания
Стакан прибора вместимостью (100 +/- 0,2) см3 наполняют основой грунтовки и закрывают крышкой. Избыток грунтовки удаляют через центральное отверстие в крышке. Стакан вместе с крышкой взвешивают с погрешностью не более 0,01 г.
3.3.3. Обработка результатов
Плотность основы грунтовки

в г/см3 вычисляют по формуле

,
где

- масса прибора без основы грунтовки, г;

- масса прибора с основой грунтовки, г.
За результат измерения принимают среднеарифметическое значение двух параллельных определений, допускаемое расхождение между которыми не должно превышать 0,1%.
3.4. Определение внешнего вида кислотного разбавителя
Внешний вид кислотного разбавителя определяют визуально. Кислотный разбавитель наливают в мерный цилиндр из бесцветного стекла вместимостью 100 см3
(ГОСТ 1770), рассматривают его в проходящем свете и отмечают отсутствие мути, расслаивания и взвешенных частиц.
3.5. Определение массовой доли ортофосфорной кислоты в кислотном разбавителе
3.5.1. Посуда, реактивы и растворы
Спирт этиловый ректификованный технический по
ГОСТ 18300 высшего сорта;
бюретка вместимостью 25 см3 с ценой деления 0,1 см3;
натрия гидроокись по
ГОСТ 4328, раствор концентрации с (NaOH) = 0,1 моль/дм3 (0,1 н.);
фенолфталеин (индикатор), спиртовой раствор с массовой долей фенолфталеина 1%;
3.5.2. Проведение испытания
0,5 - 1 г кислотного разбавителя, взвешенного с точностью до третьего десятичного знака, помещают в коническую колбу, добавляют 25 см3 дистиллированной воды и две капли фенолфталеина. Содержимое колбы тщательно перемешивают и титруют раствором едкого натра до появления бледно-розовой окраски, не исчезающей в течение 20 с.
3.5.3. Обработка результатов
Массовую долю ортофосфорной кислоты (X) в процентах вычисляют по формуле

,
где V - объем раствора гидроокиси натрия концентрации точно 0,1 моль/дм3, израсходованный на титрование, см3;
0,0049 - масса ортофосфорной кислоты, соответствующая 1 см3 раствора гидроокиси натрия концентрации точно 0,1 моль/дм3, г;
m - масса навески кислотного разбавителя.
За результат измерения принимают среднеарифметическое значение двух параллельных определений, допускаемое расхождение между которыми не должно превышать 0,05%.
3.5.1 - 3.5.3. (Измененная редакция, Изм. N 2).
3.6. Подготовка к испытанию грунтовок
3.6.1. Грунтовки для испытания готовят смешением основы с кислотным разбавителем в стеклянной, фарфоровой, эмалированной или другой кислотостойкой посуде в соотношении, указанном в
п. 1.6 настоящего стандарта.
При определении адгезии на пластинках из алюминиево-магниевых сплавов смешение основы с кислотным разбавителем проводят в соотношении, указанном в
п. 1.6 настоящего стандарта.
После приготовления грунтовки выдерживают в течение 30 мин и определяют условную вязкость, процент разбавления и стабильность.
Для определения остальных показателей грунтовки разбавляют растворителем РФГ до вязкости 16 - 20 с по вискозиметру ВЗ-246 (ВЗ-4), фильтруют через сито с сеткой N 008 к
(ГОСТ 6613) или три слоя марли и наносят краскораспылителем в один слой на подготовленные пластинки по ГОСТ 8832,
разд. 3.
Толщина пленки однослойного покрытия должна быть 8 - 10 мкм для грунтовки марки ВЛ-02 и 15 - 18 мкм для грунтовки марки ВЛ-023. Толщину пленки определяют магнитными и вихревыми толщиномерами, обеспечивающими основную погрешность +/- 5%, после высыхания пленки по режиму
подпункта 5 табл. 5.
3.6.2. Внешний вид пленки, время высыхания, эластичность пленки при изгибе определяют на пластинках из черной горячекатаной жести размером 70 x 150 мм (20 x 150 мм - при определении эластичности пленки при изгибе), толщиной 0,25 - 0,28 мм.
Прочность пленки при ударе определяют на пластинках из стали марок 08кп и 08пс
(ГОСТ 16523) размером 70 x 150 мм, толщиной 0,8 - 0,9 мм.
Адгезию определяют на пластинках из стали марок 08кп и 08пс
(ГОСТ 16523) или на пластинках из сплавов марок Д16 и АМг6
(ГОСТ 21631) размером 70 x 150 мм.
Перед испытанием по показателям
подпунктов 6,
7,
8 табл. 5 покрытия после высыхания выдерживают при (20 +/- 2) °C в течение 24 ч.
3.6.1, 3.6.2. (Измененная редакция, Изм. N 2).
3.7. Определение внешнего вида пленки
Внешний вид пленки определяют визуально при естественном рассеянном свете после сушки при (20 +/- 2) °C в течение 15 мин.
3.8. Определение стабильности грунтовок
Стабильность грунтовок определяют по изменению вязкости после смешения основы с кислотным разбавителем в соотношениях, указанных в
п. 1.6 настоящего стандарта, через 6 ч после выдержки грунтовки. Испытания проводят в банке из белой жести по
ГОСТ 6128 или другой кислотостойкой посуде с плотно закрывающейся крышкой.
Изменение вязкости

в процентах вычисляют по формуле

,

- условная вязкость грунтовки, определенная через 6 ч после смешения основы с кислотным разбавителем, с.
3.9. Определение процента разбавления грунтовок растворителем
50 - 100 г грунтовки, приготовленной по
п. 3.6.1, взвешивают с точностью до первого десятичного знака и разбавляют растворителем, указанным в
подпункте 4 табл. 5, до вязкости 20 с по вискозиметру типа ВЗ-246 (или ВЗ-4).
Разбавление растворителем

в процентах вычисляют по формуле

,
где m - масса грунтовки, г;

- масса растворителя, израсходованная для разбавления грунтовки, г.
3.8, 3.9. (Измененная редакция, Изм. N 2).
4. УПАКОВКА, МАРКИРОВКА, ТРАНСПОРТИРОВАНИЕ И ХРАНЕНИЕ
4.1. Упаковка, маркировка, транспортирование и хранение основы грунтовки - по ГОСТ 9980.3 - ГОСТ 9980.5.
4.2. Основу упаковывают в стальные фляги с внутренним полиэтиленовым покрытием или оцинкованные стальные фляги по
ГОСТ 5799.
Допускается по согласованию с потребителем упаковывать основу грунтовки в стальные фляги по
ГОСТ 5799.
Кислотный разбавитель упаковывают в стеклянные бутыли в деревянных обрешетках по
ГОСТ 18573 с уплотнением.
4.1, 4.2. (Измененная редакция, Изм. N 2).
4.3. Основу грунтовки и кислотный разбавитель хранят и транспортируют при температуре от минус 10 °C до плюс 30 °C.
Допускается хранение и транспортирование основы грунтовки и кислотного разбавителя при минус 30 °C, при этом продолжительность хранения и транспортирования не должна превышать один месяц.
4.4. Маркировка транспортной тары - по
ГОСТ 14192 с нанесением манипуляционных знаков - "Беречь от нагрева", "Герметичная упаковка", знаков опасности - по
ГОСТ 19433 (класс 3, подкласс 3.3, классификационный шифр 3313).
На стеклянных бутылях дополнительно наносят манипуляционный знак "Хрупкое. Осторожно".
(Измененная редакция, Изм. N 2).
4а. УКАЗАНИЯ ПО ПРИМЕНЕНИЮ
4а.1. Фосфатирующие грунтовки изготовляют непосредственно перед применением, как указано в
п. 1.6 настоящего стандарта.
4а.2. После изготовления грунтовки выдерживают в течение 30 мин и разбавляют растворителем РФГ
(ГОСТ 12708) до вязкости 16 - 20 с при нанесении пневматическим и безвоздушным распылением. Грунтовки наносят кистью при вязкости 20 - 35 с.
Смешение указанных растворителей при разбавлении грунтовок не допускается.
4а.3. Фосфатирующие грунтовки наносят при температуре от минус 10 °C до плюс 30 °C.
Расход грунтовки марки ВЛ-02 при нанесении кистью - 80 - 95 г/м2, пневматическим распылением - 100 - 120 г/м2, безвоздушным распылением - 95 - 110 г/м2.
Расход грунтовки марки ВЛ-023 при нанесении кистью - 100 - 130 г/м2, пневматическим распылением - 120 - 160 г/м2, безвоздушным распылением - 110 - 150 г/м2.
Раздел 4а. (Введен дополнительно, Изм. N 2).
5.1. Изготовитель должен гарантировать соответствие грунтовок требованиям настоящего стандарта при соблюдении условий транспортирования и хранения.
5.2. Гарантийный срок хранения основы и кислотного разбавителя - 12 мес со дня изготовления.
5.1, 5.2. (Измененная редакция, Изм. N 1).
6. ТРЕБОВАНИЯ БЕЗОПАСНОСТИ
6.1. Фосфатирующие грунтовки являются пожароопасными и токсичными материалами, что обусловлено свойствами растворителей, входящих в их состав и применяемых для их разбавления.
Основные характеристики пожароопасности, токсичности растворителей приведены в табл. 6.
Таблица 6
Наименование компонента | Предельно допустимая концентрация в воздухе рабочей зоны производственных помещений, мг/м3 | Температура, °C | Концентрационные пределы воспламенения, % (по объему) | Класс опасности |
вспышки | самовоспламенения |
Ацетон | 200 | Минус 18 | 500 | 2,2 - 13,0 | 4 |
Ксилол | 50 | Не ниже 21 | Выше 450 | 1,0 - 6,0 | 3 |
Толуол | 50 | 4 | 536 | 1,25 - 6,5 | 3 |
Спирт этиловый | 1000 | 13 | 404 | 3,6 - 19,1 | 4 |
Спирт бутиловый | 10 | 34 | 345 | 1,7 - 12,0 | 3 |
Бутилацетат | 200 | 29 | 370 | 2,2 - 14,7 | 4 |
Бензол | 5 | - | - | 1,5 - 8,0 | 3 |
(Измененная редакция, Изм. N 2).
6.2. При производстве, применении и испытании грунтовок должны соблюдаться общие требования безопасности по
ГОСТ 12.3.005.
6.3. Все работы, связанные с изготовлением и применением грунтовок, должны проводиться в помещениях, снабженных приточно-вытяжной вентиляцией по
ГОСТ 12.4.021.
6.4. (Исключен, Изм. N 1).
6.5. Лица, связанные с изготовлением и применением грунтовок, должны быть обеспечены специальной одеждой группы
(ГОСТ 12.4.103), резиновыми перчатками и другими средствами индивидуальной защиты.
6.6. Для тушения горящей фосфатирующей грунтовки необходимо использовать тонкораспыленную воду, огнетушители углекислотные марок ОУ-2 и ОУ-5 и воздушно-пенный огнетушитель типа ОВП-100.01.
6.5, 6.6. (Измененная редакция, Изм. N 2).
Приложение. (Исключено, Изм. N 2).