Главная // Актуальные документы // ГОСТ (Государственный стандарт)СПРАВКА
Источник публикации
В данном виде документ опубликован не был.
Первоначальный текст документа опубликован в издании
М.: Стандартинформ, 2009.
Информацию о публикации документов, создающих данную редакцию, см. в справке к этим документам.
Примечание к документу
Название документа
"ГОСТ 31366-2008. Межгосударственный стандарт. Прутки латунные для обработки резанием на автоматах. Технические условия"
(введен в действие Приказом Ростехрегулирования от 11.02.2009 N 4-ст)
(ред. от 26.11.2014)
"ГОСТ 31366-2008. Межгосударственный стандарт. Прутки латунные для обработки резанием на автоматах. Технические условия"
(введен в действие Приказом Ростехрегулирования от 11.02.2009 N 4-ст)
(ред. от 26.11.2014)
Приказом Ростехрегулирования
от 11 февраля 2009 г. N 4-ст
МЕЖГОСУДАРСТВЕННЫЙ СТАНДАРТ
ПРУТКИ ЛАТУННЫЕ ДЛЯ ОБРАБОТКИ РЕЗАНИЕМ НА АВТОМАТАХ
ТЕХНИЧЕСКИЕ УСЛОВИЯ
Brass rods for free machining purposes. Specifications
ГОСТ 31366-2008
| | Список изменяющих документов Приказом Росстандарта от 26.11.2014 N 1827-ст) | |
Цели, основные принципы и основной порядок проведения работ по межгосударственной стандартизации установлены
ГОСТ 1.0-92 "Межгосударственная система стандартизации. Основные положения" и
ГОСТ 1.2-97 "Межгосударственная система стандартизации. Стандарты межгосударственные, правила и рекомендации по межгосударственной стандартизации. Порядок разработки, принятия, применения, обновления и отмены".
1. Разработан Техническим комитетом по стандартизации ТК 106 "Цветметпрокат", Научно-исследовательским, проектным и конструкторским институтом сплавов и обработки цветных металлов Открытое акционерное общество "Институт Цветметобработка".
2. Внесен Техническим секретариатом Межгосударственного совета по стандартизации, метрологии и сертификации.
3. Принят Межгосударственным советом по стандартизации, метрологии и сертификации (Протокол N 33 от 6 июня 2008 г.).
За принятие стандарта проголосовали:
Краткое наименование страны по МК (ИСО 3166) 004-97 | Код страны по МК (ИСО 3166) 004-97 | Сокращенное наименование национального органа по стандартизации |
Беларусь | BY | Госстандарт Республики Беларусь |
Грузия | GE | Грузстандарт |
Казахстан | KZ | Госстандарт Республики Казахстан |
Кыргызстан | KG | Кыргызстандарт |
Российская Федерация | RU | Федеральное агентство по техническому регулированию и метрологии |
Таджикистан | TJ | Таджикстандарт |
Узбекистан | UZ | Узстандарт |
4. В настоящем стандарте учтены основные нормативные положения европейского стандарта ЕН 12164:1998 "Медь и медные сплавы. Прутки для обработки резанием" (EN 12164:1998 "Copper and copper alloys - Rod for free machining purposes", NEQ).
5. Приказом Федерального агентства по техническому регулированию и метрологии от 11 февраля 2009 г. N 4-ст межгосударственный стандарт ГОСТ 31366-2008 введен в действие в качестве национального стандарта Российской Федерации с 1 января 2010 г.
6. Введен впервые.
Информация о введении в действие (прекращении действия) настоящего стандарта публикуется в указателе "Национальные стандарты".
Информация об изменениях к настоящему стандарту публикуется в указателе "Национальные стандарты", а текст изменений - в информационных указателях "Национальные стандарты". В случае пересмотра или отмены настоящего стандарта соответствующая информация будет опубликована в информационном указателе "Национальные стандарты".
Настоящий стандарт распространяется на латунные тянутые прутки круглого, квадратного и шестигранного сечений, поставляемые в прямых отрезках, специально предназначенные для обработки резанием на автоматах.
Стандарт устанавливает сортамент, технические требования, правила приемки, методы контроля и испытаний, маркировку, упаковку, транспортирование и хранение прутков.
В настоящем стандарте использованы нормативные ссылки на следующие стандарты:
ГОСТ 427-75. Линейки измерительные металлические. Технические условия
ГОСТ 701-89. Кислота азотная концентрированная. Технические условия
(в ред.
Изменения N 1, введенного в действие Приказом Росстандарта от 26.11.2014 N 1827-ст)
ГОСТ 1497-84 (ИСО 6892-84). Металлы. Методы испытания на растяжение
ГОСТ 1652.1-77 (ИСО 1554-76). Сплавы медно-цинковые. Методы определения меди
ГОСТ 1652.2-77 (ИСО 4749-84). Сплавы медно-цинковые. Методы определения свинца
ГОСТ 1652.3-77 (ИСО 1812-76, ИСО 4748-84). Сплавы медно-цинковые. Методы определения железа
ГОСТ 1652.5-77 (ИСО 4751-84). Сплавы медно-цинковые. Методы определения олова
ГОСТ 1652.9-77 (ИСО 7266-84). Сплавы медно-цинковые. Метод определения серы
ГОСТ 1652.11-77 (ИСО 4742-84). Сплавы медно-цинковые. Методы определения никеля
ГОСТ 1770-74. Посуда мерная лабораторная стеклянная. Цилиндры, мензурки, колбы, пробирки. Общие технические условия
ГОСТ 2184-77. Кислота серная техническая. Технические условия
ГОСТ 2991-85. Ящики дощатые неразборные для грузов массой до 500 кг. Общие технические условия
ГОСТ 3282-74. Проволока стальная низкоуглеродистая общего назначения. Технические условия
ГОСТ 3560-73. Лента стальная упаковочная. Технические условия
ГОСТ 4520-78. Ртуть (II) азотнокислая 1-водная. Технические условия
ГОСТ 4521-78. Ртуть (I) азотнокислая 2-водная. Технические условия
ГОСТ 7502-98. Рулетки измерительные металлические. Технические условия
ГОСТ 9557-87. Поддон плоский деревянный размером 800 x 1200 мм. Технические условия
ГОСТ 9716.1-79. Сплавы медно-цинковые. Метод спектрального анализа по металлическим стандартным образцам с фотографической регистрацией спектра
ГОСТ 9716.2-79. Сплавы медно-цинковые. Метод спектрального анализа по металлическим стандартным образцам с фотоэлектрической регистрацией спектра
ГОСТ 9716.3-79. Сплавы медно-цинковые. Метод спектрального анализа по окисным образцам с фотографической регистрацией спектра
ГОСТ 10198-91. Ящики деревянные для грузов массой св. 200 до 20000 кг. Общие технические условия
ГОСТ 15102-75. Контейнер универсальный металлический закрытый номинальной массой брутто 5,0 т. Технические условия
ГОСТ 15527-2004. Сплавы медно-цинковые (латуни), обрабатываемые давлением. Марки
ГОСТ 15846-2002. Продукция, отправляемая в районы Крайнего Севера и приравненные к ним местности. Упаковка, маркировка, транспортирование и хранение
ГОСТ 18242-72 <1>. Статистический приемочный контроль по альтернативному признаку. Планы контроля
--------------------------------
<1> На территории Российской Федерации действует
ГОСТ Р ИСО 2859-1-2007 "Статистические методы. Процедуры выборочного контроля по альтернативному признаку. Часть 1. Планы выборочного контроля последовательных партий на основе приемлемого уровня качества".
ГОСТ 18300-87. Спирт этиловый ректификованный технический. Технические условия
ГОСТ 18321-73. Статистический контроль качества. Методы случайного отбора выборок штучной продукции
ГОСТ 20435-75. Контейнер универсальный металлический закрытый номинальной массой брутто 3,0 т. Технические условия
ГОСТ 21650-76. Средства скрепления тарно-штучных грузов в транспортных пакетах. Общие требования
ГОСТ 22235-2010. Вагоны грузовые магистральных железных дорог колеи 1520 мм. Общие требования по обеспечению сохранности при производстве погрузочно-разгрузочных и маневровых работ
(в ред.
Изменения N 1, введенного в действие Приказом Росстандарта от 26.11.2014 N 1827-ст)
ГОСТ 24047-80. Полуфабрикаты из цветных металлов и их сплавов. Отбор проб для испытания на растяжение
(в ред.
Изменения N 1, введенного в действие Приказом Росстандарта от 26.11.2014 N 1827-ст)
--------------------------------
<*> На территории Российской Федерации действует
ГОСТ Р 53228-2008 "Весы неавтоматического действия. Часть 1. Метрологические и технические требования. Испытания".
(сноска введена
Изменением N 1, введенным в действие Приказом Росстандарта от 26.11.2014 N 1827-ст)
ГОСТ 24231-80. Цветные металлы и сплавы. Общие требования к отбору и подготовке проб для химического анализа
ГОСТ 24597-81. Пакеты тарно-штучных грузов. Основные параметры и размеры
ГОСТ 25336-82. Посуда и оборудование лабораторные стеклянные. Типы, основные параметры и размеры
ГОСТ 25706-83. Лупы. Типы, основные параметры. Общие технические требования
ГОСТ 26663-85. Пакеты транспортные. Формирование с применением средств пакетирования. Общие технические требования
(в ред.
Изменения N 1, введенного в действие Приказом Росстандарта от 26.11.2014 N 1827-ст)
Примечание. При пользовании настоящим стандартом целесообразно проверить действие ссылочных стандартов по указателю "Национальные стандарты", составленному по состоянию на 1 января текущего года, и по соответствующим информационным указателям, опубликованным в текущем году. Если ссылочный стандарт заменен (изменен), то при пользовании настоящим стандартом следует руководствоваться заменяющим (измененным) стандартом. Если ссылочный стандарт отменен без замены, то положение, в котором дана ссылка на него, применяется в части, не затрагивающей эту ссылку.
В настоящем стандарте применены следующие термины с соответствующими определениями:
3.1. Пруток: сплошное изделие однородного сечения по всей длине, в форме круга, квадрата, правильных многоугольников.
3.2. Мерная длина: изделие определенной длины, указанной в заказе.
3.3. Кратная длина: отрезок целого кратного числа основной длины с припуском на резку и допуском на общую длину.
3.4. Плена: дефект поверхности, представляющий собой отслоение металла языкообразной формы, соединенное с основным металлом одной стороной.
3.5. Вмятина: местное углубление различной величины и формы с пологими краями.
3.6. Задир: дефект поверхности в виде углубления с неровным дном и краями, образовавшегося вследствие резкого трения отдельных участков полуфабриката о детали прокатного и отделочного оборудования.
3.7. Кольцеватость: периодически повторяющиеся выступы или углубления металла кольцеобразной или спиралевидной формы.
3.8. Трещина: дефект поверхности, представляющий собой разрыв металла.
3.9. Расслоение: нарушение сплошности металла, ориентированное вдоль направления деформации.
3.10. Риска: дефект поверхности полуфабриката в виде продольного узкого углубления с закругленным или плоским дном, образовавшегося в результате царапания поверхности металла выступами на поверхности прокатного и отделочного оборудования, а также в результате небрежного хранения, упаковки, транспортирования.
3.11. Скручивание: отклонение формы, характеризующееся поворотом поперечного сечения относительно продольной оси прутка.
3.12. Кривизна: отклонение от прямолинейности, при котором не все точки, лежащие на геометрической оси прутка, одинаково удалены от горизонтальной или вертикальной плоскости.
3.13. Косина реза: отклонение от перпендикулярности, при котором плоскость реза образует с продольными плоскостями металлопродукции угол, отличный от 90°.
3.14. Коррозионное растрескивание: разрушительный процесс совместной коррозии и деформации металла за счет остаточных или приложенных напряжений.
3.15. Остаточное растягивающее напряжение: напряжение, остающееся в металле в результате пластической деформации.
3.16. Паучковые трещины: группа трещин, радиально расходящихся от места локального дефекта (удара, забоины, вмятины).
3.17. Радиус закругления угла: величина допускаемого отклонения от формы угла.
3.18. Пресс-утяжина: несплошность прессованного изделия в виде расслоения металла или неплотности, возникающая на конце прессованного изделия, примыкающего к пресс-остатку, в результате неравномерности течения металла при прессовании.
4.1. Номинальный диаметр круглых прутков и предельные отклонения по диаметру должны соответствовать значениям, указанным в таблице 1.
Таблица 1
Номинальный диаметр круглых прутков
и предельные отклонения по диаметру
В миллиметрах
┌─────────────────────────┬───────────────────────────────────────────────┐
│ Номинальный диаметр │ Предельное отклонение по номинальному диаметру│
│ │ при точности изготовления │
│ ├───────────────────────┬───────────────────────┤
│ │ нормальной │ повышенной │
├─────────────────────────┼───────────────────────┼───────────────────────┤
│ 3,0 │ 0 │ 0 │
│ │ -0,06 │ -0,04 │
├─────────────────────────┼───────────────────────┼───────────────────────┤
│ Св. 3,0 до 6,0 включ. │ 0 │ 0 │
│ │ -0,08 │ -0,05 │
├─────────────────────────┼───────────────────────┼───────────────────────┤
│ Св. 6,0 до 10,0 включ. │ 0 │ 0 │
│ │ -0,09 │ -0,06 │
├─────────────────────────┼───────────────────────┼───────────────────────┤
│ Св. 10,0 до 18,0 включ. │ 0 │ 0 │
│ │ -0,11 │ -0,07 │
├─────────────────────────┼───────────────────────┼───────────────────────┤
│ Св. 18,0 до 30,0 включ. │ 0 │ 0 │
│ │ -0,13 │ -0,08 │
├─────────────────────────┼───────────────────────┼───────────────────────┤
│ Св. 30,0 до 50,0 включ. │ 0 │ 0 │
│ │ -0,16 │ -0,10 │
└─────────────────────────┴───────────────────────┴───────────────────────┘
4.2. Номинальный диаметр квадратных и шестигранных прутков, т.е. расстояние между параллельными гранями прутка, и предельные отклонения по диаметру должны соответствовать значениям, указанным в таблице 2.
Таблица 2
Номинальный диаметр квадратных и шестигранных прутков
и предельные отклонения по диаметру
В миллиметрах
┌────────────────────────┬────────────────────────────────────────────────┐
│ Номинальный диаметр │ Предельное отклонение по номинальному диаметру │
│ │ при точности изготовления │
│ ├──────────────────────┬─────────────────────────┤
│ │ нормальной │ повышенной │
├────────────────────────┼──────────────────────┼─────────────────────────┤
│ 3,0 │ 0 │ 0 │
│ │ -0,12 │ -0,06 │
├────────────────────────┼──────────────────────┼─────────────────────────┤
│ Св. 3,0 до 6,0 включ. │ 0 │ 0 │
│ │ -0,12 │ -0,08 │
├────────────────────────┼──────────────────────┼─────────────────────────┤
│ Св. 6,0 до 10,0 включ. │ 0 │ 0 │
│ │ -0,15 │ -0,09 │
├────────────────────────┼──────────────────────┼─────────────────────────┤
│ Св. 10,0 до 18,0 включ.│ 0 │ 0 │
│ │ -0,18 │ -0,11 │
├────────────────────────┼──────────────────────┼─────────────────────────┤
│ Св. 18,0 до 30,0 включ.│ 0 │ 0 │
│ │ -0,21 │ -0,13 │
├────────────────────────┼──────────────────────┼─────────────────────────┤
│ Св. 30,0 до 50,0 включ.│ 0 │ 0 │
│ │ -0,25 │ -0,16 │
├────────────────────────┴──────────────────────┴─────────────────────────┤
│ Примечания. 1. Из сплава марки ЛС63-3 изготовляют только круглые│
│прутки диаметром от 3,0 до 20,0 мм включительно. │
│ 2. За диаметр квадратных и шестигранных прутков принимают│
│диаметр вписанной окружности, т.е. расстояние между параллельными гранями│
│прутка. │
└─────────────────────────────────────────────────────────────────────────┘
4.3. Диаметры, площадь поперечного сечения и теоретическая масса 1 м круглых, квадратных и шестигранных прутков приведены в
Приложении А.
4.4. По длине прутки изготовляют немерной, мерной и кратной мерной длины:
- немерной длины:
от 1500 до 3000 мм - диаметром от 3 до 4 мм включительно;
от 2000 до 5000 мм - диаметром свыше 4 до 40 мм включительно;
от 1000 до 4000 мм - диаметром свыше 40 до 50 мм включительно.
В партии прутков немерной длины допускаются укороченные прутки в количестве не более 10% массы партии:
длиной не менее 1000 мм - для прутков диаметром до 40 мм включительно;
длиной не менее 500 мм - для прутков диаметром свыше 40 мм;
- мерной длины в пределах немерной с предельными отклонениями по длине плюс 15 мм;
- кратной мерной длины в пределах немерной с припуском 5 мм на каждый рез и с допуском по длине, установленным для прутков мерной длины.
Допускается изготовление прутков длиной, не указанной в
4.4. При этом предельные отклонения по длине, косина реза, кривизна, скручивание, радиус закругления продольных ребер прутков и качество поверхности устанавливаются по согласованию потребителя с изготовителем.
4.5. Условные обозначения прутков проставляют по схеме:
Пруток X│ XX│ X │ X │...│...│...│...│ГОСТ 31366-2008│
│ │ │ │ │ │ │ │ │
Способ изготовления │ │ │ │ │ │ │ │ │
─────────────────────┘ │ │ │ │ │ │ │ │
Форма сечения │ │ │ │ │ │ │ │
─────────────────────────┘ │ │ │ │ │ │ │
Точность изготовления │ │ │ │ │ │ │
─────────────────────────────┘ │ │ │ │ │ │
Состояние │ │ │ │ │ │
─────────────────────────────────┘ │ │ │ │ │
Размеры сечения │ │ │ │ │
─────────────────────────────────────┘ │ │ │ │
Длина │ │ │ │
─────────────────────────────────────────┘ │ │ │
Марка латуни │ │ │
─────────────────────────────────────────────┘ │ │
Особые условия │ │
─────────────────────────────────────────────────┘ │
Обозначение настоящего стандарта │
─────────────────────────────────────────────────────────────────┘
При этом используют следующие сокращения:
способ изготовления: холоднодеформированный (тянутый) - Д,
форма сечения: круглый - КР,
квадратный - КВ,
шестигранный - ШГ;
точность изготовления: нормальная - Н,
повышенная - П;
состояние: мягкое - М,
полутвердое - П,
твердое - Т,
без указанных механических свойств - К;
длина: немерная - НД,
кратная мерной - КД;
особые условия: антимагнитный - АМ,
мягкое состояние
повышенной пластичности - Л,
полутвердое состояние
повышенной пластичности - Ф,
твердое состояние
повышенной пластичности - У;
вид угла:
- без закругления - БС,
- с закруглением - СК;
тип фаски прутка:
- тип А - скошенная фаска,
- тип Б - заостренная фаска;
регламентированные требования
по испытанию на растяжение - Р.
Знак "X" ставится вместо отсутствующих данных, кроме обозначения длины и особых условий.
Примеры условных обозначений:
Пруток тянутый, круглый, нормальной точности изготовления, твердый, диаметром 12 мм, немерной длины, из латуни марки ЛС63-3:
Пруток ДКРНТ 12 НД ЛС63-3 ГОСТ 31366-2008.
То же, тянутый, квадратный, нормальной точности изготовления, твердый, диаметром 12 мм, длиной, кратной 1500 мм, из латуни марки ЛС59-1, антимагнитный, повышенной пластичности, с закругленным углом, со скошенной фаской, с регламентированными требованиями по испытанию на растяжение:
Пруток ДКВНТ 12 КД 1500 ЛС59-1 АМ У СК
тип А Р ГОСТ 31366-2008.
То же, тянутый, круглый, повышенной точности изготовления, твердый, диаметром 10 мм, длиной 2000 мм, из латуни марки ЛС63-3:
Пруток ДКРПТ 10 x 2000 ЛС63-3 ГОСТ 31366-2008.
То же, тянутый, круглый, нормальной точности изготовления, полутвердый, диаметром 10 мм, немерной длины, из латуни марки ЛС58-2, повышенной пластичности, с регламентированными требованиями по испытанию на растяжение:
Пруток ДКРНП 10 НД ЛС58-2 Ф Р ГОСТ 31366-2008.
Если в заказе потребителем особые условия не указаны, то прутки изготовляют с условиями исполнения на усмотрение изготовителя.
5. Технические требования
5.1. Прутки изготовляют в соответствии с требованиями настоящего стандарта по технологическому регламенту, утвержденному в установленном порядке.
5.2. Прутки изготовляют из латуни марок: ЛС63-3, ЛС59-1В, ЛС59-1, ЛС58-2, ЛС58-3, ЛС59-2, ЛЖС58-1-1 по
ГОСТ 15527 с химическим составом, указанным в таблице 3.
Таблица 3
Химический состав свинцовых латуней
┌─────────┬─────┬───────────────────────────────────────────────────────────────────────────────┬────────┐
│ Марка │Пре- │ Массовая доля, % │Расчет- │
│ │дел ├───────────────────────────────────────────────────────────────────────┬───────┤ная │
│ │ │ Элемент │Сумма │плот- │
│ │ ├──────┬──────┬──────┬─────┬────┬──────┬─────┬─────┬─────┬────┬─────────┤прочих │ность, │
│ │ │ Cu │ Pb │ Fe │ Sn │Ni │ Al │ Si │ Sb │Bi │ P │ Zn │элемен-│г/см3, │
│ │ │ медь │свинец│железо│олово│ни- │алюми-│крем-│сурь-│вис- │фос-│ цинк │тов │прибли- │
│ │ │ │ │ │ │кель│ний │ний │ ма │мут │фор │ │ │зительно│
├─────────┼─────┼──────┼──────┼──────┼─────┼────┼──────┼─────┼─────┼─────┼────┼─────────┼───────┼────────┤
│ЛС63-3 │Мин. │62,0 -│2,4 - │ - │ - │ - │ - │ - │ - │ - │ - │Остальное│ - │ 8,5 │
│ │Макс.│ 65,0│ 3,0│ 0,1 │0,10 │ - │ - │ - │0,005│0,002│0,01│ - │ 0,25 │ │
├─────────┼─────┼──────┼──────┼──────┼─────┼────┼──────┼─────┼─────┼─────┼────┼─────────┼───────┼────────┤
│ЛС59-1В │Мин. │57,0 -│0,8 - │ - │ - │ - │ - │ - │ - │ - │ - │Остальное│ - │ 8,4 │
│ │Макс.│ 61,0│ 1,9│ 0,5 │ - │ - │ - │ - │0,01 │0,003│0,02│ - │ 1,5 │ │
├─────────┼─────┼──────┼──────┼──────┼─────┼────┼──────┼─────┼─────┼─────┼────┼─────────┼───────┼────────┤
│ЛС59-1 │Мин. │57,0 -│0,8 - │ - │ - │ - │ - │ - │ - │ - │ - │Остальное│ - │ 8,4 │
│ │Макс.│ 60,0│ 1,9│ 0,5 │ 0,3 │ - │ - │ - │0,01 │0,003│0,02│ - │ 0,75 │ │
├─────────┼─────┼──────┼──────┼──────┼─────┼────┼──────┼─────┼─────┼─────┼────┼─────────┼───────┼────────┤
│ЛС58-2 │Мин. │57,0 -│1,0 - │ - │ - │ - │ - │ - │ - │ - │ - │Остальное│ - │ 8,4 │
│ │Макс.│ 60,0│ 3,0│ 0,7 │ 1,0 │0,6 │ 0,3 │ 0,3 │0,01 │ - │ - │ - │ 0,3 │ │
├─────────┼─────┼──────┼──────┼──────┼─────┼────┼──────┼─────┼─────┼─────┼────┼─────────┼───────┼────────┤
│ЛС58-3 │Мин. │57,0 -│2,5 - │ - │ - │ - │ - │ - │ - │ - │ - │Остальное│ - │ 8,45 │
│ │Макс.│ 59,0│ 3,5│ 0,5 │ 0,4 │0,5 │ 0,1 │ - │ - │ - │ - │ - │ 0,2 │ │
├─────────┼─────┼──────┼──────┼──────┼─────┼────┼──────┼─────┼─────┼─────┼────┼─────────┼───────┼────────┤
│ЛС59-2 │Мин. │57,0 -│1,5 - │ - │ - │ - │ - │ - │ - │ - │ - │Остальное│ - │ 8,4 │
│ │Макс.│ 59,0│ 2,5│ 0,4 │ 0,3 │0,4 │ 0,1 │ - │ - │ - │ - │ - │ 0,2 │ │
├─────────┼─────┼──────┼──────┼──────┼─────┼────┼──────┼─────┼─────┼─────┼────┼─────────┼───────┼────────┤
│ЛЖС58-1-1│Мин. │56,0 -│0,7 - │0,7 - │ - │ - │ - │ - │ - │ - │ - │Остальное│ - │ 8,4 │
│ │Макс.│ 58,0│ 1,3│ 1,3│ - │ - │ - │ - │0,01 │0,003│0,02│ - │ 0,5 │ │
├─────────┴─────┴──────┴──────┴──────┴─────┴────┴──────┴─────┴─────┴─────┴────┴─────────┴───────┴────────┤
│ Примечания. 1. В свинцовых латунях допускается массовая доля никеля не │
│более 0,5%, в латунях марок ЛС59-1, ЛС59-1В, ЛС58-2 и ЛС58-3 - не более 1% │
│за счет массовой доли меди, которую не учитывают в общей сумме прочих │
│элементов. │
│ 2. В латуни марки ЛС59-1 сумма элементов олова и кремния должна быть │
│не более 0,5%. │
│ 3. В латунях всех марок можно определять массовую долю олова, │
│алюминия, марганца и кремния. │
│ 4. Для антимагнитных сплавов массовая доля железа не должна быть более │
│0,03%. │
│ 5. В латуни марки ЛС58-2 массовая доля сурьмы допускается не более │
│0,1%. │
│ 6. Расчетная плотность указана для расчета справочной теоретической │
│массы изделий. │
│ 7. Знак "-" обозначает, что данный элемент не нормируется и входит │
│в сумму прочих элементов. │
│ 8. Примеси, не указанные в таблице, учитывают в сумме прочих │
│элементов, перечень которых определяют согласованием между потребителем │
│и изготовителем. │
│ 9. Соответствие обозначений марок латуней по настоящему стандарту │
└────────────────────────────────────────────────────────────────────────────────────────────────────────┘
5.3. По требованию потребителя прутки из сплавов марок ЛС59-1 и ЛС63-3 по
ГОСТ 15527 изготовляют с антимагнитными свойствами.
5.4. Поверхность прутков должна быть свободной от загрязнений, затрудняющих визуальный осмотр, без трещин и расслоений.
На поверхности допускаются плены, вмятины, раковины, риски, задиры и другие дефекты, а также кольцеватость, следы правки, если они при контрольной зачистке не выводят прутки за предельные отклонения по диаметру.
Допускаются следы технологической смазки, а также цвета побежалости и покраснение поверхности после отжига и травления.
5.5. В прутках не допускаются внутренние дефекты в виде раковин, неметаллических включений и пресс-утяжин.
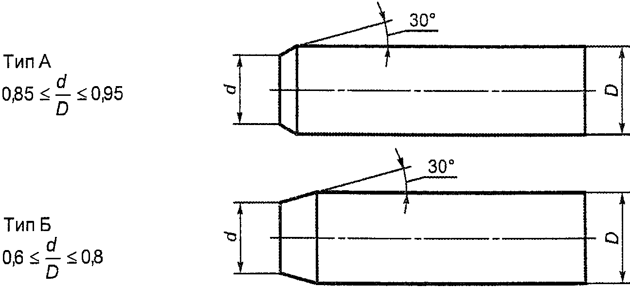
5.6. Прутки круглого, квадратного и шестигранного сечений изготовляют с обрубленными концами, косина реза не регламентируется. Прутки круглого, квадратного и шестигранного сечений диаметром от 3,0 до 30 мм включительно изготовляют с фаской на одном из концов прутка. Прутки изготовляют со скошенной фаской - тип А или с заостренной фаской - тип Б в соответствии с рисунком 1.
D - номинальный диаметр прутка;
d - номинальный диаметр конца фаски.
Рисунок 1. Типы фасок прутков
У прутков круглого, квадратного и шестигранного сечений диаметром свыше 30 мм тип фаски определяют по согласованию потребителя с изготовителем.
По согласованию потребителя с изготовителем допускается:
- изготовление прутков с фаской на обоих концах;
- изготовление прутков с обрезанным концом. При этом косину реза устанавливают по согласованию изготовителя с потребителем;
- изготовление прутков с другими типами фасок.
5.7. Отклонение от формы поперечного сечения допускается в пределах допуска по диаметру.
5.8. Продольные ребра прутков квадратного и шестигранного сечений могут иметь углы, закругленные по всей длине. Допустимые радиусы углов прутков квадратного и шестигранного сечений приведены в таблице 4.
Таблица 4
Допустимые радиусы углов прутков
квадратного и шестигранного сечений
В миллиметрах
┌─────────────────────────────┬───────────────────────────────────────────┐
│ Номинальный диаметр │ Допустимый радиус углов │
│ или расстояние между ├────────────────────┬──────────────────────┤
│параллельными гранями прутка │без закругления, max│ с закруглением │
├─────────────────────────────┼────────────────────┼──────────────────────┤
│ 3,0 │ 0,2 │ Св. 0,2 до 0,3 включ.│
├─────────────────────────────┼────────────────────┼──────────────────────┤
│ Св. 3,0 до 6,0 включ. │ 0,3 │ Св. 0,3 до 0,5 включ.│
├─────────────────────────────┼────────────────────┼──────────────────────┤
│ Св. 6,0 до 10,0 включ. │ 0,4 │ Св. 0,4 до 0,8 включ.│
├─────────────────────────────┼────────────────────┼──────────────────────┤
│ Св. 10,0 до 18,0 включ. │ 0,5 │ Св. 0,5 до 1,2 включ.│
├─────────────────────────────┼────────────────────┼──────────────────────┤
│ Св. 18,0 до 30,0 включ. │ 0,6 │ Св. 0,6 до 1,8 включ.│
├─────────────────────────────┼────────────────────┼──────────────────────┤
│ Св. 30,0 до 50,0 включ. │ 0,7 │ Св. 0,7 до 2,8 включ.│
└─────────────────────────────┴────────────────────┴──────────────────────┘
5.9. У прутков полутвердого и твердого состояний из сплавов всех марок должны быть сняты остаточные растягивающие напряжения термическим (низкотемпературный отжиг) или механическим методом.
5.10. Максимальное скручивание квадратных и шестигранных прутков в полутвердом и твердом состояниях не должно превышать значений, указанных в таблице 5.
Таблица 5
Максимальное скручивание квадратных
и шестигранных прутков
В миллиметрах
┌──────────────────────────────────────┬──────────────────────────────────┐
│ Номинальный диаметр или расстояние │Максимально допустимое скручивание│
│ между параллельными гранями прутка │ на любом 1 м длины прутка │
├──────────────────────────────────────┼──────────────────────────────────┤
│ От 10,0 до 18,0 включ. │ 1,0 │
├──────────────────────────────────────┼──────────────────────────────────┤
│ Св. 18,0 до 30,0 включ. │ 2,0 │
├──────────────────────────────────────┼──────────────────────────────────┤
│ Св. 30,0 до 50,0 включ. │ 3,0 │
└──────────────────────────────────────┴──────────────────────────────────┘
Допуск скручивания на общую длину прутка не должен превышать произведения скручивания на 1 м на общую длину прутка в метрах.
Скручивание для прутков диаметром до 10 мм включительно в полутвердом и твердом состояниях определяется по согласованию потребителя с изготовителем.
Скручивание не регламентируется для прутков в мягком и полутвердом состояниях повышенной пластичности.
5.11. Прутки должны быть выправлены. Максимальная кривизна прутков на 1 м длины не должна превышать значений, указанных в таблице 6.
Таблица 6
Максимальная кривизна прутков
Номинальный диаметр или расстояние между параллельными гранями прутка, мм | Состояние материала | Форма сечения | Максимальная кривизна прутка на 1 м длины прутка, мм |
От 10 до 18 включ. | Полутвердое и твердое | Круглые | 1,25 |
Св. 18 до 50 включ. | Полутвердое | Круглые | 1,00 |
От 10 до 18 включ. | Полутвердое и твердое | Квадратные и шестигранные | 1,25 |
Св. 18 до 50 включ. | Полутвердое | Квадратные и шестигранные | 1,50 |
Общая кривизна прутка не должна превышать произведения значения допуска кривизны на 1 м на общую длину прутка в метрах.
Кривизна для прутков диаметром до 10 мм включительно в полутвердом и твердом состояниях определяется по согласованию потребителя с изготовителем.
Кривизну не устанавливают для прутков в мягком состоянии.
5.12. Механические свойства прутков должны соответствовать требованиям, указанным в таблице 7.
Таблица 7
Механические свойства прутков
Марка латуни | Состояние материала | | Номинальный диаметр или расстояние между параллельными гранями, мм | Временное сопротивление  , МПа (кгс/мм 2), не менее | Относительное удлинение после разрыва, %, не менее | Твердость по Бринеллю или Виккерсу, приблизительно |
| |
ЛС63-3 | Без указанных механических свойств | К | От 3 до 20 включ. | Без указанных механических свойств |
Полутвердое | Р | От 10 до 20 включ. | 350 (36) | - | 12 | 95 |
Твердое | Р | От 3 до 9,5 включ. | 590 (60) | - | - | 155 |
Твердое | Р | От 10 до 14 включ. | 540 (55) | - | - | 143 |
Твердое | Р | От 15 до 20 включ. | 490 (50) | - | - | 130 |
ЛС59-1, ЛС59-1В, ЛС58-2, ЛС58-3, ЛС59-2 | Без указанных механических свойств | К | От 3 до 50 включ. | Без указанных механических свойств |
Мягкое | Р | От 3 до 50 включ. | 330 (34) | 25 | 22 | 80 |
Полутвердое | Р | От 3 до 12 включ. | 410 (42) | 10 | 8 | 120 |
Полутвердое | Р | От 13 до 20 включ. | 390 (40) | 15 | 12 | 120 |
Полутвердое | Р | От 21 до 40 включ. | 390 (40) | 18 | 15 | 120 |
Твердое | Р | От 3 до 30 включ. | 490 (50) | 7 | 5 | 150 |
(в ред. Изменения N 1, введенного в действие Приказом Росстандарта от 26.11.2014 N 1827-ст) |
ЛЖС58-1-1 | Без указанных механических свойств | К | От 3 до 50 включ. | Без указанных механических свойств |
Полутвердое | Р | От 3 до 50 включ. | 440 (45) | - | 10 | 130 |
- Р - по испытанию на растяжение -  ,  или  ; - К - без указанных механических свойств. |
Примечания. 1. Относительное удлинение определяют на коротких  или длинных  образцах по усмотрению изготовителя, если иное не оговорено в заказе. 2. Данные по твердости не являются обязательными требованиями настоящего стандарта, они носят справочный характер. 3. Знак "-" означает, что испытание не проводится. |
5.13. По согласованию потребителя с изготовителем допускается изготовление прутков повышенной пластичности со следующими нормами механических свойств, которые приведены в таблице 8.
Таблица 8
Механические свойства прутков повышенной пластичности
Марка латуни | Состояние материала | | Номинальный диаметр или расстояние между параллельными гранями, мм | Временное сопротивление  , МПа (кгс/мм 2), не менее | Относительное удлинение после разрыва, %, не менее |
| |
ЛС59-1 | Без указанных механических свойств | К | От 3 до 50 включ. | Без указанных механических свойств |
Мягкое | Р | От 3 до 50 включ. | 330 (34) | 32 | 30 |
Полутвердое | Р | От 3 до 12 включ. | 410 (42) | 14 | 12 |
Полутвердое | Р | От 13 до 20 включ. | 390 (40) | 16 | 14 |
Полутвердое | Р | От 21 до 40 включ. | 390 (40) | 20 | 17 |
Твердое | Р | От 3 до 12 включ. | 490 (50) | 12 | 9 |
- Р - по испытанию на растяжение -  ,  или  ; - К - без указанных механических свойств. |
Примечание. Относительное удлинение определяют на коротких  или длинных  образцах по усмотрению изготовителя, если иное не оговорено в заказе. |
6.1. Прутки принимают партиями. Партия должна состоять из прутков одной марки сплава, одной формы сечения, одного размера и одного состояния материала, одной точности изготовления. Партия должна быть оформлена одним документом о качестве, содержащим:
- товарный знак или наименование и товарный знак предприятия-изготовителя;
- наименование страны-изготовителя;
- юридический адрес изготовителя и (или) продавца;
- условное обозначение прутков;
- результаты испытаний (по требованию потребителя);
- номер партии;
- массу партии.
Масса партии должна быть не более 6000 кг.
Допускается оформлять один документ о качестве для нескольких партий прутков, отгружаемых одновременно одному потребителю.
6.2. Проверке размеров подвергают 10% прутков или пучков партии.
6.3. Для контроля качества поверхности прутков от партии отбирают прутки "вслепую" (методом наибольшей объективности) по
ГОСТ 18321. Планы контроля соответствуют
ГОСТ 18242. Количество контролируемых прутков определяют по таблице 9.
Таблица 9
Количество контролируемых прутков
В штуках
Количество прутков в партии | Количество контролируемых прутков | Браковочное число |
2 - 8 | 2 | 1 |
9 - 15 | 3 | 1 |
16 - 25 | 5 | 1 |
26 - 50 | 8 | 2 |
51 - 90 | 13 | 2 |
91 - 150 | 20 | 3 |
151 - 280 | 32 | 4 |
281 - 500 | 50 | 6 |
501 - 1200 | 80 | 8 |
1201 - 3200 | 125 | 11 |
Партия считается годной, если число прутков, не соответствующих требованиям
5.4, менее браковочного числа, приведенного в
таблице 9. В случае, когда браковочное число равно или больше приведенного в
таблице 9, партия бракуется.
Допускается изготовителю, при получении неудовлетворительных результатов, контролировать каждый пруток.
Допускается изготовителю контролировать качество поверхности прутков в процессе производства непосредственно на технологическом оборудовании.
6.4. Для проверки кривизны отбирают не менее трех прутков или трех пучков от 3000 кг и менее.
6.5. Для проверки скручивания отбирают пять прутков или пять пучков от 3000 кг и менее. Если в партии менее пяти прутков, то контролируют 100% прутков.
6.6. Для проверки внутренних дефектов прутков отбирают два прутка или два пучка от 3000 кг и менее.
6.7. Для проверки механических свойств и наличия остаточных растягивающих напряжений отбирают два прутка или два пучка от 3000 кг и менее.
При контроле механических свойств определяют временное сопротивление и относительное удлинение.
6.8. Для проверки химического состава отбирают два прутка или два пучка от 3000 кг и менее. Допускается изготовителю проверку химического состава проводить на пробе, взятой от расплавленного металла.
6.9. При получении неудовлетворительных результатов испытаний хотя бы по одному из показателей, кроме качества поверхности, по нему проводят повторное испытание на удвоенной выборке, взятой от той же партии.
Результаты повторных испытаний распространяют на всю партию.
7. Методы контроля и испытаний
7.1. Поверхность прутков осматривают без применения увеличительных приборов.
7.2. Проверку размеров проводят на каждом прутке, отобранном по
6.2.
7.3. Контроль размеров прутков проводят микрометром по
ГОСТ 6507. Длину прутков измеряют рулеткой по
ГОСТ 7502 или металлической линейкой по
ГОСТ 427. Контроль диаметра прутков проводят на расстоянии не менее 50 мм от конца прутков. Измерение диаметра квадратных и шестигранных прутков проводят по центру граней.
7.4. Скручивание, кривизну, отклонение от формы поперечного сечения прутков измеряют в соответствии с
ГОСТ 26877.
Радиусы закругления углов прутков квадратного и шестигранного сечений обеспечиваются технологией изготовителя. В случае возникновения разногласий величину закругления угла определяют методом оптической проекции.
Для проверки скручивания и кривизны от каждого пучка, взятого от партии, отбирают по одному прутку.
Допускается применение других средств измерений и контроля, обеспечивающих требуемую точность.
7.5. Проверку прутков на наличие внутренних дефектов проводят методом излома. Проверке подвергают оба конца прутка. В изломе прутков не должно быть пресс-утяжин, раковин, неметаллических включений.
На предприятии-изготовителе проверку на наличие внутренних дефектов проводят на прессованной заготовке методом излома или неразрушающим методом контроля по методике изготовителя.
7.6. Для проверки металла на наличие внутренних дефектов путем излома прутки должны быть надрезаны с одной или двух сторон. Надрез должен быть сделан таким образом, чтобы излом проходил через центральную часть прутка.
Ширина излома должна быть:
- не менее 60% диаметра - для прутков диаметром до 16 мм включительно;
- не менее 10 мм - для прутков диаметром более 16 мм.
Осмотр излома проводят визуально без применения увеличительных приборов.
7.7. Испытание прутков на растяжение (определение временного сопротивления и относительного удлинения после разрыва) проводят на образцах, взятых от каждого отобранного от партии прутка или пучка. От каждого отобранного прутка или пучка отбирают по одному образцу.
Отбор проб для испытания на растяжение проводят по
ГОСТ 24047.
Допускается для прутков площадью поперечного сечения до 120 мм2 вытачивать образцы диаметром 6,0; 8,0; 10,0 мм из центральной части прутка.
Испытание на растяжение проводят по
ГОСТ 1497.
7.8. Для проверки химического состава отбирают по одному образцу от каждого отобранного по
6.8 прутка и по одному образцу от каждого отобранного пучка. Отбор и подготовку проб для химического анализа проводят по
ГОСТ 24231.
Химический состав прутков, включая сплавы ЛС59-1В, ЛС58-2, ЛС58-3 и ЛС59-2, определяют по ГОСТ 1652.1 - ГОСТ 1652.13, ГОСТ 9716.1 - ГОСТ 9716.3 или другими методами, не уступающими по точности стандартным.
При возникновении разногласий в оценке качества химический состав прутков определяют по ГОСТ 1652.1 - ГОСТ 1652.13, ГОСТ 9716.1 - ГОСТ 9716.3.
7.9. Снятие остаточных растягивающих напряжений на прутках обеспечивается технологией изготовителя.
Наличие остаточных растягивающих напряжений контролируют ртутной пробой по методу, приведенному в
Приложении В, или аммиачным способом по методу, приведенному в
Приложении Г, по выбору изготовителя.
В случае возникновения разногласий в оценке качества прутков наличие остаточных растягивающих напряжений контролируют ртутной пробой.
7.10. Допускается по согласованию изготовителя с потребителем применять статистические методы контроля размеров, кривизны, скручивания, отклонения от формы поперечного сечения и механических свойств прутков, при этом количество контролируемых прутков определяют по
таблице 9.
7.11. Допускается изготовителю применять другие методы испытаний, обеспечивающие необходимую точность, установленную в настоящем стандарте.
7.12. При разногласиях в оценке качества прутков потребитель и изготовитель руководствуются требованиями, установленными настоящим стандартом.
8. Маркировка, упаковка, транспортирование и хранение
8.1. К каждому пучку должен быть прикреплен металлический, фанерный или пластиковый ярлык, на котором указывают:
- товарный знак или наименование и товарный знак предприятия-изготовителя;
- наименование страны-изготовителя;
- условное обозначение прутков;
- номер партии;
- штамп технического контроля или номер контролера.
На торце прутков диаметром более 40 мм должны быть выбиты:
- марка сплава или условное обозначение марки сплава;
- номер партии;
- клеймо технического контроля.
Допускается указанные данные наносить несмываемой краской на боковой поверхности прутка или наносить на самоклеящийся стикер, который крепится на торец или боковую поверхность прутка.
(в ред.
Изменения N 1, введенного в действие Приказом Росстандарта от 26.11.2014 N 1827-ст)
По согласованию изготовителя с потребителем допускается прутки отправлять без маркировки при наличии на пакете транспортной бирки, на которой указаны марка сплава, размер прутка и номер партии.
(абзац введен
Изменением N 1, введенным в действие Приказом Росстандарта от 26.11.2014 N 1827-ст)
Условные обозначения марок сплава приведены в таблице 10.
Таблица 10
Условные обозначения марок сплава
Марка сплава | Обозначение |
ЛС59-1 | М |
ЛС59-1 антимагнитный | МА |
ЛС59-1В | МВ |
ЛС63-3 | Л63-3 |
ЛС63-3 антимагнитный | Л63-3А |
ЛЖС58-1-1 | ЛЖС |
ЛС58-2 | Л58-2 |
ЛС58-3 | Л58-3 |
ЛС59-2 | Л59-2 |
8.2. Прутки диаметром до 16 мм включительно упаковывают в деревянные ящики типов I, II - 1, III - 1 по
ГОСТ 2991,
ГОСТ 10198. Размеры ящиков - по
ГОСТ 21140. Допускается упаковывание в возвратные металлические контейнеры по
ГОСТ 15102,
ГОСТ 20435.
По согласованию потребителя с изготовителем допускается прутки диаметром до 16 мм включительно упаковывать в синтетические или нетканые материалы без упаковывания в ящики.
8.3. Прутки диаметром свыше 16 мм связывают в пучки массой не более 1000 кг каждый.
По требованию потребителя допускается увязка прутков в пучки массой до 1500 кг или до 80 кг.
Каждый пучок должен состоять не менее чем из трех прутков. Каждый пучок должен быть перевязан полиэстеровой лентой по нормативному документу или стальной лентой по
ГОСТ 3560 размером не менее 0,8 x 25 мм или стальной проволокой в два оборота диаметром не менее 1,2 мм по
ГОСТ 3282 не менее чем в трех местах, чтобы исключалось взаимное перемещение прутков в пучке. Концы проволоки соединяют скруткой не менее пяти витков. Под перевязочную ленту или проволоку должна быть проложена прокладка из картона или упаковочной ткани.
8.4. Укрупнение грузовых мест в транспортные пакеты проводят в соответствии с требованиями
ГОСТ 26663.
Габаритные размеры и масса пакетов - по
ГОСТ 24597.
Средства скрепления в транспортные пакеты - по
ГОСТ 21650.
Максимальная допустимая масса грузового места - 5000 кг.
Максимальная масса грузового места при железнодорожных перевозках должна соответствовать требованиям
ГОСТ 22235.
Масса транспортного пакета при транспортировании в крытых вагонах не должна превышать 1250 кг.
Допускается транспортировать прутки в пакетах массой до 1500 кг без увязки в пучки, при отсутствии перегрузки в пути.
8.5. Пакетирование ящиков, пучков и отдельных прутков, не связанных в пучки, осуществляют без поддонов с использованием брусков высотой не менее 70 мм или на поддонах по
ГОСТ 9557 при длине прутка не более 1,2 м с обвязкой проволокой диаметром не менее 2 мм в два оборота по
ГОСТ 3282 или полиэстеровой лентой по нормативному документу, или стальной лентой по
ГОСТ 3560 размером не менее 0,5 x 20 мм, а также с использованием пакетируемых строп из проволоки по
ГОСТ 3282 диаметром не менее 5 мм со скруткой не менее трех витков.
8.6. Требования к средствам пакетирования и упаковке прутков, отправляемых в районы Крайнего Севера и приравненные к ним местности, - по
ГОСТ 15846.
8.7. Прутки транспортируют транспортом всех видов в крытых транспортных средствах в соответствии с правилами перевозки грузов, действующими на транспорте данного вида.
8.8. Транспортная маркировка - по
ГОСТ 14192 с нанесением дополнительно номера партии.
8.9. Прутки должны храниться в крытых помещениях и быть защищены от механических повреждений, действия влаги и активных химических веществ.
9.1. Изготовитель гарантирует соответствие прутков требованиям настоящего стандарта при условии соблюдения потребителем условий транспортирования и хранения.
9.2. Исключен с 1 сентября 2015 года. -
Изменение N 1, введенное в действие Приказом Росстандарта от 26.11.2014 N 1827-ст.
9.3. Исключен с 1 сентября 2015 года. -
Изменение N 1, введенное в действие Приказом Росстандарта от 26.11.2014 N 1827-ст.
(справочное)
ДИАМЕТРЫ, ПЛОЩАДЬ ПОПЕРЕЧНОГО СЕЧЕНИЯ
И ТЕОРЕТИЧЕСКАЯ МАССА 1 М КРУГЛЫХ,
КВАДРАТНЫХ И ШЕСТИГРАННЫХ ПРУТКОВ
Таблица А.1
Номинальный диаметр или расстояние между параллельными гранями прутка, мм | Площадь поперечного сечения прутков, мм2 | Теоретическая масса 1 м прутков, кг |
круглых | квадратных | шестигранных | круглых | квадратных | шестигранных |
3,0 | 7,07 | 9,0 | 7,8 | 0,060 | 0,08 | 0,07 |
3,5 | 9,62 | 12,3 | 10,6 | 0,080 | 0,10 | 0,09 |
4,0 | 12,57 | 16,0 | 13,9 | 0,106 | 0,14 | 0,12 |
4,5 | 15,90 | 20,3 | 17,5 | 0,135 | 0,17 | 0,15 |
5,0 | 19,6 | 25,0 | 21,7 | 0,17 | 0,21 | 0,18 |
5,5 | 23,8 | 30,3 | 26,2 | 0,20 | 0,26 | 0,22 |
6,0 | 28,3 | 36,0 | 31,2 | 0,24 | 0,31 | 0,27 |
6,5 | 33,2 | 42,3 | 36,6 | 0,28 | 0,36 | 0,31 |
7,0 | 38,5 | 49,0 | 42,4 | 0,33 | 0,42 | 0,36 |
7,5 | 44,2 | 56,2 | 48,7 | 0,38 | 0,48 | 0,42 |
8,0 | 50,3 | 64,0 | 55,4 | 0,43 | 0,54 | 0,47 |
8,5 | 56,7 | 72,2 | 62,6 | 0,48 | 0,61 | 0,53 |
9,0 | 63,6 | 81,0 | 70,2 | 0,54 | 0,69 | 0,60 |
9,5 | 70,9 | 90,2 | 78,2 | 0,60 | 0,77 | 0,66 |
10,0 | 78,5 | 100,0 | 86,6 | 0,67 | 0,85 | 0,74 |
11,0 | 95,0 | 121,0 | 104,8 | 0,81 | 1,03 | 0,89 |
12,0 | 113,1 | 144,0 | 124,7 | 0,96 | 1,22 | 1,06 |
13,0 | 132,7 | 169,0 | 145,4 | 1,13 | 1,44 | 1,26 |
14,0 | 153,9 | 196,0 | 169,7 | 1,31 | 1,67 | 1,44 |
15,0 | 176,7 | 225,0 | 194,9 | 1,50 | 1,91 | 1,66 |
16,0 | 201,1 | 256,0 | 221,7 | 1,71 | 2,18 | 1,88 |
17,0 | 227,0 | 289,0 | 250,3 | 1,93 | 2,46 | 2,13 |
18,0 | 254,5 | 324,0 | 280,6 | 2,16 | 2,75 | 2,39 |
19,0 | 283,5 | 361,0 | 312,6 | 2,41 | 3,07 | 2,66 |
20,0 | 314,2 | 400,0 | 346,4 | 2,67 | 3,40 | 2,94 |
21,0 | 346,4 | 441,0 | 381,9 | 2,94 | 3,75 | 3,25 |
22,0 | 380,1 | 484,0 | 419,1 | 3,23 | 4,11 | 3,56 |
23,0 | 415,3 | 529,0 | 458,1 | 3,53 | 4,50 | 3,89 |
24,0 | 452,4 | 576,0 | 498,8 | 3,85 | 4,90 | 4,24 |
25,0 | 490,9 | 625,0 | 541,3 | 4,17 | 5,31 | 4,60 |
26,0 | 530,9 | 676,0 | 585,5 | 4,51 | 5,75 | 4,98 |
27,0 | 572,6 | 729,0 | 631,0 | 4,87 | 6,20 | 5,36 |
28,0 | 615,8 | 784,0 | 679,0 | 5,23 | 6,66 | 5,77 |
30,0 | 706,9 | 900,0 | 779,0 | 6,01 | 7,65 | 6,62 |
32,0 | 804,2 | 1024,0 | 887,0 | 6,84 | 8,70 | 7,54 |
35,0 | 962,1 | 1225,0 | 1060,9 | 8,18 | 10,41 | 9,02 |
36,0 | 1017,9 | 1296,0 | 1122,0 | 8,65 | 11,02 | 9,54 |
38,0 | 1134,1 | 1444,0 | 1250,5 | 9,64 | 12,27 | 10,63 |
40,0 | 1256,6 | 1600,0 | 1385,7 | 10,68 | 13,60 | 11,78 |
41,0 | 1319,6 | 1681,0 | 1456,0 | 11,22 | 14,29 | 12,38 |
42,0 | 1385,4 | 1764,0 | 1527,6 | 11,78 | 14,99 | 12,98 |
45,0 | 1590,4 | 2025,0 | 1753,8 | 13,52 | 17,21 | 14,91 |
46,0 | 1661,1 | 2116,0 | 1832,0 | 14,12 | 17,99 | 15,57 |
48,0 | 1809,6 | 2304,0 | 1995,3 | 15,33 | 19,58 | 16,96 |
50,0 | 1963,5 | 2500,0 | 2190,0 | 16,69 | 21,25 | 18,40 |
Примечание. При вычислении теоретической массы плотность латуни принята равной 8,5 г/см3. |
(справочное)
СООТВЕТСТВИЕ ОБОЗНАЧЕНИЙ МАРОК ЛАТУНЕЙ
ПО НАСТОЯЩЕМУ СТАНДАРТУ И ЕН 12164:1998
Таблица Б.1
По настоящему стандарту | По ЕН 12164:1998 |
ЛС63-3 | Нет аналога |
ЛС59-1В | Нет аналога |
ЛС59-1 | Нет аналога |
ЛС58-2 | Нет аналога |
ЛС58-3 | CuZn39Pb3 |
ЛС59-2 | CuZn40Pb2 |
ЛЖС58-1-1 | Нет аналога |
(рекомендуемое)
КОНТРОЛЯ ЛАТУННЫХ ПРУТКОВ НА НАЛИЧИЕ
ОСТАТОЧНЫХ РАСТЯГИВАЮЩИХ НАПРЯЖЕНИЙ РТУТНОЙ ПРОБОЙ
Настоящее приложение устанавливает метод ускоренного испытания латунных прутков на наличие остаточных растягивающих напряжений в растворе азотнокислой ртути.
В.1. Аппаратура, реактивы и растворы
Стандартные растворы ртути.
Раствор А: 11,4 г азотнокислой 2-водной ртути или 10,7 г азотнокислой 1-водной ртути растворяют в 40 см3 дистиллированной воды, подкисленной 10 см3 азотной кислоты. После полного растворения кристаллов раствор разбавляют дистиллированной водой до 1000 см3.
Раствор Б: 76 г ртути растворяют в 114 см3 разбавленной в соотношении 1:1 (одна часть воды и одна часть кислоты) азотной кислоты. Объем полученного раствора доводят до 1000 см3, постепенно добавляя дистиллированную воду при постоянном перемешивании.
Избыток кислоты при растворении необходим для предотвращения осаждения основных солей ртути.
Полученный раствор содержит 100 г азотнокислой ртути на 1 дм3 и избыток (30 см3) азотной кислоты.
Для проведения испытания отбирают 100 см3 раствора, добавляют 7 см3 раствора азотной кислоты с массовой долей 10% и доводят объем раствора водой до 1000 см3.
В.2. Подготовка к испытанию
В.2.1. Длина образцов должна быть не менее 150 мм.
Примечание. Образцы следует маркировать таким образом, чтобы не возникали остаточные напряжения.
В.2.2. Образцы должны быть обезжирены и не должны иметь окисных пленок и дефектов поверхности.
Для удаления окисных пленок образцы погружают в водный раствор серной кислоты с массовой долей 15% или раствор азотной кислоты с массовой долей 40% на 30 с.
После травления образцы сразу тщательно промывают в проточной воде, затем удаляют с их поверхности остатки воды.
В.2.3. При приготовлении растворов А и Б следует учитывать содержание кристаллизованной воды в соли азотнокислой ртути, так как азотнокислая ртуть светочувствительна и переходит в труднорастворимую форму.
В.2.4. При нагревании и в процессе приготовления растворов А и Б необходимо исключить потерю азотнокислой ртути.
В.2.5. При приготовлении растворов А и Б необходимо пользоваться резиновыми перчатками.
В.2.6. Удаление ртути необходимо проводить на специальном оборудовании.
В.3. Проведение испытания
В.3.1. Образцы погружают в раствор А или Б. При частичном погружении образца в раствор азотнокислой ртути длина погружаемой части должна быть не менее указанной в
В.2.1.
Расход раствора А или Б должен быть не менее 1,5 см3 на 1 см2 поверхности образца.
В.3.2. Испытания проводят при комнатной температуре.
В.3.3. Через 30 мин образец извлекают из раствора азотнокислой ртути и промывают проточной водой. С поверхности образца удаляют избыток ртути.
В.3.4. Осмотр образца осуществляют после испытания не ранее чем через 30 мин, если в технических условиях не указывается другое время выдержки.
В.4. Оценка результатов
В.4.1. Оценку остаточных растягивающих напряжений проводят по результатам осмотра поверхности образца, прошедшего испытания.
Образцы осматривают с помощью лупы при 10 - 18-кратном увеличении.
В.4.2. При возникновении сомнений относительно трещин ртуть с поверхности образца следует удалить нагревом в печи.
(рекомендуемое)
КОНТРОЛЯ ЛАТУННЫХ ПРУТКОВ НА НАЛИЧИЕ
ОСТАТОЧНЫХ РАСТЯГИВАЮЩИХ НАПРЯЖЕНИЙ АММИАЧНЫМ СПОСОБОМ
Контроль латунных прутков на наличие остаточных растягивающих напряжений, вызывающих коррозионное растрескивание сплава, проводят в среде аммиака в течение 24 ч.
Г.1. Оборудование и материалы
Весы лабораторные по
ГОСТ 24104 или другие, обеспечивающие погрешность взвешивания +/- 0,1 г.
pH-метр-милливольтметр типа РН-150 или другое оборудование, обеспечивающее погрешность определения pH +/- 0,05.
Стакан мерный, колба мерная вместимостью 1 дм
3 по
ГОСТ 1770.
Натрия гидроокись по
ГОСТ 4328, 30%-ный раствор.
Г.2. Условия проведения испытания
Г.2.1. Температура окружающего воздуха - от 20 °C до 30 °C. При проведении арбитражных испытаний температура окружающего воздуха должна быть (25 +/- 1) °C.
Г.2.2. Механические воздействия должны отсутствовать.
Г.3. Подготовка образцов к испытанию
Г.3.1. Образцы представляют собой отрезки длиной (100 +/- 10) мм.
Г.3.2. Образцы не должны иметь раковин, царапин, вмятин и других дефектов.
Г.3.3. Перед испытанием образцы обезжиривают путем протирания бензином или спиртом. Загрязнения или остатки смазки должны быть полностью удалены с поверхности образцов.
Г.3.4. Для удаления окислов поверхность образцов травят 5%-ным раствором серной кислоты в течение 30 - 60 с.
Г.3.5. После травления образцы промывают в проточной воде и тщательно высушивают.
Г.4. Подготовка среды для испытания
Г.4.1. Навеску хлористого аммония (107 +/- 0,1) г помещают в стакан вместимостью 1 дм3 и растворяют в воде. Объем доводят до 500 см3.
Г.4.2. Устанавливают pH раствора хлористого аммония 9,4 - 9,6, добавляя небольшими порциями в раствор хлористого аммония 30% - 50%-ный раствор гидроокиси натрия до необходимого значения pH. Измерение pH раствора проводят на pH-метре.
Г.4.3. Титрованный раствор хлористого аммония переносят в мерную колбу вместимостью 1 дм3 и доливают до метки дистиллированной водой. Еще раз проверяют значение pH 9,4 - 9,6.
Г.5. Проведение испытания
Г.5.1. Для проведения испытания используют свежеприготовленный раствор хлористого аммония со значением pH 9,4 - 9,6.
Г.5.2. Объем раствора для испытания должен составлять 200 см3 на 1 дм3 общего объема сосуда.
Г.5.3. Сухие образцы помещают на подставке таким образом, чтобы пары аммиака имели свободный доступ к поверхности испытуемого образца. Эксикатор герметично закрывают.
Г.5.4. Испытание проводят в течение 24 ч.
Г.5.5. После испытания образцы вынимают из эксикатора.
Г.5.6. Для удаления продуктов коррозии образцы очищают в травильном растворе 5%-ной серной кислоты с добавлением 20 - 50 см3 перекиси водорода на 1 дм3 травильного раствора (для осветления поверхности образца).
Г.6. Оценка и оформление результатов
Г.6.1. Осмотр поверхности образца проводят визуально без применения увеличительных приборов.
Г.6.2. Трещины, обнаруженные на расстоянии не более 10 мм от места реза, и паучковые не учитывают.
Г.6.3. Образцы считают выдержавшими испытание, если на поверхности образца отсутствуют продольные трещины.
Г.7. Техника безопасности
Г.7.1. При испытаниях необходимо соблюдать правила проведения работ в химической лаборатории.