Главная // Актуальные документы // ГОСТ (Государственный стандарт)СПРАВКА
Источник публикации
М.: Издательство стандартов, 2003
Примечание к документу
Документ утратил силу с 1 января 2015 года в связи с изданием
Приказа Росстандарта от 22.11.2013 N 1834-ст. Взамен введен в действие
ГОСТ 2184-2013.
С 1 июля 2003 года до вступления в силу технических регламентов акты федеральных органов исполнительной власти в сфере технического регулирования носят рекомендательный характер и подлежат обязательному исполнению только в части, соответствующей целям, указанным в
пункте 1 статьи 46 Федерального закона от 27.12.2002 N 184-ФЗ.
Ограничение срока действие снято по Протоколу N 2-92 Межгосударственного совета по стандартизации, метрологии и сертификации (ИУС 2-93).
Введен в действие с 1 июля 1978 года.
Взамен ГОСТ 2184-67, ГОСТ 5.556-70.
Название документа
"ГОСТ 2184-77. Кислота серная техническая. Технические условия"
(утв. Постановлением Госстандарта СССР от 29.09.1977 N 2345)
(ред. от 01.06.1990)
"ГОСТ 2184-77. Кислота серная техническая. Технические условия"
(утв. Постановлением Госстандарта СССР от 29.09.1977 N 2345)
(ред. от 01.06.1990)
Утвержден и введен в действие
Постановлением Госстандарта СССР
от 29 сентября 1977 г. N 2345
МЕЖГОСУДАРСТВЕННЫЙ СТАНДАРТ
КИСЛОТА СЕРНАЯ ТЕХНИЧЕСКАЯ
ТЕХНИЧЕСКИЕ УСЛОВИЯ
Sulphuric acid for industrial use.
Specifications
ГОСТ 2184-77
| | Список изменяющих документов (в ред. Изменения N 1, утв. в апреле 1979 г., Изменения N 2, утв. в июле 1982 г., Изменения N 3, утв. в октябре 1987 г., Изменения N 4, утв. в июне 1990 г.) | |
Дата введения
1 июля 1978 года
1. Разработан и внесен Министерством по производству минеральных удобрений.
Разработчики: В.М. Борисов, А.Я. Сырченков, Ю.В. Филатов, М.М. Шаров, П.М. Зайцев, Е.И. Макарова, С.Т. Мамаева.
2. Утвержден и введен в действие Постановлением Государственного комитета стандартов Совета Министров СССР от 29.09.1977 N 2345.
3. Взамен ГОСТ 2184-67, ГОСТ 5.556-70.
4. Ссылочные нормативно-технические документы
─────────────────────────────────┬────────────────────────────────
Обозначение НТД, на который │ Номер пункта, подпункта
дана ссылка │
─────────────────────────────────┼────────────────────────────────
ГОСТ 127.1-93 - ГОСТ 127.5-93 │
2.5
ИС МЕГАНОРМ: примечание.
Взамен ГОСТ 24104-88 Постановлением Госстандарта РФ от
26.10.2001 N 439-ст с 1 июля 2002 года введен в действие
5. Ограничение срока действия снято по Протоколу N 2-92 Межгосударственного совета по стандартизации, метрологии и сертификации (ИУС 2-93).
6. Издание (апрель 2003 г.) с Изменениями N 1, 2, 3, 4, утвержденными в апреле 1979 г., июле 1982 г., октябре 1987 г., июне 1990 г. (ИУС 6-79, 10-82, 1-88, 10-90).
Настоящий стандарт распространяется на техническую серную кислоту следующих видов: контактную (улучшенную и техническую); олеум (улучшенный и технический); башенную и регенерированную.
Техническая серная кислота предназначается для производства удобрений, искусственного волокна, капролактама, двуокиси титана, этилового спирта, анилиновых красителей и целого ряда других производств.
1. ТЕХНИЧЕСКИЕ ТРЕБОВАНИЯ
1.1. Серная кислота должна быть изготовлена в соответствии с требованиями настоящего стандарта по технологическому регламенту, утвержденному в установленном порядке.
1.2. По физико-химическим показателям серная кислота должна соответствовать нормам, указанным в табл. 1.
Таблица 1
───────────────────────┬───────────────────────────────────────────────────
Наименование показателя│ Норма
├──────────────────────┬────────────────┬─────┬─────
│ Контактная │ Олеум │Ба- │Реге-
├───────┬──────────────┼───────┬────────┤шен- │нери-
│улуч- │ техническая │улуч- │техниче-│ная │ро-
│шенная │ │шенный │ский │ │ван-
│ ├───────┬──────┤ │ │ │ная
│ │ 1-й │ 2-й │ │ │ │
│ │ сорт │ сорт │ │ │ │
───────────────────────┼───────┴───────┴──────┴───────┴────────┴─────┴─────
1. Исключен (Изм. N 3).│
2. Массовая доля моно- │92,5 - │Не менее 92,5 │Не нормируется │ Не │ Не
гидрата (H SO ), % │94,0 │ │ │менее│менее
2 4 │ │ │ │ 75 │ 91
3. Массовая доля сво- │ - │ - │ - │ 24 │ 19 │ - │ -
бодного серного ангид- │ │ │ │ │ │ │
рида (SO ), %, не менее│ │ │ │ │ │ │
3 │ │ │ │ │ │ │
4. Массовая доля железа│0,006 │ 0,02 │ 0,1 │0,006 │Не │ 0,05│ 0,2
(Fe), %, не более │ │ │ │ │нормиру-│ │
│ │ │ │ │ется │ │
5. Массовая доля остат-│0,02 │ 0,05 │Не │0,02 │ То же │ 0,3 │ 0,4
ка после прокаливания, │ │ │норми-│ │ │ │
%, не более │ │ │руется│ │ │ │
6. Массовая доля окис- │0,00005│Не нормируется│0,0002 │Не │ 0,05│ 0,01
лов азота (N O ), %, не│ │ │ │нормиру-│ │
2 3 │ │ │ │ется │ │
более │ │ │ │ │ │
7. Массовая доля нитро-│ Не нормируется │ 0,2
соединений, %, не более│ │
8. Массовая доля мышья-│0,00008│Не нормируется│0,00008│ Не нормируется
ка (As), %, не более │ │ │ │
9. Массовая доля хло- │0,0001 │ Не нормируется
ристых соединений (Cl),│ │
%, не более │ │
10. Массовая доля свин-│0,001 │Не нормируется│0,0001 │ Не нормируется
ца (Pb), %, не более │ │ │ │
11. Прозрачность │Проз- │ Не нормируется
│рачная │
│без │
│разба- │
│вления │
12. Цвет, см3 раствора │ 1 │ 6 │ Не нормируется
сравнения, не более │ │ │
Примечания. 1. (Исключено, Изм. N 1).
2. В период с 1 ноября по 15 апреля предприятия-изготовители, не снабжающие юг Украины, Крым, Молдавию, Кавказ, республики Средней Азии, кроме Казахстана, и другие аналогичные по климатическим условиям районы, должны поставлять контактную техническую серную кислоту с массовой долей моногидрата не более 94,0%, башенную серную кислоту с массовой долей моногидрата 74,5 - 75,5%.
3. В период с 15 апреля по 1 ноября разрешается поставлять контактную техническую и регенерированную серные кислоты, производимые способом мокрого катализа, с массовой долей моногидрата не менее 90%.
4. По согласованию с потребителем разрешается поставлять улучшенную и техническую серные кислоты с массовой долей моногидрата до 98%.
5. По требованию потребителей улучшенный олеум, предназначенный для производства капролактама, должен поставляться с массовой долей свободного серного ангидрида не менее 19%.
6. Серная кислота, предназначенная для медицинской промышленности, должна выдерживать испытание по
п. 3.15 на массовую долю нитратного азота (

).
7. По требованию потребителей в серной кислоте нормируется массовая доля меди и селена, норма для меди не должна быть более 0,0005%, для селена - устанавливается по согласованию с потребителем.
8. По согласованию с потребителем допускается изготовлять улучшенную серную кислоту с массовой долей окислов азота не более 0,0005%. Данное примечание не распространяется на предприятия по производству химических волокон.
9. По согласованию с потребителем в период с 15 апреля по 1 ноября допускается в улучшенной серной кислоте массовая доля железа не более 0,007%.
10. Допускается в контактной технической серной кислоте 1-го сорта, вырабатываемой на установках, в которых в качестве сырья используются кислые гудроны комплекса "Парекс", цвет, имеющий оттенок от розового до фиолетового.
(Измененная редакция, Изм. N 1, 3, 4).
1.3. Коды ОКП технической серной кислоты приведены в табл. 1а.
Таблица 1а
───────────────┬────────────────┬────────────────┬────────────────
Вид кислоты │ Код ОКП │ Вид кислоты │ Код ОКП
───────────────┼────────────────┼────────────────┼────────────────
Контактная: │ │Олеум: │
улучшенная │ 21 2111 0100 │ улучшенный │ 21 2111 0600
техническая: │ 21 2111 0300 │ технический │ 21 2111 0650
1-го сорта │ 21 2111 0330 │Башенная │ 21 2112 0100
2-го сорта │ 21 2111 0340 │Регенерированная│ 21 2129 0700
(Измененная редакция, Изм. N 3).
2.1. Серная кислота принимается партиями. Партией считают количество продукта, однородного по своим качественным показателям, сопровождаемого одним документом о качестве. При отгрузке продукции в цистернах или контейнерах за партию принимают не более 10 цистерн или контейнеров, а для контактной улучшенной кислоты и улучшенного олеума - не более одной цистерны или одного контейнера. Размер партии при отгрузке продукции в бочках - не более 20 т. При транспортировании серной кислоты по трубопроводу партией считают сменную выработку.
Документ о качестве должен содержать:
наименование предприятия-изготовителя и (или) его товарный знак;
наименование продукта, его вид, марку и сорт;
обозначение настоящего стандарта;
номер партии;
номер цистерны, контейнера;
дату отгрузки;
массу нетто;
результаты анализа или подтверждение о соответствии качества продукта требованиям настоящего стандарта;
подпись или штамп технического контроля.
Допускается готовой продукцией считать серную кислоту, залитую в емкости на складе и принятую в установленном порядке техническим контролем предприятия-изготовителя и госприемкой.
Допускается результаты анализа качества серной кислоты, находящейся в емкости на складе изготовителя, распространять на все формируемые из нее партии.
2.2. Для контроля качества серной кислоты пробу отбирают от каждой цистерны, контейнера, резервуара или 5% бочек, но не менее трех при партиях менее 60 бочек.
2.1, 2.2. (Измененная редакция, Изм. N 1, 3).
2.3. При получении неудовлетворительных результатов анализа хотя бы по одному из показателей проводят повторный анализ на удвоенном количестве проб, взятых от той же партии (для цистерн, контейнеров и резервуаров) или на удвоенной выборке (для бочек). Результаты повторного анализа распространяются на всю партию.
2.4. Определение свинца изготовитель проводит по требованию потребителя, определение хлора, окислов азота и нитросоединений - не реже одного раза в квартал.
(Измененная редакция, Изм. N 2, 3).
2.5. На предприятиях-изготовителях, работающих на природной и газовой сере по ГОСТ 127.1 - ГОСТ 127.5 и сероводороде, содержание мышьяка, хлористых соединений, селена и меди не определяется.
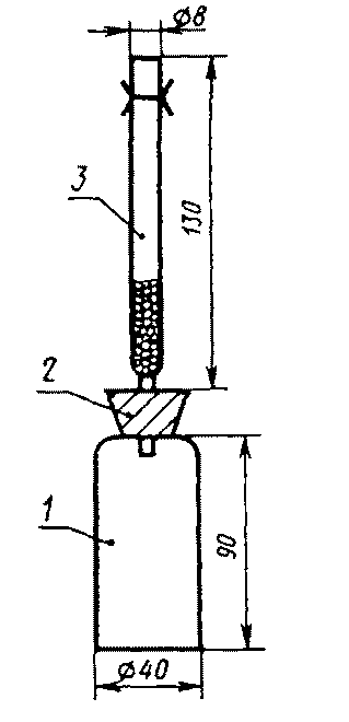
3.1. Отбор проб
Точечные пробы из каждой цистерны, контейнера или резервуара отбирают пробоотборником из нержавеющей стали 10Х17Н13М2Т (черт. 1) или другого кислотостойкого материала, не ухудшающего качество отбираемой серной кислоты, прикрепленным к цепи или тросику, изготовленным из кислотостойкой стали, медленно погружая его до дна.
Пробоотборник
1 - носок для слива; 2 - цепь
Черт. 1
Точечные пробы из бочек отбирают стеклянной трубкой (с резиновой грушей), достигающей до дна бочки.
Отбор проб олеума у потребителя должен производиться после разогрева цистерны при температуре воздуха ниже 0 °С для технического олеума и ниже +10 °С - для улучшенного олеума.
Объем точечной пробы - не менее 0,5 дм3.
При транспортировании олеума по трубопроводу пробу отбирают не реже одного раза в смену во время перекачки в стеклянную сухую банку с притертой пробкой из точки, смонтированной на нагнетательном трубопроводе.
Отобранные точечные пробы сливают в герметически закрывающуюся емкость из нержавеющей стали или другого кислотостойкого материала, не ухудшающего качество серной кислоты. Полученную пробу тщательно перемешивают стеклянной палочкой и отбирают среднюю пробу объемом не менее 0,5 дм3 в стеклянную чистую сухую склянку вместимостью 0,5 - 1,0 дм3 с притертой стеклянной пробкой.
На склянку наклеивают этикетку с обозначением: наименования продукта, номера партии и даты отбора пробы; допускается нанесение их непосредственно на склянку.
(Измененная редакция, Изм. N 3).
3.2. Общие требования
3.2.1. Реактивы, растворы, посуда
Реактивы квалификации не ниже ч.д.а.
Вода дистиллированная по
ГОСТ 6709, нейтрализованная по метиловому красному.
Вода дистиллированная, не содержащая углекислоты; готовят по
ГОСТ 4517.
Посуда и оборудование лабораторные стеклянные по
ГОСТ 25336.
Цилиндры, мензурки, колбы мерные 2-го класса точности по
ГОСТ 1770.
Бюретки, пипетки 2-го класса точности; допускается использование стеклянных мер аналогичного типа.
Весы лабораторные общего назначения по ГОСТ 24104 <*> 2-го и 4-го классов точности.
--------------------------------
Бумага фильтровальная по
ГОСТ 12026 или аналогичная.
Бумага универсальная индикаторная для определения рН раствора.
(Измененная редакция, Изм. N 3, 4).
3.3. (Исключен, Изм. N 4).
3.4. Определение массовой доли моногидрата
3.4.1а. Сущность метода
Метод основан на титровании пробы серной кислоты раствором гидроокиси натрия в присутствии индикатора метилового красного.
(Введен дополнительно, Изм. N 3).
3.4.1. Реактивы, растворы, посуда и приборы
Фенолфталеин, раствор с массовой долей 1%; готовят по
ГОСТ 4919.1.
Поглотитель химический известковый ХП-И по
ГОСТ 6755.
Аскарит или другой поглотитель, обеспечивающий защиту от двуокиси углерода.
Натрия гидроокись по
ГОСТ 4328, раствор концентрации

(NaOH) = 0,5 моль/дм3 (0,5 н.); готовят следующим образом: по
ГОСТ 25794.1 готовят раствор с массовой долей гидроокиси натрия 50%. Прозрачный раствор сливают сифоном и определяют его концентрацию с помощью ареометра. Затем вычисляют необходимое количество полученного раствора для приготовления 0,5 н. раствора. Концентрированный раствор гидроокиси натрия в количестве, найденном расчетом, медленно, по стенкам, во избежание сильного разбрызгивания, наливают в колбу из термостойкого стекла, в которую предварительно налита вода, прокипяченная в течение 15 мин. Колбу закрывают пробкой, снабженной трубкой, заполненной известковым химическим поглотителем, и охлаждают.
Бюретка 4-2-50 или 3-2-50-0,1 должна быть поверена по
ГОСТ 8.234 с интервалом 5 см3.
Ареометр АОН-1 1480-1540 по
ГОСТ 18481 или аналогичный.
Эксикатор.
Видоизмененная пипетка Лунге-Рея, стаканчик для взвешивания или стеклянная ампула вместимостью 2 - 3 см3 с длинным капилляром.
Колба с тубусом.
Сушильный электрический шкаф типа СНОЛ-2,5 2,5 2,5/2,5 или аналогичный.
Газовая горелка для запаивания ампул.
(Измененная редакция, Изм. N 3).
3.4.2. Подготовка к анализу
Перекристаллизацию янтарной кислоты проводят следующим образом: 100 г янтарной кислоты взвешивают с точностью до первого десятичного знака и растворяют при кипячении в 170 см3 воды. Горячий раствор быстро фильтруют на воронке с обрезанным носиком через фильтровальную бумагу и охлаждают при непрерывном перемешивании. Выделившиеся кристаллы отфильтровывают на воронке Бюхнера и повторно перекристаллизовывают, растворяя при кипячении в 140 см3 воды. Полученные кристаллы янтарной кислоты высушивают в сушильном шкафу при температуре (100,0 +/- 2,5) °С до постоянной массы. Перекристаллизацию щавелевой кислоты проводят следующим образом: 50 г щавелевой кислоты взвешивают с точностью до первого десятичного знака и растворяют при кипячении в 85 см3 воды. Горячий раствор быстро фильтруют на воронке с обрезанным носиком через фильтровальную бумагу и охлаждают, непрерывно перемешивая. Выделившиеся кристаллы отфильтровывают на воронке Бюхнера и повторно перекристаллизовывают, растворяя при кипячении в 70 см3 воды. Затем раствор охлаждают, непрерывно перемешивая. Выделившиеся кристаллы отфильтровывают на воронке Бюхнера, отжимают между листами фильтровальной бумаги и высушивают на воздухе в течение 30 мин (кристаллы не должны прилипать к стеклянной палочке). Кристаллы щавелевой кислоты переносят, рассыпая тонким слоем, в чашку Петри, помещают в сушильный шкаф и выдерживают при температуре (100,0 +/- 2,5) °С в течение 3 ч, периодически перемешивая. Далее чашку Петри с кристаллами щавелевой кислоты помещают в эксикатор с водой, где выдерживают не менее 2 сут. Крышка эксикатора должна быть закрыта негерметично (между крышкой и эксикатором прокладывают фильтровальную бумагу толщиной в 2 - 4 сложения). Полученные кристаллы гидрата щавелевой кислоты хранят в стеклянной банке с притертой пробкой. Препарат устойчив в течение месяца.
1 г янтарной или щавелевой кислоты взвешивают, результат взвешивания записывают с точностью до четвертого десятичного знака и растворяют, нагревая до кипения, в 50 см3 воды, не содержащей углекислоты.
Раствор титруют в горячем состоянии гидроокисью натрия в присутствии фенолфталеина до неисчезающего в течение 50 - 60 с розового окрашивания.
Поправочный коэффициент (К) 0,5 моль/дм3 раствора гидроокиси натрия вычисляют по формуле

,
где m - масса навески установочного вещества, г;
V - объем раствора гидроокиси натрия, израсходованного на титрование, см3;
а - масса установочного вещества, соответствующая 1 см3 точно 0,5 моль/дм3 раствора гидроокиси натрия, г.
Для янтарной кислоты а = 0,02952 г, щавелевой а = 0,03152 г.
За результат анализа принимают среднее арифметическое трех параллельных определений, допускаемые расхождения между которыми не должны превышать 0,0010%.
Поправочный коэффициент рассчитывают как среднее арифметическое результатов трех параллельных определений, допускаемое расхождение между которыми при доверительной вероятности Р = 0,95 не должно превышать 0,0010.
В случае возникновения разногласий при определении массовой доли моногидрата определение поправочного коэффициента гидроокиси натрия проводят по щавелевой кислоте.
(Измененная редакция, Изм. N 3).
3.4.3. Проведение анализа
Навеску пробы серной кислоты массой 0,7 - 1,0 г взвешивают в видоизмененной пипетке Лунге-Рея, в бюксе, ампуле или в стаканчике, результат взвешивания в граммах записывают с точностью до четвертого десятичного знака, переносят в коническую колбу вместимостью 250 см3, в которую предварительно налито 50 см3 воды, нейтрализованной по метиловому красному, и титруют раствором гидроокиси натрия в присутствии метилового красного до перехода красной окраски раствора в желтую.
(Измененная редакция, Изм. N 3).
3.4.4. Массовую долю моногидрата (X) в процентах вычисляют по формуле

,
где V - объем 0,5 моль/дм3 раствора гидроокиси натрия, израсходованный на титрование, см3;
0,02452 - масса серной кислоты, соответствующая 1 см3 точно 0,5 моль/дм3 раствора гидроокиси натрия, г;
К - коэффициент поправки 0,5 моль/дм3 раствора гидроокиси натрия;
m - масса навески анализируемой кислоты, г.
За результат анализа принимают среднее арифметическое результатов двух параллельных определений, допускаемое расхождение между которыми при доверительной вероятности Р = 0,95 не должно превышать 0,4%.
3.4.1 - 3.4.4. (Измененная редакция, Изм. N 2, 3).
3.5. Определение массовой доли свободного серного ангидрида
3.5.1а. Сущность метода
Метод основан на титровании пробы олеума раствором гидроокиси натрия в присутствии индикатора метилового красного.
(Введен дополнительно, Изм. N 3).
3.5.1. Реактивы и растворы - по
п. 3.4.1.
3.5.2. Проведение анализа
Стеклянную ампулу вместимостью 2 - 3 см3 с длинным капилляром взвешивают и результат взвешивания в граммах записывают с точностью до четвертого десятичного знака. Шарик ампулы слегка нагревают и конец капилляра быстро погружают в олеум. Набрав около 1 г олеума, наружную поверхность капилляра тщательно вытирают и капилляр запаивают. После охлаждения в эксикаторе ампулу с олеумом взвешивают.
В стеклянную банку или толстостенную термостойкую коническую колбу вместимостью 250 - 500 см3 наливают около 150 см3 воды, помещают в нее несколько стеклянных бусин, опускают взвешенную ампулу с олеумом и плотно закрывают банку пробкой. Энергичным встряхиванием банки разбивают ампулу и встряхивают банку до полного поглощения тумана водой. Кусочки капилляра и ампулы раздавливают стеклянной палочкой. Пробку, горло банки и стеклянную палочку ополаскивают водой в ту же банку. Содержимое банки титруют раствором гидроокиси натрия в присутствии метилового красного до перехода красной окраски раствора в желтую.
(Измененная редакция, Изм. N 3).
3.5.3. Обработка результатов
Массовую долю общего серного ангидрида (

) в процентах вычисляют по формуле

,
где V - объем 0,5 моль/дм3 раствора гидроокиси натрия, израсходованный на титрование, см3;
0,02001 - масса серного ангидрида, соответствующая 1 см3 0,5 моль/дм3 раствора гидроокиси натрия, г;
m - масса навески анализируемого олеума, г;
К - коэффициент поправки 0,5 моль/дм3 раствора гидроокиси натрия.
Массовую долю свободного серного ангидрида (

) в процентах вычисляют по формуле.

,
где

- массовая доля общего серного ангидрида, %;
98,08 - молекулярная масса серной кислоты;
18,02 - молекулярная масса воды.
Допускается определение массовой доли свободного серного ангидрида по таблице (Приложение).
За результат анализа принимают среднее арифметическое результатов двух параллельных определений, допускаемое расхождение между которыми при доверительной вероятности Р = 0,95 не должно превышать 0,5%.
(Измененная редакция, Изм. N 3).
3.6. Определение массовой доли железа
3.6.1а. Сущность метода
Метод основан на образовании ионами железа II и III в аммиачной среде с сульфосалициловой кислотой комплексов, окрашенных в желтый цвет и имеющих одинаковый коэффициент поглощения.
(Введен дополнительно, Изм. N 3).
3.6.1. Реактивы, растворы, аппаратура
Кислота сульфосалициловая по
ГОСТ 4478, раствор с массовой долей 30%.
Кислота серная по
ГОСТ 4204 и раствор концентрации

(1/2

) = 0,1 моль/дм3 (0,1 н.).
Квасцы железоаммонийные.
Аммиак водный по
ГОСТ 3760, растворы с массовой долей 10% и 25%.
Раствор железа, содержащий 1 мг

в 1 см3 раствора, готовят по
ГОСТ 4212 (раствор А).
25 см3 раствора А помещают в мерную колбу вместимостью 500 см3, доводят объем раствора до метки раствором серной кислоты концентрации

(1/2

) = 0,1 моль/дм3 и перемешивают (раствор Б); 1 см3 раствора Б содержит 0,05 мг

(раствор готовят в день его применения).
Фотоэлектроколориметр типа ФЭК-56 или ФЭК-М или аналогичный прибор.
(Измененная редакция, Изм. N 3, 4).
3.6.2. Построение градуировочного графика
3.6.2.1. В мерные колбы вместимостью 100 см3 каждая наливают с помощью микробюретки 1; 2; 3; 4 и 5 см3 раствора Б, что соответствует содержанию в них 0,05; 0,10; 0,15; 0,20 и 0,25 мг железа. В колбы приливают по 2 см3 раствора сульфосалициловой кислоты и 15 см3 раствора аммиака с массовой долей 10%. Раствор доливают до метки водой, перемешивают и измеряют оптическую плотность на фотоэлектроколориметре в кювете с толщиной поглощающего свет слоя 20 мм при синем светофильтре, используя в качестве раствора сравнения раствор, содержащий все реактивы, кроме железа.
По полученным данным строят градуировочный график, откладывая на оси абсцисс содержание железа в миллиграммах, а на оси ординат - оптическую плотность.
При переходе к работе с новыми реактивами градуировочный график необходимо проверить.
(Измененная редакция, Изм. N 2, 3).
3.6.3. Проведение анализа
Анализ проводят в соответствии с
табл. 2.
Пробу серной кислоты отбирают пипеткой. Пробу олеума готовят следующим образом: в стакан наливают 8 см3 концентрированной серной кислоты и пипеткой вносят 2 см3 анализируемого олеума, раствор перемешивают и после охлаждения количественно переносят в мерную колбу вместимостью 100 см3, в которой налито 50 см3 воды. После охлаждения объем раствора доводят водой до метки и перемешивают.
При определении железа в регенерированной серной кислоте используют остаток после прокаливания, полученный, как указано в
п. 3.7.1, остаток растворяют при нагревании в 50 см3 соляной кислоты. Полученный раствор количественно переносят в мерную колбу вместимостью 500 см3, доливают водой до метки и перемешивают. Часть раствора фильтруют в сухую посуду через сухой фильтр.
Аликвотную часть подготовленного раствора серной кислоты или олеума переносят в мерную колбу вместимостью 100 см3, приливают 2 см3 раствора сульфосалициловой кислоты и 15 - 20 см3 раствора водного аммиака с массовой долей 10% в случае анализа кислоты и с массовой долей 25% - в случае анализа олеума (аммиак должен быть в избытке, поэтому количество его можно увеличить до появления запаха).
Раствор перемешивают, охлаждают до комнатной температуры, доливают водой до метки и перемешивают.
Измеряют оптическую плотность раствора на фотоэлектроколориметре в тех же условиях, что и для построения градуировочного графика.
──────────────┬──────────────────────────────────────────┬─────────────────
Условия │ Кислота │ Олеум
проведения ├────────┬─────────────────┬───────┬───────┼────────┬────────
анализа │улучшен-│ техническая │башен- │регене-│улучшен-│техниче-
│ная ├────────┬────────┤ная │рирова-│ный │ский
│ │1-й сорт│2-й сорт│ │нная │ │
──────────────┼────────┼────────┼────────┼───────┼───────┼────────┼────────
Массовая доля │ 0,006 │ 0,02 │ 0,1 │ 0,05 │ 0,2 │ 0,006 │ 0,02
железа (Fe), %│ │ │ │ │ │ │
Навеска │ 10 см3 │ 10 см3 │ 5 см3 │ 5 см3 │ 5 см3 │ 3,8 г │ 3,8 г
│ или │ или │ или │ или │ или │ или │ или
│ 18,4 г │ 18,4 г │ 9,2 г │ 9,2 г │ 9,1 г │ 2 см3 │ 2 см3
Вместимость │ 100 │ 100 │ 250 │ 100 │ 500 │ 100 │ 100
мерной │ │ │ │ │ │ │
колбы, см3 │ │ │ │ │ │ │
Аликвотная │ 10 │ 5 │ 5 │ 5 │ 5 │ 50 │ 25
часть, см3 │ │ │ │ │ │ │
Количество Fe,│ 0,11 │ 0,18 │ 0,18 │ 0,23 │ 0,18 │ 0,11 │ 0,19
вступающего в │ │ │ │ │ │ │
анализ, мг │ │ │ │ │ │ │
(Измененная редакция, Изм. N 3).
3.6.4. Обработка результатов
Массовую долю железа (

) в процентах вычисляют по формуле

,
где m' - масса железа, найденная по градуировочному графику, мг;
V - объем мерной колбы, см3;

- аликвотная часть раствора, взятая для анализа, см3;
m - масса навески кислоты или олеума, г.
За результат анализа принимают среднее арифметическое двух параллельных определений, допускаемые расхождения между которыми не должны превышать 0,001% при Р = 0,95.
(Измененная редакция, Изм. N 2, 3, 4).
3.7. Определение массовой доли остатка после прокаливания
3.7.1а. Сущность метода
Метод основан на выпаривании пробы серной кислоты или олеума и прокаливании остатка при температуре от 800 до 850 °С до постоянной массы.
Печь камерная для аналитических работ типа СНОЛ-1,6.2,5/11,0 или аналогичная.
3.7.1а, 3.7.1б. (Введены дополнительно, Изм. N 3).
3.7.1. Проведение анализа
Перед анализом пробу серной кислоты или олеума тщательно перемешивают. Фарфоровую, кварцевую или платиновую чашку прокаливают до постоянной массы и взвешивают, результат взвешивания в граммах записывают с точностью до четвертого десятичного знака. Около 10 г (5 - 6 см3) серной кислоты или олеума, предварительно отмеренных цилиндром, взвешивают с точностью до второго десятичного знака, причем кислоту взвешивают в чашке, а олеум - в пипетке Лунге-Рея или в бюксе с внешней крышкой.
Навеску кислоты или олеума выпаривают досуха на песчаной бане или электрической плитке с закрытой спиралью, после этого прокаливают в муфельной печи в течение 30 мин при 800 - 850 °С. Чашку с прокаленным остатком охлаждают в эксикаторе и взвешивают, результат взвешивания в граммах записывают с точностью до четвертого десятичного знака.
(Измененная редакция, Изм. N 3).
3.7.2. Обработка результатов
Массовую долю прокаленного остатка (

) в процентах вычисляют по формуле

,
где

- масса прокаленного остатка, г;
m - масса навески кислоты или олеума, г.
За результат анализа принимают среднее арифметическое двух параллельных определений, допускаемые расхождения между которыми не должны превышать 0,007% при Р = 0,95.
(Измененная редакция, Изм. N 3).
3.8. Определение массовой доли окислов азота
3.8.1а. Сущность метода
Метод основан на взаимодействии окислов азота с сульфаниламидом и получении азосоединения, образующего с гидробромидом N-этил-1-нафтиламином азокраситель малинового цвета, интенсивность окраски которого пропорциональна содержанию окислов азота.
(Введен дополнительно, Изм. N 3).
3.8.1. Реактивы, растворы, аппаратура
Кислота соляная по
ГОСТ 3118, раствор, разбавленный 1:1.
Сульфаниламид (стрептоцид белый, медицинский, порошок), раствор с массовой долей 0,2%, хранят в темном месте.
Спирт этиловый ректификованный технический по
ГОСТ 18300, высший сорт.
N-этил-1-нафтиламин гидробромид, спиртовый раствор с массовой долей 0,3%, хранят в темном месте.
Раствор азотистокислого натрия готовят следующим образом: 0,1816 г азотистокислого натрия взвешивают, растворяют в воде в мерной колбе вместимостью 1 дм3, доводят объем раствора водой до метки и тщательно перемешивают (раствор А).
1 см3 раствора А содержит 0,1 мг

.
10 см3 раствора А разбавляют водой до объема 1 дм3 и тщательно перемешивают (раствор Б).
1 см3 раствора Б содержит 0,001 мг

. Раствор Б готовят в день его применения.
10 см3 раствора Б разбавляют водой до объема 100 см3 и тщательно перемешивают (раствор В); 1 см3 раствора В содержит 0,1 мкг

. Раствор В готовят в день его применения.
Растворы сравнения готовят следующим образом: в цилиндры с притертой пробкой, одинаковые по цвету стекла и размеру, вместимостью 50 см3, наливают, в случае анализа кислоты - 5 см3 воды, в случае анализа олеума - 5 см3 раствора серной кислоты, разбавленной в соотношении 1:25. Затем добавляют 1 см3 раствора соляной кислоты, 5 см3 раствора сульфаниламида, 1 см3 N-этил 1-нафтиламина гидробромида и раствора Б: для улучшенной кислоты - 0,2 см3, для улучшенного олеума - 0,2 см3, для башенной кислоты - 20 см3, для генерированной кислоты - 10 см3. Для улучшенной серной кислоты, содержащей 0,0005%

, раствора Б берут 2 см3.
Содержимое цилиндров доливают водой в случае улучшенной кислоты и олеума до 25 см3, а в случае башенной и регенерированной кислот - до 50 см3.
Полное развитие окраски достигается через 15 мин для кислоты и через 1 ч для олеума.
Растворы сравнения хранятся в темном месте в течение двух месяцев.
Фотоколориметр типа ФЭК-56М, КФК-2 или аналогичный прибор.
(Измененная редакция, Изм. N 1, 2, 3, 4).
3.8.2а. Построение градуировочного графика для массовых долей окислов азота от

до

%
В мерные колбы вместимостью 25 см3 каждая наливают 5 см3 воды (в случае анализа олеума - 5 см3 раствора серной кислоты, разбавленной в соотношении 1:25); 1 см3 соляной кислоты, 5 см3 раствора сульфаниламида, 1 см3 раствора N-Этил-1-нафтиламина гидробромида и 0; 2; 4; 6; 8; 10 см3 раствора В, что соответствует содержанию в них 0; 0,2; 0,4; 0,6; 0,8 и 1,0 мкг окислов азота. Содержимое колб доливают водой до метки, перемешивают и оставляют стоять 45 мин (для олеума - 1 ч) до полного развития окраски. Оптическую плотность полученных растворов относительно "холостой" пробы измеряют на фотоколориметре со светофильтром N 5 при

= 490 нм в кювете с толщиной поглощающего свет слоя раствора 50 мм. По полученным данным строят градуировочный график, откладывая на оси абсцисс массу окислов азота в микрограммах, а на оси ординат - соответствующие им оптические плотности.
3.8.2б. Построение градуировочного графика для массовых долей окислов азота от

до

%
В мерные колбы вместимостью 25 см3 каждая к реактивам, перечисленным в п. 3.8.2а, прибавляют 0; 2; 4; 6; 8; 10 см3 раствора Б, что соответствует 0; 2; 4; 6; 8; 10 мкг окислов азота. Далее поступают, как в п. 3.8.2а, только фотометрируют в кювете с толщиной поглощающего свет слоя раствора 10 мм.
(Измененная редакция, Изм. N 4).
3.8.2а, 3.8.2б. (Введены дополнительно, Изм. N 3).
3.8.2. Проведение анализа при визуальном определении
Перед определением окислов азота из пробы серной кислоты отдувают двуокись серы следующим образом: 50 - 70 см3 анализируемой серной кислоты помещают в чистую сухую склянку Дрекселя и продувают в течение 30 мин воздухом, который предварительно пропускают через два поглотителя, заполненных серной кислотой и смесью пятиокиси фосфора с асбестом.
В мерную колбу вместимостью 500 см3 наливают 300 - 400 см3 воды и пипеткой, погружая конец ее в воду, вносят анализируемую серную кислоту: улучшенной кислоты - 10 см3, башенной - 1 см3, регенерированной - 5 см3. Раствор доливают водой до метки и перемешивают.
Анализ улучшенного олеума проводят следующим образом: в стакан помещают 8 см3 серной кислоты и пипеткой, погружая ее конец в кислоту, вносят 2 см3 анализируемого олеума. Раствор перемешивают, отбирают из него 5 см3 и переносят в мерную колбу вместимостью 100 см3, в которую предварительно налито 70 см3 воды, перемешивают, охлаждают, доливают водой до метки и снова перемешивают.
Кислоты и олеум разбавляют непосредственно перед определением.
В цилиндр с притертой пробкой вместимостью 50 см3 наливают 5 см3 воды, 1 см3 раствора соляной кислоты, 5 см3 раствора сульфаниламида, 1 см3 N-этил-1-нафтиламина гидробромида и раствор анализируемой кислоты: улучшенной кислоты - 10 см3, олеума - 5 см3, башенной кислоты - 10 см3, регенерированной - 5 см3.
Содержимое цилиндров доливают водой до 25 см3, для улучшенной кислоты и олеума, для башенной и регенерированной кислот - до 50 см3. Продукт считают соответствующим требованиям настоящего стандарта, если появляющаяся через 15 мин для серной кислоты и через 1 ч для олеума окраска анализируемого раствора будет не интенсивнее окраски раствора сравнения, приготовленного в тех же условиях и содержащего:
для улучшенной кислоты - 0,0002 мг

;
для улучшенного олеума - 0,0002 мг

;
для башенной кислоты - 0,02 мг

;
для регенерированной кислоты - 0,01 мг

.
(Измененная редакция, Изм. N 3, 4).
3.8.3. Проведение анализа при фотометрическом определении
Перед анализом необходимо отдуть двуокись серы из пробы серной кислоты, как описано в
п. 3.8.2.
В мерную колбу вместимостью 500 см3 наливают 300 - 400 см3 воды и пипеткой, погружая конец ее в воду, вносят анализируемую серную кислоту: улучшенной кислоты - 10 см3, башенной - 1 см3, регенерированной - 5 см3. Раствор доливают водой до метки и перемешивают.
Анализ улучшенного олеума проводят следующим образом: в дрексель помещают 40 см3 серной кислоты и пипеткой, погружая ее конец в кислоту, вносят 10 см3 анализируемого олеума. Раствор отдувают, отбирают из него 5 см3 пипеткой в мерную колбу вместимостью 100 см3, в которую предварительно налито 70 см3 воды, перемешивают, охлаждают, доливают водой до метки и снова перемешивают.
Кислоту и олеум разбавляют непосредственно перед определением.
В мерную колбу вместимостью 25 см3 наливают все реактивы (см.
п. 3.8.2а), вносят раствор анализируемой серной кислоты: контактной улучшенной и олеума улучшенного - 10 см3, башенной и регенерированной - 5 см3. Содержимое колбы доливают водой до метки, тщательно перемешивают и оставляют стоять до полного развития окраски (для кислоты - 45 мин, для олеума - 1 ч), после чего фотометрируют относительно "холостого" раствора, как описано в
пп. 3.8.2а,
3.8.2б.
3.8.3.1. Обработка результатов
Массовую долю окислов азота (X) в процентах вычисляют по формуле

,
где m - масса окислов азота, найденная по градуировочному графику, мкг;

- объем пробы, взятой для фотометрирования, см3

- объем пробы, взятой для анализа, см3;

- плотность анализируемой кислоты при 20 °С, г/см3.
Примечание. Если анализируется серная кислота, полученная из серы по "короткой схеме", то отдувка двуокиси серы не требуется.
При разногласиях в оценке массовой доли окислов азота анализ проводят фотометрическим методом.
(Введен дополнительно, Изм. N 3).
3.9. Определение массовой доли нитросоединений
3.9.1а. Сущность метода
Метод основан на экстракции нитросоединений диэтиловым эфиром, его отгонке и определении нитросоединений весовым путем.
(Введен дополнительно, Изм. N 3).
3.9.1. Применяемые реактивы, растворы, посуда и приборы
Эфир этиловый.
Сушильный шкаф ШС-40М или другой аналогичный прибор.
(Измененная редакция, Изм. N 2, 3).
3.9.2 Проведение анализа
В делительную воронку наливают 50 см3 воды и вносят 5 г анализируемой серной кислоты, взвешенной с точностью до третьего десятичного знака. Добавляют 30 см3 этилового эфира и взбалтывают содержимое воронки. Оставляют в покое до расслаивания и сливают эфирный слой в стакан. В воронку добавляют еще 30 см3 этилового эфира и экстрагирование повторяют. Эфирные вытяжки соединяют и промывают их водой до нейтральной реакции по метиловому красному. Отмытые эфирные вытяжки помещают в чистую сухую небольшую круглодонную колбу, предварительно взвешенную с точностью до третьего десятичного знака и соединяют с холодильником. Эфир отгоняют нагреванием на водяной бане. Колбу с остатком после выпаривания помещают в сушильный шкаф и сушат в течение 1 ч при (50,0 +/- 2,5) °С до постоянной массы.
(Измененная редакция, Изм. N 3).
3.9.3. Обработка результатов
Массовую долю нитросоединений (

) в процентах вычисляют по формуле

,
где

- масса колбы с остатком, г;

- масса пустой колбы, г;
m - масса анализируемой кислоты, г.
За результат анализа принимают среднее арифметическое двух параллельных определений, допускаемые расхождения между которыми не должны превышать 0,01% при Р = 0,95.
(Измененная редакция, Изм. N 3).
3.10. Определение массовой доли мышьяка
3.10.1а. Сущность метода
Метод основан на восстановлении мышьяка до мышьяковистого водорода, который улавливают бумагой, пропитанной раствором бромида ртути.
(Введен дополнительно, Изм. N 3).
3.10.1. Реактивы и растворы
Кислота серная по
ГОСТ 4204, плотностью 1,835 г/см3 и раствор с массовой долей 10%..
Натрия гидроокись по
ГОСТ 4328, раствор с массовой долей 25%.
Цинк гранулированный.
Свинец уксуснокислый по
ГОСТ 1027, раствор с массовой долей 5%.
Парафины нефтяные по
ГОСТ 23683 или парафины для лабораторных целей.
Олово двухлористое, раствор с массовой долей 10%; готовят по
ГОСТ 4517.
Ангидрид мышьяковистый по
ГОСТ 1973; раствор мышьяка, содержащий 0,1 мг As в 1 см3 (раствор А); готовят следующим образом: 0,1320 г мышьяковистого ангидрида взвешивают, переносят в стакан, растворяют в 25 см3 раствора гидроокиси натрия, нейтрализуют раствором серной кислоты с массовой долей 10% в присутствии метилового красного. Раствор количественно переносят в мерную колбу вместимостью 1 дм3, добавляют 10 см3 серной кислоты плотностью 1,835 г/см3, перемешивают и добавляют воду до метки. 10 см3 раствора А переносят в мерную колбу вместимостью 500 см3, добавляют воды до метки и перемешивают (раствор Б). Раствор Б, содержащий 0,002 мг As в 1 см3, готовят в день его применения.
(Измененная редакция, Изм. N 2, 3, 4).
3.10.2. Проведение анализа
Мышьяк определяют в приборе (см. черт. 2), состоящем из склянки или конической колбы вместимостью 100 или 250 см3, в которую на резиновой пробке вставлена стеклянная трубка с отрезанной верхней частью.
Прибор для определения мышьяка
Черт. 2
В нижнюю часть трубки помещают тампон из ваты, предварительно смоченный раствором уксуснокислого свинца и отжатый почти досуха. Поверх этого тампона кладется еще небольшой кусочек сухой ваты, пропитанной раствором уксуснокислого свинца. На склянке на уровне 60 см3 нанесена метка.
На верхний срез трубки помещают квадрат бромнортутной бумаги и прижимают его отрезанной частью трубки с помощью резинок, одеваемых на стеклянные крючки. Края трубок должны быть отшлифованы.
В склянку прибора вливают 10 см3 воды, а затем 5 см3 анализируемой кислоты. Раствор кипятят в течение 5 мин, охлаждают и доводят водой до метки.
Анализ олеума проводят следующим образом: в сухой стакан вместимостью 50 см3 помещают с помощью градуированной пипетки 2,5 см3 серной кислоты плотностью 1,835 г/см3 и 2,5 см3 анализируемого олеума. Раствор перемешивают, охлаждают и переносят в склянку прибора, в которую предварительно налито 10 см3 воды. Стенки стаканчика обмывают водой, нейтральной по метиловому красному, и присоединяют к раствору промывные воды. Раствор кипятят в течение 5 мин, охлаждают и доводят водой до метки.
К полученным растворам добавляют 1 см3 раствора двухлористого олова, опускают 5 - 6 г гранулированного цинка и быстро закрывают пробкой, в которую вставлена заранее приготовленная трубка.
Через 1 - 1,5 ч снимают окрашенный квадрат бромнортутной бумаги, погружают его в расплавленный парафин и по охлаждении сравнивают с окраской бромнортутной бумаги раствора сравнения.
Бромнортутные бумаги растворов сравнения готовят в тех же условиях, в которых проводится анализ анализируемой кислоты, но вместо пробы кислоты в прибор помещают раствор Б в количестве, отвечающем тому или иному сорту.
Для каждого сорта кислоты делают 3 параллельных определения, из которых выбирают бумагу с наиболее равномерным распределением окраски. Эталонные бумажки парафинируют и хранят в темном месте. При применении новой партии гранулированного цинка эталонные бумажки готовят заново.
Продукт считают соответствующим требованиям настоящего стандарта, если окраска бромнортутной бумаги от анализируемого раствора не будет интенсивнее окраски бромнортутной бумаги от раствора сравнения, приготовленного в тех же условиях, содержащего 5 см3 серной кислоты плотностью 1,835 г/см3 и:
для улучшенной кислоты - 0,008 мг As;
для улучшенного олеума - 0,004 мг As.
(Измененная редакция, Изм. N 3, 4).
3.11. Определение массовой доли хлористых соединений
3.11.1а. Сущность метода
Метод основан на визуальном определении хлоридов в виде хлоридов серебра при сравнении интенсивности помутнения раствора анализируемой кислоты со шкалой стандартов.
(Введен дополнительно, Изм. N 3).
3.11.1. Реактивы и растворы
Кислота азотная по
ГОСТ 4461, разбавленная 1:10.
Серебро азотнокислое по
ГОСТ 1277, раствор концентрации

(

) = 0,1 моль/дм3 (0,1 н.).
Раствор, содержащий 1 мг Сl в 1 см3; готовят по
ГОСТ 4212 (раствор А).
10 см3 раствора А помещают в мерную колбу вместимостью 1 дм3, доводят объем раствора водой до метки и тщательно перемешивают (раствор Б); 1 см3 раствора Б содержит 0,01 мг Cl (раствор готовят в день его применения).
(Измененная редакция, Изм. N 2, 3).
3.11.2. Проведение анализа
В цилиндр с притертой пробкой вместимостью 100 см3 наливают 50 см3 воды и пипеткой вносят 10 см3 анализируемой кислоты. Раствор охлаждают и приливают к нему 2 см3 раствора азотной кислоты и 2 см3 азотнокислого серебра. Объем раствора доводят водой до 100 см3.
Продукт считают соответствующим требованиям настоящего стандарта, если наблюдаемая через 15 мин опалесценция анализируемого раствора не будет интенсивнее опалесценции раствора сравнения, приготовленного в тех же условиях и содержащего:
для улучшенной кислоты - 0,02 мг Cl.
(Измененная редакция, Изм. N 4).
3.12. Определение массовой доли свинца
3.12.1а. Сущность метода
Метод основан на полярографическом определении свинца на ртутном капельном электроде в солянокислом растворе по высоте волны с

от минус 0,50 до минус 0,55 В относительно донной ртути.
(Введен дополнительно, Изм. N 3).
3.12.1. Реактивы, растворы, приборы
Кислота соляная по
ГОСТ 3118, разбавленная 1:1.
Железо хлорное по
ГОСТ 4147, раствор с массовой долей 1%.
Желатин пищевой по
ГОСТ 11293, раствор с массовой долей 0,5%.
Аскорбиновая кислота (витамин С).
Раствор свинца, содержащий 1 мг/см3 (раствор А); готовят по
ГОСТ 4212.
10 см3 раствора А вносят в мерную колбу вместимостью 100 см3, приливают 2 см3 соляной кислоты и водой доводят объем раствора до метки (раствор Б).
Раствор Б, содержащий 0,1 мг свинца в 1 см3, готовят в день его применения.
Полярограф типа ЛП-7, ОН-102, ППТ-1 или аналогичного типа.
Раствор сравнения готовят следующим образом: для улучшенного олеума вносят в мерный цилиндр 1 см3 раствора хлорного железа, 0,3 см3 раствора Б, 5 см3 соляной кислоты и водой доводят объем раствора до 15 см3; для улучшенной серной кислоты вносят в мерный цилиндр 1 см3 раствора хлорного железа, 1,0 см3 раствора Б, 5 см3 соляной кислоты и водой доводят объем раствора до 15 см3.
(Измененная редакция, Изм. N 2, 3, 4).
3.12.2. Проведение анализа
30 г (15,8 см3) олеума или 10 г (5,5 см3) кислоты взвешивают, результат взвешивания в граммах записывают с точностью до второго десятичного знака и помещают в кварцевую или фарфоровую чашечку вместимостью 40 - 50 см3, выпаривают на песчаной бане или электроплитке до прекращения выделения паров серной кислоты. После охлаждения наливают 5 см3 соляной кислоты, тщательно обмывают стенки чашечки и количественно переносят в мерный цилиндр вместимостью 20 - 25 см3. Обмывают стенки чашечки 5 см3 воды. Объем раствора доводят водой до 15 см3, раствор перемешивают. Небольшой порцией раствора промывают ячейку, после чего переносят туда оставшуюся часть раствора, туда же вносят 3 капли раствора пищевого желатина и на кончике шпателя 0,1 - 0,15 г аскорбиновой кислоты, продувают раствор 3 - 5 мин азотом или вносят 3 г железа, восстановленного водородом, и через 15 мин снимают полярограмму от минус 0,2 до минус 0,6 В. Снимают три полярограммы.
Продукт считают соответствующим требованиям настоящего стандарта, если высота волны анализируемого раствора с потенциалом полуволны от минус 0,50 до минус 0,55 В не будет выше высоты волны раствора сравнения, в 15 см3 которого содержится 0,03 и 0,1 мг свинца соответственно для улучшенного олеума и улучшенной серной кислоты. Высота волны растворов сравнения проверяется в случае изменения характеристики капилляра.
Полярограмму растворов сравнения снимают, как указано выше.
(Измененная редакция, Изм. N 3, 4).
3.13. Определение прозрачности
3.13.1. Применяемая аппаратура
Прибор, в который входят:
мерный цилиндр 1-500 по
ГОСТ 1770, на котором сделана метка, обозначающая высоту столба жидкости 270 мм;
матовое стекло размером 80 x 80 мм с нанесенными на нем тушью черными квадратами 5 x 5 мм, расположенными в шахматном порядке;
электрическая лампа мощностью 60 Вт с патроном и шнуром;
деревянная подставка или ящик, в котором помещена лампа с патроном. В верхней крышке сделан вырез, в котором укреплено матовое стекло с черными квадратами. Расстояние между стеклом и лампой не должно превышать 10 мм.
(Измененная редакция, Изм. N 3).
3.13.2. Проведение анализа
Улучшенную серную кислоту наливают в мерный цилиндр прибора до метки. Мерный цилиндр устанавливают на матовое стекло с шахматными полями, под которым находится горящая электрическая лампа. Контуры шахматных полей наблюдают через слой кислоты. Кислоту считают соответствующей требованиям настоящего стандарта, если все контуры четко различимы.
3.14. Определение цвета
3.14.1. Реактивы и растворы
Аммиак водный по
ГОСТ 3760 плотностью 0,91 г/см3.
Натрий сернистый 9-водный по
ГОСТ 2053, раствор с массовой долей 2%.
Желатин пищевой по
ГОСТ 11293, раствор с массовой долей 1%.
Раствор сравнения; готовят следующим образом: 0,1831 г уксуснокислого свинца взвешивают, помещают в мерную колбу вместимостью 1 дм3 и растворяют в воде.
Если при этом раствор получается мутный, к нему добавляют несколько капель уксусной кислоты. Объем раствора доводят водой до метки и тщательно перемешивают.
1 см3 раствора содержит 0,1 мг свинца.
(Измененная редакция, Изм. N 1, 2, 3).
3.14.2. Проведение анализа
Берут три пробирки, одинаковые по размеру и цвету стекла. В одну пробирку помещают 20 см3 анализируемой кислоты, в две другие - по 5 см3 воды, 3 см3 раствора желатина, 2 - 3 капли раствора аммиака, 3 см3 раствора сернистого натрия, а затем в одну пробирку добавляют 1 см3, во вторую - 6 см3 раствора сравнения, после чего объем растворов доливают водой до 20 см3 и перемешивают. Кислоту считают соответствующей требованиям настоящего стандарта, если цвет анализируемого раствора не будет темнее раствора, содержащего 1 см3 раствора сравнения - для улучшенной кислоты; 6 см3 - для технической кислоты 1-го сорта.
(Измененная редакция, Изм. N 1, 2, 4).
3.15. Определение нитратного азота

Около 1 см3 анализируемой кислоты помещают в фарфоровую чашку, добавляют несколько кристаллов дифениламина (по НД) и 3 - 4 капли дистиллированной воды (
ГОСТ 6709). Допускается бледно-голубая окраска.
3.16. Определение массовой доли меди
3.16.1а. Сущность метода
Метод основан на полярографическом определении меди в аммиачном растворе при рН 9 по высоте волны с

от минус 0,25 до минус 0,30 В относительно донной ртути. Влияние железа устраняется введением аммиака.
(Введен дополнительно, Изм. N 3).
3.16.1. Реактивы, растворы, приборы
Кислота соляная по
ГОСТ 3118, концентрированная и разбавленная 1:1.
Натрий сернистокислый 7-водный по НД.
Желатин пищевой по
ГОСТ 11293, раствор с массовой долей 0,5%.
Кислота азотная по
ГОСТ 4461, разбавленная 1:1.
Полярограф типа ЛП-7, ОП-102, ППТ-1 или аналогичного типа.
Медь электролитная, раствор; готовят следующим образом: 1 г меди помещают в коническую колбу вместимостью 250 см3 и приливают 20 см3 азотной кислоты. Раствор упаривают до объема 2 - 3 см3, приливают 10 см3 концентрированной соляной кислоты и вновь упаривают до 2 - 3 см3. Упаривание с 10 см3 соляной кислоты повторяют еще два раза. По охлаждении к остатку приливают 150 см3 концентрированной соляной кислоты, переносят раствор в мерную колбу вместимостью 1 дм3, доводят объем до метки водой и тщательно перемешивают (раствор А).
10 см3 раствора А переносят в мерную колбу вместимостью 100 см3, приливают 5 см3 соляной кислоты, разбавленной 1:1, доводят объем раствора до метки (раствор Б).
1 см3 раствора Б содержит 0,1 мг меди.
(Измененная редакция, Изм. N 1, 2, 3).
3.16.2. Проведение анализа
10 см3 серной кислоты помещают в кварцевую или фарфоровую чашку и упаривают на песчаной бане или электроплитке досуха (до прекращения выделения паров

). К охлажденному остатку приливают 3 см3 соляной кислоты, разбавленной 1:1, и растворяют его при нагревании. Затем нейтрализуют аммиаком до полного выделения осадка гидроокиси железа и приливают еще 15 см3 избытка раствора аммиака.
Раствор с осадком переносят в мерный цилиндр вместимостью 20 - 25 см3, обмывают чашку водой, присоединяя промывные воды к содержимому цилиндра. Объем раствора доводят водой до 15 см3, вносят 3 - 4 капли раствора желатина, приблизительно 0,3 г сульфита натрия (на кончике шпателя) и перемешивают палочкой. Часть раствора отфильтровывают или осторожно сливают осветленную часть в электролизер. Вместо добавления сульфита натрия для удаления кислорода из отфильтрованного раствора можно применять продувку азотом в течение 3 - 5 мин.
Полярографируют в интервале потенциалов от минус 0,2 до минус 0,7 В по отношению к донной ртути при выбранной чувствительности полярографа.
Раствор сравнения готовят следующим образом: в цилиндр вместимостью 20 - 25 см3 вносят микробюреткой или микропипеткой 0,92 см3 раствора Б, 2 см3 хлорного железа, добавляют 3 см3 соляной кислоты, разбавленной 1:1, нейтрализуют водным аммиаком до полного выделения осадка и приливают еще 1,5 см3 избытка раствора водного аммиака. Затем проводят все операции с раствором и полярографирование его, как указано выше.
Продукт считают соответствующим требованиям настоящего стандарта, если высота волны с потенциалом полуволны от минус 0,25 до минус 0,35 В не превышает высоту волны раствора сравнения, содержащего 0,092 мг меди. Высота волны раствора сравнения проверяется в случае изменения характеристики капилляра.
3.17. Определение массовой доли селена
3.17.1а. Сущность метода
Метод основан на восстановлении селена (IV), предварительно выделенного на осадке гидроокиси железа аскорбиновой кислотой. Выделившийся элементный селен концентрируют на границе раздела водной и органической фаз в виде окрашенной в красный цвет пленки.
(Введен дополнительно, Изм. N 3).
3 17.1. Реактивы и растворы
Кислота соляная по
ГОСТ 3118, плотностью 1,19 г/см3.
Аммиак водный по
ГОСТ 3760, плотностью 0,91 г/см3.
Железо хлорное по
ГОСТ 4147, раствор с массовой долей 10%.
Аскорбиновая кислота (витамин С), раствор с массовой долей 5%.
Раствор, содержащий 0,01 мг селена в 1 см3; готовят по
ГОСТ 4212 (раствор должен быть свежеприготовленным).
Кислота серная по
ГОСТ 4204, не содержащая селена.
Отсутствие селена проверяют следующим образом: 55 см3 (100 г) кислоты помещают в стакан вместимостью 600 - 800 см3, куда предварительно налито 5 см3 раствора хлорного железа и 150 см3 воды, нейтрализуют водным аммиаком и далее ведут анализ по п. 3.17.2. Отсутствие заметной красноватой пленки селена на границе фаз указывает на отсутствие селена (при чувствительности определения 0,0001%).
Цилиндры мерные с притертой пробкой вместимостью 25 см3 по
ГОСТ 1770.
(Измененная редакция, Изм. N 2, 3).
3.17.2. Проведение анализа
25 см3 (46 г) анализируемой кислоты помещают в стакан вместимостью 300 - 400 см3, куда предварительно налито 50 см3 воды и 5 см3 раствора хлорного железа. Стакан помещают в холодную водяную баню и осторожно, при непрерывном перемешивании, нейтрализуют раствор аммиаком до образования нерастворяющегося осадка гидроокиси железа, после этого приливают еще 10 см3 раствора аммиака.
Раствор с осадком нагревают до кипения и в горячем состоянии отсасывают на воронке Бюхнера через двойной фильтр "синяя лента" диаметром 7 - 11 см, промывают 50 - 70 см3 воды, фильтрат отбрасывают. Осадок на фильтре растворяют в 3,5 см3 соляной кислоты, приливая ее по каплям из пипетки. Если 3,5 см3 соляной кислоты недостаточно, то приливают еще 0,5 - 1,5 см3. Полученный раствор отсасывают, фильтр промывают 30 - 40 см3 воды, промывные воды присоединяют к раствору. Раствор количественно переносят в стакан вместимостью 50 - 100 см3 и приливают 6 см3 раствора аскорбиновой кислоты. Через 30 мин обесцвеченный раствор помещают в делительную воронку вместимостью 100 см3, приливают 10 см3 бутилового спирта и встряхивают смесь в течение 1 мин. После расслоения нижний водный слой отбрасывают, а органическую фазу помещают в цилиндр с притертой пробкой, в которой предварительно налито 5 см3 воды. Если при этом наблюдается помутнение одной из фаз, то цилиндр помещают в теплую (40 - 50 °С) водяную баню до исчезновения помутнения.
Продукт считают соответствующим требованиям настоящего стандарта, если окраска пленки селена на границе фаз не будет интенсивнее окраски пленки селена раствора сравнения, приготовленного в тех же условиях, содержащего 25 см3 серной кислоты и соответствующее количество селена.
4. УПАКОВКА, МАРКИРОВКА, ТРАНСПОРТИРОВАНИЕ И ХРАНЕНИЕ
4.1. Улучшенную серную кислоту транспортируют в железнодорожных цистернах из кислотостойкой стали с нанесением трафаретов "Улучшенная серная кислота", "Опасно", а также трафарета приписки. По согласованию с потребителем допускается транспортировать улучшенную серную кислоту по кислотопроводу из стали марки Ст3 по
ГОСТ 380 или нержавеющей стали.
По согласованию с потребителем в период с 15 октября по 15 марта предприятиям-изготовителям, не снабжающим юг Украины, Крым, Молдавию, республики Средней Азии и юг Казахстана и другие аналогичные по климатическим условиям районы, и круглогодично предприятиям-изготовителям, расположенным в районах Урала (севернее Свердловска) и Крайнего Севера и снабжающим северные районы, допускается отгрузка улучшенной серной кислоты в сернокислых цистернах из стали марки Ст3 по
ГОСТ 380.
(Измененная редакция, Изм. N 2, 3).
4.2. Техническую серную кислоту 1-го и 2-го сортов, башенную и регенерированную кислоты транспортируют в железнодорожных сернокислотных цистернах, а также в стальных контейнерах, стальных бочках по
ГОСТ 6247 или поставляют потребителю перекачкой по кислотопроводу из стали марки Ст3 по
ГОСТ 380.
4.3. Олеум транспортируют в специальных олеумных цистернах отправителя с утеплением или устройством для подогрева с нанесением трафаретов "Олеум" или "Олеум улучшенный", "Опасно", а также трафарета приписки. Допускается транспортировать олеум потребителю перекачкой по трубопроводу из стали 10Х18Н10Т.
По согласованию с потребителем в период с 1 мая по 1 сентября допускается транспортировать олеум в специальных сернокислотных цистернах.
4.2, 4.3. (Измененная редакция, Изм. N 3).
4.4. (Исключен, Изм. N 3).
4.5. На бочки и контейнеры наносится транспортная маркировка по
ГОСТ 14192. На бочки, контейнеры и цистерны наносится знак опасности по
ГОСТ 19433, класс 8, подкласс 8.1, черт. 8, классификационный шифр 8111, серийный номер ООН 1830 (кроме регенерированной кислоты); для олеума - класс 8, подкласс 8.1, черт. 8 и 6а, классификационный шифр 8161, серийный номер ООН 1831.
Трафареты на цистерны заполняются в соответствии с правилами перевозки грузов.
(Измененная редакция, Изм. N 3).
4.6. Техническую серную кислоту транспортируют железнодорожным транспортом в цистернах и автомобильным транспортом в контейнерах и бочках в соответствии с правилами перевозок грузов, действующими на каждом виде транспорта.
Заполнение цистерн, контейнеров и бочек рассчитывают с учетом полного использования их вместимости и объемного расширения продукта при возможном перепаде температур в пути следования.
(Измененная редакция, Изм. N 1, 3).
4.7. Техническая серная кислота 1-го и 2-го сортов, улучшенный и технический олеум, башенная и регенерированная кислоты должны храниться в емкостях из стали или спецстали, как нефутерованных, так и футерованных кислотоупорным кирпичом или кислотоустойчивым материалом.
Улучшенная серная кислота должна храниться у потребителя в чистых герметически закрытых емкостях из нержавеющей стали или емкостях из стали марки Ст3 по
ГОСТ 380, футерованных кислотоупорными плиткой или кирпичом.
(Измененная редакция, Изм. N 1).
5.1. Изготовитель гарантирует соответствие технической серной кислоты требованиям настоящего стандарта при соблюдении условий транспортирования и хранения.
Гарантийный срок хранения серной кислоты - один месяц со дня изготовления.
Разд. 5. (Измененная редакция, Изм. N 2).
6. ТРЕБОВАНИЯ БЕЗОПАСНОСТИ
6.1. Серная кислота техническая пожаро- и взрывобезопасна, при соприкосновении ее с водой происходит бурная реакция с большим выделением тепла, паров и газов.
6.2. Техническая серная кислота токсична. По степени воздействия на организм относится к веществам 2-го класса опасности по
ГОСТ 12.1.007.
Предельно допустимая концентрация паров серной кислоты в воздухе рабочей зоны производственных помещений - 1 мг/м3.
Работающие с серной кислотой должны быть обеспечены специальной одеждой и обувью, а также средствами индивидуальной защиты.
(Измененная редакция, Изм. N 3).
Рекомендуемое
МАССОВАЯ ДОЛЯ СЕРНОГО АНГИДРИДА (

) В ОЛЕУМЕ, %
─────┬───────┬───────┬───────┬─────┬───────┬───────┬───────┬───────┬───────
Общий│Свобод-│ Общий │Свобод-│Общий│Свобод-│ Общий │Свобод-│ Общий │Свобод-
SO │ный SO │ SO │ный SO │ SO │ный SO │ SO │ный SO │ SO │ный SO
3 │ 3│ 3 │ 3│ 3 │ 3│ 3 │ 3│ 3 │ 3
─────┼───────┼───────┼───────┼─────┼───────┼───────┼───────┼───────┼───────
83,47│ 10,0 │ 84,09 │ 13,4 │84,72│ 16,8 │ 85,36 │ 20,3 │ 85,98 │ 23,7
83,48│ 10,1 │ 84,11 │ 13,5 │84,73│ 16,9 │ 85,38 │ 20,4 │ 86,00 │ 23,8
83,50│ 10,2 │ 84,13 │ 13,6 │84,75│ 17,0 │ 85,40 │ 20,5 │ 86,02 │ 23,9
83,52│ 10,3 │ 84,15 │ 13,7 │84,77│ 17,1 │ 85,41 │ 20,6 │ 86,04 │ 24,0
83,54│ 10,4 │ 84,16 │ 13,8 │84,79│ 17,2 │ 85,43 │ 20,7 │ 86,06 │ 24,1
│ │ │ │ │ │ │ │ │
83,56│ 10,5 │ 84,18 │ 13,9 │84,81│ 17,3 │ 85,45 │ 20,8 │ 86,08 │ 24,2
83,58│ 10,6 │ 84,20 │ 14,0 │84,83│ 17,4 │ 85,47 │ 20,9 │ 86,09 │ 24,3
83,60│ 10,7 │ 84,22 │ 14,1 │84,84│ 17,5 │ 85,49 │ 21,0 │ 86,11 │ 24,4
83,61│ 10,8 │ 84,24 │ 14,2 │84,86│ 17,6 │ 85,51 │ 21,1 │ 86,13 │ 24,5
83,63│ 10,9 │ 84,26 │ 14,3 │84,88│ 17,7 │ 85,52 │ 21,2 │ 86,15 │ 24,6
│ │ │ │ │ │ │ │ │
83,65│ 11,0 │ 84,27 │ 14,4 │84,90│ 17,8 │ 85,54 │ 21,3 │ 86,17 │ 24,7
83,67│ 11,1 │ 84,29 │ 14,5 │84,92│ 17,9 │ 85,56 │ 21,4 │ 86,19 │ 24,8
83,69│ 11,2 │ 84,31 │ 14,6 │84,94│ 18,0 │ 85,58 │ 21,5 │ 86,20 │ 24,9
83,71│ 11,3 │ 84,33 │ 14,7 │84,95│ 18,1 │ 85,60 │ 21,6 │ 86,22 │ 25,0
83,72│ 11,4 │ 84,35 │ 14,8 │84,97│ 18,2 │ 85,62 │ 21,7 │ 86,24 │ 25,1
│ │ │ │ │ │ │ │ │
83,74│ 11,5 │ 84,37 │ 14,9 │84,99│ 18,3 │ 85,63 │ 21,8 │ 86,26 │ 25,2
83,76│ 11,6 │ 84,39 │ 15,0 │85,01│ 18,4 │ 85,65 │ 21,9 │ 86,28 │ 25,3
83,78│ 11,7 │ 84,40 │ 15,1 │85,03│ 18,5 │ 85,67 │ 22,0 │ 86,30 │ 25,4
83,80│ 11,8 │ 84,42 │ 15,2 │85,05│ 18,6 │ 85,69 │ 22,1 │ 86,31 │ 25,5
83,82│ 11,9 │ 84,44 │ 15,3 │85,06│ 18,7 │ 85,71 │ 22,2 │ 86,33 │ 25,6
│ │ │ │ │ │ │ │ │
83,83│ 12,0 │ 84,46 │ 15,4 │85,08│ 18,8 │ 85,73 │ 22,3 │ 86,35 │ 25,7
83,85│ 12,1 │ 84,48 │ 15,5 │85,10│ 18,9 │ 85,74 │ 22,4 │ 86,37 │ 25,8
83,87│ 12,2 │ 84,50 │ 15,6 │85,12│ 19,0 │ 85,76 │ 22,5 │ 86,39 │ 25,9
83,89│ 12,3 │ 84,51 │ 15,7 │85,14│ 19,1 │ 85,78 │ 22,6 │ 86,41 │ 26,0
83,91│ 12,4 │ 84,53 │ 15,8 │85,16│ 19,2 │ 85,80 │ 22,7 │ 86,42 │ 26,1
│ │ │ │ │ │ │ │ │
83,93│ 12,5 │ 84,55 │ 15,9 │85,18│ 19,3 │ 85,82 │ 22,8 │ 86,44 │ 26,2
83,94│ 12,6 │ 84,57 │ 16,0 │85,19│ 19,4 │ 85,84 │ 22,9 │ 86,46 │ 26,3
83,96│ 12,7 │ 84,59 │ 16,1 │85,21│ 19,5 │ 85,85 │ 23,0 │ 86,48 │ 26,4
83,98│ 12,8 │ 84,61 │ 16,2 │85,23│ 19,6 │ 85,87 │ 23,1 │ 86,50 │ 26,5
84,00│ 12,9 │ 84,62 │ 16,3 │85,25│ 19,7 │ 85,89 │ 23,2 │ 86,52 │ 26,6
│ │ │ │ │ │ │ │ │
84,02│ 13,0 │ 84,64 │ 16,4 │85,27│ 19,8 │ 85,91 │ 23,3 │ 86,53 │ 26,7
84,04│ 13,1 │ 84,66 │ 16,5 │85,29│ 19,9 │ 85,93 │ 23,4 │ 86,54 │ 26,8
84,05│ 13,2 │ 84,68 │ 16,6 │85,30│ 20,0 │ 85,95 │ 23,5 │ 86,57 │ 26,9
84,07│ 13,3 │ 84,70 │ 16,7 │85,32│ 20,1 │ 85,96 │ 23,6 │ 86,58 │ 27,0
- │ - │ - │ - │85,34│ 20,2 │ - │ - │ - │ -