Главная // Актуальные документы // ГОСТ (Государственный стандарт)СПРАВКА
Источник публикации
М.: ФГБУ "Институт стандартизации", 2024
Примечание к документу
Документ
введен в действие с 01.04.2024.
Название документа
"ГОСТ 23166-2024. Межгосударственный стандарт. Блоки оконные и балконные. Общие технические условия"
(введен в действие Приказом Росстандарта от 27.03.2024 N 361-ст)
"ГОСТ 23166-2024. Межгосударственный стандарт. Блоки оконные и балконные. Общие технические условия"
(введен в действие Приказом Росстандарта от 27.03.2024 N 361-ст)
агентства по техническому
регулированию и метрологии
от 27 марта 2024 г. N 361-ст
МЕЖГОСУДАРСТВЕННЫЙ СТАНДАРТ
БЛОКИ ОКОННЫЕ И БАЛКОННЫЕ
ОБЩИЕ ТЕХНИЧЕСКИЕ УСЛОВИЯ
Window and balcony blocks. General specifications
(EN 14351-1:2006+A2:2016, NEQ)
(EN 18055:2014, NEQ)
ГОСТ 23166-2024
Дата введения
1 апреля 2024 года
Цели, основные принципы и общие правила проведения работ по межгосударственной стандартизации установлены
ГОСТ 1.0 "Межгосударственная система стандартизации. Основные положения" и
ГОСТ 1.2 "Межгосударственная система стандартизации. Стандарты межгосударственные, правила и рекомендации по межгосударственной стандартизации. Правила разработки, принятия, обновления и отмены"
1 РАЗРАБОТАН Федеральным автономным учреждением "Федеральный центр нормирования, стандартизации и технической оценки соответствия в строительстве" (ФАУ "ФЦС"), Федеральным государственным бюджетным образовательным учреждением высшего образования "Национальный исследовательский Московский государственный строительный университет" (НИУ МГСУ), Частным учреждением - Центр по сертификации оконной и дверной техники (ЦС ОДТ), Обществом с ограниченной ответственностью "ВЕКА Рус" (ООО "ВЕКА Рус"), Некоммерческой организацией "Ассоциация продавцов и производителей оконной и дверной фурнитуры" (НКО "Ассоциация продавцов и производителей оконной и дверной фурнитуры"), Объединением производителей, поставщиков и потребителей алюминия (Алюминиевая ассоциация)
2 ВНЕСЕН Техническим комитетом по стандартизации ТК 465 "Строительство"
3 ПРИНЯТ Межгосударственным советом по стандартизации, метрологии и сертификации (протокол от 29 февраля 2024 г. N 170-П)
За принятие проголосовали:
Краткое наименование страны по МК (ИСО 3166) 004-97 | Код страны по МК (ИСО 3166) 004-97 | Сокращенное наименование национального органа по стандартизации |
Армения | AM | ЗАО "Национальный орган по стандартизации и метрологии" Республики Армения |
Киргизия | KG | Кыргызстандарт |
Россия | RU | Росстандарт |
Узбекистан | UZ | Узстандарт |
4
Приказом Федерального агентства по техническому регулированию и метрологии от 27 марта 2024 г. N 361-ст межгосударственный стандарт ГОСТ 23166-2024 введен в действие в качестве национального стандарта Российской Федерации с 1 апреля 2024 г.
5 В настоящем стандарте учтены основные нормативные положения следующих европейских стандартов:
- EN 14351-1:2006+A2:2016 "Окна и двери. Стандарт на продукцию, эксплуатационные характеристики. Часть 1. Окна и наружные дверные блоки (включая Изменение A2:2016)" ["Windows and doors - Product standard, performance characteristics - Part 1: Windows and external pedestrian doorsets (includes Amendment A2:2016)", NEQ];
- EN 18055:2014 "Окна и наружные двери. Критерии использования в соответствии с EN 14351-1" ("Criteria for the use of windows and exterior doors in accordance with EN 14351-1", NEQ)
Информация о введении в действие (прекращении действия) настоящего стандарта и изменений к нему на территории указанных выше государств публикуется в указателях национальных стандартов, издаваемых в этих государствах, а также в сети Интернет на сайтах соответствующих национальных органов по стандартизации.
В случае пересмотра, изменения или отмены настоящего стандарта соответствующая информация будет опубликована на официальном интернет-сайте Межгосударственного совета по стандартизации, метрологии и сертификации в каталоге "Межгосударственные стандарты"
Настоящий стандарт распространяется на оконные, балконные блоки и блоки остекления балконов заводского изготовления (далее - изделия), применяемые для остекления зданий и сооружений различного функционального назначения, и устанавливает требования к их классификации, эксплуатационно-техническим характеристикам, изготовлению и контролю качества.
Настоящий стандарт не распространяется:
- на изделия специального назначения (взрывобезопасные, пуленепробиваемые, противопожарные, легкосбрасываемые);
- открывающиеся элементы светопрозрачных фасадных конструкций;
- зенитные фонари;
- навесные конструкции балконного остекления, устанавливаемого на относе от каркаса здания.
Настоящий стандарт допускается применять в части отдельных технических требований для устройства оконных блоков:
- мансардных;
- шумозащитных;
- взломоустойчивых.
Настоящий стандарт является базовым для стандартов на конкретные виды оконных и балконных блоков, блоков остекления балконов независимо от материала их изготовления и комплектующих деталей.
В настоящем стандарте использованы нормативные ссылки на следующие межгосударственные стандарты:
ГОСТ 9.303 Единая система защиты от коррозии и старения. Покрытия металлические и неметаллические неорганические. Общие требования к выбору
ГОСТ 15.309 Система разработки и постановки продукции на производство. Испытания и приемка выпускаемой продукции. Основные положения
ГОСТ 111 Стекло листовое бесцветное. Технические условия
ГОСТ 538 Изделия замочные и скобяные. Общие технические условия
ГОСТ 5088 Петли для оконных и дверных блоков. Технические условия
ГОСТ 5089 Замки, защелки, механизмы цилиндровые. Технические условия
ГОСТ 5090 Изделия скобяные для деревянных окон и дверей. Технические условия
ГОСТ 8617 Профили прессованные из алюминия и алюминиевых сплавов. Технические условия
--------------------------------
ГОСТ 10354 Пленка полиэтиленовая. Технические условия
ГОСТ 11214 Блоки оконные деревянные с листовым остеклением. Технические условия
ГОСТ 19091 Замки, защелки, механизмы цилиндровые. Методы испытаний
ГОСТ 19904 Прокат листовой холоднокатаный. Сортамент
ГОСТ 22233 Профили прессованные из алюминиевых сплавов для ограждающих конструкций. Технические условия
ГОСТ 24033 Окна, двери, ворота. Методы механических испытаний
ГОСТ 24297 Верификация закупленной продукции. Организация проведения и методы контроля
ГОСТ 24699 Блоки оконные деревянные со стеклами и стеклопакетами. Технические условия
ГОСТ 24700 Блоки оконные деревянные со стеклопакетами. Технические условия
ГОСТ 25097 Блоки оконные деревоалюминиевые. Технические условия
ГОСТ 26601 Окна и балконные двери деревянные для малоэтажных жилых домов. Типы, конструкция и размеры
ГОСТ 26602.1 Блоки оконные и дверные. Методы определения сопротивления теплопередаче
ГОСТ 26602.2 Блоки оконные и дверные. Методы определения воздухо- и водопроницаемости
ГОСТ 26602.4 Блоки оконные и дверные. Метод определения общего коэффициента пропускания света
ГОСТ 26602.5 Блоки оконные и дверные. Методы определения сопротивления ветровой нагрузке
ГОСТ 30673-2013 Профили поливинилхлоридные для оконных и дверных блоков. Технические условия
ГОСТ 30674 Блоки оконные из поливинилхлоридных профилей. Технические условия
ГОСТ 30734 Блоки оконные мансардные. Технические условия
ГОСТ 30777 Устройства поворотные, откидные, поворотно-откидные, раздвижные для оконных и балконных дверных блоков. Технические условия
ГОСТ 30778 Прокладки уплотняющие из эластомерных материалов для оконных и дверных блоков. Технические условия
ГОСТ 30826 Стекло многослойное. Технические условия
ГОСТ 30972 Заготовки и детали деревянные клееные для оконных и дверных блоков. Технические условия
ГОСТ 31014 Профили полиамидные стеклонаполненные. Технические условия
ГОСТ 31149 (ISO 2409:2013) Материалы лакокрасочные. Определение адгезии методом решетчатого надреза
ГОСТ 31462 Блоки оконные защитные. Общие технические условия
ГОСТ 32539 Стекло и изделия из него. Термины и определения
ГОСТ 32563 Стекло с полимерными пленками. Технические условия
ГОСТ 32997 Стекло листовое, окрашенное в массе. Общие технические условия
ГОСТ 33017 Стекло с солнцезащитным или декоративным твердым покрытием. Технические условия
ГОСТ 33086 Стекло с солнцезащитным или декоративным мягким покрытием. Технические условия
ГОСТ 33087 Стекло термоупрочненное. Технические условия
ГОСТ 34379 Конструкции ограждающие светопрозрачные. Правила обследования технического состояния в натурных условиях
Примечание - При пользовании настоящим стандартом целесообразно проверить действие ссылочных стандартов и классификаторов на официальном интернет-сайте Межгосударственного совета по стандартизации, метрологии и сертификации (www.easc.by) или по указателям национальных стандартов, издаваемым в государствах, указанных в предисловии, или на официальных сайтах соответствующих национальных органов по стандартизации. Если на документ дана недатированная ссылка, то следует использовать документ, действующий на текущий момент, с учетом всех внесенных в него изменений. Если заменен ссылочный документ, на который дана датированная ссылка, то следует использовать указанную версию этого документа. Если после принятия настоящего стандарта в ссылочный документ, на который дана датированная ссылка, внесено изменение, затрагивающее положение, на которое дана ссылка, то это положение применяется без учета данного изменения. Если ссылочный документ отменен без замены, то положение, в котором дана ссылка на него, применяется в части, не затрагивающей эту ссылку.
3.1 балконный блок: Изделие, устанавливаемое в проем наружной стены помещения, примыкающего к балкону или лоджии, предназначенное для обеспечения сообщения внутреннего помещения с балконом (лоджией), естественного освещения помещения и его защиты от внешних климатических и других воздействий.
Примечание - В общем случае балконный блок состоит из скрепленных между собой на механических или иных связях оконного и балконного дверного блоков.
3.2 балконный дверной блок: Изделие, предназначенное для обеспечения сообщения внутреннего помещения с балконом (лоджией), естественного освещения помещения и его защиты от внешних климатических и других воздействий.
Примечание - Балконный дверной блок состоит из следующих сборочных единиц: рамы, одного (нескольких) дверных полотен со светопрозрачным и/или непрозрачным заполнением, фурнитуры. Может иметь участки глухого остекления и может быть оснащен рядом дополнительных функциональных элементов.
3.3 блок остекления балкона: Изделие, устанавливаемое в проем, образованный строительными конструкциями балкона (лоджии) (сверху перекрытием балкона/лоджии, снизу перекрытием балкона/лоджии либо ограждением), либо на относе от проема, предназначенное для отделения планировочного пространства балкона (лоджии) от внешней среды и его защиты от внешних климатических воздействий.
Примечание - Блок остекления балкона является составным элементом балконной конструкции и в общем случае состоит из следующих сборочных единиц: рамы либо направляющих профилей, створок и/или светопрозрачного заполнения, фурнитуры. Может быть оснащен рядом дополнительных функциональных элементов.
3.4 вентиляционный клапан: Приточное устройство, встроенное в изделие, предназначенное для обеспечения нормативного воздухообмена.
3.5 взломоустойчивые оконные блоки: Оконные блоки, конструктивное исполнение которых обеспечивает повышенную защиту от проникновения в помещение за счет использования физической силы и/или определенного инструмента.
3.6 глухое остекление [остекление без створок]: Светопрозрачное или непрозрачное заполнение оконного блока, балконного дверного блока или блока остекления балкона (части оконного блока или блока остекления балкона), не предусматривающее возможность какого-либо вида открывания и жестко закрепленное в раме.
3.7 декоративная накладная деталь: Накладные декоративные профили, наклеиваемые на стекло/стеклопакет с внутренней или наружной стороны и образующие ложный переплет (фальшпереплет).
3.8 деревоалюминиевый оконный блок: Оконный блок, включающий в себя рамочные элементы, выполненные из комбинации профилей (деревянных и из алюминиевых сплавов), совместно обеспечивающих сопротивление эксплуатационным нагрузкам.
3.9 деревянный оконный блок с алюминиевыми накладками: Оконный блок из деревянных рамочных элементов, наружные поверхности которых защищены от атмосферных воздействий накладными деталями из алюминиевых сплавов.
3.10 изделие: Совокупность функционально взаимосвязанных между собой сборочных единиц и деталей, собранных воедино в условиях производства.
Примечание - Для удобства транспортирования допускается разделять изделие на отдельные части для дальнейшей сборки по месту использования.
3.11 изделие правого [левого] открывания: Одностворчатое изделие с поворотным или поворотно-откидным открыванием с расположением петель с правой [левой] стороны при виде со стороны открывания створки (полотна).
Примечание - При наличии в изделии нескольких створок с поворотным или поворотно-откидным открыванием вид открывания определяют по расположению рабочей створки, предназначенной для проветривания.
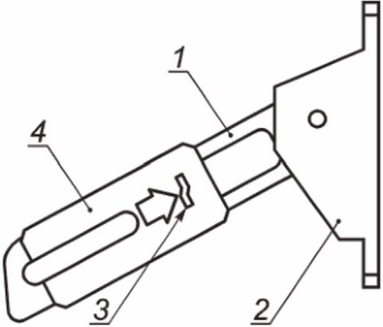
3.12 импост: Профильный элемент, закрепляемый в раме изделия, предназначенный для притвора створок и установки ответных частей фурнитуры в двухстворчатых с большим количеством створок изделиях, а также для установки глухого остекления.
Примечание - В зависимости от расположения в раме может быть вертикальным, горизонтальным, а при необходимости может быть установлен под углом к вертикали/горизонтали. В отдельных случаях импост(ы) может (могут) быть установлен(ы) в створочные элементы оконных блоков, а также использован(ы) для конструктивного деления рамы с глухим остеклением на несколько частей (в таком случае импост называют "горбылек").
3.13 каскадные испытания: Первичные испытания типовых образцов изделий определенных систем профилей, которые проведены системодателем и результаты которых переданы им переработчикам его продукции на условиях, установленных в соглашениях (контрактах) между системодателем и переработчиком его продукции.
Примечание - Порядок выбора типовых образцов для проведения каскадных испытаний определяется в соответствии с нормативными документами, действующими на территории государства - участника Соглашения, принявшего настоящий стандарт.
3.14 клапанная створка: Створка шириной не более 250 мм без светопрозрачного заполнения, предназначенная для проветривания помещения.
3.15 надежность изделия: Способность изделия выполнять требуемые функции, а также сохранять заявленные изготовителем изделия технико-эксплуатационные характеристики в заданных изготовителем изделия условиях его применения и обслуживания в течение срока службы.
3.16 наплав: Выступ профиля створки, рамы или импоста, предназначенный для установки уплотняющих прокладок и перекрывающий зазор в притворе.
3.17 неоткрывающаяся створка [фальшстворка]: Створка, закрепленная в раме неподвижно и без механизма открывания.
3.18 непрозрачное заполнение: Заполнение, закрепляемое в рамочных элементах либо на участках глухого остекления изделий, не обладающее функцией светопропускания.
3.19 образец-эталон: Образец продукции, предназначенный для сравнения с ним единиц продукции при изготовлении, приемке и поставке.
3.20 оконная фурнитура: Совокупность приборов и механизмов, обеспечивающих открывание, закрывание и другие функциональные возможности оконных и балконных блоков.
3.21 оконные блоки для нежилых помещений: Оконные блоки, устанавливаемые в помещениях общего пользования или технических помещениях.
3.22 оконный блок из алюминиевых профилей с деревянными накладками: Оконный блок из алюминиевых рамочных элементов, облицованных со стороны помещения декоративными деревянными накладными деталями.
3.23 оконный блок: Изделие, устанавливаемое в проем наружной стены и предназначенное для естественного освещения, а также для вентиляции помещения, его защиты от внешних климатических и других воздействий.
Примечание - Оконный блок является составным элементом окна (оконной конструкции) и в общем случае состоит из следующих сборочных единиц: рамы, створок, подставочного профиля, светопрозрачного заполнения, фурнитуры. Может быть оснащен рядом дополнительных функциональных элементов.
3.24 оконный блок из поливинилхлоридных профилей с алюминиевыми накладками: Оконный блок из поливинилхлоридных рамочных элементов, наружные поверхности которых облицованы декоративными накладными деталями из алюминиевых сплавов.
3.25 оконный проем: Проем в стене для монтажа одного или нескольких оконных (балконных) блоков.
3.26 основные оконные блоки: Виды оконных блоков, применяемые для заполнения световых проемов наружных стен жилых помещений, кухонь и других помещений с постоянным пребыванием людей с нормируемыми параметрами внутреннего микроклимата.
3.27 относительный прогиб: Величина, выражаемая отношением прогиба силового элемента изделия к его длине, возникающего в результате действия на них нагрузок и воздействий различных типов.
3.28 паспорт изделия: Документ, содержащий сведения, удостоверяющие гарантии изготовителя, значения основных параметров и характеристик (свойств) изделия, дополнительные сведения об оценке соответствия и утилизации изделий, а также другие сведения по усмотрению изготовителя продукции.
3.29 полотно: Сборочная единица балконного дверного блока, соединяемая с рамой посредством петель или направляющих, включающая в себя светопрозрачное заполнение, причем нижняя часть полотна может быть выполнена в виде непрозрачной щитовой/филенчатой конструкции или светопрозрачного заполнения с обязательным использованием безопасного стекла, рассчитанного на восприятие удара мягким телом.
3.30 притвор: Узел сопряжения створки с профильными элементами рамы или импоста (штульпа), порога.
Примечание - Различают следующие виды притворов: основной притвор - узел (узлы) сопряжения вертикальных и верхнего горизонтального профилей створки и рамы; нижний притвор - узел (узлы) сопряжения нижних горизонтальных профилей створки и рамы; импостный притвор - узел (узлы) сопряжения профилей створки с импостом рамы; штульповый притвор - узел (узлы) сопряжения профилей створок между собой.
3.31 профиль [брусок]: Профилированная деталь рамочного элемента изделия или отдельная погонажная деталь.
3.32 прочность угловых соединений: Способность угловых соединений профилей воспринимать механические нагрузки без разрушения.
3.33 рама [коробка]: Сборочная единица оконного (балконного) блока или блока остекления балкона, закрепляемая в световом проеме и предназначенная для установки створок, полотен, светопрозрачного заполнения.
Примечание - В отдельных случаях в раму могут быть установлены непрозрачные элементы заполнения (сэндвич-панели), вентиляционные клапаны и пр.
3.34 светопрозрачное заполнение: Заполнение из листового стекла, стеклопакета или их комбинации, установленное в рамочном элементе изделия.
3.35 системный паспорт (изделия): Документ, удостоверяющий значения основных конструктивных параметров и эксплуатационных характеристик систем профилей и разработанных на их основе светопрозрачных конструкций.
3.36 системодатель: Организация, являющаяся разработчиком системы конструктивных элементов (профилей из поливинилхлоридных либо алюминиевых сплавов и комплектующих к ним, фурнитуры), предназначенной для изготовления изделий.
3.37 срок службы изделия: Продолжительность нормальной эксплуатации изделия с предусмотренным техническим обслуживанием до состояния, при котором его дальнейшая эксплуатация нецелесообразна.
3.38 створчатый элемент (створка): Сборочный элемент оконного (балконного) блока или блока остекления балкона рамочной конструкции, предназначенный для установки светопрозрачного (непрозрачного) заполнения и соединяемый с рамой посредством петель или других механических связей.
3.39 техническая документация: Совокупность конструкторской, технологической и проектной документации, используемой для изготовления, монтажа, эксплуатации, ремонта и утилизации продукции.
3.40 устройство для обеспечения безопасности детей: Отдельный элемент или механизм, устанавливаемый на изделие и предназначенный для блокировки или ограничения угла открывания створки для предотвращения выпадения детей из открытых окон.
3.41 форточка: Рамочный элемент, навешиваемый на петлях в створку или раму, предназначенный для проветривания помещения.
3.42 французский балкон: Световой проем, в который установлен балконный блок с внешним визуально проницаемым защитным ограждением.
Примечание - Наружная площадка не предусматривается; нижняя грань проема, образованная в пределах толщины стены с наружной стороны от коробки балконного блока, шириной менее 0,6 м, эксплуатируемой площадкой не является.
3.43 фрамуга: Створчатый элемент с горизонтальной осью поворота, имеющий откидное открывание внутрь помещения с нижним или верхним расположением петель, ограниченный профилями, импостом и рамой, предназначенный для проветривания помещения.
3.44 штапик: Профилированная погонажная деталь, предназначенная для крепления заполнения рамочного элемента.
3.45 штульп: Профиль, жестко закрепляемый на створке и обеспечивающий безимпостный притвор.
3.46 шумозащитные оконные блоки: Оконные блоки, снабженные шумозащитными вентиляционными клапанами, позволяющими при открытом положении данных устройств одновременно обеспечивать звукоизоляцию не менее 36 дБ и нормативный воздухообмен в помещении.
3.47 щелевое проветривание: Ограниченное проветривание помещения через фиксированный зазор в притворе между рамой и створкой, ширина которого определена характеристиками используемой фурнитуры.
4 Классификация и условные обозначения
4.1 Оконные и балконные блоки классифицируют по следующим классификационным признакам:
- тип исполнения;
- материалы профильных элементов;
- конструктивное исполнение;
- вид светопрозрачного заполнения;
- число и расположение контуров уплотнения в притворах;
- конструктивное решение притворов створок;
- эксплуатационно-технические характеристики.
4.1.1 По типу исполнения выделяют оконные и балконные блоки:
- основные;
- для нежилых помещений.
4.1.2 По материалам рамочных элементов выделяют оконные и балконные блоки:
- деревянные;
- поливинилхлоридные (ПВХ);
- из алюминиевых сплавов;
- стальные;
- стеклокомпозитные;
- из комбинации материалов.
Примеры вариантов конструкций наиболее распространенных типов оконных блоков, изготовленных из различных материалов, представлены на
рисунке 1.
а - оконные блоки из ПВХ-профилей; б - оконные блоки
из ПВХ-профилей с алюминиевыми накладками; в - оконные блоки
из алюминиевого профиля; г - оконные блоки из алюминиевого
профиля с деревянными накладками; д - деревянные оконные
блоки; е - деревянные оконные блоки с внешними алюминиевыми
накладками; ж - деревоалюминиевые оконные блоки
Рисунок 1 - Примеры конструктивных решений
наиболее распространенных типов оконных блоков,
изготовленных из различных материалов
4.1.3 По конструктивному исполнению выделяют оконные и балконные блоки:
- одинарные;
- спаренные;
- раздельные;
- раздельно-спаренные.
4.1.4 По виду светопрозрачного заполнения выделяют оконные и балконные блоки:
- с листовым стеклом;
- со стеклопакетами;
- с листовым стеклом и стеклопакетами.
Примеры основных типов конструкций и вариантов заполнения светопрозрачной части оконных блоков приведены на
рисунке 2.
а - одинарный оконный блок с одним стеклом; б - одинарный
оконный блок с однокамерным стеклопакетом; в - одинарный
оконный блок с двухкамерным стеклопакетом; г - спаренный
оконный блок с двойным остеклением; д - спаренный оконный
блок со стеклом и стеклопакетом; е - раздельный оконный блок
с двойным остеклением; ж - раздельно-спаренный оконный блок
с тройным остеклением; и - раздельный оконный блок
со стеклом и однокамерным стеклопакетом; к - раздельный
оконный блок со стеклом и двухкамерным стеклопакетом;
л - раздельный оконный блок с двумя стеклопакетами
Рисунок 2 - Основные типы конструкций и варианты
заполнения светопрозрачной части оконных блоков
4.1.5 По числу и расположению контуров уплотнения в притворах выделяют следующие оконные и балконные блоки:
- с одним контуром уплотнения;
- средним и внутренним уплотнением;
- наружным и внутренним уплотнением;
- наружным, внутренним и средним уплотнением.
Примеры узлов притворов с различными числом и расположением уплотнений приведены на
рисунке 3.
а - конструкция с наружным и внутренним уплотнениями;
б - конструкция со средним и внутренним уплотнениями;
в - конструкция с наружным, внутренним и средним
уплотнениями (в створке); г - конструкция с наружным,
внутренним и средним уплотнениями (в раме)
Рисунок 3 - Примеры узлов притворов с различными числом
и расположением уплотнений
4.1.6 По конструктивным решениям притворов створок выделяют оконные и балконные блоки:
- с импостным притвором;
- безимпостным (штульповым) притвором.
Примеры узлов средних (импостных и штульповых) притворов оконных блоков с двойным и тройным уплотнениями приведены на
рисунке 4.
а - горизонтальный импостный притвор деревянного оконного
блока; б - вертикальный импостный притвор деревянного
оконного блока; в - вертикальный штульповый притвор
деревянного оконного блока; г - вертикальный импостный
притвор оконного блока из ПВХ-профиля; д - вертикальный
штульповый притвор оконного блока из ПВХ-профиля;
е - вертикальный импостный притвор оконного блока
из алюминиевого профиля; ж - вертикальный штульповый
притвор оконного блока из алюминиевого профиля
Рисунок 4 - Примеры узлов средних (импостных и штульповых)
притворов оконных блоков с двойным и тройным уплотнениями
4.1.7 Оконные и балконные блоки классифицируют по следующим эксплуатационно-техническим характеристикам:
- общий коэффициент пропускания света;
- приведенное сопротивление теплопередаче;
- воздухопроницаемость;
- водонепроницаемость;
- звукоизоляция;
- сопротивление ветровым нагрузкам.
4.1.8 Классы оконных и балконных блоков по перечисленным в
4.1.7 эксплуатационно-техническим характеристикам устанавливают в соответствии с данными, приведенными в
таблицах 1 -
6.
Классификацию изделий по общему коэффициенту пропускания света проводят по
таблице 1.
Таблица 1
Классы изделий по общему коэффициенту пропускания света
Общий коэффициент пропускания света | Класс изделия по общему коэффициенту пропускания света |
0,50 и более | А |
0,45 - 0,49 | Б |
0,40 - 0,44 | В |
0,35 - 0,39 | Г |
0,34 и менее | Д |
Классификацию изделий по приведенному сопротивлению теплопередаче проводят по
таблице 2.
Таблица 2
Классы изделий по приведенному сопротивлению теплопередаче
Приведенное сопротивление теплопередаче, м2·°C/Вт | Класс изделия по приведенному сопротивлению теплопередаче |
0,80 и более | А |
0,70 - 0,79 | Б |
0,60 - 0,69 | В |
0,50 - 0,59 | Г |
0,49 и менее | Д |
Классификацию изделий по воздухопроницаемости проводят по
таблице 3.
Таблица 3
Классы изделий по воздухопроницаемости
Объемная воздухопроницаемость при перепаде давления  , приведенная к общей площади изделия, м 3/(ч·м 2), для построения нормативных границ классов | Объемная воздухопроницаемость при перепаде давления  , приведенная к общей длине притворов, м 3/(ч·м), для построения нормативных границ классов | Класс изделия по воздухопроницаемости |
3 | 0,75 | А |
9 | 2,25 | Б |
17 | 4,25 | В |
27 | 6,75 | Г |
50 | 12,50 | Д |
Классификацию изделий по водонепроницаемости проводят по
таблице 4.
Таблица 4
Классы изделий по водонепроницаемости
Предел водонепроницаемости, Па, не менее | Класс изделия по водонепроницаемости |
600 | А |
450 | Б |
300 | В |
250 | Г |
200 | Д |
150 | Е |
Классификацию изделий по звукоизоляции проводят по
таблице 5.
Таблица 5
Классы изделий по звукоизоляции
Звукоизоляция, дБА | Класс изделия по звукоизоляции |
Более 36 | А |
34 - 36 | Б |
31 - 33 | В |
28 - 30 | Г |
25 - 27 | Д |
25 и менее | Е |
Классификацию изделий по сопротивлению ветровой нагрузке проводят по
таблице 6.
Таблица 6
Классы изделий по сопротивлению ветровой нагрузке
Ветровое давление P, Па | Класс изделия по сопротивлению ветровой нагрузке в зависимости от ветрового давления |
1000 и более | А |
800 - 999 | Б |
600 - 799 | В |
400 - 599 | Г |
200 - 399 | Д |
200 и менее | Е |
Примечания 1 P - ветровое давление, при котором выполняется оценка работоспособности изделий при многократных воздействиях перепадов давления по ГОСТ 26602.5 (или иным нормативным документам). 2 Изделиям класса А присваивают обозначение в виде Аxxxx, где xxxx - значение давления P. |
4.2 Блоки остекления балконов классифицируют по следующим классификационным признакам:
- по вариантам открывания рамочных элементов;
- материалам рамочных элементов;
- эксплуатационно-техническим характеристикам.
4.2.1 По вариантам открывания рамочных элементов выделяют блоки остекления балконов:
- с поворотным открыванием;
- поворотно-откидным открыванием;
- параллельно-раздвижным открыванием.
Варианты открывания рамочных элементов блоков остекления балконов приведены на
рисунке 5.
а - блок остекления балкона из ПВХ-профиля с поворотным
(поворотно-откидным) открыванием створок; б - блок
остекления балкона из ПВХ-профиля с параллельно-раздвижным
открыванием створок; в - блок остекления балкона
из алюминиевого профиля с поворотным (поворотно-откидным)
открыванием створок; г - блок остекления балкона
из алюминиевого профиля с параллельно-раздвижным
открыванием створок
Рисунок 5 - Варианты открывания блоков остекления балконов
4.2.2 По материалам профильных элементов выделяют блоки остекления балконов:
- из древесины;
- ПВХ;
- алюминиевых сплавов;
- из комбинации материалов.
Варианты открывания блоков остекления балконов приведены на
рисунке 5.
4.2.3 Блоки остекления балконов классифицируют по показателям общего коэффициента пропускания света, по водонепроницаемости и сопротивлению ветровым нагрузкам аналогично оконным и балконным блокам. Классификация блоков остекления балконов по сопротивлению теплопередаче, воздухопроницаемости и звукоизоляции не выполняется.
4.3 Условные обозначения
4.3.1 Структура условного обозначения изделий приведена в
таблице 7.
Порядок изложения элементов условного обозначения | 1 | 2 | 3 | 4 | 5 | 6 | 7 | 8 |
Элемент условного обозначения | Тип изделия | Материал изделия | Габаритные размеры изделия | Тип конструкции и вариант остекления | Способ открывания и тип фурнитуры | Обозначение стандарта | Обозначение артикула | Дополнительные сведения |
4.3.2 Для указания типа изделия используют следующие обозначения:
О - оконный блок основной;
ОСвп - оконный блок для нежилых помещений;
ОСш - оконный блок шумозащитный;
ОСвз - оконный блок взломоустойчивый;
Б - балконный блок.
4.3.3 Для указания материала профильных элементов используют следующие обозначения:
Д - древесина;
А - алюминиевый сплав;
П - ПВХ;
Ст - сталь;
СК - стеклокомпозит;
ДА - древесина + алюминиевый профиль;
ДАН - древесина с внешней алюминиевой накладкой;
ПА - ПВХ-профиль с внешней алюминиевой накладкой;
АД - алюминиевый профиль с внутренней накладкой из древесины;
К - профили из комбинации материалов.
4.3.4 Габаритные размеры изделия следует фиксировать в форме:
H x L x B,
где H - высота изделия, мм;
L - ширина изделия, мм;
B - монтажная ширина рамы, мм (допускается не указывать).
4.3.5 Для указания типа конструкции и варианта остекления используют следующие обозначения:
Л - с бесцветным листовым стеклом;
З - с закаленным стеклом;
Т - с термоупрочненным стеклом;
О - с листовым стеклом, окрашенным в массе;
СЗ - со стеклом с солнцезащитным и декоративным твердым покрытием;
М - с многослойным стеклом;
ПП - стекло с полимерными пленками;
СП - со стеклопакетом;
ОЛ - одинарной конструкции с листовым остеклением;
ОСП - одинарной конструкции со стеклопакетом;
СпЛ - спаренной конструкции с листовым остеклением;
РЛ - раздельной конструкции с листовым остеклением;
Р2СП - раздельной конструкции со стеклопакетами;
РС3Л - раздельно-спаренной конструкции с листовым остеклением.
4.3.6 Для указания способа открывания используют следующие обозначения в соответствии с
ГОСТ 30777:
ПР - поворотное - с поворотом створки вокруг вертикальной крайней оси;
ОТ - откидное - с поворотом створки вокруг нижней оси;
ПОТ - поворотно-откидное - с поворотом створки вокруг вертикальной и нижней крайних осей;
ОТП - откидно-поворотное - с поворотом створки вокруг нижней и вертикальной крайних осей;
ПВ - параллельно-выдвижное - параллельное выдвижение створки из плоскости окна на определенное расстояние;
СП - среднеповоротное - с поворотом створки вокруг горизонтальной оси;
ВП - вертикально-поворотное - с поворотом створки вокруг вертикальной оси, смещенной от края створки;
Рз - раздвижное - с горизонтальным перемещением створок;
П - подъемное - с перемещением створки в вертикальной плоскости;
Ск - складное - со створками, складывающимися в "гармошку";
Н - неоткрывающаяся створка;
К - комбинированное - с совмещением в одной конструкции разных видов открывания створок;
ГО - глухое остекление;
ОТн - откидное наружу - с поворотом створки вокруг верхней оси.
4.3.7 Для указания направления открывания створки используют следующие обозначения:
ВП - внутрь помещения;
НП - наружу;
ДО - двухстороннего открытия;
Л - левого открывания;
П - правого открывания;
СО - симметричное открывание.
4.3.8 Условное обозначение изделий рекомендуется дополнять эскизом изделия со стороны помещения с указанием габаритных размеров изделия и схемы открывания створок, а также классов по эксплуатационным характеристикам.
4.3.9 Эксплуатационно-технические характеристики изделий (в виде классов или в количественном выражении), а также другие особенности конструкции изделия (например, марку профильной системы, цвет изделий, наличие устройств проветривания и пр.) приводят в паспорте изделий и договоре на их поставку в виде текстовой записи.
4.3.10 При наличии вентиляционных клапанов и замков для обеспечения безопасности детей условное обозначение дополняют буквенными обозначениями:
ВК - вентиляционный клапан;
УВД - устройство для обеспечения безопасности детей.
4.3.11 Примеры условных обозначений
Пример условного обозначения оконного блока основного из ПВХ-профилей с внешними алюминиевыми накладками, с габаритными размерами по высоте и ширине 2120 и 1760 мм соответственно, с монтажной шириной рамы 82 мм, одинарной конструкции со стеклопакетом 4М1-14-4М1-14-И6 с поворотно-откидными и откидными створками, выполненный в соответствии с требованиями
ГОСТ 30674:
О-ПА-2120 x 1760 x 82
или
О-ПА-2120 x 1760 x 82 ОСП (4М1-14-4М1-14-И6)
Дополнительная информация из эскиза (см.
рисунок 6): оконный блок разбит на две равные поворотно-откидные створки шириной 880 м и фрамугу высотой 600 мм во всю ширину изделия.
Рисунок 6 - Эскиз оконного блока
Эксплуатационно-технические характеристики изделия, в т.ч. их класс (при наличии), указываемые в паспорте изделия, договоре на поставку изделий и в проектной документации: класс изделия по общему коэффициенту пропускания света - А, класс изделия по приведенному сопротивлению теплопередаче - Б, класс изделия по воздухопроницаемости - А, класс изделия по водонепроницаемости - А, класс изделия по звукоизоляции - Г, класс изделия по сопротивлению ветровой нагрузке - А.
Цвет окна: изнутри - белый, снаружи - серый RAL 7016.
Пример условного обозначения блока остекления балкона из ПВХ-профилей, с габаритными размерами по ширине и высоте 1620 и 2640 мм соответственно, с раздвижными створками, с применением листового стекла 6М1, выполненного в соответствии с требованиями ГОСТ 23166:
ОБЛ - П - 2640 x 1620 - Рз
или
ОБЛ - П - 2640 x 1620 - Рз - 6М1 ГОСТ 23166-2024
Дополнительная информация из эскиза (см.
рисунок 7): блок остекления балкона разбит на три равные раздвижные створки шириной 880 мм.
Рисунок 7 - Эскиз блока остекления балкона
Эксплуатационно-технические характеристики изделия, указываемые в проектной документации, паспорте изделия и договоре на поставку: класс изделия по общему коэффициенту пропускания света - А; класс изделия по сопротивлению ветровой нагрузке - В.
Цвет профилей блока остекления балкона: изнутри - белый, снаружи - белый.
5 Технические требования и характеристики
5.1.1 Основными эксплуатационно-техническими характеристиками оконных и балконных дверных блоков являются:
- общий коэффициент пропускания света;
- приведенное сопротивление теплопередаче;
- звукоизоляция;
- воздухопроницаемость;
- водонепроницаемость;
- сопротивление ветровой нагрузке;
- безотказность.
5.1.2 Основными эксплуатационно-техническими характеристиками блоков остекления балконов являются:
- общий коэффициент пропускания света;
- водонепроницаемость;
- сопротивление ветровой нагрузке;
- безотказность.
5.1.3 Изделия должны быть безопасными в эксплуатации и обслуживании. Требования к безопасной эксплуатации приведены в
разделе 6.
5.1.4 Срок службы оконного блока зависит от его ремонтопригодности.
Срок службы изделия должен быть указан в техническом задании на изготовление изделий или в проектной документации.
В ходе срока службы изделие должно сохранять свою надежность при соблюдении следующих условий:
- обеспечение допустимых изготовителем изделий и изготовителями комплектующих для их устройства условий эксплуатации изделий;
- выполнение рекомендуемых изготовителем изделий регламентных работ по техническому обслуживанию изделий и замене его отдельных комплектующих.
Срок службы изделия не должен быть меньше его гарантийного срока (см.
раздел 12).
5.2 Требования к конструкции оконных и балконных блоков
5.2.1 Оконные и балконные блоки должны соответствовать требованиям настоящего стандарта, стандартов на конкретные виды и типы изделий, должны быть изготовлены по конструкторской и технологической документации, утвержденной руководителем предприятия-изготовителя. При изготовлении изделий необходимо учитывать рекомендации, представленные в технической документации системодателей.
5.2.2 Конструкция, габаритные размеры, схемы открывания, основные эксплуатационно-технические характеристики, материал, цвет и комплектация изделий (в т.ч. устройствами для обеспечения безопасности детей, вентиляционными клапанами) должны быть определены в техническом задании на изготовление изделий или в проектной документации на объект строительства. Наличие в изделиях неоткрывающихся створок или фрамуг, а также глухого остекления устанавливают в проектной документации с учетом требований
раздела 6.
5.2.3 Оконные и балконные блоки в общем случае включают в себя непрозрачную часть, образуемую профилями рамочных элементов (рама, створка, форточка), заполнение, состоящее из прозрачных и непрозрачных элементов, и элементы фурнитуры. Они могут включать в себя дополнительные элементы жесткости: импосты, накладные усилители и пр. Подвижность открывающихся элементов конструкций обеспечивается фурнитурой.
5.2.4 Габаритные размеры и площадь изделия, а также размеры и массу открывающихся створок, площадь, соотношение их ширины и высоты следует принимать на основании рекомендаций системодателей и изготовителей фурнитуры. В случаях, не предусмотренных технической документацией системодателей, возможность изготовления оконных и балконных блоков должна быть установлена на основании проведения лабораторных испытаний изделий по
ГОСТ 24033,
ГОСТ 30777.
Если в конструкции оконного блока применяют подставочный или доборный (расширительный) профили, их габариты включают в общую площадь изделия. Необходимость применения подставочного или доборного (расширительного) профиля, их габаритные размеры и иные параметры устанавливают в проектной документации или договоре на изготовление.
5.2.5 Рамочные элементы оконных и балконных блоков должны включать в себя функциональные отверстия для осушения и отвода воды из полости сопряжения профилей створки и рамы, между кромками светопрозрачного (непрозрачного) заполнения и профилем, а также для компенсации ветрового давления, снижения нагрева цветных профилей и пр. Число, размеры и расположение функциональных отверстий должны соответствовать технической документации системодателя. Наружные отверстия для отвода воды на наружной лицевой поверхности оконной рамы следует защищать колпачками.
5.2.6 Импостные и угловые соединения рамочных элементов в зависимости от конструкции изделия и материала изготовления могут быть клеевыми, сварными, прессованными, сборно-разборными на механических или иных связях. Конструктивные решения соединений приводят в рабочей документации на конкретные виды изделий.
5.2.7 Угловые соединения должны выдерживать контрольные нагрузки (см.
8.12). Значения контрольных нагрузок (прочность угловых соединений) устанавливают в нормативных документах и конструкторской документации на конкретные виды изделий.
5.2.8 Конструкция оконных и балконных блоков должна обеспечивать возможность замены стекол, стеклопакетов (с механическим закреплением в раме/створке с помощью штапиков), оконных приборов, уплотняющих прокладок без нарушения целостности профильных элементов изделий. Рекомендации по замене уплотняющих прокладок в оконных и балконных блоках устанавливают в технической документации системодателя.
5.2.9 Изделия должны быть оснащены устройствами открывания (фурнитурой), обеспечивающими(ей) их надежную эксплуатацию. Число точек запирания, расстояние между ними устанавливают в соответствии с технической документацией системодателей.
В изделиях рекомендуется применение петель по
ГОСТ 30777 (в т.ч. скрытых), обеспечивающих регулирование зазоров в притворах, и фиксаторов открывания, регулирующих угол открывания створчатых элементов (в т.ч. в положении щелевого проветривания). Для деревянных оконных блоков по
ГОСТ 11214,
ГОСТ 25097,
ГОСТ 26601,
ГОСТ 24699 необходимо применять запирающие устройства (врезные завертки, накладные шпингалеты) в соответствии с
ГОСТ 5090.
При переводе изделий из режима "Открыто" в режим "Закрыто" и обратно должны быть соблюдены эргономические требования согласно
ГОСТ 30777 и обеспечена защита от ошибочных действий (см.
6.1.4).
5.2.10 Оконные блоки могут предусматривать возможность проветривания помещений с помощью форточек, фрамуг, створок с откидным, поворотно-откидным, откидно-поворотным, наклонно-выдвижным, параллельно-выдвижным регулируемым открыванием либо клапанных створок или вентиляционных клапанов, встроенных в изделия и обеспечивающих нормативный воздухообмен. При применении в изделиях фрамуг необходимо выполнять требования безопасной эксплуатации в соответствии с
разделом 6.
5.2.11 Изделия могут быть оснащены дополнительными устройствами, расширяющими их функциональные свойства: устройствами, обеспечивающими регулирование температурно-влажностного режима (вентиляционных мини-клапанов, фурнитуры с щелевым и многоступенчатым проветриванием), противомоскитными сетками и др.
5.2.12 Оконные блоки, предназначенные для применения в жилых помещениях и помещениях с массовым пребыванием детей, следует комплектовать устройствами для обеспечения безопасности детей, обеспечивающими невозможность самостоятельного открытия (без применения специального ключа, сложность манипуляций со створкой, применение инструмента и т.д.) ребенком створок изделий в распашное состояние. Возможные варианты обеспечения данного требования приведены в
6.2.1.
5.2.13 Необходимость комплектации изделий противомоскитными сетками устанавливается в договоре на поставку изделий либо в проектной документации на объект строительства.
5.2.14 Расположение и монтаж дополнительных устройств в изделие проводят в соответствии с технической документацией разработчика этих устройств.
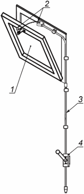
5.2.15 Примеры установки вентиляционных клапанов в конструкцию оконных блоков приведены на
рисунке 8.
а - пример установки вентиляционного мини-клапана в профиль
рамы; б - примеры установки вентиляционных клапанов
(слева направо) в раму, створку, с воздуховодом через
фальц-люфт; в - примеры установки вентиляционных клапанов
(слева направо) в оконную створку, раму оконного блока;
г - примеры установки вентиляционных клапанов
(слева направо) под и над оконным блоком
Рисунок 8 - Схемы установки вентиляционных клапанов
в конструкцию оконных блоков
5.2.16 В изделиях с поворотно-откидным открыванием створок рекомендуется применять фурнитуру, позволяющую выполнять щелевое проветривание путем регулирования зазора между створчатым элементом и рамой. В изделиях с параллельно-выдвижным и наклонно-выдвижным открыванием створок рекомендуется применять фурнитуру, обеспечивающую выдвижение створки с регулируемыми размерами зазора между створчатым элементом и рамой для проветривания.
5.2.17 Конструкция балконных блоков может быть выполнена в виде:
а) составной конструкции, состоящей из скрепленных между собой на механических связях оконного и балконного дверного блоков;
б) одностворчатого или многостворчатого балконного дверного блока.
5.2.18 Полотна балконных дверей могут быть застекленными полностью либо частично в комплекте с нижним прозрачным либо непрозрачным заполнением.
5.2.19 Непрозрачное заполнение полотен дверных балконных блоков изготовляют из трехслойных панелей с пластиковыми или алюминиевыми облицовочными листами, заполненных эффективным утеплителем. Непрозрачную часть дверных балконных блоков для внутренних или неотапливаемых помещений допускается заполнять листовыми или профильными декоративными деталями.
5.2.20 Требования к внешнему виду, шероховатости и качеству отделки устанавливают в зависимости от вида поверхностей деталей в нормативных документах на конкретные виды изделий в зависимости от расположения поверхностей на профильных элементах. Пример определения видов поверхностей приведен на
рисунке 9. Внешний вид изделий (цвет, глянец, текстура) должен соответствовать образцам-эталонам, утвержденным руководителем предприятия-изготовителя.

- внутренняя лицевая поверхность;

- наружная
лицевая поверхность;

- нелицевая поверхность,
видимая при открывании;

- невидимая поверхность
Рисунок 9 - Пример определения видов поверхности
деталей изделий
5.2.21 Требования, обеспечивающие повышенное сопротивление оконных блоков ветровым нагрузкам, установлены в
ГОСТ 31462,
ГОСТ 30777.
5.2.22 Изделия, предназначенные для эксплуатации в отапливаемых помещениях, должны иметь не менее чем два контура уплотняющих прокладок. Изделия, предназначенные для эксплуатации в неотапливаемых помещениях, должны иметь не менее одного контура уплотняющих прокладок.
5.2.23 Оконные блоки, предназначенные для эксплуатации маломобильными группами населения, рекомендуется оснащать комплектом фурнитуры с управлением от ручки, установленной в нижний горизонтальный профиль створки.
5.2.24 В оконных блоках, устанавливаемых в помещениях с дополнительными требованиями к микроклимату (бассейны, светопрозрачные ограждающие конструкции кафе и ресторанов и пр.), рекомендуется применять стеклопакеты с электрообогревом.
5.2.25 В балконных блоках для остекления французских балконов, в балконных дверных блоках без промежуточных горизонтальных импостов, а также в нижней ячейке изделий с горизонтальными импостами площадью более 0,35 м
2 внутреннее стекло в составе стеклопакета должно быть безопасным (многослойным по
ГОСТ 30826 либо закаленным по
ГОСТ 30698).
5.2.26 При изготовлении изделий оконных блоков в "пол", балконных блоков для остекления французских балконов, арочных оконных блоков и пр. допускается проводить вклейку стеклопакета в рамочные элементы изделий. Требования к вклейке должны соответствовать
ГОСТ 31462. Прочность клеевого соединения наружного стекла стеклопакета с наплавом створки должна быть не менее 2,5 Н/мм
2. Клеевое соединение должно быть влагостойким.
5.2.27 Изделия могут быть оборудованы устройствами для защиты от перегрева, которые могут быть расположены в межстекольном пространстве изделия (для спаренных и раздельных оконных блоков - см.
рисунок 10,
а) или над изделием (см.
рисунок 10,
б).
а - раздельный оконный переплет со встроенными
в межстекольное пространство жалюзи; б - оконный блок
со встраиваемыми в оконный проем роллетными ставнями
Рисунок 10 - Примеры оконных блоков
со встроенными солнцезащитными устройствами
5.3 Общие требования к конструкции блоков остекления балконов
5.3.1 К блокам остекления балконов предъявляют требования, аналогичные
5.2.1 -
5.2.14.
5.3.2 Светопрозрачное заполнение блоков остекления балконов может быть выполнено листовым стеклом по
ГОСТ 111, термоупрочненным листовым стеклом по
ГОСТ 33087, закаленным стеклом по
ГОСТ 30698, многослойным стеклом по
ГОСТ 30826. При этом светопрозрачное заполнение нижней части блоков остекления балконов в "пол", разделенного горизонтальным ригелем, должно быть выполнено многослойным безопасным стеклом по
ГОСТ 30826 либо закаленным стеклом по
ГОСТ 30698 с классом защиты не ниже СМ 3 по
ГОСТ 30698 и СМ 3 и Р3А по
ГОСТ 30826. При отсутствии горизонтального ригеля светопрозрачное заполнение блоков остекления балконов выполняется из безопасного стекла с характеристиками, указанными выше.
5.3.3 Блоки остекления балконов с параллельно-раздвижной схемой открывания створок должны быть оснащены устройствами перемещения (фурнитурой, направляющими, роликами, петлями), обеспечивающими их закрепление в раме и возможность открывания, закрывания и перемещения.
5.4 Размеры и предельные отклонения
5.4.1 Номинальные размеры изделий, их рамочных элементов, узлов, деталей, размеры расположения оконных приборов, функциональных отверстий и предельные отклонения от них устанавливают в нормативных документах, технической документации, а также в рабочих чертежах на изготовление конкретных видов и типов изделий. Контроль выполнения требований к размерам и предельным отклонениям проводят только при приемке изделий на производстве при температуре (20 +/- 4) °C. Выполнение данных требований для приемки изделий, поставленных на объект, смонтированных в проемы здания, а также для оценки качества изделий, находящихся в эксплуатации, не допускается.
5.4.2 Предельные положительные и отрицательные отклонения от габаритных размеров изделий не должны превышать плюс 2 мм и минус 1 мм соответственно.
5.4.3 Предельные отклонения номинальных размеров рам и створок (полотен) по длине и ширине, размеров расположения оконных приборов, а также разность длин диагоналей прямоугольных элементов изделий не должны превышать значений, рекомендуемых предприятиями - изготовителями фурнитуры и системодателем.
5.4.4 Места расположения функциональных отверстий, элементов фурнитуры и предельные отклонения от них, а также прочие допуски на изготовление изделий должны быть установлены в технической документации изготовителя в соответствии с требованиями настоящего стандарта, рекомендациями системодателей.
5.4.5 Прочие допуски на изготовление изделий (допустимые зазоры, перепады лицевых поверхностей и пр.) принимают по рекомендациям системодателей и устанавливают в рабочих чертежах в соответствии со стандартами на конкретные виды и типы продукции.
5.5.1 Основные нормируемые эксплуатационно-технические характеристики оконных и балконных блоков, а также блоков остекления балконов приведены в
5.1.1 и
5.1.2.
5.5.2 Основные нормируемые характеристики безотказности и сопротивления статическим нагрузкам элементов оконных блоков, балконных дверных блоков и блоков остекления балконов приведены в
таблице 8.
Таблица 8
Основные нормируемые характеристики надежности элементов
оконных блоков, балконных дверных блоков и блоков
остекления балконов
Наименование показателя | Значение | Нормативный документ |
Безотказность, цикл "открывание-закрывание", не менее: | | |
- основные оконные блоки | 20 000 | |
- шумозащитные и взломоустойчивые оконные блоки | 20 000 | |
- оконные блоки для нежилых помещений | 5 000 | |
- балконные дверные блоки | 20 000 | |
- фрамужные створки оконных блоков | 20 000 | |
- блоки остекления балконов: | | |
- поворотно-откидные | 20 000 | |
- поворотные, параллельно-раздвижные | 20 000 | |
Сопротивление статическим нагрузкам, Н, не менее: | | |
- перпендикулярно плоскости створки/полотна | 250/400 | |
- в плоскости створки (полотна) | 1000 | |
- в плоскости створки (полотна) для раздельных деревянных оконных блоков (форточка/внутренняя створка/наружная створка/внутреннее полотно/наружное полотно) | 250/1000/500/1200/700 | |
5.5.3 Требования к прогибам профильных элементов изделий
Требования к предельным значениям относительных прогибов силовых профильных элементов изделий устанавливают в техническом задании на изготовление изделий либо в проектной документации. При этом должны быть соблюдены следующие условия:
- относительный прогиб силовых профильных элементов основных оконных и балконных блоков, оконных блоков нежилых помещений, блоков остекления балконов при действии ветровых, температурных и других видов нагрузок и воздействий (в т.ч. их сочетаний) должен быть не более 1/200 их расчетной длины;
- относительный прогиб силовых профильных элементов шумозащитных и взломоустойчивых оконных блоков при действии ветровых, температурных и других видов нагрузок и воздействий (в т.ч. их сочетаний) должен быть не более 1/300 их расчетной длины.
При указанных выше значениях относительных прогибов изделия должны сохранять свои заявленные характеристики и функциональность. Допускается сохранение остаточных прогибов силовых профильных элементов изделий после снятия нагрузок. При этом значения остаточных прогибов не должны превышать указанных выше значений.
5.5.4 Требования к общему коэффициенту пропускания света изделий
Общий коэффициент пропускания света изделий устанавливают в проектной документации с учетом требований по обеспечению естественного освещения помещений в соответствии с нормативными документами
<1>, действующими на территории государства - участника Соглашения, принявшего настоящий стандарт.
--------------------------------
<1> В Российской Федерации - в соответствии с
СП 52.13330.2016 "СНиП 23-05-95* Естественное и искусственное освещение".
5.5.5 Требования к приведенному сопротивлению теплопередаче оконных и балконных блоков
Приведенное сопротивление теплопередаче оконных и балконных блоков устанавливают в проектной документации с учетом требований по обеспечению тепловой защиты зданий, регламентируемых нормативными документами
<1>, действующими на территории государства - участника Соглашения, принявшего настоящий стандарт.
--------------------------------
<1> В Российской Федерации - в соответствии с
СП 50.13330.2012 "СНиП 23-02-2003 Тепловая защита зданий".
5.5.6 Требования к воздухопроницаемости оконных и балконных блоков
Основные оконные и балконные блоки должны иметь класс по воздухопроницаемости не ниже Б.
Шумозащитные и взломоустойчивые оконные блоки должны иметь класс по воздухопроницаемости не ниже А.
Оконные блоки для нежилых помещений должны иметь класс по воздухопроницаемости не ниже В.
Оконные блоки неотапливаемых помещений должны иметь класс по воздухопроницаемости не ниже Д.
5.5.7 Требования к водонепроницаемости изделий
Основные оконные и балконные блоки должны иметь класс по водонепроницаемости не ниже Б.
Шумозащитные и взломоустойчивые оконные блоки должны иметь класс по водонепроницаемости не ниже А.
Оконные блоки для нежилых помещений и блоки остекления балконов (с поворотными либо поворотно-откидными створками) должны иметь класс по водонепроницаемости не ниже Е.
Для блоков остекления балконов с параллельно-раздвижными створками требования к водонепроницаемости не предъявляются.
5.5.8 Требования к звукоизоляции изделий
Основные оконные и балконные блоки и взломоустойчивые оконные блоки должны иметь класс по звукоизоляции не ниже Г.
Шумозащитные оконные блоки должны иметь класс по звукоизоляции не ниже А.
Оконные блоки для нежилых помещений должны иметь класс по звукоизоляции не ниже Д.
5.6 Требования к материалам и комплектующим деталям
5.6.1 Материалы и комплектующие детали, применяемые для изготовления изделий, должны отвечать требованиям соответствующих нормативных документов и договоров на поставку.
5.6.2 Взаимное влияние применяемых материалов должно не снижать эксплуатационно-технические характеристики изделий и исключать их разрушение.
5.6.3 Материалы и комплектующие детали должны быть стойкими к климатическим воздействиям.
5.6.4 В случаях, предусмотренных законодательством государств - участников Соглашения, принявших настоящий стандарт, материалы и комплектующие, применяемые для устройства изделий, должны иметь санитарно-эпидемиологическое заключение, оформленное в установленном порядке.
5.6.5 Требования к светопрозрачному заполнению
5.6.5.1 В качестве светопрозрачного заполнения оконных блоков, балконных дверных блоков, блоков остекления балконов могут быть применены:
- листовое стекло по
ГОСТ 111 либо нормативным документам предприятия-изготовителя;
- окрашенное в массе стекло по
ГОСТ 32997 либо по технической документации предприятия-изготовителя;
- солнцезащитное стекло или декоративное с твердым покрытием по
ГОСТ 33017 либо по технической документации предприятия-изготовителя;
- стекло с солнцезащитным или декоративным мягким покрытием по
ГОСТ 33086 либо по технической документации предприятия-изготовителя (только в составе стеклопакетов);
- стеклопакеты с электрообогреваемым стеклом по технической документации предприятия-изготовителя и др.
5.6.5.2 В изделиях с применением стекол с высоким коэффициентом поглощения солнечной энергии конструкцию стеклопакетов и стекол в их составе следует подбирать с учетом требований ГОСТ 24866-2014
(пункт 5.2.7).
5.6.5.3 Стеклопакеты (стекла) устанавливают в профильные элементы изделий на несущих (опорных) и дистанционных подкладках. Соприкосновение стеклопакета (стекла) с поверхностью профилей не допускается.
5.6.5.4 Рекомендуемые схемы расположения подкладок в зависимости от способа открывания створки приведены на
рисунке 11.
а - неоткрывающийся оконный блок; б - оконный блок
с поворотной (распашной) створкой; в - оконный блок
с поворотно-откидной створкой; г - оконный блок с откидной
створкой; д - оконный блок с подвесной створкой;
е - оконный блок со среднеподвесной створкой;
ж - оконный блок с раздвижной створкой; и, к - оконные
блоки со створками сложной конструкции;

- несущая подкладка;

- дистанционная подкладка
Рисунок 11 - Схемы расположения подкладок под стеклопакет
в зависимости от типа открывания створок
При необходимости в нижние профили рамы допускается установка дополнительных несущих подкладок.
В случае применения технологии вклейки стеклопакетов (стекла) правила установки подкладок устанавливают в технической документации предприятия-изготовителя.
5.6.5.5 Несущие (опорные) и дистанционные подкладки должны быть изготовлены из атмосферо- и морозостойких полимерных материалов (например, из полиамида или полиэтилена низкого давления по нормативным документам) с твердостью по Шору А 75 - 90 ед. Длина несущих подкладок - от 70 до 150 мм в зависимости от габаритов и массы элементов остекления, ширина - на 2 мм шире толщины элементов остекления.
Конструкция и крепление подкладок не должны допускать их смещения во время транспортирования и эксплуатации.
Перекос подкладок при установке не допускается.
Конструкция подкладок не должна препятствовать циркуляции воздуха между профильным элементом и стеклопакетом.
5.6.5.6 Стеклопакеты (стекла для оконных блоков по
ГОСТ 11214,
ГОСТ 25097,
ГОСТ 26601,
ГОСТ 24699, а также стекла для блоков остекления балконов) монтируют с использованием уплотнителей (уплотняющих прокладок) из эластичных полимерных материалов по
ГОСТ 30778. Прилегание прокладок должно быть равномерным, препятствующим свободному проникновению воды.
5.6.5.7 Конструктивные решения узлов крепления стеклопакетов (стекол для оконных блоков по
ГОСТ 11214,
ГОСТ 25097,
ГОСТ 26601,
ГОСТ 24699), а также панелей заполнения непрозрачной части дверного полотна должны препятствовать возможности их демонтажа с наружной стороны.
5.6.6 Требования к оконной фурнитуре, петлям и замочным изделиям
5.6.6.1 Оконная фурнитура, петли, замочные изделия и крепежные детали, применяемые в оконных и балконных блоках, должны соответствовать требованиям
ГОСТ 538,
ГОСТ 30777,
ГОСТ 5089 и нормативных документов на конкретные виды изделий.
5.6.6.3 Устройства закрывания должны соответствовать требованиям
ГОСТ 30777 по следующим показателям:
- безотказность (цикл "открывание-закрывание");
- сопротивление статической нагрузке, приложенной к запорному механизму или ручке перпендикулярно к плоскости створки;
- сопротивление крутящему моменту сил, приложенных к ручке;
- сопротивление нагрузке, приложенной к ограничителю угла открывания в режиме "Проветривание";
- усилие, прикладываемое к ручкам распашных створок (полотен) для их открывания;
- усилие, прикладываемое к ручкам поворотно-откидных устройств для открывания, закрывания и откидывания створки;
- максимальный крутящий момент, прикладываемый к ручке, необходимый для перемещения тяг с запирающими элементами при закрывании и открывании изделия (т.е. при изменении положения ручки из положения "Открыто" в положение "Закрыто" и наоборот);
- усилие, прикладываемое к створкам при их закрывании до требуемого сжатия уплотняющих прокладок.
5.6.6.4 Конструкция петель должна обеспечивать регулировку зазора в притворах. Рекомендуется применение петель и оконной фурнитуры с регулировкой в двух или трех плоскостях. При применении петель, в т.ч. скрытых, необходимо руководствоваться рекомендациями предприятий - изготовителей оконной и дверной фурнитуры.
5.6.6.5 Тип (типоразмеры), число, расположение и способ крепления фурнитуры и петель устанавливают в конструкторской документации в зависимости от размера и массы открывающихся элементов, а также от условий эксплуатации изделий. Расстояние между петлями и точками запирания необходимо устанавливать в соответствии с требованиями
ГОСТ 30777 и технической документацией предприятий - изготовителей фурнитуры.
5.6.6.6 Крепление фурнитуры в профильные элементы следует проводить метизами из стали с защитным цинковым покрытием по
ГОСТ 9.303 толщиной не менее 9 мкм или нержавеющей стали.
5.6.6.7 Детали оконной фурнитуры, замочные и скобяные изделия должны иметь защитно-декоративное или полимерное покрытие не ниже 4-го класса по
ГОСТ 538.
5.6.7 Требования к уплотняющим прокладкам
5.6.7.1 Уплотняющие прокладки должны соответствовать требованиям
ГОСТ 30778.
5.6.7.2 Число контуров уплотняющих прокладок в притворах устанавливают в конструкторской документации системодателя в зависимости от типа исполнения и конструкции изделий (см. также
5.2.22).
5.6.8 Требования к профилям
5.6.8.1 Требования к поливинилхлоридным профилям и их армированию
а) ПВХ-профили для изготовления изделий должны отвечать требованиям
ГОСТ 30673.
б) Изделия рекомендуется изготовлять из ПВХ-профилей белого цвета, в т.ч. ламинированных специальными пленками или окрашенных в массе. По согласованию с системодателем допускается изготовление изделий с различными видами отделки лицевых поверхностей.
в) В производстве оконных блоков необходимо применять профили, изготовленные с ограниченным применением вторичного сырья в соответствии с ГОСТ 30673-2013
(пункт 4.3.2).
г) Главные ПВХ-профили изделий подлежат обязательному усилению стальными вкладышами в соответствии с технической документацией системодателя. Номинальная толщина листового металла стальных вкладышей (без учета допуска по
ГОСТ 19904) должна назначаться в соответствии с технической документацией системодателя, но не менее 1,5 мм. Толщину и геометрию стальных вкладышей силовых профильных элементов изделий подбирают на основании статических расчетов (на действие ветровых нагрузок, собственного веса заполнения, температурных и других типов нагрузок и воздействий) и рекомендаций системодателя.
Примечание - Фактическую толщину стальных вкладышей устанавливают в соответствии с допусками на толщину стального листа по
ГОСТ 19904.
Стыковка или разрыв усилительных вкладышей по длине в пределах одного профиля (в т.ч. при выборке отверстий под оконные приборы и замки) не допускаются.
По согласованию с системодателем допускается усиление главных ПВХ-профилей армирующими вкладышами из полимерных композитных, фиброволоконных и прочих материалов при подтверждении их механических характеристик в ходе системных испытаний в лабораториях, допущенных к проведению таких испытаний в порядке, установленном действующим законодательством государства - участника Соглашения, принявшего настоящий стандарт.
д) Угловые соединения рамочных элементов из ПВХ-профилей допускается усиливать вкладышами или накладными стальными уголками, установленными на внутренней (не видимой в закрытом положении изделия) поверхности профилей.
5.6.8.2 Требования к профилям из алюминиевых сплавов
а) Профили из алюминиевых сплавов для изготовления изделий должны соответствовать требованиям
ГОСТ 22233.
б) Оконные блоки, предназначенные для эксплуатации в отапливаемых помещениях, следует изготовлять с применением комбинированных профилей, включающих в себя соединительные полиамидные профили (термоизоляционные вставки) по
ГОСТ 31014.
в) Профили из алюминиевых сплавов должны иметь защитно-декоративное покрытие по
ГОСТ 22233, исключающее возможность образования коррозии, в т.ч. нитевидной.
Примечание - Нитевидная коррозия возникает при эксплуатации изделий из алюминиевых профилей в условиях морского климата и агрессивных сред. Коррозия образуется в местах повреждения окрашенной поверхности, проникая через поры краски в металл в виде тонких линий. Стойкость к коррозии профилей из алюминиевых сплавов рекомендуется проверять вместе с элементами крепления и фурнитурой из стали с защитным покрытием.
5.6.8.3 Требования к деревянным профилям
Применение древесины разных пород в одном изделии не допускается, за исключением изделий под непрозрачное покрытие. Внутренние лицевые поверхности хвойных деталей под прозрачное покрытие допускается облицовывать ламелями толщиной от 4 до 20 мм из древесины твердых пород.
д) Лакокрасочные покрытия должны иметь прочность сцепления (адгезию) с отделываемой поверхностью не ниже 2-го балла по методу решетчатых надрезов по
ГОСТ 31149.
Толщину лакокрасочного покрытия указывают в технической документации предприятия-изготовителя.
е) Показатели качества отделки древесины (проявление структурных неровностей, естественное различие цветовой тональности и текстуры и др.), а также требования к незаконченному отделочному покрытию допускается устанавливать по соглашению изготовителя с потребителем в договоре (заказе) на изготовление (поставку) изделий. В этом случае оценку качества отделки допускается проводить по образцам-эталонам, согласованным с заказчиком.
Рекомендуется нанесение лакокрасочного покрытия в отфрезерованные пазы и технологические отверстия под фурнитуру, особенно в случае использования древесины с разнотоном по текстуре и большим содержанием дубильных веществ.
5.6.8.4 Профили из стеклокомпозита должны соответствовать требованиям нормативных документов на их изготовление, а также санитарно-гигиеническим и экологическим требованиям.
5.6.9 Требования к облицовочным профилям
5.6.9.1 Форма и размеры сечений облицовочных профилей, примыкающих к деревянным поверхностям изделий, а также к изделиям из ПВХ-профилей, должны обеспечивать минимальную площадь соприкосновения с этими поверхностями, а также возможность проветривания полости между ними. Размеры облицовочных профилей следует подбирать с учетом предполагаемых температурных деформаций облицовываемых изделий.
5.6.9.2 Конструкция крепления алюминиевых и облицовочных ПВХ-профилей к деревянным профилям должна не вызывать деформацию профилей, на которые они установлены.
5.6.9.3 Облицовочные профили из алюминиевых сплавов следует изготовлять по
ГОСТ 22233 или
ГОСТ 8617 и предусматривать анодно-окисное, неорганическое, порошковое полимерное покрытие или защитно-декоративное покрытие по
ГОСТ 9.303. Толщину покрытия устанавливают в технической документации предприятия-изготовителя.
5.6.9.4 Требования к деревянной облицовке (порода древесины, вид и качество отделки, способ крепления) оконных блоков с профилями из алюминиевых сплавов устанавливают в конструкторской документации и договорах на поставку изделий.
5.6.10 Требования к противомоскитным сеткам
5.6.10.1 Противомоскитные сетки должны отвечать требованиям нормативных документов на их изготовление.
5.6.10.2 Крепление москитных сеток должно производиться в соответствии с документацией изготовителя. Для изделий из ПВХ-профилей оно должно выполняться без вскрытия армирующей камеры основных профилей.
5.6.10.3 Для безопасной эксплуатации оконных блоков с установленными противомоскитными сетками необходимо учитывать требования
6.2.2.
5.7.1 Системный паспорт разрабатывает и утверждает изготовитель профилей (системодатель) на каждую систему профилей и на изделия (семейство изделий), выполненные на их основе, с учетом индивидуальных характеристик и рекомендаций по применению.
5.7.2 Системный паспорт (при наличии его у системодателя) рекомендуется включать в комплект технической документации системодателя и применять при проектировании и оценке качества изделий.
5.7.3 Значения характеристик (классов), регламентируемых системным паспортом, должны соответствовать нормам, установленным в стандартах на конкретные изделия.
5.7.4 Результаты испытаний изделий, выполненные системодателем в испытательных центрах (лабораториях) и включенные в системный паспорт, могут быть использованы при оценке соответствия качества продукции.
5.7.5 Срок действия системного паспорта не должен превышать сроков проведения периодических испытаний, установленных в стандартах на методы испытаний.
5.7.6 При проведении испытаний рекомендуется использовать репрезентативные образцы. Требования к выбору репрезентативных образцов установлены в
ГОСТ 24033 и других стандартах на методы испытаний.
5.7.7 Рекомендуемые требования к содержанию системного паспорта установлены в
приложении А.
5.8.1 Входящие в состав изделия главные профили, устройства запирания, стеклопакеты и уплотняющие прокладки должны быть маркированы в соответствии с действующими стандартами на эти изделия. Допускается наличие дополнительной маркировки, выполненной в соответствии с технической документацией системодателя.
5.8.2 Маркировка изделий может быть выполнена любым способом, обеспечивающим ее сохранность и читаемость в течение всего срока службы. Маркировка оконных блоков должна находиться в месте, доступном для прочтения.
Маркировка может быть выполнена в виде этикетки, прикрепленной на видном месте (к ручке, к импосту) и должна храниться собственником в течение гарантийного срока.
Если в процессе эксплуатации изделий маркировка была приведена в состояние плохой видимости или нечитабельности, потребитель может запросить у изготовителей изделий либо у эксплуатирующей компании электронную или бумажную копию паспорта, в котором установлены вся необходимая информация об изделиях и данные изготовителя.
Отсутствие маркировки или ее плохая читаемость, возникшая в ходе эксплуатации изделий, не является критическим дефектом и не может служить причиной замены изделия.
Допускается маркировать изделия машиночитаемой меткой (например, QR-кодом или RFID-меткой), содержащей информацию о фактической комплектации и эксплуатационных характеристиках изделия. Информация должна быть доступна для считывания специальным устройством (сканером и пр.).
5.8.3 При поставке изделий в неполной заводской готовности ответственные узлы и детали изделий (оконные приборы, стеклопакеты и т.п.) должны иметь собственную маркировку, определенную в технической документации предприятия-изготовителя.
5.9 Заводская готовность и комплектация
5.9.1 Оконные и балконные блоки рекомендуется поставлять в полной заводской готовности: с установленными запирающими изделиями, петлями, стеклами/стеклопакетами, уплотняющими прокладками, с законченной отделкой поверхностей, защитной пленкой на лицевых поверхностях.
В комплект поставки изделий могут входить противомоскитные сетки наличники и другие комплектующие.
Запирающие изделия, выступающие за плоскость изделия, допускается поставлять не смонтированными, а в комплекте с основным изделием.
При поставке изделий неполной заводской готовности уровень готовности изделий устанавливают в договоре на их изготовление (поставку) по согласованию изготовителя с потребителем.
Примечание - За наименьший уровень готовности принимают изделия, поставляемые в собранном виде, но при этом комплектация изделий может не включать в себя детали остекления, уплотняющие прокладки и накладные оконные приборы. Также может быть не выполнена окончательная (финишная) отделка поверхностей.
Изделия сборно-разборной конструкции допускается поставлять комплектно в профилях.
5.9.2 Комплектация изделий при их поставке потребителю должна соответствовать требованиям, установленным в заказе (договоре), и должна быть согласована с заказчиком (потребителем).
5.9.3 По согласованию с заказчиком в комплект поставки могут входить: спецификация деталей, узлов и элементов комплекта, паспорт, инструкция по эксплуатации изделий.
5.9.4 По требованию заказчика (потребителя) изготовитель предоставляет типовую инструкцию по монтажу изделий, если условия монтажа не установлены особо в договоре (заказе).
6 Требования к изделиям, обеспечивающие безопасность их использования
6.1 Общие требования к изделиям, обеспечивающие безопасность их использования
6.1.1 Оконные и балконные блоки, блоки остекления балконов должны быть безопасными при использовании (в т.ч. их обслуживании) и соответствовать общим требованиям, предъявляемым к безопасности зданий согласно нормативным правовым документам
<1>, действующим на территории государства - участника Соглашения, принявшего настоящий стандарт.
--------------------------------
<1> В Российской Федерации - согласно Федеральным законам от 30 декабря 2009 г.
N 384-ФЗ "Технический регламент о безопасности зданий и сооружений" и от 22 июля 2008 г.
N 123-ФЗ "Технический регламент о требованиях пожарной безопасности".
Требования к безопасному использованию изделий, в т.ч. к наличию устройств, обеспечивающих невозможность самостоятельного открытия ребенком створок изделий в распашное состояние, должны быть установлены в проектной документации либо в техническом задании на изготовление изделий и отражены в паспорте изделия и/или в общем документе на эксплуатацию здания, включающем в себя мероприятия по обеспечению безопасности эксплуатации объекта, в т.ч. требования к безопасной эксплуатации изделий.
6.1.2 В оконных и балконных блоках, выходящих на балкон (лоджию), допускается устройство одной или нескольких неоткрывающихся створок (участков глухого остекления). При этом изделия должны обеспечивать возможность естественного проветривания помещений за счет мероприятий, предусмотренных
5.2.10. Если балкон/лоджия являются остекленными, то блоки остекления балконов должны иметь открывающиеся створки.
6.1.3 Применение оконных блоков с частью глухого остекления или неоткрывающимися створками, расположенных в жилых помещениях выше первого этажа, допустимо в вариантах, приведенных на
рисунке 12,
а -
д:
- для оконных блоков с частью глухого остекления (неоткрывающейся створкой), ширина светопрозрачного заполнения которого не превышает 400 мм (см.
рисунок 12,
а,
б);
- оконных блоков с глухим остеклением (неоткрывающейся створкой) в центральной части, ширина светопрозрачного заполнения которого не превышает 800 мм (см.
рисунок 12,
в);
- высота светопрозрачного заполнения неоткрывающихся верхних фрамуг либо участков верхнего глухого остекления не должна превышать 400 мм. Устройство неоткрывающихся верхних фрамуг над частью глухого остекления не допускается (см.
рисунок 12,
г);
- с частью глухого остекления (неоткрывающейся створкой), расположенной в нижней части изделия, высота светопрозрачного заполнения которого не превышает 800 мм (см.
рисунок 12,
д);
- ширина балконного дверного блока должна быть не менее 600 мм.
а - двухстворчатый оконный блок с глухим остеклением;
б - трехстворчатый оконный блок с глухим остеклением
по бокам; в - трехстворчатый оконный блок с глухим
остеклением по центру; г - трехстворчатый оконный блок
с глухим остеклением под фрамугой; д - двухстворчатый
оконный блок с нижним глухим остеклением
Рисунок 12 - Примеры конструкций оконных блоков с глухим
остеклением (неоткрывающимися створками)
6.1.4 Для безопасного использования фурнитура изделий должна предусматривать:
- защиту от ошибочных действий при переводе створки из режима "Открыто" в режим "Проветривание" и обратно при поворотно-откидном либо откидно-поворотном способах открывания;
- наличие ограничителей угла открывания для фрамуг, а также для поворотных створок (при отсутствии в их комплектации устройств для обеспечения безопасности детей);
- наличие ограничителей от выхода или выпадения параллельно-раздвижных створок за рамки блоков остекления балконов.
6.1.5 Распашные открывающиеся элементы изделий для жилых зданий должны открываться внутрь помещения, для общественных зданий - в соответствии с проектом.
6.1.6 Для обеспечения безопасной эксплуатации светопрозрачного заполнения оконных, балконных блоков и блоков остекления балконов рекомендуется:
а) применять стекла с обработанными кромками;
6.1.7 В целях исключения травматизма при пользовании оконным блоком с фрамугой, до оконной ручки которого невозможно достать рукой стоя на полу, рекомендуется применять один из следующих вариантов устройств закрывания:
- автоматический (через пульт управления или электрическую кнопку);
- механический с применением специальных рычагов, позволяющих управлять фрамугой стоя на полу.
6.1.8 Необходимость защиты от проникновения в здания через оконные и балконные дверные блоки, устанавливаемые на первом, втором и последнем этажах жилых зданий, а также над их козырьками, парапетами, определяют в соответствии с
ГОСТ 31462.
6.1.9 Применение герметиков и средств очистки стекол, оказывающих химическое воздействие на защитные (гальванические) покрытия деталей фурнитуры, замков и петель, не допускается.
6.2 Требования к изделиям, обеспечивающие безопасность использования их детьми <1>
--------------------------------
<1> Требования к обеспечению безопасности оконных блоков зданий детских дошкольных и общеобразовательных организаций должны быть установлены в нормативных документах на проектирование с учетом специфики этих зданий, связанной с единовременным нахождением большого количества детей различных возрастов и различного функционального назначения помещений образовательных организаций. В Российской Федерации общие требования к обеспечению безопасности детей при эксплуатации оконных блоков приведены в СП 251.1325800.2016 "Здания общеобразовательных организаций. Правила проектирования"
(пункт 7.1.10), СП 252.1325800.2016 "Здания дошкольных образовательных организаций. Правила проектирования"
(пункт 11.30).
6.2.1 В изделиях необходимо применять один из следующих вариантов устройств для обеспечения безопасности детей, позволяющих ограничить возможность распашного открывания створок:
а) откидно-поворотный способ открывания створчатых элементов, предусматривающий вначале при повороте ручки на 90° перевод створки в режим "Откидывание", а при последующем переводе ручки далее на 90° вертикально - перевод створки в распашное положение. Фурнитура с откидно-поворотным способом открывания должна комплектоваться специальной ручкой с ключом (см.
рисунки Б.1 и
Б.4,
в, приложения Б);
б) замки для обеспечения безопасности детей, предназначенные для блокировки распашного открывания створки, но позволяющие ей функционировать в откидном положении. Замки для обеспечения безопасности детей должны предусматривать запирание на ключ (иметь механизм запирания) либо запирание с помощью специального ключа (ручки) без применения замочного механизма. Примеры конструкций замков для обеспечения безопасности детей приведены в приложении Б (
рисунки Б.2 и
Б.3);
в) оконные ручки, обеспечивающие возможность блокировки распашного открывания створок (для поворотно-откидных либо откидно-поворотных створок). Могут быть выполнены в виде оконных ручек со встроенным цилиндровым механизмом, обеспечивающим запирание створки в определенном положении (см.
рисунки Б.4,
б,
в и
Б.5 приложения Б); с кнопкой (см.
рисунок Б.4,
а приложения Б); с механическими блокировочными пластинами, расположенными в накладке под ручкой (см.
рисунок Б.7 приложения Б); в виде съемных ручек в соответствии с
ГОСТ 30777, а также ручек для алюминиевых оконных блоков, состоящих из накладки со съемной рукояткой, закрепленной в корпусе с помощью защелкивающегося механизма, не позволяющего управлять оконной створкой в зафиксированном положении и не требующего применения замочного механизма (см.
рисунок Б.6 приложения Б);
г) ограничители поворотного (распашного) режима створки, обеспечивающие возможность поворота (распахивания) створки на безопасную ширину и фиксирующие створку в этом положении. Могут быть выполнены в виде гибкого троса, соединяющего корпус замка с ответной планкой (см.
рисунок Б.8 приложения Б); в виде жесткой планки (см.
рисунки Б.9 и
Б.10 приложения Б), а также накладных ограничителей (см.
рисунок Б.11 приложения Б), разъединение которых возможно только в положении створки, ограниченном длиной пластины (место разъединения дополнительно защищается подвижной планкой с замком для обеспечения безопасности детей). Данные варианты подходят также для деревянных оконных блоков по
ГОСТ 11214.
Устройства для обеспечения безопасности детей следует выбирать с учетом рекомендаций изготовителей данных устройств в зависимости от конструкции изделий и самого элемента безопасности с обязательным выполнением функции блокировки или ограничения распашного открывания.
6.2.2 При применении в изделиях противомоскитных сеток необходимо выполнять основное условие - исключать возможность доступа детей к противомоскитным сеткам, используя варианты защиты оконных блоков по
6.2.1.
Рекомендуется обеспечивать маркировку противомоскитных сеток знаком опасности, выполненным на лицевой стороне изделия изнутри помещения (см.
рисунок Б.14 приложения Б).
7.1 Продукция должна пройти проверку соответствия требованиям настоящего стандарта, а также условиям, определенным в договоре на изготовление (поставку) изделий.
Методы контроля, приведенные в настоящем разделе, применяют для вновь изготовленной продукции до ее отгрузки и передачи потребителю. При этом измерения и испытания проводят при температуре в помещении (21 +/- 4) °C. Применять данные методы контроля при приемке поставленных на объект изделий, смонтированных изделий, а также изделий, находящихся в эксплуатации, не допускается.
7.2 Качество продукции подтверждают:
- входным контролем материалов и комплектующих изделий;
- операционным контролем;
- приемочным контролем каждой партии готовых изделий.
7.3 Входной контроль материалов и комплектующих изделий проводят по
ГОСТ 24297. Методы входного контроля устанавливают исходя из требований нормативных документов к закупленной продукции.
Примечание - Входной контроль в общем случае может включать в себя:
- проверку наименования, марки, типа, количества поставляемой продукции в соответствии с заказом (договором);
- наличие сопроводительных документов (товарно-транспортных, документов качества и др.) в соответствии с требованиями нормативных документов
<1>, действующих на территории государства - участника Соглашения, принявшего настоящий стандарт;
- контроль геометрических параметров;
- визуальный контроль качества (цвет, внешний вид, наличие видимых дефектов, целостность и пр.);
- методы контроля должны соответствовать требованиям настоящего стандарта, стандартов на конкретный вид продукции либо технической документации предприятия - изготовителя закупленной продукции.
Если в результате входного контроля установлен факт несоответствия либо нестабильности каких-либо показателей качества, изготовитель оконных блоков проводит дополнительные испытания закупленной продукции.
--------------------------------
<1> В Российской Федерации - в соответствии с
ГОСТ Р 56926-2016 "Конструкции оконные и балконные различного функционального назначения для жилых зданий. Общие технические условия".
7.4 Операционный контроль качества продукции проводят в процессе ее изготовления в соответствии с технологической документацией предприятия-изготовителя. Точки контроля, контролируемые параметры и периодичность контроля устанавливают в технологическом регламенте контроля качества. Точность и стабильность параметров технологических операций оценивают в соответствии с требованиями технологической документации предприятия-изготовителя.
7.5 Приемочный контроль изготовленной продукции осуществляет служба контроля качества предприятия-изготовителя в соответствии с требованиями
ГОСТ 15.309. При приемочном контроле осуществляют приемку готовых изделий по качеству на основании данных входного, операционного, приемо-сдаточного контроля и периодических испытаний.
Если комплектующие изделия являются изделиями собственного изготовления предприятия-изготовителя (например, стеклопакеты), они должны пройти приемку на соответствие требованиям нормативных документов на эту продукцию.
7.6 Приемо-сдаточные и периодические испытания продукции проводят с периодичностью и по номенклатуре показателей, установленных в
таблицах 9 и
10.
Таблица 9
Показатели, контролируемые при приемо-сдаточных
и периодических испытаниях оконных и балконных блоков
Наименование показателя | Требование | Метод испытания | Категория испытаний | Периодичность испытаний |
Приемо-сдаточные | Периодические |
1 Общий коэффициент пропускания света | | | - | + | Один раз в пять лет |
2 Приведенное сопротивление теплопередаче | | | - | + |
3 Воздухопроницаемость | | | - | + |
4 Водонепроницаемость | | | - | + |
5 Звукоизоляция | | | - | + |
6 Сопротивление ветровым нагрузкам | | | - | + |
7 Сопротивление статическим нагрузкам | | | - | + | Один раз в три года |
8 Безотказность | | | - | + |
9 Соответствие эргономическим требованиям | | | + | + |
10 Прочность угловых соединений | | | + | + | |
11 Прочность вклейки стеклопакета (при наличии) | | | - | + | Один раз в три года |
| | | + | - | Сплошной контроль |
13 Размеры, предельные отклонения | | | + | - |
14 Сборка изделия в соответствии с рабочей документацией | | | + | + |
15 Правильность установки и функционирования оконной (дверной) фурнитуры и петель | | | + | + |
16 Комплектность, маркировка, упаковка | | | + | - |
Примечания 1 Прочность угловых соединений контролируют при приемо-сдаточных испытаниях с периодичностью, установленной в технологической документации предприятия-изготовителя, и при периодических испытаниях один раз в три года. 2 Коррозионную стойкость, адгезию и качество защитных и защитно-декоративных покрытий проверяют на комплектующих металлических деталях в процессе их производства. Результаты оценки этих показателей оформляют протоколом испытаний и заносят в паспорт комплектующего изделия. |
Таблица 10
Показатели, контролируемые при приемо-сдаточных
и периодических испытаниях блоков остекления балконов
Наименование показателя | Требование | Метод испытания | Категория испытаний | Периодичность испытаний |
Приемо-сдаточные | Периодические |
1 Общий коэффициент пропускания света | | | - | + | Один раз в пять лет |
2 Водонепроницаемость (предел водонепроницаемости) | | | - | + |
3 Сопротивление ветровым нагрузкам | | | - | + |
4 Безотказность | | | - | + |
| |
7.7 Периодические испытания изделий проводят на образцах полной заводской готовности, принятых службой контроля качества предприятия-изготовителя. Образцы продукции для проведения периодических испытаний отбирают в количестве, установленном в стандартах на методы испытаний. Выбор репрезентативных образцов для испытаний проводят в соответствии с
ГОСТ 24033.
Результаты периодических испытаний продукции допускается использовать для оценки соответствия продукции.
7.8 Приемку изделий осуществляют поштучно либо партиями единиц продукции. Партией считают число изделий, отгружаемое по конкретному договору (заказу), но не более 500 шт., оформленное одним документом о качестве (паспортом).
При приемке изделий партиями рекомендуется использовать план одноступенчатого контроля качества изделий, установленный в
таблице 11.
Таблица 11
План одноступенчатого контроля качества изделий
Объем партии, шт. | Объем выборки, шт. | Приемочное число |
Малозначительные дефекты | Критические и значительные дефекты |
От 1 до 12 | Сплошной контроль | 3 | 0 |
13 - 25 | 5 | 3 | 0 |
26 - 50 | 8 | 4 | 0 |
51 - 90 | 12 | 5 | 0 |
91 - 150 | 18 | 7 | 1 |
151 - 280 | 26 | 10 | 2 |
281 - 500 | 38 | 14 | 2 |
Примечания 1 К значительным и критическим дефектам относят дефекты, ведущие к потере функциональности и эксплуатационных характеристик, не устранимые без замены части изделия (поломка профиля или оконных приборов, треснувший стеклопакет и др.), превышение предельных отклонений размеров более чем в полтора раза от установленных в нормативных документах, разукомплектованность изделий. 2 К малозначительным дефектам относят устранимые дефекты: незначительные повреждения поверхности, неотрегулированные оконные приборы и петли, превышение предельных отклонений размеров менее чем в полтора раза от установленных в нормативных документах. |
7.9 Каждая партия изделий должна быть сопровождена паспортом изделия и инструкцией по эксплуатации.
7.10 В паспорте указывают:
- наименование и адрес предприятия-изготовителя или его товарный знак;
- условное обозначение изделия;
- номер партии (заказа);
- количество изделий в партии (шт. и м2);
- спецификацию комплектующих изделий;
- дату отгрузки.
Паспорт изделия должен иметь знак (штамп), подтверждающий приемку партии изделий службой качества предприятия-изготовителя. В паспорте изделия следует указывать информацию о подтверждении соответствия, значения эксплуатационно-технических характеристик изделий, срок службы изделий и гарантийные обязательства.
При реализации изделий через предприятия розничной торговли паспортом изделия сопровождают каждое изделие.
7.11 Инструкция по эксплуатации оконных и балконных блоков, блоков остекления балконов разрабатывается предприятием-изготовителем применительно к тем материалам и комплектующим, которые применяются в производстве изделий.
7.12 Если условиями контрактов (договоров) между заказчиком (потребителем) и предприятием-изготовителем определено, что приемку продукции следует осуществлять представителю заказчика (потребителя), то приемку проводит представитель заказчика (потребителя) в присутствии службы качества предприятия-изготовителя в соответствии с требованиями
ГОСТ 15.309.
Параметры контроля оконных блоков при приемке потребителем указывают в договоре.
7.13 Допускается выполнять замену отдельных комплектующих при поставке изделий на объект. При этом все технико-эксплуатационные характеристики изделий должны соответствовать требованиям проекта. Взаимосвязь изменения эксплуатационно-технических характеристик изделий при замене их составных элементов приведена в
приложении Г.
8.1 Методы контроля, изложенные в настоящем разделе, распространяются на вновь изготовленные изделия, не смонтированные в проемы здания.
8.2 Внешний вид изделий, комплектность, правильность установки элементов остекления и уплотняющих прокладок, наличие функциональных отверстий, крепежных и других деталей проверяют визуально на соответствие образцам-эталонам, требованиям настоящего стандарта и конструкторской документации.
Маркировку и упаковку проверяют визуально.
8.3 Геометрические размеры изделий определяют с использованием методов, установленных в
ГОСТ 24033 и нормативных документах
<1>, действующих на территории государства - участника Соглашения, принявшего настоящий стандарт.
--------------------------------
<1> В Российской Федерации - в соответствии с
ГОСТ Р 58939-2020 "Система обеспечения точности геометрических параметров в строительстве. Правила выполнения измерений. Элементы заводского изготовления" и
ГОСТ Р 58941-2020 "Система обеспечения точности геометрических параметров в строительстве. Правила выполнения измерений. Общие положения".
Предельные отклонения номинальных размеров изделий и их элементов измеряют металлической рулеткой, металлической измерительной линейкой, штангенциркулем, набором щупов, калибрами по нормативным документам либо другими средствами измерений, включая электронные.
Отклонения от прямолинейности (плоскостности) деталей рамочных элементов определяют приложением поверочной линейки или строительного уровня по
ГОСТ 9416 с допуском плоскостности не менее 9-й степени точности к проверяемой детали и измерением наибольшего зазора с помощью щупа.
Предельные отклонения номинальных размеров зазоров под наплавом проверяют с применением набора щупов.
Зазоры в притворе (внутри притвора) определяют измерением штангенциркулем смежных размеров сечения.
Провисание открывающихся элементов в сопряжении смежных деталей определяют щупом как расстояние от ребра металлической линейки, приложенной к верхней сопрягаемой поверхности, до нижней поверхности.
Размеры диагоналей определяют в соответствии с
ГОСТ 24033.
Приборы (оборудование) для проведения измерений должны(о) быть поверены(о) в установленном порядке.
8.4 Работу оконных и дверных приборов и петель проверяют пятиразовым повтором цикла "открывание-закрывание" створочных элементов и запирающих приборов.
8.5 Внешний вид защитно-декоративного покрытия (цвет, глянец, текстура поверхности) проверяют согласно
ГОСТ 15.309 на соответствие образцам-эталонам, утвержденным руководителем предприятия-изготовителя.
8.6 Общий коэффициент пропускания света определяют по
ГОСТ 26602.4. Результаты проведения испытаний по определению общего коэффициента пропускания света могут быть распространены только на изделия, полностью идентичные испытуемым образцам.
8.7 Приведенное сопротивление теплопередаче изделий определяют по
ГОСТ 26602.1 либо расчетным методом с учетом требований нормативных документов
<2>, действующих на территории государства - участника Соглашения, принявшего настоящий стандарт.
--------------------------------
<2> В Российской Федерации - в соответствии с
СП 50.13330.2012 "СНиП 23-02-2003 Тепловая защита зданий" и
ГОСТ Р 56926-2016 "Конструкции оконные и балконные различного функционального назначения для жилых зданий. Общие технические условия".
Результаты испытаний по определению приведенного сопротивления теплопередаче могут быть распространены на изделия с аналогичным конструктивным исполнением (см.
таблицу Г.1 приложения Г). При этом допускается распространять результаты испытаний на образцы большего размера, отличающиеся от испытуемого не более чем на 50%.
8.8 Воздухопроницаемость оконных и балконных блоков, предел водонепроницаемости оконных и балконных блоков, блоков остекления балконов определяют по
ГОСТ 26602.2. Если изделие оснащено вентиляционным клапаном, то испытания следует проводить для двух режимов работы вентиляционного клапана ("Проветривание" и "Закрыто").
Результаты испытания могут быть распространены на изделия с аналогичным конструктивным исполнением (см.
таблицу Г.1 приложения Г), размеры которых превышают размеры испытуемого образца не более чем на 50%.
8.9 Звукоизоляцию оконных и балконных блоков определяют методами согласно
ГОСТ 26602.3 и нормативным документам
<1>, действующим на территории государства - участника Соглашения, принявшего настоящий стандарт.
--------------------------------
<1> В Российской Федерации действует
ГОСТ Р ИСО 10140-2-2012 "Акустика. Лабораторные измерения звукоизоляции элементов зданий. Часть 2. Измерение звукоизоляции воздушного шума".
Звукоизоляционные характеристики изделий следует определять при закрытом положении их створок. Если изделие оснащено вентиляционным клапаном, то звукоизоляционные характеристики изделий следует определять для двух режимов работы вентиляционного клапана ("Проветривание" и "Закрыто").
Согласно ГОСТ 26602.3-2016
(пункт 7.5) в случае испытаний изделий с вентиляционными клапанами условия проведения испытаний при различных режимах их работы уточняют у заказчика.
Результаты испытания могут быть распространены на изделия с аналогичным конструктивным исполнением (см.
таблицу Г.1 приложения Г), размеры которых превышают размеры испытуемого образца не более чем на 50%.
8.10 Сопротивление статическим нагрузкам изделий определяют методами по
ГОСТ 30777 и
ГОСТ 24033. Результатами испытаний считают сохранение формы и работоспособности конструкции в целом.
Сопротивление динамическим нагрузкам, действующим со стороны помещения (удар мягким телом), для оконных блоков с подоконником ниже 900 мм, балконных блоков для остекления французских балконов определяют методами по
ГОСТ 31462.
Примечание - Испытание балконного блока, состоящего из оконного и балконного дверного блоков, проводят отдельно на оконном и балконном дверном блоках.
8.11 Сопротивление ветровой нагрузке оконных и балконных блоков определяют методами по
ГОСТ 26602.5 и
ГОСТ 31462. Сопротивление ветровой нагрузке блоков остекления балконов определяют в соответствии с
ГОСТ 26602.5 и нормативными документами
<2>, действующими на территории государства - участника Соглашения, принявшего настоящий стандарт.
--------------------------------
<2> В Российской Федерации - в соответствии с
ГОСТ Р 59615-2021 "Блоки оконные и балконные. Методы определения воздухо-, водопроницаемости и сопротивления ветровой нагрузке с использованием автоматизированного испытательного оборудования".
Результаты испытания на сопротивление ветровой нагрузке могут быть распространены на изделия с аналогичным конструктивным исполнением (см.
таблицу Г.1 приложения Г), размеры которых не превышают размеров испытуемого образца.
8.12 Прочность угловых соединений изделий определяют согласно порядку и по методикам, изложенным в стандартах на конкретные типы и виды продукции.
8.13 Испытания на безотказность оконных и балконных дверных блоков, блоков остекления балконов и на соответствие эргономическим требованиям проводят методами, установленными в
ГОСТ 24033. Результаты испытаний распространяют на изделия, размеры которых превышают размеры испытуемого образца не более чем на 50%.
Испытания деревянных оконных блоков проводят методами, установленными в
ГОСТ 11214,
ГОСТ 25097,
ГОСТ 26601,
ГОСТ 24699, нормативных документах
<3>, действующих на территории государства - участника Соглашения, принявшего настоящий стандарт.
--------------------------------
<3> В Российской Федерации - в соответствии с
ГОСТ Р 58699-2019 "Блоки оконные деревоалюминиевые. Технические условия".
Испытания на безотказность блоков остекления балконов проводят методами, установленными в
ГОСТ 24033.
8.14 Испытания на безотказность и прочность устройств для обеспечения безопасности детей определяют по
ГОСТ 19091.
8.15 Прочность сцепления лакокрасочных покрытий с отделываемой поверхностью (адгезию) определяют методом решетчатых надрезов по
ГОСТ 31149 с дополнениями, установленными в стандартах на конкретные виды изделий.
8.16 Для изделий с применением вклеенных стеклопакетов испытания по определению прочности вклейки стеклопакета в рамочные элементы изделий проводят методами в соответствии с
ГОСТ 31462.
8.17 Влажность древесины, прочность клеевых соединений деревянных профилей определяют по
ГОСТ 24700 и другим нормативным документам на изделия из древесины.
9 Упаковка, транспортирование и хранение
9.1 Упаковка изделий должна обеспечивать их сохранность при хранении, погрузочно-разгрузочных работах и транспортировании. Изделия могут упаковываться в полиэтиленовую пленку по
ГОСТ 10354, которая должна быть снята с изделий перед монтажом. Не рекомендуется применять герметичную упаковку, особенно в летний период, во избежание перегрева и возникновения температурных деформаций изделий.
9.2 Не установленные на изделия приборы или части приборов должны быть завернуты в полиэтиленовую пленку по
ГОСТ 10354 или другой упаковочный материал, обеспечивающий их сохранность, прочно перевязаны и поставляться комплектно с изделиями.
9.3 Перед упаковкой открывающиеся створки изделий должны быть закрыты на все запирающие изделия.
9.4 Требования к хранению и транспортированию комплектующих деталей, а также правила транспортирования сборно-разборных оконных блоков устанавливают в нормативных документах на конкретные виды изделий.
9.5 Изделия транспортируют всеми видами транспорта в соответствии с правилами перевозки грузов, действующими на данном виде транспорта. Для перевозки изделий рекомендуется применение контейнеров и/или специальных пирамид. В случае бесконтейнерного транспортирования изделия раскрепляют в пакеты согласно схемам, установленным в технической документации.
9.6 При хранении и транспортировании изделий должна быть обеспечена их защита от механических повреждений, воздействия атмосферных осадков и прямых солнечных лучей.
9.7 Изделия хранят в контейнерах, пирамидах либо на деревянных подкладках (поддонах) в вертикальном положении под углом от 10° до 15° к вертикали, в крытых проветриваемых помещениях без непосредственного контакта с нагревательными приборами. Между изделиями рекомендуется устанавливать разделительные прокладки из эластичных материалов.
9.8 В случае отдельного транспортирования стеклопакетов требования к их упаковке и транспортированию должны соответствовать
ГОСТ 24866.
10 Общие требования к эксплуатации
10.1 Правила эксплуатации изделий устанавливают в инструкции по эксплуатации и прочей документации, входящей в комплект поставки изделий.
10.2 Правила эксплуатации должны содержать требования к поддержанию исправного технического состояния, проведению сервисного обслуживания, включающего в себя оценку внешнего вида изделий, соблюдение порядка смазки и регулировки запирающих приборов, оценку качества уплотняющих прокладок, применение разрешенных чистящих (моющих) средств и т.д. Рекомендуемые сроки проведения сервисного обслуживания - не реже одного раза в год.
11 Требования к входному контролю при поставке готовых изделий на строительный объект
11.1 По договоренности сторон приемка изделий потребителем (заказчиком) может быть проведена на предприятии-изготовителе, на складе потребителя, у официального дилера, в ином оговоренном в договоре месте или непосредственно на строительном объекте.
11.2 Требования к проведению входного контроля при поставке изделий на строительный объект должны соответствовать требованиям нормативных документов
<1>, действующих на территории государства - участника Соглашения, принявшего настоящий стандарт.
--------------------------------
<1> В Российской Федерации - согласно требованиям
ГОСТ Р 56926-2016 "Конструкции оконные и балконные различного функционального назначения для жилых зданий. Общие технические условия".
12.1 Поставщик изделий гарантирует соответствие изделий требованиям настоящего стандарта при условии соблюдения потребителем правил хранения, монтажа и эксплуатации, а также области применения изделий.
12.2 Гарантийный срок рекомендуется устанавливать с учетом условий и интенсивности эксплуатации в соответствии с требованиями нормативных документов
<2>, действующих на территории государства - участника Соглашения, принявшего настоящий стандарт, но не менее трех лет со дня отгрузки изделий изготовителем.
--------------------------------
<2> В Российской Федерации - в соответствии с
СП 68.13330.2017 "СНиП 3.01.04-87 Приемка в эксплуатацию законченных строительством объектов. Основные положения".
12.3 Гарантийный срок хранения изделий - не менее одного года со дня отгрузки изделия изготовителем.
12.4 Потребитель может заключать договоры с эксплуатирующей организацией либо с изготовителями изделий на проведение их сервисного обслуживания.
12.5 Гарантии изготовителя действуют только в случае проведения сервисного обслуживания изделий не реже одного раза в год.
Примечание - Попытка исправления обнаруженных дефектов в течение гарантийного срока собственными силами будет означать снятие гарантийных обязательств.
(рекомендуемое)
ТРЕБОВАНИЯ К СОДЕРЖАНИЮ СИСТЕМНОГО ПАСПОРТА
А.1 Требования к наличию системного паспорта являются рекомендуемыми и применяются по мере готовности предприятий - изготовителей систем профилей и фурнитуры к его использованию. При подготовке к применению системного паспорта в его состав могут быть внесены изменения в соответствии с техническими и технологическими особенностями производства.
А.2 В системный паспорт рекомендуется включать:
- описание системы профилей, включающее в себя обзор технических характеристик профилей, входящих в систему;
- обзор результатов испытаний (протоколов) отдельных изделий, выполненных на основе системы профилей;
- результаты основных и дополнительных испытаний изделий определенных типоразмеров;
- особые указания по применению изделий с учетом климатического района применения;
- установленный системодателем порядок передачи результатов первичных испытаний предприятиям - изготовителям изделий (принцип "каскадные испытания").
А.3 При формировании требований к проведению основных испытаний необходимо исходить из требований, установленных в стандартах на изделия в части их эксплуатационных характеристик и предъявляемых к ним требований. При этом рекомендуется при составлении программы испытаний исходить из требований, учитывающих такие особенности профилей, как цвет профиля, содержание вторичного сырья и т.д.
К таким испытаниям относят испытания по определению:
- основных эксплуатационных характеристик (сопротивление теплопередаче, воздухо- и водонепроницаемость);
- сопротивления ветровой нагрузке;
- стойкости к механическим нагрузкам, включая прочность и эксплуатационные характеристики.
А.4 При формировании требований к проведению дополнительных испытаний необходимо руководствоваться требованиями к функциональному назначению изделий и рекомендациями по применению, установленными системодателем.
К такому типу испытаний могут относиться:
- определение защитных свойств, включая взломоустойчивость по
ГОСТ 31462;
- пулестойкость в соответствии с требованиями нормативных документов
<1>, действующих на территории государства - участника Соглашения, принявшего настоящий стандарт;
- стойкость при пожаре и дымообразующая способность - по нормативным документам;
- требования к инсоляции - по нормативным документам;
- требования к солнцезащите - по нормативным документам;
- требования к несущей способности и формоустойчивости - по нормативным документам.
--------------------------------
<1> В Российской Федерации действует
ГОСТ Р 51242-98 "Конструкции защитные механические и электромеханические для дверных и оконных проемов. Технические требования и методы испытаний на устойчивость к разрушающим воздействиям".
А.5 Вопрос предоставления системного паспорта предприятиям - изготовителям изделий решает системодатель на основе анализа данных о стабильности производства и выполнении условий лицензионного договора между системодателем и переработчиком.
(справочное)
ПРИМЕРЫ ИЗДЕЛИЙ ДЛЯ ОБЕСПЕЧЕНИЯ БЕЗОПАСНОЙ ЭКСПЛУАТАЦИИ
И ОБСЛУЖИВАНИЯ ОКОННЫХ БЛОКОВ
На
рисунках Б.1 -
Б.14 приведены примеры изделий для обеспечения безопасной эксплуатации и обслуживания оконных блоков.
Рисунок Б.1 - Схема работы откидно-поворотного способа
открывания створчатых элементов с использованием специальной
ручки со встроенным цилиндровым механизмом и ключом
1 - прокладки корпуса; 2 - корпус блокиратора поворота;
3 - ключ; 4 - замок (открывается только ключом);
5 - направляющий уголок; 6 - прокладки направляющего уголка
Рисунок Б.2 - Примеры замков для обеспечения безопасности
детей для конструкций из ПВХ-профилей без замочного
цилиндра (а) и с замочным цилиндром (б)
Рисунок Б.3 - Пример замка для обеспечения безопасности
детей для алюминиевых конструкций
а - оконная ручка с кнопкой; б - оконная ручка со встроенным
цилиндровым механизмом с ключом; в - оконная ручка
со встроенным цилиндровым механизмом и ключом
для откидно-поворотного способа открывания створки
Рисунок Б.4 - Пример оконных ручек, обеспечивающих
возможность блокировки распашного открывания створок
(для поворотно-откидных либо откидно-поворотных створок)
а - положение ручки при откидном и распашном открывании
створки; б - положение ключа и ручки при закрытой створке
(0°), при откидном открывании створки (90°), при распашном
открывании створки (180°); в - оконная ручка
с цилиндровым механизмом
Рисунок Б.5 - Пример оконной ручки с цилиндровым механизмом
и ключом, управляющей и фиксирующей положение створки
для алюминиевых конструкций
а - съемная ручка с защелкивающимся механизмом;
б - механизм защелкивания с ответной планкой;
в - место захода защелкивающегося механизма
Рисунок Б.6 - Пример съемной оконной ручки с защелкивающимся
механизмом для алюминиевых конструкций
1 - накладка под оконную ручку; 2 - блокировочные пластины
Рисунок Б.7 - Пример накладки под оконные ручки
с механическими блокировочными пластинами
Рисунок Б.8 - Пример ограничителя поворотного (распашного)
режима в виде гибкого троса с замком
а - механическое фиксирующее устройство;
б - распашной оконный блок с механическим фиксирующим
устройством; в - схема установки механического
фиксирующего устройства в оконном блоке
Рисунок Б.9 - Пример ограничителя поворотного (распашного)
режима створки в виде жесткой планки
Рисунок Б.10 - Пример ограничителя поворотного (распашного)
режима створки в виде жесткой планки, устанавливаемого
на створку и раму (импост)
1 - поворотная пластина; 2 - основание;
3 - замочная скважина замка безопасности;
4 - подвижная плата с замком
Рисунок Б.11 - Пример накладного ограничителя поворотного
(распашного) режима створки с применением замка
для обеспечения безопасности детей
1 - фрамужная створка; 2 - механизм открывания фрамужной
створки; 3 - трос; 4 - рычаг управления (ручка)
Рисунок Б.12 - Фрамужный механизм с применением
механических рычагов управления
1 - фрамужный механизм открывания; 2 - центральная ручка
Рисунок Б.13 - Пример установки фрамужного механизма
открывания, работающего от центральной ручки
Рисунок Б.14 - Пример знаков опасности
для противомоскитных сеток
(рекомендуемое)
ФОРМА ПАСПОРТА ОКОННОГО БЛОКА
__________________________________________________________________________ (наименование предприятия-изготовителя) __________________________________________________________________________ (адрес, телефон, факс предприятия-изготовителя) ПАСПОРТ (документ о качестве) Оконный блок ____________________________________________________________ (условное обозначение изделия) Подтверждение соответствия продукции _______________________________________ (регистрационный номер документа) Класс изделия (подтвержденное значение показателя): а) приведенное сопротивление теплопередаче: не менее _____ м2·°C/Вт. Класс ______ б) воздухопроницаемость, класс _______________ Массовая воздухопроницаемость при  , не более ______________ кг/(м 2·ч) Объемная воздухопроницаемость, приведенная к общей площади изделия, при  , не более _________ м 3/(м 2·ч) Объемная воздухопроницаемость, приведенная к общей длине притворов, при  , не более _________ м 3/(м·ч) в) водонепроницаемость, класс ___________ Предел водонепроницаемости, не менее _________ Па г) звукоизоляция, класс ____________ Звукоизоляция, не менее ___________ дБА д) сопротивление ветровой нагрузке, класс _________ Относительный прогиб силовых элементов, не более, при ветровом давлении _________ Па Безотказность открывающихся элементов изделий, не менее ________ циклов Технические характеристики: а) вид материала, влажность древесины б) вид защитно-декоративного покрытия (номер образца-эталона) в) тип стеклопакета г) тип, марка оконной фурнитуры В комплект поставки изделия входят: - стеклопакеты, шт. - оконные ручки, шт. - инструкция по эксплуатации и пр. Гарантийный срок __________ лет Срок службы изделия ________ лет Номер партии (заказа) Количество изделий в партии (шт., м2) Дата отгрузки "____" ______________ 20____ г. Приемщик ОТК ______________________ (подпись) М.П. |
Примечание - При выполнении работ на строительном объекте в случае установки в одной квартире оконных и балконных блоков одинакового класса и одинаковых технических характеристик допускается заполнять один паспорт на все изделия.
(справочное)
ВЗАИМОСВЯЗЬ МЕЖДУ ЭКСПЛУАТАЦИОННО-ТЕХНИЧЕСКИМИ
ХАРАКТЕРИСТИКАМИ И СОСТАВНЫМИ ЭЛЕМЕНТАМИ ОКОННЫХ БЛОКОВ
Таблица Г.1 предназначена для определения необходимости проведения повторных испытаний оконных блоков в случае замены их составных элементов на аналоги.
Таблица Г.1
Взаимосвязь изменения эксплуатационно-технических
характеристик оконных блоков с заменой
их составных элементов
Эксплуатационно-техническая характеристика | Составной элемент оконного блока |
| | Профильная система | Светопрозрачное заполнение <д> |
| |
1 Приведенное сопротивление теплопередаче | Н | (В) | (В) | В | В |
2 Воздухопроницаемость | (В) | В | (В) | В | Н |
3 Водонепроницаемость | (В) | В | (В) | В | Н |
4 Звукоизоляция | Н | (В) | (В) | В | В |
5 Общий коэффициент пропускания света | Н | Н | (В) | В | В |
6 Сопротивление ветровой нагрузке | (В) | (В) | В | В | В |
7 Сопротивление статическим нагрузкам | В | Н | (В) | В | (В) |
8 Безотказность | В | (В) | (В) | (В) | Н |
9 Соответствие эргономическим требованиям | В | В | (В) | (В) | (В) |
10 Прочность угловых соединений | Н | Н | В | В | Н |
11 Стойкость к взлому | В | Н | В | В | В |
<а> При необходимости замены элементов фурнитуры на аналоги проводят сравнение их нормируемых показателей по ГОСТ 30777 с показателями первоначально примененных элементов фурнитуры. В случае их соответствия повторные испытания не требуются. <б> Количество, материал. <в> Модуль упругости, теплопроводность, плотность. <г> Площадь и форма поперечного сечения, взаимное положение профилей, положение технологических отверстий. <д> Тип, масса, покрытие, тип газовой смеси в межстекольном пространстве, материал дистанционной рамки, ширина дистанционной рамки. Примечание - В настоящей таблице использованы следующие условные обозначения: В - замена составного элемента оконного блока ведет к изменению его технико-эксплуатационной характеристики; (В) - замена составного элемента оконного блока, возможно, ведет к изменению его технико-эксплуатационной характеристики; Н - замена составного элемента оконного блока не ведет к изменению его технико-эксплуатационной характеристики. |
УДК 692.82/692.299:006.354 | |
Ключевые слова: оконные блоки, балконные блоки, блоки остекления балконов, общие технические условия, технические требования, проветривание помещений, инсоляция, солнцезащита, требования безопасности, правила приемки, методы контроля, методы испытаний, приемо-сдаточные испытания, периодические испытания, упаковка, транспортирование, хранение, требования к монтажу, входной контроль при поставке готовых изделий на строительный объект, гарантии изготовителя |