Главная // Актуальные документы // ГОСТ (Государственный стандарт)СПРАВКА
Источник публикации
М.: ФГБУ "Институт стандартизации", 2023
Примечание к документу
Текст данного документа приведен с учетом
поправки, опубликованной в "ИУС", N 4, 2024.
Документ
введен в действие с 01.09.2024.
Название документа
"ГОСТ 26602.1-2023. Межгосударственный стандарт. Блоки оконные и дверные. Методы определения сопротивления теплопередаче"
(введен в действие Приказом Росстандарта от 17.10.2023 N 1153-ст)
"ГОСТ 26602.1-2023. Межгосударственный стандарт. Блоки оконные и дверные. Методы определения сопротивления теплопередаче"
(введен в действие Приказом Росстандарта от 17.10.2023 N 1153-ст)
Приказом Федерального
агентства по техническому
регулированию и метрологии
от 17 октября 2023 г. N 1153-ст
МЕЖГОСУДАРСТВЕННЫЙ СТАНДАРТ
БЛОКИ ОКОННЫЕ И ДВЕРНЫЕ
МЕТОДЫ ОПРЕДЕЛЕНИЯ СОПРОТИВЛЕНИЯ ТЕПЛОПЕРЕДАЧЕ
Windows and doors. Method for determination
of resistance of thermal transmission
(EN 675:2011, NEQ)
ГОСТ 26602.1-2023
Дата введения
1 сентября 2024 года
Цели, основные принципы и общие правила проведения работ по межгосударственной стандартизации установлены
ГОСТ 1.0 "Межгосударственная система стандартизации. Основные положения" и
ГОСТ 1.2 "Межгосударственная система стандартизации. Стандарты межгосударственные, правила и рекомендации по межгосударственной стандартизации. Правила разработки, принятия, обновления и отмены"
1 РАЗРАБОТАН рабочей группой в составе: Научно-исследовательский институт строительной физики Российской академии архитектуры и строительных наук (НИИСФ РААСН), ФГБОУ ВО Санкт-Петербургский архитектурно-строительный университет (СПб ГАСУ)
2 ВНЕСЕН Межгосударственным техническим комитетом по стандартизации МТК 540 "Строительные материалы и изделия"
3 ПРИНЯТ Межгосударственным советом по стандартизации, метрологии и сертификации (протокол от 31 августа 2023 г. N 164-П)
За принятие проголосовали:
Краткое наименование страны по МК (ИСО 3166) 004-97 | Код страны по МК (ИСО 3166) 004-97 | Сокращенное наименование национального органа по стандартизации |
Армения | AM | ЗАО "Национальный орган по стандартизации и метрологии" Республики Армения |
Беларусь | BY | Госстандарт Республики Беларусь |
Киргизия | KG | Кыргызстандарт |
Россия | RU | Росстандарт |
Таджикистан | TJ | Таджикстандарт |
Узбекистан | UZ | Узстандарт |
4 Приказом Федерального агентства по техническому регулированию и метрологии от 17 октября 2023 г. N 1153-ст межгосударственный стандарт ГОСТ 26602.1-2023 введен в действие в качестве национального стандарта Российской Федерации с 1 сентября 2024 г.
5 Настоящий стандарт разработан с учетом основных нормативных положений европейского стандарта EN 675:2011 "Стекло в строительстве. Определение коэффициента теплопередачи (значение U). Метод измерения теплового потока" ["Glass in building - Determination of thermal transmittance (U value) - Heat flow meter method", NEQ]
Информация о введении в действие (прекращении действия) настоящего стандарта и изменений к нему на территории указанных выше государств публикуется в указателях национальных стандартов, издаваемых в этих государствах, а также в сети Интернет на сайтах соответствующих национальных органов по стандартизации.
В случае пересмотра, изменения или отмены настоящего стандарта соответствующая информация будет опубликована на официальном интернет-сайте Межгосударственного совета по стандартизации, метрологии и сертификации в каталоге "Межгосударственные стандарты"
Настоящий стандарт устанавливает методы определения сопротивления теплопередаче и теплотехнических характеристик оконных и дверных блоков, изготавливаемых из различных материалов или их комбинаций (ПВХ, алюминиевый, деревянный, стальной, комбинированный), для отапливаемых зданий и сооружений различного назначения в климатической камере.
Допускается использование методов настоящего стандарта для определения сопротивления теплопередаче стеклопакетов, профильных систем, глухих дверных блоков, витражей и их фрагментов.
При сравнении теплотехнических характеристик различных оконных или дверных блоков значения каждого параметра должны быть определены с использованием одного и того же нормативного документа. Метод определения сопротивления теплопередаче оконных и дверных блоков с применением климатической камеры, рекомендовано использовать в качестве арбитражного при разногласиях в оценке качества изделий.
В настоящем стандарте использованы нормативные ссылки на следующие межгосударственные стандарты:
ГОСТ 577 Индикаторы часового типа с ценой деления 0,01 мм. Технические условия
ГОСТ 3899 Преобразователи электроконтактные для контроля линейных размеров. Технические условия
ГОСТ 6359 Барографы метеорологические анероидные. Технические условия
ГОСТ 6416 Термографы метеорологические с биметаллическим чувствительным элементом. Технические условия
ГОСТ 6651 Государственная система обеспечения единства измерений. Термопреобразователи сопротивления из платины, меди и никеля. Общие технические требования и методы испытаний
ГОСТ 9871 Термометры стеклянные ртутные электроконтактные и терморегуляторы. Технические условия
ГОСТ 14014 Приборы и преобразователи измерительные цифровые напряжения, тока, сопротивления. Общие технические требования и методы испытаний
ГОСТ 15588 Плиты пенополистирольные теплоизоляционные. Технические условия
ГОСТ 16617 Электроприборы отопительные бытовые. Общие технические условия
ГОСТ 17083 Электротепловентиляторы бытовые. Общие технические условия
ГОСТ 24866 Стеклопакеты клееные. Технические условия
ГОСТ 25380 Здания и сооружения. Метод измерения плотности тепловых потоков, проходящих через ограждающие конструкции
ГОСТ 30494 Здания жилые и общественные. Параметры микроклимата в помещениях
ГОСТ 30971 Швы монтажные узлов примыкания оконных блоков к стеновым проемам. Общие технические условия
ГОСТ EN 673 Стекло и изделия из него. Методы определения тепловых характеристик. Метод расчета сопротивления теплопередаче
ГОСТ ISO 10077-1 Характеристики теплотехнические оконных блоков, дверных блоков и жалюзи. Расчет коэффициента теплопередачи. Часть 1. Общие положения
Примечание - При пользовании настоящим стандартом целесообразно проверить действие ссылочных стандартов и классификаторов на официальном интернет-сайте Межгосударственного совета по стандартизации, метрологии и сертификации (www.easc.by) или по указателям национальных стандартов, издаваемым в государствах, указанных в предисловии, или на официальных сайтах соответствующих национальных органов по стандартизации. Если на документ дана недатированная ссылка, то следует использовать документ, действующий на текущий момент, с учетом всех внесенных в него изменений. Если заменен ссылочный документ, на который дана датированная ссылка, то следует использовать указанную версию этого документа. Если после принятия настоящего стандарта в ссылочный документ, на который дана датированная ссылка, внесено изменение, затрагивающее положение, на которое дана ссылка, то это положение применяется без учета данного изменения. Если ссылочный документ отменен без замены, то положение, в котором дана ссылка на него, применяется в части, не затрагивающей эту ссылку.
В настоящем стандарте применены следующие термины с соответствующими определениями:
3.1 однородные зоны оконных [дверных] блоков: Участки конструкции оконного [дверного] блока, являющиеся или принимаемые за зоны, имеющие одинаковую (с учетом точности измерения) температуру +/- 1 °C или температуру, находящуюся в установленном по условиям проведения испытаний.
3.2 краевая зона стеклопакета: Зона, непосредственно примыкающая к раме, где сказывается влияние линейных теплопотерь, которые учитывают взаимодействие остекления с дистанционной рамкой и рамой и зависят от их теплотехнических свойств.
3.3 тепловой поток Q, Вт: Количество теплоты, проходящее через конструкцию оконного или дверного блока в единицу времени.
3.4 плотность теплового потока q, Вт/м2: Количество теплоты, проходящее через конструкцию оконного или дверного блока в единицу времени, отнесенное к площади расчетной поверхности, равной 1 м2.
3.5
стационарный режим теплопередачи: Установившийся процесс, в ходе которого колебания температуры воздуха, наружной и внутренней поверхностей не превышают 0,5 °C, а плотность теплового потока изменяется не более чем на 5%.
Примечание - Измеряемые значения температуры и плотности тепловых потоков должны быть в пределах погрешности приборов по
ГОСТ 25380.
3.6 термическая деформация: Деформация элементов оконного [дверного] блока (например, рамы и створки), обусловленная действием на конструкцию перепада температуры наружного и внутреннего воздуха.
3.7 термическое сопротивление однородной зоны оконного [дверного] блока Rki, м2·°C/Вт: Отношение разности температуры на внутренней и внешней поверхностях к плотности теплового потока через эту зону в условиях стационарной теплопередачи.
3.8
приведенное термическое сопротивление оконного [дверного] блока как неоднородной конструкции
м2·°C/Вт: Термическое сопротивление усредненное по площади расчетной поверхности образца.
3.9
приведенное сопротивление теплопередаче оконного [дверного] блока как неоднородной конструкции
м2·°C/Вт: Усредненное по площади расчетной поверхности неоднородной ограждающей конструкции значение сопротивления теплопередаче.
3.10
коэффициенты теплообмена на поверхностях
,
, Вт/(м2·°C): Величины, численно равные поверхностной плотности теплового потока при перепаде температуры

между поверхностью и воздушной средой на внутренней и наружной поверхностях соответственно.
3.11 типоразмерный ряд: Конструкции оконных или дверных блоков, характеризующиеся единым конструктивным решением и отличающиеся габаритными размерами.
4.1 Сущность метода определения теплотехнических характеристик образца (конструкции) оконных или дверных блоков в климатической камере сводится:
- к созданию стационарного теплового потока, проходящего через образец оконного или дверного блока, который обеспечивается поддержанием постоянного перепада температуры по обеим сторонам испытуемого образца;
- измерению плотности теплового потока и температуры через однородные зоны испытуемых образцов;
- измерению температуры в локальных (характерных для испытуемой конструкции) зонах внутренней поверхности с целью оценки возможности выпадения конденсата;
- расчету термических сопротивлений однородных зон образцов оконных или дверных блоков;
- расчету приведенного термического сопротивления образцов оконных или дверных блоков;
- расчету приведенного сопротивления теплопередаче (коэффициента теплопередачи) образцов оконных или дверных блоков.
4.2 Расчетный метод рекомендуется использовать для определения сопротивления теплопередаче (см.
приложение А). Результаты расчета, при необходимости, могут подтверждаться лабораторными испытаниями аналогичных конструкций.
5 Испытательное оборудование и средства контроля
5.1 Испытания проводят в климатических камерах, которые обеспечивают стационарный перепад температуры между наружной и внутренней поверхностями образца (конструкции) и стационарный тепловой поток через него. Климатическая камера (см. рисунок 1), имеет теплое и холодное отделения, перегородку между ними с проемом для установки испытуемого образца и помещение оператора, где располагают средства измерений. Помещение оператора рекомендуется располагать непосредственно у теплого отделения с целью повышения точности результатов измерений.
I - теплое отделение камеры; II - холодное отделение камеры;
III - помещение для оборудования; IV - отделение оператора;
1 - система автоматического сбора данных; 2 - нагревательный
прибор; 3 - испытуемый образец; 4 - теплоизоляционный слой
по периметру камеры; 5 - холодильная установка;
6 - теплоизоляционный слой по периметру проема
Рисунок 1 - Рекомендуемая схема устройства климатической
камеры для испытаний оконных или дверных блоков
5.1.1 Геометрические размеры климатической камеры (высота, ширина, длина теплого и холодного отделений) должны обеспечивать возможность установки испытуемых образцов в проем между холодным и теплым отделениями, а также требуемые размеры монтажных зазоров из различных типов теплоизолирующего материала.
Примечание - Рекомендуемые размеры сечения климатической камеры, в котором устанавливают испытуемый образец, - 4 x 4 м, что позволяет испытывать полноразмерные образцы.
5.1.2 Сопротивление теплопередаче перегородки между холодным и теплым отделениями должно быть не менее R = 3 м2·°C/Вт.
5.1.3 Рекомендуемый диапазон изменения температуры в холодном отделении от минус 10 °C до минус 50 °C. Температура воздуха в отделениях климатической камеры должна поддерживаться в процессе испытаний с допустимым отклонением от заданного значения +/- 1 °C.
5.1.4 Температуру в теплом отделении климатической камеры следует устанавливать в процессе испытаний в соответствии с
ГОСТ 30494.
5.1.5 Теплое отделение климатической камеры рекомендуется оборудовать устройствами поддержания относительной влажности 45% - 50% с погрешностью +/- 5% в заданном режиме испытаний с учетом требований
ГОСТ 30494.
5.1.6 Для создания, поддержания и регулирования температурного режима в отделениях климатической камеры рекомендуется использовать следующее оборудование:
- компрессоры или компрессорно-конденсаторные агрегаты холодильных машин, устанавливаемые вне камеры, и охлаждающие батареи холодильных установок, устанавливаемые внутри холодного отсека;
- маслонаполненные электрорадиаторы или электроконвекторы по
ГОСТ 16617, терморадиаторы, электротепловентиляторы по
ГОСТ 17083 и увлажнители воздуха, устанавливаемые в теплом отделении камеры;
- другое оборудование, обеспечивающее создание и поддержание требуемых диапазонов температуры в отсеках камеры.
5.2 При проведении испытаний используют оборудование и средства измерений, прошедшие метрологический контроль в установленном порядке:
- для измерения температуры применяют термоэлектрические преобразователи (термопары) по
ГОСТ 6651, градуированные в диапазоне измерения температуры от минус 50 °C до плюс 50 °C;
- для измерения плотности тепловых потоков применяют тепломеры по
ГОСТ 25380, градуированные в диапазоне от 10 до 250 Вт/м
2;
- аналогичные измерители температуры и тепловых потоков, включая универсальные мультиметры по
ГОСТ 14014, оснащенные необходимыми датчиками фиксации, записи и передачи данных, обеспечивающие требуемую точность измерений;
- для изменения относительной влажности воздуха в теплом отделении климатической камеры применяют гигрометры;
- для измерения максимального прогиба применяют датчики по
ГОСТ 577 либо
ГОСТ 3899.
Примечание - Приборы, предназначенные для измерения плотности теплового потока, и температуры, в комплекте с датчиками плотности теплового потока (тепломерами) и температуры (термопары), должны обеспечивать автоматизированный сбор информации и передачу данных на ЭВМ в онлайн-режиме с разрешающей способностью 0,01 Вт/м2 и 0,05 °C.
5.3 Для оперативного контроля температуры элементов поверхностей исследуемых оконных или дверных блоков используют тепловизоры, пирометры и контактные термометры по
ГОСТ 9871.
5.4 Для измерения атмосферного давления применяют барометры, барографы по
ГОСТ 6359 или аналогичные по регистрируемым параметрам измерительные приборы и комплексы.
5.5 Для контроля параметров микроклимата в теплом отделении климатической камеры применяют средства измерения, обеспечивающие контроль заданных параметров.
5.6 Для непрерывной регистрации изменения температуры воздуха в помещении применяют термографы по ГОСТ 6416 или аналогичные по регистрируемым параметрам средства измерений и комплексы.
6.1 Для испытаний отбирают образцы изделий полной заводской готовности с установленными уплотняющими прокладками.
6.2 Образцы проверяют на соответствие требованиям нормативной и конструкторской документации, обращая особое внимание на работоспособность фурнитуры открывающихся элементов, правильность установки уплотняющих прокладок, соответствия непрозрачного и светопрозрачного заполнения требованиям конструкторской или проектной документации.
6.3 Габаритные размеры образца определяют по наружному периметру при помощи стальной рулетки с погрешностью измерения не более 1 мм и проверяют их соответствие конструкторской документации.
6.4 Для испытаний рекомендуется отбирать не менее двух однотипных образцов. Образцы для испытаний принимают согласно акту отбора образцов, оформленного в установленном порядке.
6.5 Если отбор образцов из партии изделий проводят без привлечения сотрудников испытательного центра (лаборатории), то при оформлении результатов испытаний в протоколе испытаний делают соответствующую запись.
6.6 Рекомендуется проводить испытания полноразмерных конструкций.
6.7 При отсутствии возможности проводить испытания полноразмерных конструкций, испытания проводят на подобных типовых образцах меньшего размера (не менее 1,2 x 1,5 м) с отношением площади остекления к площади светового проема не менее 0,5.
6.8 При испытаниях системы профилей (комбинации створок, коробок и других элементов) из них в соответствии с технической документацией на изделия изготавливают образцы оконного блока, в которых светопрозрачную часть заменяют теплоизоляционной плитой по
ГОСТ 15588, термическое сопротивление которой известно.
6.9 При испытаниях стеклопакетов их монтируют в деревянную или пластмассовую раму соответствующих размеров, при этом толщина рамы должна в два или более раза превышать толщину стеклопакета. Монтажный зазор между рамой и наружным контуром стеклопакета, изготовленного согласно
ГОСТ 24866 рекомендуется изолировать теплоизоляционными материалами (монтажной пеной) шириной не менее толщины стеклопакета.
Примечание - Допускается монтаж стеклопакета без использования рамы в пенополистирол толщиной 100 мм с использованием монтажной пены. Размеры образцов стеклопакетов рекомендуются принимать 1200 x 1500 мм, но не менее 800 x 1200 мм.
7 Подготовка к испытаниям
7.1 Перед проведением испытаний образцов оконных или дверных блоков составляют программу испытаний, в которой устанавливают:
- температуру наружного и внутреннего воздуха и диапазон их варьирования;
- наличие нагревательных приборов или теплого пола;
- влажностный режим.
7.2 Перед испытаниями образцы кондиционируют при температуре (20 +/- 5) °C и относительной влажности воздуха (45 +/- 15)% не менее трех суток.
7.3 Образец устанавливают в рабочий проем испытательной камеры, монтажные зазоры уплотняют пенополистирольными теплоизоляционными плитами по
ГОСТ 15588.
7.4 Монтажный шов заделывают согласно
ГОСТ 30971 или с использованием монтажной пены.
7.5 Образец должен быть установлен без перекосов и деформаций. Створчатые элементы должны быть закрыты на все точки запирания. После установки образца проводят не менее пяти контрольных открываний створчатых элементов и проверяют работу фурнитуры.
7.6 Температуру воздуха в помещении, где установлена климатическая камера, рекомендуется поддерживать (20 +/- 5) °C, либо согласно программе испытаний в соответствии с
ГОСТ 30494. Значение температуры воздуха в лаборатории указывают в протоколе испытаний.
7.7 Предварительно намечают границы однородных и краевых зон и места расположения датчиков.
7.8 Предварительно ширину краевой зоны стеклопакета принимают не более 100 мм.
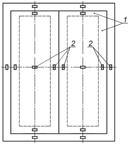
7.9 Тепломеры и термопары устанавливают в центрах однородных температурных зон поверхности образца по центральным осям однородных зон оконного или дверного блока (см. рисунки 2 и
3).
1 - рама; 2 - створка; 3 - стеклопакет;
4 - однородные зоны; 5 - тепломеры и термопары
Рисунок 2 - Рекомендуемое расположение датчиков
при испытании оконного блока
1 - однородные зоны; 2 - тепломеры и термопары
Рисунок 3 - Рекомендуемое расположение датчиков
при испытании дверного блока
7.10 При испытаниях полноразмерных конструкций допускается применение большего количества датчиков или проведение теплотехнических испытаний в два этапа с последовательной установкой датчиков на выбранных фрагментах испытуемой конструкции. Для возможности подтверждения достоверности получаемых результатов 25% датчиков участвуют в двух сериях испытаний без изменения их местоположения.
При перестановке датчиков для проведения испытаний второго этапа в выбранных точках однородных зон устанавливают контрольные датчики.
При проведении второго этапа теплотехнических испытаний температурный режим в холодном и теплом отсеках климатической камеры должен соответствовать программе испытаний с точностью, указанной в
7.11.
Если различие данных в контрольных точках для первого и второго этапов теплотехнических испытаний составляет менее 5%, то результаты могут быть представлены как единый комплекс теплотехнических испытаний.
7.11 Температура в холодном отделении климатической камеры должна поддерживаться во всем диапазоне измеряемых параметров с учетом требований нормативных документов <1>, действующих на территории государства, принявшего настоящий стандарт по температуре наиболее холодной пятидневки с погрешностью +/- 1 °C.
--------------------------------
<1> В Российской Федерации действует
СП 131.13330.2020 "СНиП 23-01-99* Строительная климатология".
Температура в теплом отделении климатической камеры должна поддерживаться во всем диапазоне измеряемых параметров с учетом требований
ГОСТ 30494 и нормативных документов <2>, действующих на территории государства, принявшего настоящий стандарт с погрешностью +/- 1 °C.
--------------------------------
<2> В Российской Федерации действует
СП 50.13330.2012 "СНиП 23-02-2003 Тепловая защита зданий".
7.12 При необходимости определения термических деформаций отдельных элементов конструкции и комбинации профилей в выбранных контрольных точках устанавливают измерительные приборы для оценки максимального прогиба.
7.13 Проверяют готовность испытательного оборудования.
8.1 Предварительные испытания
8.1.1 После установки образца в проем камеры проводят предварительные испытания.
8.1.2 Включают оборудование климатической камеры. Длительность работы климатической камеры выбирают из условий вероятного выхода конструкции на стационарный режим, но не менее 8 ч и проводят проверку регистрирующей аппаратуры.
8.1.3 Допускается корректировать размеры однородных зон образца оконного или дверного блока с использованием тепловизора и контактного термометра, уточняя места расположения датчиков.
8.1.4 На наружной и внутренней поверхностях образца спаи термопар должны располагаться напротив друг друга по направлению нормали к поверхности.
8.1.5 Для исключения воздушных зазоров при установке термопар и тепломеров на участках поверхности образца используют термопасту или технический вазелин.
8.1.6 Для измерения температуры воздушной среды с теплой и холодной сторон образца оконного или дверного блока устанавливают не менее трех термопар на уровне низа рамы, по центру конструкции и на уровне верхней рамы на расстоянии 15 см от поверхности образца.
8.1.7 При предварительном включении климатической камеры выявляют также дефекты монтажа и испытуемой конструкции. При обнаружении дефектов образца составляют дефектную ведомость с детальным описанием обнаруженных дефектов, их характера и местоположения. После завершения предварительного включения оборудования камеры, обнаруженные дефекты должны быть устранены.
8.2 Основные испытания
8.2.1 Испытания конструкций оконных или дверных блоков следует проводить с учетом их назначения (для специального объекта, типовая или серийная конструкция), условий эксплуатации (температура наружного воздуха, температура и влажность внутреннего воздуха), наличия дополнительных конструктивных элементов.
8.2.2 Устанавливают оборудование климатической камеры на заданные температурные параметры (температура в теплом и холодном отсеках).
8.2.3 Включают регистрирующую аппаратуру и аппаратуру для записи текущих данных.
8.2.4 Стационарность режима теплопередачи определяют по записи изменения температуры и плотности теплового потока (см.
3.5).
8.2.5 При проведении испытаний в условиях стационарного режима осуществляют непрерывную регистрацию измерительной информации со всех датчиков, установленных на испытуемой конструкции, и датчиков для измерения температуры внутреннего и наружного воздуха.
8.2.6 Для получения корректных результатов измерений рекомендуется выбирать массив данных, отвечающий стационарному режиму измерений, при обработке которого случайная погрешность измерений менее приборной.
8.2.7 Справочная информация о проведении серии испытаний при разработке новых конструкций оконных или дверных блоков приведена в
приложении Б. Рекомендуемый диапазон изменения температуры воздуха в холодном отсеке камеры от 0 °C до минус 50 °C с шагом 10 °C - 15 °C с целью определения климатического диапазона их применения. Диапазон климатической применимости представляет собой характеристику конструкции, которая оценивается по серии лабораторных испытаний и определяет климатические границы ее возможного применения.
8.2.8 Полученные значения максимального и относительного прогиба за счет термической деформации носят информационный характер и используются при необходимости для проектирования конструкций и оценки диапазона климатической применимости оконных (дверных) блоков.
9 Обработка результатов испытаний
9.1 При обработке результатов испытаний анализируют записи изменения во времени характерных значений температуры (

,

) и плотности тепловых потоков (
qi) для
i-х однородных зон оконного или дверного блока.
9.2 Для каждой i-й однородной зоны испытуемого образца определяют средние значения термических сопротивлений.
9.3 Термическое сопротивление i-й однородной зоны испытуемого объекта Rki, м2·°C/Вт, вычисляют по формуле

, (1)
где

,

- средние значения температуры соответственно внутренней и наружной поверхностей
i-й зоны испытуемого образца, °C;
qi - средняя плотность теплового потока, проходящего через i-ю зону за период стационарного режима измерений, Вт/м2.
9.4 Приведенное термическое сопротивление (светопрозрачной и непрозрачной) частей оконного или дверного блока

, м
2·°C/Вт, за период стационарного режима измерений вычисляют по формуле

, (2)
где Fi - площадь i-й однородной зоны оконного или дверного блока, м2;
Rki - термическое сопротивление i-й однородной зоны оконного или дверного блока, м2·°C/Вт за период стационарного режима измерений.
9.5 Коэффициенты теплообмена

,

, Вт/(м
2·°C), на внутренней и наружной поверхностях оконного или дверного блока вычисляют как средние значения за период измерений по формулам

; (3)

, (4)
где tв, tн - соответственно средняя температура воздуха в теплом и холодном отделениях климатической камеры;
q - плотность теплового потока, проходящего через образец, Вт/м2.
9.6 Среднее значение приведенного сопротивления теплопередаче неоднородной конструкции оконного или дверного блока

, м
2·°C/Вт, вычисляют с учетом средних экспериментальных значений коэффициентов теплообмена на внутренней и наружной поверхностях оконного или дверного блока, которые не должны отличаться от приведенных в нормативных документах <1>, действующих на территории государств, принявших настоящий стандарт, более чем на 10%, по формуле
--------------------------------
<1> В Российской Федерации действует
СП 50.13330.2012 "СНиП 23-02-2003 Тепловая защита зданий".

. (5)
9.7 Обработку результатов измерений рекомендуется проводить с использованием автоматизированных программных расчетных комплексов.
9.8 Результаты теплотехнических испытаний оконного или дверного блока могут быть распространены на типоразмерный ряд изделий, отличающихся габаритными размерами и относительной площадью остекления. Значения приведенного термического сопротивления типоразмерного ряда изделий определяют по формуле

, (6)
где

- приведенное термическое сопротивление светопрозрачной части испытанного оконного блока, определенное по
формуле (2), м
2·°C/Вт;

- приведенное термическое сопротивление непрозрачной части испытанного оконного блока, определенное по
формуле (2), м
2·°C/Вт;

- отношение площади остекления к общей площади рассчитываемого оконного блока типоразмерного ряда.
9.9 Приведенное сопротивление теплопередаче оконных или дверных блоков типоразмерного ряда вычисляют по
формуле (5) с учетом значений приведенного термического сопротивления, рассчитанных по
формуле (2). Если расхождение значений приведенного сопротивления теплопередаче отличается от испытанного образца не более +/- 5%, допускается распространять результаты на типоразмерный ряд.
9.10 Результаты испытаний конструкций, установленных вертикально, могут быть распространены на конструкции с углом наклона +/- 15° от вертикали.
10 Оформление результатов испытаний
10.1 По результатам испытаний оформляют протокол испытаний, который утверждается руководителем испытательного центра (лаборатории) и/или работником(ами) испытательного центра (лаборатории), уполномоченным(и) на утверждение протокола испытаний. Протокол заверяют печатью испытательного центра (лаборатории).
10.2 При оформлении результатов испытаний указывают следующую информацию:
- наименование испытательного центра (лаборатории), проводившего испытания, и номер аттестата аккредитации;
- наименование и юридический адрес организации - заказчика испытаний;
- наименование и юридический адрес организации - изготовителя испытуемой продукции;
- наименование испытуемой продукции и нормативный документ, регламентирующий требования к ее качеству;
- обозначение и наименование настоящего стандарта;
- дату поступления образцов в испытательный центр (лабораторию);
- номер регистрации образцов в испытательном центре (лаборатории);
- дату проведения испытаний образцов;
- сведения о применяемых средствах измерения;
- описание испытуемого образца:
- габаритные размеры, схема открывания, конструкция притворов;
- указание всех основных компонентов;
- описание рамных (профильных) комплектующих;
- описание светопрозрачных заполнений (стеклопакетов в соответствии с
ГОСТ 24866, стемалита и др.) с указанием типов и толщин стекол, дистанционных рамок, специальных элементов крепления;
- описание фурнитуры и систем запирания с указанием числа и точек запирания;
- результаты измерений и расчетов, а также схему расстановки датчиков. Рекомендуемая форма записи результатов испытаний приведена в
приложении В.
10.3 Протокол может включать информационное приложение, содержащее фотографии процесса испытаний, информацию об испытуемом образце (разрезы, чертежи, спецификация материалов, результаты тепловизионной съемки), а также другую информацию (при необходимости).
(рекомендуемое)
РАСЧЕТНЫЙ МЕТОД ОПРЕДЕЛЕНИЯ СОПРОТИВЛЕНИЯ ТЕПЛОПЕРЕДАЧЕ
Метод заключается в моделировании стационарного процесса теплопередачи через образец оконного или дверного блока в формате 2D или 3D с использованием лицензированного программного обеспечения.
А.1.1 Расчетный метод рекомендуется использовать:
- для сравнительного анализа образцов оконных или дверных блоков по величине приведенного сопротивления теплопередаче систем профилей и стеклопакетов;
- для разработки и выбора оптимальных конструктивных решений;
- для оценки конструктивных решений оконных или дверных блоков (включая температуру на внутренней поверхности конструкции и диапазон климатической применимости).
Примечание - Расчет приведенного сопротивления теплопередаче

допускается проводить:
- при конкретных климатических условиях (проектное значение), указанных в проекте, согласно требованиям нормативных документов <1>, действующих на территории государства, принявшего настоящий стандарт;
--------------------------------
<1> В Российской Федерации - в соответствии с требованиями
СП 50.13330.2012 "СНиП 23-02-2003 Тепловая защита зданий".
А.1.2 Расчетный метод дает возможность, используя соответствующее программное обеспечение, определить следующие характеристики и показатели оконных или дверных блоков, состоящих из любых сочетаний непрозрачных элементов (коробок, створчатых элементов, включая разделительные детали), различных видов силикатных стекол и стеклопакетов при любых климатических условиях и любом наклоне конструкций:
- размеры однородных и краевых зон остекления;
- термическое сопротивление элементов конструкций;
- приведенное сопротивление теплопередаче конструкций;
- температурные поля конструкций и их элементов.
А.1.3 Расчеты следует проводить с учетом характеристик материалов, радиационной составляющей теплообмена и климатических условий.
А.1.4 Сопротивление теплопередаче оконного или дверного блока рассчитывают с учетом теплотехнических характеристик отдельных элементов и взаимодействия между ними:
- сопротивления теплопередаче светопрозрачной части;
- сопротивления теплопередаче непрозрачных элементов;
- линейного взаимодействия соединения рамы/остекления.
А.1.5 Для проведения расчетов определяют площади элементов конструкции и расчетных зон с точностью 0,001 м2:
- центральной зоны остекления: суммарная площадь всех видимых частей остекления, за исключением краевых зон расчетной ширины, прилегающих к раме, створке или разделительным деталям;
- разделительных деталей: площадь проекции разделительных деталей на плоскость, параллельную плоскости остекления;
- краевой зоны остекления: суммарная площадь всех видимых частей остекления в пределах полос расчетной ширины, прилегающих к любой части рамы или створки;
- рамы и створки: сумма площадей проекций всех элементов рамы и створки на плоскость, параллельную плоскости остекления.
А.1.6 Определяют, используя программное обеспечение, температурные поля конструкций, термические сопротивления ее элементов приведенное термическое сопротивление и приведенное сопротивление теплопередаче образцов оконных или дверных блоков.
А.1.7 Если расчет проводится для наклонного положения оконного блока, то коэффициенты теплообмена на внутренней и наружной поверхностях остекления принимают согласно требованиям нормативных документов
<2>, действующих на территории государства, принявшего настоящий стандарт.
А.1.8 Для расчета теплотехнических характеристик оконных блоков для высотных зданий рекомендуется использовать температуры наружного воздуха обеспеченностью 0,98 с учетом требований нормативных документов <2>, действующих на территории государства, принявшего настоящий стандарт, или технического задания на проектирование.
--------------------------------
<2> В Российской Федерации действует
СП 131.13330.2020 "СНиП 23-01-99* Строительная климатология".
А.1.9 Рекомендуется выполнять корректировку коэффициента теплообмена на наружной поверхности конструкции для высотных зданий, а также проводить сопоставление результатов расчета с данными лабораторных испытаний.
(справочное)
ОПРЕДЕЛЕНИЕ КЛИМАТИЧЕСКОГО ДИАПАЗОНА
Б.1 Диапазон климатической применимости целесообразно определять при разработке или модернизации конструкций оконных или дверных блоков по теплотехническим характеристикам с целью рекомендации к их применению.
Б.2 Для оценки климатического диапазона проводят испытания конструкций согласно
8.2.7 настоящего стандарта при изменении температуры в холодном отделении климатической камеры от 0 °C до минус 50 °C.
Б.3 По результатам испытаний оценивают характер изменения приведенного сопротивления теплопередаче

конструкции, температуры на непрозрачных элементах
tпр и термические деформации элементов конструкции и комбинации непрозрачных элементов при снижении температуры в холодном отделении климатической камеры.
Б.4 Температура в холодном отделении климатической камеры, при которой температура на внутренней поверхности непрозрачной части конструкции равна точке росы используется в качестве "граничного" значения.
Б.5 По графику зависимости приведенного сопротивления теплопередаче от температуры в холодном отделении климатической камеры оценивается приведенное сопротивление теплопередаче образца

, соответствующее "граничному" значению.
Б.6 Диапазон температуры от 0 °C до "граничного" значения температуры можно рассматривать как рекомендуемый, в пределах которого обеспечиваются теплотехнические характеристики испытуемой конструкции.
Б.7 Конструкции оконных или дверных блоков могут быть рекомендованы к применению для климатических зон, температура наиболее холодной пятидневки которых не менее "граничного" значения температуры - обеспеченность 0,95. Для высотных и специальных зданий - 0,98.
(рекомендуемое)
ФОРМА ЗАПИСИ РЕЗУЛЬТАТОВ ИСПЫТАНИЙ
В.1 В протоколе испытаний приводят схему расстановки датчиков.
В.2 Рекомендуемая форма записи результатов измерений для обработки данных приведена в
таблице В.1.
Температура в теплом отделении tв:
Температура в холодном отделении tн
Номер изотермической зоны | Обозначение конструктивной зоны по схеме | Температура внутренней поверхности  , °C | Температура наружной поверхности  , °C | Перепад температуры  , °C | Плотность теплового потока q, Вт/м2 | Термическое сопротивление зоны Rki, м2·°C/Вт | Площадь зоны Fi, м2 |
1 | | | | | | | |
4 | | | | | | | |
5 | | | | | | | |
6 | | | | | | | |
7 | | | | | | | |
8 | | | | | | | |
9 | | | | | | | |
10 | | | | | | | |
11 | | | | | | | |
12 | | | | | | | |
n - 1 | | | | | | | |
n | | | | | | | |
n + 1 | | | | | | | |
В.3 Рекомендуемая форма записи результатов расчета для обработки данных приведена в таблице В.2.
Таблица В.2
Сопротивления конструктивных зон |
Температура в теплом отделении, °C | Температура в холодном отделении, °C |
Конструктивная зона по схеме | Площадь F, м2 | Термическое сопротивление Rki, м2·°C/Вт | Сопротивление теплопередаче  , м 2·°C/Вт |
Непрозрачная часть | | | |
Центр стеклопакета | | | |
Стеклопакет | | | |
Образец в целом | | | |
Процент остекления испытанного образца | |
Приведенное сопротивление теплопередаче испытанного образца, м2·°C/Вт | |
Приведенное сопротивление теплопередаче типоразмерного ряда при остеклении 70%, м2·°C/Вт | |
В.4 Приводят личные данные исполнителя.
УДК 699.83:006.354 | | NEQ |
Ключевые слова: оконный или дверной блок, лабораторные испытания, приведенное термическое сопротивление, приведенное сопротивление теплопередаче, коэффициент теплопередачи |