Главная // Актуальные документы // ГОСТ (Государственный стандарт)СПРАВКА
Источник публикации
В данном виде документ опубликован не был.
Первоначальный текст документа опубликован в издании
М.: Издательство стандартов, 1988.
Информацию о публикации документов, создающих данную редакцию, см. в справке к этим документам.
Примечание к документу
Отдельные положения данного документа включены в
Перечень документов в области стандартизации, в результате применения которых на добровольной основе обеспечивается соблюдение требований Федерального
закона от 22.07.2008 N 123-ФЗ "Технический регламент о требованиях пожарной безопасности" (
Приказ Росстандарта от 13.02.2023 N 318).
Отдельные положения данного документа включены в
Перечень документов в области стандартизации, в результате применения которых на добровольной основе обеспечивается соблюдение требований Федерального
закона от 22.07.2008 N 123-ФЗ "Технический регламент о требованиях пожарной безопасности" (
Приказ Росстандарта от 14.07.2020 N 1190).
Отдельные положения данного документа включены в
Перечень документов в области стандартизации, в результате применения которых на добровольной основе обеспечивается соблюдение требований Федерального
закона от 22.07.2008 N 123-ФЗ "Технический регламент о требованиях пожарной безопасности" (
Приказ Росстандарта от 03.06.2019 N 1317).
Отдельные положения данного документа включены в
Перечень документов в области стандартизации, в результате применения которых на добровольной основе обеспечивается соблюдение требований Федерального
закона от 22.07.2008 N 123-ФЗ "Технический регламент о требованиях пожарной безопасности" (
Приказ Росстандарта от 17.04.2019 N 832).
С 1 июля 2003 года до вступления в силу технических регламентов акты федеральных органов исполнительной власти в сфере технического регулирования носят рекомендательный характер и подлежат обязательному исполнению только в части, соответствующей целям, указанным в
пункте 1 статьи 46 Федерального закона от 27.12.2002 N 184-ФЗ.
Ограничение срока действия снято по Протоколу N 3-93 Межгосударственного совета по стандартизации, метрологии и сертификации ("ИУС", N 5 - 6, 1993).
Изменение N 2, утв. Постановлением Госстандарта СССР от 08.02.1990 N 178, введено в действие с 1 июля 1990 года.
Взамен ГОСТ 17083-81.
Название документа
"ГОСТ 17083-87 (СТ СЭВ 1956-79). Государственный стандарт союза ССР. Электротепловентиляторы бытовые. Общие технические условия"
(утв. и введен в действие Постановлением Госстандарта СССР от 25.12.1987 N 5056)
(ред. от 08.02.1990)
"ГОСТ 17083-87 (СТ СЭВ 1956-79). Государственный стандарт союза ССР. Электротепловентиляторы бытовые. Общие технические условия"
(утв. и введен в действие Постановлением Госстандарта СССР от 25.12.1987 N 5056)
(ред. от 08.02.1990)
Утвержден и введен в действие
Постановлением Госстандарта СССР
от 25 декабря 1987 г. N 5056
ГОСУДАРСТВЕННЫЙ СТАНДАРТ СОЮЗА ССР
ЭЛЕКТРОТЕПЛОВЕНТИЛЯТОРЫ БЫТОВЫЕ
ОБЩИЕ ТЕХНИЧЕСКИЕ УСЛОВИЯ
Electric fan heaters for household use.
General specifications
ГОСТ 17083-87
(СТ СЭВ 1956-79)
Е
| | Список изменяющих документов Госстандарта СССР от 25.04.1989 N 1088, Госстандарта СССР от 08.02.1990 N 178) | |
Срок действия
с 1 января 1989 года
до 1 января 1994 года
1. Разработан и внесен Министерством электротехнической промышленности СССР.
Исполнители: В.В. Охапкин (руководитель темы), Р.К. Бикташева, В.А. Базунова, Т.И. Брикушина, С.А. Хамин, В.В. Иванов, Н.Н. Поручикова.
2. Утвержден и введен в действие Постановлением Государственного комитета СССР по стандартам от 25.12.1987 N 5056.
3. Срок проверки - 1990 г.; периодичность проверки - 4 года.
4. Стандарт соответствует СТ СЭВ 1956-79 в части требований к электротепловентиляторам.
5. Стандарт полностью соответствует международным стандартам МЭК 335-2-30-79, МЭК 675-80.
6. Взамен ГОСТ 17083-81.
7. Ссылочные нормативно-технические документы
─────────────────────────────────┬────────────────────────────────
Обозначение НТД, │ Номер пункта, приложения
на который дана ссылка │
─────────────────────────────────┼────────────────────────────────
ИС МЕГАНОРМ: примечание.
ГОСТ 16842-82 утратил силу на территории Российской Федерации
с 1 января 2001 года в связи с введением в действие
N 655-ст).
ИС МЕГАНОРМ: примечание.
ГОСТ 23511-79 утратил силу на территории Российской Федерации
с 1 июля 2001 года (ИУС "Государственные стандарты", N 4, 2000).
Настоящий стандарт распространяется на бытовые электротепловентиляторы (далее - тепловентиляторы), изготовляемые для нужд народного хозяйства и экспорта, вида климатического исполнения УХЛ4 по
ГОСТ 15150-69, предназначенные для дополнительного обогрева жилых помещений.
Степень соответствия настоящего стандарта СТ СЭВ 1956-79 приведена в
Приложении 1.
Абзац исключен с 1 сентября 1989 года. -
Изменение N 1, утв. Постановлением Госстандарта СССР от 25.04.1989 N 1088.
1.1. Тепловентиляторы подразделяют на:
1) по принципу действия:
осевые;
диаметральные (тангенциальные);
центробежные;
2) по регулированию производительности:
без регулирования;
со ступенчатым регулированием;
с бесступенчатым (плавным) регулированием;
3) по регулированию мощности нагревательного элемента:
со ступенчатым регулированием;
с бесступенчатым (плавным) регулированием.
1.2. По способу защиты от воздействия, вызванного накрыванием прибора, тепловентиляторы относят к защищенным приборам.
1.3. В зависимости от метода монтажа тепловентиляторы - переносные приборы.
1.4. Исключен с 1 сентября 1989 года. -
Изменение N 1, утв. Постановлением Госстандарта СССР от 25.04.1989 N 1088.
1.4а. По жесткости условий эксплуатации изоляционных материалов относительно опасности образования токопроводящих мостиков тепловентиляторы относят к приборам, работающим в жестких условиях эксплуатации по
Приложению O к ГОСТ 27570.0-87.
(п. 1.4а введен
Изменением N 2, утв. Постановлением Госстандарта СССР от 08.02.1990 N 178)
1.5. Тепловентиляторы следует изготовлять на номинальное напряжение 220 В переменного тока частотой 50 Гц.
1.6. Основные параметры тепловентиляторов должны соответствовать указанным ниже:
номинальная мощность нагревательного элемента, кВт . . 1,00; 1,25
3 -1
номинальная, производительность, м x мин . . . . . . 1,0; 1,6; 2,5
число режимов производительности при ступенчатом
регулировании . . . . . . . . . . . . . . . . . . . . . не менее 2
число режимов нагрева при ступенчатом регулировании . . не менее 2
1.7. Устанавливают следующую структуру условного обозначения тепловентиляторов:
ТВ 00 00 00 00
─┬─ ─┬─ ─┬─ ─┬─ ──┬─
└─────┼─────┼─────┼──────┼──── Тепловентилятор
│ │ │ │ Номинальная мощность нагревательного
└─────┼─────┼──────┼──── элемента, кВт
│ │ │ 3 -1
└─────┼──────┼──── Номинальная производительность, м x мин
│ │ Название тепловентилятора и номер
└──────┼──── модели (при наличии)
└──── Обозначение настоящего стандарта
Пример условного обозначения тепловентилятора с номинальной мощностью нагревательного элемента 1,25 кВт, номинальной производительностью

, с названием "Хевел" и номером модели 4:
ТВ 1,25/1,6 "Хевел-4" ГОСТ 17083-87
(в ред.
Изменения N 1, утв. Постановлением Госстандарта СССР от 25.04.1989 N 1088)
2. ТЕХНИЧЕСКИЕ ТРЕБОВАНИЯ
| | ИС МЕГАНОРМ: примечание. ГОСТ 14087-88 утратил силу на территории Российской Федерации с 1 июля 2004 года в связи с введением в действие ГОСТ Р 52084-2003 (Постановление Госстандарта РФ от 30.06.2003 N 214-ст). | |
2.1. Тепловентиляторы следует изготовлять в соответствии с требованиями ГОСТ 14087-88, ГОСТ 27570.15-88 и настоящего стандарта по рабочим чертежам и образцам-эталонам.
(в ред.
Изменения N 1, утв. Постановлением Госстандарта СССР от 25.04.1989 N 1088)
Дополнительные требования к тепловентиляторам с устройствами, расширяющими функциональные возможности, должны быть установлены в технических условиях на эти приборы.
Тепловентиляторы, предназначенные для экспорта, должны соответствовать также заказу-наряду внешнеторговой организации.
2.2. Тепловентиляторы по условиям эксплуатации относят к приборам, которые должны работать под надзором.
Номинальный режим работы - продолжительный.
2.3. Тепловентиляторы по типу защиты от поражения электрическим током должны соответствовать приборам II класса обычного исполнения.
(п. 2.4 в ред.
Изменения N 1, утв. Постановлением Госстандарта СССР от 25.04.1989 N 1088)
2.5. Предельное отклонение производительности тепловентиляторов от номинальной при номинальном напряжении - минус 10%, отклонение в плюсовую сторону не ограничивают.
2.5а. Снижение производительности тепловентиляторов от максимальной на минимальной ступени ее регулирования (при ступенчатом регулировании) или в минимальном положении регулятора (при плавном регулировании) должно быть не менее:
20% - с конденсаторным электродвигателем,
10% - с электродвигателями других типов
(п. 2.5а введен
Изменением N 1, утв. Постановлением Госстандарта СССР от 25.04.1989 N 1088)
2.6. Предельные отклонения потребляемой мощности тепловентиляторов от номинальной плюс 5% и минус 10%; мощности нагревательного элемента от номинальной - плюс 5% и минус 10%.
2.7. Мощность нагревательного элемента должна быть:
при бесступенчатом (плавном) регулировании в минимальном положении регулятора - не более 40% номинальной мощности нагревательного элемента;
при наличии двух ступеней регулирования:
(50 +/- 10)% номинальной мощности нагревательного элемента - на второй ступени;
при наличии трех ступеней регулирования:
(50 +/- 10)% номинальной мощности нагревательного элемента - на второй ступени;
(25 +/- 10)% номинальной мощности нагревательного элемента - на третьей ступени.
Если число ступеней регулирования более трех, значения мощности нагревательного элемента на ступенях регулирования указывают в конструкторской документации.
| | Применение на добровольной основе пункта 2.8 обеспечивает соблюдение требований Федерального закона от 22.07.2008 N 123-ФЗ "Технический регламент о требованиях пожарной безопасности" (Приказ Росстандарта от 16.04.2014 N 474). | |
| | Применение на добровольной основе пункта 2.8 обеспечивает соблюдение требований Федерального закона от 22.07.2008 N 123-ФЗ "Технический регламент о требованиях пожарной безопасности" (Приказ Ростехрегулирования от 30.04.2009 N 1573). | |
2.8. Нагрев - по ГОСТ 27570.15-88 со следующим дополнением. Температура поверхностей тепловентилятора (черт. 1), за исключением решеток для выхода теплого воздуха и зоны вблизи них, доступных для испытательного пальца по
ГОСТ 27570.0-87, в условиях нормальной эксплуатации не должна превышать температуру окружающего воздуха более чем на:
60 °C - для неметаллического корпуса;
80 °C - для металлического корпуса.
Черт. 1
(п. 2.8 в ред.
Изменения N 1, утв. Постановлением Госстандарта СССР от 25.04.1989 N 1088)
2.9. Нижний предел температуры потока воздуха для максимальной ступени мощности нагревательного элемента и минимальной производительности должен быть не менее 50 °C, верхний предел - не более 100 °C в условиях нормальной эксплуатации при номинальном напряжении сети.
2.10. Корректированный уровень звуковой мощности тепловентиляторов на максимальной скорости должен быть не более указанного в табл. 1а.
Таблица 1а
──────────────────────────┬────────────────────────────────────────────────
Исполнение │Корректированный уровень звуковой мощности, дБА,
тепловентиляторов │ при номинальной производительности, м3/мин
по принципу действия ├─────────────────┬───────────────┬──────────────
│ 1,0 │ 1,6 │ 2,5
──────────────────────────┼─────────────────┼───────────────┼──────────────
Центробежные │ 48 │ 53 │ -
Осевые и диаметральные │ - │ 53/58 │ 60
Примечание. Значение показателя в знаменателе допускается до 01.01.1992 для изделий, поставленных на производство до 01.01.1989.
(п. 2.10 в ред.
Изменения N 1, утв. Постановлением Госстандарта СССР от 25.04.1989 N 1088)
2.11. Среднее квадратическое значение виброскорости тепловентиляторов должно быть не более 10 мм/с.
| | ИС МЕГАНОРМ: примечание. ГОСТ 23511-79 утратил силу на территории Российской Федерации с 1 июля 2001 года (ИУС "Государственные стандарты", N 4, 2000). | |
2.12. Уровень допускаемых радиопомех, создаваемых тепловентиляторами при работе, не должен превышать значений, установленных ГОСТ 23511-79.
2.13. Значения показателей надежности должны быть:
установленная безотказная наработка

- не менее 1000 ч;
средняя наработка на отказ

- не менее 4500 ч;
установленный срок службы

- 10 лет;
среднее время восстановления работоспособного состояния тепловентилятора

- не более 0,8 ч.
2.14. Удельная масса,

, должна быть не более:
1,500 - для тепловентиляторов производительностью 1,0 и

;
1,110 - для тепловентиляторов производительностью

.
Примечание. До 01.01.1990 для тепловентиляторов производительностью 1,0 и

допускается удельная масса не более

.
Массу дополнительных устройств, расширяющих функциональные возможности тепловентилятора, в расчет не принимают.
2.15. Удельная потребляемая мощность,

, должна быть не более:
1000 - для тепловентиляторов производительностью

;
800 - для тепловентиляторов производительностью

;
520 - для тепловентиляторов производительностью

.
Мощность, потребляемую дополнительными устройствами, расширяющими функциональные возможности тепловентилятора, в расчет не принимают.
2.16. Группа условий эксплуатации в части воздействия механических факторов внешней среды - М23 по ГОСТ 17516-72.
2.17. Тепловентиляторы должны быть устойчивы к механическим и климатическим воздействиям при транспортировании.
| | Применение на добровольной основе пунктов 2.18, 2.19 обеспечивает соблюдение требований Федерального закона от 22.07.2008 N 123-ФЗ "Технический регламент о требованиях пожарной безопасности" (Приказ Росстандарта от 16.04.2014 N 474). | |
| | Применение на добровольной основе пункта 2.18 обеспечивает соблюдение требований Федерального закона от 22.07.2008 N 123-ФЗ "Технический регламент о требованиях пожарной безопасности" (Приказ Ростехрегулирования от 30.04.2009 N 1573). | |
2.18. Тепловентиляторы должны быть снабжены термовыключателями или иными устройствами, отключающими прибор от сети при ненормальной работе.
| | Применение на добровольной основе пункта 2.19 обеспечивает соблюдение требований Федерального закона от 22.07.2008 N 123-ФЗ "Технический регламент о требованиях пожарной безопасности" (Приказ Ростехрегулирования от 30.04.2009 N 1573). | |
2.19. Вероятность возникновения пожара не должна быть более

в расчете на один прибор в год.
2.20. Переключатель режимов работы не должен допускать включения нагревательных элементов без включения электродвигателя.
2.21. Исключен с 1 сентября 1989 года. -
Изменение N 1, утв. Постановлением Госстандарта СССР от 25.04.1989 N 1088.
2.22. Исключен с 1 сентября 1989 года. -
Изменение N 1, утв. Постановлением Госстандарта СССР от 25.04.1989 N 1088.
2.23. Тепловентиляторы с металлическим корпусом должны иметь ручки или другие конструктивные элементы для переноса.
2.24. Исключен с 1 сентября 1989 года. -
Изменение N 1, утв. Постановлением Госстандарта СССР от 25.04.1989 N 1088.
2.25. Присоединение к источнику питания и внешние гибкие кабели и шнуры - по ГОСТ 27570.15-88. Соединительный шнур тепловентилятора может быть несъемным, армированным неразборной штепсельной вилкой, или съемным, армированным неразборными вилкой и приборной розеткой.
Длина шнура должна быть не менее 2,00 м, номинальное поперечное сечение - не менее 0,75 мм2.
(п. 2.25 в ред.
Изменения N 1, утв. Постановлением Госстандарта СССР от 25.04.1989 N 1088)
2.26. Основные составные части вновь разрабатываемых тепловентиляторов должны быть унифицированы. Коэффициент межпроектной унификации должен быть не менее 50%.
2.27. Угол наклона оси потока воздуха вниз относительно горизонтальной плоскости должен быть не более 20° (для настольного и напольного применений).
2.28. Тепловентиляторы должны иметь устройства для предохранения поверхностей, на которых они стоят, от повреждений.
2.29. К элементам комфортности относят:
ручки или другие конструктивные элементы для переноса тепловентилятора (для тепловентиляторов с неметаллическим корпусом);
устройства для изменения направления потока воздуха вверх относительно горизонтальной плоскости на угол не менее 15° без изменения положения тепловентилятора;
наличие регулирования производительности;
(в ред.
Изменения N 1, утв. Постановлением Госстандарта СССР от 25.04.1989 N 1088)
терморегулятор;
устройство стабилизации температуры воздушного потока на выходе;
съемный шнур;
отсек для хранения шнура или механизм автоматической уборки шнура;
(в ред.
Изменения N 1, утв. Постановлением Госстандарта СССР от 25.04.1989 N 1088)
световую индикацию;
устройства, расширяющие функциональные возможности тепловентилятора.
Элементы комфортности должны быть перечислены в руководстве по эксплуатации.
В комплект поставки должны входить:
тепловентилятор;
потребительская тара;
крепежные элементы (для тепловентиляторов настенного применения);
съемные элементы комфортности (при наличии);
руководство по эксплуатации.
В руководстве по эксплуатации должно быть указание о том, что тепловентилятор следует размещать так, чтобы тепло не воздействовало неблагоприятно на розетку.
2.31. Маркировка
2.31.1. Маркировка тепловентиляторов должна соответствовать ГОСТ 27570.15-88 с дополнением розничной цены.
(п. 2.31.1 в ред.
Изменения N 1, утв. Постановлением Госстандарта СССР от 25.04.1989 N 1088)
2.31.2. На потребительской таре должна быть нанесена следующая маркировка:
условное обозначение или название и номер модели тепловентилятора;
(в ред.
Изменения N 1, утв. Постановлением Госстандарта СССР от 25.04.1989 N 1088)
род тока и номинальное напряжение;
наименование или товарный знак предприятия-изготовителя;
номинальная частота;
розничная цена и специальный артикул для изделий с индексом Н (новинка);
год выпуска;
изображение государственного Знака качества (для тепловентиляторов высшей категории качества);
манипуляционные знаки по
ГОСТ 14192-77: "Осторожно, хрупкое", "Верх, не кантовать", "Боится сырости" (для тепловентиляторов, которые допускается транспортировать в потребительской таре).
2.31.3. Маркировка на тепловентиляторах, предназначенных для экспорта, и на их потребительской таре производится в соответствии с заказом-нарядом внешнеторговой организации. Розничную цену, обозначение настоящего стандарта и государственный Знак качества в этом случае не наносят.
2.32.1. Упаковка тепловентиляторов - по
ГОСТ 23216-78 со следующими уточнениями.
Каждый тепловентилятор должен быть упакован в потребительскую тару - пачку по
ГОСТ 12303-80 или коробку по
ГОСТ 12301-81 из коробочного картона, обеспечивающую сохранность тепловентилятора при транспортировании.
Тип ящика выбирают исходя из габаритных размеров потребительской тары.
По согласованию с заказчиком допускается транспортирование тепловентиляторов в многооборотной таре.
Тепловентиляторы при транспортировании их в контейнерах или крытых автомашинах должны быть сформированы в пакеты в соответствии с требованиями
ГОСТ 21929-76.
2.32.3. Упаковка тепловентиляторов, предназначенных для районов Крайнего Севера и труднодоступных районов, должна соответствовать
ГОСТ 15846-79.
3.1. Тепловентиляторы следует подвергать приемо-сдаточным, периодическим, квалификационным и типовым испытаниям.
3.2. Приемо-сдаточные испытания
3.2.1. Приемо-сдаточным испытаниям должен быть подвергнут каждый тепловентилятор по программе и в последовательности, указанными в табл. 1.
────────────────────────────────┬──────────────────────────────────────────
Программа испытаний │ Обозначение стандарта или пункт
│ настоящего стандарта
├──────────────────────┬───────────────────
│технических требований│методов испытаний
────────────────────────────────┼──────────────────────┼───────────────────
прочности изоляции в холодном │ │
состоянии без увлажнения │ │
ИС МЕГАНОРМ: примечание.
ГОСТ 14087-88 утратил силу на территории Российской Федерации
с 1 июля 2004 года в связи с введением в действие
N 214-ст).
Испытание на функционирование │По ГОСТ 14087-88 │По ГОСТ 14087-88
25.04.1989 N 1088)
Измерение потребляемой мощности│
1.6,
2.6 │
4.5
Примечания. 1. Перед началом испытаний следует провести обкатку тепловентиляторов в течение времени, указанного в конструкторской документации.
2. Допускается проводить испытание электрической прочности изоляции в нагретом состоянии (непосредственно после обкатки).
3. При испытании электрической прочности изоляции допускается испытывать только основную изоляцию.
4. Исключено с 1 сентября 1989 года. -
Изменение N 1, утв. Постановлением Госстандарта СССР от 25.04.1989 N 1088.
3.2.2. Если в процессе приемо-сдаточных испытаний будет обнаружено несоответствие тепловентилятора хотя бы одному из требований, указанных в
табл. 1, то после устранения дефекта тепловентилятор подвергают повторной проверке в полном объеме приемо-сдаточных испытаний.
3.3. Периодические испытания
3.3.1. Периодическим испытаниям следует подвергать не менее пяти тепловентиляторов, прошедших приемо-сдаточные испытания, по программе и в последовательности, указанными в табл. 2. Испытания проводят не реже раза в год, испытания на надежность - раз в три года. Выборку тепловентиляторов для испытаний проводят в соответствии с
ГОСТ 18321-73 методом отбора с применением случайных чисел.
| | Применение на добровольной основе таблицы 2 обеспечивает соблюдение требований Федерального закона от 22.07.2008 N 123-ФЗ "Технический регламент о требованиях пожарной безопасности" (Приказ Росстандарта от 16.04.2014 N 474). | |
| | Применение на добровольной основе таблицы 2 обеспечивает соблюдение требований Федерального закона от 22.07.2008 N 123-ФЗ "Технический регламент о требованиях пожарной безопасности" (Приказ Ростехрегулирования от 30.04.2009 N 1573). | |
─────────────────────────────────┬─────────────────────────────────────────
Программа испытаний │ Обозначение стандарта или пункт
│ настоящего стандарта
├──────────────────────┬──────────────────
│технических требований│методов испытаний
─────────────────────────────────┼──────────────────────┼──────────────────
прочность при транспортировании │ │
Испытание на воздействие │
2.16 │По ГОСТ 17516-72
механических факторов внешней │ │
среды │ │
направления потока воздуха
<*> │ │
Испытание на функционирование │По ГОСТ 14087-88 │По ГОСТ 14087-88
25.04.1989 N 1088)
Испытание на защиту │По ГОСТ 27570.15-88 │По ГОСТ 27570.15-88
от поражения электрическим током │ │
Проверка пуска электродвигателя │По ГОСТ 27570.15-88 │По ГОСТ 27570.15-88
Определение производительности │
1.6,
2.5 │
4.4
Определение удельной массы │
2.14 │
4.9
потребляемой мощности │ │
25.04.1989 N 1088,
Изменения N 2, утв. Постановлением Госстандарта
СССР от 08.02.1990 N 178)
Измерение температуры потока │
2.9 │
4.22
воздуха │ │
25.04.1989 N 1088,
Изменения N 2, утв. Постановлением Госстандарта
СССР от 08.02.1990 N 178)
Определение корректированного │
2.10 │По СТ СЭВ 4672-84
уровня звуковой мощности │ │
Измерение виброскорости │
2.11 │По ГОСТ 27805-88
25.04.1989 N 1088)
Проверка работы тепловентилятора│По ГОСТ 27570.15-88 │По ГОСТ 27570.15-88
в условиях перегрузки │ │
Проверка электрической │По ГОСТ 27570.15-88 │По ГОСТ 27570.15-88
прочности изоляции и тока утечки │ │
при рабочей температуре │ │
Определение радиопомех (тепло- │
2.12 │
4.7
вентиляторов с элементами, │ │
создающими радиопомехи) │ │
Испытание на влагостойкость │По ГОСТ 27570.15-88 │По ГОСТ 27570.15-88
Постановлением Госстандарта СССР от 25.04.1989 N 1088.
Постановлением Госстандарта СССР от 25.04.1989 N 1088.
Постановлением Госстандарта СССР от 25.04.1989 N 1088.
Испытание на износостойкость │По ГОСТ 27570.15-88 │По ГОСТ 27570.15-88
25.04.1989 N 1088)
Испытание при ненормальной │
2.18 │По ГОСТ 27570.15-88
работе │и по ГОСТ 27570.15-88 │
25.04.1989 N 1088)
Проверка устойчивости │По ГОСТ 27570.15-88 │По ГОСТ 27570.15-88
25.04.1989 N 1088)
Проверка на механическую │По ГОСТ 27570.15-88 │По ГОСТ 27570.15-88
опасность │ │
25.04.1989 N 1088)
Проверка механической прочности │По ГОСТ 27570.15-88 │По ГОСТ 27570.15-88
Проверка конструкции │По ГОСТ 27570.15-88 │По ГОСТ 27570.15-88
│ │
25.04.1989 N 1088)
Проверка внутренней проводки │По ГОСТ 27570.15-88 │По ГОСТ 27570.15-88
25.04.1989 N 1088)
Проверка комплектующих изделий │По ГОСТ 27570.15-88 │По ГОСТ 27570.15-88
25.04.1989 N 1088)
к источнику питания │ │
Измерение длины шнура питания │
2.25 │По СТ СЭВ 4139-83
25.04.1989 N 1088)
Проверка прочности винтовых │По ГОСТ 27570.15-88 │По ГОСТ 27570.15-88
соединений │ │
Проверка путей утечки, воздушных│По ГОСТ 27570.15-88 │По ГОСТ 27570.15-88
зазоров и расстояний по изоляции │ │
Испытание на холодоустойчивость │
2.17 │
4.12
и теплоустойчивость │ │
при транспортировании
<*> │ │
Испытание на теплостойкость, │По ГОСТ 27570.15-88 │По ГОСТ 27570.15-88
огнестойкость и стойкость │ │
к образованию токопроводящих │ │
мостиков │ │
25.04.1989 N 1088)
Стойкость к коррозии │По ГОСТ 27570.15-88 │По ГОСТ 27570.15-88
25.04.1989 N 1088)
25.04.1989 N 1088)
производительности <*> │ │
СССР от 25.04.1989 N 1088)
(в ред.
Изменения N 1, утв. Постановлением Госстандарта СССР от 25.04.1989 N 1088)
--------------------------------
<*> Проводят при квалификационных испытаниях.
Примечания. 1. Исключено с 1 сентября 1989 года. -
Изменение N 1, утв. Постановлением Госстандарта СССР от 25.04.1989 N 1088.
2. Требования и методы испытаний тепловентиляторов с электронными устройствами, а также с устройствами, расширяющими функциональные возможности тепловентиляторов, должны быть изложены в конструкторской документации.
3.3.2. Если при периодических испытаниях хотя бы один испытуемый образец не будет соответствовать требованиям настоящего стандарта, то повторным испытаниям должно быть подвергнуто удвоенное число образцов. Результаты повторных испытаний являются окончательными.
При неудовлетворительных результатах повторных испытаний приемка тепловентиляторов прекращается, разрабатываются мероприятия по устранению недостатков. После выполнения мероприятий тепловентиляторы вновь подвергаются периодическим испытаниям.
3.4. Квалификационные испытания
Квалификационные испытания следует проводить не менее чем на пяти тепловентиляторах по программе и в последовательности, указанными в
табл. 2.
3.5. Типовые испытания
Типовые испытания тепловентиляторов проводят при изменении конструкции, технологии изготовления или материалов. Программа испытаний должна быть установлена в зависимости от характера внесенных изменений.
3.6. Планирование испытаний на надежность - по ГОСТ 17446-86.
3.6.1. Установленную безотказную наработку

контролируют при условии:
объем выборки - не менее 7 образцов.
3.6.2. Установленный срок службы

контролируют при условии:
среднегодовая наработка электротепловентилятора - 500 ч.
3.6.3. Испытания на среднюю наработку на отказ планируют по следующим показателям:
приемочный уровень наработки на отказ -

;
браковочный уровень наработки на отказ -

;
риск изготовителя -

;
риск потребителя -

;
время испытаний -

.
3.6.4. Испытания на ремонтопригодность проводят отдельно или совместно с другими испытаниями на надежность.
Число наблюдений по каждой операции ремонта должно быть не менее трех.
3.7. Конечному получателю предоставляется право выборочной проверки качества тепловентиляторов. Проверке подвергают 3% тепловентиляторов, но не менее 5 шт. от проверяемой партии по программе, включающей проверку внешнего вида и испытание на функционирование.
(в ред.
Изменения N 1, утв. Постановлением Госстандарта СССР от 25.04.1989 N 1088)
Партией считают число тепловентиляторов одного типа, поступивших по одному документу.
При неудовлетворительных результатах повторной проверке подвергают удвоенное количество образцов. Результаты этой проверки являются окончательными и распространяются на всю партию.
4.1. Общие условия испытаний - по ГОСТ 27570.15-88.
(в ред.
Изменения N 1, утв. Постановлением Госстандарта СССР от 25.04.1989 N 1088)
Измерение всех электрических величин при испытаниях следует производить электроизмерительными приборами класса точности не ниже 0,5. При приемо-сдаточных испытаниях допускается применение приборов класса точности не ниже 1,5.
4.2. При внешнем осмотре проверяют правильность сборки и комплектность тепловентилятора, отсутствие внешних повреждений, загрязнений, наличие элементов комфортности, четкость и полноту маркировки изделия и упаковки, состояние упаковки, проводят сравнение тепловентилятора с образцом-эталоном.
При осмотре следует открывать все крышки и снимать детали, съем которых предусмотрен при нормальной эксплуатации.
Качество маркировки проверяют по ГОСТ 27570.15-88.
(в ред.
Изменения N 1, утв. Постановлением Госстандарта СССР от 25.04.1989 N 1088)
4.3. Исключен с 1 сентября 1989 года. -
Изменение N 1, утв. Постановлением Госстандарта СССР от 25.04.1989 N 1088.
4.4. Определение производительности тепловентиляторов следует проводить при номинальном напряжении и максимальном числе оборотов в установившемся режиме.
Нагревательный элемент должен быть отключен. Измерение скорости воздушного потока у диаметральных, центробежных и осевых тепловентиляторов производят крыльчатым анемометром с диаметром кольца 100 мм.
Для проведения измерения скорости изготавливают измерительный патрубок в соответствии с черт. 2 из электрокартона, фанеры или другого подобного материала.
Черт. 2
Для диаметральных и центробежных тепловентиляторов входное окно патрубка выполняют по периметру выходного окна прибора, выходное - в виде квадрата площадью, равной площади выходного окна прибора. Если расчетная сторона выходного квадрата менее 100 мм, то ее принимают равной 100 мм. Длина измерительного патрубка должна быть равна 6d, где
d - приведенный диаметр выходного окна прибора, м, рассчитываемый по формуле

, (1)
где S - площадь выходного окна прибора, м2;
a, b - размеры выходного окна прибора, м.
Измерительный патрубок соединяют с тепловентилятором так, чтобы прямоугольная часть вплотную подходила к его выходному окну. Анемометр устанавливают по центру квадрата вплотную или на расстоянии не более 3 мм от выходного окна патрубка; измерение скорости воздушного потока производят в течение 3 мин.
Для осевых тепловентиляторов с некруглым выходным окном измерение проводят аналогично указанному выше.
Для измерения скорости воздушного потока у осевых тепловентиляторов измерительный патрубок изготавливают в форме цилиндра (черт. 3) диаметром, равным диаметру выходного окна, и длиной 6D, где D - диаметр выходного окна прибора. Если диаметр выходного окна тепловентилятора менее 100 мм, то выходной патрубок выполняют расширяющимся до диаметра выходного окна 100 мм.
Черт. 3
Число измерений выбирают в зависимости от размеров окна.
Если анемометр только один раз вписывается в размер выходного окна, то измерения проводят в течение 5 мин.
Если анемометр вписывается в размер выходного окна более одного раза, то площадь окружности цилиндра должна быть разделена на секторы. Число секторов n рассчитывают по формуле (при этом дробное число округляют до ближайшего целого)

, (2)
где D - диаметр цилиндра;
d - диаметр анемометра.
Измерения проводят в каждом секторе и в центре окружности по 1 мин.
Производительность тепловентилятора Q, м3/мин, рассчитывают по формуле
Q = 60 x v x S, (3)
где v - средняя скорость воздушного потока, м/с, измеренная анемометром или вычисленная для осевых вентиляторов по формуле

, (4)
где n - количество точек измерения скорости;
S - площадь выходного окна патрубка, м2.
4.5. Определение потребляемой мощности при номинальном напряжении и в условиях нормальной теплоотдачи следует проводить:
при квалификационных и периодических испытаниях - на каждой ступени мощности,
при приемо-сдаточных испытаниях - только на максимальной ступени.
4.6. Исключен с 1 сентября 1989 года. -
Изменение N 1, утв. Постановлением Госстандарта СССР от 25.04.1989 N 1088.
| | ИС МЕГАНОРМ: примечание. ГОСТ 16842-82 утратил силу на территории Российской Федерации с 1 января 2001 года в связи с введением в действие ГОСТ Р 51320-99 (Постановление Госстандарта России от 22.12.1999 N 655-ст). | |
4.7. Испытание тепловентиляторов на радиопомехи проводят по ГОСТ 16842-82. Режим работы тепловентиляторов выбирают из условий, соответствующих наибольшему значению радиопомех.
Тепловентиляторы, имеющие электродвигатель с короткозамкнутым ротором, в электрической схеме которых нет других источников радиопомех (например терморегуляторов), испытаниям на радиопомехи не подвергают.
4.8. Испытания тепловентиляторов на надежность проводят в нормальных климатических условиях для эксплуатации по
ГОСТ 15150-69. При этом напряжение и частота питания должны соответствовать указанным на табличке прибора, отклонения напряжения и частоты - в соответствии с требованиями настоящего стандарта.
(в ред.
Изменения N 1, утв. Постановлением Госстандарта СССР от 25.04.1989 N 1088)
Испытания проводят во всех режимах равномерно.
До испытаний, затем через каждые 1000 ч наработки, а также в конце наработки измеряют следующие контролируемые параметры: сопротивление изоляции, корректированный уровень звуковой мощности и потребляемую мощность.
Критериями отказов тепловентиляторов являются:
перегорание нагревательного элемента;
выход из строя регулирующих и защитных устройств;
выход из строя электродвигателя;
несоответствие по контролируемым параметрам.
4.8.1. За время испытаний на среднюю наработку на отказ допускается не более четырех отказов на всю выборку.
4.8.2. Испытание тепловентиляторов на установленный срок службы проводят до достижения каждым прибором предельного состояния.
В случае отказа тепловентиляторы ремонтируют. При отказе электродвигателя из-за отсутствия смазки в подшипниковых узлах смазывают подшипниковые узлы электродвигателя и производят повторный пуск тепловентилятора.
Критериями предельного состояния тепловентилятора считают отказ электродвигателя, который не удается устранить смазкой.
4.8.3. При испытаниях тепловентиляторов на установленный срок службы в период наработки до 5000 ч ни один из них не должен достигать предельного состояния.
4.8.4. При испытаниях на среднее время восстановления допускается применять метод имитации ремонта на исправном образце. Ремонт проводят методом замены деталей и узлов без учета трудоемкости их восстановления.
Среднее время восстановления

, ч, рассчитывают по формуле

, (5)
где

- среднее оперативное время, ч, затрачиваемое на выполнение l-й операции ремонта;
L - число операций одного ремонта.
Пример заполнения технологической карты-накопителя результатов выполнения операции ремонта приведен в
Приложении 3.
4.9. Удельную массу определяют как отношение массы изделия, измеряемой по ГОСТ 27734-88, к фактической производительности, измеренной по
п. 4.4 настоящего стандарта.
(в ред.
Изменения N 1, утв. Постановлением Госстандарта СССР от 25.04.1989 N 1088)
При определении удельной массы массу устройств, расширяющих функциональные возможности тепловентилятора, не учитывают.
Масса этих устройств должна быть указана в технических условиях на эти приборы.
4.10. Удельную потребляемую мощность определяют как отношение фактической потребляемой мощности тепловентилятора к фактической производительности тепловентилятора.
При этом устройства, расширяющие функциональные возможности тепловентилятора и потребляющие электроэнергию, должны быть отключены.
В случае невозможности отключения этих устройств метод и средства измерения потребляемой мощности должны быть указаны в технических условиях на эти приборы.
4.11. Испытание тепловентиляторов на механическую прочность при транспортировании следует проводить по
ГОСТ 23216-78 со следующими дополнениями.
Тепловентиляторы и упаковку считают выдержавшими испытания при отсутствии деформации, нормальном функционировании и соответствии значения потребляемой мощности требованиям настоящего стандарта.
(в ред.
Изменения N 2, утв. Постановлением Госстандарта СССР от 08.02.1990 N 178)
| | ИС МЕГАНОРМ: примечание. ГОСТ 16962-71 последовательно отменен в связи с введением в действие ГОСТ 16962.1-89, утв. Постановлением Госстандарта СССР от 17.07.1989 N 2382, и ГОСТ 16962.2-90, утв. Постановлением Госстандарта СССР 23.05.1990 N 1266. | |
4.12. Испытание на холодоустойчивость и теплоустойчивость при транспортировании проводят по ГОСТ 16962-71 в условиях первой степени жесткости со следующим дополнением.
Тепловентиляторы выдерживают в камере холода и тепла при температурах минус 60 °C и плюс 50 °C соответственно в течение 4 ч. После извлечения из камеры тепловентиляторы выдерживают в нормальных условиях не менее 12 ч.
Тепловентиляторы считают выдержавшими испытания после проверки их по программе приемо-сдаточных испытаний.
4.13 - 4.16. Исключены с 1 сентября 1989 года. -
Изменение N 1, утв. Постановлением Госстандарта СССР от 25.04.1989 N 1088.
4.17. Коэффициент межпроектной унификации

, %, рассчитывают по формуле

, (6)
где

- общее количество типоразмеров составных частей тепловентилятора;

- количество типоразмеров оригинальных составных частей.
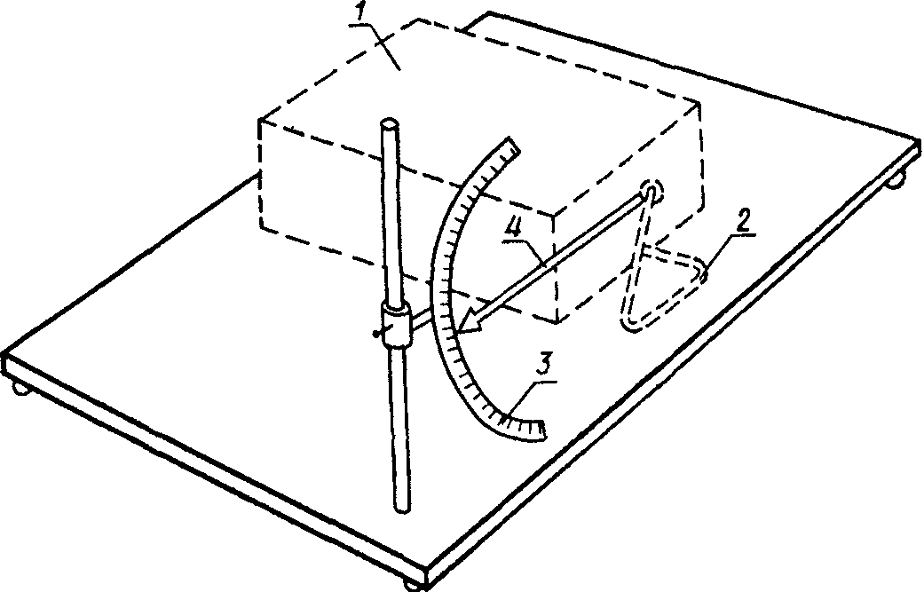
4.18. Измерение угла изменения направления потока воздуха проводят с помощью измерительной шкалы и указателя (черт. 4).
1 - тепловентилятор; 2 - стойка тепловентилятора;
3 - вертикальная шкала; 4 - указатель
Черт. 4
Отсчет угла изменения направления потока воздуха проводят по шкале, проградуированной в градусах.
Для тепловентиляторов, у которых угол регулируется изменением положения жалюзи решетки, метод должен быть указан в технической документации на конкретную модель тепловентилятора.
4.19. Наличие элементов комфортности проверяют внешним осмотром.
Угол изменения направления потока воздуха вверх относительно горизонтальной плоскости следует определять при приемочных испытаниях методом, указанным в
п. 4.18.
Абзац и формула (7) исключены с 1 сентября 1989 года. -
Изменение N 1, утв. Постановлением Госстандарта СССР от 25.04.1989 N 1088.
4.20. Исключен с 1 сентября 1989 года. -
Изменение N 1, утв. Постановлением Госстандарта СССР от 25.04.1989 N 1088.
4.21. Снижение производительности

в процентах рассчитывают по формуле

, (7)
где Q - фактическая производительность при номинальном напряжении и максимальном числе оборотов в установившемся режиме,

;

- фактическая производительность при номинальном напряжении и минимальном числе оборотов в установившемся режиме,

.
(п. 4.21 введен
Изменением N 1, утв. Постановлением Госстандарта СССР от 25.04.1989 N 1088)
4.22. Измерение температуры потока воздуха - по ГОСТ 27734-88 со следующими дополнениями.
По периметру выходного отверстия тепловентилятора вплотную к прибору устанавливают неметаллический патрубок длиной 100 мм. Точки измерения температуры располагают в плоскости выходного отверстия патрубка по двум осям симметрии для осевых тепловентиляторов и одной (наибольшей) оси симметрии для центробежных и диаметральных (тангенциальных) тепловентиляторов. Одна точка располагается в центре отверстия патрубка, остальные - на расстоянии 20 мм друг от друга.
За результат измерения принимают среднее арифметическое значение измеренных температур.
(п. 4.22 введен
Изменением N 2, утв. Постановлением Госстандарта СССР от 08.02.1990 N 178)
4.23. Испытание на нагрев - по ГОСТ 27570.15-88 со следующими дополнениями.
Тепловентиляторы с устройством для изменения направления потока воздуха должны быть установлены в такое положение, при котором температура пола испытательного угла максимальная.
За результаты испытания принимают максимальные значения превышения температуры (испытательный угол, части тепловентилятора и т.д.).
(п. 4.23 введен
Изменением N 2, утв. Постановлением Госстандарта СССР от 08.02.1990 N 178)
5. ТРАНСПОРТИРОВАНИЕ И ХРАНЕНИЕ
5.1. Транспортирование
5.1.1. Транспортирование тепловентиляторов производят транспортом любого вида в крытых транспортных средствах, включая отапливаемые герметизированные отсеки самолета, в соответствии с правилами перевозки грузов, действующими на данном виде транспорта.
При внутригородских перевозках тепловентиляторы допускается транспортировать без транспортной тары.
При транспортировании должна быть исключена возможность перемещения тепловентиляторов внутри транспортных средств.
Транспортирование тепловентиляторов в пакетах - по
ГОСТ 21929-76.
5.1.2. Условия транспортирования тепловентиляторов для районов с умеренным и холодным климатом на суше - по группе 5
ГОСТ 15150-69.
5.1.3. Условия транспортирования тепловентиляторов в части воздействия механических факторов - средние (С) по
ГОСТ 23216-78.
Условия хранения тепловентиляторов у изготовителя (потребителя) по группе 1 (Л)
ГОСТ 15150-69.
6.1. Изготовитель гарантирует соответствие тепловентиляторов требованиям настоящего стандарта при соблюдении условий эксплуатации, хранения и транспортирования.
6.2. Гарантийный срок эксплуатации тепловентиляторов - 24 мес со дня продажи их через розничную торговую сеть, для внерыночного потребления - со дня их получения.
Гарантийный срок эксплуатации тепловентиляторов, предназначенных для экспорта, - 24 мес со дня начала эксплуатации, но не более 36 мес со дня проследования их через Государственную границу СССР.
Справочное
СООТВЕТСТВИЕ ТРЕБОВАНИЙ СТ СЭВ 1956-79
ТРЕБОВАНИЯМ НАСТОЯЩЕГО СТАНДАРТА
───────────────────────┬───────────────────────────────────────────────────
Раздел ГОСТ 17083-87 │ Раздел СТ СЭВ 1956-79
───────────────────────┼───────────────────────────────────────────────────
1 │6 - в части вентиляторов
2 │3, 5, 7, 9, 10, 12, 13, 14, 15, 16, 17, 23, 24, 25,
│26, 27, 28, 29, 30, 31, приложение, информационное
│приложение - в части тепловентиляторов
4 │4, 8, 11, 18, 19, 20, 21, 22 - в части
│тепловентиляторов
Справочное
ПРИМЕНЯЕМЫЕ В НАСТОЯЩЕМ СТАНДАРТЕ, И ИХ ПОЯСНЕНИЯ
Приложение 2 исключено с 1 сентября 1989 года. -
Изменение N 1, утв. Постановлением Госстандарта СССР от 25.04.1989 N 1088.
Справочное
ТЕХНОЛОГИЧЕСКАЯ КАРТА-НАКОПИТЕЛЬ
РЕЗУЛЬТАТОВ ВЫПОЛНЕНИЯ РЕМОНТА ПО СМАЗКЕ
ПОДШИПНИКОВЫХ УЗЛОВ ЭЛЕКТРОТЕПЛОВЕНТИЛЯТОРА "ЛУЧ-2"
─────────────────────────┬──────────┬──────────────────────────────────────
Наименование │Инструмент│ Среднее время, затрачиваемое
технологической операции │ │ на выполнение операции, ч
│ ├─────────┬───────────────┬────────────
│ │Основное │Вспомогательное│Оперативное
─────────────────────────┼──────────┼─────────┼───────────────┼────────────
Снятие стойки │ - │ - │ 0,0111 │ 0,0111
Снятие боковины │Отвертка │ - │ 0,0250 │ 0,0250
Снятие кожуха │Отвертка │ - │ 0,0417 │ 0,0417
Чистка, смазка │Кисточка, │ 0,1139 │ - │ 0,1139
подшипников │пипетка │ │ │
Сборка │Отвертка │ - │ 0,2583 │ 0,2583
Апробирование │ - │ 0,0056 │ - │ 0,0056
─────────────────────────┼──────────┼─────────┼───────────────┼────────────
Всего: │ │ 0,1195 │ 0,3361 │ 0,4556
| | Применение на добровольной основе Приложения 4 обеспечивает соблюдение требований Федерального закона от 22.07.2008 N 123-ФЗ "Технический регламент о требованиях пожарной безопасности" (Приказ Ростехрегулирования от 30.04.2009 N 1573). | |
Рекомендуемое
| | Применение на добровольной основе Приложения 4 обеспечивает соблюдение требований Федерального закона от 22.07.2008 N 123-ФЗ "Технический регламент о требованиях пожарной безопасности" (Приказ Росстандарта от 16.04.2014 N 474). | |
ОПРЕДЕЛЕНИЕ ВЕРОЯТНОСТИ ВОЗНИКНОВЕНИЯ
ПОЖАРА ОТ ТЕПЛОВЕНТИЛЯТОРОВ
Госстандарта СССР от 25.04.1989 N 1088)
Испытания проводят на десяти тепловентиляторах при квалификационных испытаниях.
1. Испытание тепловентиляторов в режиме перенапряжения проводят по ГОСТ 27570.15-88.
Регулирующие устройства по мощности у тепловентиляторов установлены на максимальной уставке. Приборы включены в сеть при напряжении, составляющем 1,2 номинального напряжения, и работают до установившегося режима. При этом определяют максимальные значения температуры на всех частях корпуса из горючих материалов, соединительном шнуре, а также на полу и стенках испытательного угла.
Критической температурой

считается температура размягчения частей тепловентиляторов из горючих материалов, если она ниже 175 °C. Если температура размягчения выше 175 °C, то за критическую принимают температуру 175 °C.
2. Испытание тепловентиляторов в режиме заторможенного электродвигателя проводят по ГОСТ 27570.15-88. Двигатели тепловентиляторов заторможены, регулирующие устройства по мощности установлены на максимальной уставке. Тепловентиляторы включают в сеть с номинальным напряжением и они работают до срабатывания термовыключателя или до достижения установившегося режима.
3. Испытание тепловентиляторов в режиме ненормальной теплоотдачи проводят в два этапа.
3.1. Испытание на срабатывание термовыключателей проводят по п. 4.6 со следующим дополнением. У тепловентиляторов полностью перекрывают входное и выходное отверстия, а регулирующие устройства по мощности устанавливают на максимальные уставки. Тепловентиляторы включают в сеть при номинальном напряжении, и они работают до срабатывания термовыключателей или до установившегося режима.
3.2. Испытание тепловентиляторов с закороченными термовыключателями проводят по
п. 3.1 данного приложения со следующим дополнением. У тепловентиляторов перекрывают 1/2 площади выходного отверстия.
4. Расчет вероятности возникновения пожара
4.1. Вероятность возникновения пожара

от одного тепловентилятора в год определяют по формуле

, (8)
где

- вероятность воспламенения в режиме перенапряжения;

- вероятность воспламенения в режиме заторможенного двигателя;

- вероятность воспламенения в режиме ненормальной теплоотдачи;

- вероятность воспламенения шнура, определяемая по
таблице Приложения 5 в зависимости от максимального значения температуры шнура из всех режимов (перенапряжение, заторможенный двигатель, ненормальная теплоотдача).
4.2. Вероятность воспламенения в режиме перенапряжения

рассчитывают по формуле

, (9)
где n - число объектов (все части корпуса из горючих материалов, стенд), на которых измеряется температура;

- вероятность достижения критической температуры на i-том объекте, на котором измерялась температура в режиме перенапряжения;

- вероятность выхода из строя термовыключателя; определяется на основе статистических данных о надежности термовыключателя.
Вероятность

определяют из соотношения

, (10)
где

- параметр, значение которого выбирают по табличным данным в зависимости от безразмерного параметра

в распределении Стьюдента
(Приложение 6).
Параметр

для режима перенапряжения рассчитывают по формуле

, (11)
где m - число испытываемых приборов (m = 10);

- критическая температура i-того объекта (части корпуса из горючих материалов, стенд);

- средняя температура i-того объекта, на котором измеряется температура, в режиме перенапряжения;

- среднее квадратическое отклонение температуры i-го объекта в режиме перенапряжения.
Средняя температура i-того объекта в режиме перенапряжения

рассчитывают по формуле

, (12)
где

- максимальная температура i-того объекта в j-ом приборе в режиме перенапряжения;
m - число испытываемых приборов (m = 10).
Среднее квадратическое отклонение температуры в режиме перенапряжения

рассчитывают по формуле

, (13)
Примечание. Если

, то

;
если

, то

.
4.3. Вероятность воспламенения в режиме заторможенного электродвигателя

рассчитывают по формуле

, (14)
где n - число объектов (части корпуса из горючих материалов, стенд), на которых измеряется температура;

- вероятность достижения критической температуры на i-том объекте, на котором измерялась температура в режиме заторможенного электродвигателя;

- вероятность выхода из строя термовыключателя, определяемая на основе статистических данных о надежности термовыключателя.
Вероятность

рассчитывают по формуле

, (15)
где

- параметр, значение которого выбирается по табличным данным в зависимости от безразмерного параметра

в распределении Стьюдента
(Приложение 6);

, (16)
где

- средняя температура i-того объекта (все части корпуса из горючих материалов, стенд), на которых измеряется температура в режиме заторможенного двигателя;

- среднее квадратическое отклонение температуры i-того объекта в режиме заторможенного двигателя.
Вычисление этих величин проводят так же, как и в режиме перенапряжения.
4.4. Вероятность воспламенения в режиме ненормальной теплоотдачи

рассчитывают по формуле

, (17)
где n - число объектов (все части корпуса из горючих материалов, стенд), на которых измеряется температура;

- вероятность достижения критической температуры на i-том объекте в режиме ненормальной теплоотдачи;

- вероятность выхода из строя термовыключателя.
Если во время испытаний по
п. 3.1 настоящего приложения термовыключатель сработал до достижения каким-либо объектом критической температуры, то расчет вероятности воспламенения в режиме ненормальной теплоотдачи проводят по результатам испытаний по
п. 3.2, и в этом случае вероятность выхода из строя термовыключателя

определяют на основе статистических данных о надежности термовыключателя.
Если во время испытаний по
п. 3.1 настоящего приложения термовыключатель не сработал, то расчет вероятности воспламенения в режиме ненормальной теплоотдачи проводят по результатам испытаний по
п. 3.1 (испытание по
п. 3.2 не проводят), а вероятность выхода из строя термовыключателя

принимают равной 1.
Вероятность

рассчитывают по формуле

, (18)
где

- параметр, значение которого выбирают по табличным данным в зависимости от безразмерного параметра

в распределении Стьюдента
(Приложение 6).

, (19)
где

- средняя температура i-того объекта (все части корпуса из горючих материалов, стенд), на которых измеряется температура в режиме ненормальной теплоотдачи;

- среднее квадратическое отклонение температуры i-того объекта в режиме ненормальной теплоотдачи.
Вычисление этих величин проводят так же, как и в режиме перенапряжения.
5. Тепловентилятор считается выдержавшим испытания, если значение

.
Справочное
ЗНАЧЕНИЕ ВЕРОЯТНОСТИ ВОСПЛАМЕНЯЮЩЕГО
ИМПУЛЬСА В ШНУРЕ

Госстандарта СССР от 25.04.1989 N 1088)
──────────────────┬──────────────┬─────────────────────────────────────────
Сечение шнура, мм2│Длина шнура, м│ Температура, °C
│ ├──────┬──────┬──────┬──────┬──────┬──────
│ │ 40 │ 50 │ 60 │ 70 │ 80 │ 90
│ ├──────┴──────┴──────┴──────┴──────┴──────
│ │ Вероятность воспламеняющего импульса
──────────────────┼──────────────┼──────┬──────┬──────┬──────┬──────┬──────
0,5 - 1,0 │ 0,5 │0,018 │0,037 │0,074 │0,091 │0,295 │1,1777
│ 1,0 │0,037 │0,074 │0,148 │0,282 │0,5900│2,3550
│ 1,5 │0,055 │0,111 │0,222 │0,423 │0,885 │3,5320
│ 2,0 │0,074 │0,148 │0,296 │0,564 │1,180 │4,7100
│ 2,5 │0,092 │0,185 │0,370 │0,705 │1,475 │5,8870
│ 3,0 │0,111 │0,222 │0,444 │0,846 │1,770 │7,0650
│ 3,5 │0,129 │0,259 │0,518 │0,987 │2,065 │8,2420
│ 4,0 │0,150 │0,296 │0,593 │1,130 │2,360 │9,4200
──────────────────┼──────────────┼──────┼──────┼──────┼──────┼──────┼──────
1,5 - 2,5 │ 0,5 │0,0562│0,102 │0,204 │0,409 │0,821 │3,362
│ 1,1 │0,1120│0,205 │0,409 │0,818 │1,643 │6,725
│ 1,5 │0,1680│0,307 │0,613 │1,227 │2,464 │10,080
│ 2,0 │0,2240│0,410 │0,818 │1,636 │3,286 │13,450
│ 2,5 │0,2800│0,512 │1,022 │2,045 │4,107 │16,810
│ 3,0 │0,3360│0,615 │1,227 │2,454 │4,929 │20,170
│ 3,5 │0,3920│0,717 │1,431 │2,863 │5,750 │23,530
│ 4,0 │0,4500│0,819 │1,638 │3,274 │6,547 │26,190
Справочное
ЗНАЧЕНИЕ ФУНКЦИИ

Госстандарта СССР от 25.04.1989 N 1088)
───────────┬────────────┬────────────┬───────────┬────────────┬────────────
альфа │ Тэта │ альфа │ Тэта │ альфа │ Тэта
───────────┼────────────┼────────────┼───────────┼────────────┼────────────
0,0 │ 0,000 │ 1,2 │ 0,736 │ 2,8 │ 0,975
0,1 │ 0,078 │ 1,3 │ 0,770 │ 3,0 │ 0,984
0,2 │ 0,154 │ 1,4 │ 0,800 │ 3,2 │ 0,988
0,3 │ 0,228 │ 1,5 │ 0,826 │ 3,4 │ 0,990
0,4 │ 0,300 │ 1,6 │ 0,852 │ 3,6 │ 0,992
0,5 │ 0,370 │ 1,7 │ 0,872 │ 3,8 │ 0,994
0,6 │ 0,434 │ 1,8 │ 0,890 │ 4,0 │ 0,996
0,7 │ 0,496 │ 1,9 │ 0,906 │ 4,2 │ 0,996
0,8 │ 0,554 │ 2,0 │ 0,920 │ 4,4 │ 0,998
0,9 │ 0,606 │ 2,2 │ 0,940 │ 4,6 │ 0,998
1,0 │ 0,654 │ 2,4 │ 0,956 │ 4,8 │ 0,998
1,1 │ 0,696 │ 2,6 │ 0,968 │ 5,0 │ 1,000