Главная // Актуальные документы // ГОСТ (Государственный стандарт)СПРАВКА
Источник публикации
М.: Стандартинформ, 2014
Примечание к документу
Текст данного документа приведен с учетом
поправки, опубликованной в "ИУС", N 6, 2022.
Документ
введен в действие с 01.01.2014.
Название документа
"ГОСТ 19091-2012. Межгосударственный стандарт. Замки, защелки, механизмы цилиндровые. Методы испытаний"
(введен в действие Приказом Росстандарта от 27.12.2012 N 1978-ст)
"ГОСТ 19091-2012. Межгосударственный стандарт. Замки, защелки, механизмы цилиндровые. Методы испытаний"
(введен в действие Приказом Росстандарта от 27.12.2012 N 1978-ст)
агентства по техническому
регулированию и метрологии
от 27 декабря 2012 г. N 1978-ст
МЕЖГОСУДАРСТВЕННЫЙ СТАНДАРТ
ЗАМКИ, ЗАЩЕЛКИ, МЕХАНИЗМЫ ЦИЛИНДРОВЫЕ
МЕТОДЫ ИСПЫТАНИЙ
Locks, latches, cylinder mechanisms. Test methods
(EN 12209:2003, NEQ)
(EN 1303:2005, NEQ)
(EN 12320:2010, NEQ)
ГОСТ 19091-2012
Дата введения
1 января 2014 года
Цели, основные принципы и основной порядок проведения работ по межгосударственной стандартизации установлены
ГОСТ 1.0-92 "Межгосударственная система стандартизации. Основные положения" и
ГОСТ 1.2-2009 "Межгосударственная система стандартизации. Стандарты межгосударственные, правила и рекомендации по межгосударственной стандартизации. Правила разработки, принятия, применения, обновления и отмены".
1. Разработан Учреждением - Центр по сертификации оконной и дверной техники, Ассоциацией продавцов и производителей оконной и дверной фурнитуры, фирмой "CISA" (Италия).
2. Внесен Техническим комитетом по стандартизации ТК 465 "Строительство".
3. Принят Межгосударственной научно-технической комиссией по стандартизации, техническому нормированию и оценке соответствия в строительстве (МНТКС) (приложение Е к Протоколу от 18 декабря 2012 г. N 41).
За принятие проголосовали:
Краткое наименование страны по МК (ИСО 3166) 004-97 | Код страны по МК (ИСО 3166) 004-97 | Сокращенное наименование национального органа государственного управления строительством |
Армения | AM | Министерство градостроительства |
Киргизия | KG | Госстрой |
Молдова | MD | Министерство строительства и регионального развития |
Россия | RU | Министерство регионального развития |
Таджикистан | TJ | Агентство по строительству и архитектуре при Правительстве |
Туркмения | TM | Главгосслужба "Туркменстандартлары" |
Узбекистан | UZ | Госархитектстрой |
4. В настоящем стандарте частично учтены основные нормативные положения в части технических требований и методов испытаний следующих европейских региональных стандартов:
EN 12209:2003. Building hardware - Locks and latches - Mechanically operated locks, latches and locking plates - Requirements and test methods (Строительное оборудование. Замки и защелки. Механические замки, защелки и запорные планки. Требования и методы испытаний);
EN 1303:2005. Building hardware - Cylinders for locks - Requirements and test methods (Строительное оборудование. Цилиндровые механизмы для замков. Требования и методы испытаний);
EN 12209:2003. Building hardware - Padlocks and padlocks fittings - Requirements and test methods (Строительное оборудование. Навесные замки и аксессуары. Требования и методы испытаний).
Перевод с английского языка (en).
Степень соответствия - неэквивалентная (NEQ).
5.
Приказом Федерального агентства по техническому регулированию и метрологии от 27 декабря 2012 г. N 1978-ст межгосударственный стандарт ГОСТ 19091-2012 введен в действие в качестве национального стандарта Российской Федерации с 1 января 2014 г.
Информация об изменениях к настоящему стандарту публикуется в ежегодном информационном указателе "Национальные стандарты", а текст изменений и поправок - в ежемесячном информационном указателе "Национальные стандарты". В случае пересмотра (замены) или отмены настоящего стандарта соответствующее уведомление будет опубликовано в ежемесячном информационном указателе "Национальные стандарты". Соответствующая информация, уведомление и тексты размещаются также в информационной системе общего пользования - на официальном сайте Федерального агентства по техническому регулированию и метрологии в сети Интернет.
Настоящий стандарт распространяется на замки, защелки и цилиндровые механизмы, предназначенные для строительных защитных конструкций, в том числе для дверей различного назначения, и устанавливает методы приемочных, периодических, типовых, сертификационных испытаний замков, защелок и цилиндровых механизмов на безотказность, прочность и методы определения эксплуатационных усилий, а также общие требования к испытаниям разрушающими методами.
Методы испытаний, приведенные в настоящем стандарте, основаны на имитации эксплуатационных перемещений узлов и деталей и воздействующих на них нагрузок.
Стандарт не распространяется на методы испытаний замков и цилиндровых механизмов по показателю стойкости к вскрытию.
В настоящем стандарте использованы нормативные ссылки на следующие межгосударственные стандарты:
ГОСТ 538-2001. Изделия замочные и скобяные. Общие технические условия
ГОСТ 5089-2011. Замки, защелки, механизмы цилиндровые. Технические условия
ГОСТ 15150-69. Машины, приборы и другие технические изделия. Исполнения для различных климатических районов. Категории, условия эксплуатации, хранения и транспортирования в части воздействия климатических факторов внешней среды
ГОСТ 18321-73. Статистический контроль качества. Методы случайного отбора выборок штучной продукции
ГОСТ 31471-2011. Устройства экстренного открывания дверей эвакуационных и аварийных выходов. Технические условия.
Примечание. При пользовании настоящим стандартом целесообразно проверить действие ссылочных стандартов в информационной системе общего пользования - на официальном сайте Федерального агентства по техническому регулированию и метрологии в сети Интернет или по ежегодному информационному указателю "Национальные стандарты", который опубликован по состоянию на 1 января текущего года, и по выпускам ежемесячного информационного указателя "Национальные стандарты" за текущий год. Если ссылочный стандарт заменен (изменен), то при пользовании настоящим стандартом следует руководствоваться заменяющим (измененным) стандартом. Если ссылочный стандарт отменен без замены, то положение, в котором дана ссылка на него, применяется в части, не затрагивающей эту ссылку.
3. Методы отбора образцов
3.1. Замки, защелки и цилиндровые механизмы, поставляемые как самостоятельные изделия, отбирают для испытаний из партии изделий, принятой службой контроля качества предприятия-изготовителя в соответствии с требованиями нормативной и конструкторской документации на эти изделия.
3.2. Для проведения испытаний отбирают не менее трех образцов методом наибольшей объективности по
ГОСТ 18321.
3.3. Требования к образцам, поставляемым на испытания, приведены в
Приложении А.
4.1. Испытания замков, защелок и цилиндровых механизмов следует проводить на специальных стендах по показателям, приведенным в
ГОСТ 5089. Допускается проводить испытания замков, установленных в дверной блок.
4.2. Стенды должны обеспечивать установку и закрепление замков, защелок и цилиндровых механизмов, исключающие их смещение в процессе испытаний.
4.3. Стенд для испытаний замков, защелок и цилиндровых механизмов на безотказность (надежность) должен обеспечивать задание режимов, позволяющих осуществлять следующие рабочие движения деталей и узлов циклично и непрерывно:
- полный вывод засова из корпуса с помощью механизма привода от ключа (постоянного ключа) с последующим полным вводом с частотой не более 45 циклов в минуту (если этим же движением вводится в корпус и защелка, то это движение распространяется и на защелку);
- полный ввод в корпус защелки с помощью привода от ручек с частотой не более 100 циклов в минуту - для замков с защелкой;
- обеспечение процесса защелкивания с частотой не более 130 циклов в минуту - для замков с защелкой или с роликом;
- ввод ключа в ключевое отверстие - вывод со скоростью 5 - 8 см/с;
- вращение цилиндра за ключ со средней угловой скоростью не более 75 об/мин - для цилиндровых механизмов.
Число отработанных циклов должно регистрироваться счетчиками.
Стенды должны обеспечивать автоматическое прекращение испытания при возникновении сбоя в нормальном функционировании механизма замка.
4.4. Стенд для проверки прочностных характеристик замков должен позволять приложение разных по значению сил к различным частям замков, обеспечивая их базирование и надежное закрепление. Приложение сил следует проводить с помощью динамометров непосредственно или через рычажные системы с точностью +/- 5%.
4.5. Испытания на коррозионную стойкость замков, защелок и цилиндровых механизмов проводят в климатической камере с параметрами по
ГОСТ 538 и
ГОСТ 5089.
4.6. При испытании замков на устойчивость к разрушающим способам вскрытия (к взлому) испытательный инструмент и приспособления, а также режимы воздействия выбирают с учетом максимальной эффективности их воздействия для разрушения замка в целях получения доступа к его механизмам, составным частям, деталям для воздействия на них или их удаления (см.
Приложение Б).
5. Подготовка к испытаниям
5.1. Перед испытанием образцы необходимо визуально осмотреть и проверить их работоспособность.
Детали замков, защелок и цилиндровых механизмов должны быть смазаны согласно конструкторской документации и инструкции по эксплуатации конкретных изделий.
5.2. Ролик регулируемого фиксатора врезного замка, защелки должен выступать над поверхностью лицевой планки на высоту, равную половине его диаметра с предельным отклонением +/- 0,25 мм.
6.1. Каждый отобранный образец должен подвергаться всем испытаниям, установленным настоящим стандартом, с учетом требований
ГОСТ 5089.
6.2. Замки, защелки и цилиндровые механизмы должны испытываться при нормальных климатических условиях по
ГОСТ 15150.
6.3. Испытания замков, защелок и цилиндровых механизмов на безотказность
6.3.1. Испытуемые сборочные единицы замков, защелок и цилиндровых механизмов должны безотказно выдерживать число циклов работы, указанное в
ГОСТ 5089.
Порядок испытания сборочных единиц замков, защелок и цилиндровых механизмов на безотказность приведен в таблице 1.
Таблица 1
Порядок испытания сборочных единиц замков, защелок
и цилиндровых механизмов на безотказность
Сборочная единица | Содержание цикла работы |
Засов, сувальдный или цилиндровый механизм, ключ (постоянный ключ) | Ввод ключа в ключевое отверстие - вращением ключа (постоянного ключа) вывод засова из корпуса - вывод ключа - ввод ключа - вращением ключа (постоянного ключа) ввод засова в корпус замка - вывод ключа |
Защелка, засов, сувальдный или цилиндровый механизм, ключ (постоянный ключ) | Ввод ключа в ключевое отверстие - вращением ключа (постоянного ключа) вывод засова из корпуса - вывод ключа - ввод ключа - вращением ключа (постоянного ключа) ввод засова в корпус замка - ввод защелки - вывод защелки - вывод ключа |
Цилиндровый механизм, ключ | Ввод ключа в ключевое отверстие - вращение ключа (постоянного ключа) в выбранном направлении на два полных оборота (720°) - вращение ключа (постоянного) в противоположном направлении на два полных оборота - вывод ключа. Цилиндровые механизмы, конструктивно имеющие ограничение по углу поворота, вращать на допустимую величину угла |
Защелка, фалевая ручка (ручка-кнопка) | Ввод защелки в корпус замка поворотом ручки - вывод защелки возвратом ручки в исходное положение под действием механизмов возврата; ввод защелки в корпус замка устройством, имитирующим работу запорной планки, - вывод защелки под действием механизма возврата |
Роликовый фиксатор | Ввод фиксатора в корпус устройством, имитирующим работу запорной планки; вывод фиксатора под действием механизма возврата |
Примечания 1. Допускается проводить испытания не по полным циклам, а раздельно по операциям, являющимся частью этого цикла. 2. Испытание "ввод-вывод ключа" проводят только для цилиндровых штифтовых и пластинчатых (рамочных) механизмов. 3. Допускается проводить испытание на безотказность цилиндровых механизмов с использованием цилиндровых замков 2-го - 4-го классов. 4. Испытание на безотказность любого замка проводят с учетом специфики замка. Например, при испытании навесного замка учитывают необходимость принудительного возвращения дужки в закрытое состояние, а при испытании замка с автоматическим выводом засова - необходимость принудительного его возврата в исходное положение. |
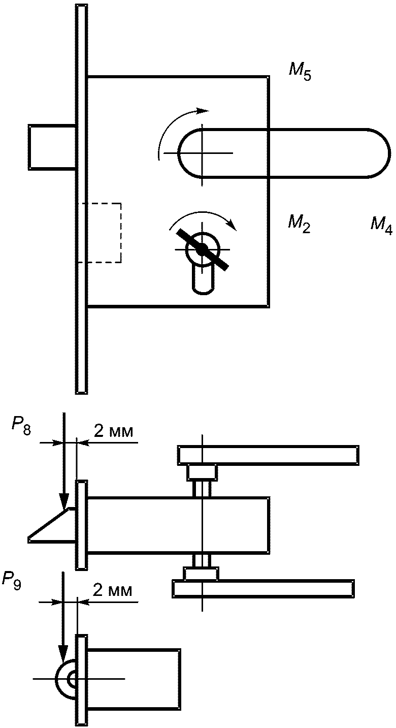
6.3.3. При испытании цилиндровых механизмов с помощью приспособления, реализующего схему нагружения по рисунку 1, поводок должен быть нагружен в диапазоне угла 90° (+/- 45° от вертикали) вертикально действующим усилием 15 Н.
Рисунок 1. Схема испытания цилиндрового
механизма на наработку
6.3.4. Испытания замков на безотказность проводят по следующей схеме:
- испытание замка с первой стороны до достижения показателей замков 1-го класса;
- испытание замка со второй стороны до достижения показателей для замков 1-го класса;
- продолжение испытаний замка со второй стороны до достижения показателей для замков 2-го класса;
- испытание замка с первой стороны до достижения показателей для замков 2-го класса;
- продолжение испытаний замка с первой стороны до достижения показателей для замков 3-го класса;
- испытание замка со второй стороны до достижения показателей для замков 3-го класса;
- продолжение испытаний замка со второй стороны до достижения показателей для замков 4-го класса;
- испытание замка с первой стороны до достижения показателей для замков 4-го класса.
При перемене сторон замки подвергают осмотру и, если необходимо, смазывают. Замок считают соответствующим требованиям по показателям, установленным для данного класса, если он достиг показателей этого класса при испытании с каждой стороны.
6.3.5. При проведении испытаний допускается (см.
ГОСТ 5089) замена ключа ключом из комплекта испытуемого замка (цилиндрового механизма) для продолжения испытания. Число использованных при испытании ключей указывают в протоколе испытаний.
6.4. Испытания замков и защелок на прочность
6.4.1. Замки и защелки испытывают на прочность приложением сил

,

,

и моментов сил

,

в соответствии со схемами на рисунках 2,
3,
6.
Рисунок 2. Схема испытания замка силами
Рисунок 3. Схема испытания запорной планки
накладного замка силой

6.4.2. Порядок испытания сборочных единиц замков, защелок на прочность приведен в таблице 2.
Таблица 2
Порядок испытания сборочных единиц замков,
защелок на прочность
Параметры | Порядок испытания |
Сила  (к засову) | Перпендикулярно боковой поверхности засова, полностью выведенного из корпуса, на расстоянии (3 +/- 0,2) мм (см. рисунок 2) прикладывают силу, соответствующую значению силы, установленному в ГОСТ 5089 для замков 1-го класса, и выдерживают не менее 1 мин. После проверки работоспособности увеличивают силу до значения, установленного ГОСТ 5089 для замков 2-го класса. Выдержав минуту и проверив работоспособность, увеличивают силу (с проверкой работоспособности) до значения, установленного ГОСТ 5089 для замков 3-го, а затем 4-го класса |
Сила  (к приводу засова) | К торцу засова, полностью выведенного из корпуса, в направлении на корпус прикладывают силу (см. рисунок 2), соответствующую значению силы, установленному в ГОСТ 5089 для замков 1-го класса, и выдерживают не менее 1 мин. После проверки работоспособности силу увеличивают до значения, установленного ГОСТ 5089 для замков 2-го класса, и далее, как в случае с силой  |
Сила  (к запорной планке) | К запорным планкам врезного и накладного замков (см. рисунок 3) прикладывают силу, соответствующую значению силы, установленному в ГОСТ 5089 для замков 1-го класса, и выдерживают не менее 1 мин. При отсутствии поломок и видимых деформаций испытание продолжают аналогично, как в случае с силами  и  |
Сила  (к соединению лицевой планки с корпусом врезного замка) | К корпусу врезного замка через засов в положении "Открыто" при жестко закрепленной лицевой планке прикладывают силу (см. рисунок 4), соответствующую значению силы, установленному в ГОСТ 5089 для замков 1-го класса, и выдерживают не менее 1 мин. Далее испытание проводят, как в случае с силами  и  |
Сила  (к приводу засова сувальдного замка) | К торцу засова сувальдного замка, полностью введенного в корпус, в направлении на корпус прикладывают силу (см. рисунок 2), соответствующую значению силы, установленному в ГОСТ 5089, и при постоянно действующей силе с помощью ключа выводят засов из корпуса |
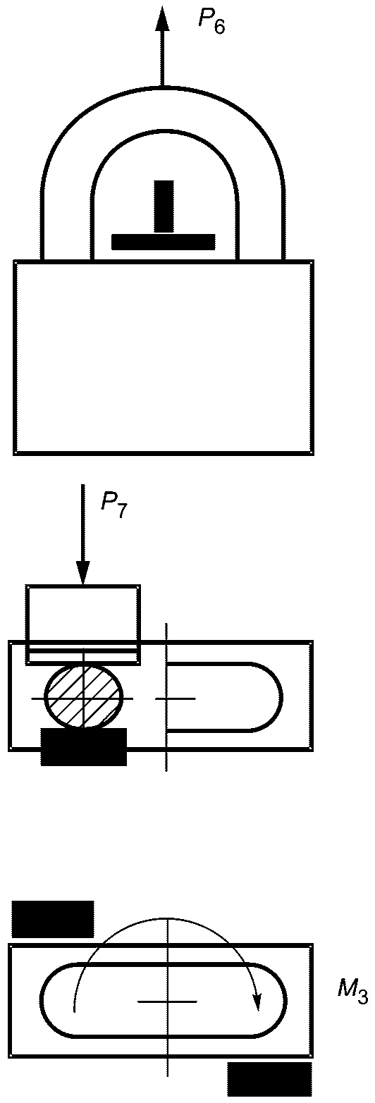
Сила  (к дужке навесного замка на вырывание) | К дужке навесного замка в направлении от корпуса (см. рисунок 5) прикладывают силу, соответствующую значению силы, установленному в ГОСТ 5089 для замков 1-го класса, и выдерживают не менее 1 мин. Далее испытание проводят, как в случае с силами  и  |
Сила  (к дужке навесного замка на перерубание) | К дужке навесного замка для перерубания (см. рисунок 5) прикладывают силу на режущую кромку инструмента, соответствующую значению силы, установленному в ГОСТ 5089 для замков 1-го класса, и выдерживают не менее 1 мин. Далее испытание проводят, как в случае с силами  и  |
Момент силы  (к фалевой ручке) | К фалевой ручке, полностью введенной в корпус защелки, прикладывают момент силы (см. рисунок 2), соответствующий значению, установленному в ГОСТ 5089, и выдерживают не менее 1 мин |
Момент силы  (к ключу) | К ключу замка в направлении вывода засова из корпуса и в положении находящегося в упоре механизма секретности (см. рисунок 6) прикладывают момент силы, соответствующий значению, установленному в ГОСТ 5089, и выдерживают не менее 1 мин |
Момент силы  (к дужке навесного замка на сворачивание) | К дужке навесного замка прикладывают момент сил (см. рисунок 5), соответствующий значению момента сил, установленному в ГОСТ 5089 для 1-го класса, и выдерживают не менее 1 мин. Далее испытание проводят, как в случае с силами  и  |

Рисунок 4. Схема испытания соединения корпуса замка
с лицевой планкой силой

Рисунок 5. Схема испытания навесного замка
на прочность силами

и

и моментом силы

Рисунок 6. Схема испытания замка силами

и

6.4.3. Работоспособность замка проверяют вручную выводом-вводом засова от ключа (постоянного ключа).
Замки, защелки и цилиндровые механизмы должны сохранять работоспособность после полного цикла испытаний в зависимости от условий рекомендуемой области эксплуатации.
6.4.4. Ширина нагружающего элемента при испытании запорных планок должна быть на 4 - 6 мм меньше ширины отверстия в запорной планке.
6.4.5. Класс замка (цилиндрового механизма) по каждому из показателей прочности устанавливают в соответствии с
ГОСТ 5089 по наименьшим фактическим результатам испытаний образцов.
6.4.6. Периодические испытания изделий проводят по показателям, установленным
ГОСТ 5089, приложением сил

,

,

,

,

,

,

, значения которых соответствуют присвоенному замкам классу, и моментов сил, прикладываемых к ручкам

, ключам

и дужке навесного замка

.
6.4.7. Каждый испытанный замок, защелка, цилиндровый механизм после завершения периодических испытаний должны сохранить работоспособность, а их сборочные единицы должны быть без поломок, трещин и деформаций.
Работоспособность замка проверяют пятикратно вручную выводом-вводом засова с помощью ключа, а также постоянного ключа, вводом защелки и фиксатора от руки и защелки с помощью фалевой ручки (ручки-кнопки).
6.5. Определение эксплуатационных усилий, прикладываемых к замкам и защелкам
6.5.1. Эксплуатационные усилия, которые необходимо приложить для управления замком (усилие защелкивания, усилие перемещения засова от ключа и постоянного ключа, усилие на фалевых ручках для перемещения защелки), по результатам измерений с точностью +/- 5% не должны превышать допустимых значений по
ГОСТ 5089 или должны находиться в диапазоне этих значений.
6.5.2. Эксплуатационные усилия, прикладываемые к замкам и защелкам, определяют измерением сил

,

и моментов сил

,

в соответствии со схемой, приведенной на
рисунке 6. Значения эксплуатационных усилий должны соответствовать указанным в
ГОСТ 5089. Испытания по определению каждого вида эксплуатационных усилий проводят не менее пяти раз на каждом образце.
6.5.3. Порядок испытаний при определении эксплуатационных усилий приведен в таблице 3.
Таблица 3
Порядок испытаний при определении эксплуатационных усилий
Параметры | Порядок испытаний |
Сила  (к защелке) | К защелке или засову-защелке перпендикулярно их перемещению прикладывают силу (см. рисунок 6) до полного ввода в корпус и фиксируют ее максимальное значение |
Сила  (к фиксатору) | К регулируемому или нерегулируемому фиксатору для ввода его в корпус перпендикулярно его перемещению прикладывают силу (см. рисунок 6) и фиксируют ее максимальное значение |
Момент силы  (к ключу) | К ключу (постоянному ключу) в направлении ввода засова и защелки в корпус прикладывают момент силы (см. рисунок 6) до полного ввода и фиксируют его максимальное значение |
Момент силы  (к фалевой ручке) | К фалевой ручке (ручке-кнопке) для ввода защелки в корпус прикладывают момент силы (см. рисунок 6) и фиксируют его максимальное значение |
6.5.4. Усилия на защелку и фиксатор передают с помощью специальных стальных толкателей по схеме на
рисунке 6.
6.5.5. Значения показателей определяют как среднеарифметическое значений результатов пяти измерений при испытании каждого образца. Если значение показателя соответствует нормативному, результат испытаний считают положительным.
6.6. Общие положения по проведению испытаний на стойкость замков и цилиндровых механизмов к вскрытию (взлому)
6.6.1. Испытания замков и цилиндровых механизмов на стойкость к неразрушающим способам вскрытия (взлому) проводят в соответствии с
ГОСТ 5089 с учетом специальных требований к данному виду испытаний в лабораториях служб безопасности.
Примечание. Замки и цилиндровые механизмы допускается испытывать вне лабораторий служб безопасности методом "бампинг" (bumping), не требующим специальной квалификации, но достаточно сложным в части технической подготовки испытания.
6.6.2. Испытания проводят в следующем порядке:
- замок, опломбированный представителем органа по сертификации в целях исключения его предварительного изучения, устанавливается на стенде (в отдельных случаях могут предлагаться замки с неназванной фирменной принадлежностью - неизвестные замки) и делают попытку вскрытия простым (не высокотехнологичным) инструментом; фиксируют время;
- в случае если в течение 30 мин вскрытие не состоялось, попытка вскрытия завершается, замок снимают со стенда и передают для ознакомления, после чего делают вторую попытку вскрытия тем же инструментом (допускается использование дополнительного инструмента, изготовленного в период ознакомления из подручных материалов: проволоки, листового металла, ключевой заготовки и т.п.); фиксируют время;
- если во втором случае в течение 30 мин вскрытие не состоялось, попытку завершают и замку присваивают высший класс по показателю стойкости к взлому;
- если попытка вскрытия оказалась удачной, рассчитывают среднеарифметическое значение времени вскрытия при двух попытках (для расчета за время вскрытия при первой попытке принимают 35 мин); по расчетному значению времени присваивают класс по этому показателю.
6.6.3. Испытания замков и цилиндровых механизмов на стойкость к разрушающим способам вскрытия проводят в соответствии с
Приложением Б.
6.6.3.1. Испытания замков и цилиндровых механизмов на стойкость к разрушающим способам вскрытия (взлома) проводят на изделиях, установленных: в двери, фрагменте двери, стенде или закрепленных в тисках.
6.6.3.2. Инструмент, применяемый для испытаний, должен быть универсальным, промышленным, малошумящим, не требующим внешнего питания. Виды инструмента по функциональному назначению приведены в
таблице Б.1 Приложения Б.
6.6.3.3. Испытание цилиндровых механизмов на стойкость к разрушению проводят по самому слабому месту - месту крепления в следующем порядке:
- в цилиндровый замок, установленный на любой штатной двери, устанавливают и закрепляют цилиндровый механизм;
- выбирают из комплекта замка накладки на цилиндровый механизм и закрепляют их на двери;
- при испытании любым способом удаляют накладку или накладку, совмещенную с ручками, с внешней стороны двери (накладки, стягиваемые между собой винтами через дверь, обладают дополнительными защитными свойствами по отношению к цилиндровому механизму);
- цилиндровый механизм захватывают инструментом захвата и раскачивают вправо и влево до разрушения (или до подтверждения того, что разрушить невозможно) по месту крепления.
Перед началом испытания дверь должна находиться в запертом состоянии.
6.6.4. В случае установки замка на стенде или закрепления в тисках основным видом испытаний являются сверление различным инструментом в целях разрушения кодового механизма или его деталей или обеспечения доступа к исполнительным узлам замка, минуя кодовый механизм.
6.7. Испытания по проверке стойкости цилиндровых штифтовых механизмов к способу вскрытия "бампинг" (bumping)
6.7.1. Для проведения испытания способом "бампинг" изготовляют оснастку со следующими параметрами: поперечный профиль ключевой заготовки, число и расположение кодовых элементов. При этом для каждой модели штифтового цилиндрового механизма оснастка индивидуальная.
6.7.2. При испытании к механизму секретности цилиндрового механизма через оснастку прикладывают повторяющуюся ударную нагрузку небольшой силы, при этом результат может проявиться как с первым ударом, так и в процессе испытания. Если за 15 мин вскрытие не состоялось, испытания прекращают.
6.7.3. Результаты испытания оценивают следующим образом:
- "да" (вскрывается за время, не превышающее...) (результат нескольких попыток) или
- "нет" (не вскрывается за время...) (результат нескольких попыток).
7. Оформление результатов испытаний
7.1. Результаты испытаний оформляют протоколом, который должен содержать:
- наименование и адрес предприятия (организации), изготовителя (заявителя), представившего образцы;
- номер и наименование нормативного документа, по которому изготовлены образцы;
- номер и наименование нормативного документа, по которому испытывают образцы, или указывают методику испытаний;
- число образцов;
- дату отбора образцов;
- основные сведения об испытуемых образцах;
- виды проведенных испытаний;
- результаты испытаний (оценка соответствия классу по каждому виду испытаний);
- дату проведения испытаний;
- заключение;
- наименование и адрес организации, выполнившей испытания, номер аттестата аккредитации.
Протокол испытаний должен содержать информацию о применяемых средствах измерения и их поверки.
Примечание. Рекомендуется при оценке соответствия использовать следующий принцип записи результатов испытаний:
где 1 - класс по безотказности;
2 - класс по прочности;
3 - оценка эксплуатационных усилий: соответствует ГОСТ (+); частично - (+/-); не соответствует (-);
4 - класс по стойкости вскрытия неразрушающими способами;
5 - класс по стойкости к взлому разрушающими способами;
6 - стойкость к бампингу: не вскрывается (+); вскрывается (-);
7 - коррозионная стойкость: время в часах до проявления не допускаемых
ГОСТ 538 отклонений;
8 - запасная позиция.
Пример:
(обязательное)
К ОБРАЗЦАМ ЗАМКОВ, ПОСТАВЛЯЕМЫМ НА ИСПЫТАНИЯ
А.1. Образцы замков конкретного типа должны поставляться на испытания с комплектом конструкторской документации, включающим в себя:
- нормативный документ, по которому изготовлены образцы;
- рабочие чертежи и спецификацию на элементы замка;
- описание средств защиты от взлома, предусмотренные конструкцией замка.
По требованию испытательной лаборатории дополнительно должны предоставляться:
- таблицы секретов;
- рекомендации по монтажу и эксплуатации;
- другие данные.
А.2. Образцы должны проходить испытания в той комплектации, в которой они были поставлены, и по результатам испытаний составляют заключение. Коммерческая комплектация изделия является наилучшим вариантом поставки, при этом наличие паспорта изделия является обязательным условием.
А.3. По просьбе заказчика могут быть проведены дополнительные испытания, например до разрушения образца, число поставляемых образцов может быть увеличено.
(обязательное)
ОПРЕДЕЛЕНИЕ СТОЙКОСТИ ЗАМКОВ И ЦИЛИНДРОВЫХ МЕХАНИЗМОВ
К РАЗРУШАЮЩИМ СПОСОБАМ ВСКРЫТИЯ
Б.1. При испытаниях замков на стойкость к разрушающим способам вскрытия (взлому) применяют разрушающий инструмент и приспособления, виды и характеристики которых приведены в таблице Б.1.
Таблица Б.1
Классификация разрушающего инструмента и приспособлений
для проведения испытаний замков и цилиндровых механизмов
на стойкость к взлому
Вид инструмента по функциональному назначению | Техническая характеристика | Категория инструмента | Коэффициент эффективности инструмента K, усл. ед./мин | Базисное значение инструмента  , усл. ед. |
Ручной сборочный | Масса не более 1,5 кг, длина не более 400 мм | A | 1,0 | 0 |
Масса не более 3 кг, длина не более 700 мм | C | 5,0 | 5,0 |
Ручной захватывающий | Масса не более 1,5 кг, длина не более 400 мм | A | 1,0 | 0 |
Длина не более 750 мм | C | 5,0 | 5,0 |
Ручной рычажный | Длина не более 400 мм Момент силы не более 9,8 Н·м | A | 5,0 | 0 |
Длина не более 750 мм Момент силы не более 24,5 Н·м | C | 7,5 | 7 |
Ручной режущий | Масса не более 1,5 кг, длина не более 400 мм | A | 1,0 | 0 |
Ручной ударный | Масса головки не более 1,5 кг, длина не более 400 мм | A | 1,0 | 0 |
Масса головки не более 4 кг, длина не более 750 мм | C | 5,0 | 5,0 |
Специальные приспособления | Масса не более 1,5 кг, длина не более 400 мм | A | 1,0 | 5,0 |
Дрель электрическая | Масса не более 3 кг, мощность не более 500 Вт | A | 5,0 | 7,0 |
Масса не более 3 кг, мощность не более 800 Вт | C | 7,5 | 11,0 |
Б.2. При испытаниях используют следующие типовые способы разрушения замков в целях получения доступа к их механизмам, составным частям и/или деталям, воздействия на них или их удаления:
- вырезание или перерезание;
- высверливание или рассверливание;
- проворачивание;
- вырывание;
- переламывание;
- отжим;
- отгиб;
- отслоение (материала) и т.п.
При испытаниях может применяться ручной, механический, электрический инструмент: пилы, дрели, зубила, долота, пробойники, молотки, напильники, слесарные ключи, рычаги, клещи, плоскогубцы, щипцы, отвертки, иглы, ножницы, пинцеты и т.п.
Б.3. Испытуемый образец замка должен быть надежно закреплен на испытательном стенде.
Допускается применять для закрепления замка специально изготовленные шаблоны, кондукторы, при этом в рабочее время (время испытания) включают время, затраченное на установку шаблонов и кондукторов, и время приложения разрушающего воздействия.
Б.4. Устойчивость замков и цилиндровых механизмов к взлому разрушающим инструментом рассчитывают по значению коэффициента сопротивления конструкции взлому

.
Коэффициент сопротивления

, усл. ед., рассчитывают по формуле

, (Б.1)
где t - рабочее время (время испытания), мин;
K - наибольший коэффициент эффективности из всего использованного для воздействия инструмента, усл. ед./мин (см.
таблицу Б.1);

- сумма базисных значений всех использованных для воздействия инструментов, усл. ед. (см.
таблицу Б.1).
Значения коэффициентов сопротивления взлому замков, соответствующие определенному классу стойкости, приведены в таблице Б.2.
Таблица Б.2
Коэффициенты сопротивления замков взлому
Класс стойкости | Коэффициент сопротивления взлому  , усл. ед. |
1 | |
2 | |
3 | |
4 | |
Примечание. Класс стойкости замков определяют по совокупности показателей, установленных в ГОСТ 5089. |
Б.5. Пример определения коэффициента сопротивления взлому
При испытании замка на стойкость к взлому применен инструмент, виды и характеристики которого приведены в таблице Б.3.
Результаты испытаний приведены в таблице Б.3.
Таблица Б.3
Результаты испытаний образца замка на устойчивость к взлому
Наименование операции и порядок ее проведения | Наименование примененного инструмента (условно) | Коэффициент эффективности инструмента K, усл. ед./мин | Базисное значение инструмента  , усл. ед. | Время проведения операции, мин |
1. Подготовка разрушающего инструмента | - | - | - | Время не фиксируют |
2. Разметка области приложения разрушающего инструмента | Измерительный инструмент, керн, молоток | 1,0 | 0 | 0,5 |
3. Разрушение намеченной к разрушению части замка | Электрическая дрель мощностью до 500 Вт, сверло | 5,0 | 5 | 1,5 |
4. Перемещение засова | Отвертка | 1,0 | 0 | 0,5 |
Вычисляют общее время испытания t, мин:
t = 0,5 + 1,5 + 0,5 = 2,5.
Учитывая, что наибольший коэффициент эффективности инструмента K = 5 и сумма базисных значений

, по
формуле (Б.1) вычисляют коэффициент сопротивления замка взлому

, усл. ед.:

.
Вывод: В соответствии с
таблицей Б.2 замок относится ко 2-му классу стойкости к взлому.
(справочное)
ОСОБЕННОСТИ ИСПЫТАНИЙ ЗАМКОВ РАЗНЫХ ТИПОВ
В.1. У электромеханических и электронных замков испытаниям подвергают только механическую часть, протокол испытаний электрической части оформляет производитель или поставщик.
В.2. В противопожарных замках с двумя цилиндровыми механизмами испытания проводят для каждого механизма (по показателям пожарной безопасности замки испытывают совместно с дверью в специализированной лаборатории).
В.3. Магнитные цилиндровые и навесные замки испытывают так же, как обычные врезные замки. Электромагнитные замки испытывают на сдвиг и отрыв на соответствие требованиям нормативного документа производителя.
В.4. Замки с несколькими точками запирания (многозапорные) испытывают аналогично испытаниям обычных врезных замков, при этом боковое усилие должно восприниматься не одним засовом, а всеми точками запирания. Стойкость к вскрытию многозапорных замков определяют по аналогии с определением стойкости к вскрытию обычных врезных замков, так как наличие нескольких точек запирания, управляемых от базового замка, не повышает стойкости к вскрытию, но повышает стойкость к динамическим нагрузкам вследствие наличия нескольких точек запирания, см.
[1].
В.5. Замки для устройства "Антипаника" испытывают так же, как и замки для дверей. Характерные для таких устройств конструктивные элементы дополнительно испытывают в соответствии с
ГОСТ 31471.
| | Замки для защитных конструкций. Требования и методы испытаний на устойчивость к криминальному открыванию и взлому |