Главная // Актуальные документы // ГОСТ Р (Государственный стандарт)СПРАВКА
Источник публикации
М.: ФГБУ "РСТ", 2021
Примечание к документу
Документ
введен в действие с 01.04.2022.
Название документа
"ГОСТ Р 59849-2021. Национальный стандарт Российской Федерации. Соединения сварные конструкций кузовов железнодорожного подвижного состава из алюминиевых сплавов. Требования к проектированию, изготовлению, ремонту и контролю качества"
(утв. и введен в действие Приказом Росстандарта от 17.11.2021 N 1501-ст)
"ГОСТ Р 59849-2021. Национальный стандарт Российской Федерации. Соединения сварные конструкций кузовов железнодорожного подвижного состава из алюминиевых сплавов. Требования к проектированию, изготовлению, ремонту и контролю качества"
(утв. и введен в действие Приказом Росстандарта от 17.11.2021 N 1501-ст)
Утвержден и введен в действие
по техническому регулированию
и метрологии
от 17 ноября 2021 г. N 1501-ст
НАЦИОНАЛЬНЫЙ СТАНДАРТ РОССИЙСКОЙ ФЕДЕРАЦИИ
СОЕДИНЕНИЯ СВАРНЫЕ КОНСТРУКЦИЙ КУЗОВОВ ЖЕЛЕЗНОДОРОЖНОГО
ПОДВИЖНОГО СОСТАВА ИЗ АЛЮМИНИЕВЫХ СПЛАВОВ
ТРЕБОВАНИЯ К ПРОЕКТИРОВАНИЮ, ИЗГОТОВЛЕНИЮ,
РЕМОНТУ И КОНТРОЛЮ КАЧЕСТВА
Welded joints of railway car bodies made of aluminum
alloys. Requirements to design, manufacturing, repair
and quality control
ГОСТ Р 59849-2021
Дата введения
1 апреля 2022 года
1 РАЗРАБОТАН Акционерным обществом "Научно-исследовательский институт железнодорожного транспорта" (АО "ВНИИЖТ")
2 ВНЕСЕН Техническим комитетом по стандартизации ТК 045 "Железнодорожный транспорт" по согласованию с Техническим комитетом по стандартизации ТК 099 "Алюминий"
3 УТВЕРЖДЕН И ВВЕДЕН В ДЕЙСТВИЕ
Приказом Федерального агентства по техническому регулированию и метрологии от 17 ноября 2021 г. N 1501-ст
4 ВВЕДЕН ВПЕРВЫЕ
Правила применения настоящего стандарта установлены в статье 26 Федерального закона от 29 июня 2015 г. N 162-ФЗ "О стандартизации в Российской Федерации". Информация об изменениях к настоящему стандарту публикуется в ежегодном (по состоянию на 1 января текущего года) информационном указателе "Национальные стандарты", а официальный текст изменений и поправок - в ежемесячном информационном указателе "Национальные стандарты". В случае пересмотра (замены) или отмены настоящего стандарта соответствующее уведомление будет опубликовано в ближайшем выпуске ежемесячного информационного указателя "Национальные стандарты". Соответствующая информация, уведомление и тексты размещаются также в информационной системе общего пользования - на официальном сайте Федерального агентства по техническому регулированию и метрологии в сети Интернет (www.rst.gov.ru)
Настоящий стандарт устанавливает требования к проектированию, изготовлению, ремонту и контролю качества соединений сварных конструкций (несущих) кузовов грузовых вагонов, в том числе вагонов-цистерн, моторвагонного подвижного состава из алюминия и алюминиевых сплавов климатического исполнения У 1, УХЛ 1 по
ГОСТ 15150.
В настоящем стандарте использованы нормативные ссылки на следующие стандарты:
ГОСТ 2.114 Единая система конструкторской документации. Технические условия
ГОСТ 2.312-72 Единая система конструкторской документации. Условные изображения и обозначения швов сварных соединений
ГОСТ 12.1.004 Система стандартов безопасности труда. Пожарная безопасность. Общие требования
ГОСТ 12.1.005 Система стандартов безопасности труда. Общие санитарно-гигиенические требования к воздуху рабочей зоны
ГОСТ 12.1.030 Система стандартов безопасности труда. Электробезопасность. Защитное заземление. Зануление
ГОСТ 12.2.003 Система стандартов безопасности труда. Оборудование производственное. Общие требования безопасности
ГОСТ 12.2.007.0 Система стандартов безопасности труда. Изделия электротехнические. Общие требования безопасности
ГОСТ 12.2.007.8 Система стандартов безопасности труда. Устройства электросварочные и для плазменной обработки. Требования безопасности
ГОСТ 12.3.002 Система стандартов безопасности труда. Процессы производственные. Общие требования безопасности
ГОСТ 12.3.003 Система стандартов безопасности труда. Работы электросварочные. Требования безопасности
ГОСТ 25.502 Расчеты и испытания на прочность в машиностроении. Методы механических испытаний металлов. Методы испытания на усталость
ГОСТ 1583 Сплавы алюминиевые литейные. Технические условия
ГОСТ 2768 Ацетон технический. Технические условия
ГОСТ 3242 Соединения сварные. Методы контроля качества
ГОСТ 4784 (EN 573-3:2013, NEQ; ИСО 209:2007, NEQ) Алюминий и сплавы алюминиевые деформируемые. Марки
ГОСТ 6996 (ИСО 4136-89, ИСО 5173-81, ИСО 5177-81) Сварные соединения. Методы определения механических свойств
ГОСТ 7871-2019 Проволока сварочная из алюминия и алюминиевых сплавов. Технические условия
ГОСТ 10157 Аргон газообразный и жидкий. Технические условия
ГОСТ 11969 Сварка плавлением. Основные положения и их обозначения
ГОСТ 14806 Дуговая сварка алюминия и алюминиевых сплавов в инертных газах. Соединения сварные. Основные типы, конструктивные элементы и размеры
ГОСТ 15150 Машины, приборы и другие технические изделия. Исполнения для различных климатических районов. Категории, условия эксплуатации, хранения и транспортирования в части воздействия климатических факторов внешней среды
ГОСТ 23949 Электроды вольфрамовые сварочные неплавящиеся. Технические условия
ГОСТ 27580 Дуговая сварка алюминия и алюминиевых сплавов в инертных газах. Соединения сварные под острыми и тупыми углами. Основные типы, конструктивные элементы и размеры
ГОСТ 33211-2014 Вагоны грузовые. Требования к прочности и динамическим качествам
ГОСТ 33788 Вагоны грузовые и пассажирские. Методы испытаний на прочность и динамические качества
ГОСТ 33796-2016 Моторвагонный подвижной состав. Требования к прочности и динамическим качествам
ГОСТ ISO 6848 Дуговая сварка и резка. Электроды неплавящиеся вольфрамовые. Классификация
ГОСТ ISO/TR 15608 Сварка. Руководство по системе группирования металлических материалов
ГОСТ ISO 15609-5 Технические требования и аттестация процедур сварки металлических материалов. Технические требования к процедуре сварки. Часть 5. Контактная сварка
ГОСТ ISO 25239-1 Сварка трением с перемешиванием. Алюминий. Часть 1. Словарь
ГОСТ ISO 25239-2 Сварка трением с перемешиванием. Алюминий. Часть 2. Конструкция сварных соединений
ГОСТ ISO 25239-3 Сварка трением с перемешиванием. Алюминий. Часть 3. Аттестация сварщиков-операторов
ГОСТ ISO 25239-4-2020 Сварка трением с перемешиванием. Алюминий. Часть 4. Технические требования и аттестация процедур сварки
ГОСТ ISO 25239-5 Сварка трением с перемешиванием. Алюминий. Часть 5. Требования к качеству и контролю
ГОСТ EN 15085-3-2015 Железнодорожный транспорт. Сварка железнодорожных транспортных средств и их элементов. Часть 3. Требования к проектированию
ГОСТ EN 15085-5-2015 Железнодорожный транспорт. Сварка железнодорожных транспортных средств и их элементов. Часть 5. Контроль, испытания и документация
ГОСТ Р 53525 <*> (ИСО 14731:2006) Координация в сварке. Задачи и обязанности
--------------------------------
<*>
ГОСТ Р 53525 (ИСО 14731:2006) "Координация в сварке. Задачи и обязанности". Стандарт применяется за исключением
раздела 7.
ГОСТ Р 53526 (ИСО 14732:1998) Персонал, выполняющий сварку. Аттестационные испытания операторов сварки плавлением и наладчиков контактной сварки для полностью механизированной и автоматической сварки металлических материалов
ГОСТ Р 53688 (ИСО 9606-2:2004) Аттестационные испытания сварщиков. Сварка плавлением. Часть 2. Алюминий и алюминиевые сплавы
ГОСТ Р 53689 (ИСО 544:2003) Материалы сварочные. Технические условия поставки присадочных материалов. Вид продукции, размеры, допуски и маркировка
| | ИС МЕГАНОРМ: примечание. ГОСТ Р 55496-2013 утратил силу с 01.12.2019 в связи с введением в действие ГОСТ 34451-2018 (Приказ Росстандарта от 15.05.2019 N 192-ст). | |
ГОСТ Р 55496 Моторвагонный подвижной состав. Методика динамико-прочностных испытаний
ГОСТ Р 55878 Спирт этиловый технический гидролизный ректификованный. Технические условия
ГОСТ Р 57180-2016 Соединения сварные. Методы определения механических свойств, макроструктуры и микроструктуры
ГОСТ Р ИСО 2553 Сварка и родственные процессы. Условные обозначения на чертежах. Сварные соединения
ГОСТ Р ИСО 3834-2 Требования к качеству выполнения сварки плавлением металлических материалов. Часть 2. Всесторонние требования к качеству
ГОСТ Р ИСО 4063 Сварка и родственные процессы. Перечень и условные обозначения процессов
ГОСТ Р ИСО 4136 Испытания, разрушающие сварных соединений металлических материалов. Испытание на растяжение образцов, вырезанных поперек шва
ГОСТ Р ИСО 6520-1 Сварка и родственные процессы. Классификация дефектов геометрии и сплошности в металлических материалах. Часть 1. Сварка плавлением
ГОСТ Р ИСО 6520-2 Сварка и родственные процессы. Классификация дефектов геометрии и сплошности в металлических материалах. Часть 2. Сварка давлением
ГОСТ Р ИСО 9712 Контроль неразрушающий. Квалификация и сертификация персонала
ГОСТ Р ИСО 10042 Сварка. Сварные соединения из алюминия и его сплавов, полученные дуговой сваркой. Уровни качества
ГОСТ Р ИСО 13920 Сварка. Общие допуски на сварные конструкции. Линейные и угловые размеры. Форма и расположение
ГОСТ Р ИСО 14175 Материалы сварочные. Газы и газовые смеси для сварки плавлением и родственных процессов
ГОСТ Р ИСО 15607 Технические требования и аттестация процедур сварки металлических материалов. Общие правила
ГОСТ Р ИСО 15609-1 Технические требования и аттестация процедур сварки металлических материалов. Технические требования к процедуре сварки. Часть 1. Дуговая сварка
ГОСТ Р ИСО 15611 Технические требования и аттестация процедур сварки металлических материалов. Аттестация, основанная на опыте ранее выполненной сварки
ГОСТ Р ИСО 15612 Технические требования и аттестация процедур сварки металлических материалов. Аттестация путем принятия стандартной процедуры сварки
ГОСТ Р ИСО 15613 Технические требования и аттестация процедур сварки металлических материалов. Аттестация, основанная на предпроизводственном испытании сварки
ГОСТ Р ИСО 15614-2-2009 Технические требования и аттестация процедур сварки металлических материалов. Проверка процедуры сварки. Часть 2. Дуговая сварка алюминия и алюминиевых сплавов
ГОСТ Р ИСО 15614-12 Технические требования и аттестация процедур сварки металлических материалов. Проверка процедуры сварки. Часть 12. Точечная, шовная и рельефная сварка
ГОСТ Р ИСО 17637 Контроль неразрушающий. Визуальный контроль соединений, выполненных сваркой плавлением
Примечание - При пользовании настоящим стандартом целесообразно проверить действие ссылочных стандартов в информационной системе общего пользования - на официальном сайте Федерального агентства по техническому регулированию и метрологии в сети Интернет или по ежегодному информационному указателю "Национальные стандарты", который опубликован по состоянию на 1 января текущего года, и по выпускам ежемесячного информационного указателя "Национальные стандарты" за текущий год. Если заменен ссылочный стандарт, на который дана недатированная ссылка, то рекомендуется использовать действующую версию этого стандарта с учетом всех внесенных в данную версию изменений. Если заменен ссылочный стандарт, на который дана датированная ссылка, то рекомендуется использовать версию этого стандарта с указанным выше годом утверждения (принятия). Если после утверждения настоящего стандарта в ссылочный стандарт, на который дана датированная ссылка, внесено изменение, затрагивающее положение, на которое дана ссылка, то это положение рекомендуется применять без учета данного изменения. Если ссылочный стандарт отменен без замены, то положение, в котором дана ссылка на него, рекомендуется применять в части, не затрагивающей эту ссылку.
3 Термины, определения, обозначения и сокращения
3.1 В настоящем стандарте применены следующие термины с соответствующими определениями:
3.1.1
амплитуда напряжений цикла ,  : Наибольшее числовое положительное значение переменной составляющей цикла напряжений. [ГОСТ 23207-78, статья 28] |
3.1.2
диаграмма предельных амплитуд цикла (Haigh diagram): График, характеризующий зависимость между значениями предельных амплитуд и значениями средних напряжений цикла (черт.) для заданной долговечности. [ГОСТ 23207-78, статья 53] |
Примечание - Для заданной эксплуатационной долговечности кузова номинальные нормальные напряжения в его сварных соединениях под действием средних напряжений цикла нагрузки с любым коэффициентом асимметрии меньше предельных амплитуд цикла.
3.1.3
заказчик: Организация, которая отвечает за определение технических требований к подвижному составу с учетом условий, необходимых для его приемки и работы на ожидаемых режимах эксплуатации. |
3.1.4
категория безопасности (safety category): Определяет последствия разрушения конкретного сварного соединения по уровню воздействия на людей, объекты и окружающую среду. Примечание - Более подробную информацию о категориях безопасности (низкая, средняя, высокая) см. в ГОСТ EN 15085-3. |
3.1.5
категория нагрузки (stress category): Категория, определяемая коэффициентом нагрузки. Примечание - Более подробную информацию о низкой, средней, высокой категории нагрузки см. в ГОСТ EN 15085-3. |
3.1.6
класс контроля сварного шва (weld inspection class): Устанавливает контроль, который должен быть выполнен для подтверждения соответствия данного сварного шва классу эксплуатации сварного шва. Примечание - Класс контроля сварного шва обозначается "CT". |
3.1.7
класс эксплуатации сварного шва (weld performance class): Эксплуатационные требования к сварному соединению, определяемые категориями нагрузки и безопасности сварного соединения. Примечание - Класс эксплуатации сварного шва обозначается "CP". |
3.1.8 координация в сварке: Координация всех действий ответственным и компетентным лицом при сварке конструкций кузовов вагонов.
Примечание - Координировать действия по сварке в организации могут, например, главный сварщик или инженер по сварке, инструктор или иное должностное лицо, уполномоченное приказом по организации.
3.1.9
коэффициент асимметрии цикла напряжений ,  : Отношение минимального напряжения цикла к максимальному. [ГОСТ 23207-78, статья 38] |
3.1.10
коэффициент нагрузки (stress factor): Отношение расчетной усталостной нагрузки к допустимой усталостной нагрузке типа сварного соединения, с учетом соответствующего коэффициента безопасности. |
3.1.11
коэффициент чувствительности к концентрации напряжений и  : Величина, определяемая по формуле  или  [ГОСТ 23207-78, статья 60] |
Примечание -

, указанным коэффициентом учитывают чувствительность материала к номинальным напряжениям.
3.1.12
кузов вагона: Несущая металлоконструкция, предназначенная для размещения перевозимого груза, пассажиров, багажа, систем жизнеобеспечения и специального оборудования. |
3.1.13
несущественный параметр (non essential variable): Условие сварки, включаемое в WPS, но не требующее аттестации. [ГОСТ Р ИСО 15607-2009, пункт 3.14] |
3.1.14
номинальное напряжение и  : Напряжение, вычисляемое по формулам сопротивления материалов без учета концентрации напряжений, остаточных напряжений и упругопластического перераспределения напряжений в процессе деформирования. Примечания 1 При изгибе  , где Mи - изгибающий момент в расчетном сечении образца, Н·м (кгс·мм); Wос - осевой момент сопротивления расчетного поперечного сечения образца, м3 (мм3). 2 При растяжении и сжатии  , где P - осевая сила (нагрузка), приложенная к образцу, Н (кгс); F - площадь расчетного поперечного сечения образца, м2 (мм2). 3 При кручении  , где Mк - крутящий момент в расчетном сечении образца, Н·м (кгс·мм); Wр - момент сопротивления расчетного поперечного сечения при кручении, м3 (мм3). [ГОСТ 23207-78, приложение 1, статья 26] |
3.1.15
определение размеров сварного соединения (joint static dimensioning): Определение размеров сварного соединения, которые необходимы для достижения требуемых статических механических характеристик. |
3.1.16
основной материал (parent material): Материал(ы), подлежащий соединению сваркой. [ГОСТ Р ИСО 15607-2009, пункт 3.16] |
3.1.17
отчет об аттестации технологии сварки (welding procedure qualification record; WPQR): Документ, содержащий результаты испытаний и выводы о соответствии технологической карты сварки требованиям настоящего стандарта и конструкторской документации. |
3.1.18
предел выносливости ,  : Максимальное по абсолютному значению напряжение цикла, при котором еще не происходит усталостное разрушение до базы испытания. Примечание - Пределы выносливости выражают в номинальных напряжениях. [ГОСТ 23207-78, статья 47] |
3.1.19
предпроизводственное испытание сварки (pre-production welding test): Испытание сварки, имеющее те же функции, что и испытание процедуры сварки, но основанное на нестандартном контрольном образце, имитирующем производственные условия. [ГОСТ Р ИСО 15607-2009, пункт 3.8] |
3.1.20
проект технологической карты сварки (preliminary welding procedure specification pWPS): Документальное изложение технологии выполнения сварного шва, подлежащей аттестации. |
3.1.21 производитель: Организация, которая применяет сварку при производстве или обслуживании (включая ремонт) железнодорожных транспортных средств или отдельных деталей железнодорожных транспортных средств, включая заварку дефектов литья.
3.1.22
свариваемость (weldability): Свойство металла или сочетания металлов образовывать при установленной технологии сварки соединение, отвечающее требованиям, обусловленным конструкцией и эксплуатацией изделия. |
3.1.23
сварочный материал (welding consumable): Материал, расходуемый при выполнении сварного шва, включая присадочные металлы и вспомогательные материалы. [ГОСТ Р ИСО 15607-2009, пункт 3.12] |
3.1.24
среднее напряжение цикла ,  : Постоянная (положительная или отрицательная) составляющая цикла напряжения (см. черт. 2 и 4), равная алгебраической полусумме максимального и минимального напряжений цикла. [ГОСТ 23207-78, статья 26] |
3.1.25
существенный параметр (essential variable): Условие сварки, которое требует аттестации. [ГОСТ Р ИСО 15607-2009, пункт 3.13] |
3.1.26
теоретический коэффициент концентрации напряжений и  : Характеристика концентрации напряжений в материале при упругом деформировании.  - для нормальных напряжений;  - для касательных напряжений. [ГОСТ 23207-78, приложение 1, статья 28] |
Примечание -

, указанным коэффициентом учитывают влияние только формы концентратора на величину напряжений в материале.
3.1.27
технология сварки (welding procedure): Установленный порядок действий для выполнения сварного шва, включая указания на процессы сварки, основные и сварочные материалы, подготовку под сварку, предварительный нагрев (при необходимости), параметры режима сварки, технику исполнения, необходимое оборудование. |
3.1.28
технологическая карта сварки (welding procedure specification WPS): Документальное изложение аттестованной технологии выполнения сварного шва, обеспечивающее повторяемость ее выполнения в производстве продукции. |
3.1.29
эффективный коэффициент концентрации напряжений и  : Отношение предела выносливости образцов без концентрации напряжений к пределу выносливости образцов с концентрацией напряжений, имеющих такие же абсолютные размеры сечения, как и гладкие образцы. [ГОСТ 23207-78, статья 59] |
3.1.30
эффективное поперечное сечение (effective cross section): Поперечное сечение сварного соединения, которое принимается при расчете размеров. |
3.2 В настоящем стандарте применены следующие обозначения:

- временное сопротивление разрыву (предел прочности), напряжение, соответствующее наибольшей нагрузке, предшествующей разрушению образца;

- предел текучести (условный), напряжение, при котором остаточное удлинение металла алюминиевого сплава достигает 0,2%;

- относительное удлинение после разрыва (на пятикратных образцах);

- размах напряжений цикла;

- предел выносливости при любом коэффициенте асимметрии цикла напряжений.
3.3 В настоящем стандарте применены следующие сокращения для неразрушающих методов контроля сварных соединений:
- RT - радиографический;
- UT - ультразвуковой;
- PT - контроль поверхности проникающими веществами;
- VT - визуальный контроль.
Кроме указанных методов применяют для сварных соединений:
ME - макроскопическое исследование.
4.1 Производитель для изготовления сварных алюминиевых конструкций кузовов железнодорожного подвижного состава должен располагать:
- необходимыми производственными мощностями (отапливаемыми помещениями, чистота которых соответствует нормам промышленной чистоты для изготовления конструкции из цветных металлов и сплавов, технологическим, подъемно-транспортным и испытательным оборудованием, средствами механизации и оснасткой);
- аттестованными сварщиками и операторами сварки;
- специалистами по разработке технологий сварки и надзору за их выполнением;
- обученным персоналом службы технического контроля;
- специалистами по неразрушающим методам контроля, сертифицированными в соответствии с
ГОСТ Р ИСО 9712.
4.2 Производство сварных алюминиевых кузовов подвижного состава организуют с учетом требований ГОСТ Р ИСО 3834-2.
4.3 Производитель в соответствии с
ГОСТ Р 53525 <*> должен обеспечить координацию всех относящихся к сварке действий при производстве конструкций с установлением перечня должностей и обязанностей участвующего в ней персонала.
--------------------------------
<*>
ГОСТ Р 53525 (ИСО 14731:2006) "Координация в сварке. Задачи и обязанности". Стандарт применяется за исключением
раздела 7.
4.4 Сварочные работы выполняют сварщики и операторы сварки, прошедшие аттестационные испытания. Производителем должны быть разработаны инструкции для этих испытаний:
- для сварщиков дуговой и плазменной сварки на основе
ГОСТ Р 53688;
- операторов сварки плавлением и наладчиков контактной сварки - по
ГОСТ Р 53526;
- операторов сварки трением с перемешиванием - по ГОСТ ISO 25239-3.
4.5 Сборку и сварку конструкций следует проводить в закрытых помещениях при температуре окружающего воздуха не ниже плюс 5 °C, сквозняки не допускаются. Условия труда должны иметь специальную оценку в соответствии с
законом [1].
5 Требования к проектированию
При проектировании сварных соединений кузова предусматривают применение следующих процессов для изготовления кузовов (в скобках указаны условные обозначения процессов по
ГОСТ Р ИСО 4063):
- сварки плавлением в виде дуговой сварки вольфрамовым электродом в среде инертных газов (
141 и
142), дуговой сварки плавящимся электродом в среде инертных газов
(131), плазменной сварки
(15);
- сварки давлением в виде контактной точечной
(21) и шовной
(22) сварки;
- сварки трением с перемешиванием (СТП)
(43).
5.2 Требования к основным материалам для сварных конструкций
5.2.1 Основной материал по химическому составу должен соответствовать требованиям
ГОСТ 1583,
ГОСТ 4784 и
ГОСТ 11069 к группам материалов и иметь установленную свариваемость.
Примечание - Допускается применение основных материалов из алюминия и алюминиевых сплавов других марок, не указанных в настоящем стандарте, при подтверждении уровней сопротивления усталости нагруженных элементов конструкций в зонах сварных соединений, полученных по результатам испытаний на образцах-имитаторах и аттестации технологии сварки.
5.2.2 Свариваемости принимают как установленные, если представленные основные материалы соответствуют требованиям ГОСТ ISO/TR 15608, обозначены как свариваемые и сгруппированы согласно
таблице 1.
Таблица 1
Система группирования алюминия и алюминиевых сплавов
применительно к сварке в железнодорожном машиностроении
Группа | Подгруппа | Тип алюминия и алюминиевых сплавов |
Сплавы термически не упрочняемые |
| нет | Чистый алюминий с содержанием примесей <= 1% в составе сплава |
| | Алюминиево-марганцевые сплавы |
22.2 | Алюминиево-магниевые сплавы с содержанием Mg <= 1,5% |
| Алюминиево-магниевые сплавы с содержанием 1,5% < Mg <= 3,5% |
| Алюминиево-магниевые сплавы с содержанием Mg > 3,5% |
Сплавы термически упрочняемые |
| | Алюминиево-магниево-кремниевые сплавы |
| Алюминиево-цинково-магниевые сплавы |
| нет | Алюминиево-кремниевые сплавы с содержанием Cu <= 1% |
| Алюминиево-кремниевые сплавы с содержанием Cu <= 1% и 5% < Si <= 15% |
| Алюминиево-кремниево-магниевые сплавы с содержанием Cu <= 1%; 5% < Si <= 15% и 0,1% < Mg <= 0,8% |
| нет | Алюминиево-кремниево-медные сплавы с содержанием 5% < Si <= 14%; 1% < Cu <= 5% и Mg <= 0,8% |
| нет | Алюминиево-медные сплавы с содержанием 2% < Cu <= 6% |
|
5.2.3 Рекомендуемые для грузовых вагонов марки основного материала, его состав, свариваемость и используемые полуфабрикаты представлены в
таблице 2.
Таблица 2
Марки основного материала, свариваемость
и производимые полуфабрикаты
Системы легирования | Марки основного материала | Составы по основным компонентам <*>, % | Свариваемости | Полуфабрикаты |
Дуговая | Контактная | лист | плита | поковка | отливка | пруток | профиль | труба | панель |
Сплавы термически не упрочняемые |
- | АД0 | Al; не менее 99,50 | А | А | + | + | + | + | + | + | + | - |
- | АД1 | Al; не менее 99,30 | А | А | + | + | + | + | + | + | + | - |
- | А5 | Al; не менее 99,50 | А | А | + | + | + | + | + | + | + | - |
Al-Mn | АМц | Al; (1,0 - 1,5) Mn | А | А | + | - | - | - | + | + | + | - |
Al-Mg | АМг2 | Al; (1,8 - 2,6) Mg | А | А | + | + | - | - | + | + | + | - |
АМг3 | Al; (3,2 - 3,8) Mg | А | А | + | + | - | - | + | + | + | - |
АМг5 | Al; (4,8 - 5,8) Mg; (0,3 - 0,8) Mn | А | А | + | + | - | - | + | + | + | - |
АМг6 | Al; (5,8 - 6,8) Mg; (0,5 - 0,8) Mn | А | А | + | + | - | - | + | + | + | - |
1565ч | Al; (5,1 - 6,2) Mg; (0,4 - 1,2) Mn | А | А | + | + | + | + | + | + | + | - |
Сплавы термически упрочняемые |
Al-Mg-Zn | 1915 | Al; (1,0 - 1,8) Mg; (0,2 - 0,7) Mn; (3,4 - 4,0) Zn | Б | Б | - | - | - | - | - | + | + | + |
1935 | Al; (0,6 - 1,1) Mg; (0,2 - 0,5) Mn; (3,6 - 4,1) Zn | Б | Б | - | - | - | - | - | + | + | + |
Al-Mg-Si | АД31 | Al; (0,45 - 0,9) Mg; (0,20 - 0,6) Si | Б | Б | - | - | - | - | - | + | + | + |
АД33 | Al; (0,8 - 1,2) Mg; (0,40 - 0,8) Si | Б | Б | - | - | - | - | - | + | + | + |
АД35 | Al; (0,6 - 1,2) Mg; (0,7 - 1,3) Si; (0,4 - 1,0) Mn | Б | Б | - | - | - | - | - | + | + | + |
АК12 (АЛ2) | Al; (10 - 13) Si | Б | Б | - | - | - | + | - | - | - | - |
АК7ч (АЛ9) | Al; (0,2 - 0,4) Mg; (0,2 - 0,5) Mn; (6,0 - 8,0) Si | Б | Б | - | - | - | + | - | - | - | - |
Al-Si-Cu | АК5М (АЛ5) | Al; (0,35 - 0,6) Mg; (4,5 - 5,5) Si; (1,0 - 1,5) Cu | Б | Б | - | - | - | + | - | - | - | - |
Al-Cu | АМ5 (АЛ19) | Al; (0,6 - 1,0) Mn; (4,5 - 5,3) Cu; (0,15 - 0,35) Ti | Б | Б | - | - | - | + | - | - | - | - |
Примечания 1 Свариваемости: А - свариваемость хорошая; Б - свариваемость удовлетворительная, требуется разработка специальной технологии, когда хорошую свариваемость можно обеспечить выбором рационального режима сварки. 3 Типы полуфабрикатов: применяемые/неиспользуемые: +/-. |
5.2.4 Для моторвагонных и грузовых вагонов допускается применять полуфабрикаты, представленные в приложении А,
таблица А.1, с механическими свойствами катаных и прессованных полуфабрикатов, приведенными в приложении Б,
таблица Б.1.
5.2.5 Основные материалы выбирают при проектировании, опираясь на минимальные значения их характеристик и с учетом влияния на свойства материалов различных величин нагрузки, износа, окружающей среды, сварки или влияния других процессов обработки.
5.2.6 До применения в производстве основных материалов или их комбинации в сварном соединении без установленной свариваемости производитель должен провести аттестацию процедуры сварки в соответствии с требованиями ГОСТ Р ИСО 15607.
Примечание - Применимы основные материалы из алюминия и алюминиевых сплавов других марок, не указанных в настоящем стандарте, при подтверждении уровней сопротивления усталости нагруженных элементов конструкций в зонах сварных соединений, полученных по результатам испытаний на образцах-имитаторах, удовлетворяющих требованиям данного стандарта, и аттестации технологии сварки.
5.3 Требования к сварочным материалам
5.3.1 Сварку плавлением основных материалов рекомендуется проводить с применением подобранных из
таблицы 3 или приведенных в приложении В,
таблица В.1, сварочных материалов, а для СТП при необходимости должны быть применены выводные планки, изготавливаемые из основного материала.
Примечание - Допускается применение других сварочных материалов, не указанных в настоящем стандарте, по результатам аттестации технологии сварки.
Таблица 3
Рекомендации подбора сварочной проволоки для сварки
алюминия и алюминиевых сплавов (основных материалов)
Основные материалы | | |
Группа | Подгруппа | Обозначение |
Марка сплава | Состав по основным компонентам <*>, % | | |
Сплавы термически не упрочняемые | Сварочная проволока в соответствии со свариваемым сплавом; защитная среда - аргон; смесь аргона и гелия по ГОСТ Р ИСО 14175; полярность обратная | Вольфрамовые электроды; аргон газообразный высшего сорта; гелий газообразный высокой чистоты; смесь аргона и гелия по ГОСТ Р ИСО 14175; переменный ток для процесса 141, 142 или постоянный ток обратной полярности для процесса 15, присадочные проволока/пруток в соответствии со свариваемым сплавом |
| нет | АД0 | СвА5 | Al не менее 99,50% |
АД1, А5 | СвА97 | Al не менее 99,97% |
| | Алюминиево-марганцевые сплавы |
АМц | СвАМц | Al; (1,0 - 1,5)Mn |
| Алюминиево-магниевые сплавы с содержанием 1,5% < Mg <= 3,5% |
АМг2, АМг3 | СвАМг3 | Al; (3,2 - 3,8)Mg; (0,3 - 0,6)Mn; (0,5 - 0,8)Si |
| Алюминиево-магниевые сплавы с содержанием Mg > 3,5% |
АМг5 | СвАМг5 | Al; (4,8 - 5,8)Mg; (0,5 - 0,8)Mn; (0,1 - 0,2)Ti |
СвАМг63 | Al; (5,8 - 6,8)Mg; (0,5 - 0,8)Mn |
АМг6, 1565ч | СвАМг6 | Al; (5,8 - 6,8)Mg; (0,5 - 0,8)Mn; (0,1 - 0,2)Cr |
СвАМг61 | Al; (5,5 - 6,5)Mg; (0,8 - 1,1)Mn |
СвАМг63 | Al; (5,8 - 6,8)Mg; (0,5 - 0,8)Mn |
Сплавы термически упрочняемые | | |
| | Алюминиево-магниево-кремниевые сплавы |
АД31, АД33, АД35 | СвАК5 | Al; (4,5 - 6,0)Si; (0,1 - 0,2)Ti |
Св1557 | Al; (4,5 - 5,5)Mg; (0,2 - 0,6)Mn; (0,07 - 0,15)Cr |
| Алюминиево-магниево-цинковые сплавы |
1915, 1935 | СвАМг5 | Al; (4,8 - 5,8)Mg; (0,5 - 0,8)Mn; (0,1 - 0,2)Ti |
СвАМг6 | Al; (5,8 - 6,8)Mg; (0,5 - 0,8)Mn; (0,1 - 0,2)Cr |
Св1557 | Al; (4,5 - 5,5)Mg; (0,2 - 0,6)Mn; (0,07 - 0,15)Cr |
| | Алюминиево-кремниевые сплавы |
АК12(АЛ2) | СвАК10 | Al; (7,0 - 10,0)Si; 0,15Ti |
| Алюминиево-кремниевые-магниевые сплавы |
АК7ч(АЛ9) | СвАК5 | Al; (4,5 - 6,0)Si; (0,1 - 0,2)Ti |
| | Алюминиево-кремниевые-медные сплавы | | |
АК5М(АЛ5) | СвАК5 | Al; (4,5 - 6,0)Si; (0,1 - 0,2)Ti |
| | Алюминиево-медные сплавы |
АМ5(АЛ19) | Св1201 | Al; (6,0 - 6,8)Cu; (0,2 - 0,4)Mn; (0,05 - 0,15)V; (0,1 - 0,2)Ti |
<*> Параметры для справок. Примечание - Применяемость типов сплавов проволоки (марок сплавов) для сварки основных материалов с учетом характеристик сварных соединений приведена в ГОСТ 7871-2019 (приложение Б). |
5.3.2 Производитель должен иметь:
- отчет об аттестации технологии сварки (WPQR) по ГОСТ Р ИСО 15614-2 (с учетом требований
ГОСТ Р ИСО 15611 - ГОСТ Р ИСО 15613), подтверждающий, что свойства сварных соединений, выполненных с примененным сварочным материалом, соответствуют требованиям настоящего стандарта;
- отчет об аттестации технологии сварки (WPQR) по инструкции для аттестации технологии СТП производителя, подтверждающий, что свойства сварных соединений, выполненных с применением выводных планок, соответствуют требованиям настоящего стандарта.
5.4 Расчет размеров сварных швов на статическую прочность
5.4.1 Проектные размеры сварных швов алюминиевых конструкций, передающих усилия между соединяемыми деталями, рассчитывают от нагрузок для грузовых вагонов по
ГОСТ 33211, а для моторвагонного подвижного состава - по
ГОСТ 33796.
5.4.2 Для многопроходных швов (три и более слоя) с использованием рекомендуемых в
таблице 3 или
таблице В.1 сварочных материалов значения предела текучести

наплавленного металла необходимо принимать в расчетах в соответствии с
таблицей 4 или
таблицей В.1, и его относительное удлинение после разрыва

должно быть не менее 12% в котлах вагонов-цистерн для перевозки опасных грузов
[2] и не менее 6% для остальных.
Таблица 4
Минимальные значения механических свойств наплавленного
по ГОСТ Р ИСО 4063
Марка сплава сварочной проволоки | Предел текучести при растяжении  , МПа | Временное сопротивление разрыву  , МПа | Относительное удлинение  , % |
СвА97 | 35 | 75 | 30 |
СвА5 | 40 | 90 | 30 |
СвАМц | 50 | 105 | 15 |
СвАМг3 | 110 | 265 | 20 |
СвАМг5 | 150 | 280 | 18 |
СвАМг6 | 170 | 300 | 15 |
СвАМг61 | 180 | 310 | 15 |
Св1557 | 180 | 290 | 20 |
СвАК5 | 55 | 100 | 8 |
При других сварочных материалах необходим учет в расчетах их минимальных значений механических свойств наплавленного металла с показателями не ниже указанных.
5.4.3 Расчет размеров сварного соединения, выполняемого сваркой плавлением, применяют для конструкций с толщиной стенки деталей 1,5 мм и более.
5.4.4 Требования к проектным размерам разделки кромок и к проектной толщине
aR сварных швов, выполняемых сваркой плавлением и сопоставленных с основными типами, конструктивными элементами и размерами сварных соединений по
ГОСТ 14806, приведены в приложении, Г
таблица Г.1. Используя указанное сопоставление, регламентируют конструктивные размеры изготовленных швов.
5.4.5 Требования к проектным размерам разделки кромок и эффективным поперечным сечениям
AR для пробочных и прорезных швов, выполненных сваркой плавлением, приведены в ГОСТ EN 15085-3-2015
(таблица C.1).
5.4.6 Требования к проектным размерам соединений деталей контактной точечной сваркой следует определять исходя из минимальных усилий на срез по
таблице 5. Соединения предназначены для применения в конструкции только с классами эксплуатации швов CP C1 и CP C2.
Таблица 5
Минимальные усилия на срез для соединений контактной
точечной сварки алюминия и алюминиевых сплавов
для классов эксплуатации сварного шва CP C1 и CP C2
Толщина <*> детали t1, мм | Диаметр ядра сварной точки dL, мм | Минимальные усилия на срез в точке, кН, при среднем растягивающем напряжении Rm основного металла |
<= 240 МПа | от > 240 до 300 МПа | от > 300 до 350 МПа |
0,80 | 4,5 | 1,1 | 1,3 | 1,5 |
1,00 | 5,0 | 1,5 | 1,8 | 2,1 |
1,25 | 5,5 | 2,0 | 2,3 | 2,8 |
1,50 | 6,0 | 2,5 | 2,9 | 3,5 |
2,00 | 7,0 | 3,5 | 4,1 | 4,8 |
2,50 | 8,0 | 4,5 | 5,3 | 6,2 |
3,00 | 8,5 | 5,5 | 6,4 | 7,6 |
<*> Меньшая толщина детали. Примечание - Приведенные значения являются минимальными средними значениями для серии испытаний, проведенной для пяти точечных сварных швов. |
5.4.7 Требования к проектным размерам соединений деталей (проектной толщине швов
aR) для сварки плавлением с числом проходов шва менее трех и для СТП определяют по минимальному пределу текучести (условному

) металла шва, который равен минимальному пределу текучести основного материала по сертификату соответствия, умноженному на коэффициент разупрочнения
К1.
Коэффициент разупрочнения К1 находят следующим образом:
- сваривают контрольные сварные соединения (КСС) из основного материала для соответствующей конструкции (встык, внахлестку и т.п.);
- определяют условия нагрузки для каждого КСС (растягивающие усилия, изгибающие моменты, перерезывающие усилия);
- проводят механические испытания КСС в соответствии с условиями нагрузки;
- рассчитывают напряжения в КСС исходя из экспериментальных нагрузок при механических испытаниях;
- проводят статистический анализ результатов испытаний (выборка из всех испытанных КСС);
- из выборки находят минимальное напряжение, при котором произошло разрушение КСС;
- коэффициент разупрочнения К1 равен минимальному напряжению разрушения КСС, деленному на минимальный предел прочности основного материала.
5.5 Проектирование сварных швов с учетом требований к сопротивлению усталости сварных соединений
Сопротивление усталости оценивают в условиях, когда усталостное повреждение сварных соединений происходит при упругом деформировании и амплитуды действующих напряжений лежат в диапазоне не менее 3 МПа и не более 75% от значений предела текучести

основного материала.
Проектирование выполняют в соответствии с допускаемыми пределами выносливости сварных соединений для условий:
- наработка до отказа сварной конструкции при базовом числе не менее 107 циклов;
- гамма-процентная наработка до отказа с вероятностью 97,5% при одностороннем доверительном интервале.
| | ИС МЕГАНОРМ: примечание. ГОСТ Р 55496-2013 утратил силу с 01.12.2019 в связи с введением в действие ГОСТ 34451-2018 (Приказ Росстандарта от 15.05.2019 N 192-ст). | |
Испытания на сопротивление усталости для вагонов грузовых проводят по
ГОСТ 33788, для моторвагонного подвижного состава - по ГОСТ Р 55496.
5.5.2 Определение сопротивления усталости сварных соединений
5.5.2.1 Для грузовых вагонов сопротивление усталости сварных соединений конструкции оценивают в соответствии с ГОСТ 33211-2014
(пункт 6.3).
Для моторвагонного подвижного состава оценку сопротивления усталости производят в соответствии с ГОСТ 33796-2016
(пункт 8.2).
5.5.2.2 Кривые усталости S-N (кривые усталости А. Веллера) для алюминия, сплавов алюминия и сварных соединений алюминиевых кузовов вагонов имеют при NC = 2 x 106 циклов нормированные значения сопротивления усталости (класс сопротивления усталости от 71 МПа - для применяемого основного материала с наиболее высоким показателем и ниже).
Классы сопротивления усталости установлены для начального наклона m1 = 3,0 кривых S-N (для сварных соединений m1 может принимать значение 3,4 - 4,3).
Точка перелома кривой усталости при постоянной амплитуде (долговечность) достигается при ND = 5 x 106 циклов, с которого наклон модифицированных кривых S-N изменяется на m2 = 5,0 (для сварных соединений m2 может принимать значение 5,4 - 6,3) и сохраняется это значение до NL = 1 x 108 циклов - предела выносливости.
Алюминиевому сварному соединению с классом сопротивления усталости 50 МПа при NC = 2 x 106 циклов будет соответствовать предел выносливости 36,8 МПа при долговечности ND = 5 x 106 циклов и отсекающем пределе в 20,2 МПа при NL = 1 x 108 циклов.
Наклон кривых сопротивления усталости для сварных соединений, оцениваемых на основе номинальных напряжений сдвига, изначально соответствует m = 5,0 и сохраняется до NL = 1 x 108 циклов предела усталостной прочности.
Сварные соединения подвергаются асимметричным циклическим нагрузкам, сопротивление усталости которых определяют по диаграммам предельных амплитуд цикла номинальных напряжений для любых типов вагонов.
Примечания
1 Отсекающий предел: сопротивление усталости при нагружении с переменной амплитудой, на уровне ниже которой считается, что циклы напряжения не вызывают разрушений.
2 При проектировании сварных конструкций (несущих) из алюминиевых сплавов применяют диаграммы предельных амплитуд цикла, специально полученные для алюминиевых сварных соединений железнодорожного подвижного состава.
5.5.2.3 Предельные амплитуды циклов номинальных напряжений в элементах кузовов определяют при условии, что соблюдены требования
ГОСТ EN 15085-3 к проектированию сварных соединений. Известен характер действующих номинальных переменных напряжений при изгибе, кручении (сдвиге), растяжении и сжатии в диапазоне от статического сжатия до статического растяжения,
таблица 6, и диаграммы предельных амплитуд цикла с параметрами, приведенными на
рисунках 1 и
2.
За среднее напряжение цикла

принимают напряжение, возникающее от постоянно действующих вертикальных статических нагрузок.
Таблица 6
Характерные циклы номинальных напряжений
и соответствующие им параметры
Циклы напряжений |
Отнулевой | Симметричный | Асимметричный | Отнулевой | Асимметричный |
Знако-постоянный (сжатие) | Знако-переменный (сжатие-растяжение) | Знако-постоянный (растяжение) |
|
Максимальные и минимальные номинальные напряжения цикла |
 ,  |  , |  , |  ,  ,  ,  |  , |
|
|  , |  , |  , |  , |
Коэффициенты асимметрии циклов номинальных напряжений, рисунки 1 и 2 |
| | | | |
Примечания
1 Диаграммы предельных амплитуд цикла,
рисунки 1 и
2, получены для сварных соединений из основных материалов
групп 22 -
26 при условиях (см.
5.5.1 настоящего стандарта).
2 Линия B, на
рисунке 1 установлена в качестве верхней ограничивающей кривой предельных амплитуд циклов, а на каждой нижележащей кривой C, D, E1, E4, E5, E6, F1 численные значения предельных амплитуд составляют величины в 1,12 раза меньшие численных значений предельных амплитуд вышележащей кривой.
Рисунок 1 - Диаграммы предельных амплитуд цикла
для алюминиевых сварных соединений при коэффициенте
чувствительности к концентрации напряжений

материала
под воздействием номинальных нормальных напряжений
Рисунок 2 - Диаграммы предельных амплитуд цикла
для алюминиевых сварных соединений при коэффициенте
чувствительности к концентрации напряжений

материала
под воздействием номинальных касательных напряжений
5.5.2.4 Нормированные значения сопротивления усталости, применяемые для конструкций соединений и типов швов при симметричном цикле, представляют собой численный убывающий ряд предельных амплитуд напряжений цикла: 36, 32, 28, 25, 23, 20, 18, 16, 14, 12 МПа. Каждое последующее число ряда равно предыдущему числу ряда, деленному на 1,12. Это позволяет назначать сварным соединениям (стыковым, тавровым и т.п.) различного исполнения предельные амплитуды из указанного ряда.
Примечание - При асимметричных циклах напряжений

и

предельная амплитуда ряда начинается с 32 МПа, а при

- с 28 МПа (см.
рисунок 1).
5.5.2.5 Сварные конструкции железнодорожного транспорта работают в присутствии концентраторов напряжений, поэтому обоснованность расчетов размеров швов по предельным амплитудам номинальных нормальных и касательных напряжений должна быть дополнительно подтверждена количественной оценкой влияния концентраторов напряжений на пределы выносливости сварных соединений.
5.5.2.6 Предельная амплитуда номинального напряжения цикла измеряется при условиях, указанных в
5.5.1, с применением методов тензометрии при моделировании номинальных нормальных напряжений в сварных образцах-имитаторах с толщиной стенки детали 10 мм и подрезом в зоне перехода шва к основному металлу с местным радиусом
r = 1 мм или в корне шва.
Предел выносливости соединений

при ударных воздействиях нагрузки в симметричном цикле приведены на
рисунке 3.
Рисунок 3 - Диаграмма предельных амплитуд цикла
для алюминиевых сварных соединений при коэффициенте
чувствительности к концентрации напряжений

материала под воздействием номинальных нормальных
напряжений в присутствии концентраторов напряжений
При значениях амплитуд номинальных нормальных напряжений под кривой не должно возникать трещин в зоне подреза шва на образцах-имитаторах и не должно происходить усталостного разрушения соединений до базы испытаний при любом коэффициенте асимметрии цикла напряжений.
5.5.2.7 Максимальные предельные амплитуды номинальных нормальных напряжений оценивают значениями по кривой B, минимальные - по кривой
F2,
рисунок 1.
5.5.2.8 Расчеты толщин или эффективных поперечных сечений сварных швов при циклическом изгибе, растяжении или сжатии необходимо выполнять с учетом вектора действия приложенной к сварному шву нагрузки (параллельно сварному шву или перпендикулярно к сварному шву) и величины предельной амплитуды допускаемых номинальных нормальных напряжений согласно
5.5.2.7.
5.5.2.9 Проектную толщину или эффективное поперечное сечение шва при кручении (сдвиге) определяют по данным диаграмм предельных амплитуд цикла для номинальных касательных напряжений вдоль шва (см.
рисунок 2). Для стыковых швов с полным проплавлением принимают:

, а для швов с неполным проплавлением и угловых швов -

.
5.5.2.10 Для сварных соединений с толщиной стенки детали в диапазоне свыше 10 мм до 90 мм включительно предельная амплитуда цикла напряжений в соединении должна быть уменьшена путем умножения на коэффициент
ft(
t), приведенный на
рисунке 4.
Рисунок 4 - Коэффициент
ft(
t) для снижения предельной
амплитуды номинального напряжения в сварном соединении
с ростом толщины стенки детали
5.5.2.11 Предельные амплитуды номинальных напряжений цикла в сварных соединениях должны быть приведены в технических требованиях к конструкции с указанием каждого типа соединения.
Пределы выносливости

должны соответствовать указанным значениям в таблицах классифицируемых сварных соединений
приложения Д.
Повышение пределов выносливости сварных соединений проводят путем снятия грата, или правки по технологии вольфрамовым электродом в инертном газе, или проковки, или точечным упрочнением.
5.5.3 Категории безопасности
5.5.3.1 Категорию безопасности конструкции задают исходя из последствий разрушения одного сварного соединения в отношении людей, оборудования и окружающей среды.
5.5.3.2 Категории безопасности конструкции кузова классифицируют следующим образом:
- низкая: разрушение сварного соединения не приводит к прямому ухудшению работы конструкции. Низкая вероятность риска, связанного с причинением вреда здоровью граждан, животных, растений, окружающей среде, имуществу физических и юридических лиц;
- средняя: разрушение сварного соединения приводит к ухудшению работы всей конструкции и способно нанести вред здоровью граждан, животных, растений, окружающей среде, имуществу физических и юридических лиц;
- высокая: разрушение сварного соединения вызывает отказ работы всей конструкции и создает вред жизни, здоровью граждан, животных, растений, окружающей среде, имуществу физических и юридических лиц.
5.5.3.3 При проектировании конструкции разработчик должен определить категорию безопасности для каждого сварного шва.
Для определения высокой или средней категории безопасности следует оценить выполнение требований:
- перед отказом сварного соединения вследствие динамических нагрузок появляются настораживающие признаки ухудшения работы всей сварной конструкции или ее узла;
- перед отказом сварного соединения существует возможность выявления трещины при регулярной проверке;
- конструкция сварного узла или детали в случае отказа позволяет изменить направление нагрузки (геометрически изменяемые системы или дублирующие элементы);
- конструкция сварного соединения предотвращает распространение трещины.
Выбор высокой или средней категории безопасности осуществляют следующим образом:
- высокая категория, если не выполняется ни одно из вышеназванных условий;
- средняя категория, если выполняется одно из вышеназванных условий.
5.5.4 Категории нагрузки и коэффициенты нагрузки
Категорию нагрузки необходимо определять в соответствии с коэффициентом нагрузки по
таблице 7.
Таблица 7
Влияние категории нагрузки на коэффициент нагрузки
в зависимости от применяемого предела выносливости
Категория нагрузки | Коэффициент нагрузки S |
Предел выносливости по расчетам стандарта | Предел выносливости, полученный по результатам испытаний на образцах-имитаторах |
Вариант 1 | |
Высокая | >= 0,9 | >= 0,8 | >= 0,9 |
Средняя | 0,75 <= S < 0,9 | 0,5 <= S < 0,8 | 0,75 <= S < 0,9 |
Низкая | < 0,75 | < 0,5 | < 0,75 |
<*> Соответствующие предельные значения необходимо производителю согласовать с заказчиком или лицом, ответственным за приемку продукции. |
В качестве альтернативы допустимые значения пределов выносливости могут быть получены в результате проведенных испытаний на сопротивление усталости образцов-имитаторов. Статистическая оценка результатов испытаний должна быть выполнена в соответствии со стандартом или руководством, согласованным с национальным надзорным органом.
5.5.5 Классы эксплуатации сварного шва
5.5.5.1 Классы эксплуатации сварного шва устанавливают на этапе проектирования в зависимости от категории безопасности и категории нагрузки.
5.5.5.2 Сварные соединения выделяют в четыре класса эксплуатации сварного шва,
таблица 8.
Таблица 8
Классы эксплуатации сварного шва
Категория нагрузки | Категория безопасности |
Высокая | Средняя | Низкая |
Высокая | | | CP C2 |
Средняя | | CP C2 | Не применяется |
Низкая | | Не применяется | Не применяется |
<1> Класс эксплуатации сварного шва CP A является специальным классом эксплуатации сварного шва, который действителен только для сварных швов с полным проплавлением и полностью доступных для проверки во время изготовления и ремонта. <2> Класс эксплуатации сварного шва CP B соответствует требованиям категории безопасности "высокая", действителен только для сварных швов с полным проплавлением и полностью доступных для проверки во время изготовления и ремонта. <3> Класс эксплуатации сварного шва CP B, для требований категории безопасности "средняя" также допустим для сварных швов без возможности RT или UT - метода испытаний; в этом случае на чертеже должно быть специальное замечание "средняя категория безопасности/необходим расширенный контроль поверхности", контроль проводят в соответствии с ГОСТ EN 15085-5-2015 (таблица 1). <4> Класс эксплуатации сварного шва CP C1 также допустим для сварных швов без возможности RT или UT - метода испытаний. В этом случае на чертеже должно быть специальное замечание "необходим контроль качества поверхности", контроль производят согласно ГОСТ EN 15085-5-2015 (таблица 1). |
5.5.5.3 Если требование повышения класса эксплуатации сварного шва невозможно выполнить, то разработчик должен понизить категорию нагрузки согласно
приложению Е или изменить конструкцию согласно ГОСТ EN 15085-3-2015
(рисунок D.1).
5.5.6 Классы контроля сварного шва
5.5.6.1 Класс контроля сварного шва должен быть задан для каждого шва по предварительно установленному классу эксплуатации сварного шва.
5.5.6.2 Классы контроля сварного шва показывают, какие минимальные контрольные мероприятия и испытания необходимо провести для каждого шва согласно
таблице 9.
5.5.6.3 Испытания, относящиеся к этим классам контроля сварного шва, должны соответствовать минимальным требованиям, указанным в
ГОСТ EN 15085-5.
5.5.6.4 Классы эксплуатации сварного шва и классы контроля сварного шва должны быть указаны в конструкторской документации.
5.5.7 Зависимости между категориями безопасности и нагрузки, классами эксплуатации сварных швов и предельными амплитудами номинальных нормальных напряжений цикла
5.5.7.1 В
таблице 9 указана зависимость между категориями безопасности, категориями нагрузки, классами эксплуатации сварного шва, уровнями качества, классами контроля сварного шва и испытаниями согласно
таблицам 7 и
8.
Таблица 9
Зависимость между категориями безопасности и нагрузки,
классами эксплуатации сварного шва, уровнями качества,
классами контроля сварного шва и испытаниями
Категория безопасности | Категория нагрузки | Класс эксплуатации сварного шва | | Класс контроля сварного шва | Контроль качества объема RT или UT | Контроль качества поверхности PT | Визуальный контроль VT |
Высокая | Высокая | CP A | | CT 1 | 100% | 100% | 100% |
Средняя | Высокая | CP B | B | CT 2 | 10% | 10% | 100% |
Низкая | Высокая | CP C2 | C | CT 3 | Не требуется | Не требуется | 100% |
Высокая | Средняя | CP B | B | CT 2 | 10% | 10% | 100% |
Средняя | Средняя | CP C2 | C | CT 3 | Не требуется | Не требуется | 100% |
Высокая | Низкая | CP C1 | C | CT 2 | 10% | 10% | 100% |
Примечания 1 Объем контроля, выраженный в процентах, относится ко всей длине одного заданного сварного шва, поэтому "100%" означает испытания всех сварных швов всех деталей конструкции, "10%" означает испытания 10% сварных швов всех деталей конструкции, или 100% испытания сварных швов каждой десятой детали. 2 Указанные в таблице 9 испытания представляют собой минимальный объем требуемых для обеспечения соответствия испытаний сварных соединений. Дополнительные испытания могут быть необходимы в зависимости от материалов, проекта или требований заказчика. 3 Весь неразрушающий контроль должен быть выполнен сертифицированным персоналом и быть задокументирован. |
5.5.7.2 Соединения с классами эксплуатации сварного шва CP A, CP B и CP C1, которые подлежат контролю только в процессе изготовления, но не могут быть проконтролированы и отремонтированы во время технического обслуживания, должны быть отнесены к следующему, более высокому классу контроля сварного шва согласно
таблице 9 или категория нагрузки должна быть снижена.
5.5.7.3 Конструкции железнодорожных транспортных средств со сварными соединениями категорий безопасности "высокая" и "средняя" подлежат изготовлению только из тех основных материалов, для которых значения предела выносливости

установлены и согласованы между заказчиком и производителем.
Примечание - Пределы выносливости определяют при механических испытаниях по
ГОСТ 25.502.
5.5.7.4 При проектировании каждого сварного соединения под номинальные нормальные напряжения цикла необходимо учитывать данные
приложения Д, в котором сведения о конструкции соединений, типе шва, методе и объеме контроля в таблицах дополнены классами эксплуатации сварных швов (CP A, CP B, CP C1, CP C2) и используемыми в расчетах пределами выносливости

.
5.5.7.5 Для класса эксплуатации сварного шва CP A проектную толщину или эффективное поперечное сечение шва определяют:
- по пониженной предельной амплитуде номинального напряжения цикла при

и

путем умножения на коэффициент нагрузки
(таблица 7).
Для классов эксплуатации сварных швов CP B и CP C1 проектную толщину или эффективное поперечное сечение шва рассчитывают:
- по пониженному пределу выносливости
(приложение Д) путем деления на коэффициент безопасности (1,15) и умножения на коэффициент нагрузки
(таблица 7);
- по пониженной предельной амплитуде номинального напряжения цикла при

и

путем деления на коэффициент безопасности (1,15) и умножения на коэффициент нагрузки
(таблица 7).
Для класса эксплуатации сварного шва CP C2 проектную толщину или эффективное поперечное сечение шва устанавливают по пределам выносливости
(приложение Д).
5.6 Требования к конструкции сварных соединений
5.6.1 Сварные швы для дуговой сварки выполняют с подготовкой кромок, приведенной в
приложении Г.
Примечание - Допускается выполнение сварных швов под острыми или тупыми углами, приведенными в
ГОСТ 27580.
5.6.2 В зонах с высокими нагрузками кузова не следует закладывать сварные швы с номинальными нормальными напряжениями более 28 МПа в эффективном поперечном сечении сварных соединений. Если это невозможно, то следует применять более высокие требования к контролю и испытаниям.
5.6.3 Подтверждение размеров сварного шва следует принимать на этапе проектирования, если необходимо, путем предпроизводственного испытания по
ГОСТ Р ИСО 15613.
5.6.4 При проектировании должны быть соблюдены требования и рекомендации по свариваемости основных и сварочных материалов (см.
5.2 и
5.3).
5.6.5 Остающиеся подкладки (остающиеся приспособления для поддержания сварочной ванны) должны быть учтены в расчетах на прочность. Остающиеся подкладки должны быть с канавкой.
5.6.6 Для тавровых соединений алюминиевых конструкций допускается применение выводных планок с фаской, например, для соединения с односторонним скосом кромки.
5.6.7 Защиту от коррозии следует обеспечивать выполнением сварных соединений, например, с полным проплавлением шва.
Соединения с конструктивным непроваром или прерывистым сварным швом могут быть обеспечены защитой от коррозии применением защитных покрытий.
5.6.8 Место нанесения клейма сварщика должно быть указано на чертеже.
5.6.9 Сварные швы рекомендуется располагать вдоль базовой оси конструкции или симметрично этой оси для уменьшения (исключения) коробления и деформации.
5.6.10 Конструкция должна быть спроектирована таким образом, чтобы обеспечивать безопасность и надежность при эксплуатации за счет доступа к ее элементам при сварке и контроле.
5.6.11 Следует избегать в сварных узлах большого количества швов с присущими им концентраторами напряжений. Для этого используют кованые или литые детали, как указано в ГОСТ EN 15085-3-2015
(рисунок D.1).
5.6.12 Для холоднодеформированных деталей из алюминия и его сплавов в расчетах должно быть учтено снижение прочности стыка при дуговой сварке в зоне термического влияния с учетом рекомендаций ГОСТ Р ИСО 15614-2-2009 (таблица 2), а при СТП - на основе рекомендаций таблицы 17 настоящего стандарта,
примечание 3.
5.6.13 При сборке каркаса коробчатых балок, испытывающих растягивающие напряжения (при изгибе), допускается приварка нижних поясов односторонними угловыми швами только в случае достаточной расчетной жесткости каркаса балки с коэффициентом нагрузки в корне шва менее допустимого значения.
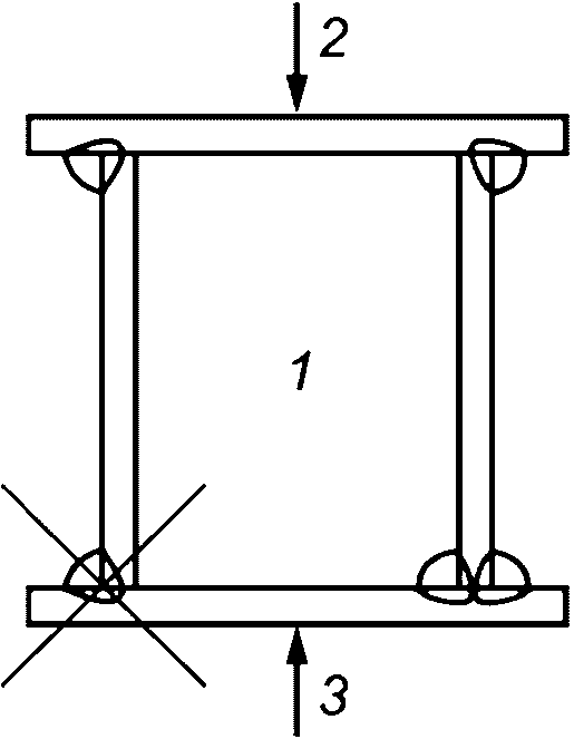
На
рисунке 5 показан пример коробчатой балки с высокой категорией нагрузки в поясе, испытывающем растяжение.
1 - коробчатая балка; 2 - сжатый пояс; 3 - растянутый пояс
Примечание - Зачеркнуто - недопустимое тавровое соединение с угловым односторонним швом.
Рисунок 5 - Пример коробчатой балки с высокой категорией
нагрузки в растянутом поясе
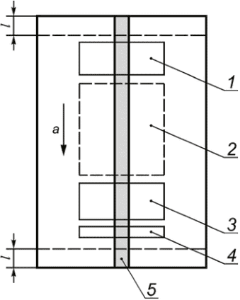
Для уменьшения угловой деформации и уменьшения напряжения, необходимо выдерживать минимальное расстояние между двумя швами в соответствии с толщиной свариваемых деталей и использовать зажимные приспособления для фиксации конструкции.
Для толщины менее 20 мм рекомендуется соблюдать минимальное расстояние 50 мм между границами сплавления металла швов C с металлом B зон термического влияния основного материала A (см.
рисунок 6).
Рисунок 6 - Минимальное расстояние
между зонами плавления, в мм
5.6.14 В стыковом шве переход между деталями различной толщины должен быть выполнен постепенно с уклоном, не превышающим значение, заданное в
таблице Д.2.
5.6.15 Расстояние между соседними швами должно быть таким, чтобы зоны термического влияния не накладывались друг на друга. Наложение зон термического влияния допустимо, если эффекты термического воздействия или зоны закалки (например, внутренние напряжения, падение прочности, падение твердости) учитывают при проектировании.
5.6.16 Для элемента жесткости, привариваемого к продольному шву, следует избегать образования не заваренных участков на элементах конструкции в местах пересечения стыковых и угловых швов (см.
рисунок 7). Выпуклость шва в зоне пересечения должна быть механически обработана, чтобы выполнить сварку без прерывания пересекающихся швов.
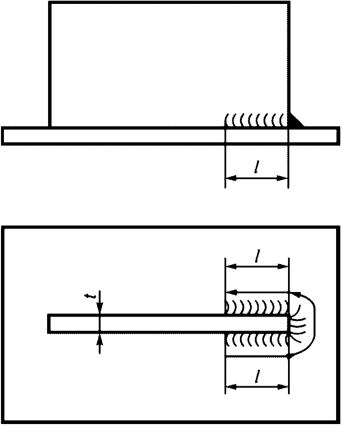
Рисунок 7 - Элементы жесткости установлены
перпендикулярно к продольному шву
5.6.17 В конструкциях, работающих при высоких нагрузках, косынки должны быть приварены по периметру. На
рисунках 8 и
9 показаны примеры конструктивного исполнения концов косынок и элементов жесткости. Чтобы сделать возможным выполнение сварного шва по периметру, концы косынок и фасонных элементов жесткости следует проектировать в соответствии с
рисунком 8, обеспечивая фаску по указанному радиусу.
a - толщина шва; r - не менее 30 мм
Рисунок 8 - Проектирование концов косынок
и фасонных элементов жесткости
Рисунок 9 - Форма косынок
5.6.18 Оптимизация формы косынок проиллюстрирована на
рисунке 9. Большинство разрушений конструкций, возникающих под влиянием усталостной нагрузки деталей (динамически нагруженных деталей), связаны с формой элементов усиления, которые не полностью распределяют нагрузку и вызывают концентрацию напряжений.
5.6.19 Сварной шов (см.
рисунок 10) должен быть выполнен по всему периметру прилегания косынки на длину
l, которая должна быть не менее удвоенной толщины листа, равной
2t:
- для предотвращения коррозии на конце листа, независимо от класса эксплуатации сварного шва;
- на кромках с высокой нагрузкой.
l >= 2t, при этом lmin = 10 мм; t - толщина
листа; l - длина прямого участка
Рисунок 10 - Сварка по периметру прилегания косынки
5.6.20 При конструировании угловых швов должны быть учтены следующие требования (см.
рисунок 11):
- по конструктивным причинам или если требуется лучше распределить силовые нагрузки, дополнительно к толщине шва a на чертеже указывают катет углового шва z или оба катета, z1 и z2;
- толщина шва a, измеренная на макрошлифе, не должна превышать расчетное значение.
Расстояние от края v рекомендуется: v > 1,5a + t
5.6.21 Для нахлесточных соединений деталей толщиной менее 20 мм рекомендуется соблюдать минимальное расстояние 50 мм между краями деталей (см.
рисунок 12).
Рисунок 12 - Минимальное расстояние
между угловыми швами нахлесточного соединения
5.6.22 Для сварных швов классов эксплуатации CP A и CP B следует применять выводные планки в начале и в конце сварного шва (см.
рисунок 13).
Рисунок 13 - Пример применения выводных планок
для выполнения стыковых швов
Для других стыковых швов выводные планки могут быть использованы для предотвращения непровара в начале и для предотвращения образования кратера - в конце сварки.
Выводные планки должны быть изготовлены таким образом, чтобы имелась возможность начать и закончить сварку за пределами необходимой длины шва.
5.6.23 Детали сборки и планки к ним, интегрированные в конструкцию или устанавливаемые в виде небольших пластин на свариваемые детали, являются единым целым. Разделка кромок этих планок должна соответствовать разделке кромок сварного соединения. Следует закрепить планки механическим способом или с помощью сварочных прихваток, прежде чем они будут применены в сварке стыка.
5.6.24 После выполнения сварного шва выводные планки должны быть удалены механическим путем или плазменной резкой. Механическую обработку (фрезерование, строгание, шлифование) следует проводить после удаления планок.
Не допускается удаление выводных планок ударным способом.
5.6.25 Для предотвращения коррозии (см.
рисунок 14) необходимо обеспечить герметичность соединения со стороны корня шва применением двусторонней сварки, и/или подваркой корня шва, или использованием герметика.
Рисунок 14 - Места возникновения коррозии
5.6.26 Минимальная длина участков для прерывистых сварных швов должна составлять:
- для tmax < 10 мм: Lmin > 5 x tmax, но не менее 30 мм;
- для
tmax > 10 мм:
Lmin > 3 x
tmax, но не менее 50 мм (см.
рисунок 15).
e < 3L; v < 0,5L
Рисунок 15 - Прерывистые сварные швы
5.6.27 Типы сварных соединений по ГОСТ ISO 25239-2, выполняемых СТП, представлены в
таблице 10.
Таблица 10
Типы сварных соединений до и после сварки трением
с перемешиванием
Тип соединений | До сварки | После сварки |
Комбинированное соединение внахлест и встык | | |
Стыковое соединение | | |
Комбинированное соединение внахлест и встык | | |
Тавровое соединение | | |
Угловое соединение | | |
Нахлесточное соединение | | |
Угловое соединение | | |
Стыковые соединения по окружности и по образующей обечайки труб | | |
5.6.28 Условные обозначения на чертежах, которые приводят в конструкторской документации, должны соответствовать
ГОСТ Р ИСО 2553.
5.6.29 Дополнительно в конструкторской документации необходимо указать следующую информацию:
- класс эксплуатации сварного шва (если на чертеже приведены различные классы эксплуатации сварного шва, то они должны быть указаны рядом со сварным швом);
- для сварных соединений, выполняемых контактной точечной сваркой, необходимо дополнительно указать класс качества поверхности согласно
таблице 11;
- форма сварного шва, толщина и длина сварного шва (см.
приложение Г) и ГОСТ EN 15085-3-2015
(таблица C.1) должны быть указаны на чертеже;
- сварочные материалы должны быть указаны в технологической документации.
Таблица 11
Классы качества поверхности
Класс качества поверхности | Требования | Применение |
1 | Указанный класс качества поверхности подлежит согласованию между производителем и заказчиком | Класс должен быть согласован производителем и заказчиком |
| Поверхности, для которых следы от сварки (вмятины от электродов, кольцевые наплывы, неровности вследствие тепловой деформации и т.д.) не превышают 10% толщины листа. Примечание - Если требуется, вмятины могут быть зашпаклеваны. | Поверхности, к внешнему виду которых предъявляются особые требования (для боковых и торцовых стенок, крыш вагонов) |
| Поверхности, где следы от сварки не превышают 25% толщины листа. В этих зонах допустимы прочно налипшие сварочные брызги, если на чертеже нет указаний по отсутствию заусенцев и брызг | Поверхности, к внешнему виду которых не предъявляются особые требования (для грузовых вагонов, контейнеров, листовой металл для облицовки пола) |
4 | Требования к качеству отсутствуют | Простые второстепенные конструкции, к внешнему виду которых не предъявляются особые требования |
5.6.30 Сварным швам одного и того же типа и размеров конструктивных элементов в поперечном сечении должны быть присвоены номера позиций на чертежах в соответствии с требованиями ГОСТ 2.312-72
(пункт 2.8).
5.6.31 Если на чертежах не заданы допуски по
ГОСТ Р ИСО 13920, то они выбираются следующим образом:
- класс допуска B - для линейных и угловых размеров;
- класс допуска F - для прямолинейности, плоскостности и параллельности.
6 Требования к сборке свариваемых узлов конструкции кузова
6.1 Подготовка кромок деталей, предназначенных для дуговой сварки перед сборкой, приведена в
приложении Ж, а для СТП - сводится только к механической вырезке деталей, механической очистке с последующим обезжириванием и подгонкой их стыкуемых поверхностей.
6.2 Сборку следует проводить с применением сборочных (сборочно-сварочных) стендов и приспособлений, сборочных плит и устройств, обеспечивающих:
- требуемое расположение деталей;
- стабильность размеров и формы конструкции;
- свободный доступ к местам прихватки и сварки;
- минимальные деформации в процессе сварки.
6.3 Требования ко всем прихваткам такие же, как и к основным швам.
Параметры режима прихватки, места расположения и размеры прихваток должны быть указаны в технологической документации.
6.4 Рекомендуется совмещать сборку и сварку в устройствах, предотвращающих сварочные деформации, без выполнения прихваток.
6.5 Сварочные прихватки при сборке под точечную и шовную контактную сварку преимущественно выполняют точечной контактной сваркой. Допускается выполнять сварочные прихватки дуговой сваркой без их удаления.
6.6 Конструкции, собранные под сварку, должны быть проверены службой технического контроля на соответствие требованиям чертежа взаимного положения деталей, размеров конструктивных элементов кромок, подлежащих сварке, и зазоров между ними, качество выполнения прихваток и установки выводных планок, отсутствие загрязнений в зоне сварки и допущены к сварке.
7 Требования к выполнению сварных соединений
7.1 Требования к технической документации и оборудованию
7.1.1 На сварку сборочных единиц кузовов железнодорожного подвижного состава должны быть разработаны:
- технологические карты сварки;
- операционные (маршрутные) технологические процессы сборки и сварки.
7.1.2 Требования к содержанию технологических карт дуговой и контактной сварки, а также сварки трением с перемешиванием соответственно приведены в
ГОСТ Р ИСО 15609-1, ГОСТ ISO 15609-5, ГОСТ ISO 25239-4.
7.1.3 Технологии дуговой и контактной сварки должны быть испытаны и аттестованы в соответствии с ГОСТ Р ИСО 15614-2 и ГОСТ Р ИСО 15614-12, а технология СТП - в соответствии с ГОСТ ISO 25239-4.
7.1.4 Сварочное оборудование должно обеспечивать стабильность существенных параметров режима сварки, возможность их регулирования и контроля.
7.1.5 Сварочное оборудование должно проходить регулярное техническое обслуживание и проверку на соответствие паспортным данным. Контрольно-измерительные приборы должны быть поверены.
7.2 Требования к дуговой сварке
7.2.1 Сварочные материалы должны быть упакованы согласно требованиям соответствующих стандартов (технических условий) и иметь сертификаты качества. Сварочные материалы должны проходить входной контроль и храниться в закрытых складских помещениях.
7.2.2 Входным контролем сварочных материалов должно быть установлено:
- наличие сертификата с проверкой полноты приведенных в нем данных и их соответствия требованиям нормативной документации на продукцию;
- наличие на упаковках соответствующих этикеток (ярлыков) или бирок с проверкой указанных в них данных;
- отсутствие повреждений упаковок и самих материалов.
Применение сварочных материалов, на которые отсутствуют сертификаты, подтверждающие их качество, не допускается.
7.2.3 Поверхность сварочной проволоки
ГОСТ 7871 должна быть чистой, без масла и загрязнений.
Рекомендуется использование сварочной проволоки с поверхностью, подготовленной к сварке (полированной и др.) на катушках (барабанах) с размерами по ГОСТ Р 53689.
Для сварочной проволоки, требующей подготовки перед сваркой, применяют обработку, приведенную в
приложении Ж.
7.2.4 Для дуговой сварки плавящимся/неплавящимся электродом (
131 и
141 или
142), сварки дуговой плазменной
(15) применяют:
- гелий газообразный высокой чистоты по техническим условиям;
- электроды вольфрамовые сварочные неплавящиеся по
ГОСТ 23949 и ГОСТ ISO 6848.
7.2.5 Кромки деталей толщиной более 8 мм перед сваркой конструкции и при многопроходной технологии сварки необходимо подогревать в зависимости от марки сплава в соответствии с
таблицей 12.
Таблица 12
Рекомендуемые максимальные значения температуры
предварительного подогрева и температуры
между сварочными проходами
В градусах Цельсия
Основной материал | Температура |
Предварительного подогрева | Между сварочными проходами |
Чистый алюминий и сплавы алюминия термически не упрочняемые, группы 21, 22 | 120 | 120 |
| | 100 |
| | 80 |
<*> Длительный подогрев может способствовать частичному отжигу закаленных сплавов и перестариванию сплавов, подвергавшихся термической обработке. Примечания 1 Рекомендуемые температуры должны быть согласованы заказчиком и производителем. 2 В подгруппе 22.4 сплавы, содержащие более 3,5% магния, и в подгруппе 23.2 выделение фаз может вызвать повышение чувствительности к коррозионным расслаиванию и растрескиванию в определенных условиях эксплуатации. |
7.2.6 Технологии дуговой сварки с использованием сварочных материалов, приведенных в
таблицах 3 и
В.1, аттестованные по ГОСТ Р ИСО 15614-2 (аттестация с испытаниями стандартных контрольных сварных соединений), или в случае применения контрольных сварных соединений, соответствующих натурным образцам элементов кузова (требования
ГОСТ Р ИСО 15613), должны обеспечивать получение сварных соединений со следующими механическими свойствами, определяемыми по
ГОСТ 6996:
- временное сопротивление разрыву наиболее слабого участка сварного соединения быть не ниже минимального значения <*> временного сопротивления основного материала (сплавов
групп 21 -
23), умноженного на коэффициент разупрочнения
К2 согласно
таблице 13;
- временное сопротивление разрыву наиболее слабого участка сварного соединения быть не ниже минимального значения <*>, установленного техническими условиями или конструкторской документацией для основного материала (термически упрочняемых сплавов
групп 24 -
26);
--------------------------------
<*> Для соединений из разнородных марок алюминия и алюминиевых сплавов значение временного сопротивления разрыву должно быть не ниже минимального значения менее прочного основного материала, а пластичность - не ниже пластичности менее пластичного основного материала.
- относительное удлинение после разрыва металла шва стыковых соединений должно быть не менее 12% в котлах вагонов-цистерн для перевозки опасных грузов
[2] и не менее 6% для остальных;
- предел текучести (условный) металла шва должен быть не менее значения, установленного в
5.4.2 или
5.4.7;
- угол статического изгиба сварного поперечно-стыкового соединения, выполненного по ГОСТ Р ИСО 15614-2, должен быть из основного материала
группы 21 не менее 180°, из основного материала
группы 22 - не менее 45°; из основного материала
группы 23 - не менее 35°;
- ударная вязкость только для сварных соединений основного материала
группы 22 (23), определенная на образцах KCU, для исполнения УХЛ 1 при температуре испытания минус 60° и для исполнения У 1 при температуре минус 50 °C должна быть не менее 28 Дж/см
2 (23 Дж/см
2).
Примечания
1 Коэффициент разупрочнения
К2 представляет отношение временного сопротивления разрыву наиболее слабого участка сварного соединения к временному сопротивлению разрыву основного материала при его минимальном значении.
2 Может быть использован более высокий коэффициент разупрочнения
К2, чем указан в
таблице 13, если он был подтвержден при проведении аттестации технологии сварки.
Таблица 13
Снижение временного сопротивления разрыву
стыковых соединений дуговой сварки по ГОСТ Р ИСО 15614-2
при поперечном растяжении шва в сравнении с основным
материалом
Группа или подгруппа основного материала | Состояние основного материала до сварки | Состояние основного материала после сварки | Коэффициент разупрочнения К2 |
| Во всех состояниях | Без дисперсионного твердения | 1,00 |
|
| | Естественное старение | 0,70 |
Искусственное старение |
| Естественное старение | 0,60 |
Искусственное старение | 0,70 |
| | Естественное старение | 0,95 |
Искусственное старение | 0,70 |
| Естественное старение Искусственное старение | 0,75 |
<*> Т4 - закалка с естественным старением, обеспечивает повышение прочностных свойств и высокую пластичность, применяется для обработки нагруженных деталей, испытывающих ударные воздействия. <**> Т5 - закалка на желобе пресса с искусственным старением вызывает дополнительное повышение прочностных свойств в сравнении с обработкой Т4 за счет некоторого снижения пластичности, применяется для обработки нагруженных деталей, несущих высокие статические нагрузки и испытывающих ударные воздействия. <***> Т6 - закалка полная с искусственным старением на максимальную прочность вызывает максимально возможное для данного сплава повышение прочностных свойств за счет снижения пластичности, применяется для деталей, несущих высокие статические нагрузки, но не испытывающих ударных нагрузок. Примечания 1 Для материалов групп 21 и 22 вне зависимости от исходного состояния перед сваркой коэффициент разупрочнения К2 принимается относительно состояния "М" основного материала в соответствии с техническими условиями или конструкторской документацией. 2 Условия старения должны соответствовать техническим условиям. 3 В том случае, когда контрольное сварное соединение состарено искусственно после сварки и до проведения испытания, применяют коэффициент разупрочнения, соответствующий состоянию основного материала Т6. 4 Обозначения состояния основного материала Т4 (Т5) и Т6 в стандартах EN аналогичны обозначениям Т и Т1 в стандартах Российской Федерации соответственно. |
7.2.7 Режимы и положение изделия при сварке должны обеспечивать плавность переходов сварных швов к основному материалу для соответствующего уровня качества сварных соединений. Основные положения и углы поворота изделия при сварке регламентированы
ГОСТ Р ИСО 6947. Предпочтительны положения "Л" и "Н" по
ГОСТ 11969.
7.2.8 Автоматическую и механизированную сварку следует выполнять по возможности без перерыва по всей длине шва.
В случае перерыва в наложении шва или его отдельного прохода концевой участок и кратер должны быть полностью перекрыты при возобновлении сварки.
7.2.9 Перед наложением подварочного валика протеки металла в корне шва должны быть устранены.
7.2.10 Кратеры сварных швов, выполненных без применения выводных планок, должны быть тщательно заварены.
7.2.11 Местные поверхностные неровности в местах перекрытий отдельных участков и доварки швов должны быть сглажены механической зачисткой с образованием плавных переходов.
7.2.12 Сварку кузовов следует производить до установки их на кондиционные тележки, оборудованные подшипниками качения.
Допускается сварка на кондиционных тележках при соблюдении следующих условий:
- свариваемые изделия должны быть подключены к сварочному посту по двухпроводной схеме;
- обратный провод подключают к свариваемому изделию как можно ближе к месту сварки с обеспечением плотного контакта. Место подключения должно быть предварительно зачищено до металлического блеска.
7.2.13 При необходимости (требование заказчика, разработчика и т.д.) для снижения остаточных напряжений после сварки в сварном узле следует провести дополнительную обработку, например снять внутренние напряжения термической обработкой или поверхностные - шлифовкой.
7.2.14 Обработка сварного шва после сварки направлена на повышение предела выносливости сварного соединения. Улучшение может применяться для увеличения срока службы (для заданной категории нагрузки) или в повышении предела выносливости (см. указания областей концентрации напряжений в
таблицах Д.1.4,
Д.1.5,
Д.2,
Д.3.1 -
Д.3.3). Уменьшение пиковых напряжений достигается снижением концентрации напряжений (эффект надреза) в геометрических поверхностных дефектах шва, наиболее значимых на границе перехода сварного шва к основному материалу для углового шва.
Последующая обработка границы перехода шва к основному материалу должна быть заложена в технологию сварки, и приемлемость нагрузок должна быть проверена разработчиком.
В случае шлифования границы глубина должна составлять
k <= 0,3 мм, радиус
r >= 3 мм (см.
рисунок 16).
а)
б)
а) - стыковое соединение; б) - тавровое соединение
Рисунок 16 - Улучшение границы сварного шва
7.3 Требования к контактной сварке
7.3.1 Конструктивное расположение электродов контактной точечной сварки относительно свариваемых деталей и расположение точек приведены на
рисунках 17 -
20.
x > 5 мм и x > r
x - боковое расстояние; dL - диаметр ядра сварной точки;
d1,2 - диаметры электродов; r - радиус гибки; t1 - меньшая
толщина листа; t2 - большая толщина листа; et1 - верхняя
глубина вдавливания; et2 - нижняя глубина вдавливания;
R1 и R2 - радиусы скругления электродов; b - нахлест;
h - высота полки; v1 - расстояние от края 1;
v2 - расстояние от края 2
Рисунок 17 - Контактная точечная сварка угловых профилей
и листового металла
e1 - расстояние между точками; v - расстояние от края;
t1 - меньшая толщина листа; t2 - большая толщина листа;
b - нахлест
Рисунок 18 - Контактная точечная сварка
листового металла, однорядная
e1 - расстояние между точками; e2 - расстояние между рядами
точек; v - расстояние от края; t1 - меньшая толщина листа;
t2 - большая толщина листа; b - нахлест
Рисунок 19 - Контактная точечная сварка
листового металла, двухрядная
e1 - расстояние между точками; e3 - расстояние между точками
(расположение в два ряда со сдвигом); v - расстояние от края
Рисунок 20 - Контактная точечная сварка
листового металла, двухрядная со сдвигом
7.3.2 Расстояния между точками (от края детали до точки) в зависимости от толщины детали для контактной точечной сварки приведены в
таблице 14.
Таблица 14
Расстояние между точками, расстояние от края
В миллиметрах
Наименование показателя | Меньшая толщина свариваемого листа t1 |
1 | 1,25 | 1,5 | 1,75 | 2 | 2,5 | 3 |
Расстояние между точками e1, не менее | 25 | 35 | 35 | 35 | 40 | 50 | 50 |
Расстояние от края v | >= 10 | >= 10 | >= 10 | >= 10 | >= 15 | >= 15 | >= 15 |
7.3.3 Минимальные усилия на срез для соединений контактной точечной сварки алюминия и алюминиевых сплавов указаны в
таблице 5.
7.3.4 Если по конструктивным соображениям возможны отклонения от указанных значений, то в этом случае предусматривают предпроизводственные испытания сварки для подтверждения надежности конструкции.
7.3.5 Производитель обязан иметь отчет об аттестации технологии сварки (WPQR) по ГОСТ Р ИСО 15614-12, подтверждающий, что свойства сварных соединений соответствуют требованиям настоящего стандарта.
7.4 Требования к сварке трением с перемешиванием
7.4.1 Принципиальная схема СТП приведена на
рисунке 21 и демонстрирует общий принцип процесса в соответствии с ГОСТ ISO 25239-1.
1 - свариваемые детали; 2 - инструмент; 3 - заплечик
инструмента; 4 - наконечник инструмента; 5 - лицевая сторона
шва; 6 - сторона отставания шва; 7 - сторона набегания шва;
8 - выходное отверстие; a - направление вращения
инструмента; b - движение инструмента к детали; c - осевое
усилие; d - направление сварки; e - движение инструмента
от детали
Рисунок 21 - Принципиальная схема сварки трением
с перемешиванием
7.4.2 Сварку выполняют в соответствии с обобщенной циклограммой на
рисунке 22.
Fa - осевое усилие инструмента (его действие на диаграмме
показано штрихпунктирной линией от фазы 3 до фазы 8);
n - скорость вращения инструмента (действие показано
штриховой линией от фазы 1 до фазы 9).
Фазы цикла сварки: 1 - начало вращения инструмента;
2 - начало движения инструмента к свариваемому стыку;
3 - момент, когда инструмент коснулся соединяемых кромок;
4 - момент, до которого вращающийся инструмент прижимается
к свариваемым кромкам с нарастающим усилием без хода
вдоль свариваемых кромок; 5 - начало хода инструмента
вдоль свариваемых кромок; 6 - остановка хода инструмента;
7 - задержка движения инструмента от сваренного стыка
в конце шва; 8 - начало движения инструмента от детали;
9 - остановка вращения инструмента; 10 - увеличение осевого
усилия инструмента между фазами 3 и 4; 11 - время сварки
(t3 + t4 + t5); 12 - интервал времени хода инструмента
вдоль свариваемых кромок (t4); 13 - стабилизация осевого
усилия инструмента между фазами 4 и 8
Рисунок 22 - Циклограмма (обобщенная) сварки трением
с перемешиванием
7.4.3 Технология сварки со всеми существенными параметрами процесса должна быть документально составлена в форме pWPS, испытана с оформлением отчета об аттестации технологии сварки WPQR и при удовлетворительных результатах отчета представлена в виде аттестованной технологии WPS.
7.4.4 Испытание технологии СТП проводят по ГОСТ ISO 25239-4 на стандартных образцах КСС. Форма и размеры КСС указаны на
рисунке 23. КСС сваривают в соответствии с проектом технологической карты сварки pWPS.
В случае применения КСС, соответствующих натурным образцам элементов кузова, следует выполнять требования ГОСТ ISO 25239-4-2020 (раздел 7).
Примечание - Допускается под ответственность экзаменующего органа производителя совмещать предпроизводственные испытания СТП с аттестацией операторов машины СТП, для которых также предусмотрена аттестация по ГОСТ ISO 25239-3.
а) размеры КСС при стыковом шве с полным проваром
a - подготовка и подгонка соединения согласно указаниям
pWPS; b - ширина, не менее 150 мм; L - длина элемента,
не менее 500 мм; t - толщина
б) размеры КСС при стыковом шве на трубе с полным проваром
a - подготовка и подгонка соединения согласно указаниям
pWPS; D - наружный диаметр трубы; L - длина элемента,
не менее 150 мм; t - толщина стенки
в) размеры КСС при соединении внахлест с полным/неполным проваром
1 - шов; t1 - толщина основного материала верхнего листа;
t2 - толщина основного материала нижнего листа;
b1 - расстояние от кромки до оси шва на верхнем листе, как
указано в pWPS; b2 - расстояние от кромки до оси шва
на нижнем листе, как указано в pWPS; b3 - расстояние
между центром шва и кромкой заготовки, не менее 150 мм;
L - длина заготовки, не менее 500 мм
Рисунок 23 - Форма и размеры КСС
7.4.5 Неразрушающие и разрушающие испытания проводят в соответствии с требованиями
таблиц 15 и
16. Отбор контрольных образцов (КО) для разрушающих испытаний проводят по ГОСТ ISO 25239-4 в соответствии с
рисунком 24.
Таблица 15
Методы и объем испытаний стыковых соединений
Метод испытания | N стандарта [документа] | Объем проверок и испытаний |
| | 100% |
Испытание на поперечное растяжение <2> | | Два образца для испытаний |
Испытание на поперечный изгиб для кованых материалов <3> | | Два образца для испытаний с растяжением корневой стороны шва |
Испытание на излом для литых материалов или комбинации поковок с отливками | | Два образца для испытаний с растяжением лицевой стороны шва |
Макроскопическое исследование | | Один образец для испытаний |
Дополнительные испытания (например, неразрушающие) <4> | - | При необходимости |
<1> Испытания проводят с исключением отбрасываемых зон, как показано на рисунке 24,а). <2> Для соединения труб встык по возможности отбирают как минимум один образец для испытания на поперечное растяжение. <3> Для испытаний стыкового соединения из кованого алюминия, получаемого при прессовке металла группы 21 или 22 в условиях высокого давления и температуры до 400 °C, толщиной более 12 мм вместо двух образцов для испытаний на поперечный изгиб с растяжением корневой стороны шва и двух образцов для испытаний на поперечный изгиб с растяжением лицевой стороны шва допускается использовать четыре образца для испытаний на поперечный боковой изгиб. Вместо четырех образцов для испытаний на поперечный боковой изгиб допускается использовать один образец для испытаний на поперечный изгиб с растяжением лицевой стороны шва и один - с растяжением корневой стороны шва. <4> Дополнительные испытания проводят в соответствии с требованиями технических условий. |
Таблица 16
Методы и объем испытаний нахлесточных соединений
Метод испытания | N стандарта | Объем проверок и испытаний |
| | 100% |
Макроскопическое исследование | | Два образца для испытаний |
Дополнительные испытания (например, на отслаивание, на срез, на S-образный изгиб при обстукивании, неразрушающее испытание) <**> | - | При необходимости |
<*> Испытания проводят с исключением отбрасываемых зон, как показано на рисунке 24,в). <**> Дополнительные испытания проводят в соответствии с требованиями технических условий. Информация об испытаниях на S-образный изгиб ударным инструментом приведена в ГОСТ ISO 25239-4 на рисунке C.1 (приложение C). |
а) участки для получения КО при стыковом шве с полным проваром
1 - участок для отбора: одного образца для испытаний
на растяжение; образцов для испытаний на загиб или излом;
2 - участок для отбора дополнительных образцов для испытаний
при необходимости; 3 - участок для отбора: одного образца
для испытаний на растяжение; образцов для испытаний на изгиб
или излом; 4 - участок для отбора одного образца
для макроскопического исследования; 5 - шов; l - длина,
отбрасываемая с каждого конца испытательного шва, не менее
50 мм; a - направление сварки
б) участки для получения КО при стыковом шве на трубе с полным проваром
1 - начало шва; 2 - конец шва; 3 - участок для отбора:
одного образца для испытаний на растяжение; образцов
для испытаний на загиб или излом; 4 - участок для отбора
дополнительных образцов для испытаний при необходимости;
5 - участок для отбора: одного образца для испытаний
на растяжение; образцов для испытаний на изгиб или излом;
6 - участок для отбора одного образца для макроскопического
исследования; a - протяженность зоны перекрытия сварного
шва (ППШ), из которой возможен один образец для испытаний
в) участки для получения КО при соединении внахлест с полным/неполным проваром
1 - участок для отбора двух образцов для макроскопического
исследования; 2 - участок для отбора образцов для других
испытаний при необходимости; 3 - шов; l - длина,
отбрасываемая с каждого конца испытательного
шва, не менее 50 мм
Рисунок 24 - Зоны отбора контрольных образцов на КСС
7.4.6 Технология СТП должна обеспечивать получение сварных соединений с механическими свойствами, определяемыми по
ГОСТ 6996:
- временное сопротивление разрыву наиболее слабого участка сварного соединения должно быть не ниже минимального значения <*> временного сопротивления основного материала, умноженного на коэффициент разупрочнения
К2 (см.
7.2.6, примечание 1) согласно
таблице 17;
--------------------------------
<*> Для соединений из разнородных марок алюминия и алюминиевых сплавов значение временного сопротивления разрыву должно быть не ниже минимального значения менее прочного основного материала, а пластичность - не ниже пластичности менее пластичного основного материала.
- относительное удлинение после разрыва металла шва стыковых соединений должно быть не менее 12% в котлах вагонов-цистерн для перевозки опасных грузов
[2] и не менее 6% для остальных;
- предел текучести (условный) металла шва должен быть не менее значения, установленного в
5.4.7;
- угол статического изгиба сварного поперечно-стыкового соединения должен быть из основного материала
группы 21 не менее 180°, из основного материала
группы 22 - не менее 45°; из основного материала
группы 23 - не менее 35°;
- ударная вязкость только для сварных соединений основного материала
группы 22 (23), определенная на образцах KCU, для исполнения УХЛ 1 при температуре испытания минус 60 °C и для исполнения У 1 при температуре минус 50 °C должна быть не менее 28 Дж/см
2 (23 Дж/см
2).
Примечания
1 Требования к испытанию на изгиб приведены в ГОСТ Р ИСО 15614-2-2009 (пункт 7.4.3).
2 Может быть использован более высокий коэффициент разупрочнения
К2, чем указан в
таблице 17, если он был подтвержден при проведении аттестации технологии сварки.
Таблица 17
Снижение временного сопротивления разрыву при растяжении
поперек шва стыковых соединений, полученных СТП по
ГОСТ ISO 25239-4, в сравнении с основным материалом
Группа или подгруппа основного материала | Состояние <*> основного материала до сварки | Состояние основного материала после сварки | Коэффициент разупрочнения К2 |
| Во всех состояниях | Без дисперсионного твердения | 1,00 |
|
| Т4 | Естественное старение | 0,70 |
Искусственное старение |
Т5 и Т6 | Естественное старение | 0,60 |
Т5 и Т6 | Искусственное старение | 0,70 |
<*> Обозначения состояния основного материала до сварки Т4, Т5, Т6 соответствуют свойствам материала, указанным в таблице 13 настоящего стандарта. Примечания 1 Временное сопротивление разрыву минимальное для основного материала с неуказанной термообработкой  должно соответствовать техническим условиям на основной материал. 2 Условия старения должны соответствовать техническим условиям. 3 Независимо от фактической термообработки основного материала, используемого при испытании, после сварки временное сопротивление разрыву устанавливают исходя из нормируемой минимальной прочности на растяжение в состоянии "М" основного материала. |
8 Контроль качества сварных соединений алюминиевых конструкций
8.1.1 Контроль качества сварных соединений необходимо осуществлять систематически в течение всего производственного цикла, на всех этапах изготовления сварных конструкций.
Контролю в процессе изготовления сварных конструкций подлежат:
- наличие аттестованных технологических карт сварки WPS;
- квалификационный уровень сварщиков/операторов, его соответствие роду выполняемых работ и требованиям аттестации;
- техническое состояние сварочного оборудования и своевременность метрологической поверки электроизмерительных приборов;
- наличие сертификатов на сварочные материалы, соответствие условий их хранения и применения требованиям технологии;
- качество подготовки кромок и сборки под сварку;
- соблюдение технологической документации (последовательность выполнения технологических операций, параметры режимов сварки, температурный режим, обработка корня шва перед выполнением подварочного валика и др.);
- качество сварных соединений.
8.1.2 Сварные швы и прилегающие к ним поверхности перед проведением контроля должны быть очищены от брызг и грата на лицевой поверхности.
Ширина очистки должна быть достаточной для осмотра всех участков сварного соединения и измерения геометрических параметров шва.
8.1.3 Качество сварных соединений следует проверять методами по
ГОСТ 3242.
8.1.4 Сварные соединения подлежат осмотру и измерениям до проведения их контроля неразрушающими методами по
ГОСТ 3242. Для визуального контроля соединений, выполненных сваркой плавлением, применяют
ГОСТ Р ИСО 17637.
Контроль сварных соединений, недоступных для осмотра после окончательной сварки конструкции, необходимо проводить до установки деталей, закрывающих эти соединения.
8.1.5 При осмотре сварных соединений могут быть использованы оптические приборы с увеличением необходимой кратности.
В местах ограниченной доступности для внешнего осмотра используют зеркала, эндоскопы и другие устройства.
8.1.6 В случаях, предусмотренных конструкторской или технологической документацией, качество сварных соединений проверяют на контрольных соединениях разрушающими методами:
8.1.7 Сведения о сварщиках, выполнявших сварку конструкций (фамилия, номер удостоверения или клейма), результаты контроля и приемки сварных соединений классов эксплуатации сварного шва CP A, CP B, CP C1, CP C2 следует вносить в сопроводительную документацию или журнал сварочных работ.
Сварные соединения классов эксплуатации сварного шва CP A, CP B, CP C1 подлежат клеймению личным клеймом сварщика.
8.2 Требования к качеству соединений при сварке плавлением (за исключением лучевой сварки) в зависимости от класса эксплуатации сварного шва
8.2.1 Классификация, обозначение и определения дефектов сварных швов должны соответствовать
ГОСТ Р ИСО 6520-1.
8.2.2 Уровни качества сварных швов (наличие или отсутствие дефектов) указаны в
таблице 18.
Таблица 18
Дефекты в сварных соединениях из алюминиевых сплавов
в зависимости от класса эксплуатации сварного шва
| Класс эксплуатации сварного шва |
CPA | CP B | CP C1/CP C2 |
| B | B | C |
| Недопустим | Недопустим | Недопустим |
1.6, 1.10, 1.11, 1.14, 1.16, 1.18, 2.2, 2.4, 2.5, 2.7 до 2.9, 3.1 | Недопустим | B | C |
| Неприменим | B | C |
| Этот дефект не оценивается |
Допустимые без исправления дефекты сварки плавлением не должны превышать значений, установленных
ГОСТ Р ИСО 10042 для уровней качества B, C, соответствующих классам эксплуатации сварных швов CP A, CP B, CP C1 и CP C2.
8.3 Требования к качеству соединений точечной и шовной контактной сварки классов эксплуатации CP C1 и CP C2
8.3.1 Классификация, обозначение и определения дефектов сварных швов должны соответствовать
ГОСТ Р ИСО 6520-2.
8.3.2 Требования к качеству соединений точечной и шовной контактной сварки приведены в
таблице 19 для швов классов эксплуатации CP C1 и CP C2.
Таблица 19
Требования к качеству соединений контактной сварки
Тек. N | | Требования | Класс эксплуатации сварного шва CP C1 и CP C2 |
Требования к качеству общие |
1 | Нет | | |
2 | Нет | Вид сварочного станка | Сварочные станки с автоматическим управлением циклом работы и контролем процесса |
3 | Нет | Область применения | Несущие элементы железнодорожных транспортных средств |
4 | Нет | Допустимое соотношение толщин деталей | t2 : t1 <= 3 : 1 Другие соотношения толщин деталей и сварка более чем двух листов должны быть согласованы с заказчиком |
5 | Нет | Минимальные усилия на срез | |
6 | Нет | Свойства поверхности отдельных частей | Поверхности соединяемых деталей в месте сварки должны быть очищены от окалины, ржавчины, краски, пыли, жира и прочих загрязнений. Дополнительно для обработки поверхности можно использовать пленки, покрытия, средства защиты от коррозии, герметики и клеи, если подтверждена их совместимость с методом сварки |
Требования к качеству, проверка внешней структуры |
7 | | Трещины | Недопустимо |
8 | | Поры. Пористость с единичным распределением. Локальная пористость | Недопустимо |
9 | | Брызги металла. Выдавливание материала | Допустимо при согласовании между сторонами договора |
10 | | Поверхностные дефекты | |
11 | | Сквозное проплавление сварной точки | Недопустимо |
12 | | Налипание материала электрода | Недопустимо |
Требования к качеству, проверка внутренней структуры |
13 | | Недостаточная глубина проникновения ядра сварной точки | Минимум 30%, максимум 90% толщины отдельных листов |
14 | | Трещины | Для процессов 21 и 22 допустимо в средней половине диаметра ядра сварной точки (максимальный полудиаметр) |
15 | | Поры. Твердые включения | Для процесса 21 допустимо в средней половине диаметра ядра сварной точки |
16 | | Пористость с равномерным распределением. | |
| Ограниченная пористость |
17 | | Дефекты сплавления. Отсутствие сплавления | Недопустимо |
18 | | Чрезмерные зазоры | В непосредственной близи от сварного соединения: h <= 0,1 (t1 + t2) |
Проверка, испытания и документация |
19 | Нет | | 100% |
20 | Нет | Изготовление упрощенного образца для оценки качества работы <3> | - ежедневно перед началом работы; - при смене WPS; - при изменении инструмента |
21 | Нет | Изготовление нормального образца для оценки качества работы <4> | - для подтверждения WPS; - для контроля качества сварки через регулярные интервалы в зависимости от объемов сварочных работ, сварочного оборудования и класса эксплуатации сварного шва |
22 | Нет | Документация | Контроль выполнения технологического процесса 100% |
<1> A - площадь дефекта, d - размеры отдельных дефектов (например, длина, ширина, диаметр). <2> Проверка полноты выполнения сварочных работ и внешний осмотр без вспомогательных оптических инструментов. <3> Контроль поверхности контактных роликов. Испытание на отрыв. <4> Для процесса 21: испытание на растяжение согласно ГОСТ Р ИСО 15614-12 с оценкой макрошлифа. Для процесса 22: испытание на растяжение согласно ГОСТ Р ИСО 15614-12 с оценкой макрошлифа. |
8.3.3 Недопустимо использование точечной и шовной контактной сварки для классов эксплуатации сварного шва CP A и CP B.
8.3.4 Качество сварных соединений, выполненных точечной контактной сваркой, необходимо проверять на образцах технологической пробы с определением диаметра литого ядра.
8.3.5 В сварных соединениях, выполняемых точечной контактной сваркой, не допускаются без исправления точки с непроварами, прожогами, трещинами, порами и усадочными раковинами в центре точки, превышающими в сумме 10% площади литого ядра, вмятинами от электродов глубиной более 25% толщины свариваемых деталей, отклонениями от оси расположения точки и расстояния между центрами соседних точек в ряду на величину более диаметра ядра.
8.3.6 В сварных соединениях, выполняемых шовной контактной сваркой, не допускаются непровары, прожоги и негерметичность соединений.
8.4 Требования к качеству соединений, выполненных сваркой трением с перемешиванием
8.4.1 Перечень и состав требований установлены в ГОСТ ISO 25239-5. Классификация, обозначение и определения дефектов сварных швов должны соответствовать
ГОСТ Р ИСО 6520-1.
8.4.2 Ограничения на дефекты приведены в
таблице 20.
Таблица 20
Дефекты, исследование, контроль и допустимые ограничения
Наименование дефекта | Изображение или описание дефекта | Исследование и контроль | Ограничения на дефекты | |
Дефекты поверхности |
Непровар | | ME | Не допускается | Нет (см. ГОСТ ISO 25239-1) |
Превышение проплава | | VT, ME | h <= 3 мм | |
Грат | | VT, ME | Не допускается | Нет (см. ГОСТ ISO 25239-1) |
Линейное смещение свариваемых кромок | | VT, ME | h <= 0,2t или 2 мм (что меньше) | |
Неполное заполнение | | VT, ME | h <= 0,2 мм + 0,1t при t >= 2 мм: h <= 0,15t при t < 2 мм | Нет (см. ГОСТ ISO 25239-1) |
Неравномерная ширина шва | Избыточное изменение ширины сварного шва | VT | | |
Неровная поверхность шва | Избыточная шероховатость поверхности | VT | | |
Неправильные размеры сварного шва | Отклонение размеров шва от нормативных | VT | | |
Внутренние дефекты |
Полость | | ME | d <= 0,2s или 4 мм (что меньше) | |
Крюк | | ME | | Нет (см. ГОСТ ISO 25239-1) |
<*> Приемочные уровни устанавливают по техническим условиям на сварную конструкцию. Примечание - В таблице 20 применены следующие условные обозначения: d - максимальный размер полости в поперечном сечении, мм; h - высота дефекта, мм; s - номинальная толщина стыкового шва (провар), мм; t - номинальная толщина основного материала, мм. |
8.4.4 Вместо радиографического контроля может быть выполнено ультразвуковое испытание, если оно предусмотрено техническими условиями на конструкцию.
9 Исправление дефектов сварных соединений
9.1 Сварные соединения конструкций кузовов железнодорожного подвижного состава, не отвечающие требованиям к качеству, подлежат исправлению в пределах их восстановления, но не модернизации.
9.2 Ремонтные работы (исправление дефектов) сварных швов на деталях, сварных узлах и полуфабрикатах, выполненных СТП, проводят с применением этого же процесса.
На конструкции к дефектному участку, где возможен доступ инструмента для выполнения СТП, применяют этот процесс, в остальных случаях для ремонта используют дуговую сварку неплавящимся/плавящимся электродом.
9.3 Дефектные участки швов, выполненных способом сварки плавлением, следует удалять полностью или разделывать до полного удаления дефектов. Концы разделок должны иметь плавный выход на поверхность. Формы разделки и способы подготовки кромок под заварку приведены в
приложении Ж.
9.4 Для удаления дефектов и подготовки кромок под заварку следует использовать механические фрезы.
Примечания
1 Допускается использование лепестковых кругов (абразивных).
2 Поверхности, обработанные абразивным инструментом, необходимо зачистить металлической щеткой с ворсом из нержавеющей стали.
9.5 Наплывы, натеки, неправильный профиль швов, превышение выпуклости и проплава, ожоги от замыкания электродов устраняют обработкой механическими способами.
9.6 Участки швов с неполным заполнением разделки кромок, вогнутостью корня шва, малыми размерами катета углового шва подваривают.
9.7 Подготовленный к ремонту дефектный участок должен быть осмотрен и допущен к заварке службой технического контроля.
Применение дуговой сварки металлическими стержневыми электродами (
процесс 111, ГОСТ Р ИСО 4063) при изготовлении и ремонте конструкций кузовов железнодорожного подвижного состава не допускается.
9.9 Исправление сваркой дефектов в одном месте допускается не более двух раз.
9.10 Исправление дефектов точечной контактной сварки следует проводить точечной контактной сваркой, точечной дуговой сваркой или дуговой сваркой прерывистыми угловыми швами. Количество дефектных точек (длина швов) не должно превышать 25% от общего количества точек (длины швов) на сборочной единице.
9.11 Исправление дефектов в виде непроваров, каналов, микротрещин СТП следует проводить по типовой или специальной технологической документации или технологическому указанию. При суммарной длине указанных дефектов протяженностью свыше 30% общей длины сварного шва допускается 100%-ная переварка сварного шва. Переварку зон дефектов, расположенных на границе сварного соединения, следует выполнять инструментом, имеющим диаметр рабочего стержня и опорного бурта от 15% до 20% больше базовых. Грат, наплывы с лицевой стороны, отдельные задиры, резкий переход шва к основному металлу на лицевой поверхности шва допускается устранять механической зачисткой, не выводя толщину металла и глубину занижения шва за пределы установленного допуска. Дефекты в виде непроваров в корне сварного шва допускается устранять механической зачисткой корневого усиления "заподлицо" без врезания в основной металл. Допускается устранение задиров с лицевой поверхности шва производить СТП и внедрением рабочего стержня в шов дефектного участка на глубину не более 20% от минимальной толщины свариваемых деталей. Дефект в виде кратера следует устранять установкой пробки из того же материала, что и свариваемый металл, и последующей переваркой СТП данного участка инструментом, имеющим диаметр рабочего стержня и опорного бурта от 15% до 20% больше базовых. Исправление дефектов по количеству и размерам, превышающим нормы, установленные настоящим стандартом, не допускается.
9.12 При ремонтной сварке отдельных повреждений сварных соединений классов эксплуатации CP B и CP C1 эти соединения должны быть подвергнуты 100%-ному контролю методами "RT", "UT" или "PT" и задокументированы службой технического контроля.
9.13 Исправленный участок шва должен быть подвергнут контролю методами, предусмотренными
таблицей 9.
10 Требования безопасности и охраны труда
10.2 Производственные помещения, предназначенные для выполнения сварочных работ, должны быть оборудованы вентиляцией и отоплением в соответствии с требованиями санитарно-эпидемиологических
правил и нормативов [4],
норм проектирования освещения
[5].
Рабочие места в помещениях должны быть обеспечены местной и цеховой воздухообменной вентиляцией.
10.3 Работы, связанные с применением сжатых и горючих газов, должны соответствовать
правилам по охране труда при электро- и газосварочных работах
[6]. При выполнении сварочных работ должны быть соблюдены противопожарные мероприятия в соответствии с требованиями
ГОСТ 12.1.004.
10.4 К выполнению сварки допускаются лица, прошедшие обучение профессии, инструктаж и проверку знаний требований по охране труда, имеющие квалификационную группу по электробезопасности не ниже II по межотраслевым
правилам по охране труда при эксплуатации электроустановок
[7] и имеющие соответствующее удостоверение.
(справочное)
ПРИМЕНЕНИЕ ЕВРОПЕЙСКИХ ПОЛУФАБРИКАТОВ
А.1 В железнодорожном машиностроении применяют алюминиевые полуфабрикаты в качестве основных материалов.
А.2 Системы легирования, обозначения основного материала, состав, свариваемость и производимые полуфабрикаты приведены в
таблице А.1.
Таблица А.1
Обозначения основного материала, составы, свариваемость
и производимые полуфабрикаты
Система легирования | Обозначения основного материала (марки) | Составы по основным компонентам <*>, % | Свариваемость | Полуфабрикаты |
Дуговая | Контактная | лист | лента | плита | отливка | поковка | пруток | профиль | труба | панель |
Сплавы термически не упрочняемые |
Al-Mg | EN AW-5754 | Al; (2,6 - 3,6)Mg | А | А | + | + | + | - | + | - | - | - | - |
EN AW-5083 | Al; (4,0 - 4,9)Mg; (0,40 - 1,0)Mn | А | А | + | + | + | - | + | - | - | - | - |
EN AC-51300 | Al; (4,5 - 6,5)Mg; 0,45Mn | А | А | - | - | - | + | - | - | - | - | - |
Сплавы термически упрочняемые |
Al-Mg-Si | EN AW-6005A | Al; (0,4 - 0,7)Mg; (0,5 - 0,9)Si | Б | Б | - | - | - | - | + | - | + | + | + |
EN AW-6060 | Al; (0,35 - 0,6)Mg; (0,30 - 0,6)Si | Б | Б | - | - | - | - | - | + | + | + | - |
EN AW-6082 | Al; (0,6 - 1,2)Mg; (0,7 - 1,3)Si | Б | Б | + | + | + | - | + | + | + | + | - |
EN AC-42000 | Al; (0,20 - 0,65)Mg; (6,5 - 7,5)Si | Б | Б | - | - | - | + | - | - | - | - | - |
EN AC-43300 | Al; (0,25 - 0,45)Mg; (9,0 - 10,0)Si | Б | Б | - | - | - | + | - | - | - | - | - |
<*> Параметры для справок. Для деформируемых алюминиевых сплавов полные химические составы марок приведены в ГОСТ 4784. Примечания 1 Свариваемости: А - свариваемость хорошая; Б - свариваемость удовлетворительная, требуется разработка специальной технологии. 2 Типы полуфабрикатов: применяемые/неиспользуемые: +/-. |
(справочное)
МЕХАНИЧЕСКИЕ СВОЙСТВА ЕВРОПЕЙСКИХ ПОЛУФАБРИКАТОВ
Механические свойства катаных и прессованных алюминиевых полуфабрикатов и их сварных соединений должны соответствовать при испытании на растяжение нормам, указанным в
таблице Б.1.
Таблица Б.1
Обозначения полуфабрикатов в состоянии поставки, их толщины
или размеры прутков и механические свойства
Обозначение полуфабрикатов | Толщина ленты, листа, плиты, мм | Механические свойства (не менее) | Примечание |
Основной материал | Сварное соединение |
Временное сопротивление разрыву,  , МПа | Предел текучести,  , МПа | Относительное удлинение | Временное сопротивление разрыву,  , МПа | Предел текучести,  , МПа |
 , % |  , % |
Сортамент для листов, лент и плит |
EN AW-5754-Н111 | 1,5 - 3,0 | 190 | 80 | 16 | - | 180 | 80 | Необходимо принимать во внимание снижение прочности в состояниях Н112, Н12 и Н22 полуфабрикатов в зонах термического влияния шва (далее - ЗТВ). Полуфабрикаты обладают хорошей химической стойкостью и способностью к холодному деформированию в состоянии Н111, Н112 и Н22 |
3,0 - 6,0 | 18 | - |
6,0 - 12,5 | 18 | - |
EN AW-5754-Н112 | 6,0 - 12,5 | 210 | 140 | 12 | - |
12,5 - 25,0 | 200 | 120 | - | 10 |
EN AW-5754-Н12 | 1,5 - 3,0 | 220 | 170 | 6 | - |
3,0 - 6,0 | 7 | - |
EN AW-5754-Н22 | 1,5 - 3,0 | 220 | 130 | 10 | - |
3,0 - 6,0 | 11 | - |
EN AW-5083-Н111 | 1,5 - 3,0 | 275 | 125 | 13 | - | 270 | 125 | Необходимо учитывать снижение прочности в состоянии Н22 полуфабрикатов в ЗТВ. Полуфабрикаты обладают хорошей химической и коррозионной стойкостью и хорошо поддаются холодной обработке давлением в состоянии Н111 |
3,0 - 6,0 | 15 | - |
6,0 - 12,5 | 16 | - |
12,5 - 50,0 | - | 15 |
EN AW-5083-Н22 | 1,5 - 3,0 | 305 | 215 | 7 | - | 270 | 125 |
3,0 - 6,0 | 8 | - |
6,0 - 12,5 | 10 | - |
12,5 - 40,0 | - | 9 |
EN AW-6082-Т6 (лист) | 1,5 - 3,0 | 310 | 260 | 7 | - | 185 | 125 | Полуфабрикаты предназначены для высоконагруженных конструкций. Происходит снижение прочности после сварки в ЗТВ. Ограниченно допускается холодное деформирование |
3,0 - 6,0 | 10 | - |
6,0 - 12,5 | 305 | 255 | 9 | - |
Сортамент для прессованных профилей |
(сплошной) | | 270 | 225 | 6 | - | 165 | 115 | Материалы EN AW-6005A и EN AW-6082 хорошо, экструзионно прессуются, из них изготавливают многокамерные полые профили с малой толщиной стенки. Они предназначены для деталей с высокой нагрузкой, например изготовления кузова вагона. Следует учитывать снижение прочности в ЗТВ. Полуфабрикаты EN AW-6060 предназначены для деталей с низкой нагрузкой, прежде всего для деталей с декоративным анодированием |
| 260 | 215 | 6 | - |
| 250 | 200 | 6 | 8 |
(полый) | | 255 | 215 | 6 | - | 165 | 115 |
| 250 | 200 | 6 | 8 |
| | 215 | 160 | 6 | - | 110 | 65 |
| 195 | 150 | 6 | 8 |
EN AW-6082-Т6 | | 290 | 250 | 6 | - | 185 | 125 |
| 310 | 260 | 8 | 10 |
Сортамент для прессованных труб |
| | 270 | 225 | 6 | - | 165 | 115 | Полуфабрикаты EN AW-6005A и EN AW-6082 предназначены для деталей с высокой нагрузкой, например кузова вагона. Для деталей с низкой нагрузкой, прежде всего для деталей с декоративным анодированием, применяют EN AW-6060. Следует учитывать снижение прочности в ЗТВ |
| 260 | 215 | 6 | - |
| | 215 | 160 | 6 | 8 | 110 | 65 |
| | 290 | 250 | 6 | - | 185 | 125 |
| 310 | 260 | 8 | 10 |
Сортамент для прессованных прутков |
| | 215 | 160 | 6 | 8 | 110 | 65 | Требования примечания аналогичны требованиям для прессованных труб |
| | 295 | 250 | 6 | 8 | 185 | 125 |
| 310 | 260 | - | 8 |
<*> Прочностные характеристики достигаются путем охлаждения на прессе. <**> Если сечение профиля составляется из разных толщин, у которых различные параметры прочностных характеристик, то применяют самые низкие параметры для всего сечения профиля. <***> Диаметр прутка, толщина прямоугольного прутка, длина стороны квадратного прутка. Примечание - Обозначения состояния материала полуфабрикатов: - Н111, Н112 - нагартован Н1, вторая цифра - показатель прочностной характеристики, третья цифра - контроль механических свойств; - Н12 - нагартован Н1, вторая цифра - показатель прочностной характеристики; - Н22 - нагартован и отожжен Н2, вторая цифра - показатель прочностной характеристики; - Т66 - закалка с искусственным старением на максимальную прочность Т6 со специальным контролем процесса. |
(справочное)
ПРИМЕНЕНИЕ ЕВРОПЕЙСКИХ СВАРОЧНЫХ ПРОВОЛОК
В железнодорожном машиностроении применяют сварочные проволоки. Характеристики проволок приведены в
таблице В.1.
Таблица В.1
Рекомендации подбора сварочной проволоки для сварки
плавлением алюминиевых сплавов (основных материалов)
Основные материалы | |
Группа | Подгруппа | Обозначение | Обозначение | Составы по основным компонентам <*>, % (тип сплава) | Предел текучести при растяжении  , МПа | Временное сопротивление разрыву,  , МПа | Относительное удлинение  , % |
Сплавы термически не упрочняемые |
| | Алюминиево-магниевые сплавы с содержанием 1,5% < Mg <= 3,5% |
EN AW-5754 | S Al 5087 | AlMg4,5MnZr | 140 | 285 | 18 |
S Al 5183 | AlMg4,5Mn0,7(A) | 130 | 275 | 18 |
S Al 5356A | AlMg5Cr(A) | 150 | 300 | 25 |
| Алюминиево-магниевые сплавы с содержанием Mg > 3,5% |
EN AW-5083 EN AC-51300 | S Al 5554 | AlMg2,7Mn | 110 | 230 | 17 |
S Al 5087 | См. строкой выше |
Сплавы термически упрочняемые |
| | Алюминиево-магниево-кремниевые сплавы |
EN AW-6005A, EN AW-6060, EN AW-6082 | S Al 5087 | См. строкой выше |
S Al 5183 | См. строкой выше |
S Al 5556A | AlMg5Mn | 150 | 300 | 25 |
S Al 4043 | AlSi5(A) | 40 | 120 | 8 |
| | Алюминиево-кремниево-магниевые сплавы с содержанием Cu <= 1%; 5% < Si <= 15% и 0,1% < Mg <= 0,8% |
EN AC-42000, EN AC-43300 | S Al 4043 | AlSi5(A) | 40 | 120 | 8 |
S Al 4047 | AlSi12(A) | 60 | 130 | 5 |
<*> Параметры для справок. <**> Приведены минимальные значения механических свойств наплавленного металла для процессов 15, 131, 141 по ГОСТ Р ИСО 4063. Примечания 1 В таблице приведены сварочные проволоки, применяемые для дуговой сварки катаных и прессованных полуфабрикатов и отливок. 2 Материалы групп 22 - 23 относят к деформируемым сплавам. 3 Для сварочных проволок указанного обозначения должны быть разработаны технические условия по ГОСТ 2.114, согласованные с заказчиком и производителем подвижного состава. |
(справочное)
В
таблице Г.1 приведены требования к подготовке соединений, расчет толщины сварных швов железнодорожных транспортных средств и сопоставление со швами по
ГОСТ 14806.
Таблица Г.1
Подготовка соединений и толщины сварных швов
| | |
N | Наименование | Графическое изображение | Символ | Подготовка кромок в разрезе | Размеры | Проектная толщина шва aR, мм |
Стыковое соединение |
| Шов односторонний без скоса кромок (I-шов односторонний) | | | | t <= 4 мм | aR = t | | |
b = 0 - 2 мм |
| Шов односторонний без скоса кромок (I-шов односторонний на съемной подкладке) | | | | t <= 6 мм | aR = t | | |
b = 0 - 3 мм |
| Шов двухсторонний без скоса кромок (I-шов двухсторонний) | | | | t = 3 - 6 мм | aR = t | | |
b = 0 - 2 мм |
| Шов односторонний с V-образным скосом кромок (V-шов односторонний) | | | | t = 3 - 15 мм | aR = t | | |
b = 0 - 2 мм |
c = 0 - 2 мм |
|
| Шов односторонний с V-образным скосом кромок на съемной подкладке (V-шов на съемной подкладке) | | | | t = 3 - 15 мм | aR = t | | |
b = 0 - 4 мм |
c = 0 - 2 мм |
|
| V-шов с корневым или подварочным швом <1> | | | | t = 3 - 15 мм | aR = t | | |
c = 0 - 2 мм |
|
| V-шов с крутым скосом кромок на остающейся подкладке (HV-шов на остающейся подкладке) | | | | t = 8 - 20 мм | aR = t | | С 19, не является полным аналогом |
b = 4 - 10 мм |
|
| HV-шов односторонний со скосом одной кромки <2> | | | | t = 3 - 15 мм | aR = t | | |
b = 0 - 2 мм |
c = 1 - 2 мм |
|
| HV-шов со скосом одной кромки на съемной подкладке | | | | t = 3 - 15 мм | aR = t | | |
b = 0 - 4 мм |
c = 1 - 2 мм |
|
| HV-шов со скосом одной кромки и корневым или подварочным швом <1> | | | | t = 3 - 15 мм | aR = t | | |
b = 0 - 2 мм |
c = 1 - 2 мм |
|
| HV-шов с крутым скосом кромки на остающейся подкладке | | | | t = 8 - 20 мм | aR = t | | С 10, не является полным аналогом |
b = 4 - 10 мм |
|
| Шов односторонний с V-образным скосом, притуплением кромок (Y-шов) | | | | t = 3 - 15 мм | aR <= t - c | | С 17, не является полным аналогом |
h >= 0,8 t |
c = <= 0,2 t |
|
| Y-шов с корневым или подварочным швом <3> | | | | t = 3 - 15 мм | aR <= t - c | | С 21, не является полным аналогом |
c = <= 0,2 t |
h >= 0,8 t |
|
| HY-шов с V-образным скосом кромки и притуплением | | | | t = 3 - 15 мм | aR <= t - c | | С 8, не является полным аналогом |
c = <= 0,2 t |
h >= 0,8 t |
|
| HY-шов с V-образным скосом кромки, притуплением, корневым или подварочным швом | | | | t = 3 - 15 мм | aR <= t - c | | С 12, не является полным аналогом |
c <= 0,2 t |
h >= 0,8 t |
|
| Шов двухсторонний V-образный (DV-шов) <1> | | | | t >= 12 мм | aR = t | | |
b = 0 - 3 мм |
c = 1 - 2 мм |
h1/2 = 1/3 t - 1/2 t |
|
|
| Шов двухсторонний с двумя скосами одной кромки (DHV-шов) <1> | | | | t >= 12 мм | aR = t | | |
b = 0 - 2 мм |
c = 1 - 2 мм |
h1/2 = 1/3 t - 1/2 t |
|
| DY-шов (двойной Y-шов) | | | | t >= 12 мм | aR <= t - c | | С 25, не является полным аналогом |
c <= 0,2t |
h1 >= 0,4t |
|
| DHY-шов (двойной HY-шов) | | | | t >= 12 мм | aR <= t - c | | С 15, не является полным аналогом |
b = 0 - 2 мм |
c = <= 0,2t |
h1 >= 0,4t |
h2 >= 0,4t |
|
Тавровое соединение |
| | | | | t = 3 - 15 мм | aR = t1 | | |
b = 1 - 3 мм |
c = 0 - 2 мм |
|
| HV-шов с угловым швом <2> в качестве подварочного шва | | | | t = 3 - 15 мм | aR = t1 | | |
b = 0 - 3 мм |
c = 0 - 2 мм |
|
| HV-шов с дополнительным угловым швом <2> | | | | t = 3 - 15 мм | aR = t1 | | |
| HV-шов с подварочным швом <1> | | | | t1 = 3 - 15 мм | aR = t1 | | |
t2 = 3 - 15 мм |
c = 0 - 2 мм |
|
| HV-шов на съемной подкладке <2> | | | | t = 3 - 20 мм | aR = t1 | | Нет аналога |
b = 0 - 5 мм |
c = 0 - 2 мм |
|
| HY-шов | | | | t1 = 3 - 15 мм | aR <= t1 - c | | Т 7, не является полным аналогом |
t2 = 3 - 15 мм |
c <= 0,2 t |
|
| HY-шов с угловым швом в качестве подварочного <1> | | | | t1 = 3 - 15 мм | aR <= h + a <= t1 | | Т 7, не является полным аналогом |
t2 = 3 - 15 мм |
c <= 0,2t |
|
| HY-шов с дополнительным угловым швом | | | | t1 = 3 - 15 мм | aR <= h <= t1 В особых случаях: aR <= h + a <= t1 | | Т 2, не является полным аналогом |
t2 = 3 - 15 мм |
c <= 0,2 t |
|
Соединение трех листов |
| Шов для соединения трех листов (V-шов с малым углом разделки кромок) | | | | t1 = 4 - 20 мм | | | Нет аналога |
t2 = 4 - 20 мм |
t3 = 4 - 20 мм |
b = 4 - 10 мм |
|
Тавровое соединение |
| Угловой шов односторонний | | | | t1 = 3 - 12 мм | aR = a <= 0,7tmin | | |
t2 = 3 - 12 мм |
| Угловой шов двухсторонний | | | | t1 = 3 - 12 мм | aR = a1 + a2 <= tmin | | |
t2 = 3 - 12 мм | amax = <= 0,7tmin |
Угловое соединение |
| Угловой шов без скоса кромок односторонний | | | | t1 = >= 1 мм | aR = a <= 0,7t1 | | |
t2 = >= 1 мм |
c = 0 - 2 мм | t2 <= t1 |
| Угловой шов без скоса кромок двухсторонний | | | | t2 = >= 3 мм | a1 <= 0,7t2 t2 <= t1 | | |
Нахлесточное соединение |
| Угловой шов нахлесточного соединения | | | | t1 = >= 3 мм | aR = a <= 0,7t2 | | |
t2 = >= 1,5 мм | t2 <= t1 |
<1> Перед выполнением подварочного шва необходимо обработать корень шва. <2> Для HV-швов без подварочного шва на этапах конструирования, изготовления и контроля должны быть приняты меры для обеспечения полного проплавления (выполнение образца для оценки качества работы в предпроизводственных испытаниях технологии). <3> Подварочный шов служит для защиты от коррозии. <4> Передача силового воздействия от t1 к t2 и t3; толщины t2 и t3, а также зазор b необходимо учитывать при расчете. <5> Передача силового воздействия от t2 к t3. Примечание - Возможно отклонение от указанных разделок кромок сварных швов, если применяемые специальные сварочные процессы (например, механизированные сварочные процессы) были подтверждены с помощью образца для оценки качества. |
(обязательное)
ПРОЕКТИРОВАНИЕ СВАРНЫХ СОЕДИНЕНИЙ С СОПРОТИВЛЕНИЕМ УСТАЛОСТИ
НА БАЗЕ 107 ЦИКЛОВ И УЧЕТОМ КОЭФФИЦИЕНТА ЧУВСТВИТЕЛЬНОСТИ
К КОНЦЕНТРАЦИИ НАПРЯЖЕНИЙ
МАТЕРИАЛА
ПОД ВОЗДЕЙСТВИЕМ НОМИНАЛЬНЫХ НОРМАЛЬНЫХ НАПРЯЖЕНИЙ,
БЕЗ ОБРАБОТКИ ПОВЕРХНОСТИ ШВОВ
Д.1 Сварные стыковые и тавровые соединения с классами контроля и эксплуатации приведены в
таблицах Д.1.1 -
Д.1.5.
Таблица Д.1.1
Стыковые соединения с нагрузкой вдоль шва
N показателя | Конструкция соединения и тип шва | Метод и объем контроля | Класс эксплуатации сварного шва | Используемые в расчете пределы выносливости,  , МПа |
Изображение/двойной стрелкой/указан изгибающий момент | Описание | Тип шва | |
1.1.1 | | Двухстороннее с полным проваром и одностороннее с полным проваром корня | V-шов с корневым проходом. HV-шов с корневым проходом. DV-шов. DHV-шов. | | RT/UT 100% | CP A | 36 |
1.1.2 | RT/UT 10% | CP B CP C1 | 32 |
1.1.3 | VT | CP C2 | 26 |
1.1.4 | Двухстороннее с полным проваром <1> | | | RT/UT 10% | CP B CP C1 | 32 |
1.1.5 | VT | CP C2 | 26 |
1.1.6 | | Одностороннее с полным проваром на съемной подкладке <2> | V-шов с малым углом разделки кромок на подкладке. HV-шов на подкладке. V-шов половинный с малым углом разделки кромки на подкладке | | RT/UT 100% | CP A | 32 |
1.1.7 | RT/UT 10% | CP B CP C1 | 29 |
1.1.8 | VT | CP C2 | 26 |
1.1.9 | Одностороннее с полным проваром на остающейся подкладке <2> | RT/UT 100% | CP A | 29 |
1.1.10 | RT/UT 10% | CP B CP C2 | 26 |
1.1.11 | VT | CP C2 | 25 |
1.1.12 | | Одностороннее с полным проваром на весу | V-шов. HV-шов | | RT/UT 100% | CP A | 29 |
1.1.13 | RT/UT 10% | CP B CP C1 | 26 |
1.1.14 | VT | CP C2 | 25 |
1.1.15 | | Двухстороннее без полного провара <3> | DY-шов. DHY-шов. Y-шов с корневым проходом. HY-шов с корневым проходом | | VT | CP C2 | 20 |
<1> Толщина шва <= 6 мм, смещение кромок <= 0,1 t, предпроизводственные испытания сварки обязательны. <3> Не предназначен для многоцикловой нагрузки. |
Таблица Д.1.2
Стыковые соединения с нагрузкой поперек шва
N показателя | Конструкция соединения и шва | | Метод и объем контроля | Класс эксплуатации сварного шва | Используемые в расчете пределы выносливости,  , МПа |
Изображение/двойной стрелкой/указан изгибающий момент | Описание | Тип шва |
1.2.1 | | Двухстороннее с полным проваром и одностороннее с полным проваром корня | V-шов HV-шов DV-шов DHV-шов | | RT/UT 100% | CP A | 30 |
1.2.2 | RT/UT 10% | CP B CP C1 | 29 |
1.2.3 | VT | CP C2 | 26 |
1.2.4 | Двухстороннее с полным проваром <1> | | | RT/UT 100% | CP A | 30 |
1.2.5 | RT/UT 10% | CP B CP C1 | 29 |
1.2.6 | VT | CP C2 | 26 |
1.2.7 | | Одностороннее с полным проваром на съемной подкладке <2> или WIG-проваром корня шва <4> | V-шов | | RT/UT 100% | CP A | 30 |
1.2.8 | RT/UT 10% | CP B CP C1 | 29 |
1.2.9 | VT | CP C2 | 26 |
1.2.10 | Одностороннее с полным проваром на остающейся подкладке <2> | I-шов V-шов HV-шов | RT/UT 100% | CP A | 28 |
1.2.11 | RT/UT 10% | CP B CP C1 | 27 |
1.2.12 | VT | CP C2 | 25 |
1.2.13 | | Одностороннее с полным проваром на весу | V-шов HV-шов | | RT/UT 100% | CP A | 27 |
1.2.14 | RT/UT 10% | CP B CP C1 | 26 |
1.2.15 | | | VT | CP C2 | 25 |
1.2.16 | | | VT | CP A | 9 |
1.2.17 | | Двухстороннее без полного провара в двух положениях <3> | DY-шов DHY-шов Y-шов с корневым проходом HY-шов с корневым проходом | | VT | CP C2 | 9 |
<1> Толщина шва <= 6 мм, смещение кромок <= 0,1 t, предпроизводственные испытания сварки обязательны. <3> Относится к непровару в корне шва. <4> Заварка корня шва возможна и с помощью других способов, если качество исполнения шва соответствует дуговой сварке вольфрамовым электродом в среде инертного газа. <6> Визуальной проверки недостаточно, чтобы утверждать, что шов безупречно проварен. |
Таблица Д.1.3
Тавровые соединения с нагрузкой вдоль шва
N показателя | Конструкция соединения и шва | | Метод и объем контроля | Класс эксплуатации сварного шва | Используемые в расчете пределы выносливости,  , МПа |
Изображение/двойной стрелкой/указан изгибающий момент | Описание | Тип шва |
| | Двустороннее с полным проплавлением | DHV-шов HV-шов с угловым швом в качестве подварочного HV-шов с угловым швом | | RT/UT 100% | CP A | 33 |
1.3.2 | RT/UT 10% | CP B CP C1 | 32 |
1.3.3 | VT | CP C2 | 30 |
| | Одностороннее с полным проплавлением | HV-шов HV-шов с накладным угловым швом HV-шов с подкладкой | | RT/UT 100% | CP A | 32 |
1.3.5 | RT/UT 10% | CP B CP C1 | 29 |
1.3.6 | VT | CP C2 | 26 |
1.3.7 | | Двустороннее с неполным проплавлением | DHY-шов HY-шов с угловым швом в качестве подварочного Двусторонний угловой шов | | PT 10% | CP B CP C1 | 32 |
1.3.8 | VT | CP C2 | 28 |
1.3.9 | | Одностороннее с неполным проплавлением | HY-шов с накладным угловым швом | | VT | CP C2 | 27 |
1.3.10 | | Одностороннее с неполным проплавлением | Односторонний шов таврового соединения без скоса кромок | | VT | CP C2 | 23 |
<*> HV-шов без подварочного прохода с гарантированным проплавлением корня, выявленным предпроизводственными испытаниями сварки. Следует избегать растягивающих напряжений в шве при циклической нагрузке из-за корневого концентратора. |
Таблица Д.1.4
Тавровые соединения с нагрузкой на полку поперек шва
N показателя | Конструкция соединения и шва | | Метод и объем контроля | Класс эксплуатации сварного шва | Используемые в расчете пределы выносливости,  , МПа | Область концентрации напряжений |
Изображение/двойной стрелкой/указан изгибающий момент | Описание | Тип шва |
| | Двустороннее с полным проплавлением корневым проходом | DHV-шов HV-шов с угловым швом в качестве корневого прохода HV-шов с подкладкой | | RT/UT 100% | CP A | 22 | Трещина при переходе от шва к основному металлу |
1.4.2 | RT/UT 10% | CP B CP C1 | 21 |
1.4.3 | VT | CP C2 | 20 |
| | Одностороннее с полным проплавлением | DHV-шов HV-шов с угловым швом в качестве корневого прохода HV-шов на весу | | RT/UT 100% | CP A | 20 | Трещина при переходе от шва к основному металлу или в корне шва |
1.4.5 | RT/UT 10% | CP B CP C1 | 19 |
1.4.6 | VT | CP C2 | 19 |
1.4.7 | | Двухстороннее с неполным проплавлением | DHV-шов HV-шов с угловым швом в качестве корневого прохода HV-шов на весу | | PT 10% | CP B CP C1 | 21 | Трещина при переходе от шва к основному металлу или в корне шва |
1.4.8 | VT | CP C2 | 20 |
1.4.9 | | Одностороннее с неполным проплавлением | DHV-шов HV-шов с угловым швом в качестве корневого прохода HV-шов с подкладкой | | VT | CP C2 | 18 | Трещина в корне шва |
<*> HV-шов без корневого прохода с доступным контролем корня на контрольных образцах. Следует избегать растягивающих напряжений в шве при циклической нагрузке из-за корневого концентратора. |
Таблица Д.1.5
Тавровые соединения с нагрузкой на присоединенную полку
поперек шва
N показателя | Конструкция соединения и шва | | Метод и объем контроля | Класс эксплуатации сварного шва | Используемые в расчете пределы выносливости,  , МПа | Область концентрации напряжений |
Изображение/двойной стрелкой/указан изгибающий момент | Описание | Тип шва |
| | Двустороннее с полным проплавлением корневым проходом | DHV-шов HV-шов с угловым швом в качестве корневого прохода HV-шов с подкладкой | | RT/UT 100% | CP A | 22 | Трещина при переходе от шва к основному металлу |
1.5.2 | RT/UT 10% | CP B CP C1 | 20 |
1.5.3 | VT | CP C2 | 20 |
| | Одностороннее с полным проплавлением | DHV-шов HV-шов с угловым швом в качестве корневого прохода HV-шов на весу | | RT/UT 100% | CP A | 19 | Трещина при переходе от шва к основному металлу или в корне шва |
1.5.5 | RT/UT 10% | CP B CP C1 | 18 |
1.5.6 | VT | CP C2 | 17 |
1.5.7 | | Двухстороннее без полного проплавления | DHY-шов HY-шов с угловым швом в качестве корневого прохода Шов двойной угловой | | PT 10% | CP B CP C1 | 18 9 | Трещина при переходе от шва к основному металлу или в корне шва |
1.5.8 | VT | CP C2 | 20 9 |
1.5.9 | | Одностороннее без полного проплавления | HY-шов в виде одностороннего углового шва | | VT | CP C2 | 9 | Трещина в корне шва |
<*> HV-шов без корневого прохода с гарантированным проплавлением корня на контрольных образцах при предпроизводственном испытании сварки. |
Д.2 Сварные стыковые соединения деталей разной толщины с классами контроля и эксплуатации приведены в
таблице Д.2.
Таблица Д.2
Стыковые соединения деталей различной толщины
N показателя | Конструкция соединения и шва | | Метод и объем контроля | Класс эксплуатации сварного шва | Используемые в расчете пределы выносливости,  , МПа | Область концентрации напряжений |
Изображение/двойной стрелкой/указан изгибающий момент | Описание | Тип шва |
2.1 | | n >= 4 (1:4) | Двустороннее с полным проплавлением корневым проходом | V-шов с корневым проходом HV-шов с корневым проходом DV-шов DHV-шов | | RT/UT 10% | CP B CP C1 | 30 | Трещина при переходе от шва к основному металлу или в корне шва |
2.2 | VT | CP C2 | 26 |
2.3 | n >= 1 (1:1) | RT/UT 10% | CP B CP C1 | 22 |
2.4 | VT | CP C2 | 20 |
2.5 | | n = 4 (1:4) | Двустороннее с полным проплавлением корневым проходом | V-шов с корневым проходом HV-шов с корневым проходом DV-шов DHV-шов | | RT/UT 10% | CP B CP C1 | 30 |
2.6 | VT | CP C2 | 26 |
2.7 | n = 1 (1:1) | RT/UT 10% | CP B CP C1 | 21 |
2.8 | VT | CP C2 | 20 |
<*> Толщина шва <= 6 мм, смещение кромок <= 0,1 t. Требуются предпроизводственные испытания сварки. |
Д.3 Сварные нахлесточные соединения с классами контроля и эксплуатации приведены в
таблицах Д.3.1 -
Д.3.4.
Таблица Д.3.1
Нахлесточное соединение с нагрузкой вдоль швов
N показателя | Конструкция соединения и шва | Метод и объем контроля | Класс эксплуатации сварного шва | Используемый в расчете предел выносливости,  , МПа | Область концентрации напряжений |
Изображение | Описание | Тип шва | |
3.1.1 | | Наваренная поясная накладка и необработанные угловые швы | Угловой шов | | PT 10% | CP B CP C1 | 17 | Трещина при переходе от шва к основному металлу |
3.1.2 | VT | CP C2 |
Таблица Д.3.2
Продольно нагруженные швы нагруженной детали соединения
(присоединение ненесущих составных частей)
N показателя | Конструкция соединения и шва | Метод и объем контроля | Класс эксплуатации сварного шва | Используемый в расчете предел выносливости,  , МПа | Область концентрации напряжений |
Изображение | Описание | Тип шва | |
3.2.1 | | Приварная деталь с необработанными угловыми швами | Угловой шов по замкнутому контуру | | PT 10% | CP B CP C1 | 17 | Трещина при переходе от шва к основному металлу |
3.2.2 | VT | CP C2 |
Таблица Д.3.3
Нахлесточные соединения с поперечной нагрузкой швов
(например, запрессованные профили)
N показателя | Конструкция соединения и шва | Метод и объем контроля | Класс эксплуатации сварного шва | Используемые в расчете пределы выносливости,  , МПа | Область концентрации напряжений |
Изображение | Описание | Тип шва | |
3.3.1 | | Листовая нахлестка с двумя угловыми швами | Угловой шов | | PT 10% | CP B CP C1 | 21 | Трещина при переходе от шва к основному металлу |
3.3.2 | 9 | |
3.3.3 | VT | CP C2 | 20 | Трещина при переходе от шва к основному металлу |
3.3.4 | 9 | Трещина в корне шва |
3.3.5 | | Листовая нахлестка с одним угловым швом | Угловой шов | | VT | CP C2 | 9 | Трещина в корне шва нахлесточного соединения <**> |
3.3.6 | | Запрессованные профили | Угловой шов | | PT 10% | CP B CP C1 | 21 | Трещина при переходе от шва к основному металлу |
3.3.7 | 9 | Трещина в корне шва |
3.3.8 | VT | CP C2 | 20 | Трещина при переходе от шва к основному металлу |
3.3.9 | 9 | Трещина в корне шва |
<*> Следует использовать только нормальные напряжения диафрагм (без изгибов из-за эксцентриситета) в сварном профиле, преобразованные в поперечное сечение сварного шва для оценки. <**> Применяется к закрепленному лобовому шву (изгиб вокруг продольной оси шва конструктивно в значительной степени исключен), для незакрепленных швов следует учитывать изгибную нагрузку эксцентрикового соединения. |
Таблица Д.3.4
Нахлесточные соединения с продольной нагрузкой швов
(например, запрессованные профили)
N показателя | Конструкция соединения и шва | Метод и объем контроля | Класс эксплуатации сварного шва | Используемые в расчете пределы выносливости,  , МПа |
Изображение | Описание | Тип шва | |
3.4.1 | | Листовая нахлестка с двумя угловыми швами | Угловой шов | | VT | CP C2 | 29 |
3.4.2 | | Листовая нахлестка с одним угловым швом | Угловой шов | | VT | CP C2 | 23 |
3.4.3 | | Запрессованные профили | Угловой шов | | VT | CP C2 | 29 |
(обязательное)
На
рисунке Е.1 представлен алгоритм контроля расчета, установления класса эксплуатации, контроля и реализуемости сварных соединений железнодорожного подвижного состава из алюминиевых сплавов.
Рисунок Е.1 - Алгоритм контроля качества сварных соединений
железнодорожного подвижного состава из алюминиевых сплавов
(рекомендуемое)
ТРЕБОВАНИЯ К ПОДГОТОВКЕ КРОМОК СВАРИВАЕМЫХ ДЕТАЛЕЙ
И СВАРОЧНОЙ ПРОВОЛОКИ К СВАРКЕ
Ж.1 Подготовка кромок деталей должна быть определена разработчиком по данным
таблицы Г.1 и ГОСТ EN 15085-3-2015
(таблица C.1).
Ж.2 Вырезку деталей и выполнение скосов кромок под сварку требуется проводить механической резкой.
Примечание - Допускается использование разделительной лазерной, или плазменной, или гидроабразивной резки.
Ж.3 После механической резки поверхности реза не должны иметь надрывов и трещин. Заусенцы должны быть удалены, острые кромки притуплены (радиус притупления свариваемых кромок должен быть не менее 0,3 мм). Свободные кромки элементов после резки на ножницах должны быть обработаны механическим способом.
Ж.4 С целью удаления тугоплавкой оксидной пленки алюминия и магния перед сваркой в обязательном порядке следует выполнять:
- химическую очистку сварочной проволоки, требующей подготовку перед сваркой, малогабаритных заготовок и деталей;
- механическую очистку и последующее обезжиривание свариваемых кромок крупных деталей.
Ж.5 Перед травлением деталей и сварочной проволоки необходимо удалить с них краску, жировые пятна и другие загрязнения чистой обтирочной ветошью, смоченной одним из следующих растворителей: спиртом этиловым техническим по
ГОСТ Р 55878, или уайт-спиритом по
ГОСТ 3134, или техническим ацетоном по
ГОСТ 2768.
Ж.6 Механическую очистку подлежащих сварке деталей следует выполнять щетками с ворсом из коррозионно-стойкой стали (диаметр ворса не более 0,1 мм, длина ворса не менее 10,0 мм). Щетки должны быть чистыми и обезжиренными. Кромки и прилегающие к ним поверхности должны быть зачищены с двух сторон на ширину не менее 20 мм.
Примечание - Допускается зачищать поверхность под сварку лепестковыми кругами (абразивными).
Ж.7 Химическую очистку поверхности сварочной проволоки, прутков, деталей следует осуществлять следующим образом:
- обезжиривание и травление в 5%-ном водном растворе едкого натрия (NaOH) при температуре от 60 °C до 80 °C в течение 2 мин;
- промывание в теплой проточной воде при температуре 45 °C;
- осветление в водном растворе азотной кислоты (HNO3) концентрации от 15% до 18% при температуре (62,5 +/- 2,5) °C в течение от 2 до 5 мин;
- промывание в проточной холодной воде;
- сушка до полного удаления влаги.
Ж.8 Для снижения пористости и количества оксидных включений в швах сварочную проволоку после химического травления следует подвергать электрохимическому полированию (травлению) в трехкомпонентном фосфорнокислом электролите, состав которого указан в
таблице Ж.1.
Таблица Ж.1
Состав электролита для электрохимического полирования
алюминия и его сплавов
В процентах
Компонент электролита | Химическая формула | Массовая доля компонента в электролите |
Фосфорная кислота | H3PO4 | 40 - 50 |
Серная кислота | H2SO4 | 35 - 40 |
Хромовый ангидрид | CrO3 | 5 - 6 |
Вода | H2O | 10 - 14 |
Электрохимическое полирование проводить при температуре от 65 °C до 75 °C и анодной плотности тока от 25 до 50 А/дм2 в течение от 5 до 10 мин.
Ж.9 Запрещается применять для сварки проволоку, хранившуюся на воздухе после химической обработки более 10 ч или в герметически закрывающихся сосудах и ящиках более 36 ч.
Если сварочная проволока, подготовленная травлением, не использована в течение указанного времени, то она должна быть повторно подготовлена без предварительного обезжиривания.
Ж.10 Перед непосредственным проведением сварочных операций для более полного удаления оксидной пленки свариваемые кромки и прилегающие к ним поверхности на участках шириной не менее ширины шва с обеих сторон следует подвергнуть местной зачистке щетками с ворсом из коррозионно-стойкой стали, лепестковыми кругами с последующим обезжириванием. Обезжиривание спиртом этиловым техническим
ГОСТ Р 55878, или уайт-спиритом
ГОСТ 3134, или техническим ацетоном
ГОСТ 2768 производят протирочным материалом из хлопчатобумажной ткани, не оставляющей ворса.
Ж.11 Удаление швов с дефектами, разделку трещин, подготовку кромок на узлах и деталях из алюминиевых сплавов следует выполнять механическим способом.
| | Федеральный закон от 28 декабря 2013 г. N 426-ФЗ "О специальной оценке условий труда" |
| СМГС (приложение 2) | Правила перевозки опасных грузов. Глава 6.8. Требования к изготовлению, официальному утверждению типа, проверкам (освидетельствованию), испытаниям и маркировке вагонов-цистерн (с изменениями и дополнениями на 1 июля 2017 г.) |
| Правила аттестации сварщиков на железнодорожном транспорте государств - участников Содружества. Утверждены Советом по железнодорожному транспорту государств - участников Содружества (протокол пятьдесят седьмого заседания от 16 - 17 октября 2012 г., г. Ашхабад, пункт 1, подпункт 44.3 (Приложение N 24)) с изменениями и дополнениями, утвержденными Советом по железнодорожному транспорту государств - участников Содружества (протокол шестьдесят седьмого заседания от 19 - 20 октября 2017 г., г. Рига, пункт 8, подпункт 2.5 (Приложение N 63)) |
| | Санитарно-эпидемиологические правила и нормативы. 2.2.1. Гигиена труда. Проектирование, строительство, реконструкция и эксплуатация предприятий. Гигиенические требования к проектированию вновь строящихся и реконструируемых промышленных предприятий. Утверждены постановлением Главного государственного санитарного врача Российской Федерации от 30 апреля 2003 г. N 88, зарегистрированы в Минюсте РФ 19 мая 2003 г., регистрационный номер 4567 |
| | Естественное и искусственное освещение. Актуализированная редакция СНиП 23-05-95 |
| Правила по охране труда при выполнении электросварочных и газосварочных работ. Утверждены приказом Министерства труда и социальной защиты Российской Федерации от 23 декабря 2014 года N 1101н |
| Правила по охране труда при эксплуатации электроустановок. Утверждены приказом Министерства труда и социальной защиты Российской Федерации от 24 июля 2013 года N 328н |
УДК 621.791:669.716 УДК 621.791:669.717 | |
Ключевые слова: конструкции кузовов железнодорожного подвижного состава, сварные соединения из алюминиевых сплавов, статическая прочность и предел выносливости, неразрушающий и разрушающий контроль, испытания |