Главная // Актуальные документы // ГОСТ Р (Государственный стандарт)СПРАВКА
Источник публикации
М.: ФГБУ "РСТ", 2022
Примечание к документу
Документ
введен в действие с 01.11.2022.
Название документа
"ГОСТ Р 52116-2022. Национальный стандарт Российской Федерации. Посуда чугунная черная. Общие технические условия"
(утв. и введен в действие Приказом Росстандарта от 30.09.2022 N 1029-ст)
"ГОСТ Р 52116-2022. Национальный стандарт Российской Федерации. Посуда чугунная черная. Общие технические условия"
(утв. и введен в действие Приказом Росстандарта от 30.09.2022 N 1029-ст)
Утвержден и введен в действие
Приказом Федерального агентства
по техническому регулированию
и метрологии
от 30 сентября 2022 г. N 1029-ст
НАЦИОНАЛЬНЫЙ СТАНДАРТ РОССИЙСКОЙ ФЕДЕРАЦИИ
ПОСУДА ЧУГУННАЯ ЧЕРНАЯ
ОБЩИЕ ТЕХНИЧЕСКИЕ УСЛОВИЯ
Utensils of cast-iron. General specifications
ГОСТ Р 52116-2022
Дата введения
1 ноября 2022 года
1 РАЗРАБОТАН Акционерным обществом "Нева металл посуда" (АО "НМП")
2 ВНЕСЕН Техническим комитетом по стандартизации ТК 147 "Посуда металлическая с покрытиями и без покрытий"
3 УТВЕРЖДЕН И ВВЕДЕН В ДЕЙСТВИЕ Приказом Федерального агентства по техническому регулированию и метрологии от 30 сентября 2022 г. N 1029-ст
Правила применения настоящего стандарта установлены в статье 26 Федерального закона от 29 июня 2015 г. N 162-ФЗ "О стандартизации в Российской Федерации". Информация об изменениях к настоящему стандарту публикуется в ежегодном (по состоянию на 1 января текущего года) информационном указателе "Национальные стандарты", а официальный текст изменений и поправок - в ежемесячном информационном указателе "Национальные стандарты". В случае пересмотра (замены) или отмены настоящего стандарта соответствующее уведомление будет опубликовано в ближайшем выпуске ежемесячного информационного указателя "Национальные стандарты". Соответствующая информация, уведомление и тексты размещаются также в информационной системе общего пользования - на официальном сайте Федерального агентства по техническому регулированию и метрологии в сети Интернет (www.rst.gov.ru)
Настоящий стандарт распространяется на хозяйственную черную чугунную посуду (далее - посуда), предназначенную для приготовления продуктов питания.
В настоящем стандарте использованы нормативные ссылки на следующие стандарты:
ГОСТ 9.032 Единая система защиты от коррозии и старения. Покрытия лакокрасочные. Группы, технические требования и обозначения
ГОСТ 9.302 (ИСО 1463-82, ИСО 2064-80) Единая система защиты от коррозии и старения. Покрытия металлические и неметаллические неорганические. Методы контроля
ГОСТ 166 (ИСО 3599-76) Штангенциркули. Технические условия
ГОСТ 427 Линейки измерительные металлические. Технические условия
ГОСТ 1412 Чугун с пластинчатым графитом для отливок. Марки
ГОСТ 1583 Сплавы алюминиевые литейные. Технические условия
ГОСТ 1770 (ИСО 1042-83, ИСО 4788-80) Посуда мерная лабораторная стеклянная. Цилиндры, мензурки, колбы, пробирки. Общие технические условия
ГОСТ 2695 Пиломатериалы лиственных пород. Технические условия
ГОСТ 2789 Шероховатость поверхности. Параметры и характеристики
ГОСТ 2991 Ящики дощатые неразборные для грузов массой до 500 кг. Общие технические условия
ГОСТ 4976 Лаки марок НЦ-218, НЦ-222, НЦ-243 мебельные и НЦ-223. Технические условия
ГОСТ 5470 Лаки марок ПФ-283 и ГФ-166. Технические условия
ГОСТ 5632 Нержавеющие стали и сплавы коррозионно-стойкие, жаростойкие и жаропрочные. Марки
ГОСТ 5959 Ящики из листовых древесных материалов неразборные для грузов массой до 200 кг. Общие технические условия
ГОСТ 7933 Картон для потребительской тары. Общие технические условия
ГОСТ 8273 Бумага оберточная. Технические условия
ГОСТ 9142 Ящики из гофрированного картона. Общие технические условия
ГОСТ 9347 Картон прокладочный и уплотнительные прокладки из него. Технические условия
ГОСТ 9359 Массы прессовочные карбамидо- и меламиноформальдегидные. Технические условия
ГОСТ 9378 (ИСО 2632-1-85, ИСО 2632-2-85) Образцы шероховатости поверхности (сравнения). Общие технические условия
ГОСТ 9396 Ящики деревянные многооборотные. Общие технические условия
ГОСТ 9421 Картон тарный плоский склеенный. Технические условия
ГОСТ 10905 Плиты поверочные и разметочные. Технические условия
ГОСТ 12082 Обрешетки дощатые для грузов массой до 500 кг. Общие технические условия
ГОСТ 12302 Пакеты из полимерных пленок и комбинированных материалов. Общие технические условия
ГОСТ 15150 Машины, приборы и другие технические изделия. Исполнения для различных климатических районов. Категории, условия эксплуатации, хранения и транспортирования в части воздействия климатических факторов внешней среды
ГОСТ 17151 Посуда хозяйственная из листового алюминия. Общие технические условия
ГОСТ 19200 Отливки из чугуна и стали. Термины и определения дефектов
ГОСТ 20799 Масла индустриальные. Технические условия
ГОСТ 21650 Средства скрепления тарно-штучных грузов в транспортных пакетах. Общие требования
ГОСТ 24788 Посуда хозяйственная стальная эмалированная. Общие технические условия
ГОСТ 25951 Пленка полиэтиленовая термоусадочная. Технические условия
ГОСТ 26381 Поддоны плоские одноразового использования. Общие технические условия
ГОСТ 26663 Пакеты транспортные. Формирование с применением средств пакетирования. Общие технические требования
ГОСТ 27002 Посуда из коррозионно-стойкой стали. Общие технические условия
ГОСТ 28804 Материалы фенольные формовочные. Общие технические условия
ГОСТ 32309 Посуда без противопригорающего покрытия литая из алюминиевых сплавов. Общие технические условия
ГОСТ 33757 Поддоны плоские деревянные. Технические условия
ГОСТ 33781 Упаковка потребительская из картона, бумаги и комбинированных материалов. Общие технические условия
ГОСТ Р 52901 Картон гофрированный для упаковки продукции. Технические условия
ГОСТ Р 53228 Весы неавтоматического действия. Часть 1. Метрологические и технические требования. Испытания
Примечание - При пользовании настоящим стандартом целесообразно проверить действие ссылочных стандартов в информационной системе общего пользования - на официальном сайте Федерального агентства по техническому регулированию и метрологии в сети Интернет или по ежегодному информационному указателю "Национальные стандарты", который опубликован по состоянию на 1 января текущего года, и по выпускам ежемесячного информационного указателя "Национальные стандарты" за текущий год. Если заменен ссылочный стандарт, на который дана недатированная ссылка, то рекомендуется использовать действующую версию этого стандарта с учетом всех внесенных в данную версию изменений. Если заменен ссылочный стандарт, на который дана датированная ссылка, то рекомендуется использовать версию этого стандарта с указанным выше годом утверждения (принятия). Если после утверждения настоящего стандарта в ссылочный стандарт, на который дана датированная ссылка, внесено изменение, затрагивающее положение, на которое дана ссылка, то это положение рекомендуется применять без учета данного изменения. Если ссылочный стандарт отменен без замены, то положение, в котором дана ссылка на него, рекомендуется применять в части, не затрагивающей эту ссылку.
Посуду подразделяют на следующие типы:
а) кастрюли;
б) сковороды:
1) круглые,
2) прямоугольные,
3) квадратные;
в) сотейники;
г) утятницы, гусятницы;
д) ковши;
е) казаны;
ж) противни;
и) формы для выпечки;
к) котлы.
Допускаются изделия типов "Кастрюли", "Сотейники", "Утятницы", "Гусятницы" под наименованием "Жаровня".
Допускаются плоские изделия типа "Сковороды", специально предназначенные для приготовления определенных кулинарных изделий, под наименованием "Сковорода для блинов" или "Блинница", "Сковорода для пиццы", "Рыбница".
Примечание - Плоские изделия - посуда глубиной 1/3 диаметра изделия или менее.
Допускаются изделия типа "Сковороды", имеющие не гладкое, а ребристое дно под наименованием "Сковорода-гриль".
Допускается комплектовать посуду вкладным приспособлением для приготовления мясных блюд под наименованием "пресс": сковорода с прессом, сотейник с прессом и т.п.
Допускается приспособление под наименованием "решетка-гриль".
4 Типы, основные параметры и размеры
4.1 Типы, основные параметры, размеры и вместимость посуды должны соответствовать указанным на
рисунках 1 -
11 и в
таблицах 1 -
11.
Посуда может быть других типов, форм, размеров и другой вместимости.
Отклонения по размерам регламентируются конструкторской документацией на изделия.
Допускаются отклонения на следующие линейные размеры, мм:
- по диаметру D:
- +/- 2 - для изделий диаметром не более 400,
- +/- 3 - для изделий диаметром более 400;
- высоте -

;
- длине -

;
- ширине -

.
4.2 Сковороды допускается изготовлять с перегородками (для пончиков, оладьев, глазуньи и др.) и углублениями (при литьевом или механическом декорировании) на дне.
Толщину дна определяют без учета углублений.
4.3 Конструкция посуды настоящим стандартом не регламентируется.
4.4 Для посуды устанавливают следующий ряд внутренних размеров (диаметр, длина, ширина): 80, 100, 120, 140, 160, 180, 200, 220, 240, 260, 280, 300, 320, 340, 360, 380, 400, 450, 500, 550, 600, 650, 700, 750, 800, 850, 900, 1000, 1100, 1200 мм.
Допускается изготовление посуды с промежуточными значениями внутренних размеров.
4.5 Для посуды устанавливают ряд вместимостей: 0,2; 0,3; 0,4; 0,5; 0,6; 0,7; 0,8; 1,0; 1,2; 1,5; 1,7; 1,8; 2,0; 2,5; 3,0; 3,5; 4,0; 4,5; 5,0; 6,0; 6,5; 7,0; 8,0; 10,0; 11,0; 12,0; 13,0; 15,0; 18,0; 20,0; 22,0; 28,0; 30,0; 40,0; 50,0; 60,0; 70,0; 80,0; 90,0; 100,0; 110,0; 120,0; 130,0; 140,0; 150,0; 160,0; 170,0; 180,0; 190,0; 200,0; 250,0; 300,0 л.
Вместимость посуды указана при номинальных размерах корпуса.
Допускается изменение вместимости в пределах отклонений на линейные размеры, указанных в
4.1.
Допускается изготавливать посуду с промежуточными значениями вместимостей.
4.6 Посуда должна удовлетворять следующим требованиям:
- толщина дна корпуса после механической обработки должна быть не менее 2,5 мм;
- толщина крышки после механической обработки должна быть не менее 1,5 мм.
4.7 Ручки могут быть цельнолитыми, несъемными (жесткофиксированными) или съемными.
4.8 Условное обозначение посуды должно включать следующие элементы:
- тип посуды (кастрюля, сковорода и т.п.);
- размер или вместимость посуды;
- конструкция дна:
- без обозначения - обычное,
- У - утолщенное;
- конструкция ручки:
- без обозначения - несъемная ручка,
- с/р - съемная ручка;
- обозначение стандарта.
4.9 Условное обозначение проставляют по следующей схеме:
X X У с/р ГОСТ Р 52116-2022
┬ ┬ ┬ ─┬─ ────────┬────────
Тип посуды │ │ │ │ │
(кастрюля, сковорода и т.д.) │ │ │ │ │
───────────────────────────────┘ │ │ │ │
Размер (мм) или вместимость (л) │ │ │ │
──────────────────────────────────┘ │ │ │
Конструкция дна │ │ │
─────────────────────────────────────┘ │ │
Конструкция ручки │ │
────────────────────────────────────────┘ │
Обозначение стандарта │
────────────────────────────────────────────────────┘
Таблица 1
Основные параметры кастрюли
Вместимость, л | Толщина, мм |
дна S | стенки S1 |
0,5 - 2,5 | 2,5 - 4,0 | 2,0 - 4,0 |
3,0 - 6,0 | 2,5 - 5,0 | 2,0 - 5,0 |
6,0 - 10,0 | 3,0 - 5,5 | 3,0 - 5,0 |
Более 10,0 | 3,5 - 6,0 | 3,5 - 5,5 |
Примечания 1 Допускаются кастрюли с утолщенным дном 6 - 7 мм. 2 Допускаются кастрюли квадратной формы. 3 Кастрюли должны иметь крышки. 4 Кастрюли должны иметь две ручки. |
Пример условного обозначения кастрюли вместимостью 5 л, с утолщенным дном:
Кастрюля 5 л У ГОСТ Р 52116-2022
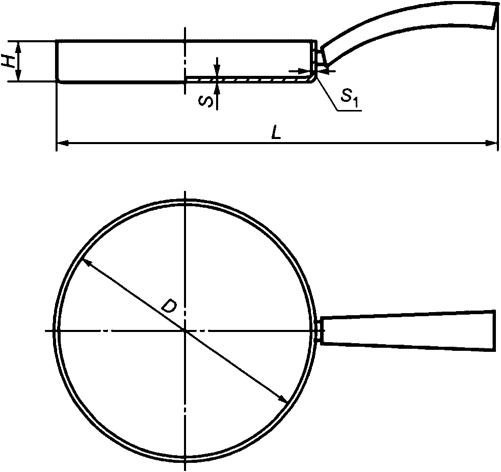
Рисунок 2 - Круглая сковорода с одной ручкой
Таблица 2
Основные параметры круглой сковороды с одной ручкой
В миллиметрах
Диаметр D | Высота H | Длина L | Толщина |
дна S | стенки S1 |
160 - 450 | 10 - 120 | 300 - 620 | 2,5 - 5,0 | 2,0 - 5,0 |
Примечания 1 Допускаются круглые сковороды с утолщенным дном 6 - 7 мм. 2 Круглые сковороды могут быть без ручек, с одной ручкой или с двумя ручками. 3 Круглые сковороды могут быть с крышками. |
Пример условного обозначения сковороды круглой диаметром 260 мм, с утолщенным дном:
Сковорода 260 мм У ГОСТ Р 52116-2022
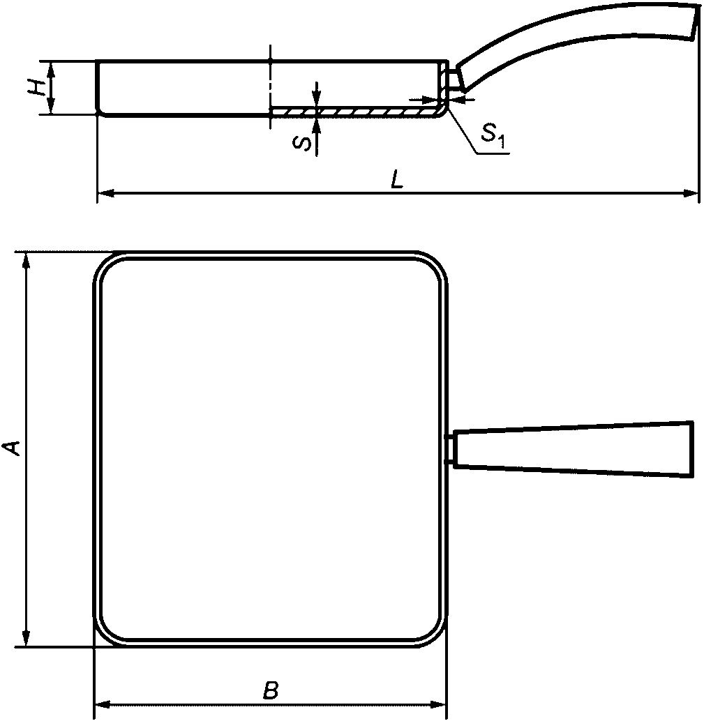
Рисунок 3 - Прямоугольная сковорода с одной ручкой
Таблица 3
Основные параметры прямоугольной сковороды с одной ручкой
В миллиметрах
Сторона A | Сторона B | Высота H | Длина L | Толщина |
дна S | стенки S1 |
260 - 300 | 220 - 260 | 40 - 60 | 410 - 450 | 2,5 - 5,0 | 2,0 - 5,0 |
Примечания 1 Допускаются прямоугольные сковороды с утолщенным дном 6 - 7 мм. 2 Прямоугольные сковороды могут быть без ручек, с одной ручкой или с двумя ручками. 3 Прямоугольные сковороды могут быть с крышками. |
Пример условного обозначения сковороды прямоугольной размером 240 x 280 мм:
Сковорода прямоугольная 240 x 280 мм ГОСТ Р 52116-2022
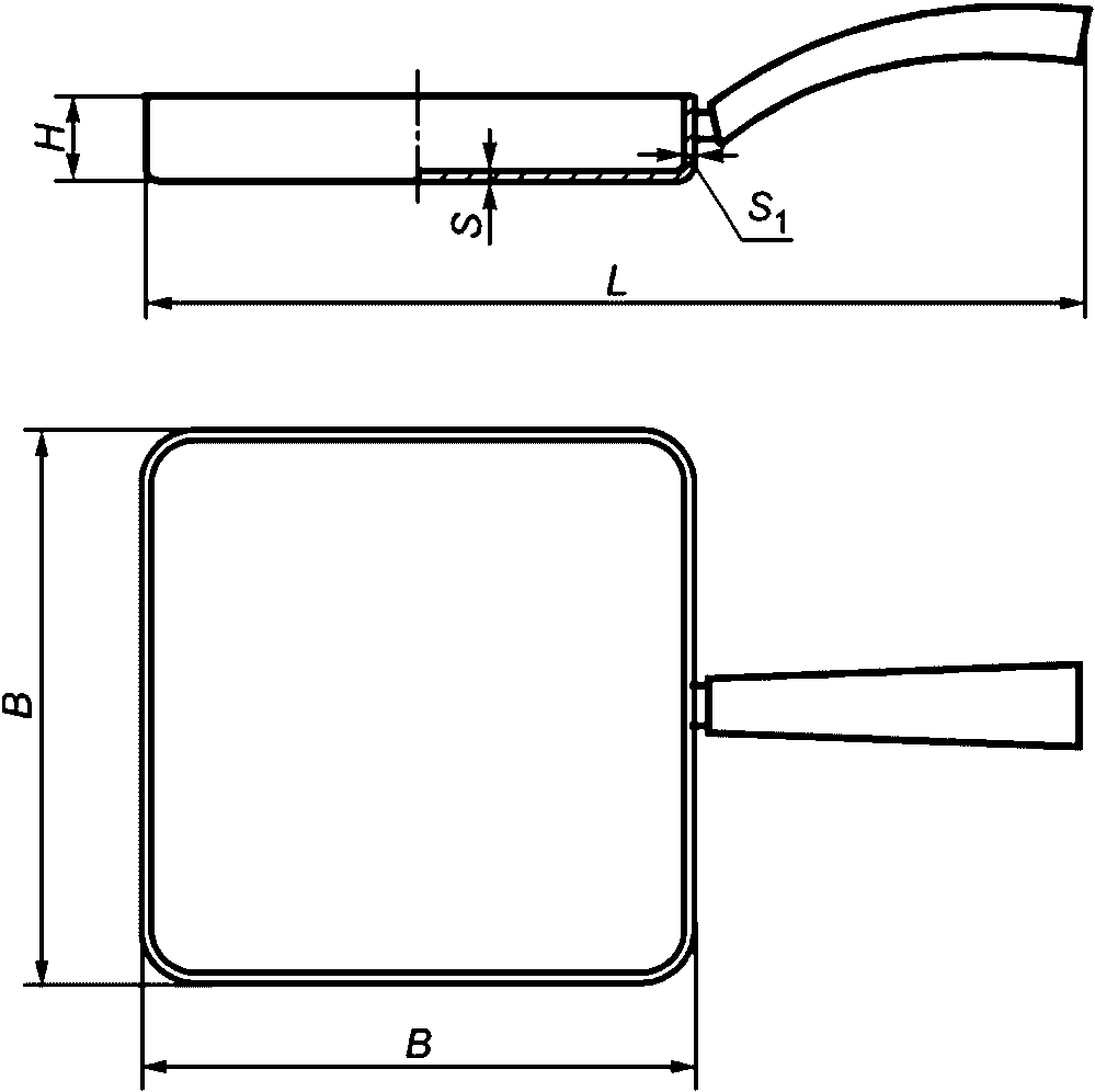
Рисунок 4 - Квадратная сковорода с одной ручкой
Таблица 4
Основные параметры квадратной сковороды с одной ручкой
В миллиметрах
Сторона B | Высота H | Длина L | Толщина |
дна S | стенки S1 |
220 - 280 | 40 - 60 | 410 - 470 | 2,5 - 5,0 | 2,0 - 5,0 |
Примечания 1 Допускаются квадратные сковороды с утолщенным дном 6 - 7 мм. 2 Квадратные сковороды могут быть без ручек, с одной ручкой или с двумя ручками. 3 Квадратные сковороды могут быть с крышками. |
Пример условного обозначения сковороды квадратной размером 260 x 260 мм, со съемной ручкой:
Сковорода квадратная 260 x 260 мм с/р ГОСТ Р 52116-2022
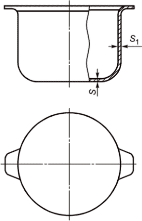
Рисунок 5 - Сотейник с одной ручкой
Таблица 5
Основные параметры сотейника с одной ручкой
В миллиметрах
Диаметр D | Высота H | Длина L | Толщина |
дна S | стенки S1 |
180 - 380 | 50 - 100 | 350 - 620 | 2,5 - 5,0 | 2,0 - 5,0 |
Примечания 1 Допускаются сотейники с утолщенным дном 6 - 7 мм. 2 Сотейники могут быть без ручек, с одной ручкой или с двумя ручками. 3 Сотейники могут быть с крышками. |
Пример условного обозначения сотейника диаметром 280 мм:
Сотейник 280 мм ГОСТ Р 52116-2022
Рисунок 6 - Утятница и гусятница
Таблица 6
Основные параметры утятницы и гусятницы
Вместимость, л | Толщина, мм |
дна S | стенки S1 |
1,5 - 6,0 | 3,0 - 5,0 | 2,0 - 5,0 |
Примечания 1 Допускаются утятницы и гусятницы с утолщенным дном 6 - 7 мм. 2 Утятницы и гусятницы должны иметь крышки. 3 Утятницы и гусятницы должны иметь две ручки. |
Пример условного обозначения гусятницы вместимостью 3 л:
Гусятница 3 л ГОСТ Р 52116-2022
Рисунок 7 - Ковш
Таблица 7
Основные параметры ковша
В миллиметрах
Диаметр D | Высота H | Длина L | Толщина |
дна S | стенки S1 |
160 - 240 | 100 - 150 | 350 - 370 | 2,5 - 5,0 | 2,0 - 5,0 |
Примечания 1 Ковши могут быть с крышками. 2 Ковши должны быть с одной ручкой. |
Пример условного обозначения ковша диаметром 200 мм, со съемной ручкой:
Ковш 200 мм с/р ГОСТ Р 52116-2022
Рисунок 8 - Казан
Таблица 8
Основные параметры и вместимость казана
Вместимость, л | Толщина, мм |
дна S | стенки S1 | крышки S2 |
3,0 - 5,0 | 3,0 - 5,0 | 2,0 - 4,0 | 1,5 - 4,0 |
6,0 - 10,0 | 4,0 - 6,0 | 3,0 - 5,0 |
Более 10,0 | 5,0 - 7,0 | 4,0 - 6,0 |
Примечания 1 Казаны должны иметь крышки с одной или двумя ручками. 2 Казаны вместимостью до 10 л должны иметь две ручки, свыше 10 л - четыре ручки. 3 Казаны вместимостью до 30 л могут быть с дужкой. |
Пример условного обозначения казана вместимостью 7 л:
Казан 7 л ГОСТ Р 52116-2022
Рисунок 9 - Противень
Таблица 9
Основные параметры противня
В миллиметрах
Сторона B | Сторона L | Высота H | Толщина дна S |
160 - 460 | 240 - 630 | 30 - 70 | 2,5 - 5,0 |
Пример условного обозначения противня размером 190 x 310 мм:
Противень 190 x 310 мм ГОСТ Р 52116-2022
Рисунок 10 - Форма для выпечки
Таблица 10
Основные параметры формы для выпечки
В миллиметрах
Диаметр D | Высота H | Толщина дна S |
80 - 280 | 30 - 100 | 2,5 - 5,0 |
Примечание - Форма для выпечки может быть: - гладкая; - фасонная; - гофрированная. |
Пример условного обозначения формы для выпечки фасонной диаметром 200 мм:
Форма для выпечки фасонная 200 мм ГОСТ Р 52116-2022
Таблица 11
Вместимость, л | Толщина, мм |
дна S | стенки S1 |
2,0 - 25,0 | 2,5 - 5,0 | 2,5 - 5,0 |
30,0 - 100,0 | 4,0 - 6,0 | 3,0 - 6,0 |
110,0 - 300,0 | 6,0 - 12,0 | 5,0 - 12,0 |
Примечания 1 Котлы могут быть с крышками. 2 Котлы вместимостью до 15 л должны иметь две ручки, свыше 15 л - четыре ручки. 3 Котлы вместимостью до 40 л могут быть с дужкой. |
Пример условного обозначения котла вместимостью 20 л:
Котел 20 л ГОСТ Р 52116-2022
5 Общие технические требования
5.1 Все материалы, применяемые для изготовления посуды, контактирующие с пищевыми продуктами, должны соответствовать требованиям действующих технических нормативных правовых актов, не выделять вредные вещества в количествах, превышающих гигиенических
нормативов [1], не изменять органолептические показатели
[2].
Посуда должна удовлетворять гигиеническим требованиям:
- уровень выделения (миграции) вредных веществ в модельные среды, имитирующие свойства пищевых продуктов, не должен превышать гигиенических нормативов;
- органолептические показатели: интенсивность запаха водной вытяжки - не более 1 балла; наличие мутности, осадка, привкуса (изменение вкуса) не допускается.
5.2 Корпуса и крышки посуды должны быть изготовлены из серого чугуна по
ГОСТ 1412.
При литье посуды в металлическую форму содержание углерода и кремния в сумме не должно превышать 7%.
5.3 Места примыкания (кромка, дно) литниковой системы к поверхности посуды должны быть механически обработаны.
Шероховатость внутренней и наружной поверхностей посуды не должна быть более
Rz 160 мкм по
ГОСТ 2789.
5.4 Посуда должна быть без несоответствий по геометрии (недолив, неслитина, коробление), дефектов поверхности (пригар, ужимина, плена, складчатость), несплошностей в теле отливки (газовая, усадочная, шлаковая раковина, газовая, усадочная пористость, рыхлота, утяжина), включений (металлическое, неметаллическое включение), несоответствий по структуре (отбел) по
ГОСТ 19200.
Поверхность посуды не должна иметь вмятин, забоин, трещин, штрихов, рисок, царапин, потертостей.
5.5 На внутренней поверхности дна и радиусном переходе корпуса посуды любые дефекты не допускаются.
5.6 На поверхности посуды допускаются:
- штрихи, риски глубиной не более 0,2 мм, длиной не более 3 мм не более 2 шт.;
- на внутренней боковой поверхности корпуса - раковины глубиной до 0,2 мм и диаметром до 1,0 мм не более 3 шт.;
- на наружной поверхности корпуса - раковины глубиной до 0,2 мм и диаметром до 1,0 мм не более 3 шт. и мелкие дефекты в виде выступов высотой до 0,2 мм и наибольшим размером до 1 мм не более 2 шт.;
- на внутренней поверхности крышки - раковины глубиной до 0,2 мм и диаметром до 1,0 мм не более 3 шт. и мелкие дефекты в виде выступов высотой до 0,2 мм и наибольшим размером до 1 мм не более 2 шт.;
- на наружной поверхности крышки - раковины глубиной до 0,2 мм и диаметром до 1,0 мм не более 3 шт. и мелкие дефекты в виде выступов высотой до 0,2 мм и наибольшим размером до 1 мм не более 2 шт.;
- незначительные, не влияющие на товарный вид, следы механической обработки, размеры и количество которых не оказывают существенного влияния на товарный вид изделий и не препятствуют использованию посуды по назначению.
5.7 Корпуса и крышки посуды должны быть без заусенцев и острых кромок.
5.8 Форма дна посуды (за исключением посуды со сферической поверхностью дна) должна быть плоской и обеспечивать устойчивость изделия на горизонтальной поверхности.
Дно посуды должно обеспечивать устойчивость изделия на горизонтальной поверхности в течение всего срока эксплуатации.
Вогнутость дна не должна превышать 2,0 мм.
Выпуклость дна не допускается.
5.9 Посуда должна быть водонепроницаемой.
При наполнении водой посуда не должна давать течи.
5.10 Крышки посуды должны свободно входить в корпус и легко поворачиваться (для изделий круглой формы).
Зазор между фиксирующим бортом вкладной крышки и корпусом не должен превышать 1% внутреннего диаметра корпуса. Зазор между опорной плоскостью накладной крышки и кромкой борта не должен превышать 1,0 мм.
Крышки посуды могут иметь отверстия для выхода пара.
Допускается комплектовать посуду стальными эмалированными крышками по
ГОСТ 24788, крышками из коррозионно-стойкой стали по
ГОСТ 27002, алюминиевыми крышками по
ГОСТ 17151 или
ГОСТ 32309, крышками из термостойкого стекла.
5.11 Ручки на посуде должны быть расположены симметрично по отношению к продольной оси.
Отклонение в расположении ручек от оси симметрии не должно превышать 2% диаметра изделия или длины утятницы (гусятницы).
5.12 Крепление ручек должно быть прочным и выдерживать нагрузку, в два раза превышающую массу вмещаемой воды.
5.13 Съемные ручки должны свободно входить в гнездо переходных элементов и надежно удерживать изделие при наклоне на угол 60° к горизонтальной плоскости с закрепленным на корпусе грузом, масса которого в два раза превышает массу вмещаемой воды.
Для плоских изделий масса груза должна в два раза превышать собственную массу изделия.
Допускается незначительный зазор в креплении ручки, не влияющий на надежность ее фиксации и безопасность эксплуатации.
5.14 Допускается изготовлять ручки: из литейных алюминиевых сплавов по
ГОСТ 1583, из коррозионно-стойкой стали по
ГОСТ 5632, из пиломатериалов твердых лиственных пород по
ГОСТ 2695, из пластмасс - карбамидо- и меламиноформальдегидных прессовочных масс (аминопластов) по
ГОСТ 9359, пластических масс на основе фенолоальдегидных смол (фенопластов) по
ГОСТ 28804, полиамидов, полипропилена и бакелита по нормативной документации, из керамики по нормативной документации.
Ручки из древесины должны быть без сучков, трещин, грибковых поражений. Поверхность должна быть шлифованной и покрыта лаком по
ГОСТ 4976,
ГОСТ 5470. Допускается применение лаков по нормативной документации.
Внешний вид лакового покрытия должен быть не ниже класса IV по
ГОСТ 9.032.
Ручки из пластмасс и керамики не должны иметь трещин, сколов, вздутий, усадочных раковин и инородных включений.
Примечания
1 Нормативная документация должна быть оформлена согласно действующему законодательству в области технического регулирования.
2 Поверхность ручек может иметь покрытие (лакокрасочное, силиконовое и т.п.) различных цветовых гамм.
5.15 Ручки должны быть без заусенцев и острых кромок.
5.16 Теплостойкость ручек из пластмасс, а также пластмассовых деталей ручек должна быть не менее (150 +/- 5) °C.
5.17 Для обеспечения безопасного обращения с посудой в инструкции по эксплуатации должна быть указана информация о необходимости применения в процессе эксплуатации специальной защиты для рук (перчаток, рукавиц и т.п.).
5.18 Посуда может быть подвергнута термическому оксидированию.
5.19 Посуда (кроме посуды, подвергнутой термическому оксидированию) должна быть покрыта антикоррозионной смазкой в соответствии с
5.1.
5.20 Наружная поверхность посуды должна быть покрыта пищевой смазкой или индустриальным маслом по
ГОСТ 20799.
6.1 Посуду принимают партиями.
6.2 При приемке изделий изготовителем партией считают количество изделий одного типа, размера (вместимости), изготовленных при неизменной технологии производства.
6.3 При приемке изделий покупателем партией считают количество изделий, одновременно отправляемое покупателю по сопроводительным документам (транспортная накладная) и сопровождаемое документом, подтверждающим соответствие посуды установленным требованиям настоящего стандарта, оформленным согласно действующему законодательству в области технического регулирования.
6.4 Приемка изделий изготовителем
6.4.1 При приемке изделий изготовителем посуду подвергают испытаниям: приемо-сдаточным, периодическим и типовым.
При приемо-сдаточных испытаниях проводят сплошной (100% изделий) и выборочный контроль.
При выборочном контроле отбор образцов посуды для испытаний проводят методом случайной выборки.
6.4.2 При проведении приемо-сдаточных испытаний проверяют:
- тип посуды, внешний вид, комплектность, качество сборки, тип ручки, маркировку, информацию об изделии - 100% изделий;
- прочность крепления ручек к корпусу, надежность соединения съемных ручек, форму дна посуды (вогнутость и выпуклость дна), шероховатость внутренней и наружной поверхностей посуды - 0,1% изделий от партии, но не менее 3 шт.
6.4.3 При получении неудовлетворительных результатов приемо-сдаточных испытаний хотя бы по одному из показателей настоящего стандарта по данному показателю проводят повторную проверку на удвоенной выборке, отобранной от той же партии.
Результаты повторной проверки распространяют на всю партию.
6.4.4 Периодические испытания посуды проводят на партии изделий, прошедшей приемо-сдаточные испытания.
6.4.5 При проведении периодических испытаний проверяют: зазор между корпусом и крышкой, отсутствие течи в посуде - 5% изделий от партии, но не менее 5 шт. Проверку проводят не реже одного раза в год.
6.4.6 При получении неудовлетворительных результатов хотя бы по одному из показателей периодические испытания по этому показателю переводят в приемо-сдаточные. После получения положительных результатов на 10 партиях посуды подряд испытания вновь переводят в периодические.
6.4.7 Типовые испытания проводят на соответствие показателей требованиям настоящего стандарта при постановке продукции на производство, при применении новых видов материалов, при изменении технологии производства.
При проведении типовых испытаний проверяют показатели, входящие в приемо-сдаточные и периодические испытания.
Дополнительно проверяют размеры, вместимость, симметричность расположения ручек, качество установки крышек, теплостойкость ручек из пластмасс, качество покрытия посуды, подвергнутой термическому оксидированию, выделение вредных веществ и органолептические показатели.
При применении новых видов материалов и при изменении технологии производства проводят испытания только тех показателей, на которые повлияли внесенные изменения.
Изделия для типовых испытаний отбирают от партии не менее 10 шт.
6.4.8 При неудовлетворительных результатах типовых испытаний приемку изделий прекращают до установления и устранения причин образования выявленных дефектов.
6.5 Приемка изделий покупателем
6.5.1 Покупатель вправе провести приемку закупленной посуды с целью проверки соответствия изделий установленным требованиям настоящего стандарта и предупреждения допуска в эксплуатацию несоответствующей продукции.
6.5.2 Проверка изделий покупателем проводится на 2% изделий от каждой партии, но не менее 5 шт. каждого типа и размера (вместимости) посуды.
При получении неудовлетворительных результатов проверки хотя бы по одному из показателей установленным требованиям настоящего стандарта проводят повторную проверку на удвоенном количестве изделий, взятых от той же партии. Результаты повторной проверки распространяются на всю партию.
7.1 Тип посуды, внешний вид, комплектность, качество сборки и отделки посуды, тип ручки, маркировку, информацию об изделии проверяют визуально.
7.2 Вместимость посуды проверяют наполнением ее водой комнатной температуры с помощью мерной посуды по
ГОСТ 1770 или другой калиброванной емкости.
Недолив воды у посуды с крышкой должен быть 5 - 10 мм до плоскости соприкосновения крышки с корпусом, у посуды без крышки - 5 - 10 мм до верхней кромки борта.
Допускается проверять вместимость посуды наполнением ее водой комнатной температуры на платформенных весах не ниже III класса точности по
ГОСТ Р 53228.
7.3 Размеры посуды, отклонения и зазоры проверяют универсальными измерительными инструментами по
ГОСТ 427,
ГОСТ 166, универсальными щупами или специальными шаблонами.
7.4 Качество установки крышек проверяют опробованием на изделии.
7.5 Плоскостность дна проверяют установкой изделия на поверочную плиту по
ГОСТ 10905. Изделие должно плотно прилегать к поверочной плите и обеспечивать устойчивость изделия на горизонтальной поверхности.
7.6 Прочность крепления ручек посуды с одной ручкой проверяют, нагружая ручку на расстоянии не более 30 мм от свободного конца массой, равной массе воды, эквивалентной удвоенной вместимости.
Прочность крепления ручек посуды с двумя ручками проверяют путем нагружения изделия массой, равной массе воды, эквивалентной удвоенной вместимости, и легким встряхиванием ее с грузом.
Прочность крепления ручек посуды с двумя ручками вместимостью более 8 л проверяют путем нагружения изделия массой, равной массе воды, эквивалентной удвоенной вместимости, и однократным поднятием ее с грузом.
Допускается прочность крепления ручек проверять закреплением или подвешиванием изделия за ручки и приложением к изделию в течение 5 мин статической нагрузки, равной удвоенной массе воды, вмещаемой в изделие.
В результате проверки не должно быть остаточной деформации, ослабления крепления ручек к посуде.
7.7 Надежность соединения съемной ручки с корпусом проверяют поворотом изделия за ручку относительно оси симметрии ручки на угол 60° к горизонтальной плоскости с закрепленным на корпусе грузом, масса которого в два раза превышает массу вмещаемой воды.
Для плоских изделий масса груза должна в два раза превышать собственную массу изделия.
Саморазъединение корпуса с ручкой не допускается.
7.8 Теплостойкость ручек из пластмасс, а также пластмассовых деталей ручек проверяют, устанавливая изделие с ручкой в предварительно нагретый до температуры (150 +/- 5) °C сушильный шкаф и выдерживая в нем в течение 60 мин. Поверхность ручек после испытания не должна иметь трещин, вздутий, сколов, деформации и других видимых изменений.
7.9 Шероховатость поверхности посуды проверяют сравнением с образцами шероховатости, изготовленными по
ГОСТ 9378, или приборами для измерения шероховатости
Rz, обеспечивающими измерения в пределах, обусловленных требованиями настоящего стандарта.
Допускается шероховатость поверхности посуды проверять сравнением с образцовой деталью, утвержденной в установленном порядке.
7.10 Качество покрытия посуды, подвергнутой термическому оксидированию, проверяют по
ГОСТ 9.302.
7.11 Выделение вредных веществ и органолептические показатели контролируют в соответствии с требованиями действующих технических нормативных правовых актов, по методическим материалам, утвержденным государственными органами и учреждениями санитарно-эпидемиологического надзора.
8.1 Потребителю и/или покупателю (далее - потребителю) должна быть предоставлена необходимая и достоверная информация о посуде.
Информация для потребителя об изделии (наборе изделий) должна содержать:
- тип посуды;
- наименование страны-изготовителя;
- наименование изготовителя;
- основное (или функциональное) предназначение посуды или область ее применения;
- сведения о подтверждении соответствия (знак соответствия);
- правила и условия безопасного хранения, транспортирования и использования;
- сведения о необходимости применения в процессе эксплуатации специальной защиты для рук;
- основные потребительские свойства и/или характеристики;
- юридический адрес изготовителя и (при наличии) продавца;
- состав (комплектность);
- товарный знак изготовителя или товарный знак организации, выполняющей функции изготовителя;
- обозначение настоящего стандарта;
- период изготовления.
Информация для потребителя должна быть представлена в виде:
- текста на бумажной этикетке, прикрепленной к корпусу посуды и/или на потребительской упаковке посуды (коробке, пачке, бандероли);
- текстового документа (инструкции по эксплуатации), прикладываемого непосредственно к изделию (набору изделий);
- маркировки на корпусе посуды.
8.2 На каждое изделие должна быть четко нанесена маркировка, включающая:
- товарный знак изготовителя или товарный знак организации, выполняющей функции изготовителя;
- вместимость (в случае, если вместимость установлена настоящим стандартом).
Товарный знак и вместимость должны быть отлиты.
Допускается для изделий, выпускаемых в потребительской упаковке, товарный знак и вместимость размещать на бумажной этикетке, прикрепленной к корпусу посуды и/или на потребительской упаковке посуды (коробке, пачке, бандероли).
Допускается товарный знак и вместимость наносить лазерным способом.
Допускается на корпус посуды наносить маркировку с указанием идентификационного номера изделия и другие сведения, указанные в информации для потребителя.
Место и способ нанесения маркировки на корпус посуды определяет изготовитель.
8.3 Инструкция по эксплуатации должна содержать:
- рекомендации по первичной подготовке перед первым использованием;
- рекомендации по очистке после использования;
- рекомендации по использованию посуды;
- специальные указания по уходу (при наличии);
- информацию о необходимости применения в процессе эксплуатации специальной защиты для рук (перчаток, рукавиц и т.п.);
- специальные указания по безопасности (при наличии);
- гарантию изготовителя с указанием негарантийных случаев;
- наименование и контактный адрес изготовителя и/или продавца.
Допускается включать в инструкцию по эксплуатации информацию для потребителей, содержащую:
- основное (или функциональное) предназначение посуды или область ее применения;
- правила и условия безопасного хранения, транспортирования и использования;
- основные потребительские свойства или характеристики.
8.4 Транспортная маркировка - по
ГОСТ 14192 с нанесением манипуляционных знаков "Хрупкое. Осторожно", "Беречь от влаги" и "Верх" непосредственно на транспортную упаковку или на ярлыки, прикрепляемые к транспортной упаковке.
9 Упаковка, транспортирование и хранение
9.1 Посуду (отдельные изделия и наборы) упаковывают в потребительскую упаковку:
- коробки или пачки из картона и комбинированных материалов по
ГОСТ 33781;
- термоусадочную полиэтиленовую пленку по
ГОСТ 25951;
- термоусадочную полиолефиновую пленку по нормативной документации;
- пакеты из полимерных и комбинированных пленок по
ГОСТ 12302, толщиной не менее 30 мкм;
- воздушно-пузырьковую полиэтиленовую пленку с общей толщиной всех слоев не менее 55 мкм и пакеты из пленки по нормативной документации.
Примечание - Нормативная документация должна быть оформлена согласно действующему законодательству в области технического регулирования.
9.2 Посуду, упакованную в потребительскую упаковку, укладывают в транспортную упаковку - коробки из гофрированного картона по
ГОСТ Р 52901, ящики из гофрированного картона по
ГОСТ 9142, дощатые ящики по
ГОСТ 2991, ящики из листовых древесных материалов по
ГОСТ 5959, деревянные ящики по
ГОСТ 9396, дощатые обрешетки по
ГОСТ 12082.
9.3 При укладке посуды в транспортную упаковку применяют вспомогательные материалы - оберточную бумагу по
ГОСТ 8273, тарный плоский склеенный картон по
ГОСТ 9421, прокладочный картон по
ГОСТ 9347.
9.4 Транспортная упаковка должна обеспечивать сохранность посуды при транспортировании и хранении.
9.5 Допускается из транспортных коробок и ящиков, в которые уложена посуда, формировать транспортные пакеты по
ГОСТ 26663. Для формирования транспортных пакетов используют плоские поддоны по
ГОСТ 26381,
ГОСТ 33757. Применяемые средства скрепления в транспортных пакетах - по
ГОСТ 21650.
9.6 Посуду, уложенную в транспортную упаковку, транспортируют всеми видами транспорта по правилам перевозки грузов, действующим на данном виде транспорта.
9.7 Посуду, уложенную в транспортные коробки и ящики, а также в сформированные из них транспортные пакеты, транспортируют в крытых автомашинах.
9.8 Допускается транспортировать посуду, уложенную в контейнеры, в открытых автомашинах.
9.9 Транспортирование посуды железнодорожным, речным и морским транспортом следует проводить в контейнерах.
9.10 Допускается транспортировать посуду, уложенную в транспортные коробки и ящики, а также в сформированные из них транспортные пакеты, железнодорожным транспортом повагонными отправками.
9.11 Условия хранения посуды в части воздействия климатических факторов - по группе 3
ГОСТ 15150.
Допускаются условия при транспортировании посуды в части воздействия климатических факторов - по группе 2
ГОСТ 15150.
10.1 Изготовитель гарантирует соответствие выпускаемых изделий требованиям настоящего стандарта при соблюдении покупателем условий хранения, транспортирования и эксплуатации.
10.2 Гарантийный срок на посуду должен быть не менее 24 мес со дня продажи через розничную торговлю.
10.3 Гарантийный срок на посуду должен быть указан в инструкции по эксплуатации.
| | Предельно допустимые количества химических веществ, выделяющихся из материалов, контактирующих с пищевыми продуктами |
| | Инструкция по санитарно-химическому исследованию изделий, изготовленных из полимерных и других синтетических материалов, предназначенных для контакта с пищевыми продуктами |
УДК 641.542-034:006.354 | |
Ключевые слова: посуда чугунная, классификация, типы посуды, основные параметры и размеры, общие технические требования, правила приемки, методы контроля, маркировка, упаковка, транспортирование и хранение, гарантии изготовителя |