Главная // Актуальные документы // ГОСТ (Государственный стандарт)СПРАВКА
Источник публикации
М.: Стандартинформ, 2015
Примечание к документу
Отдельные положения данного документа включены в Перечень международных и региональных (межгосударственных) стандартов (
п. п. 23,
119), а в случае их отсутствия - национальных (государственных) стандартов, в результате применения которых на добровольной основе обеспечивается соблюдение требований технического
регламента Таможенного союза "О безопасности упаковки" (ТР ТС 005/2011) и в
Перечень международных и региональных (межгосударственных) стандартов, а в случае их отсутствия - национальных (государственных) стандартов, содержащих правила и методы исследований (испытаний) и измерений, в том числе правила отбора образцов, необходимые для применения и исполнения требований технического
регламента Таможенного союза "О безопасности упаковки" (ТР ТС 005/2011) и осуществления оценки соответствия объектов технического регулирования (
Решение Коллегии Евразийской экономической комиссии от 29.01.2024 N 9).
Текст данного документа приведен с учетом поправок, опубликованных в "ИУС",
N 8, 2017 и
N 8, 2019;
поправки, введенной в действие с 23.08.2021, опубликованной в "ИУС", N 1, 2022.
Документ
введен в действие с 01.01.2016.
Название документа
"ГОСТ 9142-2014. Межгосударственный стандарт. Ящики из гофрированного картона. Общие технические условия"
(введен в действие Приказом Росстандарта от 20.05.2015 N 386-ст)
"ГОСТ 9142-2014. Межгосударственный стандарт. Ящики из гофрированного картона. Общие технические условия"
(введен в действие Приказом Росстандарта от 20.05.2015 N 386-ст)
агентства по техническому
регулированию и метрологии
от 20 мая 2015 г. N 386-ст
МЕЖГОСУДАРСТВЕННЫЙ СТАНДАРТ
ЯЩИКИ ИЗ ГОФРИРОВАННОГО КАРТОНА
ОБЩИЕ ТЕХНИЧЕСКИЕ УСЛОВИЯ
Boxes of corrugated board. General specifications
ГОСТ 9142-2014
Дата введения
1 января 2016 года
Цели, основные принципы и порядок проведения работ по межгосударственной стандартизации установлены
ГОСТ 1.0-92 "Межгосударственная система стандартизации. Основные положения" и
ГОСТ 1.2-2009 "Межгосударственная система стандартизации. Стандарты межгосударственные, правила и рекомендации по межгосударственной стандартизации. Правила разработки, принятия, применения, обновления и отмены"
1 РАЗРАБОТАН Техническим комитетом по стандартизации ТК 223 "Упаковка"
2 ВНЕСЕН Федеральным агентством по техническому регулированию и метрологии (Росстандарт)
3 ПРИНЯТ Межгосударственным советом по стандартизации, метрологии и сертификации (протокол от 5 декабря 2014 г. N 46)
За принятие проголосовали:
Краткое наименование страны по МК (ИСО 3166) 004-97 | Код страны по МК (ИСО 3166) 004-97 | Сокращенное наименование национального органа по стандартизации |
Азербайджан | AZ | Азстандарт |
Армения | AM | Минэкономики Республики Армения |
Беларусь | BY | Госстандарт Республики Беларусь |
Казахстан | KZ | Госстандарт Республики Казахстан |
Киргизия | KG | Кыргызстандарт |
Россия | RU | Росстандарт |
Таджикистан | TJ | Таджикстандарт |
Узбекистан | UZ | Узстандарт |
Украина | UA | Минэкономразвития Украины |
4
Приказом Федерального агентства по техническому регулированию и метрологии от 20 мая 2015 г. N 386-ст межгосударственный стандарт ГОСТ 9142-2014 введен в действие в качестве национального стандарта Российской Федерации с 1 января 2016 г.
5 Настоящий стандарт разработан для обеспечения соблюдения требований технического регламента Таможенного союза ТР ТС 005/2011 "О безопасности упаковки"
Информация об изменениях к настоящему стандарту публикуется в ежегодном информационном указателе "Национальные стандарты", а текст изменений и поправок - в ежемесячном информационном указателе "Национальные стандарты". В случае пересмотра (замены) или отмены настоящего стандарта соответствующее уведомление будет опубликовано в ежемесячном информационном указателе "Национальные стандарты". Соответствующая информация, уведомление и тексты размещаются также в информационной системе общего пользования - на официальном сайте Федерального агентства по техническому регулированию и метрологии в сети Интернет
Настоящий стандарт распространяется на ящики из гофрированного картона (далее - ящики), предназначенные для упаковывания пищевой и промышленной продукции.
Ящики, предназначенные для упаковывания опасных грузов, должны соответствовать требованиям
ГОСТ 26319.
Стандарт применяют при разработке технической документации на ящики для упаковывания продукции конкретных видов.
В настоящем стандарте использованы нормативные ссылки на следующие межгосударственные стандарты:
ГОСТ 427-75 Линейки измерительные металлические. Технические условия
ГОСТ ISO 2234-2014 Упаковка. Тара транспортная наполненная и единичные грузы. Методы испытаний на штабелирование при статической нагрузке
ГОСТ ISO 2244-2013 Упаковка. Тара транспортная наполненная и грузовые единицы. Методы испытания на горизонтальный удар
ГОСТ 3282-74 Проволока стальная низкоуглеродистая общего назначения. Технические условия
ГОСТ 7502-98 Рулетки измерительные металлические. Технические условия
ГОСТ 10234-77 Лента стальная плющеная средней прочности. Технические условия
ГОСТ 18106-72 Тара транспортная наполненная. Обозначение частей для испытания
ГОСТ 18211-72 (ИСО 12048-94) Тара транспортная. Метод испытания на сжатие
| | ИС МЕГАНОРМ: примечание. Взамен ГОСТ 18425-73 Приказом Росстандарта от 28.08.2018 N 538-ст с 1 июня 2019 года введен в действие ГОСТ 18425-2018. | |
ГОСТ 18425-73 Тара транспортная наполненная. Метод испытания на удар при свободном падении
ГОСТ 18992-80 Дисперсия поливинилацетатная гомополимерная грубодисперсная. Технические условия
ГОСТ 19434-74 Грузовые единицы, транспортные средства и склады. Основные присоединительные размеры
ГОСТ 21798-76 Тара транспортная наполненная. Метод кондиционирования для испытаний
ГОСТ 24597-81 Пакеты тарно-штучных грузов. Основные параметры и размеры
ГОСТ 25776-83 Продукция штучная и в потребительской таре. Упаковка групповая в термоусадочную пленку
ГОСТ 25951-83 Пленка полиэтиленовая термоусадочная. Технические условия
ГОСТ 26663-85 Пакеты транспортные. Формирование с применением средств пакетирования. Общие технические требования
ГОСТ 32096-2013 Картон тароупаковочный для пищевой продукции. Общие технические условия
Примечание - При пользовании настоящим стандартом целесообразно проверить действие ссылочных стандартов в информационной системе общего пользования - на официальном сайте Федерального агентства по техническому регулированию и метрологии в сети Интернет или по ежегодному информационному указателю "Национальные стандарты", который опубликован по состоянию на 1 января текущего года, и по выпускам ежемесячного информационного указателя "Национальные стандарты" за текущий год. Если ссылочный стандарт заменен (изменен), то при пользовании настоящим стандартом следует руководствоваться заменяющим (измененным) стандартом. Если ссылочный стандарт отменен без замены, то положение, в котором дана ссылка на него, применяется в части, не затрагивающей эту ссылку.
3. Типы, основные параметры и размеры
Допускается по согласованию с потребителем изготовлять ящики других типов с различными конструктивными элементами.
3.2 Внутренние и наружные размеры ящиков устанавливают в технической документации на конкретные виды ящиков с учетом массы, габаритов и особенностей упаковываемой продукции.
Предпочтительными размерами ящиков являются унифицированные размеры, установленные с учетом требований
ГОСТ 21140.
3.3 Рекомендуемое отношение длины ящика к его ширине - не более 2,5:1; отношение высоты к ширине - не более 2:1 и не менее 0,5:1.
Допускается изготовление ящиков с другим соотношением сторон для изделий конструкция, размеры, а также требования к упаковке которых не позволяют выполнять указанные выше требования.
3.4 Допускаемые отклонения от внутренних (контролируемых) размеров ящиков не должны превышать:
- 2 мм - для ящиков, изготовленных из гофрированного картона с профилем гофра E и F по технической документации <*>;
- 3 мм - для ящиков, изготовленных из гофрированного картона типа Т с профилем гофра A, C и B по технической документации <*>;
- 5 мм - для ящиков, изготовленных из гофрированного картона типов П и С по технической документации <*>.
--------------------------------
По согласованию с заказчиком для крупногабаритных ящиков допускается устанавливать другие отклонения от внутренних размеров.
3.5 Зазор в стыке наружных или внутренних клапанов при сборке ящиков исполнений А, Г, Д, Е, Ж, З, изготовленных из картона типа Т, должен быть не более 5 мм, типа П - не более 10 мм, типа С - не более 14 мм.
Допускается зазор в стыке наружных или внутренних клапанов до 20 мм для ящиков с продукцией, упакованной в потребительскую упаковку, и ящиков, укомплектованных прокладками (см.
рисунки В.1,
В.8, приложение В).
По согласованию с заказчиком допускается зазор в стыке наружных клапанов дна и крышки до 50 мм для ящиков, укомплектованных обечайкой.
4. Технические требования
4.1 Характеристики
4.1.1 Показатели механической прочности ящиков: сопротивление сжатию, прочность при штабелировании, сопротивление ударам при свободном падении, сопротивление горизонтальному удару устанавливают в технической документации на ящики для конкретных видов продукции в зависимости от способности продукции воспринимать или не воспринимать нагрузку при штабелировании.
4.1.2 Способность продукции воспринимать нагрузку при штабелировании устанавливают в технической документации на упаковываемую продукцию с учетом требований, предъявляемых к ее упаковке, хранению и транспортированию.
4.1.3 Для ящиков в зависимости от вида упаковываемой продукции предусматривают показатели механической прочности, указанные в таблице 1.
Таблица 1
Наименование показателя | Ящики для продукции |
воспринимающей нагрузку при штабелировании | не воспринимающей нагрузку при штабелировании |
маркированные "Хрупкое. Осторожно" | немаркированные "Хрупкое. Осторожно" | маркированные "Хрупкое. Осторожно" | немаркированные "Хрупкое. Осторожно" |
Сопротивление сжатию | - | - | + | + |
Сопротивление ударам при свободном падении | - | + | - | + |
Сопротивление горизонтальному удару | + | - | + | - |
Прочность при штабелировании | - | - | + | + |
Примечание - Знак "+" означает, что испытание проводят; знак "-" - не проводят. |
Допускается в технической документации на ящики для конкретных видов продукции устанавливать другие показатели с соответствующими значениями.
4.1.4 Усилие сопротивления ящиков сжатию P, Н, должно быть не менее вычисляемого по формуле
где K - коэффициент запаса прочности, учитывающий нагрузки, возникающие при транспортировании и хранении, равный:
0,6 - для ящиков с высеченными элементами по высоте ящика;
3,0 - для ящиков, применяемых для продукции, не воспринимающей нагрузку штабеля;
K0 - коэффициент запаса прочности, равный 1,86, учитывающий, что продукция хранится в помещении с повышенной влажностью (75% - 80%) для продукции, не воспринимающей нагрузку;
m - масса упаковки с продукцией (масса брутто), кг;
n - количество ящиков по высоте штабеля.
Высоту штабеля устанавливают в технической документации на ящики для конкретных видов продукции с учетом свойств упаковываемой продукции, полной вместимости и/или грузоподъемности транспортных средств.
4.1.5 Массу груза M, кг, которую должны выдерживать ящики при определении сопротивления сжатию при штабелировании, вычисляют по формуле
M = 0,1KуP, (2)
где Kу - коэффициент, равный 0,82, учитывающий условия нагрузки ящиков в штабеле;
P - усилие сопротивления ящика сжатию, Н, вычисляемое по
формуле (1).
При определении прочности при штабелировании ящик выдерживают под нагрузкой в течение времени, установленного в технической документации на ящики для конкретных видов продукции.
Если в технической документации на ящики для конкретных видов продукции не указана продолжительность испытания, то ящик выдерживают в течение 24 ч.
4.1.6 Показатель сопротивления ящиков горизонтальному удару устанавливают в технической документации на ящики для конкретных видов продукции. При этом расстояние, проходимое тележкой, должно быть равно 0,6 м.
Если в технической документации на ящики для конкретных видов продукции нет указаний, то последовательность и количество ударов устанавливают по
ГОСТ ISO 2244, при этом рекомендуемая скорость соударения должна быть не менее 1,4 м/с.
4.1.7 Высота сбрасывания ящиков при определении сопротивления ударам при свободном падении должна соответствовать указанной в таблице 2. Число ударов и последовательность сбрасываний устанавливают в технической документации на ящики для конкретных видов продукции.
Таблица 2
Наименование показателя | Масса продукции в ящике, кг |
св. 7,5 до 10 включ. | св. 10 до 15 включ. | св. 15 до 20 включ. | св. 20 до 25 включ. | св. 25 до 30 включ. | св. 30 до 35 включ. | св. 35 до 40 включ. |
Высота сбрасывания, мм | 1000 | 800 | 700 | 650 | 600 | 550 | 500 |
Примечание - Для ящиков, предназначенных для упаковывания продукции массой менее 7,5 кг и свыше 40 кг, количество ударов и последовательность сбрасываний не нормируют. |
| | ИС МЕГАНОРМ: примечание. Взамен ГОСТ 18425-73 Приказом Росстандарта от 28.08.2018 N 538-ст с 1 июня 2019 года введен в действие ГОСТ 18425-2018. | |
Если в технической документации на ящики для конкретных видов продукции нет указаний, то количество и последовательность сбрасываний устанавливают по ГОСТ 18425.
4.1.8 Ящики изготовляют из одного листа гофрированного картона.
По согласованию с заказчиком допускается изготовлять ящики из двух и более листов картона, при условии обеспечения механической прочности ящиков.
4.1.9 Направление гофров в ящике, в зависимости от способности продукции воспринимать или не воспринимать нагрузку при штабелировании, устанавливают в технической документации на ящики для конкретных видов продукции. Рекомендуемое направление гофров в ящике - параллельно высоте ящика.
4.1.10 Линии сгиба ящиков наносят рилевкой, биговкой, перфорацией и/или их комбинацией. Способ нанесения линий сгиба ящиков для конкретных видов продукции согласовывают с заказчиком.
Линии сгиба должны быть взаимно перпендикулярными и обеспечивать формирование ящиков с заданными внутренними размерами.
4.1.11 Отклонение от перпендикулярности линий сгиба не должно превышать 8 мм на 1 м длины.
4.1.12 Отклонение положения прорезей и отверстий от заданного в чертежах не должно превышать +/- 5,0 мм.
4.1.13 Ящики по соединительному клапану склеивают или сшивают, или сшивают и склеивают.
4.1.14 Вид скрепления ящика и исполнение соединительного клапана устанавливают в технической документации или чертежах на ящики для конкретных видов продукции
(приложение Г).
4.1.15 Скобы располагают под любым углом параллельно или перпендикулярно к высоте ящика.
Расстояние от крайних скоб до поперечных кромок соединительного клапана должно быть не более 25 мм, до продольных кромок - не менее 5 мм.
Расстояние между скобами должно быть, мм, не более:
- 60 - при массе упаковываемой продукции до 10 кг;
- 45 - при массе упаковываемой продукции до 20 кг;
- 35 - при массе упаковываемой продукции св. 20 кг.
Допускается по согласованию с потребителем в технической документации или чертежах на ящики для конкретных видов продукции устанавливать другое расстояние между скобами.
4.1.16 Разность ширины зазора по клеевому соединению ящика, измеренная сверху и снизу (рисунок 1), не должна превышать, мм:
- 2 - при высоте ящика до 300 мм;
- 4 - при высоте ящика от 300 до 600 мм;
- 6 - при высоте ящика от 600 до 1500 мм;
- 8 - при высоте ящика св. 1500 мм.
a1 - ширина зазора по клеевому
оединению ящика, измеренная снизу;
a2 - ширина зазора по клеевому
соединению ящика, измеренная сверху;
h - высота ящика
Рисунок 1
4.1.17 Допускаемое отклонение ширины зазора по клеевому соединению ящика (рисунок 2) должно быть:
+/- 4 мм - для ящиков, изготовляемых из гофрированного картона типа Т;
+/- 6 мм - для ящиков, изготовляемых из гофрированного картона типа П.
a - ширина зазора по клеевому соединению ящика
Рисунок 2
4.1.18 При складывании и склеивании ящиков в местах склейки поверхностей выступ кромки одной поверхности относительно другой (рисунок 3) не должен превышать, мм:
- 2 мм - при ширине развертки ящика до 400 мм;
- 3 мм - при ширине развертки ящика от 400 до 800 мм включ.;
- 5 мм - при ширине развертки ящика св. 800 мм.
Рисунок 3
4.1.19 В ящиках не допускаются:
- смещение высечки клапанов по высоте ящика более, мм:
5 - для ящиков из гофрированного картона типа Т;
10 - для ящиков из гофрированного картона типа П;
14 - для ящиков из гофрированного картона типа С;
- задиры на внутренних плоских слоях картона для ящиков, имеющих непосредственный контакт с пищевой продукцией;
- задиры на наружных и внутренних плоских слоях картона общей площадью более 80 см2/м2 для ящиков, не имеющих непосредственного контакта с пищевой продукцией;
- несклеенные участки на наружном плоском слое картона;
- несклеенные участки на внутреннем плоском слое картона общей площадью более 50 см2/м2;
- разрывы, разрезы, расслоение кромок клапана на глубину более 10 мм от края кромки;
- пятна размером более 20 мм в наибольшем измерении;
- складки и морщины длиной более 50 мм на наружном плоском слое гофрированного картона.
Длину морщин и складок на внутреннем плоском слое без обнажения гофрированного слоя не нормируют.
4.1.20 Допускаются складки и морщины на наружном слое гофрированного картона в случае нестандартной технологической особенности оборудования - направления захода листа гофрированного картона (заготовки) в линию перпендикулярно к направлению гофры.
4.1.21 При нанесении перфорации допускаются трещины внутреннего плоского слоя гофрированного картона длиной не более 30% общей длины линий перфорирования для гофрированного картона типов Т и П и 40% - для гофрированного картона типа С, если другое не согласовано с заказчиком.
4.1.22 На наружной поверхности ящиков допускается наличие вмятин и продавливаний, образующихся от технологической оснастки, транспортных ремней (строповочных лент), при сшивке, склейке или упаковке, без обнажения гофрированного слоя.
4.1.23 Клей для склейки ящиков по соединительному шву наносят равномерно, допускается точечная склейка. Клеевое соединение должно быть прочным и обеспечивать невозможность разделения склеенных поверхностей без их разрушения.
4.1.24 Не допускается затекание клея на лицевую и внутреннюю поверхности ящиков, отсутствие клея в местах склейки, предусмотренных чертежами.
4.1.25 Клапаны ящиков с четырехклапанными дном и крышкой с линиями сгибов, нанесенными рилевкой или биговкой, должны выдерживать не менее 10 двойных перегибов на 180° по линии сгиба.
Допускаются трещины длиной не более 25 мм с внутренней стороны ящика без обнажения гофрированного слоя по линии сгиба.
Примечание - Данные требования не распространяются на ящики, линии сгиба которых нанесены перфорацией.
4.1.26 Элементы скрепления складных лотковых и оберточных ящиков по линиям сгиба должны обеспечивать жесткую конструкцию ящиков в собранном виде.
4.1.27 В зависимости от свойств упаковываемой продукции по согласованию с заказчиком ящики изготовляют с отверстиями, демонстрационными окнами и замками. Языки замков должны точно входить в ответные отверстия и фиксироваться.
4.1.28 Ящики для пищевой продукции должны быть чистыми, без запаха, влияющего на качество упаковываемой продукции.
4.1.29 Допускается по согласованию с заказчиком наносить на наружную и внутреннюю поверхности ящиков художественное оформление в соответствии с утвержденным образцом-эталоном.
Печать должна быть четкой, легко читаемой, не красящейся. Не допускаются загрязнения или пятна от печатной краски, затрудняющие чтение надписей, отслоение краски.
Цвет печати должен соответствовать утвержденному образцу-эталону. Допускается отклонение от цвета, но не более чем на тон по каталогу цветов.
Смещение печати относительно заданного в чертежах не должно превышать 5 мм.
При многоцветной печати отклонение от совмещения красок относительно друг друга не должно превышать 2 мм.
4.2 Требование к сырью и материалам
4.2.1 Для изготовления ящиков применяют гофрированный картон по технической документации
<*>.
По согласованию с заказчиком допускается применять картон с повышенными защитными свойствами, влагопрочный картон, картон с полимерным или лакокрасочным покрытием, с белым или цветным покровным слоем по технической документации или другие виды картона по технической документации, по качеству не ниже указанного и обеспечивающие сохранность продукции.
4.2.2 Вспомогательные упаковочные средства в зависимости от вида и назначения ящика изготовляют из картона типов Т и П по технической документации <*>, тароупаковочного картона для пищевой продукции по
ГОСТ 32096.
По согласованию с заказчиком допускается изготовлять вспомогательные упаковочные средства из картона других типов, из отходов производства или из ящиков, бывших в употреблении, при условии отсутствия загрязнений, запахов, разрывов плоских слоев гофрированного картона.
--------------------------------
4.2.3 Ящики, предназначенные для продукции, не воспринимающей нагрузку при штабелировании, изготовляют из гофрированного картона с сопротивлением торцевому сжатию вдоль гофров, указанному в
таблице Д.1 приложения Д.
4.2.4 Ящики, предназначенные для продукции, воспринимающей нагрузку при штабелировании, изготовляют из гофрированного картона с абсолютным сопротивлением продавливанию и удельным сопротивлением разрыву по линии рилевки, указанными в
таблице Д.2 приложения Д.
4.2.5 Марку картона для изготовления ящиков и вспомогательных упаковочных средств определяют с учетом способности упаковываемой продукции воспринимать или не воспринимать нагрузку при штабелировании, согласовывают с заказчиком и устанавливают в технической документации на ящики для конкретных видов продукции.
4.2.6 Для склеивания ящиков применяют поливинилацетатную дисперсию по
ГОСТ 18992. Допускается применять другие клеи по технической документации, обеспечивающие необходимую прочность склейки ящиков.
4.2.7 Для печати используют краски для флексографической, офсетной и трафаретной печати по технической документации.
Способы нанесения печати, требования к содержанию и качеству печати устанавливают в технической документации на ящики для конкретных видов продукции по согласованию с заказчиком.
4.2.8 Для сшивания соединительных клапанов ящиков применяют проволоку диаметром 0,7 - 1,0 мм по
ГОСТ 3282 или стальную плющеную ленту шириной (2,5 +/- 0,3) мм и толщиной 0,4 - 1,0 мм по
ГОСТ 10234.
4.2.9 Санитарно-гигиенические показатели безопасности и нормативы веществ, выделяющихся из материалов, применяемых для изготовления ящиков, контактирующих с пищевой продукцией, должны соответствовать требованиям технического
регламента [2].
Ящики, предназначенные для упаковывания детского питания, парфюмерно-косметической продукции, игрушек, изделий детского ассортимента, не должны выделять в контактирующие с ними модельные среды и воздушную среду вещества в количествах, вредных для здоровья человека, превышающих предельно допустимые количества миграции химических веществ по техническому
регламенту [2].
4.3.1 По согласованию с заказчиком в зависимости от назначения ящиков, габаритных размеров, свойств упаковываемой продукции и с учетом требований к упаковке, установленных в технической документации на упаковываемую продукцию, способности упаковываемой продукции воспринимать или не воспринимать нагрузку при штабелировании, условий транспортирования и сроков хранения продукции ящики комплектуют вспомогательными упаковочными средствами: обечайками, вкладышами, перегородками, решетками, прокладками, амортизаторами.
Конструкции и размеры вспомогательных упаковочных средств устанавливают в технической документации на ящики для конкретных видов продукции и согласовывают с заказчиком.
4.4 Маркировка
На каждый ящик наносят маркировку с указанием:
- товарного знака и/или наименования предприятия - изготовителя ящиков;
- обозначения настоящего стандарта или другой технической документации, по которой изготовлен ящик;
- знака о возможности утилизации "Петли Мёбиуса" с указанием материала, из которого изготовлены ящики, в виде цифрового кода и/или аббревиатуры по техническому
регламенту [2];
- символа "для пищевой продукции" для ящиков, контактирующих с пищевой продукцией по
стандарту [1].
4.4.1 На каждой грузовой единице и в товаросопроводительной документации указывают:
- наименование и назначение ящика;
- наименование страны-изготовителя;
- наименование предприятия-изготовителя, его юридический адрес и контактные телефоны;
- фамилию уполномоченного изготовителем лица, импортера (при наличии), его юридический адрес и контактные телефоны;
- товарный знак (при наличии);
- тип, исполнение, размеры ящика;
- дату изготовления (месяц, год);
- обозначение настоящего стандарта или другой технической документации, по которой изготовлен ящик;
- знак о возможности утилизации "Петлю Мёбиуса" с указанием материала, из которого изготовлены ящики, в виде цифрового кода и/или аббревиатуры по техническому
регламенту [2];
- символ "для пищевой продукции" для ящиков, контактирующих с пищевой продукцией по техническому
регламенту [2].
4.4.2 Знак обращения на рынке проставляют в товаросопроводительной документации в соответствии с техническим
регламентом [2].
4.4.3 По согласованию с заказчиком допускается наносить на ящики маркировку, характеризующую упаковываемую продукцию, и дополнительные манипуляционные знаки.
4.4.4 Транспортная маркировка - по
ГОСТ 14192 с указанием манипуляционных знаков: "Беречь от влаги" и "Крюками не брать". Количество маркировочных ярлыков, способ нанесения и место размещения ярлыка указывают в технической документации на ящики для конкретных видов продукции или согласовывают с заказчиком.
Допускается совмещение транспортной маркировки и маркировки, характеризующей продукцию.
При транспортировании ящиков транспортными пакетами по согласованию с заказчиком транспортную маркировку допускается наносить на одну из сторон транспортного пакета.
4.4.5 Маркировку наносят на русском языке и/или государственном языке страны - изготовителя ящиков с учетом соответствующих требований, установленных законодательством государств.
По согласованию с заказчиком маркировку наносят на другом языке.
4.4.6 Способы, место нанесения и содержание маркировки устанавливают в технической документации на ящики для продукции конкретных видов и в заказах на поставку с учетом требований и норм законодательства государств.
Маркировка должна быть четкой и легко читаемой.
4.5 Упаковка
4.5.1 Ящики и вспомогательные упаковочные средства поставляют в кипах, сформированных в транспортные пакеты на плоских поддонах по
ГОСТ 9078 или другой технической документации с учетом требований
ГОСТ 26663.
По согласованию с заказчиком допускается формировать транспортные пакеты на настилах из досок или других листовых материалов.
4.5.2 Предпочтительными размерами поддонов являются унифицированные размеры, соответствующие ГОСТ 19434.
4.5.3 В каждой кипе должны быть ящики одного типа, исполнения, размера и одинакового художественного оформления.
Допускается по согласованию с заказчиком упаковывать в кипы ящики и/или вспомогательные упаковочные средства разных размеров.
4.5.4 Кипы обвязывают полипропиленовым шнуром или лентой, или другими обвязочными материалами по технической документации, обеспечивающими прочность обвязки.
Кипу обвязывают по одной из сторон одним или двумя поясами, или крестообразно.
Допускается по согласованию с заказчиком формировать ящики в транспортные пакеты без разделения на кипы.
4.5.5 Транспортные пакеты, сформированные на поддонах, обертывают по всей высоте растягивающейся пленкой по
ГОСТ 25951 или другими видами пленок по технической документации и/или обвязывают транспортными ремнями (лентой) по технической документации.
По согласованию с заказчиком допускается применять другие виды упаковки, обеспечивающие сохранность ящиков и вспомогательных упаковочных средств.
4.5.6 Для предотвращения повреждений продукции при транспортировании допускается использовать дополнительные средства защиты: деревянные щиты, уголки, прокладки по технической документации.
5. Требования безопасности
5.1 Ящики из гофрированного картона нетоксичны, в обращении безопасны. Ящики являются горючим материалом, пожароопасны.
При хранении ящики следует защищать от источников возгорания и соблюдать правила пожарной безопасности.
При загорании ящиков их следует тушить любыми средствами пожаротушения.
5.2 Производство ящиков связано с применением слаботоксичных и пожароопасных материалов.
Ящики следует изготовлять в помещениях, оборудованных, местной и общеобменной приточно-вытяжной вентиляциями.
Помещение должно соответствовать санитарным нормам и нормам пожароопасности.
Производство ящиков должно быть обеспечено техническими средствами контроля за воздушной средой в рабочей зоне.
5.3 При изготовлении ящиков выделяется бумажная пыль. Предельно допустимая концентрация бумажной пыли в воздухе рабочей зоны производственных помещений - 6,0 мг/м3.
Превышение предельно допустимой концентрации бумажной пыли оказывает раздражающее действие на слизистую оболочку дыхательных путей.
Бумажная пыль способна к возгоранию от источников открытого огня.
5.4 При использовании в производственных условиях (при высыхании) непластифицированной поливинилацетатной дисперсии происходит выделение в воздух винилацетата и уксусной кислоты. При использовании пластифицированной дисперсии дополнительно выделяется пластификатор - дибутилфталат.
Предельно допустимые концентрации в воздухе рабочей зоны:
- винилацетата - 10 мг/м3;
- уксусной кислоты - 5 мг/м3;
- дибутилфталата - 0,5 мг/м3.
Превышение предельно допустимой концентрации вызывает раздражение слизистой оболочки верхних дыхательных путей и глаз. Винилацетат обладает общетоксическим действием.
5.5 Флексографские краски, используемые для печати на ящиках, являются слаботоксичным и пожароопасным продуктом из-за наличия в них диэтиленгликоля и аммиака.
Температура вспышки диэтиленгликоля - 147 °C, температура воспламенения - 163 °C.
Предельно допустимые концентрации в рабочей зоне:
- диэтиленгликоля - 0,2 мг/м3;
- аммиака - 0,2 мг/м3.
Превышение предельно допустимой концентрации диэтиленгликоля и аммиака вызывает общетоксическое действие.
6. Требования ресурсосбережения и экологии
6.1 В целях ресурсосбережения и исключения загрязнения окружающей среды отходы, образующиеся при изготовлении ящиков, а также ящики, бывшие в употреблении, утилизируют и перерабатывают во вторичное сырье на предприятиях по переработке картона.
6.2 Ящики, бывшие в употреблении и непригодные для переработки во вторичное сырье, должны быть подвергнуты захоронению или утилизации в порядке, установленном законодательством государств.
7.1 Ящики предъявляют к приемке партиями.
Партией считают количество ящиков одного типа, исполнения и размеров, оформленное одним документом о качестве, содержащим:
- наименование страны-изготовителя;
- наименование предприятия-изготовителя, его юридический адрес и контактные телефоны;
- товарный знак (при наличии);
- наименование, назначение, тип и размеры ящиков;
- номер партии;
- количество ящиков;
- дату изготовления (месяц, год);
- обозначение настоящего стандарта или другой технической документации, по которой изготовлены ящики;
- результаты испытаний, подтверждающие соответствие качества ящиков требованиям настоящего стандарта;
- информацию о возможности утилизации ящиков после их использования (петлю Мёбиуса).
В документ о качестве допускается вносить другую информацию, касающуюся качества ящиков.
7.2 При контроле качества проводят приемо-сдаточные, периодические и типовые испытания ящиков в соответствии с таблицей 3.
Таблица 3
Контролируемый показатель | Количество испытуемых образцов | Вид испытаний | Номер подраздела, пункта |
приемо-сдаточные | периодические | типовые | технических требований | методов испытаний |
Внешний вид, качество склейки и сшивки, комплектность | Каждая единица выборки | + | - | + | | |
Размеры | В соответствии с планом контроля | + | - | + | | |
Число двойных перегибов | В соответствии с планом контроля | + | - | + | | |
Сопротивление ударам при свободном падении | В соответствии с планом контроля | - | + | + | | |
Сопротивление сжатию | В соответствии с планом контроля | - | + | + | | |
Прочность при штабелировании | В соответствии с планом контроля | - | + | + | | |
Сопротивление горизонтальному удару | В соответствии с планом контроля | - | + | + | | |
Качество печати | Каждая единица выборки | + | - | + | | |
Примечание - Знак "+" означает, что показатель проверяют; знак "-" - не проверяют. |
7.3 Приемо-сдаточные испытания проводят для каждой контролируемой партии ящиков.
Типовые испытания проводят при постановке продукции на производство, при внедрении и применении новых материалов, изменении технологии производства ящиков, при разногласиях в оценке качества ящиков.
7.4 Периодические испытания ящиков проводят не реже одного раза в два года на образцах из партий ящиков, прошедших приемо-сдаточные испытания.
По согласованию с потребителем (заказчиком) допускается в технической документации на ящики для конкретных видов продукции, технологических регламентах, договорах на поставку, контрактах устанавливать другие сроки проведения периодических испытаний и перечень контролируемых показателей в зависимости от назначения ящиков.
7.5 Приемку партии ящиков проводят статистическим приемочным контролем качества.
План и процедуру выборочного контроля устанавливают в технической документации на ящики для продукции конкретных видов в соответствии с требованиями нормативных документов на статистические методы и процедуры выборочного контроля, утвержденные в установленном порядке <*>.
--------------------------------
7.6 Если в технической документации на ящики для продукции конкретных видов не установлен план статистического приемочного контроля, то контроль ящиков проводят по двухступенчатому нормальному плану выборочного контроля при общем уровне контроля II по альтернативному признаку на основе предела приемлемого качества AQL, рекомендуемые значения которого приведены в таблице 4.
Таблица 4
Контролируемый показатель | Предел приемлемого качества AQL (процент несоответствующих единиц продукции), % |
Внешний вид, размеры, качество склейки и сшивки, качество печати | 2,5 |
Число двойных перегибов | 2,5 |
Сопротивление сжатию | 1,5 |
Сопротивление ударам при свободном падении | 1,5 |
Сопротивление горизонтальному удару | 1,5 |
Прочность при штабелировании | 1,5 |
Объем партии, шт. | Выборка | Объем выборки, шт. | Совокупный объем выборки, шт. | Предел приемлемого качества AQL (процент несоответствующих единиц продукции), нормальный контроль |
1,5% | 2,5% |
Ac | Re | Ac | Re |
До 1200 включ. | Первая | 50 | 50 | 1 | 4 | 2 | 5 |
Вторая | 50 | 100 | 4 | 5 | 7 | 8 |
Св. 1200 до 3200 включ. | Первая | 80 | 80 | 2 | 5 | 3 | 6 |
Вторая | 80 | 160 | 6 | 7 | 9 | 10 |
Св. 3200 до 10000 включ. | Первая | 125 | 125 | 3 | 6 | 5 | 9 |
Вторая | 125 | 250 | 9 | 10 | 12 | 13 |
Св. 10000 до 35000 включ. | Первая | 200 | 200 | 5 | 9 | 7 | 11 |
Вторая | 200 | 400 | 12 | 13 | 18 | 19 |
Св. 35000 | Первая | 315 | 315 | 7 | 11 | 11 | 16 |
Вторая | 315 | 630 | 18 | 19 | 26 | 27 |
Примечание - В настоящей таблице применены обозначения: Ac - приемочное число; Re - браковочное число. |
7.7 Для проведения контроля качества из разных мест партии ящиков случайным образом отбирают выборки в объемах, указанных в
таблице 5, и проводят контроль по соответствующим показателям.
В зависимости от объема партии ящиков, объема выборки и значения предела приемлемого качества (AQL, %) определяют приемочные и браковочные числа по
таблице 5.
7.8 Если число несоответствующих единиц продукции в первой выборке менее приемочного числа первой ступени или равно ему, партию признают приемлемой. Если число несоответствующих единиц продукции, обнаруженных в первой выборке, превышает браковочное число первой ступени или равно ему, партию признают неприемлемой.
7.9 Если число несоответствующих единиц продукции первой выборки находится в интервале между приемочным и браковочным числами первой ступени, необходимо контролировать вторую выборку с объемом, заданным планом. Число несоответствующих единиц продукции, обнаруженных в первой и второй выборках, суммируют.
Если кумулятивное (суммарное) число несоответствующих единиц продукции менее приемочного числа второй ступени или равно ему, партию считают приемлемой. Если кумулятивное (суммарное) число несоответствующих единиц продукции превышает браковочное число второй ступени или равно ему, партию считают неприемлемой.
7.10 Если в первой выборке не обнаружены ящики, не отвечающие требованиям испытаний на прочность, то ящики, отобранные во вторую выборку, на прочность не испытывают.
7.11 По согласованию с потребителем (заказчиком) допускается устанавливать другие планы контроля качества в технической документации на ящики для конкретных видов продукции, договорах на поставку, контрактах, технологических регламентах в зависимости от назначения ящиков и значимости несоответствий контролируемых показателей качества ящиков.
Примечание - Если уровень качества выражают процентом несоответствующих единиц продукции, значение AQL (%) не должно превышать 10% по
стандарту [3].
8.1 Если в технической документации на ящики для продукции конкретных видов нет других указаний, то кондиционирование проводят при температуре 23 °C и относительной влажности 50% (режим 7,
ГОСТ 21798) в течение 24 ч.
Каждому образцу присваивают порядковый номер и наносят обозначение поверхностей в соответствии с ГОСТ 18106.
8.2 Внешний вид, комплектность, соответствие образцу-эталону (при наличии), качество склеивания и сшивания ящиков контролируют визуально.
8.3 Внутренние размеры ящиков, обечаек, вкладышей, в т.ч. смещение высечки клапанов ящиков, контролируют измерением расстояния между ближайшими параллельными осями рилевки (биговки) развертки за вычетом припусков (см.
приложение Б).
8.4 Для определения числа двойных перегибов по линии рилевки (сгиба) клапанов ящик с четырехклапанными дном и крышкой в сложенном виде кладут на плоскую поверхность и десять раз перегибают каждый клапан на 180°.
| | ИС МЕГАНОРМ: примечание. Взамен ГОСТ 18425-73 Приказом Росстандарта от 28.08.2018 N 538-ст с 1 июня 2019 года введен в действие ГОСТ 18425-2018. | |
Прочность при штабелировании по
ГОСТ ISO 2234 проверяют при отсутствии пресса для испытания ящиков на определение показателя сопротивления сжатию.
8.7 Контроль художественного оформления и печати ящиков проводят сличением с образцом-эталоном, макетом или дизайном, согласованным с заказчиком.
8.8 Контроль соответствия цветов, используемых в художественном оформлении ящиков, проводят сличением с образцом-эталоном, согласованным с заказчиком.
9. Транспортирование и хранение
9.1 Ящики и вспомогательные упаковочные средства транспортируют всеми видами транспорта в крытых транспортных средствах в соответствии с правилами перевозки грузов, действующими на данном виде транспорта.
9.2 При транспортировании кип ящиков, сформированных в транспортные пакеты, размеры и масса пакетов должны удовлетворять требованиям
ГОСТ 26663 и требованиям правил перевозки грузов, действующих на соответствующих видах транспорта.
9.3 Ящики и вспомогательные упаковочные средства хранят в упаковке производителя в крытых складских помещениях, защищенных от атмосферных осадков и почвенной влаги, с естественной вентиляцией в штабеле высотой не более 3 м на расстоянии не менее 1 м от отопительных приборов. Расстояние между штабелем кип и полом склада должно быть не менее 100 мм.
Условия хранения - при температуре от минус 14 °C до плюс 40 °C и относительной влажности воздуха 25% - 70%.
10. Указания по эксплуатации
10.1 Перед использованием ящики и вспомогательные упаковочные средства выдерживают в производственных помещениях в течение 4 - 6 ч.
10.2 Ящики с упакованной продукцией должны быть укупорены.
Для укупоривания ящики оклеивают клеевой лентой, обтягивают металлической или полимерной лентой; клапаны ящика склеивают или сшивают скобами между собой (см.
приложение Е).
Допускаются другие способы укупоривания ящиков с продукцией.
10.3 При сборке складных лотковых и оберточных ящиков не допускается перегибание клапанов наружу, если дизайном не предусмотрено использование обратной рилевки (биговки).
10.4 В зависимости от свойств упаковываемой продукции складные лотковые и оберточные ящики с упакованной продукцией допускается обтягивать полиэтиленовой термоусадочной пленкой по
ГОСТ 25951 или другими видами пленки по нормативным документам, обеспечивающей качество и сохранность упакованной продукции.
10.5 Складные оберточные ящики рекомендуется использовать для групповой упаковки пищевой штучной продукции в потребительской упаковке с учетом требований
ГОСТ 25776.
10.6 Ящики с упакованной продукцией должны укладываться в штабель без смещения ящиков относительно друг друга.
Для предотвращения смещения ящиков с упакованной продукцией по высоте штабеля и снижения потерь прочности ящиков при штабелировании рекомендуется между горизонтальными рядами ящиков применять прокладки из цельного листа или отдельных листов картона (тарного, плоского склеенного, гофрированного или других листовых материалов).
10.7 Укладка ящиков с упакованной продукцией в штабели в перевязку или другими способами допускается для ящиков с упакованной продукцией, воспринимающей нагрузку при штабелировании, а также с продукцией, не воспринимающей нагрузку при штабелировании, при условии обязательного применения прокладок между горизонтальными рядами ящиков.
10.8 Параметры и размеры пакетов при укладке ящиков с упакованной продукцией на поддоны размерами 1200 x 800 и 1200 x 1000 мм должны соответствовать требованиям
ГОСТ 24597.
10.9 Пакеты с продукцией, упакованной в ящики из гофрированного картона, должны храниться в соответствии с требованиями технической документации на упаковываемую продукцию.
11. Гарантии изготовителя
11.1 Изготовитель гарантирует соответствие ящиков требованиям настоящего стандарта при соблюдении потребителем изложенных выше правил транспортирования, хранения и эксплуатации.
11.2 Гарантийный срок хранения ящиков устанавливают в технической документации на ящики для конкретных видов продукции.
11.3 По истечении срока хранения проводят контрольные испытания ящиков по основным показателям на соответствие требованиям настоящего стандарта. При получении положительных результатов испытаний ящики могут быть использованы по назначению.
(рекомендуемое)
Таблица А.1
Тип и характеристика ящика | Исполнение | Развертка ящика |
Складной с четырехклапанным дном и крышкой со стыкующимися наружными клапанами | А | |
С частично перекрывающимися наружными клапанами | Б | Рисунок А.2 |
С полностью перекрывающимися наружными клапанами | В | Рисунок А.3 |
Со стыкующимися внутренними клапанами и частично перекрывающимися наружными клапанами | Г | Рисунок А.4 |
Со стыкующимися наружными и внутренними клапанами | Д | Рисунок А.5 |
С укороченными наружными и внутренними клапанами на крышке и со стыкующимися наружными клапанами на дне | Е | Рисунок А.6 |
Со стыкующимися наружными клапанами дна и крышки | Ж | 1 - корпус 1; 2 - корпус 2 Рисунок А.7 |
Со стыкующимися наружными клапанами, без дна | И | Рисунок А.8 |
1 - телескопический со съемной крышкой, со сплошным дном | 1.1 | Рисунок А.9 |
Из двух склеенных (сшитых) корпусов | 1.2 | Рисунок А.10 |
Со съемными крышкой и дном, с цельным корпусом | 1.3 | Рисунок А.11 |
2 - оберточный складной из одной заготовки со стыкующимися наружными и внутренними клапанами | 2.1 | Рисунок А.12 |
Из двух заготовок со стыкующимися наружными и внутренними клапанами | 2.2 | Рисунок А.13 |
Из трех прямоугольных заготовок со стыкующимися наружными клапанами | 2.3 | Рисунок А.14 |
Из одной заготовки с перекрывающимися наружными клапанами | 2.4 | Рисунок А.15 |
3 - лотковый складной с боковыми усиленными стенками с клапанами в застежку с дном | 3.1 | Рисунок А.16 |
С торцевыми усиленными стенками с клапанами в застежку с дном | 3.2 | Рисунок А.17 |
С клапанами без застежки с дном с отверстиями для ручек | 3.3 | Рисунок А.18 |
4 - пенал из двух сшитых (склеенных) разверток | 4.1 | Рисунок А.19 |
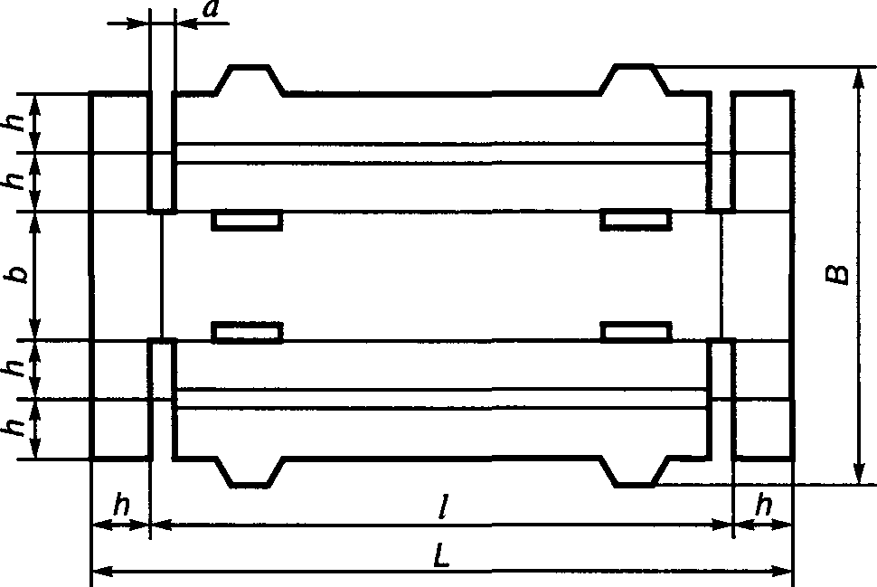
Примечания 1 Условные обозначения, применяемые на рисунках А.1 - А.19: L - длина развертки, мм; B - ширина развертки, мм; l - длина ящика, мм; b - ширина ящика, мм; b 1 - 0,5b (исполнения А, Д, Е, Ж, И); b 2 - 0,5b + f (исполнения Б, Г); b 3 - b (исполнение В); b 4 - (0,1 - 0,5)b (исполнение Е); b 5 - 0,5l (исполнения Г, Д); h - высота ящика, мм; f - величина перекрытия клапанов, определяющих конструкцию; a - ширина просечки 4 - 10 мм; c - ширина соединительного клапана 20 - 50 мм. 2 В ящиках исполнения Ж размеры l, b корпуса 1 увеличивают с учетом толщины картона корпуса 2. |
(справочное)
РАЗВЕРТКА ЯЩИКА ИСПОЛНЕНИЯ А
L - длина развертки, мм; B - ширина развертки, мм;
l, b, h - внутренние размеры ящика
(длина, ширина, высота), мм; S - толщина картона, мм;
a - 4 - 10 мм; c - 20 - 50 мм;

- не более 55°
Примечание - Допускается для ящиков, изготовляемых из пятислойного и семислойного гофрированного картона, к высоте ящика добавлять две толщины картона (h + 2S).
Рисунок Б.1
(рекомендуемое)
ВСПОМОГАТЕЛЬНЫЕ УПАКОВОЧНЫЕ СРЕДСТВА
Обечайка
Вкладыш
Перегородки
Рисунок В.3
Рисунок В.4
Рисунок В.5
Решетки
Рисунок В.6
Прокладка
Амортизатор
Рисунок В.9
(справочное)
ПРИМЕРЫ ИСПОЛНЕНИЙ СОЕДИНИТЕЛЬНОГО КЛАПАНА
Рисунок Г.1
(рекомендуемое)
СОПРОТИВЛЕНИЕ ТОРЦЕВОМУ СЖАТИЮ
ГОФРИРОВАННОГО КАРТОНА ВДОЛЬ ГОФРОВ
Усилие сопротивления ящиков сжатию P, Н | Сопротивление торцевому сжатию гофрированного картона вдоль гофров, кН/м, при значении K1 ящика, не менее |
6 | 7 | 8 | 9 | 10 | 11 | 12 | 13 | 14 | 15 | 16 | 17 | 18 | 19 | 20 |
До 1000 | 3,3 | 2,8 | 2,4 | 2,2 | 2,2 | 2,2 | 2,2 | 2,2 | 2,2 | 2,2 | 2,2 | 2,2 | 2,2 | 2,2 | 2,2 |
1001 - 1250 | 4,1 | 3,5 | 3,1 | 2,7 | 2,5 | 2,2 | 2,2 | 2,2 | 2,2 | 2,2 | 2,2 | 2,2 | 2,2 | 2,2 | 2,2 |
1251 - 1500 | 4,9 | 4,2 | 3,8 | 3,3 | 3,0 | 2,7 | 2,5 | 2,3 | 2,2 | 2,2 | 2,2 | 2,2 | 2,2 | 2,2 | 2,2 |
1500 - 1750 | 5,7 ---- 3,8 | 4,9 ---- 3,2 | 4,3 | 3,8 | 3,4 | 3,1 | 2,9 | 2,6 | 2,5 | 2,3 | 2,2 | 2,2 | 2,2 | 2,2 | 2,2 |
1751 - 2000 | 6,6 ---- 4,3 | 5,6 ---- 3,6 | 4,9 ---- 3,2 | 4,3 | 3,9 | 3,6 | 3,3 | 3,0 | 2,8 | 2,6 | 2,5 | 2,3 | 2,2 | 2,2 | 2,2 |
2001 - 2250 | 7,4 ---- 4,8 | 6,3 ---- 4,1 | 5,5 ---- 3,6 | 4,9 ---- 3,7 | 4,4 | 4,0 | 3,7 | 3,4 | 3,2 | 3,0 | 2,8 | 2,6 | 2,5 | 2,3 | 2,2 |
2251 - 2500 | 8,2 ---- 5,4 | 7,0 ---- 4,6 | 6,1 ---- 4,0 | 5,5 ---- 3,7 | 4,9 ---- 3,2 | 4,5 | 4,1 | 3,8 | 3,5 | 3,3 | 3,1 | 2,9 | 2,7 | 2,6 | 2,5 |
2501 - 2750 | 9,0 ---- 5,9 | 7,7 ---- 5,0 | 6,8 ---- 4,4 | 6,0 ---- 3,9 | 5,4 ---- 3,5 | 4,9 ---- 3,2 | 4,6 | 4,2 | 3,8 | 3,6 | 3,4 | 3,2 | 3,0 | 2,8 | 2,7 |
2751 - 3000 | 9,8 ---- 6,4 | 8,4 ---- 5,5 | 7,4 ---- 4,8 | 6,6 ---- 4,3 | 5,8 ---- 3,8 | 5,4 ---- 3,5 | 4,9 ---- 3,2 | 4,6 | 4,2 | 3,9 | 3,7 | 3,5 | 3,3 | 3,1 | 3,0 |
3001 - 3250 | 10,6 ---- 6,9 | 9,1 ---- 5,9 | 8,0 ---- 5,2 | 7,1 ---- 4,6 | 6,3 ---- 4,1 | 5,8 ---- 3,8 | 5,4 ---- 3,5 | 4,9 ---- 3,2 | 4,6 | 4,3 | 4,0 | 3,8 | 3,6 | 3,4 | 3,2 |
3251 - 3500 | 11,5 ---- 7,5 | 9,8 ---- 6,4 | 8,6 ---- 5,6 | 7,6 ---- 5,0 | 6,8 ---- 4,4 | 6,3 ---- 4,1 | 5,7 ---- 3,8 | 5,3 ---- 3,5 | 4,9 ---- 3,2 | 4,6 | 4,3 | 4,0 | 3,8 | 3,6 | 3,4 |
3501 - 3750 | 12,3 ---- 8,0 | 10,5 ---- 6,8 | 9,2 ---- 6,0 | 8,2 ---- 5,4 | 7,3 ---- 4,7 | 6,7 ---- 4,3 | 6,1 ---- 4,0 | 5,7 ---- 3,8 | 5,3 ---- 3,5 | 4,9 ---- 3,2 | 4,6 | 4,3 | 4,1 | 3,9 | 3,7 |
3751 - 4000 | 13,1 ---- 8,5 | 11,2 ---- 7,3 | 9,8 ---- 6,4 | 8,7 ---- 5,7 | 7,7 ---- 5,1 | 7,2 ---- 4,6 | 6,6 ---- 4,3 | 6,1 ---- 4,0 | 5,6 ---- 3,8 | 5,2 ---- 3,4 | 4,9 ---- 3,2 | 4,6 | 4,4 | 4,1 | 3,9 |
4001 - 1250 | 13,5 ----- 9,1 | 11,9 ----- 7,8 | 10,4 ----- 6,8 | 9,3 ----- 6,0 | 8,3 ----- 5,4 | 7,6 ----- 4,9 | 7,0 ----- 4,5 | 6,4 ----- 4,2 | 6,0 ---- 3,9 | 5,6 ---- 3,6 | 5,2 ---- 3,4 | 4,9 ---- 3,2 | 4,6 | 4,4 | 4,2 |
4251 - 1500 | 14,7 ----- 9,6 | 12,6 ----- 8,2 | 11,0 ----- 7,2 | 9,8 ----- 6,4 | 8,8 ---- 5,6 | 8,0 ---- 5,2 | 7,4 ---- 4,8 | 6,8 ---- 4,4 | 6,3 ---- 4,1 | 5,9 ---- 3,8 | 5,5 ---- 3,6 | 5,2 ---- 3,4 | 4,9 ---- 3,2 | 4,6 | 4,4 |
4501 - 4750 | 15,6 ----- 10,1 | 13,3 ----- 8,7 | 11,6 ----- 7,6 | 10,4 ----- 6,7 | 9,3 ---- 6,1 | 8,5 ---- 5,5 | 7,8 ---- 5,1 | 7,2 ---- 4,7 | 6,7 ---- 4,3 | 6,2 ---- 4,0 | 5,8 ---- 3,8 | 5,5 ---- 3,6 | 5,2 ---- 3,4 | 4,9 ---- 3,2 | 4,7 |
4751 - 5000 | 16,4 ----- 10,6 | 14,0 ----- 9,1 | 12,3 ----- 8,0 | 10,9 ----- 7,1 | 9,8 ---- 6,4 | 8,9 ---- 5,8 | 8,2 ---- 5,4 | 7,6 ---- 5,0 | 7,0 ---- 4,6 | 6,6 ---- 4,2 | 6,1 ---- 4,0 | 5,8 ---- 3,8 | 5,5 ---- 3,6 | 5,2 ---- 3,3 | 4,9 ---- 3,2 |
Таблица Д.2
Сопротивление продавливанию
Предельная масса груза в ящике, кг | Сопротивление продавливанию, МПа (кгс/см2), в числителе, удельное сопротивление разрыву по линии рилевки в поперечном направлении, кН/м, в знаменателе, при минимальном одном из размеров (длине, ширине и высоте), мм, не менее |
До 125 | 125 - 150 | 151 - 175 | 176 - 200 | 201 - 225 | 226 - 250 | 251 - 275 | 276 - 300 | 301 - 325 | 326 - 350 |
От 7,5 до 10 включ. | 1,1 (11,0) ----------- 8 | 0,9 (9,0) ----------- 6 | 0,9 (9,0) ----------- 6 | 0,7 (7,0) ----------- 4 | 0,7 (7,0) ----------- 4 | 0,7 (7,0) ----------- 4 | 0,7 (7,0) ----------- 4 | 0,7 (7,0) ----------- 4 | 0,7 (7,0) ----------- 4 | 0,7 (7,0) ----------- 4 |
От 11 до 15 включ. | 1,3(13,0) ----------- 10 | 1,1 (11,0) ----------- 8 | 0,9 (9,0) ----------- 6 | 0,9 (9,0) ----------- 6 | 0, 9 (9,0) ----------- 6 | 0,7 (7,0) ----------- 4 | 0,7 (7,0) ----------- 4 | 0,7 (7,0) ----------- 4 | 0,7 (7,0) ----------- 4 | 0,7 (7,0) ----------- 4 |
От 16 до 20 включ. | 1,5 (15,0) ----------- 12 | 1,3 (13,0) ----------- 10 | 1,1 (11,0) ----------- 6 | 1,1 (11,0) ----------- 8 | 0,9 (9,0) ----------- 8 | 0,9 (9,0) ----------- 6 | 0,9 (9,0) ----------- 6 | 0,7 (7,0) ----------- 6 | 0,7 (7,0) ----------- 4 | 0,7 (7,0) ----------- 4 |
От 21 до 25 включ. | 1,7 (17,0) ----------- 14 | 1,5 (15,0) ----------- 12 | 1,3 (13,0) ----------- 10 | 1,1 (11,0) ----------- 8 | 1,1 (11,0) ----------- 8 | 0,9 (9,0) ----------- 6 | 0,9 (9,0) ----------- 6 | 0,9 (9,0) ----------- 6 | 0,9 (9,0) ----------- 6 | 0,9 (9,0) ----------- 6 |
От 26 до 30 включ. | 2,0 (20,0) ----------- 16 | 1,7 (17,0) ----------- 14 | 1,5 (15,0) ----------- 12 | 1,3 (13,0) ----------- 10 | 1,1 (11,0) ----------- 8 | 1,1 (11,0) ----------- 8 | 0,9 (9,0) ----------- 6 | 0,9 (9,0) ----------- 6 | 0,9 (9,0) ----------- 6 | 0,9 (9,0) ----------- 6 |
От 31 до 35 включ. | 2,0 (20,0) ----------- 16 | 1,7 (17,0) ----------- 14 | 1,5 (15,0) ----------- 12 | 1,3 (13,0) ----------- 10 | 1,1 (11,0) ----------- 8 | 1,1 (11,0) ----------- 8 | 1,1 (11,0) ----------- 8 | 0,9 (9,0) ----------- 6 | 0,9 (9,0) ----------- 6 | 0,9 (9,0) ----------- 6 |
От 36 до 40 включ. | 2,0 (20,0) ----------- 16 | 1,7 (17,0) ----------- 14 | 1,5 (15,0) ----------- 12 | 1,3 (13,0) ----------- 10 | 1,3(13,0) ----------- 10 | 1,1 (11,0) ----------- 8 | 1,1 (11,0) ----------- 8 | 0,9 (9,0) ----------- 6 | 0,9 (9,0) ----------- 6 | 0,9 (9,0) ----------- 6 |
Примечания
1 Для ящиков, предназначенных для упаковывания продукции массой менее 7,5 кг и свыше 40 кг, а также для ящиков телескопических, оберточных, футлярных и лотковых типов марку картона определяют экспериментально.
2 Ящики, у которых минимальный размер превышает 350 мм, определяют по 350 мм.
Коэффициент K1 вычисляют по формуле

(Д.1)
где F - площадь основания ящика, равная (l x b), см2;
L - периметр ящика, равный 2(l + b), см;
l, b, h - внутренние размеры ящика - длина, ширина, высота, см.
При K1 менее 6,0 сопротивление торцевому сжатию определяют по 6,0; более 20,0 - по 20,0.
С промежуточными значениями K1 до 0,5 - по меньшему значению, равному 0,5, и более - по большему.
При усилии сопротивления ящиков сжатию свыше 5000 Н, а также ящиков телескопических, оберточных, футлярных и лотковых типов значение торцевого сжатия определяют экспериментально.
В числителе указано сопротивление торцевому сжатию для изготовления ящиков, применяемых без комплектующих изделий.
В знаменателе указано сопротивление торцевому сжатию гофрированного картона для изготовления ящиков с применением комплектующих изделий (см.
рисунки В.2 -
В.7, приложение В).
При промежуточных значениях показателя сопротивления торцевому сжатию до 0,5 устанавливают марку по меньшему значению, более 0,5 - по большему.
При одинаковом значении показателя сопротивления торцевому сжатию трехслойного и пятислойного картона пятислойный картон используют для упаковывания продукции, маркированной манипуляционным знаком по
ГОСТ 14192, имеющим значение "Хрупкое. Осторожно".
(рекомендуемое)
ПРИМЕРЫ УКУПОРИВАНИЯ ЯЩИКОВ С ПРОДУКЦИЕЙ
Оклеивание клеевой лентой
Рисунок Е.1
Рисунок Е.2
Обтягивание лентой
Рисунок Е.3
Склеивание и сшивание клапанов между собой
Рисунок Е.4
Рисунок Е.5
| | Картон гофрированный для упаковывания продукции. Технические условия |
| | О безопасности упаковки (принят решением Комиссии Таможенного союза от 16 августа 2011 г. N 769) |
| | Статистические методы. Процедуры выборочного контроля по альтернативному признаку. Часть 1. Планы выборочного контроля последовательных партий на основе приемлемого уровня качества |