Главная // Актуальные документы // ГОСТ (Государственный стандарт)
СПРАВКА
Источник публикации
М.: Стандартинформ, 2018
Примечание к документу
Документ включен в Перечень международных и региональных (межгосударственных) стандартов (п. п. 82, 157, 202, 254), а в случае их отсутствия - национальных (государственных) стандартов, содержащих правила и методы исследований (испытаний) и измерений, в том числе правила отбора образцов, необходимые для применения и исполнения требований технического регламента Таможенного союза "О безопасности упаковки" (ТР ТС 005/2011) и осуществления оценки соответствия объектов технического регулирования (Решение Коллегии Евразийской экономической комиссии от 29.01.2024 N 9).

Текст данного документа приведен с учетом поправок, опубликованных в "ИУС", N 10, 2019; N 4, 2020.

Документ введен в действие с 01.06.2019.

Взамен ГОСТ 18425-73.
Название документа
"ГОСТ 18425-2018. Межгосударственный стандарт. Упаковка транспортная наполненная. Метод испытания на удар при свободном падении"
(введен в действие Приказом Росстандарта от 28.08.2018 N 538-ст)

"ГОСТ 18425-2018. Межгосударственный стандарт. Упаковка транспортная наполненная. Метод испытания на удар при свободном падении"
(введен в действие Приказом Росстандарта от 28.08.2018 N 538-ст)


Содержание


Введен в действие
Приказом Федерального
агентства по техническому
регулированию и метрологии
от 28 августа 2018 г. N 538-ст
МЕЖГОСУДАРСТВЕННЫЙ СТАНДАРТ
УПАКОВКА ТРАНСПОРТНАЯ НАПОЛНЕННАЯ
МЕТОД ИСПЫТАНИЯ НА УДАР ПРИ СВОБОДНОМ ПАДЕНИИ
Complete, filled transport packages.
Vertical impact test by dropping
(ISO 2248:1985, NEQ)
ГОСТ 18425-2018
МКС 55.180.40
Дата введения
1 июня 2019 года
Предисловие
Цели, основные принципы и основной порядок проведения работ по межгосударственной стандартизации установлены в ГОСТ 1.0-2015 "Межгосударственная система стандартизации. Основные положения" и ГОСТ 1.2-2015 "Межгосударственная система стандартизации. Стандарты межгосударственные, правила и рекомендации по межгосударственной стандартизации. Правила разработки, принятия, обновления и отмены".
Сведения о стандарте
1 РАЗРАБОТАН Межгосударственным техническим комитетом по стандартизации МТК 223 "Упаковка"
2 ВНЕСЕН Межгосударственным техническим комитетом по стандартизации МТК 223 "Упаковка"
3 ПРИНЯТ Межгосударственным советом по стандартизации, метрологии и сертификации (протокол от 30 мая 2018 г. N 109-П)
За принятие проголосовали:
Краткое наименование страны по МК (ИСО 3166) 004-97
Код страны по МК (ИСО 3166) 004-97
Сокращенное наименование национального органа по стандартизации
Армения
AM
Минэкономики Республики Армения
Беларусь
BY
Госстандарт Республики Беларусь
Казахстан
KZ
Госстандарт Республики Казахстан
Киргизия
KG
Кыргызстандарт
Россия
RU
Росстандарт
Узбекистан
UZ
Узстандарт
4 Приказом Федерального агентства по техническому регулированию и метрологии от 28 августа 2018 г. N 538-ст межгосударственный стандарт ГОСТ 18425-2018 введен в действие в качестве национального стандарта Российской Федерации с 1 июня 2019 г.
5 В настоящем стандарте учтены основные нормативные положения международного стандарта ISO 2248:1985 "Упаковка. Тара транспортная наполненная. Метод испытания на вертикальный удар при падении" ("Packaging - Complete, filled transport packages - Vertical impact test by dropping", NEQ)
6 ВЗАМЕН ГОСТ 18425-73
Информация об изменениях к настоящему стандарту публикуется в ежегодном информационном указателе "Национальные стандарты", а текст изменений и поправок - в ежемесячном информационном указателе "Национальные стандарты". В случае пересмотра (замены) или отмены настоящего стандарта соответствующее уведомление будет опубликовано в ежемесячном информационном указателе "Национальные стандарты". Соответствующая информация, уведомление и тексты размещаются также в информационной системе общего пользования - на официальном сайте Федерального агентства по техническому регулированию и метрологии в сети Интернет (www.gost.ru).
1 Область применения
Настоящий стандарт устанавливает метод испытания наполненной транспортной упаковки на удар при свободном падении.
2 Нормативные ссылки
В настоящем стандарте использованы ссылки на следующие межгосударственные стандарты:
ГОСТ 427-75 Линейки измерительные металлические. Технические условия
ГОСТ 7502-98 Рулетки измерительные металлические. Технические условия
ГОСТ 9416-83 Уровни строительные. Технические условия
ГОСТ 18106-72 Тара транспортная наполненная. Обозначение частей для испытания
ГОСТ 21798-76 Тара транспортная наполненная. Метод кондиционирования для испытаний
Примечание - При пользовании настоящим стандартом целесообразно проверить действие ссылочных стандартов в информационной системе общего пользования - на официальном сайте Федерального агентства по техническому регулированию и метрологии в сети Интернет или по ежегодному информационному указателю "Национальные стандарты", который опубликован по состоянию на 1 января текущего года, и по соответствующим ежемесячным информационным указателям, опубликованным в текущем году. Если ссылочный стандарт заменен (изменен), то при пользовании настоящим стандартом следует руководствоваться заменяющим (измененным) стандартом. Если ссылочный стандарт отменен без замены, то положение, в котором дана ссылка на него, применяется в части, не затрагивающей эту ссылку.
3 Термины и определения
В настоящем стандарте применен следующий термин с соответствующим определением:
3.1 образец для испытаний (test item): Наполненная транспортная упаковка.
4 Сущность метода
4.1 Образец для испытания (далее - образец) поднимают над ударной площадкой на заданную высоту в заданном положении и освобождают его из этого положения с последующим вертикальным ударом о площадку в результате свободного падения.
4.2 Последовательность сбрасываний, высоту падения и положение образца при падении устанавливают в технической документации на упаковку для конкретных видов продукции.
5 Оборудование
5.1 Оборудование должно состоять из горизонтальной ударной площадки, подъемного устройства, захватов, крюков и фиксаторов.
5.2 Ударная площадка должна быть:
- гладкой и горизонтальной в пределах 2 мм на 1000 мм;
- плоской настолько, чтобы при ее горизонтальном положении разница по высоте между самой низкой и самой высокой точками не превышала 2 мм;
- жесткой настолько, чтобы ее деформация не превышала 0,1 мм при статической нагрузке 10 кг на 100 мм2 любого участка поверхности;
- массой, превышающей не менее чем в 50 раз массу самой тяжелой упаковки, подвергаемой испытанию.
5.3 Размеры ударной площадки должны быть больше размеров ударяемой поверхности или выбранного участка испытуемого образца.
5.4 Горизонтальность площадки проверяют уровнем по ГОСТ 9416 с отклонением в пределах 1°.
5.5 Подъемное устройство должно обеспечивать установку заданной высоты падения образца с точностью +/- 2% и исключать возможность повреждения образца при подъеме и высвобождении.
5.6 Захваты, крюки и фиксаторы должны удерживать образец в заданном положении без повреждений и обеспечивать его свободное падение.
5.7 Средства для определения размеров образца должны обеспечивать точность измерения +/- 1 мм.
5.8 Схемы испытательного оборудования приведены в приложении А.
6 Подготовка к испытанию
6.1 Количество образцов для испытаний на удар при свободном падении отбирают в соответствии с технической документацией на упаковку для конкретных видов продукции.
Если в технической документации не указано количество образцов, то отбирают не менее 10 образцов.
6.2 Каждому образцу присваивают порядковый номер, а поверхности обозначают в соответствии с ГОСТ 18106.
6.3 Образцы заполняют до номинальной вместимости продукцией, для которой они предназначены. Для заполнения образцов может быть использована бутафория при условии, что ее масса, размеры и физические свойства соответствуют массе, размерам и физическим свойствам заменяемой продукции.
Образцы формируют, включая средства укупоривания и вспомогательные упаковочные средства, в соответствии с требованиями технической документации на упаковку для конкретных видов продукции.
7 Кондиционирование
Перед испытанием образцы кондиционируют в соответствии с ГОСТ 21798. Условия и длительность кондиционирования устанавливают в технической документации на упаковку для конкретных видов продукции.
Если в технической документации на упаковку для конкретных видов продукции не установлен режим кондиционирования, образцы кондиционируют при температуре (20 +/- 2) °C и относительной влажности (65 +/- 2)% (режим 5, ГОСТ 21798) в течение 24 ч.
8 Проведение испытаний
8.1 Образцы испытывают в тех же атмосферных условиях, в которых они кондиционировались, если они являются критическими для образцов, или в условиях, близких к ним.
8.2 Образцы взвешивают, определяют массу брутто упаковки, массу содержимого в килограммах и измеряют наружные размеры. Точность взвешивания устанавливают в технической документации на упаковку для конкретного вида продукции.
8.3 Образец, подготовленный к испытанию, поднимают и устанавливают в заданном положении на высоту, которая не должна превышать +/- 2% заданной высоты падения, определенной по расстоянию между самой низкой точкой образца в момент сбрасывания и ближайшей точкой на поверхности ударной площадки.
Высоту подъема контролируют расстоянием:
- для падения на угол - между ударной площадкой и испытываемым углом;
- для падения на стенки - между ударной площадкой и каждым из углов испытуемой стенки;
- для падения на ребро - между ударной площадкой и концами испытуемого ребра.
Высоту подъема образца измеряют линейкой по ГОСТ 427 или рулеткой по ГОСТ 7502.
8.4 Если в технической документации на упаковку для конкретных видов продукции не установлена последовательность сбрасывания, то сбрасывание проводят с учетом обозначений, указанных в 6.2, в следующей последовательности:
- для прямоугольной закрытой упаковки:
- на угол 5-2-3;
- на стенки 3, 5, 2;
- на ребра 2-5, 3-5, 2-3;
- для прямоугольной открытой упаковки:
- на дно 3 - шесть раз;
- для цилиндрической упаковки:
- на верхнюю поверхность 1-3-5-7 или нижнюю поверхность 2-4-6-8;
- на ребро или край (кромку) в любой из точек 1-8;
- на боковую поверхность по любой из линий 1-2, 3-4, 5-6, 7-8;
- для мешков:
- на верхнюю поверхность 1 или нижнюю поверхность 3;
- на дно 5 или верх 6;
- на боковую поверхность 2 или 4.
8.5 Образец сбрасывают с заданной высоты, соблюдая требования 8.6 - 8.9.
8.6 При падении образца на угол или ребро центр тяжести располагают на вертикали, проходящей через испытуемые угол или ребро.
8.7 При падении на стенки или ребро угол между ударяемой стенкой или ребром образца и ударной площадкой должен составлять менее 2°.
8.8 При падении на угол или ребро угол между поверхностью образца и ударной площадкой должен быть в пределах +/- 5° или 10% заданного угла, в зависимости от того, какое из значений больше.
8.9 Скорость в момент удара образца должна составлять не более 1% от скорости свободного падения.
8.10 Испытания прекращают, если образец разрушился или получил повреждения, влияющие на сохранность продукции.
8.11 Образец считают выдержавшим испытания, если после испытания он не имеет повреждений, влияющих на сохранность продукции.
9 Оформление результатов испытаний
Результаты испытаний оформляют протоколом, который должен содержать:
- обозначение настоящего стандарта;
- наименование и адрес лаборатории, проводившей испытания;
- наименование и адрес заказчика;
- наименование и номер отчета;
- дату получения образцов для испытания и дату проведения испытаний;
- подписи лиц, проводивших испытания;
- информацию о том, что результаты испытания распространяют только на испытанные образцы;
- информацию о том, что результаты испытания не могут быть использованы без письменного разрешения лаборатории, проводившей испытания;
- количество образцов, подвергнутых испытанию;
- полное описание упаковки, включая размеры, конструкцию и материал, а также укупорочные и вспомогательные упаковочные средства, массу упаковки и упакованной продукции в килограммах;
- описание упакованной продукции или бутафории;
- относительную влажность, температуру и время кондиционирования проведения испытаний;
- положение образца во время испытания;
- способ удерживания упаковки при испытании;
- высоту падения, мм;
- тип применяемого оборудования;
- любое отклонение от метода испытания, установленного настоящим стандартом;
- результаты испытания со всеми поясняющими замечаниями, которые обеспечат правильную оценку результатов.
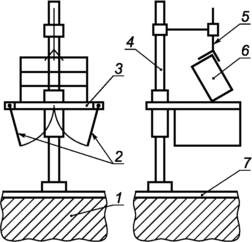
Приложение А
(рекомендуемое)
СХЕМЫ ИСПЫТАТЕЛЬНОГО ОБОРУДОВАНИЯ
А.1 Схема подъемного устройства для испытания упаковки на удар при свободном падении
1 - фундамент; 2 - стальная плита толщиной
не менее 16 мм; 3 - электромагнитный расцепляющий механизм;
4 - кронштейн; 5 - электрическая лебедка
Рисунок А.1
А.2 Схема машины с раскрывающимися створками для испытания упаковки на удар при свободном падении
1 - фундамент; 2 - створки; 3 - рама; 4 - стойка;
5 - фиксатор; 6 - образец для испытаний; 7 - стальная плита
Рисунок А.2