Главная // Актуальные документы // ГОСТ Р (Государственный стандарт)СПРАВКА
Источник публикации
М.: Стандартинформ, 2019
Примечание к документу
Документ
введен в действие с 01.04.2020.
Название документа
"ГОСТ Р 58700-2019. Национальный стандарт Российской Федерации. Окна и балконные двери деревянные для малоэтажных жилых домов. Типы, конструкция и размеры"
(утв. и введен в действие Приказом Росстандарта от 28.11.2019 N 1277-ст)
"ГОСТ Р 58700-2019. Национальный стандарт Российской Федерации. Окна и балконные двери деревянные для малоэтажных жилых домов. Типы, конструкция и размеры"
(утв. и введен в действие Приказом Росстандарта от 28.11.2019 N 1277-ст)
Утвержден и введен в действие
агентства по техническому
регулированию и метрологии
от 28 ноября 2019 г. N 1277-ст
НАЦИОНАЛЬНЫЙ СТАНДАРТ РОССИЙСКОЙ ФЕДЕРАЦИИ
ОКНА И БАЛКОННЫЕ ДВЕРИ ДЕРЕВЯННЫЕ
ДЛЯ МАЛОЭТАЖНЫХ ЖИЛЫХ ДОМОВ
ТИПЫ, КОНСТРУКЦИЯ И РАЗМЕРЫ
Wooden windows and balcony doors for one-two storey
dwelling-houses. Types, structure and dimensions
ГОСТ Р 58700-2019
Дата введения
1 апреля 2020 года
1 РАЗРАБОТАН Частным образовательным учреждением дополнительного профессионального образования, научно-информационным учебно-производственным центром "Межрегиональный институт оконных и фасадных конструкций" (ЧОУ ДПО НИУПЦ "Межрегиональный институт оконных и фасадных конструкций") с участием Общества с ограниченной ответственностью "ДОП" (ООО "ДОП") и Общества с ограниченной ответственностью "АМГ окна" (ООО "АМГ окна")
2 ВНЕСЕН Техническим комитетом по стандартизации ТК 144 "Строительные материалы (изделия) и конструкции"
3 УТВЕРЖДЕН И ВВЕДЕН В ДЕЙСТВИЕ
Приказом Федерального агентства по техническому регулированию и метрологии от 28 ноября 2019 г. N 1277-ст
4 ВВЕДЕН ВПЕРВЫЕ
Правила применения настоящего стандарта установлены в статье 26 Федерального закона от 29 июня 2015 г. N 162-ФЗ "О стандартизации в Российской Федерации". Информация об изменениях к настоящему стандарту публикуется в ежегодном (по состоянию на 1 января текущего года) информационном указателе "Национальные стандарты", а официальный текст изменений и поправок -
в ежемесячном информационном указателе "Национальные стандарты". В случае пересмотра (замены) или отмены настоящего стандарта соответствующее уведомление будет опубликовано в ближайшем выпуске ежемесячного информационного указателя "Национальные стандарты". Соответствующая информация, уведомление и тексты размещаются также в информационной системе общего пользования -
на официальном сайте Федерального агентства по техническому регулированию и метрологии в сети Интернет (www.gost.ru)
Настоящий стандарт распространяется на деревянные оконные и балконные дверные блоки с двойным и тройным остеклением, предназначенные для жилых домов высотой не более двух этажей.
Требования настоящего стандарта могут быть применены для проведения оценки соответствия.
В настоящем стандарте использованы нормативные ссылки на следующие стандарты:
ГОСТ 9.401 Единая система защиты от коррозии и старения. Покрытия лакокрасочные. Общие требования и методы ускоренных испытаний на стойкость к воздействию климатических факторов
ГОСТ 12.2.003 Система стандартов безопасности труда. Оборудование производственное. Общие требования безопасности
ГОСТ 111 Стекло листовое. Технические условия
ГОСТ 166 (ИСО 3599) Штангенциркули. Технические условия
ГОСТ 427 Линейки измерительные металлические. Технические условия
ГОСТ 538 Изделия замочные и скобяные. Общие технические условия
ГОСТ 2140 Видимые пороки древесины. Классификация, термины и определения, способы измерения
ГОСТ 2695 Пиломатериалы лиственных пород. Технические условия
ГОСТ 2697 Пергамин кровельный. Технические условия
ГОСТ 3749 Угольники поверочные 90°. Технические условия
ГОСТ 4598 Плиты древесноволокнистые. Технические условия
ГОСТ 5087 Ручки для окон и дверей. Типы и основные размеры
ГОСТ 5090 Изделия скобяные запирающие для деревянных окон и дверей. Типы и основные размеры
ГОСТ 5091 Изделия скобяные вспомогательные для деревянных окон и дверей. Типы
ГОСТ 5306 Пиломатериалы и заготовки. Таблицы объемов
ГОСТ 6564 Пиломатериалы и заготовки. Правила приемки, методы контроля, маркировка и транспортирование
ГОСТ 6782.1 Пилопродукция из древесины хвойных пород. Величина усушки
ГОСТ 7016 Изделия из древесины и древесных материалов. Параметры шероховатости поверхности
ГОСТ 7307 Детали из древесины и древесных материалов. Припуски на механическую обработку
ГОСТ 7502 Рулетки измерительные металлические. Технические условия
ГОСТ 8026 Линейки поверочные. Технические условия
ГОСТ 8486 Пиломатериалы хвойных пород. Технические условия
ГОСТ 8925 Щупы плоские для станочных приспособлений. Конструкция
ГОСТ 9330 Основные соединения деталей из древесины и древесных материалов. Типы и размеры
ГОСТ 9416 Уровни строительные. Технические условия
ГОСТ 9685 Заготовки из древесины хвойных пород. Технические условия
ГОСТ 10354 Пленка полиэтиленовая. Технические условия
ГОСТ 10174 Прокладки уплотняющие пенополиуретановые для окон и дверей. Технические условия
ГОСТ 11214 Блоки оконные деревянные с листовым остеклением
ГОСТ 12506 Окна деревянные для производственных зданий
ГОСТ 15140 Материалы лакокрасочные. Методы определения адгезии
ГОСТ 15612 Изделия из древесины и древесных материалов. Методы определения параметров шероховатости поверхности
ГОСТ 15613.4 Древесина клееная массивная. Методы определения предела прочности зубчатых клеевых соединений при статическом изгибе
ГОСТ 16369 (ИСО 4472) Пакеты транспортные лесоматериалов. Размеры
ГОСТ 16588 Пилопродукция и деревянные детали. Методы определения влажности
ГОСТ 17580 Конструкции деревянные клееные. Метод определения стойкости
ГОСТ 18321 Статистический контроль качества. Методы случайного отбора выборок штучной продукции
ГОСТ 19041 Транспортные пакеты и блок-пакеты пилопродукции. Пакетирование, маркировка, транспортирование и хранение
ГОСТ 19414 Древесина клееная массивная. Общие требования к зубчатым клеевым соединениям
ГОСТ 20850 Конструкции деревянные клееные. Общие технические условия
ГОСТ 23166 Блоки оконные. Общие технические условия
ГОСТ 24033 Окна, двери, ворота. Методы механических испытаний
ГОСТ 25884 Конструкции деревянные клееные. Метод определения прочности клеевых соединений при послойном скалывании
ГОСТ 26433.0 Система обеспечения точности геометрических параметров в строительстве. Правила выполнения измерений. Общие положения
ГОСТ 26433.1 Система обеспечения точности геометрических параметров в строительстве. Правила выполнения измерений. Элементы заводского изготовления
ГОСТ 26602.1 Блоки оконные и дверные. Методы определения сопротивления теплопередаче
ГОСТ 26602.2 Блоки оконные и дверные. Методы определения воздухо- и водопроницаемости
ГОСТ 26602.3 Блоки оконные и дверные. Метод определения звукоизоляции
ГОСТ 26602.4 Блоки оконные и дверные. Метод определения общего коэффициента пропускания света
ГОСТ 26602.5 Блоки оконные и дверные. Методы определения сопротивления ветровой нагрузке
ГОСТ 30494 Здания жилые и общественные. Параметры микроклимата в помещениях
ГОСТ 30733 Стекло с низкоэмиссионным твердым покрытием. Технические условия
ГОСТ 30778 Прокладки уплотняющие из эластомерных материалов для оконных и дверных блоков. Технические условия
ГОСТ 30826 Стекло многослойное. Технические условия
ГОСТ 32563 Стекло с полимерными пленками. Технические условия
ГОСТ 33120 Конструкции деревянные клееные. Методы определения прочности клеевых соединений
ГОСТ 33121 Конструкции деревянные клееные. Метод определения водостойкости клеевых соединений
Примечание - При пользовании настоящим стандартом целесообразно проверить действие ссылочных стандартов в информационной системе общего пользования - на официальном сайте Федерального агентства по техническому регулированию и метрологии в сети Интернет или по ежегодному информационному указателю "Национальные стандарты", который опубликован по состоянию на 1 января текущего года, и по выпускам ежемесячного информационного указателя "Национальные стандарты" за текущий год. Если заменен ссылочный стандарт, на который дана не датированная ссылка, то рекомендуется использовать действующую версию этого стандарта с учетом всех внесенных в данную версию изменений. Если заменен ссылочный стандарт, на который дана датированная ссылка, то рекомендуется использовать версию этого стандарта с указанным выше годом утверждения (принятия). Если после утверждения настоящего стандарта в ссылочный стандарт, на который дана датированная ссылка, внесено изменение, затрагивающее положение, на которое дана ссылка, то это положение рекомендуется применять без учета данного изменения. Если ссылочный стандарт отменен без замены, то положение, в котором дана ссылка на него, рекомендуется применять в части, не затрагивающей эту ссылку.
В настоящем стандарте применены термины по
ГОСТ 23166, а также следующие термины с соответствующими определениями:
3.1 одинарная конструкция оконного и дверного блока с листовым остеклением: Конструкция оконного и дверного блока, состоящая из оконной и дверной коробки и одного ряда створчатых элементов, остекленных листовым стеклом.
3.2 раздельная конструкция оконного и дверного блока с листовым остеклением: Конструкция оконного и дверного блока с двойным остеклением с раздельной навеской наружных и внутренних створок на коробку(и) изделия.
3.3 спаренная конструкция оконного и дверного блока с листовым остеклением: Конструкция оконного и дверного блока с двойным остеклением с навеской наружных створок на внутренние, а внутренних створок - на коробку изделия.
3.4 раздельно-спаренная конструкция оконного и дверного блока с листовым остеклением: Конструкция оконного и дверного блока с тройным остеклением с раздельной навеской наружной одинарной и внутренней спаренной створки на коробку(и) изделия.
4.1 Оконные и балконные дверные блоки подразделяют на следующие серии:
- одинарная конструкция с листовым стеклом (О);
- спаренная конструкция с листовыми стеклами (С);
- раздельная конструкция с листовыми стеклами (Р);
- раздельно-спаренная конструкция с тремя листовыми стеклами (РС3).
По вариантам конструкции устройств проветривания:
- с форточками (Ф);
- с фрамугами (Фр);
- с вентиляционными клапанами (ВК);
- с поворотно-откидным открыванием (ПО);
- с параллельно-выдвижным открыванием (ПВ);
- с климатическими клапанами (КК);
- с системами самовентиляции (СВ);
- с системой безопасности (СБ).
Если конструктивное решение изделий предусматривает две системы проветривания, то их обозначают через дефис (например, ПО-СВ).
По направлению открывания створок:
- левого исполнения (Л);
- правого исполнения (П).
По конструкциям притворов:
Ш - безимпостный (штульповой) притвор.
4.2 Типы и габаритные размеры оконных и балконных дверных блоков должны соответствовать указанным на
рисунке 1.
Примечания
1 Схемы изделий изображены со стороны фасада.
2 Цифры над схемами изделий означают размеры изделий в модулях (модуль, равный 100 мм).
Рисунок 1 - Типы и габаритные размеры
оконных и балконных дверных блоков
4.3 По требованию потребителей одностворные оконные и балконные дверные блоки, в т.ч. с форточными створками, можно изготовлять также и левыми, а окна многостворные с несимметричным рисунком - в негативном (зеркальном) изображении.
4.4 Устанавливают следующую структуру условного обозначения (марки) оконных и балконных дверных блоков:
X X X-X X X X
│ │ │ │ │ │
│ │ │ │ │ └──── Обозначения настоящего стандарта
│ │ │ │ └─────── Буквы, означающие: А - вариант рисунка окна
│ │ │ │ одного размера;
│ │ │ │ Н - окно в негативном изображении;
│ │ │ │ Л - левое окно или балконная дверь
│ │ │ │
│ │ │ └────────── Ширина, дм
│ │ │
│ │ └────────────── Высота, дм
│ │
│ └────────────────── Серия изделия по 1.1 (РМ или РСМ)
│
└───────────────────── Вид изделия: О - окно; Б - балконная дверь
В конце марки оконных и балконных дверных блоков с одинарным остеклением перед обозначением стандарта добавляют цифру 1 через тире.
Примеры условных обозначений:
Окно правое, серии РМ, высотой 15 и шириной 6 дм (вариант А):
То же, левое:
Дверь балконная, серии РСМ, высотой 22 и шириной 7,5 дм:
Окно, серии РМ, высотой 12 и шириной 11 дм, с несимметричным рисунком окна:
То же, в негативном исполнении:
5 Требования к конструкции
5.1 Деревянные оконные и балконные дверные блоки должны изготавливаться в соответствии с требованиями
ГОСТ 23166 и настоящего стандарта по рабочим чертежам, утвержденным в установленном порядке.
Деревянные оконные и балконные дверные блоки изготавливают со следующими показателями: приведенное сопротивление теплопередаче - не ниже 0,42 и 0,6 м·°C/Вт; воздухопроницаемость - не более 50 м3/ч·м2 при 100 Па; общий коэффициент светопропускания - 0,52 и 0,38; индекс звукоизоляции воздушного шума - 28 и 32 дБ.
5.2 Конструкция, форма, основные размеры и марки окон и балконных дверей серии РМ должны соответствовать указанным на
рисунках 2 -
4, а размеры сечений деталей и притворов - на
рисунках 5 -
12.
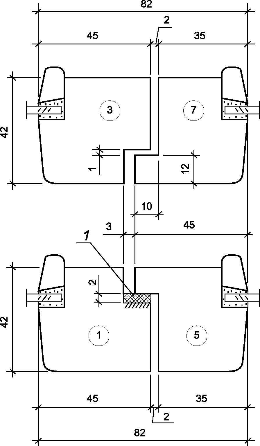
Рисунок 3
Сечение А1 и Б1
1 - уплотнительный профиль
Сечение | Размеры | Деталь |
а | б |
А1 | 45 | 82 | 1 | 3 |
Б1 | 55 | 92 | 2 | 4 |
Сечение А2

- профили сечения створок

- " " коробок
1 - уплотнительный профиль
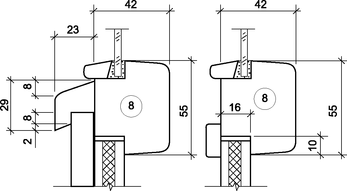
Рисунок 6
Сечение А3
1 - уплотнительный профиль
Рисунок 7
Сечение А4
1 - уплотнительный профиль
Рисунок 8
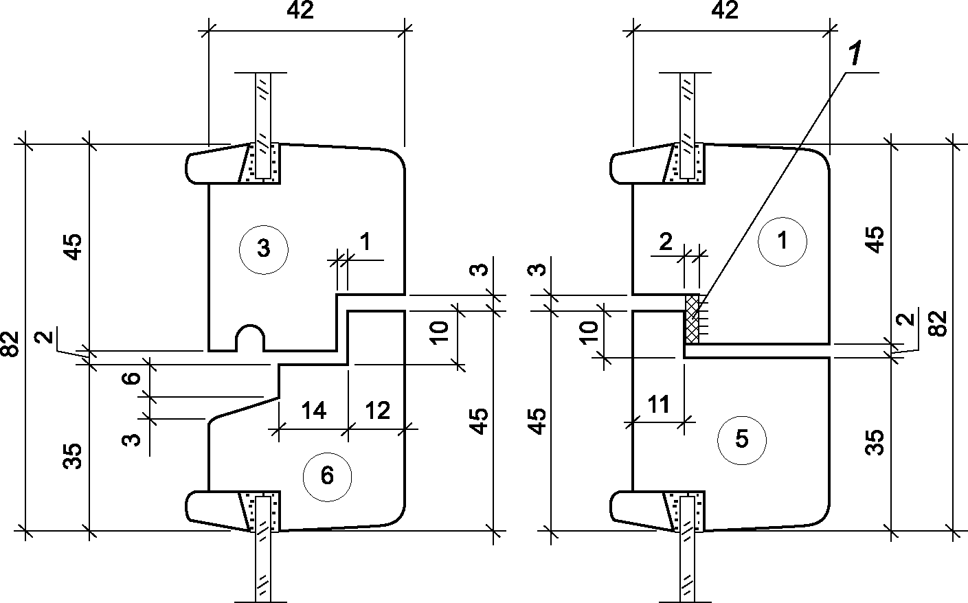
Сечение Б2
1 - внешняя облицовка филенки; 2 - утеплитель;
3 - гидроизоляция; 4 - внешняя филенка; 5 - наличник;
6 - уплотнительный профиль
Рисунок 9
Сечение Б3
Сечение Б4
1 - уплотнительный профиль; 2 - наличник
Рисунок 11
Сечение А5 и Б5
1 - уплотнительный профиль
Сечение | Размеры | Деталь |
а | б |
А5 | 45 | 82 | 1 | 3 |
Б5 | 55 | 92 | 2 | 4 |
5.3 Конструкция, форма, основные размеры и марки оконных и балконных дверных блоков серии РС3 должны соответствовать указанным на
рисунках 13 -
15, а размеры сечений деталей и притворов - на
рисунках 16 -
23.
Рисунок 14
Сечение А1 и Б1
1 - уплотнительный профиль
Сечение | Размеры | Деталь |
а | б | в |
А1 | 45 | 82 | 31 | 1 | 3 | 5 |
Б1 | 55 | 92 | 41 | 2 | 4 | 6 |
Сечение А2
- профили сечения створок

- " " коробок
1 - уплотнительный профиль
Рисунок 17
Сечение А3
1 - уплотнительный профиль
Рисунок 18
Сечение А4
1 - уплотнительный профиль
Рисунок 19
Сечение Б2
1 - внешняя облицовка филенки; 2 - утеплитель;
3 - гидроизоляция; 4 - внешняя филенка; 5 - наличник;
6 - уплотнительный профиль
Рисунок 20
Сечение Б3
1 - уплотнительный профиль; 2 - наличник
Рисунок 21
Сечение Б4
1 - уплотнительный профиль; 2 - наличник
Рисунок 22
Сечение А5 и Б5
1 - уплотнительный профиль
Сечение | Размеры | Деталь |
а | б | в |
А5 | 45 | 82 | 31 | 1 | 3 | 5 |
Б5 | 55 | 92 | 41 | 2 | 4 | 6 |
5.4 Размеры на общих видах деревянных оконных и балконных дверных блоков даны в свету по наружным сторонам створок, форточек и полотен дверей и по наружным сторонам коробок.
5.5 Для остекления деревянных оконных и балконных дверных блоков следует применять стекло толщиной 3,0 - 4,0 мм по
ГОСТ 111, закаленное стекло по
ГОСТ 30698, стекло с полимерными пленками по
ГОСТ 32563, либо, для увеличения безопасности эксплуатации, возможно применение многослойного стекла по
ГОСТ 30826 с технологической проработкой глубины фальца для данной категории стекла.
Для снижения эксплуатационных затрат рекомендуется применять стекло с твердым эмиссионным покрытием по
ГОСТ 30733.
5.6 Места установки уплотняющих прокладок в притворах деревянных оконных и балконных дверных блоков указаны на чертежах сечений, форма и профиль уплотняющих прокладок должны соответствовать
ГОСТ 10174 или
ГОСТ 30778.
5.7 По периметру оконных и дверных коробок на боковых поверхностях допускается по требованию потребителей выборка четверти для уплотнения стыка при соединении блоков друг с другом. Зоны соприкосновения блоков рекомендуется заполнять уплотняющим материалом для исключения продувания.
5.8 Бруски коробок допускается изготовлять клееными по ширине или соединять крепежными элементами после антисептирования или окраски сопрягаемых поверхностей, при этом соединение не должно иметь зазоров и провесов.
5.9 В зданиях для климатических районов, где по теплотехническим расчетам не требуются окна и балконные двери с двойным остеклением, а также в неотапливаемых зданиях и помещениях должны применяться окна и балконные двери серии О без внутренних створок, при этом ширина сечения коробки может быть уменьшена до 68 мм.
5.10 Для остекления веранд должны применяться наружные створки окон марок РС3 15-6 и РС3 15-6А.
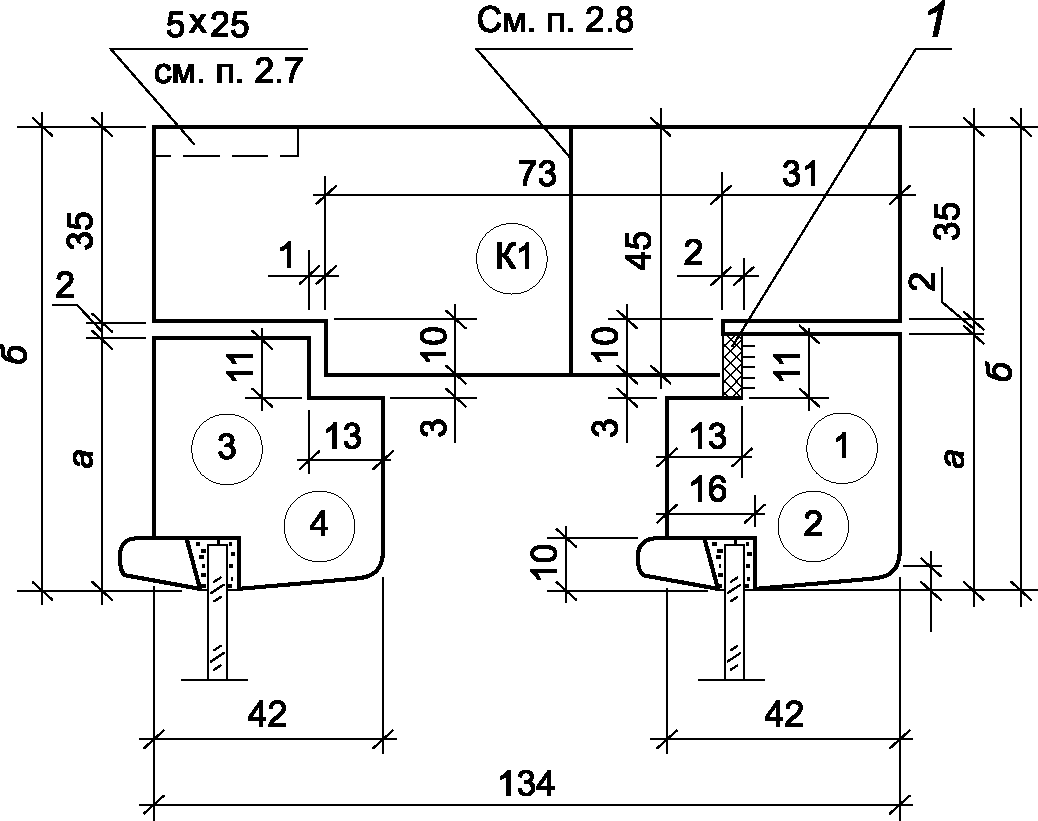
5.11 Примеры расположения приборов в окнах и балконных дверях приведены в
приложении А.
6.1 Приемочный контроль и методы контроля при приемо-сдаточных испытаниях
6.1.1 Приемочный контроль качества готовой продукции проводят путем визуального осмотра изделий. Работу оконных приборов и петель проверяют вручную, пятиразовым открыванием-закрыванием створок. Отклонение от размеров проверяют рулеткой по
ГОСТ 7502.
6.1.2 Геометрические размеры изделий и прямолинейность кромок определяют с использованием методов, установленных в
ГОСТ 26433.0 и
ГОСТ 26433.1.
Предельные отклонения номинальных размеров изделий и их элементов, разность длин диагоналей и другие размеры определяют рулеткой по
ГОСТ 7502, штангенциркулем по
ГОСТ 166, щупами по нормативной документации.
Предельные отклонения от прямолинейности кромок определяют путем приложения ребра линейки по
ГОСТ 427 или строительного уровня с допуском плоскостности не менее 9-й степени точности по
ГОСТ 9416 к кромке испытуемой детали и замером наибольшего зазора щупами по нормативной документации.
Предельные отклонения номинальных размеров зазоров под наплавом проверяют с помощью набора щупов или калибров. Зазоры в притворе (внутри притвора) рассчитывают, исходя из результатов измерения смежных размеров сечения, производимых штангенциркулем или линейкой.
6.1.3 Провес в сопряжении смежных деталей определяют щупом как расстояние от ребра металлической линейки по
ГОСТ 427, приложенной к верхней сопрягаемой поверхности, до нижней поверхности.
6.1.4 Качество древесины определяют визуально, размеры пороков древесины определяют по
ГОСТ 2140.
6.1.5 Влажность древесины определяют по
ГОСТ 16588 перед операцией склейки. Каждую деталь (заготовку) проверяют не менее чем в трех точках. Результат каждого измерения должен удовлетворять нормативным требованиям.
6.1.6 Шероховатость поверхности древесины определяют визуально по
ГОСТ 15612. Внешний вид, цвет и качество отделки изделий оценивают визуально, путем сравнения с образцами-эталонами, утвержденными в установленном порядке.
6.1.7 Прочность сцепления лакокрасочных покрытий с поверхностью древесины определяют по
6.2.4.
6.1.8 Плотность прилегания и правильность установки уплотняющих прокладок, наличие и расположение подкладок, функциональных отверстий, оконных приборов, крепежных и других деталей, маркировку и упаковку проверяют визуально.
При необходимости для определения плотности прилегания уплотняющих прокладок сопоставляют размеры зазоров в притворах и степень сжатия прокладок, которая должна составлять не менее 1/5 высоты необжатой прокладки. Замеры производят штангенциркулем.
Плотность прилегания уплотняющих прокладок допускается определять путем закрывания-открывания створки по наличию непрерывного следа, оставленного красящим веществом (например, цветным мелом), предварительно нанесенным на поверхность прокладок и легко удаляемым после проведения испытания.
6.1.9 Прочность (несущую способность) угловых соединений определяют в соответствии со схемами А, Б и В, указанными на
рисунке 24.
1 - съемные хомуты крепления; 2 - точка приложения нагрузки;
3 - образец; 4 - упор (для схемы В ролики); 5 - опора
Рисунок 24 - Определение прочности (несущей способности)
угловых соединений
Образцы углов изготавливают на оборудовании и по режимам, установленным в технологической документации. Для испытаний изготавливают по три образца угловых соединений створок или коробок. Свободные концы обрезают под прямым углом. Размеры образцов и схемы приложения нагрузки указаны на
рисунке 10.
6.1.9.1 Угловые соединения внутренних створок (полотен) должны выдерживать действие нагрузок, приложенных по схемам А, Б и В (см.
рисунок 24) и приведенных в таблице 1.
Высота створок, мм | Значение нагрузки, Н, при ширине створки, мм |
Схема испытания А | Схема испытания Б и В |
До 1000 | Св. 1000 до 1200 | До 1000 | Св. 1000 до 1200 |
До 1300 включ. | 700 | 770 | 980 | 1080 |
Св. 1300 до 1500 включ. | 750 | 825 | 1050 | 1150 |
Св. 1500 до 1800 включ. | 850 | 935 | 1190 | 1310 |
При площади остекления створки 2,1 - 2,3 м2 для обвязок дверных полотен | 970 | 1070 | 1360 | 1500 |
Значение нагрузок при испытании прочности угловых соединений наружных створок устанавливают на 30% ниже значений, приведенных в
таблице 1, для внутренних створок того же размера.
Значения нагрузок при испытании прочности угловых соединений коробок устанавливают на 20% ниже значений, приведенных в
таблице 1, для створок того же размера.
Примечание - В случае, если стекло и рамка наружной створки дополнительно склеены между собой при помощи клея-герметика, прочность угловых соединений створки не нормируется. В этом случае прочностные характеристики изделий дополнительно подтверждают проведением испытаний на сопротивление ветровым нагрузкам.
6.1.9.2 Порядок проведения испытаний образцов по схеме А
При испытаниях по схеме А образец одной из сторон жестко закрепляют на вертикальной или горизонтальной опоре. К другой стороне в плоскости образца прикладывают нагрузку (например, при помощи винтового приспособления). Величину нагрузки измеряют динамометром. При вертикальном расположении образца допускается создавать нагрузку путем навешивания свободного груза на горизонтальную сторону образца вручную на тросе или проволоке. Образцы выдерживают под нагрузкой не менее 3 мин.
Средства испытаний и вспомогательные устройства:
- установка, включающая приспособление для крепления образца (хомуты, болтовой зажим), винтовой механизм для создания нагрузки, динамометр с погрешностью измерений +/- 10 Н;
- набор грузов общей массой в соответствии с требованиями
6.1.9.1, таблица 1, с допустимым отклонением +/- 2%.
6.1.9.3 Порядок проведения испытаний образцов по схеме Б и В
Уголки центрируют в шарнирных опорах. Нагружение проводят равномерно со скоростью (1200 +/- 25) кгс/мин до достижения контрольной нагрузки.
Оборудование для проведения испытаний:
- пресс или машина испытательная универсальная, обеспечивающая измерение нагрузки с погрешностью не более 1%;
- опоры шарнирные.
6.1.9.4 Обработка результатов испытаний (по схемам А, Б и В)
Результаты испытаний признают положительными, если все образцы выдержали контрольную нагрузку без разрушения и образования трещин. Рекомендуется доводить нагрузку до разрушения образца с целью анализа характера разрушения клеевого шва.
6.1.10 Прочность клеевого соединения древесины по толщине и ширине определяют на трех образцах типа А, Б и В, склеенных по режимам, установленным в технологической документации.
Склеенные образцы выдерживают в воде при температуре от 16 °C до 24 °C не менее 3 ч. Испытания проводят ударом деревянного молотка (киянки) по выступающей части образца. Если площадь скалывания по клеевому шву каждого образца не превышает 20% общей площади склеивания, результат испытаний признают положительным.
6.1.11 Прочность углового зубчатого клеевого соединения определяют на трех образцах деталей длиной (600 +/- 10) мм. Образец устанавливают на двух опорах с расстоянием между ними (500 +/- 5) м. Клеевой шов должен располагаться по середине образца. Клеевой шов нагружают усилием не менее 20 Н на 1 см2 сечения образца. Нагрузку прикладывают по ширине образца вдоль оси клеевого шва через брусок сечением 20 x 20 мм.
Результат испытания признают положительным, если каждый образец выдержал испытание без разрушения.
6.1.12 Работу оконных приборов проверяют пятиразовым открыванием-закрыванием створчатых элементов изделия. В случае обнаружения отклонений в работе оконных приборов проводят их наладку и повторную проверку.
6.2 Методы контроля при проведении периодических испытаний
6.2.1 Прочность клеевых соединений древесины по длине на зубчатые шипы при статическом изгибе определяют по
ГОСТ 15613.4.
Прочность клеевых соединений древесины по толщине и ширине при скалывании вдоль волокон определяют по
ГОСТ 15613.1.
Для проверки отбирают 10 образцов, выпиленных из различных заготовок (деталей). Оценку результатов испытаний проводят по среднему значению каждого испытания, при этом результат каждого испытания не должен быть ниже установленного в
таблице 1 более чем на 20%.
6.2.2 Проверку прочности (несущей способности) угловых соединений проводят в соответствии с
6.1.9 (при испытаниях по схеме А используют динамометр), доводя нагрузку до разрушения образца. За результат принимают среднеарифметическое значение результатов испытаний по каждому образцу, при этом каждый результат не должен быть ниже значения контрольной нагрузки более чем на 15%.
6.2.3 Водостойкость клеевых соединений определяют по
ГОСТ 17005, воздействуя на образцы перед испытанием в одном из следующих режимов:
- 1 сутки на воздухе при температуре (20 +/- 4) °C;
- 6 ч в кипящей воде;
- 2 ч в воде при температуре (20 +/- 4) °C;
- 1 сутки на воздухе при отрицательной температуре минус (8 +/- 4) °C;
- 2 суток на воздухе при температуре (20 +/- 4) °C.
Результат испытаний должен быть не ниже установленного для группы.
6.2.4 Прочность сцепления лакокрасочных покрытий с поверхностью древесины определяют методом решетчатых надрезов по
ГОСТ 15140 со следующими дополнениями:
- лакокрасочные материалы наносят на поверхность деревянного бруска с влажностью и шероховатостью поверхности, соответствующими нормативным требованиям;
- сушку покрытий проводят по режиму, принятому в производстве;
- качество покрытия должно соответствовать нормативным требованиям;
- размер единичного квадрата решетки 2 x 2 мм;
- удаление отслоившихся кусочков покрытия проводят с использованием липкой ленты (например, скотча).
6.2.5 Приведенное сопротивление теплопередаче изделия определяют по
ГОСТ 26602.1.
6.2.6 Воздухопроницаемость изделий определяют по
ГОСТ 26602.2.
6.2.8 Коэффициент общего светопропускания определяют по
ГОСТ 26602.4.
6.2.9 Сопротивление ветровым нагрузкам определяют по
ГОСТ 26602.5.
6.2.10 Сопротивление статическим нагрузкам определяют по
ГОСТ 24033.
6.2.11 Безотказность и эргономические требования к оконным приборам, долговечность клеевых соединений определяют по методикам, утвержденным в установленном порядке.
6.2.12 Долговечность лакокрасочных покрытий определяют по методикам, утвержденным в установленном порядке, с учетом требований
ГОСТ 9.401.
6.2.13 Методы испытаний при входном контроле качества материалов и комплектующих изделий устанавливают в технологической документации в соответствии с требованиями нормативной документации на эти материалы и детали.
6.2.14 Методы испытаний при проведении производственного операционного контроля устанавливают в технологической документации с учетом требований настоящего стандарта.
7 Транспортирование и хранение
7.1 Деревянные оконные и балконные дверные блоки могут перевозиться любым видом транспорта согласно правилам перевозки грузов, действующим на конкретном виде транспорта.
При погрузке, выгрузке и транспортировании деревянные оконные и балконные дверные блоки должны быть защищены от механических воздействий.
Перевозку деревянных оконных и балконных дверных блоков железнодорожным транспортом осуществляют повагонными или мелкими отправками транспортными пакетами в грузовых вагонах любого вида.
Размещение и крепление в транспортных средствах деревянных оконных и балконных дверных блоков, перевозимых железнодорожным и автомобильным транспортом, должно соответствовать технологическим картам, правилам перевозки, техническим условиям погрузки и крепления грузов.
7.2 Транспортная маркировка грузовых мест - по
ГОСТ 14192.
7.3 Деревянные оконные и балконные дверные блоки следует хранить в упакованном виде в закрытом помещении или под навесом и обеспечивать защиту от воздействия влаги и химических веществ, вызывающих коррозию.
Допускается хранение упакованных деревянных оконных и балконных дверных блоков, защищенных от воздействия атмосферных осадков, на открытых площадках сроком не более 10 суток.
7.4 Срок хранения изделий - 1 год со дня отгрузки изделия изготовителем.
8 Указания по монтажу и эксплуатации
8.1 Требования к монтажу изделий устанавливают в проектной и конструкторской документации на объекты строительства согласно принятым в проекте вариантам исполнения узлов примыкания изделий к стенам, рассчитанным на заданные климатические и другие нагрузки, с учетом требований
ГОСТ 30971 и нормативной документации на крепежные, изоляционные и другие материалы, применяемые для монтажа изделий.
8.2 Монтаж изделий должен осуществляться мастерами специализированной фирмы, имеющей право на производство таких работ, на основании согласованных с заказчиком и заверенных технических решений по формированию швов монтажных узлов примыканий светопрозрачных конструкций в ограждающих конструкциях.
8.3 Формирование монтажного шва и зазоров между изделием и стеновым проемом должно быть по всему периметру изделия плотным, герметичным, рассчитанным на климатические нагрузки и соответствующим для нормативных условий эксплуатации внутри помещений.
8.4 В случае, если монтаж изделий проводят одновременно с отделочными работами внутри помещения, следует предусмотреть мероприятия по выравниванию относительной влажности воздуха в помещениях (проветривание, осушение помещения) и защите от попадания на лакокрасочную поверхность изделий строительных материалов и химикатов.
8.5 Во время проведения ремонтных, отделочных и/или иных строительных работ, во всех случаях продолжительного контакта деревянных изделий с повышенными температурно-влажностными параметрами воздуха внутри помещений, необходимо принимать все возможные меры для соблюдения требований нормативной документации. Требуется отслеживать параметры воздушной массы, по необходимости увеличивать продолжительность и число проветриваний, с соответствующим обогревом помещения и помнить, что лакокрасочное покрытие изделий способно выдерживать в контакте с подобными агрессивными растворами не более двух суток.
8.6 После завершения монтажных работ, оштукатуривания и других ремонтных работ, необходимо удалить с изделия все загрязнения. При проведении в дальнейшем строительно-ремонтных работ деревянная поверхность и фурнитура должны быть очищены и вновь защищены во избежание их дальнейших повреждений.
8.7 При проведении в помещении сварочных работ или работ с использованием отрезной машинки поверхность светопрозрачных конструкций и стекол и лакокрасочное покрытие деревянной конструкции должны быть надежно защищены от попадания раскаленных частиц металла на поверхность.
8.8 Стекла конструкций должны быть защищены от любых механических воздействий.
8.9 Для ухода за деревянными светопрозрачными конструкциями рекомендуется использовать специальные средства по уходу за деревом, средство для смазки фурнитуры, средство по уходу за уплотнительными профилями.
8.10 Для сохранения эластичности уплотнительных профилей необходимо два раза в год очищать уплотнение от пыли и грязи, а также протирать специальными средствами, при этом использовать для их обработки, хорошо впитывающие бумажные полотенца, либо салфетки. Уплотнители не должны соприкасаться с концентрированными чистящими средствами или масляными субстанциями.
8.11 При эксплуатации изделия следует:
- избегать дополнительных силовых воздействий и нагрузок на открывающиеся элементы изделия;
- избегать травмирования (защемления) рук в момент их нахождения в проеме между створкой и рамой в процессе запирания;
- не оставлять открытыми створки при нахождении в помещении детей, оставшихся без присмотра взрослых, а также травмирования при захлопывании створки вследствие сильного потока воздуха.
8.12 Детали фурнитуры следует проверять на прочность установки и контролировать на износ не менее одного раза в год.
При необходимости крепежные элементы подтягивают или производят замену деталей.
Исходя из этого, по меньшей мере один раз в год должны проводиться следующие работы по техническому обслуживанию:
- все подвижные детали и все места запирания фурнитуры смазывают и проверяют на правильность работы (см. схему смазки узлов фурнитуры);
- применяют чистящие средства и средства по уходу, не причиняющие повреждений антикоррозионному покрытию фурнитуры.
9.1 Предприятие-изготовитель гарантирует соответствие деревянных оконных и балконных дверных блоков требованиям настоящего стандарта при условии соблюдения потребителем правил транспортирования, хранения, монтажа, эксплуатации, а также области применения изделий, установленных в настоящем стандарте.
9.2 Гарантийный срок деревянных оконных и балконных дверных блоков устанавливают в договоре на поставку, но не менее 3 лет со дня отгрузки изделий изготовителем.
(рекомендуемое)
ПРИМЕРЫ РАСПОЛОЖЕНИЯ ПРИБОРОВ
В ОКОННЫХ И БАЛКОННЫХ ДВЕРНЫХ БЛОКАХ
1 - ПН1-85Л; 2 - завертка накладная ЗФ2П для наружной
форточки; 3 - задвижка накладная ЗТ; 4 - ручка РС80;
5 - ПН5-60; 6 - стяжка СТ; 7 - ПН7; 8 - ПН1-110П
Примечания
2 Ручки-скобы устанавливают на наружных и внутренних створках и полотнах.
3 Наружные створки должны оснащаться ветровыми крючками.
УДК 674.02:006.354 | |
Ключевые слова: оконные конструкции, спаренная конструкция |