Главная // Актуальные документы // ГОСТ (Государственный стандарт)СПРАВКА
Источник публикации
М.: Стандартинформ, 2016
Примечание к документу
Документ
введен в действие с 1 марта 2017 года.
Название документа
"ГОСТ 9330-2016. Межгосударственный стандарт. Основные соединения деталей из древесины и древесных материалов. Типы и размеры"
(введен в действие Приказом Росстандарта от 24.06.2016 N 681-ст)
"ГОСТ 9330-2016. Межгосударственный стандарт. Основные соединения деталей из древесины и древесных материалов. Типы и размеры"
(введен в действие Приказом Росстандарта от 24.06.2016 N 681-ст)
Приказом Федерального
агентства по техническому
регулированию и метрологии
от 24 июня 2016 г. N 681-ст
МЕЖГОСУДАРСТВЕННЫЙ СТАНДАРТ
ОСНОВНЫЕ СОЕДИНЕНИЯ ДЕТАЛЕЙ
ИЗ ДРЕВЕСИНЫ И ДРЕВЕСНЫХ МАТЕРИАЛОВ
ТИПЫ И РАЗМЕРЫ
Principal joints of details of wood and wooden materials.
Types and dimensions
ГОСТ 9330-2016
Дата введения
1 марта 2017 года
Цели, основные принципы и порядок проведения работ по межгосударственной стандартизации установлены
ГОСТ 1.0-2015 "Межгосударственная система стандартизации. Основные положения" и
ГОСТ 1.2-2015 "Межгосударственная система стандартизации. Стандарты межгосударственные, правила и рекомендации по межгосударственной стандартизации. Правила разработки, принятия, обновления и отмены"
1 РАЗРАБОТАН Автономной некоммерческой организацией Центром по сертификации лесопродукции "Лессертика"
2 ВНЕСЕН Межгосударственным техническим комитетом по стандартизации МТК 121 "Плиты древесные"
3 ПРИНЯТ Межгосударственным советом по стандартизации, метрологии и сертификации (протокол от 29 марта 2016 г. N 86-П)
За принятие проголосовали:
Краткое наименование страны по МК (ИСО 3166) 004-97 | Код страны по МК (ИСО 3166) 004-97 | Сокращенное наименование национального органа по стандартизации |
Армения | AM | Минэкономики Республики Армения |
Беларусь | BY | Госстандарт Республики Беларусь |
Казахстан | KZ | Госстандарт Республики Казахстан |
Киргизия | KG | Кыргызстандарт |
Россия | RU | Росстандарт |
Таджикистан | TJ | Таджикстандарт |
Узбекистан | UZ | Узстандарт |
4 Приказом Федерального агентства по техническому регулированию и метрологии от 24 июня 2016 г. N 681-ст межгосударственный стандарт ГОСТ 9330-2016 введен в действие в качестве национального стандарта Российской Федерации с 1 марта 2017 г.
Информация об изменениях к настоящему стандарту публикуется в ежегодном информационном указателе "Национальные стандарты", а текст изменений и поправок - в ежемесячном информационном указателе "Национальные стандарты". В случае пересмотра (замены) или отмены настоящего стандарта соответствующее уведомление будет опубликовано в ежемесячном информационном указателе "Национальные стандарты". Соответствующая информация, уведомление и тексты размещаются также в информационной системе общего пользования - на официальном сайте Федерального агентства по техническому регулированию и метрологии в сети Интернет (www.gost.ru)
Настоящий стандарт распространяется на основные шиповые соединения деталей из древесины и древесных материалов и устанавливает их типы и размеры.
В настоящем стандарте использованы нормативные ссылки на следующие межгосударственные стандарты:
ГОСТ 6449.1-82 Изделия из древесины и древесных материалов. Поля допусков для линейных размеров и посадки
ГОСТ 6449.3-82 Изделия из древесины и древесных материалов. Допуски формы и расположения поверхностей
ГОСТ 15613.5-79 Древесина клееная массивная. Методы определения предела прочности зубчатых клеевых соединений при растяжении
ГОСТ 19414-90 Древесина клееная массивная. Общие требования к зубчатым клеевым соединениям
ГОСТ 32304-2013 Ламинированные напольные покрытия на основе древесно-волокнистых плит сухого способа производства. Технические условия
ГОСТ 33120-2014 Конструкции деревянные клееные. Методы определения прочности клеевых соединений
Примечание - При пользовании настоящим стандартом целесообразно проверить действие ссылочных стандартов в информационной системе общего пользования - на официальном сайте Федерального агентства по техническому регулированию и метрологии в сети Интернет или по ежегодному информационному указателю "Национальные стандарты", который опубликован по состоянию на 1 января текущего года, и по выпускам ежемесячного информационного указателя "Национальные стандарты" за текущий год. Если ссылочный стандарт заменен (изменен), то при пользовании настоящим стандартом следует руководствоваться заменяющим (измененным) стандартом. Если ссылочный стандарт отменен без замены, то положение, в котором дана ссылка на него, применяется в части, не затрагивающей эту ссылку.
3. Обозначения и сокращения
В настоящем стандарте использованы следующие сокращения:
УК - угловое концевое;
УС - угловое серединное;
УЯ - угловое ящичное;
К - по кромке;
Ду - по длине на "ус"
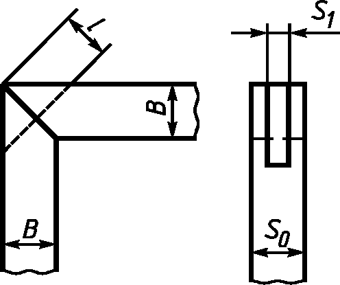
4.1 Типы и размеры угловых концевых (УК) соединений должны соответствовать указанным в таблице 1.
Таблица 1
Типы соединений | Условные обозначения | Схемы и размеры соединений |
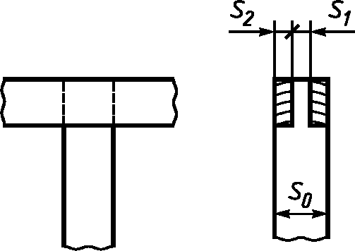
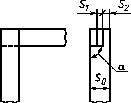
На шип открытый сквозной | одинарный | УК-1 | S1 = 0,4S0; S2 = 0,5(S0 - S1) |
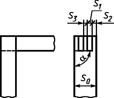
двойной | УК-2 | S1 = S2 = S3 = 0,20S0; S2 = 0,5[S0 - (2S1 + S3)] |
тройной | УК-3 | S1 = S3 = 0,14S0 и S2 = 0,15S0 |
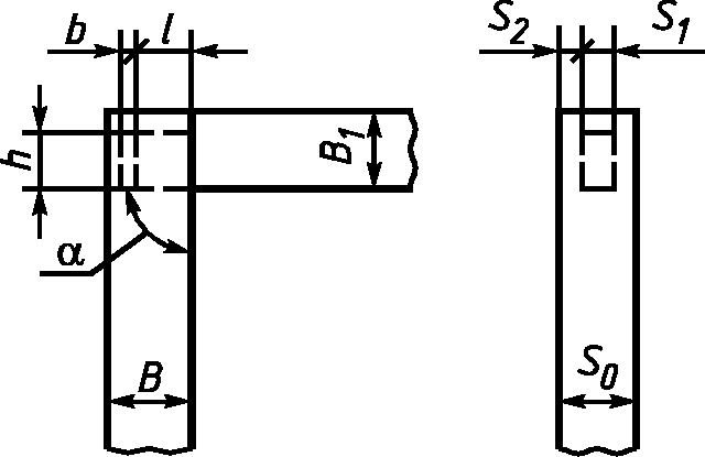
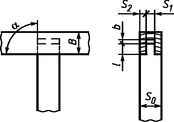
На шип с полупотемком | несквозной | УК-4 | S1 = 0,4S0; l = (0,5 - 0,8)B; h = 0,7B1; S2 = 0,5(S0 - S1); b - не менее 2 мм; l1 = (0,3 - 0,6)l |
сквозной | УК-5 | S1 = 0,4S0; l = 0,5B; h = 0,6B1; S2 = 0,5(S0 - S1) |
На шип с потемком | несквозной | УК-6 | S1 = 0,4S0; l = (0,5 - 0,8)B; h = 0,7B1; S2 = 0,5(S0 - S1); b - не менее 2 мм |
сквозной | УК-7 | S1 = 0,4S0; h = 0,6B1; S2 = 0,5(S0 - S1) |
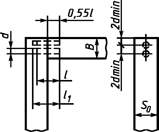
На шипы круглые вставные (шканты) | несквозные и сквозные | УК-8 | d = 0,4S0; l - длина шканта (2,5 - 6)d; l1 более l на 2 - 3 мм |
На ус со вставными круглыми шипами (шкантами) | несквозные | УК-9 | d = 0,4S0; l - длина шканта (2,5 - 6)d; l1 более l на 2 - 3 мм Допускается применять сквозные шканты |
На ус со вставным плоским шипом | несквозной | УК-10 | S1 = 0,4S0. Для деталей толщиной до 10 мм S1 = 2 - 3 мм; l = (1 - 1,2)B; b = 0,75B. Допускается соединение деталей на "ус" двойным вставным шипом, при этом S1 = 0,2S0 |
сквозной | УК-11 | S1 = 0,4S0. Для деталей толщиной до 10 мм S1 = 2 - 3 мм; l = (1 - 1,2)B; b = 0,75B. Допускается соединение на "ус" двойным вставным шипом, при этом S1 = 0,2S0 |
Зубчатое | УК-12 | |
Длина зубчатого шипа L | Шаг шипа l | Затупление b |
50 | 12,00 | 2,0 |
32 | 8,00 | 1,0 |
20 | 6,00 | 1,0 |
10 | 3,50 | 0,5 |
5 | 1,75 | 0,2 |
4.1.1 Расчетные толщины шипов и диаметров шкантов соединений типов УК округляют до ближайшего размера: 4; 6; 8; 10; 12; 14; 16; 20 и 25 мм.
4.1.2 В соединениях типов УК-1 - УК-7 значение величины S2 установлено для симметричного расположения шипов. При несимметричном расположении шипов величину S2 устанавливают в зависимости от назначения и конструкции изделия.
При различных толщинах соединяемых деталей S1 назначают в зависимости от толщины с шипом.
В соединениях типов УК-1 - УК-3 и УК-7 допускается дополнительное крепление соединения нагелем на клею, а угол

принимают в зависимости от конструкции изделия.
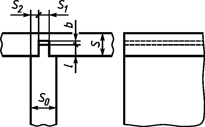
4.2 Типы и размеры угловых серединных (УС) соединений должны соответствовать указанным в таблице 2.
Таблица 2
Типы соединений | Условные обозначения | Схемы и размеры соединений |
На шип одинарный | несквозной | УС-1 | |
несквозной в паз | УС-2 | |
сквозной | УС-3 | |
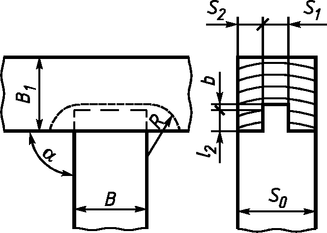
На шип двойной | сквозной | УС-4 | S1 = 0,4S0; S2 = 0,5(S0 - S1); b - не менее 2 мм. l1 = (0,3 - 0,8)B; l2 = (0,2 - 0,3)B1. В соединениях типов УС-1, УС-2 допускается двойной шип, при этом S1 = 0,2S0, R соответствует радиусу фрезы S1 = S2 = S3 = 0,20S0; S2 = 0,5[S0 - (2S1 + S3)] |
В паз и гребень | несквозной | УС-5 | S1 = (0,4 - 0,5)S0; l = (0,3 - 0,8)S; S2 = 0,5(S0 - S1); b - не менее 2 мм |
В паз | несквозной | УС-6 | l = (0,3 - 0,5)S0; b - не менее 1 мм |
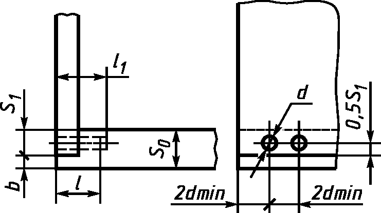
На шипы круглые вставные (шканты) | несквозные | УС-7 | d = 0,4S0; l - длина шканта (2,5 - 6)d; l1 более l на 2 - 3 мм. Допускается применять сквозные шканты |
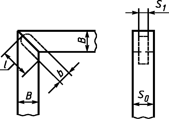
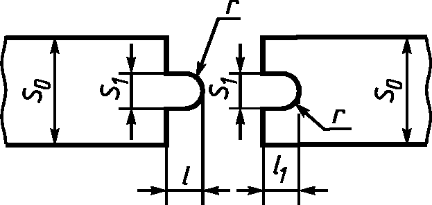
На шип "ласточкин хвост" | несквозной | УС-8 | l = (0,3 - 0,5)B1; S1 = 0,85S0; полученный размер округляют до ближайшего диаметра фрезы 13; 14; 15; 16; 17 мм, а не менее S0 |
Примечания: 1 Угловые соединения (концевые и серединные) допускается выполнять с фасками и фальцами, размеры которых соответствуют стандартизованному дереворежущему инструменту. 2 Допускается подсечка заплечиков под углом 45°. 3 Дно паза может быть плоским или другой формы в зависимости от формы присоединяемой детали. |
4.2.1 Расчетные толщины шипов и диаметры шкантов соединений типов УС округляют до ближайшего размера 4; 6; 8; 10; 12; 14; 16; 20 и 25 мм, а угол

устанавливают в зависимости от конструкции изделия.
4.2.2 В соединениях типов УС-1 - УС-4 значение величины S2 установлено для симметричного расположения шипов. При несимметричном расположении шипов величину S2 устанавливают в зависимости от назначения и конструкции изделия.
4.3 Типы и размеры угловых ящичных соединений (УЯ) должны соответствовать указанным в таблице 3.
Таблица 3
Типы соединений | Условные обозначения | Схемы и размеры соединений |
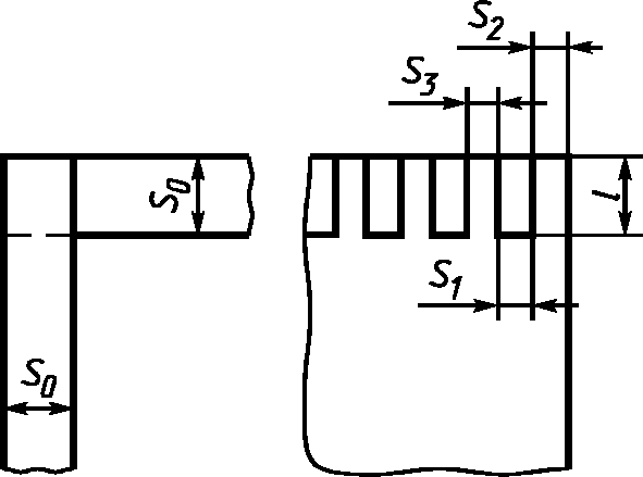
На шип прямой | открытый | УЯ-1 | S1 = S3 = 6; 8; 10; 12; 14; 18 мм; l = S0; S2 не менее 0,3S0 |
На шип "ласточкин хвост" | УЯ-2 | S1 = 0,85 S0; полученный размер округляют до ближайшего диаметра фрезы: 13; 14; 15; 16 и 17 мм; S2 - не менее 0,75 S0; S3 = (0,85 - 3) S0; l = S0;  . Допускается соединение на шип "ласточкин хвост" в полупотай |
На шип круглый вставной (шкант) | открытый | УЯ-3 | d = 0,4S0 полученный диаметр шкантов округляют до ближайшего размера 4; 6; 8; 10; 12; 16; 20 и 25 мм; l = (2,5 - 6)d; l1 более l на 1 - 2 мм; b = от 0 до dmin |
4.4 Типы и размеры соединений по кромке (К) деталей должны соответствовать указанным в таблице 4.
Таблица 4
Типы соединений | Условные обозначения | Схемы и размеры соединений |
На рейку | | | К-1 | l = 20 - 30 мм; l1 более l на 2 - 3 мм; S1 = 0,4S0 (для реек из древесины); S1 = 0,25S0 (для реек из фанеры). Размер S1 округляют до ближайшего размера пазовой дисковой фрезы; 4; 5; 6; 8; 10; 12; 16 и 20 мм. Допускаются на кромках одно- и двухсторонние фаски |
В четверть | К-2 | h = (S0/2) - 0,5 мм. Допускаются на кромках одно- и двухсторонние фаски мм |
S0 | b |
От 12 до 15 включ. | 6 |
Св. 15 " 20 " | 8 |
" 20 " 30 " | 10 |
" 30 | 16 |
Допускается в соединении деталей платформ грузовых автомобилей и прицепов при S0 свыше 30 мм глубина четверти b = 8 мм |
В паз и гребень | Прямоугольный | К-3 | r = от 1 до 2 мм; l1 более l на 1 - 2 мм мм |
S0 | S1 | l |
От 10 до 12 включ. | 4 | 6 |
Св. 12 " 19 " | 6 | 6 |
" 19 " 25 " | 8 | 8 |
" 25 " 29 " | 10 | 10 |
" 29 " 40 " | 12 | 12 |
Допускаются на кромках одно- и двухсторонние фаски. Для тары, включая специальную, допускается при S0 = 22 мм, S1 = 6 мм, l = 6 мм. Допускается формирование соединения без заоваливания радиусом r углов гребня и паза |
В паз и гребень | Прямоугольный | К-4 | |
S0 | S | S1 | l | l1 | b | b1 |
28 | 6 | 7 | 6 | 7 | 15 | 14 |
36 | 9 | 10 | 6 | 7 | 17 | 16 |
трапецеидальный | К-5 | |
S0 | S1 | l | l1 | r |
12 - 13 | 5,5 | 7 | 8 | 1,5 |
15 - 16 | 6,5 | 8 | 9 | 2 |
20 - 22 | 8,5 | 10 | 11 | 2 |
25 | 9,0 | 10 | 11 | 2 |
30 - 35 | 11,5 | 12 | 13 | 3 |
40 - 45 | 14,5 | 12 | 15 | 3 |
50 - 60 | 16,5 | 12 | 15 | 3 |
Допускаются одно- и двухсторонние фаски. В соединениях деталей платформ грузовых автомобилей и прицепов при S0 свыше 30 мм допускается l = 7 мм. Допускается формирование соединения без заоваливания радиусом r углов гребня и паза |
На гладкую фугу | | | К-6 | |
В паз и гребень | Прямоугольный | К-7 | |
S0 | S1 | l | l1 | r |
16 | 6 | 6 | 6,5 | 5 |
27 | 6 | 6 | 7 | 10,5 |
4.5 Соединение деталей по длине на зубчатый шип должно соответствовать требованиям
ГОСТ 19414.
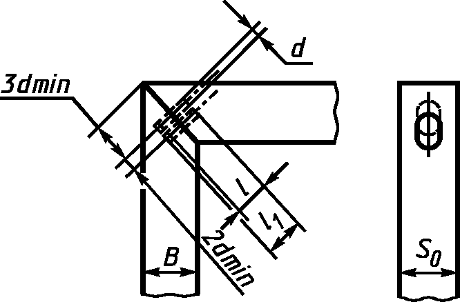
4.6 Соединение деталей по длине на "ус" (Ду) должно соответствовать требованиям, указанным на рисунке 1.
где L = 8S0
Рисунок 1
В деталях, требующих повышенной прочности, длину усового соединения L устанавливают (10 - 12)S0.
4.7 Точность изготовления элементов и методы испытания соединений указаны в
приложении A.
4.8 Величина отклонений от номинальных размеров шиповых соединений деталей из древесины устанавливается в технической документации на конкретные изделия и должна соответствовать требованиям
ГОСТ 6449.1 и
ГОСТ 6449.3.
| | ИС МЕГАНОРМ: примечание. В официальном тексте документа, видимо, допущена опечатка: Приложение Б отсутствует. Возможно, имеется в виду Приложение B. | |
4.9 Тип соединения элементов напольных покрытий "в замок" и методы испытаний указаны в
Приложении Б.
(справочное)
ТРЕБОВАНИЯ К ТОЧНОСТИ ИЗГОТОВЛЕНИЯ ЭЛЕМЕНТОВ
И МЕТОДЫ ИСПЫТАНИЙ СОЕДИНЕНИЙ
1 Наибольшая прочность клеевых соединений деревянных деталей достигается при точности изготовления элементов соединения (толщина и ширина гнезда), обеспечивающей в период сборки натяг от 0 до 0,3 мм. Нижний предел от 0 до 0,2 мм принимают для шипов из древесины твердых лиственных пород, а верхний предел от 0,1 до 0,3 мм - для шипов из древесины хвойных и мягких лиственных пород.
2 Прочность угловых концевых и ящичных соединений (УК, УЯ) испытывают по схеме, указанной в
ГОСТ 23166. Предел прочности вычисляют с погрешностью не более 0,001 МПа (0,01 кгс/см
2) по формуле

(A.1)
где P - максимальная нагрузка при разрушении образца Н, (кгс);
B - ширина бруска м (мм);
S - толщина бруска м (мм).
3 Предел прочности клеевого соединения на гладкую фугу при скалывании вдоль волокон определяют по
ГОСТ 33120.
4 Предел прочности зубчатых клеевых соединений деталей Ду при растяжении определяют по
ГОСТ 15613.5, при этом длина образца должна быть не менее 500 мм.
Предел прочности зубчатых клеевых соединений при статическом изгибе определяют по
ГОСТ 33120.
5 Прочность соединений типов УК и УС, используемых в конструкциях с горизонтальным расположением элементов и вертикальным направлением действия нагрузок, испытывают по схеме, указанной на рисунке A.1.
Рисунок A.1
(справочное)
СОЕДИНЕНИЕ ЭЛЕМЕНТОВ НАПОЛЬНЫХ ПОКРЫТИЙ В "ЗАМОК"
И МЕТОДЫ ИХ ИСПЫТАНИЙ
Соединение напольных покрытий из древесных материалов "в замок" указано на рисунке B.1
Рисунок B.1
Конфигурацию соединения определяет изготовитель, исходя из вида и размеров (толщины) древесных материалов, используемых при производстве напольных покрытий.
Соединение "в замок" представляет собой бесклеевое соединение элементов напольного покрытия из древесных материалов. Для соединения элементы необходимо плотно прижать друг к другу и "защелкнуть".
Методы испытаний напольных покрытий указаны в
ГОСТ 32304.