Главная // Актуальные документы // ГОСТ (Государственный стандарт)СПРАВКА
Источник публикации
М.: ИПК Издательство стандартов, 1999
Примечание к документу
С 1 июля 2003 года до вступления в силу технических регламентов акты федеральных органов исполнительной власти в сфере технического регулирования носят рекомендательный характер и подлежат обязательному исполнению только в части, соответствующей целям, указанным в
пункте 1 статьи 46 Федерального закона от 27.12.2002 N 184-ФЗ.
Введен в действие с 1 января 1980 года.
Взамен ГОСТ 18595-73.
Название документа
"ГОСТ 15613.5-79. Межгосударственный стандарт. Древесина клееная массивная. Метод определения предела прочности зубчатых клеевых соединений при растяжении"
(утв. и введен в действие Постановлением Госстандарта СССР от 20.03.1979 N 966)
(ред. от 01.12.1988)
"ГОСТ 15613.5-79. Межгосударственный стандарт. Древесина клееная массивная. Метод определения предела прочности зубчатых клеевых соединений при растяжении"
(утв. и введен в действие Постановлением Госстандарта СССР от 20.03.1979 N 966)
(ред. от 01.12.1988)
Утвержден и введен в действие
Постановлением Госстандарта СССР
от 20 марта 1979 г. N 966
МЕЖГОСУДАРСТВЕННЫЙ СТАНДАРТ
ДРЕВЕСИНА КЛЕЕНАЯ МАССИВНАЯ
МЕТОД ОПРЕДЕЛЕНИЯ ПРЕДЕЛА ПРОЧНОСТИ
ЗУБЧАТЫХ КЛЕЕВЫХ СОЕДИНЕНИЙ ПРИ РАСТЯЖЕНИИ
Glued massive wood. Method for determination
of ultimate tensile strength of finger glued joints
ГОСТ 15613.5-79
| | Список изменяющих документов (в ред. Изменения N 1, утв. в декабре 1988 г.) | |
Дата введения
1 января 1980 года
1. Разработан Минлеспромом СССР.
Разработчики: Т.П. Внукова, С.Н. Пластинин, Л.М. Ковальчук, Ю.Ю. Славик.
Внесен Госстроем СССР.
2. Утвержден и введен в действие Постановлением Государственного комитета СССР по стандартам от 20.03.1979 N 966.
3. Взамен ГОСТ 18595-73.
4. Ссылочные нормативно-технические документы
───────────────────────────────────────────┬──────────────────────
Обозначение НТД, на который дана ссылка │ Номер пункта
───────────────────────────────────────────┼──────────────────────
5. Ограничение срока действия снято по Протоколу N 4-93 Межгосударственного совета по стандартизации, метрологии и сертификации (ИУС 4-94).
6. Переиздание (март 1999 г.) с Изменением N 1, утвержденным в декабре 1988 г. (ИУС 4-89).
Настоящий стандарт распространяется на массивную клееную древесину и устанавливает метод определения прочности зубчатых клеевых соединений при растяжении.
Сущность метода заключается в определении максимальной нагрузки, разрушающей зубчатое клеевое соединение при растяжении и вычислении напряжения (предела прочности) при этой нагрузке.
1.1. Для проведения испытаний должны применяться:
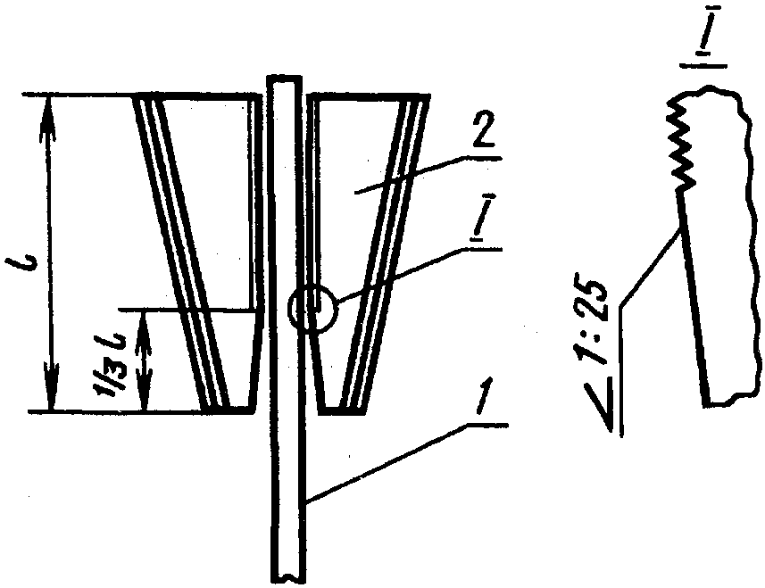
машина испытательная по
ГОСТ 28840 с погрешностью измерения нагрузки не более 1%, снабженная захватами, щечки которых обработаны в соответствии с черт. 1;
штангенциркуль по
ГОСТ 166 с погрешностью измерения не более 0,1 мм;
аппаратура и материалы для определения влажности древесины по
ГОСТ 16483.7.
1 - образец; 2 - щечка захвата
Черт. 1
2. ОТБОР И ПОДГОТОВКА ОБРАЗЦОВ
2.1. Метод отбора, количество образцов и влажность древесины устанавливается нормативно-технической документацией на конкретный вид клееной продукции или определяется целями исследования.
(Измененная редакция, Изм. N 1).
2.2. Заготовку для образцов склеивают или выпиливают из готовой продукции в виде прямоугольной призмы с зубчатым соединением посередине длины заготовки.
Длина заготовки должна быть 300 мм. Толщина и ширина заготовки должны соответствовать толщине и ширине испытываемой клееной продукции.
В случае специального изготовления заготовку для образцов склеивают по технологии, установленной для данного вида клееной продукции, и из древесины той породы, из которой изготовляют клееную продукцию.
2.3. Склеенные заготовки распиливают на образцы по форме и размерам, соответствующим черт. 2.
Черт. 2
Количество образцов, выпиливаемых из одной заготовки, должно быть не менее трех: по одному из крайних и средней зон заготовки.
(Измененная редакция, Изм. N 1).
2.4. Образец должен включать не менее одного полного шипа. При включении нескольких шипов расположение их в образце должно быть симметричным относительно продольной оси образца.
Качество изготовления образцов, условия кондиционирования склеенных заготовок и образцов и условия проведения испытаний должны соответствовать требованиям
ГОСТ 16483.0.
Образцы, имеющие видимые пороки древесины по
ГОСТ 2140 и дефекты склеивания, испытаниям не подлежат.
2.5. Время от окончания процесса склеивания заготовок до распиливания их на образцы и испытания должно быть не менее 24 ч при склеивании с нагревом и не менее 3 сут - при склеивании без нагрева (при температуре не ниже 15 °C).
3.1. Перед испытанием у каждого образца посередине длины (в зоне соединения) измеряют ширину b и толщину h с погрешностью не более 0,1 мм.
3.2. Образец устанавливают в захватах машины так, чтобы соединение было посередине и свободная от захватов часть образца имела длину (150 +/- 10) мм.
3.3. Образец нагружают равномерно с постоянной скоростью нагружения или постоянной скоростью перемещения нагружающей головки машины. Скорость должна быть такой, чтобы образец разрушился через (20 +/- 10) с после начала нагружения. Максимальную нагрузку

определяют с погрешностью не более 50 Н (5 кгс).
Показания

и характер разрушения образцов записывают в протокол (см. рекомендуемое
Приложение).
Результаты испытаний образцов, разрушившихся в захватах машины, не учитывают.
3.4. Непосредственно после испытания определяют влажность древесины образцов по
ГОСТ 16483.7. Пробу на влажность берут вблизи излома из каждой половины образца. За контрольную величину принимают большее значение влажности одной из половин образца.
Допускается отбирать каждый второй образец от испытываемого количества, но не менее пяти.
3.2 - 3.4. (Измененная редакция, Изм. N 1).
4.1. Предел прочности зубчатого клеевого соединения при растяжении

в МПа (кгс/см2) вычисляют с округлением до 0,1 МПа (1 кгс/см2) по формуле

,
где

- максимальная разрушающая нагрузка, Н (кгс);
b - ширина образца, мм (см);
h - толщина образца, мм (см).
4.2. (Исключен, Изм. N 1).
4.3. Статистическую обработку результатов испытаний выполняют по
ГОСТ 16483.0.
4.4. За результат испытания зубчатого клеевого соединения принимают среднее арифметическое значение предела прочности всех испытанных образцов, выпиленных из одного соединения.
4.5. Результаты измерений и расчетов записывают в протокол испытаний (см. Приложение).
Рекомендуемое
определения предела прочности зубчатого
клеевого соединения при растяжении
Дата склеивания ___________________________________________________________
Порода древесины __________________________________________________________
Влажность древесины, % ____________________________________________________
Размеры образца, мм _______________________________________________________
Марка клея ________________________________________________________________
Параметры соединения: длина шипа, мм ______________________________________
шаг соединения, мм __________________________________
затупление шипа, мм _________________________________
Режим склеивания: температура, °C _________________________________________
относительная влажность воздуха, % ______________________
нанесение клея (одно- или двустороннее) _________________
время открытой выдержки, мин ____________________________
время закрытой выдержки, мин ____________________________
давление прессования, МПа _______________________________
время выдержки под давлением, с _________________________
время выдержки образцов до испытания, сут _______________
скорость перемещения нагружающей головки испытательной
машины, мм/мин, или скорость нагружения, МПа/с __________
──────────┬──────────┬───────────────────┬─────────────┬─────────┬─────────
Маркировка│Маркировка│Размеры поперечного│Максимальная │ Предел │Влажность
заготовки │ образца │сечения образца, мм│ разрушающая │прочности│древесины
│ │ (см) │ нагрузка │ МПа, │ образца
│ ├─────────┬─────────┤ P , │ сигма , │ W, %
│ │ ширина │ толщина │ max │ P │
│ │ │ │ Н (кгс) │(кгс/см2)│
──────────┴──────────┴─────────┴─────────┴─────────────┴─────────┴─────────
Подпись __________________ Расшифровка подписи ________________
Дата испытания __________________
Приложение. (Измененная редакция, Изм. N 1).