Главная // Актуальные документы // ГОСТ (Государственный стандарт)
СПРАВКА
Источник публикации
М.: Издательство стандартов, 1987
Примечание к документу
Документ утратил силу с 1 июля 2017 года в связи с изданием Приказа Росстандарта от 28.11.2016 N 1804-ст. Взамен введен в действие ГОСТ 5090-2016.

С 1 июля 2003 года до вступления в силу технических регламентов акты федеральных органов исполнительной власти в сфере технического регулирования носят рекомендательный характер и подлежат обязательному исполнению только в части, соответствующей целям, указанным в пункте 1 статьи 46 Федерального закона от 27.12.2002 N 184-ФЗ.

Введен в действие с 1 января 1980 года.

Взамен ГОСТ 5091-72.
Название документа
"ГОСТ 5091-78*. Изделия скобяные вспомогательные для деревянных окон и дверей. Типы"
(введен в действие Постановлением Госстроя СССР от 13.03.1978 N 29)
(ред. от 01.11.1986)

"ГОСТ 5091-78*. Изделия скобяные вспомогательные для деревянных окон и дверей. Типы"
(введен в действие Постановлением Госстроя СССР от 13.03.1978 N 29)
(ред. от 01.11.1986)


Содержание


Введен в действие
Постановлением Госстроя СССР
от 13 марта 1978 г. N 29
ГОСУДАРСТВЕННЫЙ СТАНДАРТ СОЮЗА ССР
ИЗДЕЛИЯ СКОБЯНЫЕ ВСПОМОГАТЕЛЬНЫЕ
ДЛЯ ДЕРЕВЯННЫХ ОКОН И ДВЕРЕЙ
ТИПЫ
Auxillary builders hardware
for wooden windows and doors. Tupes
ГОСТ 5091-78*
Список изменяющих документов
(в ред. Изменения N 1, утв. в мае 1982 г.,
Изменения N 2, утв. в ноябре 1986 г.)
Группа Ж34
ОКП 49 8500
49 8600
Взамен
ГОСТ 5091-72
Постановлением Государственного комитета Совета Министров СССР по делам строительства от 13 марта 1978 г. N 29 срок введения установлен с 1 января 1980 года.
Переиздание (июль 1987 г.) с Изменениями N 1, 2, утвержденными в мае 1982 г., ноябре 1986 г. (ИУС N 9-82, 4-87).
1. Настоящий стандарт распространяется на вспомогательные изделия для деревянных окон и дверей, применяемых в массовом строительстве жилых и общественных зданий.
2. Типы и основные размеры вспомогательных изделий, за исключением угольников, должны соответствовать указанным на черт. 1 - 12 и 14. Типы, типоразмеры и основные размеры угольников должны соответствовать указанным на черт. 13 и в табл. 2.
Условные обозначения типов и наименование вспомогательных изделий, рекомендуемая область их применения приведены в табл. 1.
Таблица 1
───────────┬─────────────────┬────────────────────────┬───────────
Условные │ Наименования │ Рекомендуемые области │ Номера
обозначения│ вспомогательных │ применения │ чертежей
типов │ изделий │ │
───────────┼─────────────────┼────────────────────────┼───────────
ЗД1 │ Закрыватель │ Для наружных и внут- │ 1
│дверной верхнего │ренних дверей │
│расположения │ │
ЗД3 │ Закрыватель │ Для внутренних дверей │ 3
│дверной │ │
ЗД4 │ Закрыватель │ То же │ 4
│дверной верхнего │ │
│расположения │ │
ФК1 │ Фиксатор │ Для окон со спаренными│ 5
│ │створками │
ФК2 │ То же │ Для окон со спаренными│ 6
│ │створками и форточных │
│ │створок │
ФК3 │ " │ Для окон с раздельными│ 7
│ │створками │
ГД │ Глазок дверной │ Для входных дверей в │ 8
│ │квартиры │
ЦД │ Цепочка дверная │ То же │ 9
УД1 │ Упор дверной │ Для дверей │ 10
УД2 │ То же │ То же │ 11
УО │ Упор оконный │ Для окон с раздельными│ 12
│ │створками │
УГ │ Угольник │ Для окон │ 13
НГ │ Нагель │ Для крепления шиповых │ 14
│ │соединений │
Примеры рекомендуемой установки дверных закрывателей и фиксаторов приведены в Приложении к настоящему стандарту.
Закрыватель дверной верхнего расположения типа ЗД1
Черт. 1
Шурупы 1 - 5 х 40 (4 шт.) и 2 - 5 х 25 (2 шт.) по ГОСТ 1145-80 или ГОСТ 1146-80.
Условное обозначение:
ЗД1 ГОСТ 5091-78
Закрыватель дверной типа ЗД3
Черт. 3 <*>
--------------------------------
<*> Черт. 2 исключен.
Шурупы 1 - 4 х 35 (4 шт.) и 1 - 3 х 25 (2 шт.) по ГОСТ 1145-80 или ГОСТ 1146-80.
Условное обозначение:
ЗД3 ГОСТ 5091-78
Закрыватель дверной верхнего расположения типа ЗД4
Вариант исполнения крепления закрывателя
Черт. 4
Шурупы 1 - 4 х 35 (6 шт.) по ГОСТ 1145-80 или ГОСТ 1146-80.
Условное обозначение:
ЗД4 ГОСТ 5091-78
Фиксатор типа ФК1
Черт. 5
Примечание. Допускается фиксируемую планку толщиной 4 мм изготавливать из стального прутка диаметром 8 мм.
Шурупы 1 - 4 х 30 (4 шт.) по ГОСТ 1145-80 или ГОСТ 1146-80.
Условное обозначение:
ФК1 ГОСТ 5091-78
Фиксатор типа ФК3
Черт. 7. <*>
--------------------------------
<*> Черт. 6 исключен.
Шурупы 1 - 4 х 30 (5 шт.) по ГОСТ 1145-80 или ГОСТ 1146-80.
Пример условного обозначения фиксатора длиной 70 мм:
ФК3-70 ГОСТ 5091-78
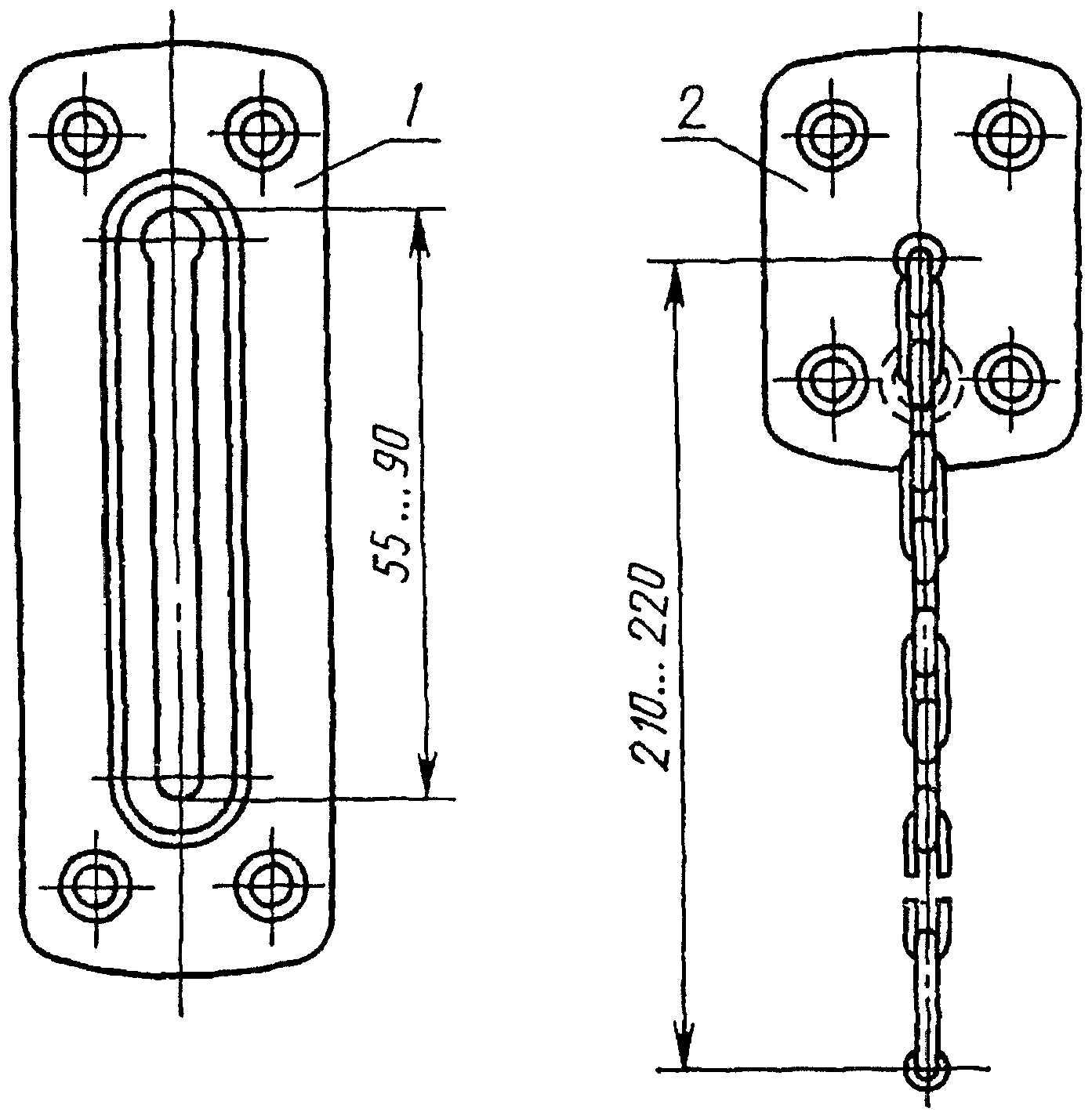
Глазок дверной типа ГД
Черт. 8
Условное обозначение:
ГД ГОСТ 5091-78
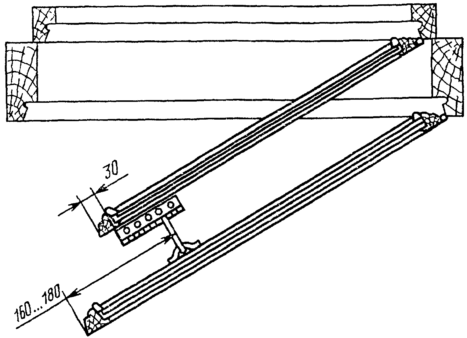
Цепочка дверная типа ЦД
Черт. 9
1 - запорная планка; 2 - основание
Примечание. Допускается крепить основание цепочки тремя шурупами.
Шурупы 1 - 4 х 30 (8 шт.) по ГОСТ 1145-80 или ГОСТ 1146-80.
Условное обозначение:
ЦД ГОСТ 5091-78
Упор дверной типа УД1
Черт. 10
Шурупы 1 - 3 х 25 (4 - 5 шт.) по ГОСТ 1145-80 или ГОСТ 1146-80.
Условное обозначение:
УД1 ГОСТ 5091-78
Упор дверной типа УД2
Черт. 11
Шурупы 1 - 5 х 40 (1 шт.) по ГОСТ 1145-80 или ГОСТ 1146-80.
Условное обозначение:
УД2 ГОСТ 5091-78
Упор оконный типа УО
Черт. 12
Шурупы 1 - 3 х 25 (2 шт.) по ГОСТ 1145-80 или ГОСТ 1146-80.
Условное обозначение:
УО ГОСТ 5091-78
Угольник типа УГ
Исполнение 1
Исполнение 2
Черт. 13
Таблица 2
Размеры, мм
────────┬───┬───┬───┬───┬───┬───┬───┬───┬─────────────────────────
Типо- │ H │ b │ s │ s │ A │ l │l │ h │ Шурупы по ГОСТ 1145-80
размеры │ │ │ │ 1│ │ │ 1 │ │
│ │ │ │ │ │ │ │ ├──────────┬──────────────
│ │ │ │ │ │ │ │ │ Размер │ Количество
────────┼───┼───┼───┼───┼───┼───┼───┼───┼──────────┼──────────────
УГ50 │ 50│12 │1,4│0,8│36 │ 8 │ - │2,2│1 - 3 х 25│ 3
УГ75 │ 75│14 │1,4│1,0│30 │ 8 │18 │2,5│1 - 3 х 25│ 5
УГ100 │100│16 │1,6│1,2│40 │12 │22 │3,0│1 - 3 х 30│ 5
УГ125 │125│18 │1,8│1,4│50 │16 │25 │3,5│1 - 3 х 30│ 5
Примечание. Угольники типов УГ75, УГ100 и УГ125 допускается изготовлять с четырьмя отверстиями.
Пример условного обозначения угольника стороной H = 50 мм, исполнения 1:
УГ50-1 ГОСТ 5091-78
Нагель типа НГ
Черт. 14
Пример условного обозначения нагеля длиной 33 мм:
НГ33 ГОСТ 5091-78
ИС МЕГАНОРМ: примечание.
Постановлением Госстроя РФ от 07.05.2002 N 20 с 1 января 2003 года введен в действие ГОСТ 538-2001.
3. Технические требования, правила приемки, маркировка, упаковка, транспортирование, хранение и гарантийный срок эксплуатации вспомогательных изделий для деревянных окон и дверей должны соответствовать требованиям, предусмотренным ГОСТ 538-78 и настоящим стандартом.
4. Конструкция дверных закрывателей типа ЗД1 должна обеспечивать плотное прилегание дверного полотна к коробке и регулирование угла раскрытия двери, а также возможность разъединения рычагов для полного раскрытия двери и регулирование продолжительности закрывания двери от 2 до 6 с.
Форму корпуса закрывателя стандарт не устанавливает.
1 - 4. (Измененная редакция, Изм. N 2.)
5. Конструкциями фиксаторов должна предусматриваться возможность их установки как на правые, так и на левые створки окна.
6. Угол обозрения у дверного глазка должен быть не менее 90°.
7. Дверные цепочки следует испытывать при приемочных и типовых испытаниях на разрыв силой 1860 Н (200 кгс) в течение 1 мин.
(Измененная редакция, Изм. N 2.)
8. Нагели должны изготовляться из цинково-алюминиевых или других сплавов твердостью 50 - 90 кгс/мм2 по ГОСТ 9012-59.
9. Вспомогательные изделия, за исключением нагелей, должны иметь защитное или защитно-декоративное покрытие по ГОСТ 538-78 в зависимости от установленной группы условий эксплуатации.
Группы условий эксплуатации изделий типов ГД, ЦД, УД1, УД2, УГ-1(Л), изделий типов ЗД1, ЗД3, ЗД4, ФК1, ФК2, ФК3, У0-2, 3, 4 (С) по ГОСТ 9.303-84.
(Измененная редакция, Изм. N 2.)
10. Дверные закрыватели должны безотказно выдерживать число циклов работы, указанных в табл. 3.
Таблица 3
────────────────────────┬─────────────────────────────────────────
Тип закрывателя │ Величина наработки, циклы, не менее
├───────────────────┬─────────────────────
│ закрывателей, │ закрывателей,
│ аттестуемых по │ аттестуемых по
│ первой категории │ высшей категории
│ качества │ качества
────────────────────────┼───────────────────┼─────────────────────
ЗД1 │ 250000 │ 300000
ЗД4 │ 200000 │ 250000
(Введен дополнительно, Изм. N 1, 2.)
Приложение
Рекомендуемое
ПРИМЕРЫ УСТАНОВКИ ДВЕРНЫХ ЗАКРЫВАТЕЛЕЙ ВЕРХНЕГО
РАСПОЛОЖЕНИЯ И ФИКСАТОРОВ
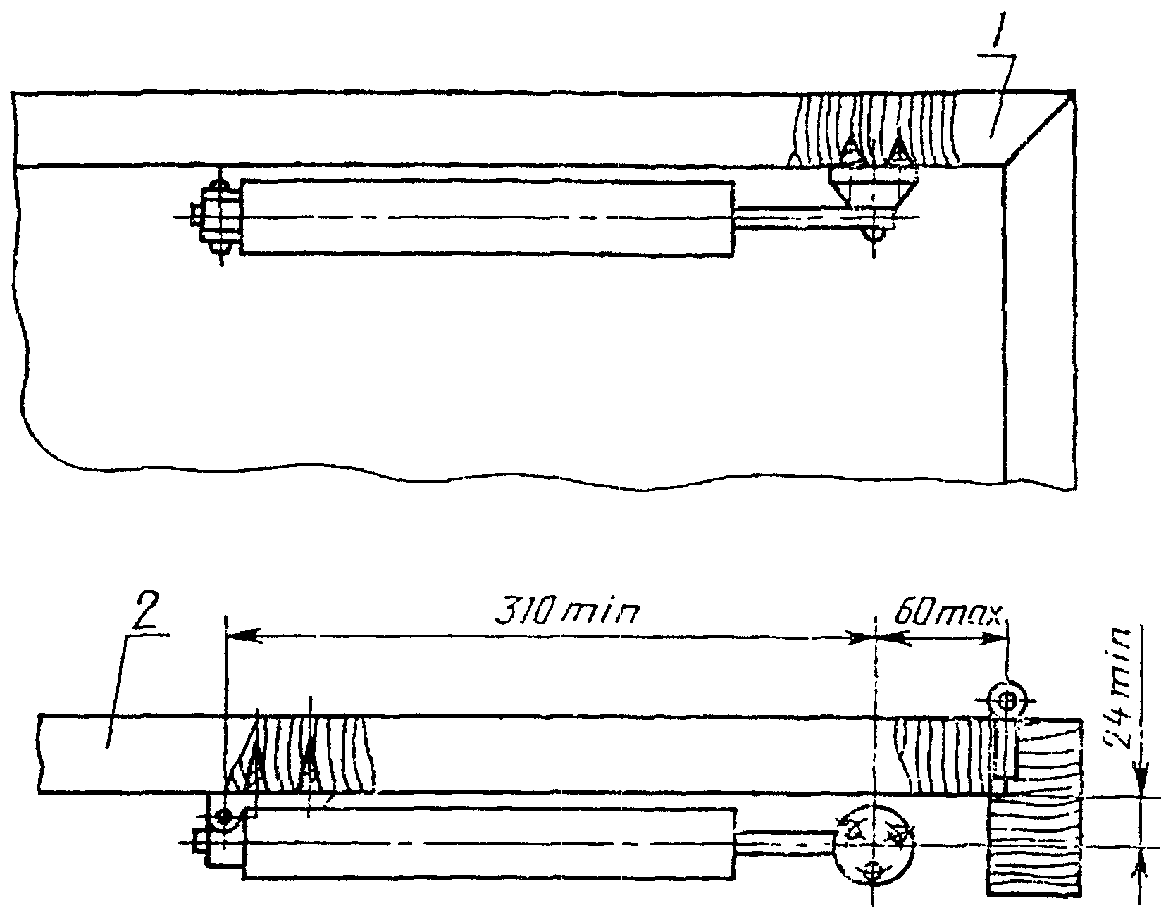
Закрыватель дверной верхнего расположения типа ЗД1
1 - коробка; 2 - полотно
Закрыватель дверной верхнего расположения типа ЗД4
1 - коробка; 2 - полотно
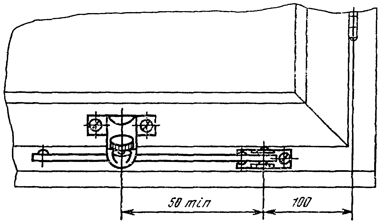
Фиксатор типа ФК1
Фиксатор типа ФК3
(Измененная редакция, Изм. N 2.)