Главная // Актуальные документы // ГОСТ Р (Государственный стандарт)СПРАВКА
Источник публикации
М.: Стандартинформ, 2021
Примечание к документу
Документ
введен в действие с 01.11.2021.
Название документа
"ГОСТ Р 59583-2021. Национальный стандарт Российской Федерации. Конструкции ограждающие светопрозрачные. Остекление балконов. Правила и контроль выполнения монтажных работ"
(утв. и введен в действие Приказом Росстандарта от 02.07.2021 N 608-ст)
"ГОСТ Р 59583-2021. Национальный стандарт Российской Федерации. Конструкции ограждающие светопрозрачные. Остекление балконов. Правила и контроль выполнения монтажных работ"
(утв. и введен в действие Приказом Росстандарта от 02.07.2021 N 608-ст)
Утвержден и введен в действие
агентства по техническому
регулированию и метрологии
от 2 июля 2021 г. N 608-ст
НАЦИОНАЛЬНЫЙ СТАНДАРТ РОССИЙСКОЙ ФЕДЕРАЦИИ
КОНСТРУКЦИИ ОГРАЖДАЮЩИЕ СВЕТОПРОЗРАЧНЫЕ
ОСТЕКЛЕНИЕ БАЛКОНОВ
ПРАВИЛА И КОНТРОЛЬ ВЫПОЛНЕНИЯ МОНТАЖНЫХ РАБОТ
Translucent enclosing structures. Glazing of balconies.
Check and demands for results of construction works
ГОСТ Р 59583-2021
Дата введения
1 ноября 2021 года
1 РАЗРАБОТАН Ассоциацией "Национальный Оконный Союз", Ассоциацией производителей и поставщиков материалов для монтажа окон (Ассоциацией "АПМ"), Акционерным обществом "Центр методологии нормирования и стандартизации в строительстве" (АО "ЦНС")
2 ВНЕСЕН Техническим комитетом по стандартизации ТК 400 "Производство работ в строительстве. Типовые технологические и организационные процессы"
3 УТВЕРЖДЕН И ВВЕДЕН В ДЕЙСТВИЕ
Приказом Федерального агентства по техническому регулированию и метрологии от 2 июля 2021 г. N 608-ст
4 ВВЕДЕН ВПЕРВЫЕ
Правила применения настоящего стандарта установлены в статье 26 Федерального закона от 29 июня 2015 г. N 162-ФЗ "О стандартизации в Российской Федерации". Информация об изменениях к настоящему стандарту публикуется в ежегодном (по состоянию на 1 января текущего года) информационном указателе "Национальные стандарты", а официальный текст изменений и поправок - в ежемесячном информационном указателе "Национальные стандарты". В случае пересмотра (замены) или отмены настоящего стандарта соответствующее уведомление будет опубликовано в ближайшем выпуске ежемесячного информационного указателя "Национальные стандарты". Соответствующая информация, уведомление и тексты размещаются также в информационной системе общего пользования - на официальном сайте Федерального агентства по техническому регулированию и метрологии в сети Интернет (www.gost.ru)
Настоящий стандарт разработан впервые для создания национальной системы правил выполнения работ по устройству светопрозрачных ограждающих конструкций объектов гражданского и промышленного строительства.
Стандарт направлен на реализацию в отрасли светопрозрачных конструкций положений Федерального
закона от 27 декабря 2002 г. N 184-ФЗ "О техническом регулировании", Федерального
закона от 30 декабря 2009 г. N 384-ФЗ "О безопасности зданий и сооружений", Федерального
закона от 29 июня 2015 г. N 162-ФЗ "О стандартизации в Российской Федерации".
Задачей стандарта является разработка правил производства работ при монтаже остекления балконов зданий и сооружений, обеспечивающих безопасность и высокие эксплуатационные характеристики, в том числе требуемый по проекту уровень энергосбережения.
Положения стандарта систематизируют и унифицируют существующие требования к правилам производства монтажных работ по остеклению балконов. Стандарт конкретизирует положения
ГОСТ 34378 в части проведения монтажных работ остекления балконов в соответствии с чертежами рабочей документации. Стандарт устанавливает требования к проведению входного контроля качества изделий и материалов на строительном объекте и к результатам указанных работ и методам контроля за выполнением указанных работ.
Стандарт устанавливает термины и определения, которые не установлены другими стандартами.
Настоящий стандарт предназначен для организаций и специалистов, осуществляющих изготовление и монтаж светопрозрачных ограждающих конструкций.
При разработке стандарта использованы результаты научных исследований, отечественный и зарубежный опыт.
Положения настоящего стандарта полностью или частично могут быть использованы при проведении работ по договорам с гражданами в объеме, указанном в рабочей документации.
1.1 Настоящий стандарт распространяется на светопрозрачные ограждающие конструкции, выполняющие функции остекления балконов зданий и сооружений, включая нижние балконные экраны из многослойного или закаленного стекла, при новом строительстве, реконструкции и капитальном ремонте объектов капитального строительства (кроме памятников архитектуры и объектов культурного наследия) с различными типами несущих ограждающих конструкций.
1.2 Стандарт устанавливает общие требования, порядок организации и производства монтажных работ по остеклению балконов для многоквартирных жилых и общественных зданий высотой до 75 м, возводимых по типовым и индивидуальным проектам во всех климатических районах Российской Федерации, а также определяет методы и средства контроля выполнения монтажных работ по остеклению балконов.
1.3 Стандарт не распространяется на конструкции балконного остекления в части дополнительных требований к пожаробезопасности, обеспечивающих переход через воздушную зону в виде незастекляемого балкона (лоджии), защиты от взлома, устойчивости к воздействию взрыва.
1.4 Настоящий стандарт не распространяется:
- на светопрозрачные конструкции легких навесных стен, включающих в себя окна и элементы балконного остекления;
- светопрозрачные конструкции индивидуальных жилых домов, возводимых в соответствии с
СП 55.13330.2016, а также на сложные и уникальные здания и сооружения.
1.5 Настоящий стандарт надлежит использовать совместно с
ГОСТ 34378 и
ГОСТ Р 59495. Понятия "монтажные работы", "новое строительство", "реконструкция", "капитальный ремонт", "объект капитального строительства" используются в соответствии с
СП 48.13330.2019.
В настоящем стандарте использованы нормативные ссылки на следующие документы:
ГОСТ 2.101 Единая система конструкторской документации. Виды изделий
ГОСТ 2.102 Единая система конструкторской документации. Виды и комплектность конструкторских документов
ГОСТ 2.314 Единая система конструкторской документации. Указания на чертежах о маркировании и клеймении изделий
ГОСТ 2.601 Единая система конструкторской документации. Эксплуатационные документы
ГОСТ 2.610 Единая система конструкторской документации. Правила выполнения эксплуатационных документов
ГОСТ 3.1119 Единая система технологической документации. Общие требования к комплектности и оформлению комплектов документов на единичные технологические процессы
ГОСТ 3.1120 Единая система технологической документации. Общие правила отражения и оформления требований безопасности труда в технологической документации
ГОСТ 3.1407 Единая система технологической документации. Формы и требования к заполнению и оформлению документов на технологические процессы (операции), специализированные по методам сборки
ГОСТ 3.1502 Единая система технологической документации. Формы и правила оформления документов на технический контроль
ГОСТ 12.1.046 Система стандартов безопасности труда. Строительство. Нормы освещения строительных площадок
ГОСТ 12.4.026 Система стандартов безопасности труда. Цвета сигнальные, знаки безопасности и разметка сигнальная. Назначение и правила применения. Общие технические требования и характеристики. Методы испытаний
ГОСТ 15.005 Система разработки и постановки продукции на производство. Создание изделий единичного и мелкосерийного производства, собираемых на месте эксплуатации
ГОСТ 15.016 Система разработки и постановки продукции на производство. Техническое задание. Требования к содержанию и оформлению
ГОСТ 111 Стекло листовое бесцветное. Технические условия
ГОСТ 13015 Изделия бетонные и железобетонные для строительства. Общие технические требования. Правила приемки, маркировки, транспортирования и хранения
ГОСТ 16504 Система государственных испытаний продукции. Испытания и контроль качества продукции. Основные термины и определения
ГОСТ 21650 Средства скрепления тарно-штучных грузов в транспортных пакетах. Общие требования
ГОСТ 23344 Окна стальные. Общие технические условия
ГОСТ 24866 Стеклопакеты клееные. Технические условия
ГОСТ 24297 Верификация закупленной продукции. Организация проведения и методы контроля
ГОСТ 25697 Плиты балконов и лоджий железобетонные. Общие технические условия
ГОСТ 25726 Клейма ручные буквенные и цифровые. Типы и основные размеры
ГОСТ 25772 Ограждения лестниц, балконов и крыш стальные. Общие технические условия
ГОСТ 27751 Надежность строительных конструкций и оснований. Основные положения
ГОСТ 30494 Здания жилые и общественные. Параметры микроклимата в помещениях
ГОСТ 34378-2018 Конструкции ограждающие светопрозрачные. Окна и двери. Производство монтажных работ, контроль и требования к результатам работ
ГОСТ Р 51872 Документация исполнительная геодезическая. Правила выполнения
ГОСТ Р 56728 Здания и сооружения. Методика определения ветровых нагрузок на ограждающие конструкции
ГОСТ Р 56926-2016 Конструкции оконные и балконные различного функционального назначения для жилых зданий. Общие технические условия
ГОСТ Р 58752 Средства подмащивания. Общие технические условия
ГОСТ Р 58758 Площадки и лестницы для строительно-монтажных работ. Общие технические условия
ГОСТ Р 58939 Система обеспечения точности геометрических параметров в строительстве. Правила выполнения измерений. Элементы заводского изготовления
ГОСТ Р 58941 Система обеспечения точности геометрических параметров в строительстве. Правила выполнения измерений. Общие положения
ГОСТ Р 58943 Система обеспечения точности геометрических параметров в строительстве. Контроль точности
ГОСТ Р 58944 Система обеспечения точности геометрических параметров в строительстве. Функциональные допуски
ГОСТ Р 58945 Система обеспечения точности геометрических параметров в строительстве. Правила выполнения измерений параметров зданий и сооружений
ГОСТ Р 58967 Ограждения инвентарные строительных площадок и участков производства строительно-монтажных работ. Технические условия
ГОСТ Р 59495 Конструкции ограждающие светопрозрачные. Крепление оконных и балконных блоков в световых проемах. Правила и контроль выполнения работ
СП 49.13330.2010 "СНиП 12-03-2001 Безопасность труда в строительстве. Часть 1. Общие требования"
СП 63.13330.2018 "СНиП 52-01-2003 Бетонные и железобетонные конструкции. Основные положения"
Примечание - При пользовании настоящим стандартом целесообразно проверить действие ссылочных стандартов (сводов правил) в информационной системе общего пользования - на официальном сайте Федерального агентства по техническому регулированию и метрологии в сети Интернет или по ежегодному информационному указателю "Национальные стандарты", который опубликован по состоянию на 1 января текущего года, и по выпускам ежемесячного информационного указателя "Национальные стандарты" за текущий год. Если заменен ссылочный документ, на который дана недатированная ссылка, то рекомендуется использовать действующую версию этого документа с учетом всех внесенных в данную версию изменений. Если заменен ссылочный документ, на который дана датированная ссылка, то рекомендуется использовать версию этого документа с указанным выше годом утверждения (принятия). Если после утверждения настоящего стандарта в ссылочный документ, на который дана датированная ссылка, внесено изменение, затрагивающее положение, на которое дана ссылка, то это положение рекомендуется применять без учета данного изменения. Если ссылочный документ отменен без замены, то положение, в котором дана ссылка на него, рекомендуется применять в части, не затрагивающей эту ссылку. Сведения о действии сводов правил целесообразно проверить в Федеральном информационном фонде стандартов.
3 Термины, определения и сокращения
3.1.1
балкон: Выступающая из плоскости стены фасада огражденная площадка, может выполняться с покрытием и остеклением, имеет ограниченную глубину, взаимоувязанную с освещением помещения, к которому примыкает. |
3.1.2 витражное остекление балконов: Сплошное многоэтажное остекление балконов стоечно-ригельной фасадной системы, образующей несущий каркас со светопропускающим и непрозрачным заполнением.
3.1.3
лоджия: Помещение, встроенное в здание или пристроенное к нему, имеющее стены с трех сторон (или с двух при угловом расположении) на всю высоту этажа и ограждение с открытой стороны, может выполняться с покрытием и остеклением, имеет ограниченную глубину, взаимоувязанную с освещением помещения, к которому примыкает. |
3.1.4 заполнение: Светопропускающие и непрозрачные элементы, отделяющие помещения здания от наружной среды и закрепленные к каркасу ограждения балкона.
3.1.5 заполнение светопропускающее: Элемент заполнения из прозрачного листового материала (стекла), стеклопакета или их комбинации, светопропускающих полимерных панелей или светопрозрачных мембран.
3.1.6 заполнение несветопропускающее: Элемент заполнения из непрозрачного листового облицовочного (отделочного) материала или многослойной панели, утеплителя (при необходимости), пароизоляции и внутреннего облицовочного слоя.
3.1.7 каркас остекления балкона: Конструкция, воспринимающая нагрузки и воздействия, действующие на элементы остекления балкона, и передающая их на несущую конструкцию здания.
3.1.8
входной контроль: Контроль продукции поставщика, поступившей к потребителю или заказчику и предназначаемой для использования при изготовлении, ремонте или эксплуатации продукции. |
3.1.9
железобетонная плита балкона: Основная часть балкона - консольная железобетонная плита, выступающая из плоскости стены фасада и воспринимающая нагрузки конструкций одного балкона. |
3.1.10 контрольная сборка: Сборка (монтаж, регулировка) изделия (его составной части) на предприятии-изготовителе, предъявляемая приемочному контролю в целях отработки технологической документации, а также конструкторской документации на технологичность, для подтверждения работоспособного состояния изделия (его составных частей).
3.1.11 монтаж: Установка в проектное положение и постоянное крепление изделий (конструктивных элементов).
3.1.12 монтажная готовность: Уровень завершенности сборки изделия перед установкой его на месте использования, предусмотренном рабочими чертежами.
3.1.13 наружное остекление балкона: Ленточное или панорамное остекление, отделяющее помещение балкона от внешней среды и устанавливаемое на нижний балконный экран или по всей высоте помещения балкона (лоджии) в пределах высоты этажа, по обрезу перекрытия в плоскости фасада здания.
3.1.14 наружное межэтажное остекление балкона: Остекление балкона, ограниченное высотой этажа (помещения), устанавливаемое по периметру балконной плиты на нижний балконный экран или на балконную плиту по всей высоте помещения балкона.
Примечание - Наружное межэтажное остекление балкона возможно двух видов: ленточное и панорамное.
3.1.15 ленточное остекление балкона: Вид межэтажного остекления балконов, устанавливаемого по периметру балконного ограждения, высотой не более 1,5 м.
Примечание - При ограничении высоты помещения 2,7 м и нормируемой высоте нижнего экрана балкона 1,2 м.
3.1.16 панорамное остекление балкона: Вид межэтажного остекления балкона со светопропускающим заполнением по всему периметру балкона с высотой, равной высоте помещения.
3.1.17
операционный контроль: Контроль продукции или процесса во время выполнения или после завершения технологической операции. |
3.1.18
приемочный контроль: Контроль продукции, по результатам которого принимается решение о ее пригодности к поставкам и (или) использованию. |
3.1.19
сборка: Образование соединений составных частей изделия. Примечание - Соединение может быть разъемным или неразъемным. |
3.1.20
сборочный комплект: Группа составных частей изделия, которые необходимо подать на рабочее место для сборки изделия или его составной части. |
3.1.21 системная компания (системодержатель): Организация, юридическое лицо, являющиеся разработчиком и держателем нормативных документов, технической и технологической документации на систему конструктивных элементов, из которых можно производить конструкции остекления балконов (оконные блоки) с конкретными потребительскими характеристиками, подтвержденными посредством испытаний образцов продукции по утвержденным методикам.
Примечания
1 Системная компания несет ответственность за соответствие конструкций остекления заявленным параметрам при условии использования материалов, комплектующих изделий и соблюдения технологии монтажа в соответствии с нормативными документами, технической и технологической документацией разработчика.
2 Системодержатель комплектует конструкции остекления для конкретного объекта в соответствии с заказом (техническим заданием) либо поручает комплектацию системы или части ее третьим лицам.
3.1.22 схема деления: Конструкторский документ, определяющий состав изделия и его разделение на сборочные единицы и детали с изображением их относительного расположения и указанием индексов изделия и его составных частей.
3.1.23 расчетный период эксплуатации (срок службы): Установленный в нормативных документах или в проектной документации период нормальной эксплуатации светопрозрачной ограждающей конструкции, отсчитываемый от момента сдачи объекта в эксплуатацию.
3.2 В настоящем стандарте применены следующие сокращения:
НД - нормативный документ;
ПД - проектная документация;
ПОС - проект организации строительства;
ППР - проект производства работ;
РД - рабочая документация;
ТЗ - техническое задание (задание на проектирование);
ТК - технологическая карта;
ТУ - технические условия.
4.1 Остекление балконов зданий осуществляют по РД на основании утвержденной ПД. Состав проектной документации должен соответствовать
[1].
4.2 Основные требования к конструкциям остекления балконов приведены в
приложении А.
4.3 Примыкание конструкций из алюминия к конструкциям из кирпича или бетона допускается только после полного твердения раствора или бетона независимо от степени агрессивного воздействия среды. Участки примыкания должны быть защищены лакокрасочными покрытиями.
4.4 Конструкции остекления балконов могут иметь полную заводскую готовность, представляя собой готовую продукцию, предназначенную для установки на балконе в проектное положение и закрепление, но могут поставляться на строящийся объект в виде комплектов неполной заводской готовности, предполагающих сборку непосредственно перед монтажом на балконе.
Примечание - Раздвижные рамные и безрамные конструкции, а также витражные системы для сплошного остекления балконов, по условиям транспортирования или комплектования покупными (кооперированными) изделиями, как правило, не могут быть отправлены в собранном виде.
4.5 Конструкции остекления балконов сборно-разборной конструкции, подвергающиеся окончательной сборке в построечных условиях (собираемые на месте эксплуатации), являются изделиями единичного или мелкосерийного производства.
4.6 Исходным документом для создания сборно-разборных конструкций остекления балконов согласно
ГОСТ 15.005 является ТЗ или другой документ (протокол, решение совещания и т.п.), содержащий необходимые и достаточные требования для разработки.
4.7 ТЗ на поставку конструкций остекления (в том числе оконных блоков) неполной заводской готовности с последующей их сборкой в построечных условиях разрабатывает изготовитель оконных блоков в соответствии с положениями
ГОСТ 15.016, с учетом требований заказчика и РД на остекление балконов.
4.8 В ТЗ в общем случае устанавливают технические требования к конструкциям остекления согласно ПД, в том числе к уровню заводской готовности и монтажной технологичности, требования к разработке, изготовлению и приемочному контролю, включая объем заводской (предварительной) контрольной сборки, требования к комплектности поставки, приемке.
Примечания
1 В ТЗ указывают сроки изготовления, контрольной сборки, окончательной сборки на месте эксплуатации, монтажа и сдачи изделия в эксплуатацию.
2 Не допускается включать в ТЗ требования, которые противоречат требованиям стандартов и нормативных документов органов, осуществляющих надзор за безопасностью, охраной здоровья и природы.
3 По согласованию с заказчиком допускается использовать имеющуюся РД системодателя.
4.9 Для сборки в построечных условиях по разовым заказам разрабатывают технологическую документацию на временные технологические процессы в соответствии с
[2].
4.10 Контрольную сборку одного комплекта межэтажного остекления балкона каждого типоразмера с резьбовыми соединениями выполняют на предприятии-изготовителе в случае, если это оговорено в договорной документации.
4.11 Состав комплекта поставки остекления балконов (объем, порядок поставки, документ о качестве (паспорт) и сопровождающую их РД, поставку комплектующих, кооперированных и стандартных изделий и т.п.) устанавливают по согласованию с заказчиком и указывают в заказе (договоре) на поставку.
4.12 Окончательную сборку конструкций остекления балконов из сборочных комплектов заводской готовности в построечных условиях выполняет изготовитель силами своей бригады специалистов, если иное не установлено договором.
4.13 Приемочный контроль оконных блоков на месте строительства осуществляет заказчик совместно с изготовителем и подрядчиком монтажа.
4.14 Монтаж изделий на строящемся объекте выполняет организация-подрядчик, указанная в договоре, заключенном между заинтересованными организациями и предприятиями.
4.15 Данные о производстве монтажных работ по устройству остекления балконов следует ежедневно вносить в журнал работ, а также фиксировать по ходу монтажа элементов остекления их положение на геодезических исполнительных схемах. Качество работ должно быть обеспечено операционным контролем технологических процессов подготовительных и основных работ, а также при приемке работ. По результатам операционного контроля технологических процессов составляют акты освидетельствования скрытых работ.
4.16 Условия выполнения требований по охране труда в процессе работ по устройству остекления балконов, а также возможность выполнения всех видов контроля, необходимого для оценки соответствия результатов работ требованиям РД и НД и/или условиям договора, устанавливают в ПОС и ППР.
4.17 На время перерывов в работе по устройству остекления балконов, связанных с выполнением отдельных строительных работ заказчиком (генподрядчиком), модули и элементы, комплектующие и материалы, используемые при устройстве остекления балконов, могут быть сданы заказчику по
форме КС-2, утвержденной Постановлением
[3], или по договору ответственного хранения.
5 Требования к сборочным комплектам
5.1 Технические требования
5.1.1 Технические характеристики сборно-разборных конструкций остекления балконов должны соответствовать требованиям РД (ПД) и показателям базовых конструкций системодателя.
5.1.3 Элементы, детали, изделия со сроками службы, меньшими чем предполагаемый срок службы здания, должны быть заменяемы в соответствии с установленными в ПД межремонтными периодами и с учетом требований ТЗ. Решение о применении элементов, материалов или изделий различной степени долговечности при соответствующем увеличении или уменьшении межремонтных периодов устанавливают технико-экономическими расчетами. При этом материалы, конструкции и технологию строительных работ следует выбирать с учетом обеспечения минимальных последующих расходов на ремонт, техническое обслуживание и эксплуатацию.
5.1.4 Основные размеры конструкций остекления должны соответствовать следующим требованиям:
- габаритные размеры и архитектурный рисунок изделий устанавливают в РД (ПД) на изготовление изделий;
- номинальные размеры элементов изделий, а также другие необходимые размеры указывают в РД на каждое конкретное изделие;
- максимальные размеры створок изделий устанавливают согласно технической документации с учетом эксплуатационных нагрузок и требований строительных норм и правил;
- предельные отклонения от габаритных размеров изделий не должны превышать

;
- предельные отклонения от номинальных размеров элементов изделий и разность длин диагоналей створок и рам не должны превышать значений, установленных в РД и НД;
- допустимые предельные отклонения от номинальных размеров сечения профильных элементов принимают по технической документации системодателя;
- профильные детали должны иметь правильную геометрическую форму по поперечному сечению;
- отклонение от продольной прямолинейности сторон профилей не должно превышать 1,0 мм на 1,0 м длины;
- угловые соединения алюминиевых и стеклокомпозитных рамочных элементов осуществляют на крепежных уголках путем опрессовки или при помощи винтового соединения.
5.1.5 Конструкции, изделия и детали должны быть выполнены из материалов, обладающих стойкостью к возможным воздействиям влаги, низких температур, агрессивной среды, биологических и других неблагоприятных факторов согласно
СП 28.13330.2017. В необходимых случаях должны быть приняты соответствующие меры от образования недопустимого количества конденсационной влаги в наружных ограждающих конструкциях путем достаточной герметизации конструкций.
5.2.1 Технические требования чертежей на составные части сборно-разборных конструкций остекления балконов всей номенклатуры (согласно ведомости (спецификации) ПД и РД) должны содержать указания о маркировании изделий в соответствии с положениями
ГОСТ 2.314.
5.2.2 На каждой составной части сборно-разборных конструкций наносят маркировку на бирке в соответствии с указаниями рабочего чертежа изделия (детали).
5.2.3 Общую маркировку наносят на каждый сборочный комплект конструкций остекления балконов заводской готовности. Общая маркировка должна содержать марку с номером заказа (договора), номер чертежа и номер конструкции остекления балкона согласно ведомости РД.
Примечание - Сборочный комплект конструкций остекления балконов заводской готовности - группа составных частей и/или деталей конструкции остекления балкона, которые поступают на строительную площадку для сборки конструкции в построечных условиях.
5.2.4 Индивидуальную маркировку наносят на конструкции остекления балконов, прошедшие окончательную сборку. Индивидуальная маркировка должна содержать:
- общую маркировку;
- дополнительную маркировку по схеме сборки.
5.2.5 На конструкции (изделия), на которые невозможно из-за малых габаритов нанести маркировочные надписи, разрешается наносить маркировку без указания номера заказа и чертежа, при этом конструкции должны быть уложены в ящик или увязаны в связку. К ящику или связке должна быть прикреплена бирка с указанием номера заказа, чертежа и числа изделий в ящике или связке.
5.2.6 Маркировку следует указывать в РД или ТУ на конструкции конкретного вида и наносить ее одним из способов:
- окраской по трафарету;
- электроэрозионным методом;
- посредством печати лазерным принтером;
- креплением на изделии металлического ярлыка с маркировкой, выбитой буквенно-цифровыми клеймами.
5.2.7 При соблюдении условий и сроков хранения, установленных в НД, маркировка должна обеспечивать визуальное прочтение при хранении и монтаже.
5.2.8 Транспортная маркировка изделий - по
ГОСТ 14192.
5.3.1 Упаковку составных частей сборно-разборных конструкций остекления балконов проверяют, соблюдая меры, исключающие изменения геометрической формы, деформации, а также обеспечивающие сохранность декоративно-защитного покрытия составных частей при их погрузке, разгрузке и хранении.
5.3.2 Средства скрепления грузов в транспортных пакетах - по
ГОСТ 21650.
5.3.3 Пакеты изделий, а также ящичные поддоны должны иметь маркировку по
ГОСТ 14192.
5.4.1 Хранение поставленных элементов конструкций остекления балконов в построечных условиях надлежит осуществлять в соответствии с требованиями НД и технической документации на соответствующую продукцию.
5.4.2 При хранении элементов конструкций остекления балконов должны быть приняты меры для защиты их от механических повреждений, воздействия атмосферных осадков и тепловых воздействий (должен быть исключен непосредственный контакт с отопительными приборами, прямыми солнечными лучами). Изделия следует хранить в закрытых сухих помещениях при температуре не ниже 5 °C в положении под углом 10° - 15° к вертикали на подкладках или поддонах.
5.4.3 Не установленные на изделия приборы или части приборов должны быть упакованы в полиэтиленовую пленку или другой упаковочный материал, обеспечивающий их сохранность, прочно перевязаны и поставлены комплектно с изделиями.
5.4.4 В случае отдельной поставки светопропускающих элементов заполнения (стекла и стеклопакетов) требования к их упаковке и хранению устанавливают по
ГОСТ 111 и
ГОСТ 24866.
5.4.5 При хранении и транспортировании изделий в пределах строительной площадки не допускается ставить их друг на друга, между изделиями следует устанавливать прокладки из упругих материалов.
5.5 Требования к технологическому регламенту сборки конструкций ленточного остекления
5.5.1 В соответствии с
[4] технологический процесс сборки конструкций межэтажного ленточного остекления балконов в построечных условиях состоит, в основном, из таких операций, как:
- установочные;
- выполнение соединений;
- технический контроль.
5.5.2 Результатом технологического анализа конструкции ленточного остекления балкона является создание схемы деления этой конструкции на сборочные единицы и детали. Пример схем деления и сборки элементов ленточного остекления (раздвижного и распашного видов), выполненных на основе профилей из алюминиевого сплава, приведен в
приложении Б.
Примечание - На схеме сборки элементов ленточного остекления указаны основные элементы технологического процесса сборки, расположение составных частей изделия, последовательность их соединения.
5.5.3 На схеме сборки приводят дополнительные надписи, определяющие содержание сборочных операций. Для сложного изделия составляют укрупненную схему сборки, характеризующую общую сборку изделия, и схемы сборки составных частей изделия, соответствующие узловой сборке,
рисунки Б.1 -
Б.3.
5.5.4 Технологический регламент окончательной сборки ленточных конструкций остекления балкона из сборочных комплектов заводской готовности разрабатывают на основе комплекса стандартов Единой системы технологической документации:
ГОСТ 3.1119,
ГОСТ 3.1120,
ГОСТ 3.1407 и
ГОСТ 3.1502.
5.5.5 В построечных условиях сборку элементов ленточного остекления из сборочных комплектов проводят стационарно на сборочных столах в каждом отдельном помещении строящегося здания с подлежащим остеклению балконом.
5.6 Комплектность и условия поставки
5.6.1 Конструкции остекления балконов поставляют потребителю в виде сборочных комплектов заводской готовности. В состав сборочного комплекта остекления конкретного балкона входят:
- составные части (детали), покупные (комплектующие и кооперированные, а также стандартные) изделия;
- документация, включающая ТУ, рабочие чертежи остекления балкона, технологический регламент сборки в построечных условиях, а также эксплуатационные документы и документы о качестве изделий (паспорт и сертификат соответствия или декларация).
5.6.2 В ТУ или РД на остекление балкона конкретных типоразмеров, подлежащих сборке в построечных условиях, указывают состав сборочного комплекта оконного блока, поставляемого предприятием-изготовителем.
5.7 Операционный контроль
5.7.1 Операционный контроль проводят в соответствии с технологической документацией изготовителя. Контроль должен быть достаточным для оценки качества выполняемых операций, имея в виду выполнение требований стандартов или технических условий и рабочей документации на конструкции.
Операционный контроль конструкций остекления балконов, собираемых в построечных условиях, проводят в соответствии с технологической документацией изготовителя. Контроль должен быть достаточным для оценки качества выполняемых операций на соответствие требованиям НД, ТУ и РД на монтируемые конструкции.
5.7.2 Состав контролируемых признаков в процессах контроля и полноту охвата их контролем, а также точность и стабильность параметров технологических режимов операций производства принимают по технологической документации изготовителя, разработанной в соответствии со стандартами Единой системы технологической подготовки производства, и подтверждают при постановке на производство в соответствии с
ГОСТ 15.005.
5.8.1 Приемочный контроль конструкций остекления (в том числе оконных блоков), собранных в построечных условиях, представляет собой входной контроль этих изделий, который проводят в соответствии с
подразделом 5.4 ГОСТ 34378-2018.
5.8.2 При приемочном контроле осуществляют приемку готовых изделий по качеству на основании данных входного, операционного и приемо-сдаточного контроля.
5.8.3 Приемо-сдаточный контроль каждой партии конструкций ленточного остекления одного типоразмера выполняют при сплошном контроле - на каждой единице продукции.
5.8.4 Заказчик имеет право проводить входной контроль конструкций, применяя при этом правила приемки, установленные настоящим стандартом,
ГОСТ 34378, ТУ или РД на конкретные конструкции.
5.8.5 Контроль комплектности, маркировки и наличия защитной пленки на лицевых поверхностях профилей конструкций ленточного остекления проводят на соответствие требованиям
пункта 5.4.3 ГОСТ 34378-2018.
Монтаж конструкций ленточного остекления балкона, собранных в построечных условиях, проводят в соответствии с положениями
ГОСТ 34378, правилами, установленными ПОС и ППР, а также
разделами 6 -
8.
6 Подготовительные работы
6.1.1 При устройстве остекления балконов следует предусматривать выполнение подготовительных, монтажных и заключительных работ.
6.1.2 В соответствии с
пунктом 9.3 СП 48.13330.2019 подрядчик, осуществляющий СМР, в составе строительного контроля
[5] выполняет:
- входной контроль РД, предоставленной застройщиком (техническим заказчиком);
- приемку фронта работ;
- входной контроль применяемых строительных материалов, изделий, конструкций, полуфабрикатов в необходимом объеме согласно действующей НД
(СП 70.13330.2012), положениям договора с застройщиком (техническим заказчиком), включая ведение журнала входного контроля.
6.1.3 Подготовительные мероприятия должны быть закончены до начала производства работ. Окончание подготовительных работ на рабочем месте должно быть оформлено актом.
6.2 Входной контроль проектной и рабочей документации
6.2.1 При входном контроле ПД подрядчик осуществляет проверку достаточности содержащейся в ней технической информации для обеспечения механической безопасности конструкций остекления балконов при производстве работ и эксплуатации здания.
Примечание - В соответствии со
статьей 16 [6] выполнение требований механической безопасности в ПД здания или сооружения должно быть обосновано расчетами и иными способами, указанными в
части 6 статьи 15 [6], подтверждающими, что в процессе строительства и эксплуатации здания или сооружения его строительные конструкции и основание не достигнут предельного состояния по прочности и устойчивости.
6.2.2 Перед проведением монтажных работ по полученной от застройщика РД по заполнению стеновых (световых) проемов здания оконными блоками подрядчик осуществляет ее входной контроль (аудит).
В соответствии с ГОСТ 34378-2018 (
пункты 5.1.2 -
5.1.6) при проведении входного контроля полученной от заказчика (застройщика) РД подрядчик проверяет соответствие конструкций остекления балконов с точки зрения безопасности проведения работ и эксплуатации остекления балконов, а также РД в соответствии с
пунктом 5.17 СП 48.13330.2019.
Долговечность конструкций остекления балконов и их крепления должна соответствовать расчетному сроку службы здания и сооружения по
ГОСТ 27751.
6.2.3 Подрядчик по завершении входного контроля (аудита) переданной ему для осуществления строительно-монтажных работ РД передает застройщику (техническому заказчику) перечень выявленных в ней недостатков, проверяет их устранение. Срок выполнения входного контроля РД устанавливают в договоре, в согласованном графике выдачи комплектов РД.
6.2.4 Работы по устройству остекления балконов, осуществляемые в соответствии с ПОС и РД, с учетом рекомендаций системодателя конструкций и элементов остекления, руководствуясь положениями
СП 48.13330.2019 и настоящего стандарта, предусматривают выполнение подготовительных работ в соответствии с
пунктами 5.2.1 -
5.2.3 ГОСТ 34378-2018 для оценки соответствия фронта работ требованиям РД, включая определение соответствия величин монтажных зазоров правилам крепления и рекомендациям системодателей остекления балконов, комплектующих и материалов.
6.2.5 Монтажные зазоры, заполняемые упругими материалами, предусматривают для компенсации возможных термических деформаций конструкций остекления при их нагреве или охлаждении и/или деформациях ограждающей конструкции. Величину минимального монтажного зазора определяют исходя из необходимости обеспечения работы крепежных изделий на вытягивание (вырывание) и сдвиг (срез), а также безотказной работы герметизирующих слоев монтажного шва.
6.2.6 Подрядчик монтажных работ по устройству остекления балконов оценивает возможность реализации РД по конструкциям известными методами, необходимость разработки и применения новых технологических приемов, возможность приобретения комплектующих и материалов, предусмотренных в РД.
6.2.7 РД, переданная подрядчику в двух экземплярах на электронном и бумажном носителях, должна быть допущена к производству работ застройщиком (генподрядчиком) с подписью ответственного лица путем простановки штампа на каждом листе. РД на электронном носителе должна быть заверена электронной подписью.
6.2.8 Получение и анализ РД от заказчика проводят при непосредственном участии ответственного представителя подрядчика и производителя работ по устройству остекления балконов; на них также возлагают приемку фронта работ по устройству окон от застройщика (заказчика).
6.3.1 Геодезическую съемку расположения балконных плит на фасадах выполняют в соответствии с
6.3.1.1 -
6.3.1.3.
6.3.1.1 Для приемки фронта работ подрядчик должен ознакомиться с исполнительной геодезической документацией фасадов строящегося (реконструируемого, ремонтируемого) объекта капитального строительства и убедиться в соответствии расположения балконных плит требованиям РД.
Примечание - Для условий нового строительства должно быть осуществлено инструментальное закрепление проектного положения балконов. Для этого проводят вертикальную и горизонтальную оси нивелирования.
6.3.1.2 При отсутствии исполнительной геодезической документации на фасады следует провести их геодезический контроль согласно
СП 126.13330.2017 и
ГОСТ Р 51872 для установления соответствия положения балконных плит по горизонтали и вертикали на фасадах здания. Геодезический контроль точности геометрических параметров здания является обязательной составной частью производственного контроля качества в соответствии с
СП 48.13330.2019.
Примечания
1 При проведении работ на объектах, не регулируемых нормативными актами, геодезический контроль проводят согласно условиям договора подряда.
2 Геодезический контроль точности геометрических параметров расположения балконных плит заключается в инструментальной проверке соответствия их положения проектным требованиям, применяя положения пункта 4.2
[7].
3 Геодезические работы следует выполнять с использованием средств измерений необходимой точности.
4 Геодезические приборы должны быть поверены и отъюстированы. Организацию проведения поверок осуществляют в соответствии с правилами и периодичностью поверок, регламентируемых требованиями
[8], с уточнением по инструкциям производителей приборов, разработанных в соответствии с
[9].
5 При подготовке к измерениям должен быть обеспечен свободный и безопасный доступ к объекту измерений и возможность размещения средств измерений.
6 Места измерений должны быть очищены, размечены или маркированы. Средства измерений должны быть проверены и подготовлены к использованию в соответствии с инструкцией по их эксплуатации согласно
СП 126.13330.2017.
6.3.1.3 Графическое оформление исполнительных геодезических съемок выполняют в соответствии с
ГОСТ Р 51872.
Примечание - При графическом оформлении исполнительных геодезических съемок на чертежах фасадов и поэтажных планов приводят нумерацию балконных плит.
6.3.2 Контроль качества балконных плит и их монтажа осуществляют по
6.3.2.1,
6.3.2.2.
Примечание - Обнаруженные дефекты и несоответствия рабочей документации должны быть устранены до оформления акта приемки фронта работ.
6.3.2.3 Допускаемые отклонения поверхности основания балконных плит и стен при проверке метровым уровнем
(ГОСТ Р 58514) по горизонтали не должны превышать +/- 4 мм. Если основание не отвечает указанным требованиям, выступающие участки удаляют шлифовкой, а впадины и околы штукатурят.
6.3.3 Приемку строительного основания проводят по акту, составляемому на основании данных журнала учета выполненных работ
[10], который заполняет подрядчик.
Проверка несущей способности строительного основания (балконных плит) в натурных условиях, выполняемая с целью проверки элементов для крепления остекления балконов, должна быть выполнена аккредитованной строительной лабораторией по утвержденной в установленном порядке методике.
После приемки геодезической съемки фасадов оформляют акт приемки-передачи результатов геодезических работ, а после контроля размеров оснований и элементов крепления - акт приемки фронта работ согласно ГОСТ 34378-2018
(приложение Г).
6.3.4 Мероприятия по организации рабочих мест, принятые на основе решений, разработанных в ППР, включают:
- мероприятия по противопожарной безопасности;
- организационно-распорядительные мероприятия;
- организационно-технические мероприятия.
6.3.5 Рабочее место при монтаже включает в себя рабочий участок проведения монтажных работ и прилегающие зоны внутри и снаружи помещения.
Размеры рабочего места должны обеспечивать свободный доступ к месту проведения монтажных работ, возможность складирования изделий, подлежащих установке на данном рабочем месте, инструмента, безопасность проведения работ.
6.3.6 Рабочие места при необходимости оборудуют на ранее установленных и надежно закрепленных конструкциях или средствах подмащивания по
ГОСТ Р 58752,
ГОСТ Р 58758.
6.3.7 Подготовительные мероприятия должны быть закончены до начала производства работ. Окончание подготовительных работ на рабочем месте должно быть отражено в акте приема фронта работ.
6.3.8 Строительная площадка должна быть ограждена в соответствии с требованиями
ГОСТ Р 58967 и обозначена знаками безопасности и надписями установленной формы в соответствии с требованиями
ГОСТ 12.4.026. Строительная площадка, участки работ, рабочие места, проезды и подходы к ним в темное время суток должны быть освещены в соответствии с требованиями
ГОСТ 12.1.046.
6.3.9 Участки работ должны быть обеспечены необходимыми средствами коллективной или индивидуальной защиты персонала, медицинской аптечкой, первичными средствами пожаротушения, а также средствами связи сигнализации и другими техническими средствами обеспечения безопасных условий труда в соответствии с требованиями действующих нормативных документов.
6.4 Входной контроль сборочных комплектов
6.4.1 В соответствии с
ГОСТ 24297 и
подразделом 5.4 ГОСТ 34378-2018 до начала выполнения работ по устройству остекления балконов подрядчик проводит приемку входящих в состав комплекта заводской готовности изделий, комплектующих и материалов от поставщика. При приемке изделий контролируют соответствие поставленных изделий типу и типоразмеру, указанным в РД, а также положениям
раздела 5, целостность упаковки, комплектность, наличие паспортов качества и свидетельств о качестве продукции.
6.4.2 Каждая партия комплектов остекления должна сопровождаться документом о качестве (паспортом), имеющим штамп, подтверждающий приемку техническим контролем предприятия-изготовителя, декларацией соответствия, монтажным чертежом по
ГОСТ 2.102, сводной спецификацией изделий, технической документацией, подтверждающей соответствие фактических характеристик изделий требованиям проекта и эксплуатационной документацией в соответствии с
ГОСТ 2.601 и
ГОСТ 2.610.
Примечания
1 Партия - группа строительных изделий одного наименования и типоразмера, изготовленных в течение определенного промежутка времени.
2 Допускается использование документов в электронном виде в соответствии с требованиями действующих нормативных документов.
3 В качестве технической документации могут быть рассмотрены инженерные расчеты, а также протоколы испытаний.
6.4.3 Контроль комплектности поставки элементов комплектов остекления осуществляется по спецификациям, входящим в состав РД.
Примечания
1 Выборочно (от 5% до 10% от поставляемого количества упаковок) проводят визуальный осмотр на наличие следов коррозии, физической целостности и механических повреждений изделий. При выявлении указанных дефектов упаковку осматривают полностью, а дефектные изделия бракуют и отправляют в ОТК поставщика.
2 По результатам приемо-сдаточного контроля составляют соответствующий акт отбраковки изделий по форме, утвержденной поставщиком.
6.4.4 Все элементы комплектов должны соответствовать показателям, приведенным в проектной документации на строительный объект, РД на конструкции остекления балконов и РД на производство монтажных работ.
Створки должны поставлять в собранном виде.
Оконные приборы, нащельники, сливы, монтажные крепежные элементы поставляют в отдельной упаковке в комплекте с изделиями.
Элементы рам можно поставлять в виде подготовленных к монтажу деталей.
6.4.5 При выявлении несоответствия показателей качества поставленных комплектов сопроводительным документам системодержателя и поставщика, рекомендуется организовать определение этих показателей в специализированной испытательной лаборатории (центре).
6.4.6 При входном контроле комплектов и их элементов поштучно, методом сплошного контроля проверяют:
- комплектность и их соответствие рабочей документации;
- соответствие полученных результатов измерений заданным размерам рабочей и исполнительной документации;
- внешний вид элементов и их комплектующих;
- наличие комплекта сопроводительной документации.
6.4.7 Качество комплектующих и материалов, используемых при монтаже остекления балконов, проверяют на соответствие требованиям нормативной документации, техническим условиям и техническим свидетельствам на поставляемую продукцию.
Пригодность крепежа, используемого при монтаже и обеспечивающего безопасность, должна быть подтверждена наличием соответствующего технического свидетельства, предусмотренного спецификацией РД.
6.4.8 Подрядчик вправе при осуществлении входного контроля выполнить в установленном порядке измерения и провести испытания соответствующих комплектующих своими силами или поручить их проведение аккредитованной организации. Методы и средства измерений и испытаний должны соответствовать требованиям, указанным в
ГОСТ 34378.
6.4.9 В случае выявления при входном контроле комплектов и их составных элементов, материалов и комплектующих, не соответствующих требованиям, установленным в ПД и РД и нормативных документах, их применение для монтажных работ не допускается.
6.4.10 Несоответствующие установленным требованиям комплекты, изделия, элементы и монтажные материалы следует отбраковать, изолировать и промаркировать.
Примечание - В соответствии с действующим законодательством может быть принято одно из трех решений:
- поставщик проводит замену несоответствующих комплектов, или входящих в их состав изделий, элементов, комплектующих и материалов соответствующими;
- несоответствующие изделия и комплектующие дорабатывают;
- несоответствующие элементы, комплектующие и материалы могут быть применены после обязательного согласования с застройщиком (заказчиком), проектировщиком и органом государственного контроля (надзора) по его компетенции.
6.4.11 Результаты входного контроля фиксируют в журналах входного контроля и/или лабораторных испытаний.
Примечание - В случае если в результате хранения или после монтажа изделий обнаруживают дефекты, не выявленные при приемке изделий, изготовитель продукции не несет за это ответственности.
6.4.12 Крепежные изделия в заводских упаковках хранят в закрытом, сухом и проветриваемом помещении крытых складов с исключением возможности прямого попадания атмосферной влаги и солнечных лучей.
6.4.13 Складирование и хранение применяемых (покупных и изготовляемых собственными силами) материалов и изделий в соответствии с требованиями стандартов и технических условий на материалы и изделия обеспечивает заказчик (генподрядчик), см. СП 48.13330.2019,
пункт 6.10.
6.4.14 Материалы по истечении установленного стандартами или техническими условиями срока хранения перед применением подлежат контрольной проверке службой контроля изготовителя или в аккредитованной лаборатории. Право давать заключение на пригодность материалов по результатам проверки имеют изготовители материалов и аккредитованные лаборатории.
Применение материалов с истекшим сроком годности не допускается.
6.4.15 В случае, если в ходе проверки соблюдения правил складирования и хранения выявлены нарушения установленных норм и правил, применение продукции, хранившейся с нарушением, для устройства креплений не допускают до подтверждения соответствия показателей ее качества требованиям РД, ТУ, стандартов и сводов правил.
7 Организация работ по устройству остекления балконов
7.1 Организацию работ по устройству остекления балконов осуществляют в соответствии с положениями
СП 48.13330.2019, учитывая рекомендации
[12].
7.2 Технологические карты (ТК) на производство монтажных работ по остеклению балконов разрабатывают в соответствии с
[13] с учетом положений
подраздела 6.2 ГОСТ 34378-2018 и рекомендаций системодателей остекления балконов.
7.3 При выполнении работ по устройству остекления балконов необходимо соблюдать нормы и правила техники безопасности в соответствии с положениями
СП 48.13330.2019 и
ГОСТ 34378.
8 Производство монтажных работ по остеклению балконов
8.1 Работы по монтажу остекления балконов должен выполнять специально обученный персонал, допущенный к производству таких работ.
8.2 Производство монтажных работ по устройству остекления балконов осуществляют на основании РД в соответствии с ППР по ТК.
8.3 Последовательность технологических операций зависит от выбранных проектных решений и технологии производства общестроительных работ и определяется в ППР и ТК.
ТК следует разрабатывать с учетом общих климатических особенностей района строительства, а также предполагаемого времени года для проведения монтажных работ.
8.4 Монтаж конструкций ленточного (рамного и безрамного) остекления балкона выполняют по
8.4.1,
8.4.2.
8.4.1 Установка рам ленточного остекления на нижний экран балкона и их крепление к стенам
8.4.1.1 Непосредственно перед проведением монтажа ответственный производитель работ осуществляет контроль конструкций ленточного остекления, собранных в соответствии с рекомендациями
раздела 5.
Контроль изделий проводят по следующим показателям:
- комплектность изделий;
- внешний вид изделий и комплектующих;
- соответствие рабочей документации.
8.4.1.2 Блокируемые конструкции рам ленточного остекления (фасадную часть и боковые) собирают в соответствии с ТК.
8.4.1.3 При ленточном остеклении монтажные работы следует выполнять согласно установленной в ТК последовательности. Монтаж ведут, как правило, начиная с каркаса остекления балкона от пространственно-устойчивой связевой несущей конструкции, обеспечивая устойчивость устанавливаемых створок в процессе монтажа.
8.4.1.4 Рамы ленточного остекления балкона под раздвижные и распашные рамные и безрамные створки закрепляют механически, предварительно установив на них в соответствии с рабочими чертежами верхний и нижний сливы, таким образом, чтобы обеспечивались их устойчивость и геометрическая неизменяемость. Иные типы крепления рам остекления балкона не допускаются.
8.4.2 Заполнение и герметизацию монтажных зазоров в местах присоединения к стенам производят в соответствии с рабочей документацией.
8.5 Монтаж конструкций межэтажного панорамного остекления балкона, ограниченного высотой этажа, производят аналогично по соответствующим ТК, соблюдая предписанные в них требования техники безопасности.
8.6 Монтаж сплошного многоэтажного витражного остекления балконов осуществляют в последовательности, определенной ППР и ТК процесса монтажа стоечно-ригельных систем, согласно рекомендациям системодателя.
8.7 При производстве работ, связанных с повышенным риском случайного повреждения установленных конструкций остекления балконов, предусматривают защитные мероприятия в соответствии с
подразделом 7.4 ГОСТ 34378-2018.
9 Строительный контроль качества работ по устройству остекления балконов
9.1 Строительный контроль
9.1.1 В процессе выполнения работ по монтажу остекления балконов надлежит осуществлять строительный контроль.
9.1.2 Предметом строительного контроля является проверка выполнения работ при устройстве остекления балконов на соответствие требованиям ПД и подготовленной на ее основе РД, требованиям технических регламентов в целях обеспечения безопасности зданий и сооружений
[6].
9.1.3 Строительный контроль состоит из технического контроля застройщика (заказчика), технического контроля подрядчика, лабораторного контроля, геодезического контроля, производственного контроля и авторского надзора.
9.1.4 Функции строительного контроля вправе осуществлять работники подрядчика и заказчика, на которых в установленном порядке возложена обязанность по осуществлению такого контроля.
Примечание - При производстве монтажных работ по остеклению балконов при строительстве, реконструкции и капитальном ремонте, на которые не распространяются действующие нормативные акты, строительный контроль осуществляют в соответствии с положениями договора на проведение работ.
9.1.5 В обязанности представителя технического надзора застройщика (заказчика) входит:
- контроль качества работ по устройству остекления балконов;
- проверка качества материалов, полуфабрикатов, изделий;
- проверка наличия паспортов, результатов лабораторных испытаний;
- контроль за ведением и оформлением подрядчиком производственно-технической и исполнительной документации, журналов производства работ;
- решение текущих вопросов по организации строительного контроля.
9.1.6 Представитель технического надзора застройщика (заказчика) обязан своевременно выявлять дефекты и нарушения в производстве работ, вносить свои замечания в общий и специальный журналы работ и контролировать устранение выявленных недостатков.
9.1.7 Лабораторный контроль выполняют аккредитованные испытательные (строительные) лаборатории (привлекаемые организации), аккредитованные лаборатории подрядчика или лиц, осуществляющих строительство.
9.1.8 На испытательные лаборатории подрядчика возлагают контроль за соблюдением температурно-влажностных режимов при производстве монтажных работ, за соответствием выполнения монтажных работ ППР и ТК в порядке, установленном схемами операционного контроля, проверку соответствия стандартам, ТУ, паспортам, сертификатам поступающих на объект материалов, полуфабрикатов и изделий.
9.1.9 Испытательные лаборатории подрядчика (при их наличии) обязаны вести журналы регистрации осуществленного контроля и испытаний, готовить акты о соответствии (несоответствии) поступающих материалов, полуфабрикатов и изделий требованиям рабочей документации, стандартам и техническим условиям.
9.2 Геодезический контроль
9.2.1 Геодезический контроль является составной частью производственного контроля качества строительства.
9.2.2 В процессе производства монтажных работ по устройству остекления балконов проводят геодезический контроль точности расположения остекления на фасадах здания в соответствии с положениями
подраздела 8.2 ГОСТ 34378-2018.
9.2.3 Результаты инструментального геодезического контроля в процессе строительства заносят в общий журнал работ. Соответствие выполненных работ оформляют в исполнительной документации по результатам исполнительной съемки.
9.3 Исполнительная документация и контроль качества монтажных работ
9.3.1 Подрядчик, осуществляющий монтажные работы по устройству остекления балконов, ведет следующую исполнительную документацию:
- акт приема фронта работ;
- акты освидетельствования скрытых работ;
- комплект рабочих чертежей с надписями о соответствии выполненных в действительности работ этим чертежам или о внесенных в них по согласованию с проектировщиком изменениях, сделанных лицами, ответственными за производство монтажных работ;
- исполнительные геодезические чертежи и схемы;
- результаты экспертиз, обследований, лабораторных и иных испытаний выполненных работ, проведенных в процессе строительного контроля;
- документы, подтверждающие проведение контроля за качеством применяемых изделий и материалов;
- иные документы, отражающие фактическое исполнение проектных решений.
9.3.2
Требования к составлению и порядку ведения исполнительной документации установлены в
[14].
9.4 Общий и специальный журналы работ
9.4.1 Основным документом, в котором заказчиком (застройщиком) ведется учет выполнения работ при строительстве, реконструкции, капитальном ремонте объекта капитального строительства, отражается последовательность осуществления строительства, реконструкции, капитального ремонта объекта капитального строительства, является общий журнал работ. В общем журнале работ отражают последовательность осуществления строительства, реконструкции, капитального ремонта объекта капитального строительства, в том числе сроки и условия выполнения этих работ при строительстве, реконструкции, капитальном ремонте объекта капитального строительства, а также сведения о строительном контроле и государственном строительном надзоре.
9.4.2 В специальном журнале монтажных работ по устройству остекления балконов ведут учет выполнения этих работ при строительстве, реконструкции, капитальном ремонте объекта капитального строительства.
9.4.3 В специальном журнале фиксируют результаты контроля соблюдения требований к установке конструкций остекления балконов и пооперационного контроля процесса устройства остекления балконов.
9.4.4
Порядок ведения общего и специальных журналов работ определяет
[10].
9.4.5 Приемо-сдаточный контроль качества монтажных работ проводят по каждому балкону. Перечень показателей, проверяемых при приемке-сдаче работ, приведен в
приложении Л ГОСТ 34378-2018.
9.5 Акты освидетельствования скрытых работ
9.5.1 По мере готовности работ и конструкций остекления балконов, показатели качества которых в соответствии с технологией строительства не могут быть проконтролированы после выполнения последующих работ, подрядчик, осуществляющий монтажные работы, в сроки по договоренности, но не позднее чем за три рабочих дня, извещает застройщика (заказчика), представителей органов государственного строительного контроля (надзора) и авторского надзора о сроках выполнения соответствующей процедуры оценки соответствия.
Примечание - В случае если заказчик (застройщик), будучи уведомлен в установленном порядке, не явился для участия в контрольных мероприятиях, подрядчик действует в соответствии с положениями
[5].
9.5.2 Выявленные такой процедурой недостатки должны быть устранены с составлением соответствующих актов. До устранения выявленных недостатков и оформления соответствующих актов выполнение последующих работ не допускается.
9.5.3 Проведение освидетельствования работ, скрываемых последующими работами, и его результаты, в соответствии с проектной документацией и действующими нормативными документами оформляют актами освидетельствования скрытых работ. Застройщик (заказчик) может потребовать проведения повторного освидетельствования после устранения выявленных недостатков.
9.5.4 Форма акта освидетельствования скрытых работ приведена в ГОСТ 34378-2018
(приложение М).
(справочное)
ТРЕБОВАНИЯ К СВЕТОПРОЗРАЧНЫМ КОНСТРУКЦИЯМ
ОСТЕКЛЕНИЯ БАЛКОНОВ
А.1 Конструкции остекления балконов многоквартирного здания должны быть рассчитаны на восприятие постоянных нагрузок:
- от собственного веса ограждающих конструкций;
- ветровых нагрузок для данного района строительства.
Нормативные значения указанных нагрузок, учитываемые неблагоприятные сочетания нагрузок или соответствующих им усилий должны быть приняты в соответствии с требованиями действующих нормативных документов
(СП 20.13330.2016).
Расчет по предельным состояниям крепежных элементов следует выполнять в соответствии с требованиями
СП 16.13330.2017,
СП 20.13330.2016,
СП 64.13330.2017,
СП 128.13330.2016, без учета подкрепления конструкции остекления материалами монтажного шва. В случае невозможности определения ветровых нагрузок на остекление по
СП 20.13330.2016, а также для остекления высотных зданий/сооружений ветровые нагрузки следует определять по
ГОСТ Р 56728. Применяемые при расчетах программные продукты должны быть сертифицированы.
Узлы крепления конструкций остекления балконов к несущим конструкциям здания должны обеспечивать компенсацию, необходимую при деформациях здания, а также температурно-климатических воздействиях на систему остекления, без возникновения в элементах крепления дополнительных внутренних напряжений.
Примечание - Для ограждения балконов верхних этажей надлежит рассчитывать снеговые нагрузки.
А.2 При устройстве остекления балконов следует обеспечить естественное освещение и инсоляцию помещений согласно
СП 52.13330.2016,
[15],
[16],
[17].
При устройстве остекления балконов должны быть предусмотрены меры, обеспечивающие выполнение санитарно-эпидемиологических и экологических требований по охране здоровья людей и окружающей природной среды в соответствии с
ГОСТ 30494,
[18].
А.3 При реконструкции жилого здания следует учитывать изменения в его конструктивной схеме, возникающие в процессе эксплуатации этого здания (в том числе появление новых проемов, дополнительных к первоначальному проектному решению, а также влияние проведенного ремонта конструкций или их усиления).
А.4 Ограждения балконов в зданиях высотой три этажа и более, а также наружную солнцезащиту в зданиях степеней огнестойкости I, II и III высотой пять этажей и более следует выполнять из негорючих (НГ) материалов (по СП 54.13330.2016,
статья 7.1.11).
Ограждающие конструкции остекления балконов выполняют на основе профильных систем из негорючих материалов, руководствуясь указаниями системодателя конкретной системы профилей.
А.5 Высота ограждений балконов должна быть не менее 1,2 м. Ограждения должны быть непрерывными и рассчитаны на восприятие горизонтальных нагрузок не менее 0,3 кН/м.
А.6 Ограждения балконов в зданиях высотой три этажа и более выполняют из негорючих материалов (по СП 54.13330.2016,
статья 7.1.11).
Примечание - Ограждающие конструкции остекления балконов, как правило, выполняют на основе профильных систем из негорючих материалов (стали и алюминиевых сплавов, реже из ПВХ-профилей), руководствуясь указаниями системодателя конкретной системы профилей.
А.7 Стыковые соединения сборных элементов конструкций остекления балконов должны быть рассчитаны на восприятие температурно-влажностных деформаций и усилий, возникающих при неравномерной осадке оснований и других эксплуатационных воздействиях.
А.8 Используемые в стыках уплотняющие и герметизирующие материалы должны сохранять упругие и адгезионные свойства при воздействии отрицательных температур и влаги, а также быть устойчивыми к ультрафиолетовым лучам. Герметизирующие материалы должны быть совместимыми с материалами защитных и защитно-декоративных покрытий конструкций в местах их сопряжения.
А.9 Конструкции наружного остекления балконов должны обеспечивать защиту внутреннего пространства балкона от проникновения атмосферных осадков, но не создавать препятствий для безопасной эвакуации, в случае если в соответствии с проектом последний является аварийным выходом из квартиры.
А.10 Основные характеристики конструкций остекления должны соответствовать требованиям
ГОСТ Р 56926, характеристики элементов конструкций - стандартам на виды изделий.
(рекомендуемое)
Б.1 Остекленный балкон является неотапливаемым помещением в виде выступающей за плоскость фасада здания огражденной площадки. Одиночные остекленные балконы и остекленные балконы верхних этажей здания могут иметь покрытие (крышу). При наличии покрытия и остекления балкон имеет ограниченную глубину, взаимоувязанную с освещением помещения, к которому он примыкает.
Б.1.1 Балкон с крышей - неотапливаемое помещение в виде выступающей за плоскость фасада здания огражденной площадки с верхней защитной конструкцией, которая служит для защиты от яркого солнечного света, перегрева, атмосферных осадков, дождевой и талой воды.
Б.1.2 Крыши проектируют с организованным водостоком.
Б.2 Основанием балконной конструкции является железобетонная плита, на которую устанавливают остальные конструкции этого элемента здания. Эта плита образует пол балкона.
ГОСТ 25697 подразделяет плиты балконов на разновидности консольного и балочного типа, различающиеся между собой способом расположения по отношению к несущей конструкции и особенностям эксплуатации плиты. Реже - опорой для пола служат установленные в стену балки. В типовых проектах предусмотрены различные формы основания балкона. Чаще всего основание балкона имеет форму прямоугольника, спереди и с боковых сторон огражденное перилами. Однако используются и угловые, трапециевидные или радиусные основания балконов. Как правило, плита-основание балкона не имеет под собой опоры.
При этом выбор формы и размера плиты в каждом конкретном проекте здания проводят в соответствии с условиями строительства, конструктивными особенностями зданий и архитектурно-художественными задачами.
Требования к качеству поверхностей и внешнему виду плит - по
ГОСТ 13015.
Б.3 Неостекленный балкон по периметру основания имеет ограждение различной конструкции, например согласно
ГОСТ 25772, включая перила со всех сторон.
Конструктивные особенности балконов многовариантны и зависят от строительной и конструктивной систем здания.
На
рисунке Б.1 представлена конструкция типового одиночного балкона.
1, 3 - железобетонная плита балкона;
2 - ограждающий поручень
Рисунок Б.1 - Конструкция типового балкона
([19])
На
рисунке Б.2 представлен пример монтажа балконной плиты с уклоном.
1 - балконная плита; 2 - стена здания; 3 - слой стяжки;
4 - угол уклона стяжки к наружной стороне
балкона - 10 - 15 см
Рисунок Б.2 - Выполнение уклона цементной стяжки
на балконной плите
На
рисунках Б.3 и
Б.4 представлены чертежи балконов ранее возведенных серий домов.
Рисунок Б.3 - Серия 1.137-КР-2 1.137-КР-2.2000
Балконы типа Б-4.2
Рисунок Б.4 - Серия 1.137-КР-2 1.137-КР-2.1000
Балконы типа Б-4.1
Рисунок Б.5 - Балконы типовых домов серии П-44Ти П-111
Б.4 Различают три основных вида остекления балкона - витражное, ленточное и панорамное.
Б.5 Конструкции и детали остекления балконов выполняют из материалов, обладающих стойкостью к возможным воздействиям влаги, низких температур, агрессивной среды, биологических и других неблагоприятных факторов согласно
СП 28.13330.2017.
Б.6 Требования к конструкциям наружного остекления балконов приведены в
ГОСТ Р 56926.
Б.7 Общие требования к характеристикам конструкций балконного остекления, применяемым при проектировании, приведены в
ГОСТ Р 56926.
Б.8 Основные архитектурно-планировочные и конструктивные решения остекления балконов представлены на
рисунке Б.6.
а) - балкон с ленточным остеклением; б) - балкон
с раздвижным остеклением; в) - стоечное ограждение балкона
с непрозрачным заполнением; г) - стоечное ограждение балкона
с панорамным остеклением; д) - балкон с панорамным
остеклением
1 - распашное остекление; 2 - раздвижное остекление;
3 - сплошной нижний экран (бетон, кирпич); 4 - балконная
плита; 5 - нижний экран из безопасного остекления;
6 - внутреннее металлическое ограждение;
7 - непрозрачное заполнение; 8 - стойка
Рисунок Б.6 - Архитектурно-планировочные и конструктивные
решения остекления балконов
Балконный экран и остекление рассматривают как два самостоятельных конструктивных элемента, работающих независимо друг от друга под действием нагрузок, имеющих собственные расчетные схемы и возводимых на разных технологических этапах строительства.
Нижний балконный экран и верхнее остекление образуют единую рамную конструкцию из стержневых стеклонесущих профильных элементов, закрепляемую по схеме "от перекрытия до перекрытия" и рассматриваемую как единое технологическое изделие при определении расчетных проектных характеристик и проведении испытаний.
Б.9 На
рисунке Б.7 представлены примеры конструкций наружного остекления.
Рисунок Б.7 - Примеры конструкций наружного остекления
Б.10 Требования безопасной эксплуатации и обеспечение функций аварийного выхода с использованием балконов приведены в
разделе 5 ГОСТ Р 56926-2016.
Конструкции остекления нижнего балконного экрана панорамного балконного остекления, отвечающего требованиям безопасности, приведены в ГОСТ Р 56926-2016
(приложение Ж).
(справочное)
СХЕМЫ ДЕЛЕНИЯ И СБОРКИ ОСТЕКЛЕНИЯ БАЛКОНОВ,
СОБИРАЕМЫХ В ПОСТРОЕЧНЫХ УСЛОВИЯХ
В.1 В качестве примера возможности использования сборно-разборных элементов конструкций остекления балконов представлен вариант сборки конструкций, выполненных на основе профилей из алюминиевых сплавов.
В.2 На
рисунках В.1 -
В.4 показаны схемы деления по ГОСТ 23877 (иначе "взрыв-схемы") конструкции остекления балкона на сборочные единицы и составные части:
- рама конструкции;
- створка раздвижная;
- комплект "рама - створка распашная";
- стекло, фурнитура - покупные комплектующие;
- составные части (уплотнители, стандартные изделия - крепеж и т.п.).
В.3
Рисунки В.1,
В.2 показывают схемы деления рамы и раздвижной створки, соответственно.
1 - профиль рамы вертикальный; 2 - прокладка торца рамы;
3 - профиль рамы горизонтальный; 4 - верхний уплотнитель
створки; 5 - ответная часть защелки;
6 - нижний уплотнитель створки
Рисунок В.1 - Схема деления рамы раздвижной
светопрозрачной конструкции
1 - профиль створки горизонтальный; 2 - светопрозрачное
заполнение; 3 - уплотнитель; 4 - накладка створки;
5 - крышка накладки; 6 - профиль створки вертикальный;
7 - ролик регулируемый; 8 - защелка
Рисунок В.2 - Схема деления створки раздвижной
светопрозрачной конструкции
В.4
Рисунки В.3 и
В.4 показывают схемы деления рамы и распашной створки, соответственно.
1 - вертикальный брусок; 2 - планка запорная; 3 - угловой
соединитель брусков коробки; 4 - горизонтальный брусок;
5 - саморез; 6 - петля; 7 - уплотнитель коробки
Рисунок В.3 - Схема деления оконной коробки
1 - вертикальный брусок створки; 2 - ручка; 3 - штапик;
4 - поворотный основной запор; 5 - угловой соединитель
брусков створки; 6 - уплотнитель; 7 - петля;
8 - стеклопакет; 9 - уплотнитель штапика; 10 - саморез;
11 - горизонтальный брусок створки
Рисунок В.4 - Схема деления створки
(рекомендуемое)
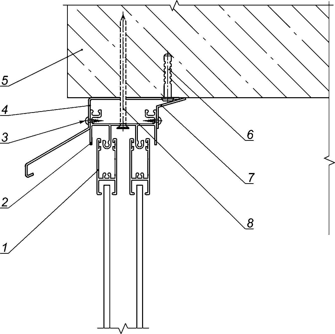
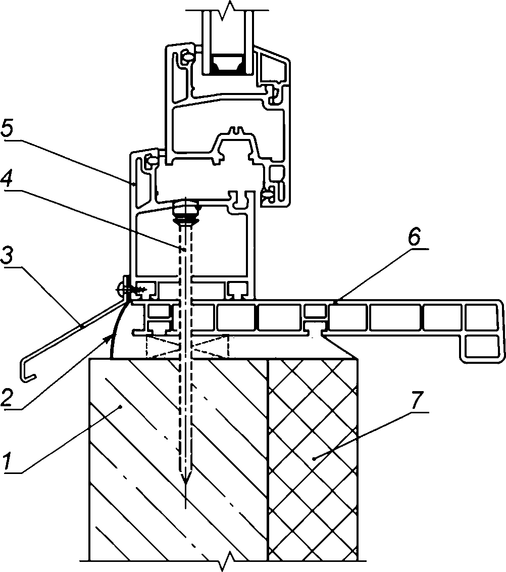
УЗЛЫ ПРИМЫКАНИЯ КОНСТРУКЦИЙ ОСТЕКЛЕНИЯ БАЛКОНОВ
Г.1 На
рисунках Г.1 -
Г.3 представлены нижние узлы примыкания конструкций остекления к ограждению балкона и балконной плите.
1 - профиль стальной ограждения балкона; 2 - гидроизоляция;
3 - отлив; 4 - элемент крепления; 5 - сдвижная створка;
6 - рама раздвижной светопрозрачной конструкции;
7 - подоконная доска; 8 - пластина стальная
Рисунок Г.1 - Нижний узел примыкания остекления
к ограждению балкона
1 - плита железобетонная ограждения балкона;
2 - гидроизоляция; 3 - отлив; 4 - элемент крепления;
5 - сдвижная створка; 6 - рама раздвижной светопрозрачной
конструкции; 7 - подоконная доска; 8 - элемент крепления
Рисунок Г.2 - Нижний узел примыкания остекления
к ограждению балкона
1 - плита железобетонная ограждения балкона;
2 - гидроизоляция; 3 - отлив; 4 - элемент крепления;
5 - оконный блок; 6 - подоконная доска; 7 - теплоизоляция
Рисунок Г.3 - Нижний узел примыкания остекления
к ограждению балкона
Г.2 На
рисунках Г.4 -
Г.6 представлены верхние узлы примыкания конструкций остекления к вышерасположенной балконной плите.
1 - сдвижная створка; 2 - рама раздвижной светопрозрачной
конструкции; 3 - козырек; 4 - элемент крепления;
5 - балконная плита; 6 - рама - элемент крепления козырька;
7 - декоративная накладка; 8 - элемент крепления
Рисунок Г.4 - Верхний узел примыкания остекления
к балконной плите
1 - сдвижная створка; 2 - рама раздвижной светопрозрачной
конструкции; 3 - переходная деталь; 4 - козырек;
5 - элемент крепления; 6 - элемент крепления анкерной
пластины; 7 - элемент крепления козырька;
8 - пластина анкерная
Рисунок Г.5 - Верхний узел примыкания остекления
к балконной плите
1 - оконный блок; 2 - козырек; 3 - теплоизоляционный
вкладыш; 4 - балконная плита;
5 - элемент крепления козырька; 6 - элемент крепления
анкерной пластины; 7 - пластина анкерная; 8 - пароизоляция
Рисунок Г.6 - Верхний узел примыкания остекления
к балконной плите
| Постановление Правительства Российской Федерации от 16 февраля 2008 г. N 87 "О составе разделов проектной документации и требованиях к их содержанию" |
| | Единая система технологической документации. Порядок выполнения технологической документации на временные технологические процессы |
| Постановление Российского статистического агентства от 11 ноября 1999 г. N 100 "Об утверждении унифицированных форм первичной учетной документации по учету работ в капитальном строительстве и ремонтно-строительных работ" |
| Классификатор технологических операций машиностроения и приборостроения 1 85 151. - М.; Издательство стандартов, 1987 - 73 с. |
| Постановление Правительства Российской Федерации от 21 июня 2010 г. N 468 "О порядке проведения строительного контроля при осуществлении строительства, реконструкции и капитального ремонта объектов капитального строительства" |
| Федеральный закон Российской Федерации от 30 декабря 2009 г. N 384-ФЗ "Технический регламент о безопасности зданий и сооружений" |
| МДС 11-19.2009 | Временные рекомендации по организации технологии геодезического обеспечения качества строительства многофункциональных высотных зданий |
| | Инструкция по проведению технологической поверки геодезических приборов |
| Федеральный закон от 26 июня 2008 г. N 102-ФЗ "Об обеспечении единства измерений" |
| | Порядок ведения общего и (или) специального журнала учета выполнения работ при строительстве, реконструкции, капитальном ремонте объектов капитального строительства |
| | Безопасность труда в строительстве. Часть 2. Строительное производство |
| | Методические рекомендации по разработке и оформлению проекта организации строительства и проекта производства работ |
| | Методические рекомендации по разработке и оформлению технологической карты |
| | Требования к составу и порядку ведения исполнительной документации при строительстве, реконструкции, капитальном ремонте объектов капитального строительства и требования, предъявляемые к актам освидетельствования работ, конструкций, участков сетей инженерно-технического обеспечения |
| | Гигиенические требования к инсоляции и солнцезащите помещений жилых и общественных зданий и территорий |
| | Гигиенические требования к естественному, искусственному и совмещенному освещению жилых и общественных зданий |
| | Гигиенические требования к естественному, искусственному и совмещенному освещению жилых и общественных зданий |
| | Санитарно-эпидемиологические требования к условиям проживания в жилых зданиях и помещениях |
| Симонов Е.В. Балкон и лоджия. - СПб., 2011 |
УДК 691.11.028:658.562:006.354 | |
Ключевые слова: строительство, балконы, светопрозрачные ограждающие конструкции, остекление балконов, правила выполнения работ, контроль, испытания |