Главная // Актуальные документы // ГОСТ (Государственный стандарт)
СПРАВКА
Источник публикации
М.: Издательство стандартов, 1994
Примечание к документу
Документ утратил силу с 01.09.2021 в связи с изданием Приказа Росстандарта от 28.07.2021 N 661-ст. Взамен введен в действие ГОСТ 25772-2021.

С 1 июля 2003 года до вступления в силу технических регламентов акты федеральных органов исполнительной власти в сфере технического регулирования носят рекомендательный характер и подлежат обязательному исполнению только в части, соответствующей целям, указанным в пункте 1 статьи 46 Федерального закона от 27.12.2002 N 184-ФЗ.

Документ введен в действие с 01.01.1984 (Постановление Госстроя СССР от 18.04.1983 N 72).
Название документа
"ГОСТ 25772-83. Государственный стандарт Союза ССР. Ограждения лестниц, балконов и крыш стальные. Общие технические условия"
(утв. Постановлением Госстроя СССР от 18.04.1983 N 72)
(ред. от 01.08.1989)

"ГОСТ 25772-83. Государственный стандарт Союза ССР. Ограждения лестниц, балконов и крыш стальные. Общие технические условия"
(утв. Постановлением Госстроя СССР от 18.04.1983 N 72)
(ред. от 01.08.1989)


Содержание


Утвержден и введен в действие
Постановлением Госстроя СССР
от 18 апреля 1983 г. N 72
ГОСУДАРСТВЕННЫЙ СТАНДАРТ СОЮЗА ССР
ОГРАЖДЕНИЯ ЛЕСТНИЦ, БАЛКОНОВ И КРЫШ СТАЛЬНЫЕ
ОБЩИЕ ТЕХНИЧЕСКИЕ УСЛОВИЯ
Steel guardrailing of staerways, balkonies and roofs.
General specifications
ГОСТ 25772-83
Список изменяющих документов
(в ред. Изменения N 1, утв. в мае 1989 г.)
Группа Ж34
ОКП 52 6200
Дата введения
1 января 1984 года
Информационные данные
1. Разработан Киевским зональным научно-исследовательским и проектным институтом типового и экспериментального проектирования жилых и общественных зданий (КиевЗНИИЭП) Госгражданстроя.
Разработчики: В.В. Самойлович, канд. техн. наук (руководитель темы); Л.Б. Зайончковская; Н.П. Бабич; Н.И. Айвазова; И.М. Карпилов; В.П. Поддубный.
Внесен Государственным комитетом по гражданскому строительству и архитектуре при Госстрое СССР.
2. Утвержден и введен в действие Постановлением Государственного комитета СССР по делам строительства от 18.04.83 N 72.
3. Срок проверки - 1995 г., периодичность - 5 лет.
4. Введен впервые.
5. Ссылочные нормативно-технические документы
Обозначение НТД, на который дана ссылка
Номер пункта
ИС МЕГАНОРМ: примечание.
Взамен ГОСТ 7502-89 Постановлением Госстандарта РФ от 27.07.1999 N 220-ст с 1 июля 2000 года введен в действие ГОСТ 7502-98.
ГОСТ 7502-89
ИС МЕГАНОРМ: примечание.
Взамен ГОСТ 23118-78 Постановлением Госстроя РФ от 19.10.1999 N 39 введен в действие ГОСТ 23118-99.
ГОСТ 23118-78
6. Переиздание (март 1994 г.) с Изменением N 1, утвержденным в мае 1989 г. (ИУС 8-89).
Настоящий стандарт распространяется на стальные ограждения лестничных маршей и площадок, балконов и крыш.
Стандарт не распространяется на ограждения стальных лестниц и площадок.
1. ТИПЫ, ОСНОВНЫЕ ПАРАМЕТРЫ И РАЗМЕРЫ
1.1. По назначению ограждения подразделяют на типы, приведенные в табл. 1.
Таблица 1
Назначение ограждения
Обозначение типа
Для лестничных маршей:
- внутренних
МВ lом hом
- наружных
МН lом hом
- дошкольных учреждений
МД lом hом
Для лестничных площадок:
- внутренних
ПВ
- наружных
ПН
- дошкольных учреждений
ПД
Для балконов:
- зданий высотой до 30 м
БП
- зданий высотой св. 30 м
БВ
- дошкольных учреждений
БД
- незадымляемых лестничных клеток
БЛ
Для крыш:
- без парапета
КО
- с парапетом
КП
Примечание. и - по ГОСТ 9818.
1.2. По заполнению каркаса ограждения подразделяют на виды:
Р - решетчатые;
Э - экранные (для навески экранов из листовых или плитных материалов);
К - комбинированные (с решетчатыми и экранными участками).
1.3. Основные размеры ограждений и размеры между элементами ограждений должны соответствовать указанным в табл. 2.
Таблица 2
мм
Тип ограждения
H
h
a, не более
b
МВ lом hом
900
800
150
300
МН lом hом
1200
1100
МД lом hом
1180
100
-
ПВ
900
800
150
300
ПН
1200
1100
ПД
1180
100
-
БП
1000
900
110
300
БВ
1100
1000
БД
1200
1180
100
-
БЛ
1100
110
300
КО
600
-
300
-
КП
Примечание. Буквенные обозначения размеров (H, h, a и b) ограждений приведены в Приложении.
1.4. Ограждения эксплуатируемых крыш должны быть выполнены в соответствии с требованиями, предъявляемыми к ограждениям балконов.
1.5. Стальные ограждения крыш, устанавливаемые на парапет, должны иметь высоту за вычетом высоты парапета.
1.6. Условное обозначение марки ограждения принимают в соответствии со схемой:
X - X.X X X
│ │ │ │
│ │ │ │
└───────┼────┼───┼────── Тип ограждения (п. 1.1)
│ │ │
│ │ │ Основные размеры ограждения
└────┼───┼────── (длина L, высота Н), дм
│ │
└───┼────── Вид заполнения каркаса (п. 1.2)
└────── Обозначение настоящего стандарта
Пример условного обозначения марки ограждения лестничного марша внутренней лестницы длиной 2700 и высотой 900 мм, решетчатого:
МВ 27.12-27.9 Р ГОСТ 25772-83
То же, ограждения лестничной площадки наружной лестницы длиной 2400 и высотой 1200 мм, экранного:
ПН - 24.12 Э ГОСТ 25772-83
То же, ограждения крыш без парапета длиной 3800 и высотой 600 мм, решетчатого:
КО - 38.6 Р ГОСТ 25772-83
2. ТЕХНИЧЕСКИЕ ТРЕБОВАНИЯ
ИС МЕГАНОРМ: примечание.
Взамен ГОСТ 23118-78 Постановлением Госстроя РФ от 19.10.1999 N 39 введен в действие ГОСТ 23118-99.
2.1. Ограждения следует изготовлять в соответствии с требованиями настоящего стандарта, ГОСТ 23118, стандартов или технических условий на ограждения конкретных типов по рабочим чертежам, утвержденным в установленном порядке.
2.2. Качество поверхности и внешний вид ограждений должны соответствовать образцам-эталонам, утвержденным в установленном порядке. На поверхности ограждений не должно быть механических повреждений, заусенцев, искривлений, окалины или ржавчины.
2.3. Ограждения должны выдерживать нагрузки, предусмотренные в СНиП 2.01.07.
2.4. Материалы для стальных элементов ограждений должны приниматься согласно СНиП II-23.
2.5. Каркасы ограждений следует изготовлять сварными. Сварку следует выполнять согласно СНиП III-18.
2.6. Для балконов жилых зданий, за исключением балконов незадымляемых лестничных клеток, следует применять только экранные ограждения.
2.7. Ограждения лестниц и балконов детских дошкольных учреждений не должны иметь промежуточных наклонных и горизонтальных элементов.
2.8. Конструкция экранных и комбинированных ограждений должна быть снабжена элементами, обеспечивающими крепление и замену экранов.
2.9. Предельные отклонения размеров и отклонения формы ограждений от номинальных приведены в табл. 3.
Таблица 3
мм
Наименование показателя
Пред. откл.
Длина L:
до 1500 включ.
+/- 2
св. 1500 " 3900 "
+/- 3
" 3900 " 7200 "
+/- 4
Высота H
+/- 2
Размеры 300 и менее (a; b)
+/- 1
Перпендикулярность ограждения (кроме лестниц)
4
Заданный угол сопряжения элементов (для лестниц)
3
Прямолинейность в плоскости и из плоскости ограждения при длине L:
до 1500 включ.
1
св. 1500 " 3900 "
3
" 3900 " 7200 "
5
Примечание. Предельные отклонения от прямолинейности относятся как к ограждению в целом, так и к отдельным его элементам.
2.10. Ограждения должны быть защищены от коррозии в соответствии со СНиП 2.03.11.
3. КОМПЛЕКТНОСТЬ
3.1. Ограждения должны поставляться комплектно. В комплект поставки должны входить:
- ограждения;
- крепежные детали для экранных и комбинированных ограждений;
ИС МЕГАНОРМ: примечание.
Взамен ГОСТ 23118-78 Постановлением Госстроя РФ от 19.10.1999 N 39 введен в действие ГОСТ 23118-99.
- техническая документация в соответствии с требованиями ГОСТ 23118.
3.2. В комплект поставок не входят экраны для экранных и комбинированных ограждений.
4. ПРАВИЛА ПРИЕМКИ
4.1. Ограждения должны приниматься отделом технического контроля предприятия-изготовителя партиями. Партией следует считать ограждения одной марки, изготовленные по одной технологии.
Размер партии устанавливают по соглашению между изготовителем и потребителем, но не более 200 шт.
4.2. Для контроля внешнего вида, размеров и качества антикоррозийного покрытия из разных пакетов каждой партии отбирают 5% ограждений, но не менее 5 шт.
4.3. При получении неудовлетворительных результатов контроля хотя бы по одному из показателей качества, по этому показателю проводят повторный контроль на удвоенном числе образцов, отобранных от той же партии.
Если при повторной проверке окажется хотя бы одно ограждение, не удовлетворяющее требованиям настоящего стандарта, то всю партию подвергают поштучной приемке.
4.4. Для контроля ограждений на соответствие требованиям п. 2.3 проверяют одно ограждение при постановке его на производство, при изменении конструкции или технологии изготовления.
4.5. Потребитель имеет право проводить контрольную проверку соответствия ограждений требованиям настоящего стандарта, соблюдая при этом приведенный порядок отбора ограждений и применяя указанные методы контроля.
5. МЕТОДЫ КОНТРОЛЯ
5.1. Качество поверхности и внешний вид (п. 2.2) отобранных ограждений определяют визуально сравнением с образцом-эталоном, утвержденным в установленном порядке.
5.2. Контроль ограждений на соответствие требованиям п. 2.3 проводят по схемам испытания ограждений конкретных типов, утвержденных в установленном порядке.
5.3. Качество стали и сварочных материалов должно быть удостоверено сертификатами предприятий-поставщиков или по данным лаборатории предприятия-изготовителя ограждений.
5.4. Контроль качества сварных швов и их размеров (п. 2.5) следует проводить в соответствии со СНиП III-18.
ИС МЕГАНОРМ: примечание.
Взамен ГОСТ 7502-89 Постановлением Госстандарта РФ от 27.07.1999 N 220-ст с 1 июля 2000 года введен в действие ГОСТ 7502-98.
5.5. Линейные размеры ограждений (п. 2.9) контролируют рулеткой класса 2 по ГОСТ 7502, металлической линейкой по ГОСТ 427 и штангенциркулем по ГОСТ 166.
5.6. Отклонение от перпендикулярности (п. 2.9) проверяют металлическим угольником со стороной длиной 1 м, изготовленным по чертежам, согласованным с органами Госстандарта, и металлической линейкой по ГОСТ 427. Угольник последовательно накладывают на все четыре угла ограждения. Одну сторону угольника плотно прижимают к ограждению и измеряют металлической линейкой наибольший зазор между второй стороной угольника и ограждением.
5.7. Отклонение от заданного угла сопряжения элементов ограждений лестниц (п. 2.9) проверяют металлическим угольником-шаблоном со стороной длиной 1 м, изготовленным по чертежам, согласованным с органами Госстандарта, и металлической линейкой по ГОСТ 427. Угольник последовательно накладывают на два тупых угла ограждения. Одну сторону угольника плотно прижимают к ограждению и измеряют металлической линейкой наибольший зазор между второй стороной угольника и ограждением.
5.8. Отклонение от прямолинейности (п. 2.9) проверяют измерением металлической линейкой по ГОСТ 427 зазора между ограждением и струной, закрепленной по концам ограждения или его элемента.
5.9. Контроль качества защитных покрытий от коррозии (п. 2.10) - по СНиП 3.04.03.
6. УПАКОВКА, МАРКИРОВКА, ТРАНСПОРТИРОВАНИЕ И ХРАНЕНИЕ
6.1. Ограждения упаковывают в пакеты по чертежам предприятия-изготовителя, утвержденным в установленном порядке. Упаковка пакетов должна обеспечивать сохранность ограждений и защитного покрытия от механических повреждений.
Масса пакета не должна превышать 3000 кг.
Максимальные размеры транспортных пакетов должны соответствовать правилам перевозки грузов.
Формирование транспортных пакетов производится в соответствии с правилами перевозки грузов.
Требования к пакетам и средствам пакетирования должны соответствовать ГОСТ 21650 и ГОСТ 24597.
6.2. Маркировка, наносимая на металлический, пластмассовый или деревянный ярлык, прикрепляемый к пакету, должна содержать:
- наименование или товарный знак предприятия-изготовителя;
- условное обозначение (марку) ограждения;
- число ограждений в пакете;
- массу пакета;
- номер пакета;
- клеймо (штамп) отдела технического контроля предприятия-изготовителя.
Транспортную маркировку следует производить в соответствии с требованиями ГОСТ 14192.
6.1, 6.2. (Измененная редакция, Изм. N 1).
6.3. Каждая партия отгружаемых ограждений должна сопровождаться документом, содержащим:
- наименование или товарный знак предприятия-изготовителя;
- наименование потребителя;
- номер заказа;
- условное обозначение (марку) ограждения;
- вид и цвет защитного покрытия;
- число и номера пакетов с указанием массы каждого пакета;
- штамп отдела технического контроля предприятия-изготовителя.
6.4. Стальные ограждения должны храниться по маркам в пакетах с опиранием на деревянные прокладки и подкладки.
Подкладки под нижний ряд ограждений должны быть толщиной не менее 50 и шириной не менее 100 мм и уложены по ровному основанию через 1000 мм, но не менее двух на одно ограждение.
Прокладки между ограждениями должны быть толщиной не менее 20 и шириной не менее 100 мм.
6.5. При транспортировании ограждений необходимо обеспечивать укладку пакетов с описанием на деревянные прокладки и подкладки согласно п. 6.4. Ограждения перевозят транспортом любого вида в соответствии с Правилами перевозки грузов, действующими на транспорте данного вида.
6.6. Условия транспортирования ограждений при воздействии климатических факторов - ОЖ1, условия хранения - ОЖ2 по ГОСТ 15150.
6.5, 6.6. (Измененная редакция, Изм. N 1).
7. УКАЗАНИЯ ПО МОНТАЖУ
ИС МЕГАНОРМ: примечание.
Взамен ГОСТ 23118-78 Постановлением Госстроя РФ от 19.10.1999 N 39 введен в действие ГОСТ 23118-99.
7.1. Монтаж ограждений следует производить в соответствии с требованиями ГОСТ 23118 и СНиП 3.03.01.
7.2. Зазоры с между элементами ограждения и железобетонными плитами и маршами должны соответствовать указанным в табл. 4.
Таблица 4
мм
Тип ограждения
с
+/- 1
МВ lом hом, МН lом hом, ПВ, ПН, БП, БВ и БЛ
100
МД lом hом, ПД и БД
20
Примечание. Буквенное обозначение размера с приведено в Приложении.
Приложение
Справочное
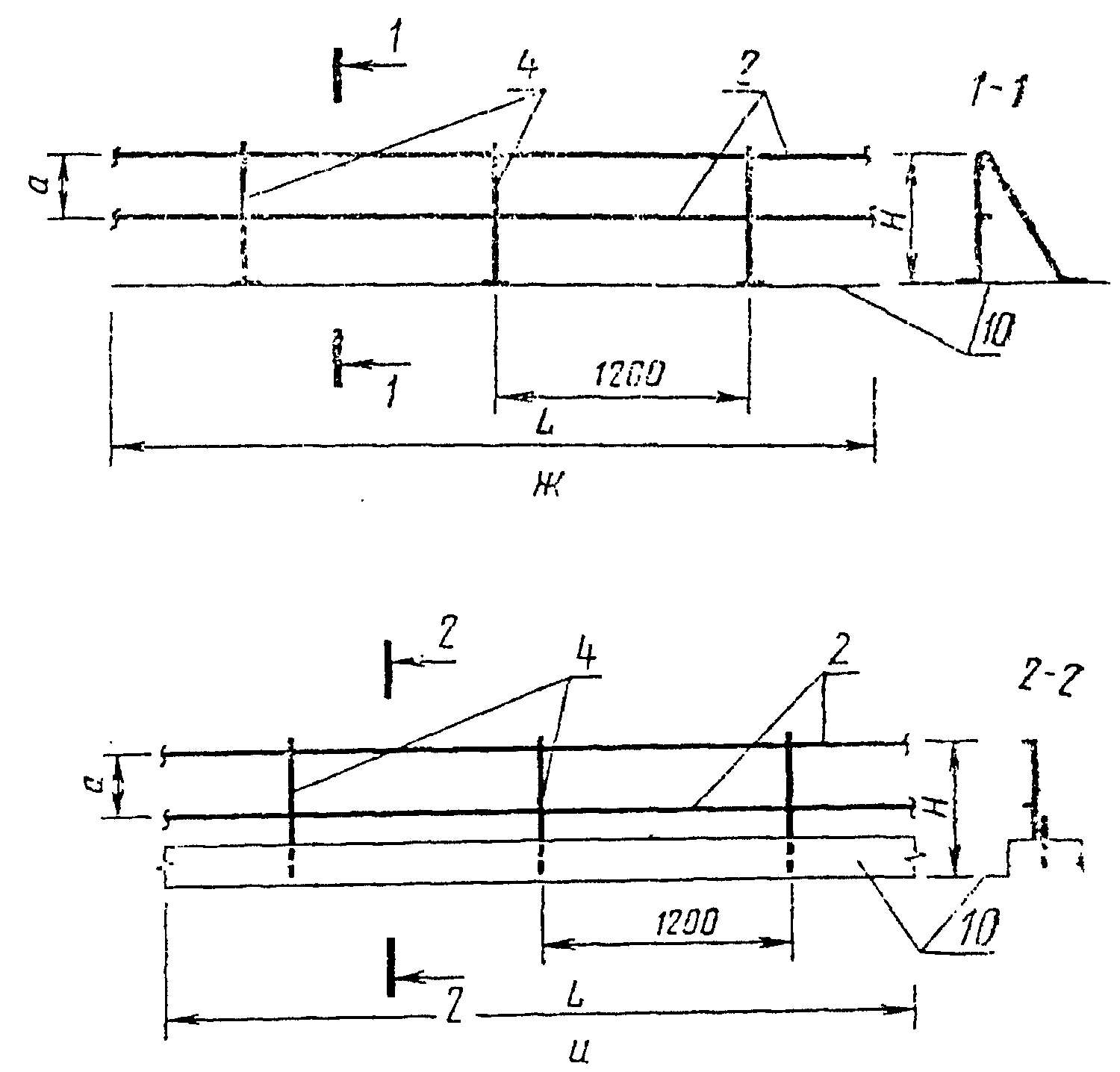
ПРИМЕРЫ ОГРАЖДЕНИЙ ЛЕСТНИЦ, БАЛКОНОВ И КРЫШ
а - решетчатые ограждения лестничных маршей;
б - экранные и комбинированные ограждения лестничных маршей;
в - решетчатые ограждения лестничных площадок; г - экранные
и комбинированные ограждения лестничных площадок;
д - решетчатые ограждения балконов; е - экранные
и комбинированные ограждения балконов; ж - ограждения крыш
без парапета; и - ограждения крыш с парапетом; 1 - поручень;
2 - горизонтальный или наклонный ограждающий элемент; 3 -
вертикальный ограждающий элемент; 4 - стойка; 5 - экран
(показан пунктирной линией); 6 - горизонтальный или наклонный
промежуточный ограждающий элемент; 7 - ступени; 8 - плита
лестничной площадки; 9 - балконная плита; 10 - уровень кровли.
Примечания. 1. Значения шага стоек l и общей длины ограждения L принимают по рабочим чертежам.
2. Значение длины стойки k для заделки ее или приварки к плите или лестничному маршу принимают по рабочим чертежам.
3. Архитектурные решения ограждений являются условными.