Главная // Актуальные документы // ГОСТ Р (Государственный стандарт)СПРАВКА
Источник публикации
М.: Стандартинформ, 2020
Примечание к документу
Документ включен в
Перечень документов в области стандартизации, в результате применения которых на добровольной основе обеспечивается соблюдение требований Федерального
закона от 30.12.2009 N 384-ФЗ "Технический регламент о безопасности зданий и сооружений" (
Приказ Росстандарта от 02.04.2020 N 687).
Документ
введен в действие с 01.01.2021.
Название документа
"ГОСТ Р 58945-2020. Национальный стандарт Российской Федерации. Система обеспечения точности геометрических параметров в строительстве. Правила выполнения измерений параметров зданий и сооружений"
(утв. и введен в действие Приказом Росстандарта от 29.07.2020 N 428-ст)
"ГОСТ Р 58945-2020. Национальный стандарт Российской Федерации. Система обеспечения точности геометрических параметров в строительстве. Правила выполнения измерений параметров зданий и сооружений"
(утв. и введен в действие Приказом Росстандарта от 29.07.2020 N 428-ст)
Утвержден и введен в действие
агентства по техническому
регулированию и метрологии
от 29 июля 2020 г. N 428-ст
НАЦИОНАЛЬНЫЙ СТАНДАРТ РОССИЙСКОЙ ФЕДЕРАЦИИ
СИСТЕМА ОБЕСПЕЧЕНИЯ ТОЧНОСТИ
ГЕОМЕТРИЧЕСКИХ ПАРАМЕТРОВ В СТРОИТЕЛЬСТВЕ
ПРАВИЛА ВЫПОЛНЕНИЯ ИЗМЕРЕНИЙ ПАРАМЕТРОВ
ЗДАНИЙ И СООРУЖЕНИЙ
System of ensuring geometrical parameters accuracy
in construction. Rules of taking measurements
of buildings and structures parameters
ГОСТ Р 58945-2020
Дата введения
1 января 2021 года
1 РАЗРАБОТАН Акционерным обществом "Центральный научно-исследовательский и проектно-экспериментальный институт промышленных зданий и сооружений - ЦНИИПромзданий" (АО "ЦНИИПромзданий")
2 ВНЕСЕН Техническим комитетом по стандартизации ТК 465 "Строительство"
3 УТВЕРЖДЕН И ВВЕДЕН В ДЕЙСТВИЕ
Приказом Федерального агентства по техническому регулированию и метрологии от 29 июля 2020 г. N 428-ст
4 ВВЕДЕН ВПЕРВЫЕ
Правила применения настоящего стандарта установлены в статье 26 Федерального закона от 29 июня 2015 г. N 162-ФЗ "О стандартизации в Российской Федерации". Информация об изменениях к настоящему стандарту публикуется в ежегодном (по состоянию на 1 января текущего года) информационном указателе "Национальные стандарты", а официальный текст изменений и поправок - в ежемесячном информационном указателе "Национальные стандарты". В случае пересмотра (замены) или отмены настоящего стандарта соответствующее уведомление будет опубликовано в ближайшем выпуске ежемесячного информационного указателя "Национальные стандарты". Соответствующая информация, уведомление и тексты размещаются также в информационной системе общего пользования - на официальном сайте Федерального агентства по техническому регулированию и метрологии в сети Интернет (www.gost.ru)
Настоящий стандарт распространяется на строительство зданий и сооружений и устанавливает основные правила измерений геометрических параметров при выполнении и приемке строительных и монтажных работ, законченных строительством зданий, сооружений и их частей.
Настоящий стандарт не распространяется на выполнение спутниковых наблюдений и измерений для монтажа технологического оборудования в процессе производства строительных работ.
Номенклатура параметров, измерения которых осуществляют в соответствии с настоящим стандартом, определена
ГОСТ Р 58942 и
ГОСТ Р 58944.
В настоящем стандарте использованы нормативные ссылки на следующие стандарты:
ГОСТ 10 Нутромеры микрометрические. Технические условия
ГОСТ 164 Штангенрейсмасы. Технические условия
ГОСТ 166 (ИСО 3599-76) Штангенциркули. Технические условия
ГОСТ 427 Линейки измерительные металлические. Технические условия
ГОСТ 577 Индикаторы часового типа с ценой деления 0,01 мм. Технические условия
ГОСТ 7502 Рулетки измерительные металлические. Технические условия
ГОСТ 8026 Линейки поверочные. Технические условия
ГОСТ 7948 Отвесы стальные строительные. Технические условия
ГОСТ 11098 Скобы с отсчетным устройством. Технические условия
ГОСТ Р 51774 Тахеометры электронные. Общие технические условия
ГОСТ Р 58938 Система обеспечения точности геометрических параметров в строительстве. Основные положения
ГОСТ Р 58939 Система обеспечения точности геометрических параметров в строительстве. Правила выполнения измерений. Элементы заводского изготовления
ГОСТ Р 58941 Система обеспечения точности геометрических параметров в строительстве. Правила выполнения измерений. Общие положения
ГОСТ Р 58942 Система обеспечения точности геометрических параметров в строительстве. Технологические допуски
ГОСТ Р 58944 Система обеспечения точности геометрических параметров в строительстве. Функциональные допуски
Примечание - При пользовании настоящим стандартом целесообразно проверить действие ссылочных стандартов в информационной системе общего пользования - на официальном сайте Федерального агентства по техническому регулированию и метрологии в сети Интернет или по ежегодному информационному указателю "Национальные стандарты", который опубликован по состоянию на 1 января текущего года, и по выпускам ежемесячного информационного указателя "Национальные стандарты" за текущий год. Если заменен ссылочный стандарт, на который дана недатированная ссылка, то рекомендуется использовать действующую версию этого стандарта с учетом всех внесенных в данную версию изменений. Если заменен ссылочный стандарт, на который дана датированная ссылка, то рекомендуется использовать версию этого стандарта с указанным выше годом утверждения (принятия). Если после утверждения настоящего стандарта в ссылочный стандарт, на который дана датированная ссылка, внесено изменение, затрагивающее положение, на которое дана ссылка, то это положение рекомендуется применять без учета данного изменения. Если ссылочный стандарт отменен без замены, то положение, в котором дана ссылка на него, рекомендуется применять в части, не затрагивающей эту ссылку.
3 Термины, определения и обозначения
3.1 Термины и определения
3.2 Обозначения
В настоящем стандарте применены следующие обозначения:
x - геометрический параметр;
xi - действительное значение геометрического параметра x;
xном - номинальное значение геометрического параметра x;

- допуск на отклонение значения геометрического параметра
x;

- значение действительного отклонения геометрического параметра
x;
ai - значение величины линейного размера;
hi - измеренное расстояние от поверхности элемента до линии отсчета в i-й точке рассматриваемого сечения;
h1 - измеренное расстояние от поверхности элемента до линии отсчета в первой точке рассматриваемого сечения;
hn - измеренное расстояние от поверхности элемента до линии отсчета в последней точке рассматриваемого сечения;
li - расстояние от первой точки рассматриваемого сечения до i-й точки;
ln - расстояние от первой точки рассматриваемого сечения до последней точки;

- отклонение от условной поверхности в первой точке рассматриваемого сечения;

- отклонение от условной поверхности в последней точке рассматриваемого сечения;

- максимально допускаемая погрешность измерений;

- выборочное стандартное отклонение;

- расчетное стандартное выборочное отклонение принимаемого метода и инструментальной погрешности измерения;

- расчетная суммарная погрешность принимаемого метода и инструментальной погрешности измерения;

- максимальное отклонение от условной поверхности рассматриваемого сечения;

- минимальное отклонение от условной поверхности рассматриваемого сечения.
4.1 Требованию к выбору методов и средств измерений, выполнению измерений и обработке их результатов установлены
ГОСТ Р 58941.
4.2 Измерения выполняют в соответствии с требованиями
раздела 5.
4.3 В зависимости от материала, размеров, особенностей геометрической формы и назначения зданий и сооружений при проведении измерений их геометрических параметров в соответствии с проектной и технологической документацией допускается применять не предусмотренные настоящим стандартом методы и средства измерений, обеспечивающие требуемую
ГОСТ Р 58941 точность измерений.
4.4 Предпочтительными являются прямые измерения параметра. При невозможности или неэффективности прямого измерения выполняют косвенные измерения. В этом случае значение параметра определяют по приведенным зависимостям на основе результатов прямых измерений других параметров.
При измерениях следует применять методики измерений, аттестованные в установленном порядке.
Примечание - Аттестация методик выполнения измерений осуществляется в соответствии с
Приказом Министерства промышленности и торговли Российской Федерации от 15 декабря 2015 г. N 4091 "Об утверждении Порядка аттестации первичных референтных методик (методов), референтных методик (методов) измерений и методик (методов) измерений и их применения"
[1].
4.5 Погрешности применяемых при проведении разбивочных, строительных и монтажных работ методик (методов) и средств измерений должны обеспечивать требуемую по
ГОСТ Р 58941 точность измерений.
Расчет точности измерений, выбор методов и средств ее обеспечения следует выполнять в порядке, приведенном в
приложении А.
4.6 Места (точки, сечения) измерений геометрических параметров зданий и сооружений принимают в соответствии с проектной и технологической документацией. В случае отсутствия указаний в проектной и технологической документации места измерений принимают по настоящему стандарту.
4.7 Размеры помещений - длину, ширину, высоту измеряют в крайних сечениях, проведенных на расстоянии от 50 до 100 мм от краев и в среднем сечении при размерах помещений от 3 до 12 м. При размерах свыше 12 м между крайними сечениями измерения выполняют в дополнительных сечениях.
4.8 Измерения зазоров, уступов, глубины опирания, эксцентриситетов проводят в характерных местах, влияющих на работу стыковых соединений.
5 Схемы и методы выполнения измерений
5.1 Измерения линейных размеров и их отклонений
5.1.1 Линейными величинами, отражающими геометрические параметры зданий и сооружений, являются: длина, ширина, высота, глубина, пролет, вылет, зазор, межосевой размер, габаритные размеры, отклонения.
5.1.2 Для их измерений применяют линейки по
ГОСТ 427, рулетки по
ГОСТ 7502, нутромеры по
ГОСТ 10, скобы по
ГОСТ 11098, штангенциркули по
ГОСТ 166, штангенглубиномеры по
ГОСТ 164, индикаторы часового типа по
ГОСТ 577, а также микроскопы и лазерные приборы, отнесенные установленным порядком к средствам измерений.
5.1.3 Для измерений линейных величин следует устанавливать точки контроля, сечения, средства и методики (методы) измерений, приведенные в
таблице Б.1 приложения Б.
5.2 Измерения угловых величин
5.2.1 К угловым величинам, отражающим состояние геометрических параметров зданий и сооружений, относятся: горизонтальные и вертикальные углы, углы, образованные пересечением осей и плоскостей.
5.2.2 Для измерения угловых величин, как правило, применяют тахеометры по ГОСТ Р 51774, теодолиты по
ГОСТ 10529, нивелиры по
ГОСТ 10528, измерительные металлические рулетки по
ГОСТ 7502, измерительные линейки по
ГОСТ 427, приборы вертикального проектирования.
5.2.3 Измерения угловых величин следует выполнять по
таблице Б.2 приложения Б.
5.3 Измерения отклонений
5.3.1 Выполняют измерения следующих отклонений геометрического параметра:
- от совмещения ориентиров, совпадения осей, симметричности установки, совпадения поверхностей;
- заданного положения точки в плане;
- отвесной линии;
- проектных отметок точек;
- заданного уклона (наклона) в вертикальном сечении;
- прямолинейности;
- заданной формы профиля или поверхности;
- плоскостности поверхностей.
5.3.2 Измерения отклонений (приведены в
таблице 1) от совмещения ориентиров, совпадения осей, симметричности установки, совпадения поверхностей осуществляют в стыковом соединении или на интервале
L от совмещения. Выполнение измерений отклонений осуществляют электронными тахеометрами по ГОСТ Р 51774, прямыми измерениями линейками или рулетками по схемам, приведенным в
таблице В.1 приложения В.
Таблица 1
Отклонения от совмещения ориентиров, совпадения осей,
симметричности установки, совпадения поверхностей
Наименование измеряемого параметра | Схема | Формула для вычисления |
Отклонения ориентира на поверхности конструкций с ориентирами разбивочной оси | | а)  б)  в)  |
Отклонения грани элемента конструкции с ориентирами разбивочной оси | | а)  б)  в)  |
Отклонения граней элементов конструкций | | а)  б)  |
Отклонения от совпадения осей или симметричности установки | | |
5.3.3 Измерение отклонений от заданного положения точки в плане выполняют косвенными измерениями с использованием средств измерений линейных и угловых величин методами, приведенными в
таблице В.2 приложения В.
5.3.4 Измерения отклонений (приведены в
таблице 2) от отвесной линии колонн стеновых панелей, стен и других конструкций и их элементов осуществляют, применяя отвесы по
ГОСТ 7948 и теодолиты, электронные тахеометры совместно с использованием средств линейных и угловых измерений методами, приведенными в
таблице В.3 приложения В.
Таблица 2
Отклонения от отвесной линии
Наименование измеряемого параметра | Схема | Формула для вычисления |
Отклонения ориентира оси конструкции | | а)  б)  |
Отклонения поверхности грани (ребра) конструкции | | а)  б)  |
Отклонения точек закрепления осей при их передаче по вертикали на монтажные горизонты | | |
Отклонение от вертикальности определяется по результатам измерений расстояния от отвесной базовой линии до двух точек конструкции, размеченных в одном вертикальном сечении на расстояниях от 50 до 100 мм от верхнего и нижнего обреза конструкции. Вертикальность колонн и сооружений башенного типа контролируется электронным тахеометром по ГОСТ Р 51774 в двух взаимно перпендикулярных сечениях, а вертикальность стен - в крайних сечениях, а также в дополнительных сечениях в зависимости от особенностей конструкции.
5.3.5 Измерения отклонений (приведены на рисунке 1) от проектных отметок точек конструкций и их элементов на монтажном горизонте, в котловане и т.д. следует выполнять методами, приведенными в
таблице В.4 приложения В.
1 - горизонтальная линия или плоскость, расположенные
на проектной отметке; 2 - исходная горизонтальная
плоскость, служащая началом отсчета отметок
или имеющая отметку, равную нулю
Рисунок 1 - Отклонение

точек конструкций
и их элементов от проектных отметок
Измерение отклонений элементов конструкций, а также зданий и сооружений от заданного положения в плане и по высоте выполняется электронным тахеометром по ГОСТ Р 51774 в точках, расположенных в крайних сечениях или на расстояниях от 50 до 100 мм от края.
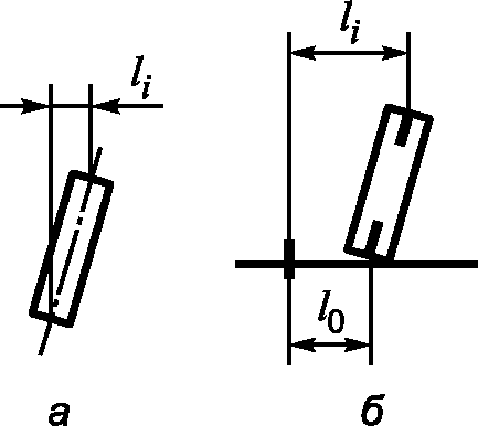
5.3.6 Измерения отклонений от заданного уклона (наклона) конструкции, элемента конструкции, линейных сооружений, технологического оборудования и др. в вертикальном сечении приведены на рисунке 2.
1 - горизонтальная линия; 2 - линия заданного уклона;
3 - реальная линия уклона
а) в линейной мере на интервале

;
б) в угловой мере

;
в) в относительной величине

Рисунок 2 - Отклонение от заданного уклона
(наклона) в вертикальном сечении
5.3.7 Отклонения от прямолинейности определяются по результатам измерений расстояний реальной линии от базовой прямой в трех точках, размеченных на расстояниях от 50 до 100 мм от ее краев и в середине, или в точках, размеченных с заданным в проекте шагом.
Измерения отклонений от прямолинейности и плоскостности конструкции, элемента конструкции, технологического оборудования и др. выполняют теодолитами, нивелирами, электронными тахеометрами, визирными трубами с применением стальных струн, разметочных шнуров, капроновых лесок, плоскомеров, оптических и лазерных приборов и т.п. совместно с линейными средствами измерений. Методы и схемы выполнения измерений приведены в
таблице В.5 приложения В.
5.3.8 Для измерений отклонений форм профиля поверхности применяют нивелиры по
ГОСТ 10528, теодолиты по
ГОСТ 10529, электронные тахеометры по ГОСТ Р 51774 или поверочные линейки по
ГОСТ 8026 совместно со средствами линейных измерений.
Методы и схемы выполнения измерений отклонений форм профиля поверхности приведены в
таблице В.6 приложения В.
5.3.9 Отклонения от плоскостности поверхностей конструкций и отклонения от плоскости монтажного горизонта измеряют в точках, размеченных на контролируемой поверхности по прямоугольной сетке или сетке квадратов с шагом от 0,5 до 3 м. При этом крайние точки должны располагаться на расстоянии от 50 до 100 мм от края контролируемой поверхности.
Измерения отклонений от плоскостности поверхностей конструкций, элементов конструкций и сооружений следует выполнять посредством измерений отклонений точек контролируемой поверхности от базовой горизонтальной или вертикальной плоскости с последующим пересчетом этих отклонений относительно условной плоскости по
ГОСТ Р 58939 методами, приведенными в
таблице В.7 приложения В.
5.4 Измерения величин превышений между точками
Для измерения превышений между точками применяют нивелиры по
ГОСТ 10528, электронные тахеометры по ГОСТ Р 51774 и гидростатические высотомеры.
(рекомендуемое)
ТИПОВЫЕ РАСЧЕТЫ НЕОБХОДИМОЙ ТОЧНОСТИ ИЗМЕРЕНИЙ
И ОБЕСПЕЧЕНИЕ ТОЧНОСТИ ИЗМЕРЕНИЙ
А.1 Расчет и обеспечение точности при передаче проектной отметки на монтажный горизонт
А.1.1 Расчет и обеспечение требуемой точности при передаче проектной отметки на монтажный горизонт выполняют в следующем порядке:
- определение допуска на измеряемый параметр;
- вычисление допускаемых погрешностей измерений;
- выбор метода и средств измерений;
- выявление и определение величины всех погрешностей выбранного метода измерений и средств измерений на результат измерений;
- оценка правильности выбранных метода и средств измерений для обеспечения необходимой точности измерений.
Пример - Требуется осуществить передачу проектной отметки +36,00 м по 3-му классу точности ГОСТ Р 58942 на монтажный горизонт строящегося панельного здания.
2 По ГОСТ Р 58941 определяют максимально допускаемую погрешность измерений
и выборочное стандартное отклонение 
и принимают, что суммарные расчетные погрешности не должны превышать расчетную суммарную погрешность принимаемого метода и инструментальной погрешности измерений
и расчетное суммарное выборочное стандартное отклонение принимаемого метода и инструментальной погрешности измерения
.
3 Для передачи проектной отметки по таблице Б.1 приложения Б выбирают метод геометрического нивелирования, предусматривающий применение двух нивелиров, двух нивелирных реек и металлической рулетки длиной 50 м при одновременном снятии отсчетов по рулетке.
4 Определяют источники погрешности результата измерений:
- установка пузырька уровня нивелира в нуль-пункт;
- отклонение от параллельности визирной оси и оси уровня (несоблюдение главного условия нивелира);
- отсчет по рейке (рулетке);
- погрешность шкалы рулетки;
- погрешность шкалы (компарирование) рейки;
- натяжение рулетки;
- установка рейки (рулетки) по вертикали.
5 Полагая влияние составляющих погрешностей равным и учитывая, что погрешности из-за отклонения реек и рулетки от вертикали оказывают систематическое влияние, а влияние остальных погрешностей метода и средств измерений в связи с одноразовым их применением в конкретном случае можно отнести к случайным, получают погрешность измерений 
,
обусловленную каждым ее источником:
где r - количество случайных погрешностей измерений;
u - количество систематических погрешностей измерений.
6 Определяют допустимые выборочные стандартные отклонения составляющих суммарную погрешность измерений.
6.1 Установка пузырька уровня в нуль-пункт
где
- погрешность установки пузырька уровня в нуль-пункт;
l - расстояние от нивелира до рейки;
.
Погрешность установки пузырька контактного уровня находится в пределах
, где
- цена деления уровня.
Следовательно,
в связи с чем достаточно использовать нивелир с ценой деления уровня
.
При использовании нивелира, имеющего
, будет двойной запас точности по данному фактору.
6.2 Отклонение от параллельности визирной оси и оси цилиндрического уровня
где
- погрешность из-за отклонения от параллельности визирной оси и оси цилиндрического уровня;
i - угол между визирной осью зрительной трубы и осью цилиндрического уровня;
S - неравенство плеч.
Полагая, что главное условие соблюдается с погрешностью i" = 10", получают допустимое неравенство плеч
6.3 Отсчет по рейке (рулетке)
При снятии отсчетов по рейке с шашечными сантиметровыми делениями, установленной на расстоянии 50 м, ошибка однократного отсчета по рейке составит величину порядка +/- 1 мм.
6.4 Относительная погрешность шкалы рулетки составит
То же, для рейки
где l0 - длина рейки.
6.5 Натяжение рулетки
где
- погрешность определения натяжения;
- погрешность измеряемого размера из-за погрешности натяжения;
l - измеряемый размер;
E - модуль Юнга;
F - площадь поперечного сечения полотна рулетки.
При натяжении рулетки гирей следует учитывать массу рулетки.
6.6 При установке рейки и рулетки по вертикали
То же, для рулетки
где
,
- погрешности установки рейки и рулетки по вертикали.
7 Выполняют анализ полученных погрешностей метода и средств измерений:
- два нивелира;
- двусторонние шашечные рейки с сантиметровыми делениями;
- металлическая рулетка длиной 50 м.
Отсчеты по рейкам снимаются по черной и красной стороне при двух горизонтах приборов, в связи с чем погрешность отсчета составит величину
, что больше допустимых +/- 0,35 мм.
Однако это незначительное превышение можно компенсировать натяжением рулетки гирей, масса которой совместно с массой растянутого полотна рулетки определяется с точностью до +/- 50 г, что в три раза уменьшит соответствующую погрешность, и установкой реек в вертикальное положение по круглому уровню с ценой деления 10', что также уменьшит соответствующую погрешность в четыре раза.
Рулетка калибруется на стационарном компараторе с погрешностью
; длины сантиметровых, дециметровых и метровых интервалов на рейках определяются женевской линейкой, контрольным метром и др.
При соблюдении указанных мероприятий следует ожидать, что с вероятностью P = 0,988 вынесенная в натуру отметка строительного репера будет находиться в пределах допуска
.
А.2 Расчет и обеспечение точности при передаче оси по вертикали на монтажный горизонт
А.2.1 Расчет и обеспечение требуемой точности при передаче оси по вертикали на монтажный горизонт выполняют в порядке по
А.1.1.
А.2.2 Выполнение операций расчета приведено в прилагаемом примере.
Пример - Требуется осуществить передачу по оси по вертикали на монтажный горизонт с отметкой H = +36 м по 3-му классу точности ГОСТ Р 58942.
2 По ГОСТ Р 58941 определяют максимально допускаемую погрешность измерения
и выборочное стандартное отклонение 
и принимают, что суммарные расчетные погрешности не должны превышать расчетную суммарную погрешность принимаемого метода и инструментальной погрешности измерений
и расчетное суммарное выборочное стандартное отклонение принимаемого метода и инструментальной погрешности измерения
.
3 Для передачи проектной отметки выбирают метод прямых измерений теодолитом при двух положениях вертикального круга.
4 Определяют источники погрешности результата измерений:
- поверка и юстировка цилиндрического уровня горизонтального круга;
- установка пузырька цилиндрического уровня горизонтального круга в нуль-пункт;
- центрирование теодолита на оси;
- визирование;
- отклонение от перпендикулярности визирной оси и оси вращения зрительной трубы (коллимационная погрешность);
- отклонение от перпендикулярности оси вращения зрительной трубы и вертикальной оси вращения прибора (неравенство подставок);
- фиксация оси на монтажном горизонте.
5 Полагая влияние составляющих погрешностей равным и учитывая, что погрешность поверки и юстировки цилиндрического уровня горизонтального круга оказывает систематическое влияние, а коллимационная погрешность и неравенство подставок исключаются проектированием при двух положениях вертикального круга, получают погрешность измерений
, обусловленную каждым ее источником:
6 Определяют допустимые средние квадратические погрешности составляющих суммарную погрешность измерений.
6.1 Поверка и юстировка уровня v1, установка пузырька уровня в нуль-пункт v2:
где v1 - погрешность поверки и юстировки уровня;
v2 - погрешность установки пузырька уровня в нуль-пункт;
H - высота передачи;
6.2 Центрирование теодолита
где e - погрешность центрирования;
d - расстояние на горизонтальной плоскости между точкой закрепления оси на исходном горизонте и проекцией на этот горизонт точки закрепления оси на монтажном горизонте;
D - горизонтальное расстояние от теодолита до точки закрепления оси на исходном горизонте.
При D = 40 м и d = 2 м получают:
6.3 Визирование
где
- увеличение зрительной трубы;
30" - погрешность визирования невооруженным глазом на расстоянии наилучшего зрения (250 мм);
l - расстояние до точки визирования.
В данном случае
7 Выполняют анализ полученных погрешностей метода измерений теодолитом.
При выборе теодолита следует учесть, что поверка уровня при алидаде горизонтального круга осуществляется с ошибкой порядка
, где
- цена деления уровня, т.е.
.
8 связи с этим теодолит должен быть оснащен в данном случае уровнем с ценой деления
Приведенным выше условиям полностью отвечает теодолит, имеющий увеличение зрительной трубы 25x и цену деления уровня при алидаде горизонтального круга
.
Погрешность 0,55 мм фиксации оси на монтажном горизонте можно обеспечить прочерчиванием карандашом по гладкой поверхности.
При соблюдении указанных мероприятий следует ожидать, что с вероятностью P = 0,988 плановое положение ориентира, закрепляющего ось на монтажном горизонте +36,0 м, будет в пределах допуска
.
(рекомендуемое)
СРЕДСТВА И МЕТОДЫ ИЗМЕРЕНИЙ ЛИНЕЙНЫХ
И УГЛОВЫХ ВЕЛИЧИН ГЕОМЕТРИЧЕСКИХ ПАРАМЕТРОВ
И ПРЕВЫШЕНИЙ МЕЖДУ ТОЧКАМИ ЗДАНИЙ И СООРУЖЕНИЙ
Таблица Б.1
Измерения линейных величин
Наименование измеряемого параметра, метода и средства измерений | Схема | Формулы для вычисления |
Линейные размеры: длина, ширина, высота, глубина, пролет, зазор, межосевой размер, габаритные размеры и др.: | | |
а) между двумя фиксированными точками; | | xi = amin - a1, где a1 - начальный отсчет по шкале средства измерения в фиксированной точке; amin - минимальный из отсчетов, полученных в процессе покачивания рейки |
б) между точкой и прямой, точкой и плоскостью; между двумя параллельными прямыми или плоскостями методом построения и измерения перпендикуляра: | |
- с помощью геодезических приборов и других средств угловых и линейных измерений | |
- покачиванием линейки, рейки, рулетки в направлениях, обеспечивающих кратчайшее расстояние | |
Измерения размера рулеткой, линейкой и другими средствами линейных измерений, укладываемых непосредственно в створе измеряемой линии, когда измеряемый размер: | | |
а) меньше длины средства измерений | | xi = a2 - a1, где a1, a2 - начальный и конечный отсчеты по шкале средства измерений соответственно |
б) больше длины средства измерений | | где aЗ, aП - отсчеты по рулетке (задний и передний по ходу соответственно);  - сумма поправок по ГОСТ Р 58941, исключающих известные систематические погрешности из результата измерений |
Измерение размера электронным тахеометром | | Вычисление по формуле, приведенной в эксплуатационной документации на данный тип дальномера |
Измерение зазора: | | |
а) линейкой | | xi = a2 - a1 |
б) клиновым калибром | | xi = ai, где ai - отсчет по клиновому калибру |
в) кронциркулем | | xi = ai |
Измерение глубины опирания: | | |
а) линейкой в доступном месте | | xi = li = a2 - a1 |
б) линейкой-щупом в перекрытом сечении через технологическое (например, коробка электросети) или специально проделанное отверстие | 1 - отверстие в несущей стене; 2 - линейка-щуп; 3 - панель перекрытия; 4 - стеновая панель | xi = ai |
в) посредством измерений линейкой перекрытой части сечения и толщины несущей стены | | xi = l0 - li, где l0 - известная или измеренная толщина несущей стены; li - измеренная ширина неперекрытой части сечения |
г) после укладки плит перекрытий посредством измерения линейкой расстояния от риски на плите перекрытия до несущей стеновой панели; риску на плите перекрытия маркируют заранее, на фиксированном расстоянии от края плиты | | xi = l0 - li, где l0 - известное расстояние от края плиты до фиксированной риски; li - измеренный размер |
Измерение расстояния между горизонтальными плоскостями | | а) xi = a2 - a1 |
Измерение рулеткой, рейкой по направлению отвесной линии | б) xi = a2 - a1 |
Измерение методом геометрического нивелирования: | | |
а) в пределах одной установки нивелира | | xi = hi = aЗi - aПi, где aЗ, aП - отсчеты по задней и передней по ходу рейкам соответственно |
б) при нескольких последовательных установках нивелира | | где aЗ, aП - отсчеты по задней и передней по ходу рейкам соответственно; i - номер станции |
в) при измерении высоты помещения | | xi = a2 - a1, где a1, a2 - отсчеты по рейке, установленной в положение "0" - вверх и "0" - вниз |
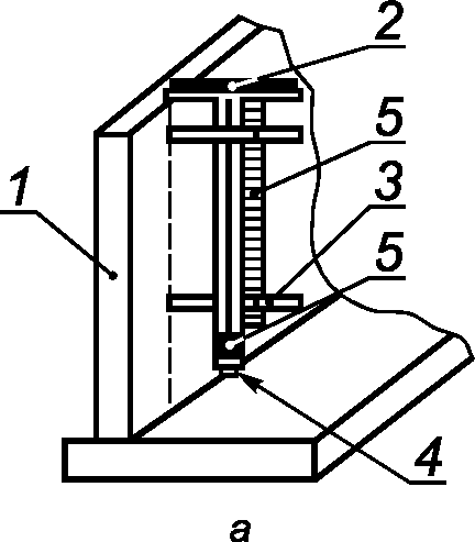
Измерение методом микронивелирования | 1 - уровень; 2 - корпус; 3 - подвижный упор; 4 - отсчетное устройство; 5 - неподвижный упор | xi = hi = aПi - aЗi - МО; где МО - место нуля |
Измерение методом гидростатического нивелирования | | xi = hi = aПi - aЗi - МО; МО = l1 - l2 = 0,5(aП - a'П - aЗ - a'З), где aЗ, aП - отсчеты по шкалам заднего и переднего сосудов соответственно; a'З, a'П - то же при обратной перестановке сосудов; МО - место нуля |
Измерение расстояния между двумя недоступными точками методом проектирования точек на линию измерения с применением теодолита, электронного тахеометра, отвеса или оптического прибора | | xi = a2 - a1, где a1, a2 - отсчеты по рулетке. Рулетку натягивают горизонтально, в одной вертикальной плоскости с измеряемым пролетом. Проектирование с помощью теодолита осуществляют при двух положениях вертикального круга |
Измерение расстояния между двумя вертикальными плоскостями раздвижной рейкой | | xi = ai |
Измерение расстояния между двумя фиксированными точками методом параллактического треугольника | | а)  б)  , где li - известный размер;  - измеренный горизонтальный угол |
Измерение расстояния до недоступной точки методом микротриангуляции | | |
Измерение расстояния между двумя недоступными точками методом микротриангуляции | | |
Таблица Б.2
Измерения угловых величин
Наименование измеряемого параметра, метода и средства измерений | Схема | Формула для вычисления |
Прямое измерение углового размера методом сравнения со шкалой угломерного прибора (теодолита, электронного тахеометра, квадранта и др.) | |  ,  - горизонтальные и вертикальные углы соответственно, их измеряют и вычисляют по методикам и формулам, приведенным в эксплуатационной документации на данный тип угломерного прибора |
Косвенные измерения углового размера | | |
Метод построения и решения треугольника: | | |
а) по трем измеренным сторонам l1, l2, l3 | | |
б) по измеренным углу  и по двум сторонам l1 и l2 | | |
в) по измеренным углам  и  | | |
Метод построения и решения двух треугольников: | | |
а) по измеренным двум углам  ,  и трем сторонам l1, l2, l3 | | |
б) по измеренным двум углам  ,  и четырем сторонам l1, l2, l3, l4 | | |
в) по пяти измеренным сторонам l1, l2, l3, l4, l5 | | |
| | |
Метод построения вспомогательного угла и измерение отрезков l1, l2, l3, l4, l5, l6 | | |
(рекомендуемое)
СРЕДСТВА И МЕТОДЫ ИЗМЕРЕНИЙ ОТКЛОНЕНИЙ
ОТ ГЕОМЕТРИЧЕСКИХ ПАРАМЕТРОВ ЗДАНИЙ И СООРУЖЕНИЙ
Таблица В.1
Прямые измерения отклонений от совмещения ориентиров
Наименование метода и средства измерений | Схема | Формулы для вычисления |
Измерения с помощью шаблона с линейкой | | |
Измерения линейкой отклонений от створа, заданного теодолитом, электронным тахеометром: | | |
- створ проходит по разбивочной оси | | |
- створ проходит по грани стены | | |
Измерения линейкой отклонений от створа, заданного струной и отвесом и проходящего через ориентиры разбивочной оси | | |
Таблица В.2
Измерения отклонений от заданного положения точки в плане
Наименование метода и средства измерений | Схема | Формула для вычисления |
Косвенные измерения с использованием средств линейных и угловых измерений (теодолит, рулетка и др.) | | |
Метод полярных координат | | |
Метод прямоугольных координат | | |
Метод створной засечки | | |
Метод линейно-створной засечки | | |
Метод линейной засечки | | |
Метод прямой угловой засечки | | |
Таблица В.3
Измерения отклонений от отвесной линии
Наименование метода и средства измерений | Схема | Формула для вычисления |
Измерения с помощью стального строительного отвеса и линейки: | | |
- относительно боковой грани | | |
- относительно ориентиров оси конструкции | 1 - колонна; 2 - консоль для подвески отвеса; 3 - линейка; 4 - отвес; 5 - сосуд с вязкой жидкостью; 6 - ориентир оси конструкции | |
- относительно боковой грани конструкции, имеющей переменное сечение по высоте | | где c - поправка, учитывающая закон изменения размеров сечения. Для колонны, имеющей форму усеченного конуса: |
Измерения с помощью теодолита и линейки: | | |
а) теодолит установлен на разбивочной оси | | а)  ; |
б) теодолит установлен на оси, параллельной разбивочной | б)  , где  ,  - отсчеты, полученные при двух положениях вертикального круга |
Измерения оптическим центриром и рейкой | | |
Измерения рейкой-отвесом: | | |
а) навесной | | где  - отсчет по нити успокоенного отвеса относительно нулевого штриха шкалы;  - то же после поворота рейки на 180° |
б) ненавесной | 1 - стеновая панель; 2 - рейка-отвес; 3 - регулируемый упор; 4 - отвес; 5 - шкала нивелирной рейки; 6 - шкала отклонений от вертикали; 7 - нулевой штрих шкалы | |
Измерения рейкой с уровнем: | | |
а) по шкале на уровне | 1 - контролируемая конструкция; 2 - рейка с уровнем; 3 - регулируемый упор; 4 - уровень для контроля правильной установки рейки; 5 - уровень для измерения угла наклона контролируемой поверхности; 6 - измерительная подвижная шкала | а)  |
б) подвижной шкалой рейки при положении центра пузырька в нуль-пункте | б)  где aл, a'л, aп, a'п - отсчеты по левому и правому концам пузырька уровня, взятые при прямом и обратном (развернутом на 180°) положениях рейки соответственно; ai, a'i - отсчеты по подвижному упору при прямом и обратном (развернутом на 180°) положениях рейки соответственно; МО - место нуля (определяют на вертикальной плоскости);  - цена деления уровня |
Таблица В.4
Измерения отклонений точек конструкций
и их элементов от проектных отметок
Наименование метода и средства измерений | Схема | Формулы для вычисления |
Измерения методом геометрического нивелирования при передаче отметки в котлован | | Hi = Hpn + a3i - |a2 - a3| _ an1 |
Измерения методом геометрического нивелирования при контроле ровности монтажного горизонта | | где Hmax, Hmin - отметка наиболее высокой и низкой точек монтажного горизонта |
Таблица В.5
Измерения отклонений от прямолинейности
Наименование метода и средства измерений | Схема | Формулы для вычисления |
Измеряется методом построения базовой линии: - расположенной произвольно относительно контролируемого участка или направления поверхности | 1 - контролируемый участок; 2 - базовая линия | при lк = lн = l0  при lк = lн = l0 |
- расположенной параллельно прямой, соединяющей конечную и начальную точки контролируемого участка | | |
- совпадающей с прямой, соединяющей начальную и конечную точки контролируемого участка | | |
Измерения по рейке (линейке) от базовой линии, заданной теодолитом | | |
Измерения линейкой от базовой линии, заданной струной и отвесом | | |
Таблица В.6
Измерения отклонений от формы заданных профиля, поверхности
Наименование метода и средства измерений | Схема | Формулы для вычисления |
Прямые измерения отклонения профиля криволинейной поверхности методом измерения отклонений от шаблона | | |
Измерения отклонений профиля прямолинейного сечения методом измерения от шаблона | | l0 = lном - lш |
Измерения отклонений профиля сечения дорожного полотна методом измерения действительных значений линейно-угловых размеров и уклонов с помощью линейки, рулетки, теодолита, нивелира | | |
Измерения отклонений формы заданного профиля методом определения пространственных координат точек действительной поверхности | | |
Таблица В.7
Измерения отклонений от плоскостности поверхностей
Наименование метода и средства измерений | Схема | Формулы для вычисления |
Измерения отклонений от плоскостности методами: - геометрического нивелирования с применением нивелира и рейки (линейки) | | а) условная плоскость проведена через три точки I, II, IV контролируемой поверхности  ; где  ;  ; zi = lI - li; |
- бокового нивелирования с помощью теодолита и рейки (линейки) | | б) условная плоскость проведена через диагональ I - III параллельно диагонали II - IV zi = lI - li; |
Измерения методами фотограмметрии, лазерного сканирования или безотражательными электронными тахеометрами комплекса геометрических параметров при выполнении архитектурно-технических обмеров и приемочном контроле строительных конструкций, зданий и сооружений | | а) аналитический метод: вычисление пространственных координат точек объекта по формулам соответствующего случая съемки и определение по координатам действительных значений геометрических параметров; б) аналоговый метод: вычерчивание на специальном приборе графического изображения проекций объекта в соответствующем масштабе и определение геометрических параметров с точностью графических построений |
| Приказ Министерства промышленности и торговли Российской Федерации от 15 декабря 2015 г. N 4091 "Об утверждении Порядка аттестации первичных референтных методик (методов) измерений, референтных методик (методов) измерений и методик (методов) измерений и их применения" |
УДК 699.81.001.63:006.354 | | |
Ключевые слова: система обеспечения точности, геометрические параметры в строительстве, правила, выполнение измерений параметров, здания, сооружения |