Главная // Актуальные документы // ГОСТ Р (Государственный стандарт)СПРАВКА
Источник публикации
М.: Стандартинформ, 2021
Примечание к документу
Документ
введен в действие с 01.11.2021.
Название документа
"ГОСТ Р 59495-2021. Национальный стандарт Российской Федерации. Конструкции ограждающие светопрозрачные. Крепление оконных и балконных дверных блоков в световых проемах. Правила и контроль выполнения работ"
(утв. и введен в действие Приказом Росстандарта от 02.07.2021 N 609-ст)
"ГОСТ Р 59495-2021. Национальный стандарт Российской Федерации. Конструкции ограждающие светопрозрачные. Крепление оконных и балконных дверных блоков в световых проемах. Правила и контроль выполнения работ"
(утв. и введен в действие Приказом Росстандарта от 02.07.2021 N 609-ст)
Утвержден и введен в действие
агентства по техническому
регулированию и метрологии
от 2 июля 2021 г. N 609-ст
НАЦИОНАЛЬНЫЙ СТАНДАРТ РОССИЙСКОЙ ФЕДЕРАЦИИ
КОНСТРУКЦИИ ОГРАЖДАЮЩИЕ СВЕТОПРОЗРАЧНЫЕ
КРЕПЛЕНИЕ ОКОННЫХ И БАЛКОННЫХ ДВЕРНЫХ БЛОКОВ
В СВЕТОВЫХ ПРОЕМАХ
ПРАВИЛА И КОНТРОЛЬ ВЫПОЛНЕНИЯ РАБОТ
Translusent enclosing structures. Fastening for window
and balcony door sets. Rules and check
for fulfillment of works
ГОСТ Р 59495-2021
Дата введения
1 ноября 2021 года
1 РАЗРАБОТАН Ассоциацией "Национальный Оконный Союз", Ассоциацией производителей и поставщиков материалов для монтажа окон, Акционерным обществом "Центр методологии нормирования и стандартизации в строительстве" (АО "ЦНС")
2 ВНЕСЕН Техническим комитетом по стандартизации ТК 400 "Производство работ в строительстве. Типовые технологические и организационные процессы"
3 УТВЕРЖДЕН И ВВЕДЕН В ДЕЙСТВИЕ
Приказом Федерального агентства по техническому регулированию и метрологии от 2 июля 2021 г. N 609-ст
4 ВВЕДЕН ВПЕРВЫЕ
Правила применения настоящего стандарта установлены в статье 26 Федерального закона от 29 июня 2015 г. N 162-ФЗ "О стандартизации в Российской Федерации". Информация об изменениях к настоящему стандарту публикуется в ежегодном (по состоянию на 1 января текущего года) информационном указателе "Национальные стандарты", а официальный текст изменений и поправок - в ежемесячном информационном указателе "Национальные стандарты". В случае пересмотра (замены) или отмены настоящего стандарта соответствующее уведомление будет опубликовано в ближайшем выпуске ежемесячного информационного указателя "Национальные стандарты". Соответствующая информация, уведомление и тексты размещаются также в информационной системе общего пользования - на официальном сайте Федерального агентства по техническому регулированию и метрологии в сети Интернет (www.gost.ru)
Настоящий стандарт разработан впервые для создания национальной системы правил выполнения работ по устройству светопрозрачных ограждающих конструкций объектов гражданского и промышленного строительства.
Стандарт разработан на основе и в развитие действующей национальной системы стандартизации. Настоящий стандарт направлен на реализацию в отрасли светопрозрачных конструкций положений Федерального
закона от 27 декабря 2002 г. N 184-ФЗ "О техническом регулировании", Федерального
закона от 29 июня 2015 г. N 162-ФЗ "О стандартизации в Российской Федерации".
Настоящий стандарт разработан для обеспечения механической безопасности окон в соответствии со
статьей 7 Федерального закона от 30 декабря 2009 г. N 384-ФЗ "Технический регламент о безопасности зданий и сооружений", чтобы в процессе строительства и эксплуатации не возникало угрозы причинения вреда жизни или здоровью людей, имуществу физических или юридических лиц.
Задачей стандарта является разработка правил производства работ по креплению оконных и балконных дверных блоков в световых проемах зданий и сооружений, обеспечивающих безопасность и высокие эксплуатационные характеристики, а также обеспечить выполнение требований проектной и рабочей документации при производстве монтажных и строительных работ по устройству окон и балконных дверей.
Положения стандарта систематизируют и унифицируют существующие требования к правилам производства монтажных работ по креплению оконных и балконных дверных блоков в световых проемах. Стандарт конкретизирует положения
ГОСТ 34378 в части крепления оконных блоков после установки их в проектное положение в соответствии с чертежами рабочей документации. Стандарт устанавливает требования к результатам указанных работ и методам контроля за выполнением указанных работ.
Стандарт устанавливает термины и определения, которые не установлены другими стандартами.
Настоящий стандарт предназначен для организаций и специалистов, осуществляющих монтаж оконных и балконных дверных блоков, разработку рабочей документации на крепление оконных блоков в стеновых проемах различного конструктивного исполнения.
При разработке стандарта использованы результаты научных исследований, отечественный и зарубежный опыт.
1.1 Настоящий стандарт распространяется на работы по креплению оконных и балконных дверных блоков (далее - оконных блоков) к строительному основанию при их монтаже в стеновых (световых) проемах наружных стен отапливаемых помещений жилых и общественных зданий.
1.2 Настоящий стандарт устанавливает правила крепления оконных блоков и контроль за качеством их выполнения при новом строительстве, реконструкции и капитальном ремонте объектов капитального строительства с различными типами несущих ограждающих конструкций.
1.3 Стандарт не распространяется на мансардные оконные конструкции, а также на окна специального назначения в части дополнительных требований к пожаробезопасности, защиты от взлома, устойчивости к воздействию взрыва.
1.4 Настоящий стандарт надлежит использовать совместно с
ГОСТ 34378.
В настоящем стандарте использованы нормативные ссылки на следующие документы:
ГОСТ 2.102 Единая система конструкторской документации. Виды и комплектность конструкторских документов
ГОСТ 9.303 Единая система защиты от коррозии и старения. Покрытия металлические и неметаллические неорганические. Общие требования к выбору
ГОСТ 21.110 Система проектной документации для строительства. Спецификация оборудования, изделий и материалов
ГОСТ 21.501 Система проектной документации для строительства. Правила выполнения рабочей документации архитектурных и конструктивных решений
ГОСТ 166 Штангенциркули. Технические условия
ГОСТ 427 Линейки измерительные металлические. Технические условия
ГОСТ 5090 Изделия скобяные для деревянных окон и дверей. Технические условия
ГОСТ 7502 Рулетки измерительные металлические. Технические условия
ГОСТ 19223 Светодальномеры геодезические. Общие технические условия
ГОСТ 21964 Внешние воздействующие факторы. Номенклатура и характеристики
ГОСТ 23166 Блоки оконные. Общие технические условия
ГОСТ 24297 Верификация закупленной продукции. Организация проведения и методы контроля
ГОСТ 26602.1 Блоки оконные и дверные. Методы определения сопротивления теплопередаче
ГОСТ 26883 Внешние воздействующие факторы. Термины и определения
ГОСТ 27751 Надежность строительных конструкций и оснований. Основные положения
ГОСТ 33793 Конструкции фасадные светопрозрачные. Методы определения сопротивления ветровой нагрузке
ГОСТ 34378-2018 Конструкции ограждающие светопрозрачные. Окна и двери. Производство монтажных работ, контроль и требования к результатам работ
ГОСТ Р 2.601 Единая система конструкторской документации. Эксплуатационные документы
ГОСТ Р 2.610 Единая система конструкторской документации. Правила выполнения эксплуатационных документов
ГОСТ Р 21.101 Система проектной документации для строительства. Основные требования к проектной и рабочей документации
ГОСТ Р 51872 Документация исполнительная геодезическая. Правила выполнения
ГОСТ Р 54858 Конструкции фасадные светопрозрачные. Метод определения приведенного сопротивления теплопередаче
ГОСТ Р 56728 Здания и сооружения. Методика определения ветровых нагрузок на ограждающие конструкции
ГОСТ Р 58939 Система обеспечения точности геометрических параметров в строительстве. Правила выполнения измерений. Элементы заводского изготовления
ГОСТ Р 58941 Система обеспечения точности геометрических параметров в строительстве. Правила выполнения измерений. Общие положения
ГОСТ Р 58943 Система обеспечения точности геометрических параметров в строительстве. Контроль точности
ГОСТ Р 58944 Система обеспечения точности геометрических параметров в строительстве. Функциональные допуски
ГОСТ Р 58945 Система обеспечения точности геометрических параметров в строительстве. Правила выполнения измерений параметров зданий и сооружений
ГОСТ Р ИСО 10140-1 Акустика. Лабораторные измерения звукоизоляции элементов зданий. Часть 1. Правила испытаний строительных изделий определенного вида
ГОСТ Р ИСО 10140-2 Акустика. Лабораторные измерения звукоизоляции элементов зданий. Часть 2. Измерение звукоизоляции воздушного шума
ГОСТ Р ИСО 10140-4 Акустика. Лабораторные измерения звукоизоляции элементов зданий. Часть 4. Методы и условия измерений
| | ИС МЕГАНОРМ: примечание. В официальном тексте документа, видимо, допущена опечатка: свод правил "Положение об авторском надзоре за строительством зданий и сооружений" имеет номер СП 246.1325800.2016, а не СП 246.1325800.2015. | |
Примечание - При пользовании настоящим стандартом целесообразно проверить действие ссылочных стандартов (сводов правил) в информационной системе общего пользования - на официальном сайте Федерального агентства по техническому регулированию и метрологии в сети Интернет или по ежегодному информационному указателю "Национальные стандарты", который опубликован по состоянию на 1 января текущего года, и по выпускам ежемесячного информационного указателя "Национальные стандарты" за текущий год. Если заменен ссылочный документ, на который дана недатированная ссылка, то рекомендуется использовать действующую версию этого документа с учетом всех внесенных в данную версию изменений. Если заменен ссылочный документ, на который дана датированная ссылка, то рекомендуется использовать версию этого документа с указанным выше годом утверждения (принятия). Если после утверждения настоящего стандарта в ссылочный документ, на который дана датированная ссылка, внесено изменение, затрагивающее положение, на которое дана ссылка, то это положение рекомендуется применять без учета данного изменения. Если ссылочный документ отменен без замены, то положение, в котором дана ссылка на него, рекомендуется применять в части, не затрагивающей эту ссылку. Сведения о действии сводов правил можно проверить в Федеральном информационном фонде технических регламентов и стандартов.
3 Термины, определения и сокращения
3.1 В настоящем стандарте применены термины по
СП 48.13330.2019,
ГОСТ 34378, а также следующие термины с соответствующими определениями:
3.1.1
анкер: Крепежное изделие промышленного изготовления, предназначенное для крепления строительных элементов, материалов, конструкций и оборудования к строительному основанию. |
3.1.2
анкерное крепление (анкерное соединение): Узел строительной конструкции, конструктивно представляющий анкер или анкерную группу, установленные в проектное положение в строительном основании, при этом анкер или каждый из анкерной группы способен воспринимать воздействующие на него нагрузки и передавать их в строительное основание. |
3.1.3 анкеровка: Технологический процесс по закреплению анкера в строительном основании тем или иным способом.
3.1.4
глубина анкеровки: Линейный размер анкерного крепления, обозначающий расстояние от поверхности строительного основания до наиболее глубоко находящейся в строительном основании точки, в которой анкер передает нагрузку в строительное основание. |
Примечание - Глубина анкеровки не соответствует глубине отверстия в основании или глубине погружения конечной точки анкера.
3.1.5
двухслойная стена: Конструкция, состоящая из основного и лицевого слоев, соединенных между собой сетками, связями или прокладными рядами. |
3.1.6
дюбель: Изделие из полимеров, используемое в качестве распираемого элемента анкера. |
3.1.7 крепежный элемент (изделие): Специальное металлическое изделие (метиз) или приспособление промышленного изготовления для механического соединения и закрепления различных элементов конструкции друг с другом.
3.1.8 кронштейн (анкерная пластина): Металлическая штучная деталь конструкции крепления, закрепляемая на строительном основании одним или несколькими (по необходимости) анкерами и удерживающая оконную коробку на расстоянии от основания, передающая через анкерные крепления нагрузки на строительное основание.
3.1.9 ленточное остекление: Остекление, состоящее из нескольких отдельных оконных блоков, выстроенных в горизонтальном направлении, примыкающих и соединенных между собой с общей габаритной шириной, равной ширине помещения, и высотой не более 2/3 высоты помещения в чистоте.
3.1.10 марка крепежного изделия (анкера): Уникальное условное обозначение, позволяющее однозначно идентифицировать производителя анкера, тип анкера и его геометрические размеры.
Примечание - Марка анкера содержит наименование и артикул производителя.
3.1.11
многослойная (трехслойная) стена: Конструкция, состоящая из двух слоев кладки и слоя теплоизоляционных материалов, соединенных гибкими связями. |
3.1.12 несущая способность анкера (на вытягивание): Характеристика механической безопасности анкера, зависящая от свойств анкера, материала основания и типа взаимодействия анкера с основанием, которая определяется сопротивлением анкерного крепления (значением усилия в нем) нагрузке, соответствующей окончанию зоны упругих деформаций.
3.1.13 несущая способность анкерного крепления (на вытягивание): Усилие, которое способен воспринимать анкер, обеспечивая технические характеристики анкерного крепления, полученные при проведении испытаний на вырыв из строительного основания, непосредственно на объекте капитального строительства.
Примечание - Показатель несущей способности анкерного крепления зависит от физико-механических свойств анкера, материала основания и типа взаимодействия анкера с основанием и определяется сопротивлением анкерного крепления действующим нагрузкам.
3.1.14
несущие многослойные (трехслойные или двухслойные) стены с гибкими связями: Многослойные стены с несущим внутренним слоем и ненесущим наружным (лицевым) слоем, который опирается на перекрытие или стальные кронштейны. |
3.1.15 пултрузионный композит: Полимерный композиционный материал, армированный стеклянными или базальтовыми волокнами, получаемый методом пултрузии.
3.1.15.1
пултрузия (протяжка): Процесс изготовления изделий с постоянным профилем поперечного сечения непрерывным протягиванием пропитанных термореактивной смолой непрерывных волокон армирующего наполнителя через нагретую фильеру. |
3.1.16 распираемый элемент анкера: Часть анкера (гильза, дюбель, втулка), принимающая усилие от распорного элемента и образующая за счет сил трения надежное закрепление в отверстии в строительном основании.
3.1.17 распорный элемент анкера: Часть анкера, предназначенная для создания усилия на распираемый элемент.
3.1.18 системная компания (системодержатель): Организация, юридическое лицо, являющиеся разработчиком и держателем нормативных документов, технической и технологической документации по производству крепежных элементов (изделий), а также владеющая документами, подтверждающими прохождение процедуры подтверждения пригодности в области строительства в установленном порядке.
Примечания
1 Системная компания несет ответственность за соответствие крепежных элементов системы заявленным параметрам при условии использования материалов, комплектующих изделий и соблюдения технологии монтажа в соответствии с нормативными документами, технической и технологической документацией разработчика.
2 Системодержатель комплектует крепежные средства для конкретного объекта в соответствии с заказом (техническим заданием) либо поручает комплектацию системы или части ее третьим лицам.
3.1.19 системные материалы: Материалы и изделия, перечень которых определяется нормативными документами и технологической документацией системной компании, обладающие конкретными заявленными значениями и позволяющие использовать их в составе системы на основе результатов, полученных при ее технической апробации.
3.1.20 сквозной монтаж: Монтаж, при котором крепежный элемент проходит через брусок закрепляемой оконной коробки.
3.1.21 (строительное) основание: Элемент несущей ограждающей конструкции здания, к которому с помощью крепежных изделий крепятся оконные коробки и который воспринимает передаваемые на него нагрузки от окна (штукатурный слой не входит в состав основания).
3.1.22
температурный коэффициент линейного расширения (ТКЛР), К-1: Относительное изменение длины образца при изменении его температуры на один градус. |
3.1.23 строительный шуруп: Крепежное изделие в форме стержня с наружной специальной резьбой, резьбовым коническим/сверлообразным концом и головкой на другом конце.
3.2 В настоящем стандарте применены следующие сокращения:
НД - нормативный документ;
ОБ - оконный блок;
ОТК - отдел технического контроля;
ПВХ - поливинилхлорид;
ПОС - проект организации строительства;
ППР - проект производства работ;
СМР - строительно-монтажные работы;
ТК - технологическая карта.
4.1 Организация производства работ по креплению оконных блоков при выполнении СМР по устройству окон и балконных дверей должна соответствовать положениям
СП 48.13330.2019 и осуществляться согласно требованиям
ГОСТ 34378 и настоящего стандарта.
4.2 СМР по устройству окон и балконных дверей, включающие крепление оконных блоков, выполняют на основании договора с генеральной подрядной организацией, реализуя базовые организационные функции подрядной организации в соответствии с
пунктом 4.9 СП 48.13330.2019.
| | ИС МЕГАНОРМ: примечание. В официальном тексте документа, видимо, допущена опечатка: имеется в виду СП 48.13330.2019, а не СП 48.133330.2019. | |
4.3 При выполнении СМР по устройству окон и балконных дверей в установленном порядке (например, приказом по организации) назначают персонально ответственных за строительство должностных лиц с учетом требований СП 48.133330.2019
(пункт 4.13):
- ответственного по вопросам строительного контроля;
- ответственного производителя работ.
4.4 До начала СМР по устройству окон и балконных дверей на строящемся (реконструируемом, ремонтируемом) здании подрядчик получает от застройщика (технического заказчика) необходимые разделы проектной документации, включая ПОС, утвержденные и прошедшие экспертизу, и рабочую документацию на светопрозрачные конструкции - окна и балконные двери (ГОСТ 34378-2018,
приложение В), оформленные в соответствии с
ГОСТ Р 21.101,
ГОСТ 21.110,
ГОСТ 21.501.
Примечания
1 В соответствии с
пунктом 5.9 СП 48.13330.2019 разработку комплектов рабочей документации обеспечивает застройщик (технический заказчик) с привлечением лица, осуществляющего подготовку проектной документации (проектной организации).
2 В соответствии с
пунктом 4.10 СП 48.13330.2019 подготовку комплектов рабочей документации в случае соответствующих обязательств по договору с застройщиком (техническим заказчиком) осуществляет проектная организация.
| | ИС МЕГАНОРМ: примечание. В официальном тексте документа, видимо, допущена опечатка: свод правил имеет номер СП 246.1325800.2016, а не СП 246.1325800.2015. | |
3 Подрядчик на основании полученной проектной документации может самостоятельно разработать отсутствующую рабочую документацию на СМР по устройству окон и балконных дверей, с учетом
приложения А стандарта, согласовав ее с застройщиком и проектировщиком в соответствии с
СП 246.1325800.2015.
4.5 Работы по креплению оконных блоков выполняют по технологическим картам в соответствии с рабочей документацией и ППР.
4.6 Данные о выполнении работ по креплению оконных блоков ежедневно вносят в журнал работ по устройству окон и балконных дверей (см. ГОСТ 34378-2018,
приложение А), а также фиксируют по ходу монтажа оконных блоков их положение на геодезических исполнительных схемах в соответствии с правилами
ГОСТ Р 51872.
4.7 Качество крепления оконных блоков обеспечивают операционным контролем технологических процессов подготовительных и основных работ, а также контролем при приемке работ. По результатам операционного контроля технологических процессов крепления оконных блоков составляют акты освидетельствования скрытых работ.
4.8 Перед проведением работ по устройству окон и балконных дверей подрядчик проводит входной контроль проектной (необходимые разделы) и рабочей документации и применяемых материалов и изделий.
5 Подготовительные работы
5.1.1 В соответствии с
пунктом 9.3 СП 48.13330.2019 подрядчик, осуществляющий СМР, в составе строительного контроля
[2],
[3] выполняет:
- входной контроль рабочей документации, предоставленной застройщиком (техническим заказчиком);
- входной контроль применяемых строительных материалов, изделий, конструкций, полуфабрикатов в необходимом объеме согласно действующей нормативной документации
(СП 70.13330.2012), положениям договора с застройщиком (техническим заказчиком), включая ведение журнала входного контроля.
5.1.2 Подготовительные мероприятия должны быть закончены до начала производства монтажных работ. Окончание подготовительных работ на рабочем месте должно быть оформлено актом.
5.2 Входной контроль проектной и рабочей документации
5.2.1 При входном контроле ПД подрядчик осуществляет проверку достаточности содержащейся в ней технической информации для обеспечения механической безопасности оконных конструкций при производстве работ и эксплуатации здания.
Примечание - Проектная документация здания или сооружения является основным документом, обеспечивающим безопасность здания. В соответствии со
статьей 16 [4] выполнение требований механической безопасности в проектной документации здания или сооружения должно быть обосновано расчетами и иными способами, указанными в
части 6 статьи 15 [4], подтверждающими, что в процессе строительства и эксплуатации здания или сооружения его строительные конструкции и основание не достигнут предельного состояния по прочности и устойчивости.
5.2.2 Перед выполнением монтажных работ по полученной от застройщика рабочей документации по заполнению стеновых (световых) проемов здания оконными блоками подрядчик осуществляет ее входной контроль (аудит). Входной контроль должен включать проверку наличия и содержания рабочей документации, сопроводительных документов поставщиков, содержащих сведения о качестве поставленной ими продукции и о ее соответствии требованиям рабочей документации, технических регламентов, стандартов и сводов правил.
В соответствии с ГОСТ 34378-2018 (
пункты 5.1.2 -
5.1.6) при осуществлении входного контроля полученной от заказчика (застройщика) рабочей документации подрядчик проверяет соответствие крепления оконных блоков с точки зрения безопасности выполнения работ и эксплуатации окон, а также анализирует рабочую документацию в соответствии с
пунктом 5.17 СП 48.13330.2019.
Долговечность элементов крепления должна соответствовать расчетному сроку службы здания и сооружения по
ГОСТ 27751.
Расчет по предельным состояниям крепежных элементов следует выполнять исходя из эксплуатационных воздействий на конкретные изделия по
приложению А в соответствии с требованиями
СП 16.13330.2017,
СП 20.13330.2016,
СП 64.13330.2017,
СП 128.13330.2016, без учета подкрепления оконного блока материалами монтажного шва. В случае невозможности определения ветровых нагрузок на оконный блок по
СП 20.13330.2016, а также для оконных блоков высотных зданий/сооружений ветровые нагрузки следует определять по
ГОСТ Р 56728. Применяемые при расчетах программные продукты должны быть сертифицированы.
Узлы крепления оконных блоков к несущим конструкциям здания должны обеспечивать компенсацию, необходимую при деформациях здания, а также температурно-климатических воздействиях на фасадную систему, без возникновения в элементах крепления дополнительных внутренних напряжений.
5.2.3 Подрядчик, по завершении входного контроля (аудита) переданной ему для осуществления СМР рабочей документации, передает застройщику (техническому заказчику) перечень выявленных в ней недостатков, проверяет их устранение. Срок осуществления входного контроля рабочей документации устанавливается в договоре, в согласованном графике выдачи комплектов рабочей документации.
5.2.4 Монтажные зазоры, заполняемые упругими материалами между откосами стенового проема и поверхностью оконной коробки, предусматривают для компенсации возможных термических деформаций оконного блока при его нагреве или охлаждении и/или деформациях ограждающей конструкцией. Величину минимального монтажного зазора определяют исходя из необходимости обеспечения работы крепежных изделий на вытягивание (вырывание) и сдвиг (срез), а также безотказной работы герметизирующих слоев монтажного шва.
5.2.5 Подрядчик монтажных работ оценивает возможность реализации рабочей документации по монтажу окон и балконных дверей известными методами, необходимость разработки и применения новых технологических приемов, возможность приобретения комплектующих и материалов, предусмотренных в рабочей документации.
5.2.6 Рабочая документация, переданная подрядчику в двух экземплярах на электронном и бумажном носителях, должна быть допущена к производству работ застройщиком (генподрядчиком) с подписью ответственного лица путем простановки штампа на каждом листе. Рабочая документация на электронном носителе должна быть заверена электронной подписью.
5.2.7 Получение и анализ документации от заказчика осуществляют при непосредственном участии ответственного представителя подрядчика и производителя работ по устройству окон и балконных дверей. На них также возлагается приемка фронта работ по устройству окон и балконных дверей от застройщика (заказчика).
5.3.1 Для приемки фронта работ подрядчик должен ознакомиться с исполнительной геодезической документацией фасадов строящегося (реконструируемого, ремонтируемого) объекта капитального строительства и соответствием требованиям рабочей документации.
5.3.2 Приемка исполнительной документации на крепление оконных блоков включает проверку соответствия фактически выполненных работ рабочим чертежам.
5.3.3.1 Геодезический контроль точности геометрических параметров расположения заключается в инструментальной проверке соответствия их положения проектным требованиям
[5].
5.3.3.2 Геодезические работы следует выполнять средствами измерений необходимой точности.
5.3.3.3 Геодезические приборы должны быть поверены и откалиброваны в соответствии с требованиями
[6].
5.3.3.4 Организацию проведения поверок следует осуществлять в соответствии с правилами и периодичностью поверок, регламентируемых требованиями нормативных документов по проведению поверки геодезических приборов с уточнением по инструкциям производителей приборов
[6],
[7].
5.3.3.5 При подготовке к измерениям должен быть обеспечен свободный и безопасный доступ к объекту измерений и возможность размещения средств измерений.
5.3.3.6 Места измерений должны быть очищены, размечены или маркированы. Средства измерений должны быть проверены и подготовлены к использованию в соответствии с инструкцией по их эксплуатации согласно
СП 126.13330.2017.
5.3.5 Допускаемые отклонения поверхности основания при проверке метровым уровнем
(ГОСТ Р 58514) по горизонтали не должны превышать +/- 2,0 мм. Если основание не отвечает указанным требованиям, выступающие участки удаляют шлифовкой, а впадины и околы штукатурят.
5.3.6 Работы по креплению оконных блоков в стеновом (световом) проеме, выполняемые в соответствии с ПОС по рабочей документации (с учетом положений настоящего стандарта и системной компании крепежных элементов), руководствуясь положениями
СП 48.13330.2019, предусматривают выполнение подготовительных работ в соответствии с
пунктами 5.2.1 -
5.2.3 ГОСТ 34378-2018 для оценки соответствия фронта работ требованиям рабочей документации, включая определение соответствия величин монтажных зазоров правилам крепления и рекомендациям системодателей крепежных изделий и профильных систем.
5.4 Входной контроль элементов крепления
5.4.1 В соответствии с
подразделом 5.4 ГОСТ 34378-2018 и
ГОСТ 24297 до начала выполнения работ по креплению оконных блоков подрядчик производит приемку комплектующих крепежных изделий от поставщика. При приемке изделий контролируют соответствие поставленных изделий типу и типоразмеру, указанным в рабочей документации, целостность упаковки, комплектность, наличие паспортов качества и свидетельств о качестве продукции.
5.4.2 Каждая партия элементов крепления, поставляемых на объект, должна сопровождаться документом о качестве (паспортом), имеющим штамп, подтверждающий приемку техническим контролем предприятия-изготовителя, декларацией соответствия, монтажным чертежом по
ГОСТ 2.102 и эксплуатационной документацией в соответствии с
ГОСТ Р 2.601 и
ГОСТ Р 2.610.
Примечания
1 Партия - группа строительных изделий одного наименования и типоразмера, изготовленных в течение определенного промежутка времени.
2 Допускается использование документов в электронном виде в соответствии с требованиями действующих нормативных документов.
5.4.3 Контроль комплектности поставки элементов крепления осуществляется по спецификациям, входящим в состав рабочей документации.
Примечания
1 Выборочно (от 5% до 10% от поставляемого количества упаковок) проводится визуальный осмотр на наличие следов коррозии, физической целостности и механических повреждений изделий. При выявлении указанных дефектов упаковку осматривают полностью, а дефектные изделия бракуют и отправляют в ОТК поставщика.
2 По результатам приемо-сдаточного контроля составляют соответствующий акт отбраковки изделий по форме, утвержденной поставщиком.
5.4.4 Крепежные элементы должны соответствовать показателям, приведенным в проектной документации на строительный объект, рабочей документации на окна и рабочей документации на устройство окон и балконных дверей.
5.4.5 При выявлении несоответствия показателей качества поставленных крепежных изделий сопроводительным документам системодержателя и поставщика, рекомендуется организовать определение этих показателей в специализированной испытательной лаборатории (центре).
5.4.6 При входном контроле крепежных элементов поштучно, методом сплошного контроля проверяют:
- комплектность и их соответствие рабочей документации;
- соответствие полученных результатов измерений заданным размерам рабочей и исполнительной документации;
- внешний вид элементов и их комплектующих.
5.4.7 Качество комплектующих и материалов, используемых при монтаже окон, проверяют на соответствие требованиям нормативной документации, техническим условиям и техническим свидетельствам на поставляемую продукцию.
Пригодность крепежа, используемого при монтаже и обеспечивающего безопасность, должна быть подтверждена наличием соответствующего технического свидетельства, предусмотренного спецификацией рабочей документации.
5.4.8 В случае выявления при входном контроле крепежных элементов, материалов и комплектующих, не соответствующих требованиям, установленным в проектной и рабочей документации и нормативных документах, их применение для монтажных работ не допускается.
5.4.9 Не соответствующие установленным требованиям крепежные элементы и монтажные материалы следует отбраковать, изолировать и промаркировать.
Примечание - В соответствии с действующим законодательством может быть принято одно из трех решений:
- поставщик проводит замену несоответствующих крепежных элементов, комплектующих и материалов соответствующими;
- несоответствующие изделия и комплектующие дорабатывают;
- несоответствующие элементы, комплектующие и материалы могут быть применены после обязательного согласования с застройщиком (заказчиком), проектировщиком и органом государственного контроля (надзора) по его компетенции.
5.4.10 Результаты входного контроля фиксируют в журналах входного контроля и/или лабораторных испытаний.
5.4.11 Крепежные изделия в заводских упаковках хранят в закрытом, сухом и проветриваемом помещении крытых складов с исключением возможности прямого попадания атмосферной влаги и солнечных лучей.
5.4.12 Складирование и хранение применяемых для крепления материалов и изделий в соответствии с требованиями стандартов и технических условий на материалы и изделия обеспечивает заказчик (генподрядчик) СП 48.13330.2019
(пункт 6.10).
5.4.13 Элементы крепления по истечении установленного стандартами или техническими условиями срока хранения перед применением подлежат контрольной проверке службой контроля изготовителя или в аккредитованной лаборатории. Право давать заключение на пригодность материалов по результатам проверки имеют изготовители материалов и аккредитованные лаборатории.
Не допускается применение материалов с истекшим сроком годности, не имеющих заключение о пригодности.
5.4.14 В случае, если в ходе проверки соблюдения правил складирования и хранения выявлены нарушения установленных норм и правил, применение элементов крепления, хранившихся с нарушением, для устройства креплений не допускается до подтверждения соответствия показателей их качества требованиям рабочей документации, стандартов, технических условий и сводов правил.
6 Производство крепления оконных блоков в стеновом проеме
6.1 Основные требования и правила
6.1.1 Порядок работ по креплению оконных блоков должен быть установлен в технологических картах и ППР. Место установки крепежных элементов должно соответствовать рабочей документации.
Крепление оконных и дверных блоков следует осуществлять в соответствии с рабочей документацией: шурупами-саморезами, распорными рамными (анкерными) дюбелями, универсальными дюбелями, гибкими анкерными пластинами. В необходимых случаях применяя кронштейны или крепежные системы.
6.1.2 Вид и количество крепежных элементов определяют на основании расчета устойчивости оконного блока к восприятию проектных эксплуатационных нагрузок и воздействия.
6.1.3 Характеристики крепежных элементов при сквозном креплении выбирают из условия расчета на изгиб защемленной балки.
6.1.4 Характеристики анкерных пластин выбирают из условия расчета на смятие при сжатии в продольном направлении.
6.1.5 Характеристики анкеров, применяемых при креплении анкерных пластин, выбирают из условия расчета на срез.
6.1.6 Характеристики опорных кронштейнов, воспринимающих в дополнение к эксплуатационным нагрузкам вес оконного блока, выбирают из условия расчета на изгиб двухопорной консольной балки.
6.1.7 Характеристики анкеров, применяемых при креплении опорных кронштейнов, выбирают исходя из результатов испытаний на вырыв. Основание, используемое при проведении испытаний, должно соответствовать проектному.
6.1.8 Металлические крепежные детали окон и дверей должны соответствовать
ГОСТ 5090 и иметь антикоррозионное покрытие, предусмотренное проектной документацией. В помещениях с влажным и мокрым режимами (бани, душевые, крытые бассейны и т.д.) необходимо применять крепежные детали из нержавеющей стали или оцинкованной стали с толщиной антикоррозионного покрытия не менее 60 мкм.
6.1.9 При применении распорных анкеров и пластиковых дюбелей просверленные в основании отверстия требуется очистить от осколков и буровой муки.
6.1.10 Глухие (не сквозные) отверстия должны иметь глубину, превышающую проектную глубину анкерения.
Рекомендуемые минимальные заглубления шурупов и дюбелей приведены в
таблице 1.
Наименование стенового материала | Минимальное заглубление, мм |
Бетон | 40 |
Кирпич полнотелый | 40 |
Блоки из пористого природного камня | 50 |
Легкий бетон | 60 |
6.1.11 Для заделки дюбелей в стеновом проеме выполняют сверление отверстий. Режим сверления выбирают в зависимости от прочности материала стены. Различают следующие режимы сверления:
- режим чистого сверления (без удара) рекомендуется при подготовке отверстий в пустотелом кирпиче, легких бетонных блоках, полимербетонах;
- режим сверления с легкими ударами рекомендуется при сверлении отверстий в полнотелом кирпиче;
- режим перфорирования рекомендуется для стен из бетона с плотностью более 700 кг/м и конструкций из натуральных камней.
6.1.12 Разметку для сверления отверстий требуется производить с учетом краевого отступа и межосевого расстояния.
6.1.13 При выполнении работ по креплению оконных (дверных) блоков должны применяться машины, механизированный и ручной инструмент, а также приспособления, наименование и назначение которых приведены в ТК.
6.1.14 При затяжке всего крепежа использовать шуруповерты с тарированным моментом. При применении в конструкции коробки оконного блока замкнутого армирующего профиля, головки шурупов или дюбелей оставлять на поверхности фальца. При применении п-образного армирующего профиля допускается заглублять головки шурупов и дюбелей внутрь центральной камеры коробки оконного блока, закрыв отверстие пластиковой пробкой. При использовании статических соединителей, а также при установке входных дверей головки крепежа довести до металлического вкладыша, а отверстия закрыть пластиковыми пробками.
6.1.15 При сквозном креплении нижнего горизонтального бруска коробки рамы зазор между отверстиями и головками дюбелей, во избежание попадания воды внутрь, обработать герметиком.
6.1.16 Описание типов крепежных изделий приведено в
приложениях Б и
В.
6.2 Крепление оконных блоков
6.2.1 Крепление деревянных и дерево-алюминиевых оконных блоков
6.2.1.1 Количество крепежных элементов выбирается в соответствии с прочностным расчетом и рекомендациями системодателя профильной системы.
6.2.1.2 При сквозном креплении и креплении посредством анкерных пластин: расстояние от фальца углового соединения профилей коробки оконного блока составляет от 150 до 180 мм, от фальца импоста - от 120 до 180 мм, расстояние между крепежными элементами - не более 800 мм.
6.2.1.3 Анкерная пластина фиксируется на торцевой поверхности коробки оконного блока посредством шурупов с острым концом, крепление анкерной пластины к основанию производится не менее чем на два анкера, соответствующих данному основанию.
6.2.2 Крепление оконных блоков из поливинилхлоридных профилей
6.2.2.1 Количество крепежных элементов выбирается в соответствии с прочностным расчетом и рекомендациями системодателя профильной системы.
6.2.2.2 При сквозном креплении изделий из ПВХ белого цвета: расстояние от фальца углового соединения профилей коробки оконного блока составляет от 150 до 180 мм, от фальца импоста - от 120 до 180 мм, расстояние между крепежными элементами - не более 700 мм.
При сквозном креплении изделий из цветных ПВХ профилей: расстояние от фальца углового соединения профилей коробки оконного блока составляет от 250 до 270 мм, от фальца импоста - от 200 до 250 мм, расстояние между крепежными элементами - не более 600 мм.
6.2.2.3 При креплении посредством анкерных пластин: расстояние от фальца углового соединения профилей коробки оконного блока составляет от 50 до 180 мм, от фальца импоста - не более 180 мм, расстояние между крепежными элементами - не более 700 мм для изделий из ПВХ белого цвета и не более 600 мм для изделий из цветных ПВХ профилей.
Анкерную пластину фиксируют на торцевой поверхности коробки оконного блока посредством шурупов со сверлом, крепление анкерной пластины к основанию производят не менее чем на два анкера, соответствующих данному основанию.
6.2.3 Крепление оконных блоков из алюминиевых сплавов
6.2.3.1 Количество крепежных элементов выбирают в соответствии с прочностным расчетом и рекомендациями системодателя профильной системы.
При сквозном креплении и креплении посредством анкерных пластин: расстояние от фальца углового соединения профилей коробки оконного блока составляет от 150 до 180 мм, от фальца импоста - от 120 до 180 мм, расстояние между крепежными элементами - не более 700 мм.
| | ИС МЕГАНОРМ: примечание. В официальном тексте документа, видимо, допущена опечатка: имеется в виду СП 43.13330.2012, а не СП 43.13330.2017. | |
6.2.3.2 Металлические анкеры для крепления оконных блоков из алюминиевых сплавов применяют согласно требованиям
СП 16.13330.2017 и
СП 43.13330.2017. Для соединений с использованием металлических анкеров предусматривают мероприятия по защите их от контактной коррозии в соответствии с
ГОСТ 9.303. В случае применения металлических анкеров из нержавеющей стали дополнительные мероприятия по защите алюминия от контактной коррозии не реализуют.
6.2.3.3 Анкерную пластину фиксируют на торцевой поверхности коробки оконного блока посредством шурупов со сверлом, крепление анкерной пластины к основанию производят не менее чем на два анкера, соответствующих данному основанию.
6.2.4 Крепление стальных оконных блоков
6.2.4.1 Количество крепежных элементов выбирают в соответствии с прочностным расчетом и рекомендациями системодателя профильной системы.
При сквозном креплении и креплении посредством анкерных пластин: расстояние от фальца углового соединения профилей коробки оконного блока составляет от 150 до 180 мм, от фальца импоста - от 120 до 180 мм, расстояние между крепежными элементами - не более 800 мм.
6.2.4.2 Анкерную пластину фиксируют на торцевой поверхности коробки оконного блока посредством шурупов со сверлом, крепление анкерной пластины к основанию производят не менее чем на два анкера, соответствующих данному основанию.
6.2.5 Крепление оконных блоков из пултрузионных композитных профилей
6.2.5.1 Количество крепежных элементов выбирают в соответствии с прочностным расчетом и рекомендациями системодателя профильной системы.
При сквозном креплении и креплении посредством анкерных пластин: расстояние от фальца углового соединения профилей коробки оконного блока составляет от 150 до 180 мм, от фальца импоста - от 120 до 180 мм, расстояние между крепежными элементами - не более 800 мм.
6.2.5.2 Анкерную пластину фиксируют на торцевой поверхности коробки оконного блока посредством шурупов с острым концом, крепление анкерной пластины к основанию производят не менее чем на два анкера, соответствующих данному основанию.
6.2.6 Особенности крепления оконных блоков в зону утеплителя
Механическое крепление оконных блоков в зоне утеплителя за пределами проемов стен требует применения специальных крепежных элементов и рассмотрено в
приложении В.
| | ИС МЕГАНОРМ: примечание. В официальном тексте документа, видимо, допущена опечатка: имеется в виду статья 753, пункт 4 Гражданского кодекса Российской Федерации, а не Градостроительного кодекса Российской Федерации [8]. | |
6.3.1 Сдача результата работ подрядчиком и приемка его заказчиком оформляются актом, который подписывается обеими сторонами в соответствии с
[8] (статья 753, пункт 4).
6.3.2 Оформление результатов сдачи выполненных подрядчиком работ осуществляется по унифицированным формам, утвержденным
[9], которым определен порядок их заполнения.
6.3.3 Прочность крепления окон и дверей в проемах должна соответствовать требованиям проектной документации и (или)
таблице Б.1.
6.3.4 Приемочный контроль прочности крепления окон и дверей в проемах проводят в местах крепления окон и дверей в наружных и внутренних стенах отапливаемых зданий и сооружений.
Объем контроля - не менее трех изделий одного вида, приведен в
приложении Д.
7 Контроль выполненных работ
7.1 На всех этапах работ по монтажу следует выполнять контроль в соответствии с требованиями
[3] и
СП 48.13330.2019, который включает в себя входной контроль рабочей документации, конструкций, изделий, материалов и оборудования, операционный контроль отдельных строительных процессов или производственных операций и приемочный контроль промежуточных и окончательных циклов работ.
7.2 Входной контроль следует осуществлять до начала выполнения строительно-монтажных работ.
7.2.1 Входной контроль рабочей документации включает проверку:
- ее комплектности по
[10];
- наличия согласований и утверждений;
- наличия ссылок на нормативные документы на материалы и изделия.
7.2.2 При входном контроле строительных конструкций, изделий, материалов и оборудования следует проверять:
- их соответствие требованиям рабочей документации и
[1];
- наличие и содержание паспортов качества, сертификатов соответствия, санитарно-эпидемиологических заключений, других сопроводительных документов;
- сроки годности, маркировку изделий (тары), а также выполнение условий, установленных в договорах на поставку.
При выявлении несоответствий требованиям нормативных или сопроводительных документов следует определить геометрические параметры и физико-механические характеристики оконных и балконных дверных блоков, крепежных элементов и материалов основания строительной конструкции.
Примечание - Для проведения данных работ могут быть привлечены аккредитованные лаборатории для определения геометрических и физико-механических характеристик крепежных элементов с применением методов инструментального контроля.
7.3 Операционный контроль должен осуществляться в ходе выполнения работ по креплению оконных и балконных дверных блоков с целью обеспечения своевременного выявления дефектов и принятия мер по их устранению и предупреждению.
7.3.1 При операционном контроле следует проверять соблюдение выполнения требований проектов производства работ и
раздела 5 настоящего стандарта.
7.3.2 В процессе операционного контроля монтажа оконных и балконных дверных блоков должны проверяться отклонения размеров торцевых и фронтальных зазоров, размещение крепежных элементов по периметру оконного блока, величина заглубления при помощи измерительной рулетки по
ГОСТ 7502, линейки измерительной металлической по
ГОСТ 427, штангенциркуля по
ГОСТ 166, строительного уровня длиной не менее 2 м по
ГОСТ Р 58514, нивелира по
ГОСТ 10528, теодолита по
ГОСТ 10529 и светодальномера геодезического по
ГОСТ 19223. Выявленные отклонения не должны превышать значений, приведенных в
приложении Г.
7.3.3 Контроль, с составлением акта освидетельствования скрытых работ, в случаях, когда последующие работы должны начинаться после перерыва, следует выполнять непосредственно перед их производством.
7.3.4 При отсутствии актов освидетельствования скрытых работ запрещается выполнение последующих работ.
7.4.1 При приемочном контроле оценивают соответствие фактического устройства крепления оконных блоков требованиям проектной и рабочей документации. При этом проверяют:
- наличие изменений проекта, внесенных монтажной организацией в исполнительные чертежи, а также наличие документов о согласовании этих изменений;
- соответствие элементов крепления рабочей документации - по сопроводительной документации на эти элементы;
- соответствие положения оконных блоков требованиям проекта - по исполнительным геодезическим схемам.
Примечание - Проверку проводят визуально или по требованию Заказчика с применением средств инструментального контроля:
- проверяют наличие и правильность оформления актов освидетельствования скрытых работ по
[11];
- проверяют наличие журнала общих работ (оформленного в соответствии с
[12]) и соответствие последовательности устройства крепления оконных блоков требованиям
раздела 5.
7.4.2 Контроль осуществляется визуально или инструментальными методами по
приложению Г.
7.4.3 Выявленные отклонения от проекта не должны превышать предусмотренных проектом допусков. Если проектом не установлены допустимые отклонения, то они не должны превышать значений, указанных в
приложении Г.
7.4.4 Приемка монтажа креплений оконных блоков должна оформляться актом освидетельствования скрытых работ.
7.5 При приемке предоставляется:
- комплект рабочих чертежей с надписями о соответствии выполненных в натуре работ этим чертежам или о внесенных в них по согласованию с проектировщиком изменениях, сделанных лицами, ответственными за производство строительно-монтажных работ;
- результаты экспертиз, обследований, лабораторных и иных испытаний выполненных работ, проведенных в процессе строительного контроля;
- документы, подтверждающие проведение контроля за качеством применяемых строительных материалов (изделий);
- иные документы, отражающие фактическое исполнение проектных решений.
Примеры крепления оконных блоков посредством анкерных пластин и шурупами строительными приведены на
рисунке 1.
1 - гидроизоляционный слой; 2 - оконный блок; 3 - саморез;
4 - пароизоляционный слой; 5 - гибкая анкерная пластина;
6 - строительный шуруп с дюбелем; 7 - шуруп строительный
для монтажа окон
Рисунок 1 - Крепление оконного блока гибкой анкерной
пластиной и шурупом строительным
(рекомендуемое)
ЭКСПЛУАТАЦИОННЫЕ НАГРУЗКИ И ВОЗДЕЙСТВИЯ НА ОКНА
А.1 Выбор конструктивного решения крепления оконных блоков в стеновом проеме зависит от многих факторов, включая исполнение окна. В общем случае выделяют следующие варианты окон.
Окно в стеновом проеме фасада. Передача нагрузок с оконного блока происходит по периметру проема через крепление непосредственно на несущую конструкцию стены. Оконный блок устанавливают непосредственно в стеновом проеме или перед несущей конструкцией стены в случае многослойных наружных стен.
Ленточное остекление. Несколько оконных блоков, расположенных рядом друг с другом, передают нагрузки с оконных блоков непосредственно на несущую конструкцию стены в проеме.
А.2 Крепление оконных блоков проектируют с учетом специфических свойств материала строительного основания - несущего слоя стены, возможностей крепежных средств, материала оконной коробки, а также характера и величины ожидаемых нагрузок.
А.3 Одиночный оконный блок, заполняющий стеновой проем, обычно крепят к откосам проема. При этом различают силы, действующие в плоскости окна (например, собственный вес), и силы, которые действуют перпендикулярно плоскости окна (например, ветровые нагрузки).
А.4 Чтобы установить требования к креплению оконных блоков к откосам в стеновом проеме, определяют возможные воздействия и нагрузки на окно как ограждающую конструкцию. Воздействия и нагрузки классифицируются в соответствии с
СП 20.13330.2016,
ГОСТ 21964 и
ГОСТ 26883.
На
рисунке А.1 представлена обобщенная схема воздействий и нагрузок на окно.
1 - внешние воздействующие факторы; 2 - механические силы,
действующие на конструкции; 3 - параметры микроклимата
помещений; 4 - эксплуатационные нагрузки
Рисунок А.1 - Воздействия и нагрузки на окно.
Обобщенная схема
При расчете конструкций окон и их креплений для нормальных условий эксплуатации различают следующие воздействия и нагрузки на окна:
- воздействия внешней среды или внешние воздействующие факторы по
ГОСТ 26883;
- внешние механические силы, действующие на конструкции;
- воздействия микроклимата помещений, в которых установлены окна;
- эксплуатационные нагрузки.
Применительно к окнам общестроительного назначения следует учитывать следующие внешние воздействующие факторы:
- солнечную радиацию (интегральное солнечное излучение);
- температурные воздействия (суточные и сезонные изменения температуры);
- атмосферное давление приземного слоя атмосферы;
- атмосферные (выпадающие или конденсированные) осадки;
- коррозионно-активные агенты воздушной среды, морской (соленый) туман;
- ветровое воздействие (ветровые нагрузки);
- абразивное воздействие пыли (песка);
- воздушный шум, в том числе транспортный.
К их числу могут быть отнесены также механические удары однократного и многократного действия. Определенное воздействие как биологический внешний воздействующий фактор может оказать плесневой гриб, представляющий собой микроорганизмы, развивающиеся на металлах, древесине.
К внешним механическим силам, действующим на конструкции окна, следует относить:
- подвижку и деформации несущих строительных конструкций (колонн, стен, перекрытий) вследствие осадки оснований, смещения опор, деградации свойств материалов во времени и других эффектов, вызывающих изменения напряженно-деформированного состояния строительных конструкций;
- температурно-влажностный режим строительных конструкций.
Примечание - При определении прогибов и перемещений следует учитывать все основные факторы, влияющие на их значения (неупругие деформации материалов, образование трещин, учет деформированной схемы, учет смежных элементов, податливость узлов сопряжения и оснований). Для конструкций из материалов, обладающих ползучестью, необходимо учитывать увеличение прогибов во времени.
Для перемычек и навесных стеновых панелей над оконными и дверными проемами предельные прогибы, приводящие к уменьшению зазора между несущими элементами и оконным или дверным заполнением, расположенным под элементами, установлены не более 1/200 длины.
Параметры микроклимата помещений, которые следует учитывать при расчетах:
- температурный режим (стабильность температуры);
- влажность;
- вентиляция.
К эксплуатационным нагрузкам, которые учитывают при расчетах, относятся:
- собственный вес оконных конструкций - статические нагрузки;
- эксплуатационные силовые, обусловленные силовыми нагрузками из-за наличия подвижных оконных створок, температурных и влажностных деформаций переплетов оконных блоков и температурных деформаций стены;
- ударные эксплуатационные нагрузки по
ГОСТ 23166.
При расчете эксплуатационных нагрузок следует различать нагрузки в плоскости створки и перпендикулярно ее плоскости.
Снеговые нагрузки учитывают для наклонно устанавливаемых окон.
А.5 Воздействия по своему характеру делят на две группы: силовые и несиловые. К силовым нагрузкам относят собственный вес оконного блока, воздействия людей, механические воздействия от конструкций, давление ветра. Воздействия несилового характера проявляются в виде атмосферных осадков, потоков тепла и влаги, вызванных разностями температур или/и влажности, инфильтрации (эксфильтрации) воздуха через неплотности.
А.6 Все виды силовых нагружений (собственный вес оконного блока, ветер, силовые эксплуатационные нагрузки на открытую створку от действия людей), воздействующие на элементы окна, вызывают силы, напряжения и деформации.
А.7 Деформации, которые испытывают окно и стык окна с окружающей его конструкцией, показаны на
рисунке А.2.
(рекомендуемое)
Б.1 Способы фиксации анкеров могут быть различными и зависят от типа и характеристик материала строительного основания и анкерного крепления, а также от характера и величины действующих нагрузок на анкерные крепления.
Б.2 Крепление оконных блоков анкерами (дюбелями) осуществляется следующими способами:
- за счет сил трения;
- внутренний упор.
Примечания
1 Анкеровка за счет сил трения заключается в том, что внешняя часть распираемого элемента анкера прижимается к стенке отверстия, предварительно подготовленного в строительном основании, создавая силу трения, удерживающую элемент анкера от выдергивания. Данный способ крепления более применим в сплошных и достаточно прочных материалах строительного основания.
2 Внутренний упор - способ крепления, при котором распираемый или распорный элемент анкера, установленный в предварительно подготовленном отверстии в материале строительного основания, удерживается за счет сил сопротивления, возникающих во внутреннем объеме строительного основания в результате его забивания (закручивания).
Б.3 Крепежные элементы разделяют на универсальные:
- металлические рамные анкеры;
- полимерные рамные анкеры;
- шурупы строительные для крепления окон;
- анкерные пластины;
и на специализированные:
- регулировочные анкер-шурупы;
- универсальные дистанционные шурупы;
- консольные кронштейны.
Примечание - Для крепления оконных блоков применяют анкеры следующих типов:
- анкеры, изготовленные из металла (металлические анкеры), устанавливающиеся в просверленные в строительном основании отверстия и закрепляющиеся в нем посредством распора, внутреннего упора или сцепления с материалом строительного основания;
- анкеры, состоящие из дюбеля и распорного элемента, изготовленного из полимера (полимерные анкеры), которые распираются в отверстии при забивании или ввинчивании распорного элемента.
Б.4 При выборе типа анкера рекомендуется руководствоваться следующими критериями: свойствами и конструктивными особенностями материала строительного основания, в котором устанавливается анкер, несущей способностью анкерного крепления, а также материалом оконной коробки.
Б.5 Марку анкера с обязательным указанием артикула конкретного производителя приводят в рабочей документации по устройству крепления оконных блоков для объекта, на котором производятся работы по их монтажу.
Б.6 Допускается применение анкеров и шурупов из стали с временным сопротивлением разрыву не менее 500 Н/мм2.
Б.7 Прочность крепления окон и дверей должна соответствовать требованиям проектной документации. Справочные данные приведены в
таблице Б.1.
Таблица Б.1
Температурный коэффициент линейного расширения
материалов оконных блоков
| Расчетное усилие при глубине анкеровки не менее 40 мм, кН (кгс) |
Из условия смятия | Из условия поперечного сгиба при величине торцевого зазора: |
материала строительного основания | материала окон |
20 мм | 60 мм |
Бетон | 4,94 (300) | | | |
Кирпич полнотелый | 4,71 (480) | | | |
Легкий бетон | 0,39 (40) | | | |
<*> Окна и двери из поливинилхлоридных профилей. <**> Окна и двери из алюминиевых профилей. <***> Окна и двери из древесины. |
Б.8 В случае отсутствия данных по
Б.4 или их недостаточности, для производства работ по устройству креплений оконных блоков производитель работ осуществляет выбор анкеров на основании результатов натурных испытаний анкерных креплений на вырыв.
Примечания
1 Натурные испытания рекомендуется проводить по методике
[13], специалистами испытательных лабораторий, техническая компетентность которых определена в установленном порядке.
2 Данные о реальной несущей способности строительного основания и рабочая документация с указанием нагрузок, передаваемых на анкерное крепление, являются необходимыми исходными данными для выбора типа анкера.
3 Перед проведением натурных испытаний на вырыв производитель работ осуществляет предварительный выбор типа (типов) анкера, руководствуясь данными, приведенными в
таблице 1, а также принимая во внимание рекомендации поставщиков анкеров по их применению.
4 При выборе анкеров следует иметь в виду, что полиэтиленовые и полипропиленовые дюбели подвержены старению и плохо переносят перепады температур, а полипропилен не обладает морозостойкостью. Поэтому для креплений оконных блоков целесообразно использовать дюбели из полиамида.
5 Стальные оцинкованные распорные элементы и анкеры подвержены коррозии в климатических условиях повышенной влажности, агрессивных сред, морского воздуха, поэтому в указанных условиях рекомендуется применять анкерные крепления из коррозионно-стойких сталей, чтобы обеспечить заданную долговечность крепления.
Б.9 Окончательный выбор марки анкеров осуществляют по значениям сопоставляемых результатов расчетного сопротивления анкерного крепления R, кН, и глубины его анкеровки, указанных в Протоколе испытаний, с аналогичными значениями и техническими характеристиками, указанными в рабочей документации и технической документации системодержателя крепежных элементов.
Б.10 Расчетное сопротивление анкерного крепления R, кН, по Протоколу испытаний должно быть не ниже указанного аналогичного значения по технической документации системодержателя крепежных элементов.
Б.11 На основании Протокола испытаний выбранная марка анкера вносится в исполнительную рабочую документацию, которую согласуют с Заказчиком.
Б.12 В случаях использования различных материалов в строительном основании, допускается применение на одном объекте различных типов анкеров, что должно быть отражено в исполнительной рабочей документации с указанием для каждой точки установки марки крепежного изделия.
а - металлический рамный дюбель;
б - пластмассовый рамный дюбель;
в - универсальный пластмассовый дюбель со стопорным шурупом;
г - строительные шурупы; д - гибкая анкерная пластина
Рисунок Б.1 - Примеры крепежных элементов
(рекомендуемое)
РЕКОМЕНДАЦИИ ПО ПРИМЕНЕНИЮ РАЗЛИЧНЫХ КРЕПЕЖНЫХ ЭЛЕМЕНТОВ
ПРИ МОНТАЖЕ ОКОННЫХ БЛОКОВ
В.1 Особенности крепления оконных блоков из различных материалов
В.1.1 Бруски оконных блоков из различных материалов подвержены термическим деформациям, которые определяют с помощью температурного коэффициента линейного расширения

.
Значения температурного коэффициента линейного расширения для материалов оконных блоков приведены в
таблице В.1.
Таблица В.1
Температурный коэффициент линейного расширения материалов
оконных блоков
Материал оконного блока | Температурный коэффициент линейного расширения  (10 -6, К -1) |
Алюминий | 22 |
Дерево | 5 |
Поливинилхлорид | 70 |
Пултрузионный стеклокомпозит | 10 |
Сталь | 12 |
Стекло | 9 |
В.2 Универсальные крепежные средства
В.2.1 Крепежные элементы должны быть установлены таким образом, чтобы не препятствовать термическим деформациям профилей из алюминиевых сплавов и поливинилхлорида при перепадах температур, а движения строительной конструкции не должны переноситься на окна.
В.2.2 При выборе крепежных изделий принимают во внимание условия монтажа оконного блока. Крепежные изделия должны быть совместимы с материалом строительного основания, к которому производят крепление оконного блока. В соответствии с рекомендациями системной компании при выборе крепежного изделия принимают во внимание:
- усилие вытягивания;
- минимальную величину монтажного зазора;
- минимальную глубину анкеровки;
- диаметр и глубину сверления отверстия под крепежное изделие;
- полезную величину;
- расстояние от края стены (краевой отступ).
В.2.3 Металлический рамный анкер
(рисунок В.1). Предназначен для крепления оконных блоков из древесины, металлов и полимеров (композитов) в бетоне, полнотелом керамическом и силикатном кирпиче в условиях сквозного монтажа. Представляет собой металлический анкер для высоких поперечных нагрузок. По выбору комплектуется винтом с потайной или полупотайной головкой.
Рисунок В.1 - Металлический рамный анкер
В.2.4 Полимерный рамный анкер
(рисунок В.2). Предназначен для крепления оконных блоков из древесины, металлов и полимеров (композитов) в бетоне, полнотелом керамическом и силикатном кирпиче, кирпиче с вертикальными пустотами в условиях сквозного монтажа. Представляет собой гильзовый дюбель из нейлона с шурупом в армированном стекловолокном полимерном конусе. Комплектуется шурупом с потайной головкой (преимущественно для деревянных оконных коробок) или колпачковой головкой.
Рисунок В.2 - Полимерный рамный анкер
В.2.5 Рамные дюбели различного исполнения. Предназначены для крепления оконных блоков из древесины, металлов и полимеров (композитов) в бетоне, полнотелом керамическом и силикатном кирпиче, кирпиче с вертикальными пустотами в условиях сквозного монтажа. Нейлоновая гильза с кромкой предохраняет от коррозии и является термоизоляцией между шурупом дюбеля и металлической оконной коробкой.
В.2.6 Шурупы строительные для крепления оконных коробок
(рисунок В.3). Предназначены для крепления оконных блоков из древесины, металлов и полимеров (композитов) в бетоне, полнотелом керамическом и силикатном кирпиче, кирпиче с вертикальными пустотами в условиях сквозного монтажа.
Не требует применения нейлоновых дюбелей при предварительном сверлении отверстия диаметром 6,2 мм в оконной коробке и диаметром 6 мм в материале строительного основания на соответствующую глубину.
Рисунок В.3 - Шуруп строительный для крепления окон
В.2.7 Пластины анкерные
(рисунок В.4). Являются крепежными средствами, компенсирующими температурные деформации оконной коробки. Могут быть поворотными и неповоротными. Изготавливаются из стали толщиной не менее 1,5 мм методом штамповки с последующим нанесением антикоррозионного покрытия. Под различные оконные профильные системы из поливинилхлорида изготавливаются с лапками, соответствующими профильной системе. Крепление анкерных пластин к строительному основанию производится двумя дюбель-гвоздями диаметром не менее 6 мм и длиной не менее 40 мм. К оконной коробке анкерные пластины крепят предварительно до установки в стеновой проем строительным шурупом диаметром не менее 4 мм. Анкерная пластина воспринимает нагрузки, действующие перпендикулярно плоскости окна.
Рисунок В.4 - Пластина анкерная
В.3 Специализированные крепежные средства
В.3.1 Крепление деревянных и дерево-алюминиевых оконных блоков
В.3.1.1 Для крепления деревянных и дерево-алюминиевых оконных коробок используют специальный регулировочный анкер-шуруп и универсальные дистанционные и самонарезающие юстировочные шурупы различных производителей.
В.3.1.2 Оцинкованный регулировочный анкер-шуруп
(рисунок В.5) состоит из двух частей: шпильки-шурупа и резьбовой втулки с резьбами (наружной - шурупной с шагом, равным шагу шурупной резьбы шпильки, и внутренней - метрической). Шпилька-шуруп имеет на конце шестигранник под ключ для установки, а втулка - внутренний шестигранник большего размера для регулировки. Шпилька - электроцинкованная, из углеродистой стали, втулка - из цинкового сплава.
Рисунок В.5 - Регулировочный анкер-шуруп
Анкер-шуруп (длиной 70, 90 и 140 мм) устанавливают в строительное основание из дерева непосредственно и в нейлоновый дюбель в строительные основания из других материалов через готовое отверстие в деревянной оконной коробке, диаметр которого в мягкой древесине должен быть 13 мм и 14 мм в твердой древесине. Диаметр шурупа 7 мм. Установку анкер-шурупа и регулировку величины монтажного зазора осуществляют с помощью установочного ключа, входящего в комплект поставки крепежа.
В.3.1.3 Универсальные дистанционные шурупы,
рисунок В.6, разработаны для крепления и юстировки положения в стеновом проеме деревянных оконных коробок. Дистанционные шурупы имеют две одинаковые координированные резьбы и применяются для крепления оконных коробок в деревянное строительное основания, с помощью нейлоновых дюбелей практически в любые стеновые материалы.
Рисунок В.6 - Универсальный дистанционный шуруп
В.3.1.4 Наряду со специализированными крепежными средствами для крепления деревянных и дерево-алюминиевых оконных блоков используют и универсальные крепежные изделия: металлические и нейлоновые рамные анкеры, рамные дюбели, строительные шурупы и анкерные пластины.
В.3.2 Крепление оконных блоков перед строительным основанием в зоне утеплителя
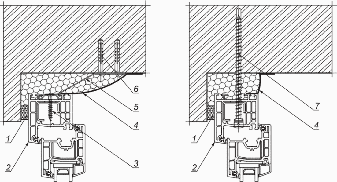
Механическое крепление окон, вынесенных в зону теплоизоляции за пределы стен, требует применения специальных элементов, кронштейнов, которые одновременно будут переносить на конструкции здания нагрузки, исходящие как от сил, действующих перпендикулярно к плоскости окна (например, давление ветра), так и от сил, действующих параллельно плоскости окна (например, вес окна). Система состоит из нескольких типов кронштейнов, подбор которых зависит от материала, из которого изготовлены стены здания, расстояние на которое необходимо выдвинуть окно за пределы плоскости стены, его веса, а также конструкции опорной части профиля рамы,
рисунок В.7.
Рисунок В.7 - Системы консольных кронштейнов
В.3.2.1 В многослойных стенах (трех- или двухслойных) реализуется выносной монтаж оконных блоков в слое теплоизоляции стены. Современные системы позволяют фиксировать оконные блоки, выступающими за плоскость стены. Системы монтажа оконных блоков в утеплитель обеспечивают возможность регулирования их установки в трех плоскостях для компенсации неточностей при возведении стен с возможностью выноса за плоскость стены от 5 до 150 мм. Пример опорных кронштейнов приведен на
рисунке В.8, пример кронштейнов для боковой фиксации оконного блока приведен на
рисунке В.9.
Рисунок В.8 - Кронштейны для монтажа
в зоне утеплителя опорные
Рисунок В.9 - Кронштейны для монтажа
в зоне утеплителя фиксирующие
В.4 Схемы крепления оконных блоков
В соответствии с требованиями
[4], конструктивные решения механического крепления оконных блоков в стеновых проемах, принятые в рабочей документации, должны обеспечивать механическую безопасность эксплуатации окон.
В.4.1 При применении крепежных изделий соблюдают рекомендации их производителей. На
рисунке В.10 представлены схемы крепления различными крепежными изделиями на примере оконных блоков из поливинилхлоридных профилей как наиболее широко применяемых в отечественном строительстве.
Рисунок В.10 - Схемы крепления оконных блоков
(рекомендуемое)
ПЕРЕЧЕНЬ ПОКАЗАТЕЛЕЙ, ПРОВЕРЯЕМЫХ ПРИ КОНТРОЛЕ УСТРОЙСТВА
КРЕПЛЕНИЙ ОКОННЫХ БЛОКОВ. КАРТА ПРОИЗВОДСТВЕННОГО КОНТРОЛЯ
Г.1 В составе исполнительной документации должны быть представлены данные о проведении производственного контроля, включающего входной контроль рабочей документации, крепежных элементов, изделий, материалов, операционный контроль производства монтажных работ (технологических операций), а также приемочный контроль результатов работ.
Г.2 В соответствии с
7.3, для осуществления операционного контроля и оценки качества технологических процессов и операций составляют Карту контроля.
Таблица Г.1
Перечень показателей, проверяемых при контроле качества
монтажа окон и балконных дверей
Наименование показателя | Требования | Вид контроля | Метод контроля |
Входной | Операционный | Приемо-сдаточный |
Раздел: Подготовительные работы - организация строительного производства |
Рабочая документация | Наличие и соответствие требованиям НД | + | - | + | Документарный |
ППР | Наличие и соответствие требованиям НД | + | - | + | Документарный |
Общий и специальный журналы работ | Наличие и соответствие требованиям НД | + | - | + | Документарный |
Приемка строительного основания | Наличие акта приемки строительного основания, а также записи в журнале производства работ, подтверждающей проверку заключения проектной организации о возможности устройства креплений | + | - | + | Документарный |
Приемка фронта работ. Оформление акта приемки фронта работ | Наличие исполнительной документации и ее соответствие требованиям НД | + | + | + | Документарный |
Организация рабочего места (условия производства работ) | Соответствие ППР и НД | + | + | + | Документарный, визуальный, инструментальный |
Документы метрологической поверки средств измерения | Соответствие НД | + | - | + | Документарный |
Устранение недостатков согласно акту приемки фронта работ (при их выявлении) и повторный прием фронта работ | Согласно акту | - | + | + | Документарный, визуальный, инструментальный |
Раздел: Подготовительные работы - входной контроль |
Крепежные элементы, поставленные на объект либо хранящиеся на объекте | Соответствие рабочей документации и спецификации. Наличие в журнале учета входного контроля записи и акта отбраковки. Соответствие 5.4 и 6.1 | + | - | + | |
Поставленные комплектующие материалы и изделия | Соответствие рабочей документации, спецификации, условиям договора | + | + | + | Документарный |
Условия хранения изделий, материалов и комплектующих для производства работ | Соответствие требованиям НД, требованиям изготовителя (по сопроводительным документам) и 5.4.11 - 5.4.13 | + | - | - | Документарный, визуальный, инструментальный |
Проверка качества крепежных элементов, комплектующих и материалов | Наличие документов установленного образца: паспорт качества, декларация, сертификат, заключение (свидетельство) <*> | + | - | - | Документарный |
Оформление ТК на монтажные работы | Наличие и соответствие ППР и НД | + | - | - | Документарный |
Раздел: Монтажные работы |
Показатели внешнего вида поверхностей основания | Отсутствие повреждений и дефектов. Соответствие проектной и рабочей документации | + | + | + | Визуальный, инструментальный |
Отклонения поверхности основания по горизонтали, мм: | Соответствие рабочей документации и требованиям 5.3.5 | - | + | + | |
- на 1 пог. м, не более | +/- 2,0 |
Количество и размеры отверстий для установки кронштейнов | Проверка наличия записи в журнале производства работ по количеству и размерам отверстий. Соответствие рабочей документации и требованиям 6.1 - 6.2, приложениям Б и В | - | + | - | Документарный. Визуальный осмотр |
Анкерные крепления | Соответствие рабочей документации. Наличие акта освидетельствования скрытых работ, контроль несущей способности анкерных креплений в соответствии с требованиями, 6.1 - 6.2, приложениям Б и В | - | + | - | Визуальный осмотр |
Кронштейны | Соответствие рабочей документации | - | + | - | Вскрытие и визуальный осмотр |
Крепление оконных блоков | Соответствие проектному решению. Наличие в журнале производства работ записи с указанием типа и количества креплений для каждого установленного ОБ с учетом требований раздела 6, приложений Б и В, акта освидетельствования скрытых работ, подтверждающей соответствие требованиям | - | + | + | |
Раздел: Приемо-сдаточный контроль качества работ по производству крепления проводится согласно разделу 7 стандарта <**> |
Контроль отметок расположения элементов крепления по установленным осям - геодезическая съемка | Соответствие рабочей документации | - | - | + | Инструментальный |
Проверка отклонений от прямолинейности на всех участках | Соответствие НД, рабочей документации, конструкторской документации | - | - | + | Инструментальный |
Проверка геометрических размеров | Соответствие НД, рабочей документации, конструкторской документации | - | - | + | Инструментальный |
<*> Под свидетельством понимается техническое свидетельство установленного образца. <**> Контроль следует проводить с учетом положений раздела "Приемо-сдаточный контроль качества работ по устройству окон" таблицы Л.1 ГОСТ 34378. |
(рекомендуемое)
ИСПЫТАНИЕ КРЕПЛЕНИЯ ОКОННЫХ БЛОКОВ В ПРОЕМАХ
Д.1 Настоящий стандарт устанавливает метод определения прочности крепления окон и дверей в проемах зданий и сооружений с нормальными условиями эксплуатации.
Д.2 Испытания окон и дверей на прочность крепления в проемах зданий и сооружений выполняют с целью оценки качества монтажа окон и дверей и соответствия выполненных строительно-монтажных работ требованиям проектной и технологической документации.
Д.3 Оценку прочности крепления окон и дверей в проемах зданий и сооружений осуществляют путем сравнения фактического значения нагрузки, определенной в результате испытаний, со значением нагрузки, установленной в проектной документации.
Д.4 При оценке прочности крепления окон и дверей в проемах зданий и сооружений применяют измерительный и визуальный контроль.
Д.5 Техническое решение крепления окон должно обеспечивать требуемое значение температуры на внутренней поверхности конструкции и узлов примыкания согласно
СП 50.13330.2012. Подтверждение обеспечивается по результатам теплотехнических испытаний согласно
ГОСТ 26602.1.
Д.7 Испытания сопротивления конструкции ветровой нагрузке необходимо выполнять по
ГОСТ 33793.
Д.8 Методы по определению приведенного сопротивления теплопередаче, включая процедуры расчета теплотехнических характеристик, приведены в
ГОСТ Р 54858.
| СТО НОСТРОЙ 2.14.67-2012 | Навесные фасадные системы с воздушным зазором. Работы по устройству. Общие требования к производству и контролю работ |
| Постановление Правительства Российской Федерации от 1 февраля 2006 г. N 54 "О государственном строительном надзоре в Российской Федерации" |
| Постановление Правительства от 21 июня 2010 г. N 468 "О порядке проведения строительного контроля при осуществлении строительства, реконструкции и капитального ремонта объектов капитального строительства" |
| Федеральный закон от 30 декабря 2009 г. N 384-ФЗ "Технический регламент о безопасности зданий и сооружений" |
| МДС 11-19.2009 | Временные рекомендации по организации технологии геодезического обеспечения качества строительства многофункциональных высотных зданий |
| Федеральный закон от 26 июня 2008 г. N 102-ФЗ "Об обеспечении единства измерений" |
| | Инструкция по проведению технологической поверки геодезических приборов |
| Градостроительный кодекс Российской Федерации от 29 декабря 2004 г. (в ред. Федерального закона от 3 июля 2016 г. N 372-ФЗ) |
| Постановление Госкомстата Российской Федерации от 11 ноября 1999 г. N 100 "Об утверждении унифицированных форм первичной учетной документации по учету работ в капитальном строительстве и ремонтно-строительных работ" |
| Постановление Правительства Российской Федерации от 16 февраля 2008 г. N 87 "О составе разделов проектной документации и требованиях к их содержанию" |
| | Требования к составу и порядку ведения исполнительной документации при строительстве, реконструкции, капитальном ремонте объектов капитального строительства и требования, предъявляемые к актам освидетельствования работ, конструкций, участков сетей инженерно-технического обеспечения |
| | Порядок ведения общего и (или) специального журнала учета выполнения работ при строительстве, реконструкции, капитальном ремонте объектов капитального строительства |
| СТО ФГУ "ФЦС" 44416204-010-2010 | Крепления анкерные. Метод определения несущей способности по результатам натурных испытаний |
УДК 691.11.028:658.562:006.354 | |
Ключевые слова: строительство, анкер, дюбель, оконные блоки, крепежные средства, крепление, механическая безопасность, правила выполнения работ, контроль, испытания |