Главная // Актуальные документы // ГОСТ Р (Государственный стандарт)СПРАВКА
Источник публикации
М.: Стандартинформ, 2013
Примечание к документу
Документ
введен в действие с 1 декабря 2013 года.
Название документа
"ГОСТ Р ИСО 10140-1-2012. Национальный стандарт Российской Федерации. Акустика. Лабораторные измерения звукоизоляции элементов зданий. Часть 1. Правила испытаний строительных изделий определенного вида"
(утв. и введен в действие Приказом Росстандарта от 29.11.2012 N 1383-ст)
"ГОСТ Р ИСО 10140-1-2012. Национальный стандарт Российской Федерации. Акустика. Лабораторные измерения звукоизоляции элементов зданий. Часть 1. Правила испытаний строительных изделий определенного вида"
(утв. и введен в действие Приказом Росстандарта от 29.11.2012 N 1383-ст)
Утвержден и введен в действие
агентства по техническому
регулированию и метрологии
от 29 ноября 2012 г. N 1383-ст
НАЦИОНАЛЬНЫЙ СТАНДАРТ РОССИЙСКОЙ ФЕДЕРАЦИИ
АКУСТИКА
ЛАБОРАТОРНЫЕ ИЗМЕРЕНИЯ ЗВУКОИЗОЛЯЦИИ ЭЛЕМЕНТОВ ЗДАНИЙ
ЧАСТЬ 1
ПРАВИЛА ИСПЫТАНИЙ СТРОИТЕЛЬНЫХ ИЗДЕЛИЙ ОПРЕДЕЛЕННОГО ВИДА
Acoustics. Laboratory measurement of sound
insulation of building elements. Part 1.
Testing rules for specific products
ISO 10140-1:2010
Acoustics - Laboratory measurement of sound
insulation of building elements - Part 1:
Application rules for specific products
(IDT)
ГОСТ Р ИСО 10140-1-2012
Дата введения
1 декабря 2013 года
1. Подготовлен Автономной некоммерческой организацией "Научно-исследовательский центр контроля и диагностики технических систем" (АНО "НИЦ КД") на основе собственного аутентичного перевода на русский язык международного стандарта, указанного в пункте 4.
2. Внесен Техническим комитетом по стандартизации ТК 358 "Акустика".
3. Утвержден и введен в действие
Приказом Федерального агентства по техническому регулированию и метрологии от 29 ноября 2012 г. N 1383-ст.
4. Настоящий стандарт идентичен международному стандарту ИСО 10140-1:2010 "Акустика. Лабораторные измерения звукоизоляции элементов зданий. Часть 1. Правила испытаний изделий определенного вида" (ISO 10140-1:2010 "Acoustics - Laboratory measurement of sound insulation of building elements - Part 1: Application rules for specific products").
Наименование настоящего стандарта изменено относительно наименования указанного международного стандарта для приведения в соответствие с ГОСТ Р 1.5
(пункт 3.5).
При применении настоящего стандарта рекомендуется использовать вместо ссылочных международных стандартов соответствующие им национальные стандарты Российской Федерации, сведения о которых приведены в дополнительном
Приложении ДА.
5. Введен впервые.
Правила применения настоящего стандарта установлены в ГОСТ Р 1.0-2012
(раздел 8). Информация об изменениях к настоящему стандарту публикуется в ежегодном (по состоянию на 1 января текущего года) информационном указателе "Национальные стандарты", а официальный текст изменений и поправок - в ежемесячном информационном указателе "Национальные стандарты". В случае пересмотра (замены) или отмены настоящего стандарта соответствующее уведомление будет опубликовано в ближайшем выпуске ежемесячного информационного указателя "Национальные стандарты". Соответствующая информация, уведомление и тексты размещаются также в информационной системе общего пользования - на официальном сайте национального органа Российской Федерации по стандартизации в сети Интернет (gost.ru).
Международный стандарт ИСО 10140-1 подготовлен Техническим комитетом по стандартизации ISO/TC 43 "Акустика", подкомитетом SC 2 "Строительная акустика" Международной организации по стандартизации (ИСО).
Настоящая первая редакция ИСО 10140-1 вместе с ИСО 10140-2, ИСО 10140-3, ИСО 10140-4 и ИСО 10140-5 заменяют ИСО 140-1:1997, ИСО 140-3:1995, ИСО 140-6:1998, ИСО 140-8:1997, ИСО 140-10:1991, ИСО 140-11:2005 и ИСО 140-16:2006.
Настоящий стандарт включает в себя дополнения ИСО 140-1:1997/Amd.1:2004 и ИСО 140-3:1995/Amd.1:2004.
Международный стандарт ИСО 10140 "Акустика. Лабораторные измерения звукоизоляции элементов зданий", содержание которого приведено в таблице 1, включает в себя следующие части:
Часть 1: Правила испытаний для изделий определенного вида;
Часть 2: Измерения звукоизоляции воздушного шума;
Часть 3: Измерение звукоизоляции ударного шума;
Часть 4: Методы и условия измерений;
Часть 5: Требования к испытательным установкам и оборудованию.
Таблица 1
Структура и содержание серии стандартов ИСО 10140
Часть ИСО 10140 | Основное назначение, содержание и применение | Некоторые особенности содержания |
ИСО 10140-1 | Стандарт устанавливает единую структуру документов для правил испытаний строительных элементов и изделий с целью определения их звукоизоляции. Для некоторых видов строительных изделий приведены дополнительные более конкретные сведения об измеряемых величинах, о требованиях к размерам элементов, а также рекомендации по подготовке, установке и условиям испытаний. При испытаниях изделий, не имеющих особенностей, руководствуются общими правилами по ИСО 10140-2 и ИСО 10140-3 | Для испытуемых изделий определенного вида стандарт устанавливает: - перечень измеряемых величин; - требования к размерам элементов; - требования к граничным условиям и условиям монтажа; - процедуры по подготовке и условиям испытаний; - отличия протокола испытаний. В части требований, не связанных с особенностями испытуемых объектов, приведены ссылки на ИСО 10140-2 и ИСО 10140-3 |
ИСО 10140-2 | Стандарт устанавливает общие методы измерения звукоизоляции воздушного шума в соответствии с ИСО 10140-4 и ИСО 10140-5. Для изделий, не имеющих особых требований по применению, стандарт является исчерпывающим руководством по измерениям звукоизоляции. Для некоторых изделий с особыми правилами эксплуатации измерения звукоизоляции выполняют в соответствии с ИСО 10140-1 | Определены: - термины и определения измеряемых величин; - общие граничные условия и условия монтажа; - общий метод измерений; - правила обработки результатов измерений; - требования к протоколу испытаний |
ИСО 10140-3 | Стандарт устанавливает общие методы измерения звукоизоляции ударного шума в соответствии с ИСО 10140-4 и ИСО 10140-5. Для изделий, не имеющих особых требований по применению, стандарт является исчерпывающим руководством по измерениям звукоизоляции. Для некоторых изделий с особыми правилами эксплуатации измерения звукоизоляции выполняют в соответствии с ИСО 10140-1 | Определены: - термины и определения измеряемых величин; - общие граничные условия и условия монтажа; - общий метод измерений; - правила обработки результатов измерений; - требования к протоколу испытаний |
ИСО 10140-4 | В стандарте приведены основные способы и методы измерений, соответствующие требованиям ИСО 10140-2 и ИСО 10140-3 или особенностям испытательной установки по ИСО 10140-5. Многое из данного стандарта реализовано в программном обеспечении | Определены: - термины и определения измеряемых величин; - частотный диапазон измерений; - точки измерений; - методы измерения уровня звукового давления; - методы усреднения по пространству и времени; - коррекция на фоновый шум; - методы измерений времени реверберации; - методы измерений коэффициента потерь; - методы измерения на низких частотах; - методы определения излученной звуковой мощности по результатам измерений виброскорости |
ИСО 10140-5 | Стандарт устанавливает требования к проекту, конструкции и аттестации испытательной установки, ее дополнительным элементам и средствам измерений (аппаратному обеспечению) | Установлены требования к испытательной установке в части: - объема и размеров; - побочной звукопередачи; - лабораторного коэффициента потерь; - максимально достижимого при измерениях значения звукоизоляции; - времени реверберации; - влияния недостаточной диффузности звукового поля в лаборатории. Установлены требования к испытательным проемам: - к стандартным проемам для испытаний стен и полов; - к другим проемам (для испытаний окон, дверей, малых технических элементов); - к заполняющей перегородке (общие требования). Установлены требования к испытательному оборудованию: - к громкоговорителям, их числу и положениям; - к ударной машине и другим источникам ударного шума; - к средствам измерений. Установлены требования к стандартным элементам и конструкциям: - для измерения улучшения звукоизоляции воздушного и ударного шума; - к соответствующим эталонным спектрам |
Настоящий стандарт устанавливает требования к испытаниям при определении звукоизоляции строительных элементов и изделий определенного вида, включая требования по подготовке, монтажу, условиям испытаний и функционированию испытуемых изделий, а также требования к определяемым величинам и дополнительной информации, включаемой в протокол испытаний. Общие методы измерений звукоизоляции воздушного и ударного шума приведены в ИСО 10140-2 и ИСО 10140-3 соответственно.
В настоящем стандарте использованы нормативные ссылки на следующие стандарты. Недатированные ссылки относят к последнему изданию ссылочного стандарта, включая все его изменения.
ИСО 717-1:1996. Акустика. Нормирование звукоизоляции в зданиях и строительных элементов. Часть 1. Звукоизоляция воздушного шума (ISO 717-1:1996, Acoustics - Rating of sound insulation in buildings and of building elements - Part 1: Airborne sound insulation)
ИСО 717-2. Акустика. Нормирование звукоизоляции в зданиях и строительных элементов. Часть 2. Звукоизоляция ударного шума (ISO 717-2, Acoustics - Rating of sound insulation in buildings and of building elements - Part 2: Impact sound insulation)
ИСО 10140-2. Акустика. Лабораторные измерения звукоизоляции элементов зданий. Часть 2. Измерение звукоизоляции воздушного шума (ISO 10140-2, Acoustics - Laboratory measurement of sound insulation of building elements - Part 2: Measurement of airborne sound insulation)
ИСО 10140-3. Акустика. Лабораторные измерения звукоизоляции элементов зданий. Часть 3. Измерение звукоизоляции ударного шума (ISO 10140-3, Acoustics - Laboratory measurement of sound insulation of building elements - Part 3: Measurement of impact sound insulation)
ИСО 10140-5:2010. Акустика. Лабораторные измерения звукоизоляции элементов зданий. Часть 5. Требования к испытательным установкам и оборудованию (ISO 10140-5:2010, Acoustics - Laboratory measurement of sound insulation of building elements - Part 5: Requirements for test facilities and equipments).
Общие требования к граничным условиям и условиям монтажа установлены в ИСО 10140-2, ИСО 10140-3 и ИСО 10140-5. Дополнительные и более детальные требования по подготовке, монтажу, функционированию и по специальным подготовительным мероприятиям приведены в
Приложениях A,
B,
C,
D,
E,
F,
G,
H и
I.
Примечание. Для изделий, не охватываемых
Приложениями A,
B,
C,
D,
E,
F,
G,
H и
I, могут быть разработаны новые приложения на основе доступных сведений и опыта испытаний. Рекомендуемая структура приложений установлена в разделе 4.
При испытаниях в соответствии с ИСО 10140 (все части) специальных элементов и изделий следует проверять выполнение требований настоящего стандарта. Основные условия, установленные ИСО 10140-2 или ИСО 10140-3, должны соблюдаться.
4. Структура правил испытаний
для изделий определенного вида
При пересмотре или дополнении
Приложений A,
B,
C,
D,
E,
F,
G,
H и
I или подготовке нового приложения по правилам испытаний строительных изделий определенного вида следует обеспечивать их соответствие приведенной ниже структуре. Для некоторых элементов или изделий отдельные пункты могут быть опущены как неприменимые. Целью правил испытаний является установление граничных условий, условий монтажа и функционирования для элементов, конструкций или групп изделий определенного вида.
Структура правил испытаний включает в себя:
a) область применения:
1) назначение строительного элемента/изделия;
2) измеряемые величины (при необходимости);
3) ссылка на метод(ы) испытаний;
b) испытуемый элемент:
1) размеры испытательного проема и испытуемого элемента;
2) число испытуемых элементов;
c) условия монтажа и граничные условия (следует определить до установки элемента):
1) граничные условия, т.е. описание заполняющей стены (при наличии) и краев элемента;
2) места крепления;
3) способ установки испытуемого элемента в испытательном проеме;
d) условия функционирования (состояние) элемента и условия испытаний (следует определить после установки элемента):
1) условия функционирования и операции по подготовке, например, открыть/закрыть изделие перед испытанием;
2) доведение элемента до требуемых параметров/отвердение/высушивание;
3) нагрузка;
4) условия внешней среды;
e) протокол испытаний;
f) дополнительная по отношению к ИСО 10140-2 и ИСО 10140-3 информация.
(обязательное)
ИСПЫТАНИЙ ПО ОПРЕДЕЛЕНИЮ ЗВУКОИЗОЛЯЦИИ ЛЕГКИХ ПЕРЕГОРОДОК
A.1. Область применения
Для определения звукоизоляции стен и других перегородок применяют ИСО 10140-2. Настоящее приложение распространяется на легкие двухслойные перегородки из гипсокартонных панелей. Определяемая величина - звукоизоляция R как функция частоты [см. ИСО 10140-2 (пункт 3.1)].
В общем случае выполняют требования соответствующих разделов ИСО 10140-2.
A.2. Испытательный проем
Испытательный проем для стен (перегородок) должен иметь площадь около 10 м2.
A.3. Граничные условия и условия монтажа
Звукоизоляция легких двойных перегородок (например, двойных стен из гипсокартонных панелей) зависит от условий установки в испытательном проеме лаборатории. Важным монтажным параметром является ниша, образующаяся при установке перегородки, и ее положение относительно акустического промежутка в испытательном помещении.
Для улучшения воспроизводимости результатов межлабораторных испытаний и сопоставимости значений звукоизоляции для различных легких двойных стен перегородки следует монтировать только по одну сторону акустического промежутка, как показано на рисунке A.1, не допуская его пересечения. Проем должен удовлетворять требованиям ИСО 10140-2.
1 - помещение источника шума, 2 - приемное помещение,
3 - акустический промежуток
Рисунок A.1. Пример размещения испытуемого элемента
относительно акустического промежутка лаборатории
Применение других условий монтажа должно быть подробно описано в протоколе испытаний.
Примечания
1. Установка легкой перегородки, когда ее панели находятся по разные стороны акустического промежутка, может привести к завышенным значениям звукоизоляции.
2. Для некоторых типов легких двухслойных стен, например межквартирных стен в двухквартирном доме с виброразвязкой между панелями (установленными на отдельных фундаментах), могут быть применимы другие условия монтажа. В данном случае панели стены могут монтироваться по разные стороны акустического промежутка.
A.4. Условия испытаний и функционирования
Условия испытаний и функционирования испытуемого объекта должны соответствовать ИСО 10140-2.
A.5. Протокол испытаний
Протокол испытаний должен соответствовать ИСО 10140-2.
(обязательное)
ИСПЫТАНИЙ ПО ОПРЕДЕЛЕНИЮ ЗВУКОИЗОЛЯЦИИ ДВЕРЕЙ
B.1. Область применения
Настоящее приложение распространяется на внутренние и наружные двери (включая дверные комплекты).
Определяемая величина - звукоизоляция R как функция частоты [см. ИСО 10140-2 (пункт 3.1)].
В общем случае выполняют требования соответствующих разделов ИСО 10140-2.
Примечание. Определение термина "дверь" как строительного изделия приведено в ИСО 1804 и ЕН 12519.
B.2. Испытуемый элемент
Площадь испытуемого элемента S равна площади проема в заполняющей перегородке, необходимой для согласования размеров при установке двери в испытательном проеме. Для большинства конструкций дверей требуется испытательный проем площадью менее 10 м2.
B.3. Граничные условия и условия монтажа
Испытательный проем для дверей должен быть выровнен таким образом, чтобы нижний край располагался близко к уровню пола испытательного помещения и так, чтобы воспроизводились условия здания. При испытаниях дверь должна иметь возможность открываться и закрываться обычным образом.
B.4. Условия испытаний
Непосредственно перед испытаниями дверь следует открыть и закрыть не менее пяти раз.
B.5. Протокол испытаний
Протокол испытаний должен соответствовать ИСО 10140-2.
(обязательное)
ИСПЫТАНИЙ ПО ОПРЕДЕЛЕНИЮ ЗВУКОИЗОЛЯЦИИ ОКОН
C.1. Область применения
Настоящее приложение распространяется на испытания окон.
Определяемая величина - звукоизоляция R как функция частоты [см. ИСО 10140-2 (пункт 3.1)].
В общем случае выполняют требования соответствующих разделов ИСО 10140-2.
Примечание. Определение термина "окно" приведено в ЕН 12519.
C.2. Испытуемый элемент
Испытательным проемом для окон является малоразмерный проем в соответствии с ИСО 10140-5 с рекомендуемыми размерами 1250 x 1500 мм. Требования национальных строительных норм могут допускать отклонения от указанных размеров. Испытательный проем может быть выполнен с уступом по ИСО 10140-5 (рисунок 3). В случае готового оконного блока размеры проема могут быть выбраны в соответствии с размерами, применяемыми для установки в натурных условиях. Площадь S для окна - это площадь испытательного проема в заполняющей перегородке, необходимой для согласования размеров при установке окна в испытательный проем лаборатории.
C.3. Граничные условия и условия монтажа
Установка оконного блока должна производиться способом, по возможности идентичным способу, применяемому в натурных условиях. При монтаже окна в испытательный проем ниши по обеим сторонам окна должны иметь разную глубину, предпочтительно с отношением 2:1, если это не противоречит конструкции окна. Следует иметь в виду, что при нишах, глубина которых отличается от указанного отношения, могут быть получены другие результаты испытаний.
При установке окна в испытательный проем зазор (от 10 до 13 мм) между окном и испытательным проемом по периметру должен быть заполнен звукопоглощающим материалом (например, минеральной ватой) и герметизирован с обеих сторон с помощью эластичного уплотнителя или в соответствии с указаниями изготовителя окна. Если испытуемое окно в соответствии с назначением должно открываться, то его монтируют так, чтобы оно могло открываться и закрываться обычным способом.
C.4. Условия испытаний и функционирования
C.4.1. Климатическая подготовка
Звукоизоляция определенных систем остекления или их элементов, в частности, многокамерных окон, может зависеть от температуры в испытательных помещениях. Температура в обоих помещениях должна быть (20 +/- 3) °C. Испытуемый элемент должен быть выдержан 24 ч при этой температуре. Дополнительно целесообразно выполнить измерения при температурах, близких к рабочим температурам испытуемого элемента.
C.4.2. Условия функционирования
Если испытуемый элемент в соответствии с назначением должен открываться, то его следует открыть и закрыть не менее пяти раз непосредственно перед испытаниями.
C.5. Протокол испытаний
Протокол испытаний должен соответствовать ИСО 10140-2.
(обязательное)
ИСПЫТАНИЙ ПО ОПРЕДЕЛЕНИЮ ЗВУКОИЗОЛЯЦИИ ОСТЕКЛЕНИЯ
D.1. Область применения
Настоящее приложение распространяется на испытания остекления.
Определяемая величина - звукоизоляция R как функция частоты [см. ИСО 10140-2 (пункт 3.1)].
В общем случае выполняют требования соответствующих разделов ИСО 10140-2.
Примечание. Определение термина "остекление" приведено в ЕН 12758.
D.2. Испытуемый элемент
Рекомендуемые размеры испытательного проема для установки остекления равны 1250 x 1500 мм с допустимым отклонением, пропорциональным размеру, но не более +/- 50 мм. Испытательный проем должен быть выполнен с уступом от 60 до 65 мм с обеих сторон и сверху. Остекление должно монтироваться в испытательном проеме, как показано на
рисунке D.1. Площадь S для остекления - это площадь испытательного проема в заполняющей перегородке, необходимой для согласования размеров при установке остекления.
1 - эластичная прокладка, 2 - минеральная вата,
3 - стена, 4 - деревянный брусок, 5 - шпатлевка (герметик),
6 - остекление, 7 - эластичный материал (звукоотражающий)
Примечание. На рисунке для примера изображен однокамерный стеклопакет.
Рисунок D.1. Пример установки остекления
Указанным требованиям удовлетворяет специальный малоразмерный испытательный проем по ИСО 10140-5 (рисунок 3), который может быть применен согласно ИСО 10140-5 (пункт 3.3.2).
Примечание. Детальное описание условий измерений для остекления приводится здесь для обеспечения максимальной сопоставимости результатов межлабораторных испытаний.
D.3. Граничные условия и условия монтажа
При монтаже остекления в испытательном проеме глубины откосов по обеим сторонам остекления должны быть в отношении 2:1. Между стеклом и испытательным проемом следует оставлять зазор около 10 мм. Зазор заполняют шпатлевкой. Для закрепления остекления следует использовать два деревянных бруска сечением 25 x 25 мм (см.
рисунок D.1). Зазор 5 мм между остеклением и брусками заполняют шпатлевкой. Бруски не более чем на 15 мм и не менее чем на 12 мм должны перекрывать остекление <*>.
--------------------------------
<*> Данный метод монтажа остекления в испытательном проеме практичен и быстро воспроизводим, хотя он не является типовым.
Шпатлевка может быть испытана следующим методом. Лист однослойного силикатного стекла (полированный, плотностью 2500 кг/м3, с модулем Юнга

) толщиной (10 +/- 0,3) мм и размерами 1230 x 1480 мм устанавливают в соответствии с
рисунком D.1. Определяют звукоизоляцию в 1/3-октавных полосах частот со среднегеометрическими частотами от 1600 до 3150 Гц. Первое измерение выполняют не позднее 1 часа после монтажа. Результаты с допустимым отклонением +/- 2,0 дБ должны быть следующими:
- R = 31,3 дБ для полосы 1600 Гц;
- R = 35,6 дБ для полосы 2000 Гц;
- R = 39,2 дБ для полосы 2500 Гц;
- R = 42,9 дБ для полосы 3150 Гц.
Повторное измерение проводят приблизительно через 24 ч, чтобы убедиться в отсутствии влияния на результаты измерений процесса отвердения шпатлевки. Систематическое среднее отклонение

(среднее четырех значений

) должно быть не более 0,5 дБ.
Примечание. Указанным требованиям удовлетворяет оконный герметик Perennator TX 2001 S <**>.
--------------------------------
<**> Марка герметика Perennator TX 2001 S указана в качестве примера коммерчески доступного продукта. Данная информация приведена для удобства пользователей настоящего стандарта и не является официальным одобрением данного продукта международной организацией по стандартизации ИСО.
Звукоизоляция остекления не определяет звукоизоляцию окна с данным остеклением. Для определения звукоизоляции окна требуется проводить измерения со всеми другими установленными элементами окна.
D.4. Условия испытаний и функционирования
Звукоизоляция определенных систем остекления или их элементов, в частности, многослойных стекол, может зависеть от температуры в испытательном помещении. Температура в обоих испытательных помещениях должна быть (20 +/- 3) °C. Испытуемый элемент должен быть выдержан 24 ч при этой температуре. Дополнительно целесообразно выполнить измерения при температурах, близких к рабочим температурам испытуемого элемента.
D.5. Протокол испытаний
Протокол испытаний должен соответствовать ИСО 10140-2.
(обязательное)
ИСПЫТАНИЙ ПО ОПРЕДЕЛЕНИЮ ЗВУКОИЗОЛЯЦИИ
МАЛЫХ ТЕХНИЧЕСКИХ ЭЛЕМЕНТОВ
E.1. Область применения
Настоящее приложение распространяется на малые технические элементы, например воздухозаборники и другие элементы площадью менее 1 м2, такие как профили и короба ставней.
Акустические характеристики таких элементов выражают нормированной разностью уровней элемента

, как определено в ИСО 10140-2.
В общем случае выполняют требования соответствующих разделов ИСО 10140-2.
Для малых технических элементов звукоизоляция менее удобна в качестве акустической характеристики, т.к. площадь испытуемого элемента обычно определена не строго, а его характеристики не прямо пропорциональны его площади. Поэтому акустические характеристики выражают нормированной разностью уровней

конкретного элемента.
Более того, вследствие малых размеров и условий монтажа расположенные рядом с испытуемым другие элементы и объекты могут оказывать влияние на результаты испытаний и это должно тщательно учитываться.
E.2. Испытуемый элемент
E.2.1. Общие положения
Следует убедиться, что испытуемый элемент установлен способом, соответствующим его нормальному применению, имеет обычные соединения, изолирован по периметру и внутренним стыкам.
Малость элемента в совокупности с изменчивостью звуковых полей ведет к значительной зависимости результатов испытаний от положения испытуемого элемента. В связи с этим рекомендуется испытывать элемент в нескольких измерительных положениях (см.
E.2.2).
Чтобы толщина стены вокруг элемента соответствовала натурным условиям, может потребоваться увеличение или уменьшение толщины разделительной стены вокруг испытательного проема (см.
E.2.3 и
E.2.4).
Если малый технический элемент установлен вблизи от одной и более звукоотражающих плоскостей, то распространение звука может существенно отличаться от случая расположения элемента в испытательном проеме разделительной стены, но вдали от других поверхностей помещения. Поэтому следует устанавливать испытуемый элемент в испытательном проеме в положении, соответствующем его обычному применению. Если естественные углы или ребра элемента не соответствуют испытательному проему, то следует имитировать требуемые условия монтажа добавлением звукоотражающих плоскостей, перпендикулярных к разделительной стене, как описано в
E.2.5.
E.2.2. Число измерительных положений
Установку испытуемого элемента в испытательном проеме разделительной стены следует производить в трех положениях. Данные местоположения должны либо моделироваться, как описано в
E.2.5, или быть на расстоянии не менее 1,2 м друг от друга. Зависимость от местоположения также имеет место для фактически эквивалентных углов, что делает необходимым применение более одного угла.
Примечание. За счет имитации угла или ребра с помощью дополнительных звукоотражающих плоскостей можно получить необходимое усреднение по местоположению с помощью изменения их места и ориентации при неизменном положении испытуемого элемента.
E.2.3. Местное утолщение стены
При необходимости утолщения разделительной стены следует имитировать ее утолщение наложением поверх нее панелей с поверхностной плотностью, на 10 кг/м2 превышающей плотность стены. Края дополнительных панелей должны выходить за контуры испытуемого элемента не менее чем на 0,5 м.
E.2.4. Местное уменьшение толщины стены
Если при испытаниях для обеспечения достаточно высоких потерь при косвенной звукопередаче требуется толстая разделительная стена, то уменьшенную толщину применяемой в натурных условиях стены вокруг испытуемого элемента можно получить наложением переходных панелей, как показано на рисунке E.1.
--------------------------------
<а> Панели должны быть изолированы вдоль краев эластичной лентой.
1 - разделительная стена между испытательными
помещениями; 2 - испытуемый элемент; 3 - вспомогательные
переходные панели
Рисунок E.1. Местное уменьшение
толщины разделительной стены
Размеры и углы должны удовлетворять следующим ограничениям:
a)

;
b)

, если

по всем направлениям; сглаживание перехода толщины не требуется;
c)

.
E.2.5. Центральная, угловая и крайняя позиции
E.2.5.1. Элементы, применяемые вдали от стен
Малые технические элементы, размещаемые в разделительной стене и обычно функционирующие вдали от примыкающих стен, пола или потолка, следует устанавливать на расстоянии не менее 1 м от любой его части до поверхности, расположенной перпендикулярно к монтажной поверхности. Если одновременно испытывают несколько элементов, то достаточно выдержать расстояние 0,85 м.
E.2.5.2. Элементы, применяемые вблизи краев
Малые технические элементы, монтируемые на разделительной стене и обычно применяемые вблизи стен, пола и потолка и вдали от углов помещения, следует размещать на расстоянии 1 м (0,85 м, если несколько элементов испытывают одновременно) от ближайшей стены, не образующей рассматриваемого края. Испытуемые элементы следует размещать на расстоянии 0,1 м от рассматриваемого края стены, если иного не указано их изготовителем.
E.2.5.3. Элементы, применяемые вблизи угла помещения
Элементы, монтируемые на разделительной стене и обычно применяемые вблизи угла помещения, следует размещать на расстоянии от угла, которое является типичным и рекомендованным изготовителем оборудования.
E.2.5.4. Имитация углового или крайнего местоположения
Имитация углового местоположения показана на рисунке E.2. Чтобы имитировать край стены помещения, достаточно использовать одну панель размерами не менее 1,2 x 2,4 м. Панели не следует устанавливать параллельно ограждающим поверхностям помещения. Если дополнительные панели необходимо применять как в помещении источника шума, так и приемном помещении, то следует убедиться, что положение и ориентация панелей одинакова в обоих помещениях.
Рисунок E.2. Имитация углового местоположения
установкой звукоотражающих панелей перпендикулярно
к разделительной стене с испытательным проемом
Поверхностная плотность панелей должна быть более 7 кг/м2. Для частот свыше 100 Гц коэффициент звукопоглощения должен быть менее 0,1.
Следует герметизировать стыки между панелями и разделительной стеной с помощью, например, тяжелой липкой ленты. Поскольку монтаж дополнительных панелей на разделительной стене может повлиять на передаточные характеристики, следует произвести измерения при различных вариантах размещения панелей при измерении побочной звукопередачи шума.
E.3. Граничные условия и условия монтажа
E.3.1. Устройства для подачи воздуха
Испытуемый элемент следует устанавливать как в натурных условиях в типовом положении относительно поверхностей помещения по вышеописанным правилам. Устройства для подачи воздуха, которые обычно монтируются вблизи потолка, следует устанавливать вблизи звукоотражающей плоскости перпендикулярно к разделительной стене, но не ближе 1 м (0,85 м, если несколько элементов испытывают одновременно) от любого угла помещения. Расстояние между ближайшей частью устройства и примыкающей поверхностью должно быть 0,1 м. Обычно используемая арматура должна быть установлена и закреплена в соответствии с инструкциями изготовителей.
Для устройств, которые допускают несколько вариантов размещения, измерения выполняют по крайней мере в крайних положениях в обоих помещениях.
Если устройство приспособлено к установке на стенах различной толщины, то следует убедиться, что испытания могут быть выполнены по меньшей мере для двух предельных толщин стены.
E.3.2. Каналы для прокладки электрических кабелей
Испытуемый элемент устанавливают как в натурных условиях в типовом положении относительно поверхностей помещения. Кабельные каналы, обычно устанавливаемые непосредственно на стены, монтируют на звукоотражающую поверхность в соответствии с указаниями изготовителя перпендикулярно к разделительной стене. Обычно используемая арматура должна быть установлена в соответствии с инструкциями изготовителей.
Испытуемый элемент устанавливают по обе стороны разделительной стены в помещении источника шума и приемном помещении так, что воздействию шума с обеих сторон подвергается канал длиной не менее 2 м. На экспонируемый шумом канал устанавливают стандартные оконечные крышки.
Средства защиты от шума, применяемые при сквозном монтаже в разделительной стене, часто пригодны для кабельных каналов. Для испытания герметичности и звукоизолирующих свойств этих средств защиты от шума рекомендуется в кабельный канал установить кабели в предназначенном количестве.
Примечание. Акустические характеристики могут изменяться в зависимости от числа кабелей.
При имитации крайнего местоположения с помощью дополнительных панелей длина панели должна быть не менее длины кабельного канала.
E.4. Условия испытаний
Если устройства для подачи воздуха снабжены какими-либо воздухораспределительными устройствами, то следует убедиться, что все оборудование работает в установленных типовых для нормального применения условиях. Испытания должны включать в себя режим полного открытия (максимальной подачи).
E.5. Протокол испытаний
Протокол испытаний должен соответствовать ИСО 10140-2. В нем должна быть отражена следующая дополнительная информация:
a) детальное описание примененных или имитируемых углов или краев;
b) детальное описание примененных методов увеличения или уменьшения толщины стены для монтажа испытуемого элемента.
(обязательное)
ИСПЫТАНИЙ ПО ОПРЕДЕЛЕНИЮ ЗВУКОИЗОЛЯЦИИ ПОЛОВ
F.1. Область применения
Настоящее приложение применяют для измерения звукоизоляции полов.
Определяемая величина - звукоизоляция R как функция частоты или приведенный уровень звукового давления ударного шума

как функция частоты. Определения R и

приведены в ИСО 10140-2 и ИСО 10140-3 соответственно.
Следует выполнять общие требования соответствующих разделов ИСО 10140-2 и 10140-3.
F.2. Испытательный проем
Испытательный проем для полов должен иметь площадь от 10 до 20 м2.
F.3. Граничные условия и условия монтажа
Следуют указаниям ИСО 10140-2 и ИСО 10140-3.
F.4. Режим работы и условия испытаний
Следуют указаниям ИСО 10140-2 и ИСО 10140-3.
F.5. Протокол испытаний
Протокол испытаний должен соответствовать ИСО 10140-2 и ИСО 10140-3.
(обязательное)
ИСПЫТАНИЙ ПО ОПРЕДЕЛЕНИЮ УЛУЧШЕНИЯ ЗВУКОИЗОЛЯЦИИ
ВОЗДУШНОГО ШУМА АКУСТИЧЕСКОЙ ОБЛИЦОВКОЙ
G.1. Область применения
Настоящее приложение распространяется на акустические облицовки стен и полов.
Определяемая величина - улучшение звукоизоляции

, дБ, которое определяется как разность между звукоизоляцией основного элемента при наличии акустической облицовки и без облицовки для каждой 1/3-октавной полосы по формуле

.
Выполняют общие требования соответствующих разделов ИСО 10140-2.
Примечание 1. Улучшение звукоизоляции облицовки может быть различным для прямого и побочного распространения звука, а также для воздушного и ударного шума. Метод настоящего стандарта распространяется на улучшение звукоизоляции прямого воздушного шума.
Примечание 2. Настоящее приложение не распространяется на улучшение звукоизоляции с помощью упругих гибких конструкций, таких как полы на деревянном каркасе или стены из двойных гипсокартонных панелей.
Примечание 3. Для сравнения изделий звукоизоляцию стен/полов и акустических облицовок рассматривают отдельно. Кроме того, европейская модель расчетов акустических характеристик зданий по характеристикам их элементов предусматривает определение звукоизоляции стены (пола) и улучшение звукоизоляции дополнительной облицовкой.
G.2. Испытуемый элемент
Испытуемый элемент (т.е. акустическая облицовка) и базовая конструкция должны перекрывать весь испытательный проем.
В качестве стандартных базовых конструкций в соответствии с назначением облицовки должны применяться конструкции, определенные ИСО 10140-5. Обычно используют стену или потолок (пол), на которых закреплена дополнительная облицовка [см. ИСО 10140-5 (приложение B)].
Определение характеристик облицовки требует, чтобы ее акустические характеристики не зависели от базовой конструкции, на которой она закреплена. Данное требование выполняется, если поверхностная плотность базовой конструкции значительно превышает поверхностную плотность облицовки, критическая частота базовой конструкции ниже диапазона частот измерений и структурная связь между облицовкой и базовой конструкцией слаба. Если реальная ситуация отличается от указанных требований, то влияние облицовки в большей степени зависит от свойств базовой конструкции. Таким образом, для достоверного определения акустических характеристик облицовки требуется устанавливать ее на тяжелых стенах (полах). Однако на практике часто применяют легкие стены. В качестве компромисса далее рассматриваются различные типы испытаний.
a) В зависимости от способа использования облицовку устанавливают либо на массивной стене с поверхностной плотностью около 350 кг/м2 и критической частотой, приблизительно равной 125 Гц, либо на стандартном бетонном полу в соответствии с ИСО 10140-5 (приложение B). Измеренное улучшение звукоизоляции за счет облицовки приводят в виде частотной характеристики и оценки одним числом в соответствии с настоящим приложением. Поскольку результаты основаны на усредненных характеристиках базовых конструкций, они являются существенно независимыми от особенностей конкретной испытательной установки и используемых стен (полов) и, следовательно, характеризуют облицовку наилучшим способом.
b) При исследовании характеристик облицовки легкой жесткой стены должна применяться стандартная легкая стена с поверхностной плотностью 70 кг/м2 и критической частотой 500 Гц в соответствии с ИСО 10140-5 (приложение B). Результаты приводят в виде частотной характеристики и улучшения звукоизоляции одним числом в соответствии с настоящим приложением. Критическая частота может значительно влиять на улучшение звукоизоляции облицовкой, поэтому результаты недействительны для других базовых конструкций. Однако используя процедуру коррекции в соответствии с настоящим приложением, влияние особенностей испытательной установки и базовой конструкции на оценку одним числом можно минимизировать, обеспечивая возможность сравнения результатов испытаний в разных лабораториях.
c) Чтобы определить эффективность облицовок в особых случаях при определении основных характеристик изделий дополнительно к вышеописанным могут быть применены другие конструкции стен (полов). Поскольку в данном случае применяют неусредненные характеристики базовых конструкций, используют только оценки одним числом в виде разности между значением индекса изоляции воздушного шума с облицовкой и без нее (в дальнейшем - прямая разность индекса изоляции воздушного шума). Данная величина улучшения звукоизоляции учитывает особенности конкретной лаборатории и стен (полов), позволяя, таким образом, сравнивать эффективность различных облицовок в конкретных условиях.
G.3. Граничные условия и условия монтажа
Облицовку монтируют на испытуемой стене обычно применяемым на практике способом. Она должна стыковаться с боковыми стенами лаборатории, однако сильной связи между испытуемой стеной и облицовкой через боковые стены лаборатории быть не должно. Элементы лаборатории, передающие побочный шум, должны быть либо весьма тяжелыми (см. ИСО 10140-5), либо должна существовать конструктивная развязка между базовой конструкцией (испытуемой стеной) и испытуемой облицовкой, или облицовка не должна жестко закрепляться на боковых стенах (т.е. при необходимости следует применять эластичный уплотнитель).
G.4. Условия испытаний и функционирования
Длительность выдержки облицовки и ее закрепления должна быть достаточной для достижения установившегося состояния. Звукоизоляция шума базовой конструкции не должна изменяться в течение двух последовательных измерений, поэтому эти измерения должны проводиться либо при установившемся состоянии, либо должны продолжаться достаточно короткое время. Для кирпичной кладки и бетона требуемый период выдержки должен быть не менее двух недель. Альтернативно, промежуток времени между двумя измерениями звукоизоляции не должен превышать одной трети времени выдержки перед первым измерением.
Примечание. Например, когда два измерения выполняют в течение одного дня, их можно начинать не ранее чем через три дня после достижения установившегося состояния бетонной или кирпичной базовой конструкции.
G.5. Протокол испытаний
Протокол испытаний должен соответствовать ИСО 10140-2. Дополнительно в протокол испытаний должна быть включена следующая информация:
a) подробное описание базовой конструкции (размеры, поверхностная плотность, материал), способ закрепления в испытательной установке (граничные условия) и ссылка на стандартную базовую конструкцию по ИСО 10140-5 (приложение B) или указание об отсутствии стандартной базовой конструкции;
b) подробное описание облицовки и способа и средств ее закрепления на базовой конструкции;
c) значения

,

и

в соответствии с
G.6. Для стандартных базовых конструкций в соответствии с ИСО 10140-5 (приложение B, пункты B.2 - B.4) приводят значения улучшения индексов изоляции воздушного шума

,

и

в соответствии с G.6 и дополнительными подстрочными индексами по
G.6.1.2 и
G.6.1.3, указывающими примененную базовую конструкцию. Для других базовых конструкций приводят значения

,

и

в соответствии с
G.6.1.3 без каких-либо дополнительных индексов для указания типа объекта для установки облицовки;
d) суммарный коэффициент потерь базовой конструкции с облицовкой, если измеряют, в виде таблицы его 1/3-октавных значений.
G.6. Дополнительная информация
G.6.1. Оценка одним числом улучшения звукоизоляции облицовкой
G.6.1.1. Общие положения
Все результаты

,

и

должны быть приведены в виде 1/3-октавных уровней, округленных до одной десятой децибела. При необходимости октавное значение

, дБ, может быть рассчитано по соответствующим 1/3-октавным уровням

по формуле

. (G.1)

,

и

приводят в виде таблиц частотных характеристик:
-

,

- 1/3-октавные частотные характеристики;
-

- 1/3-октавные и октавные частотные характеристики.
Для получения оценки одним числом улучшения звукоизоляции воздушного шума

по 1/3-октавным значениям

, округленным до десятых долей децибела, измеренные значения улучшения звукоизоляции при расчетах используют совместно с кривой частотной характеристики звукоизоляции для стандартных базовых конструкций [см. ИСО 10140-5 (приложение B)]. Разности между значениями индекса изоляции воздушного шума стандартной базовой конструкции при наличии и отсутствии облицовки дают индекс улучшения изоляции воздушного шума

облицовкой. Аналогично получают корректированные по A индексы улучшения изоляции воздушного шума облицовкой

и

[см. ИСО 717-1 (пункты 4, 5)]. Для расчета корректированных по A значений звукоизоляции при наличии и отсутствии облицовки следует использовать спектры уровня шума в соответствии с ИСО 717-1 (таблица 4 или таблица B.1 для расширенного диапазона частот).
Примечание 1. Методы получения оценки одним числом приведены в ИСО 717-1. Однако при пересмотре стандарта ИСО 717-1 он не был дополнен оценками индекса улучшения изоляции воздушного шума облицовками.
Пункт G.6.1 устраняет данное упущение.
Примечание 2. Для получения индекса улучшения изоляции воздушного шума

по 1/3-октавным значениям

применяют тот же метод, как при получении индекса улучшения изоляции ударного шума

по приведенным уровням звукового давления ударного шума

в соответствии с ИСО 717-2.
G.6.1.2. Определяемые величины
В соответствии с настоящим подразделом определяются следующие оценки одним числом:
- индекс улучшения изоляции воздушного шума

, который рассчитывают по улучшению звукоизоляции

. Дополнительным подстрочным индексом обозначают примененную базовую конструкцию: "heavy" для тяжелой стены или пола и "light" для облегченных стен по ИСО 10140-5 (приложение B).
Пример -

;
- прямую разность индексов изоляции воздушного шума

, дБ, т.е. разность значений индексов изоляции воздушного шума базовой конструкции при наличии и отсутствии облицовки при определенных условиях измерений (без применения частотных характеристик звукоизоляции базовой конструкции) по формуле

. (G.2)
G.6.1.3. Методика оценивания
Берут измеренные значения улучшения звукоизоляции в 1/3-октавных полосах частот

. Прибавляют к ним значения звукоизоляции

стандартной базовой конструкции в соответствии с ИСО 10140-5 (приложение B), используя формулу

. (G.3)
Определяют индексы изоляции воздушного шума

и

и коэффициенты согласования спектра в соответствии с ИСО 717-1 <*>. Индекс улучшения изоляции воздушного шума рассчитывают по формуле

. (G.4)
--------------------------------
<*> Метод определения индекса изоляции воздушного шума, эквивалентный методу по ИСО 717-1, изложен в
СП 51.13330.2011 "Защита от шума".
Корректированные по A индексы улучшения изоляции воздушного шума

и, соответственно,

рассчитывают аналогичным образом.
Дополнительными подстрочными индексами указывают примененную базовую конструкцию: "heavy" для тяжелой стены и пола и "light" для легкой стены и пола в соответствии с ИСО 10140-5 (приложение B).
Пример -

.
Если применяют стену (пол), отличающуюся от стандартной, то оценки одним числом непосредственно следуют из аналогичных значений для базовых конструкций при наличии и отсутствии испытуемой акустической облицовки согласно
G.6.1.2.
(обязательное)
ИСПЫТАНИЙ ПО ОПРЕДЕЛЕНИЮ УЛУЧШЕНИЯ ЗВУКОИЗОЛЯЦИИ
УДАРНОГО ШУМА НАПОЛЬНЫМИ ПОКРЫТИЯМИ
Методы настоящего приложения применяют к напольным покрытиям, предназначенным для улучшения звукоизоляции ударного шума.
Определяемая величина - улучшение звукоизоляции ударного шума

, дБ, как функция частоты, равная снижению приведенного уровня звукового давления ударного шума

после настилания испытуемого напольного покрытия на стандартный пол с известными характеристиками и рассчитываемая по формуле

, (H.1)
где

- приведенный уровень звукового давления ударного шума стандартного пола без напольного покрытия, дБ;

- приведенный уровень звукового давления ударного шума стандартного пола с напольным покрытием, дБ.
При необходимости снижение уровня ударного шума в октавных полосах может быть рассчитано по 1/3-октавным значениям по формуле

. (H.2)
Требования к стандартному полу установлены в ИСО 10140-5 (приложение C), где описаны тяжелый стандартный пол и три типа легких стандартных полов.
Следует выполнять общие требования соответствующих разделов ИСО 10140-3.
Величины индексов улучшения изоляции ударного шума стандартным тяжелым полом и легкими полами N 1, N 2 и N 3 обозначают

,

,

и

соответственно.
Примечание. Если во время испытаний звукопоглощение приемного помещения не изменяется, то предполагают, что снижение уровня звукового давления ударного шума эквивалентно снижению приведенного уровня звукового давления ударного шума.
H.2. Испытуемый элемент
H.2.1. Общие положения
Стандартный пол, на котором размещают напольное покрытие, выбирают из предлагаемых типов по ИСО 10140-5 (приложение C) и устанавливают в соответствии с ИСО 10140-3 (пункт 6.2.1).
Примечание 1. В условиях, когда нецелесообразно монтировать легкий стандартный пол в соответствии с ИСО 10140-5 (приложение G), оценку улучшения звукоизоляции ударного шума напольным покрытием можно выполнить с помощью альтернативной испытательной установки на основе сборного макета деревянного пола, устанавливаемого поверх стандартного тяжелого пола. Руководство по измерениям с применением данного макета приведено в
H.6.2.
Примечание 2. В ИСО 10140-3 (приложение A) приведен альтернативный метод оценки с применением массивного мягкого источника шума, пригодного для имитации сильных мягких ударов, подобных шуму шагов взрослого человека или прыжкам ребенка по полу.
Различают три категории напольных покрытий, для которых применяют различные способы монтажа и методы испытаний.
Категория зависит как от типа напольного покрытия, так и от типа стандартного пола, с которым оно испытывается.
В зависимости от типа напольного покрытия площадь испытуемого фрагмента должна быть либо немного больше площади основания ударной машины, либо равна площади пола.
При испытании мягких напольных покрытий стандартная ударная машина должна удовлетворять особым требованиям, приведенным в ИСО 10140-5 (приложение E, пункт E.1). Рекомендации по установке стандартной ударной машины на мягкое напольное покрытие приведены в ИСО 10140-5 (приложение E, пункт E.1) и в ИСО 10140-3 (пункт 5.1).
H.2.2. Классификация напольных покрытий
H.2.2.1. Категория I - Образцы малых размеров
Данная категория включает в себя эластичные покрытия (пластмасса, резина, пробка, циновка или их сочетания), которые могут быть уложены свободно или приклеены к поверхности пола.
Устанавливают три или более образцов предпочтительно из разных партий продукции от одного изготовителя. Размеры каждого образца должны обеспечивать размещение на нем ударной машины.
H.2.2.2. Категория II - Образцы больших размеров
Данная категория включает в себя жесткие однородные поверхностные материалы или комбинацию напольных покрытий, по меньшей мере одно из которых является жестким.
Образец должен покрывать все пространство от стены до стены или иметь площадь не менее 10 м2 с размером наименьшей стороны не менее 2,3 м.
H.2.2.3. Категория III - Эластичные материалы
Данная категория включает в себя эластичные покрытия, которыми покрывают пол. Следует испытывать образцы больших размеров.
Образец должен покрывать все пространство от стены до стены или иметь площадь не менее 10 м2 с размером наименьшей стороны не менее 2,3 м.
H.2.2.4. Материалы неопределенной классификации
В случае неопределенности категории материала испытательная лаборатория самостоятельно устанавливает размеры испытуемого образца.
H.3. Граничные условия и условия монтажа
См. ИСО 10140-3.
H.4. Условия испытаний и функционирования
H.4.1. Нагрузка
Комбинированные напольные покрытия (материалы категории II) могут испытываться под нагрузкой. Нормальное нагружение может быть имитировано равномерно распределенной нагрузкой от 20 до 25 кг/м2. Распределенная нагрузка должна быть реализована размещением не менее одного (сосредоточенного) груза на квадратном метре пола.
Для материалов категории III (растягиваемые материалы, включая эластичные покрытия, покрывающие пол от стены до стены) следует испытывать образцы большого размера без применения нагрузки.
H.4.2. Монтаж
Следуют рекомендациям изготовителя по монтажу покрытия, обращая особое внимание на края испытуемого образца.
H.4.3. Монтаж приклеиванием
Приклеиваемые напольные покрытия обычно требуют приклеивания по всей поверхности. Если применяют приклеивание в отдельных точках, то в протоколе испытаний следует точно описать методику приклеивания. Приклеивая покрытие, следуют инструкциям изготовителя клея, в частности, относительно его количества и времени склеивания. Протокол испытаний должен содержать информацию о типе клея и времени склеивания.
H.4.4. Отвердение
Не испытывают покрытия, такие как плавающие плиты по уложенному на месте бетону, до окончания периода отвердения. Например, для стандартного бетона рекомендуемый период отвердения три недели.
H.4.5. Внешние условия
Акустические свойства многих напольных покрытий зависят от температуры и относительной влажности. В протоколе испытаний указывают температуру в центральной точке верхней поверхности пола и относительную влажность воздуха помещения, где находится покрытие. Температура пола должна быть от 18 °C до 25 °C.
H.4.6. Положение ударной машины
Руководство по настройке высоты падения молотков ударной машины приведено в ИСО 10140-5 (приложение E). Для испытуемых образцов, не покрывающих весь пол, молотки должны касаться образца не ближе 100 мм от его края.
Каждая серия измерений с непокрытым и покрытым полом должна выполняться при нескольких положениях ударной машины, необходимых для получения надежного среднего значения.
H.4.6.1. Напольные покрытия для тяжелых стандартных полов
H.4.6.1.1. Испытуемые напольные покрытия категории I
Должно быть не менее трех образцов напольного покрытия, если их размещают на стандартном полу в виде малых фрагментов, минимальные размеры которых должны быть 650 x 350 мм. Число положений ударной машины должно быть равно числу испытуемых образцов. Молотки должны ударять по образцу не ближе 100 мм от его краев. Ударную машину вместе с ее основанием последовательно помещают на каждый образец напольного покрытия, в каждом случае ударяя всеми молотками по образцу. Определяют приведенный уровень звукового давления ударного шума с напольным покрытием

[см. ИСО 10140-4 (пункт 5.3)]. Для непокрытого пола повторяют измерения в тех же положениях ударной машины, определяя приведенный уровень ударного шума без напольного покрытии

[см. ИСО 10140-4 (пункт 5.3)]. Рассчитывают снижение уровня звукового давления ударного шума (улучшение звукоизоляции ударного шума) (см.
H.1).
Альтернативно, ударная машина может быть помещена вдоль одной из сторон каждого образца и насколько возможно близко от нее. В последнем случае линия молотков должна быть параллельна длинной стороне образца (см.
рисунок H.3). Для каждого образца напольного покрытия уровень звукового давления ударного шума, соответствующий непокрытому полу, есть среднее арифметическое значение уровней, определенных для двух положений машины вдоль одной из сторон образца.
H.4.6.1.2. Испытуемые напольные покрытия категорий II или III
При измерении снижения звукопередачи ударного шума напольными покрытиями по тяжелому стандартному полу следует устанавливать ударную машину не менее чем в четырех позициях (см. рисунок H.1).
Рисунок H.1. Типичные положения ударной машины
для напольных покрытий категорий II или III
и тяжелого стандартного пола
Определяют приведенный уровень ударного шума с напольным покрытием

и в тех же позициях ударной машины - без напольного покрытия

[см. ИСО 10140-4 (пункт 5.3)].
Рассчитывают снижение уровня звукового давления ударного шума (улучшение звукоизоляции ударного шума) (см.
H.1).
H.4.6.2. Испытание напольных покрытий для легких стандартных полов
H.4.6.2.1. Испытуемые напольные покрытия категории I
Должно быть не менее трех образцов напольного покрытия, если их размещают на стандартном полу в виде малых фрагментов, минимальные размеры которых должны быть 650 x 350 мм. Число позиций ударной машины должно быть равно числу испытуемых образцов. Молотки должны ударять по испытуемому образцу не ближе 100 мм от его краев. Линия молотков должна быть ориентирована под углом 45° к брусьям, лагам или балкам пола. Ударную машину размещают так, чтобы по меньшей мере один молоток располагался непосредственно над балкой, как показано на рисунке H.2. Ударную машину вместе с ее основанием последовательно помещают на каждый образец напольного покрытия, в каждом случае ударяя всеми молотками по образцу. Определяют приведенный уровень звукового давления ударного шума с напольным покрытием

[см. ИСО 10140-4 (пункт 5.3)]. Для непокрытого пола повторяют измерения в тех же позициях ударной машины, определяя приведенный уровень ударного шума без напольного покрытия

[см. ИСО 10140-3 (пункт 5.3)]. Рассчитывают снижение уровня звукового давления ударного шума (улучшение звукоизоляции ударного шума) (см.
H.1).

Рисунок H.2. Типичные положения ударной машины
для напольных покрытий и легкого стандартного пола
Альтернативно, ударная машина может быть помещена вдоль одной из сторон каждого образца и насколько возможно близко от нее. В последнем случае линия молотков должна быть параллельна длинной стороне образца (см.
рисунок H.3). Для каждого образца напольного покрытия уровень звукового давления ударного шума, соответствующий непокрытому полу, есть среднее арифметическое значение уровней, определенных для двух положений ударной машины вдоль одной из сторон образца.
Заштрихованными прямоугольниками отмечены позиции испытуемых образцов, множество маленьких окружностей показывает точки, в которых молотки ударной машины должны ударять по легкому стандартному полу или по испытуемым образцам соответственно.
1 - испытуемый образец категории I;
2 - балка; b - ширина испытуемого образца
Рисунок H.3. Альтернативное размещение ударной машины
для малых образцов напольных покрытий категории I
и легкого стандартного пола
Рассчитывают снижение уровня звукового давления ударного шума (улучшение звукоизоляции ударного шума) (см.
H.1).
H.4.6.2.2. Испытуемые напольные покрытия категории II или III
При измерении снижения передачи ударного шума напольными покрытиями по легкому стандартному полу следует использовать не менее шести позиций ударной машины (см.
рисунок H.2). Позиции должны быть случайным образом распределены по полу. Линия молотков должна быть ориентирована под углом 45° к брусьям, лагам или балкам пола.
Определяют приведенный уровень ударного шума с напольным покрытием

и в тех же позициях ударной машины - без напольного покрытия

[см. ИСО 10140-4 (пункт 5.3)].
Рассчитывают снижение уровня звукового давления ударного шума (улучшение звукоизоляции ударного шума) (см.
H.1).
H.5. Протокол испытаний
Протокол испытаний должен соответствовать ИСО 10140-3, а также содержать дополнительную информацию.
Для лабораторных измерений изменения звукоизоляции ударного шума, обусловленного напольным покрытием, в протокол испытаний включают следующую информацию:
a) описание стандартного пола, содержащее тип (тяжелый, легкий, тип 1, 2 или 3), размеры, материалы, поверхностную плотность и т.п.;
b) наименования и адреса изготовителей, торговую марку напольного покрытия, число слоев многослойных покрытий и клея, наименование поставщика испытательного оборудования;
c) подробное описание (при необходимости с чертежами) испытуемого образца, включая тип, массу, размеры и толщину поверхностей (под нагрузкой, если предписано);
d) метод монтажа и подробное указание способа применения клея, его расхода на единицу площади и времени склеивания для панелей плавающих полов, время выдержки для бетона;
e) число, местоположение грузов, если применяют, и продолжительность нагружения;
f) материал, размеры и число опорных площадок ударной машины;
g) сведения об имевших место видимых разрушениях испытуемого образца при испытаниях (например, об уплотнениях);
Примечание. Желательно оставлять испытуемый образец в лаборатории для последующего контроля.
h) снижение уровня звукового давления ударного шума, обусловленное применением испытуемого напольного покрытия, как функция частоты, индекс улучшения изоляции ударного шума

и коэффициенты согласования спектра;
i) приведенный уровень звукового давления ударного шума как функцию частоты непокрытого стандартного пола, примененного при испытаниях, индекс приведенного уровня ударного шума и соответствующий коэффициент согласования спектра стандартного пола при напольном покрытии и без него:

и

или

и

.
H.6. Дополнительная информация
H.6.1. Определение улучшения звукоизоляции при сильном мягком ударе
Устанавливают напольное покрытие в соответствии с требованиям
H.3 на стандартный пол по ИСО 10140-5 (приложение C).
Измеряют максимальный уровень звукового давления ударного шума

при наличии и отсутствии напольного покрытия.
Примечание. Методика определения максимального уровня звукового давления ударного шума

приведена в ИСО 10140-3 (приложение A).
Снижение звукового давления уровня (улучшение звукоизоляции ударного шума)

, дБ, следует рассчитывать по результатам измерений при наличии и отсутствии напольного покрытия по формуле

, (H.3)
где

- максимальный уровень звукового давления ударного шума стандартного пола без напольного покрытия;

- максимальный уровень звукового давления ударного шума стандартного пола с напольным покрытием.
H.6.2. Методы применения макета деревянного пола для определения снижения ударного шума напольными покрытиями по легким конструкциям
Данный метод применим ко всем типам напольных покрытий. Результаты применимы при условиях монтажа, аналогичных применяемым при испытаниях. Чтобы гарантировать применимость результатов к реальным легким полам, материал панели и ее толщина в макете должны быть такими же, как у реального легкого пола.
При использовании различных материалов панелей разной толщины получаемые результаты могут служить лишь оценкой улучшения звукоизоляции ударного шума для реального легкого пола.
Примечание 1. Существуют два пути звукопередачи шума в приемное помещение. Один - посредством структурного шума, распространяющегося по опоре верхнего пола, другой - посредством воздушного шума из помещения источника шума, проникающего через бетонную плиту в приемное помещение. В общем случае структурный шум преобладает, но в некоторых случаях, особенно на высоких частотах, воздушный путь распространения шума влияет на результат и является причиной занижения улучшения звукоизоляции ударного шума, распространяющегося по конструкциям. Некоторые легкие полы обладают слабой звукопередачей структурного шума, например полы в помещениях с независимыми потолками или с потолками, подвешенными на эластичной подвеске. В таких случаях результаты, полученные в соответствии с настоящим приложением, могут не соответствовать реальной ситуации.
Примечание 2. Действие эластичного напольного покрытия зависит от упругости пола, на который настилают покрытие. Применение напольного покрытия для более жесткого пола обеспечивает большее снижение ударного шума. В соответствии с
H.4.6.1 напольное покрытие может быть настелено на толстую бетонную плиту, которая может рассматриваться как абсолютно жесткая. Другие результаты имеют место при применении напольного покрытия на легком полу. Настоящий метод альтернативен методу по
H.4.6.2 (применяется в лаборатории, где нет возможности установить легкий стандартный пол). Он позволяет имитировать работу легких конструкций пола настиланием напольного покрытия на типичную деревянную конструкцию верхней части типичного легкого пола. Этот упругий настил устанавливают на основание, которое в свою очередь опирается на "черный пол", идентичный тяжелому стандартному полу. Упругий настил вместе со своим основанием именуют "верхним полом", который вместе с тяжелым стандартным полом, называемым "черным полом", образует "испытательный пол".
H.6.2.2. Испытательная установка
Технические требования к макету деревянного пола и его монтажу приведены в ИСО 10140-5 (приложение G). Дополнительно стандартный верхний пол, описанный в
H.6.2.1, может быть дополнен другими верхними полами, моделирующими верхнюю часть произвольных легких полов. Это делают путем замены 22 мм древесно-стружечной плиты другими плитами или их сочетаниями.
H.6.2.3. Подготовка и монтаж испытуемого образца
Во время испытаний на верхний пол устанавливают пять грузов массой от 20 до 25 кг каждый и ударную машину. Их положения должны быть фиксированными: один груз в середине пола, другие четыре - по углам на расстоянии 40 см от краев пола. Грузы применяют при обоих измерениях - с напольным покрытием и без него.
Паркетные полы должны покрывать весь верхний пол. Мягкие напольные покрытия должны укладываться на верхний пол свободно.
H.6.2.4. Метод испытаний
Метод испытаний должен соответствовать основному методу настоящего приложения, за исключением числа позиций ударной машины, которых должно быть не менее шести. Позиции должны быть постоянными и одинаковыми при испытаниях с напольным покрытием и без него. Минимальное расстояние между грузами должно быть приблизительно 300 мм.
H.6.3. Представление результатов
Пример формы для представления результатов, полученных при лабораторных измерениях снижения приведенного уровня звукового давления ударного шума напольным покрытием в соответствии с настоящим приложением, приведен на
рисунке H.4. Рекомендуется использовать данную форму при оформлении протокола испытаний.
Рисунок H.4. Пример формы для представления
результатов испытаний
--------------------------------
<*> Метод определения индекса приведенного уровня ударного шума, эквивалентный методу по ИСО 717-2, изложен в
СП 51.13330.2011 "Защита от шума".
(обязательное)
ИСПЫТАНИЙ ПО ОПРЕДЕЛЕНИЮ ЗВУКОИЗОЛЯЦИИ
ВОЗДУШНОГО ШУМА СТАВНЯМИ
I.1. Область применения
Настоящее приложение распространяется на окна со ставнями <*>.
--------------------------------
<*> В настоящем приложении рассматривают ставни, конструкция которых предусматривает наличие полотна ставня, набираемого из отдельных профилей (ламелей), и короба с приводным механизмом, монтируемым в верхней части окна и предназначенным для полотна ставня в свернутом состоянии. Ставни такой конструкции обычно называют рольставнями.
Определяемая величина - звукоизоляция воздушного шума R как функция частоты для ставней в открытом и закрытом положениях. Определение R приведено в ИСО 10140-2.
Следует соблюдать общие требования соответствующих разделов ИСО 10140-2.
Примечание 1. Положения настоящего приложения заимствованы из ЕН 14579.
Примечание 2. Термины по ставням - согласно ЕН 12216.
I.2. Испытуемый элемент
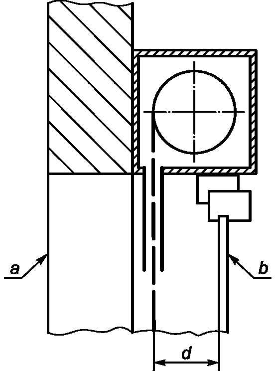
Акустические характеристики ставней зависят от акустических характеристик окна, отстоящего от ставней на расстоянии d, и качества монтажа. Испытания следует выполнять с комплектом "окно-ставни".
Для испытаний используют специальный малый испытательный проем по ИСО 10140-5, имеющий размеры 1,23 x 1,48 м для установки комплекта. Встроенные ставни типов 2, 5 и 6 можно испытывать в проеме указанных размеров, полагая, что расстояние d соответствует глубине ниши испытательного проема. Обозначения типов ставней - по I.3.
В случае неприменимости данного метода, например, для встроенных ставней типов 1, 3 и 4, для которых тип и размер прилегающей стены могут влиять на результаты испытаний и вследствие этого стену следует считать частью объекта испытаний, испытательная установка включает в себя прилегающую стену. В таких случаях испытательная установка должна моделировать реальную ситуацию.
I.3. Граничные условия и условия монтажа
Акустические характеристики зависят от способа установки ставней или встроенных ставней с окном в испытательном проеме. Различают следующие шесть типов установки:
1) тип 1: накладной короб позади перемычки;
2) тип 2: короб внутри проема;
a) Тип 1
b) Тип 2
a - внешняя сторона; b - внутренняя сторона
Рисунок I.1. Встроенные ставни с окном
1) тип 3: короб, смонтированный позади перемычки;
2) тип 4: короб, предварительно установленный на стену в заводских условиях;
a) Тип 3
b) Тип 4
a - внешняя сторона; b - внутренняя сторона
Рисунок I.2. Встроенные ставни
3) тип 5: накладной короб снаружи проема;
4) тип 6: короб внутри проема;
a) Тип 5
b) Тип 6 с наружным полотном ставней
c) Тип 6 с внутренним полотном ставней
a - внешняя сторона; b - внутренняя сторона
Рисунок I.3. Смонтированные снаружи ставни
I.4. Условия испытаний и функционирования
I.4.1. Условия испытаний
Звукоизоляция некоторых систем или элементов остекления, в частности, включающих в себя ламинированное (многослойное) стекло, может зависеть от температуры в испытательных помещениях. Температура в обоих испытательных помещениях, применяемых для измерения звукоизоляции, должна быть (20 +/- 3) °C. Испытуемые элементы должны выдерживаться 24 ч при этой температуре. Кроме того, целесообразно выполнить измерения при температурах, близких к рабочим значениям для испытуемого элемента.
I.4.2. Условия функционирования
Если испытуемый элемент в соответствии с назначением может открываться, то перед испытаниями он должен быть открыт и закрыт не менее пяти раз.
I.5. Протокол испытаний
Протокол испытаний должен соответствовать ИСО 10140-2 и ИСО 10140-3. Следующая дополнительная информация должна быть включена в протокол испытаний:
a) значения

и

;
b) тип ставней (ставни с окном; ставни, установленные изнутри; ставни, установленные снаружи);
c) тип установки (тип 1, 2, 3, 4, 5 или 6);
d) расстояние d;
e) размеры испытуемого окна.
(справочное)
СВЕДЕНИЯ О СООТВЕТСТВИИ ССЫЛОЧНЫХ МЕЖДУНАРОДНЫХ СТАНДАРТОВ
ССЫЛОЧНЫМ НАЦИОНАЛЬНЫМ СТАНДАРТАМ РОССИЙСКОЙ ФЕДЕРАЦИИ
Таблица ДА.1
Обозначение ссылочного международного стандарта | Степень соответствия | Обозначение и наименование соответствующего национального стандарта |
ИСО 717-1:1996 | - | |
ИСО 717-2 | - | |
ИСО 10140-2 | IDT | ГОСТ Р ИСО 10140-2-2012 "Акустика. Лабораторные измерения звукоизоляции элементов зданий. Часть 2. Измерение звукоизоляции воздушного шума" |
ИСО 10140-3 | IDT | ГОСТ Р ИСО 10140-3-2012 "Акустика. Лабораторные измерения звукоизоляции элементов зданий. Часть 3. Измерение звукоизоляции ударного шума" |
ИСО 10140-5 | IDT | ГОСТ Р ИСО 10140-5-2012 "Акустика. Лабораторные измерения звукоизоляции элементов зданий. Часть 5. Требования к испытательным установкам и оборудованию" |
<*> Соответствующий национальный стандарт отсутствует. До его утверждения рекомендуется использовать перевод на русский язык данного международного стандарта. Перевод данного международного стандарта находится в Федеральном информационном фонде технических регламентов и стандартов. Примечание. В настоящей таблице использовано следующее условное обозначение степени соответствия стандартов: - IDT - идентичные стандарты. |
[1] | ISO 140-2, Acoustics - Measurement of sound insulation in buildings and of building elements - Part 2: Determination, verification and application of precision data |
[2] | ISO 140-4, Acoustics - Measurement of sound insulation in buildings and of building elements - Part 4: Field measurements of airborne sound insulation between rooms |
[3] | ISO 140-5, Acoustics - Measurement of sound insulation in buildings and of building elements - Part 5: Field measurements of airborne sound insulation of facade elements and facades |
[4] | ISO 140-7, Acoustics - Measurement of sound insulation in buildings and of building elements - Part 7: Field measurements of impact sound insulation of floors |
[5] | ISO 140-14, Acoustics - Measurement of sound insulation in buildings and of building elements - Part 14: Guidelines for special situations in the field |
[6] | ISO 140-18, Acoustics - Measurement of sound insulation in buildings and of building elements - Part 18: Laboratory measurement of sound generated by rainfall on building elements |
[7] | ISO 1804, Doors - Terminology |
[8] | EN 12216, Shutters, external blinds, internal blinds - Terminology, glossary and definitions |
[9] | EN 12354-1, Building acoustics - Estimation of acoustic performance of buildings from the performance of elements - Part 1: Airborne sound insulation between rooms |
[10] | EN 12519, Windows and pedestrian doors - Terminology |
[11] | EN 12758, Glass in buildings - Glazing and airborne sound insulation - Product descriptions and the determination of properties |
[12] | EN 14759, Shutters - Acoustic insulation relative to airborne sound - Expression of performance |
[13] | Fasold, W., Sonntag, W. Bauphysikalische Entwurfslehre. Bau- und Raumakustik [Design theory from the building design viewpoint. Building and room acoustics]. Berlin: Verlag  Bauwesen, 1988, 486 pp. |
[14] | Scholl, W.,  , W. Impact sound insulation of timber floors: Interaction between source, floor coverings and load bearing floor. J. Building Acoust., 6, 1999, pp. 43 - 61. |