Главная // Актуальные документы // ГОСТ Р (Государственный стандарт)СПРАВКА
Источник публикации
М.: Стандартинформ, 2019
Примечание к документу
Документ включен в
Перечень документов в области стандартизации, в результате применения которых на добровольной основе обеспечивается соблюдение требований Федерального
закона от 30.12.2009 N 384-ФЗ "Технический регламент о безопасности зданий и сооружений" (
Приказ Росстандарта от 02.04.2020 N 687).
Документ
введен в действие с 1 сентября 2019 года.
Название документа
"ГОСТ Р 51872-2019. Национальный стандарт Российской Федерации. Документация исполнительная геодезическая. Правила выполнения"
(утв. и введен в действие Приказом Росстандарта от 22.03.2019 N 93-ст)
"ГОСТ Р 51872-2019. Национальный стандарт Российской Федерации. Документация исполнительная геодезическая. Правила выполнения"
(утв. и введен в действие Приказом Росстандарта от 22.03.2019 N 93-ст)
Утвержден и введен в действие
агентства по техническому
регулированию и метрологии
от 22 марта 2019 г. N 93-ст
НАЦИОНАЛЬНЫЙ СТАНДАРТ РОССИЙСКОЙ ФЕДЕРАЦИИ
ДОКУМЕНТАЦИЯ ИСПОЛНИТЕЛЬНАЯ ГЕОДЕЗИЧЕСКАЯ
ПРАВИЛА ВЫПОЛНЕНИЯ
Executive geodetic documentation. Performance rules
ГОСТ Р 51872-2019
Дата введения
1 сентября 2019 года
1 ПОДГОТОВЛЕН Обществом с ограниченной ответственностью "ТЕКТОПЛАНф" (ООО "ТЕКТОПЛАНф"), Комитетом государственного строительного надзора города Москвы (Мосгосстройнадзор), Государственным бюджетным учреждением города Москвы "Московский городской трест геолого-геодезических и картографических работ" (ГБУ "Мосгоргеотрест"), Московским государственным университетом геодезии и картографии (МИИГАиК), Обществом с ограниченной ответственностью "Фирма "ЮСТАС" (ООО "Фирма "ЮСТАС"), Обществом с ограниченной ответственностью "Научно-производственное предприятие "Строительство" (ООО НПП "Строительство")
2 ВНЕСЕН Техническим комитетом по стандартизации ТК 465 "Строительство"
3 УТВЕРЖДЕН И ВВЕДЕН В ДЕЙСТВИЕ
Приказом Федерального агентства по техническому регулированию и метрологии от 22 марта 2019 г. N 93-ст
Правила применения настоящего стандарта установлены в статье 26 Федерального закона от 29 июня 2015 г. N 162-ФЗ "О стандартизации в Российской Федерации". Информация об изменениях к настоящему стандарту публикуется в ежегодном (по состоянию на 1 января текущего года) информационном указателе "Национальные стандарты", а официальный текст изменений и поправок - в ежемесячном информационном указателе "Национальные стандарты". В случае пересмотра (замены) или отмены настоящего стандарта соответствующее уведомление будет опубликовано в ближайшем выпуске ежемесячного информационного указателя "Национальные стандарты". Соответствующая информация, уведомление и тексты размещаются также в информационной системе общего пользования - на официальном сайте Федерального агентства по техническому регулированию и метрологии в сети Интернет (www.gost.ru)
Настоящий стандарт устанавливает требования к составу, содержанию, оформлению, контролю, порядку приема и хранения геодезической исполнительной документации, составляемой на бумажных носителях и в электронном виде, при строительстве, реконструкции, расширении, капитальном ремонте зданий, сооружений, сетей инженерно-технического обеспечения (далее - строительстве).
Настоящий стандарт предназначен для применения государственными органами управления и надзора, а также организациями и лицами - участниками строительства, владельцами зданий и сооружений, сетей инженерно-технического обеспечения и организациями, их эксплуатирующими, вне зависимости от принадлежности и подчиненности, а также другими организациями, выполняющими исполнительные и контрольные геодезические съемки в строительстве, составляющими и хранящими геодезическую документацию.
В настоящем стандарте использованы нормативные ссылки на следующие документы:
ГОСТ 2.307 Единая система конструкторской документации. Нанесение размеров и предельных отклонений
ГОСТ 2.308 Единая система конструкторской документации. Указания допусков формы и расположения поверхностей
ГОСТ 2.321 Единая система конструкторской документации. Обозначения буквенные
ГОСТ 21.113 Система проектной документации для строительства. Обозначения характеристик точности
ГОСТ 21.508 Система проектной документации для строительства. Правила выполнения рабочей документации генеральных планов предприятий, сооружений и жилищно-гражданских объектов
| | ИС МЕГАНОРМ: примечание. В официальном тексте документа, видимо, допущена опечатка: ГОСТ 22845-2018 имеет название "Лифты. Лифты электрические. Монтаж и пусконаладочные работы. Правила организации и производства работ, контроль выполнения и требования к результатам работ". | |
ГОСТ 22845 Лифты электрические пассажирские и грузовые. Правила организации, производства и приемки монтажных работ
ГОСТ Р 21.1101 Система проектной документации для строительства. Основные требования к проектной и рабочей документации
СП 42.13330 "СНиП 2.07.01-89* Градостроительство. Планировка и застройка городских и сельских поселений"
СП 45.13330 "СНиП 3.02.01-87 Земляные сооружения, основания и фундаменты"
СП 62.13330 "СНиП 42-01-2002 Газораспределительные системы"
Примечание - При пользовании настоящим стандартом целесообразно проверить действие ссылочных документов в информационной системе общего пользования - на официальном сайте Федерального агентства по техническому регулированию и метрологии в сети Интернет или по ежегодному информационному указателю "Национальные стандарты", который опубликован по состоянию на 1 января текущего года, и по выпускам ежемесячного информационного указателя "Национальные стандарты" за текущий год. Если заменен ссылочный документ, на который дана недатированная ссылка, то рекомендуется использовать действующую версию этого документа с учетом всех внесенных в данную версию изменений. Если заменен ссылочный документ, на который дана датированная ссылка, то рекомендуется использовать версию этого документа с указанным выше годом утверждения (принятия). Если после утверждения настоящего документа в ссылочный документ, на который дана датированная ссылка, внесено изменение, затрагивающее положение, на которое дана ссылка, то это положение рекомендуется применять без учета данного изменения. Если ссылочный документ отменен без замены, то положение, в котором дана ссылка на него, рекомендуется применять в части, не затрагивающей эту ссылку. Сведения о действии сводов правил целесообразно проверить в Федеральном информационном фонде технических регламентов и стандартов.
3.1 геодезическая основа: Совокупность закрепленных на местности или сооружении геодезических пунктов, положение которых определено в общей для них системе координат.
3.2 геодезическая привязка: Определение положения закрепленных на местности точек, зданий и их элементов в принятой системе координат и высот.
3.3 исполнительная съемка: Процесс, основным содержанием которого является определение фактического положения объектов строительства, строительных конструкций, сетей инженерно-технического обеспечения и технологического оборудования относительно разбивочных осей.
3.4 исполнительный чертеж: Отчетный документ по подземной инженерной коммуникации, определяющий назначение, характеристики, планово-высотное положение построенной или реконструированной подземной инженерной коммуникации, исполнительные чертежи возведенных зданий, сооружений, несущих и ограждающих конструкций.
3.5 высотная деформационная геодезическая основа: Сеть реперов высотной геодезической основы, предназначенная для наблюдения за осадками основных строительных конструкций.
3.6 охранная зона: Участок вдоль подземной трассы, ограниченный вертикальными плоскостями, отстоящими по обе стороны от оси трассы от крайних габаритов коммуникаций.
3.7 репер: Геодезический знак с известной высотой.
3.8 глубинный репер: Фундаментальный геодезический знак, закладываемый в практически несжимаемые грунты и предназначенный для сохранения высоты.
3.9 красные линии: Линии, которые обозначают существующие, планируемые (изменяемые, вновь планируемые) границы территорий общего пользования, границы земельных участков, на которых расположены линии электропередачи, трубопроводы, автомобильные дороги, железнодорожные линии и другие подобные сооружения.
3.10 куст реперов: Три репера и более, размещенные на расстоянии не более 50 м друг от друга.
3.11 поправка: Значение величины, вводимое в неисправленный результат измерений.
3.12 случайная погрешность: Погрешность, для которой неизвестен характер ее действия в каждом конкретном измерении; она подчиняется только статистическим закономерностям.
3.13 предельная погрешность: Погрешность, которая с заданной вероятностью не должна превышать по абсолютной величине погрешности результатов измерений.
3.14 спутниковые геодезические сети: Геодезические сети, создаваемые методами спутниковых определений.
3.15 глобальная навигационная спутниковая система; ГНСС: Система, состоящая из созвездия навигационных спутников, службы контроля и управления и аппаратуры пользователей, позволяющая определять местоположение (координаты) антенны приемника потребителя.
3.16
Глобальная навигационная спутниковая система;

, GLONASS: Глобальная навигационная спутниковая система, разработанная в Российской Федерации.
3.17 система глобального позиционирования (Global Positioning System); GPS: Глобальная навигационная спутниковая система, разработанная в США.
4.1 Геодезическая исполнительная документация в строительстве предназначена для определения соответствия параметров строящегося, построенного, реконструируемого объекта капитального строительства проектной документации и фиксирует значения линейных и угловых размеров, координат, расстояний, отметок, размеров диаметров труб, привязок их габаритов к осям и отметкам геодезической разбивочной основы, красным линиям.
4.2 Достоверность геодезической исполнительной документации должна быть подтверждена уполномоченными специалистами: руководителями и исполнителями геодезических и строительных работ в части соответствия параметров объекта проектной документации.
При установлении фактов, содержащих недостоверные сведения в геодезической исполнительной документации, уполномоченные специалисты несут ответственность в соответствии с действующим законодательством по порядку проведения строительного контроля при осуществлении строительства, реконструкции и капитального ремонта объектов капитального строительства.
4.3 Геодезическую исполнительную документацию составляют по результатам исполнительной съемки на все виды несущих, ограждающих элементов возводимых зданий и сооружений, прокладываемых подземных и надземных сетей инженерно-технического обеспечения в соответствии с заданием на проектирование и соблюдением действующих нормативных документов и правил.
4.4 В состав графической геодезической исполнительной документации строящихся объектов при наличии задания входят:
- по зданиям и сооружениям - исполнительные схемы смонтированных конструкций, каталоги координат и высот, полевые геодезические материалы съемки;
- сетям инженерно-технического обеспечения - оси проложенных коммуникаций с границами охранных зон, их профили, каталоги координат, схемы сварных стыков трубопроводов, полевые геодезические материалы исполнительной съемки (при наличии таких требований в проектной документации);
- объектам производственного назначения - сводные планы сетей инженерно-технического обеспечения, исполнительные генпланы.
4.5 Геодезическая исполнительная документация, предназначенная для геодезического мониторинга технического состояния объекта капитального строительства, строящегося, реконструируемого или построенного, включает в себя показатели отклонений от проектных значений линейных и угловых размеров, прогибов, координаты и отметки характерных точек строительных конструкций и их привязку к осям и отметкам геодезической разбивочной основы.
4.6 В состав проектной документации, предназначенной для геодезического мониторинга технического состояния объекта капитального строительства, строящегося, реконструируемого или построенного, входят:
- каталоги координат и высот марок геодезического мониторинга в характерных точках строительных конструкций;
- материалы исполнительной съемки, включая схемы размещения контролируемых марок геодезического мониторинга.
4.7 Геометрические параметры в геодезической исполнительной документации, проектные значения и действительные отклонения должны быть отражены в соответствии с
ГОСТ 2.307,
ГОСТ 2.308,
ГОСТ 21.508, требованиями других нормативных документов, а также проектов производства геодезических работ (ППГР).
4.8 Геодезическая исполнительная документация ведется лицом, осуществляющим строительство. В состав исполнительной документации включаются текстовые и графические материалы в объеме, необходимом для проведения оценки соответствия выполненных работ, строительных материалов требованиям технических регламентов, иных нормативных правовых актов и проектной документации.
Исполнительная документация ведется на бумажном носителе и/или по соглашению между участниками электронного взаимодействия в виде электронных документов, подписанных усиленной квалифицированной электронной подписью.
Исполнительная документация должна содержать информацию в соответствии с требованиями
РД-11-02-2006 [1].
5 Перечень, содержание и оформление геодезической исполнительной документации разбивочной основы, элементов зданий и сооружений
5.1 Перечень геодезической исполнительной документации по объектам строительства устанавливают на основании требований ППГР с учетом соответствующих требований органов государственного надзора, строительного контроля, авторского надзора проектной организации (примерный
перечень геодезической исполнительной документации разбивочной основы, элементов зданий и сооружений приведен в приложении А).
Геодезическая исполнительная документация формируется на основании исполнительной съемки и содержит следующую информацию:
- числовые значения габаритов и местоположений объектов съемки;
- условные знаки или рисунки строительных конструкций, коммуникаций и элементов благоустройства с указанием их назначений, действительных размеров и значений отклонений от проектных параметров.
5.2 В геодезической исполнительной документации разбивочной основы указывают размещенные знаки и пункты, от которых проводился вынос в натуру, контуры зданий и сооружений, основные оси, иные ориентиры и реперы.
5.3 На исполнительных чертежах строящихся зданий и сооружений показывают положение осей элементов конструкций зданий и сооружений в плане и по высоте, размеры отклонений от проектного положения, допущенные в процессе строительства, действительные расстояния от граней элементов до разбивочных осей с указанием привязочных размеров последних к осям.
Примеры оформления графической документации приведены на
рисунках Б.6 -
Б.17 (приложение Б).
5.4 При наличии отклонений координат, отметок местоположения точек, элементов конструкций, их размеров на исполнительных чертежах помещают надпись о согласовании отклонений с проектной организацией, включающую наименование, дату и номер документа.
5.5 В качестве основы для геодезических исполнительных схем допускается использовать рабочие чертежи, входящие в состав проектной документации.
В правом нижнем углу геодезической исполнительной схемы размещают основную надпись по
ГОСТ Р 21.1101.
5.6 К исполнительной схеме геодезической разбивочной основы при выполнении строительных работ прилагаются:
- акты приемки геодезической разбивочной основы для строительства;
- схемы вынесенных в натуру точек, осей и установленных знаков закрепления с необходимыми привязками.
5.7 Геодезическую исполнительную документацию выполняют в масштабах 1:500 или 1:1000, фрагменты планов - 1:200, узлы - 1:20.
Допускается исполнительные схемы (планы) геодезической основы выполнять в масштабе 1:2000, узлы - 1:10, но во всех случаях масштаб изображения не должен быть менее масштаба разбивочных чертежей разработанной проектной документации, а при отсутствии таких чертежей - масштаба генеральных планов.
5.8 Масштаб изображения разбивочной основы в геодезической исполнительной документации указывают после наименования каждого изображения на разбивочном чертеже, а масштаб разбивочного плана в геодезической исполнительной документации - в штампе в правом нижнем углу чертежа.
5.9 Системы координат и высот, отображаемые на геодезической исполнительной основе, должны дублировать в каталоге.
Координаты и высоты указывают в метрах с двумя десятичными знаками, отделенными от целого числа запятой.
Значения уклонов поверхности указывают в промилле, без обозначения единиц измерения, но со стрелкой, обозначающей направления уклонов, а крутизну откосов указывают в виде отношения единицы высоты (отметки верха поверхности) к горизонтальному (отметки низа поверхности) положению откоса.
5.10 На исполнительных чертежах геодезической разбивочной основы (на планах расположения зданий, сооружений, подземных, надземных сетей инженерно-технического обеспечения), отображаемых по результатам исполнительных съемок, наносят цифровые значения координат контуров и отметки нулевых горизонтов зданий, красных линий, отделяющие территорию застройки от магистрали, улиц, проездов и условных границ застраиваемой территории, ограждения с воротами, калитками.
6 Состав, содержание и оформление геодезической исполнительной документации подземных и надземных сетей инженерно-технического обеспечения
6.1 Исполнительные чертежи составляют на все виды подземных и надземных сетей: водопровод, канализацию, газопроводы, тепловые сети, дождевую канализацию, дренаж, трубопроводы специального назначения, кабельные сети, коллекторы.
Исполнительные чертежи систем инженерно-технического обеспечения внутри зданий и сооружений составляют при наличии соответствующих требований в проектной документации. При этом требования к составу, содержанию и оформлению исполнительных чертежей должны соответствовать установленным стандартам.
6.2 При соответствии действительных размеров, отметок, уклонов, сечений (диаметров), привязок и других геометрических параметров номинальным значениям (с установленными предельными отклонениями) на исполнительных чертежах выполняют надпись: "Отклонения от проекта по геометрическим параметрам отсутствуют".
6.3 Допускается совмещение исполнительных чертежей различных сетей, если информация об одной сети не может быть отнесена к другой.
6.4 При большой протяженности сетей допускается их изображение с разрывами, обозначаемыми параллельными штриховыми линиями.
6.5 Исполнительные чертежи на отдельных листах выполняют в виде планов и схем в масштабах, принятых для соответствующих рабочих чертежей. Для небольших зданий, когда соответствующие рабочие чертежи отсутствуют, допускается принимать масштаб 1:50.
6.6 Когда масштабы исполнительных чертежей не позволяют с достаточной степенью детальности показать все размеры, от соблюдения которых зависят эксплуатационные характеристики сетей, следует применять буквенные обозначения по
ГОСТ 2.321.
6.7 При отображении в геодезической исполнительной документации подземных сетей инженерно-технического обеспечения указывают: характеристики и назначение подземных сетей инженерно-технического обеспечения, их вводы в здания (сооружения), диаметр и материал труб, число кабелей и труб, смотровые люки, габариты каналов коллекторов, отметки верха труб, коллекторов, пакетов (блоков) при кабельной прокладке, низа каналов коллекторов, верха труб канализации, входящих в перепадные колодцы, входящих и выходящих труб в колодцах-отстойниках, дна и обечаек колодцев, лотков в самотечных сетях, низы фундаментных плит верха ростверков, а также координаты и отметки других элементов инфраструктуры сетей инженерно-технического обеспечения в соответствии с их наличием на каждом конкретном объекте строительства.
В геодезической исполнительной документации графические параметры, отражаемые на бумажных носителях и в электронном виде, должны содержать: направления линий трасс, точки углов поворотов, места изменения уклонов, присоединений, ответвлений и пересечений с другими сетями инженерно-технического обеспечения, охранные зоны сетей инженерно-технического обеспечения в принятой системе координат и высот.
| | ИС МЕГАНОРМ: примечание. В официальном тексте документа, видимо, допущена опечатка: таблицы 1, 2, 4 и 5 в СП 126.13330.2017 отсутствуют. | |
6.8 Координаты точек
X,
Y и высоты
H, определенные спутниковыми методами измерений относительно базовых пунктов сети ГЛОНАСС/GPS, где применение спутниковых технологий и методов измерений обеспечивает требуемую точность, либо относительно пунктов разбивочной сети методами триангуляции, трилатерации, полигонометрии и реперов соответствующих классов точности, допускается прилагать к графической части документации в виде таблиц 1, 2, 4, 5
СП 126.13330.2017.
6.9 Точность планового и высотного положения объектов, отображаемых при выполнении исполнительных геодезических съемок, должна соответствовать точности топографических планов.
6.10 Схемы сварных стыков трубопроводов, включая даты их выполнения, составляются для газопроводов, теплопроводов, сетей горячего водоснабжения, продуктопроводов опасных и вредных продуктов, а также при необходимости для других трубопроводов по требованию органов надзора, территориальных инженерных служб и эксплуатирующих организаций. Примеры плана и профиля прокладки приведены на
рисунках В.2 и
В.3 (приложение В). Горизонтальный и вертикальный масштабы профиля должны соответствовать масштабам профиля в составе проекта.
Исполнительную съемку строящихся подземных сетей инженерно-технического обеспечения следует выполнять в открытых траншеях.
6.11 На исполнительный чертеж наносят вновь построенную сеть и указывают данные геодезических измерений и привязок существующих сетей, вскрытых при строительстве.
6.12 При перекладке сетей на исполнительном чертеже отмечают участки старых сетей, изъятых из земли или оставленных в земле, с указанием места и способа их отключения.
6.13 При соответствии действительных размеров, отметок, уклонов, сечений (диаметров), привязок и других геометрических параметров номинальным значениям, указанным в проектной документации, выполняют надпись: "Отклонения от проектного размещения по геометрическим параметрам отсутствуют", и эту документацию используют в качестве исполнительной.
6.14 Исполнительные чертежи, продольные профили, схемы сварных стыков и каталоги координат и высот составляют для обеспечения длительного хранения на бумажном и электронном носителях в масштабах проектной документации, а при внесении результатов исполнительной съемки в сводные планы сетей инженерно-технического обеспечения - в масштабе 1:500 в соответствии с требованиями правил выполнения исполнительных чертежей с действующими условными обозначениями
[2].
При внесении в сводные планы сетей инженерно-технического обеспечения в электронной форме масштаб и формат чертежей исполнительной документации определены региональными структурами по архитектуре и градостроительству по согласованию с уполномоченным региональным ведомством по информационным технологиям.
7 Геодезическая исполнительная документация для межевых планов при выполнении кадастровых работ
7.1 Геодезическая исполнительная документация по результатам съемок зданий, сооружений, сетей инженерно-технического обеспечения и дорог является основой для составления межевых планов. Межевые планы соответствующих территорий или кадастровые выписки соответствующего земельного участка документируют на основании данных исполнительных геодезических съемок необходимыми сведениями и вносят в государственный кадастр недвижимости.
Межевые планы состоят из графических и текстовых частей.
7.2 Для внесения исполнительной геодезической документации на графическую часть межевого плана приводят сведения кадастрового учета с указанием местоположения уточненных границ земельных участков, доступа к образуемым или измененным земельным участкам (переход или проезд от земельных участков общего пользования), в том числе с учетом установленного права пользования участком, не принадлежащим лицу или лицам на праве собственности.
7.3 Местоположение границ земельных планов, контуров зданий и сооружений, прокладываемых сетей инженерно-технического обеспечения коммуникаций и дорог фиксируют в геодезической исполнительной документации по координатам характерных точек границ участков, контуров зданий, сооружений, осей коммуникаций и дорог с учетом требований федерального
закона [3] и
приказа Минэкономразвития России
[4].
В геодезической исполнительной документации для межевых планов при выполнении кадастровых работ координаты характерных точек границ землепользования, трасс сетей инженерно-технического обеспечения, дорог и охранных зон отображают с округлением до 0,01 м в системе координат, установленной в регионе.
8 Контроль исполнительной документации
8.1 Контроль при приемке исполнительной документации уполномоченными органами заключается в проверке соответствия ее состава, полноты содержания и оформления требованиям настоящего стандарта, а также в проверке полноты отображения в документации материалов исполнительной съемки.
8.2 Соответствие состава, полноты содержания и оформления документации требованиям настоящего стандарта, других действующих нормативных документов и рабочей документации проектов определяют:
- визуально, путем просмотра полноты материалов исполнительных съемок и отображения на бумажных носителях цифровых и иных данных, определенных проектной документацией;
- проведением контрольных измерений и обследований (в целях оценки правильности отображения в документации материалов исполнительных съемок);
- рассмотрением при необходимости полевых результатов измерений (в целях установления достоверности материалов съемок и их уточнения).
Для сетей инженерно-технического обеспечения на территории производственных объектов заказчиком могут быть установлены более строгие требования к полноте отображения в документации материалов исполнительной съемки.
8.3 При соответствии данных контрольной исполнительной геодезической съемки и данных, представленных на проверяемом документе, в правой части документа уполномоченный представитель организации, принимающей документацию, и проверяющий выполняют надпись: "Исполнительный документ составлен правильно и соответствует действительному положению сети инженерно-технического обеспечения на местности. Отклонения от проекта отсутствуют" или "Исполнительный документ составлен правильно и соответствует действительному положению сети инженерно-технического обеспечения на местности. Имеются согласованные (несогласованные) отклонения от проекта".
Соответствующие надписи оформляют штампами с указанием регистрационного номера, подписи и даты.
9 Передача, приемка и хранение геодезической исполнительной документации
9.1 Оригиналы геодезической исполнительной документации, кроме документации по подземным сетям инженерно-технического обеспечения, хранит организация - исполнитель работ вместе с полевыми материалами исполнительных съемок в соответствии с правилами хранения архивных дел.
Оригиналы исполнительных чертежей, планов, профилей и каталогов координат подземных сетей инженерно-технического обеспечения хранят территориальные организации - держатели геодезических фондов в соответствии с порядком формирования и ведения сводных планов сетей инженерно-технического обеспечения населенного пункта.
9.2 Приемку и хранение геодезической исполнительной документации осуществляют уполномоченные организации региональных органов исполнительной власти.
Приемку и хранение геодезической исполнительной документации на построенные здания и сооружения независимо от их назначения осуществляет застройщик или заказчик.
Сроки хранения исполнительной геодезической документации установлены федеральными органами исполнительной власти
[1],
[5],
[6].
9.2.1 Приемку и хранение геодезической исполнительной документации по прокладке подземных и надземных сетей инженерно-технического обеспечения осуществляет администрация населенного пункта.
Собственником сводного плана подземных сетей инженерно-технического обеспечения и осуществления деятельности по его ведению администрацией населенного пункта является региональный орган исполнительной власти по вопросам строительства или его подведомственная профильная организация по геолого-геодезическим и картографическим работам.
9.3 Результаты исполнительных геодезических съемок являются неотъемлемой частью актов освидетельствования ответственных конструкций и сетей инженерно-технического обеспечения и должны быть подписаны:
- представителями застройщика или технического заказчика;
- лицом, осуществляющим руководство строительством;
- представителем авторского надзора;
- представителями организации, осуществляющей эксплуатацию сетей инженерно-технического обеспечения;
- представителями надзорных организаций.
9.4 Оригиналы документации по подземным частям зданий и сооружений подлежат хранению в течение жизненного цикла здания и/или сооружения.
Срок хранения полевых материалов исполнительных съемок подземных частей зданий и сооружений установлен ведомственными нормативными документами в соответствии с действующими правилами хранения архивных дел.
9.5
Перечень геодезической исполнительной документации по разбивочным работам, элементам строительных конструкций зданий и сооружений, благоустройству приведен в приложении А.
Примеры указания на схемах допусков формы и расположения поверхностей приведены на
рисунках Б.1 -
Б.5 (приложение Б).
Требования к содержанию исполнительного чертежа и продольного профиля подземной сети приведены в приложении Г.
| | ИС МЕГАНОРМ: примечание. В официальном тексте документа, видимо, допущена опечатка: имеется в виду рисунок В.1 (приложение В), а не рисунок Г.1 (приложение Г). | |
Перечень охранных зон подземных и надземных сетей инженерно-технического обеспечения приведен в
Д.4 (приложение Д), пример исполнительного чертежа водостока с охранными зонами приведен на
рисунке Г.1 (приложение Г).
(справочное)
ГЕОДЕЗИЧЕСКОЙ ИСПОЛНИТЕЛЬНОЙ ДОКУМЕНТАЦИИ РАЗБИВОЧНОЙ
ОСНОВЫ, ЭЛЕМЕНТОВ ЗДАНИЙ И СООРУЖЕНИЙ
1 Акт освидетельствования геодезической разбивочной основы территории.
2 Акт освидетельствования геодезической разбивочной основы объекта капитального строительства.
3 Исполнительная схема геодезической разбивочной основы на строительной площадке.
4 Исполнительная схема выноса в натуру (разбивки) основных осей здания (сооружения).
5 Исполнительная схема котлована.
6 Высотная исполнительная схема свай после их погружения (забивки).
7 Исполнительная схема свайного поля в плане (после срубки свай).
8 Исполнительная схема ростверков.
9 Исполнительная схема фундаментов.
10 Исполнительная схема фундаментов под оборудование (анкерных болтов, закладных деталей, технологических отверстий, колодцев и других элементов).
11 Поярусная (поэтажная) исполнительная схема колонн каркасных зданий.
12 Поэтажные исполнительные схемы стен многоэтажных зданий.
13 Поэтажные исполнительные схемы планово-высотного положения монолитных плит перекрытия (с указанием положения термовкладышей, технологических отверстий при их наличии в проектной документации).
14 Высотная исполнительная схема консолей колонн.
15 Высотная исполнительная схема площадок опирания панелей перекрытий и покрытий здания.
16 Поэтажные исполнительные схемы планового положения монолитных стен (пилонов, диафрагм жесткости).
17 Исполнительная схема отклонений плоскостей, их пересечений от вертикали или проектного наклона на каждом монтажном горизонте и по всей высоте конструкций для стен зданий и сооружений, возводимых в скользящей опалубке монолитных шахт лифтов.
18 Исполнительная схема отклонений плоскостей от вертикали или проектного наклона на каждом монтажном горизонте и по всей высоте конструкций для стен зданий и сооружений, возводимых в скользящей опалубке (наружные плоскости на всю высоту возводимых зданий).
19 Поэтажные исполнительные схемы планово-высотного положения сборных железобетонных плит перекрытия с указанием предусмотренной проектом глубины опирания плит на несущие стены.
20 Исполнительная поэтажная схема кирпичной кладки наружных и внутренних несущих стен с указанием смещения осей конструкций от разбивочных осей.
21 Исполнительная схема отклонения поверхностей и углов кладки от вертикали для кирпичных зданий.
22 Исполнительная схема подкрановых балок и путей.
23 Исполнительная схема лифтовой шахты.
24 Исполнительная схема полов промышленного здания.
25 Исполнительная схема крыши.
26 Исполнительная схема территории после выполнения работ по благоустройству.
27 Исполнительные схемы резервуаров, градирен, мачт, дымовых труб и других инженерных сооружений.
28 Исполнительная схема по благоустройству территории.
(справочное)
ОФОРМЛЕНИЕ ГРАФИЧЕСКОЙ ДОКУМЕНТАЦИИ
Б.1 Действительные значения линейных размеров (расстояния между осями, поверхностями и т.п.) показывают числовыми значениями, помещенными под размерной линией, над которой указан соответствующий проектный размер.
Б.2 Проектные и действительные отметки уровней (высоты, глубины) показываются: для грунтовых и других поверхностей рельефа - по
ГОСТ 21.508, для прочих элементов - по
ГОСТ Р 21.1101. Направляющую линию соединяют с точкой поверхности, к которой относится отметка (способы обозначения отметки уровней поверхности показаны на рисунке Б.1).
а) расшифровка обозначений; б) на плане; в) и г) на разрезах
Рисунок Б.1 - Способы обозначения
отметки уровней поверхности
Б.3 Действительные отклонения от проектных отметок показывают числовым значением в миллиметрах со знаком "плюс" в случае превышения или "минус" в случае занижения. Направляющую линию соединяют с точкой поверхности, к которой относится отклонение (см. рисунок Б.2).
- высотная отметка в абсолютных единицах (проект);
- высотная отметка от уровня чистого пола 1-го этажа (проект);
+7 - отклонение от проекта
Рисунок Б.2 - Примеры указания действительных
отклонений поверхностей
Б.4 Отклонения точек плит перекрытий и других горизонтальных (наклонных) поверхностей от их проектного положения указывают числовыми значениями в миллиметрах со знаком "минус" или "плюс" с направляющей линией или два значения (низ и верх конструкции) в круге, где в числителе указывают отклонение от проектного положения верха конструкции, а в знаменателе - низа конструкции.
Б.5 Уклоны поверхностей и линейных элементов показывают по
ГОСТ Р 21.1101; крутизна откосов показывается по
ГОСТ 21.508. При этом перед действительными числовыми значениями помещается буква "Д" в прямоугольной рамке.
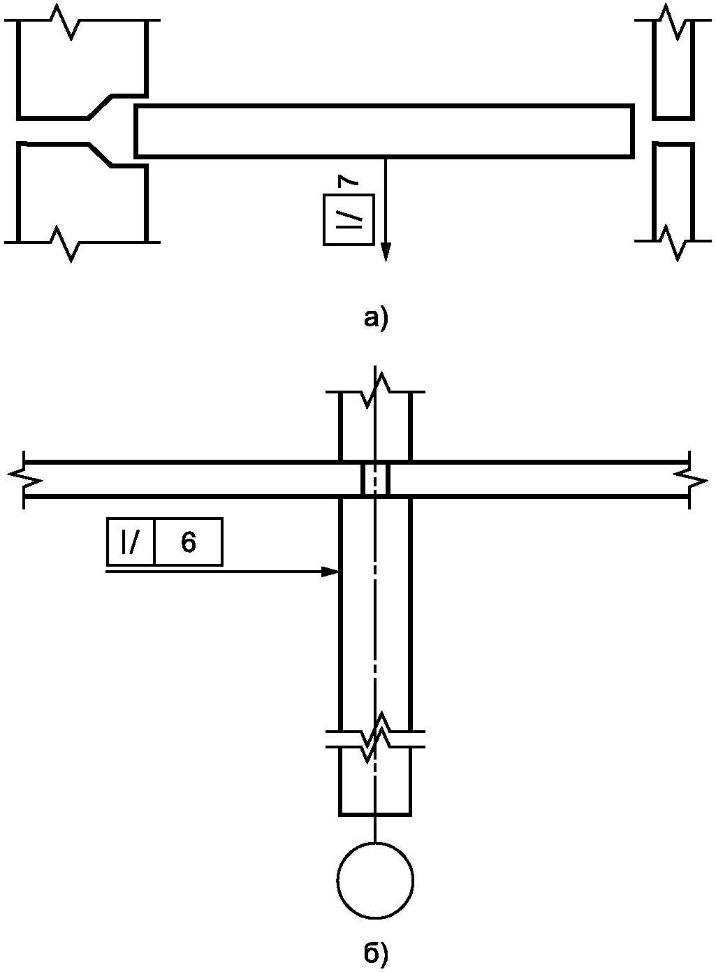
Действительные отклонения осей элементов от проектного положения на планах указывают стрелками, направленными в сторону отклонения и расположенными рядом с числовым значением отклонения. При этом перед действительными числовыми значениями отклонений помещают в прямоугольной рамке букву "В" для верхнего сечения или букву "Н" для нижнего сечения элемента (см. рисунок Б.3).
а) сваи; б) колонны
Рисунок Б.3 - Примеры указания действительных отклонений
осей элементов от проектного положения в плане
Действительные расстояния от граней элемента до разбивочных осей указывают в соответствии с рисунком Б.4.
а) от граней монолитного ростверка до вынесенной оси;
б) от граней стеновой панели до разбиваемой
в натуре параллели оси
Рисунок Б.4 - Примеры указаний действительных
расстояний на плане
Действительные отклонения поверхностей элементов от вертикальности указывают стрелками, направленными в сторону отклонения, и расположенными рядом условными обозначениями нарушений вертикальности по
ГОСТ 21.113 и числовыми значениями отклонений (см. рисунок Б.5).
а) на плане; б) на разрезе
Рисунок Б.5 - Примеры указания действительных отклонений
поверхностей элементов от вертикальности
Рисунок Б.6 - Исполнительная геодезическая схема.
Разработка котлована. Картограмма
Рисунок Б.7 - Исполнительная геодезическая схема. План
земляных масс. Таблица перемещения объемов земляных масс
Рисунок Б.8 - Исполнительная геодезическая
схема свайного поля
Рисунок Б.9 - Исполнительная геодезическая схема.
Фундаменты под оборудование
Рисунок Б.10 - Исполнительная геодезическая схема.
Ленточные фундаменты
Рисунок Б.11 - Исполнительная геодезическая схема.
Фундаменты стаканного типа
Рисунок Б.12 - Исполнительная геодезическая схема.
Подкрановые пути
Рисунок Б.13 - Исполнительная геодезическая схема.
Схема замеров лифтовой железобетонной шахты
Примеры (комплект) исполнительной геодезической документации при возведении жилого дома приведены на рисунках Б.14 -
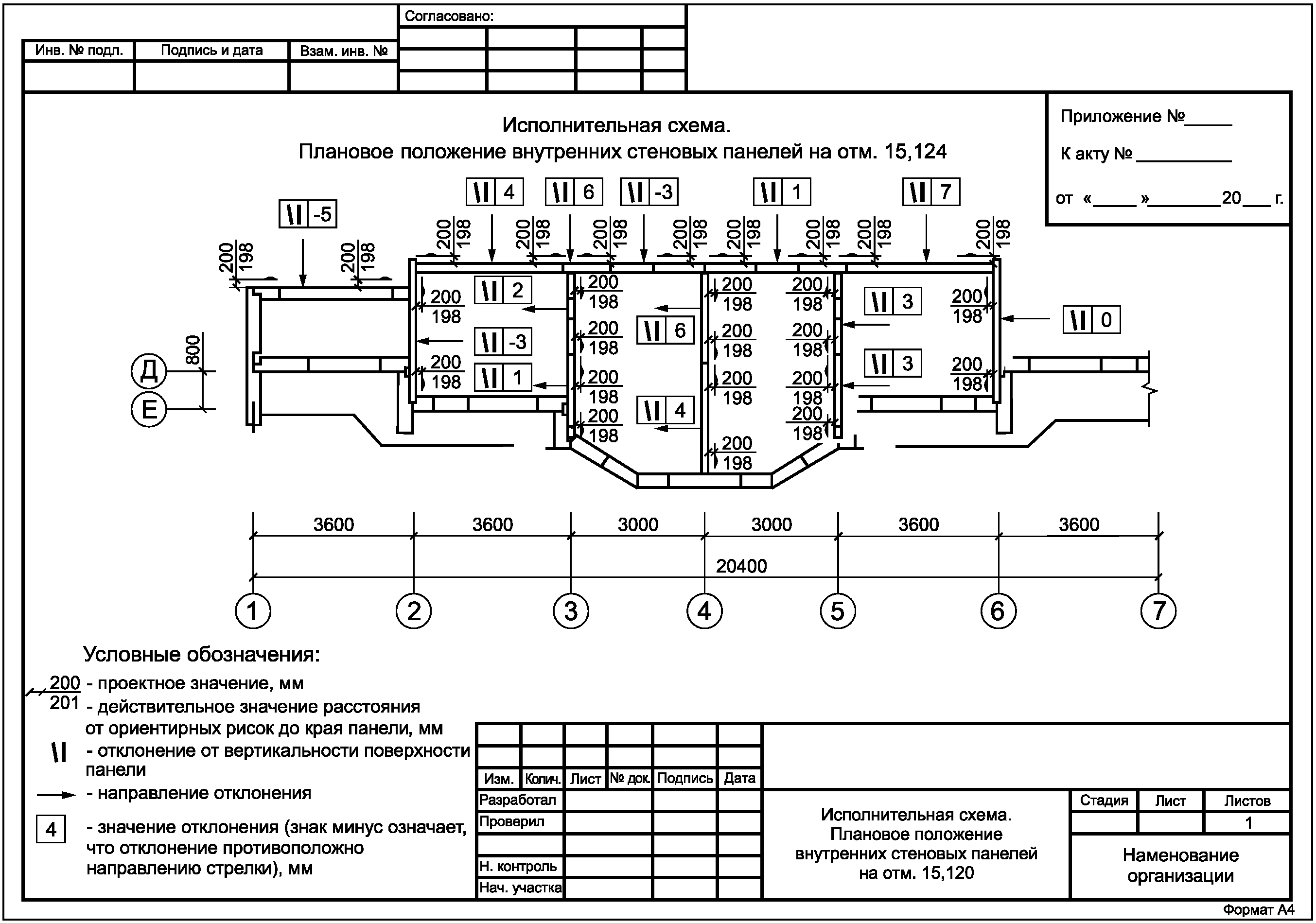
Б.17, включающих исполнительные геодезические схемы наружных стеновых панелей (см. рисунок Б.14) и внутренних стеновых панелей (см.
рисунок Б.15) этажа жилого дома, а также высотное положение этажа (см.
рисунок Б.16) и лестнично-лифтовый узел этажа жилого дома (см.
рисунок Б.17).
Рисунок Б.14 - Исполнительная геодезическая схема. Наружные
стеновые панели этажа жилого дома (плановое положение)
Рисунок Б.15 - Исполнительная геодезическая схема.
Внутренние стеновые панели этажа жилого дома
(плановое положение)
Рисунок Б.16 - Исполнительная геодезическая схема.
Высотное положение этажа жилого дома
Рисунок Б.17 - Исполнительная геодезическая схема.
Лестнично-лифтовой узел этажа жилого дома
(рекомендуемое)
ОБРАЗЦЫ ОФОРМЛЕНИЯ ИСПОЛНИТЕЛЬНОЙ ДОКУМЕНТАЦИИ ПЛАНОВ
С ОХРАННЫМИ ЗОНАМИ И ПРОФИЛЕЙ ТЕЛЕФОННОЙ КАНАЛИЗАЦИИ
На рисунках В.1 -
В.3 представлены примеры оформления исполнительной документации планов с охранными зонами и профилей.
Рисунок В.1 - План водостока с охранными зонами
Рисунок В.2 - Исполнительный чертеж
телефонной канализации. План
Рисунок В.3 - Исполнительный чертеж
телефонной канализации. Профиль
(справочное)
К СОДЕРЖАНИЮ ИСПОЛНИТЕЛЬНЫХ ЧЕРТЕЖЕЙ ПОДЗЕМНЫХ КОММУНИКАЦИЙ
Г.1 Требования к содержанию исполнительного чертежа
Г.1.1 На исполнительный чертеж должны быть нанесены геометрические параметры следующих характерных точек и линий проложенной инженерной сети, в том числе ее надземных участков, а также существующих сетей, вскрытых при строительстве:
- центров колодцев, люков колодцев и камер;
- точек поворота сети, главных точек кривых (начало, середина и конец) при плавных поворотах в плане, точек изломов и изгибов по высоте;
- центров мест переходов из подземного положения в надземное;
- точек пересечения оси основной сети с осью присоединения или отвода;
- створных точек оси (верх прокладки) на прямых прокладках не менее чем через 50 м (на незастроенных территориях при большом протяжении допускается наносить створные точки через 100 м);
- точек пересечения осей вводов и выпусков с наружными гранями зданий (сооружений);
- осей существующих сетей, пересекающихся или идущих параллельно проложенной, вскрытых при строительстве;
- концевых, переломных и поворотных точек на футлярах (кожухах);
- мест изменения диаметра и материала труб;
- расположения отключающих устройств, расположенных вне камер и колодцев.
| | ИС МЕГАНОРМ: примечание. В официальном тексте документа, видимо, допущена опечатка: имеется в виду пункт Г.1.1, а не пункт Г.1. | |
Г.1.2 По отдельным видам сетей на исполнительный чертеж, кроме точек, указанных в
Г.1, должны быть нанесены геометрические параметры мест расположения следующих элементов и устройств и приведена дополнительная информация:
- по водопроводам и трубопроводам специального технического назначения (продуктопроводам) - опор при надземной прокладке, пожарных гидрантов, задвижек, вантузов, аварийных выпусков, водоразборных колонок, упоров на углах поворота, заглушек, габариты колодцев и камер;
- канализации и водостоку - аварийных выпусков, оголовков выпусков водостока, дождеприемников, ливнеспусков, очистных сооружений на водостоках, упоров на углах поворота напорной канализации, габариты камер, зданий станций перекачки и насосных станций;
- подземным дренажам - тип дренажа, материал и поперечное сечение лотков и траншей для закрытых дрен, материал и поперечное сечение глухого коллектора;
- тепловым сетям - опор при надземной прокладке, компенсаторов, задвижек, неподвижных опор, габариты камер, надземных павильонов над камерами и зданий центральных тепловых пунктов, тип прокладки и канала, а также все данные сопутствующего дренажа, водоспусков из канала и всех инженерных сетей, находящихся в канале;
- газопроводам - коверов, регуляторов давления, задвижек, гидравлических затворов, контрольных трубок, конденсационных горшков, заглушек, габариты газораспределительных пунктов и станций;
- электрокабелям - линейных и тройниковых муфт, петель запаса кабеля, переводов, мест выходов на опоры и стены зданий, габариты распределительных пунктов, трансформаторов и тяговых подстанций;
- сооружениям электрозащиты от коррозии - контактных устройств, анодных заземлителей, электрозащитных установок, электрических перемычек, защитных заземлений и дренажных кабелей;
- телефонной канализации - общее число каналов на каждом пролете, размеры нестандартных колодцев и камер, мест выходов на здания и телефонные распределительные шкафы.
Г.1.3 При отсутствии в составе исполнительной документации продольного профиля приводят также отметки:
- обечайки смотрового люка и дна колодца;
- дна лотка самотечных и верха трубы напорных трубопроводов;
- верха труб, бронированного кабеля и пакета кабельной канализации на створных точках;
- поверхности земли (бровки траншеи) около колодцев и на створных точках.
Г.1.4 На исполнительном чертеже должны быть приведены данные о назначении сети, количестве, материале и диаметре труб, величине напряжения и марке кабелей, давлении газа.
Г.1.5 На исполнительном чертеже или прилагаемом к нему отдельном листе в масштабе, принятом в проекте, изображают:
- планы и разрезы колодцев или указывают их тип;
- все характерные сечения коллекторов, каналов, футляров, блоков кабельной канализации, кабельных пакетов;
- развертки кабельных колодцев;
- другие детали сети и сооружений на ней с указанием необходимых линейных размеров, характеризующих построенное сооружение;
- условные знаки изображенных на данном листе инженерных сетей.
На исполнительном чертеже проложенного водопровода или прилагаемом к нему отдельном листе, кроме того, изображают внемасштабную общую схему проложенной сети с указанием внешних габаритов сооружений, диаметров и материала труб, протяженности отдельных участков сети, упоров на углах поворота, задвижек, отключаемых участков существующих сетей.
Г.2 Требования к содержанию продольного профиля
Г.2.1 На продольный профиль должны быть нанесены:
- проложенная инженерная сеть, в том числе ее надземные участки;
- существующие подземные сети, вскрытые при строительстве;
- существующие подземные сети, расположенные ниже проложенной (наносят по данным топографических планов, использованных для разработки проекта).
Г.2.2 На продольном профиле указывают:
- проектные и действительные отметки поверхности земли и элементов проложенной сети, указанные в
Г.1.1 и
Г.1.2;
- горизонтальные расстояния между точками нивелирования (пикетаж, нумерация);
- величины и направления уклонов;
- число кабелей или труб;
- диаметры труб;
- характеристики конструкций дорожной одежды и ее основания, вскрытых при строительстве.
(справочное)
ИСПОЛНИТЕЛЬНАЯ ДОКУМЕНТАЦИЯ ПРИ ВЫПОЛНЕНИИ КАДАСТРОВЫХ РАБОТ
Д.1 Содержание карты (плана)
| Лист N |
Карта (план) |
(наименование объекта землеустройства) |
N п/п | Содержание | Номера листов |
1 | 2 | 3 |
1 | Основания для проведения землеустроительных работ и исходные данные | |
2 | Сведения об объекте землеустройства | |
3 | Сведения о местоположении границ объекта землеустройства | |
4 | Сведения о местоположении измененных (уточненных) границ объекта землеустройства | |
5 | План границ объекта землеустройства | |
6 | Приложение (доверенность) | |
Д.2 Сведения о местоположении границ объекта землеустройства
| Лист N |
Карта (план) |
(наименование объекта землеустройства) |
Сведения о местоположении границ объекта землеустройства |
1 Система координат |
2 Сведения о характерных точках границ объекта землеустройства |
Обозначение характерных точек границ | Координаты, м | Метод определения координат и средняя квадратическая погрешность положения характерной точки Mt, м | Описание закрепления точки |
X | Y |
1 | 2 | 3 | 4 | 5 |
| | | | |
3 Сведения о характерных точках части (частей) границы объекта землеустройства |
Часть N 1 | | | | |
| | | | |
Часть N 2 | | | | |
| | | | |
Часть N | | | | |
| | | | |
4 Сведения о частях границ объекта землеустройства, совпадающих с местоположением внешних границ природных объектов и/или объектов искусственного происхождения |
Обозначение части границ | Описание прохождения части границ |
от точки | до точки | |
1 | 2 | 3 |
| | |
Д.3 Сведения о местоположении измененных (уточненных) границ объекта землеустройства
Карта (план) |
(наименование объекта землеустройства) |
Сведения о местоположении измененных (уточненных) границ объекта землеустройства |
1 Система координат |
2 Сведения о характерных точках границ объекта землеустройства |
Обозначение характерных точек границ | Существующие координаты, м | Измененные (уточненные) координаты, м | Метод определения координат и средняя квадратическая погрешность положения характерной точки Mt, м | Описание закрепления точки |
X | Y | X | Y |
1 | 2 | 3 | 4 | 5 | 6 | 7 |
| | | | | | |
3 Сведения о характерных точках части (частей) границы объекта землеустройства |
Часть N 1 | | | | | | |
| | | | | | |
Часть N 2 | | | | | | |
| | | | | | |
Часть N | | | | | | |
| | | | | | |
4 Сведения о частях границ объекта землеустройства, совпадающих с местоположением внешних границ природных объектов и/или объектов искусственного происхождения |
Обозначение части границ | Существующее описание прохождения части границ | Измененное (уточненное) описание прохождения части границ |
от точки | до точки |
1 | 2 | 3 | 4 |
| | | |
Д.4 Перечень охранных зон подземных и надземных коммуникаций включает следующие охранные зоны:
- охранные зоны линий и сооружений связи (
постановление Правительства Российской Федерации
[7]);
- охранные зоны линий и сооружений радиофикации (
постановление Правительства Российской Федерации
[7]);
| Приказ Федеральной службы по экологическому, технологическому и атомному надзору от 26 декабря 2006 г. N 1128 "Об утверждении и введении в действие Требований к составу и порядку ведения исполнительной документации при строительстве, реконструкции, капитальном ремонте объектов капитального строительства и требований, предъявляемых к актам освидетельствования работ, конструкций, участков сетей инженерно-технического обеспечения" (зарегистрирован в Министерстве юстиции Российской Федерации 6 марта 2007 г., регистрационный N 9050) |
| Условные знаки для топографических планов масштаба 1:500 (правила начертания) (утверждены Главным управлением геодезии и картографии при Совете министров СССР - М., 1979) |
| Федеральный закон от 24 июля 2007 г. N 221-ФЗ "О кадастровой деятельности" |
| Приказ Минэкономразвития России от 1 марта 2016 г. N 90 "Об утверждении требований к точности и методам определения координат характерных точек границ земельного участка, требований к точности и методам определения координат характерных точек контура здания, сооружения или объекта незавершенного строительства на земельном участке, а также требований к определению площади здания, сооружения и помещения" (зарегистрирован в Министерстве юстиции Российской Федерации 8 апреля 2016 г., регистрационный N 41712) |
| Приказ Министерства регионального развития Российской Федерации от 1 июня 2007 г. N 45 "Положения о разработке, передаче, пользовании и хранении инструкции по эксплуатации многоквартирного дома" (зарегистрирован в Министерстве юстиции Российской Федерации 17 октября 2007 г., регистрационный N 10348) |
| Приказ Федеральной службы по экологическому, технологическому и атомному надзору от 12 января 2007 г. N 7 "Об утверждении и введении в действие Порядка ведения общего и (или) специального журнала учета выполнения работ при строительстве, реконструкции, капитальном ремонте объектов капитального строительства" (зарегистрирован в Министерстве юстиции Российской Федерации 6 марта 2007 г., регистрационный N 9051) |
| Постановление Правительства Российской Федерации от 9 июня 1995 г. N 578 "Об утверждении Правил охраны линий и сооружений связи Российской Федерации" |