Главная // Актуальные документы // Положение / ПоложенияСПРАВКА
Источник публикации
В данном виде документ опубликован не был.
Первоначальный текст документа опубликован в издании
М., 2017.
Информацию о публикации документов, создающих данную редакцию, см. в справке к этим документам.
Примечание к документу
Документ включен в
Перечень документов в области стандартизации, в результате применения которых на добровольной основе обеспечивается соблюдение требований Федерального
закона от 30.12.2009 N 384-ФЗ "Технический регламент о безопасности зданий и сооружений" (
Приказ Росстандарта от 02.04.2020 N 687).
Название документа
"СП 327.1325800.2017. Свод правил. Стены наружные с лицевым кирпичным слоем. Правила проектирования, эксплуатации и ремонта"
(утв. и введен в действие Приказом Минстроя России от 30.11.2017 N 1603/пр)
(ред. от 19.12.2023)
"СП 327.1325800.2017. Свод правил. Стены наружные с лицевым кирпичным слоем. Правила проектирования, эксплуатации и ремонта"
(утв. и введен в действие Приказом Минстроя России от 30.11.2017 N 1603/пр)
(ред. от 19.12.2023)
Утвержден и введен в действие
и жилищно-коммунального хозяйства
Российской Федерации
от 30 ноября 2017 г. N 1603/пр
СВОД ПРАВИЛ
СТЕНЫ НАРУЖНЫЕ С ЛИЦЕВЫМ КИРПИЧНЫМ СЛОЕМ
ПРАВИЛА ПРОЕКТИРОВАНИЯ, ЭКСПЛУАТАЦИИ И РЕМОНТА
Exterior masonry walls with brick veneer.
Rules of design, operation and repair
СП 327.1325800.2017
| | Список изменяющих документов Минстроя России от 15.12.2020 N 785/пр, Минстроя России от 19.12.2023 N 950/пр) | |
Дата введения
31 мая 2018 года
1 ИСПОЛНИТЕЛЬ - АО "НИЦ "Строительство" - Центральный научно-исследовательский институт строительных конструкций им. В.А. Кучеренко (ЦНИИСК им. В.А. Кучеренко)
2 ВНЕСЕН Техническим комитетом по стандартизации ТК 465 "Строительство"
3 ПОДГОТОВЛЕН к утверждению Департаментом градостроительной деятельности и архитектуры Министерства строительства и жилищно-коммунального хозяйства Российской Федерации (Минстрой России)
4 УТВЕРЖДЕН
Приказом Министерства строительства и жилищно-коммунального хозяйства Российской Федерации от 30 ноября 2017 г. N 1603/пр и введен в действие с 31 мая 2018 г.
5 ЗАРЕГИСТРИРОВАН Федеральным агентством по техническому регулированию и метрологии (Росстандарт)
6 ВВЕДЕН ВПЕРВЫЕ
В случае пересмотра (замены) или отмены настоящего свода правил соответствующее уведомление будет опубликовано в установленном порядке. Соответствующая информация, уведомление и тексты размещаются также в информационной системе общего пользования - на официальном сайте разработчика (Минстрой России) в сети Интернет
Настоящий свод правил разработан с учетом требований федеральных законов от 27 декабря 2002 г.
N 184-ФЗ "О техническом регулировании", от 22 июня 2008 г.
N 123-ФЗ "Технический регламент о требованиях пожарной безопасности", от 30 декабря 2009 г.
N 384-ФЗ "Технический регламент о безопасности зданий и сооружений". Настоящий свод правил разработан в развитие
СП 15.13330.
(в ред.
Изменения N 2, утв. Приказом Минстроя России от 19.12.2023 N 950/пр)
Свод правил выполнен авторским коллективом АО "НИЦ "Строительство" - ЦНИИСК им. В.А. Кучеренко (кандидаты техн. наук М.К. Ищук - руководитель темы, А.В. Грановский, М.О. Павлова), инженеры Д.А. Алехин, Д.Ш. Файзов, И.Г. Фролова); институтом ОАО ЦНИИЭПЖилища (канд. техн. наук Э.И. Киреева); при участии ГП МО "Институт "МОСГРАЖДАНПРОЕКТ" (А.Л. Алтухов).
Изменение N 1 к своду правил выполнено авторским коллективом АО "НИЦ "Строительство" - ЦНИИСК им. В.А. Кучеренко (канд. техн. наук М.К. Ищук - руководитель работы, канд. техн. наук А.В. Грановский, канд. техн. наук О.К. Гогуа, Х.А. Айзятуллин, В.А. Черемных, Е.М. Ищук) при участии ГП МО "Институт "МОСГРАЖДАНПРОЕКТ" (канд. техн. наук А.Л. Алтухов).
(абзац введен
Изменением N 1, утв. Приказом Минстроя России от 15.12.2020 N 785/пр)
Изменение N 2 к настоящему своду правил выполнено авторским коллективом АО "НИЦ "Строительство" - ЦНИИСК им. В.А. Кучеренко (руководитель работы - д-р техн. наук М.К. Ищук, Х.А. Айзятуллин, Е.М. Ищук, В.А. Черемных) при участии НИИЖБ им. А.А. Гвоздева (А.Л. Алтухов).
(абзац введен
Изменением N 2, утв. Приказом Минстроя России от 19.12.2023 N 950/пр)
Настоящий свод правил распространяется на проектирование, эксплуатацию и ремонт многослойных наружных стен с лицевым слоем из кирпичной кладки для климатических условий России.
Настоящий свод правил не распространяется на проектирование зданий и сооружений, подверженных динамическим нагрузкам, возводимых на подрабатываемых территориях, вечномерзлых грунтах и в сейсмоопасных районах.
В настоящем своде правил использованы нормативные ссылки на следующие документы:
ГОСТ 4.206-83 Система показателей качества продукции. Строительство. Материалы стеновые каменные. Номенклатура показателей
ГОСТ 4.210-79 Система показателей качества продукции. Строительство. Материалы керамические отделочные и облицовочные. Номенклатура показателей
ГОСТ 4.219-81 Система показателей качества продукции. Строительство. Материалы облицовочные из природного камня и блоки для их приготовления. Номенклатура показателей
ГОСТ 4.233-86 Система показателей качества продукции. Строительство. Растворы строительные. Номенклатура показателей
ГОСТ 379-2015 Кирпич, камни, блоки и плиты перегородочные силикатные. Общие технические условия
(в ред.
Изменения N 1, утв. Приказом Минстроя России от 15.12.2020 N 785/пр)
ГОСТ 530-2012 Кирпич и камень керамические. Общие технические условия
(в ред.
Изменения N 1, утв. Приказом Минстроя России от 15.12.2020 N 785/пр)
ГОСТ Р 58527-2019 Материалы стеновые. Методы определения пределов прочности при сжатии и изгибе
(в ред.
Изменения N 2, утв. Приказом Минстроя России от 19.12.2023 N 950/пр)
ГОСТ 9479-2011 Блоки из горных пород для производства облицовочных, архитектурно-строительных, мемориальных и других изделий. Технические условия
ГОСТ 18143-72 Проволока из высоколегированной коррозионностойкой и жаростойкой стали. Технические условия
(в ред.
Изменения N 1, утв. Приказом Минстроя России от 15.12.2020 N 785/пр)
ГОСТ 23279-2012 Сетки арматурные сварные для железобетонных конструкций и изделий. Общие технические условия
(в ред.
Изменения N 1, утв. Приказом Минстроя России от 15.12.2020 N 785/пр)
ГОСТ 27751-2014 Надежность строительных конструкций и оснований. Основные положения
ГОСТ 31357-2007 Смеси сухие строительные на цементном вяжущем. Общие технические условия
ГОСТ 31360-2007 Изделия стеновые неармированные из ячеистого бетона автоклавного твердения. Технические условия
(ссылка введена
Изменением N 2, утв. Приказом Минстроя России от 19.12.2023 N 950/пр)
ГОСТ Р 54923-2012 Композитные гибкие связи для многослойных ограждающих конструкций. Технические условия
СП 2.13130.2020 Системы противопожарной защиты. Обеспечение огнестойкости объектов защиты (с изменением N 1)
(в ред.
Изменения N 1, утв. Приказом Минстроя России от 15.12.2020 N 785/пр,
Изменения N 2, утв. Приказом Минстроя России от 19.12.2023 N 950/пр)
(в ред.
Изменения N 2, утв. Приказом Минстроя России от 19.12.2023 N 950/пр)
СП 20.13330.2016 "СНиП 2.01.07-85* Нагрузки и воздействия" (с изменениями N 1, N 2, N 3, N 4)
(в ред.
Изменения N 1, утв. Приказом Минстроя России от 15.12.2020 N 785/пр,
Изменения N 2, утв. Приказом Минстроя России от 19.12.2023 N 950/пр)
СП 28.13330.2017 "СНиП 2.03.11-85 Защита строительных конструкций от коррозии" (с изменениями N 1, N 2, N 3)
(в ред.
Изменения N 1, утв. Приказом Минстроя России от 15.12.2020 N 785/пр,
Изменения N 2, утв. Приказом Минстроя России от 19.12.2023 N 950/пр)
СП 50.13330.2012 "СНиП 23-02-2003 Тепловая защита зданий" (с изменениями N 1, N 2)
(в ред.
Изменения N 1, утв. Приказом Минстроя России от 15.12.2020 N 785/пр,
Изменения N 2, утв. Приказом Минстроя России от 19.12.2023 N 950/пр)
СП 63.13330.2018 "СНиП 52-01-2003 Бетонные и железобетонные конструкции. Основные положения" (с изменениями N 1, N 2)
(в ред.
Изменения N 1, утв. Приказом Минстроя России от 15.12.2020 N 785/пр,
Изменения N 2, утв. Приказом Минстроя России от 19.12.2023 N 950/пр)
Ссылка исключена с 16.06.2021. -
Изменение N 1, утв. Приказом Минстроя России от 15.12.2020 N 785/пр.
Примечание - При пользовании настоящим сводом правил целесообразно проверить действие ссылочных документов в информационной системе общего пользования - на официальном сайте федерального органа исполнительной власти в сфере стандартизации в сети Интернет или по ежегодному информационному указателю "Национальные стандарты", который опубликован по состоянию на 1 января текущего года, и по выпускам ежемесячного информационного указателя "Национальные стандарты" за текущий год. Если заменен ссылочный документ, на который дана недатированная ссылка, то рекомендуется использовать действующую версию этого документа с учетом всех внесенных в данную версию изменений. Если заменен ссылочный документ, на который дана датированная ссылка, то рекомендуется использовать версию этого документа с указанным выше годом утверждения (принятия). Если после утверждения настоящего свода правил в ссылочный документ, на который дана датированная ссылка, внесено изменение, затрагивающее положение на которое дана ссылка, то это положение рекомендуется применять без учета данного изменения. Если ссылочный документ отменен без замены, то положение, в котором дана ссылка на него, рекомендуется применять в части, не затрагивающей эту ссылку. Сведения о действии сводов правил целесообразно проверить в Федеральном информационном фонде стандартов.
3 Термины, определения и обозначения
В настоящем своде правил применены следующие термины с соответствующими определениями:
3.1 каменная кладка: Конструкция из природных или искусственных камней (кирпича, блоков), соединенных между собой раствором, клеевым составом или пастой.
3.2 кирпич, камни и блоки: Полнотелые и пустотелые кладочные изделия, удовлетворяющие требованиям соответствующих национальных стандартов.
3.3 зимняя кладка: Возведение каменных конструкций при отрицательных температурах наружного воздуха на растворах с противоморозными добавками, способом замораживания, с обогревом.
3.4 многослойная (трехслойная) стена: Конструкция, состоящая из лицевого слоя кладки, крепящегося гибкими связями к внутреннему слою из кладки или железобетона, и слоя из теплоизоляционных материалов между ними.
(п. 3.4 в ред.
Изменения N 2, утв. Приказом Минстроя России от 19.12.2023 N 950/пр)
3.5 двухслойная стена: Конструкция, состоящая из лицевого слоя кладки, крепящегося к внутреннему слою из кладки гибкими связями или прокладными рядами.
(п. 3.5 в ред.
Изменения N 2, утв. Приказом Минстроя России от 19.12.2023 N 950/пр)
3.6 стена с вертикальными диафрагмами: Трехслойная стена, состоящая из двух слоев кладки, соединенных вертикальными стенками из кирпичной или каменной кладки и утеплителем между слоями.
3.7 перемычка: Конструктивный элемент балочного или арочного типа, перекрывающий проем в стене и воспринимающий нагрузку от вышерасположенных конструкций.
3.8 гибкая связь: Связь между слоями стены, обеспечивающая их свободное перемещение относительно друг друга по вертикали и горизонтали в плоскости стены.
(в ред.
Изменения N 2, утв. Приказом Минстроя России от 19.12.2023 N 950/пр)
3.9 лицевой слой: Наружный слой многослойной кладки.
3.10 несущие многослойные (трехслойные или двухслойные) стены с гибкими связями: Многослойные стены с несущим внутренним слоем и ненесущим наружным (лицевым) слоем, который опирается на перекрытие или стальные кронштейны.
3.11 несущие многослойные стены с жесткими связями: Трехслойные стены с соединением слоев вертикальными кирпичными диафрагмами, двухслойные стены с прокладными рядами.
3.12 ненесущие многослойные стены: Трехслойные и двухслойные стены с гибкими связями, поэтажно опираемые на перекрытия.
3.13 узел анкеровки гибкой связи: Находящаяся в растворном шве часть гибкой связи с прилегающими в непосредственной близости к ней участками кладочных изделий и находящегося между ними раствора.
(п. 3.13 введен
Изменением N 2, утв. Приказом Минстроя России от 19.12.2023 N 950/пр)
3.14 продольное армирование: Продольная арматура сеток, укладываемых в горизонтальные растворные швы кладки.
(п. 3.14 введен
Изменением N 2, утв. Приказом Минстроя России от 19.12.2023 N 950/пр)
В настоящем своде правил применены следующие обозначения:
A - площадь вертикального сечения лицевого слоя;
Ared - площадь приведенного сечения;
Ac,red - площадь сжатой части приведенного сечения;
Ac - суммарная площадь сечения связей;
As - суммарная площадь сечения продольных стержней связевых сеток;
C - коэффициент, учитывающий деформационные характеристики;
Eкл - модуль упругости кладки;
Eдл - длительный модуль деформаций кладки;
L - расстояние между двумя вертикальными деформационными швами в кладке лицевого слоя на прямолинейных участках стен;
M - расчетный изгибающий момент простенков, не имеющих вертикальных опор;
Mопр - суммарный опрокидывающий момент относительно оси возможного поворота опоры;
Mудер - суммарный удерживающий момент относительно оси возможного поворота опоры;
Ns,cr - суммарное значение горизонтальных усилий в кладке и продольной арматуре на момент перед образованием первых трещин;
Nt,c - суммарное горизонтальное растягивающее усилие в связях и продольных стержнях Г-образных сеток того же направления, расположенных на углу стены на участке высотой на один этаж;
Nt,а - прочность анкерного узла связи;
Nсдв - сдвигающие горизонтальные нагрузки;
Nудер - удерживающие силы;
R - расчетное сопротивление сжатию кладки;
Rc - расчетное сопротивление растяжению связи;
Rs - расчетное сопротивление растяжению продольных стержней связевых сеток;
Rsq - расчетное сопротивление при срезе кладки;
Rt - расчетное сопротивление кладки осевому растяжению;
Rtb - расчетное сопротивление растяжению при изгибе кладки;
Rtw - расчетное сопротивление кладки главным растягивающим напряжениям;
Rt,s - расчетное сопротивление арматуры растяжению;
T(sh)экв - эквивалентная температура усадки;
Wупр - упругий момент сопротивления поперечного сечения простенка;
a, b, c, d, e - эмпирические коэффициенты в формуле для определения расстояний между вертикальными деформационными швами;
e0 - эксцентриситет расчетной силы относительно центра тяжести сечения;
eсв - перемещения связи за счет деформаций материала связи на ее длине между слоями стены;
eст - суммарные перемещения связи за счет деформаций материала связи и податливости узлов анкеровки;

- максимально допускаемая величина перемещений кладки лицевого слоя относительного внутреннего;
h - высота лицевого слоя, включаемая в работу с плитой перекрытия, принимаемая равной 0,8 м;
hнс - толщина наружного слоя кладки;
hс,нс - толщина сжатой зоны наружного слоя;
hвс - толщина внутреннего слоя кладки;
hд - толщина диафрагмы (расстояние в свету между наружным и внутренним слоями);
hл.сл - толщина лицевого слоя;
hусл - условная толщина;
m - коэффициент использования прочности слоя, к которому приводится сечение;
mc,s - коэффициент условий работы для стен, подверженных прямому воздействию солнечной радиации;
mi - коэффициент использования прочности слоя, сечение которого приводится к другому слою;
mg - коэффициент, учитывающий влияние длительной нагрузки;
ms - параметр, учитывающий изменение горизонтальных напряжений в кладке от воздействия солнечной радиации в зависимости от периода года и ориентации фасада;
mок - параметр, учитывающий влияние оконных проемов в стенах;
mудер - коэффициент условий работы при проверке устойчивости на сдвиг и опрокидывание;
nудер - коэффициент надежности при проверке устойчивости;
t - возраст кладки, сут;
tec - температура воздуха в холодное время года;
tew - температура воздуха в теплое время года;
ti - температуры внутри помещения в эксплуатационный период;
tоc - температура возведения кладки в холодное время года;
tоw - расчетная температура наружного воздуха в период возведения кладки в теплое время года;
t1 - возраст кладки на момент окончания ее возведения, сут;
y - расстояние от центра тяжести приведенного сечения до края сечения в сторону эксцентриситета;

- коэффициент линейного расширения кладки;

- коэффициент линейного расширения кладки из силикатного кирпича;

- эмпирический коэффициент в формуле для определения расстояний между вертикальными деформационными швами;

- коэффициент условий работы связей, уложенных в горизонтальные растворные швы кладки, определяемый по
таблице 6.1;

- коэффициент условий работы кладки лицевого слоя при назначении расстояний между вертикальными температурными швами по
таблице 20.1;

- коэффициент надежности по нагрузке;

- коэффициент надежности по материалу гибкой связи и узла ее анкеровки в горизонтальный растворный шов кладки;

- коэффициент условий работы продольных стержневых сеток, уложенных в горизонтальные растворные швы кладки, определяемый по
таблице 6.1;

- коэффициент условий работы расположенной в горизонтальных растворных швах арматуры сеток при растяжении по вертикальному перевязанному сечению (вдоль горизонтальных растворных швов) на момент перед образованием трещин в кладке, определяемый по
таблице 6.1;

- коэффициент условий работы при расчете кладки на период оттаивания;

- разность вертикальных перемещений слоев верхней точки стены, определяемая с момента ее возведения;

- разность вертикальных перемещений слоев стены от вертикальной нагрузки и собственного веса;

- разность вертикальных перемещений слоев стены от усадки кладки;

- температура кладки лицевого слоя при определении растягивающих усилий, возникающих в нем в холодное время года;

- температура части плиты и кладки внутреннего слоя, находящихся внутри помещения, при определении растягивающих усилий, возникающих в нем в холодное время года;

- температура кладки лицевого слоя при определении растягивающих усилий, возникающих в нем в теплое время года;

- температура части плиты и кладки внутреннего слоя, находящихся внутри помещения, при определении растягивающих усилий, возникающих в нем в теплое время года;

- изменение температуры открытого торца плиты перекрытия;

- изменение температуры кладки лицевого слоя;

- суммарные перемещения связи в двух узлах ее анкеровки в слои стены;

- коэффициент, равный 1/сут;

- толщина кладки лицевого слоя;

- деформации усадки кладки;

- деформации набухания вследствие сорбционного увлажнения кладки из силикатного кирпича и различного рода бетонных камней;

- коэффициент для определения деформаций ползучести, развившихся с момента окончания роста нагрузки;

- коэффициент трения;

- влажностные деформации;

- растягивающие напряжения;

- касательные напряжения, действующие в вертикальной плоскости, проходящей по границе кладки лицевого слоя с внутренним слоем стены и возникающие от совместного действия вертикальной нагрузки и температурно-влажностных деформаций;

- коэффициент продольного изгиба;

- коэффициент продольного изгиба при внецентренном сжатии элемента.
(обозначения в ред.
Изменения N 2, утв. Приказом Минстроя России от 19.12.2023 N 950/пр)
4.1 В настоящем своде правил рассматриваются следующие типы многослойных стен с лицевым слоем из кладочных материалов (кирпича, камней, блоков):
(в ред.
Изменения N 2, утв. Приказом Минстроя России от 19.12.2023 N 950/пр)
- двухслойные стены с внутренним слоем из камней и блоков;
- трехслойные стены с соединением слоев гибкими связями и эффективным утеплителем между слоями;
- трехслойные стены с соединением слоев вертикальными диафрагмами и эффективным утеплителем между слоями.
4.2 При проектировании многослойных наружных стен следует применять конструктивные решения, изделия и материалы, обеспечивающие требуемую несущую способность, долговечность, безопасность при эксплуатации, пожаробезопасность, теплотехнические характеристики конструкций и температурно-влажностный режим в соответствии
ГОСТ 4.206,
ГОСТ 4.210,
ГОСТ 4.219,
ГОСТ 27751.
4.3 При проектировании зданий и сооружений следует предусматривать мероприятия, обеспечивающие возможность возведения многослойных стен в зимних условиях.
4.4 Применение силикатных кирпича, камней и блоков, камней и блоков из ячеистых бетонов, пустотелых керамических кирпича и камней, бетонных блоков с пустотами, керамического кирпича полусухого прессования допускается для наружных стен помещений с влажным режимом при условии нанесения на их внутренние поверхности пароизоляционного покрытия. Применение указанных материалов для стен помещений с мокрым режимом, а также для наружных стен подвалов, цоколей и фундаментов не допускается.
Применение трехслойных стен с эффективным утеплителем в помещениях с влажным режимом эксплуатации допускается при условии нанесения на их внутренние поверхности пароизоляционного покрытия. Применение таких стен в помещениях с мокрым режимом эксплуатации, а также для наружных стен подвалов не допускается.
4.5 Конструктивные решения наружных стен должны исключать скрытое распространение горения по зданию, сооружению, строению.
Правила эксплуатации и ремонта наружных стен с лицевым слоем из кирпичной кладки приведены в
приложении Д.
(п. 4.5 в ред.
Изменения N 2, утв. Приказом Минстроя России от 19.12.2023 N 950/пр)
5.1 Кирпич, камни и растворы для каменных и армокаменных конструкций, а также бетоны для изготовления камней и крупных блоков должны удовлетворять требованиям
ГОСТ 28013,
ГОСТ 4.233,
ГОСТ 530,
ГОСТ 379,
ГОСТ 4001,
ГОСТ 6133,
ГОСТ 9479,
ГОСТ 31189,
ГОСТ 31357,
ГОСТ 4.210,
ГОСТ 4.219,
ГОСТ 25485,
ГОСТ 33929,
ГОСТ Р 58527,
ГОСТ 5802.
(в ред.
Изменения N 2, утв. Приказом Минстроя России от 19.12.2023 N 950/пр)
5.2 Проектные марки по морозостойкости каменных материалов для наружной части стен, возводимых во всех строительно-климатических зонах, в зависимости от предполагаемого срока службы конструкций приведены в СП 15.13330.2020 (
подраздел 5.3 и
таблица 5.1).
(в ред.
Изменения N 2, утв. Приказом Минстроя России от 19.12.2023 N 950/пр)
5.3 Для армирования кладки многослойных стен следует применять:
- арматуру классов A240 и B500 с антикоррозионной защитой в соответствии с
СП 28.13330 - для сетчатого армирования;
- коррозионностойкую проволоку по
ГОСТ 18143 либо из композитных материалов согласно
5.4 - для гибких связей;
(в ред.
Изменения N 1, утв. Приказом Минстроя России от 15.12.2020 N 785/пр)
- сетки из коррозионно-стойкой стали и полимерных композитных материалов согласно
разделу 14 - для армирования кладки лицевого и внутреннего слоев.
(абзац введен
Изменением N 1, утв. Приказом Минстроя России от 15.12.2020 N 785/пр; в ред.
Изменения N 2, утв. Приказом Минстроя России от 19.12.2023 N 950/пр)
Для закладных деталей следует применять сталь в соответствии с
СП 63.13330 с антикоррозионной защитой в соответствии с СП 28.13330.2017
(подраздел 5.5).
5.4 Связи из композитных материалов должны соответствовать требованиям
ГОСТ Р 54923 и изготавливаться по технологической документации, утвержденной в установленном порядке.
(п. 5.4 в ред.
Изменения N 2, утв. Приказом Минстроя России от 19.12.2023 N 950/пр)
5.5 В качестве утеплителя в трехслойных стенах следует применять полужесткие или жесткие теплоизоляционные плиты из минеральной ваты на основе базальтового волокна плотностью не менее 90 кг/м3. В случае применения других материалов они должны иметь сжимаемость не более 10% и водопоглощение по объему не более 2%.
(в ред.
Изменения N 1, утв. Приказом Минстроя России от 15.12.2020 N 785/пр,
Изменения N 2, утв. Приказом Минстроя России от 19.12.2023 N 950/пр)
6 Расчетные характеристики
6.1 Расчетные сопротивления
6.1.1 Расчетные сопротивления
R сжатию кладки следует принимать по СП 15.13330.2020 (
таблицы 6.1,
6.3 -
6.6,
6.8).
(в ред.
Изменения N 2, утв. Приказом Минстроя России от 19.12.2023 N 950/пр)
6.1.2 Расчетные сопротивления кладки осевому растяжению
Rt, растяжению при изгибе
Rtb и главным растягивающим напряжениям при изгибе
Rtw, срезу
Rsq при расчете сечений кладки, проходящих по горизонтальным и вертикальным швам, а также по перевязанному сечению, проходящему по кирпичу или камню, следует принимать по СП 15.13330.2020 (
таблицы 6.11 и
6.12).
(в ред.
Изменений N 2, утв. Приказом Минстроя России от 19.12.2023 N 950/пр)
6.1.3 Расчетные сопротивления растяжению арматуры следует умножать на коэффициенты условий работы, приведенные в таблице 6.1.
Коэффициент условий работы | Вид материала |
Стальная арматура класса | Базальтопластик | Стеклопластик | Углепластик |
А240 | В500 |
Продольной растянутой арматуры сеток в горизонтальных швах на момент перед образованием трещин в кладке  | 0,7 | 0,7 | 0,4 | 0,4 | 0,5 |
Связей, установленных в горизонтальные растворные швы при марке раствора М75 и выше,  | 0,6 | 0,7 | 0,5 | 0,5 | 0,6 |
Примечания 1 При применении других видов арматурных сталей расчетные сопротивления принимают не выше чем 270 МПа. 2 При расчете зимней кладки, выполненной способом замораживания, расчетные сопротивления арматуры следует принимать с дополнительным коэффициентом условий работы  при расчете на период оттаивания. |
(п. 6.1.3 в ред.
Изменения N 2, утв. Приказом Минстроя России от 19.12.2023 N 950/пр)
6.1.4 Коэффициент надежности по материалу гибких связей и узлам их анкеровки

в горизонтальные растворные швы кладки, применяемый при переходе от нормативного значения предельного осевого усилия к расчетному, составляет 3,5.
(п. 6.1.4 введен
Изменением N 2, утв. Приказом Минстроя России от 19.12.2023 N 950/пр)
6.2 Модули упругости и деформаций кладки, коэффициенты линейного расширения и трения
6.2.1 Модули упругости и деформаций кладки
E0 и
E принимают по СП 15.13330.2020 (
подразделы 6.24,
6.25).
(в ред.
Изменения N 2, утв. Приказом Минстроя России от 19.12.2023 N 950/пр)
Деформационные характеристики кладки, учитывающие этапность ее возведения, приведены в
приложении А.
(в ред.
Изменения N 2, утв. Приказом Минстроя России от 19.12.2023 N 950/пр)
6.2.3 Значения коэффициентов линейного расширения кладки следует принимать по таблице 6.2.
Таблица 6.2
Материал кладки | Коэффициент линейного расширения кладки  , град -1 |
1 Кирпич керамический полнотелый, пустотелый и керамические камни | 0,0000065 |
2 Кирпич силикатный, камни и блоки бетонные и бутобетон | 0,00001 |
3 Природные камни, камни и блоки из ячеистых бетонов | 0,000008 |
Примечание - Значения коэффициентов линейного расширения для кладки из полистиролбетонов и других материалов допускается принимать по опытным данным. |
6.2.4 Коэффициент трения

следует принимать по СП 15.13330.2020
(таблица 6.18).
(в ред.
Изменения N 2, утв. Приказом Минстроя России от 19.12.2023 N 950/пр)
7 Типы связей между слоями. Требования к материалу и конструкции связей
(раздел 7 в ред.
Изменения N 2, утв. Приказом Минстроя России от 19.12.2023 N 950/пр)
7.1 Связи, устанавливаемые между слоями наружных стен, ограничивают перемещения лицевого слоя из плоскости стены, обеспечивая тем самым его устойчивость, а также способствуют снижению изгибающих моментов в лицевом слое при усилиях, действующих из плоскости стены (от ветра, температурно-влажностных усилий на углах стен и вследствие перепада температуры по толщине кладки лицевого слоя).
7.2 Связи, крепящие лицевой слой стены к ее внутреннему слою, классифицируют на жесткие и гибкие.
7.3 Жесткими считают связи в случае соблюдения требований по перевязке слоев в соответствии с СП 15.13330.2020
(подраздел 7.22) и
рисунком 8.2.
7.4 Гибкими считают связи, выполненные сетками или отдельными стержнями, а также не отвечающие требованиям по перевязке слоев в соответствии с СП 15.13330.2020
(подраздел 7.22) и
рисунками 7.1,
7.2.
а) Гибкие связи из коррозионно-стойкой стали
диаметром 5 мм
б) Гибкие связи из сварной сетки из коррозионно-стойкой
стали диаметром 3 мм
Рисунок 7.1 - Одиночные гибкие связи из стали
а) Гибкая связь с выделенным цилиндроконическим
анкерным участком
б) Гибкая связь с выделенным цилиндрическим
песчаным анкерным участком
Рисунок 7.2 - Одиночные гибкие связи
из полимерных композитных материалов
Гибкие связи классифицируют по следующим основным признакам:
- по материалу, из которого изготовлена связь;
- объединению отдельных связей сетками или стержнями;
- возможности регулирования уровня связи по высоте;
- возможности предварительного натяжения связи;
- конструкции - одно- и двухзвеньевые.
7.5 Материалы, применяемые для изготовления гибких связей и арматуры из стали, полимерных композитных материалов и др., должны иметь сопроводительную документацию, подтверждающую их соответствие нормативным требованиям.
7.6 Одиночные связи, крепящие лицевой слой кладки к внутреннему, следует выполнять из коррозионно-стойкой стали или из полимерных композитных материалов. Требования по устойчивости связей к коррозии приведены в
разделе 13 и
ГОСТ Р 54923.
Устойчивость к коррозии изделий из полимерных композитных материалов, находящихся в растворных швах с щелочной средой, следует определять в соответствии с
ГОСТ Р 54923.
В соответствии с
ГОСТ Р 54923 при эксплуатации в условиях холодного климата с температурой наиболее холодной пятидневки от минус 60 °C до минус 40 °C в расчет прочностных характеристик следует вводить понижающий коэффициент условий работы (хрупкости), равный 0,7.
7.7 К связям, выполненным из стальной арматуры, дополнительно предъявляют следующие требования.
Диаметр одиночных стальных связей, закрепленных в растворном шве с помощью загнутого конца (Z-, Г-, С-образные), должен быть не менее 5 мм. На концах такие связи должны иметь загибы в виде крюка диаметром 50 мм
(рисунок 7.1а). Одиночные связи в виде сеток, а также связи, крепящиеся сваркой к расположенным в горизонтальных швах сеткам или стержням, выполняют из стали диаметром от 3 мм до 5 мм
(рисунок 7.1б).
7.8 Связевые сетки выполняют из стальной арматуры или полимерных композитных материалов. Диаметр стальной арматуры применяют в пределах от 3 до 5 мм. Требования к изготовлению стальных сеток приведены в
ГОСТ 23279.
Применение в качестве гибких связей перфорированной ленты не допускается.
7.9 Одиночные связи должны отстоять от вертикальных растворных швов не менее чем на 2 см.
8 Основные типы многослойных наружных стен с лицевым слоем из кирпичной и каменной кладки
8.1 Многослойные стены с лицевым слоем из кирпичной кладки в зависимости от способа передачи на них нагрузки подразделяют:
- на несущие, воспринимающие нагрузку от собственного веса, веса перекрытий, балконов, лоджий, лестничных маршей и других прилегающих к ним конструкций и ветра;
- самонесущие, воспринимающие нагрузку только от собственного веса стены на всю высоту здания и ветра;
- ненесущие, воспринимающие нагрузку от собственного веса стены высотой, равной расстоянию между горизонтальными опорами, и ветра.
8.2 По количеству слоев многослойные стены подразделяют на двухслойные (рисунки 8.1 б,
8.2) и трехслойные (рисунки 8.1 а,
8.3).
8.3 По способу крепления лицевого слоя к внутреннему, многослойные стены подразделяют на стены с гибкими связями (рисунок 8.1 а, 8.1 б) и стены с жесткими связями (
рисунки 8.2 и
8.3).
8.4 Многослойные стены с гибкими связями могут быть двух- и трехслойными
(рисунок 8.1).
Лицевой слой выполняют кладкой из кирпича или камня и крепят к внутреннему слою из кирпича, камней, блоков отдельными связями или сетками.
1 - лицевой слой стены; 2 - утеплитель; 3 - гибкие связи;
4 - внутренний слой стены
Рисунок 8.1 - Стены с гибкими связями между слоями
8.5 В двухслойных стенах с жесткими связями связь слоев осуществляют перевязкой кладки лицевого и внутреннего слоев
(рисунок 8.2).
(в ред.
Изменения N 2, утв. Приказом Минстроя России от 19.12.2023 N 950/пр)
В уровне низа перевязочных кирпичей конструктивно укладывают связевые сетки. Эти сетки одновременно могут учитываться при расчете стены на центральное и внецентренное сжатие, растяжение и др.
(в ред.
Изменения N 2, утв. Приказом Минстроя России от 19.12.2023 N 950/пр)
Внутренний слой выполняют кладкой из камней, блоков, имеющих марку не менее М35 или класс бетона не менее B2,5. Для двух-трехэтажных зданий высотой не более 9 м допускается класс бетона B2.
(в ред.
Изменения N 2, утв. Приказом Минстроя России от 19.12.2023 N 950/пр)
Требования по морозостойкости кладки лицевого и внутреннего слоев приведены в СП 15.13330.2020
(таблица 5.1).
(в ред.
Изменения N 2, утв. Приказом Минстроя России от 19.12.2023 N 950/пр)
1 - ложковые кирпичи лицевого слоя; 2 - перевязочные
(тычковые) кирпичи лицевого слоя; 3 - рядовые блоки
внутреннего слоя; 4 - доборные блоки
внутреннего слоя; 5 - сетки
Рисунок 8.2 - Двухслойные стены
с жесткими связями между слоями
8.6 В трехслойных стенах с жесткими связями связь слоев осуществляют вертикальными диафрагмами из кирпичной или каменной кладки
(рисунок 8.3).
(в ред.
Изменения N 2, утв. Приказом Минстроя России от 19.12.2023 N 950/пр)
Кладку диафрагм конструктивно армируют стальными связями или из композитных материалов (
рисунки 7.1,
7.2), располагаемыми не реже, чем через 40 см по высоте и заводимыми в лицевой и внутренний слои стены на глубину, назначаемую по
16.6.
(в ред.
Изменения N 2, утв. Приказом Минстроя России от 19.12.2023 N 950/пр)
1 - лицевой слой стены; 2 - внутренний слой;
3 - вертикальные кирпичные диафрагмы; 4 - эффективный
утеплитель; 5 - утеплитель заливочный или кладка
из легкобетонных блоков, пеностекла и т.д.
Рисунок 8.3 - Трехслойные стены с жесткими связями
между слоями (с вертикальными кирпичными диафрагмами)
8.7 Горизонтальные деформационные швы допускается выполнять как на всю толщину стены, так и только в пределах кладки лицевого слоя.
Пример опирания лицевого слоя на консольную часть плиты перекрытия в двухслойных стенах приведен
рисунке 8.4 и в трехслойных - на
рисунке 8.5. В обоих вариантах под плитой перекрытия в лицевом слое выполняют горизонтальный деформационный шов. В ненесущих стенах деформационный шов выполняют на всю толщину стены.
1 - лицевой слой стены; 2 - консоль плиты со скошенным
торцом; 3 - внутренний слой; 4 - горизонтальные гибкие
связи; 5 - термовкладыш; 6 - горизонтальный деформационный
шов; 7 - монолитная железобетонная плита перекрытия
Рисунок 8.4 - Наружные двухслойные стены с лицевым слоем,
опирающимся на плиту перекрытия
1 - лицевой слой; 2 - консоль плиты со скошенным
торцом; 3 - внутренний слой; 4 - горизонтальные гибкие
связи; 5 - термовкладыш; 6 - горизонтальный деформационный
шов; 7 - монолитная железобетонная плита перекрытия;
8 - отлив из металлопластика; 9 - гидроизоляция;
10 - утеплитель; 11 - воздушная прослойка
Минстроя России от 15.12.2020 N 785/пр)
Рисунок 8.5 - Наружные трехслойные стены с лицевым слоем,
опирающимся на плиту перекрытия
Пример опирания лицевого слоя на кронштейны из коррозионно-стойкой стали заводского изготовления в двухслойных стенах приведен на
рисунках 8.6а,
8.6б и трехслойных - на
рисунке 8.6в. Конструкции опорного кронштейна с регулируемым вылетом по горизонтали показаны на
рисунках 8.6г,
8.6д. В уровне низа опорной части кладки выполняют горизонтальный деформационный шов. В ненесущих стенах деформационный шов выполняют на всю толщину стены.
(в ред.
Изменения N 1, утв. Приказом Минстроя России от 15.12.2020 N 785/пр)
Во избежание защемления кирпичей вертикальными пластинами кронштейнов (
рисунки 8.6б -
8.6д) следует предусматривать зазор между ними и кирпичом
(рисунок 8.6е) либо располагать эти пластины за пределами опорной зоны кирпича
(рисунок 8.6д).
(абзац введен
Изменением N 1, утв. Приказом Минстроя России от 15.12.2020 N 785/пр; в ред.
Изменения N 2, утв. Приказом Минстроя России от 19.12.2023 N 950/пр)
Расположение вертикальных пластин кронштейнов в прорезанных в кирпичах штрабах не допускается.
(абзац введен
Изменением N 2, утв. Приказом Минстроя России от 19.12.2023 N 950/пр)
Рисунок 8.6 исключен с 16.06.2021. -
Изменение N 1, утв. Приказом Минстроя России от 15.12.2020 N 785/пр.
1 - лицевой слой; 2 - термовкладыш; 3 - монолитная
железобетонная плита перекрытия; 4 - регулировочный болт;
5 - внутренний слой; 6 - гибкие связи; 7 - горизонтальный
деформационный шов; 8 - опорный уголок
из коррозионно-стойкой стали; 9 - кронштейн
из коррозионно-стойкой стали
Рисунок 8.6а - Наружная двухслойная стена с лицевым слоем,
опирающимся на кронштейны из коррозионно-стойкой стали
заводского изготовления без воздушного зазора
Минстроя России от 15.12.2020 N 785/пр)
1 - лицевой слой; 2 - термовкладыш; 3 - монолитная
железобетонная плита; 4 - регулировочный болт;
5 - внутренний слой; 6 - гибкие связи; 7 - горизонтальный
деформационный шов; 8 - опорный уголок
из коррозионно-стойкой стали; 9 - кронштейн
из коррозионно-стойкой стали; 10 - сетка;
11 - воздушный зазор
Рисунок 8.6б - Наружная двухслойная стена с лицевым слоем,
опирающимся на кронштейны из коррозионно-стойкой стали
заводского изготовления с воздушным зазором
Минстроя России от 15.12.2020 N 785/пр)
1 - лицевой слой; 2 - утеплитель; 3 - монолитная
железобетонная плита; 4 - регулировочный болт;
5 - внутренний слой; 6 - гибкие связи; 7 - горизонтальный
деформационный шов; 8 - опорный уголок
из коррозионно-стойкой стали; 9 - кронштейн
из коррозионно-стойкой стали;
10 - сетка; 11 - воздушный зазор
Рисунок 8.6в - Наружная трехслойная стена с лицевым слоем,
опирающимся на кронштейны из коррозионно-стойкой стали
заводского изготовления
Минстроя России от 15.12.2020 N 785/пр)
1 - лицевой слой; 2 - утеплитель; 3 - монолитная
железобетонная плита; 4 - регулировочный болт;
5 - внутренний слой; 6 - гибкие связи; 7 - горизонтальный
деформационный шов; 8 - опорный уголок
из коррозионно-стойкой стали; 9 - кронштейн
из коррозионно-стойкой стали; 10 - сетка; 11 - воздушный
зазор; 12 - пенополистирол; 13 - регулируемая по горизонтали
консоль из коррозионно-стойкой стали; 14 - втулка с резьбой,
привариваемая к арматурному каркасу
Рисунок 8.6г - Наружная трехслойная стена с лицевым слоем,
опирающимся на кронштейны из коррозионно-стойкой стали
заводского изготовления с регулируемым вылетом кронштейна
(тип 1)
Минстроя России от 15.12.2020 N 785/пр)
1 - лицевой слой; 2 - утеплитель; 3 - монолитная
железобетонная стена; 4 - опорный узел с регулируемым
вылетом из плоскости стены; 5 - воздушный зазор;
6 - сетка; 7 - гибкие связи
Рисунок 8.6д - Наружная трехслойная стена с лицевым слоем,
опирающимся на кронштейны из коррозионно-стойкой стали
заводского изготовления с регулируемым вылетом кронштейна
(тип 2)
Минстроя России от 15.12.2020 N 785/пр)
1 - упругая прокладка; 2 - стальная пластина; 3 - анкерный
болт; 4 - горизонтальный уголок; 5 - плита перекрытия;
6 - кладка внутреннего слоя; 7 - кладка лицевого слоя;
8 - подрезанный кирпич
Рисунок 8.6е - Устройство вертикальных деформационных швов
между вертикальными элементами стальных кронштейнов
и кирпичной кладкой лицевого слоя
Минстроя России от 15.12.2020 N 785/пр)
Пример опирания лицевого слоя на защемленную во внутреннем слое консольную железобетонную балку в трехслойных стенах приведен на рисунке 8.7.
Горизонтальный деформационный шов выполняют в лицевом слое под балкой.
1 - лицевой слой стены; 2 - железобетонная балка
со скошенным торцом; 3 - внутренний слой;
4 - горизонтальные гибкие связи; 5 - термовкладыш;
6 - горизонтальный деформационный шов; 7 - сборная
железобетонная плита перекрытия; 8 - утеплитель;
9 - воздушная прослойка
Рисунок 8.7 - Наружные трехслойные стены с лицевым слоем,
опирающимся на железобетонную балку, защемленную
в кладку внутреннего несущего слоя
Пример с консольной железобетонной балкой заводского изготовления, которая служит одновременно несъемной опалубкой при бетонировании плиты перекрытия, для трехслойной стены приведен на рисунке 8.8. В балке имеются выпуски арматуры, которые заводятся в плиту перекрытия. Горизонтальный деформационный шов выполняют в лицевом слое под балкой. Торец облицовывают керамической плиткой в заводских условиях.
1 - лицевой слой; 2 - железобетонная балка заводского
изготовления с выпусками арматуры, служащая несъемной
опалубкой; 3 - внутренний слой; 4 - гибкие связи;
5 - термовкладыш; 6 - деформационный шов; 7 - монолитная
железобетонная плита; 8 - отлив из металлопластика;
9 - гидроизоляция; 10 - утеплитель; 11 - воздушная
прослойка; 12 - выпуски арматуры; 13 - керамическая плитка
Минстроя России от 15.12.2020 N 785/пр)
Рисунок 8.8 - Наружные трехслойные стены с лицевым слоем,
опирающимся на плиту перекрытия с закрепленной к ней
железобетонной консольной балкой заводского изготовления
с заведенными в плиту выпусками арматуры
Минстроя России от 19.12.2023 N 950/пр)
9 Расчет многослойных стен на центральное и внецентренное сжатие
9.1 Двухслойные несущие и самонесущие стены с внутренним слоем из камней и блоков
Расчет двухслойных стен с жесткими связями
(рисунок 8.2) следует проводить:
(в ред.
Изменения N 2, утв. Приказом Минстроя России от 19.12.2023 N 950/пр)
(в ред.
Изменения N 2, утв. Приказом Минстроя России от 19.12.2023 N 950/пр)
В
формулах (7.1) и
(7.4), приведенных в СП 15.13330.2020, принимают: площадь приведенного сечения
Ared, площадь сжатой части приведенного сечения
Ac,red и расчетное сопротивление слоя, к которому приводится сечение, с учетом коэффициента использования его прочности
m.
(в ред.
Изменения N 2, утв. Приказом Минстроя России от 19.12.2023 N 950/пр)
Коэффициенты использования прочности
m и
mi приведены в
таблице 9.1, где
m - коэффициент использования прочности слоя, к которому приводится сечение,
mi - коэффициент использования прочности любого другого слоя.
Коэффициенты продольного изгиба

,

и коэффициент
mg определяют по СП 15.13330.2012 (
подразделы 7.2 -
7.7) для материала внутреннего слоя, к которому приводится сечение. Приведение материала лицевого слоя к материалу внутреннего слоя проводят по СП 15.13330.2012
(подраздел 7.23).
(в ред.
Изменения N 2, утв. Приказом Минстроя России от 19.12.2023 N 950/пр)
В двухслойных стенах при жесткой связи слоев эксцентриситет продольной силы, направленной в сторону внутреннего слоя относительно оси, проходящей через центр тяжести приведенного сечения, не должен превышать 0,5y (y - расстояние от центра тяжести приведенного сечения до края сечения в сторону эксцентриситета).
Расчет по раскрытию горизонтальных швов лицевого слоя относительно оси приведенного сечения проводят по СП 15.13330.2012
(подраздел 8.3).
(в ред.
Изменения N 2, утв. Приказом Минстроя России от 19.12.2023 N 950/пр)
Эксцентриситет нагрузки в сторону облицовки не должен превышать 0,25
y. При эксцентриситете, направленном в сторону внутренней грани стены

, но не менее 0,1
y, расчет по
формулам (7.1) -
(7.4) СП 15.13330.2020 проводят как для однослойного сечения по материалу основного несущего слоя стены, при этом в расчет вводят всю площадь сечения элемента.
(в ред.
Изменения N 2, утв. Приказом Минстроя России от 19.12.2023 N 950/пр)
Материал лицевого слоя | Коэффициенты использования прочности слоев |
Камни марок М25 и выше из бетонов на пористых заполнителях и из поризованных бетонов | Камни марок М25 и выше из автоклавных ячеистых бетонов | Камни марок М25 и выше из неавтоклавных ячеистых бетонов | Керамические камни |
mi | m | mi | m | mi | m | mi | m |
Лицевой кирпич пластического формования высотой 65 мм | 1,0 | 0,9 | 1,0 | 0,8 | 1,0 | 0,7 | 1,0 | 0,8 |
(в ред. Изменения N 2, утв. Приказом Минстроя России от 19.12.2023 N 950/пр) |
Лицевые керамические камни с высотой 140 мм | 1,0 | 0,8 | - | - | - | - | - | - |
Силикатный кирпич | 0,9 | 1,0 | 0,8 | 1,0 | 1,0 | 0,8 | 0,6 | 0,85 |
Силикатные камни высотой 138 мм | - | - | - | - | - | - | 0,9 | 1,0 |
(в ред.
Изменения N 2, утв. Приказом Минстроя России от 19.12.2023 N 950/пр)
Помимо расчета на сжатие для стен с жестким соединением слоев следует выполнять проверку прочности на срез кладки лицевого слоя по границе с внутренним слоем стены в соответствии со следующим условием

(1)
где

- касательные напряжения, действующие в вертикальной плоскости, проходящей по границе кладки лицевого слоя с внутренним слоем стены и возникающие от совместного действия вертикальной нагрузки и температурно-влажностных деформаций;
Rsq - расчетное сопротивление кладки горизонтальных прокладных рядов срезу, определяемое по СП 15.13330.2012
(подраздел 7.20).
В случае невыполнения
условия (1) требуется устройство горизонтальных деформационных швов в лицевом слое кладки в соответствии с
разделами 8,
11 и
17.
9.2 Двух- и трехслойные несущие и самонесущие стены с гибкими связями между слоями
9.2.1 Расчет несущих двух- и трехслойных стен с соединением слоев гибкими связями
(рисунок 8.1) при центральном и внецентренном сжатии выполняют по
формулам (7.1) и
(7.4) СП 15.13330.2020 только для внутреннего слоя, лицевой слой проектируют ненесущим с опиранием на перекрытие или стальные кронштейны и с устройством горизонтального деформационного шва. Расстояния между горизонтальными деформационными швами принимают по
разделу 19.
(п. 9.2.1 в ред.
Изменения N 2, утв. Приказом Минстроя России от 19.12.2023 N 950/пр)
9.2.2 Коэффициент продольного изгиба при расчете принимают по условной толщине hусл, вычисляемой по формуле
hусл = hв.с + 0,5hл.сл, (2)
Минстроя России от 19.12.2023 N 950/пр)
где hв.с - толщина внутреннего слоя;
(в ред.
Изменения N 2, утв. Приказом Минстроя России от 19.12.2023 N 950/пр)
hл.сл - толщина лицевого слоя.
(п. 9.2.2 в ред.
Изменения N 1, утв. Приказом Минстроя России от 15.12.2020 N 785/пр)
9.3 Трехслойные несущие и самонесущие стены с вертикальными диафрагмами
Кладка вертикальных диафрагм, соединяющих слои кладки
(рисунок 8.3), проверяется на срез по
формуле (1), где

- касательные напряжения, действующие в вертикальной плоскости, проходящей через диафрагму, и возникающие от совместного действия вертикальной нагрузки и температурно-влажностных деформаций.
(в ред.
Изменения N 2, утв. Приказом Минстроя России от 19.12.2023 N 950/пр)
При расчете на центральное и внецентренное сжатие по
формулам (7.1) или
(7.4) СП 15.13330.2020 рассматривают фрагмент стены двутаврового сечения (рисунок 9.1). Изгибающие моменты от внецентренного приложения нагрузки учитывают только от нагрузок, приложенных в пределах рассматриваемого этажа. Помимо вертикальных усилий следует учитывать изгибающие моменты, возникающие от температурных воздействий.
(в ред.
Изменения N 2, утв. Приказом Минстроя России от 19.12.2023 N 950/пр)
1 - внутренний слой; 2 - диафрагма; 3 - сжатая зона
лицевого слоя; hнс - толщина лицевого слоя;
hc,нс - толщина сжатой зоны лицевого слоя; hд - толщина
диафрагмы (расстояние в свету между лицевым
и внутренним слоями); hвс - толщина внутреннего слоя
Минстроя России от 19.12.2023 N 950/пр)
Рисунок 9.1 - Приведенное сечение
рассчитываемого фрагмента стены
Исключен с 20.01.2024. -
Изменение N 2, утв. Приказом Минстроя России от 19.12.2023 N 950/пр.
В
формулах (7.1) и
(7.4) СП 15.13330.2020 принимают площадь приведенного сечения
Ared, площадь сжатой части приведенного сечения
Ac,red и расчетное сопротивление слоя, к которому приводится сечение, с учетом коэффициента использования его прочности
m.
(в ред.
Изменения N 2, утв. Приказом Минстроя России от 19.12.2023 N 950/пр)
Коэффициенты продольного изгиба

,

и коэффициент
mg определяют по СП 15.13330.2012 (
подразделы 7.2 -
7.7) для материала слоя, к которому приводится сечение.
(в ред.
Изменения N 2, утв. Приказом Минстроя России от 19.12.2023 N 950/пр)
Приведение материала лицевого слоя и диафрагмы к материалу внутреннего слоя проводят по СП 15.13330.2020
(подраздел 7.23) с применением
таблицы 9.1.
(в ред.
Изменения N 2, утв. Приказом Минстроя России от 19.12.2023 N 950/пр)
Высоту сжатой зоны определяют из условия равенства нулю суммы статических моментов эпюры вертикальных напряжений относительно оси приложения вертикального усилия. При этом принимают, что в предельном состоянии эпюра вертикальных напряжений является прямоугольной.
10 Расчет кладки на растяжение по перевязанному сечению
(раздел 10 в ред.
Изменения N 1, утв. Приказом Минстроя России от 15.12.2020 N 785/пр)
Расчет кладки по перевязанному (вертикальному) сечению при действии растягивающих усилий, возникающих в том числе от температурно-влажностных воздействий в плоскости стены, проводят в соответствии с
приложением В.
(в ред.
Изменения N 2, утв. Приказом Минстроя России от 19.12.2023 N 950/пр)
Расчет кладки на изгиб из плоскости при действии ветровой нагрузки проводят в соответствии с
приложением Г.
11 Назначение расстояний между вертикальными температурно-усадочными швами
(в ред.
Изменения N 1, утв. Приказом Минстроя России от 15.12.2020 N 785/пр,
Изменения N 2, утв. Приказом Минстроя России от 19.12.2023 N 950/пр)
Расстояние между вертикальными температурно-усадочными швами в лицевом слое двух- и трехслойных стен с гибкими связями принимают по
таблице 20.1.
(в ред.
Изменения N 2, утв. Приказом Минстроя России от 19.12.2023 N 950/пр)
Абзац исключен с 20.01.2024. -
Изменение N 2, утв. Приказом Минстроя России от 19.12.2023 N 950/пр.
12 Расчет расположенных на углах стен гибких связей по прочности на растяжение
12.1 Конструкция, количество, шаг и сечение гибких связей между лицевым и несущим внутренним слоями назначают конструктивно в соответствии с
разделами 7 и
16 и
рисунком 12.1а.
(в ред.
Изменения N 2, утв. Приказом Минстроя России от 19.12.2023 N 950/пр)
Абзац исключен с 20.01.2024. -
Изменение N 2, утв. Приказом Минстроя России от 19.12.2023 N 950/пр.
Для фрагментов стен, у которых в лицевом слое на углах отсутствуют вертикальные деформационные швы
(рисунок 12.1б), связи, расположенные на углах стен, подбирают по результатам расчетов связей и узлов их анкеровки на растяжение от суммарного действия температурно-влажностных деформаций и ветровой нагрузки в соответствии с
12.2 при соблюдении приведенных выше конструктивных требований.
(абзац введен
Изменением N 2, утв. Приказом Минстроя России от 19.12.2023 N 950/пр)
| |
а) Без вертикальных деформационных швов | б) В месте устройства деформационного шва |
(в ред. Изменения N 2, утв. Приказом Минстроя России от 19.12.2023 N 950/пр) |
1 - угловая сетка; 2 - гибкая связь; 3 - деформационный шов |
Рисунок 12.1 - Установка гибких связей и угловых связевых сеток |
12.2 Расчет на растяжение расположенных на углу стен гибких связей и продольных стержней Г-образных связевых сеток проводят из соблюдения условия непревышения растягивающими усилиями прочности связей и продольных стержней сеток по формуле (5) и прочности узла анкеровки связи по
формуле (6).

(5)
где
Nt,c - суммарное горизонтальное растягивающее усилие в связях и продольных стержнях Г-образных сеток того же направления, расположенных на углу стены на участке высотой на один этаж, от температурно-влажностных воздействий при расчетном перепаде температур, определяемом в соответствии с
приложением Б для теплого времени года, и от ветровой нагрузки;
Ac, As - суммарная площадь сечения связей и продольных стержней связевых сеток соответственно;
Rc, Rs - расчетное сопротивление растяжению связей и продольных стержней связевых сеток соответственно;

,

- понижающие коэффициенты условий работы связей и продольных стержневых связевых сеток соответственно, характеризующие их проскальзывание в горизонтальном растворном шве и неравномерность включения в работу, определяемые по
таблице 6.1.
Прочность анкерного узла связи Nt,а проверяют по формуле

(6)
Прочность анкерного узла связи (расчетное значение осевого усилия)
Nt,а определяют из испытаний с учетом коэффициента надежности по материалу

, назначаемого по
6.1.4.
(п. 12.2 в ред.
Изменения N 2, утв. Приказом Минстроя России от 19.12.2023 N 950/пр)
12.3 При разработке конструкции крепления к каркасу наружных стен наряду с температурно-влажностными воздействиями и ветровой нагрузкой следует учитывать также усилия от перекоса каркаса, вызванного деформациями его элементов (колонн, пилонов), неравномерными осадками основания и др.
13 Проектирование конструкций. Общие указания
13.1 Многослойные стены должны отвечать требованиям безопасной эксплуатации и удовлетворять следующим требованиям:
(в ред.
Изменения N 2, утв. Приказом Минстроя России от 19.12.2023 N 950/пр)
- теплозащиты и влажностного режима в соответствии с
СП 50.13330;
- прочности и устойчивости при ветровых нагрузках, температурно-влажностных воздействиях и в случаях перекоса, вызванного разными деформациями соседних несущих элементов каркаса и/или неравномерными осадками основания, -
СП 15.13330,
СП 20.13330;
- прочности и жесткости связей между слоями стен и связей, крепящих стены к несущим конструкциям здания;
- пожарной безопасности в соответствии с
[1];
(в ред.
Изменения N 2, утв. Приказом Минстроя России от 19.12.2023 N 950/пр)
- конструктивным требованиям
СП 15.13330 и требованиям настоящего свода правил.
13.2 Прогибы плит перекрытий, допуски при перекосах стен, вызванных неравномерными деформациями конструкций каркаса и осадками фундаментов назначают из условия недопущения образования трещин в кладке лицевого слоя с гибкими связями.
13.3 В проектах следует учитывать, что в процессе возведения кладка, особенно возводимая в зимнее время, может иметь пониженную прочность.
13.4 Долговечность изделий и материалов, применяемых в многослойных стенах, следует принимать с учетом срока службы зданий и условий эксплуатации.
13.5 Кирпич и камни для кладки лицевого слоя, а также и внутреннего в двухслойных стенах должны отвечать требованиям по морозостойкости по СП 15.13330.2020
(таблица 5.1).
(в ред.
Изменения N 2, утв. Приказом Минстроя России от 19.12.2023 N 950/пр)
Марка кирпича и камня лицевого слоя должна приниматься не менее M100, для кладочного раствора - не менее M75 и не более M100.
(в ред.
Изменения N 1, утв. Приказом Минстроя России от 15.12.2020 N 785/пр)
Прочность кладочных материалов внутреннего слоя должна быть не менее М35 или класс бетона не менее B2.
(в ред.
Изменения N 2, утв. Приказом Минстроя России от 19.12.2023 N 950/пр)
13.6 Исключен с 20.01.2024. -
Изменение N 2, утв. Приказом Минстроя России от 19.12.2023 N 950/пр.
13.7 Горизонтальный деформационный шов должен быть защищен сверху выступающим из плоскости стены не менее чем на 50 мм козырьком из стойкого к атмосферным воздействиям материала либо выступающей над верхним рядом кирпичной кладки на 50 - 80 мм плитой перекрытия со скошенным под углом 15° - 30° торцом (
рисунки 8.4,
8.5,
8.7,
8.8), имеющими капельники.
(п. 13.7 в ред.
Изменения N 1, утв. Приказом Минстроя России от 15.12.2020 N 785/пр)
Деформационный шов на всю толщину кладки заполняют упругими материалами. Попадание в деформационный шов кладочного раствора, штукатурки и т.п. не допускается.
(абзац введен
Изменением N 2, утв. Приказом Минстроя России от 19.12.2023 N 950/пр)
13.8 Проектирование трехслойных стен с гибкими связями выполняют с учетом следующих требований.
Для лицевого слоя толщиной от 85 мм до 120 мм применяют полнотелый кирпич, а также пустотелый кирпич с несквозными пустотами. Для лицевого слоя толщиной от 120 мм и выше допускается применение пустотелого кирпича с толщиной наружной стенки не менее 20 мм. В противном случае обязательной является защита горизонтального деформационного шва выступающим из плоскости стены скошенным торцом плиты перекрытия или стальным козырьком (
рисунки 8.4,
8.5,
8.7,
8.8), либо кирпичи верхнего ряда кладки лицевого слоя, располагаемые под горизонтальным деформационным швом, выполняют из полнотелого кирпича либо с заполнением пустот раствором и нанесением в этом случае перед укладкой в стену обмазочной гидроизоляции на их верхнюю поверхность.
Два нижних ряда при опирании кладки лицевого слоя на стальные кронштейны выполняют из полнотелого кирпича с обязательным устройством отверстий для отвода попадающей за лицевой слой воды.
Форму растворного шва в кладке принимают произвольной для кладки из полнотелого кирпича, пустотелого кирпича с пустотностью до 13% и пустотелого кирпича с несквозными пустотами при соблюдении требований
СП 70.13330. В остальных случаях заглубленные швы не допускаются.
Опирание лицевого слоя кладки на междуэтажные железобетонные перекрытия, консольные балки, стальные элементы выполняют заподлицо с торцом плит перекрытий.
Свес лицевого слоя кладки со стальных опорных элементов не должен превышать 10 мм при кладке из полнотелого кирпича и 5 мм при кладке из пустотелого кирпича.
Отклонение торца железобетонной плиты перекрытия при опирании на нее кладки лицевого слоя из пустотелого кирпича не должно превышать 5 мм в ту или иную сторону по горизонтали.
(п. 13.8 в ред.
Изменения N 2, утв. Приказом Минстроя России от 19.12.2023 N 950/пр)
13.9 При проектировании трехслойных стен с гибкими связями следует учитывать совместную работу слоев на восприятие ветровых нагрузок.
Внутренний слой кладки наружных стен с гибкими связями должен обеспечивать восприятие ветровых нагрузок, которые могут передаваться от лицевого слоя стены и заполнения проемов.
(абзац введен
Изменением N 2, утв. Приказом Минстроя России от 19.12.2023 N 950/пр)
13.10 Не допускается в построечных условиях наносить на наружный торец плиты перекрытия декоративные элементы, проводить выравнивание торца штукатуркой. Устройство декоративной отделки, например из керамической плитки, следует выполнять до заливки плиты бетоном с заводкой в плиту анкеров либо закладки в плиту до ее заливки бетоном железобетонных балок заводского изготовления, являющихся одновременно несъемной опалубкой
(рисунок 8.8).
Крепление к лицевому слою стен с гибкими связями растяжек, вентиляционного и другого оборудования не допускается.
13.11 Требования к конструкции лицевого слоя в двухслойных стенах с горизонтальными деформационными швами аналогичны приведенным для трехслойных стен.
Абзац исключен с 20.01.2024. -
Изменение N 2, утв. Приказом Минстроя России от 19.12.2023 N 950/пр.
13.11а В двухслойных стенах с гибкими связями толщину кладки лицевого слоя принимают не менее 85 мм, в трехслойных - не менее 120 мм. В противном случае для обеспечения устойчивости лицевого слоя выполняют дополнительные конструкции по типу вентилируемого фасада.
(п. 13.11а введен
Изменением N 2, утв. Приказом Минстроя России от 19.12.2023 N 950/пр)
13.12 Для зданий высотой не более двух этажей и высотой наружных стен не более 6 м допускается не выполнять горизонтальные деформационные швы в лицевом слое кладки при его толщине 120 мм и более.
(в ред.
Изменения N 2, утв. Приказом Минстроя России от 19.12.2023 N 950/пр)
В этом случае помимо проверки прочности связей на вырыв и растяжение выполняют проверку связей по прочности на сдвиг, срез и смятие материала с учетом величины относительных перемещений слоев, определяемой с учетом этапности и длительности возведения по
приложению А.
(в ред.
Изменения N 2, утв. Приказом Минстроя России от 19.12.2023 N 950/пр)
13.13 При опирании на кладку перекрытий, балок, перемычек и т.п. выполняют проверку прочности горизонтального сечения на сжатие и смятие. При опирании на край простенка также выполняют проверку прочности на скалывание по наклонному сечению и срез по вертикальному сечению в соответствии с
пунктом 7.20 СП 15.13330.2012.
(в ред.
Изменения N 1, утв. Приказом Минстроя России от 15.12.2020 N 785/пр,
Изменения N 2, утв. Приказом Минстроя России от 19.12.2023 N 950/пр)
13.14 Прогиб консольных выступов плит перекрытий на участках эркеров и т.п. не должен приводить к крену опирающихся на них наружных стен i >= 0,0003.
(п. 13.14 в ред.
Изменения N 1, утв. Приказом Минстроя России от 15.12.2020 N 785/пр)
13.15 Исключен с 16.06.2021. -
Изменение N 1, утв. Приказом Минстроя России от 15.12.2020 N 785/пр.
13.16 Требования по пожарной безопасности, предъявляемые к наружным стенам с лицевым слоем из кирпичной кладки, должны соответствовать
[1].
В целях снижения вероятности распространения огня по наружным стенам следует применять вертикальные и горизонтальные рассечки из негорючих материалов.
Рассечки следует располагать по периметру оконных и дверных проемов, в зоне вертикальных и горизонтальных деформационных швов, вокруг технологических отверстий, в зоне вентиляционных отверстий, имеющихся в лицевом слое кладки.
При наличии вентилируемого зазора между утеплителем и кладкой рассечки следует устраивать на всю толщину полости между наружным и внутренним слоями кладки стены.
(в ред.
Изменения N 2, утв. Приказом Минстроя России от 19.12.2023 N 950/пр)
В зданиях и сооружениях степеней огнестойкости I - III, кроме малоэтажных (до трех этажей) жилых домов, не допускается выполнять отделку внешних поверхностей наружных стен из материалов групп горючести Г2 - Г4 согласно требованиям СП 2.13130.2020
(пункт 5.2.3), а конструкция наружной стены не должна распространять горение.
(в ред.
Изменения N 2, утв. Приказом Минстроя России от 19.12.2023 N 950/пр)
13.17 Для удовлетворения требованиям влажностного режима конструкцию трехслойных стен следует проектировать с воздушным вентилируемым зазором. Толщину вентилируемого зазора и сечения отверстий в лицевом слое, места их расположения по высоте стены определяют расчетом в соответствии с
СП 50.13330.
В двухслойных стенах заполнение зазора между слоями кладочным раствором допускают только при удовлетворении требований положений
СП 50.13330.
(п. 13.17 в ред.
Изменения N 2, утв. Приказом Минстроя России от 19.12.2023 N 950/пр)
13.18 Для защиты опорной зоны стен от увлажнения выполняют гидроизоляцию по всей толщине стены.
(в ред.
Изменения N 2, утв. Приказом Минстроя России от 19.12.2023 N 950/пр)
13.19 Исключен с 20.01.2024. -
Изменение N 2, утв. Приказом Минстроя России от 19.12.2023 N 950/пр.
13.20 Плиты утеплителя в трехслойных стенах крепят анкерами из расчета 8 - 10 шт. на 1 м2. При устройстве утеплителя в два слоя обеспечивают перевязку стыков.
(п. 13.20 в ред.
Изменения N 2, утв. Приказом Минстроя России от 19.12.2023 N 950/пр)
14 Требования по продольному армированию кладки лицевого слоя трехслойных и двухслойных стен с гибкими связями
(в ред.
Изменения N 1, утв. Приказом Минстроя России от 15.12.2020 N 785/пр)
14.1 Продольное армирование кладки лицевого слоя с гибкими связями в трехслойных и двухслойных стенах с поэтажным опиранием определяется по расчету в соответствии с
приложением В.
Продольное армирование выполняют сетками, располагаемыми не реже, чем через 20 см на высоту от опоры кладки лицевого слоя 1 м. Выше 1 м от опоры армирование выполняют конструктивно сетками с шагом по высоте не более 60 см. Кроме того, выполняют армирование горизонтальными сетками участков вблизи углов оконных проемов, в частности, под опорами перемычек.
Для армирования используют стальные сетки и сетки из композитных материалов с размером ячейки от 25 до 100 мм и диаметром стержней не менее 3 мм.
Диаметр поперечной арматуры назначают конструктивно, но не менее 3 мм. Шаг поперечной арматуры не должен превышать 100 мм.
Толщина горизонтальных растворных швов, в которые уложены сетки, должна превышать суммарную толщину наложенных друг на друга продольных и поперечных стержней сеток не менее чем на 5 мм.
(п. 14.1 в ред.
Изменения N 2, утв. Приказом Минстроя России от 19.12.2023 N 950/пр)
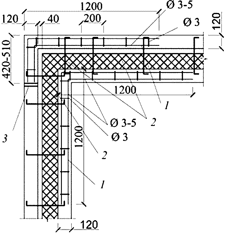
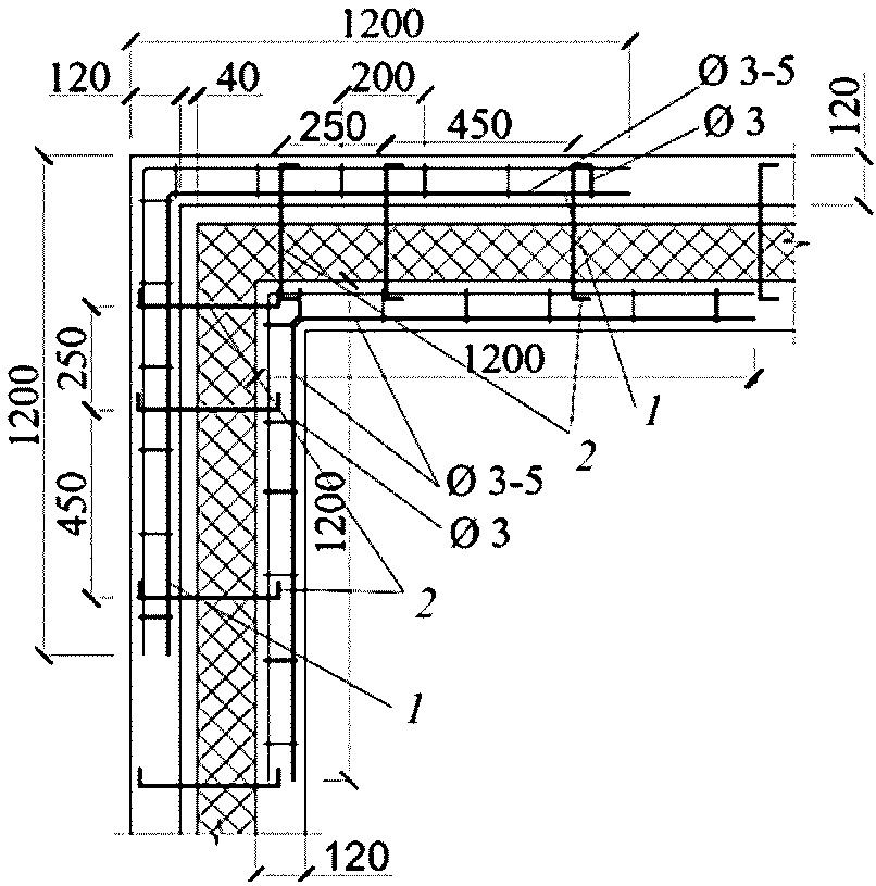
14.2 На углах каждый из слоев кладки армируют Г-образными связевыми сетками на длину не менее 1 м от угла или до вертикального деформационного шва, если он расположен ближе, с шагом по высоте не более 60 см
(рисунок 12.1).
На прямолинейных участках укладывают сетки внахлест, длина перехлеста должна составлять не менее 40 см.
Связевые сетки могут одновременно выполнять функцию продольного армирования кладки лицевого слоя. В этом случае арматуру таких сеток назначают также в соответствии с требованиями
14.1.
(п. 14.2 в ред.
Изменения N 2, утв. Приказом Минстроя России от 19.12.2023 N 950/пр)
14.3 Исключен с 16.06.2021. -
Изменение N 1, утв. Приказом Минстроя России от 15.12.2020 N 785/пр.
14.4 Требования по армированию лицевого слоя кладки двухслойных стен с гибкими связями между слоями являются аналогичными приведенным выше.
(в ред.
Изменения N 2, утв. Приказом Минстроя России от 19.12.2023 N 950/пр)
15 Требования по армированию кладки лицевого слоя стен с вертикальными диафрагмами
Армирование каждого из слоев стены, соединенных вертикальными кирпичными диафрагмами, осуществляется сетками, располагаемыми по высоте не реже, чем через 1 м. Диафрагмы армируют сетками из арматуры диаметром не менее 3 мм или Z-образными стержнями диаметром не менее 5 мм с шагом по высоте не более 60 см.
16 Требования по устройству гибких связей для крепления кладки лицевого слоя к внутреннему слою
16.1 Гибкие связи выполняют в виде сеток или отдельных стержней или в их сочетании.
(в ред.
Изменения N 2, утв. Приказом Минстроя России от 19.12.2023 N 950/пр)
Материалом связей служат стальная арматура, полимерные композитные материалы.
(в ред.
Изменения N 2, утв. Приказом Минстроя России от 19.12.2023 N 950/пр)
Стены со связями из полимерных композитных материалов должны удовлетворять требованиям по огнестойкости.
(абзац введен
Изменением N 1, утв. Приказом Минстроя России от 15.12.2020 N 785/пр)
16.2 При проектировании стен независимо от вида материала и типа связи предъявляют следующие требования.
(в ред.
Изменения N 2, утв. Приказом Минстроя России от 19.12.2023 N 950/пр)
Одиночные связи, располагаемые в растворном шве, имеющие анкерное устройство в виде крюка, петли (
рисунок 7.1 а) или сварной сетки (
рисунок 7.1 б) устанавливают в шахматном порядке в количестве не менее 5 шт./м
2. Одиночные связи с другими видами анкерных креплений, приведенными на
рисунке 7.2, устанавливают в шахматном порядке в количестве не менее 8 шт./м
2.
(в ред.
Изменения N 2, утв. Приказом Минстроя России от 19.12.2023 N 950/пр)
Абзац исключен с 20.01.2024. -
Изменение N 2, утв. Приказом Минстроя России от 19.12.2023 N 950/пр.
По периметру проемов, на углах здания и вблизи температурно-усадочных вертикальных швов устанавливают дополнительные связи с шагом по вертикали и горизонтали не более 25 см.
(в ред.
Изменения N 2, утв. Приказом Минстроя России от 19.12.2023 N 950/пр)
16.3 Исключен с 20.01.2024. -
Изменение N 2, утв. Приказом Минстроя России от 19.12.2023 N 950/пр.
16.4 Исключен с 20.01.2024. -
Изменение N 2, утв. Приказом Минстроя России от 19.12.2023 N 950/пр.
16.5 При выборе конструкции связи исходят как из прочности связи и ее анкерных узлов, определяемых в соответствии с
разделом 12, так и из требований по максимально допускаемой величине перемещения кладки лицевого слоя относительно внутреннего

, назначаемой из условий эксплуатации и обеспечения устойчивости лицевого слоя:
(в ред.
Изменения N 2, утв. Приказом Минстроя России от 19.12.2023 N 950/пр)

, (7)
где eст - суммарные перемещения связи за счет деформаций материала связи и податливости узлов анкеровки;
eсв - перемещения связи за счет деформаций материала связи на ее длине между слоями стены;

- суммарные перемещения связи в двух узлах ее анкеровки в слои стены.
Максимальное значение податливости связей всех типов, расположенных на углах стен, где отсутствуют вертикальные деформационные швы, не должно превышать 1,5 мм при действии расчетной нагрузки с учетом деформаций как самой связи, так и обоих анкерных узлов.
(п. 16.5 в ред.
Изменения N 1, утв. Приказом Минстроя России от 15.12.2020 N 785/пр)
16.6 Глубина заделки одиночных связей в горизонтальный растворный шов зависит от конструкции связи и толщины кладки.
При назначении глубины заделки в трехслойных стенах и двухслойных с воздушным зазором учитывают надежность анкеровки связи в обоих направлениях.
(в ред.
Изменения N 2, утв. Приказом Минстроя России от 19.12.2023 N 950/пр)
Одиночные гибкие связи из коррозионно-стойкой стали диаметром 5 мм
(рисунок 7.1) с анкерными участками в виде загиба стержня и одиночные гибкие стержневые связи с выделенным цилиндроконическим анкерным участком
(рисунок 7.2а) устанавливают в горизонтальный растворный шов на глубину, равную 2/3 толщины кладки лицевого слоя толщиной 85 - 120 мм.
(абзац введен
Изменением N 2, утв. Приказом Минстроя России от 19.12.2023 N 950/пр)
Одиночные гибкие стержневые связи с выделенным цилиндрическим песчаным анкерным участком
(рисунок 7.2б) устанавливают в горизонтальный растворный шов на всю толщину кладки лицевого слоя толщиной 85 - 120 мм за вычетом глубины расшивки горизонтального шва.
(абзац введен
Изменением N 2, утв. Приказом Минстроя России от 19.12.2023 N 950/пр)
При связях, жесткость и прочность которых обеспечена только при работе на растяжение, устанавливают в зазоры между слоями распорки.
(в ред.
Изменения N 2, утв. Приказом Минстроя России от 19.12.2023 N 950/пр)
Исключен с 20.01.2024. -
Изменение N 2, утв. Приказом Минстроя России от 19.12.2023 N 950/пр.
16.7, 16.8 Исключены с 16.06.2021. -
Изменение N 1, утв. Приказом Минстроя России от 15.12.2020 N 785/пр.
16.9 При использовании одиночных гибких связей и связевых сеток между лицевым и внутренним слоями стен, устанавливаемых в растворных швах кладки, высота ряда кладки лицевого слоя должна быть кратной высоте ряда основного (внутреннего) слоя кладки. При несовпадении рядов внутреннего и лицевого слоев кладки в уровне расположения связей более чем на 5 мм используют в кладке гибкие связи, монтируемые в толщу камней основного слоя кладки или регулируемые по высоте связи.
(в ред.
Изменения N 2, утв. Приказом Минстроя России от 19.12.2023 N 950/пр)
16.10 Исключен с 20.01.2024. -
Изменение N 2, утв. Приказом Минстроя России от 19.12.2023 N 950/пр.
16.11 Исключен с 20.01.2024. -
Изменение N 2, утв. Приказом Минстроя России от 19.12.2023 N 950/пр.
17 Вертикальные деформационные швы в зданиях с двухслойными несущими стенами
17.1 Вертикальные деформационные швы в стенах каменных зданий устраивают в местах возможной концентрации температурных и усадочных деформаций, которые могут вызвать трещины (по концам протяженных армированных и стальных включений, а также в местах значительного ослабления стен отверстиями или проемами).
(в ред.
Изменения N 1, утв. Приказом Минстроя России от 15.12.2020 N 785/пр,
Изменения N 2, утв. Приказом Минстроя России от 19.12.2023 N 950/пр)
17.2 В двухслойных стенах с жесткими связями между слоями вертикальные температурно-усадочные швы устраивают по всей толщине стены так же, как и в обычных стенах из однослойной кладки в соответствии с СП 15.13330.2020
(таблица 9.7).
(в ред.
Изменения N 1, утв. Приказом Минстроя России от 15.12.2020 N 785/пр,
Изменения N 2, утв. Приказом Минстроя России от 19.12.2023 N 950/пр)
17.3 В двухслойных стенах с гибкими связями в лицевом слое вертикальные температурно-усадочные швы устраивают на расстояниях, определяемых как и для трехслойных стен с гибкими связями по
таблице 20.1 с учетом указаний
разделов 11 и
20.
(в ред.
Изменения N 2, утв. Приказом Минстроя России от 19.12.2023 N 950/пр)
Абзац исключен с 16.06.2021. -
Изменение N 1, утв. Приказом Минстроя России от 15.12.2020 N 785/пр.
Во внутреннем несущем слое стены максимальные расстояния между температурно-усадочными швами допускается назначать по СП 15.13330.2020
(таблица 9.7) как и для однослойной кладки, принимая в качестве основного материал внутреннего слоя.
(в ред.
Изменения N 2, утв. Приказом Минстроя России от 19.12.2023 N 950/пр)
Места расположения вертикальных температурно-усадочных швов во внутреннем слое должны совпадать с ближайшим деформационным швом в лицевом слое. При необходимости, в зависимости от конструктивной схемы зданий, в кладке стен предусматривают дополнительные температурно-усадочные швы.
(в ред.
Изменения N 2, утв. Приказом Минстроя России от 19.12.2023 N 950/пр)
17.4 Конструкция всех типов деформационных швов должна исключать продувание и проникание влаги сквозь стену.
18 Горизонтальные деформационные швы в ненесущих наружных стенах
18.1 Горизонтальные деформационные швы в ненесущих стенах устраивают в уровне низа перекрытий по всей толщине стены во внутреннем и наружном слоях.
Расстояние между горизонтальными деформационными швами в стенах с лицевым слоем кладки толщиной 12 см не должны превышать высоты одного этажа или 3,5 м.
(в ред.
Изменения N 1, утв. Приказом Минстроя России от 15.12.2020 N 785/пр,
Изменения N 2, утв. Приказом Минстроя России от 19.12.2023 N 950/пр)
Абзац исключен с 20.01.2024. -
Изменение N 2, утв. Приказом Минстроя России от 19.12.2023 N 950/пр.
18.2 Опирание внутреннего слоя двух- и трехслойных ненесущих стен выполняют на плиту перекрытия.
(в ред.
Изменения N 2, утв. Приказом Минстроя России от 19.12.2023 N 950/пр)
Опирание лицевого слоя выполняют на плиту перекрытия или стальные опорные элементы (кронштейны и т.п.).
(абзац введен
Изменением N 2, утв. Приказом Минстроя России от 19.12.2023 N 950/пр)
Абзац исключен с 20.01.2024. -
Изменение N 2, утв. Приказом Минстроя России от 19.12.2023 N 950/пр.
18.3 При опирании кладки лицевого слоя на стальные уголки и кронштейны, обеспечивающие возможность регулировки их положения в горизонтальной плоскости относительно торца плиты перекрытия, максимальный прогиб опорной части относительно узла закрепления не должен превышать 0,5 мм при действии расчетной нагрузки от веса опирающейся на него стены и других возможных воздействий. Технические характеристики элементов заводского изготовления и узлы их крепления к стенам или перекрытиям должны быть подтверждены экспериментальной проверкой.
(в ред.
Изменения N 2, утв. Приказом Минстроя России от 19.12.2023 N 950/пр)
Следует проводить проверку прогибов кронштейнов и их несущей способности в построечных условиях.
(в ред.
Изменения N 2, утв. Приказом Минстроя России от 19.12.2023 N 950/пр)
Максимальный относительный прогиб

по направлению вдоль наружной стены торцевой части плиты перекрытия или стальных опорных элементов, возникающий на момент после начала возведения кладки лицевого слоя, не должен превышать 0,0008.
(абзац введен
Изменением N 1, утв. Приказом Минстроя России от 15.12.2020 N 785/пр; в ред.
Изменения N 2, утв. Приказом Минстроя России от 19.12.2023 N 950/пр)
При необходимости торцевую часть плиты усиливают продольной балкой.
(абзац введен
Изменением N 1, утв. Приказом Минстроя России от 15.12.2020 N 785/пр; в ред.
Изменения N 2, утв. Приказом Минстроя России от 19.12.2023 N 950/пр)
18.4 Высоту деформационных швов назначают в целях исключения передачи нагрузки на стену от кладки вышележащего этажа и перекрытия не менее 30 мм. При креплении стальных опорных элементов к внутреннему слою из монолитного железобетона минимальную высоту деформационных швов принимают 20 мм.
(п. 18.4 в ред.
Изменения N 2, утв. Приказом Минстроя России от 19.12.2023 N 950/пр)
19 Горизонтальные деформационные швы в лицевом слое несущих наружных стен
В несущих двух- и трехслойных стенах с гибкими связями следует выполнять деформационные горизонтальные швы в лицевом слое кладки.
Опирание лицевого слоя в этом случае проводят на плиту перекрытия, кронштейны из коррозионно-стойкой стали, консольные балки (
рисунки 8.4 -
8.8). При расчете на центральное и внецентренное сжатие по
формулам (7.1) и
(7.4) СП 15.13330.2020 работа лицевого слоя в этом случае не учитывается.
(в ред.
Изменения N 1, утв. Приказом Минстроя России от 15.12.2020 N 785/пр,
Изменения N 2, утв. Приказом Минстроя России от 19.12.2023 N 950/пр)
20 Вертикальные деформационные швы в лицевом слое кладки трехслойных наружных стен
(раздел 20 в ред.
Изменения N 2, утв. Приказом Минстроя России от 19.12.2023 N 950/пр)
Расстояния между вертикальными деформационными швами в лицевом слое трехслойных стен назначают в соответствии с таблицей 20.1.
| Максимальное значение расстояния между вертикальными деформационными швами в лицевом (наружном) слое кладки наружных стен, м |
Форма участка стены из керамического кирпича, керамических и природных камней | Форма участка стены из силикатного кирпича, бетонных, ячеистобетонных камней |
Прямолинейная | L-образная | Прямолинейная | L-образная |
80 | 6,0 | 3,0 | 4,0 | 2,0 |
60 | 7,0 | 3,5 | 4,6 | 2,3 |
40 | 8,0 | 4,0 | 5,4 | 2,7 |
Примечания 1 Расстояния между вертикальными деформационными швами назначены для случая армирования кладки и установки гибких связей и угловых связевых сеток и расстояния между горизонтальными деформационными швами не более 3,5 м. 2 Расстояния между вертикальными швами приведены в настоящей таблице для лицевого слоя толщиной 12 - 25 см. При толщине лицевого слоя более 25 см - по СП 15.13330.2020 (таблица 9.7). 3 При толщине лицевого слоя менее 12 см (но не менее 8,5 см) расстояние между деформационными швами определяют по результатам расчетов в соответствии с требованиями приложения В. 4 Изменение температуры  определяют в соответствии с приложением Б с коэффициентом надежности по нагрузке  при допущении трещин с шириной раскрытия до 0,5 мм в местах концентрации напряжений. В остальных случаях принимают  и приведенные в настоящей таблице значения умножают на коэффициент условий работы  . |
При назначении мест расположения вертикальных температурных швов соблюдают следующие правила:
- разбивают вертикальными деформационными швами ломанные в плане фрагменты стен на линейные, что в первую очередь относится к Z-образным фрагментам, особенно при длине средней стены менее 2 м;
- располагают швы на углах, в местах пересечений стен, перепадах высот, вблизи проемов;
- при разбивке Z-образных в плане фрагментов деформационный шов назначают в наиболее длинной стене в месте пересечения со средней стеной фрагмента;
- вертикальные швы при наличии остекленных лоджий и балконов выполняют по границам оконных и дверных проемов;
- толщину шва принимают не менее 10 мм, в заполнении шва предусматривают упругие прокладки и атмосферостойкие мастики.
Устройство вертикальных зигзагообразных деформационных швов (проходящих по вертикальным и горизонтальным незаполненным раствором швам кладки) не допускается.
При устройстве вертикального деформационного шва на углу стены следует учитывать возможность температурного расширения кладки лицевого слоя и стальных опорных конструкций, способных вызвать сдвиг стен по шву относительно друг друга.
ВЕРТИКАЛЬНЫЕ ПЕРЕМЕЩЕНИЯ НАРУЖНОГО
И ВНУТРЕННЕГО СЛОЕВ МНОГОСЛОЙНОЙ КЛАДКИ
А.1 Разность вертикальных перемещений слоев верхней точки стены

, определяемую с момента окончания ее возведения, вычисляют по формуле

(А.1)
где

- разность вертикальных перемещений слоев стены от вертикальной нагрузки и собственного веса;

- разность вертикальных перемещений слоев стены от усадки кладки.
А.2 Для вычисления деформаций кладки каждого из слоев применяют длительный модуль деформаций Eдл, равный:

(А.2)
где

- коэффициент для определения деформаций ползучести, развившихся с момента окончания роста нагрузки, вычисляемый по формуле

(А.3)
здесь t1 - возраст кладки на момент окончания ее возведения (сут.);

- коэффициент, равный 1/сут.;
C - коэффициент, учитывающий деформационные характеристики, равный:
0,46 - для кладки из керамических камней;
0,7 - для кладки из керамического кирпича пластического прессования;
1,1 - для кладки из силикатного кирпича.
А.3 Деформации усадки

кладки из силикатного кирпича и ячеистого бетона, развивающиеся во времени, допускается определять по формуле

(А.4)
t - возраст кладки (сут.).
А.4 Деформации набухания вследствие сорбционного увлажнения для кладки из керамического кирпича принимают равными нулю. Для кладки из силикатного кирпича и различного рода бетонных камней

принимают по
СП 15.13330.
НАЗНАЧЕНИЕ ТЕМПЕРАТУРЫ КЛАДКИ НАРУЖНЫХ СТЕН И ПЛИТЫ
ПЕРЕКРЫТИЯ ПРИ РАСЧЕТЕ НА ТЕМПЕРАТУРНЫЕ ВОЗДЕЙСТВИЯ
Минстроя России от 15.12.2020 N 785/пр)
Б.1 Температура кладки лицевого слоя

при определении растягивающих усилий, возникающих в нем в холодное время года, определяется как разность температуры воздуха в холодное время года
tec и температуры возведения кладки в теплое время года
tоw, определяемых по
СП 20.13330:

. (Б.1)
Б.2 При назначении температуры кладки лицевого слоя

учитывают воздействие солнечной радиации на стенах, подверженных прямому воздействию солнечных лучей. В холодное время года средняя по толщине лицевого слоя температура на внешней поверхности кладки повышается, что приводит к снижению горизонтальных растягивающих напряжений. В то же время возникает перепад температур по толщине слоя, ведущий к некоторому изгибу кладки из плоскости и повышению уровня горизонтальных растягивающих напряжений. В приложении В влияние солнечной радиации на величины горизонтальных растягивающих напряжений учитывается коэффициентом условий работы
mc,s, равным 1,15.
Температура возведения кладки в теплое время года
tоw принимается по формулам
СП 20.13330, как температура замыкания конструкции в теплое время года.
Б.3 Температура кладки лицевого слоя

при определении растягивающих усилий, возникающих в нем в теплое время года, определяется как разность температуры воздуха в теплое время года
tew и температуры возведения кладки
tоc.
При определении

принимают, что кладку лицевого слоя ведут при среднесуточной температуре наружного воздуха не менее 5 °C либо в холодное время года в тепляках. Требование по ведению кладки при положительных температурах позволяет снизить расчетный перепад температур

и, таким образом, уровень растягивающих напряжений в кладке и в расположенных на углах стен гибких связях.
Б.4 Температуру кладки лицевого слоя при определении горизонтальных растягивающих напряжений в теплое время года и усилий в гибких связях, расположенных на углу стен, определяют как разность температуры воздуха в теплое время года tew, определяемой без учета воздействия солнечной радиации для стен, не подверженных прямому воздействию солнечной радиации, и температуры возведения кладки в холодное время года tоc:
(в ред.
Изменения N 2, утв. Приказом Минстроя России от 19.12.2023 N 950/пр)

. (Б.2)
Температуру возведения кладки в холодное время года tоc принимают не менее 5 °C.
(в ред.
Изменения N 2, утв. Приказом Минстроя России от 19.12.2023 N 950/пр)
Для стен, подверженных прямому воздействию солнечной радиации, учитывают перепад температур по толщине кладки лицевого слоя введением коэффициента условий работы mc,w, равного 1,1.
Б.5 При оценке растягивающих напряжений в кладке лицевого слоя в холодное время года для части плиты и кладки внутреннего слоя, находящихся внутри помещения, температура

задается как разность температуры внутри помещения в эксплуатационный период
ti и температуры возведения в теплое время
tоw по формуле

. (Б.3)
Б.6 При оценке растягивающих напряжений в кладке лицевого слоя в теплое время года и усилий в расположенных на углах связях для части плиты и кладки внутреннего слоя, находящихся внутри помещения, температуру

задают как разность температуры внутри помещения в эксплуатационный период
ti и температуры возведения в теплое время
tоc по формуле
(в ред.
Изменения N 2, утв. Приказом Минстроя России от 19.12.2023 N 950/пр)

. (Б.4)
Б.7 В расчетах влажностные деформации

задают с помощью эквивалентной температуры
T(
sh)
экв, вычисляемой по формуле

, (Б.5)
где

- коэффициент линейного расширения кладки.
Б.8 Расчетные значения температур вычисляют путем умножения полученных нормативных значений на коэффициент надежности, равный 1,1.
РАСЧЕТ ЛИЦЕВОГО СЛОЯ НАРУЖНОЙ СТЕНЫ С ГИБКИМИ СВЯЗЯМИ
ПРИ ТЕМПЕРАТУРНО-ВЛАЖНОСТНЫХ ВОЗДЕЙСТВИЯХ
Минстроя России от 19.12.2023 N 950/пр)
В.1 Горизонтальные усилия в продольной арматуре сеток, расположенных в горизонтальных растворных швах лицевого слоя
В.1.1 При определении усилий на момент перед образованием трещин в кладке принимают, что все усилие воспринимается продольной арматурой сеток, расположенных в горизонтальных швах кладки. Усилиями в кладке пренебрегают в силу их малости по сравнению с усилиями в арматуре.
В.1.2 Усилия в кладке лицевого слоя определяют из расчета методом конечных элементов (МКЭ) в соответствии с требованиями
В.2 либо по формуле (В.1).
На прямолинейных участках между двумя вертикальными температурными швами суммарное горизонтальное растягивающее усилие в продольной арматуре сеток Ns,cr определяют из условия

(В.1)
где

- коэффициент, равный:

(В.2)
здесь a = 17,5 м;
b = 1,6 м;
c = 1,0 для кладки из керамического кирпича и c = 1,3 для кладки из силикатного кирпича, бетонных камней;
d - эмпирический коэффициент, учитывающий влияние температуры при замыкании конструкции (температуры при возведении кладки) и температуры плиты перекрытия в эксплуатационный период

;
d = 1,0 при

;
d = 1,1 при

;
d = 1,25 при

и выше;
e - эмпирический коэффициент, учитывающий возможность концентрации растягивающих напряжений на опоре вблизи соединяющих торцевую часть плиты с внутренней железобетонных ребер; e = 1,4 для кладки из керамического кирпича и e = 1,1 для кладки из силикатного кирпича и бетонных камней;
ms = 1,15 при определении напряжений для холодного времени года в кладке стен, расположенных на обращенных к солнцу фасадах;
ms = 1,1 при определении напряжений для теплого времени года в кладке стен, расположенных на обращенных к солнцу фасадах;
mок = 1,2 для стен с оконными проемами;
Eкл - модуль деформаций кладки.
Здесь площадь вертикального сечения лицевого слоя A определяют по формуле

(В.3)
где

- толщина кладки лицевого слоя;
h - расчетная высота лицевого слоя, включаемая в работу с плитой перекрытия, принимаемая равной 0,8 м;

- коэффициент линейного расширения кладки.
Температуры кладки лицевого слоя

и открытого торца плиты перекрытия назначают в соответствии с
приложением Б;
L - расстояние между двумя вертикальными деформационными швами в кладке лицевого слоя на прямолинейных участках стен.
Суммарную площадь поперечного сечения продольной арматуры сеток As на участке кладки лицевого слоя высотой 0,8 м от опоры вычисляют по формуле

(В.4)
где

- коэффициент условий работы расположенной в горизонтальных растворных швах арматуры при растяжении по горизонтальному перевязанному сечению на момент перед образованием трещин, назначаемый по
таблице 6.1;
Rt,s - расчетное сопротивление арматуры растяжению;
As - площадь поперечного сечения продольной арматуры сеток на участке кладки лицевого слоя высотой 1,0 м от опоры.
В.1.3 Расстояния между вертикальными деформационными швами задают по
таблице 20.1.
В.2 Определение усилий с применением метода конечных элементов
Определение усилий с применением МКЭ в слоях наружной стены и гибких связях проводят на фрагменте одного этажа здания или секции (рисунок В.1).
Рисунок В.1 - Изополя напряжений, действующих в лицевом слое
и плите перекрытия в срединной плоскости конечных элементов
(без учета напряжений от изгиба из плоскости) в холодное
время при его возведении в теплое время
Слои стен аппроксимируются конечными элементами (КЭ) оболочки или объемными КЭ. Связи аппроксимируются КЭ стержня. Плита перекрытия аппроксимируется КЭ оболочки.
Жесткость гибких связей назначают с учетом жесткости как самого материала связи, так и податливости узлов анкеровки связей с учетом
16.5.
Температуры кладки наружных стен и плиты перекрытия при расчете на температурные воздействия принимают по
приложению Б.
Площадь поперечного сечения продольной арматуры сеток
As на участке кладки лицевого слоя высотой
h вычисляют в соответствии с
формулой (В.4) при усилии
Ns,cr, действующем на данном участке кладки.
На рисунках В.2 -
В.4 показаны схемы деформаций кладки лицевого слоя пространственных фрагментов, где при отсутствии вертикальных деформационных швов возможно образование трещин.
Рисунок В.2 - Схема деформаций лицевого слоя
на Г-образном участке с внешним углом в холодное время
при его возведении в теплое время
Рисунок В.3 - Схема деформаций лицевого слоя
на Z-образном участке в холодное время
при его возведении в теплое время
Рисунок В.4 - Схема деформаций лицевого слоя
на П-образном участке с внешним углом в холодное время
при его возведении в теплое время
При габаритах КЭ более 15 см следует учитывать коэффициент концентрации напряжений, который на опоре стены, углах проемов принимают при отсутствии сравнительных расчетов равным 1,5.
При назначении мест расположения вертикальных температурных швов следует придерживаться конструктивных требований, приведенных в
разделе 20.
ОБЩИЕ ПОЛОЖЕНИЯ ПО РАСЧЕТУ НАРУЖНЫХ СТЕН
НА ВЕТРОВУЮ НАГРУЗКУ
Минстроя России от 19.12.2023 N 950/пр)
Г.1 Напряженно-деформированное состояние кладки стен и усилия в гибких связях при действии ветровой нагрузки определяют с учетом совместной работы наружного и внутреннего слоев стены.
Г.2 При расчете по предельным усилиям принимают, что предельное состояние характеризуется достижением предельных усилий в кладке растянутой зоны. Расчетный изгибающий момент
M простенков, не имеющих вертикальных опор
(рисунок Г.1а), определяют из условия
M <= Rtb·Wупр, (Г.1)
где
Rtb - расчетное сопротивление кладки растяжению при изгибе, учитывающее нелинейную работу кладки, определяемое по СП 15.13330.2020
(таблица 6.11);
Wупр - упругий момент сопротивления поперечного сечения простенка.
а) при консольной схеме работы; б) при верхней опоре
Рисунок Г.1 - Изополя и эпюры изгибающих моментов
В остальных случаях следует соблюдать условие

(Г.2)
где

- растягивающие напряжения.
Г.3 Расчет стен с проемами (рисунок Г.2), криволинейными в плане стенами и т.п. по программам, реализующим МКЭ, проводят в соответствии с
В.2 приложения В.
Рисунок Г.2 - Расчетная схема и изополя главных напряжений
в наружной стене с проемами
Г.4 При расчете кладки по образованию трещин при изгибе из плоскости по
формуле (8.1) СП 15.13330.2020 учитывают возможность концентрации растягивающих напряжений на отдельных участках стен (например, по концам надоконных перемычек, углах проемов, местах установки связей и др.). В этой связи к полученным значениям краевых напряжений

вводят коэффициент учета возможной концентрации напряжений, принимаемый при отсутствии данных сравнительных расчетов равным 1,5.
Г.5 В случае невыполнения условий
(Г.1) и
(Г.2) значения изгибающих моментов, действующих в слоях кладки, могут быть снижены за счет таких конструктивных мероприятий, как увеличение количества гибких связей между слоями, в том числе в виде сеток, рациональное соотношение изгибных жесткостей лицевого и внутреннего слоев и др.
Г.6 Устойчивость простенка против опрокидывания в случае, когда равнодействующая всех сил выходит за пределы ядра сечения, определяют из условия
Mопр <= mудер·Mудер, (Г.3)
где Mопр - суммарный опрокидывающий момент относительно оси возможного поворота опоры;
Mудер - суммарный удерживающий момент относительно оси возможного поворота опоры;
mудер - коэффициент условий работы при проверке устойчивости на сдвиг и опрокидывание. Данный коэффициент принимают равным 0,9 при опирании кладки непосредственно на плиту перекрытия и 0,8 - при опирании на слой гидроизоляции, отлив из жести, металлопластика и т.п.
Г.7 Устойчивость простенка против сдвига определяют из условия
Nсдв <= (mудер/nудер)·Nудер, (Г.4)
где nудер - коэффициент надежности при проверке устойчивости;
Nсдв, Nудер - сдвигающие горизонтальные нагрузки и удерживающие силы соответственно.
ПРАВИЛА ЭКСПЛУАТАЦИИ И РЕМОНТА НАРУЖНЫХ СТЕН
С ЛИЦЕВЫМ СЛОЕМ ИЗ КИРПИЧНОЙ КЛАДКИ
Д.1 Техническое обслуживание и ремонт наружных стен из многослойной кладки предполагает:
а) техническое обслуживание (содержание);
б) осмотры;
в) текущий ремонт;
г) капитальный ремонт.
Д.2 Техническое обслуживание наружных многослойных стен включает работы по контролю за их состоянием, поддержанию в исправности, работоспособности.
Контроль за техническим состоянием следует осуществлять путем проведения плановых и внеплановых осмотров.
Д.3 Результаты осмотров отражают в специальных документах по учету технического состояния наружных многослойных стен: журналах, паспортах, актах.
(в ред.
Изменения N 2, утв. Приказом Минстроя России от 19.12.2023 N 950/пр)
Обнаруженные в ходе осмотра дефекты обследуют специализированной организацией с выдачей заключения и рекомендациями по ремонту и дальнейшей безопасной эксплуатации.
(в ред.
Изменения N 2, утв. Приказом Минстроя России от 19.12.2023 N 950/пр)
Д.4 Организация по обслуживанию жилищного фонда должна принимать срочные меры по обеспечению безопасности людей, предупреждению дальнейшего развития деформаций, а также немедленно информировать о случившемся собственника или уполномоченное им лицо.
Д.5 Организация по обслуживанию жилищного фонда должна обеспечивать:
- заданный температурно-влажностный режим внутри здания;
- исправное состояние стен для восприятия нагрузок (конструктивную прочность);
- устранение повреждений стен по мере выявления, не допуская их дальнейшего развития;
- теплозащиту, влагозащиту и звукоизоляцию наружных стен.
Д.6 Инженерно-технические работники организации по обслуживанию жилищного фонда должны знать конструкции наружных стен и нормативные требования к ним.
Д.7 Не допускается без соответствующего заключения специализированной организации поверхности неоштукатуренных стен с выветрившейся кладкой облицовывать плиткой или оштукатуривать цементным или сложным раствором, т.к. это может препятствовать выходу влаги из стены и способствовать еще большему размораживанию кладки.
Д.8 Все выступающие части фасадов должны иметь покрытия из стойких к атмосферным воздействиям материалов, имеющие уклон не менее 3% и вынос от стены не менее 50 мм.
Д.9 Для поддержания фасадов в исправном состоянии выполняют своевременную окраску.
Д.10 Повреждения, вызвавшие снижение водозащитных и теплотехнических свойств наружных ограждающих конструкций, звукоизоляции и других показателей, которые не могут быть устранены при текущем ремонте и по заключению специализированной организации, не требуют немедленного устранения, устраняют при капитальном ремонте или реконструкции по соответствующему проекту.
(в ред.
Изменения N 2, утв. Приказом Минстроя России от 19.12.2023 N 950/пр)
Д.11 Фасады зданий следует очищать и промывать в сроки, установленные в зависимости от материала, состояния поверхностей зданий (степень загрязнения, наличие выколов, разрушение покрытия) и условий эксплуатации.
Д.12 Устройство в наружных стенах дополнительных проемов, отверстий, ведущее к нарушению прочности или разрушению несущих конструкций стен, нарушению в работе инженерных систем и/или установленного на нем оборудования, ухудшению сохранности и внешнего вида фасадов, нарушению противопожарных устройств, не допускается.
Д.13 Установка холодильного, вентиляционного оборудования, растяжек от проводов, рекламы и т.п. допускается только без передачи нагрузки на лицевой слой кладки с применением специальных приспособлений.
Предпочтительным является передача нагрузки на несущие элементы каркаса. При этом обращают внимание на недопущение снижения пожарной безопасности и эксплуатационных качеств стены вследствие нарушения противопожарных рассечек, теплоизоляции и звукоизоляции.
(в ред.
Изменения N 2, утв. Приказом Минстроя России от 19.12.2023 N 950/пр)
Д.14 Работы по комплексной защите вертикальных и горизонтальных деформационных швов стен от увлажнения атмосферными осадками и промерзания выполняют с интервалом шесть - восемь лет.
(в ред.
Изменения N 2, утв. Приказом Минстроя России от 19.12.2023 N 950/пр)
Неисправности герметизации деформационных швов устраняют по мере выявления, не допуская дальнейшего ухудшения герметизации.
(в ред.
Изменения N 2, утв. Приказом Минстроя России от 19.12.2023 N 950/пр)
Контроль за состоянием герметизации деформационных швов и сопряжений по периметру оконных и дверных блоков проводят: первый - через три года после герметизации, последующие - через пять лет.
(в ред.
Изменения N 2, утв. Приказом Минстроя России от 19.12.2023 N 950/пр)
Д.15 Неисправности звукоизоляции наружных многослойных стен необходимо своевременно выявлять и устранять при текущем и капитальном ремонтах.
Д.16 Рекомендации по ремонту кладки лицевого слоя наружных многослойных стен
Д.16.1 Работы по ремонту лицевого слоя наружных стен из многослойной кладки проводят по проекту, разработанному по результатам обследования специализированной организацией.
Д.16.2 К числу основных работ по ремонту лицевого слоя из кирпичной и каменной кладки относят следующие:
(в ред.
Изменения N 2, утв. Приказом Минстроя России от 19.12.2023 N 950/пр)
- устройство вертикальных и горизонтальных деформационных швов при их отсутствии, недостаточном количестве;
- устройство дополнительных связей между наружным и внутренним слоями стены;
- ремонт кладки на участках ее размораживания и выветривания;
- ремонт кладки с трещинами;
- ремонт гидро-, тепло- и звукоизоляции вертикальных и горизонтальных деформационных швов.
Д.16.3 Устройство вертикальных деформационных швов при их отсутствии, недостаточном количестве или некачественном исполнении осуществляют на участках, определяемых в соответствии с
разделами 17 и
20.
Конструкцию швов назначают по конструктивным указаниям настоящего свода правил.
Вертикальные швы устраивают на участках вблизи образования вертикальных трещин в кладке лицевого слоя, являющимися естественными деформационными швами. При этом выполняют ремонт кладки с самой трещиной. Тип ремонта зависит от характера, ширины раскрытия трещины и проводится в соответствии с указаниями, приведенными ниже.
Д.16.4 В случае отсутствия связей, недостаточного их количества, низкого качества изготовления или недостаточной несущей способности, повреждения в процессе эксплуатации вследствие коррозии, механических воздействий, воздействия высоких температур, а также прямого огневого воздействия при пожаре проводят установку дополнительных связей.
Тип и количество связей определяют в соответствие с
разделом 16 и с учетом технологических особенностей их установки.
Д.16.5 Ремонт кладки на участках ее размораживания и выветривания проводят различными методами в зависимости от степени повреждения и причин, вызвавших дефекты. Кроме того, учитывают требования по отделке фасада.
(в ред.
Изменения N 2, утв. Приказом Минстроя России от 19.12.2023 N 950/пр)
При разрушении внешнего слоя кирпича, камня на глубину до 1 - 3 см выполняют его докомпоновку специальными составами.
При большей глубине разрушения кирпича и камня лицевого слоя проводят перекладку кладки с армированием в горизонтальных швах в соответствии с указаниями
раздела 14 и устройством связей с основным слоем стены в соответствии с настоящим сводом правил и технологическими особенностями установки ремонтных связей.
Д.16.6 При ремонте кладки с трещинами учитывают вероятность повторного раскрытия трещин либо образования ее на соседнем участке в случае, если не будут устранены причины ее образования.
(в ред.
Изменения N 2, утв. Приказом Минстроя России от 19.12.2023 N 950/пр)
Ремонт кладки с трещинами проводят указанными ниже методами в зависимости от характера трещины, причин ее образования и ширины раскрытия и требований к отделке фасада:
- путем перекладки кладки с соблюдением требований к перевязке кладки и конструктивному армированию по
СП 15.13330;
- путем расшивки и заполнения трещины стойким к атмосферным воздействиям эластичным материалом и укладкой в расчищенные от раствора горизонтальные швы стальной арматуры, перекрывающей трещины.
[1] Федеральный
закон от 22 июля 2008 г. N 123-ФЗ "Технический регламент о требованиях пожарной безопасности"