Главная // Актуальные документы // ГОСТ Р (Государственный стандарт)СПРАВКА
Источник публикации
М.: ФГБУ "РСТ", 2022
Примечание к документу
Документ
введен в действие с 01.05.2023.
Название документа
"ГОСТ Р 70461-2022. Национальный стандарт Российской Федерации. Строительные работы и типовые технологические процессы. Конструкции стальные из труб и замкнутых профилей. Правила и контроль выполнения монтажных работ"
(утв. и введен в действие Приказом Росстандарта от 31.10.2022 N 1221-ст)
"ГОСТ Р 70461-2022. Национальный стандарт Российской Федерации. Строительные работы и типовые технологические процессы. Конструкции стальные из труб и замкнутых профилей. Правила и контроль выполнения монтажных работ"
(утв. и введен в действие Приказом Росстандарта от 31.10.2022 N 1221-ст)
Утвержден и введен в действие
агентства по техническому
регулированию и метрологии
от 31 октября 2022 г. N 1221-ст
НАЦИОНАЛЬНЫЙ СТАНДАРТ РОССИЙСКОЙ ФЕДЕРАЦИИ
СТРОИТЕЛЬНЫЕ РАБОТЫ И ТИПОВЫЕ ТЕХНОЛОГИЧЕСКИЕ ПРОЦЕССЫ
КОНСТРУКЦИИ СТАЛЬНЫЕ ИЗ ТРУБ И ЗАМКНУТЫХ ПРОФИЛЕЙ
ПРАВИЛА И КОНТРОЛЬ ВЫПОЛНЕНИЯ МОНТАЖНЫХ РАБОТ
Construction works and typical technological processes.
Steel structures from pipes and closed profiles.
Rules and control of work performance
ГОСТ Р 70461-2022
Дата введения
1 мая 2023 года
1 РАЗРАБОТАН Акционерным обществом "Центр методологии нормирования и стандартизации в строительстве" (АО "ЦНС")
2 ВНЕСЕН Техническим комитетом по стандартизации ТК 400 "Производство работ в строительстве. Типовые технологические и организационные процессы"
3 УТВЕРЖДЕН И ВВЕДЕН В ДЕЙСТВИЕ
Приказом Федерального агентства по техническому регулированию и метрологии от 31 октября 2022 г. N 1221-ст
4 ВВЕДЕН ВПЕРВЫЕ
Правила применения настоящего стандарта установлены в статье 26 Федерального закона от 29 июня 2015 г. N 162-ФЗ "О стандартизации в Российской Федерации". Информация об изменениях к настоящему стандарту публикуется в ежегодном (по состоянию на 1 января текущего года) информационном указателе "Национальные стандарты", а официальный текст изменений и поправок - в ежемесячном информационном указателе "Национальные стандарты". В случае пересмотра (замены) или отмены настоящего стандарта соответствующее уведомление будет опубликовано в ближайшем выпуске ежемесячного информационного указателя "Национальные стандарты". Соответствующая информация, уведомление и тексты размещаются также в информационной системе общего пользования - на официальном сайте Федерального агентства по техническому регулированию и метрологии в сети Интернет (www.rst.gov.ru)
Настоящий стандарт распространяется на строительные конструкции из стальных труб и замкнутых профилей (далее - стальные конструкции) и устанавливает требования к их изготовлению в условиях строительно-монтажной площадки, монтажу и контролю выполненных работ.
Примечание - Области применения стальных конструкций по климатическим, ветровым, снеговым и сейсмическим районам определяются в чертежах проектной документации.
В настоящем стандарте использованы нормативные ссылки на следующие документы:
ГОСТ 8.051 Государственная система обеспечения единства измерений. Погрешности, допускаемые при измерении линейных размеров до 500 мм
ГОСТ 9.032 Единая система защиты от коррозии и старения. Покрытия лакокрасочные. Группы, технические требования и обозначения
ГОСТ 9.402 Единая система защиты от коррозии и старения. Покрытия лакокрасочные. Подготовка металлических поверхностей к окрашиванию
ГОСТ 9.908 Единая система защиты от коррозии и старения. Металлы и сплавы. Методы определения показателей коррозии и коррозионной стойкости
ГОСТ 12.2.003 Система стандартов безопасности труда. Оборудование производственное. Общие требования безопасности
ГОСТ 12.4.020 Система стандартов безопасности труда. Средства индивидуальной защиты рук. Номенклатура показателей качества
ГОСТ 12.4.254 Система стандартов безопасности труда. Средства индивидуальной защиты глаз и лица при сварке и аналогичных процессах. Общие технические условия
ГОСТ 12.4.275 (ЕН 13819-1:2002) Система стандартов безопасности труда. Средства индивидуальной защиты органа слуха. Общие технические требования. Методы испытаний
ГОСТ 166 (ИСО 3599-76) Штангенциркули. Технические условия
ГОСТ 427 Линейки измерительные металлические. Технические условия
ГОСТ 535 Прокат сортовой и фасонный из стали углеродистой обыкновенного качества. Общие технические условия
ГОСТ 1759.0 Болты, винты, шпильки и гайки. Технические условия.
ГОСТ 3242 Соединения сварные. Методы контроля качества
ГОСТ 5264-80 Ручная дуговая сварка. Соединения сварные. Основные типы, конструктивные элементы и размеры
ГОСТ 5915 Гайки шестигранные класса точности B. Конструкция и размеры
ГОСТ 5927 Гайки шестигранные класса точности A. Конструкция и размеры
ГОСТ 6402 Шайбы пружинные. Технические условия
ГОСТ 6996 Сварные соединения. Методы определения механических свойств
ГОСТ 7502 Рулетки измерительные металлические. Технические условия
ГОСТ 8731 Трубы стальные бесшовные горячедеформированные. Технические требования
ГОСТ 9454 Металлы. Метод испытания на ударный изгиб при пониженных, комнатной и повышенных температурах
ГОСТ 9466 Электроды покрытые металлические для ручной дуговой сварки сталей и наплавки. Классификация и общие технические условия
ГОСТ 9467 Электроды покрытые металлические для ручной дуговой сварки конструкционных и теплоустойчивых сталей. Типы
ГОСТ 10705 Трубы стальные электросварные. Технические условия.
ГОСТ 10706 Трубы стальные электросварные прямошовные. Технические требования
ГОСТ 11098 Скобы с отсчетным устройством. Технические условия
ГОСТ 11534 Ручная дуговая сварка. Соединения сварные под острыми и тупыми углами. Основные типы, конструктивные элементы и размеры
ГОСТ 14673 Штампы для листовой штамповки. Блоки штампов с осевым расположением шариковых направляющих узлов. Конструкция и размеры
ГОСТ 14771 Дуговая сварка в защитном газе. Соединения сварные. Основные типы, конструктивные элементы и размеры
ГОСТ 14776 Дуговая сварка. Соединения сварные точечные. Основные типы, конструктивные элементы и размеры
ГОСТ 15150-69 Машины, приборы и другие технические изделия. Исполнения для различных климатических районов. Категории, условия эксплуатации, хранения и транспортирования в части воздействия климатических факторов внешней среды
ГОСТ 16523 Прокат тонколистовой из углеродистой стали качественной и обыкновенного качества общего назначения. Технические условия
ГОСТ 17066 Прокат тонколистовой из стали повышенной прочности. Технические условия
--------------------------------
<1> Утратил силу в Российской Федерации в части допусков шайб с 1 января 2011 г. Действует
ГОСТ ISO 4759-3-2015 "Изделия крепежные. Допуски. Часть 3. Шайбы плоские для болтов, винтов и гаек. Классы точности A и C".
ГОСТ 19281 Прокат повышенной прочности. Общие технические условия
ГОСТ 21780 Система обеспечения точности геометрических параметров в строительстве. Расчет точности
ГОСТ 23118-2019 Конструкции стальные строительные. Общие технические условия
ГОСТ 23518 Дуговая сварка в защитных газах. Соединения сварные под острыми и тупыми углами. Основные типы, конструктивные элементы и размеры
ГОСТ 24297 Верификация закупленной продукции. Организация проведения и методы контроля
ГОСТ 27772 Прокат для строительных стальных конструкций. Общие технические условия
ГОСТ 30245 Профили стальные гнутые замкнутые сварные квадратные и прямоугольные для строительных конструкций. Технические условия
ГОСТ 32484.1 (EN 14399-1:2005) Болтокомплекты высокопрочные для предварительного натяжения конструкционные. Общие требования
ГОСТ 32484.3 (EN 14399-3:2005) Болтокомплекты высокопрочные для предварительного натяжения конструкционные. Система HR - комплекты шестигранных болтов и гаек
ГОСТ 32484.5 (EN 14399-5:2005) Болтокомплекты высокопрочные для предварительного натяжения конструкционные. Плоские шайбы
ГОСТ 32528 Трубы стальные бесшовные горячедеформированные. Технические условия
ГОСТ 32931 Трубы стальные профильные для металлоконструкций. Технические условия
ГОСТ 33228 Трубы стальные сварные общего назначения. Технические условия
ГОСТ 33715 Краны грузоподъемные. Съемные грузозахватные приспособления и тара. Эксплуатация
ГОСТ ISO 898-1 Механические свойства крепежных изделий из углеродистых и легированных сталей. Часть 1. Болты, винты и шпильки установленных классов прочности с крупным и мелким шагом резьбы
ГОСТ ISO 898-2 Механические свойства крепежных изделий из углеродистых и легированных сталей. Часть 2. Гайки установленных классов прочности с крупным и мелким шагом резьбы
ГОСТ ISO 4032 Гайки шестигранные нормальные (тип 1). Классы точности A и B
ГОСТ ISO 8673 Гайки шестигранные нормальные (тип 1) с мелким шагом резьбы. Классы точности A и B
ГОСТ Р 54864 Трубы стальные бесшовные горячедеформированные для сварных стальных строительных конструкций. Технические условия
ГОСТ Р 58064 Трубы стальные сварные для строительных конструкций. Технические условия
ГОСТ Р 58904/ISO/TR 25901-1:2016 Сварка и родственные процессы. Словарь. Часть 1. Общие термины
ГОСТ Р 58905/ISO/TR 25901-2:2016 Сварка и родственные процессы. Словарь. Часть 3. Сварочные процессы
ГОСТ Р ИСО 8676 Винты с шестигранной головкой с мелким шагом резьбы. Классы точности A и B
ГОСТ Р ИСО 8765 Болты с шестигранной головкой с мелким шагом резьбы. Классы точности A и B
Примечание - При пользовании настоящим стандартом целесообразно проверить действие ссылочных стандартов (сводов правил) в информационной системе общего пользования - на официальном сайте Федерального агентства по техническому регулированию и метрологии в сети Интернет или по ежегодному информационному указателю "Национальные стандарты", который опубликован по состоянию на 1 января текущего года, и по выпускам ежемесячного информационного указателя "Национальные стандарты" за текущий год. Если заменен ссылочный документ, на который дана датированная ссылка, то рекомендуется использовать версию этого документа с указанным выше годом утверждения (принятия). Если после утверждения настоящего стандарта в ссылочный документ, на который дана датированная ссылка, внесено изменение, затрагивающее положение, на которое дана ссылка, то это положение рекомендуется применять без учета данного изменения. Если ссылочный документ отменен без замены, то положение, в котором дана ссылка на него, рекомендуется применять в части, не затрагивающей эту ссылку. Сведения о действии сводов правил целесообразно проверить в Федеральном информационном фонде стандартов.
3 Термины, определения и сокращения
3.1 Термины и определения
3.1.1 деталь (элемент): Изделие, изготовленное из однородного материала без применения сборочных операций.
Примечание - Номер изделия в спецификации технической документации на стальную конструкцию называется "Позиция".
3.1.2 монтажный зазор: Расстояние между гранями соединяемых элементов стальных конструкций, предусмотренное для возможности перемещений в процессе установки.
3.1.3 замкнутый сварной гнутый профиль проката: Сортовой гнутый профиль проката, квадратный или прямоугольный в сечении, замкнутый контур которого обеспечен гибкой и сваркой листовой заготовки.
3.1.4
изделие: Объект, форма, размеры, конструкция которого определяют его функциональное назначение в большей мере, чем его химический состав. Изделие является единицей промышленной продукции, количество которой может исчисляться дискретной величиной в штуках или экземплярах. К изделиям не относится нештучная продукция. |
3.1.5 комплектующее изделие: Единица продукции предприятия-поставщика, применяемая как составная часть продукции, выпускаемой другим предприятием.
3.1.6 строительное изделие: Элемент строительной конструкции (или конструкция в целом), изготовленный вне места его применения.
Примечание - Примеры строительных изделий: стальной ригель, стальная колонна, стальная связь, панель стены, стропильная балка, стальная балка, плита перекрытия, лестничный марш, звено воздуховода, кольцо колодца, подоконная доска, санитарно-техническая кабина и другие элементы и строительные конструкции, поставляемые для использования в строительстве в готовом виде.
3.1.7 обустройство: Процесс установки на строительных конструкциях подмостей, люлек, лестниц и других временных приспособлений при подготовке их к монтажу для обеспечения безопасных условий труда монтажников на высоте.
Примечание - Инвентарные навесные подмости, площадки и лестницы закрепляют к монтируемым элементам у мест их установки.
3.1.8
ожог дугой: Местное повреждение поверхности основного металла рядом со сварным швом из-за горения дуги вне разделки кромок. |
Примечание - Ожоги, подрезы, натеки, наплывы, прожоги, незаверенные кратеры, оставшиеся после сварки шлак и брызги, оплавление кромок (в угловых швах) вызываются преимущественно чрезмерной силой тока и напряжения на дуге, большим диаметром электродов, неправильными манипуляциями электродом, плохой сборкой стыка под сварку, низкой квалификацией сварщика.
3.1.9
опытный образец: Образец продукции, изготовленный по вновь разработанной рабочей документации для проверки путем испытаний соответствия его заданным техническим требованиям с целью принятия решения о возможности постановки на производство и (или) использования по назначению. |
3.1.10 отправочная марка (сборочная единица): Изделие, собранное на заводе из деталей с участием соединяющих элементов: сварочных материалов, крепежных метизов и др., являющееся частью стальной конструкции каркаса (фермы, колонны, рамы) и предназначенное для сборки в конструкцию на монтажной площадке.
3.1.11
подрез (Нрк. канавка): Продольное сплошное или прерывистое углубление по линии сплавления валика сварного шва с основным металлом или предыдущим наплавленным металлом. Примечание - Подрез характерен для сварных соединений, выполненных дуговой сваркой. |
3.1.12 полуфабрикат: Изделие предприятия-поставщика, подлежащее дополнительной обработке или сборке (например, стальное литье для опорных частей, поковки, холодногнутые профили и т.д.)
3.1.13 полые профили: Общий термин трубчатых профилей круглого, квадратного или прямоугольного сечений.
3.1.14 работы монтажные: Комплекс работ по монтажу и демонтажу стальных конструкций.
3.1.15 сборка: Процесс соединения в определенной последовательности и закрепление отправочных марок, монтажных элементов, деталей и узлов с целью получения стальной конструкции, удовлетворяющей ее назначению.
3.1.16 сварочные деформации: Искажение формы сварного изделия (укорочение, изгиб, поворот сечений, потеря устойчивости листа и т.д.) в процессе сварки и последующего охлаждения металла.
3.1.17 монтажный стык: Соединительный узел конструктивных элементов, выполненный в монтажных условиях.
3.1.18 технологическая проба [испытание]: Процесс определения возможности проведения различных технологических операций.
Примечание - К таким испытаниям относятся испытания на загиб в холодном состоянии, осадку, перегиб, выдавливание, свариваемость, прокаливаемость и др.
3.1.19 технологический [монтажный] припуск: Конструктивно предусмотренный заведомо больше требуемого размер монтажного элемента, предусмотренный для максимально точного монтажа этого элемента и/или компенсации усадок от сварки.
3.1.20 типовое изделие: Изделие, принадлежащее к группе изделий, близких по конструкции, и обладающее наибольшим количеством конструктивных и технологических признаков этой группы.
3.1.21 монтажный элемент: Готовое изделие, отправляемое на монтаж без сборки и сварки на заводе (фасонки, накладки, прокладки, рыбки, связи и т.д.).
3.1.22 элемент: Составная часть строительной конструкции, сооружения.
В настоящем стандарте применены следующие сокращения:
ЖСР - журнал сварочных работ;
КМ - конструкции металлические;
КМД - конструкции металлические деталировочные;
ППР - проект производства работ;
ППСР - проект производства сварочных работ;
ТД - техническая документация;
ТУ - технические условия.
Примечание - Техническая документация на изделия - это документальное подтверждение качества товара: декларация о соответствии, сертификат соответствия, дополнительные документы для подтверждения стандартов при проведении проверки качества, заключение.
4 Требования к организации производства работ
4.1 При организации производства работ следует выполнять требования ППР,
СП 48.13330.2019 и настоящего стандарта. Монтажные работы должны быть организованы с использованием прогрессивных методов, обеспечивающих безопасность работ, высокую производительность труда, сокращение сроков изготовления стальных конструкций и проведения монтажных работ, снижение себестоимости и качество их выполнения.
4.2 При организации проведения работ должны быть учтены принятые в ППР решения, обоснованные расчетами на неблагоприятные значения и сочетания нагрузок и воздействий, возможных в период изготовления стальных конструкций и производства монтажных работ. Отдельные конструктивные элементы или части строящегося здания (сооружения), используемые для крепления к ним монтажных приспособлений и устройств, должны быть проверены на указанные силовые воздействия.
Также должны быть учтены предусмотренные в ППР мероприятия по обеспечению устойчивости стальных конструкций в периоды изготовления и подготовки к монтажу, непосредственно во время монтажа и до завершения проектного или временного закрепления.
Примечание - Расчет устойчивости стальных конструкций в процессе монтажа может быть выполнен по СП 70.13330.2012
(приложение К).
4.3 Изготовление и производство монтажных работ должно соответствовать требованиям к процессам изготовления и монтажа, содержащимся в ППР, чертежах КМ, КМД:
- указания по сборке монтажных соединений;
- указания по выполнению сварных соединений;
- указания по выполнению соединений на болтах, винтах и других крепежных элементах;
- указания по защите стальных конструкций от коррозии.
4.4 Работы необходимо выполнять с учетом следующих требований:
- габариты транспортируемых стальных конструкций должны быть сопоставлены с габаритами транспортных средств и транспортных путей с учетом последовательности их монтажа;
- зона складирования и раскладки сборных элементов должна соответствовать плану монтажных работ, ее размеры должны быть установлены с учетом наличия проезжей части для транспорта, прохода крана и беспрепятственного ведения монтажа;
- зона изготовления или укрупнительной сборки стальных конструкций должна соответствовать плану монтажных работ, она может быть расположена на территории приобъектных складов стальных конструкций или на специальных сборочных площадках;
- зона укрупнительной сборки должна быть размещена вблизи монтируемых объектов в зоне действия монтажных кранов;
- зона укрупнительной сборки должна быть оборудована стационарными или временными стеллажами, стендами или кондукторами, позволяющими закреплять стальные конструкции и осуществлять их выверку и рихтовку в процессе сборки;
- укрупнение стальных конструкций в монтажные или монтажно-технологические блоки должно проводиться параллельно или с опережением возведения здания или сооружения;
- должны быть обеспечены прочность и устойчивость стальных конструкций, монтажных механизмов и приспособлений под действием монтажных нагрузок при складировании, транспортировании, укрупнении, кантовке, подъеме, установке и выверке;
- должны быть предусмотрены мероприятия, обеспечивающие требуемую точность и пространственную неизменяемость стальных конструкций в процессе их укрупнительной сборки и монтажа в проектное положение;
- схемы производства работ должны обеспечивать безопасность их выполнения.
4.5 Если зона складирования и раскладки сборных элементов позволяет выполнить поэлементную раскладку, то положение элементов в плане должно быть привязано к местам стоянки крана. При этом место строповки должно попадать на монтажный радиус крана, а положение строительного изделия должно быть максимально приближено к месту проектной установки.
4.6 При производстве работ должны быть учтены схемы производства работ, разработанные в ППР, которые содержат:
а) разработку специальных вопросов:
- по погрузке, разгрузке и складированию сложных пространственных стальных конструкций;
- по укрупнительной сборке стальных конструкций в крупногабаритные блоки;
- по транспортированию негабаритных стальных конструкций в пределах строительной площадки;
- по кантовке, подъему, установке, временном закреплении, выверке и постоянном закреплении стальных конструкций;
б) ведомость монтажного оборудования, приспособлений и такелажа;
в) ведомость механизированного и ручного инструмента на трудоемкие ручные операции;
г) графическое изображение способов строповки и схему подъема элементов (укрупненных блоков) стальных конструкций;
д) указания, предусматривающие соответствие устанавливаемых монтажных механизмов условиям строительно-монтажных работ по грузоподъемности, высоте подъема крюка и вылету стрелы (для монтажных кранов);
е) решения и требования по технике безопасности производства работ, не отраженные на других чертежах;
ж) технологическую последовательность монтажа строительных, в том числе стальных, конструкций объекта.
4.7 Для основных поднимаемых элементов (блоков) должны быть уточнены указанные в ППР: габаритные размеры стальных конструкций, общая масса подъема, вылет крана, на котором производится установка соответствующего элемента, и грузоподъемность крана на этом вылете.
4.8 Геометрические параметры собранных и подготовленных к монтажу стальных конструкций и их элементов должны соответствовать точности, указанной в КМ и КМД, рассчитанной по
ГОСТ 21780.
5 Требования к материалам и покупным изделиям
5.1 Стальные конструкции и материалы, применяемые при монтаже, должны соответствовать требованиям проектной документации, а также СП 70.13330.2012
(пункт 4.5.3).
5.2 Для изготовления стальных конструкций из полых профилей применяют электросварные и горячедеформированные трубы, гнутые, сварные, замкнутые, квадратные и прямоугольные профили, а также сортовой, фасонный, листовой широкополосный, универсальный, полосовой и тонколистовой прокат по
ГОСТ 10705,
ГОСТ 33228,
ГОСТ Р 58064,
ГОСТ 10706,
ГОСТ 8731,
ГОСТ 32528,
ГОСТ Р 54864,
ГОСТ 30245,
ГОСТ 32931,
ГОСТ 27772,
ГОСТ 14673,
ГОСТ 19281,
ГОСТ 535,
ГОСТ 16523 и
ГОСТ 17066.
5.4 Для болтовых срезных и монтажных соединений применяют стальные болты класса точности B по
ГОСТ Р ИСО 8765,
ГОСТ Р ИСО 8676,
ГОСТ Р ИСО 4017,
ГОСТ Р ИСО 4014 классов прочности 5.6, 5.8, 8.8, 10.9 и 12.9 с техническими требованиями по
ГОСТ ISO 898-1, гайки класса точности B по
ГОСТ 5915 <1>,
ГОСТ ISO 4032,
ГОСТ ISO 8673, классов прочности 4, 5, 8, 10, 12 и техническими требованиями по
ГОСТ ISO 898-2, круглые шайбы по
ГОСТ 11371 исполнения 1, класса точности A с техническими требованиями по
ГОСТ 18123, косые шайбы по
ГОСТ 10906 и пружинные нормальные шайбы по
ГОСТ 6402.
--------------------------------
<1> С 1 января 2020 г. действует в Российской Федерации только в отношении продукции, поставляемой по государственному оборонному заказу.
Для болтовых соединений, работающих на срез и растяжение, следует применять болты и соответствующие им гайки по
ГОСТ 1759.0,
ГОСТ 5915 <1>,
ГОСТ 5927 <1>,
ГОСТ ISO 4032,
ГОСТ ISO 8673,
ГОСТ Р ИСО 8676,
ГОСТ Р ИСО 8765,
ГОСТ Р ИСО 4017,
ГОСТ Р ИСО 4014 в соответствии с указаниями таблицы 1.
Таблица 1
Классы прочности крепежных элементов в зависимости
от вида работы соединения
Вид элемента | Класс прочности элемента |
Вид работы соединения |
срез и растяжение | срез |
Болт | 5.6 | 8.8 | 10.9 | 12.9 | 5.6 | 5.8 | 8.8 | 10.9 | 12.9 |
Гайка | 5 | 8 | 10 | 12 | 4 | 4 | 5 | 8 | 10 |
5.5 Для фрикционных, фрикционно-срезных и фланцевых соединений применяют высокопрочные болты, гайки и шайбы соответственно по
ГОСТ 32484.3 и
ГОСТ 32484.5 с техническими требованиями, конструкцией и размерами по
ГОСТ 32484.1. Для растянутых фланцевых соединений следует применять высокопрочные болты климатического исполнения ХЛ по
ГОСТ 15150.
5.6 Допускается применение высокопрочных болтов по другим стандартам и ТУ, в том числе по
ГОСТ ISO 898-1 и
ГОСТ ISO 898-2 с техническими требованиями не ниже указанных в
ГОСТ 32484.1 при наличии сертификата установленной формы.
5.7 Стальные элементы строительного изделия должны быть изготовлены из сталей, свойства которых соответствуют трещиностойкости (вязкости разрушения), заданной в проектной документации.
5.8 В составных элементах строительного изделия должны быть использованы изделия, указанные в спецификации. В свойствах стали на изделие должна быть приведена вязкость разрушения по Шарпи с использованием тестов на эталонную температуру и толщину материала.
Примечание - Если не имеется данных по материалам, входящим в состав элементов строительного изделия, вязкость разрушения допускается оценивать с помощью испытания ударной вязкости по Шарпи, которое проводится в соответствии с указаниями
ГОСТ 9454, а оценка результатов испытаний - по
ГОСТ 19281,
ГОСТ 535.
5.9 Конструкционные испытания строительных изделий необходимо проводить в соответствии с требованиями, установленными в проектной документации. Характеристики изготовления строительного изделия следует оценивать по требованиям, указанным в спецификации. Изготовление следует проверять и оценивать в соответствии с требованиями для указанного класса исполнения.
6 Подготовительные работы
6.1 До начала производства монтажных работ съемные грузозахватные приспособления (стропы, траверсы, захваты и т.п.) и тара должны быть проверены в соответствии с правилами и методами оценки соответствия, включая браковочные показатели, требования к условиям проведения проверок, испытаний, и порядком обработки их результатов, установленными в
ГОСТ 33715.
6.2 Для монтажа стальных конструкций из полых профилей следует применять стропы и захваты, исключающие местное смятие элементов стальных конструкций в местах строповки.
6.3 Площадка для изготовления стальных конструкций должна быть оборудована стеллажами, подъемными и кантовочными механизмами.
6.4 Места опирания, на которые должны быть установлены стальные конструкции, следует очистить и нанести разметку осей.
7 Транспортирование и хранение стальных конструкций и изделий
7.1 Транспортные процессы включают следующее: доставку, приемку (оформление перевозочных документов), разгрузку и раскладку стальных конструкций, их элементов, деталей, вспомогательных материалов и креплений, перемещение стальных конструкций и элементов в пределах строительной площадки, а также подачу стальных конструкций в зону монтажа со складов или площадок укрупнительной сборки.
7.2 При транспортировании и хранении упакованные отправочные элементы крупногабаритных стальных конструкций (арок, балок, ферм и т.п.) должны быть поставлены в положение, определенное проектной документацией.
7.3 На всех этапах погрузочно-разгрузочных работ и транспортирования элементы или транспортные блоки (пакеты) стальных конструкций должны сохранять геометрическую неизменяемость.
7.4 Зоны фрикционных поверхностей стыков на высокопрочных болтах (фланцев, накладок, монтажных узлов) должны быть защищены от повреждений, попадания на них влаги, масел и других компонентов.
7.5 При хранении отправочных марок и элементов стальных конструкций под открытым небом, а также при опирании на грунт или друг на друга следует использовать подкладки, гребенки, кассеты и другие устройства, обеспечивающие их сохранность, удобство оснащения, строповки и подъема. Допускается осуществлять временное хранение (не более 3 мес. с момента отгрузки предприятием-изготовителем) профильного проката в специально оборудованных стеллажах на открытом воздухе в соответствии с указаниями [
1,
пункт 4.5].
Примечание - Деревянные подкладки применяют длиной, превышающей ширину пакета не менее чем на 200 мм, шириной не менее 100 мм и толщиной не менее 50 мм при транспортировании и 150 мм при хранении стальных конструкций на строительной площадке.
7.6 Условия транспортирования и хранения (за исключением болтов, гаек и шайб) при воздействии климатических факторов должны соответствовать группе Ж1 по
ГОСТ 15150. Хранение сварочных материалов, болтов, гаек и шайб - группа Ж2 по
ГОСТ 15150.
8 Изготовление и укрупнительная сборка стальных конструкций в условиях строительной площадки
8.1 Изготовление стальных конструкций из квадратных и прямоугольных труб непосредственно на строительной площадке допускается только третьей и четвертой групп (СП 16.13330.2017,
приложение В) из стали марок не выше С440 по
ГОСТ 27772.
8.2 При непосредственной стыковке полых профилей в узлах стальных конструкций подготовку кромок под сварку, механическую обработку сварных швов, разделку и зачистку дефектных мест рекомендуется выполнять шлифовальными машинками с пневмо- или электроприводом.
8.3 Металлопрокат перед подачей на механизированный участок по изготовлению стальных конструкций должен быть проверен на соответствие сопроводительной документации, очищен от влаги, снега, льда, масла или других загрязнений в соответствии с указаниями [
1,
пункт 5.1].
8.4 Состав работ по изготовлению стальных конструкций на строительной площадке:
1) ознакомление с чертежами и другой технической документацией;
2) входной контроль (см.
10.1) и сортировка материалов и изделий;
3) перемещение материалов, изделий и инструментов в пределах сборочной площадки на расстояние до 50 м;
4) строповка и расстроповка стальных конструкций в соответствии со схемами, разработанными в ППР;
5) очистка поверхности металлопроката от грязи и ржавчины;
6) кантовка и развороты деталей собираемых стальных конструкций в процессе обработки и сборки;
7) разметка и изготовление элементов в соответствии с чертежами КМД;
8) сборка стальных конструкций в соответствии с чертежами КМ и КМД;
9) для бесфасоночных ферм следует осуществлять контроль зазоров для сварки с составлением актов на скрытые работы (до выполнения сварки);
10) контроль геометрических параметров изготовленной стальной конструкции (см.
10.2.1);
11) окончательная затяжка соединений на болтах;
12) сварка и зачистка сварных соединений под контроль;
13) проведение визуального, ультразвукового и других видов контроля сварных соединений (см.
10.2.4);
14) очистка поверхностей стальной конструкции под грунтование и окраску
(ГОСТ 9.402);
15) грунтовка и нанесение антикоррозионных покрытий
(ГОСТ 9.032);
16) маркировка отдельных деталей, блоков и узлов в соответствии с требованиями чертежей КМД и технологических сборочных схем;
17) восстановление поврежденных участков противокоррозионного покрытия стальных конструкций и элементов соединений в соответствии с требованиями
ГОСТ 9.402 и
ГОСТ 9.032.
8.5 Укрупнительную сборку стальных конструкций необходимо осуществлять в зонах укрупнительной сборки в соответствии с чертежами КМ, КМД и схемами, разработанными в ППР.
8.6 Элементы, подлежащие укрупнению в длину, подают краном со склада и укладывают на опоры стенда или кондуктора таким образом, чтобы совпали их продольные оси. Затем осуществляют подгонку для достижения соосности элементов.
8.7 Стальные фермы из-за их большой поперечной гибкости укрупняют преимущественно в горизонтальном положении. Уложенные горизонтально части укрупняемых элементов совмещают на стеллаже сборочными отверстиями и закрепляют болтами или пробками. При отсутствии сборочных отверстий правильность совмещения стыкуемых элементов проверяют с помощью фиксаторов, закрепленных на прогонах стеллажа.
8.8 Конструкция стеллажа для сборки стальных ферм должна позволять осуществить сварку сначала верхнего и нижнего поясов сверху. Во избежание потолочной сварки укрупняемый элемент на стеллаже перекантовывают на другую плоскость и проваривают стыки с другой стороны.
8.9 Холодная или в горячем состоянии правка деформированных элементов стальных конструкций не допускается.
8.10 Временное усиление отдельных элементов стальных конструкций, имеющих недостаточную жесткость в некоторых плоскостях, на стадиях их транспортирования и монтажа должно быть выполнено в соответствии с ППР.
8.11 Временное усиление необходимо устанавливать до подъема и установки стальной конструкции в проектное положение. Конструкции временного усиления следует демонтировать только после установки и проектного закрепления смонтированной стальной конструкции.
8.12 Качество выполненных работ проверяют в соответствии с указаниями проектной документации и
10.2.
8.13 Стальные конструкции после сборки подлежат техническому осмотру, кроме того должна быть выполнена проверка герметичности сварных швов элементов из сварных труб в целях исключения попадания влаги внутрь труб при хранении и сборке. Проверку герметичности сварных швов следует выполнять по
10.2.4.10.
9 Производство монтажных работ
9.1.2 В состав работ по монтажу стальных конструкций входит:
- установка монтажных механизмов в соответствии со схемами производства работ, разработанными в ППР (см.
4.5);
- обустройство стальной конструкции в виде монтажной единицы (см.
9.2);
- подъем (перемещение), наводка, ориентирование и установка стальной конструкции на опорные поверхности в проектное положение в соответствии со схемами, разработанными в ППР;
- временное закрепление стальной конструкции в соответствии со схемами, разработанными в ППР;
- выверка, окончательное закрепление в проектном положении по чертежам КМ;
- снятие временных креплений в соответствии со схемами, разработанными в ППР.
9.1.3 Навеска и закрепление подмостей, лестниц, ограждений на монтируемых стальных конструкциях должна быть выполнена до их подъема в соответствии со схемами, разработанными в ППР.
9.1.4 Монтируемые стальные конструкции должны быть оснащены приспособлениями для их временного закрепления и безопасного выполнения работ по их установке в проектное положение.
9.1.5 Сборку и монтаж стальных конструкций, возводимых в районах с расчетной температурой от минус 40 °C и до минус 65 °C включительно, при отрицательных температурах следует выполнять без ударных воздействий на них.
9.1.6 При производстве монтажных работ в условиях низких температур запрещаются ударные воздействия на сварные конструкции, выполненные из сталей:
- с пределом текучести до 390 МПа - при температуре ниже минус 25 °C;
- с пределом текучести свыше 390 МПа - при температуре ниже 0 °C.
9.2 Обустройство стальной конструкции в виде монтажной единицы
9.2.1 Подготовка стальной конструкции к монтажу содержит следующие операции:
- проверка геометрических размеров и визуальная оценка соответствия стальной конструкции проектной документации;
- отметка мест строповки и расположения центра тяжести стальной конструкции;
- строповка стальной конструкции в соответствии со схемами ППР;
- обустройство стальной конструкции распорками, оттяжками, бандажами, обеспечивающими необходимую жесткость (из плоскости фермы), а также монтажными лестницами и люльками.
9.2.2 Проверку геометрических размеров следует проводить по проектной документации в соответствии с требованиями
10.2.1.
9.2.3 Расположение центра тяжести конструкции необходимо определять по чертежам проектной документации.
9.2.4 Разметку мест строповки следует выполнять в соответствии со схемами производства работ, разработанными в ППР (см.
4.5).
9.2.5 Строповку стальной конструкции следует выполнять с использованием монтажной оснастки в соответствии со схемами производства работ, разработанными в ППР.
Примечание - Временные распорки, оттяжки, монтажные лестницы и люльки монтируют на стальной конструкции при необходимости.
9.3 Требования к монтажу стальных конструкций
9.3.1 Монтаж стальных конструкций следует выполнять по ППР, утвержденному "в производство работ". В состав работ по монтажу стальных конструкций входит:
- проверка мест опирания, на которые должны быть установлены стальные конструкции, с разметкой на них осей;
- навеска и закрепление подмостей, лестниц, ограждений;
- установка приспособлений для выверки и временного закрепления стальных конструкций.
Примечание - Для обеспечения и упрощения выполнения монтажных процессов, а также для точности установки стальных конструкций на них рекомендуется устанавливать фиксаторы, упоры, направляющие и другие монтажные приспособления;
- подготовка и комплектация узлов соединений крепежными деталями;
- подъем (перемещение), наводка, ориентирование и установка стальной конструкции на опорные поверхности в проектном положении;
- временное закрепление стальной конструкции;
- выверка, окончательное закрепление в проектном положении и снятие временных креплений.
9.3.2 Стальные конструкции следует устанавливать в проектное положение по принятым ориентирам (рискам, штырям, упорам, граням и т.п.).
9.3.3 Монтируемые элементы следует поднимать плавно, без рывков, раскачивания и вращения, как правило, с применением оттяжек. При подъеме вертикально расположенных стальных конструкций используют одну оттяжку, горизонтальных элементов и блоков - не менее двух. Поднимать стальные конструкции следует в два приема: сначала на высоту 10 - 20 см, затем, после проверки надежности строповки, осуществлять дальнейший подъем.
9.3.4 Принудительная подгонка стальных конструкций при монтаже запрещена.
9.3.5 Устанавливаемые элементы до выполнения их расстроповки должны быть надежно закреплены электроприхватками, болтами, пробками, струбцинами, расчалками и др. Если выполненное крепление не обеспечивает общей устойчивости монтируемого элемента, используют дополнительные временные расчалки, распорки или другое усиление.
Примечание - Как правило, окончательное проектное крепление элемента осуществляют после монтажа смежных стальных конструкций и освобождения их от крюка крана.
9.3.6 Качество выполненных работ проверяют в соответствии с указаниями проектной документации и
10.2.1.
9.4 Монтаж стальных конструкций с соединениями на болтах
9.4.1 Монтажные соединения осуществляются на высокопрочных болтах и болтах нормальной точности. Требования к болтам, гайкам и шайбам должны соответствовать СП 70.13330.2012
(пункт 4.5.3).
9.4.2 Закрепление стальных конструкций, установленных в проектное положение, с монтажными соединениями на болтах следует выполнять сразу после инструментальной проверки точности положения и выверки элементов. Болтами должна быть заполнена 1/3 и пробками 1/10 часть всех отверстий, но не менее двух на каждый стык.
9.4.3 При сборке соединений на болтах без контролируемого натяжения отверстия детали должны быть совмещены и зафиксированы от смещения сборочными пробками (не менее двух в одном соединении). В соединениях с двумя отверстиями сборочную пробку устанавливают в одно из них.
9.4.4 Подготовку контактных поверхностей для фрикционных, фрикционносрезных и фланцевых соединений следует проводить в соответствии с указаниями в чертежах КМ и
СП 70.13330.2012.
9.4.5 Подготовку болтов, гаек и шайб, предназначенных для соединений с контролируемым натяжением, осуществляют в соответствии с требованиями
ГОСТ 23118 и
СП 70.13330.2012.
9.4.6 Несовпадение отверстий в смежных деталях в болтовых соединениях не должно превышать значений, указанных в СП 70.13330.2012
(пункт 4.5.2) и [
1,
пункты 13.3,
13.4].
9.4.7 Порядок, уровень и контроль затяжки срезных и растягиваемых болтовых соединений должны удовлетворять требованиям СП 70.13330.2012 (
разделы 4,
5).
9.4.8 Качество подготовки поверхностей и состояние поверхностей перед установкой болтов в монтажных стыках сдвигоустойчивых соединений должны отвечать требованиям СП 70.13330.2012
(пункт 4.6.2).
9.4.9 Порядок подготовки, установки и контроля натяжения болтов высокой прочности при выполнении фрикционных и фланцевых соединений должны соответствовать требованиям СП 70.13330.2012
(подраздел 4.6).
9.5 Монтаж стальных конструкций с соединениями на дюбелях
9.5.1 Руководство работами и выполнение соединений на дюбелях должно осуществляться лицами, прошедшими соответствующее обучение, подтвержденное удостоверениями.
9.5.2 Монтажные соединения на дюбелях (крепление профилированного листа к элементам стальных конструкций) выполняют способом пристрелки с применением монтажных пистолетов по металлу.
9.5.3 Монтажные пистолеты, методы их испытаний и правила эксплуатации должны удовлетворять требованиям
ГОСТ 12.2.003. Пистолеты должны быть изготовлены в климатическом исполнении 5 категории размещения 2 по ГОСТ 15150-69 (
таблицы 1,
2).
9.5.4 Перед началом работы надлежит выполнять контрольную пристрелку в соответствии с требованиями СП 70.13330.2012
(пункт 4.7.5).
9.5.5 Контрольную пристрелку необходимо проводить на образцах технологической пробы.
Примечание - Допускается проводить контрольную пристрелку непосредственно на монтируемых стальных конструкциях в местах, указанных в чертежах КМ (КМД). При отсутствии в чертежах указаний о месте контрольной пристрелки его определяет главный инженер монтажной организации.
9.5.6 Производство работ по пристрелке дюбелей надлежит выполнять в соответствии с требованиями СП 70.13330.2012
(пункт 4.7.6).
9.5.7 Перед пристрелкой необходимо разметить оси для установки дюбелей в соответствии с чертежами КМ (КМД). Разметка должна обеспечить установку дюбелей не ближе 10 мм от краев опорного элемента. Расстояние между осями дюбелей и от оси дюбеля до края опорного элемента должно быть не менее четырех диаметров стержня дюбеля в любом направлении.
9.5.8 Допускается пристрелка при наличии суммарного зазора до 5 мм между соединяемыми элементами в месте постановки дюбелей.
9.5.9 Перед началом работ по пристрелке дюбелей мастер (прораб) должен:
- провести инструктаж рабочих-операторов на рабочем месте, обеспечить безопасные условия труда в соответствии с требованиями ППР или технологической записки;
- выдать наряд-допуск на выполнение конкретного объема работ на данном объекте;
- отменить наряд-допуск при изменении условий производства и выдать новый для возобновления работ (форма наряда-допуска, порядок его заполнения - по
[2]);
- определить потребность в дюбелях, монтажных пистолетах и монтажных патронах на одну смену в соответствии с объемом работ;
- оформить ежедневные ведомости выдачи и возврата пистолетов и монтажных патронов;
- установить мощность выстрела в соответствии с таблицей, входящей в эксплуатационный документ каждой марки пистолета, и результатами контрольной пристрелки по
9.5.4 -
9.5.6.
9.5.10 При полной готовности к выстрелу оператор на рабочем месте должен надеть средства индивидуальной защиты (см.
приложение Б).
9.5.11 Оператор должен выполнять зарядку пистолета монтажным патроном и дюбелем непосредственно у места производства выстрела. Переход с места на место с заряженным пистолетом не допускается.
9.5.12 Перед устранением неисправностей, установкой сменных деталей, техническим обслуживанием и окончанием работы оператор должен убедиться, что пистолет разряжен.
9.5.13 Проведение пристрелки допускается при расчетной температуре воздуха не ниже минус 40 °C.
9.5.14 Требования к подготовке и производству выстрела, устранению неисправностей, видам ремонта устанавливает завод-изготовитель для каждой марки монтажного пистолета.
9.6 Монтаж стальных конструкций со сварными соединениями
9.6.2 Постановка личного клейма возле сварных швов или составление исполнительных схем с подписями сварщиков должны соответствовать требованиям СП 70.13330.2012
(пункт 10.1.15).
9.6.3 Сварочные работы следует проводить по утвержденному ППСР или другой технологической документации.
9.6.4 При наличии соответствующих требований в ППСР или технологической документации на монтажную сварку стыковых соединений данной стальной конструкции должны быть выполнены пробные образцы в соответствии с требованиями СП 70.13330.2012
(пункт 10.1.4).
9.6.5 Результаты проверок соединений после выполнения сварочных работ и исправления выявленных дефектов следует фиксировать в ЖСР. Приемку сварных соединений оформляют актом.
9.6.6 Сварку стальных конструкций при укрупнении и в проектном положении следует производить после проверки правильности сборки.
9.6.7 Стальные конструкции с монтажными сварными соединениями надлежит закреплять в два этапа - сначала временно, затем по проекту. Способ временного закрепления должен быть указан в проекте.
9.6.8 Рекомендации по сборке и сварке стальных решетчатых конструкций на монтажной площадке приведены в
приложении А.
9.6.9 Зачистку кромок свариваемых элементов в местах расположения швов и прилегающих к ним поверхностей шириной 100 мм выполняют в соответствии с требованиями СП 70.13330.2012
(пункт 10.2.5).
9.6.10 Подготовка сварочных материалов и условия их использования должны соответствовать требованиям СП 70.13330.2012 (
пункты 10.2.6,
10.2.7).
9.6.11 Расходные материалы, оставшиеся неиспользованными по завершении смены, до начала работ следует просушить снова в соответствии с требованиями производителя сварочных материалов, но не более двух раз.
Расходные материалы и электроды, имеющие признаки повреждений, бракуются.
9.6.12 В качестве эффективного метода предотвращения или снижения опасности образования горячих, холодных и слоистых трещин в сварных соединениях необходимо использовать предварительный подогрев свариваемых элементов до температуры 120 °C - 160 °C в зоне шириной 100 мм с каждой стороны соединения в соответствии с указаниями [
1,
пункты 12.19] и СП 70.13330.2012
(пункт 10.2.8).
9.6.13 Поверхности свариваемых стальных конструкций и выполненных швов сварных соединений после окончания сварки необходимо очищать от шлака, брызг и наплывов (натеков) расплавленного металла в соответствии с указаниями [
1,
пункт 12.20].
9.6.14 Приваренные сборочные и монтажные приспособления надлежит удалять без повреждения основного металла и применения ударных воздействий. Места их приварки необходимо зачистить заподлицо с основным металлом, недопустимые дефекты исправить.
10 Контроль качества и оценка соответствия выполненных работ
10.1.1 Верификацию закупленной продукции проводят по
ГОСТ 24297 на соответствие требованиям, установленным в сертификатах и ТД.
Входной контроль изделий на складе или на объекте осуществляет производитель работ, мастер или уполномоченное лицо. Приемщик должен иметь полный комплект рабочей документации: рабочие чертежи КМ и КМД. В процессе входного контроля изделий следует:
- провести осмотр доставленных изделий и убедиться в их сохранности;
- убедиться в соответствии изделий чертежам КМ, КМД, ТД и комплектовочной ведомости;
- убедиться в наличии сертификатов на изделия;
- принять изделия по накладной и паспорту.
10.1.2 При входном контроле изделий, предназначенных для основных несущих элементов каркаса здания, приемщик должен обратить внимание на размещение заводских стыковочных швов на деталях из труб и трубчатых профилей.
Стыковые швы, выявленные в наиболее напряженных растянутых элементах стальных конструкций (растянутые пояса ферм, растянутые опорные раскосы), должны быть проверены на соответствие чертежам КМД и отмечены в акте входного контроля с последующим согласованием с разработчиками КМ и КМД.
10.1.3 При входном контроле сварочных материалов следует установить наличие сертификатов или паспортов предприятия-поставщика. При отсутствии сертификатов на сварочные материалы или истечении гарантийного срока их хранения необходимо определять механические свойства стыковых сварных соединений, выполненных с применением этих материалов. Сварные стыковые образцы следует испытывать на статическое растяжение, статический и ударный изгибы при температуре 20 °C в количестве, указанном в таблице 2.
Таблица 2
Минимальное количество пробных образцов
для механических испытаний
| Число образцов, шт. | Нормируемый показатель |
1 Статическое растяжение | 2 | Временное сопротивление разрыву - не менее нижнего предела временного сопротивления основного металла, регламентируемого национальным стандартом |
2 Статический изгиб | 2 | Угол статического изгиба, град, для сталей толщиной до 20 мм: углеродистых - не менее 100 низколегированных - не менее 80 |
3 Ударный изгиб металла шва | 3 | Ударная вязкость - не менее значения, указанного в технологической документации на монтажную сварку данной конструкции |
10.1.4 Входной контроль стальных конструкций, изготовленных из углеродистых и низколегированных сталей, должен включать следующие этапы:
- визуальный контроль элементов стальных конструкций;
- проверка качества сварных, болтовых и шарнирных соединений элементов стальных конструкций;
- измерение остаточных деформаций балок, ферм и отдельных поврежденных элементов;
- оценка степени коррозии элементов стальных конструкций.
10.2 Операционный контроль и контроль на этапе сдачи-приемки выполненных работ
10.2.1 Контроль геометрических параметров стальных конструкций и их элементов
10.2.1.1 Предельные отклонения геометрических параметров стальных конструкций (элементов стальных конструкций, изделий, сборочных единиц) должны соответствовать значениям, указанным в рабочей документации, стандартах или ТУ на стальные конструкции конкретного типа.
10.2.1.2 Рекомендуемые значения предельных отклонений от проектных размеров в конструкциях стальных каркасов зданий и сооружений приведены в таблице 3.
Таблица 3
Предельные отклонения размеров, определяющих собираемость
стальных конструкций при K = 0,6 (собираемость >= 90%)
Интервалы номинальных размеров, мм | Значения допусков, мм | Контроль (метод, объем, вид регистрации) |
линейных размеров | разности длин диагоналей |
От 500 до 2500 включ. | +/- 4 | - | Измеряют каждый элемент и блок; журнал работ |
Св. 2500 до 4000 включ. | +/- 5 | +/- 5 |
Св. 4000 до 8000 включ. | +/- 6 | +/- 6 |
Св. 8000 до 16 000 включ. | +/- 8 | +/- 8 |
Св. 16 000 до 25 000 включ. | +/- 10 | +/- 10 |
Св. 25 000 до 40 000 включ. | +/- 12 | +/- 12 |
10.2.1.3 Геометрические размеры (длина, ширина, разность длин диагоналей, перекос или грибовидность полок, стрела прогиба, винтообразность) должны измеряться с помощью средств, обеспечивающих погрешность не более 20% от установленного допуска на изготовление. Для измерения линейных размеров и их отклонений применяют линейки по
ГОСТ 427 и
ГОСТ 17435, рулетки по
ГОСТ 7502, скобы по
ГОСТ 11098, штангенциркули по
ГОСТ 166, щупы по
[3]. Если применяют какие-либо особые допуски, они должны быть указаны в спецификации на изделие или его элемент.
| | ИС МЕГАНОРМ: примечание. В официальном тексте документа, видимо, допущена опечатка: имеется в виду таблица 4.1 СП 70.13330.2012, а не таблица 3. | |
10.2.1.4 При отсутствии в рабочих чертежах КМ специальных требований на предельные отклонения размеров, определяющих собираемость стальных конструкций (длина элементов, расстояние между группами монтажных отверстий), при сборке отдельных конструктивных элементов и блоков предельные отклонения должны соответствовать требованиям и не превышать значений, приведенных в СП 70.13330.2012
(таблица 3).
10.2.1.5 Предельные отклонения геометрических параметров стальных конструкций (элементов стальных конструкций, сборочных единиц) должны соответствовать значениям, указанным в ГОСТ 23118-2019
(приложение Б) и
СП 70.13330.2012. Если применяются какие-либо особые допуски, они должны быть указаны в спецификации на изделие или его элемент.
10.2.1.6 Допускаемые погрешности измерения линейных размеров до 500 мм при приемочном контроле и правила определения приемочных границ с учетом этих погрешностей следует принимать в соответствии с
ГОСТ 8.051.
10.2.2 Контроль качества и приемка соединений на болтах
10.2.2.1 Контроль качества отверстий под высокопрочные болты следует выполнять по указаниям
ГОСТ 23118.
10.2.2.2 Обезжиривание и смазку болтов, гаек и шайб следует выполнять по рекомендациям
[4].
10.2.2.3 Качество выполнения соединений на болтах проверяют посредством проведения пооперационного контроля. При приемке работ контролируют качество подготовки контактных поверхностей, точность натяжения болтов, плотность стянутого пакета, а также соответствие геометрических размеров узлов собираемых стальных конструкций чертежам КМ, КМД.
10.2.2.4 Следует контролировать натяжение при числе болтов в соединении:
- до 4 - всех болтов;
- от 5 до 9 - не менее трех болтов;
- 10 и более - 10% болтов, но не менее трех в каждом соединении.
Фактический момент закручивания должен быть не менее расчетного и не превышать его более чем на 20%. Отклонение угла поворота гайки допускается в пределах +/- 30°.
10.2.2.5 При обнаружении хотя бы одного болта, не удовлетворяющего этим требованиям, контролю подлежит их удвоенное число. В случае обнаружения при повторной проверке одного болта с меньшим значением крутящего момента или с меньшим углом поворота гайки должны быть проконтролированы все болты с доведением момента закручивания или угла поворота гайки каждого до требуемого значения.
10.2.2.6 Щуп толщиной 0,3 мм не должен входить в зазоры между деталями соединения.
10.2.2.7 После контроля натяжения и приемки соединения все наружные поверхности стыков, включая головки болтов, гайки и выступающие из них части резьбы болтов, должны быть очищены, огрунтованы, окрашены, а щели в местах перепада толщин и зазоры в стыках зашпатлеваны.
10.2.2.8 Все работы по натяжению и контролю натяжения следует регистрировать в журнале выполнения соединений на болтах с контролируемым натяжением.
10.2.3 Контроль качества соединений на дюбелях
10.2.3.1 Предварительный контроль качества соединений на дюбелях заключается в проверке технического состояния монтажных пистолетов, патронов и дюбелей, а также технологии сборки стальных конструкций и разметки их под пристрелку.
10.2.3.2 Операционный контроль качества заключается во внешнем осмотре оператором монтажного соединения после каждого выстрела. При изломе и недобивании дюбеля оператор должен пристрелить другой дюбель рядом с предыдущим не ближе 1,5 - 2,0 диаметров стержня.
10.2.3.3 Приемочный контроль заключается в выборочной (5% от общего количества соединений) оценке качества. Изломов и недобиваний должно быть не более 5% от проверочного количества соединений. При количестве отказов более 5% необходимо провести контроль всех соединений. В местах отказов, выявленных при приемочном контроле, следует выполнить повторную пристрелку.
10.2.3.4 Критерием качественного выполнения соединения является плотное прижатие пристреливаемого элемента к опорному элементу; при этом цилиндрическая часть стержня дюбеля не должна выступать над поверхностью прижимной шайбы (рисунок 1).
1 - дюбель; 2 - опорный элемент; 3 - пристреливаемый
элемент; 4 - прижимная шайба; 5 - цилиндрическая часть
стержня, выступающая над поверхностью прижимной шайбы
Рисунок 1 - Схема визуальной оценки качества соединений
10.2.3.5 Плотность прижатия пристреливаемого элемента к опорному элементу при операционном и приемочном контроле и контрольной пристрелке определяют визуально.
10.2.4 Контроль качества сварных соединений
10.2.4.1 Контроль качества работ по сварке монтажных соединений следует выполнять в соответствии с указаниями проектной документации, ППСР, а также требованиями настоящего стандарта и
ГОСТ 3242.
10.2.4.2 Контроль качества работ по сварке монтажных соединений включает:
- проверку качества материалов и изделий, применяемых при устройстве соединений (см. указания в проектной документации, а также требования
10.1);
- проверку готовности к сварочным работам стальных конструкций, собранных под сварку (см. требования ППСР и
10.2.1);
- технологию и последовательность проведения сварочных работ, которые проверяют по ППСР;
- качество выполненных соединений, которые проверяют в соответствии с указаниями ППСР.
10.2.4.3 При осуществлении контроля за соблюдением технологии и последовательности работ особое внимание должно быть обращено на выполнение следующих требований:
- сварку следует проводить после проверки правильности установки элементов стальной конструкции и положения соединяемых деталей;
- последовательность выполнения операций (порядок наложения сварных швов), а также общая последовательность работ должны быть выполнены в соответствии с указаниями проектной документации и технологических карт;
- работы по сварке монтажных соединений следует выполнять с соблюдением заданных режимов сварки в условиях, отвечающих характеру работ;
- сварку монтажных стыков следует выполнять аттестованными в установленном порядке сварщиками, прошедшими контрольные испытания допускных стыков.
10.2.4.4 Контроль качества сварных соединений надлежит осуществлять методами, указанными в
ГОСТ 3242 в объемах, указанных в проектной документации, ППСР и СП 70.13330.2012
(пункт 10.4).
10.2.4.5 Величину и равномерность зазора, смещение кромок необходимо проверять с помощью специальных шаблонов и линеек. Допускается перед сваркой смещение свариваемых кромок относительно друг друга, не более: 0,5 мм - для деталей толщиной до 4 мм; 1,0 мм - для деталей толщиной от 4 до 10 мм (см. ГОСТ 5264-80,
пункт 5).
10.2.4.6 Качество прихваток сварных соединений креплений сборочных и монтажных приспособлений, определяемое внешним осмотром и измерениями, должно быть не ниже качества основных сварных соединений.
10.2.4.7 Трещины всех видов и размеров в швах сварных соединений стальных конструкций не допускаются и должны быть устранены с последующей заваркой и контролем.
10.2.4.8 Качество сварных соединений по внешнему осмотру и измерениям должно удовлетворять требованиям СП 70.13330.2012 (
пункты 10.4.4 и
10.4.7,
таблица 10.7).
10.2.4.9 Контроль швов сварных соединений неразрушающими методами следует проводить после исправления недопустимых дефектов, обнаруженных внешним осмотром. Контролю должны подлежать преимущественно места с признаками дефектов и участки пересечения швов. Длина контрольного участка должна быть не менее 100 мм.
10.2.4.10 Контроль герметичности швов сварных соединений следует выполнять пузырьковым методом по
ГОСТ 3242.
10.2.4.11 Все ожоги поверхности основного металла сварочной дугой следует зачищать абразивным инструментом на глубину 0,5 - 0,7 мм. Ослабление сечения при обработке сварных соединений (углубление в основной металл) не должно превышать 3% толщины свариваемого элемента, но не более 1 мм. Исправления сварных соединений зачеканкой не допускаются.
10.3.1 Оценку соответствия выполненных работ по изготовлению и монтажу стальных конструкций из углеродистых и низколегированных сталей выполняют по рабочим чертежам КМ, КМД и нормативным документам, указанным в данном разделе.
10.3.2 Оценка соответствия выполненных работ должна включать следующие этапы:
- визуальный контроль элементов стальных конструкций;
- проверка качества сварных, болтовых и шарнирных соединений элементов стальных конструкций (соответствие требованиям проектной документации, СП 70.13330.2012
(пункт 10.4.4, таблица 10.7);
- соответствие геометрическим параметрам в проектной документации;
- оценка степени коррозии элементов стальных конструкций по
ГОСТ 9.908.
10.3.3 Визуальный контроль следует проводить с применением простейших оптических средств и, при необходимости, переносных источников света, при этом особое внимание должно быть уделено следующим местам возможного появления повреждений:
- участкам резкого изменения сечений;
- местам, которые могли подвергнуться ударам во время эксплуатации и перевозки;
- местам, где при работе могли возникнуть значительные напряжения, коррозия или износ;
- местам возможного скопления влаги.
10.3.4 При проведении визуального контроля необходимо обращать особое внимание на наличие следующих дефектов:
- трещины в основном металле, сварных швах и околошовной зоне, косвенным признаком наличия которых являются шелушение и растрескивание противокоррозионного покрытия, местная коррозия, подтеки ржавчины (наличие указанных дефектов в расчетных элементах и соединениях не допускается);
- расслоения основного металла, образованные механическим способом, определяемые на кромках элементов или по вспучиванию (не допускаются);
- механические повреждения;
- имеющиеся очаги коррозии.
10.3.5 При выявлении трещин следует обратить внимание на их возможное развитие и распространение в следующих соединениях и узлах:
- стыковые сварные соединения;
- узлы примыкания фланцев к поясам;
- в зоны отверстий для болтовых соединений;
- сварные соединения, расположенные поперек действующих в растянутых элементах усилий;
- зоны сближения сварных швов (например, сопряжения ребер жесткости с поясами или места пересечения кронштейнов с поясами, стенками балок и т.д.) и пересечения;
- места перепадов толщин стыкуемых листов (элементов).
10.3.6 При обнаружении признаков наличия трещин необходимо весь подозреваемый участок очистить от коррозии и зачистить до металлического блеска. При зачистке запрещается использовать абразивный инструмент и наносить удары зубилом или молотком, оставляющим вмятины на основном и наплавленном металле.
10.3.7 По результатам оценки соответствия изготовленной стальной конструкции должен быть оформлен "Документ о качестве стальных строительных конструкций" в соответствии с формой по ГОСТ 23118-2019
(приложение В).
11 Требования безопасности
11.1.1 При организации проведения работ на строительной площадке необходимо обеспечить безопасные условия труда работников в соответствии с требованиями
[5].
11.1.2 Условия труда и трудовых процессов должны соответствовать требованиям
правил [6] и ППР.
11.1.3 Санитарно-эпидемиологические условия и производственный контроль за условиями труда должны соответствовать требованиям ППР, разработанных с учетом
[7]. Производственный контроль должен осуществляться административным персоналом строительства.
11.1.4 Стальные конструкции и материалы должны складироваться на специально отведенных местах с учетом требований безопасного складирования: в пакетах, кассетах, штабелях высотой до 2 м с обеспечением проходов.
11.1.5 При установке монтажных кранов должны быть выдержаны минимальные расстояния их приближения к воздушным электролиниям, откосам котлованов, строениям, штабелям грузов и т.п. До начала работ краны должны пройти полное техническое освидетельствование, а обслуживающий персонал - аттестацию.
11.1.6 Опасные зоны, определенные стройгенпланом, должны быть ограждены.
11.1.7 К монтажу стальных конструкций допускаются лица, имеющие удостоверение на право производства работ, достигшие 18 лет, обученные по специальной программе, прошедшие медицинский осмотр, инструктажи (вводный и на рабочем месте) по технике безопасности и пожарной безопасности.
11.1.8 К верхолазным работам допускаются специально обученные монтажники - мужчины в возрасте от 18 до 60 лет, прошедшие медицинский осмотр на годность к верхолазным работам, имеющие тарифный разряд не ниже 3-го и стаж монтажных работ не менее одного года.
11.1.9 Стропальщики и сварщики должны быть обучены по специальным программам безопасным методам и приемам выполнения работ со стажировкой на рабочем месте и сдачей экзаменов по программам в соответствии с профессией. В рабочее время они должны иметь при себе удостоверение на право производства работ.
11.1.10 Основными средствами создания условий для безопасной работы и перемещения на высоте являются временные настилы, подмости и ограждения, защитные сетки, страховочные канаты, предохранительные пояса и монтажные каски.
11.1.11 Грузоподъемные машины, механизмы и приспособления до начала работ должны быть зарегистрированы и технически освидетельствованы в соответствии с
правилами [8].
11.1.12 При ветре силой более 6 баллов (скорость от 10,8 до 13,8 м/с) работу необходимо прекратить, а монтажный кран закрепить противоугонным приспособлением.
11.1.13 К руководству работами по пристрелке дюбелей допускаются мастера (прорабы) монтажной организации, прошедшие обучение по типовой программе и аттестацию.
11.1.14 К пристрелке дюбелей допускаются рабочие-операторы не моложе 18 лет с квалификацией монтажника конструкций не ниже 3-го разряда со стажем работы по специальности не менее двух лет, прошедшие обучение по типовой программе, аттестацию и медицинский осмотр.
11.1.15 Совмещение монтажных работ с какими-либо другими работами по одной вертикали в пределах монтажного участка запрещено.
11.2 Особенности производства работ в холодный период года
11.2.1 Меры по защите работающих от холода при выполнении ими работ на открытых площадках, территориях или внутри необогреваемых помещений в холодный период года должны быть предусмотрены в соответствии с ППР.
11.2.2 В зависимости от характера трудовых операций и специфики климатических условий в конкретном районе комплекс организационных мер по защите от холода должен содержать:
- максимальное сокращение продолжительности работ, выполняемых на открытой территории в наиболее холодный период года, их автоматизацию и внедрение дистанционного управления технологическими процессами и оборудованием, размещенным на открытых площадках;
- применение сниженных норм выработки и увеличение времени регламентированных внутрисменных перерывов для лиц, постоянно работающих на открытых рабочих местах;
- применение специальных средств коллективной и индивидуальной защиты от холода;
- организацию систематического инструментального контроля за состоянием погодных условий в районе ведения работ и оперативного оповещения работающих об их скором ухудшении;
- организацию систематического визуального контроля за функциональным состоянием работающих людей, их поведенческими реакциями и состоянием кожных покровов на незащищенных участках кожи с целью своевременной профилактики холодовой травмы;
- обеспечение работающих техническими возможностями для оперативного оповещения лиц, ответственных за безопасное ведение работ, обо всех отклонениях от нормального режима технологического процесса или работы оборудования, требующих изменений режима труда на открытой территории, а также при появлении любых признаков опасности возникновения холодовых травм среди персонала;
- проведение специального обучения всех работающих методам личной профилактики и первой помощи при холодовой травме;
- обеспечение доступности квалифицированной медицинской помощи для пострадавших от холодовых травм.
Примечание - При оценке микроклимата в холодный (зимний) период года при работе на открытой территории и в неотапливаемых помещениях в холодный период года рекомендуется применять указания
[9],
пункт 5.5.4.2.
11.2.3 Планировка и обустройство рабочих площадок, постоянных рабочих мест и проходов на открытой территории должны предусматривать эффективное удаление ливневых и талых вод, препятствовать образованию снежных заносов и оледенения настилов и других рабочих поверхностей, а также обеспечивать их нормируемую освещенность.
11.2.4 Рабочие площадки, проходы и проезды должны регулярно очищаться от снега, а при опасности оледенения - посыпаться песком, шлаком или иными материалами, препятствующими скольжению. Уборка и удаление снега с рабочей территории должны быть механизированы.
11.2.5 Для работ, выполняемых на холоде, должны применяться машины, оборудование, инструменты и контрольно-измерительные приборы с эксплуатационными характеристиками, допускающими возможность их использования при минимальной расчетной температуре для данной местности.
11.2.6 Рукоятки всех видов ручного механизированного инструмента, предназначенного для применения на холоде, должны либо оснащаться системой подогрева, либо иметь достаточную теплоизоляцию. Использование ручного инструмента, устройство которого не позволяет работать в рукавицах, не допускается.
11.2.7 При необходимости выполнения работ стоя на фиксированном месте, а также с вынужденным положением тела в рабочей позе лежа или с опорой на локти, колени и т.п., следует предусматривать мероприятия по предотвращению контактного локального охлаждения организма и переувлажнения одежды и обуви.
11.2.8 Постоянные рабочие места, а также рабочие места, временно организуемые для выполнения работ продолжительностью более 4 ч, как правило, должны предусматривать эффективные меры защиты от ветра и атмосферных осадков.
11.2.9 Организация работ на открытой территории должна предусматривать устройство специальных помещений для обогрева, размещаемых, как правило, в непосредственной близости от постоянных рабочих мест (на расстоянии, не превышающем 75 м).
11.2.10 Всех работающих в условиях холода необходимо обеспечить спецодеждой, спецобувью и другими средствами индивидуальной защиты в соответствии с
правилами [10].
11.2.11 При выполнении работ в условиях особо низких температур воздуха (ниже минус 40 °C) работников необходимо обеспечивать также специальными средствами защиты органов дыхания от переохлаждения.
11.2.12 Непосредственно перед началом каждой рабочей смены лица, ответственные за безопасное ведение работ на открытой территории, должны произвести соответствующие инструментальные измерения либо получить официальную сводку метеослужбы о состоянии погодных условий и их ожидаемых изменениях и проинформировать всех работающих о надлежащем режиме труда, необходимой одежде и других мерах безопасности, установленных для этих условий. В случае резкого ухудшения погоды (снижение температуры воздуха или увеличение скорости ветра свыше допустимых пределов) информацию об изменении режима труда или прекращении работ необходимо передавать всем работающим немедленно.
11.2.13 Все виды трудовых операций, выполняемых на открытых рабочих местах, следует прекращать при температурах воздуха ниже минус 30 °C независимо от скорости ветра, если при этом не предусмотрено применение специально разработанных для подобных условий средств теплозащиты организма. Временное прекращение работ рекомендуется также и при любых отрицательных значениях температуры воздуха, если при этом фиксируется одновременно и воздействие сильного (штормового) ветра, скоростью более 20 м/с.
11.2.14 При работе в условиях низких температур воздуха должны предусматриваться 30-минутные перерывы через каждый час работы с пребыванием работающих в эти периоды в обогреваемых помещениях.
12 Требования к охране окружающей среды
12.1 При организации работ должны быть определены мероприятия по предупреждению и устранению загрязнения окружающей среды, применены ресурсосберегающие, малоотходные, безотходные и иные технологии, способствующие предупреждению и устранению загрязнения окружающей среды, охране окружающей среды в соответствии с требованиями
статьи 36 [11].
Мероприятия по охране окружающей природной среды в процессе подготовки и выполнения работ должны осуществляться в соответствии с решениями, принятыми в разделе "Охрана окружающей среды" проектно-сметной документации.
12.2 Должны быть соблюдены мероприятия по сбору, сортировке и временному хранению отходов (обрезки проката, огарки электродов, жидкость после промывки крепежа от смазки и т.п.) с учетом экологических требований.
12.3 Сбор строительного мусора должен быть организован в специально отведенные контейнеры с вывозом со строительного объекта в места приема.
12.4 Для снижения уровня шума на строительной площадке машины и механизмы должны быть с наиболее низкими шумовыми характеристиками, малая механизация должна быть переведена на электропривод. Для наиболее шумных работ, при необходимости, следует ввести временное ограничение (запрет работ в ночное время).
12.5 Необходимо строго контролировать газовые выбросы от двигателей внутреннего сгорания, исключить работу машин и механизмов на холостом ходу.
12.6 Рекомендуется использование материалов, изделий и стальных конструкций с сертификатами соответствия, имеющими экологические показатели, предусмотренные соответствующими нормативными документами.
(рекомендуемое)
СВАРКА СТАЛЬНЫХ КОНСТРУКЦИЙ НА СТРОИТЕЛЬНОЙ ПЛОЩАДКЕ
ИЗ ГОТОВЫХ ЭЛЕМЕНТОВ И ИЗГОТОВЛЕНИЕ ВСПОМОГАТЕЛЬНЫХ
И ВТОРОСТЕПЕННЫХ ЭЛЕМЕНТОВ НА МОНТАЖНОЙ ПЛОЩАДКЕ
А.1 Сборку и сварку стальных решетчатых конструкций на монтажной площадке следует проводить только для стальных конструкций третьей и четвертой групп (СП 16.13330.2017,
приложение В) при условии выполнения в заводских условиях периметра реза и разделки кромок деталей из полых профилей, стыкуемых под углом.
А.2 Для вспомогательных стальных конструкций четвертой группы, изготавливаемых целиком на строительной площадке, рекомендуется применять узловые соединения с врезными фасонками и соединениями на срезных болтах или на сварке.
А.3 Свариваемые элементы должны быть закреплены в неподвижном положении с помощью прихваток, зажимов, струбцин или других фиксирующих приспособлений.
А.4 Зоны сварных соединений должны быть доступны для проведения сварочных работ. Перед сваркой основного шва поверхность прихваток должна быть зачищена от наплывов и дефектов.
А.5 Для сталей класса до С375 длина швов прихваток должна быть не менее 50 мм, расстояния между прихватками - не более 500 мм, для стали С450 соответственно - 100 мм и 400 мм.
А.6 Сечение прихватки должно соответствовать сечению рабочего шва, если в дальнейшем они входят в состав рабочих швов стальной конструкции. Такие прихватки должны выполняться сварщиком соответствующей квалификации.
А.7 Временные швы крепления элементов, необходимых на период монтажа стальных конструкций, должны быть размещены в зонах, указанных в ППР, и согласованы с разработчиками проекта. При необходимости швы следует удалять с помощью резки или рубки, а поверхность основного металла стальной конструкции после удаления шва должна быть зашлифована.
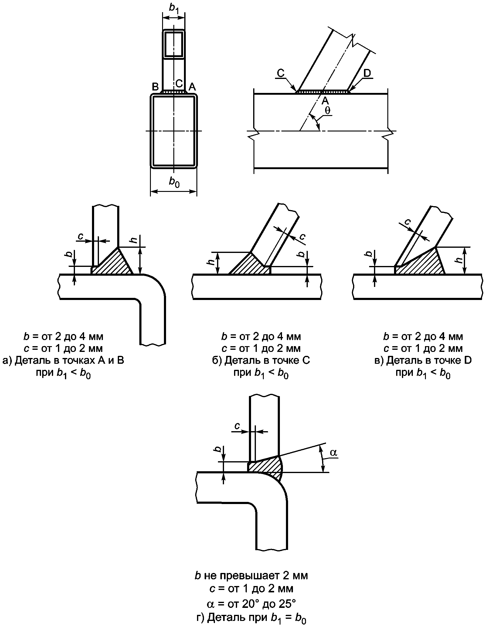
А.8 Сварку полых элементов в узлах стальных конструкций следует проводить по схеме, представленной на рисунке А.1. Начало и конец шва следует устанавливать в точках, где отсутствуют другие сварные швы.
Рисунок А.1 - Последовательность приваривания квадратного
или круглого патрубка к полому профилю
А.9 Начальные и конечные точки сварных швов полых профилей не должны совпадать или находиться в зонах угловых точек прямоугольных и квадратных полых профилей.
А.10 Сварку между полыми профилями, соединяемыми в тавр и под углом, следует выполнять по всему периметру контакта, даже если это не требуется по расчету.
А.11 На
рисунках А.2 -
А.5 показаны примеры соединения поясов трубчатых стальных ферм с раскосами. Рекомендации по разделке кромок труб, стыкуемых под углом, приведены на
рисунке А.2.
А.12 При конструировании и сборке узлов стальных решетчатых конструкций следует отдавать предпочтение узлам типа А, изображенным на
рисунке А.3. а). По возможности не следует применять решение узла с полыми элементами, перекрывающими друг друга по типу Б [
рисунок А.3 б)] с раскосами, перекрывающими друг друга. Следует избегать также решения узла по типу В [
рисунок А.3 в)].
Рисунок А.2 - Подготовка кромок для стыкового соединения
круглых труб, стыкуемых под углом
Рисунок А.3 - Примеры решения узла примыкания
трубчатых раскосов к поясу
А.13 Разделку кромок и допускаемые зазоры стыковых сварных швов в узлах стальных конструкций из круглых труб следует выполнять в соответствии с указаниями, изложенными на рисунке А.4. Разделку кромок и допускаемые зазоры стыковых сварных швов в узлах стальных конструкций из квадратных и прямоугольных труб следует выполнять в соответствии с указаниями, изложенными на
рисунках А.5 -
А.7.
Примечания
1 В точке C для углов

следует использовать деталь стыкового сварного шва по
рисунку А.5.
2 Для углов

полное проплавление шва не требуется, если катет шва назначен по расчету.
Рисунок А.4 - Примеры разделки кромок стыковых сварных швов
в узлах стальных конструкций из круглых труб
(b не превышает 2 мм)
Примечание - В точке D для

при
d0 =
d1 следует использовать деталь углового сварного шва в соответствии с
рисунком А.4.
Рисунок А.5 - Примеры разделки кромок угловых сварных швов
в узлах стальных конструкций из круглых труб
при значении угла

от 60° до 90°
Примечание - В точке D для

следует использовать деталь углового сварного шва в соответствии с
рисунком А.7.
Рисунок А.6 - Разделка кромок стыковых сварных швов в узлах
стальных конструкций из прямоугольных и квадратных труб
Примечания
1 В точке C для

следует использовать деталь стыкового сварного шва как на
рисунке А.6.
2 Для углов

полное проплавление не требуется, если катет шва назначен по расчету.
Рисунок А.7 - Разделка кромок сварных швов в узлах стальных
конструкций из прямоугольных и квадратных труб при значении
угла

от 60° до 90° (
b не превышает 2 мм)
А.14 Между поверхностями стыкуемых элементов в линейных стыковых соединениях полых профилей допускаются следующие отклонения в корне сварного шва:
- 25% толщины более тонкого элемента при его толщине <= 12 мм;
- 3 мм для профилей с толщиной стенки более 12 мм.
А.15 В линейных стыковых соединениях полых профилей со сварными швами, выполняемыми на подкладке, допускаются отклонения, указанные на
рисунке А.8:
- при разности толщин не более 1,5 мм особых мер не требуется;
- при разности толщин до 3 мм включительно изменением формы подкладки методом горячего формования;
- при разности, превышающей 3 мм, на наиболее толстом элементе выполняют скос не менее 1:4.
а)
б)
в)
Рисунок А.8 - Детали конструктивного оформления
стыковых швов полых профилей разной толщины
(справочное)
СРЕДСТВА ИНДИВИДУАЛЬНОЙ ЗАЩИТЫ,
ПРИМЕНЯЕМЫЕ ПРИ ПРИСТРЕЛКЕ ДЮБЕЛЕЙ
Таблица Б.1
Нормативные документы на индивидуальные средства защиты
Средство защиты | Нормативный документ | Назначение |
1 Очки защитные открытые | | Защита глаз спереди и с боков при пристрелке |
2 Перчатки | | Защита рук от механических воздействий |
3 Наушники противошумные | | Защита органов слуха (при работе в закрытых помещениях объемом менее 200 м3) |
| СП 53-101-98 Свод правил по проектированию и строительству. Изготовление и контроль качества стальных строительных конструкций |
| | Безопасность труда в строительстве. Часть 1. Общие требования |
| ТУ 2-034-0221197-011-91 | Щупы. Модели 82003, 82103, 82203, 82303. Технические условия |
| Рекомендации по надзору и технической эксплуатации монтажных соединений на высокопрочных болтах стальных строительных конструкций зданий и сооружений Министерства металлургии СССР |
| Трудовой кодекс Российской Федерации от 30 декабря 2001 г. N 197-ФЗ |
| Правила по охране труда при строительстве, реконструкции и ремонте (утверждены Приказом Министерства труда и социальной защиты Российской Федерации от 11 декабря 2020 г. N 883н) |
| | Санитарно-эпидемиологические требования к условиям труда (утверждены постановлением Главного государственного санитарного врача Российской Федерации от 2 декабря 2020 г. N 40) |
| Правила безопасности опасных производственных объектов, на которых используются подъемные сооружения (утверждены Приказом Ростехнадзора от 26 ноября 2020 г. N 461) |
| | Руководство по гигиенической оценке факторов рабочей среды и трудового процесса. Критерии и классификация условий труда |
| Межотраслевые правила обеспечения работников специальной одеждой, специальной обувью и другими средствами индивидуальной защиты (утверждены Приказом Министерства здравоохранения и социального развития России от 1 июня 2009 г. N 290н) |
| Федеральный закон от 10 января 2002 г. N 7-ФЗ "Об охране окружающей среды" (ред. от 30 декабря 2021 г.) |
УДК 69.05,693.8:003.354 | |
Ключевые слова: полые стальные конструкции, болтовые соединения, сварные соединения, соединения на дюбелях, замкнутые стальные профили, контролируемые параметры, монтаж стальных конструкций, круглые трубы, квадратные и прямоугольные трубы, изготовление стальных конструкций, технология выполнения монтажных работ |