Краткое наименование страны по МК (ИСО 3166) 004-97 | Код страны по МК (ИСО 3166) 004-97 | Сокращенное наименование национального органа по стандартизации |
Азербайджан | AZ | Азстандарт |
Армения | AM | Минэкономики Республики Армения |
Беларусь | BY | Госстандарт Республики Беларусь |
Грузия | GE | Грузстандарт |
Казахстан | KZ | Госстандарт Республики Казахстан |
Киргизия | KG | Кыргызстандарт |
Молдова | MD | Молдова-Стандарт |
Россия | RU | Росстандарт |
Таджикистан | TJ | Таджикстандарт |
Туркменистан | TM | Главгосслужба "Туркменстандартлары" |
Узбекистан | UZ | Узстандарт |
Украина | UA | Минэкономразвития Украины |



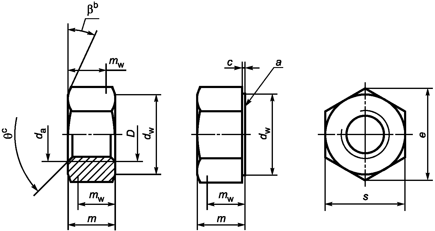
Резьба (D x P) | М8 x 1 | М10 x 1 | М12 x 1,5 | М16 x 1,5 | М20 x 1,5 | М24 x 2 | М30 x 2 | М36 x 3 | М42 x 3 | М48 x 3 | М56 x 4 | М64 x 4 | |
c | не более | 0,60 | 0,60 | 0,60 | 0,80 | 0,80 | 0,80 | 0,80 | 0,80 | 1,00 | 1,00 | 1,00 | 1,00 |
не менее | 0,15 | 0,15 | 0,15 | 0,20 | 0,20 | 0,20 | 0,20 | 0,20 | 0,30 | 0,30 | 0,30 | 0,30 | |
da | не более | 8,75 | 10,80 | 13,00 | 17,30 | 21,60 | 25,90 | 32,40 | 38,90 | 45,40 | 51,80 | 60,50 | 69,10 |
не менее | 8,00 | 10,00 | 12,00 | 16,00 | 20,00 | 24,00 | 30,00 | 36,00 | 42,00 | 48,00 | 56,00 | 64,00 | |
dw | не менее | 11,63 | 14,63 | 16,63 | 22,49 | 27,70 | 33,25 | 42,75 | 51,11 | 59,95 | 69,45 | 78,66 | 88,16 |
e | не менее | 14,38 | 17,77 | 20,03 | 26,75 | 32,95 | 39,55 | 50,85 | 60,79 | 71,30 | 82,60 | 93,56 | 104,86 |
m | не более | 6,80 | 8,40 | 10,80 | 14,80 | 18,00 | 21,50 | 25,60 | 31,00 | 34,00 | 38,00 | 45,00 | 51,00 |
не менее | 6,44 | 8,04 | 10,37 | 14,10 | 16,90 | 20,20 | 24,30 | 29,40 | 32,40 | 36,40 | 43,40 | 49,10 | |
mw | не менее | 5,15 | 6,43 | 8,30 | 11,28 | 13,52 | 16,16 | 19,44 | 23,52 | 25,92 | 29,12 | 34,72 | 39,28 |
s | номин. = не более | 13,00 | 16,00 | 18,00 | 24,00 | 30,00 | 36,00 | 46,00 | 55,00 | 65,00 | 75,00 | 85,00 | 95,00 |
не менее | 12,73 | 15,73 | 17,73 | 23,67 | 29,16 | 35,00 | 45,00 | 53,80 | 63,10 | 73,10 | 82,80 | 92,80 | |
Резьба (D x P) | М10 x 1,25 | М12 x 1,25 | М14 x 1,5 | М18 x 1,5 | М20 x 2 | М22 x 1,5 | М27 x 2 | М33 x 2 | М39 x 3 | М45 x 3 | М52 x 4 | М60 x 4 | |
c | не более | 0,60 | 0,60 | 0,60 | 0,80 | 0,80 | 0,80 | 0,80 | 0,80 | 1,00 | 1,00 | 1,00 | 1,00 |
не менее | 0,15 | 0,15 | 0,15 | 0,20 | 0,20 | 0,20 | 0,20 | 0,20 | 0,30 | 0,30 | 0,30 | 0,30 | |
da | не более | 10,80 | 13,00 | 15,10 | 19,50 | 21,60 | 23,70 | 29,10 | 35,60 | 42,10 | 48,60 | 56,20 | 64,80 |
не менее | 10,00 | 12,00 | 14,00 | 18,00 | 20,00 | 22,00 | 27,00 | 33,00 | 39,00 | 45,00 | 52,00 | 60,00 | |
dw | не менее | 14,63 | 16,63 | 19,64 | 24,85 | 27,70 | 31,35 | 38,00 | 46,55 | 55,86 | 64,70 | 74,20 | 83,41 |
е | не менее | 17,77 | 20,03 | 23,36 | 29,56 | 32,95 | 37,29 | 45,20 | 55,37 | 66,44 | 76,95 | 88,25 | 99,21 |
т | не более | 8,40 | 10,80 | 12,80 | 15,80 | 18,00 | 19,40 | 23,80 | 28,70 | 33,40 | 36,00 | 42,00 | 48,00 |
не менее | 8,04 | 10,37 | 12,10 | 15,10 | 16,90 | 18,10 | 22,50 | 27,40 | 31,80 | 34,40 | 40,40 | 46,40 | |
mw | не менее | 6,43 | 8,30 | 9,68 | 12,08 | 13,52 | 14,48 | 18,00 | 21,92 | 25,44 | 27,52 | 32,32 | 37,12 |
s | номин. = не более | 16,00 | 18,00 | 21,00 | 27,00 | 30,00 | 34,00 | 41,00 | 50,00 | 60,00 | 70,00 | 80,00 | 90,00 |
не менее | 15,73 | 17,73 | 20,67 | 26,16 | 29,16 | 33,00 | 40,00 | 49,00 | 58,80 | 68,10 | 78,10 | 87,80 | |
Материал | Сталь | Коррозионно-стойкая сталь | Цветной металл | |
Общие требования | Обозначение стандарта | ISO 8992 | ||
Резьба | Допуски | 6H | ||
Обозначение стандарта | ISO 724, ISO 965-1 | |||
Механические свойства | Класс прочности | D <= 39 мм: 6, 8 D <= 16 мм: 10 D > 39 мм: по согласованию | D <= 24 мм: A2-70, A4-70 24 мм < D <= 39 мм: A2-50, A4-50 D > 39 мм: по согласованию | Материал по ISO 8839 |
Обозначение стандарта | D <= 39 мм: ISO 898-2 D > 39 мм: по согласованию (по ISO 898-2:2012, приложение A) | D <= 39 мм: ISO 3506-2 D > М39: по согласованию | ||
Допуски | Класс точности | D <= 16 мм: A D > 16 мм: B | ||
Обозначение стандарта | ISO 4759-1 | |||
Отделка - покрытие | Без покрытия | Чистая и Блестящая | Без отделки | |
Требования к электролитическим покрытиям по ISO 4042 | Метод пассивации по ISO 16048 | Требования к электролитическим покрытиям по ISO 4042 | ||
Требования к неэлектролитическим цинкламельным покрытиям по ISO 10683 | ||||
Дополнительные требования или другая отделка или покрытие должны быть согласованы между поставщиком и заказчиком | ||||
Дефекты поверхности | Допустимые дефекты поверхности по ISO 6157-2 | - | - | |
Приемка | Приемочный контроль по ISO 3269 | |||
Обозначение ссылочного международного стандарта | Обозначение и наименование международного стандарта другого года издания | Степень соответствия | Обозначение и наименование межгосударственного стандарта |
ISO 225:2010 Изделия крепежные. Болты, винты, шпильки и гайки. Символы и обозначения размеров <1> | - | - | |
ISO 724:1993 Резьбы метрические ISO общего назначения. Основные размеры | - | MOD | ГОСТ 24705-2004 (ISO 724:1993) <*> Основные нормы взаимозаменяемости. Резьба метрическая. Основные размеры |
ISO 898-2:2012 Механические свойства крепежных изделий. Часть 2. Гайки с установленными значениями пробной нагрузки. Крупная резьба | - | IDT | ГОСТ ISO 898-2 <2> Механические свойства крепежных изделий из углеродистых и легированных сталей. Часть 2. Гайки установленных классов прочности с крупным и мелким шагом резьбы |
ISO 965-1:2013 Резьбы метрические ISO общего назначения. Допуски. Часть 1. Принципы и основные данные | ISO 965-1:1998 Резьбы метрические ISO общего назначения. Допуски. Часть 1. Принципы и основные данные | MOD | ГОСТ 16093-2004 (ISO 965-1:1998, ISO 965-3:1998) <*> Основные нормы взаимозаменяемости. Резьба метрическая. Допуски. Посадки с зазором (ISO 965-1:1998, MOD) |
ISO 3269:2000 Изделия крепежные. Приемочный контроль | - | IDT | ГОСТ ISO 3269 <3> Изделия крепежные. Приемочный контроль |
ISO 3506-2:2009 Механические свойства крепежных изделий из коррозионно-стойкой нержавеющей стали. Часть 2. Гайки | - | IDT | ГОСТ ISO 3506-2-2014 Механические свойства крепежных изделий из коррозионно-стойкой нержавеющей стали. Часть 2. Гайки |
ISO 4042:1999 Изделия крепежные. Электролитические покрытия | - | IDT | ГОСТ ISO 4042 <4> Изделия крепежные. Электролитические покрытия |
ISO 4759-1:2000 Изделия крепежные. Допуски. Часть 1. Болты, винты, шпильки и гайки. Классы точности A, B и C | - | IDT | ГОСТ ISO 4759-1 <5> Изделия крепежные. Допуски. Часть 1. Болты, винты, шпильки и гайки. Классы точности A, B и C |
ISO 6157-2:1995 Изделия крепежные. Дефекты поверхности. Часть 2. Гайки | - | IDT | ГОСТ ISO 6157-2 <6> Изделия крепежные. Дефекты поверхности. Часть 2. Гайки |
ISO 8839:1986 Механические свойства крепежных изделий. Болты, винты, шпильки и гайки из цветных металлов | - | IDT | ГОСТ ISO 8839 <7> Механические свойства крепежных изделий. Болты, винты, шпильки и гайки из цветных металлов |
ISO 8992:2005 Изделия крепежные. Общие требования для болтов, винтов, шпилек и гаек | - | IDT | ГОСТ ISO 8992 <8> Изделия крепежные. Общие требования для болтов, винтов, шпилек и гаек |
ISO 10683:2000 Изделия крепежные. Неэлектролитические цинковые чешуйчатые покрытия | - | - | |
<2> Межгосударственный стандарт в процессе разработки. На территории Российской Федерации действует ГОСТ Р ИСО 898-2-2013 (ISO 898-2:2012, IDT). <3> Межгосударственный стандарт в процессе разработки. На территории Российской Федерации действует ГОСТ Р ИСО 3269-2009 (ISO 3269:2000, IDT). <4> Межгосударственный стандарт в процессе разработки. На территории Российской Федерации действует ГОСТ Р ИСО 4042-2009 (ISO 4042:1999, IDT). <5> Межгосударственный стандарт в процессе разработки. На территории Российской Федерации действует ГОСТ Р ИСО 4759-1-2009 (ISO 4759-1:2000). <6> Межгосударственный стандарт в процессе разработки. На территории Российской Федерации действует ГОСТ Р ИСО 6157-2-2009 (ISO 6157-2:1995, IDT). <7> Межгосударственный стандарт в процессе разработки. На территории Российской Федерации действует ГОСТ Р ИСО 8839-2009 (ISO 8839:1986, IDT). <8> Межгосударственный стандарт в процессе разработки. На территории Российской Федерации действует ГОСТ Р ИСО 8992-2011 (ISO 8992:2005, IDT). <9> На территории Российской Федерации действует ГОСТ Р ИСО 10683-2013 (ISO 10683:2000, IDT). <**> Соответствующий межгосударственный стандарт отсутствует. До его принятия рекомендуется использовать перевод на русский язык данного международного стандарта или гармонизированный с ним национальный стандарт (государственный) стандарт страны, на территории которой применяется настоящий стандарт. Информация о наличии перевода данного международного стандарта в национальном фонде стандартов или в ином месте, а также информация о действии на территории страны соответствующего национального (государственного) стандарта может быть приведена в национальных информационных данных, дополняющих настоящий стандарт. Примечание - В настоящей таблице использованы следующие условные обозначения степени соответствия стандартов: - IDT - идентичные стандарты; - MOD - модифицированные стандарты. | |||
[1] | ISO 4014, | Hexagon head bolts - Product grades A and B |
[2] | ISO 4015, | Hexagon head bolts - Product grade B - Reduced shank (shank diameter approximately equal to pitch diameter) |
[3] | ISO 4016, | Hexagon head bolts - Product grade C |
[4] | ISO 4017, | Hexagon head screws - Product grades A and B |
[5] | ISO 4018, | Hexagon head screws - Product grade C |
[6] | ISO 4032, | Hexagon regular nuts (style 1) - Product grades A and B |
[7] | ISO 4033, | Hexagon high nuts (style 2) - Product grades A and B |
[8] | ISO 4034, | Hexagon regular nuts (style 1) - Product grade C |
[9] | ISO 4035, | Hexagon thin nuts chamfered (style 0) - Product grades A and B |
[10] | ISO 4036, | Hexagon thin nuts unchamfered (style 0) - Product grade B |
[11] | ISO 4161, | Hexagon nuts with flange, style 2 - Coarse thread |
[12] | ISO 4162, | Hexagon flange bolts - Small series - Product grade A with driving feature of product grade B |
[13] | ISO 7040, | Prevailing torque type hexagon regular nuts (with non-metallic insert) - Property classes 5, 8 and 10 |
[14] | ISO 7041, | Prevailing torque type hexagon nuts (with non-metallic insert), style 2 - Property classes 9 and 12 |
[15] | ISO 7042, | Prevailing torque type all-metal hexagon high nuts - Property classes 5, 8, 10 and 12 |
[16] | ISO 7043, | Prevailing torque type hexagon nuts with flange (with non-metallic insert), style 2 - Product grades A and B |
[17] | ISO 7044, | Prevailing torque type all-metal hexagon nuts with flange, style 2 - Product grades A and B |
[18] | ISO 7719, | Prevailing torque type all-metal hexagon regular nuts - Property classes 5, 8 and 10 |
[19] | ISO 7720, | Prevailing torque type all-metal hexagon nuts, style 2 - Property class 9 |
[20] | ISO 8674, | Hexagon high nuts (style 2) with metric fine pitch thread - Product grades A and B |
[21] | ISO 8675, | Hexagon thin nuts chamfered (style 0) with metric fine pitch thread - Product grades A and B |
[22] | ISO 8676, | Hexagon head screws with metric fine pitch thread - Product grades A and B |
[23] | ISO 8765, | Hexagon head bolts with metric fine pitch thread - Product grades A and B |
[24] | ISO 10511, | Prevailing torque type hexagon thin nuts (with non-metallic insert) |
[25] | ISO 10512, | Prevailing torque type hexagon nuts (with non-metallic insert), style 1, with metric fine pitch thread - Property classes 6, 8 and 10 |
[26] | ISO 10513, | Prevailing torque type all-metal hexagon nuts, style 2, with metric fine pitch thread - Property classes 8, 10 and 12 |
[27] | ISO 10663, | Hexagon nuts with flange, style 2 - Fine pitch thread |
[28] | ISO 12125, | Prevailing torque type hexagon nuts with flange (with non-metallic insert) with metric fine pitch thread, style 2 - Product grades A and B |
[29] | ISO 12126, | Prevailing torque type all-metal hexagon nuts with flange with metric fine pitch thread, style 2 - Product grades A and B |
[30] | ISO 15071, | Hexagon bolts with flange - Small series - Product grade A |
[31] | ISO 15072, | Hexagon bolts with flange with metric fine pitch thread - Small series - Product grade A |
[32] | ISO 21670, | Hexagon weld nuts with flange |