Главная // Актуальные документы // Актуальные документы (обновление с 03.11.2025 по 29.11.2025) // ПравилаСПРАВКА
Источник публикации
М.: Минстрой России, 2025
Примечание к документу
Текст документа приведен в соответствии с публикацией на сайте https://www.minstroyrf.gov.ru/ по состоянию на 07.10.2025.
Документ
введен в действие с 16.10.2025.
Название документа
"СП 546.1325800.2025. Свод правил. Здания жилые многоквартирные со стальным каркасом. Правила проектирования"
(утв. и введен в действие Приказом Минстроя России от 15.09.2025 N 549/пр)
"СП 546.1325800.2025. Свод правил. Здания жилые многоквартирные со стальным каркасом. Правила проектирования"
(утв. и введен в действие Приказом Минстроя России от 15.09.2025 N 549/пр)
Утвержден и введен в действие
и жилищно-коммунального хозяйства
Российской Федерации
от 15 сентября 2025 г. N 549/пр
СВОД ПРАВИЛ
ЗДАНИЯ ЖИЛЫЕ МНОГОКВАРТИРНЫЕ СО СТАЛЬНЫМ КАРКАСОМ
ПРАВИЛА ПРОЕКТИРОВАНИЯ
Multicompartment residential buildings on a steel frame.
Design rules
СП 546.1325800.2025
Дата введения
16 октября 2025 года
1 ИСПОЛНИТЕЛИ - Ассоциация "Объединение участников бизнеса по развитию стального строительства" (Ассоциация развития стального строительства (АРСС)), Акционерное общество "Центральный научно-исследовательский и проектно-экспериментальный институт промышленных зданий и сооружений - ЦНИИПромзданий" (АО "ЦНИИПромзданий"), Акционерное общество "Научно-исследовательский центр "Строительство" (АО "НИЦ "Строительство") - ЦНИИСК им. В.А. Кучеренко, Федеральное государственное бюджетное образовательное учреждение высшего образования "Национальный исследовательский Московский государственный строительный университет" (НИУ МГСУ), Федеральное государственное бюджетное учреждение "Центральный научно-исследовательский и проектный институт Министерства строительства и жилищно-коммунального хозяйства Российской Федерации" (ФГБУ "ЦНИИП Минстроя России")
2 ВНЕСЕН Техническим комитетом по стандартизации ТК 465 "Строительство"
3 ПОДГОТОВЛЕН к утверждению Департаментом градостроительной деятельности и архитектуры Министерства строительства и жилищно-коммунального хозяйства Российской Федерации (Минстрой России)
4 УТВЕРЖДЕН
приказом Министерства строительства и жилищно-коммунального хозяйства Российской Федерации от 15 сентября 2025 г. N 549/пр и введен в действие с 16 октября 2025 г.
5 ЗАРЕГИСТРИРОВАН Федеральным агентством по техническому регулированию и метрологии (Росстандарт)
6 ВВЕДЕН ВПЕРВЫЕ
В случае пересмотра (замены) или отмены настоящего свода правил соответствующее уведомление будет опубликовано в установленном порядке. Соответствующая информация, уведомление и тексты размещаются также в информационной системе общего пользования - на официальном сайте разработчика (Минстрой России) в сети Интернет
Настоящий свод правил разработан в целях обеспечения требований Федерального
закона от 30 декабря 2009 г. N 384-ФЗ "Технический регламент о безопасности зданий и сооружений"
[1] с учетом требований федеральных законов от 27 декабря 2002 г.
N 184-ФЗ "О техническом регулировании"
[2], от 23 ноября 2009 г.
N 261-ФЗ "Об энергосбережении и о повышении энергетической эффективности и о внесении изменений в отдельные законодательные акты Российской Федерации"
[3], от 29 декабря 2004 г.
N 190-ФЗ "Градостроительный кодекс Российской Федерации"
[4], от 22 июля 2008 г.
N 123-ФЗ "Технический регламент о требованиях пожарной безопасности"
[5].
Настоящий свод правил разработан авторским коллективом: АРСС (А.Н. Данилов, Е.И. Антропов, канд. техн. наук Т.В. Назмеева), АО "ЦНИИПромзданий" (канд. техн. наук Н.Г. Келасьев, К.В. Авдеев, д-р техн. наук Н.Н. Трекин, д-р техн. наук Э.Н. Кодыш, канд. техн. наук И.А. Терехов, канд. архитектуры Н.В. Дубынин, С.Д. Шмаков), АО "НИЦ "Строительство" - ЦНИИСК им. В.А. Кучеренко (д-р техн. наук А.И. Звездов, канд. техн. наук Д.В. Конин, канд. техн. наук А.С. Крылов, канд. техн. наук А.Р. Олуромби, А.В. Малкин, П.В. Нахвальнов, И.В. Ртищева), НИУ МГСУ (д-р техн. наук А.Р. Туснин, канд. техн. наук В.М. Туснина), ФГБУ ЦНИИП Минстроя России (канд. техн. наук Д.Г. Пронин) при участии ПАО ГК "Самолет" (В.В. Морозов).
1.1 Настоящий свод правил распространяется на проектирование многоквартирных жилых зданий высотой до 75 м со стальным каркасом.
1.2 Настоящий свод правил устанавливает требования к объемно-планировочным и конструктивным решениям, материалам, инженерному оборудованию многоквартирных жилых зданий высотой до 75 м со стальным каркасом.
В настоящем своде правил использованы нормативные ссылки на следующие документы:
ГОСТ 9.107 Единая система защиты от коррозии и старения. Коррозионная агрессивность атмосферы. Основные положения
ГОСТ 9818 Марши и площадки лестниц железобетонные. Общие технические условия
ГОСТ 13663 Трубы стальные профильные. Технические требования
ГОСТ 14918 Прокат листовой горячеоцинкованный. Технические условия
ГОСТ 19281 Прокат повышенной прочности. Общие технические условия
ГОСТ 23118 Конструкции стальные строительные. Общие технические условия
ГОСТ 24045 Профили стальные листовые гнутые с трапециевидными гофрами для строительства. Технические условия
ГОСТ 25485 Бетоны ячеистые. Общие технические условия
ГОСТ 27751-2014 Надежность строительных конструкций и оснований. Основные положения
ГОСТ 27772 Прокат для строительных стальных конструкций. Общие технические условия
ГОСТ 30245 Профили стальные гнутые замкнутые сварные квадратные и прямоугольные для строительных конструкций. Технические условия
ГОСТ 30494 Здания жилые и общественные. Параметры микроклимата в помещениях
ГОСТ 31384 Защита бетонных и железобетонных конструкций от коррозии. Общие технические требования
ГОСТ 32144 Электрическая энергия. Совместимость технических средств электромагнитная. Нормы качества электрической энергии в системах электроснабжения общего назначения
ГОСТ 34667.2 Материалы лакокрасочные. Защита стальных конструкций от коррозии при помощи лакокрасочных систем. Часть 2. Классификация условий окружающей среды
ГОСТ 35087 Двутавры стальные горячекатаные. Технические условия
ГОСТ Р 50571.5.52-2011 (МЭК 60364-5-52:2009) Электроустановки низковольтные. Часть 5-52. Выбор и монтаж электрооборудования. Электропроводки
ГОСТ Р 52023 Сети распределительные систем кабельного телевидения. Основные параметры. Технические требования. Методы измерений и испытаний
ГОСТ Р 53195.1 Безопасность функциональная связанных с безопасностью зданий и сооружений систем. Часть 1. Основные положения
ГОСТ Р 53195.2 Безопасность функциональная связанных с безопасностью зданий и сооружений систем. Часть 2. Общие требования
ГОСТ Р 58064 Трубы стальные сварные для строительных конструкций. Технические условия
ГОСТ Р 58774-2019 Стены наружные каркасно-обшивные самонесущие и ненесущие с каркасом из стальных холодногнутых оцинкованных профилей. Общие технические условия
ГОСТ Р 70172 Геодезия и картография. Требования к техническому контролю геодезической и картографической продукции и процессов ее создания. Основные положения
ГОСТ Р 70192-2022 Перекрытия каркасно-обшивные сухого типа. Система перекрытия с каркасом из стальных холодногнутых оцинкованных профилей. Общие технические требования
ГОСТ Р 71617-2024 Модульные здания и конструкции. Термины и определения. Классификация
СП 10.13130 Системы противопожарной защиты. Внутренний противопожарный водопровод. Нормы и правила проектирования
СП 14.13330 "СНиП II-7-81* Строительство в сейсмических районах" (с изменениями N 2, N 3, N 4)
СП 15.13330 "СНиП II-22-81* Каменные и армокаменные конструкции" (с изменением N 1)
СП 16.13330.2017 "СНиП II-23-81* Стальные конструкции" (с изменениями N 1, N 2, N 3, N 4, N 5, N 6)
СП 20.13330.2016 "СНиП 2.01.07-85* Нагрузки и воздействия" (с изменениями N 1, N 2, N 3, N 4, N 5, N 6)
СП 22.13330 "СНиП 2.02.01-83* Основания зданий и сооружений" (с изменениями N 1, N 2, N 3, N 4, N 5)
СП 24.13330 "СНиП 2.02.03-85 Свайные фундаменты" (с изменением N 1)
СП 28.13330.2017 "СНиП 2.03.11-85 Защита строительных конструкций от коррозии" (с изменениями N 1, N 2, N 3, N 4)
СП 30.13330 "СНиП 2.04.01-85* Внутренний водопровод и канализация зданий" (с изменениями N 1, N 2, N 3, N 4, N 5)
СП 42.13330 "СНиП 2.07.01-89* Градостроительство. Планировка и застройка городских и сельских поселений" (с изменениями N 1, N 2, N 3, N 4)
СП 43.13330.2012 "СНиП 2.09.03-85 Сооружения промышленных предприятий" (с изменениями N 1, N 2, N 3, N 4, N 5)
СП 51.13330 "СНиП 23-03-2003 Защита от шума" (с изменениями N 1, N 2, N 3, N 4)
СП 54.13330.2022 "СНиП 31-01-2003 Здания жилые многоквартирные" (с изменениями N 1, N 2)
СП 55.13330 "СНиП 31-02-2001 Дома жилые одноквартирные" (с изменениями N 1, N 2)
СП 59.13330 "СНиП 35-01-2001 Доступность зданий и сооружений для маломобильных групп населения" (с изменениями N 1, N 2, N 3, N 4)
СП 60.13330 "СНиП 41-01-2003 Отопление, вентиляция и кондиционирование воздуха" (с изменениями N 1, N 2, N 3, N 4, N 5)
СП 61.13330 "СНиП 41-03-2003 Тепловая изоляция оборудования и трубопроводов" (с изменениями N 1, N 2)
СП 63.13330.2018 "СНиП 52-01-2003 Бетонные и железобетонные конструкции. Основные положения" (с изменениями N 1, N 2)
СП 70.13330 "СНиП 3.03.01-87 Несущие и ограждающие конструкции" (с изменениями N 1, N 3, N 4, N 5, N 6, N 7)
СП 71.13330 "СНиП 3.04.01-87 Изоляционные и отделочные покрытия" (с изменениями N 1, N 2)
СП 73.13330 "СНиП 3.05.01-85 Внутренние санитарно-технические системы зданий" (с изменениями N 1, N 2)
СП 113.13330 "СНиП 21-02-99* Стоянки автомобилей" (с изменениями N 1, N 2)
СП 118.13330 "СНиП 31-06-2009 Общественные здания и сооружения" (с изменениями N 1, N 2, N 3, N 4, N 5)
СП 131.13330 "СНиП 23-01-99* Строительная климатология" (с изменениями N 1, N 2)
СП 133.13330 Сети проводного радиовещания и оповещения в зданиях и сооружениях. Нормы проектирования (с изменениями N 1, N 2)
СП 134.13330 Системы электросвязи зданий и сооружений. Основные положения проектирования (с изменением N 1)
СП 136.13330 Здания и сооружения. Общие положения проектирования с учетом доступности для маломобильных групп населения (с изменениями N 1, N 2)
СП 140.13330 Городская среда. Правила проектирования для маломобильных групп населения
СП 160.1325800.2014 Здания и комплексы многофункциональные. Правила проектирования (с изменениями N 1, N 2, N 3)
СП 229.1325800.2014 Железобетонные конструкции подземных сооружений и коммуникаций. Защита от коррозии (с изменениями N 1, N 2)
СП 230.1325800 Конструкции ограждающие зданий. Характеристики теплотехнических неоднородностей (с изменениями N 1, N 2)
СП 255.1325800 Здания и сооружения. Правила эксплуатации. Основные положения (с изменениями N 1, N 2, N 3)
СП 256.1325800 Электроустановки жилых и общественных зданий. Правила проектирования и монтажа (с изменениями N 1, N 2, N 3, N 4, N 5, N 6, N 7, N 8)
СП 257.1325800 Здания гостиниц. Правила проектирования (с изменением N 1)
СП 260.1325800.2023 Конструкции стальные тонкостенные из холодногнутых оцинкованных профилей и гофрированных листов. Правила проектирования
СП 266.1325800.2016 Конструкции сталежелезобетонные. Правила проектирования (с изменениями N 1, N 2, N 3, N 4)
СП 293.1325800 Системы фасадные теплоизоляционные композиционные с наружными штукатурными слоями. Правила проектирования и производства работ (с изменениями N 1, N 2)
СП 296.1325800 Здания и сооружения. Особые воздействия (с изменениями N 1, N 2)
СП 356.1325800 Конструкции каркасные железобетонные сборные многоэтажных зданий. Правила проектирования
СП 385.1325800.2018 Защита зданий и сооружений от прогрессирующего обрушения. Правила проектирования. Основные положения (с изменениями N 1, N 2, N 3, N 4)
СП 426.1325800 Конструкции ограждающие светопрозрачные зданий и сооружений. Правила проектирования
СП 466.1325800 Наемные дома. Правила проектирования (с изменением N 1)
СП 522.1325800.2023 Системы фасадные навесные вентилируемые. Правила проектирования, производства работ и эксплуатации
Примечание - При пользовании настоящим сводом правил целесообразно проверить действие ссылочных документов в информационной системе общего пользования - на официальном сайте федерального органа исполнительной власти в сфере стандартизации в сети Интернет, на официальном сайте федерального органа исполнительной власти, разработавшего и утвердившего настоящий свод правил, или по ежегодному информационному указателю "Национальные стандарты", который опубликован по состоянию на 1 января текущего года, и по выпускам ежемесячного информационного указателя "Национальные стандарты" за текущий год. Если заменен ссылочный документ, на который дана недатированная ссылка, то рекомендуется использовать действующую версию этого документа с учетом всех внесенных в данную версию изменений. Если заменен ссылочный документ, на который дана датированная ссылка, то рекомендуется использовать версию этого документа с указанным выше годом утверждения (принятия). Если после утверждения настоящего свода правил в ссылочный документ, на который дана датированная ссылка, внесено изменение, затрагивающее положение, на которое дана ссылка, то это положение рекомендуется применять без учета данного изменения. Если ссылочный документ отменен без замены, то положение, в котором дана ссылка на него, рекомендуется применять в части, не затрагивающей эту ссылку. Сведения о действии сводов правил целесообразно проверить в Федеральном информационном фонде стандартов.
3 Термины, определения и сокращения
3.1 Термины и определения
3.1.1
аутригерные конструкции: Пересекающиеся фермы, связи, диафрагмы или балки (балки-стенки), обеспечивающие повышенную пространственную жесткость здания или сооружения. |
3.1.2 вариантная планировка: Обеспечение при строительстве нескольких планировочных решений в пределах квартиры или целого этажа без изменения несущих конструкций.
3.1.3
навесная фасадная вентилируемая конструкция [навесная фасадная система с воздушным зазором (прослойкой)]; НФС: Конструктивная система, предназначенная для устройства фасадов зданий и сооружений, состоящая из несущей конструкции, облицовки, при необходимости - теплоизоляции и имеющая воздушную полость (зазор) за облицовкой. |
3.1.4
конструктивная система: Совокупность взаимосвязанных строительных конструкций и основания. |
3.1.5
КОС с применением легких стальных тонкостенных конструкций: Каркасно-обшивные стены, каркас которых состоит из стальных холодногнутых оцинкованных профилей. |
3.1.6
каркасно-обшивное перекрытие с применением легких стальных тонкостенных конструкций: Каркасно-обшивное перекрытие, каркас которого состоит из стальных холодногнутых оцинкованных профилей. |
3.1.7
сталежелезобетонные плиты с профилированным настилом: Монолитные бетонные или железобетонные плиты с профилированным настилом, выполняющим функции несъемной опалубки на стадии изготовления плиты и внешней рабочей арматуры совместно с гибкими стержнями на стадии эксплуатации плиты. |
3.1.8 система фасадная теплоизоляционная композиционная с наружными штукатурными слоями; СФТК: Совокупность материалов и изделий, определяемая комплектом технических решений системодержателя по устройству СФТК в виде последовательно устраиваемых слоев, прошедшей в данном составе техническую апробацию и предназначенной для установки на внешней поверхности стен зданий в процессе их строительства, реконструкции и капитального ремонта.
В настоящем своде правил применены следующие сокращения:
ГВЛ - гипсоволокнистый лист;
ГКЛ - гипсокартонный лист;
ГСП - гипсостружечная плита;
ИТП - индивидуальные тепловые пункты;
КОС - каркасно-обшивные стены;
ЛСТК - легкие стальные тонкостенные конструкции;
МГН - маломобильные группы населения;
ПВХ - поливинилхлорид.
4.1 Для обеспечения надежности здания на протяжении всего срока жизненного цикла следует руководствоваться требованиями
[1] -
[5] и
ГОСТ 27751.
4.2 Градостроительные требования к проектированию изложены в
СП 42.13330 и региональных градостроительных нормах.
4.3 Проектную документацию следует разрабатывать в объеме, указанном в
[4] и
[6].
4.4 Расчет общей площади здания на территории, отведенной для застройки, площади помещений следует производить в соответствии с их функциональным назначением, по
СП 54.13330,
СП 118.13330 или
СП 160.1325800.
4.5 Экологические требования изложены в действующих санитарно-эпидемиологических нормах, а также
[7] и
[8].
4.10 При проектировании зданий, в том числе вводимых в эксплуатацию очередями, следует предусматривать устройство температурных или осадочных швов в виде вертикального зазора с необходимой тепло- и гидроизоляцией, позволяющей воспринимать температурное расширение или осадки отдельных частей здания.
Расстояние между температурными швами следует устанавливать по расчету.
Температурные швы допускается доводить только до фундаментных плит или ростверков.
При возможной неравномерной осадке фундаментов предусматривают разделение конструкции осадочными швами, если осадки превышают предельно допустимые величины, приведенные в
СП 22.13330.
Вертикальные деформационные швы следует выполнять со спаренными колоннами. Швы должны быть размером не менее 20 мм и не менее горизонтальных перемещений в направлении соседней секции.
4.11 Доступность здания для маломобильных групп населения, планировка земельных участков, территории общего пользования, помещения для их пребывания должны соответствовать требованиям
СП 59.13330,
СП 136.13330 и
СП 140.13330.
4.12 Пожарная безопасность зданий и сооружений обеспечивается в соответствии с требованиями
[5] и
[9].
4.13 Следует предусматривать мероприятия, предотвращающие коррозию стальных конструкций, согласно
СП 28.13330 и
разделу 13.
4.14 Основные требования к проектированию и конструированию ЛСТК приведены в
разделе 11.
5 Классификация многоквартирных жилых зданий со стальным каркасом
5.1 Проектируемые многоквартирные жилые здания со стальным каркасом должны соответствовать приведенной в данном разделе классификации, которая определяет возможность их применения по функциональному назначению, этажности, объемно-планировочным решениям.
5.2 Классификация многоквартирных жилых зданий со стальным каркасом по функциональному назначению приведена в
таблице 5.1.
Таблица 5.1
Классификация многоквартирных жилых зданий
со стальным каркасом по функциональному назначению
Вид многоквартирных жилых зданий | Функциональное назначение (жилищный фонд) | Документы, устанавливающие нормируемые параметры |
Многоквартирные жилые здания для постоянного проживания | Жилищный фонд коммерческого использования (частный жилищный фонд). Жилищный фонд социального использования (частный, государственный, муниципальный жилищный фонд) | |
Наемные дома | |
Многоквартирные жилые здания и наемные дома со встроенными помещениями общественного назначения (в том числе предприятия торговли, гостиницы, общежития) | |
5.3 Классификация многоквартирных жилых зданий со стальным каркасом по этажности приведена в
таблице 5.2.
Таблица 5.2
Классификация многоквартирных жилых зданий
со стальным каркасом по этажности
Вид многоквартирных жилых зданий | Нормируемые параметры, число этажей | Документы, устанавливающие нормируемые параметры при планировочной организации жилых зон |
Малоэтажные | До 4 включ. | |
Среднеэтажные | От 5 до 8 включ. |
Многоэтажные | Св. 8 |
5.4 Классификация многоквартирных жилых зданий со стальным каркасом по объемно-планировочным решениям представлена в
таблице 5.3.
Таблица 5.3
Классификация многоквартирных жилых зданий
со стальным каркасом по объемно-планировочным решениям
Объемно-планировочные решения многоквартирных жилых зданий | | | |
Односекционные | Не ограничена | Не ограничено | IВ, II и III |
Многосекционные |
Коридорного типа |
Галерейного типа (с устройством атриума) |
Галерейного типа (с открытыми галереями) | IVБ и IVГ (кроме территорий, где возможны пыльные бури) |
Блокированные | Малоэтажные | Не ограничено |
6 Архитектурно-планировочные решения
6.1.1 При проектировании многоквартирных жилых зданий следует руководствоваться:
- в части требований к объемно-планировочным решениям -
СП 54.13330;
- в части обеспеченности здания инженерно-техническими системами и оборудованием, системой мусороудаления -
СП 54.13330;
- в части требований к этажности и планировочным решениям при строительстве в сейсмических районах -
СП 14.13330.
6.1.2 Многоквартирное жилое здание включает следующие группы помещений:
- жилые помещения (квартиры);
- помещения общего пользования (входная группа, вестибюль, холлы, лифтовые холлы, внеквартирные коридоры, лестничные клетки);
- встроенные, встроенно-пристроенные, пристроенные помещения общественного назначения, необходимость которых определяется заданием на проектирование;
6.1.3 Минимальную ширину и максимальный уклон лестничных маршей, высоту ограждений следует принимать по
СП 54.13330.
6.1.4 Звукоизоляцию наружных ограждающих конструкций, внутренних межквартирных и внутриквартирных перегородок, а также стен и перегородок, отделяющих жилые помещения от смежных внеквартирных или помещений общественного назначения, проектируют в соответствии с требованиями
СП 54.13330,
СП 51.13330,
[7].
При проектировании звукоизоляции каркасных стен и перегородок должна осуществляться оценка звукоизоляции всей конструкции с учетом передачи шума конструктивными элементами каркаса.
При проектировании звукоизоляции перекрытий следует учитывать требуемые нормативные индексы изоляции воздушного шума и приведенные уровни ударного шума согласно
СП 51.13330, с учетом передачи шума несущими металлическими элементами (балками, ригелями).
6.1.5 Конструктивные элементы каркаса не располагают вне ограждающих конструкций, а также выступающими из их плоскости. При отступлении от данного требования, принятые решения необходимо обосновывать схемами функционального зонирования и меблировки помещений.
Во внеквартирных помещениях (поэтажных межквартирных коридорах) не допускается образование ниш и расширений, которые впоследствии могут использоваться жильцами для хранения вещей вне квартиры или создавать зоны, которые не просматриваются при входе в данное помещение из квартиры, лестничной клетки, лифтового холла.
6.2.1 Требования к параметрам объемно-планировочных решений жилых помещений (квартир) принимают по
СП 54.13330.
6.2.2 При формировании архитектурно-планировочных решений следует выбирать такой шаг металлического каркаса и конфигурацию его конструктивных элементов (колонн, балок, пилонов), чтобы их размещение не нарушало функциональные и эстетические характеристики жилых комнат, а также вспомогательных помещений квартир (коридора, холла, прихожей, кухни, кухни-столовой, лоджий, а также балконов).
6.2.3 По заданию на проектирование может быть предусмотрена свободная и (или) вариантная планировка квартир и внеквартирных помещений, предусматривающая объединение нескольких квартир и (или) разделение, а также объединение или разделение жилых комнат и вспомогательных помещений. В этом случае допускается применять широкий шаг металлического каркаса - 7,2 м и более.
Для улучшения естественного освещения и инсоляции жилых комнат, естественного освещения кухни, кухни-столовой проектируют эркеры.
При проектировании балконов и лоджий их форму, глубину, возможность устройства покрытия и остекления определяют с учетом обеспечения естественного освещения и инсоляции помещений, к которым они примыкают, а также расположенных рядом и под ними помещений.
6.2.4 Расположение элементов каркаса в таких вспомогательных помещениях, как кладовые, постирочные, а также в нишах для встроенной мебели, антресолей для хранения вещей не регламентируется.
6.3 Помещения общего пользования
6.3.1 При проектировании мест общего пользования, площадок перед лифтами, помещений колясочных, велосипедных, внеквартирных хозяйственных кладовых и т.д. следует руководствоваться требованиями
СП 54.13330.
6.3.2 Во внеквартирных коридорах, холлах, помещениях входной группы на путях эвакуации не следует располагать конструктивные элементы каркаса отдельно стоящие от стен, как создающие затруднение при движении в случае возникновения чрезвычайной ситуации.
6.4 Встроенные, встроенно-пристроенные, пристроенные помещения
6.4.1 При проектировании встроенных, встроенно-пристроенных, пристроенных помещений общественного назначения в многоквартирных жилых зданиях со стальным каркасом следует руководствоваться:
- в части размещения и определения допустимой номенклатуры помещений по функциональному назначению -
СП 54.13330;
- в части требований к помещениям общественного назначения -
СП 118.13330.
6.4.2 Допускается устройство пристроенных надземных и подземных, а также встроенных подземных стоянок автомобилей, которые следует проектировать согласно
СП 113.13330.
6.4.3 Расположение конструктивных элементов каркаса вне ограждающих конструкций (стен, потолков), а также выступающими из их плоскости устанавливают заданием на проектирование.
6.4.4 Для обеспечения свободной или вариантной планировки помещений общественного назначения применяют шаг каркаса - 7,2 м и более.
6.4.5 При входе в помещения общественного назначения следует предусматривать тамбуры с учетом доступности для МГН согласно
СП 59.13330.
6.4.6 Требования к наружным ограждающим конструкциям помещений общественного назначения (кроме подсобных и технических помещений) с применением панорамного остекления и светопрозрачных фасадных систем приведены в
СП 426.1325800 и
СП 118.13330.
7 Конструктивные решения зданий со стальным каркасом
7.1 Унификация габаритных схем
7.1.1 Выбор конструктивной системы здания следует проводить с учетом объемно-планировочных решений, высоты здания, технико-экономических показателей и технологических возможностей. На
рисунке 7.1 приведены примеры конструктивных систем зданий.
Оптимальная этажность: а - до 10; б - 10 - 20; в - 20 - 25;
г - до 4 (здание из ЛСТК)
Примечания
1 Пунктиром указаны плоскости вертикальных связей.
2 Конструкции вертикальных связей условно показаны в виде металлических ферм. Конструктивные решения связей приведены в
подразделе 9.5.
Рисунок 7.1 - Примеры конструктивных систем зданий
со стальным каркасом
7.1.2 При разработке конструктивной системы здания руководствуются следующими положениями:
- создавать симметричный план здания - наличие двух или хотя бы одной вертикальной плоскости симметрии;
- упрощать конструктивную форму здания путем использования четкой статической и геометрической схемы, создания регулярной (однородной) структуры с простыми элементами и сопряжениями;
- определять рациональный шаг основных вертикальных несущих элементов, учитывающий равномерное распределение нагрузок по плану здания и обеспечение пространственной устойчивости;
- следует стремиться к тому, чтобы шаг колонн и балок был с одинаковыми или кратными размерами;
- для балочных конструкций облегчать конструкции перекрытий за счет обеспечения совместной работы плит и стальных балок;
- снижать вертикальные нагрузки за счет использования современных материалов для перекрытий, перегородок, светопрозрачных и фасадных конструкций;
- использовать легкие наружные стеновые ограждения.
7.1.3 Повышение пространственной жесткости каркасных многоэтажных зданий следует обеспечивать применением:
- развитых в плане и симметрично расположенных вертикальных связей и ядер жесткости;
- конструктивных систем с регулярным расположением несущих конструкций в плане и по высоте здания;
- жестких узловых сопряжений между несущими конструкциями;
- аутригерных конструкций.
7.1.4 Унификацию параметров элементов при проектировании и изготовлении конструкций многоэтажных зданий рекомендуется принимать кратной основному модулю (М) - 100 мм.
7.1.5 Привязку колонн к координационным осям рекомендуется применять "осевую".
7.2 Классификация конструктивных систем каркасных зданий
7.2.1 Конструктивные системы каркасных многоэтажных зданий подразделяют на следующие группы:
- каркасно-балочные (ригельные);
- каркасно-безбалочные;
- системы с использованием модулей заводской готовности;
- смешанные каркасные системы;
- системы с каркасными стенами и перекрытиями из ЛСТК.
7.2.2 В каркасно-балочных системах вертикальную нагрузку, приложенную к перекрытию через балки, следует передавать на колонны. Горизонтальные нагрузки и воздействия (ветровые, температурные и силовые) следует передавать через жесткий диск перекрытия на продольные и поперечные рамы, связи, ядра жесткости и другие конструкции, обеспечивающие пространственную устойчивость здания.
7.2.3 В каркасно-безбалочных системах рамы следует образовывать с применением жестких соединений перекрытий с колоннами. В каркасно-безбалочных системах вертикальная нагрузка от перекрытия передается непосредственно на колонны. Такая система возможна при устройстве монолитных перекрытий.
7.2.4 По способу восприятий горизонтальных и вертикальных усилий каркасы подразделяют на три конструктивные системы:
- связевые каркасы с элементами жесткости;
- рамно-связевые каркасы;
- рамные каркасы.
Наименования этих систем содержат две основные характеристики: тип узлов сопряжения горизонтальных и вертикальных элементов рам и способ восприятия горизонтальных усилий
(таблица 7.1).
Таблица 7.1
Конструктивные системы вертикальных рам каркасно-балочных
(ригельных) зданий
Каркасы | Связевые | Рамно-связевые | Рамные |
Рамы |
Поперечные | | | |
Продольные | | | |
Обозначения: 1 - колонна; 2 - балка (ригель) перекрытия; 3 - шарнирный узел; 4 - жесткий узел. Примечание - Элементы жесткости не показаны. |
7.2.5 Узлы сопряжений балок с колоннами в продольных и поперечных рамах могут быть шарнирными (связевые каркасы) и жесткими (рамные каркасы). В рамно-связевых каркасах шарнирные узлы в рамах одного направления и жесткие узлы в рамах другого направления, такие каркасы - комбинированные.
Примечание - Современные программные комплексы производят расчет пространственных систем.
7.3 Связевые каркасные системы
7.3.1 В связевой каркасной системе применяется ригельный каркас с шарнирными узлами примыкания ригелей к колоннам. Горизонтальные нагрузки воспринимаются и передаются на основание через вертикальные диафрагмы жесткости в виде сквозных раскосных элементов или сплошных стен (
рисунки 7.2,
7.3), а также ядер жесткости, одновременно являющихся лестнично-лифтовыми узлами. Лифтовые шахты проектируют из сборных железобетонных элементов
(рисунок 7.4), из монолитного железобетона
(рисунок 7.5) или стальных стоек и монолитных площадок.
а - треугольные; б - портальные; в - крестовые
Рисунок 7.2 - Схемы сквозных вертикальных связей
Рисунок 7.3 - Вертикальные связи в виде сплошных стен
(перекрытия условно не показаны)
Рисунок 7.4 - Рамно-связевый каркас со сборной шахтой лифта
Рисунок 7.5 - Связевый каркас с монолитным
лестнично-лифтовым узлом
7.3.2 Шарнирный узел должен быть запроектирован в виде соединения на болтах. Примеры конструктивного решения шарнирного соединения балок с колоннами приведены на
рисунке Б.3.
7.4 Рамные и рамно-связевые каркасные системы
7.4.1 В рамной каркасной системе продольные и поперечные рамы с жесткими узлами соединения ригелей с колоннами воспринимают и передают основанию вертикальные и горизонтальные нагрузки.
7.4.2 Конструкцию жестких узлов сопряжения балок с колоннами следует выполнять в соответствии с требованиями
СП 16.13330 на основании усилий, полученных по результатам расчета. Примеры конструктивного решения жесткого примыкания балок к колоннам приведены на
рисунке Б.4.
7.4.3 В рамно-связевой каркасной системе вертикальные и горизонтальные нагрузки воспринимают и передают основанию совместно вертикальные диафрагмы, связи или ядра жесткости и продольные и поперечные рамы с жесткими узлами сопряжения ригелей с колоннами.
7.5 Системы с использованием модулей заводской готовности
7.5.1 По конструктивной системе многоквартирные жилые здания со стальным каркасом с использованием модулей заводской готовности подразделяют на блочно-модульные, панельно-модульные, каркасно-модульные, ствольно-модульные [ГОСТ Р 71617-2024
(пункт 4.6)]. Конструктивные системы модульных зданий приведены на
рисунке 7.6.
а - блочно-модульная; б - панельно-модульная;
в - каркасно-модульная; г - ствольно-модульная
Рисунок 7.6 - Конструктивные системы модульных зданий
7.6 Смешанные каркасные системы
7.6.1 К смешанным каркасным системам относятся стальные каркасы с железобетонными диафрагмами и ядрами жесткости.
7.6.2 Железобетонные плоские диафрагмы жесткости следует использовать в связевых и рамно-связевых каркасах.
7.6.3 Ствольная конструктивная система применяется в 20 - 25-этажных зданиях.
7.7 Системы с каркасными стенами и перекрытиями из легких стальных тонкостенных конструкций
7.7.1 В каркасных зданиях такого типа несущие конструкции представляют собой каркасные стены и перекрытия из ЛСТК
(рисунок 7.7).
Рисунок 7.7 - Каркасное здание из ЛСТК
7.7.2 Требования к проектированию несущих конструкций из ЛСТК приведены в
разделе 11.
8 Расчет и анализ несущей системы здания
8.1 Характеристики материалов
8.1.1 Материалы для стальных конструкций следует принимать согласно СП 16.13330.2017
(раздел 5) и назначать в зависимости от группы конструкций по СП 16.13330.2017
(приложение В). Материалы для сварки стальных конструкций необходимо принимать в соответствии с СП 16.13330.2017
(приложение Г).
8.1.2 Материалы для железобетонных конструкций следует принимать согласно СП 63.13330.2018
(раздел 6).
8.1.3 Материалы для сталежелезобетонных конструкций следует принимать согласно СП 266.1325800.2016
(раздел 5).
8.1.4 При выборе стали следует учитывать уровень ответственности конструкций зданий и сооружений в соответствии с СП 16.13330.2017
(приложение В), а также требования
ГОСТ 23118 по изготовлению,
СП 70.13330 по монтажу и
СП 255.1325800 по эксплуатации.
8.1.5 По химическому составу металл проката должен соответствовать требованиям, указанным в СП 16.13330.2017
(таблица В.2), по хладостойкости - СП 16.13330.2017
(таблица В.1).
8.1.6 В случае, если элементы сварных конструкций испытывают растягивающие напряжения по толщине проката (
s >= 25 мм) или при применении стального проката толщиной свыше 40 мм, следует пользоваться указаниями СП 16.13330.2017
(пункт 13.3).
8.1.7 Материалы для ЛСТК следует принимать согласно СП 260.1325800.2023
(раздел 6).
8.2 Нагрузки и воздействия
8.2.1 При проектировании несущих и ограждающих конструкций, оснований и фундаментов многоэтажных зданий необходимо учитывать нагрузки и воздействия, указанные в
СП 14.13330,
СП 20.13330,
СП 296.1325800 и
СП 385.1325800 в основных и особых сочетаниях, определяемых с учетом реализации наиболее неблагоприятных условий работы конструктивных элементов здания. Коэффициенты основных сочетаний нагрузок следует определять в соответствии с
СП 20.13330 и
СП 385.1325800.
8.2.2 Коэффициент надежности по ответственности устанавливается в соответствии с ГОСТ 27751-2014
(раздел 10) генеральным проектировщиком по согласованию с заказчиком и приводится в задании на проектирование.
8.2.3 При проектировании и расчете многоэтажных зданий повышенного уровня ответственности (класс сооружения КС-3) необходимо учитывать особые сочетания нагрузок в соответствии с требованиями
СП 296.1325800 и
СП 385.1325800.
8.2.4 Коэффициент надежности по нагрузке

следует принимать для различных материалов в соответствии с
СП 20.13330 (для стальных конструкций

), который учитывает допуск по массе проката.
Коэффициенты надежности по нагрузке для ЛСТК следует принимать в соответствии с СП 260.1325800.2023
(подраздел 5.3).
8.2.5 Для многоэтажных зданий необходимо учитывать кратковременные нагрузки на покрытия стилобатных и подземных частей зданий от транспортных средств или мобильной пожарной техники.
8.2.6 Введение понижающего коэффициента сочетаний

к нормативным значениям нагрузок для помещений встроенных стоянок автомобилей и многоэтажных гаражей согласно СП 20.13330.2016 (
подразделы 6.7 и
6.8) не допускается.
8.2.7 Снеговые нагрузки следует определять в соответствии с СП 20.13330.2016
(раздел 10).
8.2.8 Ветровые нагрузки следует определять в соответствии с СП 20.13330.2016
(раздел 11).
8.2.9 Гололедные нагрузки необходимо учитывать при проектировании шпилей, решетчатых элементов конструкций в соответствии с требованиями СП 20.13330.2016
(раздел 12).
8.2.10 Расчет на температурные климатические воздействия необходимо выполнять в соответствии с СП 20.13330.2016
(раздел 13) и требованиями норм на проектирование конструкций в тех случаях, когда в несущих и ограждающих конструкциях зданий не предусмотрена компенсация соответствующих деформаций (перемещений).
8.3 Особенности и подходы к расчету каркасной конструктивной системы
8.3.1 Общая устойчивость многоэтажных каркасов обеспечивается:
- в вертикальных плоскостях - продольными и поперечными рамами с жестким сопряжением перекрытий с колоннами, наличием ядер жесткости, стен, вертикальных связевых ферм;
- в горизонтальной плоскости - наличием жестких дисков в виде сборных или монолитных перекрытий, объединенных со стальными балками или колоннами каркаса специальными связями (гибкими или жесткими упорами, арматурными выпусками и т.д.).
8.3.2 В расчетные сочетания воздействий должны включаться такие воздействия, которые оказывают наиболее неблагоприятное влияние на конструкции с точки зрения рассматриваемого предельного состояния. В расчетах конструкций могут быть использованы сочетания воздействий двух типов:
- основные, применяемые при проверке надежности в установившихся и переходных расчетных ситуациях;
8.3.3 Для зданий со сложными геометрическими формами и неоднозначным распределением постоянных и временных нагрузок рекомендуется проводить натурное и программное моделирование реальных условий эксплуатации.
8.3.4 При расчете устойчивости здания на опрокидывание следует рассматривать его конструктивную систему как жесткое недеформируемое тело. При расчете на опрокидывание удерживающий момент от вертикальной нагрузки должен превышать опрокидывающий момент от горизонтальной нагрузки с коэффициентом запаса 1,5.
8.3.5 В соответствии с
СП 20.13330 предельные горизонтальные перемещения верха многоэтажных зданий с учетом крена фундаментов при расчете по недеформированной схеме в зависимости от высоты здания
h не должны превышать
h/500 (
h - строительная высота здания, равная расстоянию от верха фундамента до срединной плоскости плиты покрытия). Перемещения верха определяют при действии нагрузок, отвечающих соответствующей расчетной ситуации по второй группе предельных состояний.
При расчете по деформированной схеме значения предельных горизонтальных перемещений верха здания должны также ограничиваться величиной h/500.
8.3.6 Допускается горизонтальные перемещения верха зданий с применением монолитных железобетонных конструкций в ядрах и стенах жесткости и перекрытий определять при пониженных упругих жесткостях железобетонных элементов. В первом приближении значения модуля упругости материала Eb допускается принимать с понижающими коэффициентами: 0,6 - для вертикальных сжатых элементов; 0,2 - для плит перекрытий (покрытий) при наличии трещин; 0,3 - при отсутствии трещин.
8.3.7 Расчет перекосов вертикальных этажных ячеек от неравномерных вертикальных и горизонтальных деформаций соседних несущих конструкций стен выполняют с учетом стадии возведения, а также времени и длительности приложения нагрузок. При этом необходимо учитывать работу основания. Величина перекосов не должна превышать значений, приведенных в СП 20.13330.2016
(подраздел Л.3.2).
8.3.8 При проектировании стыков стальных колонн зданий, которые в соответствии с
ГОСТ 27751 следует рассчитывать на аварийные воздействия и ситуации, необходимо учитывать возможную перемену знака продольного усилия при локальном разрушении конструкций. Примеры конструктивных решений стыков колонн приведены в
А.3.
8.3.9 Расчет стальных конструкций с учетом физической и геометрической нелинейности следует осуществлять в соответствии с СП 294.1325800.2017
(подраздел 4.1).
9 Проектирование несущих конструкций
9.1.2 Основными несущими элементами здания, проектируемого со стальным каркасом, являются:
а) колонны, воспринимающие всю или большую часть вертикальной нагрузки на здание;
б) система вертикальных связей в виде отдельных связевых панелей, либо в виде пространственных железобетонных ядер жесткости, либо в виде пространственных ферм жесткости, воспринимающих всю или большую часть горизонтальной нагрузки на здание;
в) балки перекрытий;
г) перекрытия;
д) аутригерные или иные распределительные конструкции многоэтажного здания.
9.1.3 В многоквартирных жилых зданиях перекрытия следует выполнять в виде сталежелезобетонных перекрытий по профилированному настилу, каркасно-обшивное перекрытие с применением ЛСТК, монолитными в съемной или несъемной опалубке, сборными из сплошных или многопустотных плит.
9.1.4 Ограждающие конструкции в зданиях со стальным каркасом выполняют согласно
разделу 10.
9.1.5 Примеры огнезащиты конструкций приведены в
приложении Г.
9.1.6 Требования к инженерным системам следует выполнять в соответствии с
разделом 12.
9.2.1 Фундаменты следует проектировать в зависимости от инженерно-геологических условий в соответствии с требованиями
СП 22.13330 и
СП 24.13330.
9.2.2 Ленточные фундаменты при проектировании зданий принимают в монолитном или сборно-монолитном исполнении с учетом конструкций подземной части здания при наличии мало изменяемых по сжимаемости оснований.
9.2.3 Плитные фундаменты следует проектировать постоянной или переменной толщины. Толщину плит, класс бетона и армирование следует определять по расчету.
9.2.4 Свайно-плитные фундаменты выполняют из монолитного железобетона под всей площадью здания в виде фундаментной плиты постоянной или переменной толщины и свай в соответствии с
СП 24.13330.
9.2.5 Конструкции подвала или подземных этажей рекомендуется выполнять в монолитном или сборно-монолитном варианте с вертикальными несущими элементами, расположенными соосно с колоннами каркаса.
9.2.6 Если вертикальные несущие элементы подвала и (или) первого этажа не выполнены по одной вертикальной оси, под ними следует располагать распределительные балки, балки-стенки или предусматривать утолщение перекрытий.
9.2.7 Для соединения стальной колонны с фундаментом следует предусматривать анкерные болты, к которым крепится база стальной колонны, согласно требованиям СП 43.13330.2012
(приложение Г) и
СП 513.1325800.
9.3.1 Колонны в каркасах многоэтажных зданий выполняют в стальном и сталежелезобетонном исполнении. Расчет стальных колонн следует проводить в соответствии с
СП 16.13330, расчет сталежелезобетонных колонн следует проводить в соответствии с
СП 266.1325800. В зависимости от применяемой конструктивной схемы колонны рассчитываются как центрально сжатый или внецентренно сжатый элементы. Раскрепление из плоскости следует обеспечивать жестким диском перекрытия и элементами жесткости. Расчетная длина стальных колонн, в этом случае, принимается согласно СП 16.13330.2017
(подраздел 10.3), а для сталежелезобетонных - согласно СП 63.13330.2018
(пункт 8.1.17).
Примеры поперечных сечений колонн представлены в
А.1.
9.3.2 В каждом стволе колонн минимизируют количество изменяемых сечений с целью обеспечения максимальной унификации сечений и размеров балок, связей, узлов, что существенно упрощает процесс изготовления конструкций.
9.3.3 Базы колонн следует проектировать так, чтобы их было возможно скрыть отделкой и средствами огнезащиты (без выхода на поверхность чистого пола болтов и гаек) в соответствии с требованиями
СП 16.13330.
9.3.4 Базы колонн рекомендуется проектировать с фрезерованным нижним торцом ствола колонны с обваркой по периметру заводской или монтажной сваркой.
Примеры конструктивных решений базы колонн представлены в
А.2.
9.3.5 При проектировании колонн следует определять уровни (этажи), на которых происходит изменение поперечного сечения. В зоне постоянного сечения колонны длина отправочного элемента не должна превышать 12 м.
9.3.6 Стыки рекомендуется размещать на высоте 800 - 1000 мм от уровня перекрытия для удобства сварки или закручивания болтов. Стыки двух- и трехэтажных колонн рекомендуется размещать в одном уровне.
9.3.7 Примеры конструктивных решений стыков колонн приведены в
А.3.
9.4 Балки и узлы сопряжения
9.4.1 Балочные клетки или отдельные балки являются основными элементами объединения каркаса в единую пространственную систему и служат основной несущей конструкцией перекрытия.
9.4.2 Балки рекомендуется проектировать высотой, исключающей или минимизирующей выступающую часть за нижнюю грань перекрытия в жилых помещениях. В связи с этим рекомендуется использовать составные балки сложного сечения с возможностью опирания перекрытия на нижнюю полку балок. В целях унификации также возможно использовать усиленную поясными листами прокатную балку в местах, где используемое для данного здания сечение не удовлетворяет расчетным требованиям.
При наличии кручения целесообразно применение балок прямоугольного трубного сечения.
9.4.3 Сопряжения второстепенных балок с главными должны соответствовать требованиям
9.4.2 с минимальной строительной высотой.
9.4.4 Расчет конструкций с ослаблением стенки для пропуска коммуникаций следует выполнять в соответствии с требованиями
СП 294.1325800, как балок с перфорированной стенкой (см.
Б.1.2).
9.4.5 Шаг колонн, образующих ячейку перекрытия, и раскладка балок внутри ячейки зависят от конструкции перекрытия. Перекрытия со сборными железобетонными плитами и монолитные перекрытия по несъемной опалубке (профилированному настилу) рекомендуется осуществлять по
рисунку 9.1,
а -
д, в которых расстояние между балками определяется размерами плит. Для монолитных перекрытий со съемной опалубкой рациональными являются схемы на
рисунке 9.1,
а и
е.
1 - главная балка; 2 - второстепенная балка; 3 - балка
для опирания настила (балка настила); 4 - колонна;
L - пролет; b - шаг колонн
Рисунок 9.1 - Варианты раскладки балок перекрытий
в ячейке каркаса
9.4.6 Шарнирное сопряжение балок с колоннами рекомендуется проектировать в виде соединения на болтах, работающих на срез.
9.4.7 Жесткие узлы сопряжения балок с колоннами рекомендуется использовать для повышения общей устойчивости стального каркаса, увеличения сетки колонн и при необходимости устройства консолей.
9.4.8 Примеры узлов шарнирного и жесткого сопряжения балок с колоннами приведены в
Б.2.
9.5.1 Элементы жесткости: связи (см.
Б.3), диафрагмы и ядра жесткости обеспечивают геометрическую неизменяемость конструктивной системы каркаса, а также жесткость, необходимую для обеспечения регламентированных нормами предельных отклонений здания по горизонтали от действия ветровых нагрузок.
9.5.2 Вместо сквозных вертикальных диафрагм жесткости могут применяться жесткие вставки, заполняющие отдельные ячейки между ригелями и колоннами.
9.5.3 В каркасных зданиях связевой конструктивной системы число и размеры плоских диафрагм определяются расчетом и должно быть не менее двух в каждом направлении. Наряду с диафрагмами жесткости допускается применение пространственных элементов замкнутой формы в плане (например, лестнично-лифтовые узлы из монолитного или сборного железобетона), называемые стволами или ядрами жесткости. При расположении элементов жесткости должно выполняться условие максимального приближения центра жесткостей к центру масс.
9.6.1 Междуэтажные перекрытия для многоквартирных жилых зданий со стальным каркасом подразделяют на группы:
- монолитные в инвентарной опалубке;
- монолитные в несъемной опалубке;
- монолитные в несъемной, включенной в работу опалубке из профилированного настила (сталежелезобетонные);
- из сборных железобетонных плит;
- с вкладышами из легкого бетона или минераловатных плит.
Примечание - Допустимы иные группы перекрытий.
9.6.2 Перекрытие над подвалом или подземным этажом, являющееся основанием для монтажа металлического каркаса, допускается выполнять из монолитного железобетона.
9.6.3 Применяемые конструктивные варианты перекрытий приведены в
приложении В.
9.6.4 Расчеты монолитных перекрытий выполняют согласно
СП 63.13330, а сталежелезобетонных балок и плит, а также профилированного настила - по
СП 266.1325800.
9.6.5 Для перекрытий из сборных железобетонных элементов следует применять многопустотные предварительно напряженные плиты стендового или безопалубочного формования.
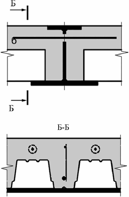
По боковым граням плит устанавливают связи сдвига, показанные на
рисунке 9.2. Для устройства связей допускается использовать выемки в верхних полках плит под монтажные петли.
1 - плита перекрытия; 2 - связи из арматурной стали
класса А240; 3 - закладные детали в плите перекрытий
(допускается устанавливать после монтажа перекрытия
или на заводе-изготовителе); 4 - бетон замоноличивания стыка
Рисунок 9.2 - Связи сдвига между многопустотными плитами
перекрытий безопалубочного формования
Количество связей и их диаметр определяются по расчету. Расчетные модели дисков перекрытий и указания по расчетам представлены в
СП 356.1325800.
При отсутствии связей сдвига, распор, возникающий между плитами перекрытий, воспринимается связевыми балками, и узлы соединения связевых балок с колоннами должны быть рассчитаны на восприятие этих усилий.
9.6.6 При устройстве холодных балконов путем выпуска многопустотных плит перекрытий за пределы ригеля необходимо изготавливать плиты с терморазрывом (термовкладышем). Плиты с терморазрывом должны содержать, как минимум, два армированных ребра, которые будут воспринимать усилия от консольной части плиты.
9.6.7 Плиты, изготовленные по стендовой опалубочной технологии, имеют по боковым поверхностям замкнутые шпонки, что упрощает создание горизонтального связевого диска жесткости.
9.7.1 В жилых и общественных зданиях с несущим стальным каркасом применяются:
- сборные железобетонные марши и площадки;
- монолитные лестничные марши и площадки;
- сборные железобетонные ступени по стальным косоурам;
- стальные ступени по стальным косоурам.
9.7.2 Основные параметры маршей и площадок лестниц и общие технические требования к ним приведены в
СП 54.13330, а также в
ГОСТ 9818.
10 Проектирование ограждающих конструкций, полов и кровель
10.1.1 Основные требования к конструкциям наружных стен жилых зданий:
- прочность;
- долговечность;
- энергоэффективность;
- коррозионная стойкость;
- пожарная безопасность;
- способность обеспечить благоприятный температурный режим внутренних помещений.
10.1.2 При проектировании необходимо устанавливать долговечность конструкций в соответствии с ГОСТ 27751-2014
(пункт 4.3). Учитывая, что сроки службы отдельных несущих и ограждающих конструкций могут быть приняты отличными от сроков службы здания, необходимо предусматривать возможность их замены и ремонтопригодность.
10.1.3 Для конструкции наружных стен следует применять следующие конструктивные решения:
- КОС с применением ЛСТК и обшивками из различных материалов, в том числе с использованием НФС с учетом требований
СП 522.1325800;
- навесные панели заводского изготовления (выполненные по технологии КОС, композитных конструкций), из сэндвич-панелей, панелей сборных железобетонных, легкобетонных панелей и других энергоэффективных конструкций;
- мелкоштучные материалы (кирпич, многопустотные керамические камни, ячеистобетонные блоки и т.д.) с утеплением и отделкой по технологии СФТК с учетом требований
СП 293.1325800 или с утеплением по технологии НФС с учетом требований
СП 522.1325800 с различными облицовочными материалами;
- светопрозрачные навесные фасадные системы.
10.1.4 Наружные стены применяют самонесущими или навесными, а для мало- и среднеэтажных зданий - несущими.
Классификация наиболее часто применяемых наружных стеновых ограждений приведена в
таблице 10.1.
Таблица 10.1
Примеры конструктивных вариантов
наружных стеновых ограждений
Тип стены | Конструктивное решение |
Каркасно-обшивные стены | Конструктивная система - каркасная (КОС) с каркасом из ЛСТК. Несущая схема - самонесущие с поэтажным опиранием и несущие для малоэтажного строительства. Метод монтажа - поэлементный или модульная сборка. Конструкция и материалы: несущие элементы каркаса стен - тонкостенные стальные профили ЛСТК, утеплитель - минераловатные плиты, обшивки из ГСП, различные плитные материалы. Фасадные облицовки из оцинкованного стального листа с полимерными покрытиями (по проекту) |
Заполнение каркаса сверхлегким теплоизоляционным пенобетоном | Конструктивная система - каркасная. Несущая схема - самонесущие с поэтажным опиранием и несущие для мало- и среднеэтажного строительства. Метод монтажа - поэлементный. Конструкция и материалы: несущие элементы каркаса стен - ЛСТК, заполнение каркаса сверхлегким теплоизоляционным пенобетоном, дополнительное наружное утепление минераловатными плитами (необязательно), обшивка цементно-стружечными плитами. Монтаж осуществляется по месту |
Заполнение каркаса мелкоштучными элементами: кирпич, многопустотные керамические камни, ячеистобетонные блоки и т.д. | Конструктивная система - каркасная. Несущая схема - самонесущие с поэтажным опиранием. Метод монтажа - поштучный. Конструкция и материалы: кладка стены из кирпича или отдельных блоков с возможным армированием горизонтальных швов, с возможным последующим утеплением минераловатными плитами или пенополистиролом с противопожарными рассечками из минераловатных плит |
10.1.5 Конструкция стены должна соответствовать требованиям, предъявляемым к ограждающим конструкциям:
- сопротивлению воздухопроницанию и паропроницанию -
СП 50.13330;
10.1.6 Требования к КОС приведены в
ГОСТ Р 58774. Такой тип стен имеет малый собственный вес, возможность выполнения работ при отрицательных температурах, устойчивость к сейсмическим нагрузкам.
10.1.7 Классификация КОС по конструктивному решению примыкания к несущим конструкциям здания приведена на
рисунке 10.1.
а - с полным опиранием на перекрытие; б - с частичным
опиранием на перекрытие; в - с опиранием на фундамент;
г - навесные
Рисунок 10.1 - Схемы примыкания
к несущим конструкциям здания
10.1.8 Кладка из мелкоштучных элементов (кирпича, ячеистобетонных блоков и т.п.) поэтажно опирается на балки или плиты перекрытий и заполняет пространство между колоннами или перед колоннами, в случае их заглубления. Кладка выполняется на растворе или на специальных клеях с возможным горизонтальным армированием. С наружной стороны на кладку следует монтировать СФТК либо НФС.
Устройство кладки из мелкоштучных элементов (кирпича, ячеистобетонных блоков и т.п.) и ее анкеровку к несущим конструкциям здания выполняют в соответствии с
СП 15.13330.
На
рисунке 10.2 показан фрагмент стены с применением блоков и СФТК, проектирование таких систем - в соответствии с
СП 293.1325800.
1 - балка; 2 - плита перекрытия; 3 - блоки ячеистобетонные;
4 - закладка балки блоками; 5 - дюбели пластиковые
тарельчатого типа для крепления утеплителя; 6 - утеплитель
(жесткие минераловатные плиты); 7 - тонкая штукатурка;
8 - упругая прокладка между балкой и блоками;
9 - гидроизоляционная прокладка (огнезащитное
покрытие условно не показано)
Рисунок 10.2 - Фрагмент стенового заполнения
с применением блоков ячеистого бетона и СФТК
Следует учитывать, что нанесение армированного базового слоя и декоративно-защитного слоя СФТК рекомендуется осуществлять при температурах наружного воздуха не ниже +5 °C.
10.2.1 Перегородки должны соответствовать назначению и внутренней отделке здания.
10.2.2 Конструкция перегородки должна удовлетворять требованиям, предъявляемым к ограждающим конструкциям:
- по сопротивлению воздухопроницанию и паропроницанию -
СП 50.13330;
10.2.3 При проектировании перегородок необходимо учитывать индекс звукоизоляции Rw, зависящий от назначения здания/помещения и расположения ограждения в его плане, а также от категории здания по уровню комфортности.
10.2.4 Межкомнатные и межквартирные перегородки допускается изготавливать из мелкоштучных материалов (газобетонные блоки, гипсобетонные пазогребневые плиты) или из листовых материалов (ГКЛ, цементные и фиброцементные плиты) по металлическому каркасу и других материалов.
10.2.5 Применяемые конструктивные решения и требования к перегородкам приведены в
таблице 10.2.
Таблица 10.2
Тип перегородок | Конструктивное решение |
Межквартирные |
Штучные из гипсовых плит | Толщина плит 100 или 80 мм. Кладка в два слоя по толщине стены |
Штучные из блоков (ячеистый бетон) | Толщина 200 мм. Кладка в один слой на цементно-песчаном растворе либо специальном клее с армированием и оштукатуриванием с двух сторон |
Поэлементной сборки на металлическом каркасе с наружной обшивкой из плитных материалов | Несущий каркас из гнутых тонкостенных стальных профилей с обшивкой листовым материалом и заполнение звукоизоляционными материалами |
Внутриквартирные |
Штучные из гипсовых плит | Толщина плит 100 и 80 мм. Кладка в один слой по толщине стены |
Штучные из блоков (ячеистый бетон) | Толщина 100 мм. Кладка в один слой на цементно-песчаном растворе либо специальном клее с армированием и последующим оштукатуриванием с двух сторон |
Поэлементной сборки на металлическом каркасе с наружной обшивкой из плитных материалов | Несущий каркас из гнутых тонкостенных стальных профилей с обшивкой листовым материалом и заполнение звукоизоляционными материалами |
Кирпичные | Из керамического или силикатного кирпича. Толщина в полкирпича. Применяются, в основном, для санузлов |
10.3 Конструкции и типы полов
10.3.1 Тип пола в жилых зданиях зависит от назначения помещения. Рекомендуемые типы покрытий полов приведены в СП 29.13330.2011
(приложение В).
Ниже приведены наиболее часто применяемые покрытия. В жилых комнатах применяют полы рулонные, например, линолеум, либо сборные - ламинат, паркет или паркетная доска. В кухнях применяют линолеум или полы с покрытием из керамической плитки. В санузлах следует применять полы из керамической плитки. В межквартирных коридорах на лестничных площадках - полы из керамической плитки.
10.3.2 Полы должны удовлетворять требованиям
СП 51.13330 по звукоизоляции, по показателям поверхностного теплоусвоения -
СП 50.13330.
10.4.1 В
таблице 10.3 представлены конструктивные решения основных типов кровель.
Таблица 10.3
Конструктивные решения основных типов кровель
Тип кровли | Конструктивные решения |
С наружным водоотводом |
Скатные неутепленные (с чердачным пространством) | Несущие конструкции: балки, прогоны, настилы и др. Возможно с применением ЛСТК. Кровля: стальной оцинкованный лист, профилированный настил |
Скатные утепленные (без чердака) | Несущие конструкции: железобетонные плиты. Кровля рулонная из битумно-полимерных рулонных материалов или кровельных мембран ПВХ |
С внутренним водоотводом |
Скатные неутепленные (с чердаком) | Несущие конструкции: балки, прогоны, настилы и др. Возможно с применением ЛСТК. Кровля рулонная из битумно-полимерных рулонных материалов, стального профилированного настила |
Несущие конструкции: сборные железобетонные плиты перекрытий. Кровля из битумно-полимерных рулонных материалов или кровельных мембран ПВХ |
Несущие конструкции: профилированный настил по ГОСТ 24045, совмещающий функции кровли |
Плоские утепленные (совмещенная кровля) | Несущие конструкции: - перекрытие с применением сборных железобетонных плит; - монолитные перекрытия; - перекрытия из ЛСТК. Кровля из битумно-полимерных рулонных материалов или кровельных мембран ПВХ |
Плоские неутепленные с чердачным пространством | Несущие конструкции: - покрытие с применением сборных железобетонных плит; - балки, прогоны, настилы и др. Возможно с применением ЛСТК. Кровля из битумно-полимерных рулонных материалов или кровельных мембран ПВХ |
10.4.2 Уклон кровли определяется в зависимости от конструктивного решения и применяемого материала согласно СП 17.13330.2017
(таблица 4.1).
В жилых зданиях, как правило, устраивают внутренний организованный водоотвод согласно СП 17.13330.2017
(раздел 9).
10.4.3 Требования к паро- и теплоизоляции утепленных крыш приведены в
СП 17.13330.
10.4.4 При устройстве плоских эксплуатируемых крыш следует предусматривать места для сброса снега, убираемого в зимний период.
10.4.5 Плоские неэксплуатируемые крыши следует выполнять с водоизоляционным слоем из рулонных (битумно-полимерных, полимерных) или мастичных (битумных, битумно-полимерных, полимерных) материалов в соответствии с требованиями
СП 17.13330.
10.4.6 Скатные неутепленные и утепленные крыши с наружным водоотводом применяют для зданий малой этажности, что обусловлено необходимостью удаления наледи на карнизах. Для зданий высотой выше пяти этажей применяют скатные крыши с уклоном внутрь здания (с внутренним водоотводом). Проектирование скатных крыш выполняют в соответствии с требованиями
СП 17.13330.
11 Применение легких стальных тонкостенных конструкций
11.1 Конструктивные решения малоэтажных зданий на базе ЛСТК следует разрабатывать в соответствии с требованиями
СП 260.1325800.
11.2 При расчете ЛСТК проверка на местную устойчивость должна предшествовать расчету по прочности.
11.3 На
рисунке 11.1 показано конструктивное решение каркаса стеновой панели. Горизонтальные и дополнительные диагональные связевые элементы между вертикальными стойками обеспечивают необходимую жесткость каркаса панели.
С-1, С-2, С-3 - стойки; Б-1, Б-2, СВ-1 - горизонтальные
элементы; СВ-2 - дополнительные связи (СВ-2 - демонтируется
после установки каркаса на место); У-1 - элемент крепления;
L - длина панели; b - толщина панели
Рисунок 11.1 - Каркас стеновой панели
11.4 Узлы сопряжения элементов каркаса - шарнирные, примеры приведены на
рисунке 11.2.
Рисунок 11.2 - Примеры узлов сопряжения элементов каркаса
Сопряжения элементов каркаса следует осуществлять в соответствии с требованиями
СП 260.1325800.
Крепление сопрягаемых элементов рекомендуется осуществлять самонарезающими винтами.
11.5 Для повышения тепло- и звукоизоляционных характеристик конструкции, коррозионной защиты каркаса, повышения долговечности и эксплуатационной надежности зданий заполнение каркаса может быть выполнено, например, из минеральной ваты, из легкого бетона, в том числе пенобетона неавтоклавного твердения плотностью от 200 кг/м
3 и выше по
ГОСТ 25485, и других материалов.
11.6 Конструктивное решение междуэтажных перекрытий в значительной мере зависит от размера перекрываемого пролета и нагрузок на перекрытие.
Применяются следующие конструкции перекрытий:
- опирающийся на балочные фермы профилированный лист с армированной бетонной стяжкой
(рисунок 11.3);
- опирающийся на прогоны из С-образных холодногнутых профилей профилированный лист с армированной бетонной стяжкой;
- балочное перекрытие с жестким диском из армированного конструкционного пенобетона.
Примечание - Допускаются иные виды перекрытий при условии подтверждения их несущей способности.
Рисунок 11.3 - Пример конструкции перекрытия по прогонам
из балочных ферм
11.7 Распространенным вариантом является укладка профилированного настила по прогонам из С-образных холодногнутых оцинкованных профилей
(рисунок 11.4).
1 - балка; 2 - прогон; 3 - подвеска; 4 - саморез;
5 - упорный брусок
Рисунок 11.4 -
Узел опирания прогона
Балки и прогоны допускается выполнять из 2-х спаренных С-образных швеллеров
(рисунок 11.4). В стенках прогонов могут быть выполнены технологические отверстия для пропуска коммуникаций.
11.8 Устойчивость прогонов из плоскости
(рисунок 11.5) обеспечивается связями и соединительными элементами.
1 - прогон; 2 - связи; 3 - соединительные элементы
Рисунок 11.5 -
Фрагмент прогонов со связями
для обеспечения устойчивости
Связи допускается также выполнять в виде С-образных швеллеров или диагональных пластин, установленных между всеми прогонами.
11.9 При применении балочного перекрытия с жестким диском из армированного пенобетона несущие балки выполняют из С-образных профилей ЛСТК, сечение и шаг которых определяют расчетом. К нижнему поясу балок через дистанционный профиль подшивают несъемную опалубку из водостойких плит на цементной основе, после чего выполняют обетонирование перекрытий. Основной объем перекрытия заполняют теплоизоляционным пенобетоном, верхний слой выполняют из конструкционного пенобетона, армированного стальной сеткой
(рисунок 11.6).
Рисунок 11.6 - Балочное перекрытие с жестким диском
из армированного конструкционного пенобетона
11.10 Опирание балок допускается осуществлять на несущие стойки стеновых панелей.
Пространственная жесткость и устойчивость здания обеспечивается несущими продольными и поперечными стенами и перекрытиями, связывающими стены.
12 Требования к инженерным системам и инженерному оборудованию
12.1.2 Инженерные сети и оборудование зданий со стальным каркасом должны соответствовать санитарно-эпидемиологическим и экологическим требованиям по охране здоровья людей и окружающей среды, а также нормам технической эксплуатации.
12.1.3 В технических помещениях горизонтальные магистральные сети должны быть изолированы и размещены открыто.
12.1.4 Кабельные линии и электропроводки должны быть защищены от механических повреждений в процессе эксплуатации, а также сохранять устойчивое положение. Выбор материалов для прокладки в них кабеля и способы его прокладки должны осуществляться с учетом маркировки, документа оценки соответствия и подтверждения безопасности кабеленесущих систем.
12.1.5 При применении инженерных систем мусороудаления (мусоропроводов, в том числе предусматривающих раздельный сбор мусора, или иных инженерно-технических устройств) следует руководствоваться требованиями СП 54.13330.2022
(раздел 7).
12.2.1 Тепловые пункты и ИТП, включая коммуникации, оборудование и параметры помещений, проектируют согласно
СП 510.1325800 и
СП 60.13330.
12.2.3 Оборудование теплового пункта и ИТП, являющееся источником вибраций, а также трубопроводы или опоры трубопроводов следует крепить к несущим и ограждающим конструкциям с устройством виброизоляции, согласно
СП 510.1325800 и
СП 51.13330.
12.2.4 В помещениях тепловых пунктов и ИТП, размещаемых в жилых зданиях, предусматривают шумоизоляцию ограждающих и несущих конструкций, вентиляции и коммуникаций с учетом
СП 510.1325800, которая должна обеспечивать нормируемые уровни шума в смежных помещениях, согласно
СП 51.13330.
12.2.5 В помещениях тепловых пунктов и ИТП, размещаемых в жилых зданиях, предусматривают теплоизоляцию ограждающих и несущих конструкций, а при необходимости оборудования, вентиляции и коммуникаций с учетом
СП 50.13330,
СП 61.13330,
СП 510.1325800, которая должна исключать теплопоступления из помещения теплового пункта в смежные с ним помещения, приводящие к отклонению от нормируемого температурного режима.
За счет выполнения утепления, поддержания расчетной температуры и влажности воздуха исключаются условия, вызывающие конденсацию влаги и возникновение коррозии на поверхности несущих и ограждающих конструкций.
12.3 Системы водоснабжения и водоотведения
12.3.1 В зданиях необходимо запроектировать водопроводы:
- горячей воды;
- холодной воды;
- бытового водоотведения;
- внутренний противопожарный;
- водосточный.
12.3.2 Устанавливаемые насосные агрегаты с регулируемым приводом должны обеспечивать на отметке наиболее низко расположенного санитарно-технического прибора нормируемый гидростатический напор.
12.3.3 Хозяйственно-питьевой водопровод вне квартиры следует располагать отдельно от системы внутреннего противопожарного водопровода.
12.3.4 Полотенцесушители рекомендуется подключать к водоразборному стояку через запорную арматуру с целью улучшения гидравлических характеристик системы горячего водоснабжения и возможности их замены.
12.3.5 Для водоотведения из технических помещений (ИТП, насосные, водомерный узел, вентиляционные камеры приточных установок) следует выполнять дренажные приямки с насосами.
12.3.6 Для отвода дренажа систем кондиционирования рекомендуется предусмотреть трапы, дренажные стояки и т.д. Допускается отведение в стояки канализации через капельную воронку.
12.3.7 Отвод дождевых стоков следует выполнять через водосточные воронки с электроподогревом.
12.3.8 В зданиях должен быть предусмотрен внутренний противопожарный водопровод в соответствии с требованиями
СП 10.13130.
12.4 Системы электроснабжения
Обеспечение качества электроэнергии и уровня напряжения следует предусмотреть в соответствии с требованиями
ГОСТ 32144.
12.4.2 Вводно-распределительное устройство должно быть подключено к трансформаторной подстанции по радиальной схеме двумя взаимно резервируемыми кабельными линиями.
Кабели с медными жилами следует выбирать в соответствии с требованиями
ГОСТ Р 50571.5.52.
12.4.3 Главный распределительный щит и вводно-распределительное устройство должны быть размещены в специально выделенных помещениях здания.
12.4.4 Приборы учета потребления электроэнергии следует устанавливать во внеквартирных коридорах или общественных зонах в специальных запирающихся шкафах.
12.5 Связь и сигнализация
12.5.1 Здания необходимо оснащать системами связи, сигнализации, автоматизации и диспетчеризации в соответствии с заданием на проектирование, а также
СП 133.13330,
СП 134.13330 и другими нормативными документами в области пожарной безопасности.
12.5.2 В здании следует организовать систему коллективного приема телевизионных сигналов обязательных общедоступных телеканалов, по которым происходит оповещение о чрезвычайных ситуациях. В состав системы входит распределительная сеть. Система должна соответствовать
ГОСТ Р 52023 и обеспечивать уровень сигнала в 60 - 80 дБ.
12.5.3 Необходимо в здании предусмотреть устройство системы телефонной связи с выходом на общую телефонную сеть, а также сети, объединяющей центральное и местное радиовещание и способную передавать сообщения о пожаре и стихийных бедствиях.
12.5.4 В соответствии с заданием на проектирование здания допускается оборудовать автоматической системой, предназначенной для измерения с последующей передачей данных о потребленных: электроэнергии, горячего и холодного водоснабжения. Передачу допускается осуществлять по кабельной сети или радиосигналом.
12.5.5 В соответствии заданием на проектирование предусматривают установку: домофонов, системы охранной сигнализации, местной телефонной связи и телевидения, устройств сигнализации о затоплении, системы пожарной автоматики, системы пожарной сигнализации, системы оповещения и управления эвакуацией людей при пожаре и других систем.
12.6.1 В зданиях следует предусматривать систему вентиляции, а также систему противодымной защиты в соответствии с требованиями
СП 60.13330,
СП 118.13330 и другими нормативными документами в области пожарной безопасности.
Проектирование систем вентиляции встроенных и встроенно-пристроенных нежилых помещений общественного назначения следует осуществлять по соответствующим нормам с учетом задания на проектирование.
12.6.2 Вентиляция помещений должна обеспечивать нормативный воздухообмен круглогодично. Для организации притока в оконных блоках должны предусматриваться приточные клапаны, подающие воздух в верхнюю зону помещения, и иные способы подачи воздуха в соответствии с
СП 60.13330. Приточные устройства должны давать возможность регулирования расхода приточного воздуха.
12.6.3 При невозможности обеспечения нормативного воздухообмена круглогодично системами вентиляции с естественным побуждением там, где это требуется в соответствии с
СП 60.13330 и
СП 118.13330, следует применять механические системы вентиляции.
12.6.4 Вентиляцию встроенных (встроенно-пристроенных) нежилых помещений общественного назначения следует предусматривать автономной от вентиляционных систем жилой части зданий.
13 Требования по обеспечению долговечности элементов зданий со стальным каркасом. Обеспечение коррозионной стойкости конструкций зданий
13.1 Проектирование несущих конструкций здания следует производить с учетом их расчетного срока службы, который определяется в соответствии с требованиями
ГОСТ 27751 в зависимости от класса сооружения. Для жилых многоэтажных зданий нормального уровня ответственности и класса сооружения КС-2 принимают расчетный срок службы не менее 50 лет. При этом применение для несущих конструкций сталей в соответствии с
ГОСТ 14918,
ГОСТ 27772, а также положениями
СП 16.13330,
СП 260.1325800, болтовых и сварных соединений - в соответствии с требованиями
СП 16.13330 при нормативной эксплуатации обеспечивает заданный расчетный срок службы.
Заданный срок службы конструкций обеспечивается прежде всего за счет качественного изготовления. В случае необходимости применяется дополнительная защита конструкций.
13.2 Ограждающие конструкции, инженерные сети и системы, отделочные материалы имеют меньший срок службы, но их замена или ремонт, в том числе капитальный, не столь трудоемки, как ремонт или замена несущих конструкций.
Основной причиной снижения расчетного срока службы несущих конструкций является коррозия. Защита от коррозии конструкций обеспечивается подбором материалов, качеством изготовления конструкций и их дополнительной защитой.
13.3 Защиту стальных конструкций следует выполнять согласно СП 28.13330.2017
(раздел 9). Степень агрессивного воздействия среды следует определять согласно СП 28.13330.2017
(подраздел 9.1). Требования к материалам и конструкциям приведены в СП 28.13330.2017
(подраздел 9.2). Требования к защите от коррозии поверхностей стальных конструкций следует принимать согласно СП 28.13330.2017
(подраздел 9.3).
13.4 Способы защиты от коррозии стальных конструкций приведены в СП 28.13330.2017 (
таблицы Ц.1 -
Ц.7).
13.5 Выбор способа защиты от коррозии представляет собой комплексную задачу с учетом технико-экономических и эксплуатационных показателей. Для жилых зданий наиболее доступным способом защиты от атмосферной коррозии элементов каркаса является нанесение на их поверхность защитных лакокрасочных покрытий [СП 28.13330.2017
(таблица Ц.7) и
ГОСТ 34667.2].
13.6 Наиболее распространенный способ защиты стальных конструкций состоит из этапов: очистка поверхности, грунтовка и окраска эмалью. Количество наносимых слоев и группа лакокрасочных материалов зависят от агрессивности среды, в которой будут использоваться изготавливаемые конструкции. Так как конструкции в жилых зданиях закрыты для визуального осмотра, защита от коррозии несущих элементов должна быть рассчитана на весь срок службы здания.
13.7 Защиту железобетонных конструкций фундаментов и перекрытий от коррозии следует выполнять согласно СП 28.13330.2017
(раздел 5),
СП 229.1325800 и
ГОСТ 31384. Защита сталежелезобетонных конструкций от коррозии осуществляется так же, как и для железобетонных конструкций.
13.8 Проектирование защиты от коррозии строительных конструкций из стальных тонкостенных холодногнутых профилей выполняют в соответствии с требованиями
СП 28.13330,
ГОСТ 9.107 и других нормативных документов.
13.9 Мероприятия по защите железобетонных конструкций следует принимать согласно СП 28.13330.2017 (
пункты 5.1.1 и
5.1.2), СП 229.1325800.2014 (
пункты 4.3 и
4.4).
13.10 Классификацию и степень агрессивного воздействия сред на конструкции подземных частей зданий и коммуникаций из бетона и железобетона следует определять по
ГОСТ 31384, СП 28.13330.2017
(подраздел 5.2), а также СП 229.1325800.2014
(подраздел 5.2). Способ защиты железобетонных конструкций следует выбирать согласно СП 28.13330.2017
(подраздел 5.3). Требования к материалам и конструкциям приведены в СП 28.13330.2017
(подраздел 5.4) и СП 229.1325800.2014
(раздел 6).
(рекомендуемое)
СТАЛЬНЫЕ КОЛОННЫ
А.1 Формы поперечного сечения колонн
Примеры поперечных сечений колонн приведены на
рисунке А.1.
1 - бетонное ядро; 2 - труба;
3 - продольная стержневая арматура
Рисунок А.1 - Примеры поперечных сечений колонн
В опорной плите должны быть предусмотрены отверстия для контроля заполнения раствором (бетоном) зазора между опорной плитой и фундаментом. Зазор между фундаментом и опорной плитой до выполнения подливки должен составлять не менее 75 - 100 мм. Для подливки следует использовать бетоны на мелком заполнителе с пластифицирующими добавками, повышающими подвижность бетонной смеси, класса прочности выше на одну ступень класса бетона фундамента.
Базы колонн
(рисунок А.2) рекомендуется проектировать с фрезерованным нижним торцом ствола колонны с обваркой по периметру заводской или монтажной сваркой.
а - из двутаврового профиля; б - из прямоугольной трубы;
в - из трубы круглого сечения; R - радиус;
d - диаметр отверстия
Примечание - Толщина подливки обычно составляет 50 - 100 мм и назначается из условий монтажа.
Рисунок А.2 - Примеры баз колонн
Узлы стыков колонн рекомендуется оформлять в виде болтового или сварного соединения на накладках. Пример стыка колонны на фланцах с размещением болтов внутри двутавра представлен на
рисунке А.3,
а; на фланцах для колонны прямоугольного замкнутого сечения - на
рисунке А.3,
б; с помощью металлической пластины - на
рисунке А.3,
в. Болты на накладках следует также рассчитывать на ветровые нагрузки, которые воспринимает отправочный элемент колонны, не раскрепленной балками и перекрытием, в момент монтажа. Ветровую нагрузку следует определять, как для сквозной конструкции, в соответствии с требованиями
СП 20.13330.
а - на фланцах с размещением болтов внутри двутавра;
б - прямоугольного замкнутого сечения на фланцах;
в - замкнутого сечения на накладках
Рисунок А.3 - Стыки колонн
(рекомендуемое)
СТАЛЬНЫЕ БАЛКИ И СВЯЗИ
Б.1 Стальные балки и их сопряжения
Б.1.1 В стадии эксплуатации балки следует рассчитывать как изгибаемые в одном направлении элементы по
СП 16.13330, в которых сжатый пояс раскреплен из плоскости жестким диском перекрытия
(рисунок Б.1). При выполнении требований СП 16.13330.2017
(пункт 8.4.4) общая устойчивость балок считается обеспеченной и расчетом не проверяется.
а - при небольших опорных реакциях второстепенных балок;
б - при значительных опорных реакциях второстепенных балок;
в - сопряжение главной и второстепенной балок прямоугольного
сечения; Kf - катет сварного шва; t - толщина элемента
Рисунок Б.1 - Сопряжения второстепенных балок с главными
Б.1.2 При необходимости пропуска инженерных коммуникаций в стенках балок (в том числе выполненных из замкнутого профиля) в заводских условиях следует устраивать отверстия соответствующего размера - круглые или прямоугольные
(рисунок Б.2).
Рисунок Б.2 - Примеры возможных узлов пропуска коммуникаций
Отверстия размещают в зоне действия минимальных поперечных сил - в средней трети пролета балки независимо от условий ее опирания (жесткое или шарнирное). Расчет конструкций с ослаблением стенки для пропуска коммуникаций выполняют в соответствии с требованиями СП 294.1325800.2017
(подраздел 20.5), как балок с перфорированной стенкой.
Б.2 Сопряжение балок с колоннами
На
рисунках Б.3 и
Б.4 приведены примеры узлов шарнирного и жесткого сопряжения балок с колоннами.
--------------------------------
<*> Болты фланцевого соединения в местах сопряжения с балкой условно не показаны, расширенный нижний пояс балки условно не показан.
а - балка и колонна из двутавровых профилей; б - балка
прямоугольного замкнутого профиля, колонна - двутаврового;
в - балка двутаврового профиля, колонна - прямоугольного
замкнутого; г - балка неравнополочного двутаврового профиля,
колонна - прямоугольного замкнутого с фланцевым соединением;
д - балка двутаврового профиля, колонна - круглого
Рисунок Б.3 - Шарнирное сопряжение балок с колонной
а, б - фланцевое сопряжение двутавровых сечений;
в - сопряжение колонны круглого сечения с двутавровой
балкой на болтах; г - сопряжение двутавровых сечений
с накладками по верхнему и нижнему поясам - слева на сварке,
справа на болтах; t - толщина элемента
Рисунок Б.4 - Жесткое сопряжение балок с колонной
Болты, работающие на срез, следует рассчитывать и размещать в соединении в соответствии с требованиями СП 16.13330.2017
(подраздел 14.2). Рекомендуются к применению болты классов прочности 8.8 и 10.9 класса точности B диаметром от 16 до 30 мм.
Болты фрикционных соединений следует рассчитывать и размещать в соответствии с требованиями СП 16.13330.2017
(подраздел 14.3). Рекомендуются к применению болты класса прочности 10.9 класса точности B диаметром от 20 до 27 мм.
Б.3.1 По высоте здания связи не должны прерываться и должны иметь горизонтальный переход на другой ряд колонн. Основной сложностью при компоновке связей является учет наличия проемов в вертикальных плоскостях
(рисунок Б.5). В некоторых случаях допускается использовать крепление связи к ригелю с эксцентриситетом.
Рисунок Б.5 - Формы вертикальных связей многоэтажных зданий
Б.3.2 В качестве связей используют симметричные сечения в виде труб, прокатных двутавров, двойных уголков и швеллеров
(рисунок Б.6).
а - сечения связей; б - пример примыкания связи, выполненной
из трубы прямоугольного сечения, к колонне прямоугольного
сечения, выполненной из замкнутого профиля
Рисунок Б.6 - Стальные связи
(рекомендуемое)
КОНСТРУКТИВНЫЕ РЕШЕНИЯ ПЕРЕКРЫТИЙ
Таблица В.1
Примеры конструктивных вариантов перекрытий
со стальными балками
Тип перекрытий | Конструктивное решение | Эскиз |
Монолитные железобетонные, изготовленные в инвентарной опалубке | Опирание на верхнюю полку с анкерами | |
С вутами, опирание на верхнюю полку с анкерами | |
Опирание на верхнюю полку с анкерами, балка частично обетонирована | |
Со сталежелезобетонной балкой | |
Комплексное с передачей усилий на нижний пояс | |
Монолитные железобетонные по включенной в работу несъемной опалубке из профилированного настила | Опирание на верхнюю полку с анкерами | |
Опирание на частично обетонированную балку с анкерами | |
Стальная балка и плита объединены с помощью упоров в виде арматурных стержней (стержней-упоров), пропущенных сквозь отверстия в стенке балки | |
Из сборных железобетонных многопустотных плит | Опирание на верхний пояс. Опирание производят на уширенный нижний пояс металлической балки. Поперек балки устанавливается металлический каркас длиной не менее 1200 мм при условии требуемой длины опирания плит перекрытия на металлическую балку | |
Опирание на частично обетонированную балку через стальной лист | |
Перекрытие с камнями-вкладышами из легкого бетона и монолитной плитой по металлическим балкам | Опирание на частично обетонированную балку | |
(рекомендуемое)
СПОСОБЫ ОГНЕЗАЩИТЫ КОНСТРУКЦИЙ
Г.1 Для колонн, одна из полок которых находится в стеновом ограждении из штучных материалов (кирпич, блоки различных видов), применяют облицовку листовыми материалами, схема приведена на
рисунке Г.1.
Рисунок Г.1 - Примерная схема облицовки стальной колонны,
находящейся в составе ограждающей конструкции, листовыми
материалами типа ГКЛ, ГВЛ в один слой
(ограждающая стеновая конструкция показана условно)
Г.2 Способы огнезащиты перекрытия/покрытия, в том числе с несъемной опалубкой из профилированного настила, приведены на
рисунках Г.2 -
Г.4.
Рисунок Г.2 - Схема огнезащиты двутавровой балки перекрытия
а - пример выполнения узла наружной стены; б - пример
выполнения внутренней стены, разделяющей квартиру и коридор;
1 - минеральная фасадная штукатурка; 2 - утеплитель
пенополистирол; 3 - тарельчатый дюбель; 4 - вставка
из минераловатной плиты; 5 - газобетонный блок;
6 - эластичная прокладка; 7 - оконный блок;
8 - цементно-песчаная штукатурка; 9 - цементно-песчаная
стяжка; 10 - сборная железобетонная плита;
11 - железобетонная перемычка; 12 - откос из сэндвич-панели;
13 - контур колонны каркаса; 14 - огнезащита балки;
15 - контур огнезащиты колонны; 16 - огнезащита колонны
Рисунок Г.3 - Схема отделки и огнезащиты конструкций
сборного перекрытия
а - пример выполнения узла наружной стены (тип 1);
б - пример выполнения узла наружной стены (тип 2);
в - пример выполнения узла внутренней стены, разделяющей
квартиру и коридор (тип 1);
1 - минеральная фасадная штукатурка; 2 - утеплитель
пенополистирол; 3 - тарельчатый дюбель; 4 - вставка
из минераловатной плиты; 5 - газобетонный блок;
6 - эластичная прокладка; 7 - оконный блок;
8 - цементно-песчаная штукатурка; 9 - цементно-песчаная
стяжка; 10 - монолитная железобетонная плита; 11 - подвесной
потолок; 12 - железобетонная перемычка; 13 - откос
из сэндвич-панели; 14 - контур колонны каркаса; 15 - контур
огнезащиты колонны; 16 - минераловатный утеплитель;
17 - конструкция пола; 18 - гравий керамзитовый; 19 - контур
балки каркаса; 20 - балка каркаса; 21 - огнезащита
Рисунок Г.4 - Схема отделки и огнезащиты конструкций
монолитного покрытия
Г.3 Для повышения эффективности огнезащиты стальных тонкостенных конструкций рекомендуется выполнить заполнение свободного пространства негорючими материалами (примеры представлены на
рисунках Г.5 и
Г.6).
Рисунок Г.5 - Схема заполнения пространства в сечении
1 - материал рулонный; 2 - огнезащитный состав;
3 - огнезащитная плита; 4 - холодногнутый оцинкованный
профиль ЛСТК
Рисунок Г.6 - Схема технического решения с заполнением
Г.4 Для огнезащиты несущих конструкций из тонкостенных оцинкованных профилей допускается использовать теплоизоляционный пенобетон неавтоклавного формования плотностью 250 - 300 кг/м
3. Для этого в конструкциях стен, перекрытий и покрытий зданий несущие холодногнутые оцинкованные профили должны быть окружены пенобетоном, а со стороны, подвергающейся огневому воздействию, также защищены слоем пенобетона толщиной не менее 20 мм и плитным материалом несъемной опалубки. Примеры конструктивных решений каркасных стен и перекрытий, защищенных пенобетоном, приведены на
рисунке Г.7.
а - внутренняя стена; б - перекрытие
Рисунок Г.7 - Пример огнезащиты конструкций
жилых домов из ЛСТК
Г.5 При двутавровом сечении стальных тонкостенных конструкций рекомендуется применять вставку-усиление между профилями в виде стальной пластины на всю длину
(таблица Г.1). В случае невозможности обеспечения закрытого коробчатого сечения на всю длину конструкции или невозможности применения вставки-усиления считают приведенную толщину металла по участку без усиления.
Таблица Г.1
Способы усилений конструкций
Способы усилений конструкций | Поперечное сечение (с усилением) | Расчетное сечение |
Сплошное усиление по длине элемента |
| | |
| | |
| | |
Усиление участками по длине элемента |
| | |
| | |
| | |
[1] Федеральный
закон от 30 декабря 2009 г. N 384-ФЗ "Технический регламент о безопасности зданий и сооружений"
[2] Федеральный
закон от 27 декабря 2002 г. N 184-ФЗ "О техническом регулировании"
[3] Федеральный
закон от 23 ноября 2009 г. N 261-ФЗ "Об энергосбережении и о повышении энергетической эффективности и о внесении изменений в отдельные законодательные акты Российской Федерации"
[4] Федеральный
закон от 29 декабря 2004 г. N 190-ФЗ "Градостроительный кодекс Российской Федерации"
[5] Федеральный
закон от 22 июля 2008 г. N 123-ФЗ "Технический регламент о требованиях пожарной безопасности"
[6]
Постановление Правительства Российской Федерации от 16 февраля 2008 г. N 87 "О составе разделов проектной документации и требованиях к их содержанию"
[7]
СанПиН 1.2.3685-21 Гигиенические нормативы и требования к обеспечению безопасности и (или) безвредности для человека факторов среды обитания
[8] Федеральный
закон от 10 января 2002 г. N 7-ФЗ "Об охране окружающей среды"
[9] Федеральный
закон от 21 декабря 1994 г. N 69-ФЗ "О пожарной безопасности"
[10] ПУЭ Правила устройства электроустановок (7-е изд.)