Главная // Актуальные документы // ГОСТ Р (Государственный стандарт)СПРАВКА
Источник публикации
М.: ФГБУ "РСТ", 2022
Примечание к документу
Документ
введен в действие с 01.02.2023.
Название документа
"ГОСТ Р 70192-2022. Национальный стандарт Российской Федерации. Перекрытия каркасно-обшивные сухого типа. Система перекрытия с каркасом из стальных холодногнутых оцинкованных профилей. Общие технические требования"
(утв. и введен в действие Приказом Росстандарта от 29.06.2022 N 546-ст)
"ГОСТ Р 70192-2022. Национальный стандарт Российской Федерации. Перекрытия каркасно-обшивные сухого типа. Система перекрытия с каркасом из стальных холодногнутых оцинкованных профилей. Общие технические требования"
(утв. и введен в действие Приказом Росстандарта от 29.06.2022 N 546-ст)
Утвержден и введен в действие
агентства по техническому
регулированию и метрологии
от 29 июня 2022 г. N 546-ст
НАЦИОНАЛЬНЫЙ СТАНДАРТ РОССИЙСКОЙ ФЕДЕРАЦИИ
ПЕРЕКРЫТИЯ КАРКАСНО-ОБШИВНЫЕ СУХОГО ТИПА.
СИСТЕМА ПЕРЕКРЫТИЯ С КАРКАСОМ
ИЗ СТАЛЬНЫХ ХОЛОДНОГНУТЫХ ОЦИНКОВАННЫХ ПРОФИЛЕЙ
ОБЩИЕ ТЕХНИЧЕСКИЕ ТРЕБОВАНИЯ
Dry-type frame-sheathing floors.
The sructure with the frame of cold-formed zinc-coated steel
profiles. General technical requirements
ГОСТ Р 70192-2022
Дата введения
1 февраля 2023 года
1 РАЗРАБОТАН Ассоциацией "Объединение участников бизнеса по развитию стального строительства" (АРСС)
2 ВНЕСЕН Техническим комитетом по стандартизации ТК 144 "Строительные материалы и изделия"
3 УТВЕРЖДЕН И ВВЕДЕН В ДЕЙСТВИЕ
Приказом Федерального агентства по техническому регулированию и метрологии от 29 июня 2022 г. N 546-ст
4 ВВЕДЕН ВПЕРВЫЕ
Правила применения настоящего стандарта установлены в статье 26 Федерального закона от 29 июня 2015 г. N 162-ФЗ "О стандартизации в Российской Федерации". Информация об изменениях к настоящему стандарту публикуется в ежегодном (по состоянию на 1 января текущего года) информационном указателе "Национальные стандарты", а официальный текст изменений и поправок - в ежемесячном информационном указателе "Национальные стандарты". В случае пересмотра (замены) или отмены настоящего стандарта соответствующее уведомление будет опубликовано в ближайшем выпуске ежемесячного информационного указателя "Национальные стандарты". Соответствующая информация, уведомление и тексты размещаются также в информационной системе общего пользования - на официальном сайте Федерального агентства по техническому регулированию и метрологии в сети Интернет (www.rst.gov.ru)
Настоящий стандарт разработан для создания нормативной базы производства каркасно-обшивных конструкций, предназначенных для объектов гражданского и промышленного строительства.
Задачей стандарта является разработка единых требований к каркасно-обшивным перекрытиям сухого типа с каркасом из стальных холодногнутых оцинкованных профилей, обеспечивающих безопасность и высокие эксплуатационные характеристики.
Каркасно-обшивные перекрытия обладают высокими показателями по звукоизоляции и низкой трудоемкостью при монтаже.
1.1 Настоящий стандарт распространяется на каркасно-обшивные перекрытия (далее - КОП) сухого типа с каркасом из стальных холодногнутых оцинкованных профилей, применяемые в жилых, общественных и производственных зданиях любого уровня ответственности по
ГОСТ 27751 при следующих условиях:
- расчетная температура эксплуатации не выше 100 °C и не ниже минус 55 °C;
- сейсмичность площадки строительства не более 9 баллов в соответствии с
СП 14.13330.2018;
1.2 Каркас из стальных холодногнутых оцинкованных профилей не рекомендуется применять для перекрытий, подвергающихся воздействию слабоагрессивных и сильноагрессивных сред, содержащих хлор, хлорид водорода или фторид водорода группы газов В согласно
СП 28.13330.2017.
1.3 Каркасно-обшивные перекрытия сухого типа с каркасом из стальных холодногнутых оцинкованных профилей не рекомендуется применять в условиях непосредственного воздействия динамических
<*>, вибрационных или подвижных нагрузок.
--------------------------------
<*> Конструкции относятся к подвергающимся воздействию динамических нагрузок, если отношение абсолютного значения нормального напряжения, вызванного динамической нагрузкой, к суммарному растягивающему напряжению от всех нагрузок в том же сечении

, где

- коэффициент, учитывающий число циклов нагружений, согласно
СП 16.13330.2017.
1.4 Стандарт распространяется на КОП поэлементной сборки. Стандарт не распространяется на КОП модульной сборки панелями.
В настоящем стандарте использованы нормативные ссылки на следующие документы:
ГОСТ 9.301 Единая система защиты от коррозии и старения. Покрытия металлические и неметаллические неорганические. Общие требования
ГОСТ 9.410 Единая система защиты от коррозии и старения. Покрытия порошковые полимерные. Типовые технологические процессы
ГОСТ 164 Штангенрейсмасы. Технические условия
ГОСТ 166 (ИСО 3599-76) Штангенциркули. Технические условия
ГОСТ 427 Линейки измерительные металлические. Технические условия
ГОСТ 3749 Угольники поверочные 90°. Технические условия
ГОСТ 6266 Листы гипсокартонные. Технические условия
ГОСТ 7502 Рулетки измерительные металлические. Технические условия
ГОСТ 8026 Линейки поверочные. Технические условия
ГОСТ 14350 Профили проката гнутые. Термины и определения
ГОСТ 14918 Сталь тонколистовая оцинкованная с непрерывных линий. Технические условия
ГОСТ 19904 Прокат листовой холоднокатаный. Сортамент
ГОСТ 24297 Верификация закупленной продукции. Организация проведения и методы контроля
ГОСТ 24045 Профили стальные листовые гнутые с трапециевидными гофрами для строительства. Технические условия
ГОСТ 26433.1 Система обеспечения точности геометрических параметров в строительстве. Правила выполнения измерений. Элементы заводского изготовления
ГОСТ 27296 Здания и сооружения. Методы измерения звукоизоляции ограждающих конструкций
ГОСТ 27751 Надежность строительных конструкций и оснований. Основные положения
ГОСТ 27772 Прокат для строительных стальных конструкций. Общие технические условия
ГОСТ 28778 Болты самоанкерующиеся распорные для строительства. Технические условия
ГОСТ 32314 (EN 13162:2008) Изделия из минеральной ваты теплоизоляционные промышленного производства, применяемые в строительстве. Общие технические условия
ГОСТ 32614 (EN 520:2009) Плиты гипсовые строительные. Технические условия
ГОСТ 34180 Прокат стальной тонколистовой холоднокатаный и холоднокатаный горячеоцинкованный с полимерным покрытием с непрерывных линий. Технические условия
ГОСТ ISO 2702 Винты самонарезающие стальные термообработанные. Механические свойства
ГОСТ Р 56731 Анкеры механические для крепления в бетоне. Методы испытаний
СП 2.13130.2020 Системы противопожарной защиты. Обеспечение огнестойкости объектов защиты
СП 163.1325800.2014 Конструкции с применением гипсокартонных и гипсоволокнистых листов. Правила проектирования и монтажа
СП 260.1325800.2016 Конструкции стальные тонкостенные из холодногнутых оцинкованных профилей и гофрированных листов. Правила проектирования
Примечание - При пользовании настоящим стандартом целесообразно проверить действие ссылочных стандартов (сводов правил) в информационной системе общего пользования - на официальном сайте Федерального агентства по техническому регулированию и метрологии в сети Интернет или по ежегодному информационному указателю "Национальные стандарты", который опубликован по состоянию на 1 января текущего года, и по выпускам ежемесячного информационного указателя "Национальные стандарты" за текущий год. Если заменен ссылочный документ, на который дана недатированная ссылка, то рекомендуется использовать действующую версию этого документа с учетом всех внесенных в данную версию изменений. Если заменен ссылочный документ, на который дана датированная ссылка, то рекомендуется использовать версию этого документа с указанным выше годом утверждения (принятия). Если после утверждения настоящего стандарта в ссылочный документ, на который дана датированная ссылка, внесено изменение, затрагивающее положение, на которое дана ссылка, то это положение рекомендуется применять без учета данного изменения. Если ссылочный документ отменен без замены, то положение, в котором дана ссылка на него, рекомендуется применять в части, не затрагивающей эту ссылку. Сведения о действии сводов правил целесообразно проверить в Федеральном информационном фонде стандартов.
В настоящем стандарте применены термины по
ГОСТ 14350, а также следующие термины с соответствующими определениями:
3.1 каркасно-обшивное перекрытие; КОП: Перекрытие, многослойная несущая конструкция, состоящая из каркаса, заполнения полости каркаса материалами для звукоизоляции, обшивок (верхней и нижней), крепежных элементов, опционально пароизоляции и/или гидроизоляции.
3.2 каркас перекрытия: Конструкция, состоящая из несущих элементов каркаса (балки, фермы), выполненных из стальных профилей, профилированного настила и профилей обрешетки.
3.3 каркасно-обшивное перекрытие с применением легких стальных тонкостенных конструкций: Каркасно-обшивное перекрытие, каркас которого состоит из стальных холодногнутых оцинкованных профилей.
3.4 сухое строительство: Технология устройства конструкций, в которой минимизированы мокрые процессы и использование цементных и бетонных смесей, применяются сухие листы заводского изготовления в качестве обшивки.
3.5 каркасно-обшивное перекрытие сухого типа: Каркасно-обшивное перекрытие, при устройстве которого используются принципы сухого строительства.
3.6 холодногнутый профиль: Профиль, полученный методом профилирования стального тонколистового проката в холодном состоянии на профилегибочных агрегатах.
3.7 верхняя обшивка: Плитные материалы, закрепленные на перекрытии сверху между профилированным настилом и конструкцией пола.
3.8 нижняя обшивка: Плитные материалы, закрепленные на перекрытии снизу между профилями обрешетки и конструкцией потолка.
4 Классификация и состав каркасно-обшивных перекрытий
4.1 Каркасно-обшивные перекрытия классифицируют по типу несущих элементов:
1 - верхняя обшивка; 2 - профилированный настил;
3 - балки каркаса КОП; 4 - звукоизоляционный слой;
5 - стальные профили обрешетки; 6 - нижняя обшивка
Рисунок 1 - Фрагмент каркасно-обшивного перекрытия
сухого типа с балками
1 - верхняя обшивка; 2 - профилированный настил;
3 - фермы каркаса КОП; 4 - звукоизоляционный слой;
5 - стальные профили обрешетки; 6 - нижняя обшивка
Рисунок 2 - Фрагмент каркасно-обшивного перекрытия
сухого типа с фермами
4.2 Каркасно-обшивные перекрытия классифицируют по способу сопряжения с несущими конструкциями:
- перекрытие опирается сверху;
- перекрытие примыкает сбоку.
4.3 Выбор типа несущих элементов и типа сопряжения выполняется при проектировании здания.
4.4 Каркасно-обшивные перекрытия допускается крепить к железобетонным, каменным, деревянным, стальным несущим конструкциям здания с применением соответствующего крепежа.
4.5 Состав каркасно-обшивных перекрытий
4.5.1 Состав КОП с балками представлен на
рисунке 3.
1 - верхняя обшивка; 2 - профилированный настил;
3 - балки каркаса КОП; 4 - звукоизоляционный слой;
5 - стальные профили обрешетки; 6 - нижняя обшивка
Рисунок 3 - Основные компоненты КОП с балками
4.5.2 Состав КОП с фермами представлен на
рисунке 4.
1 - верхняя обшивка; 2 - профилированный настил;
3 - фермы каркаса КОП; 4 - звукоизоляционный слой;
5 - стальные профили обрешетки; 6 - нижняя обшивка
Рисунок 4 - Основные компоненты КОП с фермами
4.5.3 Компоненты КОП выполняют из сертифицированных материалов. Требования к компонентам КОП приведены в
разделе 5.
4.6 Связевая система каркасно-обшивных перекрытий
4.6.1 Для повышения пространственной жесткости и устойчивости КОП рекомендуется устраивать систему вертикальных и горизонтальных связей в зависимости от вида несущего элемента КОП.
Установка связей влияет на величину расчетной длины поясов балок и ферм.
4.6.2 Вертикальные связи для КОП, несущие элементы которого представлены балками, приведены на
рисунках 5 -
7.
1 - балки каркаса КОП; 2 - связи
из стальной оцинкованной ленты
Рисунок 5 - Схема каркасно-обшивного перекрытия
со связями из стальной ленты
1 - балки каркаса КОП; 2 - связи из профилей
швеллерного сечения
Рисунок 6 - Схема каркасно-обшивного перекрытия
с балками со связями из профилей швеллерного сечения
1 - балки каркаса КОП; 2 - связи из профилей
швеллерного сечения
Рисунок 7 - Схема каркасно-обшивного перекрытия с балками
из профилей сдвоенного сечения со связями из профилей
швеллерного сечения
4.6.3 Вертикальные связи для КОП, несущие элементы которого представлены фермами, приведены на
рисунках 8,
9.
1 - фермы каркаса КОП; 2 - связи
из стальной оцинкованной ленты
Рисунок 8 - Схема каркасно-обшивного перекрытия
с фермами со связями из стальной ленты
1 - фермы каркаса КОП; 2 - связи из ферм
Рисунок 9 - Схема каркасно-обшивного перекрытия с фермами
со связями из ферм
4.6.4 Горизонтальные связи для КОП, несущие элементы которого представлены балками, приведены на
рисунках 10 -
12.
1 - балки каркаса КОП; 2 - горизонтальные связи из профилей
швеллерного сечения
Рисунок 10 - Схема каркасно-обшивного перекрытия с балками
с горизонтальными связями из профилей швеллерного сечения
1 - балки каркаса КОП; 2 - опорные профили; 3 - связи
из холодногнутых профилей С-образного сечения
Рисунок 11 - Схема каркасно-обшивного перекрытия с балками
с горизонтальными связями из профилей С-образного сечения
1 - балки каркаса КОП; 2 - опорные профили; 3 - связи
из холодногнутых профилей С-образного сечения
Рисунок 12 - Схема каркасно-обшивного перекрытия с балками
из профилей сдвоенного сечения с горизонтальными связями
из профилей С-образного сечения
4.6.5 Горизонтальные связи для КОП, несущие элементы которого представлены фермами, приведены на
рисунке 13.
1 - фермы каркаса КОП; 2 - опорные профили; 3 - связи
из холодногнутых профилей С-образного сечения
Рисунок 13 - Схема каркасно-обшивного перекрытия с фермами
со связями из профилей С-образного сечения
5.1 Требования к несущим элементам каркаса КОП
5.1.1 Несущие элементы каркаса КОП (балки, фермы) выполняются из стальных холодногнутых оцинкованных профилей. Формы поперечного сечения профилей для несущих элементов каркаса КОП приведены в
приложении А.
5.1.2 Балки изготавливают из одиночных или спаренных стальных холодногнутых профилей.
5.1.3 Каркас ферм изготавливают строго в соответствии с чертежами КМД.
5.1.4 Для обрешетки используют П-образный шляпный профиль.
5.1.5 Шаг несущих элементов каркаса определяется расчетом.
5.1.6 Для каркаса КОП следует применять стальные холодногнутые оцинкованные профили, изготовленные из холоднокатаного листового проката из углеродистой стали, оцинкованной в агрегатах непрерывного оцинкования по
ГОСТ 14918 толщиной от 1 до 4 мм, высокой точности проката по толщине (ВТ) и повышенной - по ширине (АШ), нормальной плоскостности с обрезной кромкой и цинковым покрытием класса не ниже 275, стали марок 220, 250, 280, 320, 350, 390, 420, 450.
Допускается применение стального тонколистового проката с алюмоцинковым покрытием класса не ниже 160, а также цинкалюминиевыми и цинкалюмо-магниевыми покрытиями с классами покрытий, обеспечивающими необходимую коррозионную стойкость.
5.1.7 Предельные отклонения по толщине материала профилей должны соответствовать предельным отклонениям по толщине заготовки нормальной точности прокатки по
ГОСТ 19904 без учета толщины защитного покрытия.
5.1.9 Предельное отклонение длины профилей каркаса КОП не должно превышать +/- 1 мм.
Косина реза профилей не должна выводить их длину за номинальный размер с учетом предельного отклонения по длине.
Серповидность профилей каркаса не должна превышать 1,0 мм на 1 м длины. Общая серповидность профиля не должна превышать 0,1% полной длины.
Волнистость на плоских участках профилей не должна превышать 2,0 мм, а на отгибах полок - не более 3,0 мм на 1 м длины профиля.
Скручивание профилей вокруг продольной оси не должно превышать 1,0° на 1 м длины профиля. Общее скручивание профилей не должно превышать 6,0°.
5.1.10 В профилях каркаса не допускаются:
- искривление полок и отгибов;
- нарушение цинкового покрытия;
- местные вмятины глубиной более +/- 1,0 мм на полках и стенках;
- заусенцы, выступающие более чем на 1,0 мм на краях профиля и на перфорированных участках стенки.
5.2 Требования к крепежным изделиям для крепления элементов каркаса КОП к несущим конструкциям и для сборки каркаса и обшивок КОП
5.2.1 При изготовлении КОП используют крепежные изделия для крепления:
- элементов каркаса КОП к несущим конструкциям здания;
- элементов каркаса КОП между собой;
- обшивок к каркасу КОП.
5.2.2 Для крепления элементов каркаса КОП к железобетонным и каменным несущим конструкциям здания следует использовать самоанкерующиеся болты по
ГОСТ 28778 или другие механические анкеры, соответствующие им по несущей способности на выдергивание и на срез, определенной в соответствии с
ГОСТ Р 56731.
Крепление элементов каркаса КОП к стальным несущим конструкциям здания следует выполнять с помощью самосверлящих, самонарезающих стальных винтов или болтов нормальной точности. Механические свойства самонарезающих винтов должны соответствовать требованиям
ГОСТ ISO 2702.
5.2.3 Узлы крепления КОП с каркасом из стальных холодногнутых оцинкованных профилей к несущим конструкциям зданий приведены в
приложении Б.
5.2.4 Для крепления элементов каркаса КОП между собой следует использовать самосверлящие самонарезающие винты или вытяжные заклепки.
5.2.5 Вытяжные заклепки для соединения элементов каркаса КОП между собой должны состоять из стального цилиндрического корпуса диаметром не менее 4,2 мм и стального стержня из калиброванной стали диаметром 2,5 - 2,8 мм. Корпус заклепки должен быть изготовлен из коррозионно-стойкой стали.
5.2.6 Самонарезающие винты для крепления гипсокартонных и гипсоволокнистых листов, цементно-минеральных плит к профилированному настилу должны иметь диаметр не менее 3,5 мм, головку потайной формы, самосверлящий наконечник и антикоррозийное покрытие. Тип, размеры и шаг установки крепежа устанавливается проектом.
5.2.7 Все крепежные изделия для сборки каркаса КОП и крепления обшивок, изготовленные из нелегированной и легированной стали, за исключением коррозионно-стойкой стали, должны иметь антикоррозионное защитное покрытие толщиной не менее 10 мкм.
5.3 Профилированный настил
5.3.1 Профилированный настил в конструкции КОП устанавливается обязательно.
5.3.2 Профилированный настил для КОП выполняется из листовых гнутых профилей с трапециевидными гофрами открытого типа по
ГОСТ 24045.
5.3.3 Для изготовления профилированного настила применяется рулонная сталь тонколистовая оцинкованная с непрерывных линий по
ГОСТ 14918 и по
ГОСТ 34180.
5.3.4 Толщина стали для профилей от 0,5 до 1,0 мм, предел текучести стали от 230 до 350 Н/мм2 при относительном удлинении от 16% до 22%.
5.3.5 Сечение профилированного настила принимается из условия обеспечения передачи и распределения нагрузки на каркас перекрытия. Принятое сечение профилированного настила должно обеспечить связевую функцию для верхнего пояса балок и/или ферм.
5.3.6 Высота сечения и толщина профилированного настила определяется расчетом с учетом требований
СП 260.1325800.2016.
5.4 Требования к верхней и нижней обшивкам КОП
5.4.2 Верхняя обшивка должна быть выполнена из не менее двух листов листового материала.
Допускается вариант без устройства верхней обшивки, но с обязательным устройством плавающего пола непосредственно по профилированному настилу.
5.4.3 Толщина листов обшивки определяется расчетом на изгиб от вертикальных нагрузок.
5.4.4 Предел прочности листов при изгибе должен быть не менее значений, указанных в
ГОСТ 6266.
5.4.5 Для верхних обшивок зазоры не допускаются. Стык нижнего слоя верхней обшивки должен находиться на гофре профилированного листа.
Стык верхнего слоя нижней обшивки должен находиться на обрешетке (на шляпном профиле).
Допускается крепить нижнюю обшивку непосредственно к профилю, в этом случае стык верхнего слоя нижней обшивки должен находиться на полке профиля балки/фермы.
Соответствие материалов обшивок КОП указанным требованиям должно подтверждаться документом о качестве (сертификатом соответствия или декларацией соответствия) при наличии протоколов исследований, оформляемых в соответствии с
[4].
5.4.7 Стыки всех слоев обшивки должны быть обязательно заделаны материалами, соответствующими типу обшивки.
Для заделки стыков обшивки из цементных и гипсокартонных листов между смежными листами рекомендуется применять штукатурно-клеевую или шпаклевочную смесь на цементной основе. Допустимо применение специальных полимерных лент.
Для листов обшивки другого типа следует применять соответствующие материалы или клеевую ленту (скотч).
5.4.8 Для перекрытий, работающих во влажных помещениях, обязательно устройство гидроизоляционного слоя. Тип гидроизоляции определяют проектом.
5.4.9 Трещины и пробоины в листах обшивки не допускаются.
5.4.10 На наружных поверхностях обшивки КОП допускаются:
- разность толщин смежных листов обшивок величиной не более 1,0 мм;
- сколы по кромкам обшивок в зоне установки крепежа длиной не более 20 мм и глубиной не более толщины обшивки.
5.5 Требования к звукоизоляционному слою КОП
5.5.1 Тип и физико-механические свойства звукоизоляционного материала определяются проектной документацией.
5.5.2 Толщина изоляции в КОП определяется расчетом на звукоизоляцию в соответствии с требованиями
СП 51.13330.2011.
5.5.3 Для звукоизоляции КОП следует применять минераловатные плиты по
ГОСТ 32314, полученные из расплава горной породы.
5.5.4 Звукоизоляционный материал, используемый для заполнения внутренних полостей КОП, должен быть неагрессивен к стальным профилям КОП в соответствии с требованиями
СП 28.13330.2017.
5.6 Требования к пароизоляционному слою и уплотнительным материалам для КОП
5.6.1 В каркасно-обшивном перекрытии над подвалом (в верхней обшивке) и в каркасно-обшивном чердачном перекрытии (в нижней обшивке) обязательно устройство пароизоляционного слоя.
5.6.2 Для устройства пароизоляционного слоя применяют пароизоляционные материалы по
ГОСТ Р 59150.
5.6.3 Пароизоляционный слой устанавливается между листами обшивки, допускается устройство пароизоляционного слоя между каркасом перекрытия и обшивками. Пароизоляционный слой должен быть сплошным и непрерывным. Нахлесты полотен пароизоляционного слоя и места примыканий следует герметизировать с помощью лент, клеев или другими способами, рекомендованными производителями пароизоляции.
5.6.4 В местах сопряжения КОП с несущими конструкциями зданий требуется обязательно устанавливать уплотнительную ленту из вспененного полиэтилена или паронитовую прокладку толщиной не менее 1 мм, но не более 5 мм. Толщина утеплителя определяется типом материала, так, для стали - в пределах 1 мм, для бетона - в пределах 3 - 5 мм. При сопряжении каркасно-обшивных перекрытий с несущими конструкциями из ЛСТК установка уплотнительной ленты не требуется.
5.7 Требования к материалам пола для КОП
5.7.1 В качестве материалов для пола для КОП допускается использовать материалы согласно
СП 29.13330.2011.
5.7.2 В помещениях с большой проходимостью людей не рекомендуется устраивать полы с керамической плиткой на клеевой основе. При необходимости применения керамической плитки рекомендуется использовать полимерные клеи с большой податливостью и плитку со стороной не более 35 см.
5.8 Требования к соединительным и монтажным элементам для сопряжения КОП с несущими конструкциями
5.8.1 Для изготовления элементов крепления (уголки и балки) применяются прокат или профили из металлов и сплавов, указанных в
таблице 1.
Таблица 1
Марки стали, сплавов, прокатов, применяемых
для соединительных и монтажных элементов
Вид проката | Дополнительные характеристики для проката | Марки стали (сплава, проката) | Антикоррозионное покрытие |
| - | | |
| Группы Ц, ЖЦ, ЦА, ЦАМ | Марка проката 220, 250, 280, 320, 350, 390, 420, 450 | |
Прокат стальной тонколистовой холоднокатаный горячеоцинкованный с полимерным покрытием с непрерывных линий по ГОСТ 34180 | Тип покрытий с лицевой и обратной сторон ПЭ/ПЭ, ПУ/ПУ и др. по ГОСТ 34180 (таблица 1) | Марка проката 220, 250, 280, 320, 350, 390, 420, 450 | |
| | ИС МЕГАНОРМ: примечание. В официальном тексте документа, видимо, допущена опечатка: имеется в виду СП 16.13330.2017, а не СП 16.13330.25017. | |
5.8.2 Сечение элементов крепления определяют в соответствии с
СП 16.13330.25017,
СП 260.1325800.2016. Форма элемента крепления (уголок, пластина или профиль) зависит от конструктивного решения в соответствии с узлами крепления КОП к несущим конструкциям зданий, представленным в
приложении Б.
5.8.3 При применении стального проката минимальная толщина соединительных уголков определяется расчетом и должна быть не менее, чем толщина основного элемента каркаса КОП.
5.8.4 Поверхности направляющих и кронштейнов из тонколистовой низкоуглеродистой стали по
ГОСТ 14918 и
ГОСТ 34180 должны иметь антикоррозионное покрытие в соответствии с требованиями
СП 28.13330.2017.
5.8.5 Защитное полимерное порошковое покрытие следует выполнять в заводских условиях по
ГОСТ 9.410.
5.8.6 Поверхности изделий перед нанесением антикоррозионных покрытий должны быть подготовлены в соответствии с требованиями
ГОСТ 9.301,
ГОСТ 9.402.
5.8.7 Нарушенные при монтаже КОП защитные покрытия несущих элементов КОП и соединительных и монтажных элементов (уголки, профили, пластины) должны быть восстановлены с использованием технологий и материалов, прошедших проверку в лабораториях (центрах), аккредитованных в национальной системе аккредитации.
5.9 Требования к КОП
5.9.1 КОП должны быть изготовлены в соответствии с проектной и рабочей документацией.
5.9.2 КОП должен удовлетворять требованиям, предъявляемым к перекрытиям:
- требованиям двух групп предельных состояний, включая физиологические требования согласно
приложению Д.2.2 СП 20.13330.2016;
- по обеспечению огнестойкости и пожарной безопасности в соответствии с
[1] и
СП 2.13130.2020;
Соответствие компонентов КОП требованиям, предъявляемым настоящим стандартом, подтверждается сертификатом соответствия или декларацией о соответствии. Соответствие КОС требованиям настоящего стандарта, проектной и рабочей документации определяется государственным строительным надзором, техническим надзором заказчика и авторским надзором в соответствии с
СП 70.13330.2012.
5.9.3 Соединения элементов каркаса КОП между собой должны отвечать требованиям
СП 260.1325800.2016.
5.9.4 Класс пожарной опасности и предел огнестойкости КОП должен соответствовать принятой степени огнестойкости зданий, сооружений и пожарных отсеков и должен быть не менее REI 45 для зданий II - IV степени огнестойкости и не менее REI 60 для зданий I степени огнестойкости.
5.9.5 За долговечность КОП принимается наименьший срок службы применяемых компонентов.
5.9.6 Обрамление отверстий выполняется в соответствии с
приложением В.
5.9.7 Отклонения от проектных размеров проемов в КОП не должны превышать +/- 3,0 мм.
5.9.8 Предельные отклонения размеров и положения для КОП должны соответствовать значениям
таблицы 2.
Таблица 2
Предельные отклонения размеров и положения КОП
Параметр | Предельные отклонения, мм |
Отклонение засверливаемых отверстий под дюбели и анкерные крепления: | |
глубина отверстия | H - длина дюбеля + 10 |
диаметр отверстия | D - диаметр дюбеля + 0,2 |
расстояние от угла стены или кромки несущего элемента | Не менее 70 |
отклонение оси отверстия от проектного отверстия | +/- 2 |
Резка изоляционного материала с припуском | От +10 до +15 |
Перехлест полотнищ пароизоляции | От 100 |
Отклонение расстояния между балками каркаса | +/- 5 |
Минимальная величина нахлеста листа обшивки на несущий элемент каркаса КОП | 5 |
Отклонение толщины КОП от принятой в проекте | Не более +/- 3 мм |
6 Упаковка, маркировка, транспортирование и хранение
6.1 Транспортирование материалов для КОП осуществляется всеми видами транспорта в соответствии с правилами перевозки и условиями погрузки и крепления грузов, действующими на транспорте данного вида.
6.2 Пакеты с холодногнутыми профилями при транспортировании и хранении должны быть уложены на деревянные подкладки, расположенные не реже чем через 3 м и имеющие одинаковую высоту не менее 50 мм и ширину не менее 100 мм.
6.3 Транспортирование и хранение листов обшивки необходимо проводить в условиях, исключающих возможность их увлажнения, загрязнения и механических повреждений.
7.1 Контроль материалов и комплектующих изделий для КОП
7.1.1 Входной контроль материалов и комплектующих изделий, используемых для изготовления КОП, проводят в соответствии с
ГОСТ 24297.
7.2 Контроль внешнего вида и геометрических размеров КОП
7.2.1 Качество поверхности готовых перекрытий проверяют внешним осмотром без применения увеличительных приборов. В первую очередь контролируют диагонали перекрытия.
7.2.2 При контроле геометрических размеров перекрытий должна быть использована металлическая рулетка ценой деления 1 мм по
ГОСТ 7502 с пределом допускаемой погрешности измерений +/- 1 мм.
7.2.3 При приемке следует проверять устойчивость каркаса, надежность крепления листов обшивки, отсутствие у листов надрывов, повреждений, сбитых углов по длине грани, масляных пятен и загрязнений.
7.2.4 Контроль положения проемов, закладных деталей, отверстий, а также шаг установки крепежа проверяют металлической линейкой по
ГОСТ 427.
7.3 Контроль стальных холодногнутых профилей для элементов каркаса КОП
7.3.1 Марка, свойства и толщина проката, а также качество покрытия стальных холодногнутых профилей должны быть удостоверены документом о качестве продукции от предприятия-изготовителя (поставщика).
7.3.2 Качество поверхности защитного покрытия профилей определяют визуально.
7.3.3 Размеры профилей контролируют в соответствии с правилами измерений по
ГОСТ 26433.1 рулеткой по
ГОСТ 7502 и штангенрейсмасом по
ГОСТ 164. Ширину полок и высоту профилей измеряют на расстоянии не менее 300 мм от торцов профиля, длину - по продольным краям. Толщину металла профилей измеряют штангенциркулем с пределом допускаемой погрешности измерений +/- 0,1 мм по
ГОСТ 166.
7.3.4 Кривизну и волнистость профилей проверяют поверочной линейкой длиной 1 м по
ГОСТ 8026 и набором щупов.
7.3.5 Вогнутость и выпуклость определяют с помощью струны, закрепленной на плоской горизонтальной поверхности, и линейки по
ГОСТ 427.
7.3.6 Косину резов профилей измеряют линейкой по
ГОСТ 427 и угольником по
ГОСТ 3749, установленным по краю профиля.
7.3.7 Проверку профилей на скручивание проводят на контрольной плите с помощью угломера.
7.3.8 За результат измерения размеров по
7.3.3 -
7.3.7 принимают среднее значение, полученное при трех измерениях в одном сечении или по одной линии.
7.4 Контроль параметров КОП
7.4.1 КОП должны соответствовать требованиям настоящего стандарта, проектной и технологической документации, разработанной и утвержденной в установленном порядке.
7.4.2 Предел огнестойкости определяют в условиях стандартных испытаний или в результате расчетов согласно
СП 2.13130.2020. Класс пожарной опасности КОП определяют в условиях соответствующих испытаний.
7.4.3 Измерение изоляции воздушного и ударного шума КОП в натурных условиях выполняют по
ГОСТ 27296.
(обязательное)
ФОРМЫ ПОПЕРЕЧНОГО СЕЧЕНИЯ ДЛЯ НЕСУЩИХ ЭЛЕМЕНТОВ КАРКАСА КОП
А.1 Сечения несущих элементов каркаса КОП приведены на
рисунке А.1.
1 - С-образное равнополочное сечение (С-профиль);
2 - С-образное неравнополочное сечение; 3 - швеллерное
сечение;
4,
5 - сигмаобразное сечение

Рисунок А.1 - Сечения несущих элементов каркаса КОП
(обязательное)
КОНСТРУКТИВНЫЕ РЕШЕНИЯ СОПРЯЖЕНИЯ (ОПИРАНИЕ/ПРИМЫКАНИЕ) КОП
С НЕСУЩИМИ КОНСТРУКЦИЯМИ ЗДАНИЯ
Б.1 Сопряжение несущих элементов каркаса КОП с несущими конструкциями сбоку
1 - балки каркаса КОП; 2 - несущая конструкция здания;
3 - уплотнительная лента; 4 - направляющая из стального
холодногнутого профиля швеллерного сечения; 5 - стальной
оцинкованный опорный уголок; 6 - крепеж
Рисунок Б.1 - Схема примыкания КОП с каркасом из балок
к несущей конструкции сбоку
1 - фермы каркаса КОП; 2 - несущая конструкция здания;
3 - уплотнительная лента; 4 - направляющая из стального
оцинкованного уголка; 5 - стальной оцинкованный опорный
уголок; 6 - крепеж
Рисунок Б.2 - Схема примыкания КОП с каркасом из ферм
к несущей конструкции сбоку
1 - балки каркаса КОП; 2 - несущая конструкция здания;
3 - уплотнительная лента; 4 - стальной оцинкованный
монтажный уголок; 5 - крепеж
Рисунок Б.3 - Схема опирания КОП с каркасом из балок
к несущей конструкции сверху через уголок
1 - фермы каркаса КОП; 2 - несущая конструкция здания;
3 - уплотнительная лента; 4 - стальной оцинкованный
монтажный уголок; 5 - крепеж
Рисунок Б.4 - Схема опирания КОП с каркасом из ферм
к несущей конструкции сверху через уголок
1 - балки каркаса КОП; 2 - несущая конструкция здания;
3 - уплотнительная лента; 4 - крепеж; 5 - зона подрезки
верхнего пояса балки
Рисунок Б.5 - Схема опирания КОП с каркасом из балок
к несущей конструкции непосредственно сверху
без дополнительных элементов
1 - фермы каркаса КОП; 2 - несущая конструкция здания;
3 - уплотнительная лента; 4 - крепеж
Рисунок Б.6 - Схема опирания КОП с каркасом из ферм
к несущей конструкции сверху без дополнительных элементов
Б.2 Сопряжение несущих элементов каркаса КОП на промежуточной опоре
1 - балки каркаса КОП; 2 - несущая конструкция здания;
3 - уплотнительная лента; 4 - крепеж; 5 - зона подрезки
верхнего пояса балки
Рисунок Б.7 - Схема сопряжения КОП с каркасом из балок
на промежуточной опоре несущей конструкции сверху
1 - фермы каркаса КОП; 2 - несущая конструкция здания;
3 - уплотнительная лента; 4 - крепеж; 5 - соединительная
пластина, общая на обе опорные стойки
Рисунок Б.8 - Схема сопряжения КОП с каркасом из ферм
на промежуточной опоре несущей конструкции сверху
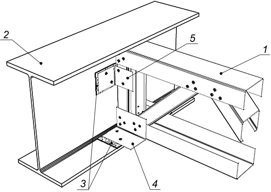
Б.3 Сопряжение несущих элементов каркаса КОП со стальными несущими конструкциями
1 - ферма каркаса КОП; 2 - стальная несущая конструкция
здания; 3 - уплотнительная лента; 4, 5 - стальной
оцинкованный соединительный уголок
Рисунок Б.9 - Схема опирания КОП с каркасом из ферм
к несущей стальной конструкции сверху
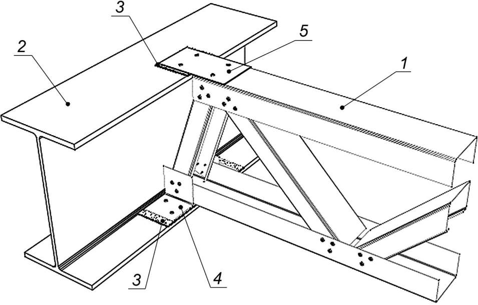
1 - фермы каркаса КОП; 2 - стальная несущая конструкция
здания; 3 - уплотнительная лента; 4 - стальной оцинкованный
соединительный уголок; 5 - крепежная пластина
Рисунок Б.10 - Схема опирания КОП с каркасом из ферм
к стальной несущей конструкции
1 - фермы каркаса КОП; 2 - стальная несущая конструкция
здания; 3, 4 - уплотнительная лента; 5 - стальной
оцинкованный соединительный уголок; 6 - соединительный
элемент из стального холодногнутого профиля
С-образного сечения
Рисунок Б.11 - Схема опирания КОП с каркасом из ферм
к стальной несущей конструкции сверху
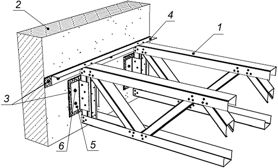
через соединительный элемент
1 - балки каркаса КОП; 2 - несущая конструкция из ЛСТК;
3 - направляющая несущей конструкции; 4 - пароизоляция
несущей конструкции здания; 5 - направляющая из стального
холодногнутого профиля швеллерного сечения; 6 - стальной
оцинкованный опорный уголок
Рисунок Б.12 - Схема примыкания КОП с каркасом из балок
к несущей конструкции из ЛСТК сбоку
1 - фермы каркаса КОП; 2 - несущая конструкция из ЛСТК;
3 - направляющая несущей конструкции; 4 - пароизоляция
несущей конструкции; 5 - стальной оцинкованный опорный
уголок; 6 - опорный нисходящий раскос фермы
Рисунок Б.13 - Схема примыкания КОП с каркасом из ферм
к несущей конструкции из ЛСТК сбоку
(обязательное)
ОБРАМЛЕНИЕ ПРОЕМОВ В НЕСУЩИХ ЭЛЕМЕНТАХ КАРКАСА КОП
1 - балки каркаса КОП; 2 - направляющая; 3 - стальной
оцинкованный уголок; 4 - элемент обрамления проема из балки
Рисунок В.1 - Схема обрамления проема в КОП с каркасом
из балок с устройством направляющей
1 - балки каркаса КОП; 2 - направляющая; 3 - элемент
обрамления проема из балки
Рисунок В.2 - Схема обрамления проема в КОП с каркасом
из балок с устройством направляющей с подрезкой
1, 2 - балки каркаса КОП; 3 - стальной оцинкованный уголок;
4 - элемент обрамления проема из балки
Рисунок В.3 - Схема обрамления проема большого размера в КОП
с каркасом из балок
1 - фермы каркаса КОП; 2, 4 - элемент обрамления проема
из балки; 3 - стальной оцинкованный уголок
Рисунок В.4 - Схема обрамления проема в КОП с каркасом
из ферм
1, 2 - фермы каркаса КОП; 3 - элемент обрамления проема
из ферм
Рисунок В.5 - Схема обрамления проема большого размера в КОП
с каркасом из ферм
| Федеральный закон от 22 июля 2008 г. N 123-ФЗ "Технический регламент о требованиях к пожарной безопасности" |
| | Ограждающие конструкции с применением гипсокартонных листов |
| | Конструкции с применением гипсоволокнистых листов |
| Федеральный закон от 27 декабря 2002 г. N 184-ФЗ "О техническом регулировании" |
УДК 693.98.624.016:006.354 | |
Ключевые слова: каркасно-обшивная конструкция, несущая конструкция здания, стальной каркас, стальной холодногнутый оцинкованный профиль |