Главная // Актуальные документы // ГОСТ Р (Государственный стандарт)
СПРАВКА
Источник публикации
М.: Стандартинформ, 2016
Примечание к документу
Документ утратил силу с 01.09.2023 в связи с изданием Приказа Росстандарта от 03.08.2023 N 607-ст. Взамен введен в действие ГОСТ Р 56731-2023.

Документ введен в действие с 01.06.2016.
Название документа
"ГОСТ Р 56731-2015. Национальный стандарт Российской Федерации. Анкеры механические для крепления в бетоне. Методы испытаний"
(утв. и введен в действие Приказом Росстандарта от 19.11.2015 N 1895-ст)

"ГОСТ Р 56731-2015. Национальный стандарт Российской Федерации. Анкеры механические для крепления в бетоне. Методы испытаний"
(утв. и введен в действие Приказом Росстандарта от 19.11.2015 N 1895-ст)


Содержание


Утвержден и введен в действие
Приказом Федерального
агентства по техническому
регулированию и метрологии
от 19 ноября 2015 г. N 1895-ст
НАЦИОНАЛЬНЫЙ СТАНДАРТ РОССИЙСКОЙ ФЕДЕРАЦИИ
АНКЕРЫ МЕХАНИЧЕСКИЕ ДЛЯ КРЕПЛЕНИЯ В БЕТОНЕ
МЕТОДЫ ИСПЫТАНИЙ
Anchors for use in concrete. Test methods
ГОСТ Р 56731-2015
ОКС 77.140.01
Дата введения
1 июня 2016 года
Предисловие
1 РАЗРАБОТАН Научно-исследовательским, проектно-конструкторским и технологическим институтом бетона и железобетона им. А.А. Гвоздева - АО НИЦ "Строительство" при участии Центрального научно-исследовательского института строительных конструкций им. В.А. Кучеренко
2 ВНЕСЕН Техническим комитетом по стандартизации ТК 465 "Строительство"
3 УТВЕРЖДЕН И ВВЕДЕН В ДЕЙСТВИЕ Приказом Федерального агентства по техническому регулированию и метрологии от 19 ноября 2015 г. N 1895-ст
4 ВВЕДЕН ВПЕРВЫЕ
Правила применения настоящего стандарта установлены в ГОСТ Р 1.0-2012 (раздел 8). Информация об изменениях к настоящему стандарту публикуется в ежегодном (по состоянию на 1 января текущего года) информационном указателе "Национальные стандарты", а официальный текст изменений и поправок - в ежемесячном информационном указателе "Национальные стандарты". В случае пересмотра (замены) или отмены настоящего стандарта соответствующее уведомление будет опубликовано в ближайшем выпуске ежемесячного информационного указателя "Национальные стандарты". Соответствующая информация, уведомление и тексты размещаются также в информационной системе общего пользования - на официальном сайте Федерального агентства по техническому регулированию и метрологии в сети Интернет (www.gost.ru)
1. Область применения
1.1 Настоящий стандарт устанавливает методы испытания механических анкеров, установленных в готовое основание из тяжелого бетона.
1.2 Стандарт не распространяется на испытания клеевых и пластиковых анкеров.
1.3 Стандарт определяет требования к методам испытаний и не содержит требований к оценке их несущей способности.
2. Нормативные ссылки
В настоящем стандарте использованы нормативные ссылки на следующие стандарты:
ГОСТ 12.1.004-91 Система стандартов безопасности труда. Пожарная безопасность. Общие требования
ГОСТ 12.2.003-91 Система стандартов безопасности труда. Оборудование производственное. Общие требования безопасности
ГОСТ 8267-93 Щебень и гравий из плотных горных пород для строительных работ. Технические условия
ГОСТ 10178-85 Портландцемент и шлакопортландцемент. Технические условия
ГОСТ 10180-2012 Методы определения прочности по контрольным образцам
ГОСТ 17624-2012 Бетоны. Ультразвуковой метод контроля прочности
ГОСТ 18321-73 Статистический контроль качества. Методы случайного отбора выборок штучной продукции
ГОСТ 26633-2012 Бетоны тяжелые и мелкозернистые. Технические условия
ГОСТ 22690-2015 Бетоны. Определение прочности механическими методами неразрушающего контроля
ГОСТ 28570-90 Бетоны. Методы определения прочности по образцам, отобранным из конструкций
ГОСТ 31108-2003 Цементы общестроительные. Технические условия
ГОСТ Р 51254-99 Инструмент монтажный для нормированной затяжки резьбовых соединений. Ключи моментные. Общие технические условия
Примечание - При пользовании настоящим стандартом целесообразно проверить действие ссылочных стандартов в информационной системе общего пользования - на официальном сайте Федерального агентства по техническому регулированию и метрологии в сети Интернет или по ежегодному информационному указателю "Национальные стандарты", который опубликован по состоянию на 1 января текущего года, и по выпускам ежемесячного информационного указателя "Национальные стандарты" за текущий год. Если заменен ссылочный стандарт, на который дана недатированная ссылка, то рекомендуется использовать действующую версию этого стандарта с учетом всех внесенных в данную версию изменений. Если заменен ссылочный стандарт, на который дана датированная ссылка, то рекомендуется использовать версию этого стандарта с указанным выше годом утверждения (принятия). Если после утверждения настоящего стандарта в ссылочный стандарт, на который дана датированная ссылка, внесено изменение, затрагивающее положение, на которое дана ссылка, то это положение рекомендуется применять без учета данного изменения. Если ссылочный стандарт отменен без замены, то положение, в котором дана ссылка на него, рекомендуется применять в части, не затрагивающей эту ссылку.
3. Термины, определения и обозначения
3.1 В настоящем стандарте применены следующие термины с соответствующими определениями:
3.1.1 анкер: Конструктивный элемент, предназначенный для крепления элементов различного назначения к основанию, который или закладывается в основание, или впоследствии устанавливается в готовое основание и используется для передачи усилия на основание.
3.1.2 механический анкер: Стальной анкер, в котором передача усилий со стального элемента на основание осуществляется за счет прямого механического взаимодействия с основанием (расклинивания, упора, зацепления, трения и т.п.);
3.1.3 распорный анкер: Механический анкер, закрепление которого в основании осуществляется за счет принудительного распора в просверленном отверстии.
3.1.4 анкер с контролем момента затяжки: Распорный анкер, у которого распор создается за счет контролируемого крутящего момента, действующего на винт, болт или гайку.
3.1.5 анкер с контролем перемещения: Распорный анкер, у которого распор достигается за счет контролируемого перемещения конуса расклинивания относительно втулки.
3.1.6 анкер с уширением: Механический анкер, закрепление которого в основании осуществляется за счет устройства уширения в теле основания и механической блокировки в нем анкера.
3.1.7 анкер-шуруп: Механический анкер, закрепление в основании которого осуществляется за счет вкручивания в просверленное отверстие с врезанием кромок резьбы в материал основания.
3.2 В настоящем стандарте применены следующие обозначения:
c - расстояние от оси анкера до края основания;
c1 - расстояние от оси анкера до края основания в направлении сдвигающего усилия;
c2 - расстояние от оси анкера до края основания в направлении, перпендикулярном действию сдвигающей силы;
cmin - минимально допустимое расстояние до края;
d - диаметр анкерного болта или диаметр резьбы;
df - диаметр отверстия в прикрепляемой детали;
dnom - внешний диаметр анкера;
h - толщина основания;
hef - эффективная глубина анкеровки;
hmin - минимальная толщина бетонного элемента;
s - расстояние (шаг) между осями анкеров;
smin - минимально допустимое расстояние (шаг) между осями анкеров;
Tinst - момент затяжки при установке анкера;
tfix - толщина прикрепляемой детали.
4. Общие положения
4.1 Результаты испытаний, предусмотренные настоящим стандартом, используют для установления или контроля соответствия нормативным документам и технической документации механических характеристик анкеров и параметров их установки в бетонное основание.
4.2 Под механическими характеристиками анкеров, определяемых по настоящему стандарту, понимается:
- прочность на вырыв;
- прочность на сдвиг;
- перемещение анкера при вырыве и сдвиге соответственно.
4.3 Влияние отклонений параметров установки анкера от заданных производителем, а также наличие повреждений бетона основания устанавливают в ходе следующих испытаний:
- испытание в бетоне с трещиной;
- испытание при превышении момента затяжки анкера;
- испытание вблизи арматуры основания (для анкеров с уширением);
- сведения о размерах и конструкции анкера.
4.4 На испытания отбирают образцы анкеров, представляющих готовую продукцию производителя. Комплектность поставки анкеров должна соответствовать технической документации на представленный образец.
4.5 Анкеры с внутренней резьбой допускается предоставлять на испытания без таких крепежных элементов, как винты, резьбовые шпильки или гайки, но предприятие - изготовитель анкера должно указать необходимые для использования винты, резьбовые шпильки или гайки.
4.6 Образцы следует отбирать в случайном порядке по ГОСТ 18321. Отбор образцов оформляют актом.
4.7 Совместно с анкером на испытания представляют комплект технической документации в следующем объеме:
- сведения о предприятии-изготовителе;
- руководство по установке анкера;
- иную документацию, предусмотренную национальными стандартами или органом сертификации.
4.8 Перед испытаниями должна быть проведена идентификация предъявленных образцов в следующем порядке:
- визуальным осмотром установить соответствие анкера технической документации;
- провести контроль соответствия маркировки, нанесенной на анкере, технической документации;
- выполнить измерение размеров анкера и установить соответствие их технической документации.
4.9 Испытанные анкеры, в том числе не доведенные до предельного состояния по прочности, не подлежат повторному использованию, утилизацию выполняют по указаниям технической документации производителя.
5. Требования к условиям испытаний и оборудованию
5.1 Условия проведения испытаний
5.1.1 Испытания следует проводить при температуре окружающего воздуха от +10 °C до +40 °C и влажности не более 70%.
5.1.2 Бетон основания следует выдерживать при положительной температуре окружающего воздуха перед испытанием анкеров не менее 7 сут.
5.2 Требования к бетону
5.2.1 Для испытаний следует применять тяжелый бетон в соответствии с требованиями ГОСТ 26633, изготовленный на портландцементе по ГОСТ 10178, ГОСТ 31108.
5.2.2 В качестве заполнителя для бетона следует применять гранитный щебень по ГОСТ 8267, крупностью 5 - 20 мм.
5.2.3 Бетон должен быть изготовлен с водоцементным отношением не более 0,75, при этом расход цемента должен составлять не менее 240 кг/м3.
5.2.4 Средняя прочность бетона основания, соответствующая принятому классу бетона для испытаний, должна соответствовать диапазону, указанному в таблице 1.
Таблица 1
Диапазон прочности бетона
Класс бетона (B)
Диапазон средней прочности (R), МПа
Класс бетона (B)
Диапазон средней прочности (R), МПа
15
12 - 19
40
40 - 44
20
20 - 24
45
45 - 49
25
25 - 29
50
50 - 54
30
30 - 34
55
55 - 59
35
35 - 39
60
60 - 70
5.2.5 Прочность бетона основания следует устанавливать по стандартным образцам-кубам согласно ГОСТ 10180 в количестве не менее 3, изготовляемым при бетонировании основания. Образцы должны выдерживаться и твердеть в условиях твердения основания для испытаний.
5.2.6 Испытания стандартных образцов по ГОСТ 10180 следует проводить в ходе испытаний анкеров. Допускается также определять прочность бетона путем отбора образцов по ГОСТ 28570 или методами неразрушающего контроля по ГОСТ 22690 и ГОСТ 17624.
5.2.7 Размеры и конструкция основания для испытания анкеров должны удовлетворять следующим требованиям:
- при испытании в основании с трещиной: основание должно иметь прямоугольную форму в плане, толщиной не менее 2hef, но не менее 100 мм. Трещины должны располагаться вдоль одной из сторон основания и иметь равномерную ширину раскрытия по высоте образца.
- при испытании в бетоне без трещин основание не должно иметь армирования. Допускается использовать конструктивное армирование, при этом расстояние от оси анкера до стержня арматуры должно составлять не менее 2hef.
5.2.8 Расположение арматуры следует отображать на поверхности образца для соблюдения условий установки анкеров.
5.2.9 Испытания анкеров следует проводить в возрасте бетона не менее 28 сут. Допускается проводить испытание в возрасте, отличном от 28 сут, при соблюдении требования 5.2.4.
5.3 Требования к установке анкера
5.3.1 Анкеры следует устанавливать в основание в соответствии с технической документацией производителя.
5.3.2 Отверстие в основании под анкер следует располагать на гладкой поверхности (нижней при формовании) и выполнять перпендикулярно поверхности. Зависимость диаметра режущих кромок от диаметра сверла приведена в приложении Б.
5.3.3 Следует применять оборудование для сверления и установки согласно технической документации производителя. В случае отсутствия указаний производителя по типу оборудования допускается использовать любой инструмент, при этом номинальные размеры наконечника сверла должны соответствовать указаниям производителя.
5.4 Требования к оборудованию для испытания
5.4.1 Оборудование должно обеспечивать плавное приложение нагрузки, с постоянной скоростью изменения усилия или перемещения, и обеспечивать одновременную фиксацию усилия и перемещения анкера. Допускается также прикладывать нагрузку ступенями.
5.4.2 Оснастка для испытаний не должна оказывать сдерживающего влияния на бетон в зоне установки анкера, для этого расстояние в свету между опорами оснастки и осью анкера должно составлять не менее 2hef (при испытании на растяжение и сдвиг без влияния края основания) или 2c1 (при испытании на сдвиг на откалывание края основания).
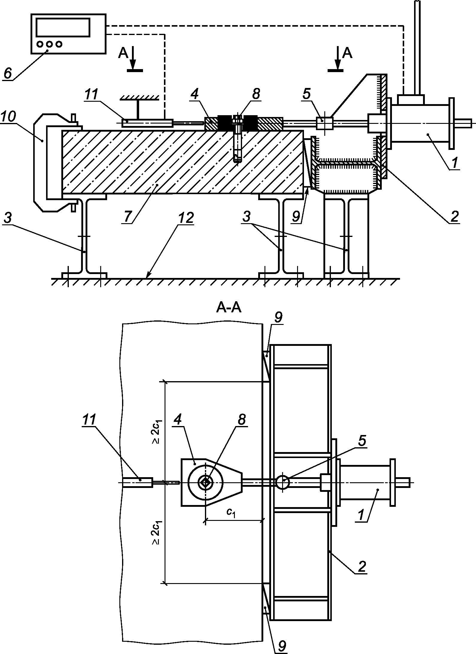
5.4.3 Схемы испытательных стендов для испытаний на вырыв и сдвиг приведены в приложении А.
5.4.4 Во время испытаний на вырыв нагрузку к анкеру следует прикладывать соосно с анкером. Диаметр отверстия в прикрепляемой детали должен соответствовать значениям, приведенным в таблице А.1.
5.4.5 При испытании на сдвиг нагрузка должна быть приложена параллельно поверхности бетонного основания. Гильза для испытания на сдвиг должна быть изготовлена из закаленной стали и иметь закругленные кромки 0,4 мм (см. рисунок А.3). Высота гильзы в зоне контакта с анкером должна быть не менее наружного диаметра анкера. Внутренний диаметр гильзы должен соответствовать размерам, представленным в таблице А.1. Для снижения трения между пластиной с гильзой и бетоном основания следует использовать прокладку из фторопласта.
5.5 Требования к средствам измерений
5.5.1 Для испытаний следует использовать аттестованные средства измерений, прошедшие калибровку и поверку в установленном порядке.
5.5.2 Погрешность измерения нагрузки не должна превышать 2% несущей способности анкера по 6.1.2.
5.5.3 Погрешность измерения перемещений анкера не должна превышать 0,02 мм.
5.6 Требования безопасности при проведении испытаний
5.6.1 При проведении испытаний следует обеспечивать соблюдение требований безопасности по ГОСТ 12.1.004 и ГОСТ 12.2.003.
5.6.2 При установке анкеров следует соблюдать требования безопасности, предусмотренные в технической документации производителя.
5.6.3 Расположение испытательной площадки, оснастки и оборудования на ней должны гарантировать безопасность персонала, участвующего в испытании.
5.6.4 Испытания следует останавливать в следующих случаях:
- повышение давления в гидравлическом оборудовании выше значений, допускаемых технической документацией на оборудование;
- падение давления в гидравлическом оборудовании, не связанное с характером работы анкера под нагрузкой;
- обнаружение повреждений или неисправности оснастки и средств измерений.
5.6.5 Все работы, связанные с устранением обнаруженных дефектов, следует проводить только при полной разгрузке.
6. Правила проведения испытаний
6.1 Сущность метода
6.1.1 Сущность метода испытаний анкера на вырыв и сдвиг в бетоне без трещин и с трещинами заключается в измерении значения испытательной нагрузки, соответствующего одному из предельных состояний, а также измерения перемещений анкера в ходе нагружения.
6.1.2 Предельным состоянием по прочности при испытании на вырыв принимают:
- нарушение сцепления анкера с бетоном, приводящее к его скольжению либо выдергиванию;
- выкалывание бетона основания с образованием конуса бетона;
- разрушение анкера по стали при достижении усилия разрыва.
6.1.3 Предельным состоянием по прочности при испытании на сдвиг принимают:
- разрушение анкера по стали при достижении усилий сдвига;
- выкалывание бетона основания за анкером.
6.2 Подготовка и проведение испытания
6.2.1 При подготовке к испытанию анкер и оснастка должны быть установлены в соответствии с требованиями 5.2 - 5.3.
6.2.2 При проведении испытаний межосевое расстояние соседних анкеров и расстояния от оси анкера до края основания должны быть достаточно большими, чтобы допустить формирование конуса выкалывания с углом 120°.
6.2.3 При испытании анкеров с контролем момента затяжки следует использовать моментные (динамометрические) ключи по ГОСТ 51254, при этом погрешность не должна превышать 5% момента затяжки. Через 10 мин после затяжки следует ослабить момент до 0,5Tinst.
6.2.4 Анкеры, не требующие затяжки согласно технической документации производителя, не следует затягивать перед испытанием.
6.2.5 Номинальный диаметр сверла следует принимать с уровнем допусков в соответствии с таблицей Б.1. В целях соблюдения указанных требований следует проверять диаметр сверла через каждые 10 сверлений.
6.2.6 Испытания проводят для серии анкеров.
6.2.7 Продолжительность нагружения анкера должна составлять от 1 до 3 мин при непрерывном нагружении и 15 - 20 мин - при ступенчатом нагружении, с выдержкой 2 - 3 мин на каждой ступени.
6.2.8 По результатам испытаний для каждого анкера строят график "нагрузка-перемещение".
6.3 Испытание на вырыв
6.3.1 Нагружение анкера выполняют до достижения одного из предельных состояний по 6.1.2. Перемещения анкера относительно поверхности бетона должны быть измерены путем использования одного индикатора перемещения на головке анкера или двух индикаторов, располагаемых по обе стороны от анкера (см. рисунок А.1). В последнем случае необходимо принимать среднее значение перемещения.
6.3.2 При испытании в основании с трещиной испытание проводят в такой последовательности. С помощью клиньев, установленных в заранее подготовленные отверстия, формируют трещину в основании согласно схеме на рисунке А.5, после чего извлекают клинья, просверливают отверстие и выполняют контроль образования трещины в отверстии. Трещина должна проходить через отверстие по всей его глубине. После этого устанавливают анкер в место образования трещины согласно инструкции производителя. Выполняют раскрытие трещины и проводят испытание анкера.
6.3.3 В ходе испытания следует измерять ширину трещины в непосредственной близости от анкера.
6.3.4 При испытании анкера в углу бетонного элемента оснастка для испытаний должна быть расположена таким образом, чтобы допускать неограниченное разрушение бетона в углу (см. рисунок 1).
1 - основание; 2 - испытуемый анкер
Рисунок 1 - Пример оснастки для испытаний
на растяжение анкеров, установленных в углу
6.4 Испытание на сдвиг
6.4.1 Анкер устанавливают без зазора между гильзой и бетоном основания. Испытание проводят до разрушения в соответствии с 6.2 и 5.4.5 и схемой на рисунке А.2.
6.4.2 В ходе испытания фиксируют значение перемещения анкера относительно основания вдоль направления сдвигающей нагрузки.
6.5 Испытание на превышение момента затяжки
6.5.1 Испытание выполняют на одиночном анкере в основании без трещин.
6.5.2 Момент затяжки прикладывают с помощью динамометрического ключа с ограничением по крутящему моменту до прекращения его роста, но не более 1,3Tinst. Выполняют выдержку 10 мин, контролируют момент затяжки и выполняют подтяжку анкера моментом до 1,3Tinst.
6.5.3 После затяжки выполняют испытание на вырыв по 6.3.1.
6.6 Испытание на проверку минимальных межосевого и краевого расстояний
6.6.1 Испытание выполняют путем затяжки анкеров крутящим моментом.
6.6.2 Выполняют испытание группы из двух анкеров, устанавливаемых вблизи края основания:
- с минимальным краевым расстоянием cmin и соответствующим ему межосевым расстоянием s;
- с минимальным межосевым расстоянием smin и соответствующим ему краевым расстоянием c.
6.6.3 Расстояние между анкерами соседних групп следует принимать не менее 3hef.
6.6.4 Размер анкерной пластины следует принимать согласно приложению А (см. рисунок А.4). Диаметр df отверстия с гарантированным зазором, выполненного в анкерной пластине, должен соответствовать значениям, приведенным в таблице А.1 приложения А. Толщину пластины следует принимать равной df. Допускается вместо анкерной пластины применять квадратные шайбы шириной 4dnom и толщиной ~= df.
6.6.5 Затяжку анкеров следует выполнять поочередно с шагом крутящего момента 0,2Tinst. После каждого шага необходимо осматривать поверхность бетона на наличие трещин. Момент затяжки следует увеличивать до прекращения его роста.
6.6.6 Следует фиксировать число оборотов за один шаг нагрузки для каждого анкера.
6.6.7 При испытании фиксируют момент затяжки, при котором образуется первая трещина, а также максимальный момент затяжки.
6.7 Испытание на влияние армирования основания
6.7.1 Испытания для определения влияния армирования основания выполняют на одиночных анкерах по 6.3.1 с учетом следующих положений.
6.7.2 Выполняют отверстие с подрезкой арматуры основания на эффективной глубине анкера 1 мм (как показано на рисунке 2), после чего выполняют испытание до разрушения.
Рисунок 2 - Схема испытания анкера
при влиянии армирования основания
6.8 Испытание на многоцикловое растяжение
6.8.1 Испытания проводят в основании без трещин на осевое растяжение на действие повторяющейся (пульсирующей) нагрузки. Схема приложения нагрузки представлена на рисунке А.1.
6.8.2 Растягивающую нагрузку на анкер прикладывают циклически с частотой 5 - 7 Гц. Количество циклов нагружения от Nmin до Nmax принимают до 105 либо до разрушения анкера.
6.8.3 Измерение перемещения анкера выполняют при первом цикле нагружения до значения Nmax, затем измерение выполняют непрерывно либо после 1, 10, 102, 103, 104, 105 циклов нагружения.
6.8.4 После завершения циклов нагружения анкер следует разгрузить, измерить остаточное перемещение и выполнить испытание на вырыв по 6.3.1.
7. Правила оформления результатов испытаний
В протокол испытания должны быть включены следующие сведения:
7.1 Общие сведения
- Описание и тип анкера;
- идентификация анкера (размеры, материалы, покрытие, метод изготовления);
- название и адрес предприятия-изготовителя;
- название и адрес испытательной лаборатории;
- дата проведения испытания;
- лицо, ответственное за проведение испытания;
- вид испытания (например, испытание на растяжение, сдвиг);
- количество испытаний;
- оснастка для испытаний с рисунками или фотографиями.
7.2 Характеристика основания для испытания
- Состав бетона. Показатели бетонной смеси перед укладкой (плотность, подвижность);
- дата изготовления;
- размеры контрольных образцов и/или кернов (в соответствующих случаях), значение прочности на сжатие в момент проведения испытания (отдельные результаты и среднее значение);
- размеры основания для испытания и расположение формовочной поверхности;
- характер и расположение армирования основания.
7.3 Установка анкера
- Сведения о расположении анкера (например, на формовочной поверхности бетонного основания);
- расстояния между соседними анкерами и краем бетонного основания;
- инструмент, необходимый для установки анкера, например ударный сверлильный инструмент, перфоратор, другое оборудование, например гаечный ключ с ограничением по крутящему моменту;
- тип наконечника сверла, маркировка предприятия-изготовителя и измеренные размеры наконечника сверла, соответствующий эффективный диаметр dcut, твердосплавная вставка;
- сведения о направлении сверления;
- информация об очистке отверстия;
- глубина просверленного отверстия;
- фактическая глубина установки анкера;
- ширина трещины при установке анкера (в соответствующих случаях);
- момент затяжки и другие параметры для контроля установки, например глубина проникновения расширяющего элемента в анкерах, контролем перемещения;
- перемещение анкера при приложении крутящего момента (если измеряется);
- тип используемых винтов и гаек;
- длина задействованной резьбы (в соответствующих случаях).
7.4 Зафиксированные показатели
- Параметры приложения нагрузки (время достижения максимальной нагрузки, скорость перемещения);
- график перемещения анкера от приложенной нагрузки;
- ширина трещины во время нагружения анкера (в соответствующих случаях);
- разрушающая нагрузка;
- тип разрушения анкера;
- форма и размеры конуса выкалывания бетонного основания при разрушении (в соответствующих случаях);
- сведения об испытаниях группы анкеров: механизм разрушения, возможное образование трещин между анкерами;
- сведения об испытаниях анкера при контакте со стержневой арматурой: определение местоположения анкера по отношению к стержням арматуры, размеры уширения.
7.5 Содержание протокола может быть дополнено, в зависимости от объема и обстоятельств испытаний.
Приложение А
(справочное)
ПРИНЦИПИАЛЬНЫЕ СХЕМЫ ИСПЫТАТЕЛЬНЫХ СТЕНДОВ
1 - домкрат с датчиком усилия (давления); 2 - силовая рама;
3 - опора силовой рамы; 4 - универсальное захватывающее
устройство с тягой; 5 - шарнир; 6 - устройство регистрации
контрольных параметров (силы, перемещения); 7 - основание;
8 - испытуемый анкер; 9 - направляющий блок на независимом
штативе; 10 - тонкая проволока; 11 - индикатор перемещения
на независимом штативе
Рисунок А.1 - Принципиальная схема стенда
для испытания анкера на вырыв
1 - домкрат с датчиком усилия (давления); 2 - силовая рама;
3 - опора, закрепленная к силовому полу; 4 - универсальное
захватывающее устройство с тягой; 5 - шарнир;
6 - устройство регистрации контрольных параметров
(силы, перемещения); 7 - основание; 8 - испытуемый анкер;
9 - упоры; 10 - струбцина; 11 - индикатор перемещения
на независимом штативе;
12 - силовой пол
Рисунок А.2 - Принципиальная схема стенда
для испытания на сдвиг
1 - основание; 2 - гильза (вкладыш);
3 - оснастка для испытания; 4 - фаска
Рисунок А.3 - Гильза для испытания на сдвиг
Таблица А.1
Диаметр отверстия гильзы для испытания
В миллиметрах
Внешний диаметр анкера d или dnom
6
8
10
12
14
16
18
20
22
24
27
30
Диаметр отверстия в свету df гильзы
7
9
12
14
16
18
20
22
24
26
30
33
1 - основание; 2 - опорная пластина; 3 - анкер
Рисунок А.4 - Испытание на проверку минимальных
межосевого и краевого расстояний
1 - анкер; 2 - клин; 3 - индикатор измерения ширины
раскрытия трещины
Рисунок А.5 - Испытание в основании с трещиной
Приложение Б
(обязательное)
ТРЕБОВАНИЯ К СВЕРЛАМ ДЛЯ ВЫПОЛНЕНИЯ
УСТАНОВОЧНЫХ ОТВЕРСТИЙ ПОД АНКЕРЫ
Сверла (буры) для выполнения отверстий под анкеры должны позволять выполнение установочных отверстий заданной глубины с указанным номинальным диаметром. Фактический диаметр сверла, определяемый максимальным габаритом режущей части (см. рисунок Б.1), должен соответствовать требованиям таблицы Б.1. Фактический диаметр сверла измеряют с точностью до 0,05 мм. Требуемый уровень допусков диаметра сверла определяют в зависимости от вида испытания, для неоговоренных случаев применяются сверла со средним уровнем допусков.
Таблица Б.1
Диаметр в миллиметрах
Номинальный диаметр сверла
Фактический диаметр сверла dcut с учетом уровня допусков, мм
Минимальный уровень допусков
Средний уровень допусков
Максимальный уровень допусков
dcut,min
dcut,m
dcut,max
6
6,05 - 6,2
6,2 - 6,3
6,35 - 6,4
8
8,05 - 8,2
8,25 - 8,35
8,4 - 8,45
10
10,05 - 10,2
10,25 - 10,35
10,4 - 10,45
12
12,1 - 12,2
12,25 - 12,35
12,45 - 12,5
14
14,1 - 14,2
14,25 - 14,35
14,45 - 14,5
15
15,1 - 15,2
15,25 - 15,35
15,45 - 15,5
16
16,1 - 16,2
16,25 - 16,35
16,45 - 16,5
18
18,1 - 18,2
18,25 - 18,35
18,45 - 18,5
20
20,1 - 20,2
20,3 - 20,4
20,5 - 20,55
22
22,1 - 22,2
22,3 - 22,4
22,5 - 22,55
24
24,1 - 24,2
24,3 - 24,4
24,5 - 24,55
25
25,1 - 25,2
25,3 - 25,4
25,5 - 25,55
27
27,1 - 27,2
27,3 - 27,4
27,5 - 27,55
30
30,1 - 30,2
30,3 - 30,4
30,5 - 30,55
32
32,15 - 32,25
32,35 - 32,5
32,6 - 32,7
35
35,15 - 35,25
35,35 - 35,5
35,6 - 35,7
37
37,15 - 37,25
37,35 - 37,5
37,6 - 37,7
40
40,15 - 40,25
40,4 - 40,6
40,7 - 40,8
Рисунок Б.1 - Контрольные размеры сверла
для выполнения установочных отверстий под анкеры
Приложение В
(справочное)
ИСПЫТАНИЕ НА ВЫРЫВ ПРИ ЦИКЛИЧНОМ РАСКРЫТИИ ТРЕЩИНЫ
В.1 Испытание выполняют в такой последовательности. Формируют трещину в основании с помощью закладной арматуры (см. рисунок В.1). Устанавливают анкер согласно инструкции производителя в закрытую трещину и выполняют раскрытие трещины до достижения значения величины acrc1, после чего прикладывают растягивающую нагрузку к анкеру и выполняют цикличное раскрытие трещины с количеством циклов, равным n.
1 - анкер; 2 - инициатор трещины;
3 - трещина; 4 - арматура
Рисунок В.1 - Испытание в основании с трещиной
В.2 Частоту раскрытия/закрытия трещин принимают в диапазоне 0,1 - 0,3 Гц.
В.3 Диапазон раскрытия трещины принимают от acrc2 до acrc1. Для этого нагрузки раскрытия трещины подбирают опытным путем.
В.4 Растягивающее усилие в анкере в ходе испытания не должно отличаться от начального более чем на 5%.
В.5 По результатам испытания строят график перемещения анкера от растягивающей силы. Для этого в ходе испытания проводят непрерывную фиксацию перемещения анкера либо после 1, 2, 5, 10, 20, 50, 100, 200, 500, 1000 и т.д. цикла раскрытия трещины.
В.6 После завершения циклического раскрытия трещины анкер следует разгрузить, измерить остаточное перемещение и выполнить испытание на вырыв по 6.3.1 при acrc1.