Главная // Актуальные документы // ГОСТ Р (Государственный стандарт)СПРАВКА
Источник публикации
М.: ИПК Издательство стандартов, 1999
Примечание к документу
Документ утратил силу с 1 января 2017 года в связи с изданием
Приказа Росстандарта от 08.06.2016 N 569-ст. Взамен введен в действие
ГОСТ 33530-2015.
Документ включен в
Перечень документов в области стандартизации, содержащих правила и методы исследований (испытаний) и измерений, в том числе правила отбора образцов, необходимые для применения и исполнения технического
регламента о безопасности машин и оборудования, а также для осуществления оценки соответствия (
Распоряжение Правительства РФ от 05.08.2010 N 1328-р).
С 1 июля 2003 года до вступления в силу технических регламентов акты федеральных органов исполнительной власти в сфере технического регулирования носят рекомендательный характер и подлежат обязательному исполнению только в части, соответствующей целям, указанным в
пункте 1 статьи 46 Федерального закона от 27.12.2002 N 184-ФЗ.
Введен в действие с 1 января 2000 года.
Название документа
"ГОСТ Р 51254-99 (ИСО 6789-92). Инструмент монтажный для нормированной затяжки резьбовых соединений. Ключи моментные. Общие технические условия"
(принят и введен в действие Постановлением от 11.03.1999 N 73)
"ГОСТ Р 51254-99 (ИСО 6789-92). Инструмент монтажный для нормированной затяжки резьбовых соединений. Ключи моментные. Общие технические условия"
(принят и введен в действие Постановлением от 11.03.1999 N 73)
Принят и введен в действие
Постановлением Госстандарта РФ
от 11 марта 1999 г. N 73
ГОСУДАРСТВЕННЫЙ СТАНДАРТ РОССИЙСКОЙ ФЕДЕРАЦИИ
ИНСТРУМЕНТ МОНТАЖНЫЙ ДЛЯ НОРМИРОВАННОЙ
ЗАТЯЖКИ РЕЗЬБОВЫХ СОЕДИНЕНИЙ
КЛЮЧИ МОМЕНТНЫЕ
ОБЩИЕ ТЕХНИЧЕСКИЕ УСЛОВИЯ
Assembly tools for standardized tightening
of threaded connections. Torque wrenches.
Basic specifications
ГОСТ Р 51254-99
(ИСО 6789-92)
Дата введения
1 января 2000 года
1. Разработан Уральским научно-исследовательским институтом метрологии (УНИИМ).
Внесен Техническим комитетом по стандартизации ТК 95 "Инструмент".
2. Принят и введен в действие Постановлением от 11 марта 1999 г. N 73.
3. В стандарте полностью отражены требования международного стандарта ИСО 6789-92 "Инструменты монтажные для винтов и гаек. Ручные динамометрические инструменты. Требования и методы испытаний" с дополнительными требованиями, отражающими потребности экономики страны.
4. Введен впервые.
Настоящий стандарт устанавливает технические требования на ключи (отвертки) моментные (далее - ключи), используемые при нормированной затяжке резьбовых соединений.
Стандарт распространяется на ключи моментные шкальные и предельные по ГОСТ 8.541, в том числе соответствующие номерам 258 и 259 ГОСТ 29308.
Обязательные требования к качеству ключей, обеспечивающие их безопасность для жизни и здоровья граждан, изложены в
разделе 6.
Стандарт может быть использован для целей сертификации ключей.
В настоящем стандарте использованы ссылки на следующие стандарты:
ГОСТ 8.009-84 ГСИ. Нормирование и использование метрологических характеристик средств измерений
| | ИС МЕГАНОРМ: примечание. ГОСТ 8.541-86 утратил силу на территории Российской Федерации с 1 января 2013 года в связи с введением в действие ГОСТ Р 8.752-2011 (Приказ Росстандарта от 13.12.2011 N 1081-ст). | |
ГОСТ 8.541-86 ГСИ. Государственный первичный эталон и государственная поверочная схема для средств измерений крутящего момента силы
ГОСТ 15150-69 Машины, приборы и другие технические изделия. Исполнения для различных климатических районов. Категории, условия эксплуатации, хранения и транспортирования в части воздействия климатических факторов внешней среды
ГОСТ 24372-80 Ключи гаечные. Торцевые немеханизированные со сменными головками. Квадраты присоединительные наружные и внутренние. Размеры
ГОСТ 25605-83 Ключи гаечные торцевые немеханизированные и приводные части. Общие технические условия
ГОСТ 29308-92 (ИСО 1703-83) Инструмент монтажный для винтов и гаек. Номенклатура
3.1. В настоящем стандарте применяют следующие термины с соответствующими определениями:
3.1.1. Ключ (отвертка) моментный (динамометрический): средство измерений, предназначенное для воспроизведения крутящего момента при нормированной затяжке резьбовых соединений с установленной погрешностью;
3.1.2. Ключ (отвертка) моментный шкальный: средство измерений, предназначенное для воспроизведения текущего значения крутящего момента при нормированной затяжке резьбовых соединений с установленной погрешностью;
3.1.3. Ключ (отвертка) моментный предельный: средство измерений (однозначная или многозначная мера), предназначенное для воспроизведения крутящего момента с установленной погрешностью при затяжке резьбовых соединений, сигнализирующее о достижении нормированного значения.
Моментные ключи имеют следующую классификацию:
- ключи моментные шкальные, в том числе номер 258 по ГОСТ 29308, (
Приложение А):
тип А: ключ, информацию о воспроизводимом моменте в котором получают по измерительной шкале непосредственно по деформации изгиба или кручения упругого элемента ключа;
тип В: ключ, содержащий жесткий корпус, в котором размещены механические элементы преобразования линейно-угловых перемещений. Измерительная шкала установлена на корпусе;
тип С: ключ, деформация упругого элемента которого преобразуется в электрический сигнал;
тип D: отвертка, информацию о воспроизводимом моменте в которой получают по измерительной шкале, размещенной на корпусе непосредственно по деформации упругого элемента;
тип Е: отвертка, деформация упругого элемента которой преобразуется в электрический сигнал;
- ключи моментные предельные, в том числе номер 259 по ГОСТ 29308 (
Приложение Б):
тип А: ключ с регулировкой воспроизводимого крутящего момента, содержащий шкалу для его установки;
тип В: ключ, жестко отрегулированный на воспроизведение одного значения крутящего момента;
тип С: ключ с регулировкой воспроизводимого крутящего момента без шкалы для его установки;
тип D: отвертка с регулировкой воспроизводимого крутящего момента, содержащая шкалу (циферблат) для его установки;
тип Е: отвертка, жестко отрегулированная на воспроизведение одного значения крутящего момента;
тип F: отвертка с регулировкой в определенном диапазоне воспроизводимого крутящего момента без шкалы.
5. Общие технические требования
5.1. Метрологические характеристики
5.1.1. Нижний предел измерений (воспроизведений) должен составлять не менее 20% верхнего предела измерений (воспроизведений).
5.1.2. Шкала шкальных ключей должна иметь нулевую отметку шкалы.
5.1.3. Предел основной допускаемой погрешности от измеряемого (воспроизводимого) значения следует выбирать из ряда 2; 3; 4; 5; 6; 8%.
5.1.4. Цена деления шкалы согласно выбранному по 5.1.3 пределу основной допускаемой погрешности не должна превышать 2,5; 4; 5; 6; 8; 10% верхнего предела измерений (воспроизведений) соответственно.
5.1.5. Для нормирования воздействия влияющих величин можно применять функции влияния или наибольшие допустимые изменения метрологических характеристик по
ГОСТ 8.009.
5.2. На поверхности ключей не допускаются раковины, расслоения, трещины, закаты, волосовины, плены, следы коррозии и заусенцы.
На поверхностях, не подвергаемых механической обработке, допускаются местные дефекты горячей и холодной обработки, не снижающие прочности, не влияющие на метрологические характеристики ключа и не ухудшающие внешний вид изделий.
5.3. Ключи должны иметь одно из защитно-декоративных покрытий, указанных в
ГОСТ 25605.
5.4. Требования к надежности
5.4.1. Средняя наработка на отказ - не менее 5000 циклов.
5.4.2. Показатели ремонтопригодности ключей следует указывать в стандартах на конкретные ключи.
5.4.3. Средний срок сохраняемости - не менее года.
5.5. Конструктивные требования
5.5.1. Размеры присоединительного квадрата ключа следует выбирать из ряда 6,3; 10,0; 12,5; 20,0; 25,0 мм и он должен соответствовать требованиям, указанным в таблице 1. Допуски на присоединительные квадраты - по
ГОСТ 24372.
Таблица 1
┌────────────────────────────┬──────────────────────────────┐
│ Верхний предел измерений, │ Размер присоединительного │
│ Н х м │ квадрата, мм, не менее │
├────────────────────────────┼──────────────────────────────┤
│ До 30 │ 6,3 │
│ " 135 │ 10,0 │
│ " 340 │ 12,5 │
│ " 1000 │ 20,0 │
│ " 2700 │ 25,0 │
└────────────────────────────┴──────────────────────────────┘
5.6. Комплектность
5.6.1. Перечень и число прилагаемых присоединительных деталей и приспособлений должны быть установлены в стандартах на конкретные ключи. К каждому экземпляру ключа следует прилагать эксплуатационные документы по
ГОСТ 2.601, включая методику поверки в виде самостоятельного документа или раздела инструкции по эксплуатации.
5.7.1. На ключе должны быть нанесены следующие данные:
- верхний предел измерений ключа;
- единица измерений;
- направление действия (для ключей, действующих только в одном направлении);
- модель ключа;
- товарный знак завода-изготовителя (или ответственного поставщика);
- заводской номер ключа;
- месяц и год выпуска.
5.7.2. На удлинителе рукоятки ключа, входящем в его комплект, должны быть нанесены следующие данные:
- модель ключа;
- модель (номер) удлинителя;
- коэффициент пересчета показаний ключа при использовании удлинителя.
5.7.3. При наличии сменных гаечных насадок, входящих в комплект, на них должны быть нанесены следующие данные:
- модель ключа;
- размер зева.
5.7.4. Надписи и знаки, наносимые на ключи, должны быть выполнены любыми способами, обеспечивающими контрастность изображения и механическую прочность.
5.8. Упаковка
5.8.1. Требования к упаковке ключа следует излагать в стандартах на конкретный ключ.
6. Требования безопасности
6.1. Прочность ключей определяют испытательными крутящими моментами, составляющими 125% верхнего предела измерений (или номинальной величины для ключей моментных предельных типов В и Е).
6.2. Ключи со сменных головок и приводных частей с присоединительными элементами должны сниматься усилием руки без ударов и без применения дополнительных устройств. При этом усилие должно быть не менее указанного в
ГОСТ 25605.
6.3. Ключи следует применять только со штатными сменными гаечными насадками или сменными головками, выполненными в соответствии с требованиями
ГОСТ 25604, и удлинителями с присоединительными квадратами, выполненными в соответствии с требованиями
ГОСТ 25600.
6.4. При эксплуатации ключей не допускается использование нештатных удлинителей.
7.1. Ключи следует подвергать испытаниям для целей утверждения типа, приемосдаточным, периодическим и типовым, а также испытаниям на безопасность.
7.2. Порядок проведения испытаний для целей утверждения типа - по
[1].
7.3. При приемосдаточных испытаниях ключи подвергают сплошному контролю.
При приемосдаточных испытаниях следует:
- проводить проверку внешнего вида, комплектности, маркировку, упаковку;
- определять метрологические характеристики;
- проводить испытания на прочность.
Полный объем испытаний и проверок, порядок их проведения устанавливается в стандартах на конкретные ключи.
7.4. При периодических испытаниях дополнительно к испытаниям, перечисленным в 7.3, следует проводить:
- проверку размера присоединительного квадрата;
- проверку снимаемости сменных головок (
6.2);
- проверку габаритных размеров и массы;
- испытания на воздействие пониженной (повышенной) температуры, соответствующей рабочим условиям и условиям транспортирования;
- испытания на механическую прочность при транспортной тряске;
- испытания на надежность.
Полный объем испытаний и проверок, порядок их проведения, количество образцов для испытаний устанавливают в стандартах на конкретные ключи.
Периодичность испытаний - не реже раза в 3 года.
7.5. Содержание типовых испытаний определяют характером изменений конструкции ключа, материалов и технологией изготовления.
Объем испытаний и проверок, порядок их проведения, количество образцов для испытаний устанавливают в стандартах на конкретные ключи.
8. Методы контроля и испытаний
8.1. Условия контроля и испытаний
8.1.1. Нормальные условия испытаний при определении метрологических характеристик устанавливают в стандартах на конкретные ключи и они должны быть:
- температура окружающего воздуха (20 +/- 5) °С;
- относительная влажность от 30 до 80%;
- атмосферное давление от 84,0 до 106,7 кПа;
- рабочее положение изделия в пространстве должно соответствовать требованиям стандартов на конкретный ключ;
- время выдержки ключа в нормальных условиях перед испытанием устанавливают в стандартах на конкретные ключи, и оно должно быть не менее 1 ч.
8.2. Средства контроля
| | ИС МЕГАНОРМ: примечание. ГОСТ 8.541-86 утратил силу на территории Российской Федерации с 1 января 2013 года в связи с введением в действие ГОСТ Р 8.752-2011 (Приказ Росстандарта от 13.12.2011 N 1081-ст). | |
8.2.1. Для проведения контроля и испытаний ключей на соответствие требованиям настоящего стандарта в качестве средств контроля следует использовать образцовые средства измерений (воспроизведений) крутящего момента (ОСИ) по ГОСТ 8.541, удовлетворяющие следующим условиям:
- предел допускаемой погрешности ОСИ не должен превышать 1% измеряемой (воспроизводимой) величины для ключей с погрешностью 2; 3; 4; 5% и 2% для ключей с погрешностью 6; 8%;
- ОСИ должно позволять проводить нагружение ключей плавно возрастающей нагрузкой.
8.3. Порядок проведения контроля
8.3.1. Испытания на прочность
8.3.1.1. Нагружают ключ крутящим моментом, превышающим на 25% верхний предел измерений (воспроизведений) или номинальной величиной для предельных ключей типов В и Е. Выдерживают ключ под нагрузкой не менее 10 с. Ключ считают выдержавшим испытания, если после испытаний характеристики ключа соответствуют требованиям
5.1.3. Кроме того, показания шкальных ключей в течение испытаний не должны изменяться под нагрузкой более чем на 0,5 деления.
8.3.2. Внешний осмотр
8.3.2.1. Перед началом испытаний следует убедиться, что:
- поверхности ключа соответствуют требованиям
5.2,
5.3. Вид ключа должен соответствовать эталонному образцу;
- комплектность, маркировка и упаковка соответствуют требованиям документации;
- показания шкальных ключей соответствуют нулю нагрузки.
8.3.2.2. Перед начатом испытаний должно быть выполнено:
- для шкальных ключей - не менее трех нагружений до верхнего предела измерений;
- для ключей предельных - не менее пяти нагружений до срабатывания ключа при максимальной или номинальной нагрузке;
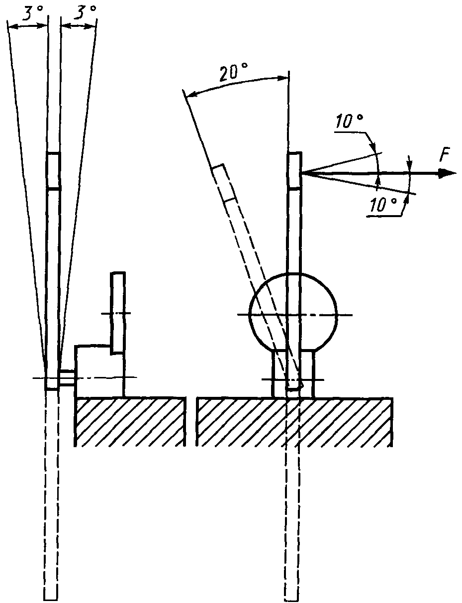
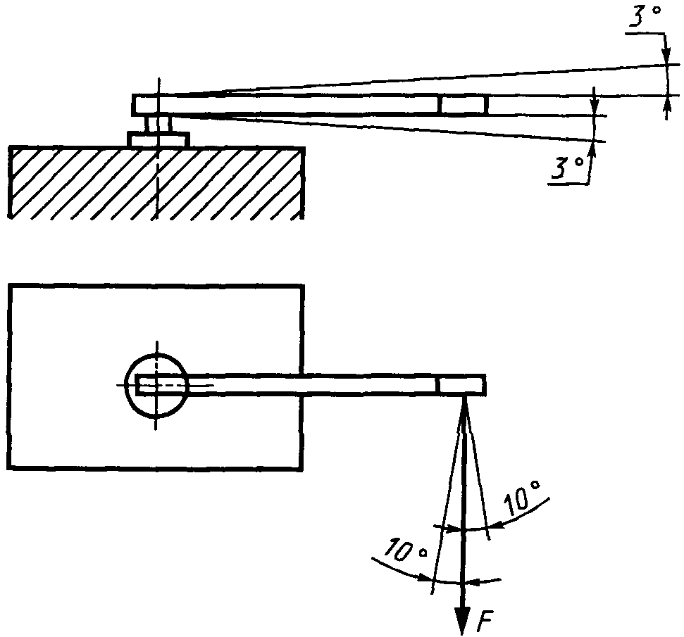
- для ключей с одним плечом действующая сила должна быть приложена в пределах, указанных на рисунках 1 и
2 в центре рукоятки или в месте, имеющем специальную отметку.
Рис. 1. Вертикальное расположение ключа
Рис. 2. Горизонтальное расположение ключа
8.3.3. Определение метрологических характеристик
8.3.3.1. Испытуемый ключ устанавливают на ОСИ в соответствии с инструкцией по эксплуатации ОСИ и нагружают возрастающей статической нагрузкой до достижения контролируемого крутящего момента или срабатывания ключа. Увеличение нагрузки от 80 до 100% контролируемого значения должно выполняться плавно в течение 1 - 4 с в зависимости от значения крутящего момента, если иное не указано в технической документации. Затем ключ разгружают.
Цикл нагружения и разгружения следует повторить:
- для ключей шкальных и предельных, кроме типов С и F, 5 раз;
- для ключей предельных типов С и F - 10 раз.
Перемена знака нагрузки до окончания нагружения не допускается. В случае несоблюдения этого требования испытания повторяют.
8.3.3.2. Испытания по 8.3.3.1 проводят последовательно при 20; 60 и 100% нагрузки от верхнего предела измерений. Для ключей предельных типов В и Е испытания по 8.3.3.1 проводят при номинальной нагрузке.
Если на шкале не нанесены отметки 20 и 60% от верхнего предела измерений, то контроль должен быть проведен на ближайшей большей отметке шкалы.
8.3.3.3. Результаты испытаний считают положительными, если полученная погрешность ключа не превышает контрольного допуска, равного 90% значения погрешности, нормированного в
5.1.3.
Для ключей предельных типов С и F значение погрешности определяют как разницу между средним арифметическим из 10 показаний и заданным значением.
8.3.3.4. При наличии штатных удлинителей испытания по
8.3.3.1 - 8.3.3.3 проводят в полном объеме для каждого удлинителя.
8.3.4. Испытания по оценке функции влияния по
5.1.5 устанавливают в стандартах на конкретные ключи.
8.3.5. Испытания ключей на воздействие пониженной (повышенной) температуры, соответствующей климатическому исполнению ключа и условиям транспортирования, устанавливают в стандартах на конкретные ключи.
8.3.6. Испытания на механическую прочность при транспортной тряске устанавливают в стандартах на конкретные ключи.
8.3.7. Испытания на надежность
8.3.7.1. Объем и методику выполнения испытаний на надежность устанавливают в стандартах на конкретные ключи.
Испытания по
5.4.1 проводят многократным нагружением крутящим моментом, соответствующим верхнему пределу измерений или номинальной нагрузке для ключей предельных типов В и Е, в каждом направлении.
Надежность ключей оценивают по числу отказов: механических повреждений или несоответствия требованиям
5.1.3.
9. Условия транспортирования и хранения
9.1. Условия транспортирования и хранения ключей должны соответствовать:
- принятому климатическому исполнению по
ГОСТ 15150 - в части воздействия климатических факторов внешней среды;
- условиям транспортирования, указанным в стандартах на конкретные ключи, - в части механических воздействий.
10. Указания по эксплуатации
10.1. Нормированную затяжку резьбовых соединений ключами можно проводить одним из двух методов.
Метод 1. Затяжку и контроль крутящего момента проводят непосредственно на резьбовом соединении моментными ключами, при этом диапазон измерений ключа определяют допуском на затяжку, а его погрешность - допуском на затяжку и принятым уровнем доверительной вероятности.
Метод 2. Затяжку проводят моментным ключом через редуктор (усилитель момента, ключ-мультипликатор). Контроль затяжки проводят на входе редуктора по моментному ключу. Крутящий момент на резьбовом соединении определяют как произведение показаний моментного ключа и коэффициента преобразования редуктора. Погрешность ключа определяют допуском на затяжку, погрешностью задания коэффициента преобразования редуктора и принятым уровнем доверительной вероятности. При этом редуктор следует рассматривать как одноканальный (по крутящему моменту) измерительный преобразователь, являющийся однозначной мерой коэффициента преобразования.
10.2. Выбор ключа следует проводить, руководствуясь соотношением между погрешностью измерений, % (воспроизведений) момента затяжки и допуском на затяжку, которое должно удовлетворять следующим условиям:

,
где К = 35 при доверительной вероятности 0,95.
(обязательное)
КЛЮЧИ (ОТВЕРТКИ) МОМЕНТНЫЕ ШКАЛЬНЫЕ
Тип А
Тип В
Тип С
Тип D
Тип Е
(обязательное)
КЛЮЧИ (ОТВЕРТКИ) МОМЕНТНЫЕ ПРЕДЕЛЬНЫЕ
Тип А
Тип В
Тип С
Тип D
Тип Е
Тип F
(информационное)
БИБЛИОГРАФИЯ
[1]
ПР 50.2.009-94 ГСИ. Порядок проведения испытаний и утверждения типа средств измерений