Главная // Актуальные документы // ПорядокСПРАВКА
Источник публикации
М.: Минстрой России, 2023
Примечание к документу
Текст документа приведен в соответствии с публикацией на сайте https://minstroyrf.gov.ru/ по состоянию на 01.06.2023.
Документ
введен в действие с 06.06.2023.
Название документа
"СП 522.1325800.2023. Свод правил. Системы фасадные навесные вентилируемые. Правила проектирования, производства работ и эксплуатации"
(утв. и введен в действие Приказом Минстроя России от 05.05.2023 N 325/пр)
"СП 522.1325800.2023. Свод правил. Системы фасадные навесные вентилируемые. Правила проектирования, производства работ и эксплуатации"
(утв. и введен в действие Приказом Минстроя России от 05.05.2023 N 325/пр)
Утвержден и введен в действие
и жилищно-коммунального хозяйства
Российской Федерации
от 5 мая 2023 г. N 325/пр
СВОД ПРАВИЛ
СИСТЕМЫ ФАСАДНЫЕ НАВЕСНЫЕ ВЕНТИЛИРУЕМЫЕ
ПРАВИЛА ПРОЕКТИРОВАНИЯ, ПРОИЗВОДСТВА РАБОТ И ЭКСПЛУАТАЦИИ
Facade mounted ventilated systems. Rules of design,
production and operation
СП 522.1325800.2023
Дата введения
6 июня 2023 года
Сведения о своде правил
1 ИСПОЛНИТЕЛИ - Акционерное общество "Центральный научно-исследовательский и проектно-экспериментальный институт промышленных зданий и сооружений" (АО "ЦНИИПромзданий") при участии Союза производителей, проектировщиков и поставщиков фасадных систем "Фасадный Союз" (Фасадный союз)
2 ВНЕСЕН Техническим комитетом по стандартизации ТК 465 "Строительство"
3 ПОДГОТОВЛЕН к утверждению Департаментом градостроительной деятельности и архитектуры Министерства строительства и жилищно-коммунального хозяйства Российской Федерации (Минстрой России)
4 УТВЕРЖДЕН
приказом Министерства строительства и жилищно-коммунального хозяйства Российской Федерации от 5 мая 2023 г. N 325/пр и введен в действие с 6 июня 2023 г.
5 ЗАРЕГИСТРИРОВАН Федеральным агентством по техническому регулированию и метрологии (Росстандарт)
6 ВВЕДЕН ВПЕРВЫЕ
В случае пересмотра (замены) или отмены настоящего свода правил соответствующее уведомление будет опубликовано в установленном порядке. Соответствующая информация, уведомление и тексты размещаются также в информационной системе общего пользования - на официальном сайте разработчика (Минстрой России) в сети Интернет
Настоящий свод правил разработан в целях обеспечения требований Федерального закона от 30 декабря 2009 г.
N 384-ФЗ "Технический регламент о безопасности зданий и сооружений", с учетом требований федеральных законов от 22 июля 2008 г.
N 123-ФЗ "Технический регламент о требованиях пожарной безопасности", от 23 ноября 2009 г.
N 261-ФЗ "Об энергосбережении и о повышении энергоэффективности и о внесении изменений в отдельные законодательные акты Российской Федерации".
Настоящий свод правил разработан авторским коллективом: АО "ЦНИИПромзданий" (руководитель разработки -
К.В. Авдеев, исполнители - канд. техн. наук
С.С. Румянцев, канд. техн. наук
К.Г. Вахрушев, Н.М. Баева, Д.И. Левин); при участии Фасадного Союза (руководитель разработки -
С.В. Алехин, исполнители - д-р техн. наук
О.В. Кабанцев, канд. техн. наук
О.В. Волкова, канд. техн. наук
В.А. Смирнов, канд. техн. наук
В.Ф. Беляев, канд. техн. наук
В.Ф. Коротких, канд. техн. наук
В.В. Пономарев, Г.Н. Ивашина,
С.А. Собода,
Л.Н. Вострикова,
А.В. Галямичев,
С.Г. Рыков); при участии НОСТРОЙ (
раздел 8,
подраздел 18.5); АО "НИЦ "Строительство" (канд. техн. наук
М.О. Павлова, В.А. Захаров); НИИСФ РААСН (канд. техн. наук
П.П. Пастушков).
1.1 Настоящий свод правил распространяется на проектирование, производство работ и эксплуатацию навесных фасадных вентилируемых конструкций для наружной облицовки стен зданий и сооружений, применяемых в новом строительстве и при реконструкции или капитальном ремонте.
1.2 Свод правил не распространяется на проектирование:
- фасадных конструкций специального назначения (противовзломные, пуленепробиваемые, противопожарные и легкосбрасываемые);
- светопрозрачных фасадных конструкций.
В настоящем своде правил использованы нормативные ссылки на следующие документы:
ГОСТ 9.072-2017 Единая система защиты от коррозии и старения. Покрытия лакокрасочные. Термины и определения
ГОСТ 9.104-2018 Единая система защиты от коррозии и старения. Покрытия лакокрасочные. Группы условий эксплуатации
ГОСТ 9.301-86 Единая система защиты от коррозии и старения. Покрытия металлические и неметаллические неорганические. Общие требования
ГОСТ 9.401-2018 Единая система защиты от коррозии и старения. Покрытия лакокрасочные. Общие требования и методы ускоренных испытаний на стойкость к воздействию климатических факторов
ГОСТ 9.410-88 Единая система защиты от коррозии и старения. Покрытия порошковые полимерные. Типовые технологические процессы
ГОСТ 12.0.004-2015 Система стандартов безопасности труда. Организация обучения безопасности труда. Общие положения
ГОСТ 12.1.046-2014 Система стандартов безопасности труда. Строительство. Нормы освещения строительных площадок
ГОСТ 12.3.002-2014 Система стандартов безопасности труда. Процессы производственные. Общие требования безопасности
ГОСТ 12.3.009-76 Система стандартов безопасности труда. Работы погрузочно-разгрузочные. Общие требования безопасности
ГОСТ 12.4.011-89 Система стандартов безопасности труда. Средства защиты работающих. Общие требования и классификация
ГОСТ 166-89 (ИСО 3599-76) Штангенциркули. Технические условия
ГОСТ 427-75 Линейки измерительные металлические. Технические условия
ГОСТ 535-2005 Прокат сортовой и фасонный из стали углеродистой обыкновенного качества. Общие технические условия
ГОСТ 4543-2016 Металлопродукция из конструкционной легированной стали. Технические условия
ГОСТ 5582-75 Прокат листовой коррозионно-стойкий, жаростойкий и жаропрочный. Технические условия
ГОСТ 5632-2014 Нержавеющие стали и сплавы коррозионно-стойкие, жаростойкие и жаропрочные. Марки
ГОСТ 5949-2018 Металлопродукция из сталей нержавеющих и сплавов на железоникелевой основе коррозионно-стойких, жаростойких и жаропрочных. Технические условия
ГОСТ 7502-98 Рулетки измерительные металлические. Технические условия
ГОСТ 7798-70 Болты с шестигранной головкой класса точности B. Конструкция и размеры
ГОСТ 9045-93 Прокат тонколистовой холоднокатаный из низкоуглеродистой качественной стали для холодной штамповки. Технические условия
ГОСТ 11701-84 Металлы. Методы испытаний на растяжение тонких листов и лент
ГОСТ 13726-97 Ленты из алюминия и алюминиевых сплавов. Технические условия
ГОСТ 14637-89 (ИСО 4995-78) Прокат тонколистовой из углеродистой стали обыкновенного качества. Технические условия
ГОСТ 15150-69 Машины, приборы и другие технические изделия. Исполнения для различных климатических районов. Категории, условия эксплуатации, хранения и транспортирования в части воздействия климатических факторов внешней среды
ГОСТ 16350-80 Климат СССР. Районирование и статистические параметры климатических факторов для технических целей
ГОСТ 16523-97 Прокат тонколистовой из углеродистой стали качественной и обыкновенного качества общего назначения. Технические условия
ГОСТ 17177-94 Материалы и изделия строительные теплоизоляционные. Методы испытаний
ГОСТ 19223-90 Светодальномеры геодезические. Общие технические условия
ГОСТ 22233-2018 Профили прессованные из алюминиевых сплавов для ограждающих конструкций. Технические условия
ГОСТ 24297-2013 Верификация закупленной продукции. Организация проведения и методы контроля
ГОСТ 24839-2012 Конструкции строительные стальные. Расположение отверстий в прокатных профилях. Размеры
ГОСТ 27321-2018 Леса стоечные приставные для строительно-монтажных работ. Технические условия
ГОСТ 27372-87 Люльки для строительно-монтажных работ. Технические условия
ГОСТ 27751-2014 Надежность строительных конструкций и оснований. Основные положения
ГОСТ 27772-2021 Прокат для строительных стальных конструкций. Общие технические условия
ГОСТ 30244-94 Материалы строительные. Методы испытаний на горючесть
ГОСТ 31251-2008 Стены наружные с внешней стороны. Метод испытаний на пожарную опасность
ГОСТ 31937-2011 Здания и сооружения. Правила обследования и мониторинга технического состояния
ГОСТ 32314-2012 (EN 13162:2008) Изделия из минеральной ваты теплоизоляционные промышленного производства, применяемые в строительстве. Общие технические условия
ГОСТ 32317-2012 (EN 1297:2004) Материалы кровельные и гидроизоляционные гибкие битумосодержащие и полимерные (термопластичные и эластомерные). Метод испытания на старение под воздействием искусственных климатических факторов: УФ-излучения, повышенной температуры и воды
ГОСТ 33290-2015 Материалы лакокрасочные, применяемые в строительстве. Общие технические условия
ГОСТ 34180-2017 Прокат стальной тонколистовой холоднокатаный и холоднокатаный горячеоцинкованный с полимерным покрытием с непрерывных линий. Технические условия
ГОСТ EN 826-2011 Изделия теплоизоляционные, применяемые в строительстве. Методы определения характеристик сжатия
ГОСТ EN 1296-2012 Материалы кровельные и гидроизоляционные гибкие битумосодержащие и полимерные (термопластичные или эластомерные). Метод искусственного термического старения
ГОСТ EN 1607-2011 Изделия теплоизоляционные, применяемые в строительстве. Метод определения прочности при растяжении перпендикулярно к лицевым поверхностям
ГОСТ EN 1608-2011 Изделия теплоизоляционные, применяемые в строительстве. Метод определения прочности при растяжении параллельно лицевым поверхностям
ГОСТ ISO 898-1-2014 Механические свойства крепежных изделий из углеродистых и легированных сталей. Часть 1. Болты, винты и шпильки установленных классов прочности с крупным и мелким шагом резьбы
ГОСТ ISO 898-2-2015 Механические свойства крепежных изделий из углеродистых и легированных сталей. Часть 2. Гайки установленных классов прочности с крупным и мелким шагом резьбы
ГОСТ ISO 3506-1-2014 Механические свойства крепежных изделий из коррозионно-стойкой нержавеющей стали. Часть 1. Болты, винты и шпильки
ГОСТ ISO 3506-2-2014 Механические свойства крепежных изделий из коррозионно-стойкой нержавеющей стали. Часть 2. Гайки
ГОСТ ISO 9223-2017 Коррозия металлов и сплавов. Коррозионная агрессивность атмосферы. Классификация, определение и оценка
ГОСТ Р 9.316-2006 Единая система защиты от коррозии и старения. Покрытия термодиффузионные цинковые. Общие требования и методы контроля
ГОСТ Р 56027-2014 Материалы строительные. Метод испытаний на возгораемость под воздействием малого пламени
ГОСТ Р 58430-2019 Анкеры механические и клеевые для крепления в бетоне в сейсмических районах. Методы испытаний
ГОСТ Р 58757-2019 Изделия из стеклофибробетона для устройства декоративных и облицовочных элементов фасадов зданий. Технические условия
ГОСТ Р 58883-2020 Системы навесные фасадные вентилируемые. Общие правила расчета подконструкций
ГОСТ Р 58945-2020 Система обеспечения точности геометрических параметров в строительстве. Правила выполнения измерений параметров зданий и сооружений
ГОСТ Р 58953-2020 Прокат тонколистовой металлический для фальцевых кровель и фасадов. Общие технические условия
ГОСТ Р 59040-2020 Листы алюминиево-композитные для элементов облицовки зданий и сооружений. Технические условия
ГОСТ Р 59923-2021 Плиты фиброцементные для вентилируемых навесных фасадных систем. Технические условия
ГОСТ Р 70071-2022 Конструкции подоблицовочные вентилируемых навесных фасадных систем и их соединения. Общие требования защиты от коррозии и методы испытаний
ГОСТ Р 70573-2022 Элементы облицовки, узлы и детали крепления фасадных навесных вентилируемых конструкций. Параметры долговечности
ГОСТ Р ИСО 15973-2005 Заклепки "слепые" с закрытым концом, разрывающимся вытяжным сердечником и выступающей головкой (корпус из алюминиевого сплава и стальной сердечник)
ГОСТ Р ИСО 15974-2005 Заклепки "слепые" с закрытым концом, разрывающимся вытяжным сердечником и потайной головкой (корпус из алюминиевого сплава и стальной сердечник)
ГОСТ Р ИСО 15977-2017 Заклепки "слепые" с открытым концом, разрывающимся вытяжным сердечником и выступающей головкой (корпус из алюминиевого сплава и стальной сердечник)
ГОСТ Р ИСО 15979-2017 Заклепки "слепые" с открытым концом, разрывающимся вытяжным сердечником и выступающей головкой (корпус и сердечник из стали)
СП 2.13130.2020 Системы противопожарной защиты. Обеспечение огнестойкости объектов защиты
СП 14.13330.2018 "СНиП II-7-81* Строительство в сейсмических районах" (с изменениями N 1, N 2, N 3)
СП 16.13330.2017 "СНиП II-23-81* Стальные конструкции" (с изменениями N 1, N 2, N 3, N 4)
СП 20.13330.2016 "СНиП 2.01.07-85* Нагрузки и воздействия" (с изменениями N 1, N 2, N 3, N 4)
СП 22.13330.2016 "СНиП 2.02.01-83* Основания зданий и сооружений" (с изменениями N 1, N 2, N 3, N 4)
СП 25.13330.2020 "СНиП 2.02.04-88 Основания и фундаменты на вечномерзлых грунтах" (с изменением N 1)
СП 28.13330.2017 "СНиП 2.03.11-85 Защита строительных конструкций от коррозии" (с изменениями N 1, N 2, N 3)
СП 50.13330.2012 "СНиП 23-02-2003 Тепловая защита зданий" (с изменениями N 1, N 2)
СП 64.13330.2017 "СНиП II-25-80 Деревянные конструкции" (с изменениями N 1, N 2, N 3)
СП 70.13330.2012 "СНиП 3.03.01-87 Несущие и ограждающие конструкции" (с изменениями N 1, N 3, N 4)
СП 230.1325800.2015 Конструкции ограждающие зданий. Характеристики теплотехнических неоднородностей (с изменениями N 1, N 2)
СП 255.1325800.2016 Здания и сооружения. Правила эксплуатации. Основные положения (с изменениями N 1, N 2)
СП 260.1325800.2016 Конструкции стальные тонкостенные из холодногнутых оцинкованных профилей и гофрированных листов. Правила проектирования (с изменениями N 1, N 2)
СП 345.1325800.2017 Здания жилые и общественные. Правила проектирования тепловой защиты (с изменениями N 1, N 2)
СП 385.1325800.2018 Защита зданий и сооружений от прогрессирующего обрушения. Правила проектирования. Основные положения (с изменениями N 1, N 2, N 3)
СП 518.1311500.2022 Навесные фасадные системы с воздушным зазором. Обеспечение пожарной безопасности при монтаже, эксплуатации и ремонте
Примечание - При пользовании настоящим сводом правил целесообразно проверить действие ссылочных документов в информационной системе общего пользования - на официальном сайте федерального органа исполнительной власти в сфере стандартизации в сети Интернет или по ежегодному информационному указателю "Национальные стандарты", который опубликован по состоянию на 1 января текущего года, и по выпускам ежемесячного информационного указателя "Национальные стандарты" за текущий год. Если заменен ссылочный документ, на который дана недатированная ссылка, то рекомендуется использовать действующую версию этого документа с учетом всех внесенных в данную версию изменений. Если заменен ссылочный документ, на который дана датированная ссылка, то рекомендуется использовать версию этого документа с указанным выше годом утверждения (принятия). Если после утверждения настоящего свода правил в ссылочный документ, на который дана датированная ссылка, внесено изменение, затрагивающее положение, на которое дана ссылка, то это положение рекомендуется применять без учета данного изменения. Если ссылочный документ отменен без замены, то положение, в котором дана ссылка на него, рекомендуется применять в части, не затрагивающей эту ссылку. Сведения о действии сводов правил целесообразно проверить в Федеральном информационном фонде стандартов.
В настоящем своде правил применены термины по
[1],
[2],
[3], а также следующие термины с соответствующими определениями:
3.1 анкер (винт) крепления облицовки: Крепежное изделие, предназначенное для скрытого крепления элементов облицовки и устанавливаемое в отверстие с обратной стороны элемента облицовки.
3.2 болтовая опора: Составная деталь точечного крепления, устанавливаемая в подготовленное сквозное отверстие в облицовке и обеспечивающая шарнирное или неподвижное соединение.
3.3 гибкая связь: Элемент крепления облицовки из кладочных изделий, обеспечивающий устойчивость облицовки и участвующий в восприятии ветровых нагрузок.
3.4 закладная деталь: Деталь крепления, устанавливаемая в тело элементов облицовки в процессе их изготовления.
3.5 защитно-декоративный экран: Устанавливаемые на подоблицовочную конструкцию элементы облицовки, совместно с техническими и технологическими решениями выполняющие архитектурные функции, функции защиты утеплителя, несущего каркаса системы и строительного основания (стеновых конструкций) зданий, сооружений от повреждений и негативных явлений (атмосферных воздействий, ветровых нагрузок, пламенного горения при пожаре, высоких температур, тепловых потоков и др.).
3.6 кассета: Объемный элемент облицовки из листовых материалов, изготавливаемый методом гибки или штамповки и имеющий по периметру ребра (отбортовки).
3.7 клеевой шов: Элемент линейного крепления облицовки с заданной прочностью, характеризующийся образованием адгезионных связей между клеевым составом и элементами навесной фасадной вентилируемой системы.
3.8 кляммер: Деталь точечного крепления за край облицовки, устанавливаемая с торца (в пропил или паз) или по лицевой поверхности и обеспечивающая опирание и ограничение перемещения элемента облицовки из плоскости фасада.
3.9 конструкция крепления элементов облицовки: Конструкция, предназначенная для видимого или скрытого крепления облицовки и состоящая из одной или нескольких деталей крепления, крепежных изделий.
Примечания
1 Точечные детали крепления, располагаемые локально на элементе облицовки: кляммер, резьбовая шпилька, крюк-зацеп, штифт (пирон), прижим, закладная деталь, болтовая опора.
2 Стержневые детали крепления, располагаемые вдоль граней облицовки с одной или нескольких сторон: планка, прижимная планка.
3.10 крепежные изделия: Изделия, используемые для крепления элементов навесной фасадной вентилируемой системы между собой, в виде винтов, самонарезающих винтов, заклепок, болтов, гвоздей.
3.11 кронштейн: Консольная деталь или конструкция для крепления каркаса или облицовки к конструкции здания/сооружения.
Примечание - В зависимости от характера воспринимаемых нагрузок различают опорный (несущий) и ветровой кронштейны: опорный предназначен для передачи нагрузок от веса облицовки, веса каркаса и климатических (включая ветровые); ветровой - для передачи только ветровых нагрузок.
3.12 крюк-зацеп: Конструкция крепления облицовки, состоящая из деталей, соединенных методом взаимного зацепления в процессе монтажа элементов облицовки.
Примечания
1 Аграфа - скобообразный элемент составной детали, закрепляемый с помощью анкера (винта) к задней поверхности элемента облицовки.
2 Икля - плоский элемент составной детали, закрепляемый к отбортовкам и (или) ребрам кассет.
3 Для крепления элементов облицовки, изготовляемых в форме кассет из тонкостенных материалов, могут быть предусмотрены различные фигурные отверстия (просечки) в облицовке или в элементах несущей конструкции навесной фасадной вентилируемой системы. Примером такого конструктивного решения являются просечки в отбортовке и (или) ребре кассет из металлов и металлокомпозита.
3.13 модульная панель: Отправочный/монтажный элемент, состоящий из рамного каркаса и закрепленной на нем облицовки.
3.14 навесная фасадная вентилируемая конструкция [навесная фасадная система с воздушным зазором (прослойкой)]; НФС: Конструктивная система, предназначенная для устройства фасадов зданий и сооружений, состоящая из несущей конструкции, облицовки, при необходимости - теплоизоляции и имеющая воздушную полость (зазор) за облицовкой.
Примечание - Может быть разработана как набор типовых решений для проектирования и применения в массовом строительстве, а также как конструктивная система для индивидуального применения.
3.15 несущая конструкция НФС: Конструкция, предназначенная для крепления облицовки и для передачи всех нагрузок от нее на несущие и ограждающие конструкции здания или сооружения, (например, на стены/перекрытия).
Примечания
1 Несущая конструкция состоит из кронштейнов, каркаса и конструкции крепления облицовки.
2 Для обеспечения относа облицовки от поверхности стен/перекрытий на расстояние большее, чем предусмотрено в типовых решениях навесных фасадных вентилируемых систем, или в случае недостаточной несущей способности стен, используются различные вспомогательные конструкции, которые не входят в состав навесной фасадной вентилируемой системы.
3 Различают несущие конструкции навесных фасадных вентилируемых систем по месту крепления: закрепляемые на стены, межэтажные перекрытия/балки; закрепляемые только в зоне межэтажных перекрытий/балок.
3.15.1 бескаркасная несущая конструкция: Конструкция, состоящая из кронштейнов, на которые крепятся элементы облицовки.
3.15.2 комбинированная несущая конструкция: Конструкция, объединяющая различные типы несущих конструкций (две или более).
3.15.3 рамная несущая конструкция: Конструкция, состоящая из кронштейнов и рамного каркаса, на который крепятся элементы облицовки.
3.15.4 стержневая несущая конструкция: Конструкция, состоящая из кронштейнов и стержневого каркаса, на который крепятся элементы облицовки.
3.16 облицовка: Защитно-декоративный экран, состоящий из отдельных элементов [изделий и (или) конструкций] и предназначенный для создания архитектурного облика зданий/сооружений, а также для защиты внутреннего пространства навесной фасадной вентилируемой системы от воздействия внешней среды.
3.17 опорный профиль: Стержневой элемент, устанавливаемый с заданным шагом в шов облицовки из кладочных изделий и предназначенный для передачи нагрузок на каркас здания/сооружения.
3.18 планка: Деталь линейного крепления за край облицовки, устанавливаемая с торца (в пропил или паз) или по лицевой поверхности и обеспечивающая опирание и ограничение перемещения элемента облицовки из плоскости фасада.
3.19 показатели пожарной опасности строительных материалов: Совокупность параметров строительных материалов, характеризующих их способность к возникновению, распространению горения, образованию опасных факторов для человека и окружающей среды.
Примечание - Номенклатура определяемых показателей пожарной опасности устанавливается действующими нормативными документами по пожарной безопасности.
3.20 прижим: Деталь точечного крепления облицовки, устанавливаемая по краям элементов облицовки и прижимающая края с помощью крепежных изделий.
3.21 прижимная планка: Цельная или составная деталь линейного крепления облицовки, устанавливаемая по краям элементов облицовки и прижимающая края с помощью крепежных изделий.
3.22 противопожарный короб: Конструкция обрамления из тонколистовой стали (других негорючих материалов) по периметру оконных (дверных, вентиляционных и др.) проемов НФС, устанавливаемая в плоскостях откосов проема в целях препятствия проникновения горения во внутренний объем системы и снижения уровня теплового воздействия на элементы подоблицовочной конструкции.
3.23 рамка: Конструкция крепления облицовки из соединенных между собой стержневых деталей, к которым по периметру крепится облицовка с использованием клеевого шва или крепежными изделиями.
3.24 рамный каркас: Конструкция из стержневых/рамных элементов, собираемая на предприятии-изготовителе или на строительной площадке перед установкой в проектное положение.
3.25 резьбовая шпилька: Деталь точечного крепления, соединяемая с элементом облицовки с помощью сварки, клеевого соединения в отверстии, закручивания в посадочное отверстие с внутренней резьбой.
3.26 стержневой каркас: Конструкция из стержневых элементов, которая монтируется поэлементно на фасаде здания/сооружения для последующего монтажа облицовки.
Примечания
1 Стержневые элементы изготавливаются из металлических профилей (направляющих), брусков/бруса из цельной или клееной древесины, композиционных материалов.
2 При обозначении стержневого элемента, применяемого в стержневом каркасе, допускается к использованию термин "направляющая".
3.27 строительное основание навесной фасадной вентилируемой системы; строительное основание НФС: Основная часть конструкции стены - наружная стена, выполненная из таких материалов, как кирпич, бетон, железобетон или других сходных с ними материалов с механическими характеристиками, позволяющими крепить к ее внешней поверхности элементы навесной фасадной вентилируемой системы.
Примечание - Допускается рассматривать в качестве наружной стены (основания) для навесных фасадных вентилируемых систем трехслойные панели с металлической облицовкой и металлические конструкции.
3.28 теплоизоляция (утеплитель): Элементы, обеспечивающие требуемый уровень теплозащиты наружной ограждающей конструкции.
3.29 штифт (пирон): Деталь точечного крепления в виде металлического стержня, устанавливаемого в отверстия на торцах элементов облицовки.
4.1 Проектная документация на НФС для конкретного объекта разрабатывается на основе технического задания на проектирование, которое подготавливается в соответствии
[4] и утверждается в установленном порядке.
Рекомендуемая форма технического задания на проектирование НФС приведена в
приложении А.
4.2 Для реконструируемых зданий техническое задание на проектирование дополнительно должно содержать акт обследования наружных стен здания, где указываются техническое состояние фасадов, данные о несущей способности стен и о величине отклонений отдельных участков.
Несущие конструкции НФС для каждого конкретного здания следует рассчитывать на нагрузки и воздействия и их сочетания согласно требованиям
СП 20.13330, в том числе на нагрузки от двустороннего обледенения облицовки.
Расчет должен быть проведен для всех участков здания с учетом различных конструктивных решений НФС.
4.4 Проектирование и расчет элементов НФС на площадках с сейсмичностью 7 баллов и более следует выполнять в соответствии с
СП 14.13330.
4.5 Теплотехнические расчеты необходимо выполнять в соответствии с
СП 50.13330.
4.6 Оценку коррозионной стойкости элементов металлического каркаса НФС проводят в соответствии с
СП 28.13330,
ГОСТ Р 70071.
4.7 Оценку влияния температурных воздействий и термических деформаций на рамный каркас НФС, закладные детали и облицовочные элементы определяют согласно
СП 128.13330,
СП 16.13330.
4.8 Основными эксплуатационно-техническими характеристиками НФС являются:
- пожарная безопасность;
- устойчивость к нагрузкам и воздействиям (снеговой, ветровой и т.д.);
- долговечность и коррозионная стойкость;
- сейсмостойкость;
- эксплуатационная безопасность.
4.9 Долговечность НФС, включая элементы и комплектующие, должна быть не менее расчетного срока службы здания и сооружения по
ГОСТ 27751.
Допускается использовать элементы НФС с меньшим расчетным сроком службы при условии возможности их замены или подтверждения технического состояния НФС согласно
ГОСТ 27751. Необходимые указания и технические решения должны быть внесены в проектную и рабочую документацию, а также в инструкцию по эксплуатации.
4.10 При проектировании следует предусматривать устройства и механизмы для обслуживания и ремонта НФС, если без них доступ к элементам конструкций невозможен.
5 Правила проектирования НФС
5.1.1 При проектировании фасадных конструкций зданий и сооружений следует применять конструктивные решения, изделия и материалы, обеспечивающие требуемую несущую способность, долговечность, пожаробезопасность, теплотехнические характеристики конструкций и температурно-влажностный режим помещений.
5.1.2 Задачами проектирования НФС являются:
- определение параметров и характеристик, обеспечивающих соблюдение требований по безопасности и эксплуатационной надежности;
- определение конструктивного исполнения фасадной конструкции с разработкой комплекта рабочей документации.
Состав работ и порядок проектирования НФС приведены в
приложениях Б,
В.
5.2 Основные эксплуатационные нагрузки
5.2.1 Нагрузки и воздействия на фасадные конструкции назначаются с учетом климатического района (подрайона) строительства по
СП 131.13330. К основным эксплуатационным нагрузкам при проектировании следует относить:
- климатические (ветровые, снеговые, температурные и гололедные);
- нагрузки от собственного веса облицовочных элементов, элементов несущего каркаса.
5.2.2 Иные нагрузки и воздействия, в том числе особые, учет которых необходим при проектировании фасадных конструкций, должны быть указаны в техническом задании на проектирование.
5.3 Основные требования к конструкциям
5.3.1 При проектировании фасадных конструкций следует:
- применять оптимальные конструктивные схемы (бескаркасная, комбинированная, рамная или стержневая несущие конструкции НФС), сечения элементов и марки сплавов;
- учитывать технические возможности изготовителей элементов конструкций и монтажных организаций.
5.3.2 При проектировании несущих каркасов фасадных конструкций следует учитывать требования:
Все стержневые (линейные) элементы конструкций по напряженно-деформируемому состоянию (НДС) следует разделять на четыре класса.
- 1-й класс - НДС, при котором напряжения по всей площади сечения не превышают расчетных

(упругое состояние сечения);
- 2-й класс - НДС, при котором в одной части сечения

, а в другой

(упруго-пластическое состояние сечения);
- 3-й класс - НДС, при котором по всей площади сечения

(пластическое состояние сечения);
- 4-й класс - НДС, при котором часть сжатого элемента поперечного сечения теряет местную устойчивость при уровне напряжений ниже расчетных значений

.
5.3.3 Все поперечные сечения элементов, изготавливаемые из стальных тонкостенных гнутых профилей или алюминиевых гнутых и прессованных профилей, следует проверять на принадлежность к 4-му классу НДС, и, при его подтверждении, проводить расчет профилей по 4-му классу НДС. В тех случаях, когда сечение отвечает параметрам обеспечения устойчивости (по отношению ширины пластинки или размера краевого элемента жесткости к толщине пластинки, по
7.1.1,
7.1.3,
7.2.7), профиль следует рассчитывать по 1-му классу НДС.
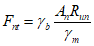
5.3.4 При расчете элементов конструкций каркасов НФС следует учитывать коэффициенты надежности по нагрузкам

и материалу

, а также коэффициенты условий работы

и коэффициент надежности по ответственности сооружения (элемента сооружения)

в соответствии с указаниями
СП 260.1325800,
СП 128.13330 и
ГОСТ 27751.
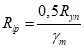
5.3.5 Для обеспечения прочности несущих конструкций в расчетах следует применять нормативные и расчетные нагрузки и сопротивления. Коэффициенты надежности по нагрузкам

и материалу

представляют собой отношения:

(5.1)
P и R - расчетная нагрузка и расчетное сопротивление, представляющие собой максимальную нагрузку и минимальное сопротивление (в вероятностно-статистическом смысле) за срок службы несущих конструкций.
5.3.6 Уровень ответственности зданий и сооружений, а также численные значения коэффициента надежности по ответственности устанавливаются лицом, осуществляющим подготовку проектной документации по согласованию с застройщиком (техническим заказчиком), в техническом задании на проектирование, но не ниже значений, приведенных в
ГОСТ 27751.
5.3.7 Собираемость конструкций должна обеспечиваться точностью изготовления элементов фасадных конструкций и облицовочных изделий.
5.3.8 Класс точности изготовления элементов конструкций, изделий, сборочных единиц следует устанавливать в проектной документации.
5.3.9 Допустимые отклонения элементов конструкций от номинальных геометрических размеров, положения отверстий должны быть указаны:
- в рабочей документации при разработке комплекта рабочих чертежей;
- в стандартах или технических условиях на применяемую продукцию.
5.4 Требования по обеспечению надежности
5.4.1 Принятые проектные решения должны быть обоснованы результатами расчетов несущей системы в целом, а также ее конструктивных элементов и соединений. Расчетные ситуации должны учитывать все виды нагрузок и воздействий, их наиболее неблагоприятные сочетания, включая климатические. При необходимости расчеты выполняют на основании данных экспериментальных исследований.
5.4.2 При проведении расчетов необходимо учитывать следующие виды предельных состояний, при которых фасадная конструкция не удовлетворяет эксплуатационным требованиям:
- потеря способности конструкции сопротивляться внешним воздействиям, характеризующаяся разрушением фасадной конструкции, фрагментов, соединений, в том числе прогрессирующее разрушение в результате локальных повреждений;
- деформации и другие повреждения, характеризующиеся потерей формы, местными локальными изменениями формы, трещинообразованием, приводящими к необходимости прекращения дальнейшей эксплуатации объектов вследствие угрозы жизни и (или) причинения вреда жизни и здоровью людей, окружающей среде и близко расположенным зданиям и сооружениям.
5.4.3 Определяющий вид предельного состояния устанавливается с учетом конструктивных решений фасадной конструкции, применяемых облицовочных изделий и материалов.
5.4.4 Техническую оценку проектных решений, для которых не определены требования настоящего свода правил, следует выполнять по результатам экспериментальных исследований по специально разработанной программе.
5.4.5 При проектировании необходимо учитывать отрицательный эффект влияния на конструкции условий агрессивной среды (попеременное замораживание и оттаивание, наличие реагентов, воздействие морской воды и выбросов промышленных производств и т.д.) в соответствии с
СП 28.13330.
5.4.6 Принятые проектные и конструктивные решения должны быть обоснованы результатами расчета по предельным состояниям несущей системы в целом, а также ее конструктивных элементов и соединений. При необходимости расчеты выполняют на основании данных экспериментальных исследований. Расчетные положения должны учитывать все аварийные (неблагоприятные) ситуации, которые могут произойти во время строительства и эксплуатации. К аварийным ситуациям относят:
- изменения климатических (снеговых, ветровых, температурных, гололедных) и сейсмических нагрузок за срок службы сооружения;
- изменение расчетных сечений элементов каркаса с учетом коррозионных потерь;
- снижение расчетного сопротивления стали и алюминиевых сплавов по пределу текучести и изменению механических характеристик материала за срок службы сооружения;
- скорость коррозии в зависимости от формы сечения элемента и места его расположения (в открытой атмосфере, отапливаемом здании и др.), а также от вида агрессивных сред;
- воздействия опасных природных процессов и явлений, а также техногенные воздействия.
5.5 Особые конструктивные требования
5.5.1 При проектировании фасадных конструкций все каркасы, образующие плоские конструкции из вертикальных и горизонтальных направляющих, крепежных планок, следует разделять деформационными швами на отдельные блоки площадью, определяемой по результатам расчета в соответствии с требованиями
СП 385.1325800. Рекомендуется совмещать швы в несущем каркасе фасадной конструкции с температурными швами здания, швами в облицовке с архитектурным оформлением фасада в виде пилонов, карнизов, балконов и т.п.
При формировании деформационных швов следует выполнять требования по величине температурного зазора. Размер зазора определяют расчетом, при отсутствии расчета - в соответствии с
таблицей 5.1.
Вид металла каркаса | Зазор между смежными стержневыми элементами при их длине, мм, не менее |
3 000 | 6 000 | 12 000 |
Углеродистая и коррозионно-стойкая сталь | 5 | 10 | 15 |
Алюминиевые сплавы | 10 | 15 | 20 |
5.5.2 Схему крепления вертикальных направляющих следует подбирать с учетом вида облицовочного материала. При устройстве облицовочного слоя из листовых материалов, керамогранитных плит предпочтение следует отдавать схеме с размещением несущего кронштейна (если он предусмотрен конструкцией) в верхней части направляющей, чтобы собственный вес конструкции с облицовкой и возможный гололед создавали в сечениях вертикальных направляющих растягивающие напряжения. В каркасных зданиях схему крепления следует предусматривать с обязательным закреплением не менее одного кронштейна к несущим железобетонным конструкциям (в пределах одной направляющей).
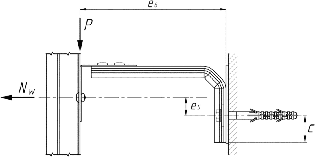
5.5.3 При использовании кронштейнов с вылетом консоли более 350 мм (с учетом удлинителя) необходимо проверить консоль на общую устойчивость от сжимающей и изгибающей нагрузок, пятку кронштейна на прочность от изгибающей нагрузки и, при необходимости, предусмотреть мероприятия по усилению кронштейнов.
6 Требования к материалам конструкций
6.1.1 Материалы элементов стального каркаса конструкций должны соответствовать требованиям по
ГОСТ 27772,
СП 260.1325800. Для стальных, сварных или штампованных кронштейнов фасадных систем, устанавливаемых с шагом, равным высоте этажа (установка кронштейнов в межэтажные перекрытия зданий), следует использовать толстолистовой прокат по
ГОСТ 27772 в соответствии с требованиями, предъявляемыми к сталям класса от С245-1 до С345-1, или стали 345-4 по
ГОСТ 19281, или Ст3пс5-св по
ГОСТ 535 для сортового и фасонного проката, или толстолистовую углеродистую сталь по
ГОСТ 14637.
Допускается использование тонколистового проката по
ГОСТ 14918 повышенной или нормальной точности проката по толщине и ширине, нормальной плоскостности с обрезной кромкой и цинковым покрытием, с дополнительным защитным лакокрасочным покрытием, в соответствии с требованиями по коррозионной стойкости (за исключением сварных кронштейнов).
6.1.2 Для стальных штампованных кронштейнов фасадных систем, устанавливаемых в ограждающие конструкции зданий, допускается использовать прокат из листовой, холоднокатаной, углеродистой оцинкованной стали марок 220, 250, 280, 320, 350, 390, 420 и 450, предназначенных для изготовления профилированных изделий, повышенной или нормальной точности по
ГОСТ 14918.
6.1.3 Основные механические характеристики холоднокатаной, листовой, углеродистой, оцинкованной стали по
ГОСТ 14918 приведены в
таблице Г.1 приложения Г.
6.1.4 Стальные холодногнутые оцинкованные профили следует изготавливать из листового проката холоднокатаной углеродистой стали, оцинкованной в агрегатах непрерывного цинкования по
ГОСТ 14918 толщиной от 0,5 до 4 мм, повышенной или нормальной точности проката по толщине и по ширине, нормальной плоскостности с обрезной кромкой, с защитным покрытием, в соответствии с требованиями коррозионной стойкости объекта строительства.
6.1.5 Для вспомогательных деталей (оттяжки, крепежные элементы, опорные плиты и пр.) следует применять стали, указанные в
6.1.1 и
6.1.2.
6.1.6 Противопожарные короба обрамления оконных проемов, экраны противопожарной отсечки должны быть выполнены из коррозионно-стойкой стали или из тонколистовой оцинкованной стали с защитным покрытием, в соответствии с требованиями коррозионной стойкости объекта строительства.
6.1.7 Для конструктивных элементов из коррозионно-стойкой стали рекомендуется применять аустенитные, дуплексные аустенитно-ферритные и ферритные стали с химическим составом в соответствии с требованиями
ГОСТ 5632 и механическими характеристиками, отвечающими требованиям
ГОСТ 5582.
6.1.8 Основные механические характеристики горячекатаного и холоднокатаного проката из коррозионно-стойкой стали, в том числе по
ГОСТ 5582, приведены в
таблице Г.2 приложения Г.
6.1.9 Расчетные сопротивления холодногнутых профилей следует определять по формулам, приведенным в
таблице 6.1.
Напряженное состояние | Расчетные сопротивления |
Растяжение, сжатие, изгиб | |
Сдвиг | |
Смятие торцевой поверхности | |
Смятие при плотном касании | |
6.1.10 Если нормативные значения
Ryn и
Run определяются по результатам приемочных испытаний, то такие испытания следует проводить в соответствии с
ГОСТ 11701 на не менее чем пяти образцах.
6.1.11 Допускается применение других марок сталей, показатели качества которых соответствуют вышеприведенным требованиям.
6.2 Конструкции из алюминиевых сплавов
6.2.1 Для каркасов НФС из алюминиевых сплавов следует применять прессованные профили по
ГОСТ 22233. Листовые, гнутые элементы каркаса следует изготовлять из алюминиевой ленты по
ГОСТ 13726.
6.2.3 Значения расчетных сопротивлений профилей из алюминиевых сплавов по
ГОСТ 22233 и гнутых элементов каркаса по
ГОСТ 13726 следует определять по формулам, приведенным в
таблице 6.2.
Напряженное состояние | Расчетные сопротивления профилей и гнутых элементов каркаса |
Растяжение, сжатие, изгиб | R - наименьшее из Ry и Ru;  ;  ; где  ;  |
Сдвиг | RS = 0,6R |
Смятие торцевой поверхности | Rp = 1,6R |
Смятие при плотном касании | Rlp = 0,75R |
6.3 Коэффициенты надежности по материалу
Коэффициенты надежности по материалу для элементов конструкций каркасов из стали и алюминиевых сплавов следует назначать в соответствии с
СП 260.1325800 и
СП 128.13330.
7 Расчет стержневых элементов каркаса НФС на прочность и устойчивость
7.1.1 Стальные конструкции каркасов из толстостенных горячекатаных профилей и элементов, изготовленных из листовой стали толщиной более 4 мм, которые по НДС можно отнести к трем первым классам поперечных сечений, следует проектировать по
СП 16.13330.
7.1.2 Стальные конструкции каркасов из тонкостенных гнутых профилей из оцинкованной углеродистой или коррозионно-стойкой стали толщиной менее 4 мм, которые относятся к 4-му классу НДС, следует проектировать по
СП 260.1325800.
7.1.3 Расчет или подбор поперечных сечений прессованных и гнутых профилей из алюминиевых сплавов, когда сечения отвечают параметрам обеспечения устойчивости (по отношению ширины пластинки или размера краевого элемента жесткости к толщине пластинки), следует вести в соответствии с требованиями
СП 128.13330.
7.1.4 Если потеря устойчивости прессованных и гнутых профилей из алюминиевых сплавов может наступить до достижения расчетных напряжений в сжатых частях поперечных сечений, то расчет следует вести в соответствии с требованиями настоящего раздела.
7.1.5 В настоящем разделе приведены общие требования к проектированию и расчету профилей, используемых в конструкциях каркасов НФС, изготовленных из алюминиевых сплавов методами экструдирования или профилирования из листов и лент. Требования настоящего раздела не распространяются на профили из прессованных профилей из алюминиевых сплавов с поперечными сечениями, у которых отношения ширины и высоты к их толщине выходят за пределы, указанные в
таблице 7.1. Предельные значения отношений, приведенные в
таблице 7.1, ограничены областью, для которой есть необходимый опыт применения и проведены испытания. Значения отношений, превышающие указанные, могут быть использованы при проектировании профилей при условии проверки их эксплуатационной пригодности путем проведения испытаний.
Элементы поперечного сечения | Максимальное значение |
| b/t <= 50 |
| b/t <= 85 c (c1)/t <= 40 c2/t <= 35 t <= t1 <= t2 |
| b/t <= 85 c/t <= 35 t <= t1 |
| |
Примечание - В настоящей таблице приведены следующие условные обозначения: b - ширина; c - длина краевого или промежуточного элемента жесткости; h - высота; t - толщина стенки (полки); t1 ( t2) - толщины элементов жесткости;  - угол наклона стенки. |
7.1.6 Изложенный в настоящем разделе материал не относится к замкнутым полым профилям круглого, квадратного и прямоугольного сечений, полученным в процессе экструдирования.
7.1.7 Для обеспечения необходимой жесткости и исключения преждевременной потери устойчивости в полках размеры краевых элементов жесткости и полок профилей должны быть в следующих пределах:
0,2 <= c/b <= 0,5. (7.1)
Если c/b < 0,2, то краевой элемент жесткости не учитывают как элемент жесткости и в расчете поперечного сечения принимают c = 0.
Примечания
1 Если геометрические характеристики эффективного поперечного сечения определены испытаниями, то эти ограничения не учитывают.
2 Длину элемента жесткости c измеряют перпендикулярно полке, даже если он расположен под другим углом по отношению к ней.
7.1.8 Общие размеры прессованных профилей (ширина
b, высота
h и др.) измеряют от поверхности профиля (см.
таблицу 7.1).
7.1.9 При расчете тонкостенных участков поперечного сечения прессованных профилей расчетную ширину поперечного сечения элемента назначают как расстояние между внутренними гранями стенок или между стенкой и внутренней гранью ребра элемента жесткости. Для профилей, полученных методами гнутья или профилирования из листов и лент, расчетную ширину назначают в соответствии с
рисунком 7.1.
| |
X - пересечение средних линий; P - средняя точка угла; rm = r + t/2; | Sw - длина образующей |
а) Средняя точка угла или изгиба | б) Расчетная ширина bp для стенки |
| |
в) Расчетная ширина bp плоских частей, примыкающих к ребрам жесткости стенки | г) Расчетная ширина bp прямых частей, примыкающих к ребру жесткости полки |
Рисунок 7.1 - Условные величины ширины плоских частей
поперечного сечения с учетом радиусов закругления
7.1.10 В расчетах прессованных и гнутых профилей следует принимать обозначения осей в сечении элементов профиля, приведенные на
рисунке 7.2.
Рисунок 7.2 - Обозначения осей для сечений
прессованных и гнутых профилей
7.1.11 Формы сечений прессованных профилей зависят от требований, предъявляемых проектировщиками. Наиболее распространенные формы сечений прессованных профилей из алюминиевых сплавов приведены на
рисунке 7.3.
Рисунок 7.3 - Распространенные формы поперечных сечений
прессованных профилей из алюминиевых сплавов
7.1.12 Пластинчатые элементы, полученные методами гнутья или профилирования из листов или лент, должны быть укреплены продольными элементами жесткости. Промежуточные и краевые элементы жесткости показаны на
рисунке 7.4.
| | |
а) Отгибы и сгибы | б) Изогнутый и скругленный промежуточные элементы жесткости | в) Одиночные краевые отгибы |
Рисунок 7.4 - Типичные формы элементов жесткости
гнутых профилей
7.1.13 Типичные формы продольных элементов жесткости для прессованных профилей приведены на
рисунке 7.5. Если элементы профиля имеют поверхностное рифление, то толщину элемента определяют как сумму половины высот рифления и толщины сплошной части.
Рисунок 7.5 - Типичные формы элементов жесткости
экструдированных профилей
7.1.14 Местные изгибные отклонения стержневых элементов, возникающие в процессе изготовления, учтены в формулах определения несущей способности элементов по устойчивости. Относительные начальные местные изгибные несовершенства элементов
e0/
L (
e0 - величина начального местного несовершенства профиля длиной
L) при плоской форме потери устойчивости для стержней, изготовленных из алюминиевых сплавов, приведены в
таблице 7.2.
Таблица 7.2
Предельные значения начального местного изгибного
несовершенства e0/L, учтенные положениями
настоящего свода правил
Элементы из алюминиевых сплавов. Для кривых  потери устойчивости при упругом расчете |
Сечения типа 1. СП 128.13330.2016 | Сечения типа 2. СП 128.13330.2016 | Связи и распорки |
1/300 | 1/250 | 1/200 |
7.2 Учет потери местной устойчивости сжатых плоских частей элементов поперечного сечения
7.2.1 В тех случаях, когда сжатые плоские части сечений теряют местную устойчивость до достижения элементом расчетного сопротивления, расчет следует вести с учетом редукционных коэффициентов.
7.2.2 Потерю местной устойчивости сжатой или частично сжатой части поперечного сечения профиля следует учитывать, используя эффективную площадь сечения
Aef. Эффективную площадь сечения возможно получить, основываясь либо на эффективной ширине
bef, либо на эффективной толщине сжатых частей сечения
tef. Эти параметры сечения находят для эффективной ширины как

, и для эффективной толщины сечения как

, где

- понижающий коэффициент, учитывающий местную потерю устойчивости сжатой части сечения.
Условную прямую ширину плоской части поперечного сечения следует определять, как bp. В случае расчета плоских частей поперечного сечения в наклонной стенке следует использовать соответствующую длину образующей.
7.2.3 Понижающий коэффициент

для определения
bef и
tef должен быть основан на наибольшем расчетном значении сжимающего напряжения

в соответствующей части поперечного сечения (вычисленном для сжатых полок на основании расчета полного поперечного сечения, для сжатых стенок - на основании эффективного поперечного сечения), когда достигнуто равновесное состояние между сопротивлением поперечного сечения и внешними воздействиями.
7.2.4 Максимальные отношения ширины пластинки к ее толщине, при которых исключается местная потеря устойчивости, для максимальных значений сжимающего напряжения

, для углеродистой и коррозионно-стойкой стали приведены в
таблице 7.3, для алюминиевых сплавов - в
таблице 7.4.
Тип защемления пластинки по продольным сторонам и распределение сжимающих напряжений | Значения расчетного сопротивления Ry |
<= 235 | 245 | 255 | 285 | 345 | 370 |
Максимальные значения bp/t |
Равномерно сжатые полки |
По двум сторонам пластинки | 50 | 46 | 42 | 40 | 37 | 35 |
По одной стороне пластинки | 16 | 15 | 14 | 13 | 12 | 11,5 |
Изгибаемые стенки, защемленные по двум кромкам |
| 63 | 58 | 53 | 50 | 47 | 44 |
| 78 | 71 | 66 | 62 | 58 | 55 |
| 95 | 87 | 80 | 75 | 71 | 67 |
Изгибаемые стенки, защемленные по одной кромке |
| 44,0 | 43,5 | 43,3 | 43,2 | 43,0 | 42,8 |
| 39,0 | 38,6 | 38,3 | 38,1 | 37,8 | 37,5 |
| 35,6 | 35,0 | 34,3 | 33,7 | 33,0 | 32,3 |
Тип защемления пластинки по продольным сторонам и распределение сжимающих напряжений | Значения расчетного сопротивления R |
<= 100 | 120 | 140 | 160 | 180 | 200 | 220 |
Максимальные значения bp/t |
Равномерно сжатые полки |
По двум сторонам пластинки | 50 | 46 | 42 | 40 | 37 | 35 | 34 |
По одной стороне пластинки | 16 | 15 | 14 | 13 | 12 | 11,5 | 11 |
Изгибаемые стенки, защемленные по двум кромкам |
| 63 | 58 | 53 | 50 | 47 | 44 | 42 |
| 78 | 71 | 66 | 62 | 58 | 55 | 53 |
| 95 | 87 | 80 | 75 | 71 | 67 | 64 |
Изгибаемые стенки, защемленные по одной кромке |
| 44,0 | 43,5 | 43,3 | 43,2 | 43,0 | 42,8 | 42,5 |
| 39,0 | 38,6 | 38,3 | 38,1 | 37,8 | 37,5 | 37,2 |
| 35,6 | 35,0 | 34,3 | 33,7 | 33,0 | 32,3 | 31,7 |
7.2.5 Если отношение ширины пластинки к ее толщине превышает указанное в
таблицах 7.3 и
7.4, значение коэффициента

следует рассчитывать:
- для тонкостенных гнутых профилей из оцинкованной углеродистой и коррозионно-стойкой стали - по
СП 260.1325800;
- для прессованных и гнутых профилей из алюминиевых сплавов - в соответствии с указаниями настоящего раздела.
7.2.6 Для пластинок из алюминиевых сплавов, защемленных по двум продольным сторонам, если

, понижающий коэффициент

находят:

, если

(7.2)

, если

(7.3)
где

- гибкость пластины;

, при этом

(7.4)

- отношение напряжений по продольным кромкам пластинок (меньшего напряжения к большему, с учетом знака, сжатие считают положительным) по
таблицам 7.7 и
7.9;

- соответствующий коэффициент распределения напряжений в сжатой пластинке при потере устойчивости по
таблицам 7.7 и
7.9;
t - толщина пластинки, мм;
| | ИС МЕГАНОРМ: примечание. Обозначения даны в соответствии с официальным текстом документа. | |

- расчетная ширина пластинки, мм;
Вид металла | | |
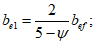
Алюминиевый сплав | 0,517 | 0,90 |
7.2.7 Для пластинок из алюминиевых сплавов, защемленных по одной продольной стороне, если

, понижающий коэффициент

находят по формулам:

, если


, если

(7.5)

- соответствующий коэффициент распределения напряжений в сжатой пластинке при потере устойчивости, принимаемый по
таблицам 7.8 и
7.10;
Вид металла | | |
Алюминиевый сплав | 0,632 | 0,90 |
7.2.8 Если в сжатой части элемента поперечного сечения значения сжимающего напряжения

, понижающий коэффициент

определяют следующим образом:
- пониженную гибкость пластинки вычисляют по формуле

(7.6)
Часть поперечного сжатого сечения, сжатие - положительно (+) | | Коэффициент распределения напряжений <*> |
Эффективная ширина bef |
| | |
be1 = 0,5bef; be2 = 0,5bef |
| | при  |
be2 = bef - be1 |
| | при  |
| |
| be1 = 0,4bef; be2 = 0,6bef |
< *> Коэффициент  рассчитывают с учетом знака коэффициента  . |
Часть поперечного сжатого сечения, сжатие - положительно (+) | | Коэффициент распределения напряжений <*> |
Эффективная ширина bef |
| | при  при  |
|
| | при  |
|
| | при  |
|
| | при  при  |
|
< *> Коэффициент  рассчитывают с учетом знака коэффициента  . |
Часть поперечного сжатого сечения, сжатие - положительно (+) | | Коэффициент распределения напряжений <*> |
| | |
| | при  |
| | при  |
| | |
< *> Коэффициент  рассчитывают с учетом знака коэффициента  . |
Часть поперечного сжатого сечения, сжатие - положительно (+) | | Коэффициент распределения напряжений <*> |
| | при  при  |
| | |
| | при  |
| | при  при  |
< *> Коэффициент  рассчитывают с учетом знака коэффициента  . |
7.3 Плоские части поперечного сечения, усиленные продольными элементами жесткости
7.3.1 Для повышения жесткости и несущей способности пластинок, составляющих поперечное сечение профилей, они усиливаются краевыми и промежуточными элементами жесткости. Проектирование сжатых частей поперечного сечения с краевыми и промежуточными элементами жесткости должно быть основано на предположении о том, что элемент жесткости (ребро) ведет себя как сжатый элемент с непрерывным частичным защемлением и с жесткостью, зависящей от граничных условий и изгибной жесткости соседних частей поперечного сечения, влияние которых имитируется жесткостью условной пружины.
7.3.2 Виды усиления плоских пластинок поперечного сечения прессованных и гнутых профилей из алюминиевого сплава элементами жесткости приведены на
рисунках 7.6 и
7.7.
| |
а) Краевое ребро жесткости прессованных профилей | б) Краевое ребро жесткости гнутых профилей |
Рисунок 7.6 - Виды усиления плоских пластинок
краевыми ребрами жесткости
Рисунок 7.7 - Виды усиления плоских пластинок промежуточными
ребрами жесткости.
Схемы к определению жесткости связей ребер жесткости
7.3.3 Жесткость упруго-податливых связей ребра следует определять посредством приложения удельной нагрузки
u на единицу его длины, как показано на
рисунке 7.7. Жесткость пружины
K на единицу длины определяют по формуле

(7.7)
где

- прогиб полосы поперечной пластинки от удельной нагрузки
u, действующей в центре (
b1) эффективной части ребра жесткости.
7.3.4 Перемещение

определяют по формулам:
- для краевого элемента жесткости

(7.8)
- для промежуточного элемента жесткости

(7.9)
где

- угол наклона краевого ребра;

- коэффициент Пуассона (для металла

);
E - модуль упругости металла.
7.3.5 Начальное эффективное сечение сжатой полки определяется в предположении, что жесткость, накладываемая краевым отгибом на полку,

и напряжение равно
R.
7.3.6 Начальные значения эффективной ширины
be1 и
be2, приведенные на
рисунке 7.6, определяют по
7.2 с допущением, что плоский элемент (
bp) оперт по двум сторонам.
7.3.7 Критическое напряжение потери устойчивости

для промежуточного ребра жесткости находят по формуле

(7.10)
где IS - момент инерции эффективного сечения отгиба, определенный по эффективной площади AS относительно центральной оси a-a эффективного поперечного сечения;
K1 - жесткость связи как условная жесткость пружины на единицу длины.
7.3.8 Для краевых элементов выражение жесткости связи K1 для сжатой полки определяют по формуле

(7.11)
где
b1 - расстояние от пересечения стенки и полки до центра тяжести эффективной площади краевого отгиба (включая эффективную часть
be2 полки) на сжатой полке (см.
рисунок 7.6);
b2 - расстояние от пересечения стенки и полки до центра тяжести эффективной площади краевого отгиба (включая эффективную часть полки) на сжатой полке;
hw - высота стенки;
kf = 0 - если нижняя полка растянута (т.е. для балки, изгибаемой относительно оси x-x);
kf = 1 - для сжатого симметричного сечения.
7.3.9 Для промежуточного элемента жесткости перемещение следует определять в качестве приближенного решения, значения изгибной жесткости пружин

и

принимают равными нулю, а прогиб

получают по формуле

(7.12)
7.3.10 Для промежуточного элемента жесткости значения коэффициента жесткости K могут быть определены по формуле

(7.13)
7.3.11 Понижающий коэффициент

снижения несущей способности ребра вследствие плоской формы потери устойчивости элемента жесткости следует определять с учетом относительной гибкости

по
таблице 7.11

(7.14)
где

- упругое критическое напряжение для ребра жесткости.
7.3.12 Критическое напряжение

потери устойчивости в упругой стадии определяют с использованием численных методов расчета на устойчивость по теории первого порядка в пределах упругости.
7.3.13 Коэффициент

снижения несущей способности вследствие потери устойчивости формы сечения (плоская форма потери устойчивости промежуточного элемента жесткости) определяется в зависимости от значения

с использованием метода, приведенного в
таблице 7.4.

(7.15)
где

- сжимающее напряжение вдоль центральной оси элемента жесткости, рассчитанное для эффективного поперечного сечения.
7.3.14 При определении геометрических характеристик эффективного поперечного сечения уменьшенную эффективную площадь As,red определяют с учетом уменьшенной толщины для всех элементов, включенных в As:

(7.16)
7.4 Расчет элементов каркаса на прочность
7.4.1 Общие положения
Расчет тонкостенных элементов каркаса НФС с сечениями 4-го класса НДС на внутренние силы, возникающие в поперечных сечениях от эксплуатационных нагрузок, проводят:
- для элементов, изготовленных из оцинкованной углеродистой или коррозионно-стойкой стали, - по
СП 260.1325800;
- для прессованных и гнутых профилей из алюминиевых сплавов - в соответствии с указаниями настоящего раздела.
7.4.2 Действие центрального растяжения и сжатия
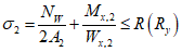
7.4.2.1 Расчетную несущую способность поперечного сечения по прочности при осевом растяжении N следует определять по формуле

(7.17)
где Agn - площадь сечения нетто с учетом ослаблений.
7.4.2.2 Расчет на прочность при центральном сжатии стержней выполняется по приведенной ниже формуле, если эффективная площадь поперечного сечения профиля нетто Aef,n меньше, чем полная площадь поперечного сечения нетто Agn:

(7.18)
7.4.2.3 Если центр тяжести эффективного поперечного сечения не совпадает с центром тяжести полного сечения, то следует учитывать изгибающий момент от смещения центральных осей
x-x и
y-y относительно положения оси действия силы (см.
рисунок 7.8).
|
а) Полное поперечное сечение | б) Эффективное поперечное сечение |
Рисунок 7.8 - Смещение центра тяжести
эффективного поперечного сечения при сжатии
Дополнительные изгибающие моменты

и

от смещения центральных осей определяют следующим образом:

(7.19)

(7.20)
где eNx и eNy - смещения центральных осей x-x и y-y соответственно относительно осевых усилий.
Допускается не учитывать эксцентриситет в следующих случаях:
- если эксцентриситет меньше 1,5% размера сечения в направлении эксцентриситета;
- если учет эксцентриситета приводит к более благоприятному результату при определении напряжений.
7.4.3 Действие изгиба
7.4.3.1 Расчетную несущую способность поперечного сечения по изгибающему моменту Mx относительно одной из главных осей определяют следующим образом:
- если момент сопротивления эффективного сечения Wx,ef меньше, чем момент сопротивления полного упругого сечения Wx

(7.21)
- если момент сопротивления эффективного сечения Wx,ef равен моменту сопротивления полного упругого сечения Wx

(7.22)
- при изгибе в двух главных плоскостях:

(7.23)
7.4.3.2 При изгибе стержневого элемента в двух плоскостях
формула (7.23) применима при соблюдении следующих условий:
а) редукция определяется каждый раз независимо только для одного из изгибающих моментов, действующего относительно одной из главных осей поперечного сечения;
б) конструктивный элемент за счет связей и раскрепления облицовкой не должен быть подвержен кручению или крутильной, изгибно-крутильной формам потери устойчивости, или плоской форме потери устойчивости при изгибе.
7.4.3.3 Расчетный момент сопротивления из условия прочности поперечного сечения при изгибе Mc следует определять исходя из следующих положений:
- если момент сопротивления эффективного сечения Wef меньше упругого момента сопротивления сечения брутто Wel,

(7.24)
- если момент сопротивления эффективного сечения Wef равен упругому моменту сопротивления сечения брутто Wel,

(7.25)
где Mc = M + NeN.
7.4.3.4 Момент сопротивления эффективного сечения
Wef должен быть рассчитан для эффективного поперечного сечения, испытывающего изгиб только относительно той главной оси, относительно которой происходит изгиб стержневого элемента при максимальном значении сжимающего напряжения, равном

или

с учетом эффектов местной потери устойчивости, как указано в
7.2.
Для определения эффективных участков полки отношение напряжений

следует определять, используя полную площадь поперечного сечения.
Для определения эффективных участков стенки отношение напряжений

следует определять, используя эффективную площадь сжатой полки совместно с площадью стенки - брутто.
7.4.3.5 Если текучесть наступает вначале у сжатого края поперечного сечения, то значение
Wef должно быть основано на линейном распределении напряжения по поперечному сечению (см.
рисунок 7.9).
Рисунок 7.9 - Эффективное поперечное сечение при действии
изгибающего момента (сжата полка)
7.4.3.6 Если текучесть возникает вначале у растянутого края сечения, допускается использовать резервы пластичности в зоне растяжения до тех пор, пока сжимающее напряжение

не достигнет своего максимального значения
R.
В этом случае момент сопротивления эффективного, частично пластичного сечения

должен быть основан на распределении напряжений, которое является постоянным, равным
R в зоне растяжения, с упругой частью в зоне сжатия (см.
рисунок 7.10).
Рисунок 7.10 - Значение ec для определения
эффективной толщины стенки
В отсутствие подробного расчета эффективную толщину стенок можно найти с использованием положений
7.2, при
ec, основанном на распределении напряжений по
рисунку 7.10, принимая

.
7.4.4 Совместное действие изгиба и продольной силы
7.4.4.1 При совместном действии изгибающих моментов и продольной сжимающей силы в отсутствие поперечной силы должно выполняться условие

(7.26)
где Aef - эффективная площадь поперечного сечения при действии равномерного сжатия;
Wef,x(y) - минимальный момент сопротивления (соответствующий волокнам с максимальными упругими напряжениями) эффективного поперечного сечения относительно соответствующей оси;
eNx(y) - смещение центральных осей
x-x и
y-y относительно положения оси действия силы (см.
7.4.2.3).
Примечание - Знаки
N,
Mx,
My,

принимаются в зависимости от сочетания соответствующих нормальных напряжений при воздействии внешней нагрузки.
7.4.4.2 Для сочетания осевой нагрузки и изгиба следует применять схему
рисунка 7.11.
Рисунок 7.11 - Эффективное поперечное сечение при действии
равномерного сжатия
7.4.5 Совместное действие изгиба, продольной и поперечной сил
Для поперечных сечений при совместном действии осевой силы N, изгибающего момента M и поперечной силы Q влияние последней силы не учитывают, если Q <= 0,5Qw, где Qw - несущая способность стенки. При значении поперечной силы более половины предельного значения, при совместном действии момента и поперечной силы, значение расчетного сопротивления материала следует принимать по уменьшенному значению:

(7.27)
где

(7.28)
7.4.6 Действие поперечной силы
7.4.6.1 Расчет неразрезных балочных конструкций на поперечную силу ведут в зонах у крайних опор и в зонах над промежуточными опорами, где поперечные силы оказывают существенное влияние на несущую способность стенок балок, а максимальная поперечная сила сочетается со значительным изгибающим моментом и, в отдельных случаях, с продольной силой.
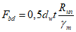
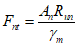
Несущую способность поперечного сечения от действия поперечной силы Qw,p определяют по формуле

(7.29)
где
RS - расчетное напряжение при сдвиге, учитывающее потерю устойчивости стенки, приведенное в
таблице 7.12;
hw - высота стенки между внутренними плоскостями полок;

- угол наклона стенки относительно полок.
Условная гибкость стенки | Стенка без элемента жесткости на опоре | Стенка с элементом жесткости на опоре <*> |
| 0,60R | 0,60R |
| | |
| | |
<*> Элементы жесткости на опоре, такие как ребра жесткости, установленные для предотвращения искривлений стенки и рассчитанные на восприятие опорной реакции. |
7.4.6.2 Условную гибкость стенки без продольных элементов жесткости определяют по формуле

(7.30)
где sw - наклонная высота стенки;
t - толщина стенки;
R - расчетное сопротивление алюминиевого сплава;
E - модуль упругости.
7.4.6.3 При определении Mcr принимают геометрические характеристики поперечного сечения брутто и учитывают условия загружения, действительное распределение момента и раскрепления сжатого пояса из плоскости действия изгибающего момента.
8 Расчет направляющих каркаса
8.1 Расчет направляющих каркаса с креплением в стены
8.1.1 Направляющие каркасов, закрепляемые на стенах зданий, рассчитывают как многопролетные неразрезные балки, опорами которых являются кронштейны или соединения с другими направляющими.
Допускается вести расчет с помощью приведенной нагрузки в соответствии с
таблицей Д.1 приложения Д.
8.1.2 При неравных пролетах и загружении направляющих сосредоточенными силами в точках крепления элементов расчет направляющих следует вести с помощью программных комплексов. Расчет с помощью справочников и таблиц следует применять при загружении направляющих равномерно распределенными нагрузками.
8.1.3 Равномерно распределенную нагрузку на направляющую p от действия ветровой нагрузки на облицовку определяют по формуле
p = w+(-)HKf, (7.31)
где w+(-) - расчетное значение пиковой ветровой нагрузки;
H - горизонтальный шаг вертикальных направляющих;
Kf - коэффициент, учитывающий схему крепления облицовки к направляющей (см.
таблицу 8.1).
В вертикальном направлении действует нагрузка от собственного веса облицовки и самой направляющей.
Коэффициент неразрезности | Количество опор при контакте поверхности облицовки с направляющими |
2 | 3 | 4 | 5 | 6 |
Kf | 1,0 | 1,25 | 1,1 | 1,143 | 1,132 |
8.1.4 Усилия в соединениях направляющих каркаса от действия ветровой нагрузки рассчитывают как реакции в опорах многопролетных балок от действия сосредоточенных сил или эквивалентной равномерно распределенной нагрузки. Для каркасов, состоящих только из вертикальных или горизонтальных направляющих, допускается определять как максимальные, так и минимальные значения усилий. Для перекрестных конструкций каркасов определяют усилия только максимальных значений.
8.1.5 Усилия в соединениях вертикальной направляющей с кронштейнами от веса облицовки и гололеда, при использовании кронштейнов с различной несущей способностью, распределяются пропорционально жесткости кронштейнов. Жесткость кронштейна принимают по наименьшей жесткости его элементов (консоли и пятки).
8.2 Расчет направляющих каркаса с креплением в плиты перекрытий
8.2.1 При строительстве допускается применение нескольких расчетных схем вертикальных направляющих, закрепляемых на перекрытиях зданий:
а) элементарная схема в виде однопролетных балок - конструктивно простая, но наиболее деформативная и металлоемкая;
б) шарнирно-консольная схема с размещением стыков направляющих в точках, соответствующих положению нулевых моментов в неразрезной многопролетной балке, - схема отличается повышенными жесткостью и прочностью;
в) шарнирно-консольная схема со смещением стыков направляющих в точки, обеспечивающие равенство пролетных и опорных моментов, - схема отличается повышенными жесткостью и прочностью.
8.2.2 Стыки расчетной схемы по перечислению б) должны быть образованы с помощью линейных вставок, конструктивно оформленных таким образом, чтобы они воспринимали изгибающие моменты и поперечные (горизонтальные) силы и не воспринимали продольные силы.
8.2.3 Стыки расчетной схемы по перечислению в) должны воспринимать и передавать только поперечные силы и не воспринимать изгибающие моменты и продольные силы.
8.2.4 Схемы балок с расчетными значениями моментов и поперечных сил приведены в
приложении Е.
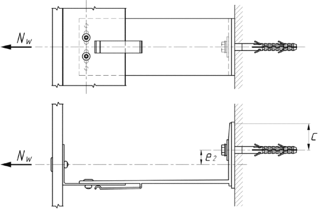
9.1.1 Кронштейны для крепления к плитам перекрытий, а также опорные кронштейны из алюминиевых сплавов и стальные, относящиеся к опорным в системах с разделением кронштейнов по функциональному назначению, следует крепить по конструктивным требованиям не менее чем двумя анкерами. Допускается крепление кронштейнов одним анкером при условии защемления части поверхности пяты кронштейна в основании (например, при применении специальной шайбы). Стальные кронштейны каркасов без разделения по их функциональному назначению и ветровые кронштейны из алюминиевых сплавов крепят одним анкером.
Количество анкеров, необходимых для крепления кронштейнов, следует определять на основании расчета несущей способности конструкции НФС с учетом конструктивных требований.
9.1.2 Рассматриваемые далее расчетные схемы кронштейнов относятся к наиболее массовым типам конструктивных решений: П-образным
(9.2) и L-образным
(9.3).
9.2 П-образные кронштейны
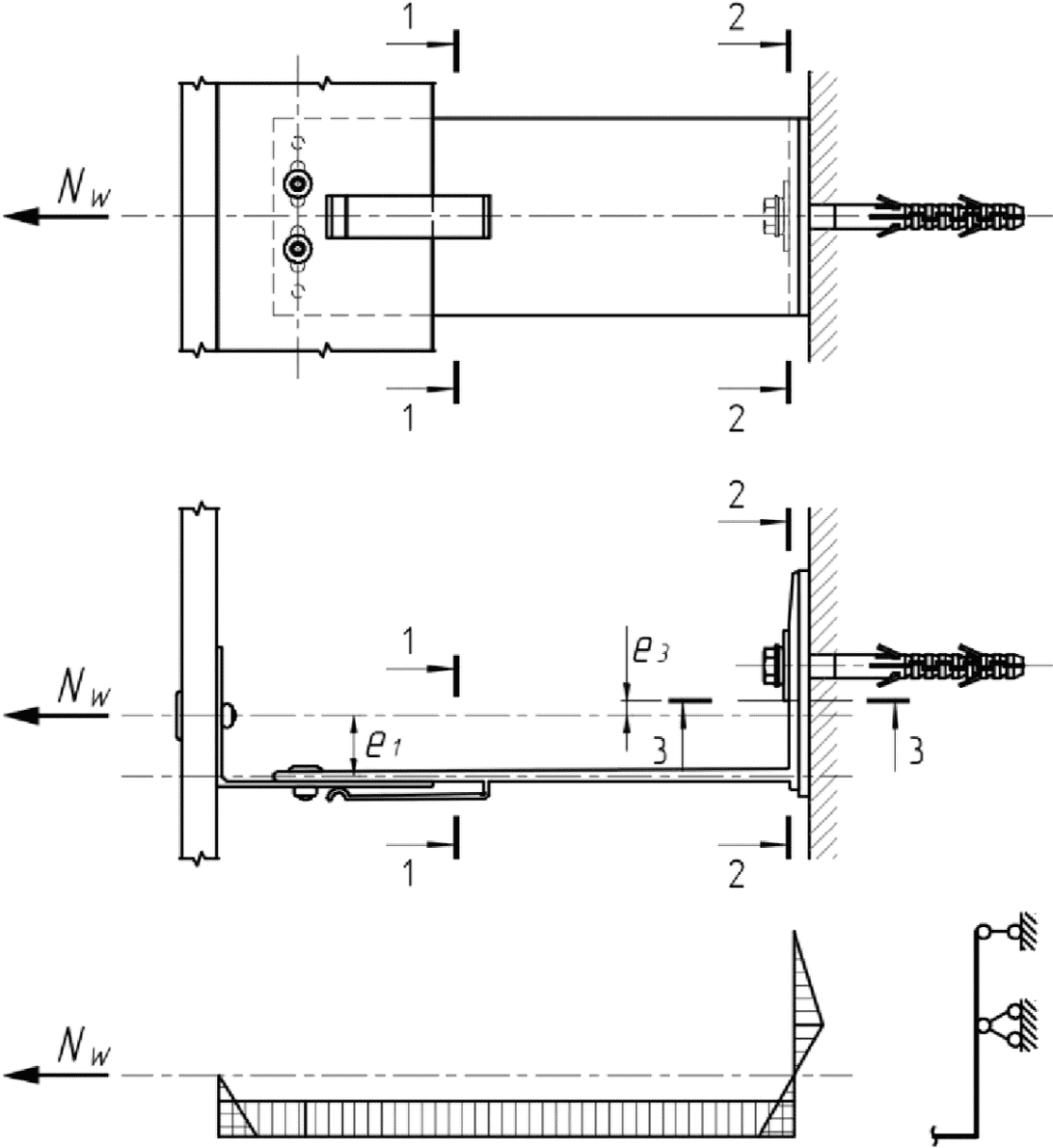
9.2.1 П-образные кронштейны изготовляют из оцинкованной, коррозионно-стойкой стали и алюминиевых сплавов. Принципиальные конструктивные решения П-образных кронштейнов приведены на
рисунках 9.1 и
9.2. Наиболее напряженным элементом подавляющего большинства кронштейнов является опорная часть кронштейнов (пятка) в зоне крепления кронштейна к стене. Для увеличения несущей способности кронштейна допускается усиливать пятку кронштейна силовой шайбой (рекомендуемая толщина - не менее 1,5 толщины опорной части кронштейнов). Целесообразно применять шайбы прямоугольной формы, размеры которой обеспечивают смещение анкерного крепежа на монтаже. Эти смещения следует учитывать при расчете конструкции кронштейна.
| |
а) Опорный (стыковочный) кронштейн | б) Ветровой кронштейн |
Рисунок 9.1 - Примеры П-образного кронштейна
из алюминиевого сплава
| |
а) Стандартное решение опорного кронштейна | б) Решение опорного кронштейна с окаймленными кромками |
Рисунок 9.2 - Примеры П-образного кронштейна из стали
9.2.2 Схемы с обозначением внешних нагрузок и формулы для расчета опасных сечений П-образных кронштейнов, изготовленных из алюминиевого сплава, приведены в
Ж.1 приложения Ж.
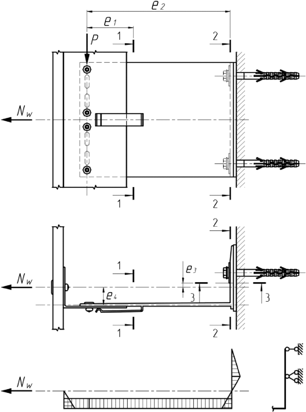
9.3 L-образные кронштейны
9.3.1 Для изготовления L-образных кронштейнов используют те же материалы, что и для изготовления П-образных кронштейнов. Все выводы и рекомендации
9.2.1 распространяются и на L-образные кронштейны.
9.3.2 Схемы с обозначением внешних нагрузок и формулы для расчета опасных сечений L-образных кронштейнов, изготовленных из алюминиевого сплава, приведены в
Ж.2 приложения Ж.
9.3.3 Схемы с обозначением внешних нагрузок и формулы для расчета опасных сечений L-образных кронштейнов, изготовленных из оцинкованной или коррозионно-стойкой стали, приведены в
Ж.3 приложения Ж.
9.4 Варианты расчетных схем опорных кронштейнов
9.4.1 В
таблице 9.1 приведены расчетные схемы опорных кронштейнов в зависимости от распределения изгибающих моментов в консоли кронштейна.
Расчетные схемы опорного кронштейна |
Консольно-шарнирная | Консольно-рамная | Шарнирно-рамная |
| | |
Значения изгибающих моментов в консоли кронштейна |
| | |
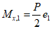
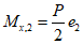
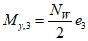
Mn,P = Pe; MK,P = 0 | Pe = knMn,P + kKMK,P | MK,P = RPe; Mn,P = 0 |
Примечание - В настоящей таблице применены следующие условные обозначения: NW - усилие от ветровой нагрузки со стороны направляющей; P - усилие от веса направляющей, закрепленной на ней облицовки и гололеда (если учитывается); RP - реакция в пятке кронштейна от силы P; e - расстояние от оси приложения силы P до нейтральной оси стенки опорной части кронштейнов (пятки); Mn,P - изгибающий момент в корне консоли (пятке) от силы P, воспринимается строительным основанием; MK,P - изгибающий момент на конце консоли от реакции, вызванной силой P, воспринимается соединением, защемляющим консоль в направляющей; kn - коэффициент перераспределения момента в опорной части (пятке) кронштейна, как в стержне, закрепленном по концам; изменяется в пределах от 0,85 до 0,3; kK - коэффициент перераспределения момента на конце консоли кронштейна, как в стержне, закрепленном по концам; изменяется в пределах от 0,9 до 0,6. |
9.4.2 Кронштейн следует рассчитывать по консольно-шарнирной схеме, если нет сведений о прочностных характеристиках анкерного крепления и соединение консоли кронштейна с направляющей рассчитывалось без учета действия момента.
9.4.3 По консольно-рамной расчетной схеме кронштейн допускается рассчитывать при наличии сведений о степени защемления консоли кронштейна в направляющей.
9.4.4 Шарнирно-рамная расчетная схема кронштейна соответствует ситуации, при которой крепление кронштейна к стене ослаблено, а консоль кронштейна защемлена в материале направляющей.
9.4.5 Расчетные схемы несущего кронштейна и эпюры изгибающих моментов приведены в
таблице 9.1.
10 Правила проектирования крепежных соединений
Для соединения конструкций и элементов каркаса НФС используют болтовые соединения, вытяжные заклепки и самонарезающие винты (в том числе самосверлящие). Срок службы крепежных изделий должен быть не менее срока службы несущих конструкций каркаса. Подтверждение срока службы осуществляется на основании технической документации, опытных данных или натурных испытаний.
10.2.1 Химический состав сталей, механические и физические свойства болтов из углеродистой нелегированной или легированной стали должны соответствовать требованиям, изложенным в
ГОСТ ISO 898-1.
10.2.2 При выборе материала для крепежных изделий из коррозионно-стойкой стали предпочтение следует отдавать сталям аустенитного класса, обладающим большей долговечностью и коррозионной стойкостью по сравнению со сталями мартенситного и ферритного классов.
10.2.3 Химический состав сталей, механические и физические свойства болтов из аустенитной коррозионно-стойкой стали должны соответствовать требованиям, изложенным в
ГОСТ ISO 3506-1. Механические свойства болтов из аустенитных марок сталей приведены в
таблице 10.1.
Марка стали | Класс прочности | Предел прочности на разрыв Rm, МПа, не менее | Условный предел текучести Rp0,2, МПа, не менее | Удлинение после разрыва A, мм, не менее |
А1, А2 | 50 | 500 | 210 | 0,6d |
А3, А4 | 70 | 700 | 450 | 0,4d |
А5 | 80 | 800 | 600 | 0,3d |
10.2.4 При выборе конструктивного исполнения болтов предпочтение следует отдавать изделиям, изготовленным по
ГОСТ 7798 и
ГОСТ Р ИСО 4017.
10.3 Соединения на самонарезающих винтах
10.3.1 Для соединения конструкций и элементов каркаса НФС, изготовленных из стали с антикоррозионным покрытием или коррозионно-стойкой стали, следует применять самонарезающие (самосверлящие) винты из аустенитной коррозионно-стойкой стали со сверлом из закаленной углеродистой стали.
Допускается применение винтов из углеродистой стали со специальными покрытиями, прошедшими испытания и имеющими заключения по коррозионной стойкости.
10.3.2 Для соединения конструкций и элементов каркаса НФС, изготовленных из алюминиевых сплавов, следует применять самонарезающие (самосверлящие) винты из аустенитной коррозионно-стойкой стали.
10.3.3 Использование самонарезающих (самосверлящих) винтов из углеродистой стали с цинковым покрытием для соединения конструкций и элементов каркаса НФС не допускается.
10.3.4 Механические свойства самонарезающих винтов должны соответствовать требованиям
ГОСТ ISO 2702 и технических условий изготовителей.
10.4 Соединения на вытяжных заклепках
10.4.1 Для соединения конструкций и элементов каркаса НФС, изготовленных из листовой холоднокатаной, углеродистой оцинкованной стали с защитным покрытием, горячеоцинкованного стального листа с полимерным покрытием, коррозионно-стойкой стали или алюминиевых сплавов, следует применять вытяжные заклепки с телом и стержнем, изготовленными из аустенитной коррозионно-стойкой стали.
10.4.2 Для соединения конструкций и элементов каркаса НФС, изготовленных из неанодированных алюминиевых профилей, допускается применять вытяжные неанодированные заклепки из алюминиевого сплава AlMg3,5(5) со стержнем из аустенитной коррозионно-стойкой стали.
10.4.3 Для соединения конструкций и элементов каркаса НФС, изготовленных из алюминиевых профилей с защитным покрытием, допускается применять вытяжные анодированные заклепки из алюминиевого сплава AlMg3,5(5) со стержнем из аустенитной коррозионно-стойкой стали.
10.4.4 Применение в соединениях конструкций и элементов каркаса НФС вытяжных заклепок, в конструкции которых присутствуют детали из углеродистой стали с цинковым покрытием, не допускается.
10.4.5 Технические характеристики элементов вытяжных заклепок должны быть не ниже указанных в
ГОСТ Р ИСО 15973,
ГОСТ Р ИСО 15974,
ГОСТ Р ИСО 15977,
ГОСТ Р ИСО 15979.
10.5 Общие положения расчета соединений элементов каркаса
10.5.1 В конструкциях НФС применяют следующие типы соединений:
- на болтах нормальной точности с шайбами под головкой болта и гайкой;
- на самонарезающих винтах, установленных в предварительно просверленные отверстия диаметром на 0,5 - 0,8 мм меньше, чем диаметр стержня винта по резьбе;
- на самонарезающих, самосверлящих винтах, установленных без предварительного сверления отверстий;
- на вытяжных заклепках с корпусом (гильзой) из углеродистой оцинкованной стали с защитным лакокрасочным покрытием, коррозионно-стойкой стали или алюминиевого сплава.
10.5.2 Соединения с использованием указанных крепежных изделий должны быть компактны по форме. Расположение крепежных изделий должно обеспечивать удовлетворительные условия для монтажа и ремонта. При расчете соединения необходимо установить возможные эксцентриситеты и учесть в расчете крепежных изделий соответствующие результирующие моменты.
10.5.3 При работе соединений тонкостенных конструкций следует рассматривать следующие основные виды отказов при действии продольной и поперечной нагрузки относительно оси крепежных изделий:
- вырыв крепежного изделия из материала конструкции;
- разрушение соединяемого материала в месте контакта с головкой крепежного изделия;
- разрыв крепежного изделия;
- срез крепежного изделия;
- смятие соединяемого материала;
- разрыв соединяемого материала по сечению нетто.
10.5.4 Расчетные значения прочности соединений на сдвиг и растяжение, из условий обеспечения прочности самого крепежного изделия (срез и разрыв, кроме болтов), а также соединяемого материала при видах отказа "вырыв крепежного изделия из материала конструкции" и "разрушение соединяемого материала в месте контакта с головкой крепежного изделия", принимают на основании данных национальных стандартов, стандартов организаций или полученных на основании результатов испытаний значений нормативной прочности соединения по виду отказа Fn,n:

(10.1)
где Fn - расчетное сопротивление, соответствующее виду отказа соединения;
Fn,n - нормативное сопротивление по виду отказа соединения, выполненного крепежным изделием n-го типа;

- коэффициент надежности по материалу, принимаемый по
таблице 10.2.
Вид отказа соединения | |
Самонарезающие винты | Заклепки |
Соединение, по отношению к крепежному изделию, работающее на сдвиг |
Смятие соединяемого материала | 0,5 <= t <= 0,7 мм | 1,6 | 1,5 |
0,7 < t <= 2 мм | 1,45 |
Разрыв соединяемого материала по сечению нетто | 1,1 | 1,1 |
Соединение, по отношению к крепежному изделию, работающее на растяжение |
Разрушение соединяемого материала в месте контакта с головкой (бортиком) крепежного изделия | 1,2 | 1,25 |
Вырыв крепежного изделия из материала конструкции | 1,1 |
Для всех других видов отказа соединений  |
10.5.5 Расчетные значения прочности болтов на срез и растяжение, а также расчетные значения прочности соединений при других видах отказа определяют расчетом (см.
10.6). Коэффициент надежности по материалу принимают по
таблице 10.2.
10.5.6 Для соединений с числом крепежных изделий
nf более одного, с учетом неравномерности включения крепежных изделий в работу, следует принимать коэффициент условий работы

, т.е.:

(10.2)

(10.3)
где Fv,n и Ft,n - нормативные сопротивления соединений, выполненные одним крепежным изделием, соответственно сдвигу и растяжению по результатам испытаний;
Fv и Ft - расчетные сопротивления соединений с количеством крепежных изделий в соединении nf соответственно сдвигу и растяжению;
nf - количество крепежных изделий в соединении.
10.5.7 Прогнозируемый срок службы крепежного изделия должен быть не менее срока службы несущих конструкций каркаса. Подтверждение срока службы осуществляется на основании опытных данных или натурных испытаний.
10.6 Несущая способность соединений
10.6.1 Для соединений на вытяжных заклепках, самонарезающих винтах и болтах прочность на смятие основного металла соединения с одним крепежным изделием следует определять по нижеприведенным формулам:
а) вытяжные заклепки:
- соединение элементов из стали и алюминиевых сплавов:

но не более:

(10.4)
б) самонарезающие винты:
- соединение стальных элементов:

(10.5)
- соединение элементов из алюминиевых сплавов:

(10.6)
в) болтовые соединения элементов из стали и алюминиевых сплавов:

(10.7)
где d - номинальный диаметр стержня винта по резьбе;
db - диаметр гладкой части стержня болта;
d0 - диаметр отверстия под заклепку;
t - толщина более тонкого из соединяемых материалов;
e1 - расстояние от оси отверстия до края элемента в направлении действия силы (см.
рисунок 10.1);
Rbp - расчетное сопротивление смятию основного металла для одноболтовых соединений;

- коэффициент надежности по материалу соединяемых элементов, определяемый по
таблице 10.2;

- коэффициент условий работы болтового соединения, определяемый по СП 16.13330.2017
(таблица 41);

- определяется по
таблице 10.3 для соединений стальных элементов и по
таблице 10.4 для соединений элементов из алюминиевых сплавов.
Вид крепежного изделия | Соотношение толщин соединяемых элементов | Значения коэффициента  |
Вытяжные заклепки (2,6 мм <= d <= 6,4 мм) | t1 = t | |
t1 >= 2,5t | |
t < t1 < 2,5t |  - по линейной интерполяции |
Самонарезающие винты | Если t < 1,0 мм и t1 = t или t1 >= 2,5t | |
Если t >= 1,0 мм и t < t1 < 2,5t или t1 >= 2,5t | |
Примечание - В настоящей таблице t1 - толщина более толстого из соединяемых элементов. |
Вид крепежного изделия | Соотношение толщин соединяемых элементов | Значения коэффициента  |
Вытяжные заклепки (2,6 мм <= d <= 6,4 мм) и самонарезающие винты | t1 = t | |
t1 >= 2,5t | |
t < t1 < 2,5t |  - по линейной интерполяции |
Примечание - В настоящей таблице t1 - толщина более толстого из соединяемых элементов. |
10.6.2 Расчетные значения прочности сечений нетто на разрыв элементов при сдвиге, соединенных в одной точке крепления, для различных видов крепежных изделий
Fnt определяют по результатам испытаний либо расчетом в соответствии с
таблицей 10.5.
Вид крепежного изделия | Расчетные значения прочности сечения нетто при сдвиге |
Вытяжные заклепки, самонарезающие винты | |
Болты | |
Примечание - В настоящей таблице применены следующие условные обозначения: An - площадь сечения нетто одного из соединяемых элементов; Run - временное сопротивление разрыву основного материала, в котором установлено крепежное изделие;  - коэффициент условий работы болтового соединения, определяемый по СП 16.13330.2017 (таблица 41); |
10.6.3 Прочность болтов на срез и растяжение в соединении с одним крепежным изделием следует определять по формулам:
- на срез

(10.8)
- на растяжение
Fbt = AbnRbt, (10.9)
где Ab - площадь сечения стержня болта брутто;
Abn - площадь сечения резьбовой части болта нетто;
ns - число расчетных срезов одного болта;

- коэффициент условий работы болтового соединения, определяемый по СП 16.13330.2017
(таблица 41);
Rbs, Rbt - расчетные сопротивления одноболтовых соединений.
10.6.4 При отсутствии экспериментальных данных прочность соединений по видам отказа "вырыв винта из материала конструкции" и "разрушение соединяемого материала в месте контакта с головкой винта" может быть определена расчетом.
10.6.5 Формулы для расчета прочности соединений по виду отказа "вырыв винта из материала конструкции" приведены в
таблице 10.6.
Отношение толщины материала конструкции к шагу резьбы | Расчетное значение несущей способности |
| Fbv = 0,45dtSRS |
| Fbv = 0,65dtSRS |
Примечание - В настоящей таблице применены следующие условные обозначения: RS - расчетное сопротивление на срез материала конструкции; tS - толщина материала конструкции, к которой крепят винт; S - шаг резьбы винта. |
10.6.6 Формулы для расчета прочности соединений по виду отказа "разрушение соединяемого материала в месте контакта с головкой винта" приведены в
таблице 10.7.
Наименование нагрузок | Расчетное значение несущей способности |
Статические | |
Ветровые Ветровые + статические | |
Примечание - В настоящей таблице применены следующие условные обозначения: Run - временное сопротивление разрыву основного материала, в котором установлено крепежное изделие; dw - диаметр пресс-шайбы или головки винта; t - толщина листа под головкой винта; - коэффициент надежности по материалу соединяемых элементов, определяемый по таблице 10.2. |
10.6.7 При одновременном действии на крепежное изделие сдвига Fbs,com и растяжения Fbt,com при условии, что несущая способность соединения на сдвиг и растяжение Fbs и Fbt определены расчетом, несущую способность соединения следует определять по формуле

(10.10)
10.7 Конструктивные требования к исполнению соединений
10.7.1 Минимально допустимые расстояния между точками креплений и от их осей до краев соединяемых элементов представлены на
рисунке 10.1 и принимаются в соответствии с
СП 260.1325800 по
таблице 10.8 для стальных конструкций и в соответствии с
СП 128.13330 по
таблице 10.9 для конструкций из алюминиевых сплавов. В случае, когда усилия в соединении незначительны, при расчете на смятие основного металла соединяемых элементов допускается принимать сокращенные расстояния до края, согласно натурным или численным исследованиям, но при этом следует уменьшать расчетное сопротивление по смятию на 40%.
Рисунок 10.1 - Расположение точек крепления в соединениях
| Тип крепежного изделия |
Вытяжная заклепка 2,6 мм <= d <= 6,4 мм | Самонарезающий, самосверлящий винт 3,0 мм <= d <*> <= 8,0 мм | |
e1 | 1,5d0 | 3,0d | 2,0d0 |
e2 | 1,5d0 | 1,5d | 1,5d0 |
p1 | 3,0d0 | 3,0d | 2,5d0 |
p2 | 3,0d0 | 3,0d | 2,5d0 |
<*> Номинальный диаметр винта. |
| Тип крепежного изделия |
Вытяжная заклепка 2,6 мм <= d <= 6,4 мм | Самонарезающий, самосверлящий винт 3,0 мм <= d <*> <= 8,0 мм | |
e1 | | 3,0d | 2,5d0 (2,0d0) |
e2 | | 2,5d | 2,5d0 (2,0d0) |
p1 | 3,0d0 | 3,5d | 3,5d0 |
p2 | 3,0d0 | 3,5d | 3,5d0 |
< *> Номинальный диаметр винта. <**> При прокатных или прессованных кромках. |
10.7.2 Диаметр отверстий под винты, вытяжные заклепки и болты должен отвечать требованиям технической документации предприятия-изготовителя. Эти требования должны быть основаны на следующих критериях:
- момент закручивания должен быть больше, чем момент, требуемый для нарезания резьбы в соединяемом элементе;
- момент закручивания должен быть менее 2/3 момента, вызывающего скручивание стержня (головки) винта;
- бортики вытяжных заклепок, а также головки самонарезающих винтов должны быть расположены со стороны более тонкого из соединяемых листов;
- приведенные правила расчета соединений на вытяжных заклепках применимы только в тех случаях, когда диаметр отверстия превышает диаметр заклепки не более чем на 0,1 мм;
- для расчета соединений на болтах М12 и более при диаметрах отверстий, превышающих диаметр болта на 2 мм, требования приведены в
СП 16.13330.
10.7.3 При использовании самосверлящих, самонарезающих винтов предварительное сверление отверстия на месте крепления не допускается.
11 Правила проектирования облицовочного слоя
11.1 Требования к облицовочным материалам и изделиям
11.1.1 При проектировании фасадных конструкций допускается применение облицовочных изделий, изготовляемых из природных и искусственных материалов.
11.1.2 При выборе вида облицовочных изделий для защитно-декоративного экрана НФС с учетом конструкции крепления элементов облицовки следует руководствоваться общими характеристиками и отличительными признаками:
- материала облицовочного элемента;
- облицовочного элемента (изделия);
- типа крепления облицовочного элемента.
11.1.3 К общим характеристикам материала облицовочных изделий следует относить:
- объемный вес;
- прочность;
- морозостойкость;
- пустотность;
- водопоглощение;
- пористость.
Дополнительные требования к материалу облицовочных изделий устанавливаются в техническом задании на проектирование с учетом климатического района (подрайона) строительства по
СП 131.13330.
11.1.4 К общим характеристикам облицовочных изделий следует относить:
- конфигурацию (конструктивная форма), размеры;
- материал;
- тип креплений;
- вес изделий;
- характер разрушения;
- прочность и деформативность.
Дополнительные требования к готовым облицовочным изделиям (в т.ч. в модульных панелях) устанавливаются в техническом задании на проектирование с учетом архитектурных решений, расположения элементов облицовки в зонах, подверженных интенсивному воздействию солнечной радиации, систематическому водонасыщению и попеременному замораживанию и оттаиванию, воздействию химических реагентов, условий агрессивной среды.
11.1.5 По размеру плоскостные облицовочные изделия следует подразделять на следующие группы:
- мелкоформатная облицовка (A < 0,1 м2); пример - клинкерные плитки размерами 240 x 68 мм;
- среднеформатная облицовка (0,1 м2 > A > 0,72 м2); пример - плиты керамического гранита (керамические) размерами 600 x 600 мм;
- крупноформатная облицовка (A > 0,72 м2); пример металлокомпозитные кассеты размерами 1200 x 600 мм.
11.1.6 По весу облицовочные изделия следует подразделять на следующие группы:
- тяжелые - св. 30 кг/м2 включительно;
- средней тяжести - от 10 до 30 кг/м2;
- легкие - до 10 кг/м2 включительно.
11.1.7 По характеру разрушения облицовочные изделия подразделяют на следующие группы:
- хрупкие;
- пластичные.
11.1.8 Необходимость определения и учета дополнительных характеристик, отличительных признаков материала облицовочного изделия, готового облицовочного изделия устанавливается в техническом задании по результатам анализа архитектурных решений и условий эксплуатации.
11.1.9 Крепление облицовочных элементов к несущему каркасу фасадной конструкции следует выполнять с применением способов, указанных в
11.1.9.1 и
11.1.9.2.
11.1.9.1 Видимый (открытый) механический способ крепления с использованием:
- кляммеров;
- планок (в т.ч. опорных профилей);
- закладных деталей;
- заклепок, самонарезающих винтов и других точечных элементов крепления.
11.1.9.2 Скрытый механический способ крепления с применением следующих изделий и их комбинаций:
- анкерной техники (резьбовых шпилек);
- закладных деталей, в том числе устанавливаемых в пропилах;
- замковых элементов;
- аграф;
- иклей;
- гибких связей;
- скрытых опорных профилей;
- рамок скрытого крепления;
- штифтов (пиронов).
11.1.10 Допускается применение клеевого и комбинированных типов креплений.
11.1.11 Толщину облицовочных элементов, тип крепления для объекта строительства устанавливают на основе требований разработчика НФС и технического задания, действующих нагрузок и воздействий, опыта эксплуатации подобных конструкций, при отсутствии данных - на основе результатов экспериментальных исследований.
11.1.12 При проектировании облицовочных изделий с применением материалов, отличающихся по физико-механическим характеристикам, и (или) с применением клеевого или комбинированного способа крепления расчетно-теоретическое обоснование технических решений проекта следует осуществлять на основании экспериментальных данных.
11.1.13 При наличии дополнительных требований к материалам или изделиям подтверждение соответствия требованиям технического задания осуществляется на основании испытаний по действующим на применяемый вид материала или изделия стандартам или, при их отсутствии, по специально разработанной программе.
11.2 Общие требования к проектированию облицовочных элементов
11.2.1 Подбор облицовочного материала, конструкции облицовочного элемента, узлов крепления и смежных конструкций следует проектировать с учетом требований по обеспечению:
- стойкости к механическим воздействиям (удары, сильное надавливание, навал и аналогичный характер воздействий, связанных с деятельностью человека или вибрационными воздействиями);
- трещиностойкости в результате температурно-влажностных воздействий, солнечной радиации;
- отвода скапливающейся влаги (атмосферных осадков) из полостей и карманов облицовочных элементов с применением дренажных отверстий;
- герметизации прорезей, отверстий, предназначенных для крепления элементов облицовки;
- свободных перемещений при деформировании элементов металлического каркаса, облицовочных изделий, обусловленном температурно-влажностными воздействиями
(рисунок 11.1);
- устойчивого положения облицовочных элементов в проектном положении.
Рисунок 11.1 - Пример установки кляммеров в местах
устройства деформационного шва
Рисунок 11.2 - Пример устройства деформационного шва
без передачи нагрузки от температурных воздействий с каркаса
на облицовку и в обратном направлении
11.2.2 При проектировании элементов облицовки рекомендуется применять уплотнители или герметики при установке облицовочных элементов на штифтах (пиронах), косых пропилах.
11.2.3 Проектирование облицовочного слоя в зонах, где по условиям эксплуатации возможны локальный нагрев или охлаждение, создающие разность температур, с превышением термостойкости облицовочных материалов, не допускается.
11.2.4 Трещинообразование, потеря формы, коробление облицовочных изделий в результате температурно-влажностных воздействий не допускаются. Необходимо предусматривать конструктивную возможность компенсации температурного расширения или сжатия облицовочных панелей (например, за счет фрезеровок или конфигурации элементов крепления).
11.2.5 Расчетные прогибы не должны приводить к появлению трещин, сколов в облицовочных элементах, короблению элементов с ухудшением эстетического вида.
Рисунок 11.3 - Пример конструктивной и расчетной схем
облицовочного элемента
11.2.6 Для фиксации и предотвращения смещения элемента облицовки следует применять элементы крепления, вид, размеры, количество и расположение которых выбирают в соответствии с рекомендациями изготовителя и требованиями настоящего свода правил.
Рисунок 11.4 - Пример установки бокового кляммера
на угловых сочленениях НФС для предотвращения перемещений
облицовки в плоскости фасада
11.2.7 Закрепление элементов навесного оборудования, растяжек, рекламных вывесок, флагштоков и других конструктивных и декоративных элементов к облицовочным элементам не допускается.
11.2.8 Значение зазора между соседними элементами облицовки, облицовкой и конструкцией каркаса, глубину заделки элемента крепления, необходимость и способы уплотнения и (или) герметизации точек крепления, а также значения зазоров между облицовкой и элементами каркаса указывают в проектной или конструкторской документации в зависимости от вида (типа), размеров и условий эксплуатации облицовочных изделий.
11.2.9 При устройстве хрупких тонких облицовок с большими прогибами в местах возможного массового скопления людей в проектной документации необходимо предусматривать класс защиты облицовки от ударного воздействия или предусматривать перед фасадом на данных участках защитные козырьки или навесы.
11.2.10 При использовании клеевого крепления в проектной документации должны быть выполнены расчеты габаритов и шага клеевого шва, выполнено обоснование несущего или самонесущего типа клеевого крепления, а также учтены данные адгезионных испытаний клея-герметика.
11.2.11 Размер перекрытия прижимных планок, глубину зацепления крюков-зацепов и других элементов крепления принимают в соответствии с рекомендациями разработчиков НФС на основании расчетов, подтверждающих несущую способность элемента крепления и облицовочного материала, или результатов экспериментального исследования.
11.2.12 В проектной документации должны быть указаны допуски на толщину зазоров (швов) и взаимное смещение из плоскости фасада между смежными элементами облицовки с учетом прогнозируемых воздействий.
11.2.13 При проектировании фасадных конструкций следует отдавать предпочтение типам крепления, позволяющим оперативно выполнять демонтаж облицовки для осмотра несущей конструкции НФС в процессе эксплуатации, ремонта и технического обслуживания.
11.3 Определение нагрузок, действующих на облицовку НФС
11.3.1 При определении нагрузок и воздействий следует руководствоваться положениями
СП 20.13330, а при определении коэффициентов надежности по нагрузке в зависимости от вида облицовочных материалов - ГОСТ Р 58883-2020
(таблица 1).
11.3.2 При проектировании облицовок также необходимо учитывать ветровое давление, действующее на боковые поверхности фасада, в том числе на откосы.
11.3.3 В угловых зонах фасада необходимо учитывать совместное действие ветровой нагрузки в соответствии с
рисунком 11.5.
Рисунок 11.5 - Действие ветровой нагрузки
в угловой зоне фасада
11.3.4 Для облицовки НФС двустороннее гололедное воздействие принимают с учетом коэффициента, учитывающего отношение площади поверхности элемента, подверженной обледенению, к полной площади поверхности элемента, равного 0,6.
11.3.5 Снеговую нагрузку на облицовки определяют по
СП 20.13330 с учетом возможности образования на облицовке снегоотложений или образования снеговых мешков. Снеговую нагрузку учитывают независимо от наличия или отсутствия электроподогрева в связи с возможным отключением электроснабжения.
11.4 Обеспечение безопасности облицовочного слоя фасадных конструкций
11.4.1 Условием обеспечения надежности облицовочного слоя является соответствие проектных решений требованиям по прочности, деформативности, долговечности, безопасной эвакуации людей при возникновении аварийной ситуации (в части предотвращения травм и ущерба от падения фрагментов облицовки).
11.4.2 Основными этапами разработки проектных технических решений по устройству облицовочного слоя фасадных конструкций являются:
- формирование общего перечня требований к облицовке;
- определение конструктивной схемы облицовки и типа крепления;
- выполнение расчетно-теоретического обоснования, при необходимости - с проведением испытаний экспериментальных образцов фасадных конструкций.
Оценку НДС облицовочных элементов, ребер жесткости и элементов крепления необходимо выполнять в соответствии с критериями первой и второй групп предельных состояний.
11.4.3 В ходе оценки прочности облицовки по первой группе предельных состояний проводят:
- проверку прочности облицовки в пролете конструкции и на опоре;
- проверку прочности крепления к каркасу конструкции НФС;
- другие необходимые расчеты, обусловленные проектным решением (при необходимости).
11.4.4 Проверку облицовки по второй группе предельных состояний выполняют исходя из условия, что предельные вертикальные и горизонтальные прогибы и перемещения от действующих нагрузок не должны превышать допускаемые прогибы и перемещения, установленные нормативными документами или по результатам экспериментальных исследований.
11.4.5 При расчете облицовки по критериям первой и второй групп предельных состояний рекомендуется использовать следующие граничные условия:
- точки крепления облицовочных элементов, закрепляемые с применением механического способа крепления, следует принимать шарнирными, при этом нагрузка от веса облицовочных элементов на каркас передается преимущественно сосредоточенно;
- в местах, где в результате изгиба возможен упор облицовки в направляющий профиль, рекомендуется устанавливать односторонние связи;
- допускается в расчете учитывать жесткость поддерживающих профилей в качестве ребер жесткости фасадной облицовки. При этом необходимо учитывать их влияние на НДС облицовочных элементов;
- при совместной оценке НДС облицовки и каркаса НФС крепление облицовки к каркасу допускается задавать в виде стержневого упруго-податливого элемента с жесткостью, определенной по результатам испытаний.
11.4.6 Аналитический расчет по формулам строительной механики и теории упругости элементов облицовки следует выполнять при условии соответствия граничных условий и типов элементов теоретическим исходным данным, лежащим в основе используемых формул.
11.4.7 Допускается выполнять расчет фрагмента облицовки с использованием узлов крепления к несущим элементам каркаса в качестве точек крепления к неподвижному несущему основанию. Расчет облицовки совместно с элементами каркаса следует выполнять в случае значительного взаимного влияния на распределение усилий и напряжений между элементами системы, а также на значения перемещений.
11.4.8 Характер работы облицовочной конструкции под нагрузкой, определение исходных данных для последующего расчета, подтверждения надежности и безопасности следует выполнять по результатам испытаний полноразмерных образцов на действие нагрузки, имитирующей ветровую, по существующей либо разработанной методике.
11.4.9 Допускается назначать угловую и линейную жесткость крепления облицовки по результатам испытаний.
11.4.10 При проверке прочности облицовочных элементов следует использовать расчетные значения прочности материала, приведенные в технической документации на облицовку, полученные на основе протоколов испытаний. В случае отсутствия данных расчетные значения следует определять по результатам испытаний с учетом коэффициента надежности по материалу.
11.4.11 Проверка облицовки по второй группе предельных состояний выполняется исходя из условия, что предельные вертикальные и горизонтальные прогибы и перемещения от постоянных, длительных и кратковременных нагрузок не должны превышать 1/150 пролета или 1/75 вылета консоли, если допускаемые прогибы и перемещения не оговорены настоящим и другими нормативными документами.
11.4.12 Исходные данные при проведении расчетов облицовочных элементов назначают с учетом строения материала. Общими для применяемых материалов следует считать физико-механические характеристики:
- расчетное сопротивление изгибу, растяжению, сжатию;
- модуль упругости, модуль деформаций;
- плотность;
- коэффициент теплового линейного расширения;
- коэффициент Пуассона;
- модуль сдвига.
Справочные материалы, необходимые для проектирования по отдельным видам облицовок, приведены в
приложении И.
12 Проектирование НФС в сейсмических районах
12.1 При проектировании НФС для их применения на зданиях, возводимых в районах с расчетной сейсмичностью 7, 8 и 9 баллов, следует руководствоваться положениями СП 14.13330.2018
(пункт 6.20).
12.2 Коэффициент динамичности
ap, учитывающий возможное усиление колебаний НФС и принимаемый для определения нагрузочных эффектов от сейсмического воздействия в соответствии с требованиями СП 14.13330.2018
(пункт 6.20.7), допускается уточнять по результатам экспериментальных исследований.
12.3 Зазоры между облицовочными элементами НФС допускается принимать менее требуемого значения в соответствии с положениями СП 14.13330.2018
(пункт 6.20.8), если по результатам экспериментальных исследований такое значение зазоров не приводит к выпадению и разрушению заполнения НФС для расчетных
ситуаций а) и
б) по СП 14.13330.2018 (пункт 6.20.4).
13 Правила проектирования теплоизоляционного слоя
13.1 При проектировании теплоизоляционного слоя НФС предусматривают однослойное, двуслойное (или более) утепление с применением негорючих (НГ) либо слабогорючих (Г1) плит по
ГОСТ 30244, изготовленных в соответствии с
ГОСТ 32314.
Применение слабогорючих (Г1) минераловатных плит допускается для однослойного или наружного слоя многослойного утепления, если возможность их применения подтверждена соответствующим заключением по результатам огневых испытаний в составе проектируемой НФС по
ГОСТ 31251.
13.2 Для однослойного утепления и наружного слоя при двуслойном (и более) утеплении используют минераловатные плиты с прочностью на сжатие при 10%-ной относительной деформации не менее 10 кПа (по
ГОСТ EN 826) и прочностью при растяжении перпендикулярно лицевым поверхностям не менее 3 кПа (по
ГОСТ EN 1607).
В случае двуслойного (и более) утепления толщину наружного слоя, служащего для защиты внутреннего слоя, допускается принимать не менее 20 мм при прочности на сжатие при 10%-ной относительной деформации не менее 10 кПа (по
ГОСТ EN 826).
Для внутренних слоев при двуслойном (и более) утеплении используют минераловатные плиты со сжимаемостью под удельной нагрузкой 2000 Па не более 60% (по
ГОСТ 17177).
При применении защитного материала (ветрогидрозащитной мембраны или ветрозащитного материала) для однослойного утепления и наружного слоя при двуслойном (и более) утеплении допускается использовать минераловатные плиты с прочностью при растяжении параллельно лицевым поверхностям не менее 15 кПа (по
ГОСТ EN 1608).
В случае применения минераловатных плит переменной плотности требования по прочности применяются относительно указанных параметров к каждому слою соответственно.
13.3 На цокольных участках здания для обеспечения защиты от увлажнения применяют плиты из экструзионного пенополистирола (XPS) группы горючести Г4 по
ГОСТ 30244, высотой не более 600 мм. При этом необходимо предусмотреть противопожарные рассечки, обеспечивающие нераспространение огня на соседние участки НФС. Теплотехнические расчеты (в том числе расчеты тепловой защиты, защиты от переувлажнения, воздухопроницаемости ограждающих конструкций и др.) следует проводить по методикам
СП 50.13330 и
СП 345.1325800. При определении приведенного сопротивления теплопередаче ограждающей конструкции удельные потери теплоты через теплотехнические неоднородности находятся по расчетам температурных полей или принимают по
СП 230.1325800.
13.4 При теплотехнических расчетах по методикам
СП 50.13330 и
СП 345.1325800 (в том числе для определения необходимой толщины теплоизоляционного слоя) следует использовать расчетную теплопроводность материала теплоизоляционного слоя.
13.5 Теплоизоляционные изделия из минеральной ваты должны удовлетворять требованиям
ГОСТ 32314 и соответствовать особым условиям применения изделий:
- характеристики прочности при сжатии (
пункт 4.3.3 ГОСТ 32314-2012);
- прочность на растяжение перпендикулярно лицевым поверхностям (
пункт 4.3.4 ГОСТ 32314-2012);
- при кратковременном частичном погружении Wp не должно превышать 1,0 кг/м2;
- удельное сопротивление потоку воздуха (
пункт 4.3.12 ГОСТ 32314-2012);
13.6 При устройстве теплоизоляционного слоя крепление плит осуществляется элементами крепления (в соответствии с проектной документацией) или тарельчатыми анкерами (дюбелями), обеспечивающими требования по условиям эксплуатации, несущей способности, пожарной безопасности, с распорными элементами - в соответствии с требованиями по коррозионной стойкости объекта строительства.
При устройстве однослойного теплоизоляционного слоя крепление плит осуществляется тарельчатыми анкерами (дюбелями) с термоизолирующими головками, в два слоя (и более) - крепление внутреннего слоя допускается осуществлять термоизолирующими заглушками.
При двуслойном (и более) выполнении изоляции плиты опорного (первого по высоте) ряда внутреннего слоя крепят тремя дюбелями, а последующих - одним. Плиты наружного слоя и однослойного утепления крепят вместе с защитным материалом (при его применении) пятью дюбелями (элементами крепления) на каждую плиту размерами 1000 x 600 мм или количеством, достаточным для закрепления фрагмента меньшей площади, но не менее 2 шт.
13.7 При монтаже плит утеплителя должен быть обеспечен их плотный контакт с изолируемой поверхностью. При двуслойном (и более) утеплении плиты утеплителя наружного слоя устанавливаются со смещением по вертикали и горизонтали (не менее 100 мм) относительно внутренних слоев для перекрытия стыков. Швы на стыках теплоизоляционных плит не должны превышать 2 мм. При наличии шва большей ширины его заполнение осуществляется фрагментами того же теплоизоляционного материала. Применение для заделки швов монтажной пены и иных, не предусмотренных в составе конструкции, материалов не допускается.
При креплении раскроенных плит сложной формы количество дюбелей должно обеспечить плотное прилегание теплоизоляционного слоя к утепляемой поверхности.
Непосредственно к наружной поверхности утеплителя, если это предусмотрено проектом, на соответствующих участках или по всей утепляемой поверхности крепят защитный материал. Крепление защитного материала осуществляют одновременно с монтажом теплоизоляционных плит теми же элементами крепления.
В случае применения плит, кашированных стеклохолстом, ветрогидрозащитные материалы (мембраны) не применяют.
Необходимость применения защитного материала определяется проектом с учетом конструктивных и архитектурных особенностей здания, природно-климатических условий района строительства, требований к температурно-влажностному режиму внутри помещений здания, конструктивных решений системы, а также требований к обеспечению ее пожарной безопасности, учитывающих пожарно-технические характеристики защитного материала.
13.8 Допускается применять защитные материалы, относящиеся к негорючим (НГ) по
ГОСТ 30244 (без испытаний), и ветрогидрозащитные мембраны, не относящиеся к легковозгораемым материалам по
ГОСТ Р 56027, если возможность их применения подтверждена соответствующим заключением по результатам огневых испытаний по
ГОСТ 31251 в составе проектируемой НФС.
Защитные материалы должны иметь стойкость к УФ-излучению и тепловому воздействию и сохранять необходимые свойства после окончания монтажа облицовки. Стойкость к указанным воздействиям защитных материалов должна быть подтверждена испытаниями на искусственное старение по
ГОСТ EN 1296 и
ГОСТ 32317.
При проектировании НФС, имеющих открытые зазоры между элементами облицовки суммарной площадью открытых участков минераловатного утеплителя, превышающего 20% поверхности фасада, необходимо применять защитные материалы с повышенной стойкостью к УФ-излучению не менее 5000 ч в соответствии с
ГОСТ EN 1296.
13.9 Минимальное значение воздушного зазора (прослойки) между наружной поверхностью слоя утеплителя (защитного материала) и внутренней поверхностью плит облицовки принимают в соответствии с проектом. Минимально допустимое значение воздушного зазора - 40 мм (минимальный размер зазора между поверхностью утеплителя и направляющими - 20 мм).
В случае необходимости размещения архитектурно-декоративных элементов, выступающих относительно основной плоскости облицовки, а также при наличии значительных отклонений поверхности стен от вертикали допускается локальное увеличение зазора. Максимальный размер зазора, по противопожарным требованиям, определяют в соответствии с результатами огневых испытаний либо аналитическим способом.
Меры по защите утеплителя от климатических воздействий в период монтажа системы, выбор типа и марки теплоизоляционных плит, защитного материала, а также крепежных изделий с различной стойкостью к ультрафиолету осуществляют с учетом прогнозируемого интервала времени между установкой утеплителя и монтажом облицовки.
Рекомендуется применение защитного материала при задержке монтажа облицовки НФС на срок более 30 сут после установки теплоизоляционного слоя.
14 Правила проектирования коррозионной защиты навесных фасадных вентилируемых систем
При проектировании защиты от коррозии металлических каркасов НФС, элементов крепления, облицовок необходимо учитывать условия воздействия окружающей среды по
ГОСТ ISO 9223,
ГОСТ 16350 и
СП 28.13330, размещение конструкций по
ГОСТ 15150.
Классификация условий эксплуатации конструкции НФС в зависимости от размещения, наличия теплоизоляции, типа и степени агрессивности атмосферы, адаптированная для климатических районов Российской Федерации, приведена в ГОСТ Р 70071-2022
(таблица 1).
При проектировании конструкций НФС из разнородных материалов необходимо предусмотреть меры по предотвращению контактной коррозии согласно ГОСТ Р 70071-2022
(пункт 5.5).
14.2 Каркасы и элементы крепления НФС
При проектировании защиты от коррозии каркасов необходимо учитывать требования
таблицы 14.1, где указаны наиболее распространенные материалы, применяемые для изготовления элементов НФС и деталей крепления облицовки.
Наименование материала <*> | Класс и марка | Тип и толщина покрытий |
Для тонколистового проката и прессованных профилей | Для толстолистового проката |
Коррозионно-стойкая сталь | Аустенитные 12Х18Н9, 08Х18Н10, 12Х18Н10, 08Х18Н10Т, 12Х18Н10Т, 03Х17Н14М3, 10Х17Н13М2Т и аналоги | |
Ферритные 12Х17, 08Х17Т и аналоги | ГОСТ Р 70071-2022 | Не применяется |
Углеродистая сталь | 08пс и аналоги | ГОСТ Р 70071-2022 | ГОСТ Р 70071-2022 |
Алюминиевые сплавы | 6060 Т5, 6060 Т6, 6060 Т66 Состояние: закаленное и искусственно состаренное повышенной прочности | ГОСТ Р 70071-2022 |
6063 Т6, 6063 Т66 Состояние: закаленное и искусственно состаренное |
АД31 Т1 Состояние: закаленное и искусственно состаренное |
АМг1, АМг2, АМг3 Состояние: нагартованное или полунагартованное |
АД0, АД0 Н Состояние: деформированное | Анодно-окисное 18 - 20 мкм, полимерное порошковое 40 мкм, комбинированное анодно-окисное 12 - 20 мкм + полимерное порошковое 40 мкм |
<*> Допускается применение аналогичных сплавов при соответствующем обосновании. |
В качестве материалов для изготовления металлических панелей, элементов облицовки и наружных листов металлокомпозитных панелей применяют: коррозионно-стойкие стали (
ГОСТ 4543,
ГОСТ 5632,
ГОСТ 5582,
ГОСТ 5949), углеродистые стали (
ГОСТ 9045,
ГОСТ 14918,
ГОСТ 34180), алюминиевые сплавы
(ГОСТ 4784), медь и медные сплавы
(ГОСТ 859), цинк-титан
(ГОСТ Р 58953).
Перечень материалов элементов облицовки и защитных покрытий указан в
таблице 14.2.
Таблица 14.2
Материалы облицовок и внешних листов
металлокомпозитных панелей
Материал | Толщина, мм | Покрытие с лицевой стороны |
Наименование | Марка | панелей металлической облицовки | внешнего листа металлокомпозитной панели |
Коррозионно-стойкая сталь | 08Х17, 12Х17, 17Х18, 12Х18Н9, 08Х18Н10 и аналоги | 0,5 - 2,0 | 0,2 - 0,4 | Без покрытия |
Порошковое полимерное |
Углеродистая сталь | 08пс и аналоги | 0,5 - 2,0 | 0,2 - 0,4 | Комплексное цинковое и полимерное |
Алюминиевые сплавы | АМг2, АМг3, АМг4, АМг5, АМг6 АМц, АД31, EN AW 6060, EN AW 6063 и аналоги | 0,7 - 4,0 | 0,35 - 0,5 | Без покрытия |
Анодно-окисное |
|
Порошковое полимерное |
Комплексное анодно-окисное и полимерное |
Медные сплавы | М1, М2, М3 | 1,0 - 2,0 | 0,2 - 0,5 | Без защиты |
Патина |
Цинк-титан | - | 1,0 - 1,5 | 0,5 - 2,0 | Без защиты |
Патина |
Полимерное |
<*> Полимерные покрытия на основе полиэфирных смол (PE), на основе полиуретана (PUR), поливинилиденфторидных смол (PVDF), на основе фторэтиленвинилэфирных смол (FEVE) должны соответствовать требованиям ГОСТ 33290. |
| | ИС МЕГАНОРМ: примечание. В официальном тексте документа, видимо, допущена опечатка: имеется в виду ГОСТ Р 70573-2022, а не ГОСТ 70573-2022. | |
Требования к защите от коррозии для облицовок из металлических материалов приведены в
СП 28.13330, сроки службы облицовок по ГОСТ 70573-2022 (
таблицы 4 -
6).
Применяемые в НФС элементы крепления (болты, самонарезающие винты, вытяжные заклепки, анкеры) предназначены для соединения между собой элементов несущей конструкции, элементов креплений облицовки, облицовок, крепления кронштейнов с основанием.
Наименование материала | Марка материала | Тип и толщина покрытий |
Коррозионно-стойкая сталь | А2: 08Х18Н10, А4: 10Х17Н13М2, А5: 10Х17Н13М2 и аналоги | |
Углеродистая сталь с защитными покрытиями | ГОСТ Р 70071-2022 |
| АМг3,5, АМг5, АМг5П, Д18, АД1, А5Е и аналоги | |
<*> Только для вытяжных заклепок. |
15 Информационное моделирование при проектировании НФС
15.1 Информационное моделирование зданий (BIM - Building Information Modeling) при разработке рабочей документации НФС позволяет получать монтажные схемы, узлы и спецификации на основе предварительно созданных 3D моделей. Основная часть технологии информационного моделирования проекта - 3D модель, собранная из отдельных компонентов: облицовки, каркаса и теплоизоляционного слоя.
15.2 До начала проектирования разрабатывают и согласовывают с застройщиком (техническим заказчиком) план реализации технологии информационного моделирования проекта (BEP - BIM Execution Plan), содержащий следующую информацию:
- основная информация о проекте;
- координаты общей площадки;
- требования к программному обеспечению;
- правила наименования файлов;
- описание характеристик уровня проработки технологии информационного моделирования модели (LOD);
- описание к информационной наполненности модели и компонентов (LOI);
- требования к технологии информационного моделирования модели и документации;
- организация работы в среде общих данных.
15.3 Требования к созданию технологии информационного моделирования модели
15.3.1 Модель создается на основе шаблона проекта проектной организации.
15.3.2 При создании модели и компонентов модели используются только параметры из файла общих параметров.
15.3.3 Файл модели содержит только элементы модели, относящиеся к проекту, сопутствующие файлы, такие как архитектурные решения, железобетонные конструкции, разделы светопрозрачных конструкций и др. подгружаются внешними ссылками.
15.3.4 При моделировании используются компоненты из библиотеки компонентов. Новые компоненты создаются согласно стандарту организации и BEP. Необходимо выбирать наиболее простые инструменты создания компонентов.
15.3.5 Все компоненты модели создаются в масштабе 1:1.
15.3.6 Облицовка фасада моделируется согласно BEP, с применением наиболее удобных и простых инструментов. Предварительно необходимо создание опорных плоскостей и вспомогательных линий контура фасада с привязкой к осям.
15.3.7 При многослойном утеплении стен слои моделируются отдельно.
15.3.8 Моделируют НФС отдельными компонентами. Для удобства моделирования рекомендуется создавать именные сборные динамические семейства.
15.3.9 Облицовка фасада, теплоизоляционный слой и каркас НФС моделируют с разделением на этажи.
15.3.10 Всем элементам системы, теплоизоляции и облицовки прописываются параметры, указанные в BEP.
15.3.11 В состав сборных семейств необходимо включить семейства условных обозначений кронштейнов.
15.3.12 Компоненты НФС создают на трех уровнях детализации.
15.3.13 Допускается создание модели без элементов крепления, если это не противоречит BEP.
15.3.14 В модели создаются фильтры видимости на облицовку, теплоизоляционный слой, элементы каркаса и крепления. Фильтры создаются по определенным правилам, с применением кодов по классификатору.
15.4 Требования к оформлению чертежей
15.4.1 Проект должен содержать:
а) монтажные схемы облицовки фасада (с маркировкой панелей при необходимости), монтажные схемы каркаса (направляющих, кронштейнов и др.), полученные настройкой видимости определенных видов модели;
б) планы типовых этажей и разрезы, полученные настройкой видимости определенных видов модели;
в) узлы, полученные настройкой видимости определенных видов модели;
г) сборочные чертежи облицовки (кассеты, панели, плиты и др.), полученные из модели;
д) спецификации облицовки фасада, элементов каркаса и крепления НФС, спецификации фасонных изделий, теплоизоляционного слоя, полученные из модели.
15.4.2 При моделировании без элементов крепления:
а) отсутствующие элементы на узлах добавляются в виде 2D компонентов данного вида. Допускается локальное использование линий детализации;
б) элементы крепления должны быть посчитаны в спецификации с помощью формул.
15.4.3 Допустима вставка в проект 2D чертежных видов типовых узлов, схемы установки теплоизоляционного слоя, ведомости ссылочных и прилагаемых документов и т.п.
15.4.4 Весь проект должен содержаться в файле модели, включая титульный лист, общие данные, содержание.
15.5 Требования к готовой модели
15.5.1 Стартовой страницей при открытии файла модели должен быть первый лист проекта.
15.5.2 Из файла готовой модели необходимо удалить:
а) все неиспользуемые в данном проекте элементы, такие как компоненты модели, 2D компоненты, элементы аннотаций, неиспользуемые материалы, виды и т.д.;
б) все подложки в формате DWG.
16 Обеспечение безопасной эксплуатации НФС
16.1 Для обеспечения безопасной эксплуатации НФС в проектной документации должен быть составлен перечень конкретных требований с указанием конкретных параметров воздействий на них, которые могут привести к опасности для жизни и здоровья людей.
Местами повышенной опасности являются места прохода людей в зонах, подверженных возможному падению элементов облицовки.
Выбранное техническое решение в нормальных условиях эксплуатации должно обеспечивать безопасность людей в случае возможных разрушений.
16.2 В проектной документации на НФС должны быть предусмотрены конструкции и оборудование, обеспечивающие безопасную эксплуатацию, ремонт, мытье и очистку наружных поверхностей, а также указаны места установки.
17 Требования пожарной безопасности
| | ИС МЕГАНОРМ: примечание. Текст дан в соответствии с официальным текстом документа. | |
17.1 При проектировании, производстве работ и эксплуатации НФС необходимо учитывать и принимать меры обеспечения пожарной безопасности в соответствии с 0, 0,
СП 518.1311500 и другими действующими нормативными правовыми актами и нормативными документами по пожарной безопасности.
17.2 При проектировании вновь строящихся и реконструируемых зданий классов функциональной пожарной опасности Ф.1.1 и Ф.4.1 необходимо руководствоваться требованиями 0,
СП 2.13130 и действующих нормативных документов по пожарной безопасности.
17.3 В проектной документации на объекты строительства должен быть установлен класс пожарной опасности применяемых наружных стен с выполненными на их внешней поверхности системами НФС. В проектной документации также приводят показатели пожарной опасности строительных материалов.
17.4 Определение класса пожарной опасности конструкций наружных стен с НФС должно выполняться по
ГОСТ 31251. Допускается определение класса пожарной опасности аналитическим способом.
17.5 При разработке проекта производства работ (ППР) на НФС должны быть отражены требования, в которых установлены номенклатура и порядок выполнения технологических операций, обеспечивающих обеспечение требований пожарной безопасности.
17.6 Отступления от проектных решений, в том числе возможность замены на объекте предусмотренных в НФС материалов на другие, должны согласовываться в установленном порядке с последующим изменением проектной документации.
17.7 Правила проектирования противопожарных коробов "скрытого" или "видимого" типов в местах сопряжений НФС с верхними и боковыми откосами оконных (дверных и пр.) проемов определяются по результатам испытаний НФС по
ГОСТ 31251 либо аналитическим способом.
17.8 Конструкции защитных козырьков над эвакуационными выходами, выступающих за основную плоскость фасада здания и примыкающих к НФС, должны проектироваться из негорючих материалов. Допускается окраска козырьков из негорючих материалов защитно-декоративными или антикоррозионными покрытиями толщиной не более 0,3 мм.
17.9 Над выносными (выступающими за основную плоскость фасада здания) балконами, над которыми в их створе располагаются оконные проемы, следует проектировать навесы из негорючих материалов на всю их площадь. Допускается окраска козырьков из негорючих материалов защитно-декоративными или антикоррозионными покрытиями толщиной не более 0,3 мм.
При этом перекрытие балкона следует считать таким навесом для балкона предыдущего этажа, а также для нижележащих этажей, если над последними отсутствуют проемы.
Противопожарная отсечка может выполняться как:
- элемент примыкания НФС к цоколю, парапетам - в целях защиты воздушного зазора от проникновения горения из внешнего пространства (в случае возникновения наружного пожара) вовнутрь НФС и конструкций цоколя, парапета;
- элемент защиты внутренней полости НФС (при необходимости, в случае применения ветрогидрозащитных мембран, не относящихся к легковозгораемым материалам) - может быть выполнен из сплошной или перфорированной стали и установлен во внутреннем объеме подоблицовочной конструкции между этажами, при соблюдении расчетного режима воздухообмена в воздушном зазоре НФС, для препятствия распространению горения во внутреннем объеме системы и предотвращения выпадения горящих капель или фрагментов мембраны из воздушного зазора системы.
17.10 Система потолков, сопрягаемая с НФС в районах галерей и дебаркадеров, а также все открытые участки системы потолков и воздушный зазор внутри нее должны быть изолированы негорючими материалами, для исключения попадания во внутренний объем открытого огня или расплавленных (раскаленных) продуктов горения и обеспечения защиты нижнего торца НФС. Данные мероприятия устанавливаются при разработке проектной документации на конкретный объект строительства.
17.11 При наличии в здании участков с разновысокой кровлей она должна выполняться по всему контуру сопряжения с примыкающей к ней сверху и имеющей проемы НФС, как эксплуатируемая кровля в соответствии с требованиями
СП 17.13330,
СП 2.13130.
При проектировании НФС, не имеющей в составе горючих материалов, требование по устройству эксплуатируемой кровли допускается не выполнять.
17.12 При производстве работ по монтажу и ремонту НФС на зданиях класса КС-3 по
ГОСТ 27751 необходимо идентифицировать облицовки (по
ГОСТ 30244) и (или) в соответствии с ГОСТ 31251-2008
(приложение Б). Отбор образцов материалов проводят на объекте строительства с обеспечением правил отбора образцов и составлением акта.
17.13 Применение горючей облицовки в пределах внутренних объемов балконов, лоджий, переходов в незадымляемые лестничные клетки, при выполнении функций путей эвакуации или зон безопасности, а также по периметру всех эвакуационных выходов из здания ближе 1 м от каждого откоса такого выхода не допускается, за исключением кассет из стальных композитных панелей или таких панелей с завальцовкой.
17.14 Со стороны всех открытых торцов системы, независимо от наличия в системе утеплителя и защитных материалов, должны устанавливаться перекрывающие эти торцы системы крышки или заглушки, накладки, козырьки и т.п. из негорючих материалов, препятствующие возможному попаданию внутрь системы источников зажигания.
17.15 При монтаже НФС, при установке информационного, осветительного, рекламного и другого оборудования, при проведении ремонтных и других работ необходимо исключить возможность воздействия открытого пламени и повышенных температур, попадания искр, горящих и тлеющих частиц в воздушный зазор, на поверхность элементов облицовки и других элементов конструкции, а также нагрев последних выше допустимых (паспортных) температур при эксплуатации.
17.16 Крепление каких-либо элементов и деталей, не предусмотренных проектной документацией, непосредственно к элементам облицовки и несущему каркасу не допускается.
17.17 Прокладка внутри вентилируемого фасада открытым способом электрических кабелей и проводов с изоляцией, выполненной из горючих материалов, не допускается согласно 0.
Проектирование установки поверх или внутри НФС любого электрооборудования, включая прокладку электросетей (в том числе слаботочных), должна выполнять профильная проектная организация.
17.18 При проведении монтажа, эксплуатации и ремонта НФС необходимо принимать меры обеспечения пожарной безопасности, соблюдать требования 0 независимо от степени огнестойкости, классов конструктивной и функциональной пожарной опасности здания.
18 Правила монтажа навесных фасадных вентилируемых систем
18.1 Требования к строительному основанию НФС
18.1.1 Требования к строительному основанию при новом строительстве
Выполнение монтажа НФС необходимо выполнять в соответствии с разработанным и утвержденным ППР, который должен быть разработан в соответствии с требованиями
СП 48.13330 и утвержден заказчиком.
Крепление каркаса НФС не допускается:
- в кладку из легких бетонов класса по прочности на сжатие менее B2,5;
- в нераскрепленную ненесущую каменную кладку из легкого бетона плотностью менее 1200 кг/м3;
- в трехслойные панели с металлической облицовкой, с толщиной металла наружной обшивки менее 0,5 мм, пределом прочности на сжатие перпендикулярно к обшивкам менее 60 кПа, пределом прочности при растяжении перпендикулярно к обшивкам менее 100 кПа, пределом прочности на сдвиг менее 50 кПа.
Крепление в кладку из легких бетонов класса плотностью менее D600 допускается только после подтверждения несущей способности крепежного элемента расчетным нагрузкам.
В остальных случаях несущие и ограждающие конструкции под монтаж НФС должны быть выполнены в соответствии с требованиями
СП 70.13330.
18.1.2 Требования к строительному основанию при реконструкции и капитальном ремонте
Для принятия решения о возможности проектирования НФС для зданий, подлежащих реконструкции или капитальному ремонту, необходимо проведение комплексного обследования состояния конструкций, планируемых к установке НФС.
Целью обследования технического состояния наружных стен является определение фактического состояния стен, получение оценки фактических показателей качества конструкций (прочности, сопротивления теплопередаче и др.) с учетом изменений, происшедших во времени, для установления состава и объема работ по их ремонту и утеплению и возможности устройства НФС.
При обследовании технического состояния наружных стен получаемая информация должна быть достаточной для принятия обоснованного решения о возможности его дальнейшей безаварийной эксплуатации и проведения проектирования.
В случае ограниченно работоспособного и аварийного состояния наружных стен получаемая информация должна быть достаточной для проектирования восстановления или усиления конструкций наружных стен.
Рекомендуемый порядок проведения и оценка результатов обследования приведены в
приложении К.
18.2 Требования к системе управления процессом
Для обеспечения условий качества, долговечности и надежности проектируемой и монтируемой НФС необходимо соблюдение условий системы управления процессом, которая заключается в следующих положениях:
а) ознакомление с объектом обследования, его объемно-планировочными и конструктивными решениями, материалами предыдущих обследований (при наличии);
б) изучение проектной и рабочей документации в части устройства НФС, а при проведении обследования - и исполнительной документации с последующим анализом, включая:
- техническое заключение по обследованию конструкций здания (при выполнении работ по комплексному капитальному ремонту);
- обоснованность выбора конструкции НФС с учетом требований пожарной безопасности, энергоэффективности и др.;
- документацию, регламентирующую проведение работ по устройству НФС (ППР);
- мероприятия, обеспечивающие требования пожарной безопасности в части устройства фасадов в соответствии с требованиями разделов проекта;
- проверку (анализ) рабочей документации на соответствие нормативным документам, проектной и технической документации;
- составление программы работ на основе технического задания;
в) подготовительные работы к проведению обследования и (или) контролю качества работ предусматривают ознакомление с объектом обследования, с рабочей и исполнительной документацией в части устройства НФС (включая ППР, операционные карты, журналы работ и входного контроля, авторского надзора, акты освидетельствования скрытых работ и т.д.), с документацией по эксплуатации и имевшим место ремонтам (в случае их проведения) НФС, с результатами предыдущих обследований.
По проектной документации устанавливают: конструктивную схему здания, характеристики материала наружных стен здания, примененную в проекте НФС, геометрические размеры фасадов и их элементов, расчетные схемы крепления несущего каркаса, утеплителя и облицовки.
По исполнительной документации устанавливают: наименования строительных организаций, выполняющих фасадные работы, поставщиков материалов и комплектующих, входящих в состав НФС, наличие документов оценки соответствия и паспортов на материалы и комплектующие, данные об имевших место заменах и отступлениях от проекта, время производства фасадных работ с указанием параметров температурно-влажностного режима.
На этапе подготовки к проведению обследования и (или) контролю качества работ на основании технического задания составляют программу работ, в которой указывают: цели и задачи обследования (контроля качества); перечень, участков фасадов и элементов конструкции НФС, подлежащих обследованию (контролю качества); места и методы инструментальных измерений и испытаний; места вскрытий и отбора проб.
18.3 Общие положения по монтажу НФС
18.3.1 Работы по устройству НФС должны выполняться в соответствии с действующим законодательством и предусматривают выполнение подготовительного, основного и заключительного периодов монтажа.
18.3.2 В состав работ подготовительного периода входят:
- подготовка строительного основания под монтаж;
- подбор техники, машин и механизмов, их расстановка;
- устройство средств подмащивания;
- приемка и хранение материалов и комплектующих для монтажа НФС.
18.3.3 В состав работ основного периода входят:
- приемка строительного основания под монтаж НФС;
- проведение натурных испытаний анкерных креплений;
- разметка строительного основания и монтаж кронштейнов;
- монтаж теплоизоляционного слоя;
- установка каркаса НФС;
- установка обрамлений, рассечек, отливов;
- установка облицовки.
18.3.4 В состав работ заключительного периода входят:
- демонтаж средств подмащивания;
- проведение оценки соответствия выполненных работ и передача исполнительной документации заказчику.
Организация процесса монтажных работ - согласно
приложению Л.
18.4 Требования безопасности при монтаже НФС
18.4.1 Общие требования к охране труда и безопасности при организации строительно-монтажных работ
Общие требования безопасности к производственным процессам - по
ГОСТ 12.3.002 и 0.
Общие требования безопасности к процессам производства погрузочно-разгрузочных работ, в том числе к местам производства погрузочно-разгрузочных работ, к применению подъемно-транспортного оборудования, к персоналу, допускаемому к погрузочно-разгрузочным работам, к применению средств индивидуальной защиты работающих приведены в
ГОСТ 12.3.009.
Общие требования к организации обучения безопасности труда приведены в
ГОСТ 12.0.004.
Требования безопасности при организации строительно-монтажных работ представлены в
[7],
[8]. Производство работ на строительном объекте следует вести в технологической последовательности согласно содержащемуся в ППР календарному плану (графику) работ.
Необходимо разрабатывать ППР с учетом требований охраны труда и промышленной безопасности.
Особое внимание необходимо уделить требованиям к работе на высоте. Работы на высоте следует проводить с учетом требований 0.
В ППР для работы на высоте отражают следующие требования:
- по обеспечению монтажной технологичности конструкций и оборудования;
- снижению объемов и трудоемкости работ, выполняемых в условиях производственной опасности;
- безопасному размещению машин и механизмов;
- организации рабочих мест с применением технических средств безопасности;
- выполнению дополнительных мероприятий при совмещенных работах, при работах в условиях работающего производства, вблизи сооружений, коммуникаций, установок.
18.4.2 Требования безопасности труда при организации работ по монтажу НФС
Для обеспечения безопасных условий работ при монтаже НФС до начала выполнения основных работ необходимо в ППР предусматривать выполнение подготовительных работ.
Выполнение работ на объекте разрешается при условии необходимой подготовки строительной площадки.
Освещение строительной площадки должно быть выполнено в соответствии с
ГОСТ 12.1.046. Производство работ в неосвещенных местах не допускается.
Предельные значения температур наружного воздуха и силы ветра в климатическом районе, при которых следует приостановить работы на открытом воздухе и прекратить перевозку людей, определяются в соответствии с требованиями действующего законодательства.
Все работники, занятые на монтаже НФС, должны пройти обучение и инструктаж. Работники, прошедшие подготовку по монтажу НФС, должны знать технологический процесс, а до начала работ их необходимо ознакомить с используемыми соответствующими технологическими приемами. Проводится запись об инструктаже в журнале с подписями работников.
После установки отдельных частей конструкции требуется ограничить доступ для остальных работников в зону монтажа.
Все входы и выходы, необходимые для работы на этажах, должны быть оснащены защитным навесом и информационными табличками.
Во время монтажа теплоизоляции работники должны быть защищены соответствующими средствами защиты.
Перед допуском рабочих к выполнению работ по монтажу НФС необходимо:
- обучить рабочих безопасным методам и приемам труда с их использованием согласно требованиям документации предприятия-изготовителя и инструкций по охране труда;
- провести инструктаж по охране труда;
- обеспечить рабочих инструкциями по охране труда под роспись;
- обеспечить рабочих исправной грузоподъемной оснасткой, инструментом и приспособлениями, спецодеждой, обувью, средствами индивидуальной защиты: респираторами одноразового или многоразового пользования, предназначенными для очистки воздуха от пыли, образующейся, в основном, при распиловке; касками; предохранительными поясами; моющими средствами; пастами и т.д. в соответствии с
ГОСТ 12.4.011;
- обеспечить рабочих и специалистов санитарно-бытовыми помещениями (гардеробными, сушилками для одежды и обуви, душевыми, помещениями для приема пищи и отдыха, обогрева, питьевой водой, туалетами и т.д.) в соответствии с действующими санитарными нормами, а также средствами для оказания первой доврачебной помощи;
- бытовые, складские и подсобные помещения, а также места производства работ обеспечить первичными средствами пожаротушения согласно ППР и требованиям
[5].
18.4.3 Требования безопасности труда при производстве облицовочных работ
Поднимать и переносить тяжелые материалы (облицовочные панели) к месту их установки следует с применением соответствующих безопасных приспособлений.
При проведении подготовительных и монтажных работ максимальная масса не должна превышать установленную в 0.
При выполнении работ на высоте облицовочные панели и другие материалы следует держать в ящиках, устанавливаемых на площадки и подставки, специально подготовленные для этих целей.
Опирать приставные лестницы на панели и каркасы НФС не допускается.
Места, над которыми производятся работы, а также зоны, где осуществляется подъем материалов, необходимо ограждать.
Проводить облицовку на нескольких ярусах по одной вертикали одновременно не допускается.
Под местом производства работ должна быть устроена площадка, препятствующая падению материалов и инструмента. При отсутствии площадки опасная зона должна быть ограждена.
Оставлять на лесах и на каркасе НФС незакрепленные панели не допускается.
18.4.4 Требования безопасности труда при работе в сложных погодных условиях
Монтажные работы необходимо выполнять с повышенной осторожностью и с соблюдением правил техники безопасности; рабочие площадки, подъездные пути и строительные склады следует содержать в чистоте без снега и ледяной корки.
Монтажные пояса и средства защиты следует ежедневно контролировать и содержать их в чистоте и в сухом месте.
Работы на высоте на открытом воздухе, выполняемые непосредственно с конструкций, перекрытий, оборудования и т.п., при изменении погодных условий с ухудшением видимости, при грозе, гололеде, сильном ветре, снегопаде прекращаются, и работники выводятся с рабочего места.
Производить монтаж во время сильного снегопада и сильного ветра не допускается.
При проведении работ в особых климатических условиях (в условиях низких и высоких показателей температуры окружающей среды, влажности, скорости движения воздуха и опасных гидрометеорологических явлений) следует руководствоваться правилами по охране труда при проведении работ в особых климатических условиях.
18.4.5 Требования к разработке инструкций по охране труда при монтаже НФС
Инструкции по охране труда для работников организаций следует разрабатывать на основе межотраслевых и отраслевых типовых инструкций по охране труда с учетом требований безопасности, изложенных в эксплуатационной и ремонтной документации организаций-изготовителей оборудования, а также в ППР для наиболее характерных условий производства работ.
Инструкции по охране труда для работников должны разрабатываться руководителями соответствующих структурных подразделений организации при участии службы охраны труда организации и утверждаться приказом работодателя.
Пересмотр инструкций следует проводить не реже одного раза в пять лет или при изменении норм законодательства.
Инструкции по охране труда досрочно пересматриваются:
- при изменении законодательства и иных нормативных правовых актов Российской Федерации, содержащих государственные нормативные требования охраны труда;
- при применении новых техники и технологии;
- по результатам анализа производственного травматизма, профессиональных заболеваний, аварий и катастроф, происшедших в организации.
Проверку и пересмотр инструкций по охране труда должен организовать работодатель.
Инструкции по охране труда должны храниться у руководителя подразделения, а их копии выдаваться под роспись работникам для изучения. Учет инструкций по охране труда в организации осуществляется службой охраны труда.
18.5 Основные требования контроля монтажа НФС
18.5.1 На всех этапах работ по монтажу НФС следует выполнять контроль в соответствии с требованиями 0 и
СП 48.13330, который включает в себя входной контроль рабочей документации, конструкций, изделий, материалов и оборудования, операционный контроль отдельных строительных процессов или производственных операций и приемочный контроль промежуточных и окончательных циклов работ.
| | ИС МЕГАНОРМ: примечание. В официальном тексте документа, видимо, допущена опечатка: имеется в виду СП 246.1325800, а не СП 246.13258000. | |
Авторский надзор проектной документации осуществляется согласно 0,
СП 246.13258000.
18.5.2 Входной контроль следует осуществлять до начала выполнения строительно-монтажных работ. Входной контроль должен включать проверку наличия и содержания рабочей документации, сопроводительных документов поставщиков, содержащих сведения о качестве поставленной ими продукции и о ее соответствии требованиям рабочей документации, технических регламентов, нормативных документов.
18.5.2.1 Входной контроль рабочей документации включает проверку:
- ее комплектности;
- наличия согласований и утверждений;
- наличия ссылок на нормативные документы на материалы и изделия.
18.5.2.2 При входном контроле строительных конструкций, изделий, материалов и оборудования следует проверять внешним осмотром их соответствие рабочей документации, наличие и содержание паспортов качества, документов оценки соответствия, санитарно-эпидемиологических заключений, других сопроводительных документов, маркировку изделий (тары), а также выполнение условий, установленных в договорах на поставку.
При выявлении несоответствий требованиям нормативных или сопроводительных документов следует определить геометрические параметры и, по возможности, физико-механические характеристики элементов НФС.
Примечание - Для проведения данных работ допускается привлекать профильные лаборатории для определения геометрических и физико-механических характеристик элементов НФС с применением методов инструментального контроля.
18.5.2.3 Результаты входного контроля следует фиксировать в журнале учета результатов входного контроля по
ГОСТ 24297.
18.5.2.4 В случае выявления несоответствия характеристик комплектующих элементов НФС требованиям проекта несоответствующие элементы НФС не допускаются к применению в строительстве и должны быть изъяты из обращения и промаркированы надписью "Брак".
18.5.3 Операционный контроль должен осуществляться в ходе выполнения работ по устройству НФС в целях обеспечения своевременного выявления дефектов и принятия мер по их устранению и предупреждению.
18.5.3.1 При операционном контроле следует проверять соблюдение выполнения требований ППР.
18.5.3.2 В процессе операционного контроля устройства НФС должны проверяться отклонения размеров, формы и положений направляющих, облицовки и элементов НФС с помощью измерительной рулетки по
ГОСТ 7502, металлической измерительной линейки по
ГОСТ 427, штангенциркуля по
ГОСТ 166, строительного уровня длиной не менее 2 м по
ГОСТ Р 58514, нивелира по
ГОСТ 10528, теодолита по
ГОСТ 10529 и геодезического светодальномера по
ГОСТ 19223. Выявленные отклонения не должны превышать значений, приведенных в
таблице 18.1.
Вид работ, контролируемый параметр или техническое требование | Величина параметра, предельные отклонения <*>, мм |
Отклонение от проектного положения направляющей |
В плоскости стены отклонение от вертикальности (горизонтальности) на 3 м поверхности стены | Макс. 5 |
Перпендикулярно плоскости стены отклонение от вертикальности (горизонтальности) на 3 м поверхности стены | Макс. 3 |
Отклонение от проектного расстояния между соседними направляющими | 20 +/- 5 |
Отклонение от соосности смежных направляющих на 3 м по высоте | +/- 2 |
Отклонение от проектного зазора между смежными направляющими | От -2 до +5 |
Уступ между смежными по высоте направляющими | +/- 2 |
Отклонение от проектного положения фасада и его элементов |
Отклонение от вертикальности на 3 м длины | 3 +/- 1 |
Отклонение от плоскостности на 3 м длины | 3 +/- 1 |
Уступ между смежными облицовочными элементами | +/- 2 |
Отклонение от проектного размера и положения зазора между облицовочными элементами |
Отклонение от проектного размера зазора | +/- 2 |
Отклонение от проектного положения зазора (отклонение от вертикальности, горизонтальности, от заданного угла) на 3 м длины | +/- 3 |
<*> Измерения по всем операциям (метод, объем, вид регистрации) проводят в соответствии с ГОСТ Р 58945. |
18.5.3.3 При сдаче работ по приемке облицовки и утеплению стен должен осуществляться контроль выполнения монтажа каждого из конструктивных элементов с записью в журнал работ по форме 0 и с составлением актов на освидетельствование скрытых работ по форме 0. Обязательному контролю на соответствие требованиям рабочей документации с составлением акта освидетельствования скрытых работ подлежат следующие работы, конструкции и конструктивные элементы:
- кронштейны;
- теплоизоляция;
- несущие профили (направляющие) и противопожарные короба;
- другие скрытые элементы НФС.
18.5.3.4 Контроль с составлением акта освидетельствования скрытых работ в случаях, когда последующие работы должны начинаться после перерыва, следует выполнять непосредственно перед их производством.
18.5.3.5 При отсутствии актов освидетельствования скрытых работ запрещается выполнение последующих работ.
18.5.4.1 При приемочном контроле должно быть проверено соответствие фактического устройства НФС требованиям проекта. Для этого следует:
- проверить наличие внесения в проект изменений монтажной организацией в исполнительные чертежи, а также наличие документов о согласовании этих изменений;
- по сопроводительной документации на элементы НФС проверить их соответствие проекту;
- проверить наличие и правильность оформления актов освидетельствования скрытых работ по 0;
- проверить наличие журнала общих работ и соответствие последовательности устройства НФС;
- проверить соответствие положения НФС требованиям проекта по исполнительным геодезическим схемам.
Примечание - Проверку проводят визуально или, по требованию заказчика, с применением средств инструментального контроля;
- выполнить контрольные операции, предусмотренные технической документацией системодержателя на этапе приемки-сдачи НФС.
18.5.4.2 Контроль осуществляется визуально или инструментальными методами по
таблице 18.1.
18.5.4.3 Выявленные отклонения от проекта не должны превышать предусмотренных допусков. Если проектом не установлены допустимые отклонения, то они не должны превышать значений, указанных в
таблице 18.1.
18.5.4.4 Приемка установленной НФС должна оформляться актом приемки-сдачи выполненных работ.
19 Правила эксплуатации НФС
19.1 Основные требования при эксплуатации НФС
19.1.1 При эксплуатации НФС установка на элементах конструкции и облицовки НФС посторонних элементов и конструкций без проведения обследования, обосновывающих расчетов и разработки проекта не допускается.
19.1.2 Обслуживание и ремонт фасадов включает:
- мероприятия по техническому обслуживанию (плановые осмотры, внеплановые осмотры, обследования);
- ремонтные мероприятия (текущий и капитальный ремонты).
Указанные мероприятия следует проводить с установленной периодичностью в соответствии с требованиями
СП 255.1325800.
19.1.3 Особое внимание следует уделять обеспечению безопасности людей при неудовлетворительном техническом состоянии выступающих конструктивных элементов фасадов: козырьков, карнизов, водосточных систем, кондиционеров, архитектурных деталей и т.д. Для устранения угрозы возможного обрушения выступающих конструкций фасадов следует немедленно выполнять охранно-предупредительные мероприятия (установка ограждений, сеток, прекращение эксплуатации балконов, демонтаж разрушающейся части элемента и т.д.).
19.1.4 Плановые визуальные осмотры фасадов проводят эксплуатирующие организации не менее чем один раз в год в период подготовки к осенне-зимней эксплуатации.
19.1.5 Внеплановые осмотры фасадов проводят после стихийных бедствий (пожары, ураганные ветры, оползни и др.), при обнаружении последствий других воздействий, а также при обнаружении таких дефектов, как появление и динамичное развитие трещин, разрушение элементов фасада с угрозой выпадений, обрушений и т.д.
19.1.6 Результаты осмотров заносят в журнал, который ведется эксплуатирующей организацией, или акт осмотра. В журнале отмечают состояние фасада и его элементов, выявленные в ходе осмотра дефекты, принятые меры по их устранению, решение о включении фасада здания в план текущего и капитального ремонтов.
19.1.7 Обследования, в том числе инструментальные, проводят по требованию согласно
ГОСТ 31937. Плановые инструментальные обследования технического состояния фасадов с НФС, каркаса системы, теплоизоляции, элементов облицовки и их креплений следует проводить не реже, чем каждые четыре года эксплуатации.
19.1.8 Обследования должны проводиться профильными организациями по договорам с эксплуатирующими (управляющими) организациями, обслуживающими объект.
19.1.9 При инструментальном обследовании фасада:
- определяют фактическое состояние, места вскрытия и производят вскрышные работы:
- проверяют состояние внутренних конструкций;
- проверяют состояние отмостки и цоколя, поверхности облицовки, участков стен в местах расположения водосточных труб, окон, в угловых зонах и в других местах, подверженных обильному воздействию атмосферных осадков, а также вокруг крепления к стенам других конструкций (флагодержателей, кондиционеров, пожарных лестниц и др.);
- проверяют состояние системы водоотвода в целом: крепления свесов, подоконных сливов, водосточных труб, поясков, выступов цоколя, балконов и других выступающих элементов зданий, а также состояние защитного покрытия стальных элементов;
- проверяют состояние теплоизоляционного слоя (ровность укладки, запыленность, влажность).
19.1.10 При аварийном состоянии фасадов, угрожающих безопасности людей (обнаружении трещин, перекосов и прочих деформаций), их ремонт следует выполнять незамедлительно по выявлении состояния.
19.1.11 Эксплуатирующие НФС организации (владельцы, собственники, арендаторы зданий и т.д.) обязаны:
- периодически проверять правильность использования конструкций НФС, не допускать ее перенагружения и захламления узлов и примыканий, следить за очисткой от загрязнений, снега, пыли, наледи;
- по мере загрязнения и необходимости очищать и промывать фасады в соответствии с требованиями проектной документации.
19.1.12 Устранение мелких дефектов осуществляется в ходе осмотров, проводимых в установленном порядке, и при текущем ремонте. Если обнаруженные дефекты и неисправности не могут быть устранены текущим ремонтом, фасады включают в план капитального ремонта.
19.2.1 Для сохранения эксплуатационных свойств НФС необходимо разработать регламент работ в соответствии с требованиями
СП 255.1325800 и соблюдать следующие условия:
- следить за тем, чтобы вентиляционные зазоры между цокольной и основной частью фасада не забивались посторонними предметами (грязь, снег, мусор); ежегодно проводить проверку с составлением акта;
- по мере необходимости, но не реже одного раза в два года, в летний период мыть фасад с использованием моющих средств в соответствии с требованиями технической документации. В процессе очищения фасада следует применять инструмент и моющие средства, не оказывающие механических и химических воздействий на элементы конструкций и облицовку.
Разрешаются мытье и чистка с помощью моющих средств и технологий рекомендованных к применению облицовочных материалов. Мытье должно осуществляться специализированными инструментом и техникой.
19.2.2 Производить работы по влажной обработке фасадов рекомендуется при температурах воздуха не ниже 5 °C, для исключения замерзания чистящего средства. Во избежание повреждения поверхности не рекомендуется влажная обработка при температуре поверхности выше 40 °C.
19.2.3 После очистки и ремонта поверхности облицовочных плит рекомендуется (при необходимости) обработать поверхность средствами, создающими защитную оболочку (растворы, вступающие в химическое взаимодействие с керамикой, пропитывающие растворы с последующей полимеризацией и т.п.).
Облицовку и элементы НФС с дефектами, не подлежащими восстановлению, заменяют в соответствии с рекомендациями системодержателей.
19.2.4 В случае необходимости производства механической, химической чистки облицовки (например, при устранении твердых загрязнений или надписей вандального характера) необходимо учитывать химический состав чистящего средства (компоненты, входящие в состав цветной эмали керамических плит, могут вступить в реакцию с компонентами средства, что способно привести к изменениям внешнего вида).
При очистке запрещается удалять загрязнения жесткими или острыми предметами. Допускается применять обычные бытовые очистители для стекла и воду. Очистку наклонных поверхностей фасадов и выступающих элементов от снега и образований наледи следует проводить регулярно в соответствии с регламентом, специальным инструментом, не допускающим повреждений.
19.3 Замена поврежденных элементов НФС
19.3.1 В процессе эксплуатации НФС возможны различные повреждения системы (механические, химические, акты вандализма и т.п.).
При незначительных повреждениях облицовки допускается подкрашивание поврежденных мест специальным ремонтным комплектом краски. При более значительных повреждениях НФС допускается замена отдельных элементов либо участков системы. Для этого необходимо демонтировать поврежденные элементы фасада. Проверку целостности НФС необходимо проводить ежегодно с составлением акта.
Примечание - Повреждения (дефекты) необходимо определять в рамках плановых осмотров в соответствии с утвержденным регламентом. Перечень незначительных повреждений дефектов устанавливается в регламенте.
19.3.2 Демонтаж НФС проводят в последовательности, обратной монтажу, согласно специально разработанным требованиям или инструкциям системодержателей.
ПРИМЕР ТЕХНИЧЕСКОГО ЗАДАНИЯ НА ПРОЕКТИРОВАНИЕ
НАВЕСНОЙ ФАСАДНОЙ ВЕНТИЛИРУЕМОЙ СИСТЕМЫ
А.1 Введение
А.1.1 Настоящее техническое задание на проектирование содержит технические требования, определяет состав и содержание проектной документации на НФС здания (указание данных и адреса) и может являться частью общего задания на проектирование согласно
[14].
А.1.2 При проектировании НФС необходимо руководствоваться настоящим техническим заданием, проектной документацией на здание, актами обследования фундаментов, несущих и ограждаемых конструкций (при капитальном ремонте или реконструкции), действующими нормативными правовыми актами и нормативными документами, а также технической документацией на материалы и конструкции, применяемые при устройстве НФС.
А.2 Основание для выполнения проектных работ
Основанием для проведения проектных работ является договор между застройщиком (техническим заказчиком) (указать наименование) и проектной организацией, осуществляющей подготовку проектной документации (указать наименование).
А.3 Общие положения
А.3.1 Краткая характеристика здания
А.3.1.1 Функциональное назначение здания (жилое, общественное, административное, производственное, многофункциональное, здание-комплекс).
А.3.1.2 Краткое описание здания (этажность и высота здания, высота этажа, общая площадь и строительный объем здания, в том числе жилой и нежилой части, наличие разноуровневых составных частей, объединенных коммуникационных пространств - холлов, переходов, атриумов, различных функциональных зон, подземная часть).
А.3.1.3 Габариты здания в плане:
- на уровне земли, м;
- на уровне покрытия (кровли), м.
А.3.1.4 Категория здания по высоте (до 75 м, выше 75 м).
А.3.1.5 Тип строительства (новое строительство, реконструкция, санация, капитальный ремонт, плановый текущий ремонт).
А.3.1.6 Уровень ответственности здания, коэффициент надежности по ответственности.
А.3.1.7 Классификация здания по признакам: уникальное, высотное и др.
А.3.1.8 Степень огнестойкости, классы конструктивной и функциональной пожарной опасности здания (согласно
[2],
СП 477.1325800).
А.3.1.9 Минимальное требуемое сопротивление теплопередаче ограждающей конструкции (стены с НФС в соответствии с
СП 50.13330), м
2·°C/Вт, не менее.
А.3.2 Условия эксплуатации
- характеристика климата (умеренный, морской и т.п.);
- интенсивность и продолжительность солнечного излучения;
- атмосферные осадки;
- зона влажности воздуха, туманы;
- ветровой район строительства;
- снеговой и гололедный районы.
А.3.2.3 Степень агрессивного воздействия окружающей среды согласно
СП 28.13330.
А.3.2.4 Сейсмичность строительной площадки согласно
СП 14.13330.
А.3.3 Срок службы проектируемой НФС и ее элементов следует установить:
- в соответствии с уровнем ответственности здания;
- иной [по требованию застройщика (технического заказчика)].
А.3.4 Специальные технические требования на проектируемую НФС (при наличии)
А.3.4.1 Специальные технические требования на проектирование противопожарной защиты.
А.3.4.2 Аэродинамические коэффициенты для НФС, полученные путем математического моделирования или посредством модельных аэродинамических испытаний (указать документ).
А.3.5 Характеристика строительной площадки
А.3.5.1 Регион и местоположение объекта строительства.
А.3.5.2 Наличие и характеристика окружающей застройки в перспективе не менее чем на 10 лет.
А.3.5.3 Рельеф в относительных отметках, общая площадь участка, площадь застройки.
А.3.5.4 Наличие временных зданий и сооружений застройщика (технического заказчика) и других лиц, осуществляющих строительство (штаб строительства, офисы, склады, столовая для персонала, бытовка).
А.3.5.5 Временные (на период строительства) инженерные системы и сети.
А.3.5.6 Организация контроля доступа и охраны объекта, схема подъезда.
А.3.6 Сезонность проведения работ.
А.4 Исходные данные для разработки проектной документации (стадия "Рабочая документация")
А.4.1 Согласованная в установленном порядке проектная документация, включающая следующие документы:
А.4.1.1 Ситуационный план (для определения типа местности).
А.4.1.2 Виды фасадов здания в осях с отметками высот, включая архитектурные элементы и узлы, с колористическим решением всех участков фасадов и указанием применяемых материалов.
А.4.1.3 Схемы каркасов и узлов строительных конструкций здания с характерными размерами и обозначением применяемых материалов (классы бетона, стали, марки материалов заполнения проемов, ведомости основных конструктивных элементов и т.п.).
А.4.1.4 Планы типовых и технических этажей с обозначением контура проектируемой НФС.
А.4.1.5 План покрытия (кровель) с указанием перепада высот; узлы примыкания покрытия (кровель) к несущим конструкциям здания.
А.4.1.6 Ведомость открывающихся элементов фасада (окон и дверей) с габаритными размерами.
А.4.1.7 Узлы крепления балконов, узлы примыкания ограждений и остекления балконов к несущим конструкциям.
А.4.1.8 Узлы других фасадных систем, примыкающих к проектируемой НФС (в т.ч. фасадных светопрозрачных конструкций, фасадных теплоизоляционных композиционных систем и т.д.).
А.4.1.9 Архитектурные чертежи декоративных элементов фасадов (рустов, карнизов, пилястр, обрамления проемов и т.д.).
А.4.1.10 Иные графические и экспозиционные материалы, в том числе эталоны-образцы (при наличии).
А.4.2 Результаты исследований
А.4.2.1 Заключение по обследованию несущих строительных оснований, в котором указывают их состояние и данные о несущей способности.
А.4.2.2 Результаты геодезического обследования здания:
- обработанные данные исполнительной (геодезической) съемки фактических контуров несущих строительных оснований с указанием величины отклонений отдельных участков стен от требований нормативных документов, технической документации и рабочих чертежей;
- геодезические обмеры здания (в случае отсутствия у заказчика проектной документации по
А.4.1, необходимой для выполнения рабочих чертежей НФС).
Примечание - На выполнение геодезического обследования составляют отдельное техническое задание.
А.4.2.3 Протоколы испытаний крепежных (анкерных) элементов на несущую способность.
А.4.2.4 Заключение от разработчиков фундаментов о значении допустимой дополнительной нагрузки на стены здания или заключение компетентной организации о несущей способности фундаментов здания (для реконструируемых зданий).
А.5 Выбор НФС (предпроектная документация)
А.5.1 Выбор НФС осуществляют исходя:
а) из возможности удовлетворения архитектурно-композиционным требованиям согласно
А.4.1.2;
б) соответствия класса пожарной опасности выбранной НФС степени огнестойкости, классам конструктивной и функциональной пожарной опасности здания;
в) возможности применения НФС в заданном ветровом районе с учетом расположения и высоты здания;
г) возможности применения НФС в зоне с заданными температурно-климатическими условиями;
д) соответствия коррозионной стойкости НФС степени коррозионной агрессивности;
е) необходимой устойчивости НФС к сейсмическим воздействиям;
ж) соответствия долговечности выбранной НФС сроку службы и периодичности планово-предупредительных и капитальных ремонтов;
и) возможности удовлетворения выбранной НФС требованиям по теплозащите;
к) наличия технических возможностей выбранной НФС по выравниванию фасада при фактических отклонениях несущего строительного основания от горизонтальной и вертикальной плоскостей, определенных по результатам исполнительной (геодезической) съемки;
л) удовлетворения требованиям по антивандальной защите НФС в цокольной части и на первых этажах, согласованным со службами эксплуатации здания.
А.5.2 При выборе НФС следует учесть также необходимые сроки проектирования и устройства НФС при заданной сезонности проведения работ.
ПРОЕКТИРОВАНИЯ ФАСАДНЫХ КОНСТРУКЦИЙ
Б.1 Анализ архитектурных решений фасадов объекта проектирования. Классификация типов поверхностей по общим признакам, выявление и формализация их линий пересечения. Предварительный выбор типа конструкций.
Б.2 Анализ обеспечения требований энергоэффективности. Выполнение предварительного теплотехнического расчета наружной ограждающей конструкции.
Б.3 Определение нагрузок и воздействий на проектируемые фасадные конструкции, их сочетаний, расчетных случаев; определение зон для последующей оценки несущей способности. Определение (уточнение) аэродинамических коэффициентов.
Б.4 Разработка рациональных схем раскладки облицовочных материалов, определение типа крепления облицовочных изделий, проведение оценки прочности облицовочного материала.
Б.5 Определение конструктивной схемы несущего каркаса фасадной конструкции, характеристик материала элементов направляющих и кронштейнов, расчетных поперечных сечений и узлов соединений. Проведение прочностных расчетов, корректировка технических решений навесной фасадной конструкции.
Проведение оценки коррозионной стойкости элементов фасадной конструкции для условия последующей эксплуатации.
Б.6 Анализ конструктивных решений наружных стеновых ограждающих конструкций. Определение усилий, возникающих в узлах крепления кронштейнов. Подбор и расчет узлов крепления кронштейнов несущего каркаса фасадной конструкции к строительному основанию.
Б.7 Разработка комплекта рабочей документации для ведения и контроля строительно-монтажных работ (комплект рабочей документации должен содержать рабочие чертежи, организационно-технологическую документацию в объеме, обеспечивающем возведение конструкций в соответствии с проектными решениями)
Б.8 Оценка соответствия технических решений рабочей документации требованиям по пожарной безопасности.
СОСТАВ И СОДЕРЖАНИЕ ПРОЕКТНОЙ (РАБОЧЕЙ) ДОКУМЕНТАЦИИ
В.1 Рекомендуемый состав документации при проектировании НФС "Рабочая документация" включает:
- пояснительную записку;
- колористическое решение, материалы и технологию проведения работ;
- документ о соответствии НФС и комплектующих (техническое свидетельство, документ оценки соответствия и т.д.) на систему с обязательными приложениями;
- результаты научно-экспериментальных исследований (протоколы испытаний и пр. при необходимости);
- объектовые экспертные заключения (при необходимости);
- чертежи фасадов здания, включая фасадное остекление;
- планы этажей с обозначением облицовываемых поверхностей, схемы раскладки элементов облицовки;
- разрезы по фасадам с указаниями материала ограждающих конструкций;
- фасады со схемами раскладки элементов облицовки;
- фасады со схемами крепления каркаса и теплоизоляционного слоя;
- сечения по архитектурным элементам фасадов (русты, карнизы, парапеты и др.);
- статические расчеты элементов каркаса с заданными показателями с учетом испытаний крепежных (анкерных) элементов на вырыв;
- теплотехнический расчет для разных типов стен с учетом теплотехнической неоднородности;
- мероприятия по обеспечению пожарной безопасности;
- мероприятия по обеспечению коррозионной защиты;
- привязка типовых решений к конкретному объекту;
- схемы монтажа элементов каркаса и облицовки НФС;
- спецификация материалов и комплектующих изделий для устройства НФС;
- технологическая документация (ППР, инструкция по монтажу, технологические карты рабочих процессов и т.п.);
- сметная документация (при необходимости).
В.2 В пояснительной записке приводятся:
- описание архитектурной концепции решения фасадов здания и отдельных архитектурных элементов;
- данные о конструктивных и технических решениях проектируемой НФС, включая противопожарную характеристику системы;
- данные о необходимости установки специальных устройств на фасаде при их применении;
- основные технико-экономические параметры системы.
В.3 Раздел "Конструктивные (технические) решения" должен содержать текстовую и графическую части.
В.3.1 В текстовой части следует привести:
- описание и обоснование технических решений в части прочности, надежности, долговечности и функциональности проектируемой НФС в целом, а также ее отдельных конструктивных элементов, узлов, деталей в процессе строительства и эксплуатации здания;
- обоснование выбора материалов и комплектующих изделий по прочности, надежности и долговечности;
- обоснование проектных решений и мероприятий, обеспечивающих: соблюдение требуемых теплозащитных характеристик конструкций, коррозионную стойкость, пожарную безопасность.
В.3.2 Графическая часть должна содержать чертежи конструктивных элементов системы, с узлами и деталями, в том числе:
а) схемы монтажа элементов каркаса НФС (раскладки облицовки, кронштейнов и направляющих);
б) узлы крепления НФС к каркасу здания;
в) узлы сопряжения со смежными фасадными системами (фасадное остекление и пр.);
г) инженерные решения по противопожарным мерам и безопасности;
д) инженерные решения по креплению на фасаде: водостоков, рекламы, навесного инженерного оборудования, включая выводы инженерных коммуникаций, и по другим специальным требованиям (при необходимости);
е) инженерные решения по креплению элементов фасадного декора.
В.4 Раздел "Расчеты" должен содержать текстовую часть и собственно расчеты.
В.4.1 В текстовой части следует привести:
- описание методик расчета и используемых для расчетов программных комплексов, сведения о данных программных комплексах;
- обоснование соответствия расчетных данных фактическим значениям нагрузок на НФС в целом и на ее отдельные конструктивные элементы, узлы, детали.
В.4.2 В процессе проектирования НФС в общем случае должны быть проведены:
- расчет механической прочности конструкций;
- теплотехнический расчет с учетом неоднородностей;
- оценка коррозионной стойкости элементов НФС;
- оценка соответствия конструкций требованиям пожарной безопасности;
- расчет элементов крепления.
В.4.3 Расчет механической прочности
В.4.3.1 Целями расчета являются проверка и обеспечение прочности, устойчивости, пространственной неизменяемости проектируемой НФС.
В.4.3.2 Расчеты механической прочности конструкций при проектировании должны включать проверку прочности и деформаций следующих элементов НФС: вертикальных и (или) горизонтальных направляющих; соединений элементов каркаса НФС между собой; креплений к несущим конструкциям здания; креплений элементов облицовки к каркасу НФС.
В.4.3.3 Расчеты механической прочности НФС при проектировании следует провести на восприятие следующих нагрузок:
- вертикальной нагрузки от собственной массы каркаса, массы облицовочных материалов и других элементов НФС;
- горизонтальной нагрузки от давления (отрицательного давления) ветра, в том числе пульсационной составляющей;
- нагрузки от температурных и климатических воздействий;
- особой сейсмической нагрузки;
- прочих нагрузок и воздействий (при необходимости).
В.4.3.4 Прочностные расчеты следует провести для всех отличающихся участков здания с учетом конструктивных различий НФС.
В.4.4 Теплотехнический расчет
Целями расчета являются оценка соответствия проектных технических решений требованиям действующих норм по энергосбережению и тепловой защите зданий, определение расчетных значений сопротивления теплопередаче основных конструктивных узлов проектируемой НФС и их соответствие нормативным, а также расчет распределения температурных полей в конструктивных узлах, в том числе в местах теплопроводных включений.
В.4.5 Оценка коррозионной стойкости элементов металлического каркаса НФС должна соответствовать
ГОСТ Р 70071, облицовок из металлических материалов, узлов и деталей крепления каркаса НФС -
ГОСТ Р 70573.
В.4.6 Оценку соответствия конструкций НФС требованиям пожарной безопасности проводят в соответствии с положениями 0.
В.4.7 Раздел "Результаты научно-экспериментальных исследований" может содержать протоколы испытаний и исследований.
В.4.8 Спецификация материалов и комплектующих изделий для устройства проектируемой НФС должна включать исключительно те материалы и изделия, на которые имеется разрешительная документация для применения в НФС.
В.5 В состав ППР могут входить:
- календарный график монтажа НФС;
- технологические карты производства работ
<*> (работа крана, производство работ с фасадных подъемников, люлек);
- указания по складированию элементов НФС;
- указания по технике безопасности при производстве фасадных работ;
- перечни технологического оборудования, монтажной оснастки и их характеристики.
--------------------------------
<*> Технологическая карта на НФС - документ, в котором приводятся наиболее рациональные способы и последовательность выполнения работ, организация труда, необходимые ресурсы, методы производственного контроля качества и допуски.
В.6 Сметы на устройство системы составляются на основе действующих нормативов, единичных расценок, фактической стоимости материалов и комплектующих изделий согласно спецификации, а также утвержденных заказчиком калькуляций на отдельные виды работ и элементы конструкций.
В.7 В технологической документации (инструкции по монтажу, схемы, технологические карты рабочих процессов и т.д.) следует указать, какие параметры и технологические процессы необходимо контролировать в процессе монтажа, в том числе те, на которые в соответствии с
[10] необходимо составление актов освидетельствования скрытых работ.
В.8 Необходимость экспертных заключений обосновывается применением нестандартных решений, не предусмотренных нормативными документами, а также проведением оценки аналитическим методом.
В.9 Проектная документация комплектуется:
- альбомом технических решений;
- инструкцией по монтажу и эксплуатации, содержащей перечень мероприятий по профилактическим осмотрам (мониторингу), чистке, мытью и ремонту НФС в процессе эксплуатации здания.
МЕХАНИЧЕСКИЕ ХАРАКТЕРИСТИКИ СТАЛЕЙ И АЛЮМИНИЕВЫХ СПЛАВОВ
Таблица Г.1
Основные механические характеристики холоднокатаной,
листовой, углеродистой, оцинкованной стали по ГОСТ 14918
Марка проката | Стандарт | Нормативное сопротивление, МПа |  , % | Расчетное сопротивление, МПа |
Ryn | Run | Ry | Rs | Rbp |
220 | | 220 | 300 | 20 | 215 | 125 | 390 |
250 | 250 | 330 | 19 | 245 | 140 | 430 |
280 | 280 | 360 | 18 | 270 | 155 | 470 |
320 | 320 | 390 | 17 | 310 | 180 | 510 |
350 | 350 | 420 | 16 | 330 | 190 | 550 |
390 | 390 | 450 | 15 | 370 | 210 | 580 |
420 | 420 | 480 | 14 | 400 | 225 | 620 |
450 | 450 | 510 | 13 | 425 | 240 | 660 |
Примечания 1 При расчете временного сопротивления и предела текучести толщина покрытия не учитывалась. 2 При определении предела текучести в общем случае определялся условный предел текучести  , при наличии на диаграмме растяжения площадки текучести - физический предел текучести  . |
Таблица Г.2
Основные механические характеристики горячекатаного
и холоднокатаного проката из коррозионно-стойкой стали
Марка стали | Стандарт | Нормативное сопротивление, МПа | Расчетное сопротивление, МПа |
Ryn | Run | Ry | Rs | Rbp |
12Х18Н9 | | 195 | 540 | 190 | 115 | 710 |
08Х18Н10 | 185 | 510 | 180 | 110 | 670 |
08Х18Н10Т | 205 | 530 | 200 | 120 | 700 |
12Х18Н10Т | 205 | 530 | 200 | 120 | 940 |
AISI 201 | - | 315 | 550 | 300 | 180 | 720 |
AISI 304 | 205 | 515 | 195 | 115 | 670 |
AISI 321 | 205 | 515 | 195 | 115 | 680 |
AISI 430 | 260 | 450 | 245 | 140 | 605 |
Таблица Г.3
Основные нормативные и расчетные характеристики
Марка сплава | Состояние поставки | Толщина листа профиля, мм | Нормативное сопротивление, МПа | Расчетное сопротивление, МПа |
Run | Ryn | Ry | Rs | Rbp |
|
АД31 1310 | Т | Все размеры | 127 | 69 | 60 | 35 | 115 |
Т5 | 157 | 118 | 100 | 60 | 140 |
Т1 | 196 | 147 | 120 | 70 | 175 |
AMgSi 6060 | Т4 | <= 25,0 | 120 | 60 | 55 | 30 | 107 |
Т5 | <= 5,0 | 160 | 120 | 100 | 60 | 140 |
> 5,0 <= 25,0 | 140 | 100 | 90 | 55 | 125 |
Т6 | <= 3,0 | 190 | 150 | 120 | 70 | 170 |
> 3,0 <= 25,0 | 170 | 140 | 105 | 60 | 150 |
Т64 | <= 15,0 | 180 | 120 | 110 | 65 | 160 |
Т66 | <= 3,0 | 215 | 160 | 135 | 80 | 190 |
> 3,0 <= 25,0 | 195 | 150 | 120 | 70 | 174 |
AMg 0,7 Si 6063 | Т4 | <= 25,0 | 130 | 65 | 60 | 35 | 115 |
Т5 | <= 3,0 | 175 | 130 | 110 | 65 | 155 |
> 3,0 <= 25,0 | 160 | 110 | 100 | 60 | 140 |
Т6 | <= 10,0 | 215 | 170 | 135 | 80 | 190 |
> 10,0 <= 25,0 | 195 | 160 | 120 | 70 | 170 |
Т64 | <= 15,0 | 180 | 120 | 110 | 65 | 160 |
Т66 | <= 10,0 | 245 | 200 | 155 | 90 | 218 |
> 10,0 <= 25,0 | 225 | 180 | 140 | 85 | 200 |
|
АД0 | Н2 | >= 0,8 <= 4,5 | 100 | - | 60 | 35 | 140 |
Н | >= 0,8 <= 3,5 | 145 | - | 95 | 55 | 225 |
>= 3,5 <= 40,0 | 130 |
АМц | Н2 | >= 0,3 <= 4,0 | 145 | - | - | - | 130 |
Н3 | >= 0,3 <= 4,0 | 165 - 235 | - | - | - | 162 - 209 |
Н | >= 0,25 <= 4,0 | 185 | - | - | - | 165 |
АМг2 | Н1 | >= 0,3 <= 4,0 | 215 - 295 | 155 | 135 | 80 | 190 - 263 |
Н2 | >= 1,0 <= 4,0 | 235 - 315 | 175 | 145 | 85 | 210 - 280 |
Н3 | >= 0,3 <= 4,0 | 255 - 355 | 195 | 160 | 145 | 227 |
Н | >= 1,0 <= 4,0 | 265 | 215 | 165 | 100 | 236 |
АМг3 | О | >= 5,0 <= 6,0 > 6,0 <= 10,5 | 185 | 80 | 70 | 40 | 165 |
М | >= 0,5 <= 4,5 | 195 | 100 | 90 | 55 | 174 |
>= 4,5 <= 10,5 | 185 | 80 | 70 | 40 | 165 |
Н2 | >= 0,7 <= 4,0 | 245 | 195 | 155 | 90 | 174 |
АМг5 | О | >= 5,0 <= 6,0 > 6,0 <= 10,5 | 275 | 130 | 115 | 70 | 245 |
М | >= 0,6 <= 4,5 | 275 | 145 | 130 | 80 | 245 |
< 4,5 <= 10,5 | 130 | 120 | 70 |
АМг6Б, АМг6 | О | >= 5,0 <= 10,5 | 315 | 155 | 140 | 85 | 280 |
М | >= 0,6 <= 10,5 | 315 | 155 | 140 | 85 | 280 |
Н | >= 1,0 <= 4,0 | 375 | 275 | 235 | 140 | 334 |
Д1А, Д1 | М | >= 5,0 <= 10,5 | 355 | 185 | 170 | 100 | 316 |
1915 | Т | >= 5,0 <= 10,5 | 265 | 165 | 150 | 90 | 236 |
Примечание - Виды состояния поставки профиля из алюминиевых сплавов: - закаленные и естественно состаренные - Т, Т4; - закаленные и искусственно состаренные - Т1, Т6, Т64; - не полностью закаленные и искусственно состаренные - Т5; - закаленные и искусственно состаренные повышенной прочности - Т1(22), Т1(25), Т66; - нагартованные - Н; - нагартованные на три четверти - Н3; - полунагартованные - Н2; - нагартованные на четверть - Н1; - отожженные - М; - без обработки - О. |
ФОРМУЛЫ ДЛЯ ПЕРЕСЧЕТА РАВНЫХ СОСРЕДОТОЧЕННЫХ СИЛ
В ПРОЛЕТАХ НЕРАЗРЕЗНЫХ БАЛОК НА ЭКВИВАЛЕНТНУЮ
РАВНОМЕРНО РАСПРЕДЕЛЕННУЮ НАГРУЗКУ
При определении опорных моментов неразрезных балок допускается приведение равных сосредоточенных сил к эквивалентной равномерно распределенной нагрузке в соответствии с
таблицей Д.1.
Схема нагрузки | Эквивалентная нагрузка pэ | Схема нагрузки | Эквивалентная нагрузка pэ |
| | | |
| | | |
| | | |
| | | |
| | - | - |
РАСЧЕТНЫЕ СХЕМЫ ДЛЯ ОПРЕДЕЛЕНИЯ ВНУТРЕННИХ СИЛ
В СЕЧЕНИЯХ БАЛОЧНЫХ СИСТЕМ, ЗАКРЕПЛЯЕМЫХ В ПЕРЕКРЫТИЯ ЗДАНИЙ
ОТ ДЕЙСТВИЯ РАВНОМЕРНО РАСПРЕДЕЛЕННОЙ НАГРУЗКИ
Е.1 Для НФС, каркас которых закрепляют только в перекрытия зданий, следует применять указанные ниже расчетные схемы направляющих:
а) разрезные однопролетные балки, стыкующиеся на плитах перекрытий;
б) консольно-шарнирные балки с продольно-подвижными стыками (условными скользящими шарнирами с линейными вставками), допускающими передачу поперечных сил и момента и исключающими передачу продольных сил. Шарниры размещаются в точках, близких к нулевым моментам неразрезных многопролетных балок;
в) консольно-шарнирные балки с продольно-подвижными стыками с линейными вставками, допускающими передачу поперечных сил и исключающими сопротивление моментам и продольным силам.
Е.2 На
рисунке Е.1 приведены примеры расчетных схем направляющих, устанавливаемых на торцах плит перекрытий.
а - разрезные однопролетные балки; б - консольно-шарнирные
балки, допускающие передачу поперечных сил и момента
и исключающие передачу продольных сил;
в - консольно-шарнирные балки, допускающие передачу
поперечных сил и исключающие сопротивление моментам
и продольным силам
Рисунок Е.1 - Схемы вертикальных направляющих,
устанавливаемых на торцах плит перекрытий
Е.3 Внутренние усилия и прогибы для однопролетных вертикальных направляющих
(рисунок Е.1, а) рассчитывают по формулам, приведенным в справочниках по строительной механике.
а - начало; б - продолжение
Рисунок Е.2 - Эпюра изгибающих моментов
от равномерно распределенной нагрузки
Е.5 Формулы для определения внутренних сил и прогибов в вертикальных направляющих, соответствующих
рисунку Е.1, б, при расположении скользящих стыков на расстоянии 0,211
L от опор приведены в
таблице Е.1.
Таблица Е.1
Внутренние силы и прогибы в консольно-шарнирных балках
скользящих стыков на расстоянии 0,211L, от опор
Обозначение пролетов снизу вверх | Значения численных коэффициентов K при определении внутренних сил и прогибов |
Mоп = KмpL2 | Mпр = KмpL2 | Mст = KмpL2 | Rнач = KRpL | Rст = KRpL | Rверх = KRpL | fmax |
1 | -0,1166 | 0,0735 | - | 0,383 | - | 1,158 | |
2 | -0,0757 | 0,0297 | -0,0246 | - | 0,330 | 0,949 | |
3 | -0,0854 | 0,0445 | -0,0056 | - | 0,279 | 1,012 | |
Рядовой | -0,0835 | 0,0420 | -0,0015 | - | 0,291 | 1,001 | |
n - 2 | -0,0833 | 0,0417 | -0,0001 | - | 0,289 | 0,999 | |
n - 1 | -0,0832 | 0,0415 | 0,0 | - | 0,288 | 1,084 | |
n | -0,0838 | 0,0866 | -0,0173 | - | 0,372 | 0,416 | |
Примечание - В настоящей таблице применены следующие условные обозначения: n - общее число пролетов здания; L - величина пролета здания; p - равномерно распределенная нагрузка от ветрового воздействия; Mоп - момент в районе верхней опоры пролета (кроме конечного); Mпр - момент в пролете; Mст - момент в скользящем стыке; Rнач - опорная реакция в нижней опоре начального пролета; Rст - опорная реакция в скользящем стыке; Rверх - опорная реакция в верхней опоре конечного пролета от ветрового воздействия; fmax - максимальный прогиб в пролете. |
Е.6 Если положение скользящего стыка отличается от 0,211
L, следует изменять значения численных коэффициентов, приведенных в
таблице Е.1, в соответствии с данными
таблиц Е.2 -
Е.4.
Таблица Е.2
Численные коэффициенты при определении величины моментов
в консольно-шарнирных балках со скользящими стыками
отличается от 0,211L
Пролеты снизу вверх | Момент | Значения численных коэффициентов для определения изгибающих моментов в зависимости от положения скользящего стыка |
0,11L | 0,13L | 0,15L | 0,17L | 0,19L | 0,211L | 0,25L | 0,27L |
1 | Mпр | 0,0764 | 0,0756 | 0,0750 | 0,0744 | 0,0739 | 0,0735 | 0,0730 | 0,0728 |
Mоп | -0,1092 | -0,1111 | -0,1126 | -0,1143 | -0,1155 | -0,1166 | -0,1179 | -0,1183 |
2 | Mпр | 0,0325 | 0,0318 | 0,0312 | 0,0306 | 0,0301 | 0,0297 | 0,0292 | 0,0290 |
Mоп | -0,0769 | -0,0765 | -0,0763 | -0,0760 | -0,0758 | -0,0757 | -0,0756 | -0,0755 |
Mст | -0,0567 | -0,0501 | -0,0445 | -0,0373 | -0,0310 | -0,0246 | -0,0136 | -0,0082 |
3 | Mпр | 0,0441 | 0,0442 | 0,0443 | 0,0444 | 0,0445 | 0,0445 | 0,0446 | 0,0446 |
Mоп | -0,0851 | -0,0852 | -0,0852 | -0,0853 | -0,0853 | -0,0854 | -0,0854 | -0,0854 |
Mст | -0,0288 | -0,0211 | -0,0148 | -0,0070 | -0,0007 | -0,0056 | 0,0157 | 0,0204 |
Рядовой | Mпр | 0,0420 | 0,0420 | 0,0420 | 0,0420 | 0,0420 | 0,0420 | 0,0420 | 0,0420 |
Mоп | -0,0834 | -0,0835 | -0,0835 | -0,0835 | -0,0835 | -0,0835 | -0,0835 | -0,0834 |
Mст | -0,0359 | -0,0283 | -0,0221 | -0,0143 | -0,0079 | -0,0015 | 0,0108 | 0,0156 |
n - 2 | Mпр | 0,0418 | 0,0417 | 0,0417 | 0,0417 | 0,0417 | 0,0417 | 0,0418 | 0,0419 |
Mоп | -0,0834 | -0,0833 | -0,0833 | -0,0833 | -0,0833 | -0,0833 | -0,0834 | -0,0834 |
Mст | -0,0344 | -0,0268 | -0,0206 | -0,0128 | -0,0064 | 0,0001 | 0,0105 | 0,0153 |
n - 1 | Mпр | 0,0413 | 0,0415 | 0,0416 | 0,0416 | 0,0416 | 0,0415 | 0,0411 | 0,0409 |
Mоп | -0,0831 | -0,0832 | -0,0833 | -0,0833 | -0,0833 | -0,0832 | -0,0830 | -0,0828 |
Mст | -0,0343 | -0,0268 | -0,0206 | -0,0128 | -0,0064 | -0,0000 | 0,0103 | 0,0151 |
n | Mпр | 0,0864 | 0,0866 | 0,0867 | 0,0868 | 0,0867 | 0,0866 | 0,0862 | 0,0859 |
Mоп | -0,0843 | -0,0838 | -0,0835 | -0,0834 | -0,0835 | -0,0838 | -0,0848 | 0,0854 |
Mст | -0,0261 | -0,0163 | -0,0085 | 0,0013 | 0,0093 | 0,0173 | 0,0302 | 0,0362 |
Таблица Е.3
Численные коэффициенты при определении величины максимальных
прогибов в консольно-шарнирных балках со скользящими стыками
отличается от 0,211L
Пролеты снизу вверх | Значения численных коэффициентов для определения максимальных прогибов в зависимости от положения скользящего стыка |
0,11L | 0,13L | 0,15L | 0,17L | 0,19L | 0,211L | 0,25L | 0,27L |
1 | 0,0633 | 0,0622 | 0,0613 | 0,0604 | 0,0596 | 0,0590 | 0,0582 | 0,0580 |
2 | 0,0156 | 0,0151 | 0,0148 | 0,0145 | 0,0143 | 0,0141 | 0,0141 | 0,0141 |
3 | 0,0290 | 0,0292 | 0,0293 | 0,0294 | 0,0295 | 0,0296 | 0,0296 | 0,0297 |
Рядовой | 0,0263 | 0,0263 | 0,0263 | 0,0263 | 0,0263 | 0,0263 | 0,0263 | 0,0263 |
n - 2 | 0,0262 | 0,0261 | 0,0261 | 0,0261 | 0,0261 | 0,0261 | 0,0263 | 0,0263 |
n - 1 | 0,0256 | 0,0259 | 0,0260 | 0,0260 | 0,0260 | 0,0258 | 0,0254 | 0,0251 |
n | 0,0755 | 0,0753 | 0,0752 | 0,0752 | 0,0753 | 0,0756 | 0,0770 | 0,0782 |
Таблица Е.4
Численные коэффициенты при определении опорных реакций
в консольно-шарнирных балках со скользящими стыками,
отличается от 0,211L
Пролеты снизу вверх | Опорные реакции | Значения численных коэффициентов для определения опорных реакций в зависимости от положения скользящего стыка |
0,11L | 0,13L | 0,15L | 0,17L | 0,19L | 0,211L | 0,25L | 0,27L |
1 | Rниж | 0,391 | 0,389 | 0,387 | 0,386 | 0,384 | 0,383 | 0,382 | 0,382 |
Rверх | 1,141 | 1,146 | 1,149 | 1,153 | 1,155 | 1,158 | 1,160 | 1,161 |
2 | Rст | 0,422 | 0,405 | 0,389 | 0,368 | 0,350 | 0,330 | 0,292 | 0,273 |
Rверх | 0,960 | 0,957 | 0,955 | 0,952 | 0,951 | 0,949 | 0,948 | 0,947 |
3 | Rст | 0,382 | 0,361 | 0,344 | 0,321 | 0,300 | 0,279 | 0,240 | 0,220 |
Rверх | 1,010 | 1,011 | 1,011 | 1,012 | 1,012 | 1,012 | 1,012 | 1,013 |
Рядовой | Rст | 0,392 | 0,372 | 0,355 | 0,332 | 0,313 | 0,291 | 0,253 | 0,233 |
Rверх | 1,001 | 1,001 | 1,001 | 1,001 | 1,001 | 1,001 | 1,001 | 1,001 |
n - 2 | Rст | 0,390 | 0,370 | 0,353 | 0,330 | 0,310 | 0,289 | 0,250 | 0,231 |
Rверх | 0,998 | 0,999 | 1,000 | 1,000 | 1,000 | 0,999 | 0,998 | 0,997 |
n - 1 | Rст | 0,389 | 0,369 | 0,353 | 0,330 | 0,310 | 0,288 | 0,248 | 0,227 |
Rверх | 1,086 | 1,084 | 1,084 | 1,083 | 1,084 | 1,084 | 1,087 | 1,088 |
n | Rст | 0,474 | 0,454 | 0,436 | 0,413 | 0,394 | 0,372 | 0,335 | 0,315 |
Rверх | 0,416 | 0,416 | 0,416 | 0,417 | 0,416 | 0,416 | 0,415 | 0,415 |
Е.7 Формулы для определения внутренних сил и прогибов в консольно-шарнирных балках со скользящими стыками
(рисунок Е.1, в) при расположении стыков на расстоянии
kL от опор (
k = 0,211) приведены в
таблице Е.5.
Таблица Е.5
Формулы для определения внутренних сил и прогибов
в консольно-шарнирных балках со скользящими стыками
на расстоянии 0,211L от опор
Внутренние силы и прогибы | Пролеты балки сверху вниз |
Первый сверху (конечный) (0 - 1) | Четвертый сверху (3 - 4) |
Rверх | | - |
Rниж | | |
Rст | | |
Mпр | | |
Mоп | | |
fn | | |
| Второй сверху (1 - 2) | i-й пролет |
Rверх | - | |
Rниж | | 0,5pL(2k - 1) |
Rст | | |
Mпр | | 0,125pL2(1 - 2k)2 |
Mоп | | -0,5kpL2(1 - k) |
fn | | |
| Третий сверху (2 - 3) | Нижний (начальный) пролет |
Rверх | - | 0,5pL(2 + k - k2) |
Rниж | | 0,5pL(1 - k + k2) |
Rст | | 0,5pL(2k - 1) |
Mпр | | 0,125pL2(1 - k + k2)2 |
Mоп | | - |
fn | | |
Примечание - В настоящей таблице применены следующие условные обозначения: i-й пролет - рядовой пролет; L - величина пролета здания; p - равномерно распределенная нагрузка от ветрового воздействия; Mоп - момент в районе нижней опоры пролета (кроме начального); Mпр - момент в пролете; Mш - момент в скользящем стыке; Rнач - опорная реакция в нижней опоре начального пролета; Rст - опорная реакция в скользящем стыке; Rниж - опорная реакция в нижней опоре пролета (кроме начального); Rверх - опорная реакция в верхней опоре конечного пролета; fmax - максимальный прогиб в пролете. |
Е.8 Численные коэффициенты при определении значений максимальных прогибов в консольно-шарнирных балках со скользящими стыками,
(рисунок Е.1, в), когда положение скользящего стыка отличается от 0,211
L, приведены в
таблице Е.6.
Таблица Е.6
Численные коэффициенты для определения значений максимальных
прогибов в консольно-шарнирных балках со скользящими стыками
отличается от 0,211L
Пролеты балки сверху вниз | Значения численных коэффициентов для определения максимальных прогибов в зависимости от положения скользящего стыка |
Величина k | 0,11L | 0,13L | 0,146L | 0,17L | 0,19L | 0,211L | 0,23L | 0,25L | 0,27L |
kf,0-1 | 0,0651 | 0,0649 | 0,0674 | 0,0747 | 0,0848 | 0,0999 | 0,1290 | 0,1729 | 0,2228 |
kf,1-2 | 0,0480 | 0,0389 | 0,0321 | 0,0248 | 0,0198 | 0,0160 | 0,0143 | 0,0146 | 0,0171 |
kf,2-3 | 0,0515 | 0,0437 | 0,0383 | 0,0330 | 0,0301 | 0,0288 | 0,0293 | 0,0319 | 0,0371 |
kf,3-4 | 0,0506 | 0,0429 | 0,0372 | 0,0313 | 0,0276 | 0,0253 | 0,0246 | 0,0253 | 0,0287 |
kf,i | 0,0511 | 0,0431 | 0,0365 | 0,0318 | 0,0283 | 0,0264 | 0,0265 | 0,0285 | 0,0335 |
kf,нач | 0,0998 | 0,0951 | 0,0914 | 0,0866 | 0,0827 | 0,0788 | 0,0757 | 0,0725 | 0,0697 |
СХЕМЫ И ТАБЛИЦЫ ДЛЯ РАСЧЕТА КРОНШТЕЙНОВ
Ж.1 П-образные кронштейны
Ж.1.1 Места приложения нагрузок и положение расчетных сечений в элементах П-образного стыковочного кронштейна из алюминиевого сплава приведены на
рисунке Ж.1. В
таблице Ж.1 даны расчетные формулы для наиболее напряженных сечений кронштейна и вытягивающего усилия на наиболее нагруженный анкер крепления. На одну ветвь кронштейна действуют нагрузки от собственного веса каркаса и облицовки (в рядовых зонах фасада в зиму - гололеда) -
P/2 и ветровые нагрузки -
NW/2.
Рисунок Ж.1 - Места приложения нагрузок и положение
расчетных сечений в элементах П-образного
стыковочного кронштейна
Таблица Ж.1
Определение напряжений и усилий
в стыковочном П-образном кронштейне
| Формула для расчета | Дополнение |
Сечение 1-1 | | |
Сечение 2-2 | | |
Сечение 3-3 | |  ; NW = NВ + NН |
Анкерное крепление кронштейна к стене | | - |
Примечание - В настоящей таблице применены следующие условные обозначения: NВ - усилие от ветровой нагрузки с нижней опоры верхней направляющей на стыковочный кронштейн; NН - усилие от ветровой нагрузки с верхней опоры нижней направляющей на стыковочный кронштейн; NW - усилие от ветровой нагрузки с опор направляющих на стыковочный кронштейн; Nан - наибольшее вытягивающее усилие на анкер от внешних воздействий; Nдоп - допускаемое вытягивающее усилие на анкер; A1(2) _ площадь поперечного сечения консоли; P - вес нижней направляющей и закрепленной на ней облицовки; e1 - расстояние от оси приложения силы P/2 до сечения 1-1; e2 - расстояние от оси приложения силы P/2 до сечения 2-2; e3 - расстояние от оси приложения силы NW/2 до сечения 3-3; tP - толщина пятки кронштейна; b - расстояние от оси верхнего анкера до нижней кромки пятки кронштейна по вертикали. |
Ж.1.2 Места приложения нагрузок и положение расчетных сечений в элементах П-образного ветрового опорного кронштейна из алюминиевого сплава приведены на
рисунке Ж.2, где определены наиболее напряженные сечения кронштейна. В
таблице Ж.2 приведены расчетные формулы для наиболее напряженных сечений кронштейна и вытягивающего усилия на анкер. На одну ветвь кронштейна должны действовать только ветровые нагрузки
NW/2.
Рисунок Ж.2 - Места приложения нагрузок
и положение расчетных сечений в элементах
П-образного ветрового кронштейна
Таблица Ж.2
Определение напряжений и усилий в элементах
П-образного ветрового кронштейна
| Формула для расчета | Дополнение |
Сечение 1-1 | | - |
Сечение 2-2 | | - |
Сечение 3-3 | | |
Анкерное крепление кронштейна к стене | Nан = NW <= Nдоп | - |
Примечание - В настоящей таблице применены следующие условные обозначения: NW - усилие от ветровой нагрузки с промежуточной опоры направляющей; Nан - наибольшее вытягивающее усилие на анкер от внешних воздействий; Nдоп - допускаемое вытягивающее усилие на анкер; e3 - расстояние от оси приложения силы NW/2 до сечения 3-3; A1(2) - площадь поперечного сечения консоли. |
Ж.2 L-образные кронштейны из алюминиевого сплава
Ж.2.1 Места приложения нагрузок и положение расчетных сечений в элементах L-образного опорного кронштейна из алюминиевого сплава приведены на
рисунке Ж.3, а. Расчетная схема для определения вырывающего усилия в наиболее нагруженном анкере L-образного опорного кронштейна приведена на
рисунке Ж.3, б. В
таблице Ж.3 приведены расчетные формулы для наиболее напряженных сечений кронштейна и вытягивающего усилия на наиболее нагруженный анкер крепления.
Рисунок Ж.3 - Места приложения нагрузок
и положение расчетных сечений в элементах
L-образного опорного кронштейна из алюминиевого сплава
Таблица Ж.3
Определение напряжений и усилий в элементах
L-образного опорного кронштейна из алюминиевого сплава
| Формула для расчета | Дополнение |
Сечение 1-1 | | Mx,1 = Pe1; My,1 = NWe4 |
Сечение 2-2 | | Mx,2 = Pe2; My,2 = NWe4 |
Сечение 3-3 | | My,3 = NWe3 |
Анкерное крепление кронштейна к стене | | - |
Примечание - В настоящей таблице применены следующие условные обозначения: NW - усилие от ветровой нагрузки с опоры направляющей; Nан - наибольшее вытягивающее усилие на анкер от внешних воздействий; Nдоп - допускаемое вытягивающее усилие на анкер; A1(2) - площадь поперечного сечения консоли; P - вес направляющей и закрепленной на ней облицовки; e1 - расстояние от оси приложения силы P до сечения 1-1; e2 - расстояние от оси приложения силы P до сечения 2-2; e3 - расстояние от оси приложения силы NW до сечения 3-3; e4 - расстояние от оси приложения силы NW до нейтральной оси стенки консоли; e5 - расстояние от оси приложения силы NW до оси анкера; c - расстояние от оси анкера до боковой кромки пятки кронштейна; b - расстояние от оси верхнего анкера до нижней кромки пятки кронштейна. |
Ж.2.2 Места приложения нагрузок и положение расчетных сечений в элементах L-образного ветрового кронштейна из алюминиевого сплава приведены на
рисунке Ж.4, а. На
рисунке Ж.4, б, приведена расчетная схема для определения вытягивающего усилия на анкер крепления опорного кронштейна к стене здания. В
таблице Ж.4 приведены расчетные формулы для наиболее напряженных сечений кронштейна и вытягивающего усилия на анкер.
Рисунок Ж.4 - Места приложения нагрузок
и положение расчетных сечений в элементах
L-образного ветрового кронштейна из алюминиевого сплава
Таблица Ж.4
Определение напряжений и усилий в сечениях
L-образного ветрового кронштейна из алюминиевого сплава
| Формула для расчета | Дополнение |
Сечение 1-1 | | My,1 = NWe1 |
Сечение 2-2 | | My,2 = NWe1 |
Сечение 3-3 | | My,3 = NWe3 |
Анкерное крепление кронштейна к стене | | - |
Примечание - В настоящей таблице применены следующие условные обозначения: NW - усилие от ветровой нагрузки с опор направляющей; Nан - наибольшее вытягивающее усилие на анкер от внешних воздействий; Nдоп - допускаемое вытягивающее усилие на анкер; A1(2) - площадь поперечного сечения консоли; e1 - расстояние от оси приложения силы NW до нейтральной оси стенки консоли; e2 - расстояние от оси приложения силы NW до оси анкера; e3 - расстояние от оси приложения силы NW до сечения 3-3; c - расстояние от оси анкера до боковой кромки пятки кронштейна. |
Ж.3 L-образные кронштейны из стали
Ж.3.1 Штампованные L-образные кронштейны из стального листа применяют в каркасах НФС как с горизонтальным, так и с вертикальным положением консольной плоскости, имеющие, преимущественно, одинаковое назначение по восприятию эксплуатационных нагрузок. Каждый такой кронштейн должен воспринимать как горизонтальные, так и вертикальные усилия.
Ж.3.2 В стальных кронштейнах с горизонтальным положением консольной плоскости следует проверять наиболее напряженные сечения на консоли и сечения на опорной пятке по краю шайбы анкера. Места приложения нагрузок и положение расчетных сечений показаны на
рисунке Ж.5, а. Определение вытягивающей нагрузки, действующей на анкер, следует проводить в соответствии с расчетной схемой на
рисунке Ж.5, б. В
таблице Ж.5 приведены расчетные формулы для наиболее напряженных сечений кронштейна.
Рисунок Ж.5 - Места приложения нагрузок и положение
расчетных сечений элементов L-образного стального кронштейна
с горизонтально ориентированной плоскостью консоли
Таблица Ж.5
Определение напряжений и усилий
в элементах L-образного стального кронштейна
с горизонтально ориентированной плоскостью консоли
| Формула для расчета | Дополнение |
Сечение 1-1 | | Mx,1,N = NWe2; Mx,1,P = Pe1 |
Сечение 2-2 | | Mx,2,N = NWe4; Mx,2,P = Pe3 |
Анкерное крепление кронштейна к стене | | - |
Примечание - В настоящей таблице применены следующие условные обозначения: NW - усилие от ветровой нагрузки со стороны направляющей; Nан - наибольшее вытягивающее усилие на анкер от внешних воздействий; Nдоп - допускаемое вытягивающее усилие на анкер; A1 - площадь поперечного сечения консоли; P - вес направляющей и закрепленной на ней облицовки; e1 - расстояние от оси приложения силы P до сечения 1-1; e2 - расстояние от оси приложения силы NW до нейтральной оси стенки консоли; e3 - расстояние от оси приложения силы P до нейтральной оси стенки пятки; e4 - расстояние от оси приложения силы NW до сечения 2-2; e5 - расстояние от оси приложения силы NW до оси анкера; e6 - расстояние от оси приложения силы P до прокладки; c - расстояние от оси анкера до нижней кромки пятки. |
Ж.3.3 Размеры продольных гофров, ужесточающих консоль и пятку кронштейна, следует назначать в соответствии с требованиями
СП 260.1325800 и требованиями
7.1 -
7.3 настоящего свода правил.
Ж.3.4 Стальные кронштейны с вертикальным положением консольной плоскости целесообразно использовать с удлинителями той же формы, в сборе образующими С-образную конструкцию. Пятка удлинителя должна крепиться к полке направляющей не менее чем двумя крепежными изделиями.
Ж.3.5 На конструкцию каркаса с креплением Г-образного кронштейна к стенке направляющей, имеющей П-образное поперечное сечение, расчетные положения настоящего свода правил не распространяются.
РЕКОМЕНДУЕМЫЕ ДАННЫЕ ДЛЯ РАСЧЕТА ОБЛИЦОВОЧНЫХ МАТЕРИАЛОВ
Таблица И.1
Наименование | Нормативный документ | Предел прочности при изгибе, МПа, не менее | Коэффициент надежности по материалу,  | Рекомендуемое расчетное сопротивление, МПа |
1 Керамические (керамогранитные) плиты | | | | |
Группа AIa | 35 | 2 | 17,5 |
Группа BIa | 28 | 2 | 14 |
2 Алюмокомпозитные панели | | 85 | 2 | 42,5 |
3 Панели и изделия из стеклофибробетона | | 12 | 1,25 | 965 |
4 Хризотилцементные плиты | | 23 | 1,25 | 18 |
5 Фиброцементные плиты | | 20 | 1,25 | 16 |
6 Закаленное стекло (при пиковом ветровом воздействии) | | 120 | 1,2 | 100 |
7 Панели из бумажно-слоистого пластика (HPL) | - | 117,6 | 1,5 | 80 |
8 Оцинкованные листы марки 220 (предел упругости) | | 220 | 1,025 | 215 |
9 Алюминиевые листы марки АМг2М (растяжение, сжатие и изгиб) | | - | - | 70 |
ПОРЯДОК ПРОВЕДЕНИЯ И ОЦЕНКА РЕЗУЛЬТАТОВ ОБСЛЕДОВАНИЯ
СТРОИТЕЛЬНОГО ОСНОВАНИЯ ПОД МОНТАЖ НФС
К.1 Обследование технического состояния наружных стен следует проводить в три этапа:
- подготовка к проведению обследования;
- предварительное (визуальное) обследование;
- детальное (инструментальное) обследование.
К.2 Обследование начинают с подготовительных работ, которые проводят в целях ознакомления с объектом обследования, его объемно-планировочным и конструктивным решением, сбора и анализа проектно-технической документации, составления программы работ с застройщиком (техническим заказчиком), разработки технического задания.
К.3 Результатом проведения подготовительных работ является получение следующих материалов:
- техническое задание на обследование;
- проектная документация на здание;
- информация, о перестройках, реконструкциях, капитальном ремонте и т.п.;
- инвентаризационные поэтажные планы и технический паспорт на здание;
- акты осмотров наружных стен, в том числе ведомости дефектов;
- акты и отчеты по ранее проведенным обследованиям.
На основе полученных материалов:
а) устанавливают:
- авторов проекта;
- год разработки проекта;
- время возведения здания;
- конструктивную схему здания;
- сведения о примененных в проекте конструкциях наружных стен;
- геометрические размеры здания, элементов и конструкций;
- расчетную схему наружных стен;
- проектные нагрузки;
- характер внешних воздействий на конструкции наружных стен;
- данные об окружающей среде;
- характеристики материалов, из которых выполнены конструкции наружных стен;
- документы оценки соответствия и паспорта на примененные изделия и материалы;
- имевшие место замены и отклонения от проекта;
- выявленные при эксплуатации дефекты, повреждения наружных стен и т.п.;
б) составляют программу, в которой указывают:
- перечень подлежащих обследованию конструкций наружных стен;
- места и методы инструментальных измерений и испытаний;
- места вскрытия и отбора проб материалов для исследования образцов в лабораторных условиях;
- перечень необходимых поверочных расчетов и т.п.
К.4 Предварительное (визуальное) обследование проводят в целях предварительной оценки технического состояния конструкции наружных стен по внешним признакам, определения необходимости в проведении детального (инструментального) обследования и уточнения программы работ. При этом выполняют сплошное визуальное обследование конструкций наружных стен здания с выявлением дефектов и повреждений по внешним признакам с необходимыми измерениями и их фиксацией.
Результатами предварительного (визуального) обследования являются:
- схемы и ведомости дефектов и повреждений с фиксацией их мест и характера;
- описания, фотографии дефектов участков;
- проверка наличия характерных деформаций конструкций наружных стен;
- установление аварийных участков;
- уточненная схема мест вскрытий и зондирования конструкций;
- предварительная оценка технического состояния конструкций наружных стен, определяемая по степени повреждений и характерным признакам дефектов.
К.5 Выявленная картина дефектов и повреждений конструкций наружных стен позволяет установить причины их появления и может быть достаточной для оценки технического состояния конструкций. Если результатов визуального обследования для оценки технического состояния конструкций недостаточно, проводят детальное (инструментальное) обследование.
К.6 Если при визуальном обследовании обнаружены дефекты и повреждения, снижающие прочность и эксплуатационные качества наружных стен, выполняют детальное (инструментальное) обследование, которое включает:
- инструментальное определение параметров дефектов и повреждений;
- определение фактических характеристик материалов несущих конструкций наружных стен и их элементов;
- измерение параметров эксплуатационной среды;
- определение фактических эксплуатационных нагрузок и воздействий, действующих на обследуемые конструкции наружных стен;
- определение расчетных усилий в несущих конструкциях стен, воспринимающих эксплуатационные нагрузки;
- поверочный расчет несущей способности конструкций наружных стен по результатам обследования;
- результаты испытаний с определением фактических значений и возможности последующей эксплуатации элементов НФС по действующим или разработанным программам испытаний;
- анализ причин возникновения дефектов и повреждений в конструкциях;
- составление итогового документа (заключения) с выводами по результатам обследования.
К.7 Заключение по итогам обследования технического состояния наружных стен включает:
- оценку технического состояния (категорию технического состояния);
- материалы, обосновывающие принятую категорию технического состояния наружных стен;
- обоснование наиболее вероятных причин возникновения дефектов и повреждений в конструкциях;
- техническое задание мероприятий по утеплению, восстановлению и усилению конструкций наружных стен.
К.8 Заключение по итогам комплексного обследования технического состояния наружных стен включает:
- оценку технического состояния (категорию технического состояния);
- результаты обследования, обосновывающие принятую категорию технического состояния наружных стен;
- оценку теплотехнических показателей наружных стен;
- результаты обследования, подтверждающие принятую оценку;
- обоснование наиболее вероятных причин возникновения дефектов и повреждений в конструкциях наружных стен, снижения их теплоизолирующих свойств наружных стен;
- результаты испытаний с определением фактических значений и возможности последующей эксплуатации элементов НФС;
- техническое задание на восстановление, усиление, утепление и ремонт конструкций наружных стен.
К.9 Оценку технического состояния конструкций наружных стен и других элементов зданий и сооружений проводят в соответствии с действующими нормативными требованиями.
ОРГАНИЗАЦИЯ РАБОТ ПО МОНТАЖУ НФС
Л.1 Подготовительный период монтажа НФС
Л.1.1 Подготовка строительного основания под монтаж
До начала работ по монтажу НФС следует проводить подготовку наружных ограждающих конструкций, включающую:
- проверку состояния поверхности стен, на которых будет выполняться монтаж НФС;
- удаление непрочных отделочных слоев;
- проведение ремонта при необходимости, и выравнивание кирпичных, оштукатуренных, облицованных и бетонных поверхностей.
Примечание - В реконструируемых зданиях решение о возможности применения НФС принимают только после проведения обследования и оценки технического состояния наружных ограждающих конструкций здания.
Л.1.2 Монтаж средств подмащивания
| | ИС МЕГАНОРМ: примечание. В официальном тексте документа, видимо, допущена опечатка: пункт [15] отсутствует. | |
Л.1.2.1 Работы по монтажу средств подмащивания необходимо выполнять в соответствии с
ГОСТ 27321,
ГОСТ 27372 и [15].
Л.1.2.2 При монтаже средств подмащивания следует:
- предусматривать расстояние от средств подмащивания до строительного основания с учетом максимального относа облицовки НФС;
- места крепления лесов выбирать с учетом максимального удаления от проектного расположения направляющих;
- закрывать леса фасадной сеткой для защиты утеплителя от атмосферных осадков.
Примечание - Установка средств подмащивания на расстояниях от строительного основания меньше максимального относа облицовки НФС или неправильный выбор мест крепления лесов могут привести к вынужденной перестановке лесов из-за невозможности проведения монтажа.
Л.1.3 Приемка и хранение материалов и комплектующих для монтажа НФС
Л.1.3.1 Общие требования к приемке и хранению материалов и комплектующих изделий НФС:
- приемка и хранение материалов и комплектующих НФС должны обеспечивать соответствие проектной документации, целостность и требуемое качество;
- конкретные контролируемые геометрические показатели материалов и комплектующих изделий НФС и применяемые для их измерения средства и методики определяются исходя из документации системодержателя и проектной документации.
Примечание - При выявлении несоответствия показателей качества поставленных элементов НФС проектной документации, сопроводительным документам системодержателя и поставщика рекомендуется организовать определение (подтверждение) этих показателей в профильной испытательной лаборатории (центре);
- строительные материалы и изделия должны храниться в крытых складах;
- допускается хранение под навесом или на открытом складе с обеспечением защиты материалов и изделий от воздействия атмосферных осадков и солнечных лучей. При хранении под навесом материалы и изделия должны быть уложены на подкладки.
Материалы и изделия должны храниться упакованными и быть уложены на поддоны раздельно по видам, маркам и размерам. Рекомендуемая высота штабеля материалов и изделий при хранении - 2 м.
В случае перерыва в работах по монтажу НФС на срок более 30 сут для защиты утеплителя от атмосферных воздействий следует использовать защитный материал с учетом степени готовности НФС и технической документации предприятия - изготовителя утеплителя.
Л.1.3.2 Приемка и хранение элементов каркаса НФС
Все поставляемые на строительную площадку элементы НФС должны иметь:
- сопроводительные документы;
- документы оценки соответствия и паспорта качества;
- накладные с указанием количества и наименований элементов;
- маркировку на изделиях и (или) на упаковке.
Элементы должны иметь соответствующую упаковку с обозначением качества и наименования. При приемке контролируется соответствие поставленных элементов геометрическим размерам и маркировке, указанным в рабочей документации, целостность, комплектность и наличие паспортов качества.
Л.1.3.3 Приемка и хранение утеплителя
Утеплитель должен соответствовать заявленным требованиям и иметь сопроводительные документы:
- документы оценки соответствия и паспорта качества;
- накладные с указанием количества и наименований (марки);
- маркировку на упаковке.
При приемке контролируется соответствие поставленного утеплителя виду, марке, геометрическим размерам и плотности, указанным в рабочей документации, целостность упаковки, влажность, наличие документов оценки соответствия и паспортов качества.
Утеплитель следует хранить в крытых складах. Допускается хранение под навесом, защищающим утеплитель от воздействия атмосферных осадков и солнечных лучей. При хранении под навесом материалы должны быть уложены на поддоны. Утеплитель следует хранить упакованным в заводской пленке раздельно по видам, маркам и размерам. Рекомендуемая высота штабеля материалов и изделий при хранении - до 3 м.
Л.1.3.4 Приемка и хранение облицовочных материалов
Облицовочные материалы должны соответствовать показателям и заявленным параметрам и иметь сопроводительные документы:
- документы оценки соответствия и паспорта качества;
- накладные с указанием количества и наименований (марка, обработка поверхности, размеры и т.д.).
При приемке облицовочных материалов производитель работ контролирует соответствие поставленных материалов марке, типу, расцветке, количеству и размерам, указанным в рабочей документации.
Хранение облицовочных материалов следует осуществлять в закрытом помещении, в исключительных случаях допускается хранить под навесом. Облицовочные материалы должны храниться в заводской упаковке и укладываться на поддоны раздельно по видам, маркам и размерам. Рекомендуемая высота штабеля - до 1,5 м.
Примечание - На всю бракованную продукцию требуется составление акта о браке.
Л.2 Основной период монтажа НФС
Л.2.1 Приемка строительного основания под монтаж НФС
Л.2.1.1 Приемку наружных стен, предназначенных под монтаж НФС, проводят в соответствии с требованиями
СП 70.13330 и оформляют соответствующим актом.
Л.2.1.2 При оценке соответствия бетонных и железобетонных конструкций или частей сооружений следует проверять:
- соответствие конструкций рабочим чертежам;
- качество бетона по прочности и другим показателям, указанным в проекте;
- соответствие применяемых материалов установленным требованиям, подтвержденное актами освидетельствования скрытых работ или актом освидетельствования ответственных конструкций;
- отсутствие дефектов бетонирования стен, колонн и перемычек, вызванных недостаточным уплотнением бетона и обнажением арматуры.
Л.2.1.3 Допускаемые значения отклонений от вертикали и горизонтали между монолитными участками, от проектных длин элементов, значения местных неровностей не должны превышать указанных в
таблице Л.1.
Таблица Л.1
Допустимые значения отклонений неровностей основания
Параметр | Допускаемые отклонения | Контроль (метод, объем, вид регистрации) |
1 Отклонение линий плоскостей пересечения от вертикали или проектного наклона на всю высоту конструкций: |
- для стен и колонн, поддерживающих монолитные покрытия и перекрытия | 15 мм | Измерительный, каждый конструктивный элемент, журнал работ |
- стен и колонн, поддерживающих сборные балочные конструкции | 10 мм | Измерительный, каждый конструктивный элемент, журнал работ |
- стен зданий и сооружений, возводимых в скользящей опалубке, при отсутствии промежуточных перекрытий | 1/500 высоты сооружения, но не более 100 мм | Измерительный, всех стен и линий их пересечения, журнал работ |
- стен зданий и сооружений, возводимых в скользящей опалубке, при наличии промежуточных перекрытий | 1/1000 высоты сооружения, но не более 50 мм | Измерительный, всех стен и линий их пересечения, журнал работ |
2 Отклонение горизонтальных плоскостей на всю длину выверяемого участка | 20 мм | Измерительный, не менее пяти измерений на каждые 50 - 100 м2, журнал работ |
3 Местные неровности поверхности бетона при проверке двухметровой рейкой, кроме опорных поверхностей | 5 мм | Измерительный, не менее пяти измерений на каждые 50 - 100 м2, журнал работ |
4 Длина или пролет элементов | +/- 20 мм | Измерительный, каждый элемент, журнал работ |
Л.2.1.4 На зданиях с железобетонным каркасом с заполнением стеновых проемов полнотелым кирпичом толщина горизонтальных швов кладки должна составлять 12 мм, вертикальных - 10 мм.
Л.2.1.5 Вертикальность граней, углов кладки из кирпича и блоков, а также мест примыканий кладки к бетонному каркасу, горизонтальность ее рядов необходимо проверять в процессе выполнения кладки через каждые 0,5 - 0,6 м с немедленным устранением отклонений в пределах яруса.
Л.2.1.6 При оценке соответствия конструкций или частей сооружения с железобетонным каркасом с заполнением стеновых проемов полнотелым кирпичом и легкобетонными блоками необходимо проверять:
- правильность перевязки швов, их толщину и заполнение;
- горизонтальность рядов;
- вертикальность углов кладки;
- правильность устройства деформационных швов.
Л.2.1.7 Допускаемые отклонения размеров и положения каменных конструкций и стенового заполнения не должны превышать значения, приведенные в
таблице Л.2.
Проверяемые конструкции | Допускаемые отклонения стен, мм | Контроль (метод, объем, вид регистрации) |
Отклонения поверхностей и углов кладки от вертикали: | | Измерительный, геодезическая исполнительная схема |
- на один этаж | 10 | |
- на здание высотой более двух этажей | 30 | |
Толщина швов кладки: | | Измерительный, журнал работ |
- горизонтальных | -2; +3 | |
- вертикальных | +/- 2 | |
Отклонения рядов кладки от горизонтали на 10 м длины стены | 15 | Технический осмотр, геодезическая исполнительная схема |
Л.2.1.8 При отклонениях параметров стен от значений, указанных в
таблицах Л.1 и
Л.2, решение о применение системы НФС принимает проектная организация.
Л.2.2 Проведение натурных испытаний прочности установки анкерных креплений
Л.2.2.1 Проведение натурных испытаний осуществляют в соответствии с требованиями действующих стандартов, которые необходимы для оценки пригодности и эксплуатационной надежности анкерных креплений, используемых для крепления конструкций НФС к стенам зданий в конкретных условиях.
Л.2.2.2 Результат проведения натурных испытаний анкеров оформляют в виде протокола.
Л.2.3 Разметка строительного основания и монтаж кронштейнов
Л.2.3.1 Перед разметкой строительного основания и монтажом кронштейнов здание разбивают на захватки. Величину захваток определяют с учетом проектной документации, размеров фасадов здания, количества монтажников в бригаде, оснащения строительной организации оборудованием и оснасткой, условий комплектации строительства материалами и изделиями.
Л.2.3.2 Разметку строительного основания следует выполнять в соответствии со схемой, приведенной на
рисунке Л.1, в такой последовательности:
- определяют крайнюю верхнюю точку установки кронштейна, используя рулетку и уровень;
- с помощью гидроуровня и рулетки находят другую верхнюю точку на фасаде;
- устанавливают кронштейны на крайних верхних точках и, используя леску, натягивают ее между этими кронштейнами;
- устанавливают кронштейны верхнего пояса по леске с шагом, указанным в проекте;
- используя отвес, рулетку и гидроуровень, определяют крайние нижние точки установки кронштейнов;
- устанавливают кронштейны на крайних нижних точках и, используя леску, натягивают ее между этими кронштейнами;
- устанавливают кронштейны нижнего пояса по леске с шагом, указанным в проекте;
- используя уровень, рулетку и отвес, проводят разметку установки кронштейнов между крайними верхними и нижними поясами кронштейнов согласно схеме монтажа НФС;
- проводят установку кронштейнов по вынесенным точкам и натянутым лескам.
1 - первый кронштейн; 2 - второй кронштейн; 3 - натянутая
леска с последующей установкой кронштейнов; 4 - установка
первого отвеса; 5 - установка второго отвеса; 6 - установка
третьего кронштейна; 7 - установка четвертого кронштейна;
8 - натянутая леска с последующей установкой кронштейнов;
9 - натянутая леска для установки кронштейнов
и вертикального профиля в соответствии с проектом
Рисунок Л.1 - Схема разметки фасада
Л.2.3.3 Контроль операций проводят по
таблице Л.3. Отклонения от проектного положения разбивочных осей - по
таблице Л.4.
Таблица Л.3
Состав операционного контроля этапа работ
Наименование | Операция |
Наименование технологического процесса | Разбивка на захватки. Разметка фасада. Установка маяков |
Состав операционного контроля | Проверка соответствия основания требованиям проектной документации, готовности фасада к монтажу (при реконструкции - демонтаж водостоков, рекламных щитов, антенн, вывесок и т.п.). Контроль установки маяков, положения контрольных точек |
Способ контроля и инструмент | Технический осмотр. Визуально. Замеры: рулетка, отвес, уровень, геодезические приборы |
Время проведения контроля | До начала монтажа системы |
Документация | Журнал работ по монтажу фасадной системы. Акт освидетельствования скрытых работ и приемки фасада под монтаж фасадной системы |
Ответственный за контроль | Ответственный производитель работ, персонально назначенный приказом |
Таблица Л.4
Технические требования | Предельные отклонения, мм |
Отклонение от проектного положения разбивочных осей и высотных отметок | +/- 10 |
Л.2.3.4 Бурение отверстий выполняют после разметки фасада:
- в прочных полнотелых строительных основаниях (монолитный бетон, бетонные блоки, полнотелый силикатный или керамический кирпич) - с ударно-вращательным воздействием бура;
- в пустотелых, щелевых, пористых строительных основаниях (пустотелый кирпич, пустотелые блоки, ячеистый бетон) - без ударного воздействия сверла;
- диаметр бура - в соответствии с положениями технической документации предприятия-изготовителя.
Примечание - Даже незначительное увеличение диаметра отверстия от расчетного под дюбель может привести к проворачиванию дюбеля и слабому креплению с его помощью. Уменьшенное отверстие под дюбель может привести к растрескиванию материала строительного основания (стены) при вворачивании в дюбель распорного элемента.
При сверлении отверстий бур (сверло) следует направлять (удерживать) строго перпендикулярно плоскости строительного основания.
Глубина отверстия должна превышать глубину анкеровки крепежного изделия на величину, определенную в технической документации предприятия - изготовителя анкерного крепежа.
После сверления отверстия следует тщательно очистить от пыли с помощью щетки (ершика) или продувания ручным/электрическим пневмонасосом.
Л.2.3.5 Монтаж кронштейнов
Монтаж кронштейна следует начать с установки кронштейна и закрепления его предусмотренным проектом количеством анкерных креплений. Операционный контроль монтажа кронштейнов проводят с учетом положений
таблицы Л.5, а контроль установки - с учетом
таблицы Л.6.
Таблица Л.5
Состав операционного контроля монтажа кронштейнов
Наименование | Операция |
Наименование технологического процесса | Бурение отверстий. Установка и крепление кронштейнов к основанию |
Состав операционного контроля | Соответствие просверленных отверстий разметке, проектным решениям, требованиям предприятия-изготовителя. Наличие установленной прокладки между кронштейном и основанием |
Способ контроля и инструмент | Технический осмотр. Визуально. Замеры: рулетка, отвес, уровень, геодезические приборы |
Время проведения контроля | В процессе выполнения и после окончания данного вида работ до начала следующего этапа |
Документация | Журнал работ по монтажу фасадной системы. Акт освидетельствования скрытых работ. Разрешение на производство работ по установке утеплителя |
Ответственный за контроль | Ответственный производитель работ, назначенный приказом |
Таблица Л.6
Контроль установки кронштейнов и анкерных креплений
Технические требования | Предельные отклонения, мм |
Отклонение от проектного положения точек установки анкерных креплений | +/- 10 |
Кронштейны следует крепить к стене через терморазрывные прокладки и с применением шайбы, распределяющей передаваемое усилие (если иное не предусмотрено рабочей документацией). Установка распорных элементов с перекосом не допускается.
Закручивание распорных элементов анкерных креплений проводят ручным или электроинструментом. Значение момента затяжки (для металлических анкеров) следует контролировать с помощью динамометрического ключа, и оно не должно превышать значения, установленного предприятием - изготовителем крепежных изделий.
После затяжки распорных элементов анкерных креплений следует проверить равномерность прилегания головки распорного элемента к бортику дюбеля (анкера) или стальной шайбе.
Наличие зазора между головкой распорного элемента и бортиком дюбеля (анкера) или шайбой не допускается. Количество анкерных креплений, подлежащих контролю, следует определять по технической документации предприятия-изготовителя, но оно должно составлять не менее 10% общего количества на каждые 100 м2 плоскости строительного основания.
Производить монтаж кронштейнов не допускается:
- на неподготовленном строительном основании;
- при их повреждении;
- без подтверждения натурными испытаниями необходимой несущей способности крепежных изделий.
Минимально допустимое расстояние от оси крепежных изделий до края строительного основания (наружный угол, оконный откос, стык стеновых панелей и т.д.) должно составлять не менее 100 мм (если иное не предусмотрено рабочей документацией).
Л.2.3.6 Установку анкерных креплений проводят в соответствии с инструкцией и рекомендациями предприятия - изготовителя крепежных изделий.
Примечание - При разметке строительного основания и монтаже кронштейнов запрещается: установка кронштейнов без контроля и не в соответствии с проектной документацией; производить выноску размеров без отвеса и уровня; пользоваться неисправным измерительным инструментом.
Л.2.4 Монтаж плит утеплителя
Л.2.4.1 В НФС может быть применено однослойное или двуслойное (или с большим числом слоев) утепление:
- в случае двуслойного (или с большим числом слоев) утепления для внутреннего слоя следует использовать минераловатные плиты более низкой плотности, а для наружного слоя и при однослойном утеплении - более высокой плотности. Следует обеспечить перекрытие швов первого слоя плитами второго с перехлестом не менее 100 мм;
- плиты утеплителя следует устанавливать вплотную друг к другу с заполнением (при необходимости) зазоров между ними этим же материалом. Допустимый размер незаполненного шва составляет не более 2 мм;
- при установке плит утеплителя их следует подрезать до необходимого размера ножом, с лезвием длиной не менее 1,5 толщины утеплителя. Ломать и деформировать плиты утеплителя запрещается;
- теплоизоляционный слой следует укладывать в соответствии со схемами крепления, приведенными в проектной документации или альбомах технических решений поставщика НФС, угловые плиты устанавливают с перевязкой каждого слоя. Выполнять утепление угла путем перегиба на нем плит теплоизоляции не допускается;
- внутренний слой плит должен быть плотно прижат к поверхности стены;
- места прохождения кронштейнов сквозь утеплитель рекомендуется выполнять способом прорезки в местах установки кронштейнов. При этом торец кронштейна прорезает утеплитель. Допускается делать в месте прохождения кронштейнов надрез по форме кронштейна. Удлинитель кронштейна при этом должен быть убран;
- запрещается устанавливать плиты утеплителя с зазорами между ними, с зазором между поверхностью теплоизоляции и тарельчатым элементом крепежного элемента, а также с зазорами между утеплителем и стеной.
Примечание - Образование зазоров между плитами приводит к образованию "мостиков холода", снижению однородности и теплотехнических свойств стеновой конструкции, а зазоры между утеплителем и стеной приводят к конденсации влаги на поверхности стены. Смятие утеплителя в месте крепления допускается не более 10 мм;
- в случае двуслойного (или с большим количеством слоев) утепления крепление внутреннего слоя каждой плиты следует проводить не менее чем одним (двумя) элементами крепления, а в опорном ряду - тремя;
- при двуслойном (или с большим количеством слоев) утеплении должна быть обеспечена разбежка швов между плитами утеплителя наружного и внутреннего слоев не менее чем на 100 мм;
- каждая плита наружного слоя должна быть зафиксирована пятью элементами крепления;
- установку распорного элемента анкера (дюбеля) следует выполнять в направлении, перпендикулярном плоскости стены, рекомендованным инструментом;
- поломка или установка с перекосом элементов крепления не допускается.
При установке теплоизоляционного слоя не допускаются:
- образование пустот между основанием и утеплителем;
- применение плит утеплителя, имеющих механические повреждения;
- неправильная установка элементов крепления;
- прогибы (провисание), расслоение утеплителя;
- применение материалов (пенопласт, монтажная пена, пакля и т.п.), не предусмотренных технологией монтажа.
Л.2.4.2 Изолируемая поверхность должна быть очищена от снега и льда. Производить работы по теплоизоляции при температуре наружного воздуха минус 20 °C и ниже не рекомендуется.
Л.2.4.3 К началу монтажа плит утеплителя захватка, на которой производятся работы, должна быть укрыта от попадания влаги на стену и плиты утеплителя.
Л.2.4.4 При установленных оконных и дверных обрамлениях утеплитель монтируют вплотную к ним (без зазоров). При отсутствии обрамлений утеплитель монтируют с припуском не менее 50 мм внутрь оконного (дверного) проема, с последующей подрезкой при монтаже обрамлений. Допускается монтаж утеплителя по контуру оконного проема на расстоянии 200 мм от откосов, с последующей установкой вставок из утеплителя и креплением каждой из них не менее чем двумя элементами крепления.
Л.2.4.5 Заделку мест крепления лесов к стене проводят тем же теплоизоляционным материалом, что и основной слой теплоизоляции.
Л.2.4.6 Операционный контроль монтажа утеплителя проводят с учетом положений
таблицы Л.7, а контроль установки - с учетом
таблицы Л.8.
Таблица Л.7
Состав операционного контроля монтажа плит утеплителя
Наименование | Операция |
Наименование технологического процесса | Монтаж плит утеплителя |
Состав операционного контроля | Соответствие толщины установленного утеплителя проекту. Плотность установки, отсутствие пустот. При установке утеплителя в два ряда - наличие перевязки швов. Прочность крепления утеплителя к основанию |
Способ контроля и инструмент | Технический осмотр. Визуально. Замеры: рулетка, линейка |
Время проведения контроля | В процессе выполнения и после окончания данного вида работ до начала следующего этапа |
Документация | Журнал работ по монтажу фасадной системы. Акт освидетельствования скрытых работ |
Ответственный за контроль | Ответственный производитель работ, назначенный приказом |
Таблица Л.8
Контроль качества монтажа плит утеплителя
Технические требования | Предельные отклонения |
Отклонение от проектного положения плит утеплителя: | |
- предельная ширина швов между плитами, не более | 2 мм |
- отклонения толщины изоляции от проектной | +/- 5% |
- величина уступов между плитами, не более | 5 мм |
- отклонение величины перехлеста плит | +/- 5% |
Л.2.5 Установка направляющих и угловых элементов НФС
Л.2.5.1 Направляющие (как вертикальные, так и горизонтальные при их наличии) следует устанавливать с температурно-компенсационным зазором между торцами смежных элементов, который должен соответствовать проектной документации. При отсутствии требований проектной документации к размеру температурно-компенсационного зазора между торцами смежных элементов его размер следует принимать по
таблице Л.10.
Примечание - Для обеспечения соосности смежных направляющих допускается применять специальные элементы (скобы, дренажи и др.). В этом случае они крепятся только к одной из направляющих для обеспечения свободы температурных перемещений, если иное не указано в проекте.
Л.2.5.2 Направляющие должны крепиться к кронштейнам крепежными изделиями, тип (заклепки, саморезы и др.) и количество которых предусмотрены рабочей документацией.
Стальные направляющие следует закреплять жестко.
Для направляющих из алюминиевых сплавов следует предусматривать подвижное соединение со всеми кронштейнами, кроме несущего (опорного).
Подвижные соединения должны компенсировать линейные температурные деформации и выполняться в виде установки крепежных изделий в овальные отверстия либо в виде дополнительных элементов (салазки и др.), жестко закрепленных к кронштейну и подвижно к направляющей.
Устанавливать крепежные изделия в краевые зоны меньше допустимых значений запрещается.
Минимальные краевые расстояния принимают в соответствии с требованиями проектной документации и настоящего свода правил.
Л.2.5.3 Положение каждой направляющей в вертикальной плоскости следует проверять теодолитом по
ГОСТ 10529 или отвесом по
ГОСТ Р 58945.
При применении специальных удлиняющих элементов (удлинители, вставки и т.д.) необходимо соблюдать минимальную длину перехлеста этих элементов с неподвижной частью кронштейна, крепя их друг к другу необходимым количеством крепежных изделий.
Л.2.5.4 При установке направляющих не допускается:
- монтировать направляющие с видимыми невооруженным глазом повреждениями, а также вырезать в них пазы (например, для пропуска элементов крепления лесов);
- проводить монтаж без устройства температурно-компенсационного зазора между смежными направляющими;
- нарушать установленную проектом схему крепления направляющих к кронштейнам;
- проводить монтаж способами натяжения или изгиба, создающими начальное напряжение в элементах каркаса НФС;
- проводить крепление к другим, не предусмотренным проектом элементам каркаса;
- замена предусмотренных рабочей документацией крепежных изделий.
Л.2.5.5 Операционный контроль установки направляющих проводят с учетом положений
таблицы Л.9, а контроль установки - с учетом
таблицы Л.10.
Таблица Л.9
Состав операционного контроля установки
вертикальных и горизонтальных направляющих
Наименование | Операция |
Наименование технологического процесса | Монтаж вертикальных и горизонтальных направляющих |
Состав операционного контроля | Проверка положения профилей. Соответствие проекту и рекомендациям предприятия - изготовителя НФС |
Способ контроля и инструмент | Технический осмотр. Визуально. Замеры: рулетка, отвес, уровень, геодезические приборы |
Время проведения контроля | В процессе выполнения и после окончания данного вида работ до начала следующего этапа |
Документация | Журнал работ по монтажу фасадной системы. Акт освидетельствования скрытых работ. Разрешение на производство работ по монтажу облицовки |
Ответственный за контроль | Ответственный производитель работ, назначенный приказом |
Таблица Л.10
Контроль установки вертикальных
и горизонтальных направляющих
Технические требования | Предельные отклонения, мм |
Отклонения от проектного положения направляющей: | |
- от вертикальности (горизонтальности) в плоскости стены | +/- 2 |
- от вертикальности (горизонтальности) перпендикулярно плоскости стены | +/- 1 |
- от проектного расстояния между соседними направляющими | +/- 5 |
- от соосности смежных (по высоте) направляющих | +/- 2 |
- от проектного зазора между смежными направляющими | +5; -0 |
- уступ между смежными по высоте направляющими | +/- 2 |
Л.2.6 Установка обрамлений, рассечек, отливов
Установку обрамлений, рассечек, отливов следует выполнять в соответствии с проектной документацией.
Л.2.7 Установка облицовочных материалов
Установку облицовочных материалов ведут в соответствии с требованиями проектной документации и рекомендациями предприятия - изготовителя НФС. Операционный контроль монтажа облицовочных материалов проводят с учетом положений
таблицы Л.11.
Таблица Л.11
Контроль монтажа облицовочных материалов
Технические требования | Предельные отклонения, мм |
Отклонения от проектного положения фасада и его элементов: | |
- от вертикальности | +/- 2 (на 1 м длины) |
- от плоскостности | +/- 2 (на 1 м длины) |
- уступ между смежными элементами облицовки | 2 |
Отклонения зазора между элементами облицовки: | |
- от проектного размера зазора (ширина шва) | +/- 1 |
- от проектного положения зазора (отклонения от вертикальности, горизонтальности, от заданного угла | +/- 2 (на 1 м длины) |
Л.3 Демонтаж средств подмащивания
| | ИС МЕГАНОРМ: примечание. В официальном тексте документа, видимо, допущена опечатка: пункт [15] отсутствует. | |
Л.3.2 До начала демонтажа средств подмащивания производитель работ обязан осмотреть их и проинструктировать рабочих о последовательности и приемах разборки, а также о мерах, обеспечивающих безопасность работ.
Л.3.3 Демонтаж средств подмащивания следует начинать с верхнего яруса в последовательности, обратной последовательности монтажа.
Л.3.4 Демонтаж средств подмащивания допускается лишь после уборки с настила остатков материалов, инвентаря и инструмента.
[1] Федеральный
закон от 29 декабря 2004 г. N 190-ФЗ "Градостроительный кодекс Российской Федерации"
[2] Федеральный
закон от 22 июля 2008 г. N 123-ФЗ "Технический регламент о требованиях пожарной безопасности"
[3] Федеральный
закон 30 декабря 2009 N 384-ФЗ "Технический регламент о безопасности зданий и сооружений"
[4]
Постановление Правительства Российской Федерации от 16 февраля 2008 г. N 87 "Положение о составе разделов проектной документации и требованиях к их содержанию"
[5]
Постановление Правительства Российской Федерации от 16 сентября 2020 г. N 1479 "Об утверждении правил пожарного режима в Российской Федерации"
[6]
Приказ Министерства труда и социальной защиты Российской Федерации от 11 декабря 2020 г. N 883н "Об утверждении Правил по охране труда при строительстве, реконструкции и ремонте"
[7]
СНиП 12-03-2001 Безопасность труда в строительстве. Часть 1. Общие требования
[8]
СНиП 12-04-2002 Безопасность труда в строительстве. Часть 2. Строительное производство
[9]
Приказ Министерства труда и социальной защиты Российской Федерации от 16 ноября 2020 г. N 782н "Об утверждении Правил по охране труда при работе на высоте"
[10]
Приказ Министерства труда и социальной защиты Российской Федерации от 28 октября 2020 г. N 753н "Об утверждении Правил по охране труда при погрузочно-разгрузочных работах и размещении грузов"
[11]
Постановление Правительства Российской Федерации от 21 июня 2010 г. N 468 "Положение о проведении строительного контроля при осуществлении строительства, реконструкции и капитального ремонта объектов капитального строительства"
[12]
РД-11-05-2007 Порядок ведения общего и (или) специального журнала учета выполнения работ при строительстве, реконструкции, капитальном ремонте объектов капитального строительства
[13]
РД-11-02-2006 Требования к составу и порядку ведения исполнительной документации при строительстве, реконструкции, капитальном ремонте объектов капитального строительства и требования, предъявляемые к актам освидетельствования работ, конструкций, участков сетей инженерно-технического обеспечения
| | ИС МЕГАНОРМ: примечание. В официальном тексте документа, видимо, допущена опечатка: Приказ Минстрой России "Об утверждении типовой формы задания на проектирование объекта капитального строительства и требований к его подготовке" от 01.03.2018 имеет номер 125/пр, а не 125. | |
[14]
Приказ Министерства строительства и жилищно-коммунального хозяйства Российской Федерации от 1 марта 2018 г. N 125 "Об утверждении типовой формы задания на проектирование объекта капитального строительства и требований к его подготовке"