Главная // Актуальные документы // Актуальные документы (обновление 2025.02.03-2025.03.01) // ПНСТ (Предварительный национальный стандарт)
СПРАВКА
Источник публикации
М.: ФГБУ "Институт стандартизации", 2024
Примечание к документу
Документ введен в действие с 01.01.2025 на период до 01.01.2027 (Приказ Росстандарта от 08.10.2024 N 57-пнст).
Название документа
"ПНСТ 954-2024. Предварительный национальный стандарт Российской Федерации. Заземлители и заземляющие устройства различного назначения. Протяженные анодные заземлители установок катодной защиты от коррозии подземных металлических сооружений. Общие технические условия"
(утв. и введен в действие Приказом Росстандарта от 08.10.2024 N 57-пнст)

"ПНСТ 954-2024. Предварительный национальный стандарт Российской Федерации. Заземлители и заземляющие устройства различного назначения. Протяженные анодные заземлители установок катодной защиты от коррозии подземных металлических сооружений. Общие технические условия"
(утв. и введен в действие Приказом Росстандарта от 08.10.2024 N 57-пнст)


Содержание


Утвержден и введен в действие
Приказом Федерального
агентства по техническому
регулированию и метрологии
от 8 октября 2024 г. N 57-пнст
ПРЕДВАРИТЕЛЬНЫЙ НАЦИОНАЛЬНЫЙ СТАНДАРТ РОССИЙСКОЙ ФЕДЕРАЦИИ
ЗАЗЕМЛИТЕЛИ И ЗАЗЕМЛЯЮЩИЕ УСТРОЙСТВА РАЗЛИЧНОГО НАЗНАЧЕНИЯ.
ПРОТЯЖЕННЫЕ АНОДНЫЕ ЗАЗЕМЛИТЕЛИ УСТАНОВОК КАТОДНОЙ ЗАЩИТЫ
ОТ КОРРОЗИИ ПОДЗЕМНЫХ МЕТАЛЛИЧЕСКИХ СООРУЖЕНИЙ
ОБЩИЕ ТЕХНИЧЕСКИЕ УСЛОВИЯ
Grounding conductors and grounding devices for special
purposes. Extended flexible anode grounding of installations
of cathodic protection against corrosion of underground
metal structures. General specifications
ПНСТ 954-2024
ОКС 29.120
Срок действия
с 1 января 2025 года
до 1 января 2027 года
Предисловие
1 РАЗРАБОТАН Обществом с ограниченной ответственностью "Ресурсосберегающие Специальные Технологии и Системы" (ООО "РСТС")
2 ВНЕСЕН Техническим комитетом по стандартизации ТК 336 "Заземлители и заземляющие устройства различного назначения"
3 УТВЕРЖДЕН И ВВЕДЕН В ДЕЙСТВИЕ Приказом Федерального агентства по техническому регулированию и метрологии от 8 октября 2024 г. N 57-пнст
Правила применения настоящего стандарта и проведения его мониторинга установлены в ГОСТ Р 1.16-2011 (разделы 5 и 6).
Федеральное агентство по техническому регулированию и метрологии собирает сведения о практическом применении настоящего стандарта. Данные сведения, а также замечания и предложения по содержанию стандарта можно направить не позднее чем за четыре месяца до истечения срока его действия разработчику настоящего стандарта по адресу: info@tk336.ru и/или в Федеральное агентство по техническому регулированию и метрологии по адресу: 123112 Москва, Пресненская набережная, д. 10, стр. 2.
В случае отмены настоящего стандарта соответствующая информация будет опубликована в ежемесячном информационном указателе "Национальные стандарты" и также будет размещена на официальном сайте Федерального агентства по техническому регулированию и метрологии в сети Интернет (www.rst.gov.ru)
Введение
Настоящий стандарт разработан в развитие требований [1] - [4].
Настоящий стандарт разработан с учетом положений национальных стандартов, отраслевых стандартов, технических условий, определяющих требования к протяженным анодным заземлителям установок катодной защиты от коррозии.
Настоящий стандарт не имеет международного аналога и учитывает положительный отечественный опыт эксплуатации (см. [5]) и применения современных технических решений в области протяженных анодных заземлителей установок катодной защиты от коррозии подземных металлических сооружений от коррозии на таких объектах, как подземный и подводный трубопроводный транспорт, тепловые сети, трубопроводы жилищно-коммунального хозяйства, технологическое оборудование, объекты энергетики, мелиорации (хранилища жидких удобрений и т.д.), а также существующие и перспективные требования по надежности, безопасности и рискам при эксплуатации объектов магистрального и промыслового трубопроводного транспорта.
Целью разработки настоящего стандарта является обеспечение эффективности и надежности работы протяженных анодных заземлителей установок катодной защиты от коррозии.
1 Область применения
Настоящий стандарт распространяется на протяженные анодные заземлители установок катодной защиты от коррозии (далее - протяженные анодные заземлители) подземных металлических сооружений (магистральные газо- и нефтепроводы, сети газораспределения, нефтепродуктопроводы, другие трубопроводы, предназначенные для транспортировки жидких и газообразных сред, а также резервуары и емкостное оборудование, контактирующее с водными средами минерализацией до 200 г/л, в том числе питьевой водой), тепловые сети, трубопроводы жилищно-коммунального хозяйства, технологическое оборудование, объекты энергетики, мелиорации (хранилища жидких удобрений и др.), и устанавливает технические требования к протяженным анодным заземлителям, правилам приемки и методам контроля.
Настоящий стандарт не распространяется на протяженные анодные заземлители, применяемые для катодной защиты судов и других плавучих сооружений, а также на протяженные анодные заземлители, применяемые в качестве временных (экспериментальных) при коррозионных обследованиях и контроле состояния изоляции подземных сооружений (например, газопроводов и др.).
Настоящий стандарт предназначен для применения организациями, осуществляющими проектирование, изготовление, приемку, испытания, поставку и эксплуатацию протяженных анодных заземлителей.
2 Нормативные ссылки
В настоящем стандарте использованы нормативные ссылки на следующие документы:
ГОСТ 8.579 Государственная система обеспечения единства измерений. Требования к количеству фасованных товаров при их производстве, фасовании, продаже и импорте
ГОСТ 9.106 Единая система защиты от коррозии и старения. Коррозия металлов. Термины и определения
ГОСТ 9.108 Единая система защиты от коррозии и старения. Электрохимическая защита. Термины и определения
ГОСТ 9.302 (ИСО 1463-82, ИСО 2064-80, ИСО 2106-82, ИСО 2128-76, ИСО 2177-85, ИСО 2178-82, ИСО 2360-82, ИСО 2361-82, ИСО 2819-80, ИСО 3497-76, ИСО 3543-81, ИСО 3613-80, ИСО 3882-86, ИСО 3892-80, ИСО 4516-80, ИСО 4518-80, ИСО 4522-1-85, ИСО 4522-2-85, ИСО 4524-1-85, ИСО 4524-3-85, ИСО 4524-5-85, ИСО 8401-86) Единая система защиты от коррозии и старения. Покрытия металлические и неметаллические неорганические. Методы контроля
ГОСТ 9.602 Единая система защиты от коррозии и старения. Сооружения подземные. Общие требования к защите от коррозии
ГОСТ 12.1.004 Система стандартов безопасности труда. Пожарная безопасность. Общие требования
ГОСТ 12.1.007 Система стандартов безопасности труда. Вредные вещества. Классификация и общие требования безопасности
ГОСТ 12.1.019 Система стандартов безопасности труда. Электробезопасность. Общие требования и номенклатура видов защиты
ГОСТ 12.1.044 (ИСО 4589-84) Система стандартов безопасности труда. Пожаровзрывоопасность веществ и материалов. Номенклатура показателей и методы их определения
ГОСТ 12.2.003 Система стандартов безопасности труда. Оборудование производственное. Общие требования безопасности
ГОСТ 12.2.007.0 Система стандартов безопасности труда. Изделия электротехнические. Общие требования безопасности
ГОСТ 12.2.007.14 Система стандартов безопасности труда. Кабели и кабельная арматура. Требования безопасности
ГОСТ 12.3.009-76 Система стандартов безопасности труда. Работы погрузочно-разгрузочные. Общие требования безопасности
ГОСТ 12.4.021 Система стандартов безопасности труда. Системы вентиляционные. Общие требования
ГОСТ 15.309-98 Система разработки и постановки продукции на производство. Испытания и приемка выпускаемой продукции. Основные положения
ГОСТ 20.57.406 Комплексная система контроля качества. Изделия электронной техники, квантовой электроники и электротехнические. Методы испытаний
ГОСТ 27.003 Надежность в технике. Состав и общие правила задания требований по надежности
ГОСТ 166 (ИСО 3599-76) Штангенциркули. Технические условия
ГОСТ 427 Линейки измерительные металлические. Технические условия
ГОСТ 515 Бумага упаковочная битумная и дегтевая. Технические условия
ГОСТ 859 Медь. Марки
ГОСТ 2990 Кабели, провода и шнуры. Методы испытания напряжением
ГОСТ 3345 Кабели, провода и шнуры. Метод определения электрического сопротивления изоляции
ГОСТ 5151 Барабаны деревянные для электрических кабелей и проводов. Технические условия
ГОСТ 5959 Ящики из листовых древесных материалов неразборные для грузов массой до 200 кг. Общие технические условия
ГОСТ 6433.2-71 Материалы электроизоляционные твердые. Методы определения электрического сопротивления при постоянном напряжении
ГОСТ 6433.3 Материалы электроизоляционные твердые. Методы определения электрической прочности при переменном (частоты 50 Гц) и постоянном напряжении
ГОСТ 6613 Сетки проволочные тканые с квадратными ячейками. Технические условия
ГОСТ 7229 Кабели, провода и шнуры. Метод определения электрического сопротивления токопроводящих жил и проводников
ГОСТ 7502 Рулетки измерительные металлические. Технические условия
ГОСТ 9142 Ящики из гофрированного картона. Общие технические условия
ГОСТ 10198 Ящики деревянные для грузов массой св. 200 до 20000 кг. Общие технические условия
ГОСТ 10354 Пленка полиэтиленовая. Технические условия
ГОСТ 10434 Соединения контактные электрические. Классификация. Общие технические требования
ГОСТ 12177 Кабели, провода и шнуры. Методы проверки конструкции
ГОСТ 12182.5 Кабели, провода и шнуры. Метод проверки стойкости к растяжению
ГОСТ 12182.8 Кабели, провода и шнуры. Метод проверки стойкости к изгибу
ГОСТ 14192 Маркировка грузов
ГОСТ 14254 (IEC 60529:2013) Степени защиты, обеспечиваемые оболочками (код IP)
ГОСТ 15150 Машины, приборы и другие технические изделия. Исполнения для различных климатических районов. Категории, условия эксплуатации, хранения и транспортирования в части воздействия климатических факторов внешней среды
ГОСТ 15543.1 Изделия электротехнические и другие технические изделия. Общие требования в части стойкости к климатическим внешним воздействующим факторам
ГОСТ 16442 Кабели силовые с пластмассовой изоляцией. Технические условия
ГОСТ 16511 Ящики деревянные для продукции электротехнической промышленности. Технические условия
ГОСТ 17441 Соединения контактные электрические. Приемка и методы испытаний
ГОСТ 17675 Трубки электроизоляционные гибкие. Общие технические условия
ГОСТ 18690 Кабели, провода, шнуры и кабельная арматура. Маркировка, упаковка, транспортирование и хранение
ГОСТ 19876 Мосты постоянного тока измерительные цифровые. Общие технические условия
ГОСТ 20214 Пластмассы электропроводящие. Метод определения удельного объемного электрического сопротивления при постоянном напряжении
ГОСТ 20799 Масла индустриальные. Технические условия
ГОСТ 22261 Средства измерений электрических и магнитных величин. Общие технические условия
ГОСТ 22483 (IEC 60228:2004) Жилы токопроводящие для кабелей, проводов и шнуров
ГОСТ 23170 Упаковка для изделий машиностроения. Общие требования
ГОСТ 23216 Изделия электротехнические. Хранение, транспортирование, временная противокоррозионная защита, упаковка. Общие требования и методы испытаний
ГОСТ 24297 Верификация закупленной продукции. Организация проведения и методы контроля
ГОСТ 25018 Кабели, провода и шнуры. Методы определения механических показателей изоляции и оболочки
ГОСТ 25100-2020 Грунты. Классификация
ГОСТ 27710 Материалы электроизоляционные. Общие требования к методу испытания на нагревостойкость
ГОСТ 30631 Общие требования к машинам, приборам и другим техническим изделиям в части стойкости к механическим внешним воздействующим факторам при эксплуатации
ГОСТ 31996 Кабели силовые с пластмассовой изоляцией на номинальное напряжение 0,66; 1 и 3 кВ. Общие технические условия
ГОСТ OIML R 76-1 Государственная система обеспечения единства измерений. Весы неавтоматического действия. Часть 1. Метрологические и технические требования. Испытания
ГОСТ IEC 60811-504 Кабели электрические и волоконно-оптические. Методы испытаний неметаллических материалов. Часть 504. Механические испытания. Испытания изоляции и оболочек на изгиб при низкой температуре
ГОСТ IEC 60811-505 Кабели электрические и волоконно-оптические. Методы испытаний неметаллических материалов. Часть 505. Механические испытания. Испытания изоляции и оболочек на удлинение при низкой температуре
ГОСТ Р 2.601 Единая система конструкторской документации. Эксплуатационные документы
ГОСТ Р 2.610 Единая система конструкторской документации. Правила выполнения эксплуатационных документов
ГОСТ Р 8.568 Государственная система обеспечения единства измерений. Аттестация испытательного оборудования. Основные положения
ГОСТ Р 9.607-2022 Единая система защиты от коррозии и старения. Электрохимическая защита. Аноды установок электрохимической защиты от коррозии подземных металлических сооружений. Общие технические условия
ГОСТ Р 15.301 Система разработки и постановки продукции на производство. Продукция производственно-технического назначения. Порядок разработки и постановки продукции на производство
ГОСТ Р 27.301 Надежность в технике. Управление надежностью. Техника анализа безотказности. Основные положения
ГОСТ Р 27.403 Надежность в технике. Планы испытаний для контроля вероятности безотказной работы
ГОСТ Р 50571.4.41/МЭК 60364-4-41:2017 Электроустановки низковольтные. Часть 4-41. Защита для обеспечения безопасности. Защита от поражения электрическим током
ГОСТ Р 50571.5.54 (МЭК 60364-5-54:2011) Электроустановки низковольтные. Часть 5-54. Выбор и монтаж электрооборудования. Заземляющие устройства и защитные проводники
ГОСТ Р 51164 Трубопроводы стальные магистральные. Общие требования к защите от коррозии
ГОСТ Р 51908 Общие требования к машинам, приборам и другим техническим изделиям в части условий хранения и транспортирования
ГОСТ Р 53711 Изделия электронной техники. Правила приемки
ГОСТ Р 55710 Освещение рабочих мест внутри зданий. Нормы и методы измерений
ГОСТ Р 57190 Заземлители и заземляющие устройства различного назначения. Термины и определения
ГОСТ Р 58344 Заземлители и заземляющие устройства различного назначения. Общие технические требования к анодным заземлениям установок электрохимической защиты от коррозии
СП 72.13330 Защита строительных конструкций и сооружений от коррозии
СП 424.1325800 Трубопроводы магистральные и промысловые для нефти и газа. Производство работ по противокоррозионной защите средствами электрохимзащиты и контроль выполнения работ
Примечание - При пользовании настоящим стандартом целесообразно проверить действие ссылочных стандартов (сводов правил) в информационной системе общего пользования - на официальном сайте Федерального агентства по техническому регулированию и метрологии в сети Интернет или по ежегодному информационному указателю "Национальные стандарты", который опубликован по состоянию на 1 января текущего года, и по выпускам ежемесячного информационного указателя "Национальные стандарты" за текущий год. Если заменен ссылочный документ, на который дана недатированная ссылка, то рекомендуется использовать действующую версию этого документа с учетом всех внесенных в данную версию изменений. Если заменен ссылочный документ, на который дана датированная ссылка, то рекомендуется использовать версию этого документа с указанным выше годом утверждения (принятия). Если после утверждения настоящего стандарта в ссылочный документ, на который дана датированная ссылка, внесено изменение, затрагивающее положение, на которое дана ссылка, то это положение рекомендуется применять без учета данного изменения. Если ссылочный документ отменен без замены, то положение, в котором дана ссылка на него, рекомендуется применять в части, не затрагивающей эту ссылку. Сведения о действии сводов правил целесообразно проверить в Федеральном информационном фонде стандартов.
3 Термины и определения
В настоящем стандарте применены термины по ГОСТ 9.106, ГОСТ 9.108, ГОСТ Р 9.607, ГОСТ Р 57190, ГОСТ Р 58344, а также следующие термины с соответствующими определениями:
3.1
заземляющее устройство (Нрк. система заземления): Совокупность всех электрических соединений и устройств, обеспечивающих заземление системы, установки и оборудования.
[ГОСТ Р МЭК 60050-826-2009, статья 826-13-04 [195-02-20]]
3.2 рабочий элемент протяженного анодного заземлителя: Основной элемент конструкции протяженного анодного заземлителя, обеспечивающий стекание в грунт/воду тока номинальной силы на протяжении всего срока эксплуатации.
3.3 вентильные металлы: Металлы, склонные к анодной пассивации, которые используются в основном в качестве подложки (например, титан, ниобий, тантал) для каталитических металлов и смешанных оксидов в конструкции анодных заземлителей.
3.4 кабельный оконцеватель (капа): Термоусадочное герметичное приспособление для кабелей и труб, предназначенное для герметизации и защиты их во время хранения, транспортировки и прокладки.
3.5
грунт: Любая горная порода, почва, осадок и техногенные минеральные образования, рассматриваемые как многокомпонентные динамичные системы и часть геологической среды, изучаемые в связи с инженерно-хозяйственной деятельностью.
[ГОСТ 25100-2020, пункт 3.3]
3.6
электрод сравнения: Устройство с устойчивым и воспроизводимым потенциалом, которое может быть использовано для измерения других электродных потенциалов.
[ГОСТ Р 9.605-2021, пункт 3.1.2]
3.7
наработка: Продолжительность или объем работы объекта.
Примечание - Наработка может быть как непрерывной величиной (продолжительность работы в часах, километраж пробега и т.п.), так и дискретной величиной (число рабочих циклов, запусков и т.п.).
[ГОСТ Р 27.102-2021, статья 24]
3.8
ИС МЕГАНОРМ: примечание.
В официальном тексте документа, видимо, допущена опечатка: имеется в виду ГОСТ Р 27.102-2021, а не ГОСТ 27.102-2021.
сохраняемость: Свойство объекта сохранять способность к выполнению требуемых функций после хранения и (или) транспортирования при заданных сроках и условиях хранения и (или) транспортирования.
[ГОСТ 27.102-2021, статья 11]
3.9
предельное состояние: Состояние объекта, в котором его дальнейшая эксплуатация недопустима или нецелесообразна либо восстановление его работоспособного состояния невозможно или нецелесообразно.
Примечание - Недопустимость дальнейшей эксплуатации устанавливается на основе оценки рисков, тогда как нецелесообразность или невозможность восстановления может устанавливаться различными способами.
[ГОСТ 27.102-2021, статья 19]
3.10 удельный анодный ресурс; УАР: Суммарная наработка протяженного анодного заземлителя или рабочего элемента от начала эксплуатации до перехода в предельное состояние (в режиме номинальной токовой нагрузки).
Примечание - В настоящем стандарте УАР применяют к протяженному анодному заземлителю с покрытием рабочего элемента, выполненным из каталитических металлов на подложке из вентильного металла или из смешанных оксидов благородных металлов, на титановой проволоке (подложке) при проведении ускоренных ресурсных испытаний.
3.11 криопэги (криогалинные воды): Природные высокоминерализованные воды в многолетнемерзлых породах (от солоноватых до крепких рассолов), имеющие нулевую или отрицательную температуру, но не содержащие льда.
Примечание - Вода не замерзает при низких температурах в результате высокой минерализации (от 30 до 300 г/л и выше). В криолитозоне различают естественные и техногенные криопэги. Естественные криопэги залегают, как правило, ниже подошвы многолетнемерзлых пород, но встречаются также меж- и надмерзлотные.
3.12 удельное (электрическое) сопротивление грунта: Параметр, характеризующий способность грунта проводить электрический ток.
3.13 коэффициент водонасыщения (степень влажности): Показатель, характеризующий долю заполнения пор грунта водой, который изменяется в пределах от 0 до 1,0.
Примечание - В зависимости от степени влажности Sr крупнообломочные и песчаные грунты подразделяют согласно ГОСТ 25100-2020, таблица Б.9.
3.14 дневная поверхность грунта: Исходная поверхность грунта, относительно которой определяют положение трубопровода.
4 Сокращения
В настоящем стандарте применены следующие сокращения:
КД - конструкторская документация;
КЗ - катодная защита;
КИП - контрольно-измерительный пункт;
КМ - каталитические металлы;
КС - компрессорная станция;
КШ - клеммный шкаф;
НД - нормативный документ;
ОТУ - общие технические условия;
ПАЗ - протяженный анодный заземлитель;
ПМИ - программа и методика испытаний;
ПХГ - подземное хранилище газа;
РЭ - рабочий элемент;
СМК - система менеджмента качества;
ТД - техническая документация;
ТУ - технические условия;
УКЗ - установка катодной защиты;
УКПГ - установка комплексной подготовки газа;
ЭХЗ - электрохимическая защита;
MMO - смесь оксидов благородных металлов (mixed metals oxides)
5 Классификация ПАЗ и их типообразование
5.1 ПАЗ классифицируют по следующим признакам (см. [5]):
а) в зависимости от условий применения ПАЗ подразделяют:
1) на подземные (расположенные в грунте) - П;
2) подводные (расположенные в воде) - В;
3) внутренние (расположенные внутри объекта защиты) - Вн;
б) по расположению токоотдающего РЭ ПАЗ подразделяют:
1) на горизонтальные - Г;
2) вертикальные - Вр;
3) наклонные - Н;
4) комбинированные (сочетающие горизонтальные, вертикальные
и наклонные);
в) по материалу, форме поперечного сечения, способу изготовления РЭ ПАЗ
подразделяют в соответствии с [4], [5], ГОСТ Р 50571.5.54, включая
следующие дополнения:
1) по материалу РЭ ПАЗ подразделяют:
- на электропроводящие полимерные (термопласты, реактопласты,
термоэластопласты, эластомеры и др.) - ЭП;
- электропроводящие полимерные маслобензостойкие (содержащие
в качестве полимерной матрицы маслобензостойкий каучук) -
ЭП.Мс;
- электропроводящие полимерные теплостойкие (содержащие
в качестве полимерной матрицы теплостойкий каучук) - ЭП.Тс;
- из КМ и их оксидов на различных подложках (в том числе
из вентильных металлов) - КМ;
- из смешанных оксидов благородных металлов (например, платиновой
группы) (покрытие РЭ) - MMO;
2) подложки РЭ изготавливают из следующего материала:
- титан - Ti;
- ниобий - Nb;
- тантал - Ta и др.;
3) по геометрической форме поверхности РЭ ПАЗ подразделяют
на следующие виды:
- прямоугольник;
- квадрат;
- круг;
- уголок;
- кольцо;
4) по способу изготовления (подложки) РЭ ПАЗ подразделяют:
- на полую трубку;
- стержень;
- проволоку;
- пластину;
- плоскую панель;
- сферу;
- сетку;
- высечку.
Допускается применение других материалов или сплавов, геометрических
форм поверхностей и способов изготовления РЭ, обеспечивающих нормативный
срок службы ПАЗ, с обозначением соответствующими буквами (сочетанием букв)
на основании положительных результатов эксплуатационных испытаний,
проведенных по программе и методике, указанным в стандартах или ТУ на ПАЗ
конкретных типов, и подтвержденных актами и протоколами соответствующих
испытаний;
г) по характеру засыпки прианодного пространства ПАЗ подразделяют:
1) на некомплектные:
- с засыпкой грунтом (без обозначения);
- с электропроводящей засыпкой (активатором) [коксовой,
углеграфитовой, шунгитовой и т.д. или их сочетание] - З;
2) комплектные - с электропроводящей засыпкой (активатором)
в защитной оболочке (чехле, кожухе, экране и т.п.) из
электропроводящего материала в конструкции ПАЗ - К;
д) по конструктивному исполнению/типу ПАЗ подразделяют:
1) по виду исполнения:
- на стандартные в виде линейного электрода с распределенными
параметрами (без обозначения);
- секционной сборки (цепочки) в виде линейного электрода - Ск;
- модульные - М;
- составные модульные с заданным количеством единичных модулей,
соединенных с заданным количеством соединительных
муфт-тройников, с кабельными выводами - Мс;
2) по количеству слоев покрытия РЭ:
- однослойное - без обозначения;
- двухслойное - 2;
- трехслойное - 3;
3) по наличию упрочняющего элемента:
- стандартный - без обозначения;
- усиленный - с упрочняющим сердечником - Ус;
4) по типу соединения токопроводящих жил РЭ:
- термитной сварки - ТС;
- с помощью кабельных зажимов - КЗ;
- кабельных наконечников - ТМ;
- или их комбинации - КЗ + ТМ, ТС + ТМ и др.;
5) по дополнительной комплектации (если несколько, указывают через
точки):
- на ПАЗ для подземной прокладки:
- газоотводная трубка (при необходимости) - ГТ;
- узлы крепления для секционной сборки (цепочки) для блочных ПАЗ;
- на ПАЗ для подводной прокладки:
1) при размещении на дне:
- модуль буйковый - МБ;
- модуль донный утяжеляющий - МД;
- защитный кожух - МК;
2) при размещении на сооружении:
- экран диэлектрический - ЭД.
Конструктивное исполнение/тип ПАЗ - конструкция РЭ и муфты, вариант исполнения РЭ определяются проектом и должны согласовываться с потребителем при заказе.
5.2 Структура обозначения типа ПАЗ
Обозначение типа ПАЗ формируют в зависимости от конструкции ПАЗ из букв и цифр.
При необходимости в обозначении типа ПАЗ указывают следующие параметры (через знак "x" или "-"):
- для РЭ ПАЗ:
- количество РЭ в ПАЗ N, шт.;
- номинальная масса одного РЭ M, кг;
- длина РЭ L, м;
- сечение токопроводящей жилы РЭ, мм2;
- номинальный наружный диаметр электрода d, мм;
- наружный диаметр РЭ с засыпкой (для комплектных);
- материал подложки РЭ по 5.1, перечисление в) 2);
- расстояние между центрами РЭ вдоль оси кабеля S, м;
- для кабеля - соединительного (магистрального) или выводного:
- марка кабеля;
- сечение токопроводящей жилы кабеля, мм2;
- длина соединительного (магистрального) кабеля, м;
- длина кабельного вывода, м, (в начале/в конце);
- для ПАЗ:
- длина кабеля для токоподвода ПАЗ, м для подземных, подводных ПАЗ;
- глубина скважины для установки комплекта ПАЗ, м, для вертикальных
ПАЗ.
Допускается вводить в обозначение типа дополнительные буквы с расшифровкой их в стандартах или ТУ на ПАЗ конкретных типов.
Примеры
1 ПАЗ, выполненный из электропроводящего полимера, маслобензостойкого, с количеством слоев покрытия РЭ - два, усиленный упрочняющим сердечником, подземный, горизонтальный, комплектный - ПАЗ.ЭП.Мб2УС.П.Г.К.
2 ПАЗ, выполненный из смешанных оксидов благородных металлов (MMO), подводный, секционной сборки (цепочки) - ПАЗ.MMO.В.Ск.
3 ПАЗ, выполненный из каталитического металла, подводный, модульный - ПАЗ.КМ.В.М.
5.3 Условное обозначение типов ПАЗ
В условное обозначение ПАЗ входит тип ПАЗ с добавлением через символ "-" обозначения климатического исполнения: О5 (для эксплуатации ПАЗ на суше) или В" (для эксплуатации ПАЗ под землей и под водой), через знак "." - группы букв, обозначающие особенности конструктивного исполнения, через символ "-" - группы цифр, определяющие признаки ПАЗ, последовательно обозначающие: материал подложки РЭ (для РЭ, выполненного из КМ или MMO), диаметр РЭ, длину РЭ, количество РЭ в комплекте для установки в одной скважине/траншее; длину кабельных выводов. Далее добавляют через пробел - обозначение стандарта или ТУ на ПАЗ конкретного типа.
Примеры условных обозначений
1 ПАЗ, выполненный из электропроводящего полимера, маслобензостойкого, с количеством слоев покрытия РЭ - два, усиленный упрочняющим сердечником, подземный, горизонтальный, комплектный, с сечением токопроводящей жилы РЭ 25 мм2, номинальным наружным диаметром РЭ 36 мм, длиной РЭ 200 мм, длиной кабельных выводов 50 м:
ПАЗ.ЭП.Мб2УС.П.Г.К-О5 25-36-200-50 ТУ <1>
2 ПАЗ, выполненный из каталитического металла на подложке из титановой трубки, подводный, наклонный, с диаметром титановой трубки 25 мм, длиной РЭ 1,5 м, комплекта из 10 РЭ линейной сборки, длиной кабельных выводов 25 м:
ПАЗ.КМ.В.Н-В5 Ti 25-1,5-10-25 ТУ <1>
--------------------------------
<1> Обозначение ТУ на ПАЗ конкретных типов.
3 ПАЗ, выполненный из смешанных оксидов благородных металлов, на титановой проволоке (подложке), внутренний, секционной сборки (цепочки), с диаметром титановой проволоки 3,0 мм, длиной секции РЭ 3 м, количеством 10, длиной кабельных выводов 15 м:
ПАЗ.MMO.Вн.Ск-В5 Ti 3,0-3-10-15 ТУ <1>
4 ПАЗ, выполненный из смешанных оксидов благородных металлов, на титановой проволоке (подложке), подводный, модульный, с диаметром титановой проволоки 3,0 мм, длиной секции РЭ 1500 мм, количеством 10, с кабельным выводом марки ВВГ, сечением токопроводящей жилы 10 мм2, длиной кабельных выводов 15 м:
ПАЗ.MMO.В.М-О5 Ti 3,0-1,5-10-ВВГ-10-15 ТУ <1>
--------------------------------
<1> Обозначение ТУ на ПАЗ конкретных типов.
6 Технические требования
6.1 Общие требования
6.1.1 ПАЗ должны соответствовать требованиям [1], [2], [6], [7], ГОСТ 9.602, ГОСТ Р 9.607, ГОСТ Р 58344, ГОСТ Р 51164 в части требований к ЭХЗ, настоящего стандарта и изготавливаться по стандартам или ТУ на ПАЗ конкретного типа по ТД, утвержденной в установленном порядке.
В технически обоснованных случаях на ПАЗ конкретных типов могут быть установлены и другие требования, не предусмотренные настоящим стандартом.
6.1.2 ПАЗ согласно требованиям ГОСТ 15150 должны соответствовать климатическим исполнениям:
- О - для эксплуатации под землей, категория размещения 5,
- В - для эксплуатации под землей и под водой; категория размещения 5 (с учетом условий эксплуатации).
Климатическое исполнение и категория размещения ПАЗ должны быть указаны в стандартах или ТУ на ПАЗ конкретных типов.
6.1.3 Выбор типа ПАЗ и конструкции осуществляется с учетом следующих факторов:
- конфигурации объекта защиты;
- свойств грунта в месте размещения ПАЗ - удельного электрического сопротивления, глубины промерзания, источников блуждающих токов, постоянных или переменных, местных условий и технико-экономических показателей.
Тип ПАЗ, конструкция, вариант исполнения определяются проектом и должны согласовываться с потребителем при заказе.
6.1.4 ПАЗ следует изготавливать для применения в любых почвенно-климатических условиях - при температуре окружающей среды (внешней среды при эксплуатации) от минус 20 °C до плюс 60 °C. Для прокладки ПАЗ под водой - при температуре окружающей среды от минус 4 °C до плюс 60 °C. Для прокладки ПАЗ в каналах теплосетей - при температуре окружающей среды до плюс 90 °C.
6.2 Основные показатели и характеристики
6.2.1 Показатели назначения
6.2.1.1 ПАЗ применяют в системе ЭХЗ для обеспечения длительного, бесперебойного и эффективного протекания защитного тока от станции КЗ через грунт/воду к защищаемому сооружению.
ПАЗ предназначены для эксплуатации в УКЗ систем ЭХЗ металлических конструкций и сооружений от подземной и подводной коррозии. Срок службы ПАЗ должен быть равен сроку службы защищаемого объекта.
Не допускается использование ПАЗ для передачи и распределения электрической энергии в осветительных и силовых сетях, для монтажа электрооборудования, машин и механизмов, станков, а также в контурах защитных заземлений.
ПАЗ должны обеспечивать выполнение нормативных показателей (см. [6], [8], [9]) в части требований к шаговому напряжению и напряжению прикосновения.
6.2.1.2 При размещении ПАЗ следует учитывать удельное электрическое сопротивление грунта, условия землеотвода, расположение смежных сооружений и отсутствие влияния на них ПАЗ. ПАЗ следует размещать в местах с минимальным удельным электрическим сопротивлением грунта и ниже глубины его промерзания.
ПАЗ следует размещать вдоль защищаемого трубопровода, как правило, на расстоянии не дальше четырех его диаметров на линейной части, но не менее 500 мм. В стесненных условиях промышленной площадки, а также в сложных геологических условиях (скальные, многолетнемерзлые грунты) ПАЗ допускается размещать в одной траншее с трубопроводом. Укладка ПАЗ в одну траншею с защищаемым сооружением допускается на максимальном расстоянии между ними при обеспечении мероприятий по исключению непосредственного контакта между ПАЗ и сооружением.
6.2.1.3 ПАЗ в комбинации с другими типами заземлителей применяют в зонах опасного действия блуждающих постоянных и переменных токов.
6.2.1.4 Выбор и расчет параметров ПАЗ при наличии блуждающих токов следует осуществлять в соответствии с [10]. Влияние блуждающих токов оценивают в соответствии с ГОСТ 9.602.
ПАЗ применяют для защиты внешних поверхностей днищ стальных наземных резервуаров и размещают непосредственно под днищами резервуаров с установкой отдельного преобразователя на каждый резервуар.
Расчетный срок службы ПАЗ в этом случае должен быть не менее 50 лет. ПАЗ для обеспечения указанного срока службы должны состоять из двух самостоятельных контуров со сроком службы не менее 25 лет, вводимых в эксплуатацию поочередно (см. [11]).
Выбор расстояния между РЭ в ПАЗ допускается определять технико-экономическим расчетом.
6.2.1.5 При защите двух и более параллельных трубопроводов, размещенных в одной траншее (коридоре), ПАЗ располагают между ними (по центру) по верхней и нижней образующей. При таком расположении ПАЗ исключается экранирование поверхности одного трубопровода другими и обеспечивается возможность дифференцированного регулирования защитных потенциалов каждого трубопровода.
Коэффициенты экранирования вертикальных и горизонтальных ПАЗ и расстояния между ними определяют в соответствии с [12].
6.2.1.6 В вечномерзлых грунтах ПАЗ вертикального расположения следует, как правило, применять преимущественно на участках с криопэгами или ниже горизонта вечномерзлого грунта.
6.2.1.7 Коммутацию кабелей ПАЗ при последовательном подключении, как правило, следует осуществлять на отдельные КИП для диагностики отдельных элементов ПАЗ.
6.2.1.8 На промышленных площадках УКПГ, КС, ПХГ при наличии на одну УКЗ нескольких ПАЗ, расположенных на расстоянии ближе трети их глубины, ПАЗ должны быть оснащены устройствами для измерения и регулирования величины стекающего с них тока.
6.2.1.9 Расчет параметров ПАЗ включает определение количества РЭ и их срок службы.
Количество РЭ в подземный ПАЗ линейной сборки вычисляют в зависимости от расположения РЭ в соответствии с [10]:
- при вертикальном или горизонтальном расположении РЭ;
- при комбинированном ПАЗ из вертикальных РЭ, соединенных с горизонтальным РЭ.
Сопротивление растеканию тока одного ПАЗ, расположенного в грунте, зависит от его расположения и наличия электропроводящей засыпки в конструкции РЭ. Расчет проводят в соответствии с [11].
6.2.1.10 ПАЗ применяют для повышения эффективности ЭХЗ в зонах повышенной коррозионной опасности - скорость коррозии более 0,3 мм в год.
Выбор ПАЗ для грунтов средней и высокой коррозионной агрессивности следует осуществлять в соответствии с ГОСТ 9.602.
Коррозионную агрессивность грунта и почвенно-грунтовых вод по отношению к стальным подземным сооружениям оценивают по значению удельного электрического сопротивления грунта (почвенно-грунтовых вод) и средней плотности катодного тока. С учетом этих факторов ПАЗ рекомендуется применять:
- в засоленных и обводных грунтах с высокой минерализацией [коэффициент водонасыщения (степень влажности)] 0,8 < Sr <= 1, д. е.; грунтах с высокой коррозионной агрессивностью (pH < 5), содержанием сульфидов и хлоридов > 5,0 г/кг - ПАЗ из вентильных металлов с покрытием из MMO или КМ;
- маловлажных грунтах объемной влажностью не более 5% - 7%, с низкой минерализацией (pH > 5) [коэффициент водонасыщения (степень влажности)] 0 < Sr <= 0,5 д. е., содержанием сульфидов и хлоридов < 5,0 г/кг - ПАЗ из электропроводящих полимеров.
Коэффициент водонасыщения (степень влажности) Sr по ГОСТ 25100-2020 (таблица А.1, пункт 9; Б.2.4).
6.2.1.11 Технические требования к ПАЗ, не нормированные в настоящем стандарте, должны быть указаны в стандартах или ТУ на ПАЗ конкретных типов, обеспечены предприятием-изготовителем и подтверждены результатами приемочных испытаний:
- масса или удельная масса РЭ ПАЗ из электропроводящего полимера;
- номинальная токовая нагрузка или плотность тока ПАЗ, при которых обеспечивается заявленный срок службы изделий;
- максимальная токовая нагрузка или плотность тока ПАЗ, допустимая при эксплуатации;
- предельная плотность тока РЭ при проведении ресурсных испытаний на подтверждение срока службы изделия;
- геометрические размеры ПАЗ;
- масса электропроводящей засыпки;
- массовая доля электропроводящего наполнителя РЭ ПАЗ из электропроводящего полимера;
- удельное сопротивление материала электропроводящей полимерной оболочки в радиальном (поперечном) и продольном направлении ПАЗ из электропроводящего полимера;
- удельное электрическое сопротивление материала электропроводящей засыпки;
- максимальное количество РЭ в ПАЗ секционной сборки (цепочке).
6.2.2 Требования к конструкции
6.2.2.1 Конструкция ПАЗ, его конструктивные размеры должны быть указаны в стандартах или ТУ на ПАЗ конкретных типов.
6.2.2.2 Тип и конструкцию ПАЗ определяют расчетом в соответствии с требованиями заказчика.
6.2.2.3 Конструкция ПАЗ в общем случае должна состоять из следующих основных элементов:
- токоотдающего РЭ;
- соединительного токопроводящего кабеля;
- контактного/соединительного узла;
- кабельного оконцевателя (капы).
Конструкцией ПАЗ в усиленном исполнении должно быть предусмотрено наличие упрочняющего сердечника в конструкции токопроводящей жилы РЭ.
6.2.2.4 ПАЗ должны иметь надежные контактные и соединительные узлы РЭ с кабелем, выполненные и изолированные в заводских условиях, не нарушаемые в процессе транспортирования, монтажа и эксплуатации.
Места соединений элементов ПАЗ должны быть надежно изолированы от электролитического контакта с грунтом. Конструкцией должно быть предусмотрено присоединение с одной или двух сторон кабельных выводов для подключения к контактным зажимам клеммной панели КИП.
6.2.2.5 Конструкции и схемы соединения РЭ ПАЗ между собой и токопроводящим кабелем следует выбирать с учетом минимального количества соединений, требующих изоляции в полевых условиях.
6.2.2.6 Конструкция РЭ ПАЗ должна обеспечивать равномерный износ материала РЭ по всей образующей в одном сечении.
Максимальная глубина дефектов поверхности РЭ, за исключением РЭ с покрытием КМ или MMO, не должна превышать 30% от толщины или диаметра РЭ и должна быть не более 5 мм.
6.2.2.7 Конструктивное исполнение/тип ПАЗ в общем случае должны состоять из следующих основных элементов:
- ПАЗ в стандартном исполнении представляет собой РЭ с подсоединенным в заводских условиях кабелем к одному или обоим его концам, обеспечивающим подключение к КИП;
- ПАЗ в виде линейного электрода секционной сборки (цепочки) представляет собой РЭ, концы которого соединены между собой соединительным кабелем, с подсоединенным в заводских условиях кабелем, обеспечивающим подключение секций к КИП либо КШ.
В конструкцию вертикальных ПАЗ секционной сборки (цепочки) дополнительно к основным частям по 6.2.2.3 должна (должно) входить несущая конструкция или приспособление, обеспечивающая(ее) соединение РЭ между собой и установку собранной конструкции в скважину.
Несущая конструкция или несущий кабель ПАЗ должны иметь запас прочности при растяжении, равный удвоенной массе максимального количества ПАЗ секционной сборки (цепочки) (без учета массы кабеля ПАЗ).
Конструкцией ПАЗ секционной сборки (цепочки) должны быть предусмотрены меры по отведению газообразных продуктов анодной реакции в процессе эксплуатации, например использование газоотводных трубок и подбор фракционного состава засыпки.
6.2.2.8 Конструкция комплектных ПАЗ дополнительно к основным элементам по 6.2.2.3 в общем случае должна состоять из следующих элементов:
- электропроводящей засыпки (активатора);
- защитной оболочки (чехла, кожуха, экрана и т.п.) из электропроводящего материала, снижающей сопротивление растеканию тока с РЭ, удерживающей засыпку при транспортировании и монтаже ПАЗ.
6.2.2.9 Конструкция ПАЗ должна обеспечивать удобство транспортирования и монтажа; возможность его ремонта или замены.
6.2.2.10 Расчетная масса и расчетный наружный диаметр ПАЗ должны быть указаны в качестве справочного материала в стандартах или ТУ на ПАЗ конкретных типов.
6.2.2.11 Строительная длина ПАЗ устанавливается проектом и согласовывается при заказе.
6.2.2.12 Допускается указывать другие конструктивные показатели в стандартах или ТУ на ПАЗ конкретных типов.
6.2.3 Требования к РЭ ПАЗ и токопроводящей жиле
6.2.3.1 Конструкция РЭ ПАЗ должна обеспечивать переход электрического тока с поверхности в грунт/воду и далее на защищаемое сооружение.
Конструктивные размеры и масса РЭ должны соответствовать требованиям стандартов или ТУ предприятия-изготовителя на ПАЗ конкретных типов.
Номинальная толщина оболочки электропроводящего полимера должна обеспечивать необходимый расчетный ресурс ПАЗ.
6.2.3.2 РЭ ПАЗ должен быть изготовлен из материала с низкой скоростью анодного растворения в условиях эксплуатации (см. 6.4.6).
6.2.3.3 РЭ может быть помещен в защитную оболочку (например, тканевую) с электропроводящей засыпкой. Засыпка должна равномерно распределяться в объеме оболочки без пропусков и пустот, но не препятствовать свертыванию ПАЗ в бухту установленного диаметра.
6.2.3.4 Конструкция РЭ ПАЗ из электропроводящего полимера представляет собой линейный цилиндрический проводник и в общем случае должна состоять:
- из токопроводящей жилы;
- одной или двух оболочек из электропроводящего полимера;
- защитной оболочки.
Различные варианты конструкций ПАЗ с РЭ из электропроводящих полимеров, а также варианты конструкций муфт и контактных узлов, примеры размещения в грунтах приведены в [13]. Основные технические характеристики РЭ ПАЗ из электропроводящего полимера:
- материал оболочки - электропроводящий полимер (эластомер) с содержанием электропроводного наполнителя в полимере <= 60% масс.;
- диаметр 25 - 70 мм (определяется КД);
- длина определяется проектом;
- удельная номинальная токовая нагрузка (плотность тока) - 25 - 50 мА/м2;
- скорость анодного растворения в режиме номинальной токовой нагрузки <= 600 г/(А·год);
- срок службы не менее 15 лет.
Конструкция медной токопроводящей жилы РЭ должна быть не ниже 2-го класса по ГОСТ 22483, с массовой долей меди не менее 99,9%. Токопроводящая жила РЭ должна быть выполнена из меди марки не хуже М1 по ГОСТ 859.
Номинальное сечение медной токопроводящей жилы должно быть не менее 10 мм2.
Допускается (по согласованию с потребителем) для ПАЗ в усиленном исполнении применение в токопроводящей жиле грузонесущего элемента (жгута), скрученного из полимерных нитей.
На токопроводящую жилу РЭ должна быть наложена одна или две оболочки из электропроводящего полимера:
- однослойная оболочка, представляющая собой покрытие из полимера повышенной электропроводности;
- двухслойная оболочка, представляющая собой: первый слой токозадающая оболочка - покрытие из полимера пониженной электропроводности; второй слой - токоотдающая оболочка - покрытие из полимера повышенной электропроводности.
Допускается применение для первого слоя электропроводящих полимерных композиций.
Назначение двухслойной оболочки:
- обеспечение оптимального значения анодного тока, стекающего с ПАЗ в средах с различным электрическим сопротивлением и при различном состоянии изоляционного покрытия трубопровода;
- обеспечение максимально возможной длины зоны защиты в заданных критериях и равномерности защитного потенциала.
Значение электрического сопротивления оболочек задается предприятием-изготовителем в процессе изготовления и может быть переменным по длине РЭ, и должно быть указано в стандартах или ТУ на ПАЗ с РЭ из конкретного электропроводящего полимера.
Оболочка РЭ ПАЗ из электропроводящего полимера должна быть сплошной, без посторонних включений, пузырей и трещин. На наружной поверхности оболочки не должно быть видимых механических повреждений, царапин, раковин, вмятин, вздутий и наплывов, выводящих толщину оболочки за предельные значения в соответствии с приведенными в стандартах или ТУ на РЭ ПАЗ конкретного типа.
Максимальная глубина дефектов на поверхности РЭ, за исключением электродов с покрытием MMO и КМ, не должна превышать 30% от толщины или диаметра ПАЗ, но не более 5 мм.
В поперечном сечении РЭ должен быть практически круглой формы.
Разность между двумя значениями диаметра по оболочке, измеренными в одном сечении (овальность), не должна превышать 15% от номинального наружного диаметра.
Эксцентриситет оболочки и токопроводящей жилы должен соответствовать ГОСТ 12177 и должен быть не более 20% от величины номинального наружного диаметра РЭ.
Прочность сцепления покрытия с токопроводящей жилой должна быть не менее 2,5 кг на длине покрытия (50 +/- 1,0) мм.
Прочность сцепления слоев покрытия между собой для РЭ ПАЗ с двухслойным покрытием должна быть не менее 1,0 кг на длине второго слоя покрытия (50 +/- 1,0) мм.
Исходная масса или удельная масса РЭ ПАЗ с электропроводящим полимером должна соответствовать указанной в стандартах или ТУ на ПАЗ с РЭ из электропроводящего полимера конкретного типа.
РЭ ПАЗ из электропроводящего полимера должен быть стойким к воздействию нефти и нефтепродуктов.
Химический состав РЭ ПАЗ, выполненного из маслобензостойкого электропроводящего полимера, должен соответствовать следующим требованиям:
- массовая доля электропроводящего наполнителя для однослойной оболочки РЭ не менее 60%; для двухслойной оболочки РЭ не менее 40%; для РЭ из иных полимеров не менее 40%.
Длина РЭ ПАЗ, выполненных на основе электропроводящего полимера, должна составлять от 5000 до 600 000 мм.
6.2.3.5 Конструкция РЭ ПАЗ, выполненных на основе КМ или MMO, в общем случае должна состоять:
- из подложки из вентильного металла (например, титана, ниобия и тантала и др.) в виде цилиндрической трубки, проволоки или иной симметричной формы, обеспечивающей функциональные свойства ПАЗ, с нанесенными на поверхность КМ или MMO, с предусмотренным местом для контактного узла;
- токопровода (из токопроводящей жилы или изолированного токопроводящего провода), концы которого должны быть присоединены к подложке.
Конструкция ПАЗ с РЭ, выполненным на основе КМ или MMO, для подземной прокладки представляет собой водопроницаемую защитную оболочку (рукав) из тканевого или полимерно-тканевого материала с электропроводящей засыпкой (активатором). Внутри электропроводящей защитной оболочки (рукава) с электропроводящей засыпкой коаксиально размещен изолированный токопровод, выполняющий функцию подвода и распределения электрического тока, к которому через промежутки 3000 - 5000 мм секционно подключены отрезки РЭ, выполненных на основе КМ или MMO.
Конструкция ПАЗ с РЭ, выполненным на основе КМ или MMO, для подводной прокладки не должна содержать электропроводящую засыпку (активатор).
РЭ, выполненные на основе КМ или MMO, и токопровод должны быть соединены через установленный интервал. Места соединения должны быть тщательно изолированы и герметизированы.
Полученные секционные РЭ собираются в линейную или комбинированную (цепочка-гирлянда) сборку и могут быть использованы в виде ПАЗ различных конструкций. Длина РЭ, выполненных на основе КМ или MMO, и их количество определяются в соответствии с КД предприятия-изготовителя.
Химический состав РЭ ПАЗ, выполненных на основе КМ или MMO, должен соответствовать следующим требованиям:
- массовая доля вентильного металла (титана, ниобия, тантала и др.) в основе подложки должна быть не менее (не ниже) 99,0%, что определяет напряжение пробоя подложки РЭ. Значение массовой доли конкретного вентильного металла в основе подложки должно соответствовать КД предприятия-изготовителя и быть указано в стандартах или ТУ на РЭ ПАЗ конкретных типов;
- при наличии в конструкции токопроводящего сердечника из меди массовая доля меди - не менее 99,9%.
На поверхности основы из вентильного металла (подложки) РЭ должно быть нанесено сплошное покрытие из КМ или MMO.
Поверхность РЭ ПАЗ, выполненных на основе КМ или MMO, должна быть сплошной, недопустимы трещины, сколы, отслоения, вздутия, посторонние включения, крупные поры, а также иные недопустимые дефекты покрытия более 0,5% от площади рабочей поверхности. РЭ не должен иметь изломов, перегибов, трещин и иных механических дефектов. Царапины, потертости, пропуски покрытия из MMO, видимые при визуальном осмотре и десятикратном увеличении, недопустимы. Цвет покрытия должен быть равномерный по всей рабочей поверхности, для покрытия из КМ - светлого металлического оттенка; MMO - черного оттенка.
Конструктивные размеры и масса РЭ ПАЗ, выполненных на основе КМ или MMO, должны соответствовать требованиям, указанным в стандартах или ТУ предприятия-изготовителя. Толщина покрытия КМ или MMO РЭ должна быть не менее 1,0 мкм. Положительные допуски по толщине покрытия не нормируются, отрицательные допуски по толщине покрытия недопустимы.
Длина РЭ ПАЗ, выполненных на основе КМ или MMO, должна составлять от 500 до 5000 мм.
Диаметр трубки подложки РЭ ПАЗ, выполненных на основе КМ или MMO, должен составлять не менее 10,0 мм и не более 60,0 мм. Номинальная толщина стенки трубки из титана должна составлять не менее 1,0 мм.
Среднее значение площади рабочей поверхности РЭ ПАЗ, выполненных на основе КМ или MMO одной партии, должно быть не менее рассчитанного на основании номинальных геометрических параметров - диаметра и длины рабочей поверхности РЭ ПАЗ.
Масса единичного РЭ ПАЗ, выполненных на основе КМ или MMO (без кабеля и герметизирующих материалов), в общем случае может составлять от 0,1 до 3,0 кг.
Детали, применяемые для обеспечения электрического контакта кабелей с РЭ ПАЗ, выполненных на основе КМ или MMO, должны обеспечивать прочное прилегание к внутренней поверхности РЭ ПАЗ.
РЭ ПАЗ, выполненные на основе КМ или MMO, должны иметь гладкую поверхность, неизолируемые поверхности углы/ребра должны быть скруглены/сглажены до нанесения КМ или MMO покрытия.
6.2.3.6 Рабочая длина РЭ определяется проектом и оговаривается при заказе.
Рабочей длиной РЭ считается расстояние L от места соединения РЭ с муфтой (контактным узлом) до другой муфты (контактного узла) и/или капы (от одного свободного разделанного конца рабочей поверхности РЭ до второго) и может составлять от 5000 до 600 000 мм.
Верхнее предельное отклонение от рабочей длины РЭ - плюс 0,2%.
Нижнее предельное отклонение от рабочей длины РЭ - 0.
6.2.4 Требования к контактному/соединительному узлу ПАЗ
6.2.4.1 Контактный/соединительный узел ПАЗ в общем случае должен состоять:
- из токоотдающего РЭ;
- соединительного токопроводящего кабеля;
- гибкого силового кабеля - для кабельного вывода; для соединения с РЭ типа КМ или MMO;
- медной кабельной гильзы (соединение токопроводящих жил осуществляется одним из методов - опрессовкой монтажной гильзы; контактной сваркой; пайкой; болтовым соединением);
- термоусаживаемой трубки;
- электроизоляционных лент;
- кожуха поверх муфты-тройника или без него.
6.2.4.2 Контактные/соединительные узлы ПАЗ должны обеспечивать надежное соединение и электрический контакт между элементами ПАЗ (токоотдающий РЭ и соединительный/выводной кабель), выполненными и изолированными в заводских условиях, не нарушаемые в процессе транспортирования, монтажа и эксплуатации.
6.2.4.3 На поверхности контактных и соединительных узлов недопустимы механические повреждения, прожоги, изломы, трещины, вспучивания.
Изолирующие слои контактного/соединительного узла должны плотно прилегать к РЭ и кабелю.
6.2.4.4 Контактные электрические соединения должны соответствовать требованиям ГОСТ 10434.
6.2.4.5 Контактный/соединительный узел ПАЗ должен быть герметичен в течение всего срока эксплуатации и иметь изоляцию термоусаживаемой муфтой, предотвращающей проникновение грунтового электролита (рабочей среды) в место электрического соединения РЭ и кабеля.
Термоусаживаемая муфта должна плотно прилегать к оболочке кабеля и перекрывать восстановленный изоляционный слой.
6.2.4.6 Изоляция контактного узла должна быть химически стойкой к воздействию продуктов реакции анодного растворения, в том числе соединений хлора, и условиям эксплуатации.
6.2.4.7 Работоспособность контактного узла должна быть не менее срока службы ПАЗ.
6.2.5 Требования к токопроводящему кабелю ПАЗ
6.2.5.1 Токопроводящий кабель (далее - кабель) ПАЗ должен соответствовать требованиям ГОСТ 31996, ГОСТ 16442, ГОСТ Р 51164, ГОСТ 15150, а также требованиям, приведенным в 6.2.5.2 - 6.2.5.8.
Основные конструктивные размеры кабеля на номинальное переменное напряжение 0,66 кВ номинальной частотой 50 Гц должны соответствовать указанному в ГОСТ 31996, ГОСТ 16442.
Кабель для подземных ПАЗ должен быть предназначен для эксплуатации в грунте, для подводных ПАЗ - в воде.
6.2.5.2 Кабель должен состоять:
- из одной медной токопроводящей жилы не ниже 2-го класса по ГОСТ 22483, с покрытием или без, с массовой долей меди не менее 99,9%. Марка меди должна быть не хуже М1 по ГОСТ 859. Номинальное сечение медной токопроводящей жилы следует выбирать из ряда и быть не менее 10, 16, 25, 35, 50 мм2;
- электропроводящей полимерной изоляции и оболочки, химически стойкой к воздействию продуктов реакции анодного растворения, в том числе соединений хлора, и условиям эксплуатации ПАЗ: грунтовые воды, морская вода, рассолы или разбавленные растворы кислот и щелочей и др.
6.2.5.3 На поверхности изоляционно-защитной оболочки кабеля наличие трещин, вмятин, пузырей и других дефектов не допускается. Изоляционный слой кабеля должен плотно прилегать к токопроводящей жиле.
6.2.5.4 Для увеличения механической прочности кабеля, в том числе на разрыв, допускается наложение брони на оболочку.
6.2.5.5 Кабели не должны иметь обрывов токопроводящих жил, брони (при наличии).
6.2.5.6 Кабель ПАЗ для подводной прокладки должен соответствовать требованиям ГОСТ 31996, ГОСТ 16442, ГОСТ 15150 по климатическим условиям эксплуатации, а также следующим требованиям:
- одножильный многопроволочный кабель с изоляцией и оболочкой из полимерных материалов;
- сечение токоподводящей жилы - не менее 10 мм2;
- наличие трещин, вмятин и пузырей на поверхности оболочки не допускается;
- изоляция и оболочка токопроводящей жилы должны быть химически стойкими к воздействию продуктов реакции анодного растворения (в том числе соединений хлора) и условиям эксплуатации (рассолы или разбавленные растворы кислот и щелочей).
6.2.5.7 Токопроводящий кабель ПАЗ для подводной прокладки должен иметь изоляцию и оболочку, стойкую к воздействию подводной среды в течение всего срока эксплуатации по ГОСТ 14254.
6.2.5.8 Для ПАЗ вертикальной прокладки длина кабеля каждого отдельного РЭ должна определяться глубиной его установки в скважине, при этом должен быть обеспечен запас кабеля на дневной поверхности грунта от каждого электрода длиной не менее 2 м.
6.2.5.9 Длину кабельного вывода указывают в стандартах или ТУ на ПАЗ конкретных типов или устанавливают по согласованию с заказчиком.
6.2.6 Требования к электропроводящей засыпке (активатору)
6.2.6.1 РЭ в конструкции комплектных ПАЗ в соответствии с ГОСТ Р 51164 может быть размещен в слое электропроводящей засыпки (активатора), снижающей сопротивление растеканию тока с РЭ, удерживаемого оболочкой из прочного материала, не препятствующего протеканию электрического тока в условиях применения и предотвращающего высыпание засыпки при транспортировании и монтаже ПАЗ. Для обеспечения механической прочности оболочки применяют оплетку.
6.2.6.2 Электропроводящая засыпка должна обеспечивать снижение переходного сопротивления "анод-грунт", уменьшение скорости растворения РЭ и увеличения площади токоотдающей поверхности.
Электропроводящая засыпка (активатор) РЭ ПАЗ должна иметь положительное заключение по результатам санитарно-эпидемиологической экспертизы.
6.2.6.3 Фракционный состав электропроводящей засыпки ПАЗ должен быть:
- менее 0,5 мм - не более 5%;
- от 0,5 до 5 мм - не менее 90%;
- более 5 мм - не более 5%.
Химический и фракционный состав засыпки должен соответствовать требованиям стандартов или ТУ на ПАЗ предприятия-изготовителя.
6.2.6.4 Консистенция электропроводящей засыпки должна быть однородной в виде сыпучей смеси либо массы - коксовой, углеграфитовой, шунгитовой и т.д., или их сочетания и представлять собой однородную смесь без посторонних включений и загрязнений.
6.2.6.5 Электропроводящая засыпка должна быть равномерно распределена в объеме оболочки без пропусков и пустот, но не препятствовать свертыванию ПАЗ в бухту установленного диаметра. Толщина слоя активатора должна соответствовать КД предприятия-изготовителя.
Рекомендуемая толщина слоя токопроводящей засыпки - не менее 15 мм.
6.2.7 Требования к защитной оболочке и оплетке
6.2.7.1 Защитная оболочка и оплетка должны предотвращать высыпание электропроводящей засыпки (активатора) при транспортировании и монтаже ПАЗ и обладать механической прочностью, необходимой для доставки ПАЗ к месту эксплуатации, намотке и размотке на транспортировочный барабан, при монтаже ПАЗ без нарушений работоспособности.
6.2.7.2 Для обеспечения однородности распределения активатора внутри оболочки, ее свойств и механической прочности поверх оболочки накладывают оплетку из прочных нитей, материал которых не должен препятствовать распространению электрического тока в условиях применения.
Материал и схема нанесения оплетки должны соответствовать требованиям стандартов или ТУ на ПАЗ конкретных типов предприятия-изготовителя.
6.2.7.3 Защитная оболочка и оплетка не должны снижать номинальный ток (плотность тока), определенный для РЭ ПАЗ.
Защитная оболочка и оплетка не должны ухудшать электропроводящие свойства активатора.
6.2.7.4 Допускается применение центрирующих приспособлений из диэлектрических материалов для обеспечения расположения РЭ в оболочке.
6.2.7.5 Защитная оболочка должна быть изготовлена из прочного износостойкого влагопроницаемого материала (например, углеродного полотна), не препятствующего распространению электрического тока в условиях применения.
На поверхности защитной оболочки не должно быть видимых нарушений сплошности (отверстия, разрывы, уменьшение толщины более 50%). Цвет материала должен быть однородным без резких изменений, пятен. Наличие сквозных дефектов защитной оболочки недопустимо.
6.2.7.6 На поверхности оплетки не должно быть видимых нарушений сплошности нанесения, прожогов, обрывов более 20% нитей в одном сечении и других дефектов, предусмотренных в стандартах или ТУ на ПАЗ конкретных типов.
6.2.7.7 Конструктивные размеры защитной оболочки и оплетки должны соответствовать требованиям стандартов или ТУ на ПАЗ конкретных типов.
6.2.7.8 Оплетка, не обладающая электропроводящими свойствами (удельное сопротивление более 100 Ом·м), не должна снижать площадь внешней поверхности защитной оболочки ПАЗ более чем на 20%.
6.2.7.9 Изолирующие слои (маркировка, изоляция контактных узлов, концевых заделок и т.д.) на внешней поверхности РЭ и ПАЗ в целом не должны снижать площадь рабочей поверхности более чем на 20%.
6.2.8 Требования к ПАЗ для подводной прокладки
6.2.8.1 ПАЗ для подводной прокладки должны быть преимущественно с РЭ, выполненным на основе КМ или MMO сплавов.
6.2.8.2 Конструкция ПАЗ для подводной прокладки должна предусматривать размещение РЭ в специальном перфорированном диэлектрическом экране или буйковом модуле, предназначенном для защиты ПАЗ от механических повреждений.
6.2.8.3 Конструкция ПАЗ для подводной прокладки должна обеспечивать возможность закрепления ПАЗ на подводной конструкции или специальной утяжеляющей оснастке (донном модуле).
6.2.8.4 ПАЗ для подводной прокладки с РЭ, выполненным на основе КМ или MMO сплавов, должен обеспечивать плотность защитного тока не менее 100 А/м2.
6.2.8.5 Электрохимический эквивалент материала РЭ ПАЗ для подводной прокладки, выполненного на основе КМ или MMO сплавов, не должен превышать следующих значений:
электрохимический эквивалент Q - не более 0,01 А·год;
токовая нагрузка I - не более 1000 А/м2.
6.2.8.6 ПАЗ для подводной прокладки с РЭ, выполненным на основе КМ или MMO сплавов, должны обеспечивать плотность защитного тока не менее 200 А/м2.
6.3 Требования к электрическим параметрам
6.3.1 Основные электрические параметры ПАЗ с РЭ из электропроводящего полимера должны быть указаны в стандартах или ТУ на ПАЗ конкретных типов, при этом:
- удельное электрическое сопротивление токозадающей оболочки РЭ в двухслойном исполнении должно быть в диапазоне 50 - 3000 Ом·м при температуре 20 °C (определяется проектом);
- продольное электрическое сопротивление должно быть в диапазоне (3,6 - 7,2)·10-4 Ом/м;
- поперечное (радиальное) электрическое сопротивление - 10 - 1000 Ом·м;
- постоянная распространения тока, без учета вмещающей среды (грунта) - 3,2·10-3 - 6,0·10-4 1/м;
- номинальная линейная плотность тока в зависимости от типа - 0,05 - 0,25 А/пог. м.
Расчетный УАР ПАЗ с РЭ из электропроводящего полимера должен быть обеспечен количеством электропроводящего (углеродного) наполнителя.
6.3.2 Электрическое сопротивление токопроводящей жилы постоянному току, пересчитанное на 1 км длины и температуру 20 °C, должно соответствовать ГОСТ 22483.
6.3.3 Значения удельного электрического сопротивления оболочки РЭ из электропроводящего полимера в стандартном исполнении должно быть не более 5 Ом·м при температуре 20 °C и соответствовать требованиям стандартов или ТУ на ПАЗ конкретных типов с отклонениями не более +/- 15%.
6.3.4 Удельная плотность анодного тока (удельная токовая нагрузка на электроды в режиме КЗ) должна быть не менее 25 мА/м2 и соответствовать указанному в стандартах или ТУ на ПАЗ конкретных типов.
6.3.5 Основные электрические параметры ПАЗ с РЭ, выполненным с применением КМ или MMO, должны быть указаны в стандартах или ТУ предприятия-изготовителя, при этом:
- номинальная токовая нагрузка на секцию ПАЗ в активном грунте и воде должна быть не менее 2 А/м;
- максимальная токовая нагрузка на секцию ПАЗ должна быть не более 8 А/м;
- скорость анодного растворения в номинальном токовом режиме в грунте должна быть не более 0,01 г/(А·год), в морской воде не более 0,015 г/(А·год).
Значение номинальной плотности тока на единичный РЭ ПАЗ, выполненный на основе КМ или MMO, - 2 А/м2.
Примечание - Потенциал пробоя материала подложки в РЭ ПАЗ (например, титана, ниобия, тантала) в зависимости от марки металла (материала), состава электролита (среды), температуры, времени поляризации и т.д., полученный в одних и тех же условиях, - для марки титана ВТ1-0 - 8 В; ВТ1-00 - 10 В, для титана высокой чистоты (йодидный титан) - 14 В.
При увеличении содержания алюминия в титановом сплаве потенциал пробоя оксидной пленки TiO2 уменьшается в три раза.
Потенциал пробоя оксидной пленки титана марки ВТ1-0 - 9 В. Для исключения его электрокоррозии потенциал не должен превышать 8 В:
- потенциал пробоя титана марки ВТ1-00 - 10 В (что на 1 В выше, чем у титана марки ВТ1-0);
- потенциал пробоя анодной поляризации йодидного титана - 13 В (что на 4 В выше, чем у титана марки ВТ1-0);
- потенциал пробоя ниобия марки Нб-1-80 - 100 В, тантала 90 - 100 В <1>.
--------------------------------
<1> Приведенные значения потенциалов пробоя сплавов титана, ниобия и тантала, используемых при изготовлении подложек для РЭ ПАЗ, выполненных с применением КМ или MMO в качестве справочного материала.
6.3.6 Электродный потенциал ПАЗ относительно медно-сульфатного электрода сравнения должен быть не более 0,4 В.
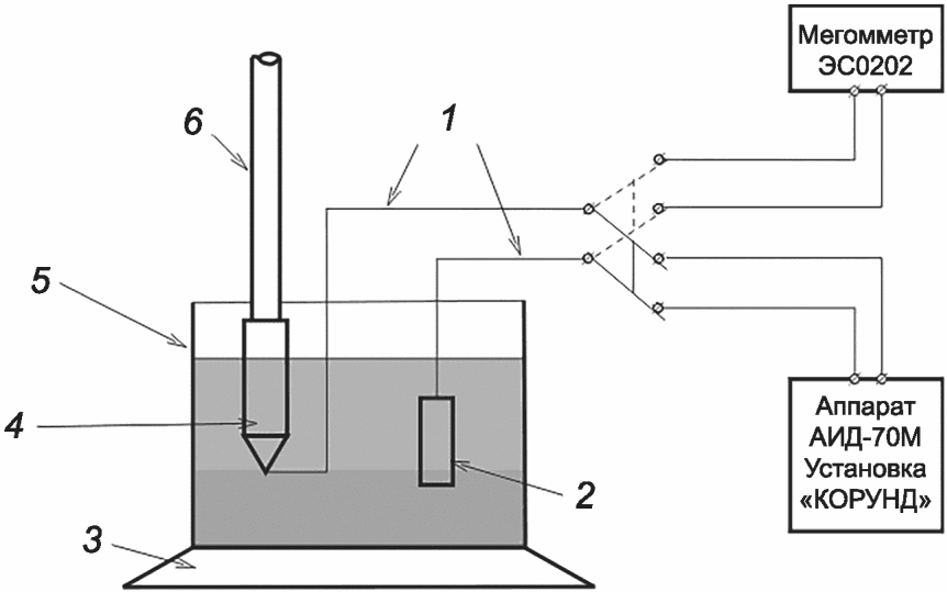
6.3.7 Электрическое сопротивление изоляции кабелей дренажных линий ПАЗ для подводной прокладки после выдержки в воде в течение 3 ч, пересчитанное на 1 км длины при температуре 20 °C в соответствии с ГОСТ 3345, должно быть не менее 100 МОм.
6.3.8 Удельное электрическое сопротивление токопроводящей засыпки должно быть не более 1,0 Ом·м.
6.3.9 В проводе и кабеле ПАЗ не должно быть обрывов токопроводящих жил.
6.3.10 Требование к электрическим параметрам контактного/соединительного узла ПАЗ
6.3.10.1 Электрическая прочность электроизоляционных материалов, применяемых для восстановления изоляции в контактном/соединительном узле, а также для изготовления его деталей, должна быть не менее 15 МВ/м.
6.3.10.2 Электрическое сопротивление изоляции кабеля и изоляционного покрытия контактного/соединительного узла (в том числе тройных стыков) ПАЗ в водно-солевой среде должно быть не менее 100 МОм при напряжении 500 В.
6.3.10.3 Электрическое сопротивление изоляции контактного/соединительного узла ПАЗ должно быть не менее 100 МОм в воздушной среде и выдерживать испытание напряжением на проход не менее 5 кВ на 1 мм толщины изоляции, но не более 20 кВ при толщине изоляции более 4 мм.
Допускается подтверждение диэлектрической прочности контактного/соединительного узла с помощью искрового дефектоскопа при напряжении 20 кВ.
6.3.10.4 Переходное электрическое сопротивление контактных соединений токоподводящего кабеля с токопроводом РЭ ПАЗ, а также контактных соединений кабелей РЭ при линейной сборке должно быть не более 0,01 Ом. Показатель измеряют после изготовления контактного узла.
6.3.10.5 Контактный узел РЭ ПАЗ для подводной прокладки и токоотводящий кабель должны иметь изоляцию с сопротивлением не менее 100 МОм. Допускается подтверждение диэлектрической прочности контактного узла с помощью искрового дефектоскопа при напряжении 20 кВ.
6.3.11 Контактный/соединительный узел и капа, смонтированные на РЭ и кабеле, должны выдержать испытание постоянным напряжением 5 кВ в течение 10 мин, измеренное после выдержки в воде в течение 1 ч при температуре (25 +/- 10) °C.
6.3.12 Электрическое сопротивление изоляции торца нерабочего конца РЭ - кабельного оконцевателя должно быть не менее 106 Ом.
6.4 Требования надежности
6.4.1 Требования надежности - по ГОСТ 27.003.
6.4.2 ПАЗ должны сохранять работоспособное состояние в течение всего срока службы (включая контактные узлы и токопроводящие кабели), в пределах которого обеспечивается минимальная наработка и сохраняемость, срок службы должен быть указан в стандартах или ТУ на ПАЗ конкретных типов и составлять, при соблюдении удельной токовой нагрузки или плотности тока, в режиме КЗ, независимо от условий их эксплуатации для строящихся и реконструируемых сооружений не менее 15 лет.
6.4.3 ПАЗ должны иметь повышенную надежность (не менее 30000 ч наработки на отказ). Зависимость между наработкой и температурой окружающей среды при эксплуатации ПАЗ должна быть указана в стандартах или ТУ на ПАЗ конкретных типов.
6.4.4 Фактический срок службы ПАЗ не ограничивается сроком службы, установленным в настоящем стандарте и в стандартах или ТУ на ПАЗ конкретных типов, а определяется техническим состоянием ПАЗ.
6.4.5 Срок службы кабелей и проводов, входящих в заводскую комплектацию ПАЗ, должен соответствовать сроку службы ПАЗ.
6.4.6 Значения скорости растворения анодного материала РЭ ПАЗ как основного критерия срока службы при номинальной токовой нагрузке для наиболее часто используемых анодных материалов приведены в ГОСТ Р 9.607-2022 (пункт 5.2.2).
6.4.7 Ресурс ПАЗ должен соответствовать требованиям стандартов или ТУ предприятия-изготовителя на ПАЗ конкретных типов.
6.4.8 Для РЭ ПАЗ, выполненных на основе КМ или MMO, ресурс должен быть подтвержден в результате ускоренных ресурсных испытаний.
6.5 Требования стойкости к внешним воздействиям
6.5.1 Требования стойкости к механическим воздействиям
6.5.1.1 По стойкости к механическим внешним воздействующим факторам при эксплуатации ПАЗ должны соответствовать группе механического исполнения М1 по ГОСТ 30631.
6.5.1.2 Основные параметры стойкости при механических воздействиях на РЭ ПАЗ из электропроводящих полимеров должны быть приведены в стандартах или ТУ на ПАЗ конкретных типов, с учетом требований, приведенных в 6.5.1.3 - 6.5.1.8.
6.5.1.3 ПАЗ должны быть стойкими к изгибам на радиус не менее 15DН (где DН - номинальный диаметр ПАЗ без видимых следов разрушений).
6.5.1.4 РЭ ПАЗ из электропроводящих полимеров должен быть прочным при растяжении.
РЭ ПАЗ из электропроводящих полимеров должен выдерживать растягивающее усилие не менее 50 Н/мм2.
Для ПАЗ с РЭ из электропроводящих полимеров, с применением токопроводящей жилы с упрочняющим сердечником, растягивающее усилие должно составлять для токопроводящей жилы сечением:
- 10 мм2 - не более 5000 Н;
- 16 мм2 - не более 7500 Н;
- 25 мм2 - не более 10 000 Н;
- 35 - 50 мм2 - 15 000 Н.
6.5.1.5 Контактный узел токопроводящего кабеля с РЭ ПАЗ должен выдерживать статическую механическую нагрузку без снижения электропроводящих свойств не менее 1000 Н.
6.5.1.6 На поверхности изоляции контактных узлов недопустимы механические повреждения, прожоги, изломы, трещины, вспучивания.
6.5.1.7 Основные параметры стойкости при механических воздействиях РЭ ПАЗ с применением КМ или MMO определяются стойкостью КМ или MMO подложки к охрупчиванию и отслаиванию и должны быть указаны в стандартах или ТУ на ПАЗ конкретных типов и соответствовать 6.5.1.5 по показателям прочности при статической механической нагрузке контактных соединений ПАЗ.
6.5.1.8 Применяемые материалы и комплектующие ПАЗ для подводной прокладки должны иметь повышенную механическую стойкость к волновому и истирающему воздействию и должны быть указаны в стандартах или ТУ на ПАЗ предприятия-изготовителя.
6.5.2 Требования стойкости к климатическим воздействиям
6.5.2.1 ПАЗ должны быть стойкими к воздействию повышенной температуры окружающей среды. Максимальное значение температуры окружающей среды должно быть указано в стандартах или ТУ на ПАЗ конкретных типов и составлять для грунта и воды не менее 60 °C, для прокладки в каналах теплосетей - не менее 90 °C.
6.5.2.2 ПАЗ должны быть стойкими к воздействию пониженной температуры окружающей среды. Минимальное значение температуры окружающей среды должно быть указано в стандартах или ТУ на ПАЗ конкретных типов со следующими дополнениями:
- для грунта - не более минус 20 °C;
- для воды - не более минус 4 °C.
6.5.2.3 ПАЗ должны быть стойкими к воздействию изменения температуры окружающей среды. Значения температур (повышенной и пониженной) окружающей среды при эксплуатации должны соответствовать значениям, указанным в стандартах или ТУ на ПАЗ конкретных типов.
6.5.2.4 ПАЗ должны быть стойкими к воздействию нефтепродуктов, горюче-смазочных материалов (бензин, дизельное топливо, мазут и др.) и соответствовать следующим требованиям:
- изменение прочности полимерного материала ПАЗ при растяжении после выдержки в индустриальных маслах при температуре 100 °C не должно превышать 50% относительно исходных значений;
- изменение удельного электрического сопротивления материала после выдержки в индустриальных маслах не должно превышать 50% исходных значений.
Испытание на стойкость к нефтепродуктам проводят по ГОСТ 25018 после выдержки образцов в индустриальных маслах И-40А и И-50А по ГОСТ 20799 при температуре 100 °C в течение 24 ч. Изменение показателя прочности свойств по ГОСТ 25018 и электрических по ГОСТ 20214 не должно превышать 50%.
6.5.2.5 ПАЗ должны быть стойкими к воздействию электролитической среды с pH от 3,5 до 11.
6.5.2.6 Допускается применение соединительных кабелей с расширенным диапазоном рабочих температур.
6.5.2.7 Узлы соединения РЭ, кабелей (контактный узел) и концевой заделки (капа) в ПАЗ должны быть продольно герметичны от распространения воды.
6.6 Требования к сырью, материалам, покупным изделиям
6.6.1 Сырье, материалы, покупные изделия перед применением должны пройти верификацию закупленной продукции в соответствии с требованиями ГОСТ 24297 и действующими на предприятии - изготовителе ПАЗ документами СМК.
6.6.2 Сырье, материалы и покупные изделия, применяемые для изготовления ПАЗ, должны соответствовать требованиям НД, иметь сопроводительную документацию, подтверждающую их соответствие нормативным требованиям, включая паспорт качества, сертификаты соответствия и другую сопроводительную документацию предприятий-поставщиков.
6.6.3 Марки (рецептуры) материалов, применяемых для изготовления ПАЗ, должны быть указаны в стандартах или ТУ на ПАЗ конкретных типов.
Выбор и замену материалов проектными и эксплуатирующими организациями, а также применение новых материалов и материалов, применяемых для ремонта и монтажа ПАЗ, следует осуществлять по согласованию с предприятием-изготовителем.
6.6.4 При неполных данных в документе о качестве полуфабрикатов, материалов и комплектующих изделий, предназначенных для изготовления ПАЗ, их применение допускается только после проведения предприятием-изготовителем необходимых контроля и/или испытаний, подтверждающих полное соответствие полуфабрикатов, материалов и комплектующих изделий установленным требованиям.
6.6.5 Материалы для ПАЗ следует выбирать с учетом грунтовых условий климатических районов эксплуатации ПАЗ.
Требования к применяемым материалам для изготовления ПАЗ должны назначаться исходя из необходимости обеспечения срока эксплуатации защищаемого сооружения и составлять не менее 15 лет.
6.7 Требования к комплектности
6.7.1 Требования к сопроводительной документации ПАЗ должны быть согласованы при заказе.
6.7.2 В комплект поставки ПАЗ в общем случае должны входить:
- ПАЗ (исполнение, количество и длина кабеля в соответствии с требованием заказчика);
- комплект материалов и приспособлений для монтажа ПАЗ при линейной сборке (соединительные детали для соединения секций ПАЗ, соединительные кабели, кабельные наконечники, кабельные зажимы, концевые муфты, центрирующие кольца и т.д.), если это оговорено при заказе;
- газоотводная трубка для ПАЗ вертикального размещения, в соответствии с требованием заказчика;
- эксплуатационная документация;
- сертификат или декларация о соответствии требованиям [2] (заверенная копия);
- электропроводящая засыпка (активатор) для некомплектного ПАЗ;
- упаковочный лист.
6.7.3 Виды и комплектность ЭД, правила комплектования и оформления должны соответствовать ГОСТ Р 2.601 и ГОСТ Р 2.610.
6.7.4 Комплектные ПАЗ должны поставляться в полной заводской готовности, а также с приспособлениями для монтажа, если это указано в проекте.
6.7.5 Сопроводительную документацию вкладывают в упаковку ПАЗ. Для ее извлечения не должна требоваться полная распаковка ПАЗ.
6.8 Требования к маркировке
6.8.1 Маркировка ПАЗ должна соответствовать [14], ГОСТ 18690, ГОСТ 14192 с дополнениями, изложенными в настоящем подразделе и стандартах или ТУ на ПАЗ конкретных типов.
6.8.2 ПАЗ должны иметь маркировку в виде надписи, нанесенную на защитную оболочку РЭ с интервалом не более 1,5 м.
Надпись должна содержать:
- наименование или товарный знак предприятия-изготовителя;
- тип ПАЗ;
- метровую отметку, например, в виде поперечной полосы с шагом 1,0 м;
- обозначение ТУ и настоящего стандарта;
- дату изготовления (месяц, год).
Цвет цифр (букв), выполненных печатным способом, должен быть контрастным по отношению к цвету защитной оболочки.
Маркировка, нанесенная печатным способом, должна быть четкой и прочной.
Маркировка, произведенная по рабочей поверхности РЭ ПАЗ, не должна влиять на электрические параметры ПАЗ и срок его службы.
При секционной поставке ПАЗ маркировку наносят на каждую секцию.
6.8.3 Транспортная маркировка должна соответствовать ГОСТ 14192.
На щеке барабана или на внешней упаковке (например, ящике), или на ярлыке, прикрепленном к барабану, ящику (при секционной поставке) или бухте, должна быть нанесена маркировка, осуществляемая способом, обеспечивающим ее сохраняемость во время транспортирования и хранения, и содержащая следующую информацию:
- наименование или товарный знак предприятия-изготовителя;
- наименование ПАЗ;
- условное обозначение ПАЗ;
- обозначение НД на ПАЗ; если изделие изготовлено в соответствии с требованиями стандарта вида ОТУ, то кроме обозначения ТУ указывается обозначение стандарта ОТУ;
- комплект поставки;
- сведения о сертификации продукции - знак соответствия;
- номер партии или серийный номер;
- дата изготовления (месяц, год);
- масса ПАЗ брутто (при поставке на барабанах) или нетто (при поставке в бухтах) в килограммах;
- наименование страны-изготовителя, а именно: "Сделано в ...".
Отклонение массы нетто не должно превышать указанного в ГОСТ 8.579.
6.8.4 Маркировка транспортной тары должна соответствовать ГОСТ 14192.
6.8.5 Маркировка ПАЗ, предназначенных для поставки на экспорт, должна соответствовать требованиям контракта (договора) на поставку.
На ярлыке должно быть проставлено клеймо технического контроля предприятия-изготовителя.
Допускается в содержании маркировки указывать дополнительную информацию, указанную в стандартах или ТУ на ПАЗ конкретных типов.
6.8.6 На транспортную тару наносят манипуляционные знаки: "Хрупкое. Осторожно", "Не бросать! Беречь от удара", "Беречь от влаги". При упаковке в деревянные ящики дополнительно наносят манипуляционные знаки: "Верх", "Не кантовать".
Манипуляционные знаки, основные и дополнительные, а также информационные надписи должны быть указаны в стандартах или ТУ на ПАЗ конкретных типов.
6.8.7 Способ и средства нанесения маркировки должны соответствовать требованиям ГОСТ 14192.
6.8.8 При поставке на одном барабане более одного ПАЗ должна быть указана длина каждого ПАЗ.
6.9 Требования к упаковке
6.9.1 Упаковка ПАЗ должна соответствовать требованиям ГОСТ 23170, ГОСТ 23216, ГОСТ 18690 с дополнениями, изложенными в настоящем стандарте и в стандартах или ТУ на ПАЗ конкретных типов.
6.9.2 ПАЗ в зависимости от типа и конструкции должны поставляться на барабанах по ГОСТ 5151, в деревянных ящиках по ГОСТ 16511.
Допускается ПАЗ с токопроводящими жилами номинальным сечением до 16 мм2 включительно сматывать в бухты. Масса бухты не должна превышать 50 кг.
Бухты должны быть упакованы в полиэтиленовую пленку по ГОСТ 10354.
По согласованию между предприятием-изготовителем и заказчиком допускаются другие виды упаковки ПАЗ.
6.9.3 При поставке ПАЗ на барабанах диаметр шейки барабана должен соответствовать 6.5.1.3.
6.9.4 Барабан с ПАЗ должен иметь полную или частичную обшивку досками в соответствии с ГОСТ 5151, обтянутыми по краям стальной упаковочной лентой или скрепленными проволокой, или в виде матов, уложенных на ПАЗ.
Сумма равномерно распределенных по окружности барабана просветов между досками при частичной обшивке должна быть не более 50%. Просвет между отдельными досками при частичной обшивке должен быть не более ширины наиболее узкой доски.
Для полимерных ПАЗ под частичной обшивкой или матами должна быть уложена в два слоя упаковочная битумированная бумага по ГОСТ 515 или другие упаковочные материалы, защищающие ПАЗ от прямого солнечного света и солнечной радиации.
6.9.5 Для ПАЗ линейной сборки секции РЭ упаковывают в деревянные ящики по ГОСТ 5959, ГОСТ 10198 с прокладкой перегородками, предотвращающими их свободное перемещение и повреждение во время транспортирования.
6.9.6 Комплект материалов и приспособлений для монтажа ПАЗ должен быть упакован в гофрокороб по ГОСТ 9142 или другую упаковку, предотвращающую их свободное перемещение и повреждение во время транспортирования. Упакованные в гофрокороб или другую упаковку комплектующие поставляются в одном ящике с ПАЗ.
6.9.7 Сопроводительная эксплуатационная документация должна быть вложена в водонепроницаемую упаковку по ГОСТ 10354 и прикреплена снаружи к щеке барабана, деревянному ящику, бухте с комплектом материалов и приспособлений для монтажа ПАЗ.
6.9.8 Упаковка ПАЗ должна обеспечивать сохранность и качество продукции в течение всего срока хранения в условиях, указанных предприятием-изготовителем в стандартах или ТУ на ПАЗ конкретных типов.
6.9.9 Упаковка ПАЗ, предназначенного для поставки на экспорт, должна соответствовать требованиям контракта (договора) на поставку.
6.9.10 По требованию заказчика допускаются другие виды упаковки, не противоречащие 6.9.1.
7 Требования безопасности
7.1 Общие требования безопасности
7.1.1 ПАЗ должны соответствовать требованиям [2], [6], требованиям безопасности по ГОСТ 12.2.007.0, ГОСТ 12.2.003.
7.1.2 Погрузочно-разгрузочные работы следует выполнять в соответствии с требованиями ГОСТ 12.3.009.
7.1.3 При проведении испытаний, контроля и проверок необходимо соблюдать требования безопасности на соответствующие виды работ, в том числе требования электробезопасности и [15].
7.1.4 К испытаниям ПАЗ должен быть допущен только квалифицированный персонал, прошедший инструктаж о возможных воздействующих факторах и методах безопасного выполнения работ.
7.1.5 При выполнении испытаний в натурных (трассовых) условиях на промышленных объектах, в том числе опасных, необходимо соблюдать правила безопасности, распространяющиеся на данные виды объектов.
7.1.6 При выполнении испытаний в лабораторных условиях необходимо соблюдать требования [16].
7.1.7 Производственные помещения должны быть оборудованы приточно-вытяжной вентиляцией по ГОСТ 12.4.021.
7.1.8 Требования к обеспечению безопасности работающих при транспортировании, монтаже (демонтаже), вводе в эксплуатацию ПАЗ, при эксплуатации в соответствии с руководством (инструкцией) по монтажу, ремонту и эксплуатации должны соответствовать ГОСТ 12.2.003.
7.2 Требования электрической безопасности
7.2.1 Требования электрической безопасности ПАЗ должны соответствовать ГОСТ 12.2.007.14, ГОСТ 12.1.019, [6] и обеспечиваться конструкцией РЭ ПАЗ и применяемыми материалами.
7.2.2 Электрическая безопасность ПАЗ должна быть обеспечена выполнением требований 6.2.1.11, 6.2.2.3 - 6.2.2.5, 6.2.2.7, 6.2.2.8, 6.2.3.1 - 6.2.3.4, 6.2.3.5, 6.2.4.1, 6.2.4.2, 6.2.4.4, 6.2.5.1, 6.2.5.2, 6.2.5.4, 6.2.5.6, 6.2.6.1, 6.2.6.4, 6.2.6.5, 6.2.7.1, 6.2.7.2, 6.2.7.4, 6.2.7.5, 6.2.7.7 - 6.2.7.9, 6.2.8.1 - 6.2.8.3.
7.3 Требования пожарной безопасности
7.3.1 Пожарная безопасность ПАЗ должна соответствовать ГОСТ 12.1.004 и ГОСТ 12.1.044 и обеспечиваться применением материалов и комплектующих, не распространяющих горение.
7.3.2 ПАЗ нетоксичны, невзрывоопасны, негорючи в нормальных климатических условиях эксплуатации.
8 Требования охраны окружающей среды (экологичности)
8.1 Требования экологической безопасности ПАЗ должны удовлетворять комплексу требований, установленных в [17].
8.2 Материалы конструкций ПАЗ при соблюдении режимов их изготовления, хранения и эксплуатации не должны выделять вредные продукты в концентрациях, опасных для организма человека, и загрязнять окружающую среду. По степени воздействия ПАЗ относятся к 4-му классу опасности по ГОСТ 12.1.007 (вещества малоопасные).
8.3 При эксплуатации ПАЗ не должны оказывать вредного влияния на окружающую среду в количествах, превышающих гигиенические показатели по ГОСТ 12.1.007.
Экологическая безопасность ПАЗ в режиме эксплуатации обеспечивается применяемыми материалами и выполнением требований по 8.1, 8.2.
ПАЗ не являются опасными в экологическом отношении, и специальные требования по утилизации их при выводе из эксплуатации не предъявляются.
Меры охраны окружающей среды при монтаже и эксплуатации ПАЗ должны быть установлены в стандартах или ТУ на ПАЗ конкретных типов и приведены в ЭД.
8.4 Компоненты, входящие в состав электропроводящей засыпки, должны быть безопасны по отношению к окружающей среде в соответствии с [17], [18].
8.5 Дополнительные экологические требования при необходимости должны быть изложены в стандартах или ТУ на ПАЗ конкретных типов.
9 Правила приемки
9.1 Общие требования
9.1.1 Правила приемки ПАЗ должны соответствовать ГОСТ 15.309, ГОСТ Р 53711, требованиям настоящего стандарта, а также требованиям стандартов и ТУ на ПАЗ конкретных типов.
9.1.2 ПАЗ предъявляют к приемке партиями. За партию принимают количество ПАЗ одного типоразмера, имеющих одинаковые состав и свойства, изготовленных по одному технологическому регламенту в течение смены, суток или многосуточного технологического процесса, устанавливаемого в стандартах или ТУ на ПАЗ конкретных типов.
9.2 Категории испытаний
Для контроля качества и приемки изготовленных ПАЗ требованиям настоящего стандарта устанавливают следующие основные категории испытаний:
- приемо-сдаточные;
- периодические;
- типовые.
Для продукции, выпускаемой предприятием-изготовителем впервые, следует проводить квалификационные испытания по ГОСТ Р 15.301 в заданном объеме.
При внесении изменений в конструкцию ПАЗ и/или изменений в применяемых материалах и комплектующих, технологию их изготовления и для оценки эффективности и целесообразности этих изменений проводят типовые испытания.
Приемо-сдаточные и периодические испытания ПАЗ в совокупности должны обеспечивать достоверную проверку всех свойств ПАЗ, подлежащих контролю на соответствие требованиям настоящего стандарта, и представляют собой элементы приемки продукции у предприятия-изготовителя.
Периодические испытания не проводят в том случае, когда все требования стандарта проверяют при приемо-сдаточных испытаниях, объем которых достаточен для контроля качества и приемки ПАЗ, а также если не требуется периодическое подтверждение качества изготовленной продукции.
Испытания проводят в соответствии с требованиями настоящего стандарта, стандартов или ТУ на ПАЗ конкретных типов.
Результаты всех видов испытаний, кроме приемо-сдаточных, оформляют в виде акта с прилагаемыми к нему протоколами испытаний. Результаты приемо-сдаточных испытаний оформляют в виде протокола, и они должны быть отражены в документах о качестве изделий.
Применяемые при испытаниях и контроле средства измерений и контроля должны быть поверены, а испытательное оборудование аттестовано в установленном порядке.
Образцы (единицы) ПАЗ, предъявляемые на испытания, должны быть укомплектованы в соответствии с требованиями стандартов или ТУ на ПАЗ конкретных типов (при типовых испытаниях - с требованиями ПМИ).
9.3 Требования к квалификационным испытаниям
9.3.1 Квалификационные испытания ПАЗ проводят в соответствии с ГОСТ Р 15.301 при приемке установочной (головной) серии после освоения технологического процесса производства изделий с целью установления готовности предприятия к производству ПАЗ, отвечающих требованиям стандартов или ТУ на ПАЗ конкретных типов.
9.3.2 Квалификационные испытания проводят по плану периодических испытаний в последовательности и объеме, указанным в таблице 1.
Таблица 1
Перечень и объем испытаний (проверок)
Наименование испытаний и проверок
Структурный элемент
Вид испытаний
технических требований
методов испытаний
приемо-сдаточные
периодические
типовые
1 Проверка конструкции и конструктивных размеров
+
-
+/-
2 Проверка состояния поверхности
+
-
+/-
3 Проверка строительной длины ПАЗ, рабочей длины РЭ, длины кабельного вывода
+
-
+/-
4 Проверка применяемых материалов
+
-
+/-
ИС МЕГАНОРМ: примечание.
В официальном тексте документа, видимо, допущена опечатка: в графе "методов испытаний" имеется в виду пункт 10.2.3, а не 1.2.3.
5 Проверка отсутствия обрывов токопроводящих жил и соединительного кабеля
+
-
+/-
6 Проверка массы
-
+
+/-
7 Проверка активной площади поверхности РЭ, на основе КМ или MMO
-
+
+/-
8 Проверка массовой доли электропроводящего наполнителя
-
+
+/-
9 Проверка фракционного состава токопроводящей засыпки
-
+
+/-
10 Проверка оболочки токовой нагрузкой
-
+
+/-
11 Проверка механической прочности несущей конструкции
-
+
+/-
12 Проверка герметичности контактного узла
-
+
+/-
13 Проверка электрического сопротивления токопроводящих жил
-
+
+/-
14 Проверка номинальной и максимальной токовой нагрузки
-
+
+/-
15 Проверка удельного электрического сопротивления материала полимерной электропроводящей оболочки в радиальном направлении
-
+
+/-
16 Проверка удельного электрического сопротивления материала полимерной электропроводящей оболочки в продольном направлении
-
+
+/-
17 Проверка удельного электрического сопротивления электропроводящей засыпки
-
+
+/-
18 Проверка целостности электрических соединений токопроводящих жил РЭ и кабелей
-
+
+/-
19 Проверка изоляции контактного узла и кабеля на пробой
-
+
+/-
20 Проверка переходного электрического сопротивления контактных узлов
+
-
+/-
21 Проверка сопротивления изоляции контактного узла и кабеля в водно-солевой среде
-
+
+/-
22 Проверка сопротивления изоляции контактного узла и кабеля на воздухе
-
+
+/-
23 Проверка контактного узла и капы испытанием постоянным напряжением после выдержки в воде
-
+
+/-
24 Проверка электрического сопротивления изоляции торца нерабочего конца РЭ - кабельного оконцевателя
-
+
+/-
25 Проверка стойкости к продуктам анодного растворения в условиях эксплуатации
-
+
+/-
26 Проверка радиуса изгиба ПАЗ
-
+
+/-
27 Проверка стойкости ПАЗ к механическим внешним воздействующим факторам
-
+
+/-
28 Проверка стойкости контактных узлов ПАЗ к статической механической нагрузке
-
+
+/-
29 Проверка стойкости ПАЗ к изгибам
-
+
+/-
30 Испытание на стойкость к воздействию повышенной температуры окружающей среды
-
+
+/-
31 Испытание на стойкость к воздействию пониженной температуры окружающей среды
-
+
+/-
32 Испытание на стойкость к смене температур
-
+
+/-
33 Испытание на стойкость к нефтепродуктам, горюче-смазочным материалам
-
+
+/-
34 Проверка стойкости ПАЗ к воздействию электролитической среды
-
+
+/-
35 Испытания на надежность
-
+
+/-
36 Проверка срока службы
-
-
+/-
37 Проверка комплектности
+
-
+/-
38 Проверка маркировки
+
-
+/-
39 Проверка упаковки
+
-
+/-
40 Проверка на прочность при транспортировании
-
+
+/-
41 Проверка значений потенциалов пробоя материала подложек РЭ
-
+
+/-
Примечание - Знак "+" означает, что испытания проводят, знак "-" - испытания не проводят, знак "+/-" - испытания проводят при необходимости.
Количество и порядок отбора образцов из установочной серии, а также последовательность квалификационных испытаний устанавливают в стандартах или ТУ на ПАЗ конкретных типов.
Квалификационные испытания проводят по ПМИ, разработанным и утвержденным предприятием - изготовителем ПАЗ и согласованным с заказчиком продукции.
В ПМИ указывают:
- количество образцов, подвергаемых испытаниям, которые отобраны из числа единиц продукции установочной серии и прошли контроль в объеме проверок, предусмотренных ТУ для приемо-сдаточных испытаний;
- виды испытаний, указанные в ТУ на продукцию и входящие в объем периодических испытаний, а также другие проверки и виды испытаний, позволяющие более полно оценить разработанный технологический процесс и готовность предприятия-изготовителя к выпуску необходимого количества единиц ПАЗ;
- методы испытаний;
- место проведения испытаний.
В программу квалификационных испытаний допускается не включать проверки отдельных требований КД, которые не могут измениться в ходе работ по постановке на производство.
9.3.3 Проведение испытаний оформляют в виде протоколов испытаний, в которых отражают фактические данные проверок, осмотров, контроля, измерений и другие данные по ГОСТ 15.309.
9.4 Приемо-сдаточные испытания
9.4.1 Приемо-сдаточные испытания проводят на ПАЗ, отобранных от каждой партии готовой продукции в последовательности и объеме, указанных в таблице 1.
9.4.2 ПАЗ предъявляют к приемке партиями. За партию принимают количество ПАЗ одного типа и типоразмера, изготовленные в одних и тех же технологических условиях, одновременно предъявляемых к сдаче по одному сопроводительному документу.
ПАЗ должны быть подвергнуты приемке сплошным контролем для партии, состоящей менее чем из трех ПАЗ включительно, и выборочным контролем для партии, состоящей из более чем трех ПАЗ. К приемке выборочным контролем предъявляют 5% от партии, но не менее трех ПАЗ.
Минимальный и максимальный объем партии должен быть указан в стандартах или ТУ на ПАЗ конкретных типов.
Время выдержки ПАЗ после изготовления в нормальных климатических условиях по ГОСТ 15150 до предъявления к приемке должно быть не менее 16 ч, если иное не указано в методике проверки контролируемых параметров на ПАЗ конкретных типов.
9.4.3 Перечень испытаний (проверок), проводимых при приемо-сдаточных испытаниях, должен быть приведен в стандартах или ТУ на ПАЗ конкретных типов.
9.4.4 Допускается проводить отдельные виды приемо-сдаточных испытаний в процессе сборки отдельных частей ПАЗ, при этом на проверяемый параметр не должны влиять последующие технологические операции сборки.
9.4.5 Результаты приемо-сдаточных испытаний считают положительными, если все изделия, подвергнутые испытаниям, соответствуют требованиям настоящего стандарта, стандартов или ТУ на ПАЗ конкретных типов.
Результаты приемо-сдаточных испытаний ПАЗ оформляют по ГОСТ 15.309-98 (пункт 6.6). При получении положительных результатов приемо-сдаточных испытаний ПАЗ передаются для комплектации заказа.
9.4.6 Если при испытаниях обнаружены изделия, не соответствующие требованиям настоящего стандарта, то проводят повторные испытания на удвоенной выборке от партии.
При получении отрицательных результатов приемо-сдаточных испытаний решение принимают по ГОСТ 15.309-98 (раздел 6).
Партию ПАЗ, не выдержавших повторные испытания, забраковывают окончательно без права нового предъявления к испытаниям.
Результаты повторных испытаний считают окончательными и распространяют на всю партию.
9.5 Периодические испытания
9.5.1 Периодические испытания проводят не реже одного раза в 12 мес на ПАЗ, прошедшие приемо-сдаточные испытания.
Допускается увеличение периодичности испытаний ПАЗ на соответствие отдельным требованиям, что должно быть указано в стандартах или ТУ на ПАЗ конкретных типов.
9.5.2 Периодические испытания стойкости к климатическим воздействиям и испытания на прочность при транспортировании проводят не реже одного раза в три года.
9.5.3 Периодические испытания проводят не реже одного раза в два года для следующих параметров:
- время испытаний для которых превышает время, установленное для параметров приемо-сдаточных испытаний, и не соответствует технологическому циклу продукции;
- значения которых могут изменяться только при применении новых материалов, конструкций и технологий.
Периодическим испытаниям подвергают ПАЗ, прошедшие приемо-сдаточные испытания.
9.5.4 Перечень испытаний (проверок) и измерений, проводимых при периодических испытаниях, а также объем должны соответствовать указанным в таблице 1 и быть приведены в стандартах или ТУ на ПАЗ конкретных типов.
9.5.5 Периодические испытания следует проводить по программе, утвержденной в установленном порядке, включающей:
- перечень видов испытаний;
- методики проведения испытаний;
- указания о числе отбираемых для испытаний ПАЗ;
- последовательность проведения отдельных видов испытаний.
9.5.6 Результаты периодических испытаний считают положительными, если все изделия, подвергнутые испытаниям, соответствуют требованиям настоящего стандарта, стандартов или ТУ на ПАЗ конкретных типов.
Испытаниям подвергают образцы ПАЗ, выбранные методом случайного отбора. В выборки включают образцы ПАЗ от партии текущего выпуска или от последней принятой партии, взятые от разных строительных длин методом случайного отбора.
9.5.7 При получении неудовлетворительных результатов периодических испытаний ПАЗ хотя бы по одному из требований настоящего стандарта испытания прекращают до выявления и устранения причин брака и приостанавливают отгрузку принятых изделий.
9.5.8 Повторные испытания проводят на изделиях, изготовленных после внедрения в производство мероприятий, направленных на устранение причин неудовлетворительных результатов испытаний, на удвоенном числе изделий, прошедших приемо-сдаточные испытания, в полном объеме периодических испытаний.
При получении отрицательных результатов испытаний второй выборки приемку ПАЗ прекращают. После устранения причин дефектов и получения положительных результатов периодических испытаний на удвоенном количестве образцов приемку возобновляют.
9.5.9 Результаты повторной проверки являются окончательными.
9.5.10 Изделия, подвергшиеся периодическим испытаниям, поставке потребителю не подлежат.
9.5.11 Результаты испытаний распространяют на всю партию ПАЗ, на которой проводились испытания.
9.5.12 Результаты периодических испытаний должны быть оформлены в виде акта, утвержденного руководством предприятия - изготовителя ПАЗ. К акту должны быть приложены протоколы проведенных испытаний.
9.6 Типовые испытания
9.6.1 Типовые испытания проводят при изменениях в конструкции ПАЗ, технологии изготовления или замене применяемых материалов, покупных и комплектующих изделий, которые могут повлиять на технические характеристики ПАЗ, а также после перерыва в производстве более одного года. Правила проведения типовых испытаний - по ГОСТ 15.309.
9.6.2 Типовые испытания проводят по ПМИ, утвержденным в установленном порядке, которые, как правило, должны содержать:
- необходимые проверки из состава приемо-сдаточных и периодических испытаний;
- требования по количеству образцов ПАЗ, необходимых для проведения типовых испытаний;
- указание об использовании образцов ПАЗ, подвергнутых испытаниям;
- последовательность проведения отдельных видов испытаний на каждом испытуемом образце ПАЗ.
9.6.3 Состав испытаний определяют в зависимости от степени возможного влияния предлагаемых изменений на качество ПАЗ.
9.6.4 Количество образцов ПАЗ, необходимых для проведения типовых испытаний, устанавливает представитель заказчика совместно с предприятием-изготовителем, но не менее двух.
9.6.5 По результатам испытаний, оформленных протоколом и актом по ГОСТ 15.309, принимают решение о возможности и целесообразности внесения изменений в КД и ТД. К акту должны быть приложены протоколы проведенных испытаний.
9.6.6 Результаты испытаний распространяют на всю партию ПАЗ, на которой проводились испытания.
9.7 Испытания на надежность
Испытания на надежность проводят в составе типовых испытаний. Допускается проводить испытания на надежность ускоренным методом, если он приведен в стандартах или ТУ на ПАЗ конкретных типов.
Испытания на надежность проводят в составе периодических испытаний, если периодичность их проведения совпадает.
Если период проведения испытаний на надежность больше, чем у периодических испытаний, то испытания на надежность по ГОСТ Р 27.403 могут быть отнесены к категории самостоятельных испытаний.
10 Методы контроля (испытаний)
10.1 Общие требования
10.1.1 Все испытания и измерения проводят в нормальных климатических условиях по ГОСТ 20.57.406, ГОСТ 15150, ГОСТ 15543.1, ГОСТ OIML R 76-1, ГОСТ Р 55710, если в стандартах или ТУ на ПАЗ конкретных типов не указаны другие условия испытаний:
- температура окружающего воздуха - от 15 °C до 35 °C;
- относительная влажность - от 45% до 80%;
- атмосферное давление - от 630 до 800 мм рт. ст.;
- освещенность не менее 200 лк.
Испытания ПАЗ проводят не ранее чем через 16 ч после изготовления.
Внешний осмотр проводят без применения увеличительных приборов.
10.1.2 Средства измерений, применяемые при испытаниях, должны быть утвержденного типа, прошедшие поверку в соответствии с положениями [19] и актуальными межповерочными интервалами. Средства измерений должны иметь заводские (серийные) номера или буквенно-цифровые обозначения, идентифицирующие каждый экземпляр средств измерений.
Испытательное оборудование, используемое при проведении испытаний, должно быть аттестовано в соответствии с ГОСТ Р 8.568. Квалификация персонала, проводящего испытания, должна определяться предприятием-изготовителем в соответствии с ГОСТ 12.3.009-76 (раздел 5).
Перечень испытательного оборудования и средств измерений, измерительного инструмента, используемых при испытаниях по ГОСТ Р 9.607-2022 (приложение А), должен быть установлен в стандартах или ТУ на ПАЗ конкретных типов.
10.2 Проверка конструкции
10.2.1 Проверку конструкции, конструктивных размеров и состояния поверхности ПАЗ проводят по ГОСТ 12177 и внешним осмотром. Измерения проводят при помощи измерительного инструмента - измерительной металлической линейки по ГОСТ 427 (цена деления 1,0 мм), штангенциркуля ТТЩ-1 0,1 по ГОСТ 166 (цена деления не более 0,1 мм), рулетки по ГОСТ 7502 (цена деления не более 1,0 мм) или встроенного в технологическую линию калиброванного измерителя длины и сопоставлением результатов с сопроводительной документацией предприятия-изготовителя.
10.2.2 Контроль покрытия поверхности РЭ ПАЗ, выполненных на основе КМ или MMO, проводят в соответствии с ГОСТ 9.302.
10.2.3 Проверку отсутствия обрывов токопроводящих жил ПАЗ и соединительного кабеля проводят при помощи любого индикаторного прибора при постоянном напряжении не более 42 В.
10.2.4 Проверку строительной длины, рабочей длины РЭ, длины кабельного вывода проводят по ГОСТ 12177, рулеткой по ГОСТ 7502 или с помощью встроенного в технологическую линию поверенного/калиброванного соответствующим образом измерителя длины. Для измерения длины применяют автоматические и автоматизированные системы со встроенными счетчиками оборотов. Инструментальная погрешность должна быть не более 1+1%.
10.2.5 Массу изделий контролируют взвешиванием на весах, класс точности - средний по ГОСТ OIML R 76-1.
Результаты проверки считаются положительными, если подтверждены требования таблицы 1.
10.2.6 Проверку наличия и количества деталей монтажных комплектов проводят внешним осмотром.
Проверку размеров деталей монтажных комплектов проводят измерением металлической линейкой по ГОСТ 427, штангенциркулем по ГОСТ 166 или калибром по ГОСТ 17675.
10.2.7 Проверку номинальной площади сечения токопроводящей жилы РЭ и токоподводящего кабеля ПАЗ проводят на основании сопроводительной ТД и проверкой ее надлежащего оформления.
10.2.8 Проверка овальности РЭ должна быть проведена измерением диаметра по ГОСТ 12177 в двух взаимно перпендикулярных направлениях в одном сечении РЭ.
10.2.9 Проверку эксцентриситета (смещение центра токопроводящей жилы относительно центра оболочки жилы) проводят по ГОСТ 12177. Коэффициент эксцентриситета оболочки и токопроводящей жилы РЭ должен быть не более 5% от номинального размера. Измерение следует проводить в процессе производства РЭ.
10.2.10 Проверка материалов конструкции
10.2.10.1 Проверку материалов конструкции проводят в процессе входного контроля каждой партии материалов на соответствие требованиям стандартов, ТУ и сопроводительной документации предприятия-изготовителя.
10.2.10.2 Материалы и крепеж, применяемые для изготовления ПАЗ, проверяют сопоставлением НД на ПАЗ конкретных типов и ТД (НД, спецификация, паспорт) на используемые материалы. По требованию заказчика качество может быть подтверждено необходимыми анализами.
10.2.10.3 Проверку химического состава сырья предприятие-изготовитель осуществляет по сертификатам поставщика.
10.2.10.4 Проверку фракционного состава электропроводящей засыпки проводят по сопроводительным документам. При необходимости проводят выборочный контроль с использованием набора сит по ГОСТ 6613.
Результаты проверки считаются положительными, если подтверждены требования таблицы 1.
10.2.10.5 Проверку массовой доли электропроводного наполнителя РЭ из электропроводящего полимера проводят по ГОСТ Р 9.607-2022 (пункт 8.6).
10.3 Проверка электрических параметров
10.3.1 Проверку электрического сопротивления токопроводящих жил проводят по ГОСТ 7229.
10.3.2 Проверку удельного электрического сопротивления образцов первого слоя покрытия ПАЗ из электропроводящих полимеров проводят на пластинах толщиной 0,6 - 1,0 мм, шириной 10 - 15 мм и длиной 60 мм, вулканизованных в процессе изготовления ПАЗ и вырезанных продольно из покрытия проверяемого провода и прошлифованных с обеих сторон.
Для измерения изготавливают три пластины с участков ПАЗ, расположенных на расстоянии не менее 0,5 м один от другого.
Измерения проводят с использованием электродов в форме брусков по ГОСТ 6433.2-71 [пункт 2.4, перечисление в)] согласно методике, приведенной в стандартах или ТУ на ПАЗ конкретных типов.
В качестве измерительного прибора используют цифровой омметр Щ-34 по ГОСТ 19876 или другой прибор с пределами измерений не менее 0,1 - 10 000 Ом.
10.3.3 Проверку удельного электрического сопротивления материала полимерной электропроводящей оболочки ПАЗ в поперечном (радиальном) направлении проводят по ГОСТ Р 9.607-2022 (пункт 8.7.1).
10.3.4 Проверку удельного электрического сопротивления материала полимерной электропроводящей оболочки ПАЗ в продольном направлении проводят по ГОСТ Р 9.607-2022 (пункт 8.7.2).
10.3.5 Проверку снимаемой токовой нагрузки, проверку герметичности контактного узла и проверку стойкости к продуктам анодного растворения и условиям эксплуатации проводят по ГОСТ Р 9.607-2022 (пункт 8.8).
10.3.6 Проверку электрической прочности материалов проводят по ГОСТ 6433.3.
10.3.7 Проверку электрического сопротивления контактных соединений ПАЗ проводят по ГОСТ 17441.
10.3.8 Испытание напряжением смонтированной на электроде и кабеле муфты проводят по ГОСТ 2990.
10.3.9 Проверку сопротивления изоляции контактных узлов ПАЗ и кабельных муфт в водно-солевой среде проводят по ГОСТ Р 9.607-2022 (пункт 8.12).
10.3.10 Проверку сопротивления изоляции контактных узлов ПАЗ и кабельных муфт на воздухе проводят по ГОСТ Р 9.607-2022 (пункт 8.14).
10.3.11 Проверку целостности электрических соединений токопроводящих жил РЭ и кабелей ПАЗ проводят в процессе производства ПАЗ посредством измерения электрического сопротивления цепей, содержащих проверяемые соединения.
В качестве измерительных приборов используют любые приборы, например мегаомметр типа ЭС0202 или аналогичные по ГОСТ 22261. При работе с измерительными приборами должны быть соблюдены требования безопасности, оговоренные в соответствующих технических описаниях и руководствах по эксплуатации применяемых приборов.
Измерения проводят при испытательном напряжении 500 В на шкале наименьших величин электрического сопротивления. При этом значение измеряемого параметра должно быть близко к нулю.
Проверку переходного сопротивления электрического контакта кабеля присоединения с РЭ проводят в процессе сборки ПАЗ.
10.3.12 Проверку электрического сопротивления изоляции торца провода - кабельного оконцевателя (капы) ПАЗ осуществляют на испытательном стенде, приведенном на рисунке 1, после погружения заделки в неметаллическую емкость с водой [3%-ный водный раствор поваренной соли (NaCl)], при помощи мегомметра на напряжение не более 500 В. Мегомметр подключают между ПАЗ и контактным электродом.
1 - кабель; 2 - контактный электрод; 3 - диэлектрическая
подставка; 4 - контактный узел; 5 - пластиковая ванна
с водой; 6 - ПАЗ
Рисунок 1 - Схема испытательного стенда проверки
электрического сопротивления изоляции торца
провода - кабельного оконцевателя (капы) ПАЗ
10.3.13 Проверку переходного электрического сопротивления контактных узлов проводят по ГОСТ Р 9.607-2022 (пункт 8.11).
10.3.14 Проверку оболочки токовой нагрузкой проводят по ГОСТ Р 9.607-2022 (пункт 8.9) только на ПАЗ, изготавливаемых в комплектном виде, в эксплуатационной среде при воздействии продуктов анодной реакции. В качестве образца используют полностью собранный ПАЗ.
10.3.15 Проверку удельного электрического сопротивления электропроводящей засыпки проводят по ГОСТ Р 9.607-2022 (пункт 8.3).
10.3.16 Проверку номинальной и максимальной токовой нагрузки (удельная и максимальная удельная плотность тока на погонный метр РЭ ПАЗ) проводят по ГОСТ Р 9.607-2022 (приложение Ж).
10.4 Проверка параметров надежности
10.4.1 Проверку срока службы ПАЗ проводят в соответствии с ГОСТ Р 27.403 по методикам, разработанным в соответствии с ГОСТ Р 27.301, ГОСТ 27710 и указанным в стандартах и ТУ на ПАЗ конкретных типов.
10.4.1.1 Проверку срока службы ПАЗ проводят следующим образом:
- для РЭ с электропроводящим полимером по ГОСТ Р 9.607-2022 (пункт 8.17.1);
- для РЭ с покрытием КМ или MMO и КМ по ГОСТ Р 9.607-2022 (приложение Ж).
10.4.2 Определение скорости анодного растворения РЭ ПАЗ из электропроводящего полимера и электродного потенциала проводят по ГОСТ Р 9.607-2022 (пункт 8.17.1) и по методикам, приведенным в стандартах или ТУ на ПАЗ конкретных типов.
10.4.3 Определение скорости анодного растворения элементов ПАЗ из КМ или MMO на подложке из вентильных металлов проводят по ГОСТ Р 9.607-2022 (приложение К).
10.5 Проверка стойкости к механическим воздействиям
10.5.1 Проверку стойкости ПАЗ к механическим воздействиям проверяют по ГОСТ 30631 в соответствии с ГОСТ 9.602.
Результаты проверок считаются положительными, если после проведения испытаний на контактных узлах отсутствуют видимые следы разрушений и трещин, а также электрическое сопротивление контактного узла после испытаний соответствует требованиям 6.3.10.4.
10.5.2 Механические повреждения (трещины, сколы, вмятины и т.п.) ПАЗ контролируют визуально, при неудовлетворительных результатах контроля хотя бы по одному показателю, этот показатель должен быть проверен повторно.
10.5.3 Проверку контактных узлов на статическую механическую нагрузку проводят по ГОСТ Р 9.607-2022 (пункт 8.10) на образцах, изготавливаемых одновременно с партией ПАЗ в количестве, указанном в стандартах или ТУ на ПАЗ конкретных типов.
10.5.4 Проверку механической прочности несущей конструкции ПАЗ для соединения РЭ секционной сборки (цепочки) при растяжении проводят по ГОСТ Р 9.607-2022 (пункт 8.4).
10.5.5 Проверку радиуса изгиба ПАЗ проводят по ГОСТ Р 9.607-2022 (пункт 8.15).
10.5.6 Испытание на стойкость к изгибу проводят по ГОСТ 12182.8 на образцах ПАЗ длиной не менее 1,0 м на угол +/- 90° в нормальных климатических условиях.
Радиус изгиба образцов вокруг роликов должен быть равен 5DН (где DН - номинальный диаметр РЭ или кабеля). Число циклов изгибов - не менее 10.
Образцы считают выдержавшими испытание, если при внешнем осмотре на их поверхности не обнаружено трещин, количество обрывов проволок в токопроводящей жиле не превышает 10%.
10.5.7 Стойкость к растяжению проверяют по ГОСТ 12182.5.
10.6 Проверка стойкости к внешним воздействиям
10.6.1 Проверку стойкости ПАЗ к воздействию повышенной температуры среды проводят по ГОСТ 20.57.406 (метод 201-1.1). Требования к образцам должны быть установлены в стандартах или ТУ на ПАЗ конкретных типов.
Образцы перед испытаниями кондиционируют при нормальных климатических условиях 3 ч, после чего помещают и выдерживают в камере тепла при температуре (50 +/- 2) °C в течение 72 ч. Время выдержки образцов в нормальных климатических условиях после проведения испытания - не менее 3 ч.
Образцы считают выдержавшими испытание, если при внешнем осмотре на поверхности покрытия образцов не обнаружено разрывов, трещин и т.п. и они выдерживают испытание напряжением по 6.3.10.4.
10.6.2 Проверку стойкости ПАЗ к воздействию пониженной температуры проводят по ГОСТ 20.57.406 (метод 203-1), а также по ГОСТ IEC 60811-504 или ГОСТ IEC 60811-505. Требования к образцам должны быть установлены в стандартах или ТУ на ПАЗ конкретных типов.
Образцы перед испытаниями кондиционируют при нормальных климатических условиях 3 ч, после чего помещают и выдерживают в камере холода при температуре минус (50 +/- 3) °C в течение 6 ч. Образцы извлекают из камеры холода и выдерживают в нормальных климатических условиях не менее 3 ч.
Образцы считают выдержавшими испытание, если при внешнем осмотре на их поверхности не обнаружено трещин и они выдерживают испытание напряжением по 6.3.10.4, а также при испытании по ГОСТ IEC 60811-504 не обнаружено трещин или при испытании по ГОСТ IEC 60811-505 относительное удлинение при разрыве составляет не менее 20%.
10.6.3 Проверку стойкости ПАЗ к воздействию изменения температуры проводят по ГОСТ 20.57.406 (метод 205-1).
Требования к образцам должны быть установлены в стандартах или ТУ на ПАЗ конкретных типов.
Температура испытания, время выдержки и другие параметры должны быть указаны в стандартах или ТУ на ПАЗ конкретных типов.
Образцы считают выдержавшими испытание, если при внешнем осмотре на их поверхности не обнаружено трещин и они выдерживают испытание напряжением по 6.3.10.4.
10.6.4 Испытание на стойкость к воздействию повышенной влажности проводят по ГОСТ 20.57.406 (метод 207-2) ускоренным испытанием. Требования к образцам должны быть установлены в стандартах или ТУ на ПАЗ конкретных типов.
Время и температура выдержки должны быть указаны в стандартах или ТУ на ПАЗ конкретных типов.
Концы образцов должны быть загерметизированы или выведены наружу.
После извлечения образцов из камеры влажности определяют электрическое сопротивление изоляции (в течение 5 мин после извлечения из камеры), которое должно соответствовать требованиям 6.3.10.2, и испытывают напряжением по 6.3.10.4.
10.6.5 Проверку стойкости к воздействию электролитической среды с различным pH проводят на образцах ПАЗ, состоящих из основных частей по ГОСТ Р 9.607-2022 (пункт 8.16).
10.6.6 Испытание на стойкость к нефтепродуктам, горюче-смазочным материалам (6.5.2.4) проводят по ГОСТ 25018. После выдержки образцов в индустриальных маслах марки И-40А или И-50А по ГОСТ 20799 при температуре (100 +/- 1) °C в течение 24 ч коэффициенты K1 (показатель изменения прочности покрытия при растяжении) и K2 (показатель изменения относительного удлинения покрытия при разрыве) не должны превышать 50%.
10.6.7 Проверку герметичности контактных узлов и стойкости ПАЗ к продуктам анодного растворения и условиям эксплуатации проводят по ГОСТ Р 9.607-2022 (пункт 8.8).
10.7 Проверка комплектности, маркировки и упаковки
10.7.1 Проверку комплектности, маркировки и упаковки ПАЗ проводят внешним осмотром и измерениями линейкой по ГОСТ 427 на соответствие требованиям настоящего стандарта и стандартов или ТУ на ПАЗ конкретных типов.
10.7.2 Проверку ПАЗ на соответствие требованиям маркировки проводят по ГОСТ 14192, а также требованиям, установленным в стандартах или ТУ на ПАЗ конкретных типов. Качество маркировки проверяют визуально и сличением с маркировкой на образцах.
Если маркировка нанесена краской, то проверку проводят легким десятикратным протиранием (в двух противоположных направлениях) ватным или марлевым тампоном, смоченным водой.
Результаты испытаний считают положительными, если после протирания маркировка отчетливо видна, разборчива, а тампон не окрашен.
10.7.3 Проверку ПАЗ на соответствие требованиям упаковки проводят по ГОСТ 23216, ГОСТ 18690, ГОСТ 10198, ГОСТ 5959, а также требованиям, установленным в стандартах или ТУ на ПАЗ конкретных типов.
10.7.4 Проверку образцов ПАЗ на прочность при транспортировании проводят по ГОСТ Р 9.607-2022 (пункт 8.20).
11 Транспортирование и хранение
11.1 Транспортирование и хранение ПАЗ должны соответствовать требованиям ГОСТ 23216 и ГОСТ 15150 с дополнениями, изложенными в настоящем разделе. Дополнительные требования могут быть установлены в стандартах или ТУ на ПАЗ конкретных типов.
11.2 Требования к условиям транспортирования и хранения ПАЗ, в том числе в части воздействия климатических факторов внешней среды по ГОСТ 15150, а также срок хранения должны быть указаны в ТУ и ЭД. Запрещается осуществлять транспортирование ПАЗ в поврежденной упаковке.
11.3 Условия транспортирования и хранения ПАЗ в части воздействия климатических факторов внешней среды должны соответствовать условиям хранения 8 (ОЖ3) или условиям хранения 5 (ОЖ4) по ГОСТ 15150, при этом значения следующих факторов принимают:
- нижнее значение температуры воздуха минус 50 °C;
- верхнее значение температуры воздуха плюс 60 °C.
11.4 Условия транспортирования ПАЗ в части воздействия механических факторов должны соответствовать условиям Ж по ГОСТ 23216 и ГОСТ Р 51908.
11.5 Условия хранения ПАЗ должны соответствовать условиям Ж3 по ГОСТ 15150 и осуществляться следующим образом:
- РЭ ПАЗ в комплекте для линейной сборки для глубинных и подземных заземлителей - в упаковочной таре в закрытых и сухих помещениях;
- в упаковочной таре на открытых площадках под навесом (ПАЗ из электропроводящих полимеров) без прямого солнечного воздействия.
Транспортная тара должна предохранять поверхности ПАЗ от масла, красок, растворителей, нефтепродуктов и т.д.
Группы условий транспортирования и хранения должны быть указаны в стандартах или ТУ на ПАЗ конкретных типов.
Дополнительные условия хранения могут быть согласованы с заказчиком при оформлении договоров на поставку.
11.6 ПАЗ, поставляемые на барабанах, должны допускать хранение на специально оборудованных открытых площадках.
11.7 Не допускается совместное транспортирование и хранение ПАЗ с маслами, органическими растворителями, химически агрессивными веществами, ядохимикатами и пачкающими продуктами. При хранении они должны быть защищены от воздействия паров кислот, щелочей и других агрессивных сред, а также солнечных лучей и атмосферных осадков.
11.8 ПАЗ следует транспортировать всеми видами транспорта (автомобильным, железнодорожным, водным, воздушным и др.) в заводской упаковке без ограничения расстояния. При транспортировании должны быть приняты меры по исключению повреждения ПАЗ и их тары.
11.9 Транспортирование и хранение ПАЗ с дополнительной внешней рабочей углеродной оболочкой следует осуществлять только на барабане, уложенном плашмя на щеку.
11.10 Для хранения и транспортирования кабель присоединения и газоотводную трубку (для вертикального ПАЗ) сворачивают в бухту и укладывают поверх корпусов блоков ПАЗ.
11.11 Назначенный срок хранения ПАЗ с даты изготовления до монтажа - 12 мес.
12 Указания по эксплуатации
12.1 Монтаж и эксплуатацию ПАЗ осуществляют в соответствии с требованиями ГОСТ Р 51164, [5], [20] - [22], СП 424.1325800, СП 72.13330, [23], проектной документацией, правилами и нормами, действующими в конкретной отрасли применения ПАЗ, паспортом и инструкцией по монтажу ПАЗ конкретного типа.
При монтаже и эксплуатации дополнительно необходимо руководствоваться требованиями [6], [15].
12.2 ПАЗ для подводной прокладки располагают на дне или на берегу с заглублением в грунт, их ориентацию относительно защищаемого сооружения выполняют в соответствии с проектными решениями.
12.3 Прокладку подводных ПАЗ системы ЭХЗ осуществляют совместно с мероприятиями по их защите от повреждений якорями и тралами судов, ледового воздействия, подводных течений и других нагрузок, влияющих на целостность электрических цепей.
При проведении погрузочно-разгрузочных работ, транспортировании и прокладке кабелей необходимо выполнять правила безопасности по ГОСТ Р 50571.4.41, а также [20].
12.4 ПАЗ должны сохранять свои свойства после воздействия механических нагрузок, возникающих при транспортировании, укладке в грунт и эксплуатации, в том числе:
- при продольном и поперечном трении ПАЗ о грунт;
- растяжении и изгибе ПАЗ;
- намотке ПАЗ на транспортировочный барабан и размотке с него (не менее трех раз).
12.5 ПАЗ в течение всего срока эксплуатации должны обеспечивать непрерывное во времени стекание защитного тока в землю от УКЗ.
12.6 Эксплуатационные характеристики ПАЗ при их применении в системах ЭХЗ обеспечиваются:
- в грунтах с любым удельным электрическим сопротивлением с содержанием водорастворимых солей до 4 г/кг при pH от 3 до 11;
- в водных электролитах при pH от 3 до 11.
Для ПАЗ с РЭ, выполненным на основе КМ или MMO, эксплуатационные характеристики обеспечиваются в электролитических средах с pH от 1 до 12, с минерализацией до 200 г/л.
12.7 Применение ПАЗ в других средах, в том числе содержащих химически агрессивные компоненты, допустимо только при согласовании с предприятием-изготовителем.
12.8 При необходимости размещения ПАЗ в горизонтах питьевой воды РЭ должны быть выполнены на основе КМ или MMO, электропроводящих полимеров.
12.9 Применение ПАЗ в оболочке с токопроводящей засыпкой (активатором) в водных средах запрещено.
12.10 Запрещается эксплуатация ПАЗ с РЭ из MMO или КМ при напряжении "анод-среда": для РЭ с подложкой из титана более 7,5 В; из ниобия - более 48 В; из тантала - более 96 В.
12.11 Не допускается ввод в эксплуатацию ПАЗ с механическими повреждениями покрытия (трещины, порезы, раздиры, пробоины, вмятины и т.п.), выводящих наружные размеры за предельные отклонения, указанные в стандартах или ТУ на ПАЗ конкретных типов.
12.12 Ремонт ПАЗ следует выполнять по технологии предприятия-изготовителя в соответствии с инструкциями по ремонту.
12.13 Изолирование контактных узлов ПАЗ при монтаже или ремонте выполняют:
- из диэлектрических полимеров, термодинамические свойства которых совместимы с материалами оболочек кабеля;
- с применением соединительных муфт специальной конструкции, предусмотренных для этих целей.
12.14 ПАЗ должны быть предназначены для подключения к станциям КЗ и другим источникам постоянного тока с номинальным выходным напряжением до 96 В.
12.15 Коммутация кабелей ПАЗ при последовательном подключении должна осуществляться на отдельных КИП для диагностики отдельных элементов заземления.
12.16 ПАЗ укладывают и монтируют вручную или механизированным способом при температуре воздуха от минус 10 °C до плюс 40 °C.
Допускается укладка ПАЗ при более низких температурах в условиях искусственного обогрева, обеспечивающего температуру РЭ не ниже минус 10 °C.
12.17 Время нахождения ПАЗ с РЭ, выполненным на основе электропроводящих полимеров в маслобензостойком исполнении под прямым воздействием света и солнечной радиации, после снятия упаковки должно быть не более 10 суток.
12.18 Минимальный допустимый радиус изгиба ПАЗ при монтаже и укладке должен быть не менее 15 наружных диаметров РЭ.
12.19 Не допускается барабан с ПАЗ класть плашмя, сматывать ПАЗ через щеку барабана.
12.20 Не допускается сбрасывать ПАЗ с транспортного средства и подвергать их другим механическим воздействиям.
12.21 Требования к погрузочно-разгрузочным работам должны соответствовать ГОСТ 12.3.009.
При транспортировании, погрузочно-разгрузочных и строительно-монтажных работах, при распаковке и прокладке ПАЗ категорически запрещается захват, подъем и тяжение ПАЗ за кабельные выводы.
12.22 Перед монтажом ПАЗ следует освободить РЭ и кабельный вывод от крепежа, используемого для транспортирования.
13 Гарантии изготовителя
13.1 Изготовитель гарантирует соответствие ПАЗ требованиям настоящего стандарта, стандартов или ТУ на ПАЗ конкретных типов при соблюдении условий транспортирования, хранения, монтажа и эксплуатации.
13.2 Гарантийный срок эксплуатации ПАЗ указывают в стандартах или ТУ на ПАЗ конкретных типов, и он должен быть не менее 36 мес.
Гарантийный срок исчисляют с даты ввода ПАЗ в эксплуатацию, но не позднее 6 мес с даты отгрузки потребителю.
13.3 Гарантийный срок хранения ПАЗ - 12 мес с даты изготовления до монтажа.
БИБЛИОГРАФИЯ
[1]
Федеральный закон от 30 декабря 2009 г. N 384-ФЗ "Технический регламент о безопасности зданий и сооружений"
[2]
Технический регламент Таможенного союза
О безопасности низковольтного оборудования
[3]
Федеральный закон от 27 декабря 2002 г. N 184-ФЗ "О техническом регулировании"
[4]
Федеральный закон от 29 июня 2015 г. N 162-ФЗ "О стандартизации в Российской Федерации"
[5]
Борисов Р.К., Горшков А.В., Жарков Ю.В., Колечицкий Е.С., Шамшетдинов К.Л. Заземляющие устройства электроустановок: Справочник - М.: Издательский дом МЭИ, 2013 - 358 с.
[6]
Правила устройства электроустановок (7-е издание)
[7]
Технический регламент Таможенного союза
О безопасности оборудования для работы во взрывоопасных средах
[8]
Правила охраны магистральных трубопроводов (утверждены постановлением Госгортехнадзора России от 24 апреля 1992 г. N 9, Минтопэнерго России от 29 апреля 1992 г.)
[9]
Карякин Р.Н. Нормы устройства сетей заземления: Справочник - М.: ЭНЕРГОСЕРВИС, 2006 - 355 с.
[10]
РД-91.020.00-КТН-234-10
Нормы проектирования электрохимической защиты магистральных трубопроводов и сооружений НПС. АК "Транснефть"
[11]
СТО Газпром 9.2-003-2020
Защита от коррозии. Проектирование электрохимической защиты подземных сооружений (утверждены распоряжением ПАО "Газпром" от 15 апреля 2020 г. N 130)
[12]
СТО Газпром 2-3.5-051-2006
Нормы технологического проектирования магистральных газопроводов
[13]
УПР.ЭХЗ-01-2007-ЭХЗ080
Унифицированные проектные решения по электрохимической защите подземных коммуникаций
[14]
Технический регламент Таможенного союза
О безопасности упаковки
[15]
Правила по охране труда при эксплуатации электроустановок (утверждены Приказом Министерства труда и социальной защиты Российской Федерации от 15 декабря 2020 г. N 903н, зарегистрированы в Министерстве юстиции России 30 декабря 2020 г. N 61957)
[16]
Методические рекомендации. Техника безопасности при работе в аналитических лабораториях (общие положения)
[17]
Федеральный закон от 10 января 2002 г. N 7-ФЗ "Об охране окружающей среды"
[18]
Санитарно-эпидемиологические требования к качеству почвы (утверждены Главным государственным санитарным врачом Российской Федерации 16 апреля 2003 г. с 15 июня 2003 г.)
[19]
Федеральный закон от 26 июня 2008 г. N 102-ФЗ "Об обеспечении единства измерений"
[20]
Ведомственные строительные нормы
Строительство магистральных и промысловых трубопроводов. Средства и установки электрохимзащиты
[21]
Ведомственные строительные нормы
Строительство магистральных и промысловых трубопроводов. Контроль качества и приемка работ. Часть II. Формы документации и правила ее оформления в процессе сдачи-приемки
[22]
Приказ Минэнерго России от 12 августа 2022 г. N 811 "Об утверждении Правил технической эксплуатации электроустановок потребителей электрической энергии"
[23]
РД 153-34.0-03.150-00
Межотраслевые правила по охране труда (правила безопасности) при эксплуатации электроустановок (утверждены Постановлением Минтруда Российской Федерации от 5 января 2001 г. N 3, Приказом Минэнерго Российской Федерации от 27 декабря 2000 г. N 163)
УДК 001.4:006.1:006.354
ОКС 29.120
Ключевые слова: заземлители и заземляющие устройства различного назначения, общие технические условия, протяженные анодные заземлители, установки катодной защиты от коррозии подземных металлических сооружений