Главная // Актуальные документы // ГОСТ (Государственный стандарт)
СПРАВКА
Источник публикации
М.: Стандартинформ, 2016
Примечание к документу
Документ включен в Перечень международных и региональных (межгосударственных) стандартов, а в случае их отсутствия - национальных (государственных) стандартов, содержащих правила и методы исследований (испытаний) и измерений, в том числе правила отбора образцов, необходимые для применения и исполнения требований технического регламента Таможенного союза "О безопасности низковольтного оборудования" (ТР ТС 004/2011) и осуществления оценки соответствия объектов технического регулирования (Решение Коллегии Евразийской экономической комиссии от 11.05.2023 N 55).

Документ включен в Перечень стандартов, содержащих правила и методы исследований (испытаний) и измерений, в том числе правила отбора образцов, необходимые для применения и исполнения требований технического регламента Таможенного союза "О безопасности низковольтного оборудования" (ТР ТС 004/2011) и осуществления оценки (подтверждения) соответствия продукции (Решение Комиссии Таможенного союза от 16.08.2011 N 768).

Текст данного документа приведен с учетом поправки, опубликованной в "ИУС", N 7, 2019.

Документ введен в действие с 1 июля 2017 года.

Взамен ГОСТ IEC 60811-1-4-2011 в части подразделов 8.1 "Испытание изоляции на изгиб при низкой температуре" и 8.2 "Испытание оболочки на изгиб при низкой температуре".
Название документа
"ГОСТ IEC 60811-504-2015. Межгосударственный стандарт. Кабели электрические и волоконно-оптические. Методы испытаний неметаллических материалов. Часть 504. Механические испытания. Испытания изоляции и оболочек на изгиб при низкой температуре"
(введен в действие Приказом Росстандарта от 30.09.2016 N 1285-ст)

"ГОСТ IEC 60811-504-2015. Межгосударственный стандарт. Кабели электрические и волоконно-оптические. Методы испытаний неметаллических материалов. Часть 504. Механические испытания. Испытания изоляции и оболочек на изгиб при низкой температуре"
(введен в действие Приказом Росстандарта от 30.09.2016 N 1285-ст)


Содержание


Введен в действие
Приказом Федерального
агентства по техническому
регулированию и метрологии
от 30 сентября 2016 г. N 1285-ст
МЕЖГОСУДАРСТВЕННЫЙ СТАНДАРТ
КАБЕЛИ ЭЛЕКТРИЧЕСКИЕ И ВОЛОКОННО-ОПТИЧЕСКИЕ
МЕТОДЫ ИСПЫТАНИЙ НЕМЕТАЛЛИЧЕСКИХ МАТЕРИАЛОВ
ЧАСТЬ 504
МЕХАНИЧЕСКИЕ ИСПЫТАНИЯ.
ИСПЫТАНИЯ ИЗОЛЯЦИИ И ОБОЛОЧЕК НА ИЗГИБ
ПРИ НИЗКОЙ ТЕМПЕРАТУРЕ
Electric and optical fibre cables. Test methods
for non-metallic materials. Part 504. Mechanical tests.
Bending tests at low temperature for insulation and sheaths
(IEC 60811-504:2012, IDT)
ГОСТ IEC 60811-504-2015
Группа Е49
МКС 29.060.20;
ОКП 35 0000
Дата введения
1 июля 2017 года
Предисловие
Цели, основные принципы и основной порядок проведения работ по межгосударственной стандартизации установлены в ГОСТ 1.0-2015 "Межгосударственная система стандартизации. Основные положения" и ГОСТ 1.2-2015 "Межгосударственная система стандартизации. Стандарты межгосударственные, правила и рекомендации по межгосударственной стандартизации. Правила разработки, принятия, обновления и отмены"
Сведения о стандарте
1 ПОДГОТОВЛЕН Открытым акционерным обществом "Всероссийский научно-исследовательский, проектно-конструкторский и технологический институт кабельной промышленности" (ОАО "ВНИИКП") на основе собственного перевода на русский язык англоязычной версии стандарта, указанного в пункте 5
2 ВНЕСЕН Межгосударственным техническим комитетом по стандартизации МТК 46 "Кабельные изделия"
3 ПРИНЯТ Межгосударственным советом по стандартизации, метрологии и сертификации (протокол от 27 октября 2015 г. N 81-П)
За принятие проголосовали:
Краткое наименование страны по МК (ИСО 3166) 004-97
Код страны по МК (ИСО 3166) 004-97
Сокращенное наименование национального органа по стандартизации
Армения
AM
Минэкономики Республики Армения
Беларусь
BY
Госстандарт Республики Беларусь
Казахстан
KZ
Госстандарт Республики Казахстан
Киргизия
KG
Кыргызстандарт
Россия
RU
Росстандарт
Таджикистан
TJ
Таджикстандарт
4 Приказом Федерального агентства по техническому регулированию и метрологии от 30 сентября 2016 г. N 1285-ст межгосударственный стандарт ГОСТ IEC 60811-504-2015 введен в действие в качестве национального стандарта Российской Федерации с 1 июля 2017 г.
5 Настоящий стандарт идентичен международному стандарту IEC 60811-504:2012 "Кабели электрические и волоконно-оптические. Методы испытаний неметаллических материалов. Часть 504. Механические испытания. Испытания изоляции и оболочек на изгиб при низкой температуре" ("Electric and optical fibre cables - Test methods for non-metallic materials - Part 504: Mechanical tests - Bending tests at low temperature for insulation and sheaths", IDT).
Международный стандарт IEC 60811-504:2012 разработан Техническим комитетом TC 20 "Электрические кабели" Международной электротехнической комиссии (IEC).
Международный стандарт IEC 60811-504:2012 отменяет и заменяет подразделы 8.1 и 8.2 IEC 60811-1-4:1985.
Официальные экземпляры международного стандарта, на основе которого подготовлен настоящий межгосударственный стандарт, и международных стандартов, на которые даны ссылки, имеются в Федеральном информационном фонде технических регламентов и стандартов.
При применении настоящего стандарта рекомендуется использовать вместо ссылочных международных стандартов соответствующие им межгосударственные стандарты, сведения о которых приведены в дополнительном приложении ДА
6 ВЗАМЕН ГОСТ IEC 60811-1-4-2011 в части подразделов 8.1 "Испытание изоляции на изгиб при низкой температуре" и 8.2 "Испытание оболочки на изгиб при низкой температуре"
7 Некоторые элементы настоящего стандарта могут быть объектом патентного права. IEC не несет ответственности за установление подлинности каких-либо или всех таких патентных прав
Информация об изменениях к настоящему стандарту публикуется в ежегодном информационном указателе "Национальные стандарты", а текст изменений и поправок - в ежемесячном информационном указателе "Национальные стандарты". В случае пересмотра (замены) или отмены настоящего стандарта соответствующее уведомление будет опубликовано в ежемесячном информационном указателе "Национальные стандарты". Соответствующая информация, уведомление и тексты размещаются также в информационной системе общего пользования - на официальном сайте Федерального агентства по техническому регулированию и метрологии в сети Интернет (www.gost.ru)
Введение
В стандартах серии IEC 60811 приведены методы испытаний неметаллических материалов кабелей всех типов. На данные методы испытаний ссылаются стандарты, устанавливающие требования к конструкции и материалам кабелей.
Примечания
1 Неметаллические материалы обычно используют в кабелях для изоляции, оболочки, подложки, заполнения или лент.
2 Данные методы испытаний считаются основными, они разработаны и используются в течение многих лет в основном для материалов кабелей, предназначенных для передачи электроэнергии. Также они приняты и широко используются для других кабелей, в частности для волоконно-оптических кабелей, кабелей связи, управления, судовых кабелей и кабелей для береговых установок.
1. Область применения
Настоящий стандарт устанавливает метод испытаний экструдированных изоляции и оболочек на изгиб при низкой температуре.
2. Нормативные ссылки
Для применения настоящего стандарта необходимы следующие ссылочные документы. Для датированных ссылок применяют только указанное издание ссылочного документа, для недатированных ссылок применяют последнее издание ссылочного документа (включая все его изменения):
IEC 60811-100:2012 Electric and optical fibre cables - Test methods for non-metallic materials - Part 100: General (Кабели электрические и волоконно-оптические. Методы испытаний неметаллических материалов. Часть 100. Общие положения)
IEC 60811-505 Electric and optical fibre cables - Test methods for non-metallic materials - Part 505: Mechanical tests - Elongation at low temperature for insulations and sheaths (Кабели электрические и волоконно-оптические. Методы испытаний неметаллических материалов. Часть 505. Механические испытания. Испытания изоляции и оболочек на удлинение при низкой температуре)
3. Термины и определения
В настоящем стандарте применены термины по IEC 60811-100.
4. Метод испытаний
4.1. Общие положения
Настоящий стандарт следует применять вместе с IEC 60811-100.
Все испытания следует проводить не ранее чем через 16 ч после экструзии или сшивания компаундов изоляции или оболочки.
Испытания проводят при температуре, установленной в стандарте или технических условиях на кабели конкретных типов.
Испытание на изоляции предназначено для круглых изолированных жил с наружным диаметром до 12,5 мм включительно, а также для секторных жил, если невозможно изготовить образцы в виде двусторонних лопаток.
Испытание на оболочке предназначено для кабелей с наружным диаметром до 12,5 мм включительно и для плоских кабелей с размером главной оси до 12,5 мм включительно.
Если соответствующее требование установлено в стандарте или технических условиях на кабели конкретных типов, то испытание проводят и на кабелях большего сечения. Необходимо заметить, что схема испытательного устройства может быть изменена в соответствии со стандартом или техническими условиями на кабели конкретных типов. Если такого требования нет, то изоляцию и оболочку жил большего сечения испытывают на удлинение в соответствии с IEC 60811-505.
4.2. Испытание изоляции на изгиб при низкой температуре
4.2.1 Отбор и подготовка образцов
От каждой изолированной жилы, предназначенной для испытания, отбирают два образца необходимой длины. С образцов удаляют все имеющиеся покрытия.
4.2.2 Испытательное устройство
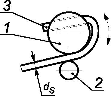
Рекомендуемое для испытания устройство и необходимые пояснения приведены на рисунке 1. В основном устройство состоит из одного вращающегося стержня и направляющих приспособлений для испытуемых образцов.
Рисунок 1a - Вид спереди
Рисунок 1b - Вид справа
Рисунок 1c - Элемент A
Рисунок 1d - Элемент B (крепление образца)
1 - стержень; 2 - регулируемая круглая штанга;
3 - испытуемый образец; 4 - оси вращения; 5 - противовес;
6 - трубка; 7 - сопло; SP - поднятое положение;
HP - горизонтальное положение; L1 ~ 270 мм; L2 ~ 30 мм
Примечания
1 ds < S < 1,5ds.
2 d1 = 1,2 до 1,5ds.
3 В горизонтальном положении (HP) трубка не должна сильно давить на образец вниз.
4 В поднятом положении (SP) трубка не должна сильно давить на образец вверх.
Рисунок 1 - Устройство для испытания на изгиб
при низкой температуре
Можно использовать другие одностержневые устройства, аналогичные представленному на рисунке 1.
Испытательное устройство должно находиться в камере холода до и во время испытания.
4.2.3 Проведение испытания
Образец закрепляют в испытательном устройстве, как показано на рисунке 1.
Устройство с закрепленным образцом выдерживают в камере холода при заданной температуре не менее 16 ч. Период охлаждения, составляющий 16 ч, включает в себя время, необходимое для охлаждения испытательного устройства.
Если устройство было охлаждено предварительно, то допускается более короткий период охлаждения, но не менее 4 ч, при условии, что образцы достигают заданной температуры. Если предварительно были охлаждены и испытательное устройство и образцы, то достаточно 1 ч охлаждения после закрепления каждого образца в испытательном устройстве.
По окончании периода охлаждения стержень начинают вращать в соответствии с условиями, указанными в 4.2.4, направляя образец таким образом, чтобы он наматывался на стержень плотной спиралью. Для секторных образцов в контакте со стержнем должна быть круглая "задняя" часть образца. Намотанный на стержень образец выдерживают, чтобы он достиг приблизительно температуры окружающей среды.
4.2.4 Условия испытания
Температура охлаждения и испытания должна соответствовать установленной в стандарте или технических условиях на кабели конкретных типов для данного типа компаунда.
Диаметр стержня должен быть в 4 - 5 раз больше диаметра образца.
Стержень следует равномерно вращать со скоростью около одного оборота за 5 с, а число витков должно соответствовать указанному в таблице 1.
Таблица 1
Наружный диаметр образца, мм
Число витков
До 2,5 включ.
10
Св. 2,5 до 4,5 "
6
" 4,5 " 6,5 "
4
" 6,5 " 8,5 "
3
" 8,5
2
Диаметр каждого образца измеряют штангенциркулем, микрометром или рулеткой. Для секторных образцов размер меньшей оси принимают за размер, эквивалентный диаметру, по которому определяют диаметр стержня и число витков.
Для плоских кабелей диаметр стержня определяют по меньшему размеру образца, который наматывают на стержень так, чтобы его меньшая ось была перпендикулярна стержню.
4.2.5 Оценка результатов
После испытания по 4.2.3 осматривают образцы, находящиеся на стержне. На изоляции обоих образцов не должно быть трещин, видимых без применения увеличительных приборов.
4.3. Испытание оболочек на изгиб при низкой температуре
4.3.1 Отбор и подготовка образцов
Для испытания оболочки отбирают два образца кабеля необходимой длины.
Перед началом испытания с оболочки удаляют все защитные покрытия.
4.3.2 Испытательное устройство, проведение испытания и условия испытания
В соответствии с 4.2.2, 4.2.3 и 4.2.4. Для кабелей, имеющих броню или концентрическую жилу под наружной оболочкой, диаметр стержня должен соответствовать установленному в стандарте или технических условиях на кабели конкретных типов.
4.3.3 Оценка результатов
После испытания по 4.2.3 осматривают образцы, находящиеся на стержне. На оболочке обоих образцов не должно быть трещин, видимых без применения увеличительных приборов.
5. Протокол испытаний
Протокол испытаний должен соответствовать требованиям IEC 60811-100.
Приложение ДА
(справочное)
СВЕДЕНИЯ О СООТВЕТСТВИИ ССЫЛОЧНЫХ МЕЖДУНАРОДНЫХ СТАНДАРТОВ
МЕЖГОСУДАРСТВЕННЫМ СТАНДАРТАМ
Таблица ДА.1
Обозначение ссылочного международного стандарта
Степень соответствия
Обозначение и наименование соответствующего межгосударственного стандарта
IEC 60811-100:2012
IDT
ГОСТ IEC 60811-100-2015 "Кабели электрические и волоконно-оптические. Методы испытаний неметаллических материалов. Часть 100. Общие положения"
IEC 60811-505
IDT
ГОСТ IEC 60811-505-2015 "Кабели электрические и волоконно-оптические. Методы испытаний неметаллических материалов. Часть 505. Механические испытания. Испытания изоляции и оболочек на удлинение при низкой температуре"
Примечание - В настоящей таблице использовано следующее условное обозначение степени соответствия стандартов:
- IDT - идентичные стандарты.
БИБЛИОГРАФИЯ
IEC 60811-1-4:1985
Common test methods for insulating and sheathing materials of electric cables - Part 1: Methods for general application - Section 4: Tests at low temperature (Общие методы испытаний материалов изоляции и оболочек электрических кабелей. Часть 1. Методы общего применения. Раздел 4. Испытание при низкой температуре) (отменен)