Главная // Актуальные документы // ГОСТ (Государственный стандарт)СПРАВКА
Источник публикации
М.: ИПК Издательство стандартов, 2003
Примечание к документу
Документ включен в
Перечень международных и региональных (межгосударственных) стандартов, а в случае их отсутствия - национальных (государственных) стандартов, содержащих правила и методы исследований (испытаний) и измерений, в том числе правила отбора образцов, необходимые для применения и исполнения требований технического
регламента Таможенного союза "О безопасности низковольтного оборудования" (ТР ТС 004/2011) и осуществления оценки соответствия объектов технического регулирования (
Решение Коллегии Евразийской экономической комиссии от 11.05.2023 N 55).
Документ включен в
Перечень стандартов, содержащих правила и методы исследований (испытаний) и измерений, в том числе правила отбора образцов, необходимые для применения и исполнения требований технического
регламента Таможенного союза "О безопасности низковольтного оборудования" (ТР ТС 004/2011) и осуществления оценки соответствия объектов технического регулирования (
Решение Комиссии Таможенного союза от 16.08.2011 N 768).
Документ включен в
Перечень национальных стандартов, содержащих правила и методы исследований (испытаний) и измерений, в том числе правила отбора образцов, необходимые для применения и исполнения технического
регламента о безопасности объектов внутреннего водного транспорта и осуществления оценки соответствия (
Распоряжение Правительства РФ от 29.06.2011 N 1100-р).
Документ включен в
Перечень документов в области стандартизации, содержащих правила и методы исследований (испытаний) и измерений, в том числе правила отбора образцов, необходимые для применения и исполнения Федерального
закона "Технический регламент о безопасности низковольтного оборудования" и осуществления оценки соответствия (
Распоряжение Правительства РФ от 29.07.2010 N 1284-р).
С 1 июля 2003 года до вступления в силу технических регламентов акты федеральных органов исполнительной власти в сфере технического регулирования носят рекомендательный характер и подлежат обязательному исполнению только в части, соответствующей целям, указанным в
пункте 1 статьи 46 Федерального закона от 27.12.2002 N 184-ФЗ.
Ограничение срока действия снято по Протоколу N 3-93 Межгосударственного совета по стандартизации, метрологии и сертификации ("ИУС", N 5-6, 1993).
Документ
введен в действие с 1 января 1983 года.
Взамен ГОСТ 12180-76 и ГОСТ 14304-78.
Название документа
"ГОСТ 25018-81. Межгосударственный стандарт. Кабели, провода и шнуры. Методы определения механических показателей изоляции и оболочки"
(утв. и введен в действие Постановлением Госстандарта СССР от 03.12.1981 N 5227)
(ред. от 01.05.1988)
"ГОСТ 25018-81. Межгосударственный стандарт. Кабели, провода и шнуры. Методы определения механических показателей изоляции и оболочки"
(утв. и введен в действие Постановлением Госстандарта СССР от 03.12.1981 N 5227)
(ред. от 01.05.1988)
Утвержден и введен в действие
Постановлением Государственного
комитета СССР по стандартам
от 3 декабря 1981 г. N 5227
МЕЖГОСУДАРСТВЕННЫЙ СТАНДАРТ
КАБЕЛИ, ПРОВОДА И ШНУРЫ
МЕТОДЫ ОПРЕДЕЛЕНИЯ МЕХАНИЧЕСКИХ ПОКАЗАТЕЛЕЙ
ИЗОЛЯЦИИ И ОБОЛОЧКИ
Cables wires and cords. Methods for determination
of mechanical characteristics of insulation and sheath
ГОСТ 25018-81
| | Список изменяющих документов (в ред. Изменения N 1, утв. в январе 1983 г., Изменения N 2, утв. в мае 1988 г.) | |
ОКП 35 0009
Дата введения
1 января 1983 года
1. РАЗРАБОТАН И ВНЕСЕН Министерством электротехнической промышленности СССР
2. УТВЕРЖДЕН И ВВЕДЕН В ДЕЙСТВИЕ Постановлением Государственного комитета СССР по стандартам от 03.12.81 N 5227
3. Стандарт полностью соответствует СТ СЭВ 2124-80 и международным стандартам МЭК 811-1-1-85 и МЭК 811-1-2-85
4. ВЗАМЕН ГОСТ 12180-76 и ГОСТ 14304-78
5. ССЫЛОЧНЫЕ НОРМАТИВНО-ТЕХНИЧЕСКИЕ ДОКУМЕНТЫ
Обозначение НТД, на который дана ссылка | Номер пункта, приложения |
| |
| | ИС МЕГАНОРМ: примечание. В официальном тексте документа, видимо, допущена опечатка: стандарт имеет номер ГОСТ 270-75, а не ГОСТ 279-75. | |
|
| |
| |
| |
| |
6. Ограничение срока действия снято по протоколу N 3-93 Межгосударственного совета по стандартизации, метрологии и сертификации (ИУС 5-6-93)
7. ИЗДАНИЕ с Изменениями N 1, 2, утвержденными в январе 1983 г., в мае 1988 г. (ИУС 5-83, ИУС 8-88)
Настоящий стандарт устанавливает методы определения прочности (разрушающего напряжения) при растяжении и относительного удлинения при разрыве изоляции и оболочки кабелей, проводов и шнуров с резиновой или пластмассовой (поливинилхлоридной и полиэтиленовой) изоляцией и оболочкой в исходном состоянии, после термического и других видов старения или воздействия масел, жидкого топлива, бензина.
(Измененная редакция, Изм. N 1, 2).
1.1. Для испытаний от кабельного изделия или изолированной жилы должны быть отобраны три отрезка, отстоящие на расстоянии не менее 1 м друг от друга, или от трех строительных длин.
1.2. Длина отрезка должна быть достаточной для изготовления двух образцов длиной не менее 100 мм при испытании в исходном состоянии.
Для испытания после старения или воздействия масел, топлива и бензина длина отрезка должна быть достаточной для изготовления из него по два образца для каждого воздействия и вида ускоренного старения.
1.3. Из отобранных отрезков должны быть подготовлены образцы в виде двусторонних лопаток.
В случае невозможности изготовления двусторонних лопаток из-за малого диаметра испытуемого изделия испытания проводят на образцах в виде трубочек.
У многожильных кабельных изделий образцы изоляции жил должны быть отобраны от разных жил. От кабельных изделий с числом жил до пяти образцы отбирают от каждой жилы, с числом жил более пяти - не менее чем от пяти жил.
2. АППАРАТУРА И МАТЕРИАЛЫ
2.1. Разрывные машины по
ГОСТ 270 и
ГОСТ 11262, из которых предпочтительнее разрывные машины с автоматической зажимной головкой.
2.2. Термостаты с регулируемой температурой и естественной или принудительной циркуляцией воздуха. Отклонение температуры от установленной должно соответствовать
ГОСТ 20.57.406. В рабочем объеме термостата не следует применять вентилятор.
В течение 1 ч должно произойти не менее восьми и не более 20 полных смен объема воздуха при принудительной циркуляции и заданной температуре; методы измерения скорости потока воздуха приведены в
приложении.
(Измененная редакция, Изм. N 2).
2.3. Толщиномеры по
ГОСТ 11358, измерительное давление которых не должно превышать 0,07 МПа.
2.4. Отсчетные микроскопы с ценой деления 0,05 мм и погрешностью показания шкалы +/- 0,01 мм.
(Измененная редакция, Изм. N 2).
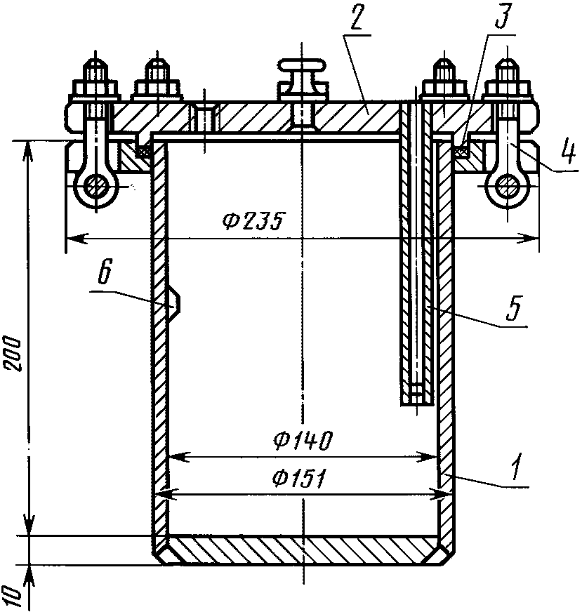
2.5. Контейнеры или равноценные сосуды (черт. 1).
1 - цилиндр; 2 - крышка; 3 - прокладка; 4 - откидной болт;
5 - трубка для термометра; 6 - выступ
Черт. 1
Контейнер представляет собой металлический толстостенный цилиндр с герметично закрывающейся крышкой, имеющей прокладку, стойкую к маслам и бензину, и трубку для термометра. На внутренней стенке сосуда должны быть выступы для установки стержней с образцами.
Стальные стержни должны быть диаметром не более 1 мм с гладкой поверхностью.
Допускается применять для испытания контейнер или равноценный сосуд с другими геометрическими размерами.
2.6. Жидкая среда для испытания должна быть указана в конкретном стандарте или технических условиях на кабельные изделия.
3. ПОДГОТОВКА К ИСПЫТАНИЯМ
3.1. Подготовка образцов изоляции
3.1.1. При подготовке образцов изоляцию без повреждения освобождают от всех покрытий.
3.1.2. При подготовке образцов в виде двусторонних лопаток изоляцию разрезают вдоль оси и удаляют токопроводящую жилу.
3.1.3. При подготовке образцов в виде трубочек токопроводящая жила должна быть удалена без повреждения изоляции.
3.2. Подготовка образцов оболочки
3.2.1. При подготовке образцов из отрезков все наружные конструктивные элементы должны быть удалены.
3.2.2. При подготовке образцов в виде двусторонних лопаток оболочку отрезка разрезают вдоль оси и удаляют внутренние конструктивные элементы.
3.2.3. При подготовке образцов в виде трубочек с отрезков удаляют наружные и внутренние конструктивные элементы без повреждения оболочки.
3.3. Подготовленные для испытания образцы должны быть разрезаны на части длиной около 100 мм, причем на каждой части должно быть обозначено, из какого отрезка эта часть взята, и указано расположение разрезанных частей относительно друг друга в исходном состоянии.
Для получения двух плоских и параллельных поверхностей отрезка или разрезанных частей его необходимо произвести их продольную шлифовку или срезку, не допустив при этом нагрева. Поверхность отрезков из полиэтилена следует только срезать. Толщина образца должна быть после обработки от 0,8 до 2,0 мм.
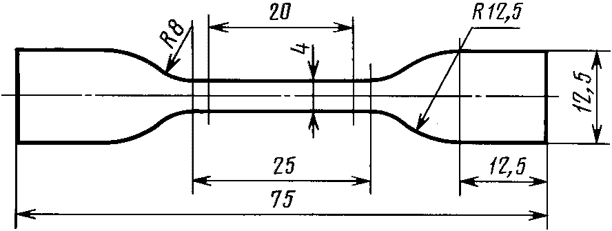
На каждой части отрезка вырубают образцы в виде двусторонних лопаток по
черт. 3. Если возможно, то вырубают два образца рядом друг с другом.
При невозможности изготовления лопаток по
черт. 3 из-за недостаточного диаметра испытуемого изделия допускается вырубка образцов по черт. 2.
Если изготовление двусторонних лопаток невозможно, то испытания проводят на образцах в виде трубочек, при этом удаляют жилу и другие конструктивные элементы.
На каждом испытуемом образце в его центральной части непосредственно перед испытанием должен быть отмечен рабочий участок длиной 10 мм для образцов, изготовленных по
черт. 2, и длиной 20 мм - для образцов, изготовленных по
черт. 3, и для образцов в виде трубочек.
(Измененная редакция, Изм. N 2).
3.4. Площадь поперечного сечения каждого образца должна быть определена до ускоренного старения или воздействия масел, топлива и бензина в случае определения ее в зависимости от размеров поперечного сечения.
3.4.1. Площадь поперечного сечения образцов изоляции и оболочки в виде двусторонних лопаточек или трубочек S, см2, определяют по следующим формулам:

, (1)
где m - масса рабочего участка образца изоляции и оболочки, г, с погрешностью не более 0,001 г;
l - длина рабочего участка образца (до испытания), см;

- плотность, г/см
3.

, (2)
где D - наружный диаметр образца, см;
d - внутренний диаметр образца, см;

- среднее значение толщины изоляции или оболочки, см.
Рабочий участок трубочек должен быть расположен в середине образца и быть длиной (20 +/- 1) мм.
(Измененная редакция, Изм. N 2).
3.4.2. Площадь поперечного сечения образцов изоляции и оболочки в виде двусторонних лопаток
S, см
2, определяют по формуле

, (3)
где
b - ширина рабочего участка, см (расстояние между режущими кромками ножа по
ГОСТ 270);

- толщина рабочего участка, см.
Рабочий участок у образцов в виде лопаток должен быть расположен в середине образца и быть длиной (10 +/- 1) мм или (20 +/- 1) мм в соответствии с
черт. 2 или
3.
В трех точках рабочего участка измеряют толщину образца и вычисляют площадь поперечного сечения по минимальному значению толщины рабочего участка.
4.1. Испытание в исходном состоянии
4.1.1. Образцы выдерживают не менее 1 ч при температуре (23 +/- 5) °C, за исключением образцов из поливинилхлоридного пластиката, для которых температура должна быть (23 +/- 2) °C.
(Измененная редакция, Изм. N 2).
4.1.2. Испытание на растяжение в исходном состоянии кабельных изделий проводят по
ГОСТ 270 или
ГОСТ 11262.
Для испытаний отбирают по два образца изоляции и оболочки от каждого отрезка (всего шесть образцов).
4.2. Испытание на ускоренное старение
4.2.1. Испытание на ускоренное старение на подготовленных образцах оболочки или изоляции кабельных изделий проводят при повышенной температуре.
Образцы должны быть подвешены вертикально и преимущественно в середине термостата на расстоянии не менее 5 мм друг от друга. Различные по составу композиции не следует испытывать одновременно.
Продолжительность и температура испытания на ускоренное старение должны быть указаны в конкретных стандартах или технических условиях на кабельные изделия.
По завершении периода старения испытуемые образцы извлекают из термостата и выдерживают при температуре (25 +/- 10) °C, избегая попадания прямых солнечных лучей, не менее 16 ч. Затем проводят испытание на растяжение.
(Измененная редакция, Изм. N 2).
4.2.2. Испытание на ускоренное старение под давлением проводят в воздушной бомбе.
Общий объем образцов не должен превышать 10% рабочего объема бомбы.
Воздушную бомбу заполняют отфильтрованным от примесей масла и влаги воздухом при давлении (0,55 +/- 0,02) МПа.
После окончания срока старения давление необходимо постепенно уменьшить (в течение 5 мин) для исключения возникновения пористости.
После выравнивания давления образцы извлекают из воздушной бомбы и выдерживают не менее 16 ч при температуре окружающего воздуха, защищая от попадания прямого солнечного света.
4.2.3. Испытание в кислородной бомбе проводят таким образом, чтобы образцы не касались друг друга и занимали не более 0,1 полезной емкости бомбы.
Бомба должна быть заполнена промышленным кислородом до давления (2,1 +/- 0,07) МПа.
Продолжительность и температура испытания на старение в бомбе должны быть указаны в конкретных стандартах или технических условиях на кабельные изделия.
По окончании периода старения давление постепенно снижают до нормального атмосферного (не менее чем за 5 мин).
После этого образцы извлекают из бомбы и выдерживают перед испытанием на растяжение не менее 16 ч при температуре (25 +/- 10) °C, защищая от попадания прямых солнечных лучей.
(Измененная редакция, Изм. N 2).
4.2.4. При проведении старения непосредственно кабельных изделий следует отобрать три образца готового кабеля длиной не менее 200 мм (желательно из места, соседнего с тем, откуда были взяты образцы для испытания на разрыв без старения).
Образцы кабеля следует подвесить вертикально на расстоянии не менее 20 мм друг от друга. Они должны занимать не более 2% объема термостата и находиться в термостате при температуре и в течение времени, указанных в стандартах или технических условиях на конкретные кабельные изделия.
По окончании указанного периода нагрева образцы следует извлечь из термостата и оставить не менее чем на 16 ч при температуре (25 +/- 10) °C, избегая воздействия прямых солнечных лучей.
Затем три образца кабеля следует разобрать на элементы конструкции. Из изоляции каждой изолированной жилы (максимум до трех жил) и из оболочки каждого отрезка кабеля следует подготовить два образца, как указано в
пп. 1.2 и
3.3, так, чтобы получилось шесть образцов из каждой изолированной жилы и из оболочки.
Если для сокращения толщины (не более чем на 2 мм) требуется обрезать или отшлифовать испытуемые образцы, то эту операцию следует производить на стороне образца, не соприкасающейся с материалом другого типа в готовом кабеле. Если необходимо срезать или отшлифовать выступы на стороне, соприкасающейся с материалом другого типа, то материал удаляют на этой стороне.
После измерения площади поперечного сечения и кондиционирования образцы подвергают испытанию на растяжение.
(Введен дополнительно, Изм. N 2).
4.3. Испытание на стойкость к воздействию масел, топлива или бензина
4.3.1. Для испытания изоляции или оболочки на стойкость к воздействию масел, топлива и бензина отбирают по два образца от каждого отрезка для каждой среды.
4.3.2. Образцы нанизывают на металлические стержни так, чтобы прокол образца был выше рабочего участка.
4.3.3. Испытание проводят в контейнере, наполненном жидкой средой не более чем на 75% его объема. Объем жидкой среды на каждый образец должен быть не менее 100 см3.
4.3.4. Один и тот же объем жидкой среды может быть использован не более трех раз.
4.3.5. Образцы должны быть погружены в жидкую среду так, чтобы они полностью были покрыты ею и не касались друг друга, стенок и дна контейнера.
4.3.6. Контейнер или другой сосуд, в котором проводят испытание, плотно закрывают крышкой. При проведении испытания при повышенной температуре контейнер помещают в термостат, предварительно нагретый до заданной температуры.
4.3.7. Контейнер с образцами должен находиться в термостате в течение времени и при температуре, которые указаны в конкретном стандарте или технических условиях на кабельные изделия.
4.3.8. Интервал времени пребывания образцов при повышенной температуре отсчитывают с момента достижения жидкой средой заданной температуры до начала охлаждения.
4.3.9. После испытания при повышенной температуре контейнер с образцами извлекают из термостата и охлаждают водой. Температура жидкой среды после охлаждения должна быть (25 +/- 10) °C.
| | ИС МЕГАНОРМ: примечание. Нумерация пунктов дана в соответствии с официальным текстом документа. | |
4.10. После охлаждения образцы извлекают из контейнера, протирают фильтровальной бумагой или тканью, смоченной в бензине, и ставят на "отдых".
"Отдых" 175 образцов проводят на сетке эксикатора, на дно которого наливают соответствующую испытательную среду.
"Отдых" образцов после воздействия бензина должен быть (1 +/- 0,1) ч, после воздействия масла или топлива - от 3 до 6 ч.
Допускается образцы, находившиеся в масле или топливе при температуре (25 +/- 10) °C, на "отдых" не ставить.
4.11. Разметка рабочего участка образцов перед проведением испытания на растяжение должна производиться после "отдыха" в соответствии с
черт. 2 и
3.
4.12. Испытание образцов на растяжение после воздействия масел, топлива и бензина должно быть проведено по
ГОСТ 270 и
ГОСТ 11262.
4.11, 4.12. (Измененная редакция, Изм. N 1).
5.2. Оценка результатов испытаний - после ускоренного старения различных видов и после воздействия масел, топлива и бензина.
(Измененная редакция, Изм. N 1).
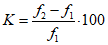
5.2.1. За результат испытания принимают изменение характерного показателя K в процентах, определяемое по формуле

,
где f1 и f2 - числовые значения характерного показателя до и после старения (прочности при растяжении или относительного удлинения при разрыве).
(Измененная редакция, Изм. N 2).
5.2.2. (Исключен, Изм. N 2).
Справочное
МЕТОДЫ ИЗМЕРЕНИЯ СКОРОСТИ ПОТОКА ВОЗДУХА В ТЕРМОСТАТЕ
1. Измерение скорости потока воздуха в термостате предлагается проводить одним из методов:
- косвенный метод, основанный на измерении потребляемой мощности;
- метод непосредственного (последовательного) измерения.
1.1. Косвенный метод измерения
1.1.1. Сущность метода состоит в том, что количество воздуха, проходящего через вентиляционные отверстия термостата, определяют измерением потребляемой мощности, необходимой для поддержания заданной температуры в термостате с открытыми и закрытыми вентиляционными отверстиями.
В течение не менее 30 мин необходимо измерять среднюю мощность, которая необходима для поддержания температуры в термостате с открытыми вентиляционными отверстиями, предписанной для старения. После этого необходимо закрыть вентиляционные отверстия (если есть необходимость, то и отверстие для термостата) и в течение того же времени измерить среднюю мощность, необходимую для поддержания той же температуры.
При этом важно, чтобы разность между температурой воздуха в термостате и помещении в обоих случаях была одинакова, с предельным отклонением +/- 2 °C. Температуру воздуха в помещении необходимо измерять в одной точке, находящейся на расстоянии не более 2 м от термостата и совпадающей с плоскостью его основания. Расстояние от других твердых тел при этом должно быть не менее 0,6 м.
1.1.2. Объем воздуха, проходящего в единицу времени
V, дм
3/с, при открытых вентиляционных отверстиях термостата, вычисляют по формуле

,
где

- плотность воздуха во время испытания, г/дм
3;
m - масса воздуха, проходящего через термостат в единицу времени, г/с, определяемая по формуле

,
P1 - средняя мощность, необходимая для поддержания постоянной температуры в термостате с открытыми вентиляционными отверстиями, Вт;
P2 - средняя мощность, необходимая для поддержания постоянной температуры в термостате при закрытых вентиляционных отверстиях, Вт;
Cp - удельная теплоемкость воздуха при постоянном давлении, Дж/(г·°C) [1,003 Дж/(г·°C)];
t1 - температура окружающей среды, °C;
t2 - температура в термостате, °C.
Примечание. Плотность воздуха при температуре 20 °C и давлении 0,1010 МПа - 1,205 г/дм3.
При закрытых вентиляционных отверстиях воздух в термостате не должен циркулировать, поэтому все щели необходимо тщательно заделать.
1.1.3. Потребляемую мощность следует измерять ваттметром любого типа или счетчиком электроэнергии по
ГОСТ 6570.
1.1.4. При измерении мощности ваттметром должно быть определено время цикла, в течение которого нагревательные приборы термостата находятся во включенном состоянии, и снято показание ваттметра в каждом цикле.
Расчет скорости потока воздуха должен быть произведен по
п. 1.1.2.
1.1.5. При измерении мощности счетчиком электроэнергии для индикации потребления энергии следует использовать диск счетчика. Прибор оставляют в рабочем состоянии до тех пор, пока метка на диске не совпадет с центром окошка, после этого счетчик выключают до начала испытаний.
В целях уменьшения погрешности измерения продолжительность испытания должна быть такова, чтобы за время испытаний диск сделал примерно 100 оборотов; испытание прекращают, когда метка на диске видима. Если после прекращения испытаний ее не видно, то необходимо учесть прошедшую часть диска. Испытания необходимо начинать и заканчивать в соответствующих точках цикла включения и выключения нагревания (например, в тот момент, когда регулятор температуры включает нагревательные элементы).
1.2. Метод непосредственного (последовательного) измерения
1.2.1. Для измерения должна быть применена установка, состоящая из следующих элементов:
- термостата, удовлетворяющего требованиям настоящего стандарта;
- источника подачи воздуха высокого давления;
- понижающего редуктора, оснащенного клапаном, обеспечивающим постоянный поток воздуха низкого давления, необходимого для создания принудительной циркуляции воздуха в термостате;
- измерителя потока воздуха, работающего по манометрическому принципу
(черт. 4), в комплект которого входят:
- калиброванная капиллярная трубка внутренним диаметром приблизительно 2 мм и длиной приблизительно 70 мм, которая на основании калибровочной диаграммы
(черт. 5) дает возможность контроля циркуляции воздуха в пределах 500 - 600 дм
3/с;
- трубка манометра, наполненная дистиллированной водой, с двойной шкалой, проградуированной от -300 до 300 мм вод. ст.
ПРИЛОЖЕНИЕ. (Введено дополнительно, Изм. N 2).