Главная // Актуальные документы // Акт (форма)СПРАВКА
Источник публикации
В данном виде документ опубликован не был.
Первоначальный текст документа также опубликован не был.
Информацию о публикации документов, создающих данную редакцию, см. в справке к этим документам.
Примечание к документу
Изменения, утв. Распоряжением ОАО "РЖД" от 02.08.2017 N 1540р, вступили в силу с 02.08.2017.
Название документа
"Правила содержания контактной сети, питающих линий, отсасывающих линий, шунтирующих линий и линий электропередачи"
(утв. Распоряжением ОАО "РЖД" от 25.04.2016 N 753р)
(ред. от 02.08.2017)
"Правила содержания контактной сети, питающих линий, отсасывающих линий, шунтирующих линий и линий электропередачи"
(утв. Распоряжением ОАО "РЖД" от 25.04.2016 N 753р)
(ред. от 02.08.2017)
от 25 апреля 2016 г. N 753р
ПРАВИЛА
СОДЕРЖАНИЯ КОНТАКТНОЙ СЕТИ, ПИТАЮЩИХ ЛИНИЙ, ОТСАСЫВАЮЩИХ
ЛИНИЙ, ШУНТИРУЮЩИХ ЛИНИЙ И ЛИНИЙ ЭЛЕКТРОПЕРЕДАЧИ
| | Список изменяющих документов ОАО "РЖД" от 02.08.2017 N 1540р) | |
Настоящие правила устанавливают единые требования к техническому содержанию контактной сети, питающих линий, отсасывающих линий, шунтирующих линий и линий электропередачи, предназначенных для электроснабжения нетяговых потребителей. Правила не распространяются на процессы модернизации и технического перевооружения (обновления) указанных объектов.
Настоящие правила предназначены для применения подразделениями аппарата управления ОАО "РЖД", филиалами ОАО "РЖД" и иными структурными подразделениями ОАО "РЖД".
Применение настоящих правил сторонними организациями оговаривается в договорах (соглашениях) с ОАО "РЖД".
В настоящих правилах использованы нормативные ссылки на следующие стандарты:
ГОСТ 2.304-81 Единая система конструкторской документации. Шрифты чертежные
ГОСТ 3.1109-82 Единая система технологической документации. Термины и определения основных понятий
ГОСТ 9.307-89 Единая система защиты от коррозии и старения. Покрытия цинковые горячие. Общие требования и методы контроля
| | ИС МЕГАНОРМ: примечание. В официальном тексте документа, видимо, допущена опечатка: имеется в виду ГОСТ Р 9.316-2006, а не ГОСТ 9.316-2006. | |
ГОСТ 9.316-2006 Единая система защиты от коррозии и старения. Покрытия термодиффузионные цинковые. Общие требования и методы контроля
ГОСТ 427-75 Линейки измерительные металлические. Технические условия
ГОСТ 7502-98 Рулетки измерительные металлические. Технические условия
ГОСТ 8024-90 Аппараты и электротехнические устройства переменного тока на напряжение свыше 1000 В. Нормы нагрева при продолжительном режиме работы и методы испытаний
ГОСТ 8865-93 Системы электрической изоляции. Оценка нагревостойкости и классификация
ГОСТ 12393-2013 Арматура контактной сети железной дороги линейная. Общие технические условия
ГОСТ 14253-83 Полотна холстопрошивные обтирочные. Технические условия
ГОСТ 16357-83 Разрядники вентильные переменного тока на номинальные напряжения от 3,8 до 600 кВ. Общие технические условия
ГОСТ 16504-81 Система государственных испытаний продукции. Испытания и контроль качества продукции. Основные термины и определения
ГОСТ 16523-97 Прокат тонколистовой из углеродистой стали качественной и обыкновенного качества общего назначения. Технические условия
ГОСТ 17703-72 Аппараты электрические коммутационные. Основные понятия. Термины и определения
ГОСТ 18311-80 Изделия электротехнические. Термины и определения основных понятий
ГОСТ 18322-78 Система технического обслуживания и ремонта техники. Термины и определения
ГОСТ 19330-2013 Стойки для опор контактной сети железных дорог. Технические условия
ГОСТ 22904-93 Конструкции железобетонные. Магнитный метод определения толщины защитного слоя бетона и расположения арматуры
ГОСТ 24291-90 Электрическая часть электростанции и электрической сети. Термины и определения
ГОСТ 30331.1-2013 Электроустановки низковольтные. Часть 1. Основные положения, оценка общих характеристик, термины и определения
ГОСТ 32192-2013 Надежность в железнодорожной технике. Основные понятия. Термины и определения
ГОСТ 32204-2013 Токоприемники железнодорожного электроподвижного состава. Общие технические условия
ГОСТ 32209-2013 Фундаменты для опор контактной сети железных дорог. Технические условия
ГОСТ 32623-2014 Компенсаторы контактной подвески железной дороги. Общие технические условия
ГОСТ 32679-2014 Контактная сеть железной дороги. Технические требования и методы контроля
ГОСТ 32697-2014 Тросы контактной сети железной дороги несущие. Технические условия
ГОСТ 32895-2014 Электрификация и электроснабжение железных дорог. Термины и определения
ГОСТ Р 8.929-2016 Государственная система обеспечения единства измерений. Комплексы мобильные измерительно-вычислительные для измерения параметров контактной сети железной дороги. Технические требования
(ссылка введена
Изменениями, утв. Распоряжением ОАО "РЖД" от 02.08.2017 N 1540р)
| | ИС МЕГАНОРМ: примечание. В официальном тексте документа, видимо, допущена опечатка: имеется в виду ГОСТ 12.4.026-2015, а не ГОСТ Р 12.4.026-2015. | |
ГОСТ Р 12.4.026-2015 "Система стандартов безопасности труда. Цвета сигнальные, знаки безопасности и разметка сигнальная. Назначение и правила применения. Общие технические требования и характеристики. Методы испытаний
(в ред.
Изменений, утв. Распоряжением ОАО "РЖД" от 02.08.2017 N 1540р)
ГОСТ Р 52725-2007 Ограничители перенапряжений нелинейные для электроустановок переменного тока напряжением от 3 до 750 кВ. Общие технические условия
ГОСТ Р 52726-2007 Разъединители и заземлители переменного тока на напряжение свыше 1 кВ и приводы к ним. Общие технические условия
| | ИС МЕГАНОРМ: примечание. ГОСТ Р 53953-2010 утратил силу с 01.06.2017 в связи с введением в действие ГОСТ 33889-2016 (Приказ Росстандарта от 27.09.2016 N 1230-ст). | |
ГОСТ Р 53953-2010 Электросвязь железнодорожная. Термины и определения
ГОСТ Р 54984-2012 Освещение наружное объектов железнодорожного транспорта. Нормы и методы контроля
ГОСТ Р 55167-2012 Ограничители перенапряжений нелинейные для тяговой сети железных дорог. Общие технические условия
ГОСТ Р 55186-2012 Ригели жестких поперечин для контактной сети железнодорожного транспорта. Общие технические условия
ГОСТ Р 55602-2013 Аппараты коммутационные для цепи заземления тяговой сети и тяговых подстанций железных дорог. Общие технические условия
ГОСТ Р 55647-2013 Провода контактные из меди и ее сплавов для электрифицированных железных дорог. Технические условия
ГОСТ Р 55648-2013 Изоляторы для контактной сети железных дорог. Общие технические условия
ГОСТ Р 55649-2013 Изоляторы секционные для контактной сети железных дорог. Общие технические условия
ГОСТ Р 55883-2013 Разъединители для тяговой сети железных дорог и приводы к ним. Общие технические условия
СТО РЖД 1.07.003-2008 Устройства электрификации и электроснабжения. Порядок разработки, постановки на производство и допуска к применению продукции, предназначенной для использования в электроустановках
СТО РЖД 08.020-2014 Организация технической учебы работников ОАО "РЖД". Общие положения
СТО РЖД 08.022-2015 Железнодорожное электроснабжение. Методы оценки физического износа и остаточного ресурса
| | ИС МЕГАНОРМ: примечание. ГОСТ Р 53953-2010 утратил силу с 01.06.2017 в связи с введением в действие ГОСТ 33889-2016 (Приказ Росстандарта от 27.09.2016 N 1230-ст). | |
В настоящих правилах применены термины по
ГОСТ 3.1109,
ГОСТ 16504,
ГОСТ 17703,
ГОСТ 18311,
ГОСТ 18322,
ГОСТ 24291,
ГОСТ 32191,
ГОСТ 32895,
ГОСТ Р 53431, ГОСТ Р 53953,
ГОСТ Р 55056 и
ГОСТ Р МЭК 60050-195, а также следующие термины с соответствующими определениями:
3.1 объект (технического обслуживания и ремонта): Часть устройства электрификации и электроснабжения, в отношении которой целесообразно установление единообразных требований к номенклатуре технологических операций, испытаний и измерений, подлежащих выполнению при периодических видах технического обслуживания и ремонта, а также периодичности выполнения видов технического обслуживания и ремонта.
3.2
технологическая операция: Законченная часть технологического процесса, выполняемая на одном рабочем месте (ГОСТ 3.1109-82,
статья 2).
3.3 проверка: Операция, заключающаяся в измерении (прямом либо косвенном) одной или нескольких физических величин, характеризующих техническое состояние изделия, и сравнении значений этих физических величин с нормированными для данного изделия.
Примечание - Целью сравнения результатов измерения с нормированными значениями при техническом обслуживании и ремонте является принятие решения о возможности (невозможности) дальнейшей эксплуатации изделия и (или) необходимости выполнения его ремонта. Целью проверки может также быть сбор информации для принятия аналогичных решений на более поздних этапах эксплуатации того же изделия. Следовательно, наличие этапа сравнения составляет основное различие между проверкой и измерением.
3.4
испытания: Экспериментальное определение количественных и (или) качественных характеристик свойств объекта испытаний как результата воздействия на него, при его функционировании, при моделировании объекта и (или) воздействий (ГОСТ 16504-81,
статья 1).
3.5 измерение: Совокупность операций по применению технического средства, хранящего единицу физической величины, обеспечивающих нахождение соотношения (в явном или неявном виде) измеряемой величины с ее единицей и получение значения этой величины.
3.6
капитальный ремонт объектов капитального строительства (за исключением линейных объектов): - замена и (или) восстановление строительных конструкций объектов капитального строительства или элементов таких конструкций, за исключением несущих строительных конструкций, замена и (или) восстановление систем инженерно-технического обеспечения и сетей инженерно-технического обеспечения объектов капитального строительства или их элементов, а также замена отдельных элементов несущих строительных конструкций на аналогичные или иные улучшающие показатели таких конструкций элементы и (или) восстановление указанных элементов объектов (Градостроительный Кодекс Российской Федерации,
статья 1).
3.7
капитальный ремонт линейных объектов: изменение параметров линейных объектов или их участков (частей), которое не влечет за собой изменение класса, категории и (или) первоначально установленных показателей функционирования таких объектов и при котором не требуется изменение границ полос отвода и (или) охранных зон таких объектов (Градостроительный Кодекс Российской Федерации,
статья 1).
3.8
работоспособное состояние (железнодорожной техники): Состояние железнодорожной техники, при котором она способна выполнить все предусмотренные техническими требованиями функции в полном объеме при условии, что предоставлены необходимые ресурсы (ГОСТ 32192-2013,
статья 14).
4.1 Общие положения системы технического обслуживания и ремонта
4.1.1 Цель и содержание технического обслуживания и ремонта
4.1.1.1 Целью технического обслуживания является поддержание работоспособного состояния объектов.
4.1.1.2 Техническое обслуживание заключается в:
постоянно проводимых мероприятиях по получению максимально достоверной информации о фактическом техническом состоянии каждого из объектов в виде значений физических величин, характеризующих это состояние;
анализе полученной информации и принятии на основе этого анализа решений о возможности (невозможности или наличии дополнительных условий) дальнейшей эксплуатации каждого из объектов;
выполнении индивидуального для каждого из объектов комплекса технологических операций, направленных на удовлетворение условий дальнейшей эксплуатации этого объекта (замены поврежденных или быстроизнашивающихся составных частей, очистки, смазывания, восстановления свойств соединений и т.д.).
4.1.1.3 Целью ремонта является восстановление работоспособного состояния и (или) ресурса объектов.
4.1.1.4 Ремонт подразумевает выполнение наряду с операциями технического обслуживания комплекса дополнительных операций, необходимых для достижения поставленной перед ремонтом цели (разборки, замены или восстановлении деталей, сборочных единиц и т.д.).
4.1.1.5 Как техническое обслуживание, так и ремонт подразумевают выдачу гарантий безотказного функционирования объекта в течение определенного срока.
4.1.2 Принципы организации системы технического обслуживания и ремонта
Система технического обслуживания и ремонта основывается на следующих принципах:
принцип интегрированности в общую систему организации технического обслуживания и ремонта функциональных подсистем железнодорожного транспорта;
принцип обоснованности затрат всех видов ресурсов;
принцип научно обоснованного подхода к планированию операций технического обслуживания и ремонта;
принцип унификации видов технического обслуживания и ремонта;
принцип иерархии видов технического обслуживания;
принцип полного охвата оборудования, входящего в состав объекта, операциями технического обслуживания и ремонта.
4.1.3 Составляющие системы технического обслуживания и ремонта
К составляющим системы технического обслуживания и ремонта, обеспечивающим ее функционирование, относятся:
виды технического обслуживания и ремонта;
объекты технического обслуживания и ремонта;
исполнители технического обслуживания и ремонта;
средства технического обслуживания и ремонта;
документация, устанавливающая требования к составляющим системы и связям между ними.
4.1.4 Виды технического обслуживания и ремонта
Применяют следующие виды технического обслуживания и ремонта:
объезд с осмотром;
обход с осмотром;
проверка вагоном-лабораторией;
(в ред.
Изменений, утв. Распоряжением ОАО "РЖД" от 02.08.2017 N 1540р)
объезд с повышенным статическим нажатием;
диагностические испытания и измерения;
текущий ремонт;
капитальный ремонт.
4.1.5 Объекты технического обслуживания и ремонта
4.1.5.1 В целях организации, планирования и контроля объезда с осмотром, обхода с осмотром, проверки вагоном-лабораторией, объезда с повышенным статическим нажатием, диагностических испытаний и измерений и текущего ремонта в составе контактной сети, питающих линий, отсасывающих линий, шунтирующих линий и линий электропередачи выделяют объекты в соответствии с
разделами 5 -
16 настоящих правил, а также методикой планирования и учета выполнения работ по техническому обслуживанию и ремонту в хозяйстве электрификации и электроснабжения
[1].
(в ред.
Изменений, утв. Распоряжением ОАО "РЖД" от 02.08.2017 N 1540р)
4.1.5.2 Для капитального ремонта в целях организации, планирования и контроля в качестве объекта рассматривают объект учета основных фондов.
4.1.6 Исполнители технического обслуживания и ремонта
4.1.6.1 В качестве исполнителей при организации системы технического обслуживания и ремонта рассматривают персонал:
организаций - изготовителей продукции;
ОАО "РЖД";
прочих организаций.
4.1.6.2 Требования к персоналу, выполняющему оперативное обслуживание электроустановок или какие-либо работы в них - в соответствии с правилами по охране труда при эксплуатации электроустановок
[2] (раздел II).
Техническую учебу персонала ОАО "РЖД", выполняющего оперативное обслуживание электроустановок или какие-либо работы в них, организуют в соответствии с СТО РЖД 08.020.
4.1.7 Средства технического обслуживания и ремонта
4.1.7.1 К средствам технического обслуживания и ремонта относятся:
запасные части и материалы;
стационарные, передвижные, комплектные, переносные испытательные установки;
средства измерений и технического диагностирования;
испытательное оборудование;
грузозахватные средства;
электрозащитные средства;
средства защиты от иных опасных и вредных производственных факторов;
средства малой механизации;
машины и механизмы;
инструмент.
4.1.7.2 Порядок допуска к применению средств технического обслуживания и ремонта - по СТО РЖД 1.07.003
(раздел 8).
4.1.8 Документация, устанавливающая требования к составляющим системы и связям между ними
4.1.8.1 К документации, устанавливающей требования к составляющим системы технического обслуживания и ремонта и связям между ними, наряду с настоящими правилами, относятся:
документы по перечням, установленным
правилами технической эксплуатации электроустановок потребителей
[3];
документы, утверждаемые ОАО "РЖД".
4.1.8.2 При разработке и применении технико-нормировочных карт руководствуются правилами
[4].
4.2 Особенности организации и условия выполнения работ
4.2.1 Обход с осмотром, объезд с осмотром, проверку вагоном-лабораторией, объезд с повышенным статическим нажатием, диагностические испытания и измерения и текущий ремонт выполняют периодически.
(в ред.
Изменений, утв. Распоряжением ОАО "РЖД" от 02.08.2017 N 1540р)
Требования к периодичности выполнения обхода с осмотром, объезда с осмотром, проверки вагоном-лабораторией, объезда с повышенным статическим нажатием, диагностических испытаний и измерений и текущего ремонта - в соответствии с
приложением А. Планирование работ осуществляют в соответствии с методикой планирования и учета выполнения работ по техническому обслуживанию и ремонту в хозяйстве электрификации и электроснабжения
[1].
(в ред.
Изменений, утв. Распоряжением ОАО "РЖД" от 02.08.2017 N 1540р)
Указанные в
приложении А требования к периодичности выполнения плановых видов технического обслуживания и ремонта дифференцированы в зависимости от класса железнодорожной линии, на которой эксплуатируется тот или иной объект. Классы железнодорожных линий определяют в соответствии с
методикой классификации и специализации железнодорожных линий
[5].
Требования к составу технологических операций, испытаний и измерений:
выполняемых при объезде с осмотром и обходе с осмотром - в соответствии с
разделом 5;
выполняемых при проверке вагоном-лабораторией и объезде с повышенным статическим нажатием - в соответствии с
разделом 6;
(в ред.
Изменений, утв. Распоряжением ОАО "РЖД" от 02.08.2017 N 1540р)
выполняемых при диагностических испытаниях и измерениях - в соответствии с
разделом 7;
выполняемых при текущем ремонте - в соответствии с
разделами 8 -
16.
Работы, требующие применения специального самоходного подвижного состава или съемной изолирующей вышки, выполняют под руководством электромеханика.
4.2.2 Необходимость выполнения капитального ремонта определяют в соответствии с СТО РЖД 08.022 (подраздел 5.9) при остаточном сроке службы 5 лет, но не реже, чем:
на железнодорожных линиях 1 класса - 1 раз в 10 лет;
на железнодорожных линиях 2 класса - 1 раз в 12 лет;
на железнодорожных линиях 3 класса - 1 раз в 14 лет;
на железнодорожных линиях 4 класса - 1 раз в 16 лет;
на железнодорожных линиях 5 класса - 1 раз в 20 лет.
Необходимость замены блоков линейных устройств поездной радиосвязи, установленных на опорах контактной сети, питающих линий, отсасывающих линий, шунтирующих линий и линий электропередачи, определяет региональный центр связи.
При определении необходимости капитального ремонта волоконно-оптических линий передачи, проложенных по опорам контактной сети, питающих линий, отсасывающих линий и линий электропередачи, руководствуются инструкцией по технической эксплуатации волоконно-оптических линий передачи
[6].
Требования к составу технологических операций, испытаний и измерений, выполняемых при капитальном ремонте - в соответствии с
разделом 17.
4.2.3 Техническое обслуживание машин и механизмов, находящихся на балансе дистанций электроснабжения, осуществляют специализированными бригадами, входящими в состав ремонтно-ревизионных участков.
4.2.4 При восстановлении поврежденных устройств руководствуются
приложением Д.
(п. 4.2.4 введен
Изменением, утв. Распоряжением ОАО "РЖД" от 02.08.2017 N 1540р)
5 Объезд с осмотром, обход с осмотром
5.1.1 Объезд с осмотром и обход с осмотром проводят в целях выявления видимых повреждений устройств и сооружений и визуальной оценки технического состояния объектов. Объезд с осмотром и обход с осмотром проводит единолично начальник района контактной сети, начальник района электросетей, старший электромеханик или электромонтер IV разряда.
5.1.2 При объезде с осмотром работник, выполняющий осмотр, располагается в передней кабине подвижного состава или кабине автомотрисы. При обходе с осмотром работник, выполняющий осмотр, передвигается вдоль железнодорожных путей и (или) трассы питающих линий, отсасывающих линий, шунтирующих линий или линий электропередачи.
Организационные особенности осмотра пересечения воздушных линий электропередачи сторонних владельцев с контактной сетью, питающими, отсасывающими, шунтирующими линиями и воздушными линиями электропередачи ОАО "РЖД" - в соответствии с
5.5.
5.1.3 Результаты объезда с осмотром и обхода с осмотром заносят в книгу осмотров и неисправностей.
Если в ходе объезда с осмотром или обхода с осмотром выявлены дефекты, неисправности или отступления в техническом состоянии устройств и сооружений, то организуют внеплановый ремонт. В случае, если характер выявленной неисправности создает опасность поражения электрическим током, то немедленно с помощью любого средства связи информируют энергодиспетчера и руководствуются его указаниями, а также порядком ограждения, установленным правилами электробезопасности для работников ОАО "РЖД" при обслуживании электрифицированных железнодорожных путей
[6].
5.2 Строительные конструкции
При осмотре строительных конструкций убеждаются в том, что:
а) строительная конструкция заземлена, заземляющий проводник на всем протяжении исправен, контактные соединения в заземляющем проводнике и между заземляющим проводником и рельсом (или иным заземлителем) не имеют трещин в сварных швах, а резьбовые соединения не ослаблены, отсутствуют признаки нагрева и коррозии;
б) отсутствуют:
1) видимые отклонения от проектного положения строительной конструкции в целом и ее отдельных частей (для опор контактной сети, питающих, отсасывающих и шунтирующих линий - консолей, кронштейнов, ригелей жестких поперечин, фиксаторов, элементов конструкции компенсаторов);
2) видимые нарушения целостности поверхности бетона, металла, защитных и декоративных покрытий строительной конструкции в целом и ее отдельных частей;
3) посторонние предметы;
в) размещение сигнальных указателей "Опустить токоприемник", постоянных сигнальных знаков "Внимание! Токораздел", "Поднять токоприемник", "Конец контактной подвески", предупредительных сигнальных знаков "Отключить ток", "Включить ток на электровозе" и "Включить ток на электропоезде", а также отличительной окраски опор, ограничивающих воздушные промежутки, соответствует установленному правилами технической эксплуатации железных дорог Российской Федерации
[8] (приложение N 7), а сами сигнальные указатели, сигнальные знаки и отличительная окраска находятся в исправном состоянии;
г) маркировка находится в исправном состоянии (только для строительных конструкций, подлежащих маркировке) и соответствует требованиям
приложения Б;
д) распорки между поперечными несущими тросами находятся в исправном состоянии;
е) отсутствуют разбитые изоляторы.
При осмотре проводов и тросов убеждаются в том, что:
а) расстояние от нижней точки провода при наибольшей стреле провеса до поверхности земли или сооружений, а также до строительных конструкций и других проводов (в том числе проводов пересекающих воздушных линий электропередачи) не менее минимально допустимых значений;
б) на контактном проводе отсутствуют:
1) видимые изгибы, следы оплавления и поджоги;
2) вставки длиной менее 1,5 м;
3) при двойном контактном проводе - стыковые зажимы в разных проводах на расстоянии менее 6 м друг от друга;
в) расстояния от стыкового зажима до фиксирующего зажима на контактном проводе не менее 1 м;
г) на многопроволочных проводах отсутствуют обрывы проволок и выпучивания проволок наружного повива;
д) на сопряжениях и воздушных стрелках в зоне подхвата отсутствуют зажимы на контактных проводах;
е) на воздушных стрелках отсутствует защемление контактных проводов в ограничительной накладке;
ж) зажимы на контактном проводе не находятся в зоне взаимодействия с токоприемником;
з) поперечные электрические соединители (за исключением участков с токопроводящими струнами) на путях перегонов и главных путях станций размещены:
1) между несущим тросом и контактным проводом (контактными проводами) на затяжных подъемах и в зонах трогания и разгона электроподвижного состава - в каждом пролете;
2) между несущим тросом и контактным проводом (контактными проводами) вне затяжных подъемов и зон трогания и разгона электроподвижного состава - не более, чем через каждые 2 пролета;
3) между усиливающим проводом и контактной подвеской на затяжных подъемах и в зонах трогания и разгона электроподвижного состава - в каждом пролете;
4) между усиливающим проводом и контактной подвеской вне затяжных подъемов и зон трогания и разгона электроподвижного состава - не более, чем через каждые 4 пролета;
и) поперечные электрические соединители (за исключением участков с токопроводящими струнами) на боковых путях станций между путями, относящимися к одной и той же секции, размещены:
1) между несущим тросом и контактным проводом (контактными проводами) на затяжных подъемах и в зонах трогания и разгона электроподвижного состава - в каждом пролете;
2) между несущим тросом и контактным проводом (контактными проводами) вне затяжных подъемов и зон трогания и разгона электроподвижного состава - не более, чем через каждые 4 пролета;
к) поперечными электрическими соединителями соединены несущие тросы пересекающих друг друга контактных подвесок;
л) продольные электрические соединители размещены на каждом неизолирующем сопряжении;
м) размеры и взаимное расположение несущих тросов, контактных проводов и электрических соединителей не препятствует температурным перемещениям проводов.
При осмотре компенсаторов убеждаются в том, что:
отсутствуют препятствия для вертикального перемещения грузов и касание между грузами и поверхностью опоры и другими частями конструкции;
грузоуспокоитель исправен;
количество грузов соответствует проекту;
грузы уложены со смещением прорезей на 180° и закреплены на штанге;
расстояние сближения роликов, определяемое визуально, не менее указанного в
8.11.4;
отсутствуют обрывы жил в тросе компенсации.
Для грузовых компенсаторов, кроме того, в ходе осмотра проверяют свободность вертикального перемещения грузов.
5.5 Пересечения воздушных линий электропередачи сторонних владельцев с контактной сетью, питающими, отсасывающими, шунтирующими линиями и воздушными линиями электропередачи ОАО "РЖД"
5.5.1 Осмотр воздушных линий электропередачи сторонних владельцев с контактной сетью, питающими, отсасывающими, шунтирующими линиями и воздушными линиями электропередачи ОАО "РЖД" (далее - пересечений) выполняют с участием представителя организации, к которой пересекающая линия электропередачи относится по балансовой принадлежности или ответственности за эксплуатацию.
5.5.2 О времени планируемого осмотра организацию, к которой пересекающая линия электропередачи относится по балансовой принадлежности или ответственности за эксплуатацию, уведомляют письмом или телеграммой, подписываемыми начальником дистанции электроснабжения или лицом, ответственным за электрохозяйство, не менее, чем за 15 календарных дней до планируемой даты осмотра.
В случае подтвержденной письменно невозможности прибытия представителя организации, к которой пересекающая линия электропередачи относится по балансовой принадлежности или ответственности за эксплуатацию, осмотр переносят на время, определяемое по договоренности сторон. Если невозможность прибытия представителя организации, к которой пересекающая линия электропередачи относится по балансовой принадлежности или ответственности за эксплуатацию, письменно не подтверждена, то осмотр проводят в первоначально запланированное время без участия представителя.
5.5.3 При осмотре выполняют:
а) контроль достоверности указанных на схемах и планах контактной сети, питающих линий, отсасывающих линий, шунтирующих линий и линий электропередачи ОАО "РЖД" сведений о наименовании и форме собственности организации, к которой пересекающая линия электропередачи относится по балансовой принадлежности или ответственности за эксплуатацию, покилометровой привязке пересечения и(или) номерах опор, ограничивающих пролеты пересечения, а также технических данных пересекающей линии электропередачи:
1) количестве цепей, номинальном напряжении, роде тока, частоте, числе фаз;
2) марке и сечении проводов и количестве проводов в одной фазе или полюсе, марке и сечении (диаметре) грозозащитных тросов;
3) материале и конструкции опор, ограничивающих пролеты пересечения;
4) угле между осью пересекающей линии электропередачи и контактной сетью, питающими линиями, отсасывающими линиями, шунтирующими линиями и линиями электропередачи ОАО "РЖД";
б) визуальный контроль:
1) противопожарного состояния трассы: в охранной зоне линии электропередачи не должно быть посторонних предметов, строений, стогов сена, штабелей леса, деревьев, угрожающих падением на линию или опасным приближением к проводам, складирования горючих материалов, костров; не должны выполняться работы сторонними организациями без письменного согласования с Потребителем, которому принадлежит линия электропередачи;
2) состояния фундаментов, приставок: не должно быть оседания или вспучивания грунта вокруг фундаментов, трещин и повреждений в фундаментах (приставках), должно быть достаточное заглубление;
3) состояния опор: не должно быть их наклонов или смещения в грунте, видимого загнивания деревянных опор, обгорания и расщепления деревянных деталей, нарушений целостности бандажей, сварных швов, болтовых и заклепочных соединений на металлических опорах, отрывов металлических элементов, коррозии металла, трещин и повреждений железобетонных опор, птичьих гнезд, других посторонних предметов на них. На опорах должны быть плакаты и знаки безопасности;
4) состояния проводов и тросов: не должно быть обрывов и оплавлений отдельных проволок, набросов на провода и тросы, нарушений их регулировки, недопустимого изменения стрел провеса и расстояний от проводов до земли и объектов, смещения от места установки гасителей вибрации, предусмотренных проектом линии электропередачи;
5) состояния гибких шин токопроводов: не должно быть перекруток, расплеток и лопнувших проволок;
6) состояния изоляторов: не должно быть боя, ожогов, трещин, загрязненности, повреждения глазури, неправильной насадки штыревых изоляторов на штыри или крюки, повреждений защитных рогов; должны быть на месте гайки, замки или шплинты;
7) состояния арматуры: не должно быть трещин в ней, перетирания или деформации отдельных деталей;
8) состояния разрядников, коммутационных аппаратов на линии электропередачи и концевых кабельных муфт на спусках: не должно быть повреждений или обрывов заземляющих спусков на опорах и у земли, нарушений контактов в болтовых соединениях молниезащитного троса с заземляющим спуском или телом опоры, разрушения коррозией элементов заземляющего устройства;
9) наличия шунта на несущих тросах контактной сети.
5.5.4 Пересечение считают пригодным к дальнейшей эксплуатации, если при осмотре по
5.5.3 не выявлено отступлений от требований
правил технической эксплуатации электроустановок потребителей
[3] и
5.5.3, перечисления б 1) -
б 9).
Результаты осмотра оформляют актом, форма которого - в соответствии с
приложением В. Акт оформляют в двух подлинных экземплярах, один - для дистанции электроснабжения, второй - для организации, к которой пересекающая линия электропередачи относится по балансовой принадлежности или ответственности за эксплуатацию.
5.5.5 При возникновении у участников осмотра сомнений или разногласий по вопросам наличия или отсутствия отступлений от требований
правил технической эксплуатации электроустановок потребителей
[3] и
5.5.3, перечисления б 1) -
б 9), эти сомнения или разногласия отражают в акте. Дистанция электроснабжения не позднее, чем через 5 календарных дней после осмотра, должна подготовить предложения по более детальному обследованию пересечения для устранения выявленных сомнений или разногласий. Эти предложения направляют письмом или телеграммой, подписываемыми начальником дистанции электроснабжения или лицом, ответственным за электрохозяйство, в адрес организации, к которой пересекающая линия электропередачи относится по балансовой принадлежности или ответственности за эксплуатацию. Дальнейшую организацию более детального обследования пересечения проводят по договоренности сторон.
5.5.6 Если осмотр по причинам, указанным в
5.5.2, был проведен без участия представителя организации, к которой пересекающая линия электропередачи относится по балансовой принадлежности или ответственности за эксплуатацию, то один из подлинных экземпляров акта, подписанный представителем дистанции электроснабжения, с сопроводительным письмом, подписываемым начальником дистанции электроснабжения или лицом, ответственным за электрохозяйство, не позднее, чем через 10 рабочих дней после даты проведения осмотра направляют в адрес организации, к которой пересекающая линия электропередачи относится по балансовой принадлежности или ответственности за эксплуатацию.
5.6 Предохранительные щиты на искусственных сооружениях
5.6.1 При осмотре контролируют:
наличие щитов над каждым местом прохождения проводов контактной сети, питающих линий, отсасывающих линий, шунтирующих линий и линий электропередачи под поверхностью настила искусственного сооружения и над ним;
техническое состояние материала щита и элементов его крепления;
состояние защитного покрытия щита и элементов его крепления;
геометрические размеры щита;
наличие на щите предупреждающего знака W08 "Опасность поражения электрическом током" по
ГОСТ Р 12.4.026.
5.6.2 При определении необходимости установки щитов, выборе и проверке их размеров руководствуются положениями правил электробезопасности для работников ОАО "РЖД" при обслуживании электрифицированных железнодорожных путей
[7] (пункт 1.7).
5.6.3 Геометрические размеры щита измеряют рулеткой по
ГОСТ 7502, размеры ячеек сетки - линейкой из диэлектрического материала по
ГОСТ 17435.
Расстояние от неогражденных частей искусственного сооружения до находящихся под напряжением проводов контактной сети, питающих линий, отсасывающих линий, шунтирующих линий и линий электропередачи измеряют лазерным дальномером. При нескольких проводах или необходимости более точного измерения выполняют организационные и технические мероприятия по подготовке рабочего места по категории "со снятием напряжения и заземлением" и измерение линейкой по
ГОСТ 427 и (или) рулеткой по
ГОСТ 7502.
При осмотре воздушных стрелок убеждаются в том, что:
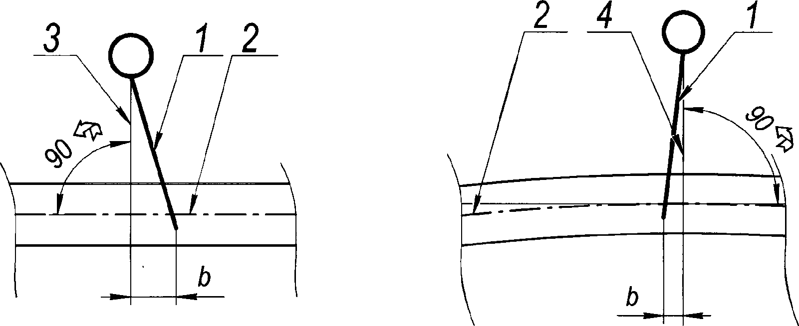
а) контактный провод (контактные провода) главного пути или пути преимущественного движения поездов расположены снизу;
б) точка пересечения контактных проводов находится не ближе, чем на расстоянии 1/10 длины ограничительной накладки от ее конца, а если осмотр проводится при температуре, близкой к среднегодовой, то в средней трети ограничительной накладки;
в) между точкой пересечения контактных проводов и ближайшими струнами, расположенными за зоной подхвата, на контактных проводах отсутствуют зажимы (кроме зажимов, крепящих ограничительную накладку к контактному проводу);
г) нерабочая ветвь контактного провода в месте входа в зону прохода, закреплена на двойной струне;
д) пересекающиеся несущие тросы над точкой пересечения контактных проводов:
1) в полукомпенсированных подвесках - соединены друг с другом болтовым зажимом;
2) в компенсированных подвесках - не соединены и не касаются друг друга;
е) в пределах воздушной стрелки отсутствуют фиксаторы, работающие на сжатие;
ж) воздушная стрелка расположена не ближе двух пролетов от компенсированной анкеровки.
5.8 Заземляющие устройства
При осмотре видимой части заземляющего устройства убеждаются в том, что:
контактные соединения между заземляющим проводником и заземлителем и подлежащими заземлению элементами оборудования находятся в исправном состоянии;
отсутствуют признаки нагрева и разрушения антикоррозионного покрытия и отличительной окраски заземляющих проводников;
отсутствуют обрывы видимой части заземляющих проводников;
корпусы доступных для осмотра искровых промежутков, диодных заземлителей и пробивных предохранителей не имеют признаков повреждения;
отсутствует возможность шунтирования рельсовых цепей заземляющими проводниками, тросами, предназначенными для подвешивания кабелей;
жесткие поперечины заземлены только с одной стороны;
расстояние от поверхности земли до анкеровки троса группового заземления составляет не менее 4 м.
5.9 Устройства поездной радиосвязи
При осмотре устройств поездной радиосвязи руководствуются инструкцией по техническому обслуживанию и ремонту направляющих линий, линейных стационарных устройств поездной радиосвязи гектометрового диапазона
[9] (приложение N 2, пункты 2 и 3).
5.10 Волоконно-оптические линии передачи
При осмотре волоконно-оптических линий передачи, проложенных по опорам контактной сети, питающих линий, отсасывающих линий и линий электропередачи, руководствуются по технической эксплуатации волоконно-оптических линий передачи
[6] (подраздел 4.2).
6 Проверка вагоном-лабораторией объезд с повышенным статическим нажатием
(в ред.
Изменений, утв. Распоряжением ОАО "РЖД" от 02.08.2017 N 1540р)
6.1 Проверка вагоном-лабораторией или мобильным измерительно-вычислительным комплексом для измерения параметров контактной сети.
(подраздел 6.1 в ред.
Изменений, утв. Распоряжением ОАО "РЖД" от 02.08.2017 N 1540р)
6.1.1 Проверку вагоном-лабораторией или мобильным измерительно-вычислительным комплексом для измерения параметров контактной сети (далее - Комплекс) проводят с участием:
начальника дистанции электроснабжения или его заместителя, ведающего вопросами эксплуатации контактной сети;
начальника или старшего электромеханика района контактной сети.
6.1.2 Для проверки используют Комплексы, выпускаемые по ГОСТ Р 8.929-2016. Использование вагонов-лабораторий, выпускаемых по согласованным с ОАО "РЖД" техническим условиям, допускается до замены их на Комплексы в плановом порядке.
6.1.3 При проверке обеспечивают:
автоматическую фиксацию значений основных размеров, характеризующих техническое состояние контактной сети;
видеорегистрацию изображений объектов, расположенных в зоне видимости видеокамер;
видеорегистрацию термографических изображений объектов, расположенных в зоне положения контактного провода по ГОСТ 32679 (пункт 4.2.2, рисунок 1);
видеорегистрацию изображений ультрафиолетового спектра изоляторов, расположенных в зоне видимости сканера ультрафиолетового диапазона (только на участках переменного тока);
визуальный осмотр и оценку параметров, не регистрируемых программно-аппаратным комплексом вагона-лаборатории.
6.1.4 Отклонения фактических значений основных размеров, характеризующих техническое состояние контактной сети, и параметров, не регистрируемых программно-аппаратным комплексом вагона-лаборатории, оценивают в соответствии с методикой определения балльной оценки контактной сети
[10].
6.2 Объезд с повышенным статическим нажатием
6.2.1 Объезд с повышенным статическим нажатием проводят отдельным электровозом со скоростью не более 70 км/ч и наблюдением из смотровой вышки вагона-лаборатории при наличии проводной или радиосвязи между наблюдающим и машинистом.
6.2.2 Статическое эквивалентное нажатие от 200 до 230 Н (на участках со скоростью движения более 160 км/ч - от 300 до 350 Н) создают регулировкой пружин одного токоприемника или одновременным поднятием двух или трех токоприемников, расположенных на минимально возможном по конструкции электровоза расстоянии друг от друга.
7 Диагностические испытания и измерения
7.1 Проверка сопротивления цепи индивидуального или группового заземления опор, фундаментов и анкеров контактной сети, прожекторных мачт и порталов наружного освещения
7.1.1 Сопротивление цепи индивидуального или группового заземления опор, фундаментов и анкеров контактной сети, прожекторных мачт и порталов наружного освещения измеряют прибором контроля опор с пределом измерения сопротивления 1 МОм класса точности не выше 2,5.
Измерение выполняют:
а) для опор с индивидуальным заземлением:
1) при первой проверке после ввода в эксплуатацию - на каждой опоре в отдельности;
2) при последующих проверках - на 5% от общего количества опор, при этом для проверки выбирают опоры, расположенные в местах, на которых при первой проверке после ввода в эксплуатацию были выявлены максимальные значения потенциала;
б) для опор с групповым заземлением - для каждой группы опор, объединенных одной секцией троса группового заземления.
7.1.2 Значение сопротивления, полученное в результате измерений по
7.1.1, сравнивают с предельно допустимыми значениями, установленными техническими требованиями и нормами содержания
[11] (
пункты 6.5,
6.6).
7.1.3 Опоры считают пригодными к дальнейшей эксплуатации, если значение сопротивления, полученное в результате измерений по
7.1.1, не менее предельно допустимого по
7.1.2. В противном случае принимают меры по увеличению сопротивления в соответствии с указаниями по техническому обслуживанию и ремонту опорных конструкций контактной сети
[12] или изменяют схему заземления в соответствии с техническими требованиями и нормами содержания
[11] (
пункты 6.5,
6.6), после чего измерение по
7.1.2 повторяют.
7.2 Проверка габарита опор, прожекторных мачт и порталов наружного освещения
7.2.1 Проверку габарита контактной сети выполняют по ГОСТ 32679 (пункт 5.7).
7.2.2 Для проверки габарита опор питающих, отсасывающих и шунтирующих линий, линий электропередачи, прожекторных мачт и порталов наружного освещения рулеткой по
ГОСТ 7502 измеряют наименьшее расстояние от оси головки ближайшего к опоре рельса железнодорожного пути до ближайшей к нему точки поверхности опоры. Расстояние от оси пути до ближайшей к нему точки поверхности опоры, мм, вычисляют по формуле
где l - полученное в результате измерения наименьшее значение расстояния от оси головки ближайшего к опоре рельса железнодорожного пути до ближайшей к нему точки поверхности опоры, мм.
Значение расстояния от оси пути до ближайшей к нему точки поверхности опоры, полученное по
формуле (1), сравнивают с предельно допустимым, которое принимают по правилам технической эксплуатации железных дорог Российской Федерации
[8] (приложение N 4,
пункт 6).
Опору питающей, отсасывающей или шунтирующей линии, линии электропередачи, прожекторной мачты или портала наружного освещения считают пригодной к дальнейшей эксплуатации, если значение расстояния от оси пути до ближайшей к нему точки поверхности опоры, полученное по
формуле (1), не превышает предельно допустимого.
7.3 Измерения для выявления коррозионно-опасных зон
7.3.1 Измерения для выявления коррозионно-опасных зон выполняют в соответствии с указаниями по техническому обслуживанию и ремонту опорных конструкций контактной сети
[12].
7.3.2 Степень коррозионной активности в зависимости от результатов измерений удельного сопротивления грунта определяют по таблице 1.
Таблица 1
Степени коррозионной активности грунта
Степень коррозионной активности грунта | Удельное сопротивление грунта, Ом | Степень коррозионной активности грунта | Удельное сопротивление грунта, Ом |
Чрезвычайно опасная | До 5 | Умеренно опасная | Св. 20 до 100 |
Очень опасная | От 5 до 10 | Неопасная | Св. 100 |
Опасная | Св. 10 до 20 | - | - |
7.4 Контроль состояния надземной части опор, прожекторных мачт и порталов наружного освещения
Контроль состояния надземной части опор, прожекторных мачт и порталов наружного освещения выполняют в соответствии с указаниями по техническому обслуживанию и ремонту опорных конструкций контактной сети
[12].
7.5 Контроль состояния арматуры подземной части опор, прожекторных мачт и порталов наружного освещения
Контроль состояния арматуры подземной части опор, прожекторных мачт и порталов наружного освещения выполняют в соответствии с указаниями по техническому обслуживанию и ремонту опорных конструкций контактной сети
[12].
7.6 Проверка износа контактного провода
7.6.1 Общие требования
7.6.1.1 Износ контактного провода определяют косвенно путем измерения высоты оставшегося сечения провода.
Для измерения высоты оставшегося сечения контактного провода применяют следующие способы:
а) измерение с помощью мобильного информационно-измерительного комплекса;
б) измерение ручным мерительным инструментом.
7.6.1.2 Способ измерения с помощью мобильного информационно-измерительного комплекса является основным. Способы измерения ручным мерительным инструментом применяют:
на путях, не входящих в маршрут движения мобильного информационно-измерительного комплекса;
при необходимости срочного выполнения измерения.
7.6.2 Измерение с помощью мобильного информационно-измерительного комплекса
7.6.2.1 Для измерения используют мобильный информационно-измерительный комплекс с абсолютной погрешностью измерения высоты оставшегося сечения контактного провода не выше 0,3 мм при количестве контактных проводов от 1 до 4, диапазоне изменения не менее, чем от 6,8 до 14,5 мм и скорости движения не менее 50 км/ч.
7.6.2.2 Измерение выполняют при объезде участка и анализируют результаты автоматического пересчета значений высоты оставшегося сечения контактного провода в значения износа, выполненного с помощью метрологически значимого программного обеспечения мобильного информационно-измерительного комплекса.
7.6.2.3 Если в результате измерения в нескольких местах анкерного участка выявлен износ более 25% площади сечения провода для медного или легированного контактного провода или более 30% площади сечения провода для бронзового контактного провода, то измерения повторяют с помощью ручного мерительного инструмента по
7.6.3.3.
7.6.3 Измерение ручным мерительным инструментом
7.6.3.1 Для измерения используют один из следующих инструментов:
штангенциркуль по
ГОСТ 166 с пределом измерения до 150 мм и абсолютной погрешностью не выше 0,1 мм;
гладкий микрометр для измерения наружных размеров изделий по
ГОСТ 6507 с пределом измерения от 0 до 25 мм класса точности не выше 2.
7.6.3.2 Измерение выполняют в местах, где в результате визуального контроля состояния контактного провода выявлен повышенный износ.
На участках контактного провода, не взаимодействующих с токоприемником, измерение не выполняют.
7.6.3.3 В случаях, указанных в
7.6.2.3 и
7.6.3.2, измерение выполняют последовательно на всем протяжении анкерного участка: в середине пролетов, у всех зажимов, установленных на контактном проводе (струновых, фиксирующих, стыковых, средней анкеровки и питающих), а также в точках заметного повышенного местного износа. Измерения выполняют по обе стороны всех зажимов (кроме струновых), при этом фиксируют минимальные значения высоты оставшегося сечения контактного провода.
7.6.4 Обработка результатов измерений
7.6.4.1 Пересчет значений высоты оставшегося сечения контактного провода, измеренных ручным мерительным инструментом, в значения износа выполняют:
для круглых проводов сечением 85 мм
2 - по
таблице 2;
для круглых проводов сечением 100 мм
2 - по
таблице 3;
для овальных проводов сечением 100 мм
2 - по
таблице 4;
для круглых проводов сечением 120 мм
2 - по
таблице 5;
для круглых проводов сечением 150 мм
2 - по
таблице 6.
Таблица 2
Таблица для пересчета значений высоты оставшегося
сечения контактного провода в значения износа
для круглых проводов сечением 85 мм2
Высота оставшегося сечения, мм | Износ, мм2 | Высота оставшегося сечения, мм | Износ, мм2 | Высота оставшегося сечения, мм | Износ, мм2 | Высота оставшегося сечения, мм | Износ, мм2 |
10,80 | 0 | 9,80 | 4,50 | 8,80 | 12,39 | 7,80 | 22,11 |
10,70 | 0,15 | 9,70 | 5,18 | 8,70 | 13,29 | 7,70 | 23,16 |
10,60 | 0,41 | 9,60 | 5,89 | 8,60 | 14,21 | 7,60 | 24,21 |
10,50 | 0,75 | 9,50 | 6,62 | 8,50 | 15,15 | 7,50 | 25,28 |
10,40 | 1,16 | 9,40 | 7,38 | 8,40 | 16,10 | 7,40 | 26,35 |
10,30 | 1,61 | 9,30 | 8,16 | 8,30 | 17,07 | 7,30 | 27,44 |
10,20 | 2,11 | 9,20 | 8,96 | 8,20 | 18,05 | 7,20 | 28,54 |
10,10 | 2,66 | 9,10 | 9,79 | 8,10 | 19,05 | 7,10 | 29,64 |
10,00 | 3,24 | 9,00 | 10,64 | 8,00 | 20,06 | 7,00 | 30,75 |
9,90 | 3,85 | 8,90 | 11,50 | 7,90 | 21,08 | 6,90 | 31,87 |
Таблица 3
Таблица для пересчета значений высоты оставшегося
сечения контактного провода в значения износа
для круглых проводов сечением 100 мм2
Высота оставшегося сечения, мм | Износ, мм2 | Высота оставшегося сечения, мм | Износ, мм2 | Высота оставшегося сечения, мм | Износ, мм2 | Высота оставшегося сечения, мм | Износ, мм2 |
11,80 | 0 | 10,60 | 6,14 | 9,40 | 16,85 | 8,20 | 29,96 |
11,70 | 0,15 | 10,50 | 6,91 | 9,30 | 17,87 | 8,10 | 31,13 |
11,60 | 0,43 | 10,40 | 7,70 | 9,20 | 18,90 | 8,00 | 32,30 |
11,50 | 0,78 | 10,30 | 8,52 | 9,10 | 19,95 | 7,90 | 33,49 |
11,40 | 1,20 | 10,20 | 9,36 | 9,00 | 21,01 | 7,80 | 34,69 |
11,30 | 1,68 | 10,10 | 10,23 | 8,90 | 22,08 | 7,70 | 35,89 |
11,20 | 2,20 | 10,00 | 11,11 | 8,80 | 23,17 | 7,60 | 37,10 |
11,10 | 2,77 | 9,90 | 12,02 | 8,70 | 24,27 | 7,50 | 38,32 |
11,00 | 3,38 | 9,80 | 12,95 | 8,60 | 25,39 | 7,40 | 39,95 |
10,90 | 4,02 | 9,70 | 13,90 | 8,50 | 26,51 | - | - |
10,80 | 4,69 | 9,60 | 14,86 | 8,40 | 27,65 | - | - |
10,70 | 5,04 | 9,50 | 15,85 | 8,30 | 28,80 | - | - |
Таблица 4
Таблица для пересчета значений высоты оставшегося
сечения контактного провода в значения износа
для овальных проводов сечением 100 мм2
Высота оставшегося сечения, мм | Износ, мм2 | Высота оставшегося сечения, мм | Износ, мм2 | Высота оставшегося сечения, мм | Износ, мм2 | Высота оставшегося сечения, мм | Износ, мм2 |
10,50 | 0 | 9,70 | 6,00 | 8,90 | 16,47 | 8,10 | 28,15 |
10,40 | 0,27 | 9,60 | 7,15 | 8,80 | 17,89 | 8,00 | 29,63 |
10,30 | 0,75 | 9,50 | 8,37 | 8,70 | 19,33 | 7,90 | 31,12 |
10,20 | 1,38 | 9,40 | 9,64 | 8,60 | 20,78 | 7,80 | 32,62 |
10,10 | 2,13 | 9,30 | 10,96 | 8,50 | 22,24 | 7,70 | 34,11 |
10,00 | 2,97 | 9,20 | 12,30 | 8,40 | 23,71 | 7,60 | 35,60 |
9,90 | 3,90 | 9,10 | 13,67 | 8,30 | 25,18 | - | - |
9,80 | 4,91 | 9,00 | 15,06 | 8,20 | 26,66 | - | - |
Таблица 5
Таблица для пересчета значений высоты оставшегося
сечения контактного провода в значения износа
для круглых проводов сечением 120 мм2
Высота оставшегося сечения, мм | Износ, мм2 | Высота оставшегося сечения, мм | Износ, мм2 | Высота оставшегося сечения, мм | Износ, мм2 | Высота оставшегося сечения, мм | Износ, мм2 |
12,90 | 0 | 11,80 | 5,62 | 10,70 | 15,49 | 9,60 | 27,70 |
12,80 | 0,16 | 11,70 | 6,38 | 10,60 | 16,51 | 9,50 | 28,88 |
12,70 | 0,44 | 11,60 | 7,19 | 10,50 | 17,57 | 9,40 | 30,10 |
12,60 | 0,82 | 11,50 | 8,02 | 10,40 | 18,62 | 9,30 | 31,31 |
12,50 | 1,25 | 11,40 | 8,87 | 10,30 | 19,70 | 9,20 | 32,54 |
12,40 | 1,74 | 11,30 | 9,74 | 10,20 | 20,81 | 9,10 | 33,78 |
12,30 | 2,29 | 11,20 | 10,64 | 10,10 | 21,91 | 9,00 | 35,03 |
12,20 | 2,88 | 11,10 | 11,57 | 10,00 | 23,04 | 8,90 | 36,29 |
12,10 | 3,50 | 11,00 | 12,52 | 9,90 | 24,19 | 8,80 | 37,55 |
12,00 | 4,18 | 10,90 | 13,49 | 9,80 | 25,34 | 8,70 | 38,81 |
11,90 | 4,88 | 10,80 | 14,48 | 9,70 | 26,51 | 8,60 | 40,06 |
Таблица 6
Таблица для пересчета значений высоты оставшегося
сечения контактного провода в значения износа
для круглых проводов сечением 150 мм2
Высота оставшегося сечения, мм | Износ, мм2 | Высота оставшегося сечения, мм | Износ, мм2 | Высота оставшегося сечения, мм | Износ, мм2 | Высота оставшегося сечения, мм | Износ, мм2 |
14,50 | 0 | 13,20 | 7,61 | 11,90 | 20,94 | 10,60 | 37,37 |
14,40 | 0,17 | 13,10 | 8,48 | 11,80 | 22,11 | 10,50 | 38,72 |
14,30 | 0,47 | 13,00 | 9,39 | 11,70 | 23,30 | 10,40 | 40,09 |
14,20 | 0,86 | 12,90 | 10,32 | 11,60 | 24,51 | 10,30 | 41,47 |
14,10 | 1,32 | 12,80 | 11,28 | 11,50 | 25,73 | 10,20 | 42,86 |
14,00 | 1,84 | 12,70 | 12,27 | 11,40 | 26,96 | 10,10 | 44,26 |
13,90 | 2,42 | 12,60 | 13,28 | 11,30 | 28,22 | 10,00 | 45,67 |
13,80 | 3,04 | 12,50 | 14,31 | 11,20 | 29,48 | 9,90 | 47,09 |
13,70 | 3,71 | 12,40 | 15,36 | 11,10 | 30,76 | 9,80 | 48,51 |
13,60 | 4,42 | 12,30 | 16,44 | 11,00 | 32,06 | 9,70 | 49,95 |
13,50 | 5,16 | 12,20 | 17,53 | 10,90 | 33,37 | 9,60 | 51,39 |
13,40 | 5,95 | 12,10 | 18,65 | 10,80 | 34,69 | - | - |
13,30 | 6,76 | 12,00 | 19,79 | 10,70 | 36,02 | - | - |
7.6.4.2 Полученные в результате автоматического пересчета или пересчета по
7.6.4.1 значения износа в каждой точке измерения сравнивают с предельно допустимыми, которые приведены в
строках 1 -
2 таблицы 7.
Таблица 7
Предельно допустимые значения высоты
оставшегося сечения и износа контактного провода
Наименование показателя | Значения показателей для номинальной площади сечения провода, мм2 |
для медных и легированных проводов | для бронзовых контактных проводов |
85 круглый | 100 круглый | 100 овальный | 120 круглый | 150 круглый | 120 круглый | 150 круглый |
| 30 | 35 | 35 | 40 | 50 | 40 | 50 |
2 Высота оставшегося сечения, мм | 7,07 | 7,77 | 7,64 | 8,60 | 9,70 | 7,36 | 7,88 |
| 25 | 30 | 30 | 35 | 45 | 35 | 45 |
7.6.4.3 Если значение износа ни в одной из точек не превышает предельно допустимого, то контактную подвеску считают пригодной к дальнейшей эксплуатации.
Если значение износа в одной или нескольких точках превышает предельно допустимое, то в этих точках делают вставку нового контактного провода того же типа. Длина вставки должна быть не менее 1,5 м. При двойном контактном проводе расстояние между стыковыми зажимами, установленными на разных проводах, должно быть не менее 6 м. Расстояние от стыкового зажима до фиксирующего зажима должно быть не менее 1 м.
(в ред.
Изменений, утв. Распоряжением ОАО "РЖД" от 02.08.2017 N 1540р)
Если в процессе эксплуатации на участках 1 - 3 классов количество стыковых зажимов в пределах одного анкерного участка (за исключением ветвей, отходящих на анкеровку) превысит 7 (на участках скоростного и высокоскоростного движения поездов - 4), то предусматривают замену контактного провода на всем анкерном участке. При двойном контактном проводе данное требование относится отдельно к каждому из контактных проводов.
(в ред.
Изменений, утв. Распоряжением ОАО "РЖД" от 02.08.2017 N 1540р)
На участках 4 и 5 класса общее количество стыковых зажимов в пределах анкерного участка не ограничивается.
7.6.4.4 Среднее значение износа Sср, мм2, вычисляют по формуле:

(2)
где Si - значение износа в i-той точке, мм2;
n - количество точек измерения износа в пределах анкерного участка.
7.6.4.6 Если среднее значение износа не превышает предельно допустимого, то контактную подвеску считают пригодной к дальнейшей эксплуатации. Если среднее значение износа превышает предельно допустимое, то предусматривают замену контактного провода на всем анкерном участке.
7.7 Проверка основных размеров, характеризующих техническое состояние контактной сети
7.7.1 Общие требования
К основным размерам, характеризующим техническое состояние контактной сети, относятся:
а) высота подвеса контактного провода;
б) вынос контактного провода;
в) расстояние по вертикали между контактным проводом и:
1) основным стержнем сочлененного фиксатора (для консольных опор и жестких поперечин с фиксирующими стойками);
2) нижним фиксирующим тросом (для гибких поперечин);
3) фиксирующим тросом (для жестких поперечин без фиксирующих стоек);
г) разность высоты подвеса контактного провода в пролете;
д) уклон контактного провода.
7.7.2 Измерение высоты подвеса контактного провода и выноса контактного провода
7.7.2.1 Для измерения высоты подвеса и выноса контактного провода применяют следующие способы:
а) измерение переносным устройством на основе стереотелевизионной системы;
б) измерение переносным ультразвуковым дальномером;
в) измерение с помощью рулетки, линейки и вспомогательных приспособлений со съемной изолирующей вышки или с рабочей площадки автомотрисы.
Способ измерения переносным устройством на основе стереотелевизионной системы является основным. Способы измерения, указанные в
перечислениях б) и
в), применяют при отсутствии переносного устройства на основе стереотелевизионной системы.
7.7.2.2 При измерении способом, указанным в
7.7.2.1, перечисление а), используют переносное устройство на основе стереотелевизионной системы с абсолютной погрешностью не выше 20 мм и пределами измерений:
нижним - не более 5400 мм;
верхним - не менее 6900 мм.
7.7.2.3 При измерении способом, указанным в
7.7.2.1, перечисление б), используют дальномер с пределом измерений 12 м класса точности не выше 1,0.
7.7.2.4 При измерении способом, указанным в
7.7.2.1, перечисление в), используют рулетки с мерной лентой из неметаллических материалов, линейки, изготовленные из неметаллических материалов, и вспомогательные приспособления, изготовленные из неметаллических материалов.
7.7.2.5 Измерение выполняют, располагая средства измерений в следующих точках:
под фиксатором;
в середине пролета.
В каждой из этих точек измерение выполняют однократно. Порядок обращения с переносным устройством на основе стереотелевизионной системы и дальномером - в соответствии с технической документацией изготовителя.
При использовании способа, указанного в
7.7.2.1, перечисление в), на путях с двойным контактным проводом регистрируют наибольшее из двух значений выноса, измеренного для каждого из проводов.
7.7.3 Измерение расстояние по вертикали между контактным проводом и основным стержнем сочлененного фиксатора (нижним фиксирующим тросом или фиксирующим тросом)
Расстояние по вертикали между контактным проводом и основным стержнем сочлененного фиксатора (нижним фиксирующим тросом или фиксирующим тросом) измеряют линейкой, изготовленной из неметаллических материалов, или рулеткой с мерной лентой из неметаллических материалов.
7.7.4 Определение разности высоты подвеса контактного провода в пролете и уклона контактного провода
7.7.4.1 Значение разности высоты подвеса контактного провода в пролете H, мм, вычисляют по формуле
где
hmax и
hmin - соответственно максимальное и минимальное значения высоты подвеса в данном пролете, мм, полученные при измерении по
7.7.2.5.
7.7.4.2 Значение уклона контактного провода s вычисляют по формуле

(4)
где
H - значение разности высоты подвеса контактного провода в пролете, мм, определенное по
7.7.4.1 (формула (3));
lпр - значение длины пролета, м.
7.7.5 Оценка результатов
7.7.5.1 Значения высоты подвеса контактного провода и выноса контактного провода, полученные при измерении по
7.7.2, расстояния по вертикали между контактным проводом и основным стержнем сочлененного фиксатора (нижним фиксирующим тросом или фиксирующим тросом), полученные при измерении по
7.7.3, разности высоты подвеса контактного провода в пролете и уклона контактного провода, определенные по
7.7.4, сравнивают с предельно допустимыми значениями.
7.7.5.2 Предельно допустимые значения высоты подвеса контактного провода - по правилам технической эксплуатации железных дорог Российской Федерации
[8] (приложение N 4,
пункт 4). Эти значения нормируются в отсутствие воздействия на провод токоприемника.
7.7.5.3 Предельно допустимые значения выноса контактного провода:
на прямых участках пути при скорости движения до 160 км/ч - (300 +/- 30) мм;
на прямых участках пути при скорости движения выше 160 км/ч - (300 +/- 20) мм;
на кривых участках пути - в соответствии с таблицей 8.
Таблица 8
Предельно допустимые значения
выноса контактного провода в кривых
7.7.5.4 Предельно допустимые значения расстояния по вертикали между контактным проводом и основным стержнем сочлененного фиксатора (нижним фиксирующим тросом или фиксирующим тросом) - в соответствии с таблицей 9.
Таблица 9
Предельно допустимые значения расстояния по вертикали
между контактным проводом и основным стержнем сочлененного
фиксатора (нижним фиксирующим тросом или фиксирующим тросом)
Характеристика места установки фиксатора | Минимально допустимое значение расстояния, мм, по вертикали между контактным проводом и основным стержнем сочлененного фиксатора (нижним фиксирующим тросом или фиксирующим тросом) |
для прямых фиксаторов | для обратных фиксаторов <1> |
1 Участки со скоростью движения до 120 км/ч и скоростью ветра до 25 м/с | а) прямые и кривые радиусом более 2000 м | 350 | 450 |
б) кривые радиусом до 2000 м | 300 | 400 |
2 Участки со скоростью движения св. 120 до 160 км/ч или скоростью ветра св. 25 м/с независимо от скорости движения | а) прямые и кривые радиусом более 2000 м | 400 | 500 |
б) кривые радиусом до 2000 м | 350 | 450 |
3 Участки со скоростью движения св. 160 км/ч <2> | 350 | 350 |
<1> В том числе для фиксаторов на фиксирующем тросе. <2> При наличии ограничителя на фиксаторной стойке. |
7.7.5.5 Предельно допустимое значение разности высоты подвеса в пролете на участках со скоростью движения от 200 до 250 км/ч составляет 10 мм.
7.7.5.6 Предельно допустимые значения уклона контактного провода на участках со скоростью движения:
до 50 км/ч - 0,010;
свыше 50 до 70 км/ч - 0,006;
свыше 70 до 120 км/ч - 0,004;
свыше 120 до 160 км/ч - 0,002;
свыше 160 до 200 км/ч - 0,001.
7.7.5.7 Контактную подвеску считают пригодной к дальнейшей эксплуатации при одновременном выполнении следующих условий:
значения высоты подвеса контактного провода, полученные при измерении по
7.7.2, находятся в допустимых пределах по
7.7.5.2;
значения выноса контактного провода, полученные при измерении по
7.7.2, не превышают допустимых по
7.7.5.3;
значения расстояния по вертикали между контактным проводом и основным стержнем сочлененного фиксатора (нижним фиксирующим тросом или фиксирующим тросом), полученные при измерении по
7.7.3, не меньше предельно допустимого по
7.7.5.4;
значения разности высоты подвеса в пролете и уклона, определенные по
7.7.4, находятся в допустимых пределах по
7.7.5.5 и
7.7.5.6.
Если хотя бы одно из условий не выполняется, то производят регулировку контактной подвески и измерения по
7.7.2 -
7.7.4 повторяют.
7.8 Контроль исправности искровых промежутков и диодных заземлителей
7.8.1 Искровые промежутки
Контроль исправности искровых промежутков производят с помощью специализированного средства измерений в порядке, установленном технической документацией изготовителя средства измерений.
7.8.2 Диодные заземлители
7.8.2.1 Для контроля исправности диодного заземлителя измеряют его сопротивление в прямом и обратном направлениях.
Примечание - Под прямым направлением понимают направление тока от заземляемой части электроустановки (например, опоры контактной сети, корпуса поста секционирования) к рельсу, под обратным - от рельса к заземляемой части.
7.8.2.2 Для измерения сопротивления диодного заземлителя используют мегаомметр на напряжение 500 В.
Измерение сопротивления выполняют в следующем порядке
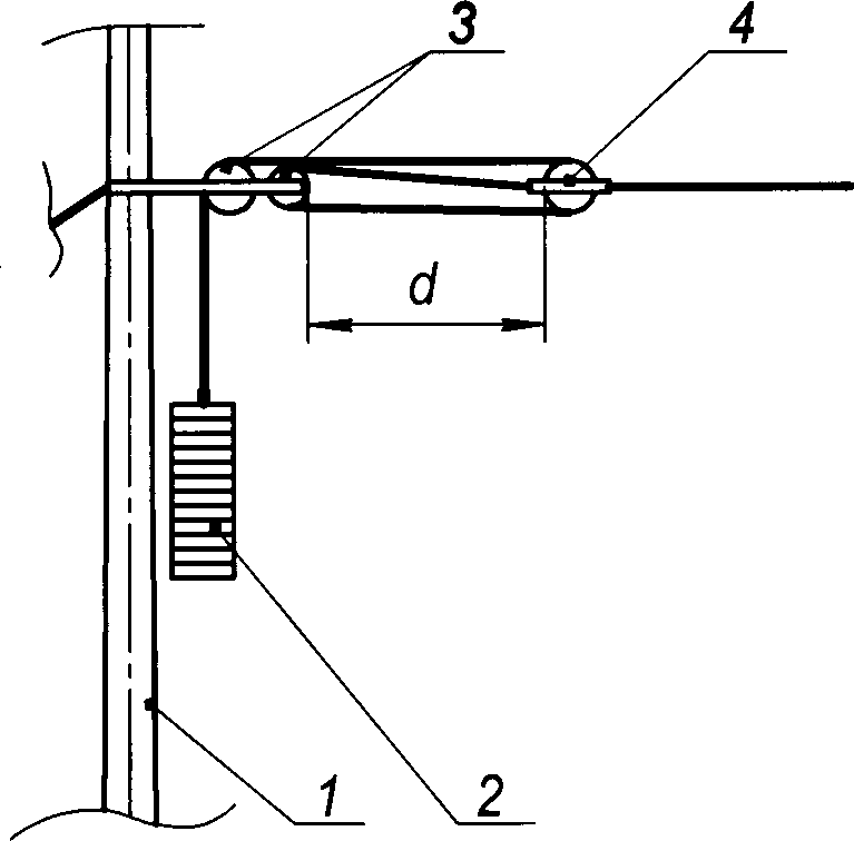
(рисунок 1):
а) место разрыва заземляющего проводника шунтируют перемычкой (требования к перемычке - по инструкции по безопасности для электромонтеров контактной сети
[13] (пункт 12.2.2));
б) разбирают одно из контактных соединений заземляющего проводника;
в) к выводам диодного заземлителя подключают мегаомметр для измерения сопротивления в прямом направлении и фиксируют его показания;
г) изменяют полярность подключения мегаомметра для измерения сопротивления в обратном направлении и фиксируют его показания;
д) отсоединяют мегаомметр;
е) восстанавливают контактное соединение заземляющего проводника;
1 - диодный заземлитель; 2 - заземляющий проводник;
3 - железнодорожный путь; 4 - перемычка
(требования - по инструкции по безопасности
для электромонтеров контактной сети
[13] (пункт 12.2.2));
R - мегаомметр (требования - по
7.8.2.2)
Рисунок 1 - Схема контроля исправности диодного заземлителя
7.8.2.3 Если мегаомметр показывает ноль в прямом направлении и не менее 100 кОм в обратном направлении, то диодный заземлитель считают исправным и восстанавливают цепь заземляющих проводников.
При иных значениях сопротивления диодный заземлитель считают неисправным и ремонтируют или заменяют.
7.8.2.4 При контроле исправности диодно-искрового заземлителя диодный заземлитель контролируют по
7.8.2.1 -
7.8.2.3, а искровой промежуток (искровые промежутки) - по
7.8.1.
7.9 Проверка характеристик токоприемников электроподвижного состава
7.9.1 К характеристикам токоприемников электроподвижного состава, подлежащим проверке, относят:
активное нажатие;
пассивное нажатие;
разница между наибольшим и наименьшим значениями нажатия при одностороннем движении токоприемника.
7.9.2 Измерение активного нажатия, пассивного нажатия и разницы между наибольшим и наименьшим значениями нажатия при одностороннем движении токоприемника проводят совместно с представителем локомотивного депо на 2 - 3 электровозах и моторных вагонов электропоездов каждой из серий из числа приписанных к данному депо.
7.9.3 Измерение активного нажатия, пассивного нажатия и разницы между наибольшим и наименьшим значениями нажатия при одностороннем движении токоприемника выполняют:
а) при температуре наружного воздуха:
1) выше минус 20 °C - на открытом воздухе;
2) ниже минус 20 °C - в помещении депо;
б) без предварительного раскачивания токоприемника.
7.9.4 В процессе измерений визуально контролируют состояние элементов конструкции токоприемника - износ угольных вставок, наличие сколов, состояние шплинтов, электрических шунтов и изоляторов.
7.9.5 Токоприемники считают пригодными к дальнейшей эксплуатации в течение ближайшего межремонтного срока, если значения активного нажатия, пассивного нажатия и разницы между наибольшим и наименьшим значениями нажатия при одностороннем движении токоприемника находятся в пределах, установленных ГОСТ 32204
(пункт 5.1.2, таблица 2). В противном случае токоприемник ремонтируют или заменяют, после чего измерения по
7.9.2 и
7.9.3, а также визуальный контроль по
7.9.4 повторяют.
7.10 Проверка сопротивления изоляции вспомогательных цепей переключателей станций стыкования
7.10.1 Сопротивление изоляции вспомогательных цепей измеряют однократно для каждой электрически связанной группы цепей по отношению к заземленным токопроводящим частям и для каждой из двух электрически связанных групп цепей по отношению друг к другу. Для измерения применяют мегаомметр на напряжение 1000 В.
Полупроводниковые приборы на время измерения должны быть зашунтированы.
7.10.2 Значения сопротивления изоляции, полученные при измерении по
7.10.1, сравнивают с предельно допустимыми, которые составляют:
для обмоток электродвигателей приводов переключателей - 0,5 МОм;
для всех остальных цепей - 1 МОм.
7.10.3 Переключатель считают пригодным к дальнейшей эксплуатации, если значения сопротивления изоляции, полученные при измерении по
7.10.1, не менее указанных в
7.10.2. В противном случае переключатель ремонтируют и измерения по
7.10.1 повторяют.
7.11 Проверка сопротивления изоляции обмоток трансформатора запала устройств защиты станций стыкования
7.11.1 Сопротивление изоляции обмоток трансформатора запала измеряют однократно:
обмотки высшего напряжения - мегаомметром на напряжение 2500 В;
обмотки низшего напряжения - мегаомметром на напряжение 1000 или 500 В.
7.11.2 Значения сопротивления изоляции, полученные при измерении по
7.11.1, приводят к одной и той же температуре путем умножения на коэффициент, значения которого принимают в соответствии с таблицей 10, и сравнивают с результатами предыдущих измерений.
Таблица 10
Значения коэффициента для пересчета сопротивления
изоляции, полученного при измерении
по
7.11.1, к одной и той же температуре
Разность температуры при текущем и предыдущем измерении, °C | Коэффициент, на который следует умножать сопротивление изоляции | Разность температуры при текущем и предыдущем измерении, °C | Коэффициент, на который следует умножать сопротивление изоляции |
5 | 1,23 | 30 | 3,46 |
10 | 1,50 | 35 | 4,15 |
15 | 1,84 | 40 | 5,00 |
20 | 2,25 | 45 | 6,20 |
25 | 2,75 | 50 | 7,50 |
Если сопротивление изоляции снизилось по отношению к предыдущему измерению не более, чем на 30%, то трансформатор запала считают пригодным к дальнейшей эксплуатации. В противном случае трансформатор запала заменяют.
7.12 Контроль исправности дроссель-трансформаторов <1>
--------------------------------
<1> Положения подраздела 7.12 распространяются только на дроссель-трансформаторы, установленные с целью подключения отсасывающих линий тяговых подстанций и автотрансформаторных пунктов к рельсовым цепям.
7.12.1 Контроль исправности заключается в:
контроле уровня и проверке температуры масла (только для маслонаполненных дроссель-трансформаторов);
проверке сопротивления изоляции обмоток.
7.12.2 Положение уровня масла измеряют после вскрытия дроссель-трансформатора линейкой по
ГОСТ 427 относительно верхнего края корпуса.
Температуру масла измеряют термометром со шкалой 150 °C при наибольшей температуре окружающего воздуха и наибольшей токовой нагрузке (для соблюдения этого требования рекомендуется производить измерения по согласованию с энергодиспетчером в период, начинающийся через 10 мин после окончания технологического "окна" и заканчивающийся через 40 мин).
7.12.3 Сопротивление изоляции обмоток измеряют однократно мегаомметром на напряжение 1000 В при отключенных от тяговой рельсовой сети выводах дроссель-трансформатора.
7.12.4 Дроссель-трансформатор считают пригодным к дальнейшей эксплуатации, если:
а) уровень масла находится не ниже, чем на 80 мм от верхнего края корпуса или не ниже контрольного отверстия в корпусе, не касаясь выводов дополнительной обмотки;
б) превышение температуры масла над температурой окружающего воздуха составляет не более 60 °C;
в) сопротивление изоляции обмоток относительно заземленных нетоковедущих частей корпуса при отключенных кабелях составляет не менее:
1) для основной обмотки - 2,0 МОм;
2) для дополнительной обмотки - 5,0 МОм.
Дроссель-трансформатор, не удовлетворяющий этим условиям, ремонтируют или заменяют.
7.13 Контроль исправности сигнальных указателей "Опустить токоприемник"
7.13.1 Контроль исправности заключается в:
проверке сопротивления изоляции первичной цепи реле контроля напряжения и вторичных цепей;
визуальном контроле наличия светового сигнала при снятии напряжения с одной из секций контактной сети.
7.13.2 Сопротивление изоляции первичной цепи реле контроля напряжения измеряют однократно мегаомметром на напряжение 2500 В в сухую погоду при температуре окружающего воздуха не ниже 10 °C.
Сопротивление изоляции вторичных цепей измеряют однократно мегаомметром на напряжение 1000 В между каждой из групп электрически не связанных цепей и заземленными нетоковедущими частями, а также всех групп электрически не связанных цепей между собой.
7.13.3 Визуальный контроль наличия светового сигнала проводят в светлое время суток по согласованию с энергодиспетчером при снятии напряжения с одной из секций контактной сети. Работник, осуществляющий визуальный контроль, должен находиться на расстоянии не менее 100 м от указателя.
7.13.4 Указатель считают пригодным к дальнейшей эксплуатации, если:
а) сопротивление изоляции составляет не менее:
1) первичной цепи реле контроля напряжения - 300 МОм;
2) вторичных цепей - 1 МОм;
б) при визуальном контроле по
7.13.3 световой сигнал отчетливо виден.
7.14 Проверка сопротивления изоляции корпусов приводов разъединителей
7.14.1 Проверку сопротивления изоляции корпуса привода выполняют для тех приводов, для которых необходима изоляция. Критерии необходимости применения изоляции (справочно) - по инструкции по заземлению
[14] (пункты 3.4.2 и 3.11.5).
7.14.2 Сопротивление изоляции корпуса привода выполняют мегаомметром на напряжение 500 В.
7.14.3 Значение сопротивления, полученное в результате измерений по
7.14.2, сравнивают с предельно допустимым значением, которое составляет 10 кОм.
7.14.4 Изоляцию корпуса привода считают пригодной к дальнейшей эксплуатации, если значение ее сопротивления, полученное при измерении по
7.14.2, больше или равно предельно допустимому по
7.14.3. В противном случае изоляцию корпуса привода заменяют и измерение по
7.14.2 повторяют.
7.15 Диагностические испытания и измерения устройств дистанционного управления разъединителями с двигательными приводами
7.15.1 Диагностические испытания и измерения устройств дистанционного управления разъединителями с двигательными приводами включают в себя:
проверку сопротивления изоляции корпуса привода;
очистку приводов и щитов (пультов) управления, клеммных шкафов;
контроль исправности контактных соединений;
зачистку коллекторов электродвигателей;
восстановление смазки трущихся частей механизма привода;
контроль исправности блокировки крышек приводов;
опробование включения и отключения привода совместно с разъединителем.
7.15.2 Проверку сопротивления изоляции корпуса привода выполняют по
7.14 для тех приводов, для которых необходима изоляция.
7.16 Диагностические испытания и измерения короткозамыкателей
7.16.1 Общие требования
Диагностические испытания и измерения короткозамыкателей включают в себя:
контроль положения электродов и зазора между ними;
проверку сопротивления изоляции;
проверку напряжения срабатывания входного устройства.
7.16.2 Контроль положения электродов и зазора между ними
7.16.2.1 Соосность электродов контролируют, прикладывая к поверхности одного из них жесткую планку длиной не менее 80 мм в четырех точках по диаметру с интервалом 90°. С помощью набора пластинчатых щупов в каждой из четырех точек измеряют ширину зазора между планкой и другим электродом.
7.16.2.2 Расстояние между электродами контролируют с помощью двух щупов - проходного толщиной (14,0 +/- 0,2) мм и непроходного толщиной (16,0 +/- 0,2) мм.
7.16.2.3 Значение ширины зазора, измеренное по
7.16.2.1, сравнивают с предельно допустимым, которое составляет 2,0 мм.
7.16.2.4 Короткозамыкатель считают пригодным к дальнейшей эксплуатации, если:
значение ширины зазора, измеренное по
7.16.2.1, в каждой из четырех точек не превышает предельно допустимое по
7.16.2.3;
проходной щуп по
7.16.2.2 свободно проходит между электродами, а непроходной - не проходит ни с одной из сторон электрода.
Если указанные условия не выполняются, то положение электродов регулируют и измерения по
7.16.2.1 -
7.16.2.3 повторяют.
7.16.3 Проверка сопротивления изоляции
7.16.3.1 Измерение сопротивления производят мегаомметром на напряжение 2500 В.
7.16.3.2 Значения сопротивления, полученные при измерении по
7.16.3.1, сравнивают с предельно допустимыми значениями, которые составляют:
изоляции между выводами электродов - 300 МОм;
изоляции между выводами катушек запального устройства и выводом нижнего электрода - 10 МОм;
изоляции между выводами "ДП", "1" и "2" входного устройства и корпусом - 10 МОм.
7.16.3.3 Если значения сопротивления, полученные при измерении по
7.16.3.1, не менее предельно допустимых по
7.16.3.2, то короткозамыкатель считают пригодным к дальнейшей эксплуатации.
В противном случае изоляционные детали заменяют и измерения по
7.16.3.1 повторяют.
7.16.4 Проверка напряжения срабатывания входного устройства
7.16.4.1 Напряжение срабатывания входного устройства измеряют в следующей последовательности:
б) убедившись, что движок автотрансформатора T1 находится в положении, соответствующем минимальному напряжению, включают переключатель SA1 и изменяя положения движка автотрансформатора, устанавливают на конденсаторе C напряжение (700 +/- 50) В, контролируя его по вольтметру V;
в) по показаниям амперметра A убеждаются, что ток в цепи равен 0;
г) изменяя положения движка автотрансформатора, продолжают повышать напряжение, одновременно контролируя ток по амперметру A;
д) в момент, когда значение тока, контролируемое по амперметру
A, резко увеличится и составит от 370 до 450 мА, подъем напряжения прекращают, считывают показание вольтметра
V и фиксируют его;
е) отключают переключатель SA1, движок автотрансформатора устанавливают в положение минимума напряжения, конденсатор C разряжают;
ж) схему разбирают.
SA1 - переключатель 250 В, 10 А;
T1 - лабораторный автотрансформатор;
T2 - однофазный силовой трансформатор ОМ (ОЛ) 6000/220 В мощностью не менее 0,63 кВ·А;
VD - мост из четырех диодов с обратным напряжением не ниже 1500 В;
R1 - R4 - резисторы 1,0 кОм +/- 10%;
V - вольтметр постоянного тока с пределом измерения от 1500 до 7500 В класса точности не выше 1,5;
C - конденсатор емкостью 140 мкФ на напряжение не менее 1500 В;
A - амперметр постоянного тока класса точности не выше 1,5;
ВУ - входное устройство короткозамыкателя, "ДП", "1" и "2" - обозначения его выводов.
Рисунок 2 - Схема для измерения напряжения срабатывания
входного устройства короткозамыкателя
7.16.4.2 Значение напряжения, полученное при измерении по
7.16.4.1, перечисление д), сравнивают с допустимым, которое составляет (820 +/- 82) В.
7.16.4.3 Если значение напряжения, полученное при измерении по
7.16.4.1, находится в пределах, установленных в
7.16.4.2, то короткозамыкатель считают пригодным к дальнейшей эксплуатации.
В противном случае производят регулировку.
7.17 Диагностические испытания и измерения разрядников и ограничителей перенапряжений
7.17.1 Диагностические испытания и измерения разрядников и ограничителей перенапряжений заключаются в проверке сопротивления изоляции корпуса и заземляющего проводника.
Значение сопротивления изоляции корпуса и заземляющего проводника по отношению к металлическим частям конструкции, на которой он размещен, измеряют мегаомметром на напряжение 500 В.
7.17.2 Значение сопротивления, измеренное по
7.17.1, сравнивают с предельно допустимым значением, которое составляет 10 кОм.
7.17.3 Если значение сопротивления изоляции корпуса по отношению к металлическим частям конструкции, на которой он размещен, измеренное по
7.17.1, больше или равно предельно допустимому значению по
7.17.2, то разрядник (ОПН) считают пригодным к дальнейшей эксплуатации.
Если значение сопротивления изоляции меньше предельно допустимого по
7.17.2, то изоляцию заменяют и измерение по
7.17.1 повторяют.
7.18 Диагностические испытания и измерения прожекторов и светильников
7.18.1 Общие требования
Диагностические испытания и измерения прожекторов и светильников включают в себя:
очистку;
проверку сопротивления изоляции.
7.18.2 Очистка
Очистке подлежат корпус прожектора или светильника, поверхности отражателя и светофильтров.
Для очистки поверхности отражателя и светофильтров применяют синтетические моющие средства и (или) химические растворители, предусмотренные технической документацией изготовителя прожектора или светильника.
7.18.3 Проверка сопротивления изоляции
7.18.3.1 Проверку сопротивления изоляции прожекторов или светильников выполняют в том случае, если при проверке сопротивления изоляции электрической сети в целом выявлено несоответствие требованию по минимально допустимому сопротивлению изоляции. Если при проверке сопротивления изоляции электрической сети в целом несоответствий не выявлено, то проверку сопротивления изоляции прожекторов или светильников допускается не проводить.
7.18.3.2 Измерение сопротивления изоляции выполняют мегаомметром на напряжение 1000 В. Полупроводниковые приборы перед измерением должны быть зашунтированы, а элементы с испытательным напряжением ниже 1000 В - отсоединены.
7.18.3.3 Значение сопротивления изоляции, измеренное по
7.18.3.2, сравнивают с минимально допустимым, которое составляет 0,5 МОм.
7.18.3.4 Если значение сопротивления изоляции, измеренное по
7.18.3.2, больше минимально допустимого или равно ему, то прожектор или светильник считают пригодным к дальнейшей эксплуатации.
Если значение сопротивления изоляции меньше минимально допустимого, то прожектор или светильник ремонтируют или заменяют, после чего измерение по
7.18.3.2 повторяют.
7.19 Проверка освещенности
7.19.1 Измерение освещенности выполняют методами по ГОСТ Р 54984
(раздел 6).
7.19.2 Значения освещенности, полученные в результате измерений по
7.19.1, сравнивают с предельно допустимыми, которые принимают:
для переездов - в соответствии с условиями эксплуатации железнодорожных переездов
[15] (пункт 46);
для всех остальных объектов - по ГОСТ Р 54984
(раздел 5).
7.19.3 Если значения освещенности, полученные в результате измерений по
7.19.1, больше предельно допустимых по
7.19.2 или равны им, то устройства наружного освещения считают пригодными к дальнейшей эксплуатации. В противном случае принимают меры по увеличению освещенности и измерения по
7.19.1 повторяют.
7.20 Диагностические испытания и измерения электрических сетей, предназначенных для электроснабжения устройств СЦБ
7.20.1 Общие требования
Диагностические испытания и измерения электрических сетей, предназначенных для электроснабжения устройств СЦБ, включают в себя:
проверку напряжения;
контроль отсутствия перекрытия сигналов при отсутствии напряжения продолжительностью 1,3 с;
контроль номинального тока автоматических выключателей и предохранителей.
7.20.2 Проверка напряжения
7.20.2.1 Проверке подлежит напряжение на вводных зажимах постов ЭЦ (ГАЦ) и релейных шкафов или в иных точках сети, наиболее приближенных к границе раздела балансовой принадлежности и ответственности, установленной приказом
[16] (приложение N 1).
В трехфазных сетях для измерения используют вольтметр с пределом измерения 500 В класса точности не выше 1,5 и измеряют значения напряжения поочередно между каждой парой фаз. В однофазных сетях используют вольтметр с пределом измерения 300 В класса точности не выше 2,5 и измеряют значение напряжения между фазным и нулевым проводом.
Измерение напряжения между каждой парой фаз или между фазным и нулевым проводом выполняют однократно.
7.20.2.2 Измерение напряжения выполняют в следующей последовательности:
а) убеждаются в том, что схема электрических сетей, являющихся основным и резервным источником электроэнергии, соответствует нормальному режиму;
б) переводят пост ЭЦ (ГАЦ) или релейный шкаф на работу от основного источника электроэнергии;
в) выполняют измерения напряжения, поступающего от основного источника электроэнергии, как указано в
7.20.2.1, результаты измерения фиксируют;
г) переводят пост ЭЦ (ГАЦ) или релейный шкаф на работу от резервного источника электроэнергии;
д) выполняют измерения напряжения, поступающего от резервного источника электроэнергии, как указано в
7.20.2.1, результаты измерения фиксируют;
е) переводят схему электрических сетей, являющихся основным и резервным источником электроэнергии, в положение, соответствующее аварийному режиму;
з) возвращают схему электрических сетей, являющихся основным и резервным источником электроэнергии, в положение, соответствующее нормальному режиму;
и) возвращают пост ЭЦ (ГАЦ) или релейный шкаф на работу от основного источника электроэнергии.
7.20.2.3 Значения напряжения, полученные при измерениях по
7.20.2.2, перечисления в),
д) и
ж), сравнивают с предельно допустимыми по правилам технической эксплуатации железных дорог Российской Федерации
[8] (приложение N 4,
пункт 2).
7.20.2.4 Электрическую сеть считают пригодной к дальнейшей эксплуатации, если значения напряжения, полученные при измерениях по
7.20.2.2, перечисления в),
д) и
ж), находятся в допустимых пределах по
7.20.2.3. В противном случае принимают меры к поиску и устранению причин отклонения напряжения, после чего операции по
7.20.2.2 и
7.20.2.3 повторяют.
7.20.3 Контроль отсутствия перекрытия сигналов при отсутствии напряжения продолжительностью 1,3 с
7.20.3.1 Контроль отсутствия перекрытия сигналов при отсутствии напряжения продолжительностью 1,3 с выполняют на постах ЭЦ в следующей последовательности:
а) собирают схему, показанную на
рисунке 3, на реле
КТ должна быть заблаговременно выбрана уставка 1,3 с;
б) переводят пост ЭЦ на работу от основного источника электроэнергии;
в) отключают резервный источник электроэнергии;
г) открывают максимально возможное число поездных сигналов;
д) нажимают кнопку SA2;
е) по показаниям пульта-табло фиксируют наличие и количество сигналов, перекрывшихся на запрещающее показание;
ж) восстанавливают работу резервного источника электроэнергии;
з) разбирают схему.
1L1, 1L2, 1L3 - фазные проводники основного источника
питания; 2L1, 2L2, 2L3 - фазные проводники резервного
источника питания; КМ1 - контактор основного источника
питания; КМ2 - контактор основного источника питания;
SA1 - кнопка отключения контактора основного источника
питания; SA2 - кнопка. Утолщенной линией показаны цепи,
вводимые для контроля отсутствия перекрытия сигналов
Рисунок 3 - Схема для контроля отсутствия перекрытия
сигналов при отсутствии напряжения продолжительностью 1,3 с
7.20.3.2 Электрическую сеть считают пригодной к дальнейшей эксплуатации, если ни один из открытых сигналов не перекрылся.
7.20.4 Контроль номинального тока автоматических выключателей и предохранителей
7.20.4.1 Контроль номинального тока автоматических выключателей и предохранителей производят визуально по маркировке, нанесенной изготовителем автоматического выключателя или предохранителя. Фактическое значение номинального тока сравнивают с допустимым.
Допустимое значение номинального тока принимают:
для сетей, получающих электроэнергию от однофазных трансформаторов мощностью до 4 кВ·А - по
таблице 11;
для всех остальных сетей - по расчету, выполняемому в соответствии с методикой выбора уставок защиты в схемах электроснабжения постов ЭЦ
[17].
Таблица 11
Допустимые значения номинального тока
автоматических выключателей и предохранителей для сетей,
получающих электроэнергию от однофазных трансформаторов
мощностью до 4 кВ·А
Мощность трансформатора, кВ·А | Номинальное напряжение обмотки, В | Номинальный ток автоматических выключателей и предохранителей, А |
0,63; 0,66 | 110 | 5,0 |
220 | 2,5 |
1,20; 1,25 | 110 | 10,0 |
220 | 5,0 |
4,0 | 220 | 15,0 |
7.20.4.2 Электрическую сеть считают пригодной к дальнейшей эксплуатации, если значения номинального тока автоматических выключателей и предохранителей соответствуют указанным в
7.20.4.1. В противном случае автоматический выключатель или предохранитель (предохранители) заменяют.
7.21 Диагностические испытания и измерения заземляющих устройств <2>
--------------------------------
<2> Положения подраздела 7.21 распространяются только на заземляющие устройства, относящиеся к контактной сети, питающим, отсасывающим и шунтирующим линиям, а также линиям электропередачи.
7.21.1 Общие требования
Диагностические испытания и измерения заземляющих устройств включают в себя:
очистку элементов конструкции коммутационных аппаратов в цепи заземления и камер (шкафов), в которых они размещены;
контроль соединений заземлителей с заземляемыми элементами, в том числе с естественными заземлителями;
проверку сопротивления заземляющего устройства.
7.21.2 Контроль соединений заземлителей с заземляемыми элементами
7.21.2.1 Контроль соединений заземлителей с заземляемыми элементами, в том числе с естественными заземлителями, производят для выявления обрывов и других дефектов путем осмотра, простукивания молотком и измерения переходных сопротивлений. При этом обязательна откопка на глубину не менее 0,2 м каждого из мест перехода заземляющих проводников в грунт.
7.21.2.2 Контроль соединения с естественными заземлителями производят после ремонта заземлителей. Измерение переходного сопротивления производят методом амперметра-вольтметра (как на постоянном, так и на переменном токе) или с помощью микроомметра или двойного моста.
Значение переходного сопротивления исправного соединения не должно превышать 0,05 Ом.
7.21.3 Требования к проверке сопротивления заземляющего устройства
7.21.3.1 Сопротивление заземляющего устройства измеряют с помощью специализированных средств измерений. Метод измерения - в соответствии с технической документацией изготовителя средства измерения.
7.21.3.2 Значение сопротивления заземляющего устройства, полученное при измерении по
7.21.3.1, сравнивают с предельно допустимым, которое принимают по таблице 12.
Таблица 12
Предельно допустимые значения
сопротивления заземляющих устройств
Назначение (область применения) заземляющего устройства | Предельно допустимые значения сопротивления, Ом: |
на участках постоянного тока <2> | на участках переменного тока |
1 Оборудование, размещенное на опорах контактной сети <1> и связанное с направляющим проводом поездной радиосвязи | От 40,0 до 60,0 | - |
2 Металлические нетоковедущие части разъединителей, короткозамыкателей, разрядников и ограничителей перенапряжений, установленных на опорах питающих, отсасывающих и шунтирующих линий, расположенных на расстоянии более 5 м от электрифицированных путей | Не более 3,0 | Не более 10,0 |
3 Металлические конструкции мостов, путепроводов или эстакад, на которых имеется электрическая сеть напряжением до 1000 В с режимом рабочих проводников и заземления IT по ГОСТ 30331.1, арматура которой не изолирована от металлических конструкций | Не более 10,0 |
<1> В том числе опорах питающих, отсасывающих и шунтирующих линий. <2> В том числе на переключаемых секциях контактной сети станций стыкования. |
7.21.3.3 Если значение сопротивления заземляющего устройства, полученное при измерении по
7.21.3.1, находится в допустимых пределах по
7.21.3.2, то заземляющее устройство считают пригодным к дальнейшей эксплуатации.
В противном случае принимают меры к приведению сопротивления заземляющего устройства в допустимые пределы.
7.22 Проверка асимметрии тока в тяговой рельсовой сети
7.22.1 Показатели, характеризующие асимметрию тока в тяговой рельсовой сети, определяют при измерениях, проводимых согласно методическим рекомендациям по измерению асимметрии обратного тягового тока
[16].
7.22.2 Значения показателей, полученные при измерениях по
7.22.1, сравнивают с предельно допустимыми, которые установлены техническими требованиями и нормами содержания
[11] (пункт 5.9).
7.22.3 Тяговую рельсовую сеть считают пригодной к дальнейшей эксплуатации, если значения показателей, полученные при измерениях по
7.22.1, не превышают предельно допустимые значения по
7.22.2. В противном случае организуют работы по выявлению и устранению асимметрии тока в тяговой рельсовой сети и измерения по
7.22.1 повторяют.
8 Текущий ремонт контактной сети, питающих, отсасывающих, шунтирующих линий и линий электропередачи
При текущем ремонте выполняют:
проверку дополнительных размеров, характеризующих техническое состояние контактной сети;
контроль целостности проволок многопроволочных проводов и прямолинейности контактных проводов;
контроль состояния изоляторов;
проверку расстояния сближения фиксаторов;
проверку размеров, определяющих положение консолей;
контроль состояния секционных изоляторов;
контроль состояния изоляторов воздушных линий электропередачи;
проверку расстояний между проводами на сопряжениях;
контроль исправности элементов конструкции устройства защиты от пережогов проводов электрической дугой;
проверку основных размеров, характеризующих техническое состояние компенсаторов;
проверку основных размеров, характеризующих техническое состояние гибких поперечин;
проверку расстояния между проводом направляющей линии поездной радиосвязи и опорами контактной сети.
8.2 Проверка дополнительных размеров, характеризующих техническое состояние контактной сети
8.2.1 К дополнительным размерам, характеризующим техническое состояние контактной сети, относятся:
расстояние между двумя контактными проводами;
расстояние от находящихся под напряжением проводов до опор и заземленных конструкций, а также до проводов других секций контактной сети;
расстояния от частей токоприемника и контактной сети, находящихся под напряжением, до заземленных частей сооружений и подвижного состава в искусственных сооружениях;
расстояние от контактного провода до расположенных над ним частей конструкции моста или путепровода;
расстояние от контактного провода до отбойника;
расстояния, указанные в
8.3 -
8.13.
8.2.2 Расстояние между двумя контактными проводами измеряют линейкой, изготовленной из неметаллических материалов. Точки для измерения выбирают аналогично установленному в
7.7.2.5 для измерения высоты подвеса контактного провода и выноса контактного провода.
8.2.3 Расстояние от находящихся под напряжением проводов до опор и заземленных конструкций, а также до проводов других секций контактной сети измеряют рулеткой с мерной лентой из неметаллических материалов.
8.2.4 Значения расстояний от частей токоприемника и контактной сети, находящихся под напряжением, до заземленных частей сооружений и подвижного состава в искусственных сооружениях определяют методом по ГОСТ 32679 (пункт 5.6).
8.2.5 Значения расстояний от контактного провода до расположенных над ним частей конструкции моста или путепровода и до отбойника измеряют рулеткой с мерной лентой из неметаллических материалов.
8.2.6 Значения расстояний, полученные при измерении по
8.2.2 -
8.2.5, сравнивают с предельно допустимыми.
8.2.7 Предельно допустимые значения расстояния между двумя контактными проводами составляют:
а) для ромбовидной контактной подвески:
1) под фиксатором - от 300 до 400 мм;
2) в середине пролета - от 40 до 60 мм;
б) для всех остальных контактных подвесок - от 40 до 60 мм.
8.2.8 Предельно допустимые значения расстояния от находящихся под напряжением проводов до опор и заземленных конструкций, а также до проводов других секций контактной сети составляют 0,8 м.
8.2.9 Предельно допустимые значения расстояний от частей токоприемника и контактной сети, находящихся под напряжением, до заземленных частей сооружений и подвижного состава в искусственных сооружениях - по ГОСТ 32679 (пункт 4.2.2).
8.2.10 Предельно допустимые значения расстояний от контактного провода до расположенных над ним частей конструкции моста или путепровода и до отбойника составляют:
а) от контактного провода до расположенных над ним частей конструкции моста или путепровода:
1) на участках постоянного тока - 500 мм;
2) на участках переменного тока (в том числе и на переключаемых секциях станций стыкования) - 650 мм;
б) от контактного провода до отбойника:
1) при одинарном контактном проводе и скорости движения поездов свыше 120 км/ч - 150 мм;
2) при двойном контактном проводе и скорости движения поездов свыше 120 км/ч - 100 мм;
3) при одинарном контактном проводе и скорости движения поездов свыше 50 до 120 км/ч - 100 мм;
4) при двойном контактном проводе и скорости движения поездов свыше 50 до 120 км/ч - 70 мм;
5) при скорости до 50 км/ч независимо от числа контактных проводов - 50 мм.
8.2.11 Контактную сеть считают пригодной к дальнейшей эксплуатации при одновременном выполнении следующих условий:
значения расстояния между двумя контактными проводами, полученные при измерении по
8.2.2, находятся в допустимых пределах по
8.2.7;
значения расстояния от находящихся под напряжением проводов до опор и заземленных конструкций, а также до проводов других секций контактной сети, полученные при измерении по
8.2.3, не меньше предельно допустимых по
8.2.8;
значения расстояний от частей токоприемника и контактной сети, находящихся под напряжением, до заземленных частей сооружений и подвижного состава в искусственных сооружениях, полученные при измерении по
8.2.4, находятся в допустимых пределах по
8.2.9;
значения расстояний от контактного провода до расположенных над ним частей конструкции моста или путепровода и до отбойника, полученные при измерении по
8.2.5, не меньше предельно допустимых по
8.2.10.
Если хотя бы одно из условий не выполняется, то производят регулировку контактной подвески и измерения по
8.2.2 -
8.2.5 повторяют.
8.3 Контроль целостности проволок многопроволочных проводов и прямолинейности контактных проводов
8.3.1 Контроль целостности проволок многопроволочных проводов и прямолинейности контактных проводов производят визуально.
8.3.2 При обнаружении обрыва одной или двух проволок многопроволочных проводов (за исключением тросов компенсаторов) на место обрыва накладывают бандаж из проволоки того же материала сечения не меньшего, чем у оборванных проволок.
При обнаружении обрыва трех и более проволок определяют оставшуюся площадь поперечного сечения провода (для сталеалюминиевых проводов - по алюминию, для сталемедных - по меди). Если оставшаяся площадь поперечного сечения провода составляет менее 85% первоначальной, то поврежденный участок провода вырезают и делают вставку.
Тросы компенсаторов при обнаружении обрыва хотя бы одной проволоки заменяют.
8.3.3 При обнаружении выпучивания проволок наружного повива многопроволочных проводов или вмятин на четырех или более проволоках на провод накладывают шунт.
8.3.4 При обнаружении изгиба контактного провода измеряют отклонение от прямолинейности, прикладывая вдоль провода к его рабочей поверхности металлическую линейку по
ГОСТ 427 таким образом, чтобы место изгиба находилось в пределах средней трети линейки. С помощью пластинчатого щупа или штангенциркуля по
ГОСТ 166 измеряют отклонение от прямолинейности, которое представляет собой наибольшее из значений расстояния в свету между рабочей поверхностью контактного провода и линейкой. Полученное в результате измерения значение отклонения от прямолинейности сравнивают с предельно допустимым, которое составляет:
для путей перегонов, главных путей станций железнодорожных линий специализации B и C - 1,0 мм;
для всех остальных путей - 2,0 мм.
Если значение отклонения от прямолинейности не превышает предельно допустимого, то контактный провод выправляют. В противном случае, а также при невозможности выправить, поврежденный участок провода вырезают и делают вставку.
8.3.5 При обнаружении оплавления или поджога контактного провода поврежденный участок провода вырезают и делают вставку.
8.4 Контроль состояния изоляторов
8.4.1 В ходе контроля состояния изоляторов выполняют:
очистку поверхности изоляционной части изолятора;
внешний осмотр арматуры и изоляционной части изолятора;
контроль соблюдения требований к размещению изолятора.
8.4.2 Очистку поверхности изоляционной части изолятора выполняют с помощью обтирочного материала по
ГОСТ 14253 и химических растворителей тех марок, применение которых предусмотрено в технической документации изготовителя изолятора.
8.4.3 При внешнем осмотре арматуры и изоляционной части изолятора выявляют следующие дефекты:
в оконцевателях - трещины, качание, сползание или проворачивание их в заделке, видимое искривление или несоосность деталей, отсутствие или нарушение влагостойкого покрытия цементного шва, повреждения антикоррозионного покрытия или видимые следы коррозии на нем;
в фарфоре - сколы ребер у проходных, опорных стержневых изоляторов длиной более 60 мм и глубиной более 5 мм, у подвесных изоляторов - сколы общей площадью более 300 мм2 и такой же величины сколы у стержневых изоляторов, если они находятся ближе 10 мм от места сопряжения ребер с основным телом изолятора, у всех типов изоляторов - глубокие царапины длиной более 25 мм или видимые трещины, ожоги дугой, вскрытые пузыри или другие повреждения глазури;
в стекле - разрушение, трещины, сколы, посечки, морщины, складки, натеки, свищи, видимые внутренние газовые пузыри и инородные включения, оплавления дугой;
в полимерных чехлах (покрытиях) - механические повреждения (надрезы, проколы, кратеры, ссадины), разгерметизация, следы токопроводящих дорожек (треков) на длине более 1/3 пути утечки тока;
устойчивое, не поддающееся очистке по
8.4.2, загрязнение более 1/3 поверхности изоляционных деталей из любого материала;
коррозия стержня тарельчатого стеклянного или фарфорового изолятора до диаметра 12 мм и менее.
При выявлении хотя бы одного из перечисленных дефектов изолятор заменяют.
8.4.4 При контроле соблюдения требований к размещению изолятора проводят:
проверку расстояний от заземленных частей до изоляционной части изолятора;
проверку отклонения подвесных изоляторов от вертикали.
Измерение расстояний от заземленных частей до изоляционной части изолятора выполняют линейкой по
ГОСТ 427 или рулеткой по
ГОСТ 7502. Результат измерения сравнивают с допустимыми значениями расстояния от заземленных частей до изоляционной части изоляторов, которые приведены в таблице 13.
Таблица 13
Допустимые значения расстояния от заземленных частей
до изоляционной части изоляторов
Номинальное напряжение электроустановки, кВ | Допустимые значения расстояния от заземленных частей до изоляционной части изоляторов, мм, не менее: |
со стороны токоведущих частей, находящихся под напряжением | со стороны заземленных частей |
3,3 | 150 | 50 |
6 и 10 | 200 | 70 |
25 | 300 | 100 |
Проверку отклонения подвесных изоляторов от вертикали проводят визуально. Отклонение подвесного изолятора (гирлянды подвесных изоляторов) от вертикали не должно превышать 15°.
8.5 Проверка расстояния сближения фиксаторов
8.5.1 Проверке подлежат фиксаторы на расположенных в одном створе на опорах разных путей двух- и многопутных участков, а также путей, контактная сеть которых относится к разным секциям.
8.5.2 Расстояние сближения фиксаторов измеряют рулеткой с мерной лентой из неметаллических материалов.
8.5.3 Значение расстояния сближения фиксаторов, полученное при измерении по
8.5.2, сравнивают с предельно допустимым, которое составляет 0,8 м.
8.5.4 Контактную сеть считают пригодной к дальнейшей эксплуатации, если значение расстояния сближения фиксаторов, полученное при измерении по
8.5.2, больше предельно допустимого по
8.5.3.
8.6 Проверка размеров, определяющих положение консолей
8.6.1 Смещение конца консоли относительно перпендикуляра (для кривых участков - относительно нормали) к оси железнодорожного пути измеряют с использованием отвеса и рулетки с мерной лентой из неметаллических материалов (рисунок 4).
1 - консоль; 2 - ось железнодорожного пути;
3 - перпендикуляр к оси железнодорожного
пути; 4 - нормаль к оси железнодорожного пути;
b - смещение конца консоли относительно перпендикуляра
(для кривых участков - относительно нормали)
к оси железнодорожного пути
Рисунок 4 - Смещение конца консоли относительно
перпендикуляра (для кривых участков - относительно
нормали) к оси железнодорожного пути
8.6.2 Значение смещения конца консоли относительно перпендикуляра (для кривых участков - относительно нормали) к оси железнодорожного пути, измеренное по
8.6.1, сравнивают с предельно допустимым, которое:
а) для полукомпенсированной контактной подвески составляет:
1) при длине консоли до 5 м - 200 мм;
2) при длине консоли более 5 м - 300 мм;
б) для компенсированной контактной подвески (за исключением консолей на переходных опорах сопряжений анкерных участков) принимается по графикам на
рисунке 5;
в) для консолей на переходных опорах компенсированной контактной подвески принимается по
рисунку 6.
b - смещение конца консоли относительно перпендикуляра
(для кривых участков - относительно нормали) к оси
железнодорожного пути, м; t - отклонение температуры
окружающего воздуха, °C, от среднегодовой температуры
района; l - расстояние до средней анкеровки, м
а) медные, низколегированные и бронзовые провода;
б) сталемедные и сталеалюминиевые провода
Рисунок 5 - График для определения предельно допустимого
смещения конца консоли относительно перпендикуляра
(для кривых участков - относительно нормали) к оси
железнодорожного пути в зависимости от расстояния
до средней анкеровки и температуры окружающего воздуха
для компенсированной контактной подвески (за исключением
консолей на переходных опорах сопряжений анкерных участков)
Размеры в нижней части рисунка - смещение конца консоли
относительно перпендикуляра (для кривых
участков - относительно нормали) к оси железнодорожного пути
в зависимости от температуры окружающего воздуха
для консолей на переходных опорах сопряжений анкерных
участков компенсированной контактной подвески, мм,
без скобок - для медного несущего троса,
в скобках - для сталемедного.
а) для районов с расчетной температурой
от +40 °C до минус 55 °C;
б) для районов с расчетной температурой
от +40 °C до минус 40 °C
Рисунок 6 - Предельно допустимые значения смещения конца
консоли относительно перпендикуляра (для кривых
участков - относительно нормали) к оси железнодорожного
пути в зависимости от температуры окружающего воздуха
для консолей на переходных опорах сопряжений анкерных
участков компенсированной контактной подвески
8.6.3 Если значение смещения конца консоли относительно перпендикуляра (для кривых участков - относительно нормали) к оси железнодорожного пути, измеренное по
8.6.1, находится в допустимых пределах по
8.6.2, то контактную подвеску считают пригодной к дальнейшей эксплуатации. В противном случае контактную подвеску и (или) положение консолей регулируют и измерения по
8.6.1 повторяют.
8.7 Контроль состояния секционных изоляторов
8.7.1 При контроле состояния секционных изоляторов выполняют:
а) очистку поверхности изоляционной части изолятора;
б) внешний осмотр арматуры и изоляционной части изолятора;
в) контроль износа скользунов, дугоотводящих и дугогасительных рогов;
г) проверку воздушных зазоров между разнопотенциальными элементами;
д) контроль плавности прохода токоприемника по изолятору;
е) контроль соблюдения требований к размещению изолятора.
8.7.2 Очистку поверхности изоляционной части изолятора выполняют с помощью обтирочного материала по
ГОСТ 14253 и химических растворителей тех марок, применение которых предусмотрено в технической документации изготовителя изолятора.
8.7.3 Внешний осмотр арматуры и изоляционной части изолятора проводят в порядке, аналогичном установленному в
8.4.3 для изоляторов контактной сети.
8.7.4 Контроль износа скользунов, дугоотводящих и дугогасительных рогов проводят путем измерения их геометрических размеров штангенциркулем по
ГОСТ 166 или линейкой по
ГОСТ 427. Результаты измерений сравнивают с предельно допустимыми значениями, указанными в технической документации изготовителя изолятора. При выявлении несоответствий скользуны, дугоотводящие или дугогасительные рога заменяют.
8.7.5 Измерение воздушных зазоров в устье дугогасительных устройств и воздушных промежутков между разнопотенциальными элементами выполняют методами по ГОСТ Р 55649
(пункт 7.2). Результаты измерений сравнивают с предельно допустимыми значениями, установленными пунктами
5.1.3 и
5.1.5 того же стандарта. При выявлении несоответствий воздушные зазоры и воздушные промежутки регулируют, а при невозможности выполнить регулировку секционный изолятор заменяют.
8.7.6 Контроль плавности прохода токоприемника по изолятору проводят методом по ГОСТ Р 55649
(пункт 7.3), при этом сила нажатия на секционный изолятор должна быть не менее 100 Н.
8.7.7 При контроле соблюдения требований к размещению секционного изолятора контролируют выполнение следующих условий:
а) секционные изоляторы в главных путях должны быть расположены в первой трети пролета контактной сети по преимущественному направлению движения поездов по данному пути;
б) секционные изоляторы в съездах должны быть расположены в средней части съезда на расстоянии от центра стрелочного перевода, ограничивающего съезд, составляющем (0,5 +/- 0,1) длины съезда;
Примечание - Под длиной съезда здесь понимается: для неперекрестных съездов - расстояние между центрами двух стрелочных переводов, ограничивающих съезд, для перекрестных съездов - расстояние от центра одного из двух стрелочных переводов, ограничивающих съезд, до центра глухого пересечения.
в) нижняя плоскость скольжения секционного изолятора должна располагаться выше соседних точек подвеса контактного провода на величину от 20 до 30 мм;
г) при полукомпенсированной контактной подвеске секционный изолятор должен быть подвешен на скользящих струнах;
д) отклонение продольной оси секционного изолятора от оси пути в плане не должно превышать 100 мм;
е) изоляторы в несущем тросе над секционным изолятором должны располагаться вне зоны горения дуги на дугогасительных устройствах секционного изолятора;
ж) расстояние между несущим тросом и контактным проводом в месте установки секционного изолятора должно быть не менее 0,5 м;
з) с двух сторон от секционного изолятора, не далее одного пролета от него должны располагаться поперечные электрические соединители;
и) к расположению секционных изоляторов, ограничивающих переключаемые секции контактной сети станций стыкования, применяют дополнительные требования по
8.7.8.
При выявлении несоответствия хотя бы по одной из позиций перечисления организовывают замену секционного изолятора.
8.7.8 Секционные изоляторы, ограничивающие переключаемые секции контактной сети станций стыкования, по отношению к изолирующим стыкам и светофорам должны быть расположены таким образом, чтобы обеспечивалось выполнение следующих соотношений, м:
a + d >= b - f - 0,5, (5)
f + 0,5 >= C, (6)
где a - расстояние по горизонтали между осью полоза токоприемника электровоза и осью крайней колесной пары электровоза, м;
d - расстояние по горизонтали от изолирующего стыка до выходного или маршрутного светофора, м;
b - длина секционного изолятора, м;
f - расстояние по горизонтали между крайней точкой контактной подвески переключаемой секции контактной сети и светофором;
C - расстояние по горизонтали между осью полоза токоприемника электровоза и осью его автосцепки.
Схема показана на рисунке 7.
1 - секционный изолятор; 2 - изолирующий стык; 3 - светофор;
4 - электровоз с передним по ходу движения поднятым
токоприемником; 5 - электровоз с задним по ходу движения
поднятым токоприемником. Пояснения переменным
a,
d,
b,
f и
C даны в
8.7.8
Рисунок 7 - Схема, поясняющая дополнительные требования
к размещению секционных изоляторов, ограничивающих
переключаемые секции контактной сети станций стыкования,
по отношению к изолирующим стыкам и светофорам
8.8 Контроль состояния изоляторов воздушных линий электропередачи
8.8.1 В ходе контроля выполняют:
очистку поверхности изоляционной части изолятора;
внешний осмотр арматуры и изоляционной части изолятора;
контроль соблюдения требований к размещению изолятора.
8.8.2 Очистку поверхности изоляционной части изолятора выполняют в порядке, аналогичном установленному в
8.4.2.
8.8.3 Внешний осмотр арматуры и изоляционной части изолятора выполняют в порядке, аналогичном установленному в
8.4.3.
8.8.4 Контроль соблюдения требований к размещению изолятора выполняют в порядке, аналогичном установленному в
8.4.4.
8.9 Проверка расстояний между проводами на сопряжениях
8.9.1 Измеряют следующие расстояния:
а) по горизонтали между внутренними гранями рабочих контактных проводов в переходном пролете;
б) по вертикали от рабочего контактного провода:
1) до нерабочего контактного провода у переходных опор;
2) до нерабочего контактного провода в начале зоны прохода токоприемника;
3) до нижней поверхности врезного фарфорового изолятора;
4) до нижней поверхности гладкостержневого полимерного изолятора;
5) до нижней поверхности гладкостержневого изолирующего элемента, допускающего взаимодействие с токоприемником;
в) длину зоны одновременного взаимодействия полоза токоприемника с контактными проводами разных ветвей трехпролетного сопряжения.
8.9.2 Значения расстояний, полученные в результате измерений по
8.9.1, сравнивают с допустимыми, которые указаны в таблице 14.
Таблица 14
Допустимые значения расстояний
между проводами на сопряжениях
В миллиметрах
Расстояние и место измерения | Допустимое значение для сопряжений: |
неизолирующих | изолирующих |
1 По горизонтали между внутренними гранями рабочих контактных проводов в переходном пролете при скорости движения: | до 160 км/ч | 100 +/- 30 | |
выше 160 км/ч | 100 +/- 20 | 550 +/- 40 |
2 По вертикали от рабочего контактного провода: | до нерабочего контактного провода у переходных опор | 200+20 | - |
до нерабочего контактного провода в начале зоны прохода токоприемника | 300+20 | - |
до нижней поверхности врезного фарфорового изолятора: | при двух контактных проводах | - | 250+20 |
при одном контактном проводе | - | 300+20 |
до нижней поверхности гладкостержневого полимерного изолятора | - | 300+20 |
до нижней поверхности гладкостержневого изолирующего элемента, допускающего взаимодействие с токоприемником | - | 200+20 |
3 Длина зоны одновременного взаимодействия полоза токоприемника с контактными проводами разных ветвей трехпролетного сопряжения | от 8000 до 12000 | от 6000 до 12000 |
<1> По ветровым отклонениям допускается на нормально замкнутых изолирующих сопряжениях: на участках постоянного тока (400 +/- 50) мм, на участках переменного тока (500 +/- 50) мм |
8.9.3 Контактную сеть считают пригодной к дальнейшей эксплуатации, если значения расстояний, полученные в результате измерений по
8.9.1, находятся в пределах, указанных в
8.9.2. В противном случае контактную подвеску сопряжений регулируют и измерения по
8.9.1 повторяют.
8.10 Контроль исправности элементов конструкции устройства защиты от пережогов проводов электрической дугой
Контроль исправности элементов конструкции устройства защиты от пережогов проводов электрической дугой выполняют только для сопряжений, оборудованных этими устройствами, в соответствии с технической документацией изготовителя устройства.
8.11 Проверка основных размеров, характеризующих техническое состояние компенсаторов
8.11.1 К основным размерам, характеризующим техническое состояние компенсаторов, относятся:
высота анкеровки контактного провода;
расстояния от верха грузов до неподвижного ролика;
расстояний сближения.
8.11.2 Высоту анкеровки контактного провода измеряют рулеткой с мерной лентой из неметаллических материалов.
8.11.3 Расстояния от верха грузов до неподвижного ролика
(рисунок 8) измеряют рулеткой с мерной лентой из неметаллических материалов. Не более, чем через 2 мин после измерения расстояния измеряют температуру окружающего воздуха термометром класса точности не выше 4,0.
1 - анкерная опора, 2 - грузы компенсатора,
3 - неподвижные ролики, 4 - подвижные ролики
a - расстояние от верха грузов до неподвижного ролика
а) двухблочный компенсатор;
б) трехблочный компенсатор;
в) блочно-полиспастный компенсатор
Рисунок 8 - Расстояние от верха грузов до неподвижного
ролика для грузовых компенсаторов различной конструкции
8.11.4 У двухблочных компенсаторов измеряют значение расстояния сближения между неподвижным и подвижным роликами (рисунок 9).
Позиционные обозначения элементов аналогичны указанным
c - расстояние сближения между
неподвижным и подвижным роликами
Рисунок 9
У трехблочных компенсаторов измеряют значения расстояний сближения
(рисунок 10):
между неподвижным и ближним к нему подвижным роликами;
между двумя подвижными роликами.
Позиционные обозначения элементов аналогичны указанным
c - расстояние сближения между неподвижным
и ближним к нему подвижным роликами; d - расстояние
сближения между двумя подвижными роликами
У блочно-полиспастных компенсаторов измеряют значение расстояния сближения между вторым от опоры малым неподвижным роликом и подвижным роликом (рисунок 11).
Позиционные обозначения элементов аналогичны указанным
d - расстояние сближения между вторым от опоры
малым неподвижным роликом и подвижным роликом
Рисунок 11
Значения расстояний сближения измеряют рулеткой с мерной лентой из неметаллических материалов.
8.11.5 Значения высоты анкеровки контактного провода, расстояния от верха грузов до неподвижного ролика и расстояний сближения, полученные при измерении по
8.11.2 -
8.11.4, сравнивают с предельно допустимыми значениями.
8.11.6 Высота анкеровки контактного провода должна быть больше значения высоты подвеса контактного провода на величину:
от 0,50 до 0,75 м - при раздельной анкеровке контактного провода (контактных проводов) и несущего троса;
от 1,00 до 1,25 м - при совместной анкеровке контактного провода (контактных проводов) и несущего троса.
8.11.7 Нормированное значение расстояния от верха грузов до неподвижного ролика определяют по графикам:
для блочно-полиспастных компенсаторов -
рисунок 13.
a - расстояние от верха грузов до неподвижного ролика, м,
t - температура окружающего воздуха, °C,
l - расстояние до средней анкеровки, м
а) медные, низколегированные и бронзовые провода;
б) сталемедные и сталеалюминиевые провода
Рисунок 12 - График для определения расстояния
от верха грузов до неподвижного ролика
для двух- и трехблочных компенсаторов
a - расстояние от верха грузов до неподвижного ролика, м,
t - температура окружающего воздуха, °C,
l - расстояние до средней анкеровки, м
а) медные, низколегированные и бронзовые провода;
б) сталемедные и сталеалюминиевые провода
Рисунок 13 - График для определения расстояния
от верха грузов до неподвижного ролика
для блочно-полиспастных компенсаторов
Для двухблочных компенсаторов значение расстояния от верха грузов до неподвижного ролика определяют по графику на
рисунке 12 и уменьшают в 2 раза.
8.11.8 Допустимые значения расстояний сближения составляют:
а) у двухблочных компенсаторов между неподвижным и подвижным роликами - от 3,0 до 6,5 м;
б) у трехблочных компенсаторов:
1) между неподвижным и ближним к нему подвижным роликами - от 3,0 до 6,5 м;
2) между двумя подвижными роликами - от 1,5 до 3,5 м;
в) у блочно-полиспастных компенсаторов между вторым от опоры малым неподвижным роликом и подвижным роликом:
1) в анкеровке контактного провода и в совмещенной анкеровке контактного провода и несущего троса - от 1,5 до 3,0 м;
2) в анкеровке несущего троса - от 2,0 до 3,5 м.
В
перечислениях а) -
в) наибольшие значения расстояний сближения соответствуют максимальной температуре проводов, а наименьшие - минимальной.
8.11.9 Компенсатор считают пригодным к дальнейшей эксплуатации, если:
значение высоты анкеровки контактного провода, полученное в результате измерений по
8.11.2, находится в допустимых пределах по
8.11.6;
значение расстояния от верха грузов до неподвижного ролика, полученное в результате измерений по
8.11.3, находится в допустимых пределах по
8.11.7;
значение расстояний сближения, полученное в результате измерений по
8.11.4, находится в допустимых пределах по
8.11.8.
8.12 Проверка основных размеров, характеризующих техническое состояние гибких поперечин
8.12.1 Расстояние от нижней точки поперечно-несущего троса до поверхности земляного полотна, а также до верхнего фиксирующего троса гибкой поперечины измеряют в наиболее холодный период с использованием отвеса и рулетки с мерной лентой из неметаллических материалов.
8.12.2 Стрелу провеса поперечно-несущего троса l, м, вычисляют по формуле
l = H - lнт, (7)
где H - высота подвеса поперечно-несущего троса на опорах гибкой поперечины, м;
lнт - расстояние от поверхности земляного полотна до нижней точки поперечно-несущего троса, м, значение которой измерено по
8.12.1.
Относительное значение стрелы провеса поперечно-несущего троса lотн вычисляют по формуле

(8)
где Lотн - длина пролета гибкой поперечины, м.
8.12.3 Относительное значение стрелы провеса поперечно-несущего троса, полученное по
8.12.2 (формула (8)), сравнивают с предельно допустимым, которое составляет 0,10.
8.12.4 Расстояние от нижней точки поперечно-несущего троса до верхнего фиксирующего троса, измеренное по
8.12.1, сравнивают с предельно допустимым, которое составляет 0,30 м.
8.12.5 Гибкую поперечину считают пригодной к дальнейшей эксплуатации, если:
относительное значение стрелы провеса поперечно-несущего троса, полученное по
8.12.2 (формула (8)), больше или равно предельно допустимому по
8.12.3;
расстояние от нижней точки поперечно-несущего троса до верхнего фиксирующего троса больше или равно предельно допустимому по
8.12.4.
В противном случае поперечно-несущий трос регулируют, а при невозможности отрегулировать - заменяют трос и (или) опоры гибкой поперечины.
8.13 Проверка расстояния между проводом направляющей линии поездной радиосвязи и опорами контактной сети
8.13.1 Значение расстояния между проводом направляющей линии и опорой контактной сети измеряют рулеткой с мерной лентой из неметаллических материалов.
8.13.2 Значение расстояния между проводом направляющей линии и опорой контактной сети, полученное при измерении по
8.13.1, сравнивают с минимально допустимым, которое составляет 400 мм.
8.13.3 Если значение расстояния между проводом направляющей линии и опорой контактной сети находится в пределах, указанных в
8.13.2, то направляющую линию считают пригодной к дальнейшей эксплуатации.
Если значение расстояния между проводом направляющей линии и опорой контактной сети находится вне пределов, указанных в
8.13.2, то производят замену кронштейна и измерение по
8.13.1 повторяют.
9 Текущий ремонт переключателей пунктов группировки
При текущем ремонте выполняют:
проверку сопротивления главной цепи постоянному току;
проверку тока, потребляемого электродвигателем;
испытание изоляции повышенным напряжением промышленной частоты.
9.2 Проверка сопротивления главной цепи постоянному току
9.2.1 Сопротивление главной цепи постоянному току измеряют однократно методом по ГОСТ 8024
(подраздел 2.6).
9.2.2 Значение сопротивления главной цепи постоянному току, полученное в результате измерений по
9.2.1, сравнивают с допустимым, которое составляет:
а) для переключателей типов ЦНИИ МПС, ПСС и ПСС-В - 50 мкОм;
б) для переключателей типа МПС-3/25:
1) контактов постоянного тока - 60 мкОм;
2) контактов переменного тока - 75 мкОм.
9.2.3 Переключатель считают пригодным к дальнейшей эксплуатации, если значение сопротивления главной цепи постоянному току, полученное в результате измерений по
9.2.1, не превышает указанного в
9.2.2. В противном случае переключатель ремонтируют и измерение по
9.2.1 повторяют.
9.3 Проверка тока, потребляемого электродвигателем
9.3.1 Значение тока, потребляемого электродвигателем, измеряют однократно в двух режимах:
во время переключения;
при работе на фрикцию.
9.3.2 Для измерения используют амперметр класса точности не выше 2,5 с пределом измерения не более 6 А. Амперметр включают в разрыв цепи обмоток электродвигателя.
9.3.3 Значение тока, полученное в результате измерений по
9.3.1, сравнивают с допустимым, которое составляет:
а) во время переключения:
1) для двигателей МСП-0,15 - 1,5 А;
2) для двигателей типа МСП-0,25 - 2,5 А;
б) при работе на фрикцию - 130% значения тока во время переключения.
9.3.4 Переключатель считают пригодным к дальнейшей эксплуатации, если значение тока, полученное в результате измерений по
9.3.1, не превышает предельно допустимого по
9.3.3. В противном случае переключатель ремонтируют и измерение по
9.3.1 повторяют.
9.4 Испытание изоляции повышенным напряжением промышленной частоты
9.4.1 Порядок проведения испытания изоляции повышенным напряжением промышленной частоты - в соответствии с
приложением Г.
9.4.2 Продолжительность приложения испытательного напряжения - 1 мин.
Эффективное значение испытательного напряжения:
а) для изоляции главной цепи:
1) между токоведущими частями переменного тока и заземленными токопроводящими частями в положении "постоянный ток" - 72 кВ;
2) то же в положении "переменный ток" - 24 кВ;
б) для изоляции вспомогательных цепей - 2,0 кВ.
10 Текущий ремонт устройств защиты станции стыкования
10.1.1 При текущем ремонте обычных устройств защиты станции стыкования выполняют:
проверку сопротивления обмоток трансформатора запала постоянному току по
10.1;
испытание изоляции обмоток трансформатора запала повышенным напряжением промышленной частоты по
10.3;
проверку сопротивления изоляции конденсаторов по
10.4;
испытание изоляции конденсаторов повышенным напряжением промышленной частоты по
10.5;
проверку емкости конденсаторов по
10.6;
проверку сопротивления добавочного резистора и сопротивления его изоляции по
10.7;
контроль исправности вентильного разрядника по
10.8;
контроль исправности устройства защиты станции стыкования в целом по
10.9.
10.1.2 При текущем ремонте полупроводниковых устройств защиты станции стыкования выполняют:
проверку сопротивления изоляции главной цепи по
10.10;
проверку сопротивления изоляции вспомогательных цепей по
10.11;
испытание изоляции главной цепи повышенным напряжением промышленной частоты по
10.12;
проверку тока размагничивания дросселя по
10.13;
проверку напряжения срабатывания по
10.14.
10.2 Проверка сопротивления обмоток трансформатора запала постоянному току
10.2.1 Сопротивление главной цепи постоянному току измеряют однократно методом по ГОСТ 8024
(подраздел 2.6).
10.2.2 Значение сопротивления главной цепи постоянному току, полученное при измерении по
10.2.1 и приведенное к температуре 75 °C, сравнивают:
а) с допустимым значением, которое составляет:
1) для обмотки высшего напряжения - от 0,91 до 1,20 Ом;
2) для обмотки низшего напряжения - от 43,5 до 48,0 Ом;
б) со значением, полученным при предыдущем текущем ремонте.
10.2.3 Устройство защиты станции стыкования считают пригодным к дальнейшей эксплуатации, если значение сопротивления главной цепи постоянному току, полученное при измерении по
10.2.1:
а) находится в пределах, указанных в
10.2.2;
б) отличается от значения, полученного при предыдущем текущем ремонте, не более, чем на 2%.
В противном случае устройство защиты станции стыкования ремонтируют или заменяют.
10.3 Испытание изоляции обмоток трансформатора запала повышенным напряжением промышленной частоты
10.3.1 Порядок проведения испытания изоляции повышенным напряжением промышленной частоты - в соответствии с
приложением Г.
10.3.2 Продолжительность приложения испытательного напряжения - 1 мин.
Эффективное значение испытательного напряжения:
для изоляции обмотки высшего напряжения - 30 кВ;
для изоляции обмотки низшего напряжения - 5 кВ.
10.4 Проверка сопротивления изоляции конденсаторов
10.4.1 Сопротивление изоляции конденсаторов измеряют однократно мегаомметром на напряжение 2500 В.
10.4.2 Значение сопротивления изоляции, полученное при измерении по
10.4.1, сравнивают со значением, полученным при предыдущем текущем ремонте.
10.4.3 Устройство защиты станции стыкования считают пригодным к дальнейшей эксплуатации, если значение сопротивления изоляции конденсаторов снизилось по отношению к значению, полученному при предыдущем текущем ремонте, не более, чем на 2%. В противном случае конденсаторы заменяют.
10.5 Испытание изоляции конденсаторов повышенным напряжением промышленной частоты
10.5.1 Порядок проведения испытания изоляции конденсаторов повышенным напряжением промышленной частоты - в соответствии с
приложением Г.
10.5.2 Продолжительность приложения испытательного напряжения - 10 с.
Эффективное значение испытательного напряжения:
для изоляции между двумя обкладками конденсатора - 8 кВ;
для изоляции между каждой из двух обкладок конденсатора и заземленными токопроводящими частями - 16 кВ.
10.6 Проверка емкости конденсаторов
10.6.1 Емкость конденсаторов измеряют однократно при температуре от 5 до 35 °C мостом переменного тока или методом амперметра - вольтметра на частоте 50 Гц. Если используется метод амперметра - вольтметра, то напряжение питания цепи не должно превышать 220 В.
При определении емкости методом амперметра - вольтметра на частоте 50 Гц используют формулу

(9)
где C - емкость конденсатора, мкФ;
U - падение напряжения, В, измеренное на выводах конденсатора при протекании через него тока I, А.
10.6.2 Значение емкости, полученное в результате измерений по
10.6.1, сравнивают с номинальным.
10.6.3 Устройство защиты станции стыкования считают пригодным к дальнейшей эксплуатации, если значение емкости, полученное в результате измерений по
10.6.1, отличается от номинального не более чем на 5% в сторону уменьшения и не более чем на 15% в сторону увеличения.
10.7 Проверка сопротивления добавочного резистора и сопротивления его изоляции
10.7.1 Измерение сопротивления добавочного резистора выполняют однократно омметром.
Измерение сопротивления изоляции добавочного резистора выполняют однократно мегаомметром на напряжение 1000 В по отношению к заземленным токопроводящим частям.
10.7.2 Значения сопротивления добавочного резистора и сопротивления его изоляции, полученные при измерении по
10.7.1, сравнивают с допустимыми, которые составляют:
сопротивление добавочного резистора - не менее 300 Ом;
сопротивление изоляции добавочного резистора - не менее 0,5 МОм.
10.7.3 Устройство защиты станции стыкования считают пригодным к дальнейшей эксплуатации, если значения сопротивления добавочного резистора и сопротивления его изоляции, полученные при измерении по
10.7.1, находятся в пределах, указанных в
10.7.2. В противном случае добавочный резистор ремонтируют или заменяют.
10.8 Контроль исправности вентильного разрядника
10.8.1 Контроль исправности вентильного разрядника заключается в:
проверке сопротивления изоляции;
проверке тока проводимости при выпрямленном напряжении;
проверке пробивного напряжения.
10.8.2 Проверку сопротивления изоляции выполняют по
14.2, тока проводимости при выпрямленном напряжении - по
14.8 и пробивного напряжения - по
14.9.
10.9 Контроль исправности устройства защиты станции стыкования в целом
10.9.1 Контроль исправности устройства защиты станции стыкования в целом проводят в следующем порядке:
а) с помощью установки для испытания изоляции повышенным напряжением заряжают конденсаторы выпрямленным напряжением до значения (6,7 +/- 0,20) кВ, контролируя напряжение с помощью вольтметра установки для испытания изоляции повышенным напряжением;
б) отключают установку для испытания изоляции повышенным напряжением;
в) с помощью изолирующей штанги на напряжение не менее 10 кВ закорачивают воздушный зазор между запальной иглой и заземленным электродом;
г) убеждаются, что возникшая электрическая дуга переходит на потенциальный и запальный электроды, а искровой промежуток четко срабатывает.
10.9.2 При недостижении результата, указанного в
10.9.1, перечисление г), производят регулировку воздушных зазоров.
10.10 Проверка сопротивления изоляции главной цепи
10.10.1 Сопротивление изоляции главной цепи измеряют однократно мегаомметром на напряжение 2500 В.
10.10.2 Значение сопротивления, полученное в результате измерения по
10.10.1, сравнивают с предельно допустимым, которое составляет 1000 МОм.
10.10.3 Устройство защиты станции стыкования считают пригодным к дальнейшей эксплуатации, если значение сопротивления, полученное в результате измерения по
10.10.1, больше или равно предельно допустимому по
10.10.2. В противном случае устройство защиты станции стыкования ремонтируют и измерение по
10.10.1 повторяют.
10.11 Проверка сопротивления изоляции вспомогательных цепей
10.11.1 Сопротивление изоляции вспомогательных цепей измеряют однократно мегаомметром на напряжение 1000 В.
10.11.2 Значение сопротивления, полученное в результате измерения по
10.11.1, сравнивают с предельно допустимым, которое составляет 1000 МОм.
10.11.3 Устройство защиты станции стыкования считают пригодным к дальнейшей эксплуатации, если значение сопротивления, полученное в результате измерения по
10.11.1, больше или равно предельно допустимому по
10.11.2. В противном случае устройство защиты станции стыкования ремонтируют и измерение по
10.11.1 повторяют.
10.12 Испытание изоляции главной цепи повышенным напряжением промышленной частоты
10.12.1 Порядок проведения испытания изоляции главной цепи повышенным напряжением промышленной частоты - в соответствии с
приложением Г.
10.12.2 Продолжительность приложения испытательного напряжения - 1 мин.
Эффективное значение испытательного напряжения 10 кВ.
10.13 Проверка тока размагничивания дросселя
10.13.1 Для определения значения тока размагничивания дросселя измеряют падение напряжения на резисторах устройства размагничивания дросселя при приложении к устройству защиты станции стыкования напряжения (220,0 +/- 0,5) В от постороннего источника.
Значение тока размагничивания дросселя, А, вычисляют по формуле

(10)
где U - значение падения напряжения на резисторах устройства размагничивания дросселя, В.
10.13.2 Значение тока размагничивания дросселя, полученное по
10.13.1 (формула (10)), сравнивают с допустимым, которое составляет от 8 до 10 А.
10.13.3 Устройство защиты станции стыкования считают пригодным к дальнейшей эксплуатации, если значение тока размагничивания дросселя, полученное по
10.13.1 (формула (10)), находится в допустимых пределах по
10.13.2. В противном случае устройство защиты станции стыкования ремонтируют и измерение по
10.13.1 повторяют.
10.14 Проверка напряжения срабатывания
10.14.1 Напряжение срабатывания измеряют при однократной подаче на главную цепь устройства защиты станции стыкования плавно повышающегося выпрямленного напряжения от установки для испытания повышенным напряжением. Напряжение непрерывно контролируют по вольтметру с пределом измерения 10 кВ класса точности не выше 4,0. Момент срабатывания устройства защиты станции стыкования фиксируют по срабатыванию защиты установки для испытания повышенным напряжением.
10.14.2 Значение напряжения срабатывания, полученное в результате измерения по
10.14.1, сравнивают с допустимым, которое составляет от 7,5 до 8,0 кВ.
10.14.3 Устройство защиты станции стыкования считают пригодным к дальнейшей эксплуатации, если значение напряжения срабатывания, полученное в результате измерения по
10.14.1, находится в допустимых пределах по
10.14.2. В противном случае устройство защиты станции стыкования ремонтируют и измерение по
10.14.1 повторяют.
11 Текущий ремонт воздушных стрелок
При текущем ремонте выполняют:
проверку расстояний, определяющих положение воздушной стрелки по отношению к элементам стрелочного перевода;
проверку расстояний, определяющих фиксацию воздушной стрелки (только у фиксированных воздушных стрелок);
проверку превышения высоты нерабочей ветви контактного провода;
проверку высоты подвеса контактных проводов в зоне подхвата;
проверку расстояний между точкой пересечения контактных проводов и поперечными электрическими соединителями;
проверку расстояния между ограничительной накладкой и контактным проводом.
11.2 Проверка расстояний, определяющих положение воздушной стрелки по отношению к элементам стрелочного перевода
Проверку расстояний, определяющих положение воздушной стрелки по отношению к элементам стрелочного перевода, выполняют по ГОСТ 32679 (пункт 5.9), см. также
рисунки 14 -
17.
Область расположения вертикальной проекции точки
пересечения контактных проводов на плоскость
пути выделена штриховкой
Рисунок 14 - Область расположения вертикальной проекции
точки пересечения контактных проводов на плоскость пути
для обыкновенного стрелочного перевода
Область расположения вертикальной проекции точки
пересечения контактных проводов на плоскость
пути выделена штриховкой
Рисунок 15 - Область расположения вертикальной проекции
точки пересечения контактных проводов на плоскость пути
для симметричного стрелочного перевода
Область расположения вертикальной проекции точки
пересечения контактных проводов на плоскость
пути выделена штриховкой
Рисунок 16 - Область расположения вертикальной проекции
точки пересечения контактных проводов на плоскость пути
для двойного перекрестного стрелочного перевода
Область расположения вертикальной проекции точки
пересечения контактных проводов на плоскость
пути выделена штриховкой
Рисунок 17 - Область расположения вертикальной проекции
точки пересечения контактных проводов на плоскость пути
для глухого пересечения
11.3 Проверка расстояний, определяющих фиксацию воздушной стрелки
11.3.1 Расстояние от фиксаторов до точки пересечения контактных проводов
(рисунок 18) измеряют рулеткой с мерной лентой из неметаллического материала.
1 - контактный провод прямого пути, 2 - контактный провод
примыкающего пути, 3 - точка пересечения контактных
проводов, 4 - допустимая область расположения фиксаторов,
5 - фиксаторы. Значения расстояний на рисунке даны в метрах
Рисунок 18 - Расстояние от фиксаторов до точки
пересечения контактных проводов и допустимая область
расположения фиксаторов
Расстояние между точками фиксации контактных проводов измеряют линейкой по
ГОСТ 427.
11.3.2 Значения расстояний от фиксаторов до точки пересечения контактных проводов, полученные при измерении по
11.3.1, сравнивают с допустимым, которое составляет от 1,5 до 3,0 м.
Значение расстояния между точками фиксации контактных проводов, полученное при измерении по
11.3.1, сравнивают с допустимым, которое составляет не менее 100 мм.
11.3.3 Если значения расстояний от фиксаторов до точки пересечения контактных проводов и расстояния между точками фиксации контактных проводов, полученные при измерении по
11.3.1, находятся в допустимых пределах, то воздушную стрелку считают пригодной к дальнейшей эксплуатации.
Если значения расстояний находятся вне допустимых пределов, то воздушную стрелку регулируют и измерения по
11.3.1 повторяют. Несоответствие по значению расстояния от фиксаторов до точки пересечения контактных проводов допускается устранять при капитальном ремонте.
11.4 Проверка превышения высоты нерабочей ветви контактного провода
11.4.1 Превышение высоты нерабочей ветви контактного провода определяют как разность между расстоянием по вертикали между контактным проводом нерабочей ветви и рельсом и высотой подвеса рабочего контактного провода в том же месте.
Расстояние по вертикали между контактным проводом нерабочей ветви и рельсом измеряют с помощью отвеса и рулетки с мерной лентой из неметаллических материалов. Высоту подвеса рабочего контактного провода измеряют по
7.7.2.
11.4.2 Значение превышения высоты нерабочей ветви контактного провода, полученное по
11.4.1, сравнивают с допустимым, которое составляет от 150 до 200 мм.
11.4.3 Если значение превышения высоты нерабочей ветви контактного провода, полученное по
11.4.1, находится в допустимых пределах, то воздушную стрелку считают пригодной к дальнейшей эксплуатации. В противном случае воздушную стрелку регулируют и измерения по
11.4.1 повторяют.
11.5 Проверка высоты подвеса контактных проводов в зоне подхвата
11.5.1 Высоту подвеса контактных проводов, образующих воздушную стрелку, в зоне подхвата измеряют одним из двух способов:
по отношению к плоскости, соединяющей головки рельсов, по
7.7.2;
по отношению к гидравлическому уровню, расположенному по горизонтали на съемной изолирующей вышке или рабочей площадке автомотрисы.
По результатам этих измерений определяют значение разности высоты подвеса.
11.5.2 Значение разности высоты подвеса контактных проводов, полученное в результате измерений по
11.5.1, сравнивают с предельно допустимым, которое составляет:
при скорости движения до 70 км/ч - 5 мм;
при скорости движения выше 70 км/ч - от 20 до 40 мм.
Контактный провод примыкающего пути должен располагаться выше контактного провода прямого пути.
11.5.3 Воздушную стрелку считают пригодной к дальнейшей эксплуатации, если значение разности высоты подвеса контактных проводов, полученное при измерении по
11.5.1, находится в допустимых пределах по
11.5.2. В противном случае воздушную стрелку регулируют и измерения по
11.5.1 повторяют.
11.6 Проверка расстояний между точкой пересечения контактных проводов и поперечными электрическими соединителями
11.6.1 Значения расстояний между точкой пересечения контактных проводов и поперечными электрическими соединителями измеряют рулеткой с мерной лентой из неметаллических материалов.
11.6.2 Значения расстояний между точкой пересечения контактных проводов и поперечными электрическими соединителями, полученные в результате измерения по
11.6.1, сравнивают с предельно допустимыми, которые составляют:
для поперечного электрического соединителя, расположенного между точкой пересечения контактных проводов и остряками, - от 3,0 до 3,5 м;
для поперечного электрического соединителя, расположенного между зоной подхвата и крестовиной, - от 2,0 до 2,5 м.
11.6.3 Воздушную стрелку считают пригодной к дальнейшей эксплуатации, если значения расстояний между точкой пересечения контактных проводов и поперечными электрическими соединителями, полученные в результате измерения по
11.6.1, находятся в допустимых пределах. В противном случае поперечные электрические соединители переносят и измерения по
11.6.1 повторяют.
11.7 Проверка расстояния между ограничительной накладкой и контактным проводом
11.7.1 Расстояние между ограничительной накладкой и контактным проводом измеряют линейкой по
ГОСТ 427 или штангенциркулем по
ГОСТ 166.
11.7.2 Значение расстояния между ограничительной накладкой и контактным проводом, измеренное по
11.7.1, сравнивают с допустимым, которое составляет от 13 до 15 мм.
11.7.3 Если значение расстояния между ограничительной накладкой и контактным проводом, измеренное по
11.7.1, находится в допустимых пределах, то воздушную стрелку считают пригодной к дальнейшей эксплуатации.
Если значение расстояния находится вне допустимых пределов, то положение ограничительной накладки регулируют и измерение по
11.7.1 повторяют.
12 Текущий ремонт разъединителей
12.1.1 При текущем ремонте разъединителей с ручным приводом выполняют:
очистку и смазку контактов и трущихся частей разъединителя и привода;
проверку сопротивления изоляции поводков и тяг, выполненных из органических материалов.
12.1.2 При текущем ремонте разъединителей с двигательным приводом выполняют технологические операции и проверки по
12.1.1, а также:
проверку тока, потребляемого электродвигателем при включении и отключении разъединителя (только у приводов разъединителей, отключающихся под действием земляной защиты на тяговых подстанциях);
проверку напряжения на зажимах электродвигателя при включении и отключении разъединителя (только у приводов разъединителей, отключающихся под действием земляной защиты на тяговых подстанциях);
проверку сопротивления изоляции;
контроль исправности защиты от самопроизвольных переключений (только у приводов разъединителей, оборудованных соответствующей защитой).
12.2 Проверка сопротивления изоляции поводков и тяг, выполненных из органических материалов
12.2.1 Сопротивление изоляции измеряют однократно мегаомметром на напряжение 2500 В.
12.2.2 Значение сопротивления изоляции, полученное при измерении по
12.2.1, сравнивают с предельно допустимым, которое составляет:
для разъединителей на напряжение до 10 кВ - 300 МОм;
для разъединителей на напряжение выше 10 кВ - 1000 МОм.
12.2.3 Разъединитель считают пригодным к дальнейшей эксплуатации, если значение сопротивления изоляции, полученное при измерении по
12.2.1, не меньше предельно допустимого по
12.2.2. В противном случае изоляцию заменяют и измерения по
12.2.1 повторяют.
12.3 Проверка тока, потребляемого электродвигателем при включении и отключении разъединителя
12.3.1 Ток, потребляемый электродвигателем, измеряют амперметром с пределом измерения от 10 до 30 А класса точности не выше 2,5 при однократном включении и однократном отключении разъединителя.
12.3.2 Значения тока, полученные при измерении по
12.2.1, сравнивают со значениями, полученными при предыдущем измерении.
12.3.3 Разъединитель считают пригодным к дальнейшей эксплуатации, если значения тока, полученные при измерении по
12.3.1, не превышают значений, полученных при предыдущем измерении. В противном случае разъединитель регулируют и измерения по
12.3.1 повторяют.
12.4 Проверка напряжения на зажимах электродвигателя при включении и отключении разъединителя
12.4.1 Напряжение на зажимах электродвигателя измеряют вольтметром с пределом измерения 250 или 300 В класса точности не выше 2,5 при однократном включении и однократном отключении разъединителя.
12.4.2 Значения напряжения, полученные при измерении по
12.4.1, сравнивают с предельно допустимым, которое составляет 170 В.
12.4.3 Разъединитель считают пригодным к дальнейшей эксплуатации, если значения напряжения, полученные при измерении по
12.4.1, не менее предельно допустимого по
12.4.2. В противном случае регулируют разъединитель или ремонтируют электродвигатель и измерения по
12.4.1 повторяют.
12.5 Проверка сопротивления изоляции
12.5.1 Сопротивление изоляции измеряют однократно:
корпуса электродвигателя по отношению к корпусу привода - мегаомметром на напряжение 2500 В;
обмотки электродвигателя по отношению к его корпусу, а также жил кабеля устройств дистанционного управления совместно с обмоткой разделительного трансформатора и проводкой щита (пульта) управления по отношению к земле - мегаомметром на напряжение 1000 В.
12.5.2 Значения сопротивления изоляции, полученные при измерении по
12.5.1, сравнивают с предельно допустимыми, которые составляют:
для изоляции корпуса электродвигателя по отношению к корпусу привода, а также обмотки электродвигателя по отношению к его корпусу - 0,5 МОм;
для изоляции жил кабеля устройств дистанционного управления совместно с обмоткой разделительного трансформатора и проводкой щита (пульта) управления по отношению к земле - 1,0 МОм.
12.5.3 Разъединитель считают пригодным к дальнейшей эксплуатации, если значения сопротивления изоляции, полученные при измерениях по
12.5.1, не менее предельно допустимых по
12.5.1. В противном случае ремонтируют электродвигатель или заменяют привод и измерения по
12.4.1 повторяют.
12.6 Контроль исправности защиты от самопроизвольных переключений
12.6.1 Исправность защиты от самопроизвольных переключений контролируют путем имитации замыкания между собой одного из питающих и управляющего проводов на клеммнике одного из приводов.
12.6.2 Признаком исправности защиты является автоматическое отключение питания и формирование соответствующего сигнала.
13 Текущий ремонт короткозамыкателей
13.1 При текущем ремонте короткозамыкателей выполняют проверку напряжения срабатывания входного устройства.
13.2 Напряжение срабатывания входного устройства измеряют в следующей последовательности:
б) убедившись, что движок автотрансформатора T1 находится в положении, соответствующем минимальному напряжению, включают переключатель SA1 и изменяя положения движка автотрансформатора, устанавливают на конденсаторе C напряжение (700 +/- 50) В, контролируя его по вольтметру V;
в) по показаниям амперметра A убеждаются, что ток в цепи равен 0;
г) изменяя положения движка автотрансформатора, продолжают повышать напряжение, одновременно контролируя ток по амперметру A;
д) в момент, когда значение тока, контролируемое по амперметру
A, резко увеличится и составит от 370 до 450 мА, подъем напряжения прекращают, считывают показание вольтметра
V и фиксируют его;
е) отключают переключатель SA1, движок автотрансформатора устанавливают в положение минимума напряжения, конденсатор C разряжают;
ж) схему разбирают.
SA1 - переключатель 250 В, 10 А;
T1 - лабораторный автотрансформатор;
T2 - однофазный силовой трансформатор ОМ (ОЛ) 6000/220 В мощностью не менее 0,63 кВ·А;
VD - мост из четырех диодов с обратным напряжением не ниже 1500 В;
R1 - R4 - резисторы 1,0 кОм +/- 10%;
V - вольтметр постоянного тока с пределом измерения от 1500 до 7500 В класса точности не выше 1,5;
C - конденсатор емкостью 140 мкФ на напряжение не менее 1500 В;
A - амперметр постоянного тока класса точности не выше 1,5;
ВУ - входное устройство короткозамыкателя, "ДП", "1" и "2" - обозначения его выводов.
Рисунок 19 - Схема для измерения напряжения срабатывания
входного устройства короткозамыкателя
13.3 Значение напряжения, полученное при измерении по
13.2, перечисление д), сравнивают с допустимым, которое составляет (820 +/- 82) В.
13.4 Если значение напряжения, полученное при измерении по
13.2, находится в пределах, установленных в
13.3, то короткозамыкатель считают пригодным к дальнейшей эксплуатации. В противном случае производят регулировку.
14 Текущий ремонт разрядников и ограничителей перенапряжений
При текущем ремонте разрядников и ограничителей перенапряжений выполняют:
очистку;
проверку сопротивления (для всех разрядников, кроме роговых и трубчатых, и для всех ОПН);
контроль правильности расположения и подключения;
проверку размера воздушных промежутков (только для роговых разрядников);
контроль состояния поверхности (только для трубчатых разрядников);
проверку размеров дугогасительного канала и искровых промежутков (только для трубчатых разрядников);
контроль расположения зон выхлопа (только для трубчатых разрядников);
проверку тока проводимости при выпрямленном напряжении (только для вентильных разрядников);
проверку пробивного напряжения (только для вентильных разрядников);
контроль герметичности (только для вентильных разрядников).
| | ИС МЕГАНОРМ: примечание. Текст дан в соответствии с официальным текстом документа. | |
13.4 Если значение напряжения, полученное при измерении по
13.2, находится в пределах, установленных в
13.3, то короткозамыкатель считают пригодным к дальнейшей эксплуатации. В противном случае производят регулировку.
14.2 Проверка сопротивления
14.2.1 Измерение сопротивления производят при положительной температуре окружающего воздуха мегаомметром на напряжение 2500 В.
14.2.2 Значение сопротивления, измеренное по
14.2.1, сравнивают с предельно допустимыми значениями.
Предельно допустимые значения сопротивления:
разрядников РВН, РВП, РВО и GZ - не менее 1000 МОм;
разрядников РВМ, РВРД, РВМГ - в соответствии с
таблицей 15;
ОПН на напряжение от 3 до 35 кВ - в пределах, установленных в документации изготовителя.
Таблица 15
Предельно допустимые значения сопротивления разрядников
Тип разрядника или элемента | Предельно допустимые значения сопротивления, МОм | Допустимые изменения по сравнению с заводскими данными или данными первоначальных измерений |
| |
Разрядник РВМ-3 | 15 | 40 | +/- 30% |
Разрядник РВМ-6 | 100 | 250 |
Разрядник РВМ-10 | 170 | 450 |
Разрядник РВМ-15 | 600 | 2000 |
Разрядник РВМ-20 | 1000 | 10000 |
Разрядник РВРД-3 | 95 | 200 | |
Разрядник РВРД-6 | 210 | 940 |
Разрядник РВРД-10 | 770 | 5000 |
14.3 Контроль правильности расположения и подключения
14.3.1 Плоскость, в которой находятся электроды рогового разрядника, должна располагаться под углом от 45° до 90° к оси пути. Соблюдение требования контролируют визуально.
14.3.2 Над разрядником или ОПН на расстоянии до 2 м не должно находиться каких-либо проводов или изоляторов.
14.3.3 Расстояние от разрядника или ОПН до опоры должно быть не менее 0,8 м.
14.3.4 ОПН к контактной сети, питающей или шунтирующей линии должен быть подключен через роговый разрядник с одинарным воздушным промежутком, размер которого должен быть:
для разрядников постоянного тока - 10+2 мм;
для разрядников переменного тока - 80+5 мм.
Воздушный промежуток должен быть зашунтирован одной медной проволокой диаметром 1,4 мм или двумя медными проволоками диаметром 0,68 мм каждая.
14.3.5 В качестве проводника для подключения разрядников и ОПН используют:
на контактной сети, питающих и шунтирующих линиях - провод ПБСМ-70;
на воздушных линиях электропередачи - провода сечением по меди не менее 25 мм2.
14.3.6 Линейные размеры измеряют:
указанные в
14.3.2,
14.3.3 и
14.3.4 - рулеткой с мерной лентой из неметаллических материалов;
указанные в 14.3.4 - штангенциркулем по
ГОСТ 166.
14.4 Проверка размера воздушных промежутков
14.4.1 Размер каждого из двух расположенных последовательно воздушных промежутков измеряют штангенциркулем по
ГОСТ 166.
14.4.2 Значения размеров воздушных промежутков, измеренные по
14.4.1, сравнивают с допустимыми значениями, которые на каждый из двух воздушных промежутков составляют:
для разрядников постоянного тока - по 5+1 мм;
для разрядников переменного тока - по 45+5 мм.
14.4.3 Если значения размеров воздушных промежутков находятся вне допустимых пределов по
14.4.2, то воздушные промежутки регулируют, а при невозможности отрегулировать разрядник заменяют.
14.5 Контроль состояния поверхности
14.5.1 Состояние поверхности контролируют визуально.
14.5.2 Наружная поверхность разрядника не должна иметь ожогов электрической дугой, трещин, расслоений и царапин глубиной более 0,5 мм по длине не более 1/3 расстояния между наконечниками.
14.6 Проверка размеров дугогасительного канала и искровых промежутков
14.6.1 Измерение размеров дугогасительного канала и искровых промежутков производят мерительным инструментом на расстоянии от пластинчатого электрода, мм, не менее:
70 ..................."..................."..................... 35 кВ;
30 ..................."...................".................. до 10 кВ.
У разрядников типа РТВС измерение производят на расстоянии не более 10 мм от выхлопного конца.
14.6.2 Значения размеров дугогасительного канала и искровых промежутков, полученные при измерении по
14.6.1, сравнивают с предельно допустимыми, которые приведены в таблице 16.
Таблица 16
Предельно допустимые размеры дугогасительного
канала и искровых промежутков
Тип разрядника | Номинальное напряжение, кВ | Ток отключения, кА | Внешний искровой промежуток, мм | Диаметр дугогасительного канала, мм | Длина внутреннего искрового промежутка, мм |
начальный | конечный | начальная | конечная |
РТФ-6 | 6 | от 0,5 до 10,0 | 20 | 10,0 | 14,0 | 150 +/- 2 | 153 +/- 2 |
РТВ-6 | 6 | от 0,5 до 2,5 | 10 | 6,0 | 9,0 | 60 | 68 |
от 2,0 до 10,0 | 10 | 10,0 | 14,0 | 60 | 68 |
РТФ-10 | 10 | от 0,5 до 5,0 | 25 | 10,0 | 11,5 | 150 +/- 2 | 153 +/- 2 |
от 0,2 до 1,0 | 25 | 10,0 | 13,7 | 225 +/- 2 | 225 +/- 2 |
РТВ-10 | 10 | от 0,5 до 2,5 | 20 | 6,0 | 9,0 | 60 | 68 |
от 2,0 до 10,0 | 15 | 10,0 | 14,0 | 60 | 68 |
РТВ-20 | 20 | от 2,0 до 10,0 | 40 | 10,0 | 14,0 | 100 | 110 |
РТФ-35 | 35 | от 0,5 до 2,5 | 130 | 10,0 | 12,6 | 250 +/- 2 | 250 +/- 2 |
от 1,0 до 5,0 | 130 | 10,0 | 15,7 | 200 +/- 2 | 200 +/- 2 |
от 2,0 до 10,0 | 130 | 16,0 | 20,4 | 220 +/- 2 | 227 |
РТВ-35 | 35 | от 2,0 до 10,0 | 100 | 10,0 | 16,0 | 140 | 150 |
14.6.3 Разрядник считают пригодным к дальнейшей эксплуатации, если значения размеров дугогасительного канала и искровых промежутков, полученные при измерении по
14.6.1, находятся в пределах, указанных в
14.6.2. В противном случае разрядник заменяют.
14.7 Контроль расположения зон выхлопа
Контроль расположения зон выхлопа осуществляют визуально. Зоны выхлопа разрядников разных фаз не должны пересекаться, и в них не должны находиться элементы конструкций и провода воздушных линий электропередачи. В случае заземления выхлопных обойм разрядников допускается пересечение их зон выхлопа.
14.8 Проверка тока проводимости при выпрямленном напряжении
14.8.1 Значение тока проводимости при выпрямленном напряжении измеряют методом по ГОСТ 16357
(пункт 6.2.14).
14.8.2 Значения тока проводимости при выпрямленном напряжении, полученные при измерении по
14.8.1, сравнивают с предельно допустимыми, которые указаны в таблице 17.
Таблица 17
Допустимые диапазоны изменения тока проводимости
и пробивного напряжения разрядников
Тип разрядника | Допустимый диапазон изменения тока проводимости разрядников при температуре 20 °C и значении испытательного напряжения: | Допустимый диапазон изменения пробивного напряжения разрядников, кВ |
испытательное напряжение, кВ | допустимый диапазон изменения тока проводимости разрядников, мкА |
Разрядник РМВУ-3,3 | 4,0 | от 70 до 130 | от 10,5 до 13,0 |
Разрядник РМБВ-3,3 | от 350 до 620 | от 10,0 до 11,5 |
Разрядник РВПК-3,3 | до 5 | от 7,5 до 8,5 |
Разрядник РВВМ-3 | от 400 до 620 | от 7,5 до 9,5 |
Разрядник РВКУ-3,3АО1 | от 170 до 220 | от 5,3 до 6,0 |
Разрядник РВКУ-3,3А101 | от 5,0 до 6,0 |
Разрядник РВКУ-3,3БО1 | от 6,0 до 7,1 |
Разрядник РВКУ-1,65ГО1 | 2,0 | до 6 | от 4,0 до 4,6 |
Разрядник РВКУ-1,65ДО1 | от 3,4 до 4,0 |
Разрядники РВП-6 и РВО-6 | 6,0 | до 6 | от 16,0 до 19,0 |
Разрядники РВП-10 и РВО-10 | 10,0 | от 26,0 до 30,5 |
Разрядник РВО-35 | 42,0 | от 70 до 130 | от 78,0 до 98,0 |
Разрядник РВС-15 | 16,0 | от 450 (200) до 620 (340) | от 35,0 до 51,0 |
Разрядник РВС-20 | 20,0 | от 42,0 до 64,0 |
Разрядник РВС-33 | 32,0 | от 66,0 до 84,0 |
Разрядник РВС-35 | от 71,0 до 103,0 |
Разрядник РВМ-3 | 4 | от 380 до 450 | |
Разрядник РВМ-6 | 6 | от 120 до 220 | от 14,0 до 19,0 |
Разрядник РВМ-10 | 10 | от 200 до 280 | от 24,0 до 32,0 |
Разрядник РВМ-15 | 18 | от 500 до 700 | от 33,0 до 45,0 |
Разрядник РВМ-20 | 28 | от 500 до 700 | от 45,0 до 59,0 |
Разрядник РВЭ-25М | 28 | от 400 до 650 | |
Разрядник РВМЭ-25 | 32 | от 450 до 600 | |
Разрядник РВРД-3 | 3 | от 30 до 85 | от 7,5 до 9,0 |
Разрядник РВРД-6 | 6 | от 30 до 85 | от 15,0 до 18,0 |
Разрядник РВРД-10 | 10 | от 30 до 85 | от 25,0 до 30,0 |
Примечание - Значения токов в скобках относятся к разрядникам для сетей с изолированной нейтралью и компенсацией емкостного тока замыкания на землю, изготовленных после 1975 г. |
14.8.3 Разрядник считают пригодным к дальнейшей эксплуатации, если значение тока проводимости при выпрямленном напряжении, полученное при измерении по
14.8.1, находится в пределах по
14.8.2. В противном случае разрядник заменяют.
14.9 Проверка пробивного напряжения
14.9.1 Измерение пробивного напряжения выполняют по ГОСТ 16357
(пункт 6.2.1), при этом напряжение к разряднику должно прикладываться 10 раз.
14.9.2 Значение пробивного напряжения, полученное при измерении по
14.9.1, сравнивают с предельно допустимыми, которые указаны в
таблице 17.
14.9.3 Разрядник считают пригодным к дальнейшей эксплуатации, если значение пробивного напряжения, полученное при измерении по
14.9.1, находится в пределах по
14.9.2. В противном случае разрядник заменяют.
14.10 Контроль герметичности
15 Текущий ремонт кабельных линий электропередачи
При текущем ремонте кабельных линий электропередачи выполняют:
очистку кабеля и кабельных сооружений, шкафов (камер), в которых расположены концевые муфты (для участков кабеля и соединительных муфт, проложенных (находящихся) в грунте и (или) в трубах, производят осмотр трассы кабельной линии электропередачи и ее очистку);
контроль целостности жил кабеля и фазировки;
проверку сопротивления изоляции (для всех кабельных линий электропередачи, кроме отсасывающих линий тяговых подстанций переменного тока и автотрансформаторных пунктов);
испытание изоляции (для всех кабелей, за исключением указанных в
15.4.1);
испытание пластмассовой оболочки повышенным выпрямленным напряжением для кабелей, имеющих пластмассовую оболочку (за исключением указанных в
15.4.1) и не имеющих вставок из кабелей другой конструкции;
контроль исправности антикоррозионных защит;
проверку коэффициента неравномерности распределения тока между параллельно проложенными кабелями (только для кабельных линий электропередачи, состоящих из двух и более параллельно проложенных кабелей);
обследование на предмет выявления мест повышенного нагрева (только для концевых муфт всех кабелей).
15.2 Контроль целостности жил кабеля и фазировки
15.2.1 Контроль целостности жил кабеля производят:
после окончания монтажных или ремонтных работ на кабеле, соединительных или концевых муфтах;
при плановых видах технического обслуживания и ремонта кабельных линий электропередачи, находившихся в резерве более 10 суток, предшествовавших моменту вывода в ремонт.
15.2.2 Контроль фазировки производят после окончания монтажных или ремонтных работ на кабеле, соединительных или концевых муфтах.
15.3 Проверка сопротивления изоляции
15.3.1 Измерение сопротивления изоляции производят:
кабелей отсасывающих линий тяговых подстанций и линейных устройств тягового электроснабжения постоянного тока, а также кабелей линий электропередачи и электропроводок на напряжение до 1000 В - мегаомметром на напряжение 1000 В;
всех остальных кабелей - мегаомметром на напряжение 2500 В.
15.3.2 У кабельных линий электропередачи на напряжение до 1000 В, а также у кабелей отсасывающих линий значение сопротивления изоляции, полученное при измерении по
15.3.1, сравнивают с предельно допустимым, которое составляет 0,5 МОм.
У кабельных линий электропередачи на напряжение выше 1000 В значение сопротивления изоляции, полученное при измерении по
15.3.1, фиксируют в протоколе испытаний.
15.3.3 Кабельную линию электропередачи на напряжение до 1000 В, а также кабели отсасывающих линий считают пригодными к дальнейшей эксплуатации, если значение сопротивления изоляции, полученное при измерении по
15.3.1, больше предельно допустимого по
15.3.2 или равно ему.
Испытанию изоляции подлежат все кабели, за исключением следующих:
а) кабелей отсасывающих линий тяговых подстанций переменного тока и автотрансформаторных пунктов;
б) кабелей (независимо от назначения) с резиновой изоляцией:
1) на напряжение до 1000 В (во всех случаях);
2) на напряжение выше 1000 В до 10 кВ - если испытание не связано с монтажными или ремонтными работами на кабеле или муфтах;
в) кабелей со сроком эксплуатации более 15 лет, на которых удельное число пробоев изоляции составляет более 30 на 100 км в год;
г) одножильных кабелей на напряжение до 1000 В с пластмассовой изоляцией без брони (экранов), проложенных на воздухе.
15.4.2 Требования к испытанию кабелей с изоляцией из сшитого полиэтилена
15.4.2.1 Кабели с изоляцией из сшитого полиэтилена подлежат одному из следующих видов испытаний:
повышенным напряжением частотой 0,1 Гц;
рабочим напряжением.
Примечание - В данном случае под рабочим напряжением (Uраб) понимается напряжение, приложенное между жилой и экраном кабеля в нормальном режиме работы электроустановки.
15.4.2.2 При испытании повышенным напряжением частотой 0,1 Гц значение испытательного напряжения должно составлять 3Uраб, длительность приложения испытательного напряжения - 30 мин.
При испытании рабочим напряжением значение испытательного напряжения должно быть равно Uраб, а длительность приложения испытательного напряжения должна составлять 24 ч.
15.4.2.3 Кабели с изоляцией из сшитого полиэтилена на напряжение выше 1000 В, проложенные в земле, в дополнение к указанному выше должны также испытываться выпрямленным напряжением 10 кВ, прикладываемым между металлическим экраном и заземлителем или между броней и заземлителем, в течение 1 мин.
15.4.3 Требования к испытанию кабелей с иными видами изоляции
15.4.3.1 Кабели с иными видами изоляции подлежат испытанию повышенным выпрямленным напряжением.
15.4.3.2 Значения испытательных напряжений для кабелей - в соответствии с таблицей 18.
Таблица 18
Значения испытательных напряжений для кабелей
Виды изоляции кабелей | Испытательные напряжения, кВ, для кабелей на номинальное напряжение: |
0,66 | 1 | 2 | 3 | 6 | 10 | 20 | | 110 | 220 |
Бумажная | 2,5 | 2,5 | от 10 до 17 | от 15 до 25 | 36 | 60 | 100 | 175 | 285 | 510 |
Пластмассовая | - | 2,5 | - | 7,5 | 36 | 60 | - | - | 285 | - |
Резиновая | - | - | - | 6 | 12 | 20 | - | - | - | - |
<1> К этому же классу относятся кабели напряжением 25 (27,5) кВ тяговых подстанций, линейных устройств тягового электроснабжения, питающих и шунтирующих линий. |
Длительность приложения испытательного напряжения:
для кабелей на напряжение до 35 кВ с бумажной или пластмассовой изоляцией, а также кабелей на напряжение выше 1000 В до 10 кВ с резиновой изоляцией - 5 мин;
для кабелей на напряжение 110 и 220 кВ - 15 мин.
Допустимые значения тока утечки и коэффициента несимметрии при измерении тока утечки - в соответствии с таблицей 19.
Таблица 19
Допустимые значения тока утечки и коэффициента
несимметрии при измерении тока утечки
Номинальное напряжение кабеля, кВ | Испытательное напряжение, кВ | Допустимое значение тока утечки, мА | Допустимое значение коэффициента несимметрии для трехжильных кабелей |
6 | 36 | 0,2 | 2 |
45 | 0,3 | 2 |
10 | 50 | 0,5 | 3 |
60 | 0,5 | 3 |
20 | 100 | 1,5 | 3 |
35 <1> | 140 | 1,8 | 3 |
150 | 2,0 | 3 |
175 | 2,5 | 3 |
<1> К этому же классу относятся кабели напряжением 25 (27,5) кВ тяговых подстанций, линейных устройств тягового электроснабжения, питающих и шунтирующих линий. Примечание - Для одножильных кабелей коэффициент несимметрии не нормируется. |
15.5 Испытание пластмассовой оболочки повышенным выпрямленным напряжением
15.5.1 Порядок проведения испытания изоляции конденсаторов повышенным напряжением - в соответствии с
приложением Г.
15.5.2 Продолжительность приложения испытательного напряжения - 1 мин.
Значение испытательного напряжения 10 кВ.
15.6 Контроль исправности антикоррозионных защит
Контроль исправности антикоррозионных защит выполняют в порядке, установленном
инструкцией по защите железнодорожных подземных сооружений от коррозии блуждающими токами
[19], и документацией изготовителя защит.
15.7 Проверка коэффициента неравномерности распределения тока между параллельно проложенными кабелями
15.7.1 Ток в каждом из параллельно проложенных кабелей измеряют с помощью амперметров с разъемным магнитопроводом класса точности не выше 4,0.
15.7.2 Коэффициент неравномерности распределения тока между параллельно проложенными кабелями определяют по формуле:

(11)
где Imax - максимальное значение тока, А;
Imin - минимальное значение тока, А.
15.7.3 Значение коэффициента неравномерности распределения тока между параллельно проложенными кабелями, полученное при расчете по
15.7.2 (формула (11)), сравнивают с предельно допустимым, которое составляет 10%.
15.7.4 Кабельную линию считают пригодной к дальнейшей эксплуатации, если значение коэффициента неравномерности распределения тока между параллельно проложенными кабелями, полученное при расчете по
15.7.2 (формула (11)), не превышает допустимого по
15.7.3. В противном случае кабельную линию ремонтируют.
15.8 Обследование на предмет выявления мест повышенного нагрева
15.8.1 Обследование на предмет выявления мест повышенного нагрева выполняют с помощью тепловизоров или инфракрасных термометров при одновременном выполнении следующих условий:
а) скорость ветра не более 8 м/с;
б) температура воздуха не ниже установленной в документации изготовителя тепловизора или инфракрасного термометра;
в) воздействие на объект обследования прямых солнечных лучей закончилось не менее, чем за 3 ч до начала обследования;
Примечание - Для выполнения данного требования рекомендуется проводить обследование в темное время суток либо при устойчивой плотной облачности.
г) атмосферные осадки отсутствуют;
д) кабельная линия электропередачи, являющаяся объектом обследования, должна работать при токе, составляющем не менее 50% номинального, в течение не менее 1 ч, предшествующего началу обследования.
15.8.2 Для обследования применяют инфракрасные тепловизоры с разрешающей способностью не хуже 0,1 °C и спектральным диапазоном от 8 до 12 мкм.
15.8.3 К подлежащим обследованию узлам относятся:
контактные соединения наконечников кабеля между собой или с шинами и проводами;
концевые муфты.
15.8.4 Температура и превышения температуры сборных шин, соединительных шин, контактных соединений не должны превышать указанных в таблице 20.
Таблица 20
Допустимые значения температуры и превышения температуры
сборных шин, соединительных шин, контактных соединений
Контролируемые узлы | Наибольшее допустимое значение, °C: |
температуры нагрева | превышения температуры |
1 Токоведущие (за исключением контактов и контактных соединений) и нетоковедущие металлические части: | не изолированные и не соприкасающиеся с изоляционными материалами | 120 | 80 |
изолированные или соприкасающиеся с изоляционными материалами классов нагревостойкости по ГОСТ 8865: | Y | 90 | 50 |
A | 100 | 60 |
E | 120 | 80 |
B | 130 | 90 |
F | 155 | 115 |
H | 180 | 140 |
2 Контакты из меди и медных сплавов: | без покрытий, в воздухе/в изоляционном масле | 75/80 | 35/40 |
с накладными серебряными пластинами, в воздухе/в изоляционном масле | 120/90 | 80/50 |
с покрытием серебром или никелем, в воздухе/в изоляционном масле | 105/90 | 65/50 |
с покрытием серебром толщиной не менее 24 мкм | 120 | 80 |
с покрытием оловом, в воздухе/в изоляционном масле | 90/90 | 50/50 |
3 Контакты металлокерамические вольфрамо- и молибденосодержащие в изоляционном масле: на основе меди/на основе серебра | 85/90 | 45/50 |
4 Аппаратные выводы из меди, алюминия и их сплавов, предназначенные для соединения с внешними проводниками электрических цепей: | без покрытия | 90 | 50 |
с покрытием оловом, серебром или никелем | 105 | 65 |
5 Болтовые контактные соединения из меди, алюминия и их сплавов: | без покрытия, в воздухе/в изоляционном масле | 90/100 | 50/60 |
с покрытием оловом, в воздухе/в изоляционном масле | 105/100 | 65/60 |
с покрытием серебром или никелем, в воздухе/в изоляционном масле | 115/100 | 75/60 |
При обследовании концевых муфт следует убедиться в отсутствии локальных нагревов на корпусе муфты и прилегающих к ней участках жил кабеля.
15.8.5 Для каждого контактного соединения определяют коэффициент дефектности, представляющий собой отношение измеренного при тепловизионном обследовании превышения температуры контактного соединения к превышению температуры, измеренному на целом участке шины (провода), отстоящем от контактного соединения на расстоянии не менее 1 м.
При коэффициенте дефектности от 1,0 до 1,5 контактное соединение подлежит ремонту при ближайшем плановом выводе в ремонт соответствующего присоединения или секции сборных шин. При коэффициенте дефектности, превышающем 1,5, соответствующее присоединение или секция сборных шин подлежат немедленному выводу из работы для внепланового ремонта дефектного контактного соединения.
16 Текущий ремонт заземляющих устройств
16.1 При текущем ремонте заземляющих устройств выполняют контроль состояния элементов.
16.2 Контроль состояния элементов заземляющего устройства, находящихся в земле, производят визуально со вскрытием грунта в следующих местах:
а) в радиусе не менее 0,5 м от места соединения с заземляющим устройством подстанции заземляющих проводников, ведущих к:
1) реле заземления (только на тяговых подстанциях постоянного тока и стыковых);
2) нейтралям силовых трансформаторов;
3) выводам разрядников и ограничителей перенапряжений;
4) выводам короткозамыкателей;
б) выборочно по территории, занимаемой открытыми распределительными устройствами напряжением выше 1000 В;
в) в местах, где ранее выявлялась повышенная коррозия элементов заземляющего устройства.
16.3 Контроль состояния элементов заземляющего устройства, проложенных открыто, производят визуально на всем их протяжении, в том числе с обеих сторон от мест пересечения заземляющих проводников со стенами и перекрытиями зданий.
16.4 Элемент заземляющего устройства должен быть заменен, если разрушено более 50% его сечения.
17.1.1 К капитальному ремонту относятся такие работы, в процессе которых производится смена изношенных конструкций и деталей сооружений или замена их на более прочные и экономичные, улучшающие эксплуатационные возможности ремонтируемых объектов, за исключением полной смены или замены основных конструкций, срок службы которых является наибольшим.
Полный перечень работ, которые могут выполняться при капитальном ремонте - по
17.2.
17.1.2 При капитальном ремонте не предусматривают:
работы, вызванные изменением технологического или служебного назначения сооружения, а также повышенными нагрузками и другими новыми качествами;
изменение трассы контактной сети, питающих линий, отсасывающих линий, шунтирующих линий и линий электропередачи;
увеличение сечения проводов или кабелей;
замена воздушных питающих линий, отсасывающих линий, шунтирующих линий и линий электропередачи, а также их отдельных участков, на кабельные или наоборот.
17.1.3 Различают комплексный и выборочный капитальный ремонт.
Комплексный капитальный ремонт охватывает все сооружение, являющееся объектом капитального ремонта, в целом.
Выборочный капитальный ремонт предусматривают:
если комплексный ремонт может создать значительные препятствия для перевозочного процесса;
при выявлении существенного износа отдельных элементов, угрожающем сохранности остальных частей сооружения;
при экономической нецелесообразности проведения комплексного ремонта.
При проведении выборочного капитального ремонта в первую очередь предусматривают ремонт тех элементов, от которых зависит нормальный ход перевозочного процесса.
17.1.4 Комплексный капитальный ремонт не предусматривают, если в ближайшие годы:
а) снос или перенос сооружений в связи с предстоящим строительством на занимаемом ими участке другого сооружения, в целях создания или расширения зоны санитарной охраны (защитной зоны), предусмотренных проектом, а также при ожидаемом затоплении подпором проектируемой плотины и др.;
б) предусматривается прекращение эксплуатации предприятия, для нужд которого это сооружение построено;
в) предполагается реконструкция сооружения;
г) намечается прекращение эксплуатации сооружения.
В этих случаях за счет капитального ремонта осуществляют работы по поддержанию конструкций сооружения в состоянии, обеспечивающем нормальную эксплуатацию их в течение соответствующего периода - до сноса или реконструкции.
17.1.5 При этом капитальном ремонте допускается замена изношенной конструкции из менее прочного и недолговечного материала на конструкции из более прочного и долговечного материала, за исключением полной замены основных конструкций, срок службы которых является наибольшим.
17.2 Перечень работ, которые могут выполняться при капитальном ремонте
При капитальном ремонте могут выполняться следующие работы:
замена дефектных опор, фундаментов и анкеров (при выявлении более 60% дефектных опор предусматривают их сплошную замену, допускается замена железобетонных опор на металлические и наоборот);
замена дефектных изоляторов;
замена контактного провода по предельно допустимому износу и количеству стыковок (допускается замена медного провода на легированный);
замена дефектных стальных тросов;
замена дефектных компенсаторов;
замена дефектных секционных изоляторов, разрядников, разъединителей и их приводов (для разрядников допускается замена на ограничители перенапряжений);
замена дефектных проводов и кабелей контактной сети, питающих линий, отсасывающих линий, шунтирующих линий, линий электропередачи, направляющих линий поездной радиосвязи, тросов группового заземления, заземляющих проводников (допускается замена алюминиевых проводов и кабелей питающих линий, отсасывающих линий и шунтирующих линий на медные);
замена дефектных гибких поперечин на жесткие поперечины (при выявлении более 60% дефектных гибких поперечин предусматривают их сплошную замену);
замена дефектных кронштейнов, консолей, ригелей жестких поперечин, искровых промежутков и диодных заземлителей;
замена дефектных светильников и прожекторов;
покраска металлических конструкций.
Критерий необходимости организации капитального ремонта - по
4.2.2. Критерии отнесения элементов к дефектным - по
разделам 5 -
16.
17.3 Требования к материалам, используемым при капитальном ремонте
17.3.1 При выполнении капитального ремонта используют:
а) железобетонные или металлические стойки для опор, выпускаемые по
ГОСТ 19330;
б) железобетонные фундаменты, выпускаемые по
ГОСТ 32209;
ж) для поперечно-несущих тросов гибких поперечин - сталемедный трос сечением 70 или 95 мм2;
з) стержневые фарфоровые и полимерные, а также и тарельчатые стеклянные изоляторы, выпускаемые по
ГОСТ Р 55648;
л) для компенсаторов - многопроволочные коррозионно-стойкие стальные канаты диаметром от 9,5 до 11,0 мм и чугунные грузы с антикоррозионным покрытием массой (25,0 +/- 0,2) кг;
м) для воздушных стрелок - ограничительные накладки и устройства одновременного подъема проводов, выпускаемые по техническим условиям, согласованным с ОАО "РЖД", при этом ограничительные накладки должны быть длиной:
1) на стрелках с крестовинами марки 1/9 и круче - 1,5 м;
2) на стрелках с крестовинами марки 1/11 - 1,7 м;
3) на стрелках с крестовинами марки 1/18 и 1/22 - 2,0 м;
н) сигнальные указатели "Опустить токоприемник", постоянные сигнальные знаки "Внимание! Токораздел", "Поднять токоприемник", "Конец контактной подвески", предупредительные сигнальные знаки "Отключить ток", "Включить ток на электровозе" и "Включить ток на электропоезде", выпускаемые по
ГОСТ 8442;
о) арматуру контактной сети, выпускаемую по
ГОСТ 12393;
р) разъединители, выпускаемые по
ГОСТ Р 52726 или ГОСТ Р 55883.
17.3.2 При входном контроле изделия контролируют:
а) железобетонные стойки для опор - на соответствие:
1) по толщине наружного защитного слоя бетона по
17.4;
2) по прочности бетона по
17.5 (только для изделий, находившихся на хранении 15 лет и более);
| | ИС МЕГАНОРМ: примечание. В официальном тексте документа, видимо, допущена опечатка: пункты 5.6.22 и 5.6.23 отсутствуют. Возможно, имеются в виду пункты 5.6.2 и 5.6.3. | |
3) по электрическому сопротивлению между каждой из металлических закладных деталей и арматурой по ГОСТ 19330 (
пункты 5.6.22,
5.6.23), стойку считают пригодной к эксплуатации, если значение сопротивления составляет не менее 10 кОм;
б) металлические стойки и ригели жестких поперечин - визуальным осмотром на предмет целостности покрытий и видимой части сварных швов;
в) фундаменты и анкеры - на соответствие:
1) по толщине наружного защитного слоя бетона по
17.4;
2) по прочности бетона по
17.5 (только для изделий, находившихся на хранении 15 лет и более).
г) изоляторы (включая секционные) - визуальным осмотром на соответствие по комплектности поставки и соответствию ее заказу (договору), состоянию упаковки, соответствию ее требованиям стандартов или технических условий, состоянию изоляционных деталей, арматуры и ее защитного покрытия, качеству сборки;
д) фарфоровые тарельчатые изоляторы (в дополнение к указанному в
перечислении г)) - на соответствие по электрической прочности изоляции по
17.4;
е) искровые промежутки - на соответствие требованию к сопротивлению главной цепи по ГОСТ Р 55602 (пункт 9.2.4);
ж) диодные заземлители - на соответствие требованию к сопротивлению в обратном направлении и сопротивлению изоляции между корпусом и выводом (выводами) главной цепи по ГОСТ Р 55602 (пункты 9.3.3 и 9.3.4);
з) устройства защиты станции стыкования - на соответствие требованию к сопротивлению изоляции между корпусом и выводом (выводами) главной цепи по ГОСТ Р 55602 (пункт 9.4.3);
и) дроссель-трансформаторы - на соответствие требованию к сопротивлению изоляции основной и дополнительной обмоток относительно заземленных нетоковедущих частей корпуса по
7.12.4, перечисление в);
| | ИС МЕГАНОРМ: примечание. В официальном тексте документа, видимо, допущена опечатка: перечисление а) в пункте 7.13.3 отсутствует. Возможно, имеется в виду перечисление а) пункта 7.13.4. | |
к) сигнальные указатели "Опустить токоприемник" - на соответствие требованию к сопротивлению изоляции первичной цепи реле контроля напряжения и вторичных цепей по
7.13.3, перечисление а);
л) переключатели пунктов группировки - в соответствии с документацией изготовителя.
Примечание - Изложенные в
подпункте 17.3.2 требования и методы контроля применяются исключительно по отношению к изделиям, поступившим для монтажа от изготовителя, поставщика или из аварийного запаса. На изделия на стадиях их разработки, постановки на производство, изготовления (включая приемосдаточные, периодические, типовые испытания и испытания для подтверждения соответствия) или эксплуатации, изложенные в
пункте 17.1.3, требования и методы контроля не распространяются.
17.3.4 Применение стержневых фарфоровых изоляторов не допускается:
в узлах анкеровок несущих тросов, контактных проводов, усиливающих, питающих и отсасывающих линий;
в несущем тросе;
в нерабочих ветвях контактных проводов;
в поперечно-несущих тросах гибких поперечин.
17.4 Контроль железобетонных стоек, фундаментов и анкеров на соответствие по толщине наружного защитного слоя бетона
17.4.1 Толщину наружного защитного слоя бетона железобетонных стоек, фундаментов и анкеров измеряют специализированными средствами измерений, принцип действия которых основан на регистрации изменения комплексного сопротивления преобразователя, возникающего при взаимодействии электромагнитного поля с металлом арматуры. Применяют средства измерений, характеристики которых удовлетворяют требованиям ГОСТ 22904
(приложение Б).
Правила и условия выполнения измерений - в соответствии с технической документацией средства измерений. Для стоек выполняют не менее 6 измерений на расстоянии от 5,0 до 6,0 м от нижнего конца стойки, для фундаментов и анкеров - не менее 4 измерений на расстоянии от 0,2 до 1,0 м от верхнего обреза.
За результат измерений принимают минимальное из полученных при измерениях значений толщины наружного защитного слоя бетона.
17.4.2 Значение толщины наружного защитного слоя бетона, полученное при измерении по
17.4.1, сравнивают с минимально допустимым, которое составляет:
для стоек - 16 мм;
для фундаментов и анкеров - 23 мм.
17.4.3 Если значение толщины наружного защитного слоя бетона, полученное при измерении по
17.4.1, составляет не менее допустимого по
17.4.2, то изделие считают пригодным к эксплуатации.
В противном случае изделие бракуют.
17.5 Контроль железобетонных стоек, фундаментов и анкеров на соответствие по прочности бетона
17.5.1 Контроль железобетонных стоек, фундаментов и анкеров на соответствие по прочности бетона производят путем измерения показателей, характеризующих распространение ультразвука:
показателя П1, представляющего собой время распространения ультразвука в бетоне в поперечном по отношению к продольной оси опоры направлении на заданной базе измерений;
показателя П2, представляющего собой отношение времени распределения ультразвука в поперечном направлении ко времени его распространения в продольном направлении опоры при одинаковой базе измерений в том и другом направлениях.
Для измерения показателей используют специализированные средства измерений со следующими характеристиками:
а) измерительная база (150 +/- 1) мм;
б) рабочая частота 50 кГц;
в) диапазон измерения времени распространения ультразвука не менее, чем от 15 до 100 мкс;
г) диапазон измерения скорости распространения ультразвуковых волн не менее, чем от 1500 до 9990 м/с;
д) пределы допускаемой основной абсолютной погрешности измерения времени распространения ультразвуковых волн t:
1) в диапазоне изменения скорости от 2500 до 6500 м/с - не более +/- (0,01t +/- 0,1) мкс;
2) в остальном диапазоне - не более +/- (0,02t +/- 0,1) мкс;
е) пределы допускаемой основной абсолютной погрешности измерения скорости распространения ультразвуковых волн c:
1) в диапазоне изменения скорости от 2500 до 6500 м/с - не более +/- (0,01c + 10) м/с;
2) в остальном диапазоне - не более +/- (0,02c + 10) м/с;
ж) диапазон измерения длительности переднего фронта импульса ультразвуковых колебаний - не менее, чем от 2 до 20 мкс;
з) пределы допускаемой основной абсолютной погрешности измерений длительности переднего фронта импульса ультразвуковых колебаний - не более, чем +/- 2 мкс.
Правила и условия выполнения измерений - в соответствии с технической документацией средства измерений и указаниями по техническому обслуживанию и ремонту опорных конструкций контактной сети
[12] (приложение 3).
17.5.2 Значения показателей П1 и П2, полученные при измерении по
17.5.1, сравнивают с максимально допустимыми, которые составляют:
а) для изделий с предварительно-напряженной арматурой:
1) показателя П1 - 36 мкс;
2) показателя П2 - 1,1;
б) для изделий с ненапряженной арматурой:
1) показателя П1 - 48 мкс;
2) показателя П2 - 1,2.
17.5.3 Если значения показателей П1 и П2, полученные при измерении по
17.5.1, меньше или равны максимально допустимым по
17.5.2, то изделие считают пригодным к эксплуатации.
В противном случае изделие бракуют.
17.6 Контроль фарфоровых тарельчатых изоляторов на соответствие по электрической прочности изоляции
Контроль фарфоровых тарельчатых изоляторов на соответствие по электрической прочности изоляции проводят путем испытания 100% изоляторов повышенным напряжением промышленной частоты амплитудным значением 40 кВ в течение 1 мин. Требования к организации и проведению испытаний - в соответствии с
приложением Г.
17.7 Капитальный ремонт волоконно-оптических линий передачи
При определении объема капитального ремонта волоконно-оптических линий передачи, проложенных по опорам контактной сети, питающих линий, отсасывающих линий и линий электропередачи, руководствуются инструкцией по технической эксплуатации волоконно-оптических линий передачи
[6].
(обязательное)
ПЕРИОДИЧНОСТЬ ВЫПОЛНЕНИЯ ОБХОДА С ОСМОТРОМ, ОБЪЕЗДА
С ОСМОТРОМ, ПРОВЕРКИ ВАГОНОМ-ЛАБОРАТОРИЕЙ, ОБЪЕЗДА
С ПОВЫШЕННЫМ СТАТИЧЕСКИМ НАЖАТИЕМ, ДИАГНОСТИЧЕСКИХ
ИСПЫТАНИЙ И ИЗМЕРЕНИЙ И ТЕКУЩЕГО РЕМОНТА
ОАО "РЖД" от 02.08.2017 N 1540р)
Периодичность выполнения обхода с осмотром, объезда с осмотром, проверки вагоном-лабораторией, объезда с повышенным статическим нажатием, диагностических испытаний и измерений и текущего ремонта - в соответствии с
таблицей А.1.
(в ред.
Изменений, утв. Распоряжением ОАО "РЖД" от 02.08.2017 N 1540р)
Таблица А.1
Периодичность выполнения обхода с осмотром, объезда
с осмотром, проверки вагоном-лабораторией, объезда
с повышенным статическим нажатием, диагностических
испытаний и измерений и текущего ремонта
ОАО "РЖД" от 02.08.2017 N 1540р)
N, наименование и условия выполнения технологических операций, испытаний и измерений (в скобках - номер структурного элемента, в котором приведены требования) | Периодичность для железнодорожных линий: |
1 класса | 2 класса | 3 класса | 4 класса | 5 класса |
|
1.1 Объезд в кабине электроподвижного состава или на автомотрисе | 1 раз в месяц | 1 раз в месяц | 1 раз в месяц | 1 раз в месяц | 1 раз в месяц |
1.2 Обход с осмотром | а) контактной сети и обратной рельсовой сети на перегонах и главных путях станций | 1 раз в месяц | 1 раз в месяц | 1 раз в квартал | 1 раз в квартал | 1 раз в квартал |
б) на остальных путях станций и депо | 1 раз в квартал | 2 раза в год | 2 раза в год | 1 раз в год | 1 раз в год |
в) питающих и отсасывающих линий | 1 раз в год | 1 раз в 2 года | 1 раз в 3 года | 1 раз в 4 года | 1 раз в 4 года |
г) устройств электроснабжения сигнализации, централизации и блокировки, направляющих линий поездной радиосвязи | 2 раза в год | 1 раз в год | 1 раз в 2 года | 1 раз в 2 года | 1 раз в 2 года |
д) устройств электроснабжения потребителей электроэнергии I категории надежности <1> | 2 раза в год | 1 раз в год | 1 раз в 2 года | 1 раз в 3 года | 1 раз в 3 года |
е) устройств электроснабжения потребителей электроэнергии II и III категорий надежности | 1 раз в год | 1 раз в 2 года | 1 раз в 3 года | 1 раз в 4 года | 1 раз в 4 года |
ж) волоконно-оптических линий передачи <2> | 2 раза в год | 1 раз в год | 1 раз в 2 года | 1 раз в 2 года | 1 раз в 2 года |
1.3 Обход с контрольным осмотром комиссией под руководством начальника или заместителя начальника дистанции электроснабжения с проверкой состояния и определением объемов и видов ремонта для устранения неисправностей и отступлений | По графикам с полным осмотром всех устройств в течение двух лет. Для контактной сети по проектам КС-160, 200, 250 - начиная с четвертого года эксплуатации |
1.4 Осмотр пересечений воздушных линий электропередачи с контактной сетью с участием владельцев <3> | а) напряжением до 35 кВ | 1 раз в 3 года | 1 раз в 6 лет | 1 раз в 8 лет | 1 раз в 8 лет | 1 раз в 8 лет |
б) напряжением выше 35 кВ | 1 раз в 6 лет | 1 раз в 8 лет | 1 раз в 8 лет | 1 раз в 8 лет | 1 раз в 8 лет |
в) на деревянных опорах (любого напряжения) <4> | 1 раз в 2 года | 1 раз в 6 лет | 1 раз в 6 лет | 1 раз в 8 лет | 1 раз в 8 лет |
1.5 Осмотр предохранительных щитов на искусственных сооружениях | 1 раз в 2 года | 1 раз в 3 года | 1 раз в 3 года | 1 раз в 4 года | 1 раз в 4 года |
1.6 Осмотр пунктов группировки и оборудования станций стыкования | а) дежурным персоналом | еженедельно | 1 раз в месяц | 1 раз в месяц | 1 раз в месяц | 1 раз в месяц |
б) начальником (старшим электромехаником) района контактной сети | 2 раза в год | 1 раз в год | 1 раз в год | 1 раз в 2 года | 1 раз в 2 года |
1.7 Осмотр устройств поездной радиосвязи | а) высокочастотных обходов тяговых подстанций и разъединителей, мест присоединения направляющих проводов к проводам линий электропередачи напряжением выше 1000 В | 1 раз в квартал | 2 раза в год | 1 раз в год | 1 раз в год | 1 раз в год |
б) запирающих контуров, высокочастотных заградительных дросселей | 1 раз в год | 1 раз в 3 года | 1 раз в 3 года | 1 раз в 3 года | 1 раз в 3 года |
2 Проверка вагоном-лабораторией |
2.1 Проверка вагоном-лабораторией (6.1) | а) железнодорожных линий специализации B и C | 1 раз в месяц | 1 раз в квартал | 1 раз в квартал | 1 раз в год | не проводится |
б) железнодорожных линий иной специализации | 1 раз в квартал | 1 раз в квартал | 1 раз в квартал | 1 раз в год | не проводится |
(в ред. Изменений, утв. Распоряжением ОАО "РЖД" от 02.08.2017 N 1540р) |
3 Объезд с повышенным статическим нажатием |
3.1 Объезд с повышенным статическим нажатием (6.2) | При вводе в эксплуатацию и 1 раз в год осенью | не проводится |
4 Диагностические испытания и измерения |
4.1 Проверка сопротивления цепи индивидуального или группового заземления опор, фундаментов и анкеров контактной сети, прожекторных мачт и порталов наружного освещения (7.1) | а) на участках постоянного тока <5> | После ввода в эксплуатацию и выборочно в анодных и знакопеременных зонах 1 раз в 6 лет, в катодных - 1 раз в 12 лет |
б) на участках переменного тока | После ввода в эксплуатацию и выборочно в местах с агрессивными грунтами по отношению к бетону 1 раз в 9 лет |
4.2 Проверка габарита опор, прожекторных мачт и порталов наружного освещения (7.2) | При вводе в эксплуатацию, при замене опор и после ремонта пути |
4.3 Измерения для выявления коррозионно-опасных зон (7.3) | а) на участках с раздельными опорами с усиленной изоляцией и повышенной надежностью | После ввода в эксплуатацию и при изменении схемы питания контактной сети |
б) на всех остальных участках | 1 раз в 6 лет | 1 раз в 6 лет | 1 раз в 6 лет | 1 раз в 12 лет | не проводится |
4.4 Контроль состояния надземной части опор, прожекторных мачт и порталов наружного освещения (7.4) | 1 раз в 6 лет | 1 раз в 6 лет | 1 раз в 6 лет | 1 раз в 6 лет | не проводится |
4.5 Контроль состояния арматуры подземной части опор, прожекторных мачт и порталов наружного освещения (7.5) | Не позднее 6 лет после начала эксплуатации, далее по результатам диагностирования |
4.6 Проверка износа контактного провода <6> (7.6) | а) при металлокерамических пластинах токоприемников | 1 раз в 2 года | 1 раз в 2 года | 1 раз в 2 года | 1 раз в 2 года | не проводится |
б) при угольных вставках токоприемников | 1 раз в 3 года | 1 раз в 3 года | 1 раз в 4 года | 1 раз в 6 лет | не проводится |
4.7 Проверка основных размеров, характеризующих техническое состояние контактной сети <6> (7.7) | При вводе в эксплуатацию и после ремонта пути |
4.8 Контроль исправности искровых промежутков и диодных заземлителей (7.8) | | | | | не проводится |
4.9 Проверка характеристик токоприемников электроподвижного состава <8> (7.9) | 1 раз в год | 1 раз в год | 1 раз в год | 1 раз в год | 1 раз в год |
4.10 Проверка сопротивления изоляции вспомогательных цепей переключателей станций стыкования (7.10) | а) для переключателей с вакуумными камерами | 1 раз в 3 года | 1 раз в 3 года | 1 раз в 6 лет | 1 раз в 6 лет | не проводится |
б) для выключателей с контактами в воздухе | 1 раз в 2 года | 1 раз в 2 года | 1 раз в 3 года | 1 раз в 4 года | не проводится |
4.11 Проверка сопротивления изоляции обмоток трансформатора запала устройств защиты станций стыкования (7.11) | 1 раз в 2 года | 1 раз в 2 года | 1 раз в 3 года | 1 раз в 4 года | не проводится |
4.12 Контроль исправности дроссель-трансформаторов <9> (7.12) | 1 раз в 2 года | 1 раз в 2 года | 1 раз в 4 года | 1 раз в 4 года | не проводится |
4.13 Контроль исправности сигнальных указателей "Опустить токоприемник" (7.13) | 1 раз в 2 года | 1 раз в 2 года | 1 раз в 4 года | 1 раз в 4 года | не проводится |
4.14 Проверка сопротивления изоляции корпусов приводов разъединителей (7.14) | 1 раз в 6 лет | 1 раз в 6 лет | 1 раз в 6 лет | 1 раз в 12 лет | не проводится |
4.15 Диагностические испытания и измерения устройств дистанционного управления разъединителями с двигательными приводами (7.15) | а) для приводов с коллекторными двигателями | 1 раз в год | 1 раз в год | 1 раз в год | 1 раз в год | не проводится |
б) для приводов с асинхронными двигателями | 1 раз в 3 года | 1 раз в 3 года | 1 раз в 6 лет | 1 раз в 6 лет | не проводится |
4.16 Диагностические испытания и измерения короткозамыкателей (7.16) | 1 раз в год | 1 раз в год | 1 раз в 2 года | 1 раз в 2 года | не проводится |
4.17 Диагностические испытания и измерения разрядников и ограничителей перенапряжений (7.17) | 1 раз в 6 лет | 1 раз в 6 лет | 1 раз в 6 лет | 1 раз в 12 лет | не проводится |
4.18 Диагностические испытания и измерения прожекторов и светильников (7.18) | 1 раз в 2 года | 1 раз в 4 года | 1 раз в 4 года | 1 раз в 4 года | не проводится |
| 1 раз в год | 1 раз в год | 1 раз в год | 1 раз в год | 1 раз в год |
4.20 Диагностические испытания и измерения электрических сетей, предназначенных для электроснабжения устройств СЦБ (7.20) | 2 раза в год | 1 раз в год | 1 раз в год | 1 раз в 2 года | не проводится |
4.21 Диагностические испытания и измерения заземляющих устройств <11> (7.21) | 1 раз в 3 года | 1 раз в 3 года | 1 раз в 6 лет | 1 раз в 6 лет | не проводится |
4.22 Диагностические испытания и измерения конденсаторов связи устройств поездной радиосвязи <12> (по инструкции [9]) | 1 раз в год | 1 раз в 3 года | 1 раз в 6 лет | 1 раз в 6 лет | не проводится |
4.23 Проверка асимметрии тока в тяговой рельсовой сети <13> (7.22) | 1 раз в год | 1 раз в год | 1 раз в 2 года | 1 раз в 2 года | не проводится |
4.24 Текущее обслуживание волоконно-оптических линий передачи <12> (по инструкции [6] (подраздел 4.3)) | |
| | ИС МЕГАНОРМ: примечание. Нумерация пунктов дана в соответствии с официальным текстом документа. | |
|
4.24 Планово-профилактическое обслуживание волоконно-оптических линий передачи (по инструкции [6] (подраздел 4.4)) | |
5 Текущий ремонт |
| | 1 раз в 2 года | 1 раз в 2 года | 1 раз в 6 лет | 1 раз в 6 лет | не проводится |
б) питающих, отсасывающих, шунтирующих линий и линий электропередачи | 1 раз в 3 года | 1 раз в 6 лет | 1 раз в 6 лет | 1 раз в 6 лет | не проводится |
5.2 Текущий ремонт переключателей пунктов группировки (раздел 9) | а) для переключателей с вакуумными камерами | 1 раз в 3 года | 1 раз в 3 года | 1 раз в 3 года | 1 раз в 6 лет | не проводится |
б) для выключателей с контактами в воздухе | 1 раз в год | 1 раз в год | 1 раз в 2 года | 1 раз в 4 года | не проводится |
5.3 Текущий ремонт устройств защиты станции стыкования (раздел 10) | 1 раз в 3 года | 1 раз в 3 года | 1 раз в 3 года | 1 раз в 6 лет | не проводится |
5.4 Текущий ремонт воздушных стрелок в главных путях (раздел 11) | а) оборудованных устройством одновременного подъема проводов | 1 раз в год | 1 раз в год | 1 раз в 2 года | 1 раз в 2 года | не проводится |
б) не оборудованных устройством одновременного подъема проводов | 2 раза в год | 2 раза в год | 1 раз в год | 1 раз в 2 года | не проводится |
5.5 Текущий ремонт воздушных стрелок в прочих путях (раздел 11) | 1 раз в год | 1 раз в 2 года | 1 раз в 2 года | 1 раз в 3 года | не проводится |
5.6 Текущий ремонт разъединителей с двигательным приводом (раздел 12) | а) для двигательных приводов с коллекторными двигателями | 1 раз в 2 года | 1 раз в 2 года | 1 раз в 2 года | 1 раз в 2 года | не проводится |
б) для двигательных приводов с асинхронными двигателями | 1 раз в 6 лет | 1 раз в 6 лет | 1 раз в 6 лет | 1 раз в 6 лет | не проводится |
5.7 Текущий ремонт разъединителей с ручным приводом (раздел 12) | 1 раз в 3 года | 1 раз в 3 года | 1 раз в 3 года | 1 раз в 6 лет | не проводится |
| 1 раз в 3 года | 1 раз в 3 года | 1 раз в 6 лет | 1 раз в 6 лет | не проводится |
5.9 Текущий ремонт разрядников и ограничителей перенапряжений (раздел 14) | 1 раз в 12 лет | 1 раз в 12 лет | 1 раз в 12 лет | 1 раз в 12 лет | не проводится |
5.10 Текущий ремонт кабельных линий электропередачи (раздел 15) | а) напряжением выше 1000 В, питающих потребителей I и II категорий надежности, а также отсасывающих линий тяговых подстанций | 1 раз в 3 года | 1 раз в 3 года | 1 раз в 3 года | 1 раз в 5 лет | не проводится |
б) напряжением выше 1000 В, не питающих потребителей I и II категорий надежности, а также отсасывающих линий линейных устройств системы тягового электроснабжения | 1 раз в 6 лет | 1 раз в 6 лет | 1 раз в 6 лет | 1 раз в 10 лет | не проводится |
в) напряжением до 1000 В, питающих потребителей I категории надежности | 1 раз в 3 года | 1 раз в 3 года | 1 раз в 3 года | 1 раз в 6 лет | не проводится |
г) напряжением до 1000 В, питающих потребителей II и III категории надежности | 1 раз в 6 лет | 1 раз в 6 лет | 1 раз в 6 лет | 1 раз в 12 лет | не проводится |
| 1 раз в 9 лет | 1 раз в 9 лет | 1 раз в 12 лет | 1 раз в 12 лет | не проводится |
5.12 Текущий ремонт направляющих проводов поездной радиосвязи <12> (по инструкции [9]) | 1 раз в год | 1 раз в год | 1 раз в год | 1 раз в год | 1 раз в год |
5.13 Текущий ремонт волоконно-оптических линий передачи <12> (по инструкции [6]) | По заявкам регионального центра связи |
<1> Кроме устройств, относящихся к предыдущей строке. <2> Проложенных по опорам контактной сети, питающих линий, отсасывающих линий и шунтирующих линий и линий электропередачи. <3> Для воздушных линий СЦБ - с участием представителя дистанции сигнализации или дистанции сигнализации и связи. <4> Значения периодичности, указанные в данной строке, применяют если хотя бы одна из опор линии электропередачи, ограничивающих пролет, является деревянной. <5> В том числе переключаемых секций станций стыкования. <6> Только для путей, не входящих в маршрут движения вагона-лаборатории контактной сети. <7> Перед началом грозового сезона и после его окончания. <8> Совместно с локомотивным депо выборочно. <9> Только дроссель-трансформаторов, установленных с целью подключения отсасывающих линий тяговых подстанций и автотрансформаторных пунктов к рельсовым цепям. <10> При подготовке к работе в зимних условиях. <11> Для заземляющих устройств опор - выборочно 2% от общего количества. <12> Совместно с региональным центром связи. <13> Совместно с участием представителя дистанции сигнализации или дистанции сигнализации и связи. <14> Для контактной сети по проектам КС-160, 200, 250 - начиная с четвертого года эксплуатации. |
(обязательное)
ТРЕБОВАНИЯ К МАРКИРОВКЕ ОБЪЕКТОВ
Б.1 Общие требования
Б.1.1 Нанесению маркировки подлежат следующие объекты:
опасные места;
опоры контактной сети, питающих, отсасывающих и шунтирующих линий, жесткие поперечины контактной сети, опоры воздушных линий электропередачи;
секционные изоляторы;
воздушные стрелки;
охранные зоны кабельных линий электропередачи;
прожекторные мачты, опоры и порталы наружного освещения;
разъединители.
Б.1.2 Входящие в состав маркировки знаки безопасности должны быть плоскими несветящимися. Размеры знаков безопасности, приводимые в настоящем стандарте, вычислены для расстояния опознания 5 м и освещенности поверхности знака от 30 до 150 лк и являются минимально необходимыми. При необходимости размеры знаков безопасности могут быть увеличены в соответствии с
ГОСТ Р 12.4.026.
Б.2 Требования к маркировке опасных мест
Б.2.1 Маркировка опасного места должна представлять собой один или несколько комбинированных знаков безопасности, построенных в соответствии с
ГОСТ Р 12.4.026 и включающих в себя следующие элементы:
знак W 08 "Опасность поражения электрическим током" размером стороны треугольника 200 мм;
поясняющую надпись "Внимание! Опасное место".
Б.2.2 Фон комбинированного знака безопасности должен быть белым. Поясняющая надпись должна быть выполнена черным шрифтом типа Б размером 40 по
ГОСТ 2.304.
Образец комбинированного знака безопасности для маркировки опасного места показан на рисунке Б.1.
Рисунок Б.1 - Образец комбинированного знака
безопасности для маркировки опасного места
Не показанные на рисунке размеры комбинированного знака безопасности:
по вертикали (размер
b по
рисунку Б.1) - (230 + 10) мм;
по горизонтали (размер
a по
рисунку Б.1) - не нормируется и определяется исходя из возможности нанесения всех необходимых элементов и обеспечения ширины правого и левого полей не менее указанных на
рисунке 1.
Б.2.3 Порядок размещения комбинированных знаков безопасности, указанных в
Б.2.1 - в соответствии с правилами безопасности при эксплуатации контактной сети и устройств электроснабжения автоблокировки железных дорог
[20] (пункт 2.5.3).
Б.3 Требования к маркировке опор контактной сети, питающих, отсасывающих и шунтирующих линий, жестких поперечин контактной сети, опор воздушных линий электропередачи
Примечания:
1 Здесь и далее в настоящем разделе по отношению к опорам контактной сети, питающих, отсасывающих и шунтирующих линий, а также воздушных линий электропередачи, если не требуется специального разделения, применяется термин "опоры".
2 Настоящий раздел не распространяется на опоры, являющиеся частью конструкции мачтовых трансформаторных подстанций. Такие опоры идентифицируют по обозначению трансформаторной подстанции, частью конструкции которых они являются.
Б.3.1 Требования к составу элементов маркировки опор
Маркировка опоры должна представлять собой один или несколько комбинированных знаков безопасности, построенных в соответствии с
ГОСТ Р 12.4.026 и включающих в себя следующие элементы:
знак W 08 "Опасность поражения электрическим током" размером стороны треугольника 200 мм;
поясняющую надпись, состоящую из одного или нескольких элементов в соответствии с таблицей Б.1.
Таблица Б.1
Требования к составу элементов поясняющей надписи
комбинированных знаков безопасности, наносимых на опоры,
в зависимости от назначения опор
Дополнительные элементы поясняющей надписи | Требования к наличию дополнительных элементов поясняющей надписи на: |
опорах контактной сети, питающих, отсасывающих и шунтирующих линий | опорах воздушных линий электропередачи |
Порядковый номер опоры | Обязателен на всех опорах |
Буквенные индексы в составе порядкового номера ("А", "Б", "В" и т.д.) | Применяются в случаях, указанных в Б.3.4.3 |
Аббревиатуры "АБ", "ПЭ", "ДПР", "ПР" или "КДР" | Не применяется | Обязательны на опорах линий электропередачи: автоблокировки ("АБ"); продольного электроснабжения ("ПЭ"); системы "два провода - рельсы" ("ДПР"); системы "провод - рельсы" ("ПР"); системы "контактный провод - дополнительный провод - рельсы" ("КДР") |
Аббревиатура, выражающая номер или наименование линии электропередачи | то же | Обязательна на опорах линий электропередачи, не перечисленных в предыдущей строке |
Последние две цифры года установки опоры | Не применяется | Обязателен на всех опорах |
Б.3.2 Требования к количеству, размещению и способам нанесения элементов маркировки опор
Б.3.2.1 В верхней части комбинированного знака безопасности, указанного в
Б.3.1, должен располагаться знак W 08 "Опасность поражения электрическим током". Ниже него должна располагаться поясняющая надпись, состоящая из одной или нескольких строк, количество и содержание которых - в соответствии с таблицей Б.2.
Таблица Б.2
Требования к количеству и содержанию строк в поясняющей
надписи в составе комбинированного знака безопасности
Назначение опор | Количество строк | Расположение элементов поясняющей надписи опор по строкам |
Опоры контактной сети, питающих, отсасывающих и шунтирующих линий | 1 | Порядковый номер опоры и, при необходимости, индексы "А", "Б", "В" и т.д. |
Опоры линий электропередачи (когда на опоре расположены провода одной линии электропередачи) | 3 | | Порядковый номер опоры и, при необходимости, буквенные индексы |
Во второй строке | Аббревиатуры "АБ", "ПЭ", "ДПР", "ПР" или "КДР" либо аббревиатуры, выражающие номер или наименование линии электропередачи |
В третьей строке | Последние две цифры года установки опоры |
Опоры линий электропередачи (когда на опоре расположены провода двух линий электропередачи) | 4 | В первой строке | Порядковый номер опоры и, при необходимости, буквенные индексы |
Во второй строке | Аббревиатуры "АБ", "ПЭ", "ДПР", "ПР" или "КДР" либо аббревиатуры, выражающие номер или наименование линии электропередачи, относящиеся к той линии электропередачи, провода которой расположены выше |
В третьей строке | То же, для линии электропередачи, провода которой расположены ниже |
В четвертой строке | Последние две цифры года установки опоры |
<1> Здесь и далее счет строк сверху. |
Б.3.2.2 Фон комбинированного знака безопасности должен быть белым. Поясняющая надпись должна быть выполнена черным шрифтом высотой знака 100 мм, образец которого показан на рисунке Б.2.
Рисунок Б.2 - Образец шрифта для поясняющей надписи,
входящей в комбинированные знаки безопасности
Образцы комбинированных знаков безопасности для опор показаны на рисунках Б.3 и
Б.4.
Неуказанные линейные размеры образца 2
аналогичны указанным для образца 1
Рисунок Б.3 - Образцы комбинированных знаков безопасности
для опор контактной сети, питающих, отсасывающих
и шунтирующих линий
Линейные размеры образцов 2 и 3 аналогичны
указанным для образца 1
Рисунок Б.4 - Образцы комбинированных знаков
безопасности для опор линий электропередачи
Не показанные на рисунках размеры комбинированного знака безопасности:
1) при одной строке поясняющей надписи - (375 + 15) мм;
2) при трех строках поясняющей надписи - (655 + 20) мм;
3) при четырех строках поясняющей надписи - (795 + 20) мм;
б) по горизонтали (размер
a по
рисункам Б.3 и
Б.4) - не нормируются и определяются исходя из возможности нанесения всех необходимых элементов и обеспечения ширины правого и левого полей (размер
c по
рисункам Б.3 и
Б.4) (50 +/- 10) мм.
Знак W 08 "Опасность поражения электрическим током" и все строки поясняющей надписи должны центрироваться относительно вертикальной оси симметрии комбинированного знака безопасности.
Б.3.2.3 На одну опору наносят, как правило, один комбинированный знак безопасности. У двухстоечных опор знак наносят, как правило, на одну из стоек. Исключениями являются следующие случаи:
на опоры, находящиеся в пределах пассажирских платформ пассажирских станций внеклассных и I класса или пешеходных дорожек в местах массового прохода пассажиров, наносят два одинаковых знака с разных сторон опоры (у двухстоечных опор - по одному знаку на каждую из стоек);
на опоры двухцепных линий электропередачи, если разные цепи расположены с разных сторон опоры, наносят два знака, отличающиеся содержанием строки аббревиатуры "АБ" или "ПЭ" или аббревиатуры, выражающей номер или наименование линии электропередачи, с разных сторон опоры таким образом, чтобы имелась возможность однозначной идентификации цепей.
Б.3.2.4 Комбинированные знаки безопасности на опоры наносят таким образом, чтобы:
а) расстояние от нижнего края знака до грунта (а для опор, находящихся в пределах пассажирских платформ или пешеходных дорожек - до поверхности пассажирской платформы или пешеходной дорожки) составляло от 3 до 4 м;
б) на анкерных опорах контактной сети видимость знака не ухудшалась во всем диапазоне перемещения грузов компенсатора контактной подвески;
в) на опорах, расположенных от железнодорожного пути на расстоянии до 6 м, знак должен быть обращен в сторону пути;
г) на опорах, ограничивающих пролет пересечения автодороги или маршрута служебного прохода, знаки должны быть обращены в сторону автодороги или маршрута служебного прохода соответственно;
д) на опорах (кроме указанных в
перечислениях в) и
г)), расположенных от железнодорожного пути на расстоянии более 6 м, знак должен располагаться в плоскости, перпендикулярной оси линии, а на угловых опорах - по биссектрисе угла между прилегающими к угловой опоре пролетами.
Б.3.3 Дополнительные требования к маркировке жестких поперечин
Б.3.3.1 В дополнение к маркировке опор, выполняемой в соответствии с
Б.3.1 и
Б.3.2, маркировка жестких поперечин, перекрывающих, наряду с главными путями, один или несколько боковых путей, должна представлять собой таблички, на которых повторяется меньший из двух порядковых номеров опор данной жесткой поперечины.
К маркировке жестких поперечин, перекрывающих только главные пути или только боковые пути без главных, никаких дополнительных (по отношению к установленным в
Б.3.1 и
Б.3.2) требований не предъявляется.
Б.3.3.2 Цифры должны быть нанесены на табличку методом высечки. Шрифт в соответствии с
рисунком Б.5.
Рисунок Б.5, лист 1 - Образец шрифта для знаков,
входящих в таблички с номерами жестких поперечин
Рисунок Б.5, лист 2
Применяют следующие варианты изготовления табличек:
а) металлические, изготовленные из горячекатаного стального листа из углеродистой стали обыкновенного качества нормальной точности и нормальной плоскостности по
ГОСТ 16523 толщиной от 1,4 до 1,6 мм с цинковым покрытием, нанесенным одним из следующих методов:
| | ИС МЕГАНОРМ: примечание. В официальном тексте документа, видимо, допущена опечатка: имеется в виду ГОСТ Р 9.316, а не ГОСТ 9.316. | |
1) термодиффузионным методом классов 1 или 2 по
ГОСТ 9.316;
б) пластмассовые.
Шероховатость поверхности металлических табличек перед нанесением цинкового покрытия должна соответствовать среднему арифметическому отклонению профиля от 25 до 50 мкм, внешние острые кромки и углы должны быть скруглены радиусом не менее 0,5 мм.
Размеры таблички: высота 140 мм, ширина в зависимости от количества разрядов в номере. Образец таблички показан на рисунке Б.6.
Рисунок Б.6 - Образец таблички с маркировкой жесткой
поперечины, секционного изолятора или воздушной стрелки
Не показанные на рисунке размеры таблички:
по вертикали (размер
b по
рисунку Б.6) - (140 + 20) мм;
по горизонтали (размер
a по
рисунку Б.6) - не нормируется и определяется исходя из возможности нанесения необходимого количества цифр и обеспечения ширины правого и левого полей (размер
c по
рисунку Б.6) (50 +/- 10) мм.
Б.3.3.3 Таблички прикрепляют над главными путями:
на жестких поперечинах с фиксирующими стойками - к основному стержню фиксатора;
на жестких поперечинах с фиксирующим тросом - к фиксирующему тросу в поле зрения машиниста поезда.
Ориентация лицевой и оборотной сторон таблички должна позволять машинисту поезда, двигающегося в правильном направлении, воспринять нанесенный на нее номер. На однопутных участках расположение лицевой стороны таблички на соседних жестких поперечинах должно чередоваться.
Б.3.4 Правила присвоения порядковых номеров опорам
Б.3.4.1 Требования к участкам, в границах которых порядковые номера опор не должны повторяться, и к направлению возрастания порядковых номеров опор - в соответствии с таблицей Б.3.
Таблица Б.3
Требования к участкам, в границах которых порядковые номера
опор не должны повторяться, и к направлению
возрастания порядковых номеров опор
Назначение опоры | Участок, в границах которого порядковые номера опор не должны повторяться | Направление возрастания порядковых номеров опор |
Опоры контактной сети | В границах одной и той же станции или одного и того же перегона | В направлении счета километров участка железной дороги |
Опоры линий электропередачи автоблокировки, продольного электроснабжения и систем "два провода - рельсы", "провод - рельсы" и "контактный провод - дополнительный провод - рельсы" |
Опоры всех остальных линий электропередачи: | с односторонним питанием | В пределах данной линии электропередачи | По мере удаления от подстанции, являющейся источником питания для линии электропередачи |
с двухсторонним питанием | Устанавливается лицом, ответственным за электрохозяйство дистанции электроснабжения |
Опоры питающих и отсасывающих линий | В пределах совокупности всех питающих и отсасывающих линий, отходящих от одной и той же тяговой подстанции или одного и того же линейного устройства тягового электроснабжения | По мере удаления от тяговой подстанции или линейного устройства тягового электроснабжения |
Опоры шунтирующих линий | В пределах одной и той же шунтирующей линии | В направлении счета километров участка железной дороги |
Примечание - Под границей станции в данном случае понимается: если контактная сеть перегона отделена от контактной сети станции изолирующим сопряжением или нейтральной вставкой - пролет контактной сети, первый со стороны перегона после анкерной опоры изолирующего сопряжения или нейтральной вставки; если контактная сеть перегона отделена от контактной сети станции секционным изолятором - пролет контактной сети, в котором расположен секционный изолятор. |
Б.3.4.2 Если на одной и той же опоре расположены в различной комбинации провода, относящиеся к контактной сети и линиям, перечисленным в
таблицах Б.1 и
Б.3, то двойной или тройной порядковый номер опоре не присваивают, а выбирают один порядковый номер исходя из приоритета:
номеров опор контактной сети - перед номерами опор всех остальных назначений;
номеров опор питающих, отсасывающих и шунтирующих линий - перед номерами опор линий электропередачи всех назначений;
номеров опор линий электропередачи автоблокировки, продольного электроснабжения и систем "два провода - рельсы", "провод - рельсы" и "контактный провод - дополнительный провод - рельсы" - перед номерами опор всех остальных линий электропередачи.
Б.3.4.3 В составе порядковых номеров опор применяют буквенные индексы:
а) "Ф" - для фиксирующих опор контактной сети;
б) "А", "Б", "В" и т.д. в алфавитном порядке (за исключением "Е", "Й", "О", "Ф", "Ч", "Ь", "Ы" и "Ъ"):
1) для опор, устанавливаемых дополнительно к ранее пронумерованным;
2) для опор контактной сети на участках двух- и многопутных перегонов, где вследствие прохождения главных путей по разным трассам количество пролетов контактной сети по разным главным путям неодинаково;
3) для опор контактной сети на двухпутных вставках однопутных перегонов;
Примечание - в данном случае рекомендуется опорам контактной сети одного из путей двухпутной вставки присваивать порядковые номера с одним и тем же буквенным индексом, например, "1А", "2А", "3А" и т.д.
4) для опор контактной сети на крупных станциях, где общее количество опор превышает 1000.
Примечание - в данном случае рекомендуется опорам контактной сети одного или нескольких парков и (или) депо присваивать порядковые номера, различающиеся буквенными индексами, например, для парка "С" "1С", "2С", "3С" и т.д., для депо "1Д", "2Д", "3Д" и т.д.
Б.4 Требования к маркировке секционных изоляторов
Б.4.1 Требования к размещению и способам нанесения элементов маркировки секционных изоляторов
Б.4.1.1 Маркировка секционного изолятора должна представлять собой табличку с наименованием данного секционного изолятора, выполненную из листового металла со знаками, нанесенными методом высечки. Табличка должна быть прикреплена к несущему тросу над секционным изолятором или не далее 1 м от него.
Б.4.1.2 Требования к размерам таблички и шрифту аналогичны установленным в
Б.3.3.2 для маркировки жестких поперечин.
Б.4.2 Правила присвоения наименований и порядковых номеров секционным изоляторам
Б.4.2.1 Секционным изоляторам, которые отделяют контактную сеть перегона от контактной сети станции, присваивают наименования, состоящие из одной заглавной буквы русского алфавита, не повторяющиеся в пределах одной и той же станции, в соответствии с таблицей Б.4.
Таблица Б.4
Требования к наименованиям секционных изоляторов, которые
отделяют контактную сеть перегона от контактной сети станции
Главный путь | Наименование секционного изолятора |
в нечетной горловине станции | в четной горловине станции |
Однопутный участок | "А" | "Б" |
I главный путь двух- и многопутного участка |
II главный путь двух- и многопутного участка | "В" | "Г" |
III главный путь многопутного участка | "Д" | "Е" |
IV главный путь многопутного участка | "Ж" | "З" |
Примыкания и соединительные ветви | "И", "К", "Л", "М" и т.д. (за исключением "Й", "О", "Ч", "Ь", "Ы" и "Ъ") в зависимости от количества примыканий и соединительных ветвей, оборудованных секционными изоляторами |
Б.4.2.2 Секционным изоляторам, которые ограничивают нейтральную вставку, присваивают наименования, состоящие из одной заглавной буквы русского алфавита, выбираемой по
таблице Б.4, и одной из цифр "1" или "2" по направлению возрастания километров.
Б.4.2.3 Секционным изоляторам, которые отделяют контактную сеть искусственного сооружения от контактной сети остальной части перегона или станции, присваивают наименования в порядке, аналогичном установленному в
Б.4.2.1. При этом на станциях должны использоваться буквы русского алфавита, оставшиеся неиспользованными после присвоения наименований секционным изоляторам, указанным в
Б.4.2.1.
Б.4.2.4 Секционным изоляторам, не удовлетворяющим указанным в
Б.4.2.1,
Б.4.2.2 и
Б.4.2.3 критериям, присваивают порядковые номера, состоящие из одно-, двух- или трехзначных чисел, не повторяющихся в пределах одной и той же станции:
четных - для секционных изоляторов, расположенных в четной горловине станции;
нечетных - для секционных изоляторов, расположенных в нечетной горловине станции.
Примечание - в данном случае под границей, разделяющей четную и нечетную горловины станции, понимается ось пассажирского здания.
Порядковые номера секционных изоляторов должны, как правило, возрастать по направлению от границы станции к оси пассажирского здания. Исключения допускаются для секционных изоляторов, смонтированных на стадии эксплуатации.
Б.5 Требования к маркировке воздушных стрелок
Б.5.1 Требования к размещению и способам нанесения элементов маркировки воздушных стрелок
Б.5.1.1 Маркировка воздушной стрелки должна представлять собой табличку с порядковым номером данной воздушной стрелки, выполненную из листового металла со знаками, нанесенными методом высечки. Табличка должна быть прикреплена к несущему тросу над воздушной стрелкой или не далее 1 м от него.
Б.5.1.2 Требования к размерам таблички и шрифту аналогичны установленным в
Б.3.3.2 для маркировки жестких поперечин.
Б.5.2 Правила присвоения порядковых номеров воздушным стрелкам
Б.5.2.1 Воздушным стрелкам присваивают порядковые номера, состоящие из одно-, двух- или трехзначных чисел, не повторяющихся в пределах одной и той же станции и совпадающих с номерами соответствующих стрелок в железнодорожном пути в соответствии с техническо-распорядительным актом станции.
Б.6 Требования к маркировке охранных зон кабельных линий электропередачи
Б.6.1 Маркировка охранной зоны кабельной линии электропередачи, проложенной в земле, должна представлять собой информационные знаки, на которых должны быть указаны:
текст "Охранная зона кабеля. Без представителя не копать";
значения расстояний от места установки знака до границ охранной зоны и стрелки в направлении границ охранной зоны;
Примечание - Ширина охранной зоны кабельной линии - в соответствии с
правилами установления охранных зон объектов электросетевого хозяйства и особых условий использования земельных участков, расположенных в границах таких зон
[21].
номер телефона дежурного энергодиспетчера дистанции электроснабжения с указанием междугородного кода.
Б.6.2 Информационные знаки устанавливают:
а) на прямом участке трассы - не реже, чем через каждые 500 м;
б) в местах изменения направления кабельной линии;
в) с каждой стороны от мест пересечения кабельной линией:
1) внешних оград тяговых и трансформаторных подстанций, линейных устройств тягового электроснабжения, распределительных пунктов;
2) железнодорожных путей.
В местах, где кабельная линия пересекает 8 и более железнодорожных путей, в дополнение к указанным в
перечислении в 2) предусматривают информационный знак посередине одного из междупутий, равноудаленного от крайних путей.
Б.6.3 Информационные знаки, указанные в
Б.6.1, устанавливают на отдельных металлических стойках таким образом, чтобы плоскость знака была перпендикулярна оси кабельной линии, а расстояния составляли:
от нижнего края знака до поверхности земли - от 0,6 до 1,0 м;
от стойки до ближайшего рельса - от 0,8 до 1,5 м.
Б.6.4 Информационный знак должен быть изготовлен из листового металла или из пластмассы толщиной не менее 1 мм. Размеры знака - в соответствии с рисунком 7, текст должен быть выполнен шрифтом размером 14 типа Б по
ГОСТ 2.304. Фон информационного знака должен быть белый, кайма и знаки - черные.
Образец информационного знака охранной зоны кабельной линии электропередачи показан на рисунке Б.7.
Рисунок Б.7 - Образец информационного знака охранной зоны
кабельной линии электропередачи
Б.7 Требования к маркировке прожекторных мачт, опор и порталов наружного освещения
Б.7.1 Требования к составу элементов маркировки
Б.7.1.1 Маркировка прожекторной мачты, опоры или портала наружного освещения должна представлять собой один или несколько комбинированных знаков безопасности, построенных в соответствии с
ГОСТ Р 12.4.026 и включающих в себя следующие элементы:
а) знак W 08 "Опасность поражения электрическим током" размером стороны треугольника:
1) 100 мм для металлических опор освещения диаметром до 150 мм;
2) 200 мм для всех остальных опор;
б) поясняющую надпись, состоящую из следующих элементов:
1) порядкового номера прожекторной мачты, опоры или портала наружного освещения;
2) порядкового номера опоры (только для опор порталов наружного освещения);
3) последние две цифры года установки опоры.
Б.7.2 Требования к количеству, размещению и способам нанесения элементов маркировки
Б.7.2.1 В верхней части комбинированного знака безопасности должен располагаться знак W 08 "Опасность поражения электрическим током" по
ГОСТ Р 12.4.026. Ниже него должна располагаться поясняющая надпись, состоящая из двух строк:
а) верхней, содержащей:
1) для прожекторных мачт и опор наружного освещения - порядковый номер прожекторной мачты или опоры наружного освещения соответственно;
2) для порталов наружного освещения - порядковый номер портала и номер опоры, разделенные точкой;
б) нижней, содержащей последние две цифры года установки опоры.
Б.7.2.2 Фон комбинированного знака безопасности должен быть белым. Поясняющая надпись должна быть выполнена черным шрифтом, образец которого показан на
рисунке Б.2, высотой знака 100 мм.
Образцы комбинированных знаков безопасности для прожекторных мачт, опор и порталов наружного освещения показаны на рисунке Б.8.
Неуказанные линейные размеры образца 2 аналогичны
указанным для образца 1
Рисунок Б.8 - Образцы комбинированных знаков безопасности
для прожекторных мачт, опор и порталов наружного освещения
Не показанные на рисунках размеры комбинированного знака безопасности:
по горизонтали (размер
a по
рисунку Б.8) - не нормируются и определяются исходя из возможности нанесения всех дополнительных элементов маркировки и обеспечения ширины правого и левого полей не менее указанных на
рисунке Б.8.
Знак W 08 "Опасность поражения электрическим током" и все строки должны центрироваться относительно вертикальной оси симметрии комбинированного знака безопасности.
Б.7.2.3 Требования к количеству и способам нанесения маркировки аналогичны установленным в
Б.3.2.3 и
Б.3.2.4. Исключением являются прожекторные мачты с мобильной короной, маркировка которых должна размещаться на отдельной опоре на расстоянии не более 5 м от фундамента мачты.
Б.7.3 Правила присвоения порядковых номеров прожекторным мачтам, опорам и порталам наружного освещения
Б.7.3.1 Каждой прожекторной мачте, опоре или порталу наружного освещения должен быть присвоен порядковый номер, не повторяющийся в границах одной и той же станции или одного и того же объекта наружного освещения, расположенного вне границ станций (переезда, пассажирского остановочного пункта).
Каждой опоре портала наружного освещения должен быть также присвоен индивидуальный порядковый номер, не повторяющийся в пределах данного портала.
Б.7.3.2 Опорам наружного освещения переездов и пассажирских платформ, расположенных вне станций, должны, как правило, присваиваться порядковые номера:
четные - для опор, расположенных с четной стороны железнодорожного пути;
нечетные - для опор, расположенных с нечетной стороны железнодорожного пути.
Порядковые номера опор наружного освещения переездов должны возрастать по мере удаления от железнодорожного пути.
Исключения допускаются в случаях, когда одна или несколько опор располагаются между главными путями. В этом случае порядок присвоения номеров определяется лицом, ответственным за электрохозяйство дистанции электроснабжения, в зависимости от условий каждого конкретного объекта.
Б.7.3.3 Опорам наружного освещения, расположенным в границах станций, присваивают порядковые номера, возрастающие по мере удаления от трансформаторной подстанции, являющейся источником питания.
Б.8 Требования к маркировке разъединителей
Б.8.1 Маркировка каждого разъединителя должна представлять собой табличку с оперативным наименованием данного разъединителя.
Б.8.2 Фон таблички должен быть белым. Оперативное наименование разъединителя должно быть выполнено черным шрифтом, образец которого приведен на
рисунке Б.2, высотой знака 100 мм.
Образцы табличек показаны на рисунке Б.9.
Неуказанные линейные размеры образцов 2 - 4
аналогичны указанным для образца 1
Рисунок Б.9 - Образцы табличек, предназначенных
для маркировки разъединителей
Б.8.3 Табличку прикрепляют к опоре, на которой смонтирован разъединитель, таким образом, чтобы:
а) расстояние от нижнего края таблички до грунта (а для опор, находящихся в пределах пассажирских платформ или пешеходных дорожек - до поверхности пассажирской платформы или пешеходной дорожки) составляло от 2,5 до 3,0 м;
б) на опорах, на которых смонтирован разъединитель, табличка должна быть обращена:
1) для разъединителей, расположенных в границах станций - в сторону маршрута служебного прохода;
2) для разъединителей, расположенных вне границ станций - в сторону главного пути;
в) на опорах, на которых смонтировано два разъединителя, расположение табличек должно обеспечивать возможность однозначной идентификации разъединителей.
Б.8.4 В дополнение к указанному в
Б.8.1 -
Б.8.3, оперативное наименование наносят краской на корпус привода (в том числе двигательного) разъединителя таким образом, чтобы оно находилось в поле зрения работника, выполняющего переключение. Размер шрифта оперативного наименования, нанесенного на корпус привода, должен быть не менее 25 мм.
(обязательное)
ФОРМА АКТА ОСМОТРА ПЕРЕСЕЧЕНИЙ ВОЗДУШНЫХ ЛИНИЙ
ЭЛЕКТРОПЕРЕДАЧИ СТОРОННИХ ВЛАДЕЛЬЦЕВ С КОНТАКТНОЙ СЕТЬЮ,
ПИТАЮЩИМИ, ОТСАСЫВАЮЩИМИ, ШУНТИРУЮЩИМИ ЛИНИЯМИ
И ВОЗДУШНЫМИ ЛИНИЯМИ ЭЛЕКТРОПЕРЕДАЧИ ОАО "РЖД"
| | ИС МЕГАНОРМ: примечание. Нумерация пунктов дана в соответствии с официальным текстом документа. | |
Акт проверки пересечения
Станция (перегон)
_______________________
_______________________ "__" ________ 20__ г.
1. Общие сведения:
1.1. Мы, нижеподписавшиеся, составили настоящий акт в том, что
"__" _______ 20__ г. нами был произведен осмотр пересечения воздушной линии
электропередачи напряжением ______ кВ, находящейся на балансе
______________________________, с контактной сетью (питающей, отсасывающей,
шунтирующей линией или воздушной линией электропередачи)
напряжением ______ кВ, находящейся на балансе ОАО "РЖД".
1.2. Время осмотра, температура воздуха _______________________________
1.2. Дата предыдущего осмотра "__" _______ 20__ г.
2. Технические характеристики воздушной линии электропередачи:
2.1. Оперативное (диспетчерское) наименование (обозначение)
по принятой в организации-владельце системе наименований (обозначений)
___________________________________________________________________________
2.2. Количество цепей _________________________________________________
2.3. Тип опор в пролете пересечения с контактной сетью (питающей,
отсасывающей, шунтирующей линией или воздушной линии электропередачи),
находящейся на балансе ОАО "РЖД" (концевые, промежуточные, угловые,
анкерные) _________________________________________________________________
2.4. Материал опор в пролете пересечения ______________________________
2.5. Количество и марка проводов в одной фазе и количество фаз
___________________________________________________________________________
2.6. Тип изоляторов на опорах, ограничивающих пролет пересечения
___________________________________________________________________________
2.7. Наличие, марка и количество грозозащитных тросов в пролете
пересечения _______________________________________________________________
2.8. Наличие, количество и конструкция стыковок проводов в пролете
пересечения _______________________________________________________________
2.9. Наличие и тип разрядников или ОПН ________________________________
3. Технические характеристики контактной сети (питающей, отсасывающей,
шунтирующей линии или воздушной линии электропередачи), находящейся на
балансе ОАО "РЖД":
3.1. Оперативное (диспетчерское) наименование (обозначение) по принятой
в ОАО "РЖД" системе наименований (обозначений) (для контактной сети - с
указанием номеров железнодорожных путей) __________________________________
___________________________________________________________________________
3.2. Материал опор в пролете пересечения ______________________________
3.3. Количество и марка проводов ______________________________________
___________________________________________________________________________
3.3. Тип изоляторов на опорах, ограничивающих пролет пересечения
___________________________________________________________________________
4. Результаты осмотра:
4.1. Противопожарное состояние трассы _________________________________
4.2. Состояние фундаментов и приставок ________________________________
4.3. Состояние опор ___________________________________________________
4.3. Состояние проводов, тросов (для токопроводов - шин)
___________________________________________________________________________
4.4. Состояние изоляторов _____________________________________________
4.5. Состояние линейной арматуры ______________________________________
4.6. Состояние разрядников или ОПН и их заземляющих проводников
___________________________________________________________________________
4.7. Состояние кабельных муфт, разъединителей на опорах, ограничивающих
пролет пересечения (при наличии) __________________________________________
5. Заключение:
Пересечение воздушной линии электропередачи, с контактной сетью
(питающей, отсасывающей, шунтирующей линией или воздушной линией
электропередачи), находящейся на балансе ОАО "РЖД", соответствует
требованиям
Правил технической эксплуатации электроустановок потребителей,
утвержденных приказом Минэнерго России от 13 января 2003 г. N 6, а также
Правил содержания контактной сети, питающих линий, отсасывающих линий,
шунтирующих линий и линий электропередачи, утвержденных распоряжением ОАО
"РЖД" от "__" _________ 2015 г. N ____.
Несоответствия требованиям
Правил технической эксплуатации
электроустановок потребителей, утвержденных приказом Минэнерго России от 13
января 2003 г. N 6, а также Правил содержания контактной сети, питающих
линий, отсасывающих линий, шунтирующих линий и линий электропередачи,
утвержденных распоряжением ОАО "РЖД" от "__" _________ 2015 г. N ____:
___________________________________________________________________________
___________________________________________________________________________
___________________________________________________________________________
6. Должности и подписи лиц, проводивших осмотр:
От ОАО "РЖД" От _________________
_______________ И.О.Фамилия _______________И.О.Фамилия
(обязательное)
ОБЩИЕ ТРЕБОВАНИЯ К ИСПЫТАНИЯМ ПОВЫШЕННЫМ НАПРЯЖЕНИЕМ
Г.1 Электрооборудование и изоляторы на номинальное напряжение, превышающее номинальное напряжение электроустановки, в которой они эксплуатируются, должны испытываться повышенным напряжением по нормам, установленным для класса изоляции данной установки.
Г.2 Если испытание повышенным выпрямленным напряжением или напряжением промышленной частоты производят без отсоединения ошиновки от электрооборудования, то значение испытательного напряжения принимают по нормам для электрооборудования с самым низким испытательным напряжением.
Испытание повышенным напряжением изоляторов и трансформаторов тока, соединенных с силовыми кабелями напряжением 6 и 10 кВ, может производиться вместе с кабелями по нормам, принятым для силовых кабелей.
Г.3 При отсутствии необходимой испытательной аппаратуры переменного тока допускается испытывать электрооборудование напряжением до 20 кВ распределительных устройств повышенным выпрямленным напряжением, равным полуторакратному значению испытательного напряжения промышленной частоты.
Г.4 Испытания организуют и проводят с соблюдением требований безопасности, установленных инструкцией
[22].
Г.5 Испытания изоляции одного и того же экземпляра электрооборудования рекомендуется производить по однотипным схемам и при одинаковой температуре. Сравнение характеристик изоляции должно производиться при одной и той же температуре изоляции или близких ее значениях (разница температур не более 5 °C). Если это невозможно, то должен производиться температурный пересчет в соответствии с инструкциями по эксплуатации конкретных видов электрооборудования.
| | ИС МЕГАНОРМ: примечание. Нумерация пунктов дана в соответствии с официальным текстом документа. | |
Г.5 Перед проведением проверок и испытаний электрооборудования (за исключением вращающихся машин, находящихся в эксплуатации) наружная поверхность его изоляции должна быть очищена от пыли и грязи.
Г.6 При испытании изоляции обмоток вращающихся машин, трансформаторов и реакторов повышенным напряжением промышленной частоты должны быть испытаны поочередно каждая электрически независимая цепь или параллельная ветвь (в последнем случае - при наличии полной изоляции между ветвями). При этом один полюс испытательного устройства соединяется с выводом испытываемой обмотки, другой - с заземленным корпусом испытываемого электрооборудования, с которым на все время испытаний данной обмотки электрически соединяются все другие обмотки. Обмотки, соединенные между собой наглухо и не имеющие вывода концов каждой фазы или ветви, должны испытываться относительно корпуса без разъединения.
Г.7 При испытаниях электрооборудования повышенным напряжением промышленной частоты, а также при измерениях тока и потерь холостого хода силовых и измерительных трансформаторов рекомендуется использовать линейное напряжение питающей сети.
Скорость подъема напряжения до 1/3 нормированного значения может быть произвольной. Далее испытательное напряжение повышают плавно, со скоростью, допускающей производить визуальный отсчет по измерительным приборам, и по достижении установленного значения поддерживают неизменной в течение времени испытания. После требуемой выдержки напряжение плавно снижают до значения не менее 1/3 испытательного и отключают. Под продолжительностью испытания подразумевается время приложения полного испытательного напряжения.
Г.8 До и после испытания изоляции повышенным напряжением промышленной частоты или выпрямленным напряжением рекомендуется измерять сопротивление изоляции с помощью мегаомметра. За сопротивление изоляции принимается одноминутное значение измеренного сопротивления R60.
Если требуется определение коэффициента абсорбции, отсчет производят дважды: через 15 и 60 с после начала измерений.
Г.9 Испытание напряжением 1000 В промышленной частоты может быть заменено измерением одноминутного значения сопротивления изоляции мегаомметром на напряжение 2500 В.
Г.10 Проведению испытаний повышенным напряжением изоляции электрооборудования должны предшествовать тщательный осмотр и оценка состояния изоляции другими методами. Электрооборудование, забракованное при внешнем осмотре, независимо от результатов проверок и испытаний, должно быть заменено или отремонтировано.
Г.11 Результаты испытания повышенным напряжением считаются удовлетворительными, если при приложении полного значения испытательного напряжения не наблюдалось скользящих разрядов, толчков тока утечки или плавного нарастания тока утечки, пробоев или перекрытий изоляции, и если сопротивление изоляции, измеренное мегаомметром, после испытания осталось прежним.
Если характеристики изоляции резко ухудшились или близки к браковочной норме, то выясняют причины ухудшения изоляции и принимают меры к ее устранению. Если дефект изоляции не выявлен или не устранен, то сроки последующих измерений и испытаний устанавливаются ответственным за электрохозяйство дистанции электроснабжения с учетом состояния и режима работы изоляции.
Г.12 После полной замены масла в маслонаполненном электрооборудовании (кроме масляных выключателей) его изоляцию испытывают повторно.
Г.13 Температура изоляции электрооборудования определяется следующим образом:
за температуру изоляции масляного трансформатора, не подвергавшегося нагреву, принимается температура верхних слоев масла, измеренная термометром;
за температуру изоляции масляного трансформатора, подвергавшегося нагреву или воздействию солнечной радиации, а также сухого трансформатора принимается средняя температура фазы B обмотки высшего напряжения, определяемая по ее сопротивлению постоянному току;
за температуру изоляции электрических машин, подвергавшихся нагреву, принимается средняя температура обмоток, определяемая по сопротивлению постоянному току;
за температуру изоляции масляных трансформаторов тока серии ТФЗМ (ТФН) принимается температура окружающей среды;
за температуру изоляции ввода, установленного на масляном выключателе или на трансформаторе, не подвергавшегося нагреву, принимается температура окружающей среды или температура масла в баке выключателя или трансформатора.
Г.14 Для испытаний применяют испытательные установки, оборудованные действующей на отключение максимальной токовой защитой с уставкой (100 +/- 5) мА.
Г.15 При испытании внешней изоляции электрооборудования повышенным напряжением промышленной частоты, производимом при факторах внешней среды, отличающихся от нормальных, значение испытательного напряжения определяют с учетом поправочного коэффициента на условия испытания, регламентируемого соответствующими стандартами, а при отсутствии стандартов - документацией изготовителя.
Примечание - Под нормальными факторами внешней среды понимаются температура воздуха 20 °C, абсолютная влажность 11 г/м3, атмосферное давление 101,3 кПа.
(обязательное)
ПОВРЕЖДЕННЫХ УСТРОЙСТВ ЭЛЕКТРОСНАБЖЕНИЯ
(приложение Д введено
Изменением, утв. Распоряжением
ОАО "РЖД" от 02.08.2017 N 1540р)
Д.1 Общие положения
Д.1.1 Настоящий порядок распространяется на работников дистанций электроснабжения, а также на работников других филиалов и структурных подразделений ОАО "РЖД", связанных с организацией и проведением восстановительных работ устройств электроснабжения.
Д.1.2 Работник ОАО "РЖД", обнаруживший повреждения устройств электроснабжения, должен:
незамедлительно с использованием любых доступных средств связи проинформировать энергодиспетчера о месте расположения и характере выявленного повреждения;
оградить место повреждения.
Д.1.3 Работы по ликвидации повреждений устройств электроснабжения должны быть организованы с учетом максимального сокращения времени перерыва движения поездов и электроснабжения устройств сигнализации, централизации и блокировки (далее - СЦБ), связи и вычислительной техники.
Д.1.4 Работы по восстановлению поврежденных устройств электроснабжения (далее - восстановительные работы) как правило выполняются в два этапа.
На первом этапе используются методы ускоренного временного восстановления. Поврежденные или разрушенные элементы контактной сети, воздушных и кабельных линий электропередачи и прочих устройств электроснабжения частично демонтируются, а оставшиеся приводятся в габарит, обеспечивающий безопасное движение поездов, в том числе движение поездов на электрической тяге с опущенными токоприемниками.
Не допускается организация движения поездов с опущенными токоприемниками при скорости ветра свыше 20 м/с или при гололеде, когда опускание и подъем токоприемника могут быть затруднены.
При временном восстановлении контактной сети, воздушных и кабельных линий электропередачи и прочих устройств электроснабжения применяются упрощенные узлы и схемы, обеспечивающие безопасное движение поездов и безопасность труда. Этот вид восстановления разрешается использовать на срок:
на железнодорожных линиях 1 и 2 классов - не более 1 суток;
на железнодорожных линиях 3, 4 и 5 классов - не более 5 суток.
На втором этапе выполняются работы по полному восстановлению, при котором контактная сеть, воздушные и кабельные линий электропередачи и прочие устройства приводятся в состояние, полностью соответствующее положениям разделов 6 - 15 настоящих правил. При этом восстановительные работы второго этапа являются непосредственным продолжением восстановительных работ первого этапа.
Количество и продолжительность технологических "окон", необходимые для проведения восстановительных работ первого этапа, определяет производитель (руководитель) восстановительных работ совместно с энергодиспетчером.
При предоставлении технологического "окна" и наличии на месте повреждения восстановительных сил и средств руководитель восстановительных работ по согласованию с энергодиспетчером и поездным диспетчером организует работы по полному восстановлению контактной сети, воздушных и кабельных линий электропередачи и прочих устройств электроснабжения.
Количество и продолжительность технологических "окон", необходимые для проведения восстановительных работ второго этапа, определяет руководитель дистанции электроснабжения совместно с руководителем восстановительных работ и энергодиспетчером, руководствуясь положениями
Инструкции о порядке предоставления и использования "окон" для ремонтных и строительно-монтажных работ на железных дорогах ОАО "РЖД", утвержденной
распоряжением ОАО "РЖД" от 25 декабря 2014 г. N 3154р.
Д.1.5 Руководитель восстановительных работ и члены бригады при организации и проведении работ по восстановлению устройств электроснабжения должны обеспечить производство восстановительных работ в соответствии с требованиями:
настоящих правил;
Регламента взаимодействия Трансэнерго, Центральной дирекции управления движением и Центральной дирекции инфраструктуры, утвержденного распоряжением ОАО "РЖД" от 7 декабря 2016 г. N 2473р;
Правил безопасности при эксплуатации контактной сети и устройств электроснабжения автоблокировки железных дорог ОАО "РЖД", утвержденных ОАО "РЖД" 16 декабря 2010 г. N 103;
Инструкции по безопасности для электромонтеров контактной сети, утвержденной ОАО "РЖД" 16 декабря 2010 г. N 104;
Правил электробезопасности для работников ОАО "РЖД" при обслуживании устройств и сооружений контактной сети и линий электропередачи, утвержденных распоряжением ОАО "РЖД" от 19 апреля 2016 г. N 699р.
Если при выполнении работ необходимо применение съемных изолирующих вышек, то дополнительно к перечисленным документам руководствуются Инструкцией по ограждению изолирующих съемных вышек при производстве работ на контактной сети железных дорог ОАО "РЖД", утвержденной ОАО "РЖД" 18 марта 2010 г. N ИСХ-4579.
Д.1.6 Материалы и оборудование, а также схемы питания и секционирования, примененные при восстановительных работах на контактной сети, воздушных и кабельных линиях электропередачи и прочих устройств электроснабжения должны обеспечивать безопасность движения поездов и охрану труда работникам железнодорожного транспорта до полного завершения восстановительных работ.
Д.1.7 Руководителем восстановительных работ на контактной сети должен быть начальник, старший электромеханик или электромеханик района контактной сети, а в их отсутствие - опытный электромонтер контактной сети 5 группы по электробезопасности.
Руководителем восстановительных работ на линиях электропередачи должен быть:
на электрифицированных линиях - начальник, старший электромеханик или электромеханик района контактной сети или района электроснабжения (в зависимости от балансовой принадлежности ремонтируемой линии электропередачи);
на неэлектрифицированных линиях - начальник, старший электромеханик, электромеханик или мастер района электроснабжения, а в их отсутствие - опытный электромонтер района электроснабжения 5 группы по электробезопасности.
При работах со снятием напряжения и заземлением контактной сети, воздушных и кабельных линий электропередачи и прочих устройств электроснабжения, в случаях, когда исключено приближение ближе 2 м к частям, находящимся под напряжением, руководителем восстановительных работ может быть электромонтер 4 группы по электробезопасности.
В случае выполнения восстановительных работ работниками нескольких районов контактной сети или районов электроснабжения руководителем восстановительных работ является работник того района контактной сети или района электроснабжения, в границах которого производится восстановление, или лицо, назначенное руководством дистанции электроснабжения.
Д.1.8 При повреждениях устройств электроснабжения, вызвавших перерыв в движении поездов, один из руководителей дистанции электроснабжения должен прибыть на место повреждения для оперативной организации восстановительных работ и расследования причин повреждения в соответствии с Порядком выезда руководителей дирекций инфраструктуры и их структурных подразделений на устранение отказов в работе технических средств, утвержденным распоряжением ОАО "РЖД" от 6 июня 2016 г. N 1059р.
При необходимости энергодиспетчер или руководитель восстановительных работ через энергодиспетчера дает заявку о необходимости организации телефонной связи с местом повреждения устройств электроснабжения на период проведения восстановительных работ.
Д.1.9 Работы по ликвидации повреждений устройств электроснабжения, связанные с перерывом в движении поездов, могут выполняться по приказу энергодиспетчера на основании заявки руководителя восстановительных работ, имеющего 5 группу по электробезопасности. В остальных случаях восстановительные работы выполняются по наряду.
Д.1.10 В ходе работ по ликвидации повреждений устройств электроснабжения должны выполняться организационные и технические мероприятия по обеспечению безопасности работающих.
Д.2 Аварийно-восстановительные средства
Д.2.1 При восстановлении контактной сети, воздушных и кабельных линий электропередачи и прочих устройств электроснабжения используют аварийно-восстановительные средства, номенклатура которых установлена Регламентом технической оснащенности предприятий хозяйства электрификации и электроснабжения ОАО "РЖД", утвержденного
распоряжением ОАО "РЖД" от 30 июня 2014 г. N 1562р.
Д.2.2 Места постоянной стоянки аварийно-восстановительных средств устанавливаются начальником дистанции электроснабжения.
Вступающие на дежурство энергодиспетчер и дежурные по районам контактной сети, районам электроснабжения обязаны ознакомиться с местом нахождения аварийно-восстановительных средств, готовностью их к работе, а также проверить наличие топлива на автомотрисах, автолетучках и других подвижных восстановительных средствах.
Д.2.3 Выезд с места постоянной стоянки аварийно-восстановительных средств дистанции электроснабжения без разрешения энергодиспетчера не допускается.
Д.2.4 За исправное состояние аварийно-восстановительных средств, использование их по назначению, наличие топлива для автомотрис и автомашин, сбор бригады и готовность к выезду аварийно-восстановительных средств района контактной сети, района электроснабжения отвечают соответственно начальник района контактной сети, начальник района электроснабжения.
Д.2.5 Не допускается постановка железнодорожного подвижного состава на пути постоянной стоянки аварийно-восстановительных средств районов контактной сети и районов электроснабжения, а также занятие стоящим железнодорожным подвижным составом маршрута их выезда с этих путей.
Временный заезд железнодорожного подвижного состава на пути постоянной стоянки аварийно-восстановительных средств дистанции электроснабжения может быть разрешен дежурным по станции после согласования с руководством дистанции электроснабжения без отцепки локомотива с возможностью немедленного освобождения этого пути в случае необходимости выезда аварийно-восстановительных средств или в порядке, установленном техническо-распорядительным актом железнодорожной станции.
Д.2.6 Для ведения восстановительных работ на контактной сети, воздушных и кабельных линиях электропередачи и прочих устройствах электроснабжения в районах контактной сети, в районах электроснабжения и на аварийно-восстановительных средствах дистанций электроснабжения, а также, при необходимости, на восстановительных поездах железных дорог создается аварийно-восстановительный запас материально-технических ресурсов. Состав аварийно-восстановительного запаса материально-технических ресурсов - в соответствии с Нормами аварийно-восстановительного запаса материально-технических ресурсов для дистанций электроснабжения - структурных подразделений дирекций по энергообеспечению - структурных подразделений Трансэнерго - филиала ОАО "РЖД", утвержденными распоряжением ОАО "РЖД" от 17 января 2017 г. N 85р.
Д.2.7 За укомплектование аварийно-восстановительного запаса материально-технических ресурсов до нормы, своевременное его пополнение на дистанции электроснабжения, в районах контактной сети и в районах электроснабжения отвечают соответственно начальники дистанций электроснабжения, начальники районов контактной сети и начальники районов электроснабжения.
Порядок укомплектования аварийно-восстановительных автомобилей, переданных в аутсорсинг, а также контроля соблюдения этого порядка устанавливается в договоре с организацией-аутсорсером.
Д.2.8 Пополнение восстановительных поездов основными материалами, израсходованными во время ликвидации повреждений контактной сети, воздушных и кабельных линий электропередачи и прочих устройств электроснабжения, осуществляется дистанцией электроснабжения в срок не более 3 суток.
Электрические и механические испытания защитных средств и монтажных приспособлений, предназначенных для работ на контактной сети, воздушных и кабельных линиях электропередачи и прочих устройствах электроснабжения, находящихся в восстановительных поездах, производятся дистанциями электроснабжения по месту дислокации поезда.
Д.3 Организация выезда бригад на восстановительные работы
Д.3.1 Для проведения работ по восстановлению поврежденных устройств электроснабжения в районах контактной сети, районах электроснабжения должен быть разработан порядок оповещения и сбора персонала районов контактной сети, районов электроснабжения в нерабочее время с указанием времени прибытия каждого работника. В план оповещения включаются работники железнодорожного транспорта смежных хозяйств: электромонтажных, ремонтных, хозяйственных поездов, а также подразделений дистанции электроснабжения, которые привлекаются к восстановительным работам в соответствии с их квалификацией.
Выезд бригады персонала районов контактной сети при повреждениях на контактной сети должен обеспечиваться:
на железнодорожных линиях 1 и 2 классов - не более, чем за 45 минут;
на железнодорожных линиях 3 и 4 классов - не более, чем за 1,5 часа;
на железнодорожных линиях 5 класса, а также малодеятельных независимо от класса - не более 3 часов.
Выезд бригады персонала районов контактной сети или районов электроснабжения при повреждениях на линиях электропередачи (за исключением случаев, когда характер повреждения препятствует выводу остановившихся на перегоне поездов) должен обеспечиваться:
на железнодорожных линиях 1 и 2 классов - не более, чем за 1 час;
на железнодорожных линиях 3 и 4 классов - не более, чем за 3 часа;
на железнодорожных линиях 5 класса, а также малодеятельных независимо от класса - не более 6 часов.
В случаях, когда характер повреждения препятствует выводу остановившихся на перегоне поездов, выезд бригады при повреждениях на линиях электропередачи должен обеспечиваться в течение времени, установленного для выезда на повреждения на контактной сети.
Порядок оповещения и сбора бригады района контактной сети согласовывается с дирекцией движения и утверждается начальником дистанции электроснабжения. Копии этого документа должны находиться в районе контактной сети, районе электроснабжения и у энергодиспетчера.
Для обеспечения оперативности при выезде аварийно-восстановительных автомотрис на повреждение допускается при приемке автомотрисы провести проверку тормозного оборудования в объеме, предусмотренном
пунктом 2.3 Инструкции по эксплуатации тормозов специального подвижного состава железных дорог, утвержденной МПС России 4 октября 2000 г. N ЦП-ЦТ-ЦВ-797. Работы, предусмотренные
пунктом 2.2 той же инструкции, выполняют при появлении на это возможности (при ожидании отправления, при ожидании бригады и т.д.).
Д.3.2 При получении извещения о повреждении устройств электроснабжения вне зависимости от источника информации энергодиспетчер ставит в известность об этом поездного диспетчера. Используя имеющиеся средства связи, энергодиспетчер через машинистов остановившихся или следующих по соседнему пути поездов, а также через других работников ОАО "РЖД" уточняет место, характер и объем повреждения устройств электроснабжения.
Д.3.3 На основании полученной информации о повреждении устройств электроснабжения энергодиспетчер выдает приказ соответствующим дежурным районов контактной сети, районов электроснабжения на сбор бригад и выезд аварийно-восстановительных средств для проведения восстановительных работ.
В случае необходимости энергодиспетчер подает заявку поездному диспетчеру на отправление восстановительного или пожарного поезда к месту повреждения устройств электроснабжения.
Д.3.4 Поездной диспетчер, получив заявку от энергодиспетчера или дежурного по станции на отправление аварийно-восстановительных средств, обеспечивает отправление и следование их к месту работы на правах восстановительного поезда в соответствии с требованиями
Инструкции по движению поездов и маневровой работе на железнодорожном транспорте Российской Федерации (приложение N 8 к Правилам технической эксплуатации железных дорог Российской Федерации (далее - ПТЭ), утвержденным приказом Минтранса России от 21 декабря 2010 г. N 286 (зарегистрирован в Минюсте России 28 января 2011 г. N 19627)).
Д.3.5 В необходимых случаях допускается отправление ремонтных бригад или отдельных работников района контактной сети и района электроснабжения к месту повреждения устройств электроснабжения на грузовых, пассажирских, пригородных поездах и на локомотивах.
Д.3.6 После окончания восстановительных работ аварийно-восстановительные средства дистанции электроснабжения должны быть в кратчайшее время возвращены на место их постоянной дислокации, а израсходованные материалы, оборудование и топливо в срок не более 3 суток дополнены до нормы.
Д.3.7 За своевременное отправление и следование к месту повреждения устройств электроснабжения аварийно-восстановительных средств (автомотрис) отвечают поездной диспетчер и энергодиспетчер.
Поездной диспетчер отвечает за:
отправление по готовности аварийно-восстановительных средств;
беспрепятственный пропуск по участку до места работ;
своевременное отправление по окончании работ и следование до места постоянной дислокации.
Энергодиспетчер отвечает за:
готовность аварийно-восстановительных средств к отправлению;
достаточность находящихся на аварийно-восстановительных средствах материалов, а также состав бригады и квалификацию работников для проведения восстановительных работ;
правильность указания предполагаемого маршрута движения аварийно-восстановительных средств.
Д.4 Организация восстановительных работ
Д.4.1 Руководитель восстановительных работ по прибытии на место повреждения устройств электроснабжения обязан:
оградить место повреждения в соответствии с требованиями
Инструкции по сигнализации на железнодорожном транспорте Российской Федерации (приложение N 7 к ПТЭ);
установить телефонную связь с энергодиспетчером (при крупных повреждениях на контактной сети телефонная связь с энергодиспетчером должна быть постоянной);
осмотреть место повреждения устройств электроснабжения, определить характер, объем и наметить этапы восстановительных работ;
выяснить через энергодиспетчера поездную обстановку;
согласовать с энергодиспетчером этапы восстановительных работ, количество и продолжительность технологических "окон", при необходимости, затребовать дополнительные технические средства и рабочую силу, уточнить возможное время их прибытия, наметить очередность включения в работу отдельных участков (путей, секций контактной сети);
подать аварийную заявку энергодиспетчеру на снятие напряжения с соответствующих секций контактной сети, воздушных и кабельных линий электропередачи;
выполнить приказ энергодиспетчера на отключение и заземление секций контактной сети, воздушных и кабельных линий электропередачи;
выполнить приказ энергодиспетчера дистанции электроснабжения на производство восстановительных работ;
выполнить организационные и технические мероприятия, обеспечивающие безопасность работающих, произвести инструктаж членов бригады о порядке восстановления и мерах личной безопасности;
организовать восстановительные работы в соответствии с требованиями нормативных документов, перечисленных в
пункте Д.1.5 настоящего приложения.
Д.4.2 При наличии полной информации о месте, характере и объеме повреждения контактной сети, воздушных и кабельных линиях электропередачи и прочих устройствах электроснабжения, а также при снятии напряжения с контактной сети и воздушных линий, когда исключено приближение к частям, находящимся под напряжением, на расстояние менее 2 м, энергодиспетчеру допускается выдавать приказ на установку заземляющих штанг и производство работ до прибытия руководителя восстановительных работ на место повреждения.
Д.4.3 При переключении секционных разъединителей контактной сети и линий электропередачи следует руководствоваться порядком, установленным
пунктом 10 приложения N 4 к ПТЭ.
Д.4.4 В целях максимального сокращения времени на ликвидацию повреждения устройств электроснабжения и открытия движения поездов руководитель восстановительных работ на первом этапе должен использовать способы ускоренного (временного) восстановления контактной сети, приведенные в
подразделе Д.5 настоящего приложения.
При организации движения поездов на электрической тяге с опущенными токоприемниками руководитель восстановительных работ своевременно организовывает ограждение места повреждения контактной сети и устанавливает временные сигнальные знаки в соответствии с требованиями Инструкции по сигнализации на железнодорожном транспорте Российской Федерации (
приложение N 7 к ПТЭ).
Д.4.5 В случае схода железнодорожного подвижного состава с рельсов с разрушением контактной сети, воздушных и кабельных линий электропередачи и прочих устройств электроснабжения восстановительные работы организует и возглавляет один из руководителей дистанции электроснабжения, который по согласованию с начальником восстановительного поезда обеспечивает работу грузоподъемных кранов на железнодорожном ходу. Решения по вопросам очередности выполнения восстановительных работ устройств электроснабжения и работы восстановительного поезда принимаются совместно руководителем дистанции электроснабжения и начальником восстановительного поезда. В темное время суток дистанция электроснабжения обеспечивает освещение места работ.
Д.4.6 Начальник восстановительного поезда, прибывший на место повреждения устройств электроснабжения, с целью ускорения открытия движения поездов, обеспечивает силами и средствами восстановительного поезда, с привлечением аварийно-восстановительных средств дистанций электроснабжения, выполнение следующих первоочередных работ:
освобождение сохранившихся фундаментов опор контактной сети от посторонних предметов, груза и грунта;
разработку котлованов под опоры контактной сети;
установку с помощью грузоподъемных кранов опор, ригелей и других поддерживающих конструкций контактной сети;
сварку и резку металлоконструкций;
освещение фронта восстановительных работ путем использования оборудования и материалов, имеющихся в восстановительном поезде.
Д.4.7 Руководитель восстановительных работ при восстановлении поврежденной контактной сети, воздушных и кабельных линий электропередачи и прочих устройств электроснабжения отвечает:
за организацию восстановления устройств контактной сети и своевременное открытие движения поездов;
за обеспечение безопасности работающих при восстановлении поврежденных устройств электроснабжения;
за поддержание связи с энергодиспетчером и начальником восстановительного поезда;
за своевременную и полную информацию энергодиспетчера о ходе восстановительных работ;
за своевременное затребование, при необходимости, от начальника восстановительного поезда предоставления фронта работ, а от руководства дистанции электроснабжения - дополнительных аварийно-восстановительных средств.
Д.4.8 Руководителю восстановительных работ и энергодиспетчеру представляется право проведения срочных телефонных переговоров для сообщения руководителям дистанции электроснабжения, дирекции по энергообеспечению и железной дороги о месте, характере, объеме повреждения устройств электроснабжения, принимаемых мерах к их восстановлению и предполагаемом сроке завершения восстановительных работ.
Д.5 Способы ускоренного (временного) восстановления контактной сети
Д.5.1 Все руководители и работники должны руководствоваться тем, что основной задачей восстановления поврежденных устройств контактной сети является открытие движения поездов в минимально возможные сроки.
| | ИС МЕГАНОРМ: примечание. В официальном тексте документа, видимо, допущена опечатка: пункт 6.20 отсутствует. | |
Д.5.2 Если в результате повреждения элементы контактной подвески окажутся на высоте менее 5750 мм над уровнем головки рельса, то руководитель работ может принять решение о пропуске электроподвижного состава с опущенными токоприемниками. Этот участок ограждают временными сигнальными знаками: "Подготовиться к опусканию токоприемника", "Опустить токоприемник" и "Поднять токоприемник", расставляемыми в соответствии с пунктом 6.20
Инструкции по сигнализации на железнодорожном транспорте Российской Федерации (приложение N 7 к ПТЭ) как показано на
рисунках Д.1 и
Д.2.
а) "Подготовиться к опусканию токоприемника";
б) "Опустить токоприемник";
в) "Поднять токоприемник".
Рисунок Д.1 - Временные сигнальные знаки, которыми
ограждают участок пропуска электроподвижного состава
с опущенными токоприемниками
Рисунок Д.2 - Порядок расстановки временных сигнальных
знаков, которыми ограждают участок пропуска
электроподвижного состава с опущенными токоприемниками
(расстояния в метрах)
В случае отсутствия сигнальных знаков подают ручной сигнал "Опустить токоприемник" как показано на
рисунке Д.3. Работник, подающий ручной сигнал "Опустить токоприемник", должен находиться на расстоянии 500 м от места повреждения, не допускающего проследования электроподвижного состава с поднятым токоприемником.
а) днем;
б) ночью.
Рисунок Д.3 - Ручной сигнал "Опустить токоприемник"
Д.5.3 При определении длины ограждаемого участка учитывают ориентировочные расстояния, которые может проследовать поезд с опущенными токоприемниками, приведенные в
таблице Д.1.
Таблица Д.1
Ориентировочные расстояния, которые может проследовать
поезд с опущенными токоприемниками
Д.5.4 В целях сокращения времени восстановления контактной сети руководителю разрешается допускать изменения и упрощения в технологических требованиях и нормах при проведении восстановительных работ.
При временном восстановлении допускается:
применять двойную длину пролета между струнами цепной подвески при ограничении скорости движения поездов на электротяге до 100 км/ч;
применять жесткую анкеровку вместо компенсированной в одном конце анкерного участка с необходимой вытяжкой проводов и выведением средних анкеровок из работы
(рисунок Д.4);
при разрушении одной опоры жесткой или гибкой поперечины использовать стрелу подъемного крана для крепления жесткой поперечины или тросов гибкой поперечины
(рисунок Д.5);
при повреждении опоры с однопутной консолью на двухпутных участках цепную подвеску можно отвести в междупутье и подвесить на консоли соседнего пути с помощью струбцины с врезным изолятором, предварительно укрепив опору оттяжками; пропуск поездов в этой зоне осуществляется с опущенными токоприемниками;
в случае повреждения опоры с консолью, установленной на однопутных участках или на наружной стороне кривой двухпутных участков, подвеска может быть отведена в сторону с оттяжкой ее на имеющееся место закрепления. Контактные провода могут быть подвязаны непосредственно к несущему тросу при условии, что при этом обеспечивается вертикальный габарит для пропуска поездов с опущенными токоприемниками в зоне повреждения;
при повреждении консоли несущий трос может быть подвешен на струбцине с врезным изолятором к вершине опоры, а контактные провода зафиксированы с помощью оттяжки на опору соседнего пути; возможно закрепление проводов контактной сети без консоли к временному поперечному тросу, который монтируют от вершины опоры к консоли соседнего пути;
без установки опор взамен разрушенных допускается пропускать поезда с опущенными токоприемниками, если в образовавшемся удлиненном пролете подтянутые к несущему тросу контактные провода или поврежденные контактные провода имеют вертикальный габарит, обеспечивающий проход подвижного состава
(рисунок Д.6);
если сломана только консоль, то для пропуска поездов с опущенными токоприемниками цепная подвеска может быть выведена из габарита подвижного состава с закреплением к опоре с помощью изолированных оттяжек;
при обрыве верхнего фиксирующего троса свободные концы троса отводятся от продольной подвески и закрепляются к поперечным несущим тросам гибких поперечин; при обрыве нижнего фиксирующего троса свободные концы его закрепляются к верхнему фиксирующему тросу
(рисунок Д.7), при необходимости обеспечивается секционирование контактной сети;
при обрыве усиливающего провода, если работы по его стыковке затруднены или сломаны кронштейны, необходимо на опорах, граничащих с пролетами оборванного провода, закрепить этот усиливающий провод у седла с помощью соединительных зажимов при достаточном вертикальном его габарите от земли, а провисающий оборванный конец отрезать. При необходимости сохранения полного сечения контактной сети усиливающий провод при сломанных кронштейнах можно подвесить к опорам на струбцинах через изоляторы к консолям цепной подвески или на тросах гибких поперечин;
при обрыве усиливающего провода, проходящего под консолями цепной подвески, возможна пристыковка его к несущему тросу переходными зажимами ПАМ; на загруженных участках необходима установка электрического шунта; при двойных усиливающих проводах, если один из них остался целым, оборванный провод присоединяется к нему;
при повреждении цепной подвески в нескольких пролетах для открытия движения поездов с опущенными токоприемниками концы несущего троса и контактного провода разанкеровывают на промежуточные опоры с предварительной установкой продольных оттяжек из стального троса или биметаллического провода сечением 70 мм
2 (рисунок Д.8);
при пережоге или обрыве одного из двух контактных проводов концы провода стягивают и пристыковывают к несущему тросу, а электроподвижной состав пропускают по одиночному контактному проводу;
при пережоге или обрыве обоих контактных проводов их стягивают и подвязывают вместе с полиспастными блоками к несущему тросу, а поезда пропускают с опущенными токоприемниками; для обеспечения эквивалентного сечения подвески концы проводов соединяют шунтом (проводом сечением от 95 до 120 мм
2 по меди)
(рисунок Д.9).
а) при обрыве троса;
б) при опускании грузов на землю.
При определении значения размера
b руководствуются положениями
подраздела 8.11.
Рисунок Д.4 - Применение жесткой анкеровки вместо
компенсированной в одном конце анкерного участка
Рисунок Д.5 - Использование стрелы подъемного крана
для крепления жесткой поперечины или тросов
гибкой поперечины
1 - несущий трос, 2 - временная струна, 3 - шунт, 4 - поврежденный контактный провод, 5 - ручная лебедка, 6 - рельс, 7 - веревка полиспаста, 8 - вставка.
а) длиной менее 5 м;
б) длиной более 5 м;
в) в пределах пролета.
Рисунок Д.6 - Временное восстановление поврежденного
контактного провода
Рисунок Д.7 - Временное восстановление при обрыве нижнего
фиксирующего троса с закреплением свободных его концов
к верхнему фиксирующему тросу гибкой поперечины
1 - контактная подвеска, 2 - зона повреждения, 3 - несущий трос, 4 - контактный провод.
Рисунок Д.8 - Временное восстановление при повреждении цепной
подвески в нескольких пролетах с разанкеровкой концов
несущего троса и контактного провода на промежуточные опоры
1 - несущий трос, 2 - концы поврежденных контактных проводов, 3 - шунт, 4 - веревка полиспаста, 5 - полиспасты, 6 - временные струны, 7 - вставки контактного провода, 8 - стыковой зажим контактного провода.
Рисунок Д.9 - Временное восстановление при пережоге
или обрыве обоих контактных проводов
Д.5.5 При временном восстановлении допускается:
- устанавливать временные струны вместо постоянных, а на несущем тросе - без струновых зажимов;
- устанавливать на отходящих на анкеровку ветвях контактной подвески временные струны без струновых зажимов;
- применять взамен скользящих струн нескользящие, при этом наклон струн должен соответствовать ожидаемой на ближайшее время температуре воздуха;
- не устанавливать среднюю анкеровку контактных проводов, а при компенсированной подвеске и среднюю анкеровку несущих тросов;
- на прямых участках пути применять прямые сжатые фиксаторы вместо обратных;
- по согласованию с энергодиспетчером не устанавливать секционные разъединители или секционные изоляторы, а осуществлять постоянное электрическое соединение между прилегающими секциями контактной сети, приняв необходимые меры по обеспечению защиты от токов короткого замыкания;
- не подключать роговые разрядники, трубчатые разрядники, ограничители перенапряжений;
- укреплять частично поврежденные опоры гибкой поперечины с помощью оттяжек или металлических накладок, закрепляемых бандажами;
- в случае неполного разрушения жесткой поперечины использовать сохранившиеся ее части с укреплением их на дополнительных временных опорах;
- в случае полного разрушения жесткой поперечины сооружать временную гибкую поперечину на деревянных опорах, укрепленных оттяжками; опоры должны быть длиной 12,5 м или на приставках; во всех случаях временные опоры должны быть установлены с таким расчетом, чтобы они не мешали последующей установке постоянных опор.
Временная гибкая поперечина, перекрывающая до восьми путей, может быть сооружена на одиночных железобетонных стойках длиной 13,6 м, установленных в стаканные фундаменты длиной 4,5 м и укрепленных оттяжками.
При полном разрушении жесткой поперечины возможна эксплуатация контактной подвески в пролете двойной длины. В этом случае несущий трос на поперечинах, смежных с разрушенной, подвешивается над поперечинами на опорных изоляторах или подвесных изоляторах, закрепленных на П-образных стойках.
При небольшом числе путей вместо жесткой поперечины может быть сооружена упрощенная гибкая поперечина: изолированный поперечный несущий трос натягивается на опорах, укрепленных оттяжками, верхний фиксирующий трос не монтируется; на прямом участке пути, защищенном от ветра, не монтируется и нижний фиксирующий трос; несущие тросы одной секции подвешиваются без изоляторов; контактные провода регулируются с минимально допустимым значением высоты подвеса.
Взамен разрушенной опоры гибкой поперечины могут быть установлены две, а в отдельных случаях и три временные промежуточные опоры (при этом крайняя - с оттяжкой), которые дают возможность поделить гибкую поперечину на две или три группы подвесок; промежуточные опоры в таких случаях устанавливают в междупутье или по оси пути, который в этом случае должен быть временно закрыт для движения поездов до полного восстановления контактной сети.
Если разрушена одна опора гибкой поперечины и восстановление ее невозможно, гибкая поперечина может быть заменена жесткой, взамен разрушенной опоры устанавливается одиночная или спаренная железобетонная опора; на этой опоре и сохранившейся опоре гибкой поперечины монтируют конструкции для ригеля жесткой поперечины и ригель.
Временные анкеры из уголков и круглых стержней для оттяжек опор забивают (закапывают) в землю на глубину 1,5 м под углом примерно 55° к горизонтали в направлении, противоположном оттяжке.
Может применяться деревянный анкер, закопанный на глубину 2,2 м, который изготавливается из отрезка шпалы; располагаемого параллельно пути и стержня из круглой стали диаметром 22 мм с ушком.
При незамерзших грунтах для оттяжек могут быть использованы спиралеобразные анкеры длиной 1,8 м с ушком на верхнем конце; для оттяжек используют, как правило, стальной трос сечением 70 мм2.
При разрушении анкерной опоры может быть установлена временная промежуточная опора; в этом случае анкеровку несущего троса и контактных проводов на данной опоре не делают, а анкерные ветви смежных анкерных участков состыковывают с выведением средних анкеровок из работы или переносят на соседнюю промежуточную опору, укрепляемую временными оттяжками
(рисунок Д.10).
Рисунок Д.10 - Временное восстановление контактной подвески
на изолирующем сопряжении
Оборванные тяги консолей необходимо заменить тросовыми тягами или, в крайнем случае, использовать вместо тяги консоли монтажные блоки.
В случае невозможности восстановления разрушенных поперечных несущих тросов гибкой поперечины по согласованию с энергодиспетчером контактную сеть восстанавливают в первую очередь на части путей, для чего на опорах гибкой поперечины монтируют однопутные или двухпутные консоли и устанавливают дополнительные опоры с консолями в междупутьях или на оси пути, закрываемого для движения поездов. Возможна подвеска проводов контактной сети с заниженным габаритом и временно монтируемый поперечный трос между опорами гибкой поперечины.
При обрыве нижнего фиксирующего троса следует смонтировать вставку из нового троса. В отдельных случаях (на незащищенных от ветра участках второстепенных путях станций и т.д.) допускается не восстанавливать нижний фиксирующий трос.
Фиксирующие стойки двухпутных консолей могут быть заменены фиксирующим тросом с врезными изоляторами в междупутье, закрепляемым на стоящей в створе опоре.
Восстановление несущего троса производят стягиванием оборванных концов и монтажом вставки или шунта в месте обрыва из провода того же материала и сечения
(рисунок Д.11); стыковку медных, сталемедных и стальных несущих тросов осуществляют шестью соединительными зажимами, сталеалюминиевых - четырьмя, подстыковку контактного провода к несущему тросу - тремя соединительными зажимами
(рисунок Д.12).
1 - несущий трос, 2 - веревка полиспаста, 3 - шунт, 4 - контактный провод.
Рисунок Д.11 - Временное восстановление несущего троса
1 - соединительный зажим, 2 - несущий трос, 3 - контактный провод, 4 - питающий зажим, 5 - ограничительная накладка.
а) стыкование несущих тросов;
б) стыкование контактных проводов;
в) струна рабочего контактного провода;
г) струна нерабочего контактного провода;
д) ограничительная накладка на воздушной стрелке.
Рисунок Д.12 - Временные узлы контактной подвески
При повреждении цепной подвески в нескольких пролетах может быть смонтирована простая контактная подвеска. Контактный провод подвешивается к консолям на наклонных тросах, прикрепляемых к проводу на расстоянии от 12 до 15 м от опоры, при этом необходимо выдать предупреждение на ограничение скорости движения поездов (не более 50 км/ч), а при необходимости - и на ограничение веса поезда.
| Методика планирования и учета выполнения работ по техническому обслуживанию и ремонту в хозяйстве электрификации и электроснабжения, утвержденная распоряжением ОАО "РЖД" от 22 декабря 2011 г. N 2764р |
| Правила по охране труда при эксплуатации электроустановок, утвержденные приказом Минтрудсоцзащиты России от 24 июля 2013 г. N 328н |
| Правила технической эксплуатации электроустановок потребителей, утвержденные приказом Минэнерго России от 13 января 2003 г. N 6 |
| Правила разработки и применения технико-нормировочных карт, утвержденные распоряжением ОАО "РЖД" от 27 мая 2015 г. N 1350р |
| Методика классификации и специализации железнодорожных линий ОАО "РЖД", утвержденная распоряжением ОАО "РЖД" от 23 декабря 2015 г. N 3048р |
| Инструкция по технической эксплуатации волоконно-оптических линий передачи ОАО "РЖД", утвержденная распоряжением ОАО "РЖД" от 18 декабря 2013 г. N 2792р |
| Правила электробезопасности для работников ОАО "РЖД" при обслуживании электрифицированных железнодорожных путей, утвержденные распоряжением ОАО "РЖД" от 3 июля 2008 г. N 12176 |
| Правила технической эксплуатации железных дорог Российской Федерации, утвержденные приказом Минтранса России от 21 декабря 2010 г. N 286 |
| Инструкция по техническому обслуживанию и ремонту направляющих линий, линейных и стационарных устройств поездной радиосвязи гектометрового диапазона, утвержденная ОАО "РЖД" 5 июня 2006 г. |
| Методика определения балльной оценки контактной сети в хозяйстве электрификации и электроснабжения, утвержденная распоряжением ОАО "РЖД" от 18 марта 2016 г. N 471р |
| Устройства и элементы рельсовых линий и тяговой рельсовой сети. Технические требования и нормы содержания, утвержденные распоряжением ОАО "РЖД" от 3 апреля 2012 г. N 651р |
| Указания по техническому обслуживанию и ремонту опорных конструкций контактной сети К-146-2008, утвержденные Департаментом электрификации и электроснабжения ОАО "РЖД" 19 декабря 2008 г. |
| Инструкция по безопасности для электромонтеров контактной сети, утвержденная ОАО "РЖД" 16 декабря 2010 г. N 104 |
| Инструкция по заземлению устройств энергоснабжения на электрифицированных железных дорогах ЦЭ-191, утвержденная МПС России 10 июня 1993 г. |
| Условия эксплуатации железнодорожных переездов, утвержденные приказом Минтранса России от 31 июля 2015 г. N 237 |
| Приказ Министерства путей сообщения СССР от 26 июля 1975 г. N 19Ц "О дальнейшем развитии и улучшении содержания устройств энергетики" |
| Методика выбора уставок защиты в схемах электроснабжения постов ЭЦ, утвержденная указанием МПС России от 14 ноября 2000 г. N М-2738у |
[18] | Методические рекомендации по измерению асимметрии обратного тягового тока МР ЦЭ-ЦШ РЖД 004-2010, утвержденные Департаментом электрификации и электроснабжения ОАО "РЖД" 24 февраля 2011 г. |
| Инструкция по защите железнодорожных подземных сооружений от коррозии блуждающими токами ЦЭ-518, утвержденная МПС России 9 октября 1997 г. |
| Правила безопасности при эксплуатации контактной сети и устройств электроснабжения автоблокировки железных дорог ОАО "РЖД", утвержденные ОАО "РЖД" 16 декабря 2010 г. N 103 |
| Правила установления охранных зон объектов электросетевого хозяйства и особых условий использования земельных участков, расположенных в границах таких зон, утвержденные Постановлением Правительства Российской Федерации от 24 февраля 2009 г. N 160 |
| Инструкция по безопасности при эксплуатации электроустановок тяговых подстанций и районов электроснабжения железных дорог ОАО "РЖД", утвержденная ОАО "РЖД" 18 марта 2008 г. N 4054 |
Начальник
отделения электроснабжения
Проектно-конструкторского бюро
по инфраструктуре - филиала ОАО "РЖД"
Э.Б.КОРКИН
Начальник отдела
стандартизации и метрологии
Л.С.ОВЧАРОВА
Главный конструктор проекта
С.П.АСТАНИН