Главная // Актуальные документы // Акт (форма)СПРАВКА
Источник публикации
Документ опубликован не был
Примечание к документу
Документ введен в действие с 01.06.2016 (Распоряжение ОАО "РЖД" от 19.04.2016 N 699р).
Название документа
"Правила электробезопасности для работников ОАО "РЖД" при обслуживании устройств и сооружений контактной сети и линий электропередачи"
(утв. Распоряжением ОАО "РЖД" от 19.04.2016 N 699р)
"Правила электробезопасности для работников ОАО "РЖД" при обслуживании устройств и сооружений контактной сети и линий электропередачи"
(утв. Распоряжением ОАО "РЖД" от 19.04.2016 N 699р)
Распоряжением ОАО "РЖД"
от 19 апреля 2016 г. N 699р
ПРАВИЛА
ЭЛЕКТРОБЕЗОПАСНОСТИ ДЛЯ РАБОТНИКОВ ОАО "РЖД"
ПРИ ОБСЛУЖИВАНИИ УСТРОЙСТВ И СООРУЖЕНИЙ
КОНТАКТНОЙ СЕТИ И ЛИНИЙ ЭЛЕКТРОПЕРЕДАЧИ
1.1. Правила электробезопасности для работников ОАО "РЖД" при обслуживании устройств и сооружений контактной сети и линий электропередачи (далее - Правила) устанавливают порядок взаимодействия между работниками подразделений ОАО "РЖД", технические требования к устройствам с целью обеспечения электробезопасности обслуживающего персонала и обязательны для выполнения всеми работниками ОАО "РЖД" при производстве работ на устройствах и сооружениях контактной сети и линий электропередачи, воздушных линий связи, проводов линии "два провода - рельс", волноводов, усиливающих, питающих и отсасывающих линий тяговой сети и связанных с ними устройств (далее - контактная сеть, воздушные линии (ВЛ) и связанные с ними устройства).
Правила разработаны в соответствии с
Правилами по охране труда при эксплуатации электроустановок, утвержденными приказом Минтруда России от 24 июля 2013 г. N 328н (далее - ПОТЭУ),
Правилами безопасности при эксплуатации контактной сети и устройств электроснабжения автоблокировки электрифицированных железных дорог ОАО "РЖД", утвержденными ОАО "РЖД" 16 декабря 2010 г. N 103 (далее - Правила 103); Инструкцией по безопасности для электромонтеров контактной сети, утвержденной ОАО "РЖД" 16 декабря 2010 г. N 104 (далее - Инструкция 104);
правилами устройства и технической эксплуатации контактной сети электрифицированных железных дорог, утвержденными МПС России 11 декабря 2001 г. N ЦЭ-868 (далее - Правила ЦЭ 868); Инструкцией по обеспечению безопасности движения поездов при производстве работ по ремонту устройств контактной сети и воздушных линий на железных дорогах, утвержденной МПС России 28 августа 2001 г. N ЦЭ-852 (далее - Инструкция ЦЭ 852); Инструкцией по ограждению изолирующих съемных вышек при производстве работ на контактной сети железных дорог ОАО "РЖД", утвержденной ОАО "РЖД" 18 марта 2010 г. N 4579 (далее - Инструкция 4579).
Каждый работник ОАО "РЖД" в случае обнаружения нарушений Правил или неисправностей устройств контактной сети, ВЛ и связанных с ними устройств, представляющих опасность для людей или движения поездов, обязан принять все возможные указанные в Правилах меры и немедленно сообщить об этом непосредственному начальнику или энергодиспетчеру.
1.2. В Правилах применяются следующие основные термины и сокращения:
АТП - автотрансформаторный пункт питания контактной сети на участках 2 x 25 кВ.
Воздушный промежуток (изолирующее сопряжение) - сопряжение смежных участков контактной сети с электрической изоляцией (токораздел). Изолирующее сопряжение выполняется так, что при проходе токоприемника электроподвижного состава сопрягаемые участки электрически соединяются.
ВЛ (КЛ) - воздушная (кабельная) линия электропередачи, включая отпайки.
Волновод - провод, подвешенный по опорам контактной сети или по самостоятельным опорам для обеспечения двусторонней радиосвязи машинистов локомотивов, водителей дрезин, машинистов самоходных путевых машин, мотовозов, автомотрис с дежурными по железнодорожным станциям и диспетчерами поездными.
ДПР - воздушная линия продольного электроснабжения (два провода - рельс) на участках контактной сети переменного тока.
Дроссель-трансформатор (ДТ) - индуктивная катушка из двух полуобмоток значительного реактивного и малого активного сопротивлений, включаемая в тяговую рельсовую сеть на электрифицированных участках для пропуска обратного тягового тока в обход изолирующих стыков; одновременно является трансформатором рельсовой цепи (питающим или релейным).
ЕДЦУ - единый дорожный центр управления.
Заземляющий проводник (заземление опоры) - проводник, осуществляющий металлическую связь между заземляемой конструкцией и контуром заземления (рельсом).
Защитное заземление - заземление частей электроустановки с целью обеспечения электробезопасности.
Знаки безопасности труда - знаки, предназначенные для предупреждения работающих о возможной опасности, о необходимости применения соответствующих средств защиты, а также разрешающие или запрещающие определенные действия работающих.
Изолирующий стык (ИС) - стыковое соединение рельсов железнодорожного пути, электрически изолирующее их друг от друга.
Контактная сеть - совокупность проводов, конструкций и оборудования, обеспечивающих передачу электрической энергии от тяговых подстанций к токоприемникам электроподвижного состава. Контактная сеть над одним путем - контактная подвеска.
КТП - комплектная трансформаторная подстанция.
Наведенное напряжение - напряжение выше 25 В, возникающее вследствие электромагнитного влияния на отключенных проводах и оборудовании, расположенных в зоне наведенного напряжения.
Нейтральная вставка - участок контактной подвески между двумя воздушными промежутками (изолирующими сопряжениями) или секционными изоляторами специального изготовления, на котором нормально отсутствует напряжение. Нейтральная вставка выполняется так, что при прохождении токоприемников электроподвижного состава обеспечивается электрическая изоляция сопрягаемых участков.
Отсасывающая линия (один из видов рабочего заземления) - провода, присоединяемые к средним точкам дроссель-трансформаторов, обеспечивающие возвращение тягового тока из рельсов на тяговую подстанцию.
ПГП - пункт группировки переключателей контактной сети.
Первая помощь - комплекс мероприятий, направленных на восстановление или сохранение жизни и здоровья пострадавшего.
Персонал неэлектротехнический - производственный персонал, не попадающий под определение "электротехнического", "электротехнологического" персонала.
Персонал электротехнический - административно-технический, оперативный, оперативно-ремонтный, ремонтный персонал, осуществляющий монтаж, наладку, техническое обслуживание, ремонт, управление режимом работы электроустановок.
Персонал электротехнологический - персонал, у которого в управляемом им технологическом процессе основной составляющей является электрическая энергия, например, электросварка, персонал, использующий в работе ручные электрические машины, переносной электроинструмент и светильники, машинисты автомотрис, мотовозов, дрезин и другие работники, для которых должностной инструкцией установлено знание Правил.
ППП - пункт подготовки к рейсу пассажирских поездов.
ППР - проект производства работ.
ППС - пункт параллельного соединения контактных подвесок.
ПС - пост секционирования контактной сети.
ПУЭ - Правила устройства электроустановок.
ПЭ - продольное электроснабжение (ВЛ ПЭ).
Рабочее заземление - заземление какой-либо точки токоведущих частей электроустановки, необходимое для обеспечения работы электроустановки.
К рабочим заземлениям относятся: отсасывающие линии тяговых подстанций постоянного и переменного тока и заземление (отсос) АТП на участках 2 x 25 кВ; на участках переменного тока - заземляющие провода ПС, ППС, ПГП, ППП, а также КТП, питаемые от системы ДПР; соединения с рельсами групповых заземлений опор и обратных проводов. На участках постоянного тока - заземляющие провода защитного заземления ПС, ППС, ППП, подключаемые к рельсовой цепи, относятся также к рабочему заземлению.
Производитель (руководитель) работ - ответственное лицо, на которое возложено руководство работами на эксплуатируемых железнодорожных путях, сооружениях и устройствах.
СМО - строительно-монтажная организация.
Специальный заземлитель - забитая в грунт на глубину не менее 1,0 м стальная труба диаметром не менее 50 мм или угловая сталь размером не менее 50 x 50 мм длиной не менее 1,0 м с болтовым зажимом диаметром не менее 10 мм для присоединения заземляющего проводника.
Специальный железнодорожный подвижной состав - железнодорожный подвижной состав, предназначенный для обеспечения строительства и функционирования инфраструктуры железнодорожного транспорта и включающий в себя несъемные самоходные подвижные единицы на железнодорожном ходу, такие как мотовозы, дрезины, специальные автомотрисы, железнодорожно-строительные машины с автономным двигателем и тяговым приводом, а также транспортные несамоходные подвижные единицы на железнодорожном ходу, такие как железнодорожные строительные машины без тягового привода, прицепы и специальный самоходный железнодорожный подвижной состав, включаемый в хозяйственные поезда и предназначенный для производства работ по содержанию, обслуживанию и ремонту сооружений и устройств железных дорог, в том числе специальные вагоны грузового и пассажирского типа.
Специальный самоходный подвижной состав (ССПС) - мотовозы, дрезины, специальные автомотрисы для перевозки необходимых для производства работ материалов или доставки работников к месту работы, железнодорожно-строительные машины, имеющие автономный двигатель с тяговым приводом в транспортном режиме.
Специальный несамоходный подвижной состав - железнодорожно-строительные машины без тягового привода в транспортном режиме, прицепы и другой специальный подвижной состав, предназначенный для производства работ по содержанию, обслуживанию и ремонту сооружений и устройств железнодорожного транспорта, включаемый в хозяйственные поезда.
СЦБ - сигнализация, централизация и блокировка.
Тяговая рельсовая сеть - электрическая непрерывная цепь обратных токов тягового электроснабжения, представляющая собой систему электрически объединенных (последовательно и параллельно) ходовых рельсов электрифицированных путей.
Электрическая безопасность - система организационных и технических мероприятий и средств, обеспечивающих защиту людей от вредного и опасного воздействия электрического тока, электрической дуги, электромагнитного поля и статического электричества.
Электроустановка - совокупность машин, аппаратов, линий и вспомогательного оборудования (вместе с сооружениями и помещениями, в которых они установлены), предназначенных для производства, преобразования, трансформации, передачи, распределения электрической энергии и преобразования ее в другой вид энергии (контактная сеть, подвешенные по опорам контактной сети провода ВЛ 6, 10, 35 кВ, провода системы ДПР, ВЛ напряжением до 1 кВ; ВЛ 6, 10 кВ, подвешенные на самостоятельных опорах, тяговые и трансформаторные подстанции, ПС, ППС, АТП, ППП, ПГП, КТП).
Фронт путевых работ - участок отключенной контактной сети, длина которого состоит из ремонтируемого участка пути и длины путеразборочного и путеукладочного поездов с учетом места их установки для приведения в рабочее положение.
ЭПС - электроподвижной состав.
1.3. На вновь электрифицируемых железнодорожных путях ОАО "РЖД" контактная сеть, ВЛ на опорах контактной сети и на самостоятельных опорах и связанные с ними устройства считаются находящимися под напряжением с момента, указанного в письменном извещении, рассылаемом за 10 дней до подачи напряжения заместителем начальника железной дороги (по территориальному управлению) руководителям подразделений железных дорог ОАО "РЖД", которые организуют проведение внепланового инструктажа подчиненным работникам с оформлением в журнале инструктажа.
1.4. Заместитель начальника железной дороги (по территориальному управлению), а при его отсутствии первый заместитель начальника железной дороги до подачи напряжения в контактную сеть и ВЛ обязаны в границах электрифицированного участка обеспечить:
а) изучение Правил и проверку знаний их всеми причастными работниками ОАО "РЖД", а также проведение необходимого инструктажа в объеме согласно
приложению N 1;
б) подготовку диспетчеров поездных и других работников, связанных с обслуживанием устройств электрической тяги, к работе в условиях электрифицированных железнодорожных путей ОАО "РЖД";
в) оповещение населения по имеющейся громкоговорящей связи о сроке подачи напряжения в контактную сеть, а также вывешивание в населенных пунктах в общедоступных местах (перронах, посадочных площадках, переездах) и производственных помещениях плакатов и объявлений, предупреждающих об опасности приближения к устройствам контактной сети и ВЛ, находящимся под напряжением;
г) уведомление работников причастных подразделений ОАО "РЖД" о сроке подачи напряжения в контактную сеть.
1.5. Организация обучения работников и проверка знаний Правил возлагаются на руководителей подразделений ОАО "РЖД" и производятся в соответствии со стандартом ОАО "РЖД" "Система управления охраной труда в ОАО "РЖД". Организация обучения", утвержденным
распоряжением ОАО "РЖД" от 25 декабря 2015 г. N 3081р.
Проверка знаний Правил производится при назначении на должность, а также периодически при сдаче экзаменов по охране труда. Перечень работников подразделений с указанием должностей, которые обязаны знать Правила, дан в
приложении N 1. Руководители подразделений ОАО "РЖД" обеспечивают постоянный контроль за обучением и проверкой знаний Правил работниками подразделений.
1.6. Работники подразделений ОАО "РЖД", которые по роду своей деятельности могут временно находиться на электрифицированных железнодорожных путях ОАО "РЖД" (в порядке разового поручения), например, лица, сопровождающие в недействующем (холодном) состоянии локомотивы, путевые и другие машины на железнодорожном ходу, а также перевозимые на железнодорожном подвижном составе и т.п., должны пройти целевой инструктаж с оформлением в журнале инструктажа по месту постоянной работы о соблюдении требований электробезопасности и
Правил по безопасному нахождению работников ОАО "РЖД" на железнодорожных путях, утвержденных распоряжением ОАО "РЖД" от 24 декабря 2012 г. N 2665р.
Работники ОАО "РЖД", командируемые для временной работы, например, для выполнения путевых, строительных и других работ, по прибытии в подразделение проходят целевой инструктаж по электробезопасности с оформлением в журнале инструктажа с учетом особенностей выполнения работ в месте командировки. Содержание инструктажа определяется инструктирующим лицом в зависимости от характера и сложности работы.
1.7. На путепроводах и пешеходных мостах, расположенных над электрифицированными железнодорожными путями, должны быть установлены предохранительные щиты для ограждения частей контактной сети и ВЛ, находящихся под напряжением. Щиты могут устанавливаться вертикально и горизонтально. Щиты должны иметь высоту 2 м и выступать по ширине не менее чем на 1 м в каждую сторону от находящихся под напряжением частей. Щиты должны быть металлическими с сеткой в верхней части с размером ячеек не более 2 x 2 см.
Предохранительные щиты на лестницах пешеходных мостов устанавливаются, когда расстояние от лестницы до находящихся под напряжением частей контактной сети менее 2 м.
В местах прохода над пешеходными мостами питающих и отсасывающих линий контактной сети и воздушных линий сверху на мостах устанавливаются сплошные ограждения, верхняя часть которых должна быть полностью или частично металлической. На каждом предохранительном щите дистанцией электроснабжения должен быть укреплен предупреждающий знак безопасности "Осторожно электрическое напряжение"
(рисунок 1) в соответствии с
Инструкцией по применению и испытанию средств защиты, используемых в электроустановках, утвержденной приказом Минэнерго России от 30 июня 2003 г. N 261. Работниками подразделений ОАО "РЖД" этот знак безопасности устанавливается или наносится несмываемой черной краской трафаретом также на опорах контактной сети и ВЛ в общедоступных местах, на верхних частях путевых машин, дрезин, автомотрис и локомотивов.
Рисунок 1 - Знак безопасности труда "Осторожно электрическое
напряжение" (фон желтый, кайма и стрела черные)
Осмотр и необходимый ремонт предохранительных щитов во время эксплуатации производится дистанциями электроснабжения.
1.8. Демонтаж и восстановление заземлений при смене рельсов и других работах выполняются специально проинструктированными представителем дистанции электроснабжения и под его наблюдением работниками дистанции пути (путевой машинной станции), а заземлений напольных устройств СЦБ - под наблюдением электромеханика дистанции СЦБ.
Представитель дистанции электроснабжения при проведении инструктажа исполнителя на месте работ должен указать, что заземление опоры контактной сети разрешается отсоединять от рельса только по его команде после снятия напряжения с контактной подвески, с воздушной линии и их заземления установленным порядком. Отключенное от рельса заземление опоры следует завести за опору. В таком же порядке следует отключать от рельсов или от средних точек дроссель-трансформаторов заземления напольных устройств сигнализации, централизации и блокировки.
1.9. Для обеспечения сохранности, создания нормальных условий эксплуатации контактной сети, воздушных линий и связанных с ними устройств и предотвращения несчастных случаев в соответствии с
ПОТЭУ устанавливаются охранные зоны в виде земельного участка и воздушного пространства, ограниченных вертикальными плоскостями, отстоящими по обе стороны линии от крайних проводов при неотклоненном их положении на расстоянии:
Для воздушных линий напряжением, кВ:
до 1 2 м;
для ВЛ с самонесущими или изолированными проводами,
размещенных в границах населенных пунктов 5 м;
35 15 м;
110 20 м.
--------------------------------
<*> Провода контактной сети переменного тока и связанные с ними устройства напряжением 27,5 кВ по допустимым расстояниям (охранным зонам) относятся к линиям до 20 кВ.
Вдоль подземных кабельных линий электропередачи охранная зона представляет собой часть поверхности участка земли, расположенного под ней участка недр (на глубину, соответствующую глубине прокладки КЛ), ограниченного вертикальными плоскостями, отстоящими по обе стороны линий от крайних кабелей на расстоянии 1 м.
Охрана электрических сетей осуществляется подразделениями ОАО "РЖД", в ведении которых находятся эти электрические сети. Пересечение воздушных линий с электрифицированными железнодорожными путями ОАО "РЖД" должно удовлетворять требованиям
Правил устройства электроустановок, утвержденных приказом Минэнерго России от 8 июля 2002 г. N 204 (далее - ПУЭ). Допуск персонала строительно-монтажных организаций к работам в охранной зоне ВЛ должен осуществлять допускающий из числа персонала организации, эксплуатирующего воздушную линию.
1.10. В охранных зонах контактной сети, воздушных и кабельных линий ОАО "РЖД" юридическим и физическим лицам без письменного разрешения дистанции электроснабжения запрещается:
а) производить строительство, капитальный ремонт, реконструкцию или снос любых зданий и сооружений;
б) осуществлять погрузочно-разгрузочные, мелиоративные и другие работы, производить посадку и вырубку деревьев, устраивать загоны для скота и т.п.;
в) совершать проезд машин и механизмов, имеющих общую высоту с грузом и без груза от поверхности дороги более 4,5 м;
г) производить в охранных зонах подземных кабельных линий электропередачи земляные работы на глубине более 0,3 м, а также планировку грунта.
После получения письменного разрешения работу в охранной зоне необходимо выполнять с соблюдением условий, обеспечивающих сохранность электрических сетей.
1.11. В охранных зонах контактной сети, воздушных и кабельных линий ОАО "РЖД" запрещается:
а) размещать автозаправочные станции и иные хранилища горюче-смазочных материалов;
б) загромождать подъезды и подходы к объектам электрических сетей;
в) набрасывать на провода, опоры и приближать к ним посторонние предметы, а также подниматься на опоры;
г) устраивать свалки;
д) складировать корма, удобрения, солому, торф, дрова и другие материалы, разводить огонь;
е) устраивать спортивные площадки для игр, стадионы, рынки, остановочные пункты общественного транспорта, стоянки всех видов машин и механизмов, проводить любые мероприятия, связанные с большим скоплением людей, не занятых выполнением работ, разрешенных в установленном порядке;
ж) производить сброс и слив едких и коррозионных веществ и горюче-смазочных материалов.
1.12. В аварийных ситуациях помощь пострадавшим и устранение последствий аварии должны производиться в соответствии с требованиями Правил.
Работники подразделений ОАО "РЖД" (кроме персонала хозяйства дирекции управления движением), перечисленные в
приложении N 1, должны периодически один раз в год проходить теоретическое и практическое обучение приемам освобождения от действия электрического тока и оказания первой помощи пострадавшим от электрического тока
(приложение N 2). Занятия с работниками подразделений ОАО "РЖД" должны проводить работники из числа соответствующего медицинского персонала совместно с инженерно-техническими работниками подразделения ОАО "РЖД". Ответственность за организацию обучения несут руководители подразделений.
Первую помощь должен оказывать тот, кто находится рядом с пострадавшим (взаимопомощь), или сам пострадавший (самопомощь) до прибытия медицинского работника.
II. Организация безопасного выполнения работ
2.1. Работы вблизи неотключенных и незаземленных контактной сети и воздушных линий должны быть организованы так, чтобы исключалось приближение работающих, имеющихся у них предметов, приспособлений и инструмента на расстояние менее 2 м к проводам этих линий.
В отключенных проводах контактной сети переменного тока и ВЛ возникает опасное для жизни наведенное напряжение.
Во избежание попадания работающих в опасную зону токоведущих частей контактной сети и ВЛ, т.е. ближе 2 м при наличии на них напряжения, запрещается подниматься:
а) на верхние площадки и крыши подвижного состава;
б) на фермы и стрелы путевых машин и дрезин, мотовозов, автомотрис, стрелы и крыши кабин кранов, экскаваторов, других машин и на грузы, установленные на открытом подвижном составе;
в) на крыши зданий и сооружений, расположенных под проводами;
г) на другие объекты, с которых возможно приближение к токоведущим частям ближе 2 м.
Опасная зона для работ на мостах электрифицированных железнодорожных путей (2 м от токоведущих частей контактной сети) должна быть обозначена красной полосой на элементах пролетных строений или конструкций подвески ВЛ. Обозначение наносится работниками дистанции пути.
2.2. Запрещается подниматься на опоры и специальные конструкции контактной сети и ВЛ всем работникам ОАО "РЖД", не имеющим на то разрешения. К работе с опор и специальных конструкций контактной сети, на которых расположены сигналы автоблокировки и другие устройства, допускаются только специально обученные работники дистанций СЦБ, работники дирекций связи и их структурных подразделений, имеющие группу по электробезопасности не ниже III.
2.3. Запрещается прикасаться к оборванным или провисшим до земли проводам контактной сети, ВЛ и находящимся на них посторонним предметам независимо от того, касаются они или не касаются земли или заземленных конструкций.
Работники подразделений ОАО "РЖД", обнаружившие обрыв проводов контактной сети или ВЛ, а также свисающие с них посторонние предметы, обязаны немедленно сообщить об этом на ближайший дежурный пункт района контактной сети или района электроснабжения, дежурному по железнодорожной станции, энергодиспетчеру или диспетчеру поездному. До прибытия бригады района контактной сети или района электроснабжения необходимо оградить это место и следить за тем, чтобы никто не приближался к оборванным проводам на расстояние ближе 8 м. В случае, если оборванные провода или другие элементы контактной сети и ВЛ выходят из габарита приближения строений к пути и могут быть задеты при проходе поезда, это место необходимо оградить как место препятствия сигналами остановки согласно требованиям Инструкции по сигнализации на железнодорожном транспорте Российской Федерации (
Приложение N 7 к Правилам технической эксплуатации железных дорог Российской Федерации, утвержденным приказом Минтранса России от 21 декабря 2010 г. N 286).
2.4. Напряжение с контактной сети и ВЛ должно быть снято и контактная сеть, ВЛ и связанные с ними устройства заземлены на весь период работы в следующих случаях:
а) при возможности приближения персонала по условиям производства работ (строительные, путевые работы, осмотр, ремонт или покраска искусственных сооружений, коммерческий осмотр крыш вагонов, верха перевозимых контейнеров, тушение пожаров на подвижном составе, проведение восстановительных работ, проверка габарита приближения строений (без применения и с применением габаритной рамы)) к находящимся под напряжением и не огражденным частям контактной сети и ВЛ на расстояние менее 2 м;
б) при одновременном разрыве обеих рельсовых нитей пути (сплошная смена рельсов, капитальный ремонт пути и другие работы), когда временная продольная перемычка не установлена и нарушается цепь протекания по рельсам обратного тягового тока;
в) при необходимости отключения от рельсов заземлений опор контактной сети и других устройств (релейных шкафов, светофоров и т.п.) на длине фронта работ более 200 м при подъемке пути, очистке балластного слоя, срезке обочины и других подобных работ, выполняемых путевыми машинами.
В указанных случаях руководитель работ (путевых, на мостах, на волоконно-оптических кабелях, в устройствах СЦБ и т.п.) обязан дать письменную заявку в адрес начальника дистанции электроснабжения, начальников соответствующих районов контактной сети и районов электроснабжения о необходимости обеспечения безопасности производства работ вблизи устройств контактной сети или ВЛ с указанием точного места (км, пикет, N пути железнодорожной станции, N опор контактной сети фронта работы), даты и времени начала, продолжительности и характера работ. Для выполнения плановых работ такая заявка подается не менее чем за одни сутки. В необходимых случаях, в том числе для коммерческого осмотра верха вагонов на электрифицированном железнодорожном пути, сроки заявки на снятие напряжения и заземление контактной сети устанавливаются
Правилами 103. Начальник района контактной сети или района электроснабжения по схемам питания и секционирования, исполненным планам контактной сети и ВЛ с учетом перечней опасных мест обязан определить границы зоны снятия напряжения, производство необходимых отключений или включений секционных разъединителей контактной сети и ВЛ, установку заземляющих штанг и дать заявку энергодиспетчеру на производство работ.
При работах со сплошной сменой рельсов в зоне изолирующих сопряжений (стык контактной сети железнодорожной станции и перегона, место установки поста секционирования, отсасывающего трансформатора, железнодорожной станции стыкования) или нейтральной вставки (стык железнодорожной станции с тяговой подстанцией переменного тока и перегона) должны быть включены секционные разъединители, шунтирующие изолирующее сопряжение или нейтральную вставку.
При работах со сплошной сменой рельсов на стыке железнодорожной станции и перегона должно быть предусмотрено снятие напряжения с того станционного пути, контактная подвеска которого анкеруется на опоре ремонтируемого пути.
Снятие напряжения с контактной сети, ВЛ и связанных с ними устройств при восстановительных работах, тушении пожара осуществляется в порядке, предусмотренном
разделами XIV и
XVI Правил.
2.5. Начальник района контактной сети (района электроснабжения) на основании заявки руководителя путевых работ назначает ответственного за электробезопасность в части контактной сети и ВЛ (далее - представитель дистанции электроснабжения), фамилию которого заблаговременно сообщает энергодиспетчеру и руководителю работ. Обеспечение места работ, выполнение организационно-технических мероприятий во время работ и после их окончания производятся в соответствии с
Правилами 103. Подготовка рабочего места для выполнения путевых работ производится по наряду, выданному на представителя дистанции электроснабжения, являющегося работником района контактной сети, не ниже IV группы по электробезопасности. Вторым лицом в наряде для установки или снятия заземляющих штанг может быть представитель дистанции пути или представитель путевой машинной станции (не ниже III группы по электробезопасности в электроустановках до и выше 1 000 В).
Представитель дистанции электроснабжения осуществляет наблюдение за выполнением работающими требований электробезопасности (исключая надзор за электроустановками путевых машин и механизмов). Его указания по вопросам электробезопасности являются обязательными для руководителя работ.
В работах, связанных с устройствами СЦБ, должен принимать участие электромеханик СЦБ, указания которого в части этих устройств обязательны для руководителя работ.
При работах в "окно" работникам дистанции электроснабжения в телеграмме должно быть предоставлено необходимое время для оперативных переключений, для выполнения мероприятий по обеспечению электробезопасности при допуске персонала к производству путевых или других работ, а также для выполнения мероприятий по окончании работ работниками дистанции пути, путевой машинной станции по подключению заземлений опор контактной сети. Кроме того, работникам дистанции электроснабжения в случае необходимости должно быть предоставлено время на регулировку контактной подвески.
2.6. Представитель дистанции электроснабжения по прибытии на место работ связывается с энергодиспетчером, получает от него приказ, разрешающий производство работ и заземление контактной сети (ВЛ), в соответствии с настоящими Правилами, а также
Правилами 103.
Не допускается производить работы при отсутствии или перерыве связи между местом работы и энергодиспетчером, диспетчером поездным.
2.7. После установки заземления представитель дистанции электроснабжения дает руководителю работ письменное разрешение
(приложение N 3) приступить к работе с указанием номера приказа энергодиспетчера, даты и времени начала и окончания работ. Копию разрешения с подписью руководителя работ представитель дистанции электроснабжения оставляет у себя.
2.8. Приступать к работам разрешается только по указанию руководителя работ после получения им письменного разрешения от представителя дистанции электроснабжения.
2.9. По окончании работ руководитель работ обязан лично или по докладам подчиненных ему работников убедиться в том, что люди удалены от частей контактной сети на расстояние более 2 м, рельсовый путь исправен и обеспечена целостность рельсовой цепи для пропуска тягового тока, заземления опор контактной сети восстановлены, дроссель-трансформаторы подключены, путевые машины приведены в транспортное положение, механизмы сняты, после чего он должен отметить время окончания работ на письменном уведомлении
(приложение N 3), находящемся у представителя дистанции электроснабжения.
При этом по окончании работ представитель дистанции электроснабжения, убедившись у руководителя работ и получив письменное уведомление от него о том, что люди находятся на безопасном расстоянии, снимает заземляющие штанги и дает уведомление энергодиспетчеру об окончании работ. После снятия заземляющих штанг контактная сеть (ВЛ) считается находящейся под напряжением и приближаться к ней ближе 2 м запрещается.
2.10. Запрещаются работы по замене проводов, кабелей, пересекающих контактную сеть, без снятия напряжения с контактной сети и ее заземления, кроме случаев применения в электроустановках напряжением 220 кВ и выше технологий ремонта, исключающих приближение заменяемого провода (троса) к проводам пересекаемых ВЛ (контактной сети), находящимся под напряжением на расстояние менее допустимых (
п. 38.42 ПОТЭУ).
2.11. Работы на опорах, крышах, подвижном составе и других устройствах и сооружениях, расположенных на расстоянии от 2 до 4 м от частей контактной сети и ВЛ, находящихся под напряжением, могут производиться электротехническим персоналом с группой по электробезопасности не ниже II без снятия напряжения и заземления контактной сети и ВЛ.
Работы, выполняемые неэлектротехническим персоналом на расстоянии от 2 до 4 м, должны производиться под непрерывным надзором специально выделенного и проинструктированного руководителем работ лица. К таким работам относятся монтажные, малярные, штукатурные, каменные, кровельные и другие строительные работы. При этом у работающих должна быть I группа по электробезопасности, у наблюдающего - не ниже III.
2.12. Работники подразделений ОАО "РЖД" неэлектротехнических профессий, работающие на грузоподъемной технике в охранной зоне контактной сети и ВЛ, должны иметь группу по электробезопасности не ниже II (водители автокранов, кранов на гусеничном ходу, машинисты кранов на рельсовом ходу и их помощники, кранооператоры, машинисты путевых машин и их помощники, машинисты путеукладочных кранов, бурильщики, помощники водителей дрезин, помощники машинистов мотовозов, автомотрис).
Водители дрезин, машинисты мотовозов, автомотрис должны иметь группу по электробезопасности III.
2.13. Разъединители контактной сети электродепо, экипировочных устройств, путей осмотра крышевого оборудования ЭПС переключает персонал служб локомотивного хозяйства без приказа энергодиспетчера в установленном заместителем начальника железной дороги по региону порядке. Проверка знаний по электробезопасности и предоставление права оперативных переключений проводится в комиссии локомотивного депо.
Дежурным по железнодорожной станции право переключения дистанционно управляемых разъединителей контактной сети, ВЛ выше 1 000 В основного и резервного питания сигналов автоблокировки по приказу энергодиспетчера может быть предоставлено комиссией соответствующего подразделения дирекции управления движением после обучения порядку и мерам безопасности при переключении разъединителей. Обучение и дублирование проводит руководитель подразделения (старший электромеханик) района контактной сети, района электроснабжения, ремонтно-ревизионного участка дистанции электроснабжения, в обслуживании которых находится привод разъединителя. Этот же руководитель подразделения (старший электромеханик) должен быть и в составе комиссии по проверке знаний по электробезопасности. Члены комиссии по проверке знаний должны быть аттестованы и иметь соответствующую группу по электробезопасности в соответствии со стандартом ОАО "РЖД" "Система управления охраной труда в ОАО "РЖД". Электрическая безопасность Общие положения", утвержденным распоряжением ОАО "РЖД" от 31 декабря 2015 г. N 3182р.
Состав комиссии по проверке знаний по электробезопасности у дежурных по железнодорожной станции:
а) руководитель подразделения (центра организации работы железнодорожных станций, железнодорожной станции) дирекции управления движением, где работает работник (председатель);
б) специалист по охране труда структурного подразделения дирекции управления движением;
в) уполномоченный по охране труда или профгруппорг подразделения дирекции управления движением, где работает дежурный по железнодорожной станции;
г) руководитель (старший электромеханик) линейного подразделения дистанции электроснабжения (района контактной сети, района электроснабжения, ремонтно-ревизионного участка), в обслуживании которых находятся приводы разъединителей.
Проверка знаний в объеме дистанционного переключения разъединителей и присвоение группы по электробезопасности оформляются ежегодно записью в
журнале формы ЭУ-39, который ведет специалист по охране труда подразделения дирекции управления движением, персонал которого будет выполнять переключения. Дежурные по железнодорожной станции, которым предоставляется право переключения дистанционно управляемых разъединителей, должны иметь 3 группу по электробезопасности.
Список работников, имеющих право переключения разъединителей, составляется ответственным за электрохозяйство подразделения дирекции управления движением в двух экземплярах и направляется ежегодно в январе на утверждение ответственному за электрохозяйство дирекции инфраструктуры. После проверки знаний вновь назначенных дежурных по железнодорожной станции или при увольнении указанного персонала дирекция управления движением должна вносить изменения и дополнения в список в установленном порядке. После утверждения списка дежурных по железнодорожной станции, имеющих право переключения разъединителей, дирекция инфраструктуры направляет списки в службу электрификации и электроснабжения и в дирекцию управления движением. Списки должны находиться у энергодиспетчера, в районе контактной сети и в каждом подразделении дирекции управления движением, персонал которого получил право на производство переключений.
III. Меры электробезопасности при производстве путевых работ
3.1. Все путевые работы руководитель работ должен организовать так, чтобы исключалась возможность приближения рабочих и применяемых ими приспособлений на расстояние менее 2 м к находящимся под напряжением и не огражденным проводам или частям контактной сети и ВЛ.
Организация и безопасное выполнение работ осуществляются в соответствии с
разделом II Правил.
Перечень путевых работ, требующих согласования с руководителем дистанции электроснабжения или района контактной сети, приведен в
приложении N 4.
3.2. При производстве путевых работ без снятия напряжения с контактной сети необходимо принять меры, исключающие нарушение цепи протекания по рельсам обратного тягового тока.
При разгонке зазоров с разрывом рельсовой колеи в местах разрывов работниками путевого хозяйства должны быть предварительно поставлены и надежно закреплены временные перемычки из медного провода, позволяющие раздвинуть рельсы в стыке не менее чем на 200 мм. Здесь и далее во всех случаях, кроме отдельно оговоренных, сечение временных перемычек в медном эквиваленте должно быть не менее 50 мм2 при переменном токе и 120 мм2 при постоянном токе. Места закрепления перемычек к подошве рельсов должны быть зачищены.
При смене шпал в местах расположения изолирующих стыков не должно нарушаться соединение дроссель-трансформаторов с рельсами, а также других проводов, присоединенных к рельсам.
Допускается открепление работниками службы пути перемычек дросселей-трансформаторов от сменяемых шпал с последующим прикреплением их к вновь уложенным шпалам.
3.3. При одиночной смене шпал и других путевых работах заземляющие проводники, соединительные провода, междупутные перемычки, перемычки дроссель-трансформаторов, путевых коробок, рельсовых цепей должны отводиться работниками путевого хозяйства в сторону без отсоединения их от рельсов и без повреждения.
После выполнения работ, отводимые заземляющие и соединительные провода и перемычки должны быть прикреплены к шпалам так, чтобы исключалась возможность касания их с соседними рельсами.
3.4. Работникам путевого хозяйства запрещается отключать от рельсов провода рабочих заземлений, отключать от рельса перемычки ДТ.
Смену рельсов, к которым подключена отсасывающая линия или другое рабочее заземление, разрешается производить только с отключением соответствующей электроустановки и под наблюдением представителя дистанции электроснабжения, а при замене ДТ - и электромеханика СЦБ. При подключении отсасывающей линии или рабочего заземления к дополнительному (третьему) ДТ присутствие электромеханика СЦБ не обязательно. Все отсоединения и подключения отсасывающих линий и других рабочих заземлений выполняются работниками дистанции электроснабжения, а отключение и присоединение к рельсу перемычек от ДТ и к самим ДТ выполняются электромехаником СЦБ.
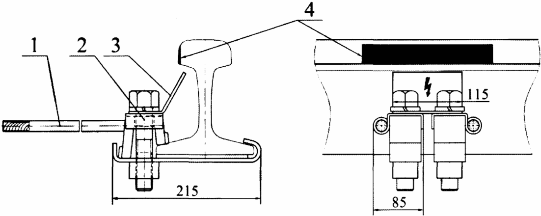
Провода рабочих заземлений в местах их присоединения к рельсу обозначают установкой специального зажима и знака-указателя "Опасно. Высокое напряжение" с изображенной на нем стрелой красного цвета
(рисунок 2), предупреждающего персонал о недопустимости ошибочных отключений рабочего заземления.
1 - провод рабочего заземления; 2 - зажим заземления;
3 - знак-указатель "Опасность поражения электрическим
током"; 4 - полоса красного цвета
Рисунок 2 - Знак-указатель "Опасность поражения
электрическим током" и зажим, присоединяющий провода
рабочего заземления к рельсу (пример)
Кроме того, с внешней стороны головки каждого рельса в месте подключения к нему рабочего заземления или перемычки от ДТ, к которому подключено рабочее заземление, работниками путевого хозяйства должна быть нанесена полоса красной краской на всю высоту головки рельса и длиной не менее 20 см.
В дистанции пути, путевой машинной станции, дистанции СЦБ, в восстановительном поезде должен быть перечень рабочих заземлений участка с привязкой к пикетажу.
3.5. В путевых машинных станциях и дистанциях пути, в дистанции СЦБ, в восстановительных поездах на схемах обслуживаемого участка железной дороги должны быть нанесены точные места пересечения электрифицированных железнодорожных путей всеми кабельными линиями с указанием глубины прокладки. Кроме того, должны быть также нанесены кабели, уложенные в полосе отвода. Руководитель работ при проведении целевого инструктажа работающих должен определить меры, исключающие повреждение кабелей машинами или инструментом.
В соответствии с
пунктом 2.3.24 ПУЭ, на трассе кабельной линии, проложенной в незастроенной местности, в местах изменения направления трассы должны быть установлены опознавательные знаки. Перед производством путевых работ кабели дистанции электроснабжения и кабели СЦБ необходимо отшурфовать для контрольной проверки глубины их залегания и расположения трассы прокладки. Шурфование кабелей производят работники путевого хозяйства под наблюдением представителей дистанции электроснабжения или дистанции СЦБ.
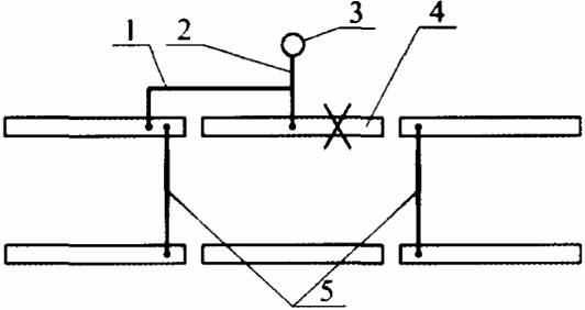
3.6. При одиночной смене рельсов без снятия напряжения с контактной сети одновременная смена рельсов на обеих рельсовых нитях запрещается. Перед сменой рельсов, соседних с заменяемым, работниками путевого хозяйства должны быть установлены две временные поперечные перемычки
(рисунок 3).
1 - заменяемый рельс; 2 - временные поперечные перемычки
Рисунок 3 - Схема установки временных поперечных перемычек
при смене рельса на электрифицированном участке
Смена рельсов, к которым подсоединены устройства СЦБ (дроссель-трансформаторы, путевые коробки, рельсовые педали), должна производиться при участии электромеханика СЦБ.
Перед сменой рельса в изолирующем стыке работники путевого хозяйства должны уложить и закрепить временную поперечную перемычку на остающихся в пути рельсах с той стороны изолирующего стыка, с которой расположен заменяемый рельс, а электромеханик СЦБ должен с той же стороны средний вывод дроссель-трансформатора соединить временной перемычкой с рельсом, не подлежащим замене (
рисунок 4, а).
1 - изолирующий стык; 2 - временная перемычка, соединяющая
средний вывод дросселя с рельсом; 3 - заменяемый рельс;
4 - временная поперечная перемычка; 5 - временная перемычка,
замыкающая изолирующий стык; 6 - косой тяговый джемпер
Рисунок 4 - Схемы установки временных перемычек при смене
рельса в изолирующем стыке на электрифицированном участке
с дроссель-трансформатором (а) и с косым тяговым
джемпером (б)
Перед сменой рельса в изолирующем стыке, где установлен косой тяговый джемпер, работниками путевого хозяйства должны быть уложены и закреплены временная поперечная перемычка на остающихся в пути рельсах с той стороны изолирующего стыка, с которой расположен заменяемый рельс, и временная перемычка, замыкающая изолирующий стык (
рисунок 4, б).
Перемычки доставляются на место работ работниками путевого хозяйства. Снятие перемычек разрешается только по окончании смены рельса после того, когда он сболчен в стыках, установлены электротяговые соединители и восстановлены заземления устройств контактной сети и СЦБ.
Отсоединение от рельсов, а также восстановление ранее снятого или нарушенного заземления опор контактной сети или других сооружений, заземленных на рельс, при наличии напряжения в контактной сети запрещается.
Если при одиночной смене рельса без снятия напряжения с контактной сети нужно снять закрепленное на нем защитное заземление опоры контактной сети, в том числе привода разъединителя, разрядника, то работникам путевого хозяйства необходимо предварительно надежно соединить дублирующей перемычкой заземление опоры с оставшимся в пути рельсом той же нити.
В качестве дублирующей перемычки на участках постоянного и переменного тока может использоваться провод сечением не менее 50 мм2 в медном эквиваленте.
Перед сменой рельса работникам путевого хозяйства необходимо установить 2 временные поперечные перемычки между рельсовыми нитями
(рисунок 5), после чего заземление опоры работниками путевого хозяйства может быть снято.
1 - дублирующая перемычка; 2 - заземление опоры;
3 - опора контактной сети; 4 - заменяемый рельс;
5 - временные поперечные перемычки
Рисунок 5 - Схема установки дублирующей и временных
поперечных перемычек перед снятием заземлений опор
контактной сети с заменяемого рельса
на электрифицированном участке
Снятие дублирующей перемычки разрешается только после смены рельса, сболчивания его в стыках, установки электротяговых соединителей и закрепления заземления на замененном рельсе.
3.7. При обнаружении нарушения целостности рабочего заземления, об этом необходимо немедленно сообщить энергодиспетчеру, а место повреждения оградить так, чтобы до прибытия работников дистанции электроснабжения никто не приближался к проводам рабочих заземлений ближе 8 м.
При обнаружении изломанного рельса, примыкающего к дроссель-трансформатору, к которому подключена отсасывающая линия или другое рабочее заземление, или если к изломанному рельсу подключено рабочее заземление, руководитель путевых работ должен сообщить об этом дежурному по железнодорожной станции, диспетчеру поездному, диспетчеру дистанции СЦБ, энергодиспетчеру.
Прибывший представитель дистанции электроснабжения организует отключение соответствующих электроустановок, затем отключает рабочее заземление от дроссель-трансформатора или рельса, а после смены работниками путевого хозяйства рельса подключает рабочее заземление, отсос на прежнее место.
Если к лопнувшему рельсу подключен ДТ или косой тяговый джемпер и отсутствует подключение рабочего заземления, то прибывший на место повреждения электромеханик СЦБ должен отключить ДТ или косой тяговый джемпер. После смены работниками путевого хозяйства лопнувшего рельса электромеханик дистанции СЦБ должен подключить перемычки ДТ или косой тяговый джемпер на прежнее место.
3.8. При работах по сплошной смене рельсов, в том числе и на путях железнодорожной станции, напряжение с контактной сети в пределах фронта путевых работ должно быть снято, и контактная сеть заземлена представителем дистанции электроснабжения посредством установки основных заземляющих штанг, предварительно присоединенных к рельсам. Допускается присоединение дополнительных заземляющих штанг, расположенных в пределах фронта работ, к специальным заземлителям, заглубленным в земляное полотно на глубину не менее 1 м на расстоянии не менее 2 м от крайнего к обочине рельса. Зажим заземляющей штанги можно присоединять или отсоединять от рельса (опоры, спуска), специального заземлителя, только если штанга лежит на земле.
В местах установки основных штанг рельсы соединяются между собой поперечными перемычками, которые устанавливаются и снимаются работниками путевого хозяйства.
Если на опорах контактной сети в пределах фронта путевых работ подвешены провода питающей или усиливающей линий, провода системы ДПР, ВЛ напряжением выше 1 кВ, то представитель дистанции электроснабжения вначале подключает к рельсу дополнительный трос длиной не более 200 м сечением не менее 70 мм2 (провода АС-70, ПБСМ-70), прокладываемого с полевой стороны по земле. По указанию представителя дистанции электроснабжения работники путевого хозяйства вначале присоединяют заземления опор к дополнительному тросу, а затем отключают заземляющие проводники от рельсов.
Трос отключается от заземляющих проводников опор после их присоединения к рельсу по окончании путевых работ. Подключение троса к тяговому рельсу и отключение его от рельса выполняется работниками района контактной сети.
В случае снятия напряжения с перечисленных в настоящем пункте проводов, подвешенных на опорах контактной сети ремонтируемого пути, заземление опор посредством дополнительного троса не производится и эти провода не заземляются, если по условиям выполнения путевых работ к ним не требуется приближаться на расстояние ближе 2 м.
Ближайшие с обеих сторон от места работ междупутные соединительные перемычки между рельсами ремонтируемого и действующего путей отключаются работниками дистанции СЦБ.
При работах со сплошной сменой рельсов заземление контактной сети постоянного и переменного тока после снятия напряжения производится:
а) при постоянном токе - заземляющие штанги должны быть установлены по обе стороны от места работ в пределах видимости, но не далее 300 м от начала и конца фронта работ
(рисунок 6);
б) при переменном токе - основные заземляющие штанги должны быть установлены по обе стороны от места работ, но не далее 200 м от него. Кроме того, для снятия наведенного напряжения с отключенной контактной подвески по фронту работ устанавливаются дополнительные заземляющие штанги так, чтобы каждый разрыв рельсовой нити находился между заземляющими штангами, расположенными друг от друга не далее 200 м
(рисунок 7).
1 - поперечные перемычки; 2 - заземляющие штанги;
3 - контактная сеть; 4 - рельсы
Рисунок 6 - Схема заземления контактной сети при работах
со сплошной сменой рельсов на участках постоянного тока
1 - основные заземляющие штанги (в начале и в конце
фронта работ); 2 - дополнительные заземляющие штанги;
3 - контактная сеть; 4 - рельсы; 5 - поперечные перемычки
Рисунок 7 - Схема заземления контактной сети при работах
со сплошной сменой рельсов на участках переменного тока
и одиночных разрывах в рельсовых нитях
По мере укладки новых рельсов заземляющие дополнительные штанги переставляются на вновь уложенные рельсы. Окончательно снимать их можно только после ликвидации разрывов рельсовых нитей между ними и при установленных основных штангах в начале и конце фронта работ.
Основные заземляющие штанги (в начале и конце фронта работ) снимаются после окончания работ, сболчивания всех стыков, восстановления заземлений опор контактной сети и других сооружений и после снятия дополнительных штанг.
Запрещается снимать основные заземляющие штанги до снятия всех установленных по фронту работы дополнительных заземляющих штанг.
При наличии разрывов в рельсовых нитях по всему фронту работ на участке переменного тока дополнительные заземляющие штанги устанавливаются по всему фронту работ на расстоянии не более 200 м друг от друга
(рисунок 8).
1 - основные заземляющие штанги (в начале и в конце
фронта работ); 2 - дополнительные заземляющие штанги;
3 - контактная сеть; 4 - рельсы; 5 - поперечные перемычки
Рисунок 8 - Схема заземления контактной сети при работах
со сплошной сменой рельсов на участках переменного тока
и наличия разрывов рельсовых нитей
3.9. При работах со сплошной сменой рельсов в зоне изолирующего сопряжения или нейтральной вставки на каждую сопрягаемую контактную подвеску устанавливается по одной заземляющей штанге при наличии предварительно включенного шунтирующего разъединителя, по две - при отсутствии шунтирующего разъединителя (
рисунки 9 и
10). Две соседние заземляющие штанги присоединяются к одному и тому же рельсу.
При работах со сплошной сменой рельсов на стыке контактной сети железнодорожной станции и перегона, а также на станциях стыкования, напряжение снимается с соответствующих путей перегона и секций железнодорожной станции.
1 - контактная сеть; 2 - шунтирующий разъединитель;
3 - воздушный промежуток; 4 - заземляющие штанги;
5 - рельсы; 6 - поперечная перемычка
Рисунок 9 - Схема заземления контактной сети на изолирующем
сопряжении при работах со сплошной сменой рельсов
1 - контактная сеть; 2 - шунтирующий разъединитель;
3 - воздушный промежуток; 4 - заземляющие штанги;
5 - рельсы; 6 - поперечная перемычка
Рисунок 10 - Схема заземления контактной сети на изолирующих
сопряжениях нейтральной вставки при работах со сплошной
сменой рельсов на участках переменного тока
Обеспечение электробезопасности при выполнении работ
по технологии "закрытого перегона"
3.10. При проведении капитального ремонта пути по технологии "закрытого перегона" производится замена рельсов, железобетонных шпал, корректировка и обновление балластной призмы, замена балласта, ликвидация негабаритных мест. При этом к работам, требующим снятия напряжения с проводов контактной подвески, ВЛ относятся рихтовка пути более, чем на 2 см, подъемка пути более, чем на 6 см, работы, связанные с нарушением габарита опор, проводов контактной подвески.
Проект производства работ (далее - ППР) должен быть разработан дистанцией пути (путевой машинной станцией) порядком, установленным Дирекцией по ремонту пути, и согласован с причастными подразделениями дирекций. Дистанция электроснабжения должна представить в дистанции пути (путевой машинной станции) перечень рабочих заземлений на ремонтируемом участке с указанием км и ПК. С целью обеспечения электробезопасности и исключения нарушений работы рельсовых цепей, места и способ установки заземлений по фронту работ должны быть согласованы с дистанцией СЦБ. Доставка заземлений, искусственных заземлителей к местам установки по фронту работ, погружение на глубину не менее 1 м в земляное полотно производятся работниками дистанции пути (путевой машинной станции) под наблюдением представителя дистанции электроснабжения.
3.11. Перед началом работ персонал дистанции электроснабжения должен произвести осмотр устройств электроснабжения по фронту работ, выявить места возможного приближения к проводам ВЛ на опоре контактной сети ближе 2 м при работе путевых машин, последующей регулировки контактной подвески после выправки пути. Обратить особое внимание на анкеровки, прохождение шлейфов КТПО, разъединителей, наличие опасных мест, рабочих заземлений.
Рабочее место при выполнении работ по технологии "закрытого перегона" должно быть подготовлено перед началом выполнения работ. Допуск к работе персонала дистанции пути (путевой машинной станции) и работу по регулировке контактной подвески следует выполнять по двум различным нарядам, выписанным на разных производителей работ. При работе одновременно двух бригад из работников района контактной сети (по обеспечению работ дистанции пути (путевой машинной станции) и регулировке контактной подвески) должен быть назначен ответственный руководитель работ. Ответственным руководителем по обоим нарядам может быть производитель работ бригады района контактной сети, осуществляющей регулировку контактной подвески, который наряду с энергодиспетчером несет ответственность за подачу напряжения в контактную сеть после окончания работы.
3.12. С целью обеспечения электробезопасности персонала, качественного надзора за работой дистанции пути (путевой машинной станции), соблюдения режима труда и отдыха следует обеспечить сменный режим работы производителей работ и бригад дистанций электроснабжения. Порядок доставки бригад должен быть предусмотрен в проекте производства работ (ППР).
Передача обязанностей по обеспечению электробезопасности персонала дистанции пути (путевой машинной станции) и регулировке контактной подвески при передаче смены должна быть оформлена выпиской новых нарядов каждой бригаде с соблюдением требований
пункта 3.11. Сдающие смену производители работ должны информировать выдающего наряды об имевших место изменениях для внесения в наряды-допуски для заступающей смены.
3.13. Снятие заземляющих штанг при передаче смены другому производителю работ, ответственному руководителю работ не требуется, передача смены осуществляется после проверки обоими производителями работ (сдающего и принимающего смену) наличия установленных в соответствии с требованиями наряда заземляющих штанг и уведомления энергодиспетчера об окончании работы одними бригадами и передаче обязанностей другим бригадам по обеспечению электробезопасности персонала дистанции пути (путевой машинной станции) и регулировке контактной сети.
3.14. Сдающий смену производитель работ должен расписаться за подготовку рабочего места в выписанном на принимающего смену производителя работ наряде-допуске в таблице "рабочее место подготовлено", он должен провести заступающей на смену бригаде целевой инструктаж по имевшим место изменениям в процессе выполнения работы, после чего члены бригады расписываются в столбце таблицы "С характером работ ознакомлен, целевой инструктаж от производителя работ получил". Срок действия наряда-допуска в соответствии с требованиями
Правил 103 должен быть не более 5 суток. Если в процессе выполнения работ меняется состав бригады: производитель работ, ответственный руководитель, члены бригады (более чем на 50%) необходимо оформлять новый наряд-допуск.
3.15. Принимающий смену производитель работ расписывается во втором столбце таблицы "рабочее место подготовлено" своего наряда-допуска, инструктирует бригаду по технологии выполнения работы, доводит до сведения членов бригады объем предстоящей работы, распределяет обязанности, указывает, на что обратить внимание и меры безопасности. Целевой инструктаж от принявшего смену производителя работ завершается росписью членов бригады в столбце таблицы наряда-допуска "С характером работ ознакомлен, целевой инструктаж от производителя работ получил".
3.16. В начале и конце фронта работы работники дистанции пути (путевой машинной станции) должны установить поперечные перемычки, после чего представители дистанции электроснабжения устанавливают по 2 подсоединенные к рельсу заземляющие штанги, по фронту работы заземляющие штанги должны располагаться на расстоянии не более 200 м друг от друга, находиться не в габарите подвижного состава.
Ответственность за установку и снятие заземляющих штанг возлагается на представителя дистанции электроснабжения, который после получения приказа от энергодиспетчера о снятии напряжения заземляет контактную сеть по фронту работ и выдает на месте руководителю путевых работ письменное
разрешение на производство работ, оформленное на бланке ЭУ-57 (приложение N 3).
3.17. После окончания работ руководитель путевых работ, убедившись, что все рельсовые стыки сболчены, установлены перемычки дроссель-трансформаторов (по докладу электромеханика дистанции СЦБ), защитные заземления опор контактной сети и других сооружений восстановлены, путевые машины приведены в транспортное положение, люди удалены с ферм машин и открытых площадок, отмечает время окончания работ на письменном уведомлении
(приложение N 3), находящемся у представителя дистанции электроснабжения.
3.18. Основные заземляющие штанги (в начале и в конце фронта работ) снимаются последними и только после отметки об окончании работ. После снятия этих штанг контактная сеть считается находящейся под напряжением и приближение к ней работающих, имеющихся у них предметов и инструмента ближе 2 м не разрешается.
3.19. Для переноски штанг, присоединения и отсоединения их от рельсов по фронту работ и для других подсобных работ, связанных с демонтажем и восстановлением заземлений опор контактной сети при путевых работах, в том числе для раскатки и подсоединения к рельсу дополнительного троса длиной не более 200 м для временного заземления опор контактной сети, должны выделяться работники подразделения, выполняющие путевые работы. Для этих целей в путевых машинных станциях и дистанциях пути выделяются монтеры пути (электротехнологический персонал с III группой по электробезопасности). Перед началом работы представитель дистанции электроснабжения проводит целевой инструктаж монтеров пути непосредственно на рабочем месте.
3.20. Представитель дистанции электроснабжения и заземляющие штанги доставляются на место работ и увозятся с места работы транспортом подразделений, для которых снимается напряжение.
IV. Обеспечение электробезопасности при сплошной смене
рельсов на участках переменного тока с усиливающим
и экранирующим (обратным) проводами в месте установки
дроссель-трансформатора, к которому подключено
рабочее заземление
4.1. При сплошной смене рельсов с применением путеукладочных кранов напряжение с контактной подвески и всех других проводов, подвешенных на опорах контактной сети ремонтируемого пути, должно быть снято и все провода заземлены.
При наличии разрывов в рельсовых нитях по всему фронту работ на участке переменного тока основные и дополнительные переносные заземляющие штанги устанавливаются на отключенную контактную подвеску по всему фронту работ на расстоянии не более 200 м друг от друга.
Усиливающий и экранирующий провода заземлять не требуется.
Если расстояние от машиниста путеукладочного крана до экранирующего провода менее 2 м, то для защиты машиниста крана от наведенного напряжения экранирующий провод должен быть заземлен так же, как и контактная подвеска - установкой на экранирующий провод основных и дополнительных заземляющих штанг через 200 м.
4.2. Перед началом путевых работ отключение рабочего заземления от средней точки ДТ на месте работ должно производиться представителем дистанции электроснабжения после заземления отключенной контактной подвески ремонтируемого пути в следующей последовательности:
а) отключается электроустановка, имеющая это рабочее заземление на месте путевых работ: тяговая подстанция отключается по распределительным устройствам 27,5 или 2 x 25 кВ или же тяговая подстанция может быть оставлена работающей с переводом ее в режим поста секционирования; отключается от контактной сети на месте работ АТП, ПС, ППС, ПГП, ППП, отключается КТП от проводов системы ДПР;
б) к рабочему заземлению отключенной электроустановки - спуску отсасывающей линии тяговой подстанции, АТП, заземлению ПС, ППС, ПГП, ППП, КТП системы ДПР подключается заземляющий башмак лежащей на земле переносной заземляющей штанги. Затем эта заземляющая штанга устанавливается представителем дистанции электроснабжения на уже заземленную контактную подвеску ремонтируемого пути.
Запрещается подключать к рабочему заземлению заземляющий башмак лежащей на земле переносной заземляющей штанги при еще незаземленной контактной подвеске ремонтируемого пути.
Переносная шунтирующая штанга подсоединяется одним зажимом к средней точке ДТ, а вторым зажимом - к рабочему заземлению, то есть параллельно месту отключения рабочего заземления от ДТ.
Представитель дистанции электроснабжения, стоя на диэлектрическом ковре в диэлектрических перчатках, отсоединяет рабочее заземление от средней точки ДТ (спуск отсасывающей линии тяговой подстанции, спуск АТП, заземление ПС, ППС, ПГП, ППП, КТП системы ДПР) и затем отключает оба зажима переносной шунтирующей штанги. Отключенное рабочее заземление ранее отключенной электроустановки остается на все время путевых работ заземленным на контактную подвеску.
Если же рядом с ремонтируемым путем двухпутного или многопутного электрифицированного участка нет опоры со спуском отсасывающей линии тяговой подстанции, то заземлять междупутную перемычку на заземленную контактную подвеску не требуется, так как отсасывающая линия тяговой подстанции остается стационарно заземленной на рельсы действующего пути.
Представитель дистанции электроснабжения подключает переносную шунтирующую штангу одним зажимом к средней точке ДТ, а вторым зажимом - к междупутной перемычке, после чего в диэлектрических перчатках отключает междупутную перемычку от средней точки ДТ.
По команде представителя дистанции электроснабжения представитель дистанции СЦБ отключает от рельсов перемычки ДТ.
Представитель дистанции электроснабжения дает руководителю путевых работ письменное разрешение приступить к работе с указанием номера приказа энергодиспетчера, даты и времени начала и окончания работ. Копию разрешения с подписью руководителя путевых работ представитель дистанции электроснабжения оставляет у себя.
4.3. После окончания путевых работ подключение рабочего заземления к средней точке ДТ производится при заземленной контактной подвеске ремонтируемого пути представителем дистанции электроснабжения в обратной последовательности следующим образом:
а) по командам представителя дистанции электроснабжения и руководителя путевых работ представитель дистанции СЦБ подключает к вновь уложенным рельсам перемычки ДТ;
б) подключается переносная шунтирующая штанга одним зажимом к средней точке ДТ, а вторым зажимом - к рабочему заземлению, то есть параллельно месту подключения рабочего заземления к средней точке ДТ;
в) представитель дистанции электроснабжения, стоя на диэлектрическом ковре в диэлектрических перчатках, подсоединяет рабочее заземление к средней точке ДТ (спуск отсасывающей линии тяговой подстанции, спуск АТП, заземление ПС, ППС, ПГП, ППП, КТП системы ДПР) и затем отключает переносную шунтирующую штангу;
г) снимается переносная заземляющая штанга с контактной подвески и кладется на землю, затем заземляющий башмак лежащей на земле заземляющей штанги отключается от рабочего заземления.
V. Смена стрелочных переводов с применением дрезин
5.1. Смена стрелочных переводов с применением дрезин, мотовозов, автомотрис (типа АРМУ, ДГКУ, МПТ, АГД), имеющих перемещение стрелы только в горизонтальной плоскости или кинематически ограниченный подъем стрелы в пределах габарита железнодорожного подвижного состава по высоте 5 300 мм над уровнем верха головки рельса, может производиться без снятия напряжения с контактной сети при высоте подвески контактного провода над уровнем верха головки рельса не ниже 5 750 мм.
5.2. Для пропуска обратного тягового тока и обеспечения безопасности при смене одного из крайних (входного или выходного, пути примыкания) стрелочных переводов на любой железнодорожной станции однопутного (
рисунок 11, а) или двухпутного (
рисунок 11, б) электрифицированного участка перед разборкой стрелочного перевода работниками пути должна быть установлена временная продольная перемычка параллельно разрыву рельсового пути (
рисунок 12, а). Перемычка должна быть из медного провода сечением не менее 100 мм
2 на участках переменного тока и не менее 240 мм
2 - на участках постоянного тока.
Рисунок 11 - Смена крайних (входных или выходных, путей
примыкания) стрелочных переводов на электрифицированных
однопутных (а) и двухпутных (б) участках (кружком обведены
сменяемые входные или выходные стрелочные переводы)
1 - электрифицированные пути; 2 - сменяемый стрелочный
перевод; 3 - устанавливаемая временная продольная перемычка
из медного провода (а) или заранее уложенные и скрепленные
типовыми накладками рельсы (б); 4 - крюковые болты
или струбцины
Рисунок 12 - Схема установки временных продольных перемычек
(а - из медного провода; б - из заранее уложенных
и скрепленных типовыми накладками рельсов) при смене
одного из крайних стрелочных переводов
Вместо указанной перемычки можно использовать заранее уложенные и скрепленные типовыми накладками рельсы Р50, Р65, соединенные с обоими целыми рельсами ремонтируемого пути поперечными перемычками указанного выше сечения (
рисунок 12, б). Вместо типовых накладок могут применяться дублирующие соединители того же сечения, что и временная продольная перемычка.
Перемычки (продольная или поперечная) надежно закрепляются струбцинами (или двумя крюковыми болтами к каждому рельсу) к подошвам обоих рельсов ремонтируемого пути.
5.3. Заземляющие проводники опор контактной сети, находящиеся на фронте работ, вначале присоединяются непосредственно или с помощью дублирующей перемычки (
пункт 3.6 Правил) к временной продольной перемычке (рельсу), а затем отсоединяются от сменяемых рельсов. После сболчивания всех рельсовых стыков стрелочного перевода заземляющие проводники присоединяются к вновь уложенным рельсам и только после этого отсоединяются от временной перемычки и снимаются.
5.4. При смене стрелочных переводов на тупиковых электрифицированных путях (тупиковые пути к пассажирским платформам, погрузочно-выгрузочные пути и т.п.) для обеспечения безопасности работающих следует либо снять напряжение с контактной сети ремонтируемых путей (если к ним не подключено еще несколько контактных подвесок), либо установить, как указано выше (
пункт 5.3 Правил), продольную перемычку и выполнять работы без снятия напряжения.
При этом контактную сеть ремонтируемых путей заземлять не требуется, приближаться к контактным подвескам ближе 2 м запрещается.
При смене всех остальных стрелочных переводов (кроме крайних) без снятия напряжения с контактной сети установка временной продольной перемычки не требуется, так как возникающий разрыв в рельсовом пути всегда замыкается другими электрифицированными путями железнодорожной станции.
5.5. При производстве работ по смене стрелочных переводов одновременно по двум главным путям на железнодорожной станции с тяговой подстанцией, когда появляется разрыв в рельсах обоих главных путей, не замкнутый тяговыми рельсами других путей железнодорожной станции, все питающие фидеры контактной сети на тяговой подстанции должны быть отключены. При этом питание ЭПС на соседних перегонах осуществляется от смежных тяговых подстанций. Напряжение с контактных подвесок обоих главных путей должно быть снято, и контактные подвески заземлены со всех сторон сходящихся путей (
пункт 6.2 Правил).
Если на железнодорожной станции нет тяговой подстанции, напряжение должно быть снято с контактных подвесок главных путей, и контактные подвески заземлены со всех сторон сходящихся путей (
пункт 6.2 Правил).
5.6. При возникновении в процессе смены стрелочного перевода неисправности в машине, для устранения которой требуется самому работнику или через применяемое им приспособление или инструмент приблизиться к контактной подвеске ближе 2 м, машину следует вывести на другой путь, где техническо-распорядительным актом (ТРА) железнодорожной станции предусмотрено снятие напряжения с контактной подвески и ее заземление (погрузочно-выгрузочные пути, пути отстоя и др.).
Если машину вывести невозможно, то работу необходимо прекратить. Руководитель путевых работ должен сообщить об этом энергодиспетчеру. Устранять неисправность и продолжать работу можно только после прибытия представителя дистанции электроснабжения, отключения и заземления им контактной подвески.
VI. Смена стрелочных переводов с применением путеукладочного
или стрелового крана со снятием напряжения с контактной сети
6.1. Снятие напряжения с контактной сети, ее заземление, смещение от оси пути и закрепление производятся в соответствии с
Правилами N 103 и Инструкцией N 104.
В случае изменения марки крестовины стрелочного перевода при его замене, что должно быть указано руководителем работ в письменной заявке в адрес начальника дистанции электроснабжения, установка дополнительной опоры контактной сети производится работниками района контактной сети в подготовительный период. Место установки опоры должно быть согласовано с соответствующими службами.
6.2. На однопутном участке (
рисунок 11, а) для смены одного из крайних (входного или выходного, пути примыкания) стрелочных переводов на железнодорожной станции с тяговой подстанцией, когда появляется разрыв в рельсах главного пути, не замкнутый тяговыми рельсами других путей станции, все питающие фидеры контактной сети на тяговой подстанции должны быть отключены. При этом питание ЭПС на соседних перегонах осуществляется от смежных тяговых подстанций. Напряжение с контактной сети главного и бокового ремонтируемых путей снимается и контактные подвески этих путей заземляются со всех сторон сходящихся путей. На участках переменного тока со стороны секционного изолятора на боковом пути должно быть установлено 2 заземляющие штанги с расстоянием между ними не более 200 м. На участках постоянного тока расстояние от стрелочного перевода до крайних заземляющих штанг не должно превышать 300 м. Установленные заземляющие штанги не должны входить в габарит подвижного состава и должны позволять производство маневровых работ. Нижний фиксирующий трос над сменяемым стрелочным переводом на время производства работ на контактной сети (опускание и подъем контактных подвесок) заземляют. При работе крана заземление с нижнего фиксирующего троса может быть снято.
На железнодорожных станциях без тяговых подстанций напряжение со всех контактных подвесок железнодорожной станции должно быть снято, а контактные подвески у места работ заземлены указанным выше способом.
6.3. На двухпутном участке (
рисунок 11, б) для смены любого стрелочного перевода независимо от наличия или отсутствия тяговой подстанции на железнодорожной станции, напряжение с контактных подвесок ремонтируемых путей должно быть снято, и контактные подвески заземлены со всех сторон сходящихся путей в соответствии с
пунктом 6.2 Правил.
Если на железнодорожной станции нет тяговой подстанции, напряжение должно быть снято с контактных подвесок главных путей, и контактные подвески заземлены указанным выше способом (
пункт 6.2 Правил).
6.4. При установке временной продольной перемычки (
пункт 5.2 Правил,
рисунок 12) для пропуска обратного тягового тока и обеспечения безопасности параллельно разбираемому (одному из крайних) стрелочному переводу на однопутном или двухпутном участках (кроме
абзаца 2 пункта 6.3 Правил) напряжение может быть снято только с контактных подвесок ремонтируемых путей. Заземление отключенных контактных подвесок выполняется, как указано выше (
п. 6.2 Правил).
6.5. При смене всех остальных (кроме крайних) стрелочных переводов на однопутных или двухпутных участках, когда возникающий разрыв в рельсовом пути, в том числе и в главном, всегда замыкается другими электрифицированными путями железнодорожной станции, напряжение снимается с контактных подвесок ремонтируемых путей и эти подвески заземляются со всех сторон сходящихся путей. В этих случаях на железнодорожных станциях временную продольную перемычку параллельно разбираемому стрелочному переводу не устанавливают.
6.6. Для смены стрелочного перевода в месте примыкания однопутного электрифицированного участка к железнодорожной станции
(рисунок 11) напряжение с контактных подвесок ремонтируемых путей необходимо снять и контактные подвески заземлить со всех сторон сходящихся путей в соответствии с
пунктом 6.2 Правил.
6.7. При смене стрелочных переводов на железнодорожных станциях стыкования контактные подвески заземляются так же, как на участках переменного тока.
6.8. Если на опорах заземленной контактной сети в пределах фронта путевых работ подвешены провода питающей или усиливающей линий, провода системы ДПР, ВЛ напряжением выше 1 кВ, находящиеся под напряжением, то указанные опоры до отключения заземляющих спусков от рельсов должны быть заземлены работниками путевого хозяйства на целый рельсовый путь посредством дублирующей перемычки (
пункт 3.6 Правил). Заземление указанных опор контактной сети посредством дублирующей перемычки выполняется до выдачи работником дистанции электроснабжения, ответственным за электробезопасность, письменного разрешения на работу. Если параллельно стрелочному переводу уложена временная продольная перемычка (
пункт 6.2 Правил), то заземляющие спуски опор контактной сети должны быть подключены к этой перемычке, а дублирующую перемычку устанавливать не требуется.
6.9. После снятия напряжения с контактных подвесок и их заземления (
пункты 6.2 -
6.7 Правил) электромонтеры района контактной сети с автодрезины или с изолирующей съемной вышки, установленной на стрелочном переводе, отсоединяют шлейфы секционных разъединителей, опускают полиспастами контактные подвески, смещают их в пределах зоны работы крана от оси пути и закрепляют. Подвески опускают (поднимают) равномерно, не допуская перегрузки соседних опор. При необходимости разъединяется нижний фиксирующий трос, предварительно закрепленный на временных струнах. В случае невозможности такого закрепления нижнего фиксирующего троса или разрегулировки контактных подвесок на соседних путях допускается во время "окна" пропуск ЭПС с опущенными токоприемниками.
Указанные работы на контактной сети выполняются электромонтерами района контактной сети до постановки крана на стрелочный перевод. Во время работы крана не допускается соприкосновение крана и его частей, стропов и груза с опорами и проводами контактной сети.
6.10. После укладки нового стрелочного перевода электромонтеры района контактной сети с автодрезины или с изолирующей съемной вышки производят подъем контактной подвески над стрелочным переводом, установку ее в прежнее положение, регулировку и подключение к ней шлейфов секционных разъединителей. Время для выполнения данных работ на контактной подвеске должно быть предусмотрено в телеграмме на "окно". Производитель работ на контактной сети докладывает руководителю путевых работ и энергодиспетчеру об окончании работ на контактной сети и о возможности подачи на нее напряжения. По окончании всех работ руководитель путевых работ производит запись в Журнале осмотра путей, стрелочных переводов, устройств СЦБ, связи и контактной сети
формы ДУ-46 (дает телефонограмму с последующей ее подписью) об окончании всех работ и открытии движения поездов по замененному стрелочному переводу.
6.11. При сборке новых стрелочных переводов на электрифицированных путях железнодорожной станции стреловыми кранами на железнодорожном ходу снятие напряжения с контактных подвесок, их заземление, смещение от оси пути и закрепление производятся в соответствии с
пунктами 6.1 -
6.10 Правил.
VII. Меры электробезопасности при работе специального
железнодорожного подвижного состава
7.1. При производстве работ на пути с применением специального железнодорожного подвижного состава: путеукладчиков, выправочно-подбивочно-отделочных машин типа ВПО-3000, щебнеочистительных машин, электробалластеров при подъемке пути, стреловых кранов
(приложение N 5) на электрифицированных железнодорожных путях напряжение с контактной сети, как правило, должно быть снято на весь период работ и контактная сеть заземлена (
раздел II Правил).
7.2. Снятия напряжения с контактной сети не требуется в следующих случаях:
а) при работе электробалластеров по рихтовке пути, по дозировке балласта, при работе выправочно-подбивочных машин цикличного действия и рельсоочистительных машин типа РОМ;
б) при работе дрезин, мотовозов, автомотрис с крановыми устройствами, модернизированных составов для засорителей, имеющих перемещение стрелы только в горизонтальной плоскости или кинематически ограниченный подъем стрелы, поворотного конвейера в пределах габарита подвижного состава по высоте 5 300 мм (машины типа АГМУ, ДГКУ, МПТ, АГД, СЗ-240-6М и другие, не требующие отсоединения заземлений опор и иных проводов от рельсов) при высоте подвески контактного провода над уровнем верха головки рельса не ниже 5 750 мм
(приложение N 6).
При работе указанных машин, при необходимости, следует все провода, проложенные по шпалам, и заземления опор контактной сети и другие устройства отвести за пределы габарита машин в рабочем состоянии без нарушения их целостности.
Отвод и восстановление защитных заземлений производятся работниками пути под наблюдением представителя дистанции электроснабжения.
При работе электробалластера, щебнеочистительных и рихтовочных устройств, машин типа ВПО-3000 в местах подключения к рельсам рабочих заземлений эти заземления должны быть отключены от рельсовой сети представителем дистанции электроснабжения.
Перед их отключением должны быть отключены электроустановки, имеющие эти рабочие заземления (тяговая подстанция может быть оставлена работающей с переводом в режим поста секционирования), а также КТП, установленные на АТП, ПС, ППС КП, ППП для питания собственных нужд, подключенные к системе ДПР.
Перед отключением от рельса или от ДТ спуска группового заземления опор этот спуск должен быть подключен посредством дублирующей перемычки к рельсу этого же пути за пределами фронта работ.
7.3. Путеукладочные и стреловые краны должны следовать к месту работ и обратно при полностью опущенной и закрепленной стреле, установленной вдоль пути. Поднимать и разворачивать стрелу крана, подниматься на фермы и открытые площадки, а также начинать работу разрешается кранооператору путеукладчика или машинисту крана только по указанию руководителя работ, после получения им письменного разрешения от представителя дистанции электроснабжения.
При работе путеукладочных кранов типа УК-25 посты управления механизмами грузоподъемного оборудования должны находиться:
а) на перегонах двухпутных участков - со стороны обочины; на перегонах трех- и четырехпутных участков - со стороны междупутья шириной не менее 5 м;
б) на железнодорожных станциях - со стороны обочин или междупутья шириной не менее 5 м;
в) на железнодорожных станциях при ширине междупутья с обеих сторон менее 5 м - со стороны соседнего пути с отключенной заземленной контактной сетью.
Во всех указанных случаях должны быть обеспечены снятие напряжения и заземление частей контактной сети и ВЛ, находящихся на расстоянии менее 2 м от верха спинки сиденья поста управления машиниста на ферме укладочного крана. Для этого заблаговременно производитель путевых работ и представитель дистанции электроснабжения обязаны обследовать фронт работ с целью выявления проводов, мешающих движению путеукладочного крана (расположенных ближе 2 м). Ими могут быть: контактная подвеска станционного пути, находящаяся под рабочим напряжением и анкеруемая на опоре ремонтируемого пути; шлейф секционного разъединителя, установленного на опоре ремонтируемого пути; провода ВЛ 6, 10 кВ, пересекающие неэлектрифицированные пути. При этом выявляются места подключения к рельсам проводов рабочих заземлений.
7.4. При попадании в зону фермы путеукладочного крана (ближе 2 м) провода или контактной подвески, мешающих его движению по условиям обеспечения электробезопасности кранооператора, кран должен быть машинистом остановлен. После этого представитель дистанции электроснабжения определяет наличие или отсутствие рабочего напряжения на мешающем или близко расположенном к ферме проводе посредством указателя высокого напряжения или "прослеживанием". При наличии рабочего напряжения на мешающем проводе по приказу энергодиспетчера напряжение снимается, производится повторная проверка наличия или отсутствия напряжения и заземление провода
(рисунок 13).
1 - заземляющая штанга, установленная перед началом работ;
2 - контактная подвеска; 3 - вновь установленные заземляющие
штанги; 4 - мешающий провод; 5 - путеукладочный
или путеразборочный кран; 6 - рельсовый путь
Рисунок 13 - Схема заземления проводов, мешающих движению
путеукладочного крана
После этого работа крана может быть продолжена.
7.5. Раскрепление и закрепление пакетов звеньев в случае использования съемного оборудования типа СО и унифицированного типа УСО, а также подъем персонала на ферму путеукладчика для устранения неисправности допускается производить только на участке пути с отключенной и заземленной контактной сетью. В связи с этим заземление места работ должно производиться с учетом длины укладочного и разборочного поездов.
Перед подъемом персонала с нижнего пояса фермы на верхний машинист крана завешивает на контактную подвеску две стационарные шунтирующие штанги: одну, присоединенную к ферме крана, в месте расположения пульта управления краном, вторую, присоединенную к ферме крана, на расстоянии 1 - 2 м от первой. При этом в месте остановки крана представителем дистанции электроснабжения должна быть завешена заземляющая штанга для обеспечения металлической связи между корпусом крана (или рельсом, где находится кран) и контактной подвеской ремонтируемого пути
(рисунок 14).
1 - заземляющая штанга, установленная перед началом работ;
2 - контактная подвеска; 3 - вновь установленная заземляющая
штанга; 4 - путеукладочный или путеразборочный кран;
5 - рельсовый путь
Рисунок 14 - Схема заземления контактной подвески
перед подъемом персонала на верхний пояс фермы
путеукладочного крана
При выполнении работ на перегонах двух- и многопутных участков, а также на железнодорожных станциях, нахождение людей на пакетах со стороны соседнего пути, напряжение с контактной сети которого не снято, допускается только между опорами контактной сети, причем на расстоянии не менее 5 м от частей (проводов), находящихся под напряжением на этих опорах.
Монтеры пути (стропальщики), выполняющие работы по строповке звеньев на платформе укладочного (разборочного) крана, должны производить эти работы, находясь на пакете звеньев со стороны поста управления машиниста крановой установки.
7.6. Отключенный для производства работ участок контактной сети заземляется в соответствии с нормами, установленными
разделом III Правил.
7.7. В рабочем положении допускается касание контактного провода лыжами-отбойниками с отжатием провода на расстояние не более 300 мм при обязательном оборудовании полозов угольными или металлокерамическими накладками для предохранения поверхности контактного провода от повреждения.
Лыжи-отбойники путеукладочного крана, имеющие медные вставки, не должны касаться контактного провода.
Перед началом работы укладочного крана руководитель путевых работ обязан получить от представителя дистанции электроснабжения выписку о фактической высоте подвески контактного провода над уровнем головки рельса и справку о возможности подъема контактного провода на величину до 300 мм и передать эти документы машинистам укладочного и разборочного кранов для руководства при определении высоты подъема фермы.
Допускаемая высота подъема фермы укладочного крана в зависимости от фактической высоты подвески контактного провода и условия его дополнительного подъема лыжей-отбойником крана на 300 мм приведены в
приложении N 7 в соответствии с
Правилами по охране труда, экологической, промышленной и пожарной безопасности при техническом обслуживании и ремонте объектов инфраструктуры путевого комплекса ОАО "РЖД", утвержденными распоряжением ОАО "РЖД" от 4 февраля 2014 г. N 255р.
Если по условиям подвески допускается подъем контактного провода на величину менее 300 мм, тогда высота подъема фермы укладочного крана должна быть не более суммы фактической высоты подвески и допускаемой величины дополнительного подъема контактного провода.
7.8. Во время работы или следования путевых машин работники, обслуживающие эти машины, должны находиться в кабинах управления или хозяйственных помещениях. При проходе в кабину управления, помещение электростанции или хозяйственное помещение, а также при выходе из них необходимо соблюдать осторожность и не иметь в руках предметов, которыми возможно случайное касание или приближение ближе 2 м к контактным проводам или проводам ВЛ.
7.9. При выполнении работ с применением стреловых кранов на железнодорожном ходу на путях, смежных с электрифицированными, руководитель работ обязан следить, чтобы ни одна часть машины (стрела, трос и т.д.) или груз не приближались на расстояние менее 2 м к находящимся под напряжением проводам или частям контактной сети. Руководителем работ должен быть определен необходимый сектор перемещения стрелы. Этот сектор до начала работ должен быть ограничен шестами с красными флажками, а в ночное время - сигнальными прозрачно-белыми огнями.
Минимальное расстояние от частей путеукладочных кранов при их работе до частей контактной сети смежного пути и ВЛ, находящихся под напряжением, должно быть не менее 1250 мм (с учетом
пунктов 7.3 и
7.4 Правил). Оно должно быть обеспечено с учетом самых неблагоприятных условий по допускам в содержании пути, контактной сети и подвижного состава.
Если указанные расстояния по условиям производства работ не могут быть обеспечены, то работа должна выполняться со снятием напряжения с контактной подвески смежных путей и ВЛ и заземлением их по концам фронта работ. При этом не допускается касание краном заземленных проводов и частей контактной сети.
7.10. Для предупреждения работников, обслуживающих путевые машины тяжелого типа, об опасности приближения к находящимся под напряжением проводам контактной сети и ВЛ, на этих машинах на высоте 3,5 м над уровнем головки рельсов у лестниц, ведущих на крышу, должен быть нанесен предупреждающий знак "Остерегайся контактного провода".
7.11. Организация выполнения работ с применением новых путевых машин осуществляется в соответствии с требованиями Правил. Обучение правилам безопасности персонала дистанций пути и путевых машинных станций перед работой с конкретным типом путевой машины производится заблаговременно по прилагаемой к машине инструкции по эксплуатации.
В разрабатываемых технологических процессах для путевых машин должны быть разделы по обеспечению электробезопасности персонала в части контактной сети и ВЛ.
| | ИС МЕГАНОРМ: примечание. Сноска дана в соответствии с официальным текстом документа. | |
VIII. Меры электробезопасности при производстве работ
с подъемными сооружениями <*>
8.1. Установка и работа высокогабаритных подъемных сооружений и механизмов (кранов, буровых машин, экскаваторов, вышек, автоподъемников и других механизмов для подъема грузов, далее - подъемных сооружений) вблизи контактной сети и воздушных линий, находящихся под напряжением, производятся в соответствии с требованиями
ПОТЭУ.
8.2. Выполнение работ в охранных зонах контактной сети и линий электропередачи с использованием различных подъемных сооружений и механизмов с выдвижной частью допускается с разрешения дистанции электроснабжения только при условии, если расстояние по воздуху от машины (механизма) или от ее выдвижной или подъемной части, а также от ее рабочего органа или поднимаемого груза в любом положении (в том числе и при наибольшем подъеме или вылете) до ближайшего провода, находящегося под напряжением, будет не менее указанного в
таблице N 1.
Таблица N 1
Допустимые расстояния до токоведущих частей, находящихся
--------------------------------
<*> Кроме специальных кранов по смене стрелочных переводов без снятия напряжения с контактной подвески и подъемных сооружений на дрезинах, мотовозах, автомотрисах по
пункту 7.2 Правил.
Напряжение ВЛ, кВ | Расстояние, м |
минимальное | минимальное, измеряемое техническими средствами |
до 1 | 1,5 | 1,5 |
свыше 1 до 20 (в том числе контактная сеть 3,3; 27,5 и 2 x 25 кВ) | 2,0 | 2,0 |
свыше 20 до 35 | 2,0 | 2,0 |
свыше 35 до 110 | 3,0 | 4,0 |
свыше 110 до 220 | 4,0 | 5,0 |
свыше 220 до 400 | 5,0 | 7,0 |
свыше 400 до 750 | 9,0 | 10,0 |
свыше 750 до 1150 | 10,0 | 11,0 |
Исключение составляют работы на линиях, находящихся под напряжением до 20 кВ, выполняемые с вышек, подъемников и других механизмов для подъема людей. Такие работы допускаются в том случае, если с учетом возможных отклонений вышки (механизма), при приближении работника, использующего защитные средства, приспособления, обеспечивается расстояние не менее 1 м (по воздуху) от подъемной или выдвижной части в любом ее положении, а также при наибольшем допустимом конструкцией подъеме или боковом вылете до ближайшего провода, находящегося под напряжением.
8.3. Установка и работа подъемных сооружений в охранной зоне контактной сети и ВЛ допускается при наличии письменного разрешения на производство работ (наряда-допуска) и согласования порядка их ведения с дистанцией электроснабжения. Наряд-допуск должен подписываться руководителем (начальником, главным инженером) структурного подразделения, производящего работу, и выдаваться на руки крановщику (машинисту) перед началом работы. Наряд-допуск может быть выдан только при наличии разрешения дистанции электроснабжения.
При выполнении работ с подъемными сооружениями персоналом дистанций электроснабжения в охранной зоне контактной сети и ВЛ, находящихся на балансе и эксплуатации дистанций электроснабжения, выдача наряда-допуска не требуется. Работа производится по наряду, форма которого установлена нормативными документами, действующими в хозяйстве электрификации и электроснабжения.
8.4. Запрещается работа стреловых кранов и их установка непосредственно под проводами контактной сети и ВЛ, находящимися под напряжением.
Персоналу запрещается раскачивать опускаемую краном конструкцию.
Установка и работа подъемных сооружений в пределах охранной зоны контактной сети и ВЛ должны производиться под непосредственным руководством лица, ответственного за безопасное производство работ кранами организации, выполняющей работы, которое также должно указать крановщику место установки крана, обеспечить выполнение предусмотренных нарядом-допуском условий работы и произвести запись в вахтенном журнале крановщика о разрешении работы.
В путевом листе крановщика стрелового крана представитель структурного подразделения, производящего работу, должен поставить штамп о запрещении самовольной установки крана для работы вблизи ВЛ или контактной сети без наряда-допуска. Водители механизмов и подъемных сооружений, стропальщики должны иметь квалификационную группу по электробезопасности не ниже II.
8.5. При работе подъемных сооружений на резиновом ходу в охранной зоне контактной сети постоянного и переменного тока, проводов ДПР и воздушных линий электропередачи напряжением 6; 10; 35 кВ, расположенных на опорах контактной сети или самостоятельных опорах, заземление корпусов указанных сооружений, в том числе и при наличии автономных источников электропитания, должно производиться на рельсы, на которые заземлены опоры контактной сети, или к средней точке дросселя-трансформатора.
При работе нескольких подъемных сооружений в районе одной рельсовой цепи заземление машин должно подключаться к одному месту рельсовой цепи.
Подъемные сооружения, питающиеся от внешней электрической сети, запрещается заземлять на среднюю точку дросселя-трансформатора и на рельсовые нити как на электрифицированных, так и на неэлектрифицированных железнодорожных путях.
8.6. При работах в охранной зоне ВЛ 6; 10; 35 кВ, вблизи распределительных подстанций напряжением 6; 10; 35 кВ заземление подъемных сооружений следует производить на контур заземления подстанции.
8.7. Подъемные сооружения на гусеничном ходу, работающие в охранной зоне контактной сети постоянного и переменного тока, проводов ДПР, должны заземляться через искровой промежуток с пробивным напряжением 1 200 В на рельсы, на которые заземлены опоры контактной сети или к средней точке дроссель-трансформатора.
8.8. При работе подъемных сооружений в охранной зоне ВЛ напряжением 6; 10; 35 кВ вдали от рельсовых путей (более 50 м) они должны быть заземлены на один из следующих заземлителей: на заземляющее устройство соседней железобетонной или металлической опоры ВЛ; на заземляющее устройство распределительной подстанции; на один из естественных заземлителей, определенных действующими Правилами устройства электроустановок.
При отсутствии указанных заземлителей ближе 50 м допускается заземление подъемных сооружений на два специальных заземлителя, забитых на глубину не менее 1 м с расстоянием между ними не менее 3 м. Рекомендуется подключать параллельно переносному заземлению рельсовые или железобетонные приставки опор.
8.9. При работе подъемных сооружений вблизи ВЛ до 1 кВ их зануляют на повторный заземлитель нулевого провода либо заземляют на один из естественных заземлителей. Сечение медного заземляющего провода должно быть не менее 16 мм2.
8.10. При заземлении крана, работающего в охранной зоне ВЛ 6; 10; 35 кВ, допускается использование стального каната диаметром не менее 8 мм.
8.11. Во всех случаях заземление подъемных сооружений выполняется стропальщиком, если их несколько - то по команде старшего.
8.12. Граница допустимого расстояния от крана до проекции крайнего провода ВЛ 6; 10; 35 кВ и выше обозначается установкой шеста высотой 1,5 - 2,0 м с красным флажком, а в ночное время сигнальными прозрачно-белыми огнями.
8.13. При случайном соприкосновении рабочей части крана с проводом линии, находящейся под напряжением, или возникновении между ними электрического разряда, запрещается до снятия напряжения с линии или отвода рабочей части на безопасное расстояние прикасаться, стоя на земле, к крану, сходить с него на землю или подниматься на него.
Если в результате соприкосновения или электрического разряда произойдет загорание крана, не позволяющее оставаться в нем, водитель должен, не держась руками за части крана, спрыгнуть на землю сразу на обе ноги и оставаться на одном месте пока не будет снято напряжение с контактной сети, ВЛ. Удаляться от крана до снятия напряжения с указанных линий можно мелкими шагами, не превышающими длину стопы.
8.14. Работы с применением подъемных сооружений за пределами охранной зоны линии, а также проезд их под линией могут производиться по устному распоряжению руководителя работ.
8.15. Не допускается работа подъемных сооружений вблизи ВЛ при ветре, вызывающем отклонение на опасное расстояние свободных (без грузов) тросов и канатов, с помощью которых поднимается груз. Работа крана должна быть прекращена при скорости ветра, превышающей допустимую для данного крана. В темное время суток работа с подъемными сооружениями может производиться только на отключенной линии при достаточном освещении. При сильном снегопаде или тумане, а также в других случаях, когда крановщик плохо различает сигналы стропальщика (сигнальщика) или перемещаемый груз, работа крана должна быть прекращена.
8.16. Подъемное сооружение не должно допускаться к работе при:
а) обслуживании неаттестованными крановщиками, стропальщиками, при отсутствии лица, ответственного за безопасность производства работ;
б) нарушении срока технического освидетельствования;
в) неисправности тормоза механизма подъема груза или тормоза механизма изменения вылета стрелы;
г) неисправности ограничителя высоты подъема, ограничителя грузоподъемности, сигнального прибора и других неисправностях, угрожающих безопасной работе.
8.17. При транспортировке грузоподъемных кранов, экскаваторов на открытых платформах под контактной сетью запрещается подниматься на крыши и стрелы указанных подъемных сооружений.
IX. Особенности приема и отправления поездов и следования
негабаритных грузов на электрифицированных линиях
9.1. Для обеспечения безопасности работников от поражения электрическим током и предупреждения пережога проводов контактной сети запрещается диспетчерам поездным и дежурным по железнодорожной станции:
а) выпускать электроподвижной состав на перегоны в тех случаях, когда с контактной сети прилегающего перегона снято напряжение;
б) принимать электроподвижной состав или производить на железнодорожной станции маневры с электроподвижным составом с заездом на электрифицированные пути железнодорожной станции, с которых снято напряжение;
в) на железнодорожных станциях стыкования постоянного и переменного тока принимать и отправлять электроподвижной состав, не убедившись в том, что расположенная впереди поезда секция контактной сети находится под напряжением того рода тока, для работы на котором предназначен этот электроподвижной состав.
9.2. При следовании по электрифицированному участку подвижного состава с грузом высотой от головки рельса более 5 300 мм с контрольной рамой, в числе наблюдающих лиц должен быть работник района контактной сети, имеющий группу по электробезопасности не ниже III. Лицам, наблюдающим за прохождением контрольной рамы, необходимо обращать особое внимание на приближение контрольной рамы к контактному проводу или частям, находящимся под напряжением. Касаться контрольной рамы или производить ее исправление в верхней части на электрифицированных путях запрещается.
Исправление или установка в пути контрольной рамы могут быть разрешены только при снятом с контактной сети напряжении и заземлении ее.
X. Работы на подвижном составе на электрифицированных линиях
и в местах пересечения железнодорожных путей
с воздушными линиями электропередачи
10.1. На железнодорожном подвижном составе, находящемся под контактной сетью или ВЛ, до отключения и заземления проводов персоналу подразделений, во избежание попадания в опасную зону (ближе 2 м от токоведущих частей), запрещается:
а) подниматься на крышу, находиться или производить какие-либо работы на крышах грузовых и пассажирских вагонов, рефрижераторных секций, контейнеров, хоппер-дозаторов, тепловозов, электровозов, моторных вагонов, дизель- и электропоездов (осмотр крыш и устройств, находящихся на них, снабжение водой, загрузка льдом);
б) подниматься по вышкам или лестницам и производить с них какие-либо работы на стенах или торцах вагонов вблизи крыш;
в) открывать люки (крышки) цистерн, изотермических и крытых вагонов или вести какие-либо работы на них;
г) производить погрузку или разгрузку с открытого подвижного состава, когда сами работающие или применяемые ими приспособления могут во время работы приблизиться на расстояние менее 2 м к находящимся под напряжением частям контактной сети или ВЛ;
е) выполнять работы на котле, будке и тендере паровоза;
ж) производить замер количества нефти, воды и чистку дымоходов.
Техническое обслуживание крышевого оборудования ЭПС локомотивной бригадой должно производиться на специальных путях железнодорожной станции и в парках после снятия напряжения с контактной подвески и заземления ее.
10.2. На паровозах:
а) набор воды в тендер производится под наблюдением машиниста паровоза;
б) поливка угля производится только в лотке.
При поливке из рукава запрещается направлять струю воды вверх во избежание поражения электрическим током.
Машинисты паровозов, обращающихся на электрифицированных железнодорожных путях, обязаны следить за исправным состоянием и надежным креплением искроуловительной сетки и крыши будки машиниста.
10.3. При необходимости подъема на крышу ЭПС или тепловоза для устранения повреждения на путях, не предназначенных для осмотра крышевого оборудования, напряжение с контактной сети должно быть снято энергодиспетчером по устной заявке машиниста локомотива. По приказу энергодиспетчера работники дистанции электроснабжения в два лица заземляют контактную сеть. Представителю дистанции электроснабжения разрешается заземлять контактную сеть в присутствии машиниста локомотива или его помощника. Подъем на крышу локомотивной бригады допускается только после заземления контактной сети по разрешению представителя дистанции электроснабжения.
После устранения повреждения крышевого оборудования снятие заземляющих штанг с контактной подвески производится представителем дистанции электроснабжения, о чем дается уведомление энергодиспетчеру.
XI. Пересечение воздушных линий электропередачи
с железнодорожными путями ОАО "РЖД"
11.1. Пересечение ВЛ с железнодорожными путями ОАО "РЖД" должно удовлетворять требованиям действующих Правил устройства электроустановок. Расстояние при пересечении ВЛ с железнодорожными путями ОАО "РЖД" от проводов ВЛ до элементов контактной подвески должно быть не менее приведенных в
таблице N 2 Правил.
Таблица N 2
Наименьшее расстояние при пересечении ВЛ с железнодорожными
Пересечение | Наименьшее расстояние при пересечении, м, при напряжении ВЛ, кВ |
до 20 | 35 - 110 | 150 | 220 | 330 | 500 |
Для неэлектрифированных железнодорожных путей от провода до головки рельса в нормальном режиме ВЛ по вертикали | 7,5 | 7,5 | 8,0 | 8,5 | 9,0 | 9,5 |
Для электрифицированных или подлежащих электрификации железнодорожных путей от проводов ВЛ до наивысшего провода или несущего троса в нормальном режиме по вертикали | 3 | 3 | 4 | 4 | 5 | 5 |
11.2. Допускается сохранение опор контактной сети под проводами пересекающей ВЛ при расстоянии по вертикали от проводов ВЛ до верха опор контактной сети не менее:
7 м для ВЛ до 110 кВ;
8 м для ВЛ 150 - 220 кВ;
9 м для ВЛ 330 - 500 кВ.
11.3. При пересечении и сближении ВЛ с железнодорожными путями ОАО "РЖД" расстояния от основания опоры ВЛ до габарита приближения строений на неэлектрифицированных железнодорожных путях ОАО "РЖД" или до оси опор контактной сети электрифицированных железнодорожных путей ОАО "РЖД" должны быть не менее высоты опоры плюс 3 м.
XII. Электробезопасность при ремонте обделки двухпутного
тоннеля на электрифицированных железнодорожных путях
с закрытием одного из путей
12.1. После демонтажа дистанцией электроснабжения контактной подвески в тоннеле над ремонтируемым путем перед обоими входами в тоннель с наружной стороны работниками пути устанавливается на каждой рельсовой нити по одному изолирующему стыку (ИС).
Параллельно каждому ИС работниками дистанции электроснабжения устанавливается по одному искровому промежутку с пробивным напряжением 1 200 В.
12.2. В границах тоннеля не должно быть никаких глухих металлических соединений между рельсами действующего и ремонтируемого путей.
12.3. Металлический трубопровод, проложенный вдоль тоннеля для подачи воды, следует через каждые 300 м, начиная от торца тоннеля, соединить с обеими рельсовыми нитями ремонтируемого пути одной перемычкой из гибкого медного провода сечением не менее 50 мм2. Соединения ее с рельсами и трубопроводом должны быть болтовыми.
В металлический трубопровод перед входом его в тоннель следует установить изолирующий фланец.
Указанные работы производятся персоналом, ремонтирующим обделку тоннеля.
12.4. Рабочие площадки на крышах вагонов, предназначенных для работы в тоннеле, должны иметь сплошные ограждения со стороны действующего пути и с торцов.
В рабочем положении указанные ограждения должны исключать падение или недопустимое отклонение (не ближе 350 мм до центра свода тоннеля) в сторону контактной подвески действующего пути.
12.5. Во избежание попадания цементного раствора или воды на контактную сеть действующего пути, находящуюся под рабочим напряжением, между сводом тоннеля и ограждением рабочей площадки требуется установить гибкое (мягкое) уплотнение, например из прорезиненной ткани толщиной 8 - 10 мм.
12.6. Контур ограждения рабочей площадки должен быть выполнен из металлического уголка и обварен листовым железом. Ограждение должно иметь надежную металлическую связь с рамой вагона путем устройства не менее двух перемычек из медного гибкого провода сечением не менее 50 мм2 каждая.
12.7. Пол рабочей площадки на крыше вагона должен быть деревянным, покрытым по всей поверхности диэлектрическими коврами.
12.8. Работники, ремонтирующие обделку в тоннеле, должны иметь не ниже II группы по электробезопасности.
12.9. Персоналу запрещается с рабочей площадки вагона касаться троса группового заземления и волновода; приближаться к неогражденным проводам или частям контактной сети действующего пути на расстояние менее 2 м как самим, так и через какие-либо имеющиеся у них предметы и инструменты.
12.10. Электроустановки вагонов, устанавливаемых в тоннеле на ремонтируемом пути, питающиеся от внешней электрической сети переменного тока напряжением до 1 кВ, должны быть занулены (заземлены) посредством защитных проводников в соответствии с требованиями ПУЭ. Полная проводимость нулевого защитного проводника во всех случаях должна быть не менее 50% проводимости фазного проводника.
12.11. Металлическая сетка, укладываемая по каменному своду тоннеля, должна иметь разрывы в 50 - 100 мм через каждые 100 м длины.
XIII. Меры электробезопасности при работе на участке
кабелеукладчика на железнодорожном ходу
13.1. При работе кабелеукладчика, специализированного комплекса машин на железнодорожном ходу для подвески волоконно-оптических кабелей по опорам контактной сети напряжение с контактной сети должно быть снято и контактная сеть заземлена по концам фронта работ. При подвеске или при аварийном восстановлении волоконно-оптических кабелей, подвешенных по опорам ВЛ, напряжение с ВЛ должно быть снято и провода ВЛ заземлены установленным порядком.
Для выполнения указанных работ руководитель работ обязан дать письменную заявку в адрес начальника дистанции электроснабжения (
раздел II Правил).
13.2. При необходимости работники, ведущие работу по укладке кабеля, под наблюдением представителя дистанции электроснабжения должны отсоединить заземления опор контактной сети от рельсов.
При этом, если на этих опорах в пределах фронта работ подвешены провода питающей или усиливающей линий, системы ДПР, провода ВЛ, находящиеся под напряжением, то указанные опоры до отключения от рельсов заземляющих спусков заземляют на рельсовый путь посредством дополнительного троса, сечением не менее 70 мм2 (провода АС-70, ПБСМ-70), прокладываемого с полевой стороны по земле. Длина троса не должна превышать 200 м. Работы по прокладке троса, отсоединению, присоединению и восстановлению заземлений опор контактной сети выполняются персоналом кабелеукладчика под наблюдением представителя дистанции электроснабжения. Если напряжение с указанных проводов снято, то заземлять опоры не требуется.
13.3. Персоналу кабелеукладчика запрещается самому или посредством применяемых приспособлений и инструмента приближаться к контактной сети и другим проводам, находящимся под напряжением, ближе 2 м.
При необходимости приблизиться к проводам ближе 2 м напряжение с них должно быть снято работниками района контактной сети и указанные провода заземлены ими на рельс с обеих сторон фронта работ в соответствии с
разделом III Правил.
13.4. Работа кабелеукладчика на железнодорожном ходу должна быть организована на действующих путях только под наблюдением представителя дистанции СЦБ.
XIV. Порядок обеспечения электробезопасности
при восстановительных работах на электрифицированных
железнодорожных путях
14.1. При восстановительных работах ответственным представителем дистанции электроснабжения за электробезопасность в части контактной сети и ВЛ должен быть начальник или электромеханик района контактной сети, а при их отсутствии - работник района контактной сети с V группой по электробезопасности, имеющий право быть производителем работ.
При авариях с целью лучшей организации восстановительных работ один из руководителей дистанции электроснабжения должен выехать на место повреждения, а другой - находиться у энергодиспетчера или быть на прямой связи с ним.
14.2. Во всех случаях при работах по ликвидации повреждения на электрифицированных железнодорожных путях должны выполняться все технические мероприятия, обеспечивающие безопасность работающих.
Восстановительные работы на пути выполняются со снятием напряжения и заземлением контактной сети этого пути и ВЛ, подвешенных по опорам контактной сети ремонтируемого пути.
Напряжение с контактной сети и ВЛ должно быть снято и контактная сеть, ВЛ и связанные с ними устройства заземлены на весь период работы в случаях, указанных в
пункте 2.4 Правил.
14.3. Представитель дистанции электроснабжения по прибытии на место восстановительных работ связывается с энергодиспетчером, дает ему аварийную заявку, получает от него приказ, разрешающий производство работ, и заземляет контактную сеть (ВЛ) в соответствии с Инструкцией 104, а при отсутствии на месте работ рельсового пути на длине более 200 м на участке переменного тока и в соответствии с
разделом IV Правил. Не допускается производить работы при отсутствии или перерыве связи между местом работы и энергодиспетчером.
После установки заземления представитель дистанции электроснабжения проводит устный инструктаж работникам восстановительного поезда непосредственно на рабочем месте, делает отметку на письменном разрешении приступить к работе с указанием номера приказа энергодиспетчера, даты и времени начала работ, выдает его руководителю восстановительных работ
(приложение N 3). Копию разрешения с подписью руководителя восстановительных работ представитель дистанции электроснабжения оставляет у себя.
Представитель дистанции электроснабжения осуществляет наблюдение за выполнением работающими требований электробезопасности (исключая надзор за электроустановками восстановительного поезда). Его указания по вопросам электробезопасности в части контактной сети и ВЛ являются обязательными для руководителя восстановительных работ.
Начальник дистанции электроснабжения (а в его отсутствие его заместитель) организует в ночное время освещение места работ, используя для этой цели собственное оборудование и оборудование восстановительных поездов.
14.4. Приступать к восстановительным работам разрешается только по указанию руководителя восстановительных работ после получения им письменного разрешения от представителя дистанции электроснабжения.
14.5. По окончании восстановительных работ руководитель работ обязан лично или по докладам подчиненных ему работников убедиться в том, что люди удалены от частей контактной сети на расстояние более 2 м, рельсовый путь исправен, грузоподъемные и путевые машины приведены в транспортное положение, механизмы сняты, после чего он должен отметить время окончания работ на письменном уведомлении
(приложение N 3), находящемся у представителя дистанции электроснабжения.
Представитель дистанции электроснабжения, убедившись у руководителя восстановительных работ и получив письменное уведомление от него в том, что люди находятся на безопасном расстоянии, снимает заземляющие штанги и дает уведомление энергодиспетчеру об окончании работ. После снятия заземляющих штанг контактная сеть (ВЛ) считается находящейся под напряжением и приближаться к ней ближе 2 м запрещается.
14.6. Отключенные представителем дистанции электроснабжения для производства восстановительных работ участки контактной сети и ВЛ, расположенные на опорах контактной сети, при постоянном токе должны быть заземлены работниками района контактной сети двумя заземляющими штангами, которые должны находиться в пределах видимости работающих, но не далее 300 м с обеих сторон от места работы (
рисунок 15, а).
1 - поврежденная контактная подвеска постоянного тока;
2 - заземляющая штанга; 3 - рельсовый путь; 4 - опора
контактной сети; 5 - электромонтеры, охраняющие
заземляющие штанги
Рисунок 15 - Схема заземления на участке постоянного тока:
при поврежденной и отключенной контактной подвески (а);
при восстановительных работах широким фронтом (б)
При работе широким фронтом протяженностью более 600 м допускается установка заземляющих штанг вне пределов видимости работающих на границе зоны работ при условии охраны их специально выделенными электромонтерами района контактной сети и наличии их радиосвязи с представителем дистанции электроснабжения (рисунок 15, б).
14.7. На электрифицированных железнодорожных путях переменного тока отключенные представителем дистанции электроснабжения для производства восстановительных работ участки контактной сети и ВЛ, расположенные на опорах контактной сети, должны быть заземлены работниками района контактной сети заземляющими штангами, расположенными на фронте восстановительных работ одна от другой на расстоянии не более 200 м (
рисунок 16, а). При этом на участках переменного тока при разрушении рельсового пути на длине более 200 м основные (крайние) заземляющие штанги должны быть установлены по краям фронта восстановительных работ и подключены к исправному рельсовому пути. Дополнительные заземляющие штанги, которые устанавливаются через 200 м между основными заземляющими штангами, при разрушении рельсового пути присоединяются к специальным заземлителям, заглубленным в земляное полотно на глубину не менее 1 м на расстоянии не менее 2 м от головки крайнего от обочины рельса.

1 - поврежденная контактная подвеска переменного тока;
2 - заземляющая штанга; 3 - рельсовый путь;
4 - опора контактной сети
Рисунок 16 - Схема заземления на участке переменного тока:
при поврежденной и отключенной контактной подвеске (а);
при полном разрыве проводов контактной подвески (б)
При работах в зоне наведенного напряжения с нарушением целости проводов (разрыв) без наложения шунтирующей перемычки устанавливается по два переносных заземления с обеих сторон от места разрыва на расстоянии от 50 м до 100 м (
рисунок 16, б).
14.8. При выполнении восстановительных работ на одном из путей с заземленной контактной подвеской следует учитывать, что контактная подвеска соседнего пути может оставаться под напряжением.
14.9. Работы на опорах, крышах, железнодорожном подвижном составе, других устройствах и сооружениях, расположенных на расстоянии более 2 м от частей контактной сети и ВЛ, находящихся под напряжением, могут производиться без снятия напряжения и заземления контактной сети и ВЛ.
Восстановительные работы, выполняемые неэлектротехническим персоналом на расстоянии от 2 до 4 м от частей контактной сети и ВЛ, должны производиться под непрерывным надзором специально выделенного и проинструктированного руководителем работ лица - работника восстановительного поезда, наблюдающего за электробезопасностью работающих. К таким работам относятся монтажные, электро- и газосварочные и другие строительные работы. При этом группа по электробезопасности у работающих должна быть не ниже II, у наблюдающего - не ниже III.
14.10. Наблюдающему за электробезопасностью работающих запрещено:
совмещать надзор с какой-либо работой;
отвлекаться от надзора за работающими;
передавать свои обязанности другому лицу;
отлучаться с места работы.
Указания наблюдающего в части соблюдения требований инструкций и инструктажа являются обязательными для работающих.
XV. Порядок взаимодействия между работниками дистанции
электроснабжения, электромонтажных поездов,
строительно-монтажных поездов при производстве работ
на контактной сети и воздушных линиях электропередачи,
тяговых и трансформаторных подстанциях
15.1. Работы по реконструкции, капитальному ремонту контактной сети, ВЛ, КЛ, тяговых, трансформаторных подстанций в действующих электроустановках должны выполняться работниками электромонтажных, строительно-монтажных поездов и других субподрядных организаций (далее - ЭМП) по нормативным документам, обязательным для эксплуатационного персонала структурных подразделений, в электроустановках которых выполняется работа.
15.2. Разрешающими документами на право производства работ являются разрешение на строительство, реконструкцию объектов инфраструктуры ОАО "РЖД", акт-допуск и наряд-допуск на производство работ (далее - наряд).
Акт-допуск утверждает и выдает организации, выполняющей работы по строительству, реконструкции, ремонту объектов инфраструктуры ОАО "РЖД", главный инженер железной дороги либо по его решению заместитель главного инженера железной дороги (по региону) в пределах территориальной ответственности.
15.3. Настоящая глава устанавливает разграничение ответственности за обеспечение электробезопасности между подразделениями ОАО "РЖД" (в том числе дистанциями электроснабжения) с одной стороны и ЭМП, выполняющими работы по обновлению и ремонту, реконструкции контактной сети, воздушных линий электропередачи (ВЛ), кабельных линий (КЛ), тяговых, трансформаторных подстанций.
15.4. Электротехнический персонал ЭМП может выполнять работы в действующих электроустановках контактной сети, ВЛ, КЛ, тяговых, трансформаторных, подстанций, находящихся в обслуживании дистанций электроснабжения, в соответствии с присвоенной им группой по электробезопасности в качестве лиц, имеющих право выписки наряда-допуска, ответственных руководителей, производителей работ, наблюдающих (в случае выполнения работ несколькими группами со снятием напряжения и заземлением на контактной сети, ВЛ), членов бригады, в том числе лиц, выделенных для проверки отсутствия напряжения, завешивания заземляющих штанг, надзора за ними, и сигналистов.
15.5. Кроме предусмотренных в
пункте 15.2 Правил документов перед началом выполнения работ администрация ЭМП и администрация подразделения ОАО "РЖД", в пределах электроустановок которой будет выполняться работа, должны оформить акт-допуск
(приложение N 8) на производство работ на территории действующего предприятия, который предусматривает мероприятия, обеспечивающие безопасность производства работ и определяет ответственных за их выполнение. Перед началом выполнения работ акт-допуск должен оформляться с каждой организацией, непосредственно выполняющей работы по реконструкции, капитальному ремонту контактной сети, ВЛ, КЛ, тяговых, трансформаторных подстанций.
15.6. В акте-допуске должно быть отражено, что субподрядная организация (ЭМП) предоставляет следующие документы:
а) сопроводительное письмо с указанием цели командировки и списка командируемых работников, с группами по электробезопасности и предоставленными указанному персоналу правами: выдачи нарядов, быть производителями работ, ответственными руководителями, наблюдающими, членами бригады, в том числе лицами, имеющими право проверки отсутствия напряжения, завешивания заземляющих штанг, ограждения места работы (сигналист). Списки должны обновляться ежегодно в начале года (январь), а также по мере необходимости при изменении групп по электробезопасности, предоставляемых прав и кадровых перестановках;
б) распорядительный документ ЭМП, подтверждающий проверку знаний у производителей и ответственных руководителей требований документов, указанных в
распоряжении ОАО "РЖД" от 17 января 2015 г. N 66р "О проведении аттестации работников, производственная деятельность которых связана с движением поездов и маневровой работой на железнодорожных путях общего пользования ОАО "РЖД";
в) график выполнения работ, согласованный заказчиком;
г) проект графика предоставления "окон";
д) приказ о назначении от ЭМП ответственного за производство работ на данном объекте (электроустановках дистанции электроснабжения);
ж) проект производства работ (далее - ППР), согласованный с дистанцией электроснабжения, на выполняемые работы.
Подразделение ОАО "РЖД" обязано:
провести вводный инструктаж впервые допускаемому к работе в электроустановках дистанции электроснабжения персоналу ЭМП согласно полученным спискам;
издать распоряжение по дистанции электроснабжения о подтверждении прав командированного персонала субподрядной организации, издавать его ежегодно после получения списков от ЭМП и по мере необходимости. Распоряжение должно быть направлено в причастные линейные подразделения (в дистанции электроснабжения - энергодиспетчеру, руководителю района контактной сети, электроснабжения, ремонтно-ревизионного участка, тяговой подстанции), в эксплуатационных границах которого будет производиться работа.
По прибытии в линейное подразделение работники ЭМП должны получить первичный инструктаж от руководителя этого подразделения о местных особенностях устройств контактной сети, ВЛ, КЛ, электроустановок тяговых, трансформаторных подстанций, маршрутах служебного прохода, опасных местах, мерах безопасности при выполнении работ на контактной сети, ВЛ, находящихся под наведенным напряжением. Полученный инструктаж оформляется в разделе первичного инструктажа журнала инструктажа линейного подразделения дистанции электроснабжения под роспись каждого работника.
Помимо первичного инструктажа по перечисленным вопросам работникам, которым предоставлено право выдачи нарядов, ответственного руководителя, производителя работ проводится дополнительно первичный инструктаж по схемам питания и секционирования контактной сети, ВЛ, КЛ, тяговых, трансформаторных подстанций, опасным местам. При проведении инструктажа должны быть отражены вопросы конструктивных особенностей оборудования, схем питания и секционирования контактной сети, ВЛ, наличия наведенного напряжения, причины отнесения оборудования к опасным местам, расположение их по фронту работы, дополнительные меры безопасности при выполнении работ в опасном месте, оформление и организация работы в опасных местах. Инструктаж должен быть оформлен дополнительно помимо первичного инструктажа по вышеперечисленным вопросам.
15.7. Реконструкцию, обновление и ремонт контактной сети персонал ЭМП должен производить в соответствии с
ПОТЭУ,
Правилами по охране труда при работе на высоте от 28 марта 2014 г. N 155н,
Правилами 103, Инструкцией 104,
Правилами ЦЭ-868, Инструкцией ЦЭ-852, Инструкцией N 4579, Правилами.
15.8. Реконструкцию, обновление и ремонт тяговых и трансформаторных подстанций командированный персонал ЭМП должен производить в соответствии с
ПОТЭУ,
Правилами технической эксплуатации электроустановок потребителей (утверждены приказом Министерства энергетики Российской Федерации от 13 января 2003 г. N 6), Инструкцией 4054.
15.9. Проверка знаний работниками ЭМП по кругу своих обязанностей, перечисленных в
пунктах 15.7 и
15.8 нормативных документов, должна проводиться в комиссии ЭМП под председательством ответственного за электрохозяйство. Члены комиссии ЭМП проходят проверку знаний указанных нормативных документов в службе электроснабжения ДИ дороги по месту дислокации ЭМП.
Предварительно ответственный за электрохозяйство, лицо, его замещающее, а также специалист по охране труда ЭМП в соответствии с требованиями
пункта 1.4.28 "Правил технической эксплуатации электроустановок потребителей" должны пройти проверку знаний
ПОТЭУ в комиссии органов Ростехнадзора и иметь при себе удостоверение, выписку из журнала учета проверки знаний.
15.10. Командированный персонал ЭМП имеет право выполнять работы на контактной сети со снятием напряжения и заземлением, вблизи частей, находящихся под напряжением, вдали от частей, находящихся под напряжением, а также под напряжением с изолирующей съемной вышки. Группа по электробезопасности при выполнении работ под напряжением должна быть: исполнителя работ - не ниже 5, помощника - не ниже 4. Работникам ЭМП запрещено выполнять работу под напряжением в местах секционирования: изолирующих сопряжениях, секционных и врезных изоляторах, разделяющих контактную подвеску на секции, и в опасных местах.
На ВЛ работникам ЭМП разрешено выполнять работы со снятием напряжения и заземлением, вдали от частей, находящихся под напряжением, на КЛ - со снятием напряжения и заземлением.
Все работники ЭМП, выполняющие работы в электроустановках, в том числе на контактной сети, ВЛ, КЛ, тяговых, трансформаторных подстанциях, должны иметь при себе удостоверение
формы ЭУ-43 с талоном-предупреждением, выданное комиссией ЭМП. В удостоверении электромонтеров контактной сети, которым комиссия по проверке знаний предоставила право быть сигналистом, должна быть об этом запись "ограждение места работы" в графе "Свидетельство на право проведения специальных работ".
15.11. Перед началом работ на контактной сети, ВЛ, КЛ, на оборудовании тяговых, трансформаторных подстанций, административно-технический персонал ЭМП разрабатывает график производства работ, технологические карты на сложные работы и утверждает эту документацию в дистанции электроснабжения. Перечень сложных работ устанавливает руководитель ЭМП в зависимости от местных условий и квалификации персонала.
15.12. 3а 15 дней до начала планируемых работ на основании ППР, графика производства работ ответственный руководитель ЭМП должен подать в дистанцию электроснабжения, единый диспетчерский центр заявку на предоставление "окон".
15.13. Реконструкцию, капитальный ремонт в условиях действующей контактной сети, ВЛ, КЛ, перечисленных в
пункте 1.1 Правил 103, следует выполнять по наряду
формы ЭУ-115. Указанный наряд на производство самих работ выписывается на производителя работ ЭМП лицом из персонала ЭМП, имеющим право выписки наряда.
Работу в электроустановках тяговых, трансформаторных подстанций следует выполнять по
наряду ЭУ-44.
XVI. Организация работ на контактной сети, ВЛ, КЛ
16.1. Работа со снятием напряжения.
Накануне выполнения работ административно-технический персонал ЭМП, организующий работу и имеющий право выписки нарядов, в рабочее время не позднее 12 часов передает заявку начальнику (старшему электромеханику) района контактной сети (района электроснабжения) дистанции электроснабжения о характере, месте работы (номер пути, номера опор, перегон, железнодорожная станция, содержание работы), указывает фамилию производителя работ, лиц, выделенных для проверки отсутствия напряжения и завешивания заземляющих штанг. Заявка должна быть зафиксирована в журнале заявок подразделения ЭМП. Руководитель района контактной сети, электроснабжения дистанции электроснабжения записывает заявку в журнал заявок.
При наличии единого диспетчерского центра на дороге порядок подачи заявок должен быть установлен местной инструкцией.
16.2. Начальник района контактной сети (старший электромеханик) определяет и записывает в журнал заявок объем необходимых отключений коммутационных аппаратов, объекты, места установки заземляющих штанг (технические меры) и сообщает об этом административно-техническому персоналу ЭМП, который фиксирует перечисленные технические меры в своем журнале заявок.
16.3. При производстве работ по одному наряду двумя или более электромонтажными группами ЭМП при выписке наряда в каждой группе назначается наблюдающий от ЭМП. Наблюдающие за группами работающих от ЭМП находятся в подчинении производителя работ и осуществляют надзор за безопасностью членов бригады, в том числе за электробезопасностью в части контактной сети, ВЛ.
16.4. При выполнении работ с использованием механизмов и подъемных сооружений, на кабельных линиях, по установке и демонтажу опор контактной сети, при вводе в эксплуатацию устройств электроснабжения на участках реконструкции и нового строительства контактной сети и линий электроснабжения, при выполнении работ сводной бригадой нескольких подразделений, при выполнении сложных работ выдающий наряд ЭМП должен назначать ответственного руководителя работ в соответствии с требованиями
Правил 103 и Инструкции 104.
В перечисленных случаях не разрешено совмещать обязанности производителя и ответственного руководителя работ.
Кроме того, ответственный руководитель должен назначаться при выполнении работ на контактной сети, находящейся под наведенным напряжением, под напряжением с изолирующей съемной вышки, с рабочей площадки автомотрисы со снятием напряжения с контактной сети. В связи с тем, что производитель работ не имеет права отвлекаться от надзора и принимать участие в работе, т.е. выполняет фактически функции административно-технического персонала, разрешается совмещать обязанности производителя и ответственного руководителя работ при выполнении работ на контактной сети, находящейся под рабочим и наведенным напряжением, с рабочей площадки автомотрисы со снятием напряжения.
16.5. Производителю работ, наблюдающим от ЭМП запрещается отлучаться с места работы, принимать участие в работе, отвлекаться от надзора за ведением работ, передавать свои функции другому лицу.
16.6. Допуск к работе персонала ЭМП производит персонал дистанции электроснабжения. Для этого лицом из персонала дистанции электроснабжения, имеющим право выписки наряда, необходимо для допуска бригады ЭМП выписать наряд на производителя работ от дистанции электроснабжения. В состав бригады
наряда ЭУ-115 должны быть включены работники ЭМП, которые несут ответственность за безопасность работ: производитель работ ЭМП, ответственный руководитель, наблюдающий, электромонтеры ЭМП, выделенные для завешивания заземляющих штанг.
16.7. В наряде ЭУ-115 на производителя работ, который выписывает административно-технический персонал ЭМП, в
графе "До начала работ необходимо выполнить следующие переключения, связанные с обеспечением безопасности работ" необходимо указывать конкретные коммутационные аппараты и их местонахождение, которые следует включить или отключить. Объем необходимых отключений, определенный начальником (старшим электромехаником) района контактной сети, административно-технический персонал ЭМП включает в наряд на основании записи из журнала заявок
(пункт 16.2).
16.8. Выдающий наряд от дистанции электроснабжения проводит инструктаж производителя работ об особенностях предстоящей работы по обеспечению электробезопасности в части контактной сети, ВЛ, КЛ и безопасности движения поездов.
Один экземпляр наряда должен находиться у производителя работ до полного окончания работы, второй - у лица, выдавшего наряд.
16.9. После выполнения переключений и снятия напряжения с контактной сети, ВЛ производитель работ дистанции электроснабжения должен получить приказ от энергодиспетчера на подготовку места работы и заполнить
графу в наряде ЭУ-115 "Оформление ежедневного допуска к работе", провести инструктаж производителю работ ЭМП, электромонтерам ЭМП, выделенным для проверки отсутствия напряжения и завешивания заземляющих штанг. Работники ЭМП расписываются в наряде за полученный инструктаж, после проверки отсутствия напряжения под наблюдением производителя работ - представителя дистанции электроснабжения, завешивают переносные заземляющие штанги. После выполнения технических мероприятий производитель работ от дистанции электроснабжения, осуществляющий допуск, расписывается в
таблице наряда ЭУ-115 "Рабочее место подготовлено".
16.10. Завершив подготовку места работы, представитель дистанции электроснабжения должен выдать производителю работ от ЭМП письменное
разрешение на специальном бланке формы ЭУ-57 (приложение N 3), в котором указывает номер приказа энергодиспетчера, границы места работы, места установки переносных заземлений, время начала и окончания работы. Производитель работ ЭМП подписывает разрешение и ставит время его получения на копии, которая остается у представителя дистанции электроснабжения.
16.11. Работа под напряжением.
Накануне выполнения работ административно-технический персонал ЭМП, организующий работу и имеющий право выписки нарядов, в рабочее время не позднее 12 часов передает заявку начальнику (старшему электромеханику) района контактной сети дистанции электроснабжения о планируемой работе под напряжением, указывает характер, место работы (номера опор, перегон, железнодорожная станция, содержание работы), фамилию производителя работ, сигналистов. Заявка должна быть зафиксирована в журнале заявок подразделения ЭМП. Руководитель линейного подразделения дистанции электроснабжения записывает заявку в журнал заявок.
16.12. Начальником района контактной сети (старшим электромехаником) должна быть подана в соответствии с требованиями главы 2 Инструкции 4579 заявка на выдачу предупреждений на поезда.
После подачи заявки на выдачу предупреждений начальник района контактной сети (старший электромеханик) сообщает об этом и называет фамилию наблюдающего работника района контактной сети административно-техническому персоналу ЭМП, который делает запись в журнале заявок структурного подразделения ЭМП. Наблюдающим от дистанции электроснабжения должен быть назначен работник с группой по электробезопасности не менее 5. Кроме того, начальник района контактной сети должен сообщить выдающему наряд от ЭМП о наличии в зоне работы мест с возвышением рельса на 50 мм и более, об участках, где запрещена работа с изолирующей съемной вышки, о местах с неустойчивой связью и других случаях, когда необходимо назначать дополнительных сигналистов, сигналистов-оповестителей.
16.13. Наряд ЭУ-115 на работу под напряжением с изолирующей съемной вышки на бригаду ЭМП выписывает административно-технический персонал ЭМП, указывая в
графе "Наблюдающий" фамилию представителя дистанции электроснабжения.
До начала работы производитель работ от ЭМП сообщает энергодиспетчеру фамилии членов бригады - сигналистов. После проверки наличия указанных лиц в списке командированного персонала и подтверждения действия заявки о выдаче предупреждения, энергодиспетчер дает разрешение на производство работ. Время согласования (разрешения) должно быть зафиксировано энергодиспетчером в суточной ведомости формы ЭУ-89, а производителем работ - в наряде ЭУ-115 в
графе "Оформление ежедневного допуска к работе". Наблюдающий от дистанции электроснабжения должен убедиться в том, что в удостоверении работников ЭМП, назначенных сигналистами, в графе "Свидетельство на право проведения специальных работ" указано "ограждение места работы".
16.14. Производитель работ ЭМП не имеет права принимать непосредственное участие в работе, он должен осуществлять надзор за работающими и связь с сигналистами.
Наблюдающий от района контактной сети осуществляет надзор за качеством и ходом выполнения работы. В случае отсутствия ограждения или нарушении связи между производителем работ и сигналистами, он должен дать команду на снятие вышки с пути и отстранить бригаду от работы.
16.15. После получения письменного разрешения на производство работ от производителя работ дистанции электроснабжения (работа со снятием напряжения и заземлением) или разрешения на производство работ от энергодиспетчера (работа под напряжением) производитель работ от ЭМП на рабочем месте должен произвести инструктаж бригаде по обеспечению:
а) безопасности движения поездов;
б) безопасности персонала при выполнении работы;
в) мер безопасности при нахождении на железнодорожных путях;
г) соблюдения технологии производства работ;
д) соблюдения требований электробезопасности, полученных при инструктаже от производителя работ дистанции электроснабжения;
е) выполнения работ только в границах, указанных в разрешении производителя работ дистанции электроснабжения;
ж) ограждения места работы.
Инструктаж на месте работ оформляется в
наряде-допуске формы ЭУ-115 у производителя работ ЭМП подписями всех инструктируемых. При выполнении работ под напряжением с изолирующей съемной вышки сигналисты расписываются за получение инструктажа и следуют на место ограждения, члены бригады - после получения сигнала от сигналистов о возможности начала работ.
Оформление перерывов в работе, переходов на другое рабочее место и окончания работы производится в соответствии с Инструкцией ЦЭ 104 в наряде производителя работ ЭМП.
По окончании работы со снятием напряжения и заземлением, вывода персонала из опасной зоны производитель работ от ЭМП дает письменное уведомление с указанием времени окончания работ, своей фамилии
(приложение N 3) производителю работ дистанции электроснабжения. Если работа выполнялась несколькими бригадами, такое уведомление производителю работ от дистанции электроснабжения дает ответственный руководитель от ЭМП. Производитель работ от дистанции электроснабжения дает команду лицам, выделенным для завешивания заземляющих штанг, о снятии заземлений. Последняя заземляющая штанга должна быть снята под надзором производителя работ дистанции электроснабжения.
16.16. Разграничение ответственности ЭМП и дистанции электроснабжения при организации и производстве работ на контактной сети, ВЛ, КЛ, оборудовании тяговых, трансформаторных подстанций.
16.16.1. Работник дистанции электроснабжения, выдающий наряд, несет ответственность за назначение из персонала дистанции электроснабжения производителя работ (работа со снятием напряжения и заземлением), наблюдающего (работа под напряжением), за соответствие группы по электробезопасности производителя работ ЭМП условиям работы. Он должен убедиться в том, что лица ЭМП, назначенные производителем работ, членами бригады, выделенными для завешивания заземляющих штанг, имеют эти права.
Производитель работ от дистанции электроснабжения при выполнении работ со снятием напряжения и заземлением ведет оперативные переговоры с энергодиспетчером, получает от него приказ на производство работ, производит допуск бригады ЭМП и дает уведомление энергодиспетчеру об окончании работ.
Работники дистанции электроснабжения несут ответственность за:
а) правильность и достаточность технических мер, обеспечивающих электробезопасность работающих;
б) выдачу предупреждений, запрещений;
в) достаточность и исправность средств защиты и сигнальных принадлежностей, применяемых при подготовке рабочего места в электроустановке;
г) инструктаж производителя работ ЭМП, лиц, выделенных для завешивания заземляющих штанг ЭМП на рабочем месте по электробезопасности в части контактной сети, ВЛ, КЛ, порядку наложения и местам установки заземляющих штанг, а также безопасности движения поездов с росписью указанных выше работников в
наряде формы ЭУ-115, по которому производится допуск к работе;
д) допуск перечисленных в
наряде ЭУ-115 лиц ЭМП к работе на контактной сети, ВЛ, КЛ;
е) выдачу производителю работ ЭМП разрешения на работу на отдельном бланке установленной формы;
ж) приемку рабочего места от ЭМП по окончании работы;
з) оформление окончания работ после получения от производителя работ ЭМП письменного уведомления об окончании работ;
и) уведомление энергодиспетчера об окончании работ;
к) подачу напряжения после окончания работ;
л) пропуск первого поезда после окончания работ.
Производитель работ от дистанции электроснабжения периодически после допуска к работе осуществляет надзор за работающим персоналом ЭМП.
16.16.2. Производитель работ ЭМП должен соблюдать указания производителя работ от дистанции электроснабжения по обеспечению электробезопасности в части контактной сети, ВЛ, КЛ.
Производитель работ ЭМП несет ответственность за:
а) соблюдение в полном объеме требований, полученных при инструктаже от представителя дистанции электроснабжения;
б) надзор за работающими, в том числе за соблюдением требований электробезопасности в части контактной сети, ВЛ, КЛ;
в) выполнение наблюдающими ЭМП своих обязанностей по надзору за работающими в закрепленных за ними группах работников ЭМП при выполнении работ со снятием напряжения;
г) инструктаж членов бригады ЭМП на рабочем месте с оформлением в
наряде-допуске ЭУ-115 ЭМП с росписью всех членов бригады ЭМП;
д) соблюдение технологии, своевременность и качество выполнения работ;
е) выполнение работ в границах, указанных в "Разрешении на производство работ", выданном производителем работ дистанции электроснабжения;
ж) достаточность и пригодность средств защиты, монтажных и сигнальных принадлежностей, применяемых бригадой ЭМП;
з) соблюдение требований безопасности при нахождении и работе на железнодорожных путях;
и) обеспечение безопасности движения поездов на месте производства работ;
к) своевременность окончания работ, приведение устройств контактной сети, ВЛ в соответствие требованиям
Правил ЦЭ-868, обеспечение габарита и технического состояния устройств, гарантирующих безопасный пропуск поездов и подачу напряжения после окончания работ;
л) сдачу рабочего места после окончания работы производителю работ дистанции электроснабжения и оформление письменного уведомления об окончании работ;
м) пропуск первого поезда после окончания работы.
Наблюдающие от ЭМП несут ответственность за:
а) надзор за электробезопасностью членов бригады, вверенной им группы, в процессе выполнения работы;
б) сохранность и наличие установленных в соответствии с требованиями наряда-допуска переносных заземляющих штанг на месте работы бригады ЭМП, сигналов ограждения места работы;
в) установку на контактный провод заземляющей штанги автомотрисы при использовании ее в качестве переносного заземления, установку шунтирующих штанг и перемычек;
г) соблюдение членами бригады ЭМП указаний, полученных при инструктаже.
16.17. Ежедневно после окончания работ со снятием напряжения и заземлением независимо от того, на какой стадии они были прерваны, производитель работ от ЭМП предъявляет выполненный объем работ по каждому сдаваемому этапу производителю работ дистанции электроснабжения при условии обеспечения безопасности движения поездов. После этого он должен отметить окончание работ на письменном уведомлении
(приложение N 3) и вручить его производителю работ дистанции электроснабжения.
16.18. Работы на контактной сети "вблизи частей, находящихся под напряжением", вдали от частей, находящихся под напряжением, персоналом ЭМП следует выполнять по
наряду ЭУ-115 или распоряжению, выписанному на производителя работ ЭМП. К работе можно приступать после ее согласования с энергодиспетчером. Если при выполнении работ вблизи частей, находящихся под напряжением, персоналу ЭМП необходимо приблизиться к волноводу на расстояние менее 0,8 м, волновод на месте работ должен быть заземлен, что должно быть предусмотрено нарядом, выписанным персоналом ЭМП. Устанавливать заземления на волновод должны члены бригады ЭМП под надзором производителя работ ЭМП.
16.19. Оповещение всех причастных работников ЭМП о подаче напряжения в контактную сеть при электрификации боковых путей, удлинении путей производится дистанцией электроснабжения установленным порядком адресной телеграммой.
XVII. Организация работ командированным персоналом ЭМП
на тяговых и трансформаторных подстанциях
17.1. Работы по реконструкции, капитальному ремонту тяговых, трансформаторных подстанций должны производиться при наличии разрешающих документов, указанных в
пунктах 15.2,
15.6 Правил. Командированный электротехнический персонал ЭМП должен иметь удостоверения установленной формы о проверке знаний норм и правил работы в электроустановках с отметкой о группе по электробезопасности, присвоенной установленным порядком. Указанный персонал должен быть аттестован в знании Инструкции N 4054, других нормативных документов в объеме, указанном в
пункте 15.8. Кроме того, должны быть выполнены требования, содержащиеся в
пунктах 15.9,
15.10,
15.11 Правил.
17.2. Перед началом выполнения работы командированный персонал ЭМП должен пройти вводный (в дистанции электроснабжения) и первичный (в линейном подразделении) инструктажи.
На тяговой подстанции или в районе электроснабжения должно быть распоряжение начальника дистанции электроснабжения о допуске к работе персонала ЭМП с указанием групп по электробезопасности и предоставляемых прав (выписки наряда, ответственного руководителя, производителя работ, наблюдающего, члена бригады).
При проведении первичного инструктажа по безопасности труда командированный персонал СМП должен быть ознакомлен с конструктивными особенностями оборудования тяговых, трансформаторных подстанций, маршрутами служебного прохода, опасными местами, мерами безопасности при выполнении работ при наличии наведенного напряжения. Полученный инструктаж оформляется в разделе первичного инструктажа в журнале инструктажей тяговой подстанции, района электроснабжения с росписью каждого работника ЭМП за полученный инструктаж.
Помимо первичного инструктажа по перечисленным вопросам работникам, которым предоставлено право выдачи наряда, ответственного руководителя, производителя работ проводится дополнительно первичный инструктаж по однолинейным, оперативным схемам, схемам электроснабжения подстанций, особенностям оформления и выполнения работ в опасных местах. Инструктаж должен быть оформлен дополнительно помимо первичного инструктажа по перечисленным в предыдущем абзаце вопросам.
17.3. Работа в действующих электроустановках тяговых, трансформаторных подстанций командированным персоналом ЭМП должна выполняться по
наряду ЭУ-44, выписанному административно-техническим персоналом дистанции электроснабжения, имеющим право выписки нарядов на тяговой подстанции, в районе электроснабжения. Ответственный руководитель, производитель работ и члены бригады - персонал ЭМП, допускающий - оперативно-ремонтный персонал тяговой подстанции, района электроснабжения, имеющий право быть допускающим (
пункт 46.9 ПОТЭУ).
Допускающий в процессе подготовки места работы в ОРУ тяговой подстанции должен оградить канатом место работы, выгородить проход к месту работы из помещения подстанции, укрепить на канате плакаты "Стой! Напряжение" надписями внутрь.
XVIII. Меры электробезопасности при тушении пожара
18.1. При возникновении пожара вблизи контактной сети, ВЛ и связанных с ними устройств, необходимо немедленно сообщить об этом дежурному по станции, диспетчеру поездному, энергодиспетчеру или работникам района контактной сети и в пожарную охрану. Действия локомотивной бригады при пожаре определены Инструкцией по обеспечению пожарной безопасности на моторвагонном подвижном составе, утвержденной распоряжением ОАО "РЖД" от 24 февраля 2009 г. N 373р.
18.2. Если пожар возник на подвижном составе или в поезде и для его тушения необходимо приближаться к находящимся под напряжением проводам ближе 2 м, машинист через диспетчера поездного должен потребовать снятия напряжения с контактной сети (ВЛ) и ее заземления. Также требуется снятие напряжения с контактной сети (ВЛ) и заземление, когда контактный провод касается подвижного состава или груза и имеется вероятность пережога проводов.
18.3. До снятия напряжения с контактной сети или ВЛ, тушение горящих предметов, крыши, стенок локомотива, автомотрисы, вагонов и груза, находящихся на расстоянии менее 2 м от контактной сети и проводов ВЛ, разрешается производить только углекислотными, углекислотно-бромэтиловыми и порошковыми огнетушителями, не приближаясь к проводам контактной сети и ВЛ ближе 2 м.
Тушение указанных горящих предметов водой, химическими, пенными или воздушно-пенными огнетушителями можно производить только при снятом с контактной сети напряжении и после ее заземления.
18.4. Ликвидация пожара с помощью пожарного поезда, пожарного автомобиля на электрифицированных участках железных дорог должна производиться только после снятия напряжения и заземления контактной сети и ВЛ представителем дистанции электроснабжения с учетом требований руководителя тушения пожара и получения им письменного разрешения
(приложение N 3) от представителя дистанции электроснабжения о снятии напряжения и заземлении контактной сети или ВЛ. В разрешении должен быть указан номер приказа энергодиспетчера и время снятия напряжения.
При организации тушения пожара на электрифицированных участках запрещается до снятия напряжения приближаться к проводам и другим частям контактной сети и воздушных линий на расстояние менее 2 м, а к оборванным проводам контактной сети и ВЛ на расстояние менее 8 м до их заземления.
18.5. Локомотивные бригады, проводники, машинисты и помощники машинистов автомотрис должны быть обучены правилам пользования средствами пожаротушения и способам тушения пожара вблизи проводов контактной сети и ВЛ в соответствии с действующими нормами пожарной безопасности.
к Правилам
РАБОТНИКОВ ОАО "РЖД", КОТОРЫЕ ОБЯЗАНЫ ЗНАТЬ ПРАВИЛА
ЭЛЕКТРОБЕЗОПАСНОСТИ ДЛЯ РАБОТНИКОВ ОАО "РЖД"
ПРИ ОБСЛУЖИВАНИИ УСТРОЙСТВ И СООРУЖЕНИЙ
КОНТАКТНОЙ СЕТИ И ЛИНИЙ ЭЛЕКТРОПЕРЕДАЧИ
--------------------------------
<*> Кроме перечисленных работников ОАО "РЖД" Правила должны выдаваться всему руководящему составу и рабочим всех специальностей, работа которых связана с нахождением на перегонах и станциях электрифицированных железнодорожных путей ОАО "РЖД".
1. По хозяйству пути - начальники, их заместители, главные инженеры и главные механики дистанций пути и путевых машинных станций, начальники дистанций защитных лесонасаждений и их заместители, начальники производственных участков дистанций защитных лесонасаждений, старшие инженеры дистанции пути, прорабы и мастера путевых машинных станций, начальники колонн, машин и механизмов, инженеры по механизации, механики-наладчики, водители дрезин, машинисты мотовозов, автомотрис, машинисты железнодорожных строительных машин, машинист автотракторной техники, технолог, старшие дорожные мастера, дорожные мостовые и тоннельные мастера, бригадиры пути - в полном объеме, кроме
разделов VII,
VIII,
IX,
X и
XI. Монтеры пути должны знать
разделы I,
II,
III,
IV,
V и
приложение N 2.
2. По локомотивному хозяйству - начальники депо, их заместители и главные инженеры, дежурные по депо и их помощники, дежурные по линейным пунктам, машинисты-инструкторы, машинисты локомотивов, помощники машинистов локомотивов, инженеры и техники, мастера, машинисты и помощники машинистов стреловых грузоподъемных кранов, проводники локомотивов в недействующем (холодном) состоянии локомотивных депо и заводов - в полном объеме.
3. По вагонному хозяйству - начальники вагонных депо, промывочно-пропарочных станций и их заместители, инженеры и техники, начальники пунктов технического обслуживания вагонов, мастера и бригадиры, машинисты и стропальщики кранов на автомобильном и железнодорожном ходу, осмотрщики вагонов, столяры, кровельщики, слесари, плотники, автоматчики, электросварщики, маляры - в полном объеме.
4. По пассажирскому хозяйству - начальники пассажирских вагонных депо, вагонных участков, дирекций по обслуживанию пассажиров, начальники вокзалов и их заместители, механик-бригадир проводников пассажирских вагонов, начальники резерва проводников, инженеры и техники, проводники вагонов, рабочие по экипировке пассажирских вагонов, водители автокранов - в полном объеме.
5. По хозяйству автоматики и телемеханики - начальники дистанций и их заместители, главные инженеры, начальники механизированных горок, начальники участков производства, инженеры, старшие электромеханики, электромеханики, электромонтеры, обслуживающие устройства СЦБ механизированных горок - в полном объеме.
6. По дирекции управления движением - начальники, заместители, курирующие вопросы охраны труда, центров организации работы железнодорожных станций, железнодорожных станций, дежурные по железнодорожным станциям, постам и разъездам, начальники резервов кондукторских бригад и их заместители, станционные и маневровые диспетчеры должны знать
I,
II,
VIII,
IX,
X,
XIV,
XVIII разделы Правил и
Приложение 2.
Остальные работники: составители поездов и их помощники, дежурные стрелочных постов, операторы СТЦ, регулировщики скорости движения вагонов, операторы постов централизации должны знать
I,
II,
IX,
X разделы Правил и
Приложение N 2.
7. По дирекции управления складским комплексом - начальники механизированных дистанций погрузочно-разгрузочных работ, начальники производственных участков погрузочно-разгрузочных работ, заведующие грузовыми дворами, контейнерными площадками, пакгаузами: инженеры и техники, коммерческие ревизоры, начальники льдопунктов, приемосдатчики и приемщики поездов и рабочие ПКО, машинисты кранов и их помощники - в полном объеме.
8. По хозяйству электроснабжения - инженерно-технические работники службы электроснабжения, начальники, заместители, главные инженеры, инженеры и техники дистанции электроснабжения, энергодиспетчеры, начальники, старшие электромеханики (мастера), электромеханики и электромонтеры районов контактной сети, тяговых подстанций и районов электроснабжения, ремонтно-ревизионных участков, водители автокранов, инженерно-технические работники дорожных электротехнических лабораторий, проектно-конструкторских бюро - в полном объеме.
9. По подъездным путям - начальники железнодорожных цехов и их заместители, инженеры и техники, диспетчеры поездные, локомотивные бригады, выезжающие на электрифицированные пути железнодорожных станций ОАО "РЖД" - в полном объеме.
10. По восстановительным поездам - начальники восстановительных поездов, мастера, бригадиры и крановщики - в полном объеме.
11. По строительно-монтажным и электромонтажным поездам - административно-управленческий состав и рабочие всех специальностей, работа которых связана с нахождением на перегонах и железнодорожных станциях электрифицированных железнодорожных путей ОАО "РЖД" - в полном объеме.
к Правилам
МЕРЫ ОКАЗАНИЯ ПЕРВОЙ ПОМОЩИ ПОСТРАДАВШИМ
В АВАРИЙНОЙ СИТУАЦИИ
1. Общие положения
Все работники ОАО "РЖД" (кроме персонала дирекции управления движением), указанные в
приложении 1 к Правилам, должны периодически 1 раз в год проходить теоретическое и практическое обучение приемам оказания первой помощи пострадавшим от действия электрического тока. Занятия должны проводить работники из числа соответствующего медицинского персонала совместно с инженерно-техническими работниками подразделения ОАО "РЖД". Ответственность за организацию обучения несут руководители указанных подразделений ОАО "РЖД".
В местах постоянного дежурства работников должны иметься:
а) аптечки с набором необходимых медикаментов для оказания первой медицинской помощи;
б) плакаты (буклеты) с изображением приемов оказания первой медицинской помощи пострадавшим при аварийной ситуации (проведение искусственного дыхания, наружного массажа сердца, наложение повязок, шин).
Кроме того, аптечками должны быть укомплектованы автотранспорт для доставки бригад на линию, автомотрисы. Содержание аптечки для оказания первой помощи работникам должно соответствовать требованиям
приказа Минздравсоцразвития России от 5 марта 2011 г. N 169н.
2. Освобождение от действия электрического тока
Отключить электроустановку можно с помощью выключателя, рубильника или другого отключающего аппарата, а также путем снятия предохранителей, разъема штепсельного соединения, создания искусственного короткого замыкания на воздушной линии "набросом".
Если отсутствует возможность быстрого отключения электроустановки, то необходимо принять меры к отделению пострадавшего от токоведущих частей, к которым он прикасается.
При напряжении до 1 000 В для отделения пострадавшего от токоведущих частей или провода следует воспользоваться канатом, палкой, доской или каким-либо другим сухим предметом, не проводящим электрический ток.
Можно оттянуть пострадавшего от токоведущих частей за одежду (если она сухая и отстает от тела), например, за полы пиджака или пальто, за воротник, избегая при этом прикосновения к окружающим металлическим предметам и частям тела пострадавшего, не прикрытым одеждой. Можно оттащить пострадавшего за ноги, при этом оказывающий помощь не должен касаться его обуви или одежды без хорошей изоляции своих рук, так как обувь и одежда могут быть сырыми и являться проводниками электрического тока. Для изоляции рук оказывающий помощь, особенно если ему необходимо коснуться тела пострадавшего, не прикрытого одеждой, должен надеть диэлектрические перчатки или обмотать руку шарфом, надеть на нее суконную фуражку, натянуть на руку рукав пиджака или пальто, накинуть на пострадавшего резиновый ковер, прорезиненную материю (плащ) или просто сухую материю. Можно также изолировать себя, встав на резиновый ковер, сухую доску или какую-либо не проводящую электрический ток подстилку, сверток сухой одежды и т.п. При отделении пострадавшего от токоведущих частей следует действовать одной рукой.
При напряжении выше 1 000 В для отделения пострадавшего от токоведущих частей необходимо использовать основные и дополнительные средства защиты: надеть резиновые диэлектрические перчатки и диэлектрические боты и действовать изолирующей штангой или изолирующими клещами, рассчитанными на соответствующее напряжение.
На воздушных линиях электропередачи (ВЛ) 6 - 20 кВ, когда нельзя быстро отключить их со стороны электропитания, следует создать искусственное короткое замыкание для отключения ВЛ. Для этого на провода ВЛ надо набросить гибкий неизолированный проводник. Набрасываемый проводник должен иметь достаточное сечение во избежание перегорания при прохождении через него тока короткого замыкания. Перед тем как набросить проводник, один его конец надо заземлить (присоединить к телу металлической опоры, заземляющему спуску или отдельному заземлителю), а на другой конец для удобства наброса желательно прикрепить груз. Набрасывать проводник надо так, чтобы он не касался людей, в том числе оказывающего помощь и пострадавшего. При набросе проводника необходимо пользоваться диэлектрическими перчатками и ботами.
3. Тушение горящей одежды
Если на человеке загорелась одежда, то нужно как можно скорее погасить огонь, но при этом нельзя сбивать пламя незащищенными руками.
Воспламенившуюся одежду нужно быстро сбросить, сорвать, либо погасить, заливая водой, а зимой присыпая снегом. Можно сбить пламя, катаясь в горящей одежде по полу, земле. На человека в горящей одежде можно также накинуть плотную ткань, одеяло, брезент, которые после ликвидации пламени необходимо убрать, чтобы уменьшить термическое воздействие на кожу человека. Человека в горящей одежде нельзя укутывать с головой, так как это может привести к поражению дыхательных путей и отравлению токсичными продуктами горения.
4. Способы оказания первой помощи при поражении электрическим током
Если пострадавший дышит очень редко и судорожно, но у него прощупывается пульс, необходимо сразу же начать делать искусственное дыхание.
Если у пострадавшего отсутствуют сознание, дыхание, пульс, кожный покров синюшный, а зрачки расширенные, следует немедленно приступить к восстановлению жизненных функций организма путем проведения искусственного дыхания и наружного массажа сердца.
Не следует раздевать пострадавшего, теряя на это время. Необходимо помнить, что попытки оживления эффективны лишь в тех случаях, когда с момента остановки сердца прошло не более 4 минут, поэтому первую помощь следует оказывать немедленно и по возможности на месте происшествия.
Наиболее эффективным способом искусственного дыхания является способ "изо рта в рот" или "изо рта в нос", так как при этом обеспечивается поступление достаточного объема воздуха в легкие пострадавшего. Воздух можно вдувать через марлю, платок и т.п. Этот способ искусственного дыхания позволяет легко контролировать поступление воздуха в легкие пострадавшего по расширению грудной клетки после вдувания и последующему спаданию ее в результате пассивного выдоха.
Для проведения искусственного дыхания пострадавшего следует уложить на спину, расстегнуть стесняющую дыхание одежду и обеспечить проходимость верхних дыхательных путей, которые в положении на спине при бессознательном состоянии закрыты запавшим языком. Кроме того, в полости рта может находиться инородное содержимое (рвотные массы, соскользнувшие протезы, песок, ил, трава, если человек тонул), которое необходимо удалить указательным пальцем, обернутым платком (тканью) или бинтом, повернув голову пострадавшего набок.
После этого оказывающий помощь располагается сбоку от головы пострадавшего, одну руку подсовывает под его шею, а ладонью другой руки надавливает на лоб, максимально запрокидывая голову. При этом корень языка поднимается и освобождает вход в гортань, а рот пострадавшего открывается. Оказывающий помощь наклоняется к лицу пострадавшего, делает глубокий вдох открытым ртом, затем полностью плотно охватывает губами открытый рот пострадавшего и делает энергичный выдох, с некоторым усилием вдувая воздух в его рот; одновременно он закрывает нос пострадавшего щекой или пальцами руки, находящейся на лбу.
Если у пострадавшего хорошо определяется пульс и необходимо проводить только искусственное дыхание, то интервал между искусственными вдохами должен составлять 5 с, что соответствует частоте дыхания 12 раз в 1 минуту.
Кроме расширения грудной клетки хорошим показателем эффективности искусственного дыхания может служить порозовение кожных покровов и слизистных оболочек, а также выход пострадавшего из бессознательного состояния и появление у него самостоятельного дыхания.
Прекращают искусственное дыхание после восстановления у пострадавшего достаточно глубокого и ритмичного самостоятельного дыхания.
Наружный массаж сердца выполняют следующим образом.
Если помощь оказывает один человек, он располагается сбоку от пострадавшего и, наклонившись, делает два быстрых энергичных вдувания (по способу "изо рта в рот" или "изо рта в нос"), затем разгибается, оставаясь на этой же стороне от пострадавшего, ладонь одной руки кладет на нижнюю половину грудины, отступив на два пальца выше от ее нижнего края, а пальцы приподнимает.
Ладонь второй руки он кладет поверх первой поперек или вдоль и надавливает, помогая наклоном своего корпуса. Руки при надавливании должны быть выпрямлены в локтевых суставах.
Надавливать следует быстрыми толчками так, чтобы смещать грудину на 4 - 5 см, продолжительность надавливания не более 0,5 с, интервал между отдельными надавливаниями не более 0,5 с.
В паузах рук с грудины не снимают (если помощь оказывают два человека), пальцы остаются приподнятыми, руки полностью выпрямленными в локтевых суставах.
Если оживление проводит один человек, то на каждые два глубоких вдувания он производит 15 надавливаний на грудину, затем снова делает два вдувания и опять повторяет 15 надавливаний и т.д. За минуту необходимо сделать не менее 60 надавливаний и 12 вдуваний. Нельзя затягивать вдувание, как только грудная клетка пострадавшего расширилась, его надо прекращать.
При участии в реанимации двух человек соотношение "дыхание-массаж" составляет 1:5, т.е. после одного глубокого вдувания проводится пять надавливаний на грудную клетку. Во время искусственного вдоха пострадавшему тот, кто делает массаж сердца, надавливание не выполняет, так как усилия, развиваемые при надавливании, значительно больше, чем при вдувании (надавливание при вдувании приводит к неэффективности искусственного дыхания, а, следовательно, и реанимационных мероприятий). При проведении реанимации вдвоем оказывающим помощь целесообразно меняться местами через 5 - 10 минут.
При правильном выполнении наружного массажа сердца каждое надавливание на грудину вызывает появление пульса в артериях.
Оказывающие помощь должны периодически контролировать правильность и эффективность наружного массажа сердца по появлению пульса на сонных или бедренных артериях. При проведении реанимации одним человеком ему следует через каждые 2 минуты прерывать массаж сердца на 2 - 3 с для определения пульса на сонной артерии. Если в реанимации участвуют два человека, то пульс на сонной артерии контролирует тот, кто проводит искусственное дыхание. Появление пульса во время перерыва массажа свидетельствует о восстановлении деятельности сердца (наличии кровообращения). При этом следует немедленно прекратить массаж сердца, но продолжать проведение искусственного дыхания до появления устойчивого самостоятельного дыхания. При отсутствии пульса необходимо продолжать делать массаж сердца.
Если реанимационные мероприятия эффективны (определяется пульс на крупных артериях во время надавливания на грудину, сужаются зрачки, уменьшается синюшность кожи и слизистых оболочек), сердечная деятельность и самостоятельное дыхание у пострадавшего восстанавливаются.
Длительное отсутствие пульса при появлении других признаков оживления организма (самостоятельное дыхание, сужение зрачков, попытки пострадавшего двигать руками и ногами и др.) служит признаком фибрилляции сердца. В этих случаях необходимо продолжать делать искусственное дыхание и массаж сердца пострадавшему до передачи его медицинскому персоналу.
5. Первая помощь при травматических повреждениях
Первая помощь при ранениях заключается в наложении стерильной повязки на рану. При наличии сильного кровотечения из раны прежде всего осуществляют его остановку. Для обеспечения доступа к ране, с соответствующей области тела пострадавшего снимают одежду или обувь, при необходимости разрезают ее. Не следует промывать рану, применять различные мази.
При наличии возможности кожу вокруг раны обрабатывают спиртом и 5% раствором йода. После этого приступают к наложению повязки. Повязка представляет собой перевязочный материал, как правило, стерильный, которым закрывают рану.
Сильное артериальное кровотечение из сосудов верхних и нижних конечностей останавливают в два этапа: вначале прижимают артерию выше места повреждения к кости, чтобы прекратить поступление крови к месту ранения, а затем накладывают жгут.
Артериальное кровотечение - алая кровь, которая вытекает быстро пульсирующей или фонтанирующей струей.
При венозном кровотечении кровь темная, вытекает сплошной струей. Способ остановки - давящая повязка в области ранения, придание пострадавшей части тела возвышенного положения.
Прижать некоторые артерии можно и путем форсированного сгибания конечности.
Жгут накладывают на одежду или специально подложенную под него ткань (полотенце, кусок марли, косынку). Жгут подводят под конечность выше места кровотечения и поближе к ране, сильно растягивают и, не уменьшая натяжения, затягивают вокруг конечности и закрепляют концы жгута. При правильном наложении жгута кровотечение из раны прекращается, конечность ниже места наложения жгута бледнеет, пульс на лучевой артерии и тыльной артерии стопы исчезает. Под жгут подкладывают записку с указанием даты, часа и минут его наложения.
Конечность ниже наложения жгута сохраняет жизнеспособность в течение 1,5 - 2 часов. Поэтому необходимо принять все меры для доставки пострадавшего в ближайшее лечебное учреждение.
6. Первая помощь при переломах
В оказании первой помощи при переломах и повреждениях суставов главное - надежная и своевременная иммобилизация поврежденной части тела. Иммобилизацией достигается неподвижность поврежденной части тела, что приводит к уменьшению боли и предупреждает развитие травматического шока. Временная иммобилизация проводится, как правило, с помощью различного рода шин и подручных материалов.
При отсутствии стандартных шин можно использовать подручные средства: доски, палку, фанеру и другие предметы. В исключительных случаях допускается транспортная иммобилизация путем прибинтовывания поврежденной конечности к здоровой части тела: верхней - к туловищу, нижней - к здоровой ноге.
7. Помощь при ожогах
Горящую одежду нужно попытаться снять. Если это не удается, ее необходимо срочно потушить. Лучше всего это сделать путем завертывания в одеяло или другую плотную ткань.
При ожогах кистей необходимо как можно раньше снять кольца, так как в последующем это сделать будет крайне трудно из-за отека.
Полезно в течение нескольких минут орошать место ожога струей холодной воды или прикладывать к нему холодные предметы. Это способствует быстрейшему предотвращению воздействия высокой температуры на тело и уменьшению боли. Затем на ожоговую поверхность нужно наложить стерильную, лучше ватно-марлевую, повязку с помощью перевязочного пакета или стерильных салфеток и бинта. При отсутствии стерильных перевязочных средств можно использовать чистую ткань, простыню, полотенце, нательное белье.
Материал, накладываемый на поверхность, можно смочить разведенным спиртом или водкой. Спирт помимо обезболивания дезинфицирует место ожога.
При оказании первой помощи абсолютно противопоказано производить какие-либо манипуляции на ожоговой поверхности. Вредно накладывать повязки с какими-либо мазями, жирами и красящими веществами. Они загрязняют поврежденную поверхность, а красящее вещество затрудняет определение степени ожога. Применение порошка соды, крахмала, мыла, сырого яйца также нецелесообразно, так как эти средства помимо загрязнения вызывают образование трудноснимаемой с ожоговой поверхности пленки.
В случае обширного ожога пострадавшего лучше завернуть в чистую простыню и срочно доставить в лечебное учреждение или вызвать медицинского работника.
8. Помощь при отравлениях
При отравлении газами, в том числе ацетиленом, угарным и природным газами, парами бензина, появляется головная боль, "стук в висках", "звон в ушах", общая слабость, головокружение, усиленное сердцебиение, тошнота и рвота. При сильном отравлении появляются сонливость, апатия, безразличие, а при тяжелом отравлении - возбужденное состояние с беспорядочными движениями, нарушение дыхания, расширение зрачков.
При всех отравлениях следует немедленно вывести или вынести пострадавшего из загазованной зоны, расстегнуть одежду, стесняющую дыхание, обеспечить приток свежего воздуха, уложить пострадавшего, приподняв ноги, растереть тело, укрыть потеплее, давать нюхать нашатырный спирт.
У пострадавшего в бессознательном состоянии может быть рвота, поэтому надо повернуть его голову в сторону.
При остановке дыхания необходимо приступить к проведению искусственного дыхания.
Во всех случаях при отравлениях ядовитыми газами необходимо дать пострадавшему выпить большое количество молока.
При пищевых отравлениях (ядовитыми грибами, растениями, испорченными продуктами) у пострадавшего появляются головная боль, рвота, боли в животе, общая слабость. Иногда возникает понос, повышается температура тела.
Помощь пострадавшему заключается в промывании желудка. Ему дают выпить 3 - 4 стакана воды или розового раствора марганцовокислого калия с вызовом рвоты. Промывание повторяют несколько раз. Затем дают выпить активированный уголь (2 - 4 столовые ложки угля растворяют в стакане воды). После этого пострадавшего следует напоить теплым чаем, уложить, укрыв потеплее, до прибытия медицинского персонала. При нарушении дыхания и кровообращения необходимо без промедления приступить к проведению искусственного дыхания и наружного массажа сердца.
к Правилам
"РАЗРЕШЕНИЕ НА ПРОИЗВОДСТВО РАБОТ"
И "УВЕДОМЛЕНИЕ ОБ ОКОНЧАНИИ РАБОТ"
Форма ЭУ-57
Утверждена ОАО "РЖД" в 2004 г.
Дорога ____________________________________________________________________
Подразделение _____________________________________________________________
Цех _______________________________________________________________________
РАЗРЕШЕНИЕ НА ПРОИЗВОДСТВО РАБОТ N
Производителю (руководителю) работ ________________________________________
Ф.И.О.
Разрешаю по приказу энергодиспетчера N ____________________________________
приступить к работе _______________________________________________________
(на станции, перегоне)
от км ______________ ПК ______________ до км ______________ ПК ____________
в пределах опор N _________________________________________________________
Контактная сеть, ВЛ, КЛ заземлена в пролетах между опорами N _____________
Под напряжением остались __________________________________________________
___________________________________________________________________________
Начало работ (дата и время) _______________________________________________
Окончание работ (дата и время) ____________________________________________
Ответственный за допуск производитель работ от ЭЧ _________________________
(подпись)
Разрешение получил ________________________________________________________
(подпись ответственного руководителя, производителя
работ, время)
УВЕДОМЛЕНИЕ ОБ ОКОНЧАНИИ РАБОТ
Производителю работ от ЭЧ _________________________________________________
Ф.И.О.
По разрешению N ___________________________________________________________
производство работ на _____________________________________________________
(наименование перегона, станции)
от км ______________ ПК ______________ до км ______________ ПК ____________
Работа закончена, люди выведены, контактная сеть обеспечит пропуск поездов,
путевые машины приведены в транспортное положение, механизмы сняты
в час _______________ мин _______________.
Ответственный руководитель, производитель работ ___________________________
(подпись)
к Правилам
ПУТЕВЫХ РАБОТ, ПРОИЗВОДСТВО КОТОРЫХ НЕОБХОДИМО
СОГЛАСОВЫВАТЬ С РУКОВОДСТВОМ ДИСТАНЦИИ ЭЛЕКТРОСНАБЖЕНИЯ
ИЛИ РАЙОНА КОНТАКТНОЙ СЕТИ
На всех железнодорожных путях ОАО "РЖД":
1. Земляные работы в местах, имеющих устройства электроснабжения.
2. Работы на искусственных сооружениях и других местах на расстоянии менее 2 м от проводов, находящихся под напряжением, требующих отключения подвешенных на них линий электропередач.
На электрифицированных железнодорожных путях ОАО "РЖД":
1. Работы, требующие снятия напряжения с контактной сети, а также другие путевые работы, при которых необходимо отсоединение, присоединение заземлений, отсасывающих фидеров и дроссель-трансформаторов к ним.
2. Рихтовка пути более чем на 2 см.
3. Подъемка пути более чем на 6 см или изменение возвышения наружного рельса кривой свыше 1 см.
4. Работы, вызывающие нарушения габарита подвески контактного провода и опор контактной сети.
5. Работа путеукладочных кранов, щебнеочистительных, балластировочных, выправочно-подбивочных и других путевых машин, при которой требуется снятие напряжения.
6. Сплошная смена металлических частей стрелочного перевода.
7. На участках переменного тока - сплошная смена рельсов в подъездном пути тяговой подстанции.
к Правилам
ПУТЕВЫХ МАШИН, ПРИ РАБОТЕ КОТОРЫХ ТРЕБУЕТСЯ СНЯТИЕ
НАПРЯЖЕНИЯ С КОНТАКТНОЙ СЕТИ И ДРУГИХ ПРОВОДОВ
И ИХ ЗАЗЕМЛЕНИЕ
N п/п | Наименование и тип путевой машины | Примечание |
1 | Машины для балластировки пути и очистки щебня: | |
1.1 | электробалластеры ЭЛБ-3, ЭЛБ-3МК, ЭЛБ-1Р | |
1.2 | щебнеочистительные машины и комплексы ЩОМ-3У, ЩОМ-4, ЩОМ-4М, ЩОМ-БМ, ЩОМ-6Р, ЩОМ-Д, ЩОМ-МФ, УМ-М, СЧ-600, СЧ-601, ОТ-400, ОТ-800, СЧУ-800 РУ, РМ-76, РМ-80, машина для выемки балласта АХМ-801 | |
2 | Машины для выправки пути в профиле и плане: | |
2.1 | выправочно-подбивочно-отделочные машины ВПО-3000, ВПО-3-3000, ВПО-4, Дуоматик 4с | |
3 | Машины для ремонта и содержания земляного полотна: | |
3.1 | землеуборочная машина Балашенко (ЗУБ) | |
3.2 | путевые струги ПС-2а, струги-снегоочистители СС-1, СС-1М | |
4 | Краны на железнодорожном ходу КДЭ-161, КДЭ-163, КДЭ-251, К-501, ЕДК-300\5, ЕДК-500 | Укладка и смена стрелочных переводов, монтаж пассажирских платформ, аварийные работы. Кран ЕДК-300\5 позволяет перемещать блоки стрелочного перевода без демонтажа контактной сети |
5 | Машины путеукладочные УК-25\9-18, УК-25-СП | |
6 | Состав для засорителей | |
к Правилам
ПУТЕВЫХ МАШИН, ПРИ РАБОТЕ КОТОРЫХ НЕ ТРЕБУЕТСЯ
СНЯТИЕ НАПРЯЖЕНИЯ С КОНТАКТНОЙ СЕТИ
N п/п | Наименование и тип путевой машины | Примечание |
1 | Транспортные и погрузочно-разгрузочные машины: | |
1.1 | дрезины, мотовозы: АГМУ, АДМ, ДГКУ, АГД-1М, АУГ, МПТ-4 | |
1.2 | путеремонтная летучка ПРЛ-3/2 | |
1.3 | хоппер-дозаторы ЦНИИ-ДВ3, ЦНИИ-ДВ3М | |
1.4 | думпкары 4ВС-50, 6ВС-60 | |
1.5 | самоходные универсальные комплексы УСК-30, УСК-70 | |
2 | Машины для выправки пути в профиле и плане: | Только при рихтовке пути не более 2 см и подъемке не более 6 см, дозировке балласта |
2.1 | машины типа ВПР | |
2.2 | машина рихтовочная Р-2000 | |
2.3 | путерихтовочная машина ПРБ | |
2.4 | электробалластеры ЭЛБ-3, ЭЛБ-3МК, ЭЛБ-1Р | |
2.5 | динамические стабилизаторы пути ДСП, ДСП-С | |
3 | Машины для ремонта рельсов, скреплений, шпал: | |
3.1 | рельсоочистительный поезд РОП, рельсоочистительная машина РОМ-3 | |
3.2 | рельсошлифовальные поезда РШП-48 и комплексы КРШ | |
3.3 | рельсосварочные машины ПРСМ-1, ПРСМ-3, ПРСМ-4, ПРСМ-5 | |
3.4 | моторный гайковерт ПМГ | |
3.5 | машина для одиночной смены деревянных и железобетонных шпал | |
4 | Машины для очистки кюветов на базе трактора МТ3-82 | Не касающихся заземляющих проводников опор контактной сети |
5 | Снегоочистительные и снегоуборочные машины и поезда: | |
5.1 | снегоочистители СДП, СДП-М, СДП-М2, ЦУМ3, СС-1, СС-1М, ЭСО-Щ, ЭСО-3, СДП-ВС-2 | |
5.2 | снегоуборочные поезда ПТКБ ЦП МПС России, СМ-2, СМ-3 | |
5.3 | самоходный снегоуборщик СМ-4 | |
6 | Состав для засорителей модернизированный | |
к Правилам
ДОПУСКАЕМАЯ ВЫСОТА ПОДЪЕМА ФЕРМЫ УКЛАДОЧНОГО КРАНА
В ЗАВИСИМОСТИ ОТ ФАКТИЧЕСКОЙ ВЫСОТЫ ПОДВЕСКИ
КОНТАКТНОГО ПРОВОДА
Участки электрифицированных железнодорожных путей
постоянного тока
Фактическая высота подвески контактного провода, мм | Допускаемая высота подвески контактного провода с учетом подъемки его на 300 мм | Максимально допускаемая высота верхней плоскости полоза - лыжи отбойника укладочного крана от уровня головки рельса, мм | Положение фиксаторов, соответствующее высоте подъема полоза, указанной в графе 3 |
5 550 | 5 850 | 5 793 | |
5 750 | 6 050 | 5 943 | III |
5 793 - 5 942 | 6 093 - 6 242 | 6 093 | IV |
5 943 - 6 092 | 6 243 - 6 392 | 6 243 | V |
6 093 - 6 242 | 6 393 - 6 542 | 6 393 | VI |
6 243 - 6 392 | 6 543 - 6 692 | 6 543 | VII |
6 393 - 6 542 | 6 693 - 6 842 | 6 693 | VIII |
6 543 - 6 692 | 6 843 - 6 992 | 6 843 | IX |
6 693 - 6 800 | 6 993 - 7 100 | 6 993 | X |
Участки электрифицированных железнодорожный путей
переменного тока
Фактическая высота подвески контактного провода, мм | Допускаемая высота подвески контактного провода с учетом подъемки его на 300 мм | Максимально допускаемая высота верхней плоскости полоза - лыжи отбойника укладочного крана от уровня головки рельса, мм | Положение фиксаторов, соответствующее высоте подъема полоза, указанной в графе 3 |
5 675 | 5 975 | 5 943 | |
5 750 | 6 050 | 5 943 | II |
5 793 - 5 942 | 6 093 - 6 242 | 6 093 | III |
5 943 - 6 092 | 6 243 - 6 392 | 6 243 | IV |
6 093 - 6 242 | 6 393 - 6 542 | 6 393 | V |
6 243 - 6 392 | 6 543 - 6 692 | 6 543 | VI |
6 393 - 6 542 | 6 693 - 6 842 | 6 693 | VII |
6 543 - 6 692 | 6 843 - 6 992 | 6 843 | VIII |
6 693 - 6 800 | 6 993 - 7 100 | 6 993 | |
| | ИС МЕГАНОРМ: примечание. Сноски даны в соответствии с официальным текстом документа. | |
--------------------------------
<*> Положение I фиксатора применяется для закрепления каретки в транспортном положении. Высота верхней плоскости полоза от уровня головки рельса при этом составляет 5 473 мм на участках, электрифицированных на постоянном токе, и 5 623 мм - на переменном.
<**> На участках электрифицированных железнодорожных путей ОАО "РЖД" переменного тока подъем каретки крана в X положение запрещается.
На участках электрифицированных железнодорожных путей ОАО "РЖД" постоянного и переменного тока при положении фиксаторов II - V допускается укладывать пять звеньев с рельсами Р65.
На участках электрифицированных железнодорожных путей ОАО "РЖД" постоянного тока допускается укладывать шесть звеньев с рельсами Р65 при положении фиксаторов VI - X.
к Правилам
для производства работ по реконструкции, капитальному
ремонту, техническому перевооружению в электроустановках
на территории подразделений ОАО "РЖД"
Гор. ____________ "__" __________ 20__ г.
___________________________________________________________________________
(наименование подразделения ОАО "РЖД",
___________________________________________________________________________
строящегося или реконструируемого объекта)
Мы, нижеподписавшиеся, представитель подразделения ОАО "РЖД" __________
__________________________________________________________________________,
(Ф.И.О. должность, наименование подразделения)
представитель субподрядчика (ЭМП) _________________________________________
___________________________________________________________________________
(Ф.И.О., должность, наименование организации)
составили настоящий акт о нижеследующем.
Подразделение ОАО "РЖД" предоставляет участок (территорию),
ограниченный координатами _________________________________________________
___________________________________________________________________________
(км, ПК перегона, станции, тяговая, трансформаторная подстанция)
для производства на нем ___________________________________________________
___________________________________________________________________________
(наименование работ)
на следующий срок:
начало "___" __________ окончание "___" __________.
До начала работ необходимо выполнить следующие мероприятия,
обеспечивающие безопасность работ
Наименование мероприятий | Срок выполнения | Исполнитель |
Направить сопроводительное письмо с указанием цели командировки и списка командируемых работников | | ЭМП |
Представить списки персонала с группами по электробезопасности и предоставленными указанному персоналу правами | | ЭМП |
Направить в командируемую организацию распорядительный документ, подтверждающий проверку знаний у персонала требований нормативных документов ОАО "РЖД" | | ЭМП |
Издать распорядительный документ о допуске к работе командированного персонала | | Подразделение ОАО "РЖД" |
Провести вводный и первичный инструктажи персоналу, допускаемому к работе в электроустановках структурного подразделения ОАО "РЖД" | | Подразделение ОАО "РЖД" |
Представить график выполнения работ, согласованный заказчиком | | ЭМП |
Разработать проект графика предоставления "окон" | | ЭМП |
Издать приказ о назначении от ЭМП ответственного за производство работ на данном объекте (электроустановках дистанции электроснабжения) | | ЭМП |
Разрабатывать и согласовывать со структурным подразделением (дистанцией электроснабжения) проект производства работ (ППР) на выполняемые работы | | ЭМП, подразделение ОАО "РЖД" |
Подготовить место работы, оформить разрешения на ее выполнение | | ЭМП, подразделение ОАО "РЖД" |
Осуществлять надзор за работающими, оформить окончание работы | | ЭМП |
Представитель организации (субподрядчика) _________________________________
(подпись)
Представитель подразделения ОАО "РЖД" _____________________________________
(подпись)
Примечание: при необходимости ведения работ после истечения срока
действия настоящего акта-допуска необходимо составить акт-допуск на новый
срок.