Главная // Актуальные документы // ГОСТ (Государственный стандарт)СПРАВКА
Источник публикации
В данном виде документ опубликован не был.
Первоначальный текст документа опубликован в издании
М.: Стандартинформ, 2014.
Информацию о публикации документов, создающих данную редакцию, см. в справке к этим документам.
Примечание к документу
Отдельные положения данного документа включены в
Перечень стандартов, в результате применения которых на добровольной основе обеспечивается соблюдение требований технического
регламента Таможенного союза "О безопасности высокоскоростного железнодорожного транспорта", в
Перечень стандартов, в результате применения которых на добровольной основе обеспечивается соблюдение требований технического
регламента Таможенного союза "О безопасности инфраструктуры железнодорожного транспорта", в
Перечень стандартов, содержащих правила и методы исследований (испытаний) измерений, в том числе правила отбора образцов, необходимые для применения и исполнения требований технического
регламента Таможенного союза "О безопасности высокоскоростного железнодорожного транспорта" и осуществления оценки соответствия объектов технического регулирования, в
Перечень стандартов, содержащих правила и методы исследований (испытаний) измерений, в том числе правила отбора образцов, необходимых для применения и исполнения требований технического
регламента Таможенного союза "О безопасности инфраструктуры железнодорожного транспорта" и осуществления оценки соответствия объектов технического регулирования (
Решение Комиссии Таможенного союза от 15.07.2011 N 710).
Название документа
"ГОСТ 32209-2013. Межгосударственный стандарт. Фундаменты для опор контактной сети железных дорог. Технические условия"
(введен в действие Приказом Росстандарта от 08.11.2013 N 1473-ст)
(ред. от 16.11.2018)
"ГОСТ 32209-2013. Межгосударственный стандарт. Фундаменты для опор контактной сети железных дорог. Технические условия"
(введен в действие Приказом Росстандарта от 08.11.2013 N 1473-ст)
(ред. от 16.11.2018)
Приказом Федерального
агентства по техническому
регулированию и метрологии
от 8 ноября 2013 г. N 1473-ст
МЕЖГОСУДАРСТВЕННЫЙ СТАНДАРТ
ФУНДАМЕНТЫ ДЛЯ ОПОР КОНТАКТНОЙ СЕТИ ЖЕЛЕЗНЫХ ДОРОГ
ТЕХНИЧЕСКИЕ УСЛОВИЯ
Foundations for overhead contact line
supports of railways. Specifications
ГОСТ 32209-2013
| | Список изменяющих документов Приказом Росстандарта от 16.11.2018 N 1025-ст) | |
Дата введения
1 июня 2014 года
Цели, основные принципы и основной порядок проведения работ по межгосударственной стандартизации установлены
ГОСТ 1.0-92 "Межгосударственная система стандартизации. Основные положения" и
ГОСТ 1.2-2009 "Межгосударственная система стандартизации. Стандарты межгосударственные, правила и рекомендации по межгосударственной стандартизации. Правила разработки, принятия, обновления и отмены".
1. Подготовлен Федеральным государственным унитарным предприятием "Всероссийский научно-исследовательский институт стандартизации и сертификации в машиностроении" (ВНИИНМАШ).
2. Внесен Федеральным агентством по техническому регулированию и метрологии.
3. Принят Межгосударственным советом по стандартизации, метрологии и сертификации (Протокол от 27 июня 2013 г. N 57-П).
За принятие проголосовали:
Краткое наименование страны по МК (ИСО 3166) 004-97 | Код страны по МК (ИСО 3166) 004-97 | Сокращенное наименование национального органа по стандартизации |
Азербайджан | AZ | Азстандарт |
Армения | AM | Минэкономики Республики Армения |
Беларусь | BY | Госстандарт Республики Беларусь |
Киргизия | KG | Кыргызстандарт |
Молдова | MD | Молдова-Стандарт |
Россия | RU | Росстандарт |
Узбекистан | UZ | Узстандарт |
4. Приказом Федерального агентства по техническому регулированию и метрологии от 8 ноября 2013 г. N 1473-ст межгосударственный стандарт ГОСТ 32209-2013 введен в действие в качестве национального стандарта Российской Федерации с 1 июня 2014 г.
5. В настоящем стандарте реализованы требования технического
регламента Таможенного союза "О безопасности инфраструктуры железнодорожного транспорта" и технического
регламента Таможенного союза "О безопасности высокоскоростного железнодорожного транспорта":
-
пункт 5.4 устанавливает правила отбора образцов для подтверждения соответствия;
7. Введен впервые.
Информация об изменениях к настоящему стандарту публикуется в ежегодном информационном указателе "Национальные стандарты", а текст изменений и поправок - в ежемесячном информационном указателе "Национальные стандарты". В случае пересмотра (замены) или отмены настоящего стандарта соответствующее уведомление будет опубликовано в ежемесячном информационном указателе "Национальные стандарты". Соответствующая информация, уведомление и тексты размещаются также в информационной системе общего пользования - на официальном сайте Федерального агентства по техническому регулированию и метрологии в сети Интернет.
Настоящий стандарт распространяется на фундаменты железобетонные и бетонные с композитной арматурой, предназначенные для установки стоек опор контактной сети электрифицированных железных дорог по
ГОСТ 19330 в любых климатических условиях.
(в ред.
Изменения N 1, введенного в действие Приказом Росстандарта от 16.11.2018 N 1025-ст)
В настоящем стандарте использованы нормативные ссылки на следующие стандарты:
ГОСТ 12.3.009-76. Система стандартов безопасности труда. Работы погрузочно-разгрузочные. Общие требования безопасности
ГОСТ 535-2005. Прокат сортовой и фасонный из стали углеродистой обыкновенного качества. Общие технические условия
Ссылка исключена с 1 января 2019 года. -
Изменение N 1, введенное в действие Приказом Росстандарта от 16.11.2018 N 1025-ст.
ГОСТ 6727-80. Проволока из низкоуглеродистой стали холоднотянутая для армирования железобетонных конструкций. Технические условия
ГОСТ 8267-93. Щебень и гравий из плотных горных пород для строительных работ. Технические условия
ГОСТ 8735-88. Песок для строительных работ. Методы испытаний
ГОСТ 8829-94. Изделия строительные железобетонные и бетонные заводского изготовления. Методы испытаний нагружением. Правила оценки прочности, жесткости и трещиностойкости
(в ред.
Изменения N 1, введенного в действие Приказом Росстандарта от 16.11.2018 N 1025-ст)
ГОСТ 10178-85. Портландцемент и шлакопортландцемент. Технические условия
ГОСТ 10180-2012. Бетоны. Методы определения прочности по контрольным образцам
(в ред.
Изменения N 1, введенного в действие Приказом Росстандарта от 16.11.2018 N 1025-ст)
(в ред.
Изменения N 1, введенного в действие Приказом Росстандарта от 16.11.2018 N 1025-ст)
ГОСТ 10922-2012 Арматурные и закладные изделия, их сварные, вязаные и механические соединения для железобетонных конструкций. Общие технические условия <1>
(в ред.
Изменения N 1, введенного в действие Приказом Росстандарта от 16.11.2018 N 1025-ст)
--------------------------------
<1> На территории Российской Федерации действует
ГОСТ Р 57997-2017 "Арматурные и закладные изделия сварные, соединения сварные арматуры и закладных изделий железобетонных конструкций. Общие технические условия.
(сноска введена
Изменением N 1, введенным в действие Приказом Росстандарта от 16.11.2018 N 1025-ст)
ГОСТ 12730.0-78. Бетоны. Общие требования к методам определения плотности, влажности, водопоглощения, пористости и водонепроницаемости
(в ред.
Изменения N 1, введенного в действие Приказом Росстандарта от 16.11.2018 N 1025-ст)
ГОСТ 13015-2012 Изделия бетонные и железобетонные для строительства. Общие технические требования. Правила приемки, маркировки, транспортирования и хранения
(в ред.
Изменения N 1, введенного в действие Приказом Росстандарта от 16.11.2018 N 1025-ст)
ГОСТ 13837-79. Динамометры общего назначения. Технические условия
(в ред.
Изменения N 1, введенного в действие Приказом Росстандарта от 16.11.2018 N 1025-ст)
ГОСТ 17625-83. Конструкции и изделия железобетонные. Радиационный метод определения толщины защитного слоя бетона, размеров и расположения арматуры
(в ред.
Изменения N 1, введенного в действие Приказом Росстандарта от 16.11.2018 N 1025-ст)
--------------------------------
Сноска исключена с 1 января 2019 года. -
Изменение N 1, введенное в действие Приказом Росстандарта от 16.11.2018 N 1025-ст.
(в ред.
Изменения N 1, введенного в действие Приказом Росстандарта от 16.11.2018 N 1025-ст)
(в ред.
Изменения N 1, введенного в действие Приказом Росстандарта от 16.11.2018 N 1025-ст)
ГОСТ 22690-2015. Бетоны. Определение прочности механическими методами неразрушающего контроля
(в ред.
Изменения N 1, введенного в действие Приказом Росстандарта от 16.11.2018 N 1025-ст)
ГОСТ 22904-93. Конструкции железобетонные. Магнитный метод определения толщины защитного слоя бетона и расположения арматуры
ГОСТ 23009-2016. Конструкции и изделия бетонные и железобетонные сборные. Условные обозначения (марки)
(в ред.
Изменения N 1, введенного в действие Приказом Росстандарта от 16.11.2018 N 1025-ст)
ГОСТ 23279-2012. Сетки арматурные сварные для железобетонных конструкций и изделий. Общие технические условия
(в ред.
Изменения N 1, введенного в действие Приказом Росстандарта от 16.11.2018 N 1025-ст)
ГОСТ 23706-93 (МЭК 51-6-84). Приборы аналоговые показывающие электроизмерительные прямого действия и вспомогательные части к ним. Часть 6. Особые требования к омметрам (приборам для измерения полного сопротивления) и приборам для измерения активной проводимости
ГОСТ 23732-2011 Вода для бетонов и строительных растворов. Технические условия
(в ред.
Изменения N 1, введенного в действие Приказом Росстандарта от 16.11.2018 N 1025-ст)
ГОСТ 24211-2008. Добавки для бетонов и строительных растворов. Общие технические условия
(в ред.
Изменения N 1, введенного в действие Приказом Росстандарта от 16.11.2018 N 1025-ст)
(в ред.
Изменения N 1, введенного в действие Приказом Росстандарта от 16.11.2018 N 1025-ст)
(в ред.
Изменения N 1, введенного в действие Приказом Росстандарта от 16.11.2018 N 1025-ст)
ГОСТ 26433.0-85. Система обеспечения точности геометрических параметров в строительстве. Правила выполнения измерений. Общие положения
ГОСТ 26433.1-89. Система обеспечения точности геометрических параметров в строительстве. Правила выполнения измерений. Элементы заводского изготовления
(в ред.
Изменения N 1, введенного в действие Приказом Росстандарта от 16.11.2018 N 1025-ст)
(в ред.
Изменения N 1, введенного в действие Приказом Росстандарта от 16.11.2018 N 1025-ст)
(в ред.
Изменения N 1, введенного в действие Приказом Росстандарта от 16.11.2018 N 1025-ст)
ГОСТ 31938-2012 Арматура композитная полимерная для армирования бетонных конструкций. Общие технические условия
(ссылка введена
Изменением N 1, введенным в действие Приказом Росстандарта от 16.11.2018 N 1025-ст)
ГОСТ 34028-2016 Прокат арматурный для железобетонных конструкций. Технические условия
(ссылка введена
Изменением N 1, введенным в действие Приказом Росстандарта от 16.11.2018 N 1025-ст)
ГОСТ 19330-2013. Стойки для опор контактной сети железных дорог. Технические условия.
Примечание. При пользовании настоящим стандартом целесообразно проверить действие ссылочных стандартов в информационной системе общего пользования - на официальном сайте Федерального агентства по техническому регулированию и метрологии в сети Интернет или по ежегодному информационному указателю "Национальные стандарты", который опубликован по состоянию на 1 января текущего года, и по выпускам ежемесячного информационного указателя "Национальные стандарты" за текущий год. Если ссылочный стандарт заменен (изменен), то при пользовании настоящим стандартом следует руководствоваться заменяющим (измененным) стандартом. Если ссылочный стандарт отменен без замены, то положение, в котором дана ссылка на него, применяется в части, не затрагивающей эту ссылку.
В настоящем стандарте применены следующие термины с соответствующими определениями:
3.1 анкерное крепление: Крепление, при котором опору закрепляют на фундаменте с помощью закладных (анкерных) болтов.
3.2 защитный слой: Слой бетона, противодействующий доступу воздуха и агрессивных сред непосредственно к стальной арматуре фундамента.
3.3 контрольные статические испытания нагружением: Испытания с помощью постепенно возрастающей прикладываемой к изделию внешней нагрузки, предназначенные для установления соответствия между фактическими и проектными значениями характеристик прочности и трещиностойкости изделий.
3.4 контрольная нагрузка: Значение нагрузки, служащее одним из критериев для оценки пригодности изделия по результатам испытаний нагружением.
Примечание. В настоящем стандарте контрольные нагрузки установлены для проверки конструкций по ширине раскрытия трещин и прочности.
3.5 коэффициент безопасности C: Коэффициент, определяющий степень увеличения контрольной нагрузки по отношению к нагрузке на фундамент, соответствующей его расчетной несущей способности.
3.6 контрольная ширина раскрытия трещин: Значение ширины трещины, с которым сопоставляют фактическую ширину раскрытия трещин при контрольной нагрузке для оценки пригодности фундамента по трещиностойкости.
3.7 нормативный изгибающий момент: Изгибающий момент, который выдерживает фундамент до образования в нем поперечных трещин с ограниченной шириной раскрытия.
(в ред.
Изменения N 1, введенного в действие Приказом Росстандарта от 16.11.2018 N 1025-ст)
3.8 нормируемая отпускная прочность: Заданное в нормативно-технической или проектной документации значение прочности, при котором возможна поставка конструкции потребителю.
3.9 прочность: Свойство детали или конструкции воспринимать воздействие внешних сил без разрушения и без изменения геометрических размеров вследствие пластических деформаций.
3.10 прочность бетона на сжатие: Среднее значение прочности бетона в партии, определенное по результатам испытаний контрольных образцов или неразрушающими методами непосредственно в конструкции.
3.11 расчетная температура наружного воздуха: Температура наружного воздуха соответствующего климатического района, за которую принимают среднюю температуру наиболее холодной пятидневки обеспеченностью 0,92.
3.12 схема загружения: Схематическое изображение силовых факторов, действующих на фундамент при эксплуатации.
3.13 стаканное крепление: Крепление, при котором опору устанавливают в стаканный оголовок фундамента, стык омоноличивают цементным раствором.
3.14 трещиностойкость: Свойство материала сохранять сплошность под воздействием внутренних напряжений, возникающих от внешних воздействий.
3.15 уровень обреза фундамента: Плоскость, проходящая через верхнюю грань фундамента.
3.16 уровень верхнего упора: Вертикальная плоскость, проходящая перпендикулярно фундаменту через ось верхнего упора на испытательном стенде.
В настоящем стандарте применены следующие сокращения:
ТСС - фундаменты трехлучевые стаканного типа;
ТСА - фундаменты трехлучевые с анкерным креплением стоек опор контактной сети;
ФСА - фундаменты цилиндрические;
ФСБ - фундаменты блочные с анкерным закреплением в толще скального грунта;
С - свая;
ЗФА - фундаменты заглубляемые с уширенной полкой с анкерным креплением стоек;
Мн - нормативный изгибающий момент;
УОФ - уровень обреза фундамента;
УКП - уровень контактного провода;
СЦК - сваи цилиндрические фланцевые с композитной арматурой;
(сокращение введено
Изменением N 1, введенным в действие Приказом Росстандарта от 16.11.2018 N 1025-ст)
СЦФ - сваи цилиндрические фланцевые;
(сокращение введено
Изменением N 1, введенным в действие Приказом Росстандарта от 16.11.2018 N 1025-ст)
ТКА - фундаменты трехлучевые с композитной арматурой с анкерным креплением стоек опор контактной сети;
(сокращение введено
Изменением N 1, введенным в действие Приказом Росстандарта от 16.11.2018 N 1025-ст)
ФЦК - фундаменты цилиндрические полые с композитной арматурой;
(сокращение введено
Изменением N 1, введенным в действие Приказом Росстандарта от 16.11.2018 N 1025-ст)
ФЦП - фундаменты цилиндрические полые.
(сокращение введено
Изменением N 1, введенным в действие Приказом Росстандарта от 16.11.2018 N 1025-ст)
5.1. Классификация, основные параметры и размеры
5.1.1. Фундаменты железобетонные и бетонные с композитной арматурой подразделяют на типы по исполнению (по форме сечения), по назначению и способу работы в грунте:
(в ред.
Изменения N 1, введенного в действие Приказом Росстандарта от 16.11.2018 N 1025-ст)
а) 1-й тип - фундаменты трехлучевые с заострением подземной части для обычных грунтовых условий:
1) ТСС;
2) ТСА;
3) ТКА;
(п. 3) введен
Изменением N 1, введенным в действие Приказом Росстандарта от 16.11.2018 N 1025-ст)
б) 2-й тип - фундаменты с анкерным креплением стоек для установки в скальных грунтах:
1) ФСА;
2) ФСБ;
в) 3-й тип - сваи для сооружения фундаментов на слабых основаниях:
1) С;
г) 4-й тип - фундаменты с уширенной полкой с анкерным креплением стоек:
1) ЗФА;
д) 5-й тип - фундаменты и сваи цилиндрические:
1) СЦК;
2) СЦФ;
3) ФЦК;
4) ФЦП.
(перечисление "д" введено
Изменением N 1, введенным в действие Приказом Росстандарта от 16.11.2018 N 1025-ст)
5.1.2. Фундаменты для опор контактной сети подразделяют на следующие типы по несущей способности (нормативному изгибающему моменту в уровне обреза фундамента):
а) 1-й тип - 59 кН x м (6,0 тс·м);
б) 2-й тип - 79 кН x м (8,0 тс·м);
в) 3-й тип - 98 кН x м (10,0 тс·м);
г) 4-й тип - 117 кН x м (12,0 тс·м);
д) 5-й тип - 147 кН x м (15,0 тс·м).
Примечание. В случае необходимости возможно дальнейшее расширение типов фундаментов по несущей способности.
5.1.3. Условные обозначения фундаментов должны соответствовать требованиям
ГОСТ 23009 и состоять из четырех буквенно-цифровых групп, разделенных дефисом. Примеры условного обозначения фундаментов приведены в
Приложении А.
5.1.4. Форма и основные размеры фундаментов должны соответствовать требованиям, указанным в таблицах 1 -
6 и на
рисунках 1 -
4.
Примечание. Для новых конструкций допускается по согласованию между заказчиком и изготовителем производство фундаментов, отличающихся габаритами и размерами отдельных деталей фундаментов от приведенных в
5.1 при соблюдении технических требований
5.2.
Таблица 1
Параметры фундаментов трехлучевых стаканных
Приказом Росстандарта от 16.11.2018 N 1025-ст)
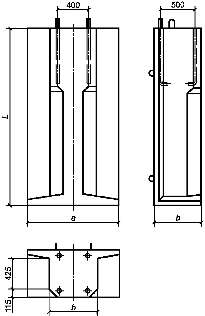
Марка фундамента | Нормативный изгибающий момент Mн, кН·м (тс·м) | Размеры, мм |
L | a | b |
ТСС-4,0-80 | 79 (8,0) | 4000 | 670 | 590 |
ТСС-4,0-100 | 98 (10,0) |
ТСС-4,0-120 | 117 (12,0) |
ТСС-4,5-80 | 79 (8,0) | 4500 |
ТСС-4,5-100 | 98 (10,0) |
ТСС-4,5-120 | 117 (12,0) |
ТСС-5,0-80 | 79 (8,0) | 5000 |
ТСС-5,0-100 | 98 (10,0) |
ТСС-5,0-120 | 117 (12,0) |
Примечание - За нормативный изгибающий момент принят изгибающий момент на расстоянии 1500 мм от уровня обреза фундамента (в уровне верхнего упора см. приложение Б). |
Таблица 2
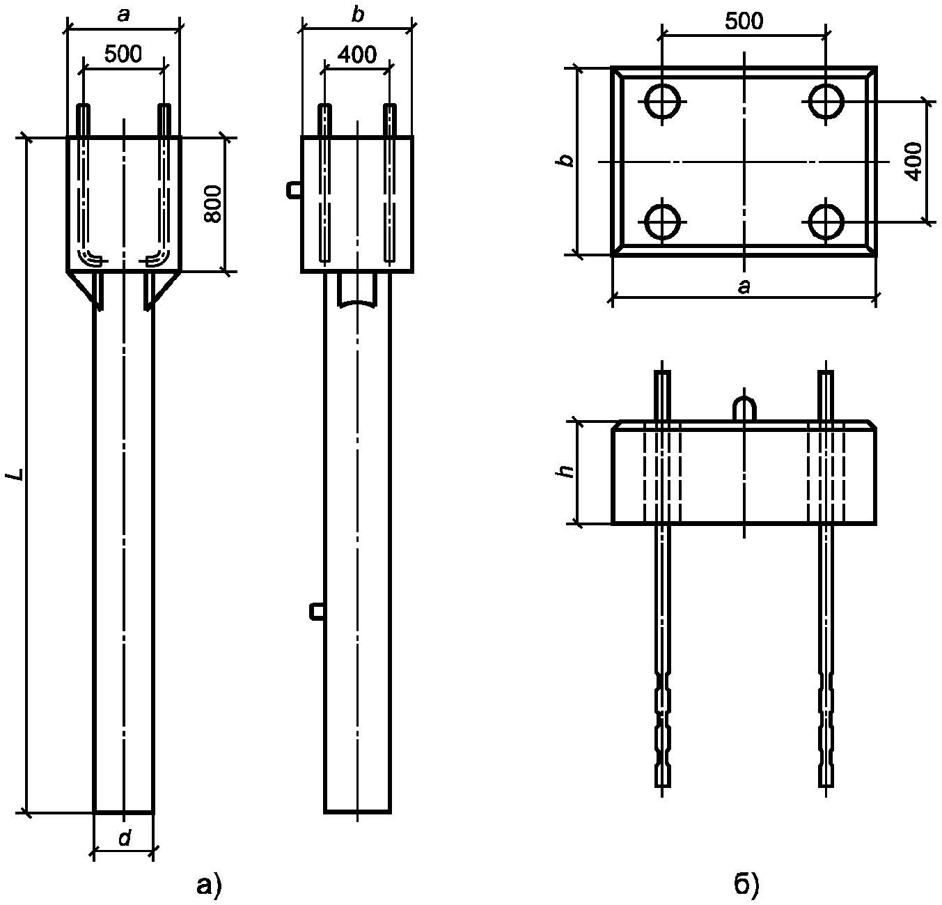
Параметры фундаментов трехлучевых
с анкерным креплением стоек
Приказом Росстандарта от 16.11.2018 N 1025-ст)
Марка фундамента | Нормативный изгибающий момент Mн, кН·м (тс·м) | Размеры, мм | Диаметр анкерного болта, мм |
L | a | b |
ТСА-4,0-80, ТКА-4,0-80 | 79 (8,0) | 4000 | 670 | 590 | 36 |
ТСА-4,0-100, ТКА-4,0-100 | 98 (10,0) |
ТСА-4,0-120, ТКА-4,0-120 | 117 (12,0) | 42 |
ТСА-4,5-80, ТКА-4,5-80 | 79 (8,0) | 4500 | 36 |
ТСА-4,5-100, ТКА-4,5-100 | 98 (10,0) |
ТСА-4,5-120, ТКА-4,5-120 | 117 (12,0) | 42 |
ТСА-4,5-150, ТКА-4,5-150 | 147 (15,0) |
ТСА-5,0-80, ТКА-5,0-80 | 79 (8,0) | 5000 | 36 |
ТСА-5,0-100, ТКА-5,0-100 | 98 (10,0) |
ТСА-5,0-120, ТКА-5,0-120 | 117 (12,0) | 42 |
ТСА-5,0-150, ТКА-5,0-150 | 147 (15,0) |
Примечание - За нормативный изгибающий момент принят изгибающий момент на расстоянии 1500 мм от уровня обреза фундамента (в уровне верхнего упора см. приложение В). |
В
таблицах 1 и
2 приняты следующие обозначения:
L - длина фундамента;
a и b - ширина и высота поперечного сечения лучевой части фундамента.
(в ред.
Изменения N 1, введенного в действие Приказом Росстандарта от 16.11.2018 N 1025-ст)
Рисунок 1. Трехлучевые фундаменты:
а) со стаканным креплением стоек;
б) с анкерным креплением стоек
Примечание. Исключено с 1 января 2019 года. -
Изменение N 1, введенное в действие Приказом Росстандарта от 16.11.2018 N 1025-ст.
Таблица 3
Параметры фундаментов с анкерным креплением стоек
для скальных грунтов
Приказом Росстандарта от 16.11.2018 N 1025-ст)
Марка фундамента | Нормативный изгибающий момент Mн, кН·м (тс·м) | Размеры, мм | Диаметр анкерного болта, мм |
L | a | b | d |
ФСА-2,0-100 | 98 (10,0) | 2000 | 670 | 670 | 370 | 36 |
ФСА-2,0-120 | 117 (12,0) | 42 |
ФСА-2,0-150 | 147 (15,0) |
ФСА-3,0-100 | 98 (10,0) | 3000 | 36 |
ФСА-3,0-120 | 117 (12,0) | 42 |
ФСА-3,0-150 | 147 (15,0) |
ФСА-4,0-100 | 98 (10,0) | 4000 | 36 |
ФСА-4,0-120 | 117 (12,0) | 42 |
ФСА-4,0-150 | 147 (15,0) |
В
таблице 3 приняты следующие обозначения:
L - длина фундамента;
a и b - ширина и высота поперечного сечения оголовка;
d - диаметр ствола фундамента.
Таблица 4
Параметры фундаментов блочных с анкерным креплением стоек
для скальных грунтов
Приказом Росстандарта от 16.11.2018 N 1025-ст)
Марка фундамента | Нормативный изгибающий момент Mн, кН·м (тс·м) | Размеры, мм | Диаметр анкера, мм |
h | a | b |
ФСБ-1-100 | 98 (10,0) | 300 | 800 | 670 | 36 |
ФСБ-1-120 | 117 (12,0) | 42 |
ФСБ-1-150 | 147 (15,0) |
ФСБ-2-100 | 98 (10,0) | 300 | 800 | 670 | 36 |
ФСБ-2-120 | 117 (12,0) | 42 |
ФСБ-2-150 | 147 (15,0) |
В
таблице 4 приняты следующие обозначения:
h - высота блока;
a и b - длина и ширина блока.
Рисунок 2. Фундаменты для скальных грунтов:
а) цилиндрический; б) анкерный блочный
Таблица 5
Параметры свай и оголовков для слабых оснований
Приказом Росстандарта от 16.11.2018 N 1025-ст)
Марка | Нормативный изгибающий момент Mн, кН·м (тс·м) | Размеры, мм | Диаметр анкерного болта, мм |
L | a | b |
Сваи |
С-6,5-100 | 98 (10,0) | 6500 | 350 | 350 | - |
С-6,5-120 | 117 (12,0) | - |
С-8,0-100 | 98 (10,0) | 8000 | - |
С-8,0-120 | 117 (12,0) | - |
Оголовки |
ОС-100 | 98 (10,0) | 800 | 670 | 670 | 36 |
ОС-120 | 117 (12,0) | 42 |
В
таблице 5 приняты следующие обозначения:
L - длина сваи или высота оголовка;
a и
b - ширина и высота поперечного сечения сваи или оголовка.
Рисунок 3. Свая железобетонная с оголовком:
а) свая; б) оголовок свайный
Параметры фундаментов с уширенной полкой для щебенистых,
гравелистых и мягких грунтов с крупнообломочными включениями
Приказом Росстандарта от 16.11.2018 N 1025-ст)
Марка фундамента | Нормативный изгибающий момент Mн, кН·м (тс·м) | Размеры, мм | Диаметр анкерного болта, мм |
L | a | b |
ЗФА-2,5-100 | 98 (10,0) | 2500 | 1300 | 670 | 36 |
ЗФА-3,0-150 | 147 (15,0) | 3000 | 42 |
В
таблице 6 приняты следующие обозначения:
L - длина фундамента;
a и b - ширина и высота опорного сечения фундамента в плане.
Рисунок 4. Фундамент с уширенной полкой
Таблица 6а
Параметры фундаментов цилиндрических полых
с анкерным креплением стоек
Приказом Росстандарта от 16.11.2018 N 1025-ст)
Марка фундамента | Нормативный изгибающий момент Mн, кН·м (тс·м) | Размеры, мм | Диаметр анкерного болта, мм |
L | d | D |
ФЦП-4,5-100, ФЦК-4,5-100 | 98 (10,0) | 4500 | 600 | 800 | 36 |
ФЦП-4,5-120, ФЦК-4,5-120 | 117 (12,0) | 42 |
ФЦП-4,5-150, ФЦК-4,5-150 | 147 (15,0) |
ФЦП-5,0-100, ФЦК-5,0-100 | 98 (10,0) | 5000 | 36 |
ФЦП-5,0-120, ФЦК-5,0-120 | 117 (12,0) | 42 |
ФЦП-5,0-150, ФЦК-5,0-150 | 147 (15,0) |
ФЦП-5,5-100, ФЦК-5,5-100 | 98 (10,0) | 5500 | 600 | 800 | 36 |
ФЦП-5,5-120, ФЦК-5,5-120 | 117 (12,0) | 42 |
ФЦП-5,5-150, ФЦК-5,5-150 | 147 (15,0) |
ФЦП-6,0-100, ФЦК-6,0-100 | 98 (10,0) | 6000 | 36 |
ФЦП-6,0-120, ФЦК-6,0-120 | 117 (12,0) | 42 |
ФЦП-6,0-150, ФЦК-6,0-150 | 147 (15,0) |
В
таблице 6а приняты следующие обозначения:
L - длина фундамента;
d - наружный диаметр ствола фундамента; D - диаметр оголовка.
Рисунок 4а - Фундамент цилиндрический полый
Приказом Росстандарта от 16.11.2018 N 1025-ст)
Таблица 6б
Параметры свай цилиндрических фланцевых
Приказом Росстандарта от 16.11.2018 N 1025-ст)
Марка сваи | Нормативный изгибающий момент Mн, кН·м (тс·м) | Размеры, мм | Диаметр анкерного болта, мм |
L | d | D |
СЦФ-4,5-100, СЦК-4,5-100 | 98 (10,0) | 4500 | 350 | 550 | 36 |
СЦФ-4,5-120, СЦК-4,5-120 | 117 (12,0) | 42 |
СЦФ-4,5-150, СЦК-4,5-150 | 147 (15,0) |
СЦФ-5,0-100, СЦК-5,0-100 | 98 (10,0) | 5000 | 36 |
СЦФ-5,0-120, СЦК-5,0-120 | 117 (12,0) | 42 |
СЦФ-5,0-150, СЦК-5,0-150 | 147 (15,0) |
СЦФ-5,5-100, СЦК-5,5-100 | 98 (10,0) | 5500 | 36 |
СЦФ-5,5-120, СЦК-5,5-120 | 117 (12,0) | 42 |
СЦФ-5,5-150, СЦК-5,5-150 | 147 (15,0) |
СЦФ-6,0-100, СЦК-6,0-100 | 98 (10,0) | 6000 | 36 |
СЦФ-6,0-120, СЦК-6,0-120 | 117 (12,0) | 42 |
СЦФ-6,0-150, СЦК-6,0-150 | 147 (15,0) |
В
таблице 6б приняты следующие обозначения:
L - длина сваи;
d - внутренний диаметр ствола сваи; D - наружный диаметр ствола сваи.
Рисунок 4б - Свая цилиндрическая фланцевая
Приказом Росстандарта от 16.11.2018 N 1025-ст)
5.1.5. Расположение анкерных болтов должно обеспечивать требуемую несущую способность узла крепления стойки к фундаменту в обоих направлениях действия нагрузки.
5.2. Технические требования
5.2.1. Основные показатели и характеристики
5.2.1.1. Фундаменты для стоек опор контактной сети должны иметь несущую способность (прочность) в соответствии с
5.1.2.
5.2.1.2. Ширина раскрытия трещин в железобетонных фундаментах и сваях при проверке трещиностойкости не должна превышать 0,15 мм. Образование трещин в фундаментах и сваях с композитной арматурой при проверке трещиностойкости не допускается.
(п. 5.2.1.2 в ред.
Изменения N 1, введенного в действие Приказом Росстандарта от 16.11.2018 N 1025-ст)
5.2.1.3. В фундаментах с анкерным креплением стоек опор контактной сети расстояние между анкерными болтами должно быть:
- 0,5 м в плоскости, направленной "поперек пути";
- 0,4 м в плоскости, направленной "вдоль пути".
5.2.1.4. Армирование фундаментов следует производить арматурными каркасами. Точность размеров арматурных каркасов должна удовлетворять требованиям
ГОСТ 10922, арматурных сеток -
ГОСТ 23279. Требования к точности сборки арматурных сеток и каркасов для бетонных фундаментов и свай с композитной арматурой аналогичны предъявляемым к каркасам железобетонных фундаментов.
(в ред.
Изменения N 1, введенного в действие Приказом Росстандарта от 16.11.2018 N 1025-ст)
Отклонения по длине арматурных стержней, расположению строповочных и монтажных петель не должны превышать +/- 5 мм.
5.2.1.5. Толщина защитного слоя бетона для рабочей арматуры должна быть не менее 25 мм, для конструктивной - не менее 10 мм.
(п. 5.2.1.5 в ред.
Изменения N 1, введенного в действие Приказом Росстандарта от 16.11.2018 N 1025-ст)
5.2.1.6. На наружной поверхности фундаментов не допускаются:
- раковины диаметром более 10 мм;
- раковины глубиной более 3 мм;
- отколы глубиной более 10 мм;
- отколы длиной более 50 мм;
- число отколов на длине 1000 мм не более 2 шт.;
- местные усадочные трещины с шириной раскрытия более 0,1 мм;
- поперечные и продольные трещины с шириной раскрытия более 0,15 мм.
5.2.1.7. На наружной поверхности фундаментов не должно быть ржавых, жировых пятен и подтеков.
5.2.1.8. Предельные отклонения геометрических размеров фундаментов не должны превышать величин, приведенных в таблице 7.
Таблица 7
Требования к точности изготовления фундаментов
Наименование параметров фундамента | Поле допуска, мм |
Длина | +/- 20 |
Толщина лучей | +/- 5 |
Габаритные размеры в плане | +/- 5 |
Глубина стакана | +/- 5 |
Диаметр стакана | +/- 5 |
Выпуск анкерных болтов из бетона | +/- 5 |
Диаметр анкерных болтов | +/- 0,5 |
Межосевое расстояние между болтами | +/- 5 |
Толщина защитного слоя бетона | +/- 5 |
5.2.1.9. Анкерные болты в фундаментах с анкерным креплением должны иметь загиб в соответствии с
ГОСТ 24379.0,
ГОСТ 24379.1.
5.2.1.10. Заготовку анкеров с высаженными головками для фундаментов с анкерным закреплением в скальном грунте следует производить кузнечным способом. Допускаемое отклонение по диаметру анкера +/- 1 мм.
5.2.1.11. Анкерные болты фундаментов должны быть изолированы от бетона. При изоляции анкерных болтов с помощью термоусаживающихся трубок между трубкой и анкерным болтом не допускаются воздушные полости, надрезы и выбоины, нарушающие сплошность защитного покрытия.
5.2.1.12. Термоусаживающиеся трубки должны обеспечивать электрическое сопротивление между арматурным каркасом и анкерным болтом не менее 10 кОм.
5.2.1.12а. В бетонных фундаментах с композитной арматурой проводить измерения электрического сопротивления не требуется.
(п. 5.2.1.12а введен
Изменением N 1, введенным в действие Приказом Росстандарта от 16.11.2018 N 1025-ст)
5.2.1.13. На наружную поверхность фундаментов следует наносить гидроизоляционное покрытие по всей длине на 0,2 м ниже уровня обреза фундамента. Толщина покрытия должна составлять не менее 1 мм. Допускается применение защитных составов проникающего действия.
(в ред.
Изменения N 1, введенного в действие Приказом Росстандарта от 16.11.2018 N 1025-ст)
5.2.1.14. Предельное отклонение фактической массы фундамента и сваи от номинальной не должно превышать 10%.
(п. 5.2.1.14 введен
Изменением N 1, введенным в действие Приказом Росстандарта от 16.11.2018 N 1025-ст)
5.2.1.15. Требования надежности
Рекомендуемый срок службы железобетонных фундаментов и свай должен составлять 70 лет, бетонных фундаментов и свай с композитной арматурой - 85 лет.
Критериями отказа являются: образование поперечных трещин с шириной раскрытия более 0,1 мм и снижение фактической прочности бетона, соответствующей классам бетона, установленным в
5.2.2.1, более чем на 25%.
(п. 5.2.1.15 введен
Изменением N 1, введенным в действие Приказом Росстандарта от 16.11.2018 N 1025-ст)
5.2.2. Требования к материалам
5.2.2.1. Фундаменты и сваи следует изготовлять из тяжелого бетона в соответствии с национальным стандартом, действующим на территории государства, принявшего стандарт
<1>, с коэффициентом вариации прочности бетона не более 5% и арматурного каркаса.
Железобетонные фундаменты и сваи, предназначенные для эксплуатации в грунтах со слабоагрессивной степенью воздействия, следует изготовлять из бетона класса по прочности на сжатие не ниже B30 в соответствии с национальным стандартом, действующим на территории государства, принявшего стандарт
<1>, в грунтах со средне- и сильноагрессивной степенью воздействия в соответствии с нормативной документацией, действующей на территории государства, принявшего стандарт
<2>, а также в районах с расчетной температурой ниже минус 40 °C - не ниже B40.
Бетонные фундаменты и сваи с композитной арматурой следует изготовлять из тяжелого бетона класса по прочности на сжатие не ниже B40 в соответствии с национальным стандартом, действующим на территории государства, принявшего стандарт <1>. Для повышения трещиностойкости в бетонных фундаментах и сваях с композитной арматурой следует применять фибробетон с полипропиленовой фиброй из расчета 1 кг на 1 м3.
--------------------------------
<1> На территории Российской Федерации действует
ГОСТ 26633-2015 "Бетоны тяжелые и мелкозернистые. Технические условия".
<2> На территории Российской Федерации действует свод правил
СП 28.13330.2017 "СНиП 2.03.11-85 Защита строительных конструкций от коррозии".
(п. 5.2.2.1 в ред.
Изменения N 1, введенного в действие Приказом Росстандарта от 16.11.2018 N 1025-ст)
5.2.2.2. Фактическая прочность бетона (в проектном возрасте, отпускная) должна быть не ниже требуемой в зависимости от нормируемой прочности и фактической однородности бетона по прочности в соответствии с требованиями
ГОСТ 18105.
Нормируемая отпускная прочность бетона должна составлять не менее 80% прочности бетона на сжатие, соответствующей его классу.
При поставке фундаментов в холодный период года (при среднесуточной температуре наружного воздуха ниже 0 °C) нормируемая отпускная прочность должна составлять не менее 90% прочности бетона на сжатие, соответствующей его классу.
5.2.2.3. Поставку фундаментов с отпускной прочностью ниже прочности, соответствующей его классу, производят при условии, если изготовитель гарантирует достижение бетоном требуемой прочности в возрасте 28 суток, определяемой по результатам испытаний контрольных образцов, изготовленных из бетонной смеси рабочего состава. Минимальная отпускная прочность бетона класса B30 должна составлять не менее 32 МПа и в холодный период года - не менее 36 МПа. Минимальная отпускная прочность бетона класса B40 должна составлять не менее 40 МПа и в холодный период года (при температуре наружного воздуха 10 °C и ниже) - не менее 45 МПа.
(в ред.
Изменения N 1, введенного в действие Приказом Росстандарта от 16.11.2018 N 1025-ст)
5.2.2.4. Для районов с расчетной температурой наружного воздуха минус 40 °C и выше марка по морозостойкости бетона фундаментов должна быть не менее F
1200; для районов с расчетной температурой воздуха до минус 55 °C включительно - не менее F
1400 по
ГОСТ 26633.
(в ред.
Изменения N 1, введенного в действие Приказом Росстандарта от 16.11.2018 N 1025-ст)
5.2.2.5. Бетон фундаментов и свай должен иметь марку по водонепроницаемости не ниже W8 в соответствии с национальным стандартом, действующим на территории государства, принявшего стандарт <1>, для класса бетона по прочности на сжатие B30; W12 - для бетона класса B40.
(п. 5.2.2.5 в ред.
Изменения N 1, введенного в действие Приказом Росстандарта от 16.11.2018 N 1025-ст)
--------------------------------
<1> На территории Российской Федерации действует
ГОСТ 26633-2015 "Бетоны тяжелые и мелкозернистые. Технические условия.
(сноска введена
Изменением N 1, введенным в действие Приказом Росстандарта от 16.11.2018 N 1025-ст)
5.2.2.6. Материалы, применяемые для изготовления тяжелого бетона, должны удовлетворять требованиям
ГОСТ 26633, при этом следует использовать:
- в качестве вяжущего в неагрессивных грунтах - портландцемент по
ГОСТ 10178 или
ГОСТ 31108; в агрессивных грунтах - сульфатостойкий цемент по
ГОСТ 22266. Для изготовления бетонных фундаментов и свай с композитной арматурой следует применять сульфатостойкий цемент по
ГОСТ 22266;
(в ред.
Изменения N 1, введенного в действие Приказом Росстандарта от 16.11.2018 N 1025-ст)
- в качестве крупного заполнителя - щебень по
ГОСТ 8267 с наибольшим размером зерен не более 20 мм;
- в качестве мелкого заполнителя - песок по
ГОСТ 8735.
Воду для затворения бетонной смеси необходимо применять в соответствии с требованиями
ГОСТ 23732, качество добавок для бетона должно соответствовать требованиям
ГОСТ 24211.
5.2.2.7 Для армирования железобетонных фундаментов и свай рекомендуется применять прокат арматурный класса А400 марки 25Г2С или 35ГС в соответствии с действующей нормативной документацией
<2>, а также прокат арматурный класса А500С в соответствии с национальным стандартом, действующим на территории государства, принявшего стандарт
<2>.
Для фундаментов и свай, эксплуатируемых при температуре наружного воздуха от минус 40 °C до плюс 50 °C, следует применять сварные каркасы, при температуре от минус 55 °C до плюс 50 °C - вязаные каркасы из сеток, соединенных точечной сваркой.
Каркасы из арматуры марки 35ГС и из композитной арматуры должны быть выполнены вязаными.
Примечание - Допускается по согласованию с заказчиком применение стержневой арматурной стали других классов с характеристиками не ниже, чем у вышеприведенных классов арматуры.
В качестве поперечной ненапрягаемой арматуры следует применять проволоку класса Вр-1 по
ГОСТ 6727 и прокат арматурный класса А240 в соответствии с национальным стандартом, действующим на территории государства, принявшего стандарт
<2>.
Примечание - При использовании стержневой и проволочной арматуры, произведенной по европейским стандартам, отношение временного сопротивления к пределу текучести должно составлять для арматуры:
- холоднотянутой - не менее 1,05, минимально допустимая деформация при максимальном напряжении - не менее 2,5%;
- термомеханически упрочненной - не менее 1,08, минимально допустимая деформация при максимальном напряжении - не менее 5,0%;
- горячекатаной - от 1,15 до 1,35, минимально допустимая деформация при максимальном напряжении - не менее 7,5%.
(п. 5.2.2.7 в ред.
Изменения N 1, введенного в действие Приказом Росстандарта от 16.11.2018 N 1025-ст)
--------------------------------
<2> На территории Российской Федерации действует
ГОСТ 34028-2016 "Прокат арматурный для железобетонных конструкций. Технические условия".
(сноска введена
Изменением N 1, введенным в действие Приказом Росстандарта от 16.11.2018 N 1025-ст)
5.2.2.7а. Для бетонных фундаментов и свай с композитным армированием в качестве продольной и поперечной следует применять арматуру, соответствующую требованиям национального стандарта, действующего на территории государства, принявшего стандарт <3>.
--------------------------------
<3> На территории Российской Федерации действует
ГОСТ 31938-2012 "Арматура композитная полимерная для армирования бетонных конструкций. Общие технические условия".
(п. 5.2.2.7а введен
Изменением N 1, введенным в действие Приказом Росстандарта от 16.11.2018 N 1025-ст)
5.2.2.8. Строповочные и монтажные петли следует изготовлять из арматурной стали класса A240 при температуре наружного воздуха до минус 40 °C - из стали марки Ст3сп5 по
ГОСТ 535, при температуре до минус 55 °C включительно - из стали марки 09Г2С по
ГОСТ 19281.
(в ред.
Изменения N 1, введенного в действие Приказом Росстандарта от 16.11.2018 N 1025-ст)
Примечание. Допускается применение арматурных сталей других классов, имеющих механические свойства не хуже вышеприведенных.
5.2.2.9. Анкерные болты фундаментов должны быть выполнены:
- при расчетной температуре воздуха минус 40 °C включительно - из стали класса С245 марки Ст3сп5 по
ГОСТ 535;
- при расчетной температуре воздуха ниже минус 40 °C - из стали марки 09Г2С по
ГОСТ 19281.
5.2.2.10. Болты, гайки и шайбы должны иметь защитное цинковое покрытие, нанесенное методом термодиффузии в соответствии с требованиями национальных стандартов и нормативных документов, действующих на территории государства, принявшего стандарт <4>, с толщиной покрытия от 18 до 20 мкм - для деталей с резьбой, от 70 до 100 мкм - без резьбы.
(в ред.
Изменения N 1, введенного в действие Приказом Росстандарта от 16.11.2018 N 1025-ст)
--------------------------------
<4> На территории Российской Федерации действует
ГОСТ Р 9.316-2006 "Единая система защиты от коррозии и старения. Покрытия термодиффузионные цинковые. Общие требования и методы контроля".
(в ред.
Изменения N 1, введенного в действие Приказом Росстандарта от 16.11.2018 N 1025-ст)
5.2.2.11. Материалы, применяемые для антикоррозионных и гидроизоляционных покрытий, должны быть экологически безопасными. Выбор покрытия следует осуществлять в соответствии с требованиями национальных стандартов и нормативных документов, действующих на территории государства, принявшего стандарт <1>.
--------------------------------
<1> На территории Российской Федерации действует свод правил
СП 28.13330.2017 "СНиП 2.03.11-85 Защита строительных конструкций от коррозии".
(в ред.
Изменения N 1, введенного в действие Приказом Росстандарта от 16.11.2018 N 1025-ст)
5.2.2.12. Материал изолирующих пластин и втулок должен обеспечивать: требуемое сопротивление на сжатие - не менее 60 МПа; удельное объемное электрическое сопротивление - не менее 400 Ом·м; не снижать прочностные и электрические характеристики при температуре наружного воздуха от минус 60 °C до плюс 60 °C в условиях солнечного излучения.
5.2.3.1. Фундаменты с анкерным креплением по требованию заказчика поставляют в комплекте с изолирующими втулками (верхними и нижними), изолирующей пластиной и метизами для крепления опор.
5.2.3.2. Метизы (детали строительного крепежа) и изолирующие элементы должны быть уложены в деревянные ящики. В комплект для фундамента с анкерным креплением входят: восемь гаек, четыре шайбы, четыре втулки верхние, четыре втулки нижние, четыре колпачка, изолирующая пластина и паспорт со спецификацией изделий, входящих в комплект.
5.2.3.3. Регулировочные шайбы заготавливают на заводах, необходимый набор подбирают на месте. Высота набора шайб не должна превышать 15 мм.
5.2.3.4. Изготовитель должен сопровождать каждую принятую техническим контролем партию фундаментов документом о качестве по
ГОСТ 13015, в котором указывают:
- наименование и адрес изготовителя;
- номер и дату выдачи документа;
- номер партии или порядковый номер изделия;
- наименование и марки изделий с указанием количества изделий каждой марки;
- дату изготовления изделий;
- проектную марку бетона;
- отпускную прочность бетона в процентах от проектной марки;
- марку бетона по морозостойкости;
- марку бетона по водонепроницаемости;
- класс арматуры и диаметр стержней;
- материалы антикоррозионных и гидроизоляционных покрытий;
- обозначение технических условий;
- номер рабочей документации (проекта) на изделие;
- электрическое сопротивление между арматурой и анкерными болтами.
5.2.4.1. Маркировка фундаментов должна соответствовать требованиям
ГОСТ 13015.
5.2.4.2. Маркировка фундамента должна включать следующие сведения:
- тип по исполнению и назначению;
- длину фундамента в метрах;
- тип по несущей способности;
- условия эксплуатации;
- краткое наименование предприятия-изготовителя;
- заводской номер фундамента;
- номер партии;
- дату изготовления (число, месяц, год) цифрами (пример: 15.01.2010 г.).
5.2.4.3. Маркировочные надписи следует наносить на боковой поверхности фундамента на расстоянии не более 250 мм от верхнего обреза фундамента и на торце верхней части фундамента несмываемой краской или путем выдавливания бетона маркировочной матрицей.
5.3. Требования безопасности
5.3.1. При погрузо-разгрузочных работах фундаменты типов ТСС, ТСА, ТКА, ФСА, ФСБ, ЗФА следует строповать строго за строповочные петли, а сваи типов С, СЦФ, СЦК и фундаменты типов ФЦП, ФЦК - в обхват с двух концов, соблюдая требования безопасности в соответствии с
ГОСТ 12.3.009, исключающие падение конструкции.
(в ред.
Изменения N 1, введенного в действие Приказом Росстандарта от 16.11.2018 N 1025-ст)
5.3.2. Во время проведения испытаний необходимо принимать меры к обеспечению безопасности работ согласно
ГОСТ 8829.
5.4.1 Фундаменты и сваи подвергают приемо-сдаточным, периодическим и типовым испытаниям в объеме, указанном в
таблице 8.
Для проверки прочности и трещиностойкости при периодических и типовых испытаниях фундаменты и сваи должны пройти приемо-сдаточные испытания без защитного покрытия и упаковки.
Таблица 8
Виды и объем испытаний фундаментов и свай
Контролируемый параметр | Пункт стандарта, содержащий требования, которые проверяют при испытаниях | Пункт стандарта, содержащий методы испытаний | Объем выборки, %, не менее |
приемо-сдаточных | периодических | типовых |
Размеры и отклонения | | - | | 10 |
Толщина защитного слоя бетона | | - | | 10 |
Качество наружной поверхности | | - | | 100 |
| - | | 100 |
Прочность бетона на сжатие | | - | | 1 |
Отпускная прочность бетона на сжатие | | - | | 1 |
Морозостойкость | - | | | 1 |
Водонепроницаемость | - | | | 1 |
Прочность | - | | | 2 |
| | ИС МЕГАНОРМ: примечание. В официальном тексте документа, видимо, допущена опечатка: пункт 5.2.1.2а отсутствует. | |
|
Трещиностойкость | - | | | 2 |
Электрическое сопротивление между изолированными анкерными болтами и арматурой | | - | | 100 |
Защитное покрытие | | - | | 100 |
Комплектность | | - | | 100 |
Маркировка | | | 100 |
Масса | | - | | 10 |
Примечание - Объем выборки представляет собой процентное отношение от количества фундаментов в партии, округленное до ближайшего целого. |
(п. 5.4.1 в ред.
Изменения N 1, введенного в действие Приказом Росстандарта от 16.11.2018 N 1025-ст)
5.4.2. Приемку фундаментов должна осуществлять служба технического контроля предприятия-изготовителя партиями в соответствии с 5.4.3 -
5.4.7 с учетом требований
ГОСТ 13015.
5.4.3. За партию принимают фундаменты, изготовленные из одних исходных материалов, по одной технологии, оформленные одним документом о качестве в соответствии с
ГОСТ 13015 и одновременно предъявляемые к приемке. Размер партии - до 100 шт. или выработка за 15 суток.
5.4.4. Соответствие материалов, используемых для изготовления фундаментов, требованиям
5.2.2.6 -
5.2.2.9 следует проверять при входном контроле по сертификатам предприятий - поставщиков данных материалов или актами специализированной лаборатории. Сертификаты следует хранить на предприятии - изготовителе фундаментов.
5.4.5. Периодические испытания морозостойкости и водонепроницаемости бетона проводят не реже одного раза в шесть месяцев.
5.4.6. Периодические испытания фундаментов по прочности и трещиностойкости проводят не реже одного раза в шесть месяцев в соответствии с
ГОСТ 13015.
(в ред.
Изменения N 1, введенного в действие Приказом Росстандарта от 16.11.2018 N 1025-ст)
5.4.6.1. Для оценки трещиностойкости два фундамента из одной партии подвергают испытаниям нагружением; для оценки прочности - один фундамент из отобранных, при условии, что они выдержали испытания на трещиностойкость.
5.4.6.2. Фундаменты железобетонные признают выдержавшими испытания, если результаты испытаний удовлетворяют следующим требованиям:
(в ред.
Изменения N 1, введенного в действие Приказом Росстандарта от 16.11.2018 N 1025-ст)
- ширина раскрытия поперечных трещин при контрольной нагрузке на трещиностойкость не превысила 0,15 мм;
- разрушение фундамента произошло при нагрузке, большей или равной контрольной нагрузке по прочности.
5.4.6.2а. Бетонные фундаменты и сваи с композитной арматурой признают выдержавшими испытания, если результаты испытаний удовлетворяют следующим требованиям:
- трещины при контрольной нагрузке по проверке трещиностойкости отсутствуют;
- разрушение фундамента или сваи произошло не ранее, чем при контрольной нагрузке по проверке прочности.
(п. 5.4.6.2а введен
Изменением N 1, введенным в действие Приказом Росстандарта от 16.11.2018 N 1025-ст)
5.4.6.3. При испытаниях железобетонных фундаментов и свай на трещиностойкость в случае появления в одном из испытанных фундаментов трещин с шириной раскрытия более 0,15 мм при нагрузке меньше контрольной проводят испытания еще двух фундаментов из данной партии. Если ни в одном из них не появляются трещины с шириной раскрытия более 0,15 мм при контрольной нагрузке, фундаменты признают удовлетворяющими требованиям по трещиностойкости. При получении отрицательного результата повторной проверки (в случае образования трещин с шириной раскрытия более 0,15 мм при контрольной нагрузке) партию бракуют.
(в ред.
Изменения N 1, введенного в действие Приказом Росстандарта от 16.11.2018 N 1025-ст)
5.4.7. По требованию заказчика предприятие-изготовитель обязано сообщить результаты лабораторных испытаний показателей бетона, проводимых при производстве фундаментов и свай, а также предоставить акты испытаний композитной арматуры в соответствии с национальным стандартом, действующим на территории государства, принявшего стандарт <1>.
(в ред.
Изменения N 1, введенного в действие Приказом Росстандарта от 16.11.2018 N 1025-ст)
--------------------------------
<1> На территории Российской Федерации действует
ГОСТ 31938-2012 "Арматура композитная полимерная для армирования бетонных конструкций. Общие технические условия".
(сноска введена
Изменением N 1, введенным в действие Приказом Росстандарта от 16.11.2018 N 1025-ст)
5.5. Методы контроля и испытаний
5.5.1. Прочность бетона фундаментов на сжатие следует определять по
ГОСТ 10180 на серии образцов, изготовленных из бетонной смеси рабочего состава и хранящихся в условиях, установленных
ГОСТ 18105.
5.5.1.1. При проверке прочности бетона методами неразрушающего контроля фактическую отпускную прочность бетона на сжатие определяют ультразвуковым методом по
ГОСТ 17624 или приборами механического действия по
ГОСТ 22690.
5.5.1.2. При применении ультразвукового метода следует осуществлять поверхностное прозвучивание фундаментов по линии, перпендикулярной направлению рабочей арматуры.
5.5.1.3. Проверку отпускной прочности бетона методами неразрушающего контроля осуществляют путем выборочного контроля на не менее чем трех фундаментах из партии. Число контролируемых участков должно быть не более 15, расположенных равномерно по поверхности фундамента.
5.5.2. Морозостойкость бетона фундаментов следует определять по
ГОСТ 10060 на серии образцов, изготовленных из бетонной смеси рабочего состава. Допускается определять морозостойкость бетона ультразвуковым методом по
ГОСТ 26134.
(п. 5.5.2 в ред.
Изменения N 1, введенного в действие Приказом Росстандарта от 16.11.2018 N 1025-ст)
5.5.3. Водонепроницаемость бетона фундаментов следует определять по
ГОСТ 12730.5. Общие требования к методам контроля водонепроницаемости приведены в
ГОСТ 12730.0.
5.5.4. Качество бетонной смеси определяют по
ГОСТ 10181.
Другие показатели качества бетона (среднюю плотность, влажность, водопоглощение, призменную прочность, деформации усадки и ползучести, тепловыделение) определяют в соответствии с
ГОСТ 26633.
5.5.5. Толщину защитного слоя бетона до стальной арматуры следует определять магнитным методом по
ГОСТ 22904. Допускается применять радиационный метод по
ГОСТ 17625. Контроль толщины защитного слоя бетона методами неразрушающего контроля следует осуществлять на 15 контролируемых участках, расположенных равномерно по поверхности железобетонного фундамента.
(в ред.
Изменения N 1, введенного в действие Приказом Росстандарта от 16.11.2018 N 1025-ст)
5.5.5а. Толщину защитного слоя бетона для бетонных фундаментов с композитной арматурой следует определять после проведения механических испытаний путем линейных измерений в соответствии с
ГОСТ 26433.1.
(п. 5.5.5а введен
Изменением N 1, введенным в действие Приказом Росстандарта от 16.11.2018 N 1025-ст)
5.5.6. Геометрические размеры фундаментов, ширину поверхностных усадочных трещин, размеры раковин, отколов граней следует проверять методами, установленными
ГОСТ 26433.0. Общие положения по правилам выполнения измерений приведены в
ГОСТ 26433.1. Объем выборок и оценка результатов контроля - по
ГОСТ 13015.
Приемочный уровень дефектности фундаментов по показателям точности геометрических параметров, ширине раскрытия трещин, толщины защитного слоя не должен превышать 4%. При превышении 4% партию бракуют.
При контроле параметров фундаментов для целей подтверждения соответствия указанный уровень дефектности не допускается.
5.5.7. Внешний вид защитных покрытий и наружной поверхности конструкций контролируют визуально. Качество термодиффузионного покрытия - с помощью магнитного или металлографического метода в соответствии с требованиями национальных стандартов и нормативных документов, действующих на территории государства, принявшего стандарт <1>.
--------------------------------
<1> На территории Российской Федерации действует
ГОСТ Р 9.316-2006 "Единая система защиты от коррозии и старения. Покрытия термодиффузионные цинковые. Общие требования и методы контроля".
5.5.8. Испытания фундаментов нагружением для определения их прочности и трещиностойкости следует проводить по
ГОСТ 8829 с учетом
Приложений Б -
И.
(в ред.
Изменения N 1, введенного в действие Приказом Росстандарта от 16.11.2018 N 1025-ст)
5.5.8.1. Испытание фундаментов на прочность и трещиностойкость следует проводить при температуре окружающей среды от минус 10 °C до плюс 30 °C.
(п. 5.5.8.1 в ред.
Изменения N 1, введенного в действие Приказом Росстандарта от 16.11.2018 N 1025-ст)
5.5.8.2. Температуру бетона измеряют контактным термометром, помещенным на поверхность конструкции.
5.5.8.3. Допускается испытывать фундаменты в зимнее время на открытом воздухе при температуре до минус 10 °C, при этом фундаменты и стойки до испытания должны быть выдержаны в теплом помещении, прогреты и в начале испытаний иметь температуру не менее 5 °C.
5.5.8.4. Перед механическими испытаниями фундаментов на прочность и трещиностойкость для их нагружения к ним должны быть закреплены стойки.
5.5.8.5. Фундаменты типа ФСБ следует испытывать на прочность заделки анкерных болтов в скальный грунт в полевых условиях. Рекомендуется проводить испытания двух замоноличенных болтов с помощью гидравлического домкрата с передачей нагрузки через траверсу.
5.5.8.6. Схемы испытаний и нагружения фундаментов следует принимать согласно
Приложениям Б -
И.
(в ред.
Изменения N 1, введенного в действие Приказом Росстандарта от 16.11.2018 N 1025-ст)
5.5.8.7. Величины контрольных нагрузок P (усилий натяжения троса при испытаниях фундаментов), определенные с учетом коэффициентов безопасности C (см. таблицы 9,
10), указаны в
Приложениях Б -
И.
(в ред.
Изменения N 1, введенного в действие Приказом Росстандарта от 16.11.2018 N 1025-ст)
Таблица 9
Коэффициенты безопасности для железобетонных
фундаментов и свай
Приказом Росстандарта от 16.11.2018 N 1025-ст)
Испытания | Коэффициент безопасности C |
По проверке трещиностойкости | 1,0 |
По проверке прочности | 1,4 |
Таблица 10
Коэффициенты безопасности для бетонных фундаментов
и свай с композитной арматурой
Приказом Росстандарта от 16.11.2018 N 1025-ст)
Испытания | Коэффициент безопасности |
По проверке трещиностойкости | 1,3 |
По проверке прочности | 2,0 |
5.5.8.8. Нагрузку к испытываемому фундаменту прикладывают ступенями по

до

и по

после приложения

до контрольной нагрузки по испытаниям на прочность. До начала испытаний следует произвести предварительное нагружение испытательной системы нагрузкой не более

.
5.5.8.9. Железобетонный фундамент выдерживают 5 мин после приложения нагрузки каждой ступени до значения, соответствующего

. После приложения контрольной нагрузки по проверке трещиностойкости, соответствующей

, фундамент выдерживают под нагрузкой в течение 20 мин. При нагрузке

и более фундамент выдерживают 2 мин после приложения нагрузки каждой ступени до нагрузки

.
(в ред.
Изменения N 1, введенного в действие Приказом Росстандарта от 16.11.2018 N 1025-ст)
5.5.8.9а. Бетонные фундаменты с композитной арматурой выдерживают 5 мин после приложения нагрузки каждой ступени до значения, соответствующего 1,3·Mн. После приложения контрольной нагрузки по проверке трещиностойкости, соответствующей 1,3·Mн, фундамент выдерживают под данной нагрузкой в течение 20 мин. При нагружении 1,4·Mн и более фундамент выдерживают 2 мин после приложения соответствующей нагрузки каждой ступени до контрольной нагрузки по прочности, равной 2,0·Mн.
(п. 5.5.8.9а введен
Изменением N 1, введенным в действие Приказом Росстандарта от 16.11.2018 N 1025-ст)
5.5.8.10. Величину усилия натяжения троса при испытаниях следует устанавливать по динамометру, удовлетворяющему требованиям
ГОСТ 13837. Схемы подключения динамометра приведены в
приложениях Б -
И.
(в ред.
Изменения N 1, введенного в действие Приказом Росстандарта от 16.11.2018 N 1025-ст)
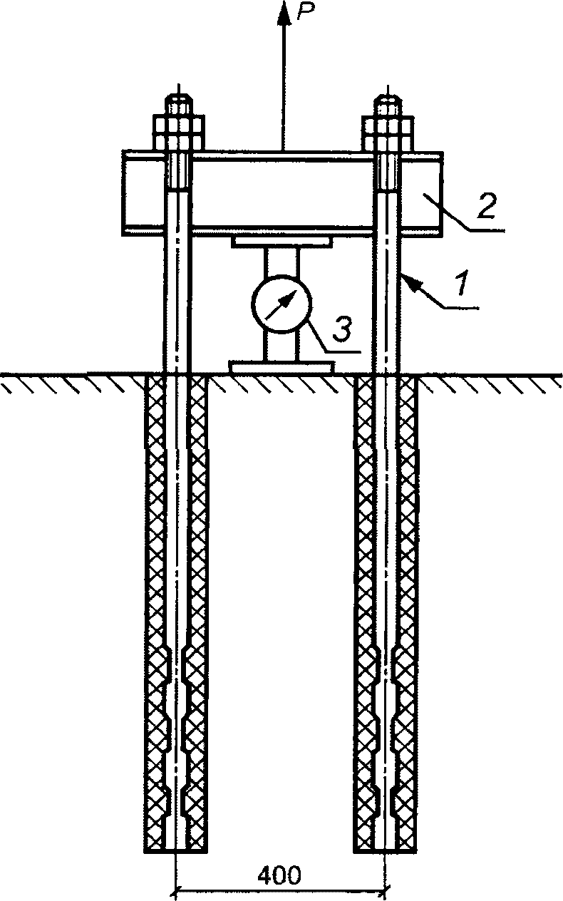
5.5.9. Электрическое сопротивление изоляции анкерных болтов от тела бетона следует проверять в соответствии со схемой, показанной на рисунке 5 мегомметром, удовлетворяющим требованиям
ГОСТ 23706. Величина испытательного напряжения должна составлять 500 В. Измерения электрического сопротивления проводят при сухой поверхности бетона и температуре окружающей среды не менее 18 °C. Подачу напряжения к поверхностям анкерного болта и строповочной петли производят с помощью изолированной медной проволоки.
1 - болт анкерный; 2 - петля строповочная
Рисунок 5. Схема измерения
электрического сопротивления фундамента
5.5.10. Проверку маркировки, качества упаковки и комплектности изолирующих элементов и метизов проводят визуально в соответствии с
5.2.3 и
5.2.4.
5.5.11. Фактическую массу фундамента определяют взвешиванием с помощью динамометра по
ГОСТ 13837.
(п. 5.5.11 введен
Изменением N 1, введенным в действие Приказом Росстандарта от 16.11.2018 N 1025-ст)
5.5.12. Подтверждение расчетного срока службы фундаментов и свай следует осуществлять с помощью моделирования с применением метода конечных элементов.
(п. 5.5.12 введен
Изменением N 1, введенным в действие Приказом Росстандарта от 16.11.2018 N 1025-ст)
5.6. Транспортирование и хранение
5.6.1. Общие требования по транспортированию и хранению фундаментов - в соответствии с
ГОСТ 13015.
5.6.2. Фундаменты следует транспортировать и хранить в горизонтальном положении в штабелях, рассортированных по маркам. Число рядов фундаментов в штабеле по высоте должно быть не более пяти.
5.6.3. При хранении фундаментов в штабелях и их перевозке между горизонтальными рядами фундаментов следует укладывать деревянные прокладки из бруса сечением 100 x 100 мм. Прокладки следует располагать на расстоянии 0,3 - 0,5 м от каждого торца фундаментов.
5.6.4. Трехлучевые фундаменты в штабелях должны быть расположены уширенным лучом вверх и опираться на два узких луча и оголовок. Каждый верхний ряд фундаментов в штабеле следует располагать таким образом: фундамент над фундаментом, лучевой частью над оголовком и оголовком над лучевой частью. Допускается производить складирование трехлучевых фундаментов: фундамент над фундаментом, лучевой частью над лучевой частью и оголовком над оголовком при обеспечении их горизонтального положения устройством подкладок или кондукторов.
(в ред.
Изменения N 1, введенного в действие Приказом Росстандарта от 16.11.2018 N 1025-ст)
5.6.5. Фундаменты следует складировать в помещении, под навесом или на открытом воздухе в условиях, исключающих их повреждение.
5.6.6. Погрузку и разгрузку фундаментов производят кранами с помощью специальных захватов с соблюдением техники безопасности при погрузо-разгрузочных работах.
5.6.7. В зимнее время вывоз фундаментов на склад готовой продукции следует производить после их остывания, при этом перепад температур наружного воздуха и бетона фундаментов должен быть не более 35 °C.
5.6.8. Разрешается транспортирование фундаментов автомобильным или железнодорожным транспортом, при этом следует принимать меры по закреплению фундаментов и исключению их повреждений.
5.7. Указания по эксплуатации
5.7.1. При эксплуатации фундаментов должен быть обеспечен необходимый уровень их несущей способности, установленный в
5.1.
Расстояние от поверхности грунта до уровня обреза фундамента не должно превышать 1300 мм.
5.7.2. Для защиты от механических повреждений перед монтажом опоры на анкерные болты следует навинчивать металлические конические насадки. После установки опоры на анкерные болты насадки снимают, на болтовые соединения устанавливают колпачки из полиэтилена для защиты от атмосферного воздействия.
5.7.3. При эксплуатации фундаментов электрическое сопротивление должно быть обеспечено изолирующими элементами и должно составлять не менее 2,5 кОм.
5.7.4. Строповочные и монтажные петли перед установкой конструкций в грунт следует срезать или окрашивать полимерной влагостойкой краской на битумной основе в соответствии с требованиями национальных стандартов и нормативных документов, действующих на территории государства, принявшего стандарт <1>.
--------------------------------
<1> На территории Российской Федерации действует свод правил
СП 28.13330.2017 "СНиП 2.03.11-85 Защита строительных конструкций от коррозии".
(в ред.
Изменения N 1, введенного в действие Приказом Росстандарта от 16.11.2018 N 1025-ст)
5.7.5. При восстановлении гидроизоляционного покрытия должны быть использованы материалы, не содержащие веществ, которые могут вызвать загрязнение окружающей среды. При нанесении защитных покрытий должны быть приняты меры против разбрызгивания составов, попадания в грунт и грунтовые воды.
5.8. Гарантии изготовителя
5.8.1. Предприятие-изготовитель гарантирует соответствие фундаментов и свай требованиям 5.2 при соблюдении потребителем правил погрузо-разгрузочных операций по
ГОСТ 12.3.009, транспортирования, условий хранения, монтажа и эксплуатации в соответствии с
5.6 и
5.7.
Гарантийный срок эксплуатации фундаментов и свай составляет пять лет со дня приобретения потребителем.
(п. 5.8.1 в ред.
Изменения N 1, введенного в действие Приказом Росстандарта от 16.11.2018 N 1025-ст)
5.8.2. При поставке фундаментов с отпускной прочностью ниже проектной марки в соответствии с
ГОСТ 13015 предприятие-изготовитель обязано гарантировать достижение бетоном проектной марки в течение 28 суток со дня изготовления.
(обязательное)
УСЛОВНОЕ ОБОЗНАЧЕНИЕ ФУНДАМЕНТОВ ДЛЯ ОПОР КОНТАКТНОЙ СЕТИ
┌─────┐ ┌─────┐ ┌─────┐ ┌─────┐
│ │ - │ │ - │ │ - │ │
└──┬──┘ └──┬──┘ └──┬──┘ └──┬──┘
└─────────┼─────────┼─────────┼────── тип фундамента по исполнению
│ │ │ и назначению
└─────────┼─────────┼────── длина фундамента в метрах
│ │
└─────────┼────── тип фундамента по несущей
│ способности
└────── условия эксплуатации фундамента
Условия эксплуатации фундаментов железобетонных и бетонных с композитной арматурой:
(в ред.
Изменения N 1, введенного в действие Приказом Росстандарта от 16.11.2018 N 1025-ст)
а) М - район с грунтами и грунтовыми водами с неагрессивными, слабоагрессивными и среднеагрессивными степенями воздействия, с температурой воздуха до минус 55 °C;
(в ред.
Изменения N 1, введенного в действие Приказом Росстандарта от 16.11.2018 N 1025-ст)
б) К - район с грунтами и грунтовыми водами с сильноагрессивными степенями воздействия, с температурой воздуха до минус 40 °C включительно;
в) Э - наличие изолированных анкерных болтов (для участков, электрифицированных на постоянном и переменном токе).
(в ред.
Изменения N 1, введенного в действие Приказом Росстандарта от 16.11.2018 N 1025-ст)
Примечание. В условном обозначении (марке) фундамента допускается не указывать условия эксплуатации для районов с грунтами и грунтовыми водами с неагрессивными, слабоагрессивными и среднеагрессивными степенями воздействия, с температурой воздуха до минус 40 °C включительно.
Примеры условного обозначения фундаментов:
- фундамент трехлучевой с заострением подземной части со стаканным креплением опор контактной сети, длиной 4,0 м, несущей способностью 79 кН·м для грунтов с сильноагрессивной степенью воздействия:
ТСС-4,0-80-К;
- фундамент трехлучевой с заострением подземной части с анкерным креплением опор контактной сети, длиной 5,0 м, несущей способностью 147 кН·м для районов с температурой воздуха от минус 55 °C до плюс 50 °C:
ТСА-5,0-150-МЭ;
- фундамент трехлучевой с композитной арматурой с заострением подземной части с анкерным креплением опор контактной сети, длиной 5,0 м, несущей способностью 98 кН·м для районов с температурой воздуха от минус 55 °C до плюс 50 °C, для районов с грунтами и грунтовыми водами с сильно агрессивной степенью воздействия:
ТКА-5,0-100-МКЭ;
- фундамент скальный с анкерным креплением опор контактной сети, длиной 2 м, несущей способностью 117 кН·м:
ФСА-2,0-120-Э;
- фундамент блочный скальный с анкерным креплением опор контактной сети, одноблочный, несущей способностью 98 кН·м:
ФСБ-1-100;
- фундамент с уширенной полкой с анкерным креплением опор контактной сети, несущей способностью до 98 кН·м:
ЗФА-2,5-100-Э;
- свая длиной 6,5 м, несущей способностью 98 кН·м:
С-6,5-100;
- свая длиной 8,0 м, несущей способностью 117 кН·м:
С-8,0-120;
- оголовок свайный, несущей способностью 98 кН·м:
ОС-100-Э;
- фундамент цилиндрический полый, длиной 5,0 м, несущей способностью 98 кН·м:
ФЦП-5,0-100-Э;
- фундамент цилиндрический полый с композитной арматурой, длиной 5,0 м, несущей способностью 147 кН·м для районов с температурой воздуха от минус 55 °C до плюс 50 °C:
ФЦК-5,0-150-МЭ;
- свая цилиндрическая фланцевая, длиной 5,0 м, несущей способностью 98 кН·м:
СЦФ-5,0-100-Э;
- свая цилиндрическая с композитной арматурой, длиной 5,0 м, несущей способностью 147 кН·м для районов с температурой воздуха от минус 55 °C до плюс 50 °C:
СЦК-5,0-150-МЭ.
(примеры условного обозначения в ред.
Изменения N 1, введенного в действие Приказом Росстандарта от 16.11.2018 N 1025-ст)
(обязательное)
ИСПЫТАНИЙ И НАГРУЖЕНИЯ ФУНДАМЕНТОВ ТСС
Таблица Б.1
Ступень нагрузки | Нагрузка в долях от нормативного изгибающего момента  | Усилие P, кН (кгс), для фундаментов с нормативным изгибающим моментом  , кН·м (тс·м) |
79 (8,0) | 98 (10,0) | 117 (12,0) | 147 (15,0) |
0 | 0,00 | 0 (0) | 0 (0) | 0 (0) | 0 (0) |
1 | 0,10 | 1,51 (150) | 1,87 (190) | 2,25 (230) | 2,82 (290) |
2 | 0,20 | 3,02 (300) | 3,74 (380) | 4,50 (460) | 5,64 (570) |
3 | 0,40 | 6,04 (610) | 7,48 (760) | 9,00 (920) | 11,28 (1140) |
4 | 0,60 | 9,06 (910) | 11,22 (1150) | 13,50 (1370) | 16,92 (1720) |
5 | 0,80 | 12,08 (1220) | 14,96 (1530) | 18,00 (1830) | 22,56 (2290) |
6 | 0,90 | 13,59 (1370) | 16,83 (1720) | 20,25 (2060) | 25,38 (2570) |
7 | 0,95 | 14,35 (1440) | 17,77 (1820) | 21,38 (2180) | 26,79 (2720) |
8 | 1,00 | 15,10 (1520) | 18,70 (1910) | 22,50 (2290) | 28,20 (2860) |
9 | 1,05 | 15,86 (1600) | 19,64 (2010) | 23,63 (2410) | 29,61 (3000) |
10 | 1,10 | 16,61 (1670) | 20,57 (2100) | 24,75 (2520) | 31,02 (3150) |
11 | 1,20 | 18,12 (1820) | 22,44 (2290) | 27,00 (2750) | 33,84 (3430) |
12 | 1,30 | 19,63 (1980) | 24,31 (2480) | 29,25 (2980) | 36,66 (3720) |
13 | 1,40 | 21,14 (2130) | 26,18 (2680) | 31,50 (3210) | 39,48 (4010) |
1 - шарнирно-скользящая опора; 2 - шарнирно-неподвижные
опоры; 3 - упор в торце; 4 - горизонтальная консоль;
5 - трос; 6 - динамометр; P - усилие натяжения
троса при испытании
Рисунок Б.1 - Схема механических испытаний
фундаментов ТСС
Приказом Росстандарта от 16.11.2018 N 1025-ст)
(обязательное)
ИСПЫТАНИЙ И НАГРУЖЕНИЯ ФУНДАМЕНТОВ ТСА, ТКА
Приказом Росстандарта от 16.11.2018 N 1025-ст)
Таблица В.1
Ступень нагрузки | Нагрузка в долях от нормативного изгибающего момента  | Усилие P, кН (кгс), для фундаментов с нормативным изгибающим моментом  , кН·м (тс·м) |
79 (8,0) | 98 (10,0) | 117 (12,0) | 147 (15,0) |
0 | 0,00 | 0 (0) | 0 (0) | 0 (0) | 0 (0) |
1 | 0,10 | 1,51 (150) | 1,87 (190) | 2,25 (230) | 2,82 (290) |
2 | 0,20 | 3,02 (300) | 3,74 (380) | 4,50 (460) | 5,64 (570) |
3 | 0,40 | 6,04 (610) | 7,48 (760) | 9,00 (920) | 11,28 (1140) |
4 | 0,60 | 9,06 (910) | 11,22 (1150) | 13,50 (1370) | 16,92 (1720) |
5 | 0,80 | 12,08 (1220) | 14,96 (1530) | 18,00 (1830) | 22,56 (2290) |
6 | 0,90 | 13,59 (1370) | 16,83 (1720) | 20,25 (2060) | 25,38 (2570) |
7 | 0,95 | 14,35 (1440) | 17,77 (1820) | 21,38 (2180) | 26,79 (2720) |
8 | 1,00 | 15,10 (1520) | 18,70 (1910) | 22,50 (2290) | 28,20 (2860) |
9 | 1,05 | 15,86 (1600) | 19,64 (2010) | 23,63 (2410) | 29,61 (3000) |
10 | 1,10 | 16,61 (1670) | 20,57 (2100) | 24,75 (2520) | 31,02 (3150) |
11 | 1,20 | 18,12 (1820) | 22,44 (2290) | 27,00 (2750) | 33,84 (3430) |
12 | 1,30 | 19,63 (1980) | 24,31 (2480) | 29,25 (2980) | 36,66 (3720) |
13 | 1,40 | 21,14 (2130) | 26,18 (2680) | 31,50 (3210) | 39,48 (4010) |
14 | 1,60 | 24,16 (2430) | 29,92 (3060) | 36,00 (3670) | 45,12 (4580) |
(позиция введена Изменением N 1, введенным в действие Приказом Росстандарта от 16.11.2018 N 1025-ст) |
15 | 1,80 | 27,18 (2740) | 33,66 (3440) | 40,50 (4120) | 50,76 (5150) |
(позиция введена Изменением N 1, введенным в действие Приказом Росстандарта от 16.11.2018 N 1025-ст) |
16 | 2,00 | 30,20 (3040) | 37,40 (3820) | 45,00 (4580) | 56,40 (5720) |
(позиция введена Изменением N 1, введенным в действие Приказом Росстандарта от 16.11.2018 N 1025-ст) |

1 - шарнирно-скользящая опора; 2 - шарнирно-неподвижные
опоры; 3 - упор в торце; 4 - горизонтальная консоль;
5 - трос; 6 - динамометр; P - усилие натяжения троса
при испытании
Рисунок В.1 - Схема механических испытаний
фундаментов ТСА, ТКА
Приказом Росстандарта от 16.11.2018 N 1025-ст)
(обязательное)
СХЕМА
ИСПЫТАНИЙ И НАГРУЖЕНИЯ ФУНДАМЕНТОВ ФСА
Таблица Г.1
Ступень нагрузки | Нагрузка в долях от нормативного изгибающего момента  | Усилие P, кН (кгс), для фундаментов с нормативным изгибающим моментом  , кН·м (тс·м) |
79 (8,0) | 98 (10,0) | 117 (12,0) | 147 (15,0) |
0 | 0,00 | 0 (0) | 0 (0) | 0 (0) | 0 (0) |
1 | 0,10 | 1,66 (170) | 2,05 (210) | 2,47 (250) | 3,10 (310) |
2 | 0,20 | 3,31 (335) | 4,11 (420) | 4,95 (500) | 6,21 (630) |
3 | 0,40 | 6,62 (670) | 8,22 (840) | 9,90 (1010) | 12,41 (1260) |
4 | 0,60 | 9,94 (1010) | 12,33 (1260) | 14,84 (1510) | 18,62 (1890) |
5 | 0,80 | 13,25 (1340) | 16,44 (1680) | 19,79 (2010) | 24,82 (2520) |
6 | 0,90 | 14,90 (1510) | 18,49 (1890) | 22,26 (2260) | 27,92 (2830) |
7 | 0,95 | 15,73 (1590) | 19,52 (1990) | 23,50 (2390) | 29,48 (2990) |
8 | 1,00 | 16,56 (1680) | 20,54 (2100) | 24,74 (2520) | 31,03 (3140) |
9 | 1,05 | 17,39 (1760) | 21,57 (2200) | 25,97 (2640) | 32,58 (3300) |
10 | 1,10 | 18,22 (1845) | 22,60 (2310) | 27,21 (2770) | 34,13 (3460) |
11 | 1,20 | 19,87 (2010) | 24,65 (2520) | 29,68 (3020) | 37,23 (3770) |
12 | 1,30 | 21,53 (2180) | 26,71 (2730) | 32,16 (3270) | 40,33 (4090) |
13 | 1,40 | 23,19 (2350) | 28,76 (2940) | 34,63 (3520) | 43,44 (4400) |
1 - шарнирно-скользящая опора; 2 - шарнирно-неподвижные
опоры; 3 - упор в торце; 4 - горизонтальная консоль;
5 - трос; 6 - динамометр; P - усилие натяжения
троса при испытании
Рисунок Г.1 - Схема механических испытаний
фундаментов ФСА
Приказом Росстандарта от 16.11.2018 N 1025-ст)
(обязательное)
СХЕМА
ИСПЫТАНИЙ И НАГРУЖЕНИЯ ФУНДАМЕНТОВ ФСБ
Таблица Д.1
Ступень нагрузки | Нагрузка в долях от нормативного изгибающего момента  | Усилие P, кН (кгс), для фундаментов с нормативным изгибающим моментом  , кН·м (тс·м) |
79 (8,0) | 98 (10,0) | 117 (12,0) | 147 (15,0) |
0 | 0,00 | 0 (0) | 0 (0) | 0 (0) | 0 (0) |
1 | 1,00 | 158,6 (16000) | 198,3 (20000) | 237,9 (24000) | 297,4 (30000) |
2 | 1,40 | 222,0 (22400) | 277,6 (28000) | 333,1 (33600) | 416,4 (42000) |
1 - шпилька анкерная; 2 - балка упорная; 3 - домкрат
с манометром; P - усилие давления домкрата при испытании
Рисунок Д.1 - Схема механических испытаний
фундаментов ФСБ
Приказом Росстандарта от 16.11.2018 N 1025-ст)
(обязательное)
СХЕМА ИСПЫТАНИЙ И НАГРУЖЕНИЯ ФУНДАМЕНТОВ ЗФА
Приказом Росстандарта от 16.11.2018 N 1025-ст)
Таблица Е.1
Ступень нагрузки | Нагрузка в долях от нормативного изгибающего момента Mн | Усилие в тросе P, кН (кгс), для фундаментов с нормативным изгибающим моментом Mн, кН·м (тс·м) |
98 (10,0) | 147 (15,0) |
0 | 0,00 | 0 (0) | 0 (0) |
1 | 0,10 | 2,05 (210) | 3,09 (315) |
2 | 0,20 | 4,11 (420) | 6,18 (630) |
3 | 0,40 | 8,22 (840) | 12,36 (1260) |
4 | 0,60 | 12,33 (1260) | 18,54 (1890) |
5 | 0,80 | 16,44 (1680) | 24,72 (2520) |
6 | 0,90 | 18,49 (1890) | 27,81 (2835) |
7 | 0,95 | 19,52 (1990) | 29,36 (2990) |
8 | 1,00 | 20,54 (2100) | 30,90 (3150) |
9 | 1,05 | 21,57 (2200) | 32,45 (3310) |
10 | 1,10 | 22,60 (2310) | 33,99 (3470) |
11 | 1,20 | 24,65 (2520) | 37,08 (3780) |
12 | 1,30 | 26,71 (2730) | 40,17 (4100) |
13 | 1,40 | 28,76 (2940) | 43,26 (4410) |
1 - шарнирно-скользящая опора; 2 - шарнирно-неподвижные
опоры; 3 - упор в торце; 4 - горизонтальная консоль;
5 - трос; 6 - динамометр; P - усилие натяжения
троса при испытании
Рисунок Е.1 - Схема механических испытаний
фундаментов ЗФА
(обязательное)
СХЕМА
ИСПЫТАНИЙ И НАГРУЖЕНИЯ СВАЙ
Таблица Ж.1
Ступень нагрузки | Нагрузка в долях от нормативного изгибающего момента  | Усилие P, кН (кгс), для фундаментов с нормативным изгибающим моментом  , кН·м (тс·м) |
98 (10,0) | 117 (12,0) |
0 | 0,00 | 0 (0) | 0 (0) |
1 | 0,10 | 2,05 (210) | 2,47 (250) |
2 | 0,20 | 4,11 (420) | 4,95 (500) |
3 | 0,40 | 8,22 (840) | 9,90 (1010) |
4 | 0,60 | 12,33 (1260) | 14,84 (1510) |
5 | 0,80 | 16,44 (1680) | 19,79 (2010) |
6 | 0,90 | 18,49 (1890) | 22,26 (2260) |
7 | 0,95 | 19,52 (1990) | 23,50 (2390) |
8 | 1,00 | 20,54 (2100) | 24,74 (2520) |
9 | 1,05 | 21,57 (2200) | 25,97 (2640) |
10 | 1,10 | 22,60 (2310) | 27,21 (2770) |
11 | 1,20 | 24,65 (2520) | 29,68 (3020) |
12 | 1,30 | 26,71 (2730) | 32,16 (3270) |
13 | 1,40 | 28,76 (2940) | 34,63 (3520) |
1 - шарнирно-скользящая опора; 2 - шарнирно-неподвижные
опоры; 3 - упор в торце; 4 - горизонтальная консоль;
5 - трос; 6 - динамометр; P - усилие натяжения
троса при испытании
Рисунок Ж.1 - Схема механических испытаний свай
Приказом Росстандарта от 16.11.2018 N 1025-ст)
(обязательное)
СХЕМЫ ИСПЫТАНИЙ И НАГРУЖЕНИЯ ФУНДАМЕНТОВ ФЦП, ФЦК, СЦФ, СЦК
Приказом Росстандарта от 16.11.2018 N 1025-ст)
Таблица И.1
Ступень нагрузки | Нагрузка в долях от нормативного изгибающего момента Mн | Усилие в тросе P, кН (кгс), для фундаментов с нормативным изгибающим моментом Mн, кН·м (тс·м) |
98 (10,0) | 117 (12,0) | 147 (15,0) |
0 | 0,00 | 0 (0) | 0 (0) | 0 (0) |
1 | 0,10 | 1,87 (190) | 2,25 (230) | 2,82 (290) |
2 | 0,20 | 3,74 (380) | 4,50 (460) | 5,64 (570) |
3 | 0,40 | 7,48 (760) | 9,00 (920) | 11,28 (1140) |
4 | 0,60 | 11,22 (1150) | 13,50 (1370) | 16,92 (1720) |
5 | 0,80 | 14,96 (1530) | 18,00 (1830) | 22,56 (2290) |
6 | 0,90 | 16,83 (1720) | 20,25 (2060) | 25,38 (2570) |
7 | 0,95 | 17,77 (1820) | 21,38 (2180) | 26,79 (2720) |
8 | 1,00 | 18,70 (1910) | 22,50 (2290) | 28,20 (2860) |
9 | 1,05 | 19,64 (2010) | 23,63 (2410) | 29,61 (3000) |
10 | 1,10 | 20,57 (2100) | 24,75 (2520) | 31,02 (3150) |
11 | 1,20 | 22,44 (2290) | 27,00 (2750) | 33,84 (3430) |
12 | 1,30 | 24,31 (2480) | 29,25 (2980) | 36,66 (3720) |
13 | 1,40 | 26,18 (2680) | 31,50 (3210) | 39,48 (4010) |
14 | 1,60 | 29,92 (3060) | 36,00 (3670) | 45,12 (4580) |
15 | 1,80 | 33,66 (3440) | 40,50 (4120) | 50,76 (5150) |
16 | 2,00 | 37,40 (3820) | 45,00 (4580) | 56,40 (5720) |
1 - шарнирно-скользящая опора; 2 - шарнирно-неподвижные
опоры; 3 - упор в торце; 4 - горизонтальная консоль;
5 - трос; 6 - динамометр; P - усилие натяжения
троса при испытании
Рисунок И.1 - Схема механических испытаний
фундаментов ФЦП, ФЦК
1 - шарнирно-скользящая опора; 2 - шарнирно-неподвижные
опоры; 3 - упор в торце; 4 - горизонтальная консоль;
5 - трос; 6 - динамометр; P - усилие натяжения
троса при испытании
Рисунок И.2 - Схема механических испытаний свай СЦФ, СЦК