ИС МЕГАНОРМ: примечание. В официальном тексте документа, видимо, допущена опечатка: ГОСТ 1.2-2009 имеет название "Межгосударственная система стандартизации. Стандарты межгосударственные, правила и рекомендации по межгосударственной стандартизации. Правила разработки, принятия, применения, обновления и отмены". |
Краткое наименование страны по МК (ИСО 3166) 004-97 | Код страны по МК (ИСО 3166) 004-97 | Сокращенное наименование органа государственного управления строительством |
Азербайджан | AZ | Азстандарт |
Республика Беларусь | BY | Министерство архитектуры и строительства |
Кыргызстан | KG | Госстрой |
Российская Федерация | RU | Росстандарт |
Туркмения | TM | Главгосслужба "Туркменстандартлары" |
Узбекистан | UZ | Узстандарт |
ИС МЕГАНОРМ: примечание. Взамен ГОСТ 25347-82 Приказом Росстандарта от 18.02.2014 N 29-ст с 1 июля 2015 года введен в действие ГОСТ 25347-2013. |
ИС МЕГАНОРМ: примечание. Взамен ГОСТ 25347-82 Приказом Росстандарта от 18.02.2014 N 29-ст с 1 июля 2015 года введен в действие ГОСТ 25347-2013. |
Тип болта | Исполнение | Наименование болта | Номинальный диаметр резьбы, мм |
1 | Болты фундаментные изогнутые | 12 - 48 | |
2 | |||
1 | Болты фундаментные с анкерной плитой | 16 - 48 | |
2 | 56 - 140 | ||
3 | 56 - 140 | ||
1 | Болты фундаментные составные | 24 - 48 | |
2 | 56 - 140 | ||
1 | Болты фундаментные съемные | 24 - 64 | |
2 | 56 - 125 | ||
3 | 56 - 125 | ||
- | Болты фундаментные прямые | 12 - 48 | |
1 | Болты фундаментные с коническим концом | 12 - 48 | |
2 | |||
3 |
















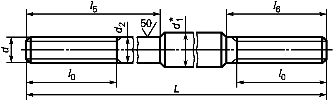
Номинальный диаметр резьбы d | Шаг резьбы | d*1 | d2 | d3 | d4 | d5 | d6 | l0 | l | l1 | l2 | l3 | l4 | l5 | l6 | |
крупный | мелкий | Предельное отклонение | ||||||||||||||
по h16 | по H15 | по h16 | по +IT17 | по | по +IT17 | по | ||||||||||
12 | 1,75 | - | 12 | - | - | - | 17 | 20 | 80 | 40 | 100 | 50 | 25 | 24 | - | - |
16 | 2 | 16 | 22 | 26 | 90 | 50 | 130 | 60 | 30 | 32 | ||||||
20 | 2,5 | 20 | 28 | 32 | 100 | 60 | 160 | 80 | 40 | 40 | ||||||
24 | 3 | 24 | 5 | 34 | 39 | 110 | 75 | 200 | 100 | 50 | 48 | |||||
30 | 3,5 | 30 | 42 | 48 | 120 | 90 | 250 | 120 | 60 | 60 | ||||||
36 | 4 | 36 | 8 | 50 | 58 | 130 | 110 | 300 | 140 | 70 | 73 | |||||
42 | 4,5 | 42 | 58 | 68 | 140 | 125 | 350 | 170 | 85 | 85 | ||||||
48 | 5 | 48 | 68 | 77 | 150 | 150 | 400 | 200 | 100 | 98 | ||||||
56 | 5,5 | 60 | 56 | 47,8 | 12 | - | - | 160 | - | - | - | - | - | 400 | 180 | |
64 | 6 | 70 | 64 | 55 | 16 | 170 | 500 | 190 | ||||||||
72 | - | 6 | 75 | 72 | 63 | 20 | 180 | 200 | ||||||||
80 | 85 | 80 | 71 | 190 | 600 | 220 | ||||||||||
90 | 95 | 90 | 81 | 25 | 210 | 800 | 230 | |||||||||
100 | 105 | 100 | 91 | 230 | 1000 | 250 | ||||||||||
110 | 120 | 110 | 101 | 240 | 260 | |||||||||||
125 | 130 | 125 | 116 | 30 | 250 | 270 | ||||||||||
140 | 145 | 140 | - | - | 270 | 280 | ||||||||||
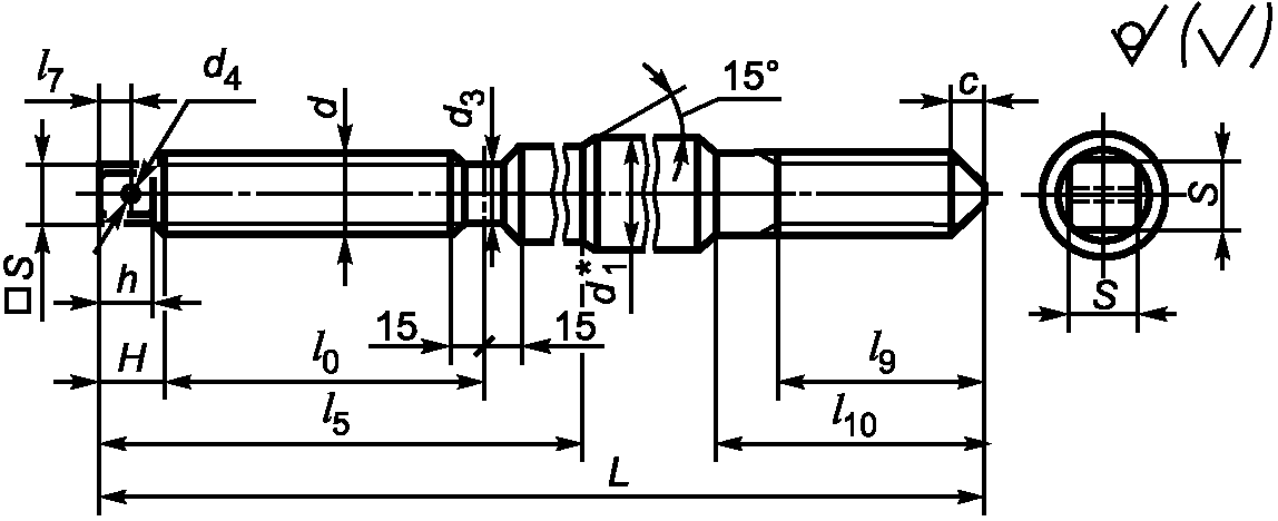
Номинальный диаметр резьбы d | Шаг резьбы | l7 | l8 | l9 | l10 | l11 | l12 | S | H | h | c | c1 | R | r | |
крупный | мелкий | Предельное отклонение | |||||||||||||
по | по h15 | по | |||||||||||||
12 | 1,75 | - | - | - | - | - | 30 | 20 | - | - | - | - | 6 | 12 | 8 |
16 | 2 | 36 | 28 | 9 | 16 | 10 | |||||||||
20 | 2,5 | 48 | 34 | 9 | 20 | ||||||||||
24 | 3 | 7 | 65 | 60 | 41 | 17 | 16 | 9 | 11 | 24 | 20 | ||||
30 | 3,5 | 75 | 73 | 50 | 19 | 12 | 14 | 30 | |||||||
36 | 4 | 10 | 90 | 85 | 63 | 24 | 20 | 17 | 36 | 30 | |||||
42 | 4,5 | 100 | 95 | 71 | 27 | 15 | 20 | 42 | |||||||
48 | 5 | 12 | 115 | 120 | 82 | 32 | 25 | 18 | 22 | 48 | 40 | ||||
56 | 5,5 | 16 | 130 | 120 | 180 | - | - | 41 | 30 | 25 | 20 | - | - | - | |
64 | 6 | 20 | 150 | 135 | 200 | 46 | 40 | 35 | 25 | ||||||
72 | - | 6 | - | 155 | 240 | 50 | 30 | ||||||||
80 | 55 | ||||||||||||||
90 | 25 | 180 | 280 | 65 | 50 | 45 | 35 | ||||||||
100 | 200 | 300 | 75 | 40 | |||||||||||
110 | 220 | 340 | 85 | ||||||||||||
125 | 30 | 240 | 370 | 95 | 60 | 55 | 45 | ||||||||
140 | - | - | - | - | - | - | - | ||||||||
ИС МЕГАНОРМ: примечание. Взамен ГОСТ 25347-82 Приказом Росстандарта от 18.02.2014 N 29-ст с 1 июля 2015 года введен в действие ГОСТ 25347-2013. |

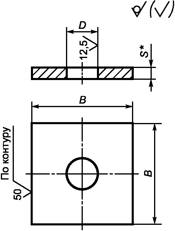
Номинальный диаметр резьбы шпильки d | D Предельное отклонение по H17 | B Предельное отклонение по | S* | Теоретическая масса плиты, кг |
16 | 22 | 65 | 14 | 0,42 |
20 | 26 | 80 | 16 | 0,74 |
24 | 32 | 100 | 18 | 1,30 |
30 | 38 | 120 | 20 | 2,08 |
36 | 45 | 150 | 20 | 3,28 |
42 | 50 | 170 | 25 | 5,29 |
48 | 60 | 190 | 28 | 7,31 |
56 | 66 | 220 | 32 | 11,21 |
64 | 74 | 260 | 36 | 17,80 |
72 | 82 | 300 | 40 | 26,41 |
80 | 90 | 320 | 45 | 33,70 |
90 | 100 | 360 | 50 | 47,50 |

Номинальный диаметр резьбы шпильки d | D | D1 | D2 | H4 | Теоретическая масса плиты, кг |
100 | 135 | 625 | 220 | 130 | 94,27 |
110 | 145 | 650 | 230 | 135 | 100,32 |
125 | 165 | 675 | 240 | 135 | 106,70 |
140 | 185 | 700 | 290 | 145 | 125,50 |
:ИС МЕГАНОРМ: примечание. Взамен ГОСТ 25347-82 Приказом Росстандарта от 18.02.2014 N 29-ст с 1 июля 2015 года введен в действие ГОСТ 25347-2013. |

Номинальный диаметр резьбы d | D* | H Предельное отклонение по +IT17 | c | Теоретическая масса муфты, кг |
24 | 50 | 120 | 2 | 1,42 |
30 | 60 | 140 | 3 | 2,35 |
36 | 70 | 170 | 4 | 3,78 |
42 | 80 | 190 | 5 | 5,43 |
48 | 90 | 220 | 6 | 7,36 |
56 | 100 | 250 | 8 | 10,58 |
64 | 110 | 280 | 8 | 13,82 |
ИС МЕГАНОРМ: примечание. Взамен ГОСТ 25347-82 Приказом Росстандарта от 18.02.2014 N 29-ст с 1 июля 2015 года введен в действие ГОСТ 25347-2013. |




Диаметр резьбы шпильки | 24 | 30 | 36 | 42 | 48 | 56 | 64 | 72 | 80 | 90 | 100 | 110 | 125 |
Диаметр и толщина стенки трубы D x s | 60 x 3,5 | 89 x 4 | 102 x 4 | 114 x 4,5 | 127 x 4,5 | 140 x 4,5 | 152 x 5 | 168 x 5 | 180 x 5 | 203 x 6 | |||

Номинальный диаметр резьбы d <*> | D Предельное отклонение по H16 | H <*> | S <*> | B Предельное отклонение по | Теоретическая масса плиты, кг |
24 | 32 | 37 | 18 | 140 | 2,61 |
30 | 38 | 44 | 20 | 160 | 3,28 |
36 | 45 | 49 | 20 | 180 | 4,96 |
42 | 50 | 59 | 25 | 200 | 7,65 |
46 | 60 | 63 | 25 | 240 | 10,98 |
<*> См. рисунок 8. | |||||

Номинальный диаметр резьбы d | Шаг резьбы | d1 | d2 | d3 | d4 | d5 | B | l | H | h | h1 | h2 | h3 | R | Теоретическая масса плиты, кг | |
крупный | мелкий | |||||||||||||||
56 | 5,5 | - | 80 | 100 | 115 | 80 | 106 | 300 | 105 | 150 | 40 | 30 | 40 | 20 | 20 | 26 |
64 | 6 | 85 | 105 | 125 | 90 | 120 | 350 | 120 | 170 | 50 | 40 | 45 | 38 | |||
72 | - | 6 | 100 | 125 | 150 | 100 | 133 | 400 | 130 | 200 | 50 | 50 | 25 | 57 | ||
80 | 145 | 56 | ||||||||||||||
90 | 120 | 150 | 180 | 120 | 158 | 450 | 150 | 230 | 60 | 30 | 25 | 89 | ||||
100 | 130 | 170 | 190 | 150 | 174 | 500 | 160 | 240 | 60 | 70 | 40 | 117 | ||||
110 | 145 | 185 | 210 | 165 | 185 | 550 | 180 | 270 | 75 | 35 | 45 | 158 | ||||
125 | 150 | 190 | 230 | 180 | 210 | 600 | 190 | 290 | 80 | 50 | 195 | |||||

Номинальный диаметр резьбы d | Шаг резьбы | B | d1 | d2 | H* | S* | Теоретическая масса плиты, кг | |
крупный | мелкий | предельное отклонение | ||||||
по | по H16 | |||||||
56 | 5,5 | - | 280 | 106 | 76 | 110 | 20 | 16,61 |
64 | 6 | 300 | 120 | 84 | 120 | 19,71 | ||
72 | - | 6 | 340 | 133 | 92 | 135 | 25 | 31,24 |
80 | 400 | 145 | 100 | 145 | 43,01 | |||
90 | 420 | 158 | 110 | 170 | 30 | 59,19 | ||
100 | 450 | 174 | 120 | 180 | 71,21 | |||

Номинальный диаметр резьбы отверстия в анкерной плите d | h Предельное отклонение по | Толщина S* |
56 | 80 | 10 |
64 | 90 | |
72 | 100 | |
80 | 110 | 16 |
90 | 130 | |
100 | 140 |

Номинальный диаметр резьбы d | 56 | 64 | 72 | 80 | 90 | 100 |
Диаметр заготовки D* | 100 | 110 | 130 | 140 | 160 | 180 |
Высота втулки h, предельное отклонение по +IT17 | 90 | 100 | 110 | 120 | 140 | 150 |

Труба D x S | 60 x 3,5 | 89 x 4 | 102 x 4 | 114 x 4,5 | 127 x 4,5 | 140 x 4,5 | 152 x 5 | 168 x 5 | 180 x 5 | 203 x 6 |
D Предельное отклонение по h16 | 56 | 85 | 98 | 110 | 122 | 135 | 147 | 163 | 175 | 198 |
Теоретическая масса, кг | 0,06 | 0,13 | 0,18 | 0,22 | 0,28 | 0,34 | 0,40 | 0,49 | 0,57 | 0,72 |
Номинальный диаметр резьбы под анкерную плиту d | 56 | 64 | 72 | 80 | 90 | 100 | 110 | 125 |
D Предельное отклонение по h16 | 90 | 95 | 115 | 13,0 | 150 | 160 | 170 | |
Теоретическая масса, кг | 0,15 | 0,17 | 0,24 | 0,31 | 0,42 | 0,47 | 0,53 | |
:
:
:ИС МЕГАНОРМ: примечание. Взамен ГОСТ 25347-82 Приказом Росстандарта от 18.02.2014 N 29-ст с 1 июля 2015 года введен в действие ГОСТ 25347-2013. |

Номинальный диаметр резьбы шпильки d | D Предельное отклонение по h16 | d1 Предельное отклонение по h16 | d2 | d3 | H | h | h1 | h2 | h3 | h4 | h5 Предельное отклонение по | R, не более | Теоретическая масса цанги, кг |
Пред. откл. по h16 | Предельное отклонение по | ||||||||||||
12 | 17 | 12,5 | 15 | 16,5 | 36 | 30 | 24 | 16 | 11 | 7 | 0,5 | 0,8 | 0,03 |
16 | 24 | 17,0 | 20 | 23,2 | 45 | 36 | 30 | 21 | 14 | 10 | 0,8 | 1,0 | 0,08 |
20 | 30 | 21,0 | 25 | 29,0 | 60 | 48 | 40 | 26 | 18 | 12 | 1,0 | 1,2 | 0,17 |
24 | 34 | 25,0 | 30 | 32,5 | 75 | 60 | 54 | 31 | 22 | 15 | 1,5 | 1,5 | 0,25 |
30 | 42 | 32,0 | 37 | 32,5 | 90 | 72 | 60 | 34 | 27 | 18 | 1,5 | 1,5 | 0,41 |
36 | 50 | 38,0 | 42 | 48,0 | 105 | 84 | 70 | 47 | 33 | 22 | 2,0 | 1,5 | 0,68 |
42 | 58 | 44,0 | 52 | 55,5 | 120 | 96 | 80 | 55 | 39 | 25 | 2,5 | 2,0 | 1,06 |
48 | 68 | 50,0 | 60 | 65,0 | 150 | 120 | 100 | 63 | 43 | 29 | 3,0 | 2,0 | 1,96 |
ИС МЕГАНОРМ: примечание. Взамен ГОСТ 25347-82 Приказом Росстандарта от 18.02.2014 N 29-ст с 1 июля 2015 года введен в действие ГОСТ 25347-2013. |

Номинальный диаметр резьбы шпильки d | D Предельное отклонение по h16 | H | h | Теоретическая масса втулки, кг | ||||
Предельное отклонение по | ||||||||
12 | 22 | 24 | 20 | 0,03 | ||||
16 | 29 | 32 | 28 | 0,06 | ||||
20 | 35 | 40 | 34 | 0,11 | ||||
24 | 42 | 48 | 41 | 0,20 | ||||
30 | 52 | 60 | 51 | 0,36 | ||||
36 | 62 | 72 | 61 | 0,67 | ||||
| ||||||||
49 | 72 | 84 | 71 | 0,94 | ||||
48 | 82 | 96 | 82 | 1,41 | ||||
ИС МЕГАНОРМ: примечание. Взамен ГОСТ 25347-82 Приказом Росстандарта от 18.02.2014 N 29-ст с 1 июля 2015 года введен в действие ГОСТ 25347-2013. |

Номинальный диаметр резьбы шпильки d | d0 Предельное отклонение по H16 | D Предельное отклонение по h16 | S | Предельное радиальное биение | Теоретическая масса шайбы, кг |
12 | 13 | 36 | 3 | 0,5 | 0,021 |
16 | 17 | 42 | 4 | 0,6 | 0,050 |
20 | 21 | 45 | 8 | 0,076 | |
24 | 25 | 55 | 0,120 | ||
30 | 32 | 80 | 10 | 0,7 | 0,330 |
36 | 38 | 90 | 0,410 | ||
42 | 44 | 95 | 14 | 0,610 | |
48 | 50 | 105 | 0,740 | ||
56 | 60 | 115 | 16 | 0,8 | 0,950 |
64 | 68 | 130 | 1,210 | ||
72 | 76 | 140 | 18 | 1,530 | |
80 | 85 | 160 | 20 | 0,9 | 2,270 |
90 | 95 | 180 | 2,880 | ||
100 | 105 | 190 | 22 | 3,400 | |
110 | 115 | 200 | 3,630 | ||
125 | 130 | 240 | 25 | 1,0 | 6,300 |
140 | 145 | 270 | 7,990 |
Длина <*> болта L | Теоретическая масса болта типа 1, кг, при номинальном диаметре резьбы d | |||||||
12 | 16 | 20 | 24 | 30 | 36 | 42 | 48 | |
300 | 0,35 | 0,66 | - | - | - | - | - | - |
400 | 0,44 | 0,82 | 1,32 | - | - | - | - | - |
500 | 0,52 | 0,97 | 1,57 | 2,35 | - | - | - | - |
600 | 0,61 | 1,13 | 1,81 | 2,71 | 4,55 | - | - | - |
710 | 0,71 | 1,31 | 2,09 | 3,10 | 5,16 | 7,59 | - | - |
800 | 0,79 | 1,45 | 2,31 | 3,42 | 5,66 | 8,31 | 11,81 | - |
900 | 0,88 | 1,60 | 2,55 | 3,77 | 6,22 | 9,10 | 12,89 | 17,41 |
1000 | 0,97 | 1,77 | 2,80 | 4,13 | 6,77 | 9,91 | 13,98 | 18,83 |
1120 | - | 1,95 | 3,10 | 4,56 | 7,43 | 10,85 | 15,29 | 20,53 |
1250 | - | 2,15 | 3,43 | 5,03 | 8,15 | 11,88 | 16,71 | 22,38 |
1320 | - | - | 3,60 | 5,28 | 8,53 | 12,43 | 17,47 | 23,37 |
1400 | - | - | 3,79 | 5,55 | 8,99 | 13,10 | 18,33 | 24,51 |
1500 | - | - | - | 5,90 | 9,54 | 13,90 | 19,42 | 25,93 |
1600 | - | - | - | 6,26 | 10,10 | 14,70 | 20,50 | 27,35 |
1700 | - | - | - | 6,61 | 10,65 | 15,50 | 21,59 | 28,77 |
1800 | - | - | - | - | 11,21 | 16,29 | 22,68 | 30,19 |
1900 | - | - | - | - | 11,76 | 17,09 | 23,76 | 31,61 |
2000 | - | - | - | - | 12,32 | 17,89 | 24,85 | 33,03 |
2120 | - | - | - | - | - | 18,85 | 26,16 | 34,73 |
2240 | - | - | - | - | - | 19,81 | 27,47 | 36,44 |
2300 | - | - | - | - | - | 20,29 | 28,11 | 37,29 |
2360 | - | - | - | - | - | - | 28,76 | 38,07 |
2500 | - | - | - | - | - | - | 30,29 | 40,13 |
2650 | - | - | - | - | - | - | - | 42,26 |
2800 | - | - | - | - | - | - | - | 44,39 |
Длина <*> болта L | Теоретическая масса болта типа 2, кг, исполнение | |||||||||||||||
1 | 2 | 3 | ||||||||||||||
Номинальный диаметр резьбы | ||||||||||||||||
16 | 20 | 24 | 30 | 36 | 42 | 48 | 56 | 64 | 72 | 80 | 90 | 100 | 110 | 125 | 140 | |
200 | 0,92 | 1,56 | - | - | - | - | - | - | - | - | - | - | - | - | - | - |
250 | 0,99 | 1,69 | 2,74 | 4,70 | - | - | - | - | - | - | - | - | - | - | - | - |
300 | 1,07 | 1,81 | 2,91 | 4,98 | 7,60 | - | - | - | - | - | - | - | - | - | - | - |
350 | 1,15 | 1,93 | 3,09 | 5,25 | 7,99 | 12,21 | - | - | - | - | - | - | - | - | - | - |
400 | 1,23 | 2,06 | 3,27 | 5,53 | 8,39 | 12,75 | 17,56 | - | - | - | - | - | - | - | - | - |
450 | 1,31 | 2,18 | 3,35 | 5,81 | 8,79 | 13,29 | 18,27 | - | - | - | - | - | - | - | - | - |
500 | 1,39 | 2,30 | 3,62 | 6,08 | 9,19 | 13,84 | 18,98 | - | - | - | - | - | - | - | - | - |
600 | 1,55 | 2,55 | 3,98 | 6,64 | 9,99 | 14,92 | 20,39 | - | - | - | - | - | - | - | - | - |
710 | 1,72 | 2,82 | 4,37 | 7,25 | 10,87 | 16,12 | 21,95 | - | - | - | - | - | - | - | - | - |
800 | 1,86 | 3,04 | 4,69 | 7,75 | 11,59 | 17,10 | 23,23 | 33,99 | - | - | - | - | - | - | - | - |
900 | 2,02 | 3,29 | 5,04 | 8,30 | 12,39 | 18,18 | 24,66 | 35,26 | - | - | - | - | - | - | - | - |
1000 | 2,18 | 3,53 | 5,40 | 8,86 | 13,18 | 19,27 | 26,07 | 38,43 | 53,60 | 71,35 | - | - | - | - | - | - |
1120 | 2,37 | 3,84 | 5,83 | 9,53 | 14,14 | 20,57 | 27,79 | 40,14 | 56,52 | 74,66 | - | - | - | - | - | - |
1250 | 2,57 | 4,15 | 6,29 | 10,25 | 15,19 | 21,99 | 29,63 | 43,98 | 59,20 | 79,16 | 98,8 | - | - | - | - | - |
1320 | - | 4,32 | 6,54 | 10,64 | 15,75 | 22,75 | 30,63 | 44,58 | 62,56 | 80,92 | 101,9 | - | - | - | - | - |
1400 | - | 4,52 | 6,82 | 11,07 | 16,38 | 23,62 | 31,75 | 47,30 | 65,63 | 85,22 | 107,7 | 141,9 | - | - | - | - |
1500 | - | 4,77 | 7,10 | 11,63 | 17,18 | 24,71 | 33,17 | 48,57 | 67,58 | 87,16 | 109,4 | 144,6 | - | - | - | - |
1600 | - | - | 7,53 | 12,18 | 17,98 | 25,79 | 34,59 | 51,74 | 71,71 | 92,1 | 116,7 | 153,0 | 219,1 | 252,6 | - | - |
1700 | - | - | 7,88 | 12,74 | 18,77 | 26,88 | 36,17 | 53,96 | 75,48 | 95,6 | 121,1 | 158,6 | 225,8 | 261,5 | - | - |
1800 | - | - | - | 13,29 | 19,57 | 27,97 | 37,42 | 56,18 | 77,75 | 99,0 | 125,6 | 164,1 | 232,6 | 270,3 | 329,3 | 408,3 |
1900 | - | - | - | 13,85 | 20,57 | 29,05 | 38,84 | 58,40 | 81,52 | 102,5 | 130,0 | 169,6 | 239,4 | 280,3 | 339,8 | 421,3 |
2000 | - | - | - | - | 21,17 | 30,14 | 40,26 | 60,61 | 83,79 | 106,0 | 134,5 | 175,3 | 246,2 | 288,1 | 350,1 | 434,2 |
2120 | - | - | - | - | 22,13 | 31,44 | 41,98 | 63,11 | 87,25 | 109,6 | 139,3 | 181,3 | 254,3 | 298,7 | 362,6 | 449,7 |
2240 | - | - | - | - | 23,09 | 32,75 | 43,68 | 65,69 | 91,7 | 114,3 | 145,2 | 188,6 | 262,5 | 310,3 | 375,3 | 465,3 |
2500 | - | - | - | - | - | 35,57 | 47,37 | 71,71 | 98,9 | 123,3 | 156,7 | 203,1 | 280,2 | 332,5 | 402,2 | 499,0 |
2800 | - | - | - | - | - | - | 51,63 | 78,36 | 108,0 | 133,7 | 170,1 | 219,8 | 300,6 | 359,1 | 433,4 | 537,8 |
3150 | - | - | - | - | - | - | - | 86,02 | 118,5 | 145,9 | 185,7 | 242,0 | 324,4 | 391,1 | 470,1 | 583,2 |
3350 | - | - | - | - | - | - | - | - | - | 159,2 | 203,5 | 261,4 | 351,6 | 426,6 | 511,9 | 636,0 |
4000 | - | - | - | - | - | - | - | - | - | - | - | 286,5 | 382,1 | 465,6 | 558,4 | 693,3 |
4500 | - | - | - | - | - | - | - | - | - | - | - | - | 416,1 | 509,9 | 610,5 | 758,1 |
5000 | - | - | - | - | - | - | - | - | - | - | - | - | - | - | 662,5 | 822,9 |
Длина <*> болта L | Теоретическая масса болта типа 5, кг, при номинальном диаметре резьбы d | |||||||
12 | 16 | 20 | 24 | 30 | 36 | 42 | 48 | |
150 | 0,18 | 0,36 | 0,57 | - | - | - | - | - |
200 | 0,23 | 0,44 | 0,69 | 1,04 | - | - | - | - |
250 | 0,27 | 0,51 | 0,82 | 1,22 | 2,17 | - | - | - |
300 | 0,32 | 0,59 | 0,94 | 1,39 | 2,44 | 3,56 | - | - |
350 | 0,36 | 0,67 | 1,06 | 1,57 | 2,72 | 3,96 | 5,66 | - |
400 | 0,40 | 0,75 | 1,19 | 1,75 | 3,00 | 4,35 | 6,21 | 8,33 |
450 | 0,45 | 0,83 | 1,31 | 1,93 | 3,28 | 4,75 | 6,75 | 9,04 |
500 | - | 0,91 | 1,43 | 2,10 | 3,55 | 5,15 | 7,30 | 9,75 |
600 | - | 1,07 | 1,68 | 2,46 | 4,11 | 5,95 | 8,38 | 11,17 |
710 | - | - | 1,95 | 2,85 | 4,72 | 6,83 | 9,54 | 12,73 |
800 | - | - | 2,17 | 3,17 | 5,22 | 7,55 | 10,56 | 13,98 |
900 | - | - | - | 3,52 | 5,77 | 8,35 | 11,64 | 15,43 |
1000 | - | - | - | - | 6,33 | 9,15 | 12,73 | 16,85 |
1120 | - | - | - | - | 6,99 | 10,11 | 14,04 | 18,55 |
1250 | - | - | - | - | - | 11,14 | 15,45 | 20,40 |
1320 | - | - | - | - | - | - | 16,21 | 21,39 |
1400 | - | - | - | - | - | - | - | 22,53 |
Длина <*> болта L | Теоретическая масса болта типа 6, кг, исполнение | |||||||||||
1 | 2 | 3 | 1 | 2 | 3 | 1 | 2 | 3 | 1 | 2 | 3 | |
Номинальный диаметр резьбы d | ||||||||||||
12 | 16 | 20 | 24 | |||||||||
150 | 0,23 | 0,21 | 0,20 | 0,47 | 0,42 | 0,39 | - | - | - | - | - | - |
200 | 0,27 | 0,26 | 0,24 | 0,55 | 0,50 | 0,47 | 0,92 | 0,80 | 0,75 | - | - | - |
250 | 0,32 | 0,30 | 0,29 | 0,63 | 0,57 | 0,55 | 1,04 | 0,93 | 0,87 | 1,57 | 1,42 | 1,32 |
300 | 0,36 | 0,35 | 0,33 | 0,71 | 0,65 | 0,63 | 1,17 | 1,05 | 1,00 | 1,75 | 1,59 | 1,50 |
350 | 0,40 | 0,39 | 0,37 | 0,78 | 0,73 | 0,70 | 1,29 | 1,17 | 1,12 | 1,93 | 1,77 | 1,68 |
400 | 0,45 | 0,43 | 0,42 | 0,86 | 0,81 | 0,73 | 1,41 | 1,30 | 1,24 | 2,11 | 1,97 | 1,86 |
450 | 0,49 | 0,48 | 0,46 | 0,94 | 0,89 | 0,86 | 1,54 | 1,42 | 1,37 | 2,28 | 2,13 | 2,03 |
500 | 0,54 | 0,52 | 0,51 | 1,02 | 0,97 | 0,94 | 1,66 | 1,54 | 1,49 | 2,46 | 2,30 | 2,21 |
600 | 0,63 | 0,61 | 0,60 | 1,18 | 1,13 | 1,10 | 1,91 | 1,79 | 1,74 | 2,82 | 2,63 | 2,57 |
710 | - | - | - | 1,35 | 1,30 | 1,27 | 2,18 | 2,06 | 2,01 | 3,21 | 3,05 | 2,95 |
800 | - | - | - | - | - | - | 2,40 | 2,28 | 2,23 | 3,53 | 3,37 | 3,28 |
900 | - | - | - | - | - | - | - | - | - | 3,88 | 3,72 | 3,63 |
Длина <*> болта L | Теоретическая масса болта типа 6, кг, исполнение | |||||||||||
1 | 2 | 3 | 1 | 2 | 3 | 1 | 2 | 3 | 1 | 2 | 3 | |
Номинальный диаметр резьбы d | ||||||||||||
30 | 36 | 42 | 48 | |||||||||
250 | 2,77 | 2,53 | 2,36 | - | - | - | - | - | - | - | - | - |
300 | 3,05 | 2,81 | 2,64 | 4,58 | 4,23 | 3,90 | - | - | - | - | - | - |
350 | 3,33 | 3,03 | 2,92 | 4,98 | 4,62 | 4,30 | 7,27 | 6,61 | 6,21 | - | - | - |
400 | 3,60 | 3,36 | 3,19 | 5,97 | 5,02 | 4,69 | 7,82 | 7,15 | 6,76 | 11,14 | 9,74 | 9,18 |
450 | 3,83 | 3,64 | 3,47 | 5,77 | 5,42 | 5,09 | 8,36 | 7,69 | 7,30 | 11,35 | 10,45 | 9,89 |
500 | 4,16 | 3,91 | 3,75 | 6,17 | 5,82 | 5,49 | 8,90 | 8,24 | 7,84 | 12,51 | 11,16 | 10,55 |
600 | 4,71 | 4,47 | 4,30 | 6,96 | 6,62 | 6,28 | 9,99 | 9,32 | 8,93 | 13,98 | 12,53 | 12,02 |
710 | 5,33 | 5,08 | 4,92 | 7,85 | 7,50 | 7,17 | 11,19 | 10,52 | 10,13 | 15,54 | 14,14 | 13,58 |
800 | 5,82 | 5,58 | 5,41 | 8,56 | 8,22 | 7,88 | 12,17 | 11,50 | 11,11 | 16,82 | 15,42 | 14,86 |
900 | 6,38 | 6,13 | 5,97 | 9,36 | 9,02 | 8,68 | 13,25 | 12,58 | 12,19 | 18,24 | 16,85 | 16,28 |
1000 | 6,93 | 6,69 | 6,52 | 10,16 | 9,81 | 9,48 | 14,34 | 13,67 | 13,28 | 19,65 | 18,26 | 17,70 |
1120 | 7,59 | 7,36 | 7,18 | 11,12 | 10,77 | 10,44 | 15,64 | 14,97 | 14,58 | 21,36 | 19,98 | 19,40 |
1250 | - | - | - | 12,16 | 11,82 | 11,48 | 17,06 | 16,39 | 16,00 | 23,21 | 21,82 | 21,25 |
1320 | - | - | - | - | - | - | 17,82 | 17,15 | 16,76 | 24,20 | 22,82 | 22,24 |
1400 | - | - | - | - | - | - | - | - | - | 25,34 | 23,94 | 23,38 |
Длина <*> шпильки L | ||||||||
12 | 16 | 20 | 24 | 30 | 36 | 42 | 48 | |
300 | 0,30 | 0,54 | - | - | - | - | - | - |
400 | 0,39 | 0,70 | 1,12 | - | - | - | - | - |
500 | 0,47 | 0,85 | 1,37 | 2,02 | - | - | - | - |
600 | 0,56 | 1,01 | 1,61 | 2,38 | 3,77 | - | - | - |
710 | 0,66 | 1,19 | 1,89 | 2,77 | 4,38 | 6,43 | - | - |
800 | 0,74 | 1,33 | 2,11 | 3,09 | 4,88 | 7,15 | 9,95 | - |
900 | 0,83 | 1,48 | 2,35 | 3,44 | 5,44 | 7,95 | 11,03 | 14,76 |
1000 | 0,92 | 1,65 | 2,60 | 3,80 | 5,99 | 8,74 | 12,12 | 16,18 |
1120 | - | 1,8 | 2,90 | 4,23 | 6,65 | 9,69 | 13,43 | 17,63 |
1250 | - | 2,05 | 3,23 | 4,70 | 7,37 | 10,72 | 14,35 | 19,73 |
1320 | - | - | 3,40 | 4,95 | 7,75 | 11,27 | 15,61 | 20,72 |
1400 | - | - | 3,59 | 5,22 | 8,21 | 11,94 | 16,47 | 21,36 |
1500 | - | - | - | 5,57 | 8,76 | 12,74 | 17,56 | 23,28 |
1600 | - | - | - | 5,93 | 9,32 | 13,54 | 18,64 | 24,70 |
1700 | - | - | - | 6,28 | 9,87 | 14,34 | 19,73 | 26,12 |
1800 | - | - | - | - | 10,43 | 15,13 | 20,82 | 27,54 |
1900 | - | - | - | - | 10,96 | 15,93 | 21,90 | 28,96 |
2000 | - | - | - | - | 11,54 | 16,73 | 22,99 | 30,38 |
2120 | - | - | - | - | - | 17,69 | 24,30 | 32,08 |
2240 | - | - | - | - | - | 18,64 | 25,61 | 33,79 |
2300 | - | - | - | - | - | 19,13 | 26,25 | 34,64 |
2360 | - | - | - | - | - | - | 26,90 | 35,45 |
2500 | - | - | - | - | - | - | 28,43 | 37,48 |
2650 | - | - | - | - | - | - | - | 38,61 |
2800 | - | - | - | - | - | - | - | 41,71 |
Длина <*> шпильки L | |||||||||||||||||
12 | 16 | 20 | 24 | 30 | 36 | 42 | 48 | 56 | 64 | 72 | 80 | 90 | 100 | 110 | 125 | 140 | |
150 | 0,13 | 0,24 | - | - | - | - | - | - | - | - | - | - | - | - | - | - | - |
200 | 0,18 | 0,32 | 0,49 | - | - | - | - | - | - | - | - | - | - | - | - | - | - |
250 | 0,22 | 0,39 | 0,62 | 0,89 | 1,39 | - | - | - | - | - | - | - | - | - | - | - | - |
300 | 0,27 | 0,47 | 0,74 | 1,06 | 1,67 | 2,40 | - | - | - | - | - | - | - | - | - | - | - |
350 | 0,31 | 0,55 | 0,86 | 1,24 | 1,94 | 2,79 | 3,81 | - | - | - | - | - | - | - | - | - | - |
400 | 0,35 | 0,63 | 0,99 | 1,42 | 2,22 | 3,19 | 4,35 | 5,68 | - | - | - | - | - | - | - | - | - |
450 | 0,40 | 0,71 | 1,11 | 1,60 | 2,50 | 3,59 | 4,89 | 6,39 | - | - | - | - | - | - | - | - | - |
500 | 0,44 | 0,79 | 1,23 | 1,77 | 2,77 | 3,99 | 5,44 | 7,10 | - | - | - | - | - | - | - | - | - |
600 | 0,53 | 0,95 | 1,48 | 2,13 | 3,33 | 4,79 | 6,52 | 8,52 | - | - | - | - | - | - | - | - | - |
710 | - | 1,12 | 1,75 | 2,52 | 3,94 | 5,67 | 7,72 | 10,08 | - | - | - | - | - | - | - | - | - |
800 | - | 1,26 | 1,97 | 2,84 | 4,44 | 6,39 | 8,70 | 11,36 | 16,03 | - | - | - | - | - | - | - | - |
900 | - | 1,42 | 2,22 | 3,19 | 4,99 | 7,19 | 9,78 | 12,79 | 18,25 | - | - | - | - | - | - | - | - |
1000 | - | 1,58 | 2,46 | 3,55 | 5,55 | 7,98 | 10,87 | 14,20 | 20,47 | 26,63 | 33,33 | - | - | - | - | - | - |
1120 | - | 1,77 | 2,76 | 3,98 | 6,22 | 8,94 | 12,17 | 15,92 | 23,13 | 30,67 | 37,49 | - | - | - | - | - | - |
1250 | - | 1,97 | 3,08 | 4,44 | 6,94 | 9,99 | 13,59 | 17,76 | 26,02 | 33,35 | 41,99 | 51,23 | - | - | - | - | - |
1320 | - | - | 3,25 | 4,69 | 7,33 | 10,55 | 14,35 | 18,76 | 27,57 | 36,71 | 43,75 | 54,35 | - | - | - | - | - |
1400 | - | - | 3,45 | 4,97 | 7,76 | 11,18 | 15,22 | 19,88 | 29,34 | 38,71 | 46,52 | 57,91 | 71,5 | - | - | - | - |
1500 | - | - | 3,70 | 5,32 | 8,32 | 11,98 | 16,31 | 21,30 | 31,56 | 41,73 | 49,99 | 62,36 | 77,1 | - | - | - | - |
1600 | - | - | - | 5,68 | 8,87 | 12,78 | 17,39 | 22,72 | 33,78 | 44,74 | 53,45 | 66,81 | 82,7 | 100,7 | 123,8 | - | - |
1700 | - | - | - | 6,03 | 9,43 | 13,57 | 18,48 | 24,13 | 36,00 | 47,76 | 56,91 | 71,26 | 88,3 | 107,5 | 132,7 | - | - |
1800 | - | - | - | - | 9,98 | 14,37 | 19,57 | 25,55 | 38,22 | 50,78 | 60,38 | 75,72 | 93,8 | 114,3 | 141,6 | 177,3 | 221,8 |
1900 | - | - | - | - | 10,54 | 15,17 | 20,65 | 26,97 | 40,44 | 53,80 | 63,84 | 80,17 | 99,3 | 121,1 | 150,5 | 187,8 | 234,8 |
2000 | - | - | - | - | - | 15,97 | 21,74 | 28,39 | 42,65 | 56,82 | 67,31 | 84,62 | 104,9 | 127,9 | 159,3 | 198,2 | 247,7 |
2120 | - | - | - | - | - | 16,93 | 23,04 | 30,10 | 45,31 | 60,44 | 71,47 | 89,96 | 111,6 | 136,0 | 169,9 | 210,7 | 263,2 |
2240 | - | - | - | - | - | 17,89 | 24,35 | 31,80 | 47,98 | 64,07 | 75,63 | 95,30 | 118,3 | 144,2 | 180,5 | 223,3 | 278,8 |
2500 | - | - | - | - | - | - | 27,17 | 35,49 | 53,75 | 71,92 | 84,64 | 106,90 | 132,8 | 161,9 | 203,7 | 250,2 | 312,5 |
2800 | - | - | - | - | - | - | - | 39,75 | 60,40 | 80,98 | 95,04 | 120,20 | 149,5 | 182,3 | 230,3 | 281,5 | 351,4 |
3150 | - | - | - | - | - | - | - | - | 68,22 | 91,70 | 107,20 | 135,80 | 171,7 | 206,1 | 261,3 | 318,1 | 396,7 |
3550 | - | - | - | - | - | - | - | - | - | - | 121,15 | 153,60 | 191,1 | 233,3 | 296,7 | 359,9 | 448,5 |
4000 | - | - | - | - | - | - | - | - | - | - | - | - | 216,2 | 263,8 | 336,8 | 406,4 | 506,9 |
4500 | - | - | - | - | - | - | - | - | - | - | - | - | - | 297,8 | 381,2 | 458,5 | 571,6 |
5000 | - | - | - | - | - | - | - | - | - | - | - | - | - | - | - | 510,6 | 636,4 |
Длина <*> шпильки L | ||||||||
12 | 16 | 20 | 24 | 30 | 36 | 42 | 48 | |
150 | 0,15 | 0,27 | - | - | - | - | - | - |
200 | 0,19 | 0,35 | 0,55 | - | - | - | - | - |
250 | 0,24 | 0,43 | 0,67 | 0,99 | 1,58 | - | - | - |
300 | 0,28 | 0,51 | 0,80 | 1,17 | 1,86 | 2,74 | - | - |
350 | 0,32 | 0,58 | 0,92 | 1,35 | 2,14 | 3,14 | 4,35 | - |
400 | 0,37 | 0,66 | 1,04 | 1,53 | 2,41 | 3,53 | 4,90 | 6,53 |
450 | 0,41 | 0,74 | 1,17 | 1,70 | 2,69 | 3,93 | 5,44 | 7,24 |
500 | 0,46 | 0,82 | 1,29 | 1,88 | 2,97 | 4,33 | 5,98 | 7,90 |
600 | 0,55 | 0,98 | 1,54 | 2,24 | 3,53 | 5,12 | 7,07 | 9,37 |
710 | - | 1,15 | 1,81 | 2,63 | 4,14 | 6,01 | 8,26 | 10,93 |
800 | - | - | 2,03 | 2,95 | 4,63 | 6,72 | 9,25 | 12,21 |
900 | - | - | - | 3,30 | 5,19 | 7,52 | 10,33 | 13,63 |
1000 | - | - | - | - | 5,74 | 8,32 | 11,42 | 15,05 |
1120 | - | - | - | - | 6,40 | 9,28 | 12,72 | 16,75 |
1250 | - | - | - | - | - | 10,32 | 14,14 | 18,60 |
1320 | - | - | - | - | - | - | 14,90 | 19,59 |
1400 | - | - | - | - | - | - | - | 20,73 |
Длина <*> анкерной арматуры L1 | Теоретическая масса анкерной арматуры, кг, исполнение | ||||||||||||||||||
1 | 2 | 3 | 2 | 3 | 2 | 3 | 2 | 3 | 2 | 3 | 2 | 3 | 2 | ||||||
Номинальный диаметр резьбы | |||||||||||||||||||
24 | 30 | 36 | 42 | 48 | 56 | 64 | 72 | 80 | 90 | 100 | 110 | 125 | |||||||
400 | 4,76 | - | - | - | - | - | - | - | - | - | - | - | - | - | - | - | - | - | - |
500 | 5,24 | 6,02 | - | - | - | - | - | - | - | - | - | - | - | - | - | - | - | - | - |
600 | 5,73 | 6,51 | 10,57 | - | - | - | - | - | - | - | - | - | - | - | - | - | - | - | - |
710 | 6,27 | 7,05 | 11,48 | 14,41 | - | - | - | - | - | - | - | - | - | - | - | - | - | - | - |
800 | 6,70 | 7,48 | 12,25 | 15,18 | 19,94 | - | - | - | - | - | - | - | - | - | - | - | - | - | - |
900 | 7,19 | 7,97 | 13,09 | 16,02 | 20,90 | - | - | - | - | - | - | - | - | - | - | - | - | - | - |
1000 | 7,68 | 8,46 | 13,92 | 16,85 | 21,87 | - | - | - | - | - | - | - | - | - | - | - | - | - | - |
1120 | 8,17 | 9,05 | 14,93 | 17,85 | 23,03 | - | - | - | - | - | - | - | - | - | - | - | - | - | - |
1250 | 8,90 | 9,68 | 16,02 | 18,94 | 24,29 | - | - | - | - | - | - | - | - | - | - | - | - | - | - |
1320 | 9,25 | 10,03 | 16,63 | 19,53 | 24,95 | - | - | - | - | - | - | - | - | - | - | - | - | - | - |
1400 | - | 10,42 | 17,30 | 20,20 | 25,73 | - | - | - | - | - | - | - | - | - | - | - | - | - | - |
1500 | - | - | 18,14 | 21,04 | 26,70 | - | - | - | - | - | - | - | - | - | - | - | - | - | - |
1600 | - | - | - | 21,88 | 27,66 | - | - | - | - | - | - | - | - | - | - | - | - | - | - |
1700 | - | - | - | - | 28,63 | - | - | - | - | - | - | - | - | - | - | - | - | - | - |
1800 | - | - | - | - | - | 43,85 | 34,14 | - | - | - | - | - | - | - | - | - | - | - | - |
2000 | - | - | - | - | - | 45,78 | 36,07 | 62,82 | 44,13 | - | - | - | - | - | - | - | - | - | - |
2240 | - | - | - | - | - | 48,10 | 38,39 | 65,72 | 47,05 | 87,01 | 61,8 | - | - | - | - | - | - | - | - |
2500 | - | - | - | - | - | 50,62 | 40,91 | 68,90 | 50,21 | 90,66 | 65,33 | 94,37 | 80,73 | - | - | - | - | - | - |
2800 | - | - | - | - | - | - | - | 72,54 | 53,85 | 94,32 | 69,41 | 99,88 | 85,24 | 140,7 | 110,0 | - | - | - | - |
3150 | - | - | - | - | - | - | - | - | - | 98,90 | 74,17 | 104,15 | 90,51 | 147,0 | 116,4 | 181,5 | 134,6 | - | - |
3550 | - | - | - | - | - | - | - | - | - | - | - | 110,16 | 96,52 | 154,3 | 123,6 | 189,5 | 142,6 | 236,0 | - |
4000 | - | - | - | - | - | - | - | - | - | - | - | - | - | 162,4 | 131,8 | 198,6 | 151,7 | 245,7 | 313,20 |
4500 | - | - | - | - | - | - | - | - | - | - | - | - | - | - | - | 208,6 | 161,7 | 256,4 | 337,7 |
Длина <*> трубы L1 | Теоретическая масса трубы, кг, при номинальном наружном диаметре D и толщине стенки S (D x S) | |||||||||
60 x 3,5 | 89 x 4 | 102 x 4 | 114 x 4,5 | 127 x 4,5 | 140 x 4,5 | 152 x 5 | 168 x 5 | 180 x 5 | 203 x 6 | |
400 | 1,95 | - | - | - | - | - | - | - | - | - |
500 | 2,44 | - | - | - | - | - | - | - | - | - |
600 | 2,93 | 5,03 | - | - | - | - | - | - | - | - |
710 | 3,47 | 5,95 | - | - | - | - | - | - | - | - |
800 | 3,90 | 6,71 | 7,74 | - | - | - | - | - | - | - |
900 | 4,39 | 7,55 | 8,70 | - | - | - | - | - | - | - |
1000 | 4,88 | 8,38 | 9,67 | - | - | - | - | - | - | - |
1120 | 5,47 | 9,38 | 10,83 | - | - | - | - | - | - | - |
1250 | 6,10 | 10,47 | 12,09 | - | - | - | - | - | - | - |
1320 | 6,44 | 11,07 | 12,76 | - | - | - | - | - | - | - |
1400 | 6,83 | 11,73 | 13,54 | - | - | - | - | - | - | - |
1500 | - | 12,58 | 14,50 | - | - | - | - | - | - | - |
1600 | - | 13,41 | 15,48 | - | - | - | - | - | - | - |
1700 | - | - | 16,43 | - | - | - | - | - | - | - |
1800 | - | - | 17,41 | - | - | - | - | - | - | - |
2000 | - | - | 19,34 | 24,30 | - | - | - | - | - | - |
2240 | - | - | 21,66 | 27,22 | 30,44 | - | - | - | - | - |
2500 | - | - | 24,18 | 30,38 | 33,97 | 37,60 | - | - | - | - |
2800 | - | - | - | 30,02 | 38,05 | 42,11 | 50,76 | - | - | - |
3150 | - | - | - | - | 42,81 | 47,38 | 57,11 | 63,32 | - | - |
3550 | - | - | - | - | - | 53,39 | 64,36 | 71,35 | 76,64 | - |
4000 | - | - | - | - | - | - | 72,52 | 80,40 | 86,36 | 116,56 |
4500 | - | - | - | - | - | - | - | 90,45 | 97,15 | 131,13 |












