Главная // Актуальные документы // ГОСТ (Государственный стандарт)СПРАВКА
Источник публикации
М.: Стандартинформ, 2017
Примечание к документу
Текст данного документа приведен с учетом
поправки, введенной в действие с 23.08.2021, опубликованной в "ИУС", N 1, 2022.
Дата введения в действие перенесена на 01.01.2019
Приказом Росстандарта от 26.12.2017 N 2100-ст.
Документ
введен в действие с 01.01.2018.
Название документа
"ГОСТ 34028-2016. Межгосударственный стандарт. Прокат арматурный для железобетонных конструкций. Технические условия"
(введен в действие Приказом Росстандарта от 31.03.2017 N 232-ст)
"ГОСТ 34028-2016. Межгосударственный стандарт. Прокат арматурный для железобетонных конструкций. Технические условия"
(введен в действие Приказом Росстандарта от 31.03.2017 N 232-ст)
агентства по техническому
регулированию и метрологии
от 31 марта 2017 г. N 232-ст
МЕЖГОСУДАРСТВЕННЫЙ СТАНДАРТ
ПРОКАТ АРМАТУРНЫЙ ДЛЯ ЖЕЛЕЗОБЕТОННЫХ КОНСТРУКЦИЙ
ТЕХНИЧЕСКИЕ УСЛОВИЯ
Reinforcing rolled products for reinforced
concrete constructions. Specifications
ГОСТ 34028-2016
| | Дата введения в действие перенесена на 1 января 2019 года Приказом Росстандарта от 26.12.2017 N 2100-ст. | |
Дата введения
1 января 2018 года
Цели, основные принципы и основной порядок проведения работ по межгосударственной стандартизации установлены в
ГОСТ 1.0-2015 "Межгосударственная система стандартизации. Основные положения" и
ГОСТ 1.2-2015 "Межгосударственная система стандартизации. Стандарты межгосударственные, правила и рекомендации по межгосударственной стандартизации. Правила разработки, принятия, обновления и отмены"
1 РАЗРАБОТАН Акционерным обществом "НИЦ "Строительство" (АО "Строительство") и Федеральным государственным унитарным предприятием "ЦНИИчермет им. И.П. Бардина" (ФГУП "ЦНИИчермет им. И.П. Бардина")
2 ВНЕСЕН Федеральным агентством по техническому регулированию и метрологии
3 ПРИНЯТ Межгосударственным советом по стандартизации, метрологии и сертификации (протокол от 8 декабря 2016 г. N 50)
За принятие проголосовали:
Краткое наименование страны по МК (ИСО 3166) 004-97 | Код страны по МК (ИСО 3166) 004-97 | Сокращенное наименование национального органа по стандартизации |
Азербайджан | AZ | Азстандарт |
Армения | AM | Минэкономики Республики Армения |
Грузия | GE | Грузстандарт |
Киргизия | KG | Кыргызстандарт |
Россия | RU | Росстандарт |
Таджикистан | TJ | Таджикстандарт |
4
Приказом Федерального агентства по техническому регулированию и метрологии от 31 марта 2017 г. N 232-ст межгосударственный стандарт ГОСТ 34028-2016 введен в действие в качестве национального стандарта Российской Федерации с 1 января 2018 г.
5 Настоящий стандарт разработан на основе применения
ГОСТ Р 52544-2006 в части горячекатаного и термомеханически упрочненного арматурного проката
<*>
--------------------------------
<*>
Приказом Федерального агентства по техническому регулированию и метрологии от 31 марта 2017 г. N 232-ст
ГОСТ Р 52544-2006 в части горячекатаного и термомеханически упрочненного арматурного проката отменен с 1 января 2018 г.
Информация об изменениях к настоящему стандарту публикуется в ежегодном информационном указателе "Национальные стандарты" (по состоянию на 1 января текущего года), а текст изменений и поправок - в ежемесячном информационном указателе "Национальные стандарты". В случае пересмотра (замены) или отмены настоящего стандарта соответствующее уведомление будет опубликовано в ежемесячном информационном указателе "Национальные стандарты". Соответствующая информация, уведомление и тексты размещаются также в информационной системе общего пользования - на официальном сайте Федерального агентства по техническому регулированию и метрологии в сети Интернет (www.gost.ru)
Настоящий стандарт распространяется на арматурный прокат гладкого и периодического профилей классов А240, А400, А500 и А600, предназначенный для применения при армировании сборных железобетонных конструкций и при возведении монолитного железобетона, а также на арматурный прокат периодического профиля классов Ап600, А800 и А1000, предназначенный для применения при армировании предварительно напряженных железобетонных конструкций.
Арматурный прокат изготовляют из нелегированной и легированной стали.
Настоящий стандарт устанавливает стандартные технические требования к арматурному прокату, а также дополнительный набор технических требований в зависимости от его назначения.
В настоящем стандарте использованы нормативные ссылки на следующие межгосударственные стандарты:
ГОСТ 8.051-81 Государственная система обеспечения единства измерений. Погрешности, допускаемые при измерении линейных размеров до 500 мм
ГОСТ 8.207-76 Государственная система обеспечения единства измерений. Прямые измерения с многократными наблюдениями. Методы обработки результатов наблюдений. Основные положения
<*>
--------------------------------
<*> В Российской Федерации действует
ГОСТ Р 8.736-2011 "Государственная система обеспечения единства измерений. Измерения прямые многократные. Методы обработки результатов измерений. Основные положения".
ГОСТ 12.1.005-88 Система стандартов безопасности труда. Общие санитарно-гигиенические требования к воздуху рабочей зоны
ГОСТ 12.3.002-75 Система стандартов безопасности труда. Процессы производственные. Общие требования безопасности
ГОСТ 503-81 Лента холоднокатаная из низкоуглеродистой стали. Технические условия
ГОСТ 2590-2006 Прокат сортовой стальной горячекатаный круглый. Сортамент
ГОСТ 3282-74 Проволока стальная низкоуглеродистая общего назначения. Технические условия
ГОСТ 4142-77 Реактивы. Кальций азотнокислый 4-водный. Технические условия
ГОСТ 7564-97 Прокат. Общие правила отбора проб, заготовок и образцов для механических и технологических испытаний
ГОСТ 7565-81 (ИСО 377-2-89) Чугун, сталь и сплавы. Метод отбора проб для определения химического состава
ГОСТ 7566-94 Металлопродукция. Приемка, маркировка, упаковка, транспортирование и хранение
ГОСТ 10922-2012 Арматурные и закладные изделия, их сварные, вязаные и механические соединения для железобетонных конструкций. Общие технические условия
ГОСТ 12026-76 Бумага фильтровальная лабораторная. Технические условия
ГОСТ 12354-81 Стали легированные и высоколегированные. Методы определения молибдена
ГОСТ 12359-99 (ИСО 4945-77) Стали углеродистые, легированные и высоколегированные. Методы определения азота
ГОСТ 12360-82 Стали легированные и высоколегированные. Методы определения бора
ГОСТ 12361-2002 Стали легированные и высоколегированные. Методы определения ниобия
ГОСТ 12365-84 Стали легированные и высоколегированные. Методы определения циркония
ГОСТ 14019-2003 (ИСО 7438:1985) Материалы металлические. Метод испытания на изгиб
ГОСТ 14098-2014 Соединения сварные арматуры и закладных изделий железобетонных конструкций. Типы, конструкции и размеры
ГОСТ 18895-97 Сталь. Метод фотоэлектрического спектрального анализа
ГОСТ 21014-88 Прокат черных металлов. Термины и определения дефектов поверхности
ГОСТ 22536.0-87 Сталь углеродистая и чугун нелегированный. Общие требования к методам анализа
ГОСТ 22536.1-88 Сталь углеродистая и чугун нелегированный. Методы определения общего углерода и графита
ГОСТ 22536.2-87 Сталь углеродистая и чугун нелегированный. Методы определения серы
ГОСТ 22536.3-88 Сталь углеродистая и чугун нелегированный. Методы определения фосфора
ГОСТ 22536.4-88 Сталь углеродистая и чугун нелегированный. Методы определения кремния
ГОСТ 22536.5-87 (ИСО 629-82) Сталь углеродистая и чугун нелегированный. Методы определения марганца
ГОСТ 22536.6-88 Сталь углеродистая и чугун нелегированный. Методы определения мышьяка
ГОСТ 22536.7-88 Сталь углеродистая и чугун нелегированный. Методы определения хрома
ГОСТ 22536.8-87 Сталь углеродистая и чугун нелегированный. Методы определения меди
ГОСТ 22536.9-88 Сталь углеродистая и чугун нелегированный. Методы определения никеля
ГОСТ 22536.10-88 Сталь углеродистая и чугун нелегированный. Методы определения алюминия
ГОСТ 22536.11-87 Сталь углеродистая и чугун нелегированный. Методы определения титана
ГОСТ 22536.12-88 Сталь углеродистая и чугун нелегированный. Методы определения ванадия
ГОСТ 22867-77 Реактивы. Аммоний азотнокислый. Технические условия
ГОСТ 23732-2011 Вода для бетонов и строительных растворов. Технические условия
ГОСТ 26007-83 Расчеты и испытания на прочность. Методы механических испытаний металлов. Методы испытания на релаксацию напряжений
ГОСТ 30136-95 (ИСО 8457-1-89) Катанка из углеродистой стали обыкновенного качества. Технические условия
Примечание - При пользовании настоящим стандартом целесообразно проверить действие ссылочных стандартов в информационной системе общего пользования - на официальном сайте Федерального агентства по техническому регулированию и метрологии в сети Интернет или по ежегодному информационному указателю "Национальные стандарты", который опубликован по состоянию на 1 января текущего года, и по выпускам ежемесячного информационного указателя "Национальные стандарты" за текущий год. Если ссылочный стандарт заменен (изменен), то при пользовании настоящим стандартом следует руководствоваться заменяющим (измененным) стандартом. Если ссылочный стандарт отменен без замены, то положение, в котором дана ссылка на него, применяется в части, не затрагивающей эту ссылку.
В настоящем стандарте применены следующие термины с соответствующими определениями:
3.1 арматурный прокат периодического профиля: Прокат в прутках или мотках с равномерно расположенными на его поверхности под углом к его продольной оси поперечными ребрами для улучшения сцепления с бетоном.
3.2 арматурный прокат гладкого профиля: Прокат в прутках или мотках, поверхность которого не имеет периодического профиля.
3.3 класс арматурного проката: Установленное стандартом минимальное значение физического

или условного

предела текучести (Н/мм
2).
3.4 номинальный диаметр dн, мм: Диаметр равновеликого по площади поперечного сечения круглого гладкого проката.
3.5 номинальная площадь поперечного сечения Fн, мм2: Площадь поперечного сечения проката периодического профиля, равная площади поперечного сечения круглого гладкого проката того же номинального диаметра dн.
3.6 параметры периодического профиля арматурного проката: (см.
рисунки 1 -
4):
3.6.1 продольное ребро: Непрерывный продольный выступ, образованный вдоль оси арматурного проката.
3.6.2 поперечное ребро: Ребро, расположенное под углом к продольной оси проката.
3.7 геометрические параметры периодического профиля арматурного проката:
3.7.1 высота ребра
h (
h1), мм: Расстояние от верхней точки поперечного (продольного) ребра до поверхности тела проката, измеренное перпендикулярно к оси проката (см.
рисунки 1 -
4).
3.7.2 шаг поперечных ребер
t, мм: Расстояние между одноименными соответствующими точками соседних ребер, измеренное вдоль оси проката (см.
рисунки 1 -
4).
3.7.3 суммарное расстояние между концами поперечных ребер

, мм: Сумма расстояний между концами поперечных ребер, измеренных в плоскости, перпендикулярной к оси проката (см.
рисунки 1 -
4).
3.7.4 угол наклона поперечного ребра

, градусы: Угол между осью поперечного ребра и продольной осью проката (см.
рисунки 1 -
4).
3.7.5 угол наклона боковой поверхности поперечного ребра

, градусы: Угол наклона боковой поверхности поперечного ребра к поверхности тела проката (см.
рисунки 1 -
4).
3.7.6 ширина ребер
b (
b1), мм: Размер по верху трапециевидного поперечного сечения поперечного (продольного) ребра в его сечении, перпендикулярном к оси ребра (см.
рисунки 1 -
4).
3.7.7 овальность, мм: Разность наибольшего и наименьшего размеров поперечного сечения проката по абсолютной величине (без учета знака):
d1 и
d2 - для профилей форм 1ф, 2ф и 4ф (
рисунки 1,
2 и
4);
di - для профиля формы 3ф
(рисунок 3).
3.7.8 относительная площадь смятия поперечных ребер периодического профиля fR: Площадь проекции поперечных ребер на плоскость, перпендикулярную к оси проката, отнесенная к произведению длины окружности номинального диаметра на фактический средний шаг этих ребер.
3.8 вероятное значение параметра: Границы квантильного статистически рассчитанного отклонения параметра, относящегося к материалу или изделию, с достоверной частотой отказов, например, 5% (P = 0,95) или 10% (P = 0,90) от значений параметров выше браковочного минимального значения или ниже браковочного максимального значения соответственно. Этот качественный уровень относится к долговременному уровню оценки качества за длительный период времени.
3.9 браковочное минимальное значение Cmin: Допустимое нижнее значение параметра, ниже которого не может быть результат испытаний.
3.10 браковочное максимальное значение Cmax: Допустимое верхнее значение параметра, выше которого не может быть результат испытаний.
3.11 долговременный контроль уровня качества: Контроль качества арматурного проката, основанный на статистической (вероятностной) оценке надежности результатов испытаний за длительное время.
3.12 стандартный набор технических требований: Параметры проката для его применения, которые реализуются в широком масштабе как достигнутые заводские требования и нормируются настоящим стандартом.
3.13 дополнительный набор технических требований: Параметры арматурного проката, отличающиеся от стандартных и ранее не нормировавшиеся отечественными стандартами либо ранее не применявшиеся в широком масштабе, которые устанавливаются по согласованию изготовителя с заказчиком.
3.14 углеродный эквивалент Cэкв, %: Показатель свариваемости, установленное значение которого гарантирует отсутствие холодных трещин при сварке, выраженный в виде приведения к массовой доле углерода суммы массовых долей углерода, марганца, хрома, ванадия, молибдена, меди и никеля.
3.15 азотный эквивалент Nэкв, %: Показатель, характеризующий максимальную массовую долю азота в зависимости от суммарной массовой доли нитридообразующих элементов: алюминия, титана, ниобия и ванадия.
3.16 пруток: Прокат, поставляемый в прямолинейных отрезках.
3.17 моток: Прокат в состоянии поставки, сформированный в мотки после горячей прокатки в потоке прокатного стана или после последующей холодной технологической переработки.
3.18 стойкость против коррозионного растрескивания: Способность арматурного проката не разрушаться в течение заданного времени при совместном воздействии изгибающих или растягивающих напряжений и агрессивных сред.
3.19 выносливость при многократно повторяющихся циклических нагрузках: Способность проката периодического профиля сопротивляться разрушению при динамических воздействиях в цикле пульсирующего растяжения, определяемая при испытании на выносливость.
4.1 Арматурный прокат классифицируют:
4.1.1 По назначению:
- для армирования сборных железобетонных конструкций и возведения монолитного железобетона в зависимости от уровня предела текучести

, Н/мм
2, - по классам: А240, А400, А500, А600;
- для армирования предварительно-напряженных железобетонных конструкций в зависимости от уровня предела текучести

, Н/мм
2, - по классам: Ап600, А800, А1000.
4.1.2 По конфигурации периодического профиля - на формы: 1ф, 2ф, 3ф, 4ф.
4.1.3 По состоянию поставки:
- в прутках мерной длины (МД);
- в прутках мерной длины с немерной (МД1);
- в прутках немерной длины (НД);
- в мотках.
4.1.4 По набору технических требований:
а) со стандартным набором технических требований в соответствии с
разделом 5 классов А240, А400, А500, А600, Ап600, А800, А1000;
б) с дополнительным набором технических требований - в соответствии с
разделом 6:
1) свариваемый всеми способами сварки - С;
2) категорий пластичности:
- повышенной - Н;
- высокой (для сейсмически стойкого проката) - Е;
3) с требованиями к стойкости против коррозионного растрескивания - К;
4) с требованиями к выносливости при многократно повторяющихся циклических нагрузках - У;
5) с требованиями по релаксации напряжений - Р.
4.1.5 По геометрическим параметрам:
- гладкого профиля - класса А240;
- периодического профиля - классов: А400, А500, А600, Ап600, А800 и А1000 со стандартным или дополнительным набором технических требований в любой комбинации.
4.1.6 По группам предельных отклонений массы 1 м длины проката периодического профиля - ОМ1 и ОМ2.
4.2 Буквы и цифры в обозначении проката означают:
- А - арматурный прокат;
- Ап - арматурный прокат периодического профиля, предназначенный для применения при армировании предварительно напряженных железобетонных конструкций (для класса Ап600);
- последующие цифры после буквы (букв) А (Ап) - установленное настоящим стандартом минимальное значение физического

или условного

предела текучести в (Н/мм
2);
- следующие за цифрами буквы соответствуют условному обозначению дополнительных характеристик технических требований.
5. Стандартные технические требования к арматурному прокату
5.1 Сортамент
5.1.1 Номинальный диаметр, предельные отклонения для класса точности В1, овальность не более 75% суммы предельных отклонений, кривизна IV класса проката гладкого профиля диаметром до 50 мм включительно и методы измерений должны соответствовать
ГОСТ 2590. Для проката диаметром не более 10 мм допускаются предельные отклонения для класса точности В4 по
ГОСТ 2590.
5.1.2 Номинальный диаметр, номинальная площадь поперечного сечения, масса 1 м длины, предельные отклонения по массе 1 м длины и способы производства проката периодического профиля должны соответствовать указанным в таблице 1.
Таблица 1
Номинальные диаметр, площадь поперечного сечения
и масса 1 м длины и способы производства проката
Номинальный диаметр dн, мм | Номинальная площадь поперечного сечения Fн, мм2 | | Масса 1 м длины проката |
Номинальная, кг | Предельное отклонение при поставке, %, для групп |
1 | 2 | 3 | 4 | 5 | | ОМ1 | ОМ2 |
4,0 | 12,6 | | | x | | x | 0,099 | +/- 8,0 | -2,0 -8,0 |
4,5 | 15,9 | | | x | | x | 0,125 |
5,0 | 19,6 | | | x | | x | 0,154 |
5,5 | 23,8 | | | x | | x | 0,187 |
6,0 | 28,3 | x | x | x | x | x | 0,222 |
6,5 | 33,2 | | | x | | x | 0,261 |
7,0 | 38,5 | x | x | x | x | x | 0,302 |
7,5 | 44,2 | | | x | | x | 0,347 |
8,0 | 50,3 | x | x | x | x | x | 0,395 |
8,5 | 56,7 | | | x | | x | 0,445 | +/- 6,0 | -1,0 -6,0 |
9,0 | 63,6 | x | x | x | x | x | 0,499 |
9,5 | 70,9 | | | x | | x | 0,556 |
10,0 | 78,5 | x | x | x | x | x | 0,617 |
11,0 | 95,0 | x | x | x | x | x | 0,746 |
12,0 | 113,1 | x | x | x | x | x | 0,888 |
13,0 | 132,7 | x | x | | x | x | 1,042 | +/- 5,0 | -1,0 -5,0 |
14,0 | 153,9 | x | x | | x | x | 1,208 |
15,0 | 176,7 | x | x | | x | x | 1,387 |
16,0 | 201,1 | x | x | | x | x | 1,578 |
17,0 | 227,0 | x | x | | x | x | 1,782 |
18,0 | 254,5 | x | x | | x | x | 1,998 |
19,0 | 283,5 | x | x | | x | x | 2,226 |
20,0 | 314,2 | x | x | | | | 2,466 |
22,0 | 380,1 | x | x | | | | 2,984 | +/- 4,0 | -1,0 -4,5 |
25,0 | 490,9 | x | x | | | | 3,853 |
28,0 | 615,8 | x | x | | | | 4,834 |
32,0 | 804,3 | x | x | | | | 6,313 |
36,0 | 1017,9 | x | x | | | | 7,990 |
40,0 | 1256,6 | x | x | | | | 9,865 |
Примечания 1 Знак "x" означает, что данный способ освоен или технически доступен для производства. 2 Для проката, получаемого способом 3 по таблице 3 предельное отклонение ОМ1 для всех размеров должно составлять +/- 4,0%. 3 Прокат классов А800 и А1000 изготовляют номинальным диаметром от 10 до 40 мм включительно. 4 Номинальная масса 1 м длины проката установлена, исходя из номинального диаметра при плотности стали, равной 7,85 г/см3. 5 Предельные отклонения по массе 1 м длины приведены для отдельного прутка (мотка). 6 По согласованию изготовителя с заказчиком допускаются другие отклонения по массе 1 м длины проката. 7 Группу предельных отклонений по массе 1 м длины проката (ОМ1 или ОМ2) оговаривают в заказе. При отсутствии указания в заказе группу отклонений выбирает изготовитель и указывает в документе о качестве. |
5.1.3 Прокат классов А240, А400, А500, А600 и Ап600 изготовляют в прутках и мотках.
5.1.4 Прокат классов А800 и А1000 изготовляют в прутках.
5.1.5 Прутки в соответствии с заказом изготовляют длиной от 6,0 до 18,0 м:
- мерной длины (МД);
- мерной с немерной длины (МД1);
- немерной длины (НД) в пределах от 6,0 до 12,0 м.
Предпочтительная мерная длина прутков - 6,0; 9,0; 12,0 (11,7 и 11,9); 18,0 м оговаривается в заказе. По согласованию изготовителя с заказчиком допускается изготовление прутков другой мерной длины.
При поставке прутков мерной длины с немерной (МД1) допускается наличие прутков немерной длины (но не менее 2 м) в количестве не более 3% массы партии.
5.1.6 При отсутствии специальных требований предельные отклонения по длине прутков мерной длины не должны превышать +100 мм, прутков, получаемых после правки и нарезки из мотков, - +25 мм.
5.1.7 Кривизна прутков периодического профиля не должна превышать 6 мм на 1 м длины.
5.1.8 Прокат в мотках изготовляют номинальным диаметром до 22,0 мм включительно.
5.1.9 Прокат в мотках должен быть смотан или уложен без перепутывания витков между собой. Допускается смещение или нахлест витков, не ухудшающих их свободную размотку без перепутывания.
Моток должен состоять из одного отрезка. Допускается, кроме мотков, изготовленных по способам 3 и 4, наличие мотков, состоящих из двух отрезков, в количестве не более 10% массы партии.
Масса мотков должна быть от 0,5 до 5,0 т включительно. Допускается при заказе согласовывать другую массу мотков.
Габаритные размеры мотков - по согласованию изготовителя с заказчиком.
5.1.9.1 Прокат в мотках, изготовляемый по способам 3 и 4, должен иметь относительную плотность смотки n не менее 70%, которую определяют как частное от деления действительной массы мотка на массу трубы, рассчитанную по фактическим габаритным размерам мотка по формуле

(1)
где n - относительная плотность смотки мотка, %;
mф - фактическая масса мотка, т;
H - высота мотка по максимальным габаритам, м;
D - наружный диаметр мотка по максимальным габаритам, м;
d - внутренний диаметр мотка по минимальным габаритам, может приниматься без измерений как размер сердечника разъемной катушки, на которой формируется моток, м;

- плотность стали - 7,85 т/м
3.
Рекомендуемые габаритные размеры мотка, м:
- внутренний диаметр - 0,60 - 0,85;
- наружный диаметр - 1,05 - 1,30;
- высота - 0,60 - 0,80.
5.2 Требования к геометрическим параметрам периодического профиля
5.2.1 Прокат в зависимости от формы и сечения профиля, формы и расположения поперечных ребер может изготовляться четырех форм - 1ф, 2ф, 3ф и 4ф. Общие требования к контролируемым геометрическим параметрам периодического профиля приведены в таблице 2.
Таблица 2
Общие требования к контролируемым геометрическим параметрам
периодических профилей форм 1ф, 2ф, 3ф и 4ф
| Номинальный диаметр dн, мм | Форма профилей |
| | |
Высота поперечных ребер h, мм | От 4,0 до 10,0 включ. Св. 10,0 " 22,0 включ. " 22,0 | Не менее 0,05dн | Не менее 0,070dн | Не менее 0,05dн |
Не менее 0,065dн |
Не менее 0,060dн |
Шаг поперечных ребер t, мм | От 4,0 до 10,0 включ. | От 0,55dн до 1,00dн включ. | От 0,55dн до 1,00dн включ. |
Св. 10,0 до 22,0 включ. | От 0,50dн до 1,00dн включ. |
Св. 22,0 | От 0,45dн до 1,00dн включ. |
Угол наклона поперечного ребра <1> | От 4,0 до 40,0 включ. | От 35° до 90° включ. | От 35° до 75° включ. |
Угол наклона боковой поверхности поперечного ребра <1> | От 4,0 до 40,0 включ. | Не менее 45° | Не менее 45° |
Суммарное расстояние между концами поперечных ребер  , мм | От 4,0 до 40,0 включ. | | Не более  |
Овальность, мм, не более | Повышенной точности (ОВ1) | От 4,0 до 8,0 включ. | 1,0 | 1,0 | Для проката профиля форм 3ф и 4ф способа производства 3 по таблице 3 - 0,1 dн. Для проката профиля 4ф, способов производства 1 и 2 по таблице 3 - аналогично нормам для профиля формы 2ф |
Св. 8,0 " 14,0 " | 1,2 | 1,2 |
" 14,0 " 25,0 " | 1,6 | 1,6 |
" 25,0 | 2,4 | 2,4 |
Обычной точности (ОВ2) | От 6,0 до 8,0 включ. | 2,2 | 2,2 |
Св. 8,0 " 14,0 " | 2,5 | 2,5 |
" 14,0 " 25,0 " | 3,0 | 3,0 |
" 25,0 | 4,2 | 4,2 |
Относительная площадь смятия поперечных ребер fR, не менее | От 4,0 до 6,0 включ. | 0,039 (Cmin) |
Св. 6,0 " 8,0 " | 0,045 (Cmin) |
" 8,0 " 10,0 " | 0052 (Cmin) |
" 10,0 " 40,0 " | 0,056 (Cmin) |
<1> Параметры  и  служат для построения и настройки калибра и на профиле не контролируются. Примечания 1 Точность по овальности проката (ОВ1 или ОВ2) оговаривают в заказе. При отсутствии указания в заказе, точность по овальности выбирает изготовитель и указывает в документе о качестве. 2 Cmin - величина, соответствующая нижним границам соответствующих параметров, приведенных в таблицах 2, 5 и 7. |
5.2.1.1 Прокат классов А400, А500, А600, Ап600 изготовляют формой профиля 1ф, 2ф, 3ф, 4ф. Параметры профилей - в соответствии с
таблицей 2.
5.2.1.2 Прокат классов А800, А1000 изготовляют формой профиля 2ф. Параметры профилей - в соответствии с
таблицей 2.
5.2.1.3 Допускается по согласованию изготовителя с заказчиком производство проката всех классов с профилем другой формы, не ухудшающей требований к прокату, изложенных в настоящем стандарте.
5.2.1.4 Форму профиля (1ф, 2ф, 3ф, 4ф) оговаривают в заказе, при отсутствии указания - ее устанавливает изготовитель и указывает в документе о качестве.
5.2.2 Форма профиля 1ф
(рисунок 1) соответствует периодическому профилю с двумя продольными и поперечными наклонными к оси ребрами кольцевого сечения с равномерной толщиной полуколец, расположенных с двух противоположных по периметру сторон. Контур поперечных и продольных ребер на разрезе А-А
(рисунок 1) образует замкнутый круг или овал (кольцевой профиль).
Форма профиля 1ф, как правило, применяется для способов производства 1, 2 и 4 по
таблице 3.
Рисунок 1 - Конфигурация и параметры
периодического профиля по форме 1ф
5.2.3 Форма профиля 2ф
(рисунок 2) соответствует периодическому профилю с двумя продольными ребрами (или без них) и поперечными наклонными к оси ребрами серповидного сечения, расположенными с двух противоположных по периметру сторон. Контур поперечных и продольных ребер на разрезе
(рисунок 2) имеет переменную по вертикальной оси замкнутую линию (серповидный профиль).
При выполнении формы профиля 2ф без продольных ребер контур поперечных ребер и безреберных (гладких) участков в сечении должен образовывать замкнутый круг или овал.
Форма профиля 2ф, как правило, применяется для способов производства 1, 2 и 4 по
таблице 3.
Рисунок 2 - Конфигурация и параметры
периодического профиля по форме 2ф
Таблица 3
Рекомендуемые способы производства проката и условия
отбора и подготовки проб к проведению испытаний
на растяжение и изгиб или изгиб с разгибом
Рекомендуемые способы производства проката | Условия отбора и подготовки проб для проведения испытаний на растяжение и изгиб или изгиб с разгибом |
В состоянии поставки (И1) | После искусственного старения (И2) |
Способ 1. Горячая прокатка гладкого и периодического профиля без контролируемого охлаждения в потоке прокатного стана | + | - |
Способ 2. Горячая прокатка периодического профиля с контролируемым охлаждением в потоке прокатного стана | + | + |
Способ 3. Холодная обработка мотков горячекатаного гладкого круглого проката с нанесением периодического профиля | + | + |
Способ 4. Холодная обработка горячекатаного проката периодического профиля | + | + |
Способ 5. Холодная правка и резка проката на прутки при размотке мотков | + | + |
Примечание - Знак "-" означает, что условия отбора и подготовки проб (И2) для данного способа производства не применяют, знак "+" - применяют. |
5.2.4 Форма профиля 3ф
(рисунок 3) соответствует периодическому профилю без продольных ребер и с поперечными наклонными к оси ребрами серповидного сечения, расположенными с трех сторон равномерно по периметру. Контур поперечных ребер и безреберных (гладких) участков на разрезе А-А (
e,
рисунок 3) образует замкнутый круг или овал (трехсторонний профиль).
Форма профиля 3ф, как правило, применяется для способа производства 3 по
таблице 3.
5.2.5 Форма профиля 4ф
(рисунок 4) соответствует периодическому профилю без продольных ребер и с поперечными наклонными к оси ребрами сегментного сечения, расположенными симметрично с четырех сторон по периметру. Контур поперечных ребер и безреберных (гладких) участков на разрезе А-А (
e,
рисунок 4) образует замкнутый круг или овал (четырехсторонний профиль).
Рисунок 3 - Конфигурация и параметры
периодического профиля по форме 3ф
Рисунок 4 - Конфигурация и параметры
периодического профиля по форме 4ф
Форма профиля 4ф, как правило, применяется для способа производства 3 по
таблице 3. Допускается применение формы профиля 4ф для способов производства 1, 2 и 4.
| | ИС МЕГАНОРМ: примечание. Текст дан в соответствии с официальным текстом документа. | |
5.2.6 Форма профиля для способа производства 4 по
таблице 3 определяется формой профиля подката, для способа 5 - формой профиля проката в мотках.
5.2.7 Контур боковой поверхности сечения поперечных ребер профилей форм 1ф, 2ф, 3ф и 4ф должен соответствовать форме, представленной на разрезах Б-Б на
рисунках 1 -
4. Параметры профиля - в соответствии с
таблицей 2.
5.2.8 Отношение шага ребер t к ширине выступа на участке его максимальной высоты b должно быть не менее 3 для всех форм профиля.
5.2.9 Параметры сцепления периодического профиля форм 1ф, 2ф, 3ф и 4ф определяют по величине относительной площади смятия
fR и геометрическим параметрам профиля: шагу поперечных ребер
t и высоте ребра
h, приведенным в
таблице 2.
Рекомендуемые для построения калибров размеры и предельные отклонения геометрических параметров периодических профилей форм 1ф, 2ф, 3ф и 4ф приведены в
таблицах А.1 -
А.4 приложения А.
5.2.10 При соответствии показателя относительной площади смятия поперечных ребер (
fR) арматурного профиля требованиям
таблицы 2 наличие отклонений по геометрическим параметрам профиля не является браковочным признаком.
5.2.11 Выступающие за замкнутый контур продольные ребра профиля формы 1ф не являются браковочным признаком при условии соблюдения требований:
таблицы 2 - по овальности,
таблицы А.1 приложения А - по величине
d2.
5.2.12 Расстояние между концами поперечных ребер e для профиля формы 1ф принимают по величине b1.
5.2.13 При изготовлении профилей параметр
r (см. разрезы Б-Б
рисунков 1 -
4) указывает на необходимость скругления по линиям сопряжения пересекающихся поверхностей ребер и сердечника стержней. Этот параметр приведен для построения калибров и на профиле не контролируется. При нарезке калибров допускается заменять скругление фаской.
5.2.14 Изготовитель гарантирует обеспечение показателей
fR, приведенных в
таблице 2, как минимальных вероятных величин, с обеспеченностью 95% (
P = 0,95).
5.3 Способы производства
5.3.1 Не допускается использование в качестве заготовки для изготовления арматурного проката бывших в эксплуатации изделий или их частей, например: листовых отрезков, рельсов и др.
5.3.2 Прокат может быть изготовлен различными способами, представленными в
таблице 3, обеспечивающими получение необходимого набора стандартных и дополнительных технических требований.
Способ производства определяет изготовитель проката в соответствии с требованиями технологической документации, утвержденной в установленном порядке.
По требованию заказчика информация о способе производства приводится в документе о качестве.
5.3.3 Допускается для изготовления проката использовать другие способы производства, отличающиеся от приведенных в
таблице 3.
5.3.4 Рекомендуемые способы производства проката и условия отбора и подготовки проб к проведению испытаний на растяжение и изгиб или изгиб с разгибом для различных способов производства приведены в
таблице 3.
5.3.5 Выбор условий проведения испытаний проката (в состоянии поставки - И1 или после искусственного старения - И2) в соответствии с
таблицей 3 - по требованию заказчика, оговариваемому в заказе. При отсутствии указания в заказе условий проведения испытаний выбор предоставляется изготовителю и указывается в документе о качестве.
При возникновении разногласий по результатам испытаний механических свойств проката, изготовленного способами производства 3, 4 и 5 по
таблице 3, в случае отсутствия указания в заказе условий испытаний, испытания проводят после искусственного старения (И2).
Режим искусственного старения: нагрев испытуемого образца до температуры (100 +/- 10) °C, выдержка при данной температуре не менее 60 мин, охлаждение на спокойном воздухе при температуре

. Способ нагрева образцов устанавливает изготовитель.
5.4 Химический состав
5.4.1 Химический состав стали должен соответствовать приведенному в таблице 4.
Таблица 4
Класс проката | Массовая доля элементов, %, не более |
C | Si | Mn | P | S | N | Cu | As |
А240 | 0,22 | 0,05 - 0,30 | 0,65 | 0,050 | 0,050 | 0,012 | 0,30 | 0,08 |
(0,25) | (0,03 - 0,33) | (0,70) | (0,055) | (0,055) | (0,013) | (0,30) | (0,08) |
А400, А500, А600 | 0,22 | 0,90 | 1,60 | 0,050 | 0,050 | 0,012 | 0,35 | - |
(0,24) | (0,95) | (1,70) | (0,055) | (0,055) | (0,013) | (0,35) |
Ап600, А800, А1000 | 0,32 | 2,40 | 2,30 | 0,040 | 0,040 | 0,012 | - | 0,08 |
(0,34) | (2,45) | (2,35) | (0,045) | (0,045) | (0,013) | (0,08) |
Примечания 1 Знак "-" означает, что данный элемент не нормируется и не контролируется. 2 Без скобок указана массовая доля элементов в стали по ковшовой пробе, в скобках - в готовом прокате. 3 В стали, изготовленной скрап-процессом, допускается массовая доля меди (Cu) не более 0,40 (0,40)%, при этом массовая доля углерода (C) должна быть не более 0,20 (0,22)%. 4 Допускается введение в сталь одновременно, по отдельности или в любом сочетании легирующих элементов V, Nb, Mo в количестве до 0,10% каждого элемента при их суммарной массовой доле не более 0,15%, а также других элементов. Массовую долю элементов, в случае их введения в сталь, заносят в документ о качестве. 5 Допускается наличие в стали Al и Ti не более 0,025% каждого элемента. 6 Допускается увеличение в стали массовой доли N на 0,001% при снижении массовой доли P на 0,005%. 7 В стали для проката класса А500, содержащей нитридообразующие элементы, например Al, Ti, V или Nb, массовую долю N не ограничивают. 8 В стали допускается массовая доля N более 0,012%, если массовая доля N не превышает величину азотного эквивалента (Nэкв). |
5.5 Качество поверхности
5.5.1 На поверхности арматурного проката не допускаются:
- трещины;
- закаты, плены и раковины, ухудшающие его характеристики.
Классификация дефектов поверхности - по
ГОСТ 21014.
5.5.2 Допускается на поверхности проката наличие равномерной или местной (локальной) атмосферной ржавчины.
5.5.3 На поверхности прутков, изготовленных способом 5 по
таблице 3, допускаются следы от правки глубиной не более 1/4 высоты продольных выступов и уменьшение высоты поперечных выступов не более чем на 10% минимальной высоты ребра
h при обязательном обеспечении параметров шага
t и относительной площади смятия
fR согласно
таблице 2.
5.6 Механические свойства
5.6.1 Механические свойства проката при температуре испытания

должны соответствовать нормам, приведенным в таблице 5.
Таблица 5
Механические свойства проката
Категория пластичности | Класс проката | Температура электронагрева, °C | Предел текучести  , Н/мм 2 | Временное сопротивление  , Н/мм 2 | Отношение фактических значений  | Относительное удлинение, % |
| | |
Cmin |
Стандартная | А240 | - | 240 | 380 | - | 25,0 | - | - |
А400 | - | 390 | 590 | - | 16,0 | - | 5,0 |
А500 | - | 500 | 600 | 1,05 | 14,0 | 2,0 | 2,5 |
А600 | - | 600 | 700 | 1,05 | 12,0 | 2,0 | 2,5 |
Стандартная | Ап600 | 400 | 600 | 700 | 1,05 | 12,0 | 2,0 | 2,5 |
А800 | 400 | 800 | 1000 | - | 8,0 | 2,0 | 2,5 |
А1000 | 450 | 1000 | 1250 | - | 7,0 | 2,0 | 2,5 |
Примечания 1 Знак "-" означает, что характеристика не нормируется и не контролируется. 2 Вид относительного удлинения (  или  ) для проката классов А500, А600, Ап600, А800 и А1000 устанавливается заказчиком в заказе. Если в заказе не предусмотрено, то вид относительного удлинения устанавливает изготовитель и указывает в документе о качестве. 3 Для проката класса А400, изготовленного способом 2 по таблице 3, допускается снижение временного сопротивления  на 90 Н/мм 2. 4 Для проката класса А500, изготовленного способом 3 по таблице 3, допускается снижение временного сопротивления  на 50 Н/мм 2 и отношения фактических значений  до 1,03. 5 Начальный модуль упругости Eн при расчете относительного удлинения (  ) при максимальном усилии Pmax принимают равным 2,0·10 5 Н/мм 2. |
5.6.1.1 Механические свойства проката классов Ап600, А800 и А1000 испытывают до и после электронагрева. При испытании проката до нагрева допускается снижение норм относительного удлинения по
таблице 5 на 1%.
При наличии в технологическом процессе изготовления проката специального отпуска при температуре, соответствующей температуре электронагрева, указанной в
таблице 5, контроль механических свойств проводят только в состоянии поставки. В этом случае снижение норм относительного удлинения не допускается.
5.6.2 Изготовитель гарантирует обеспечение механических свойств при испытании на растяжение проката, нормируемых настоящим стандартом, как минимальных (по
таблице 5) или минимальных и максимальных (по
таблице 7) вероятных величин с обеспеченностью 95% (
P = 0,95) при вероятности 90% для

,

и

и обеспеченностью 90% (
P = 0,90) при вероятности 90% - для

,

или

. Оценку гарантированного уровня качества проката проводят при долговременном контроле согласно
8.14.
5.7 Требования к изгибу и изгибу с разгибом
5.7.1 Испытание на изгиб проката класса А240 проводят в холодном состоянии на угол 180° вокруг оправки диаметром, равным dн.
5.7.2 Испытание на изгиб проката классов А400 и А500 проводят в состоянии поставки на угол 180°; проката классов А600 и Ап600 - на угол 90° вокруг оправки диаметром, указанным в таблице 6; проката классов А800 и А1000 - на угол 45° вокруг оправки диаметром, равным 5dн.
Таблица 6
Диаметр оправки для испытаний на изгиб проката
классов А400, А500, А600 и Ап600
В миллиметрах
Номинальный диаметр проката dн | Максимальный диаметр оправки |
До 16 включ. | 3dн |
Св. 16 | 6dн |
5.7.3 Для проката классов А400, А500, А600, Ап600, А800, А1000 испытание на изгиб может быть заменено на изгиб с разгибом.
Требования к испытанию на изгиб с разгибом - в соответствии с
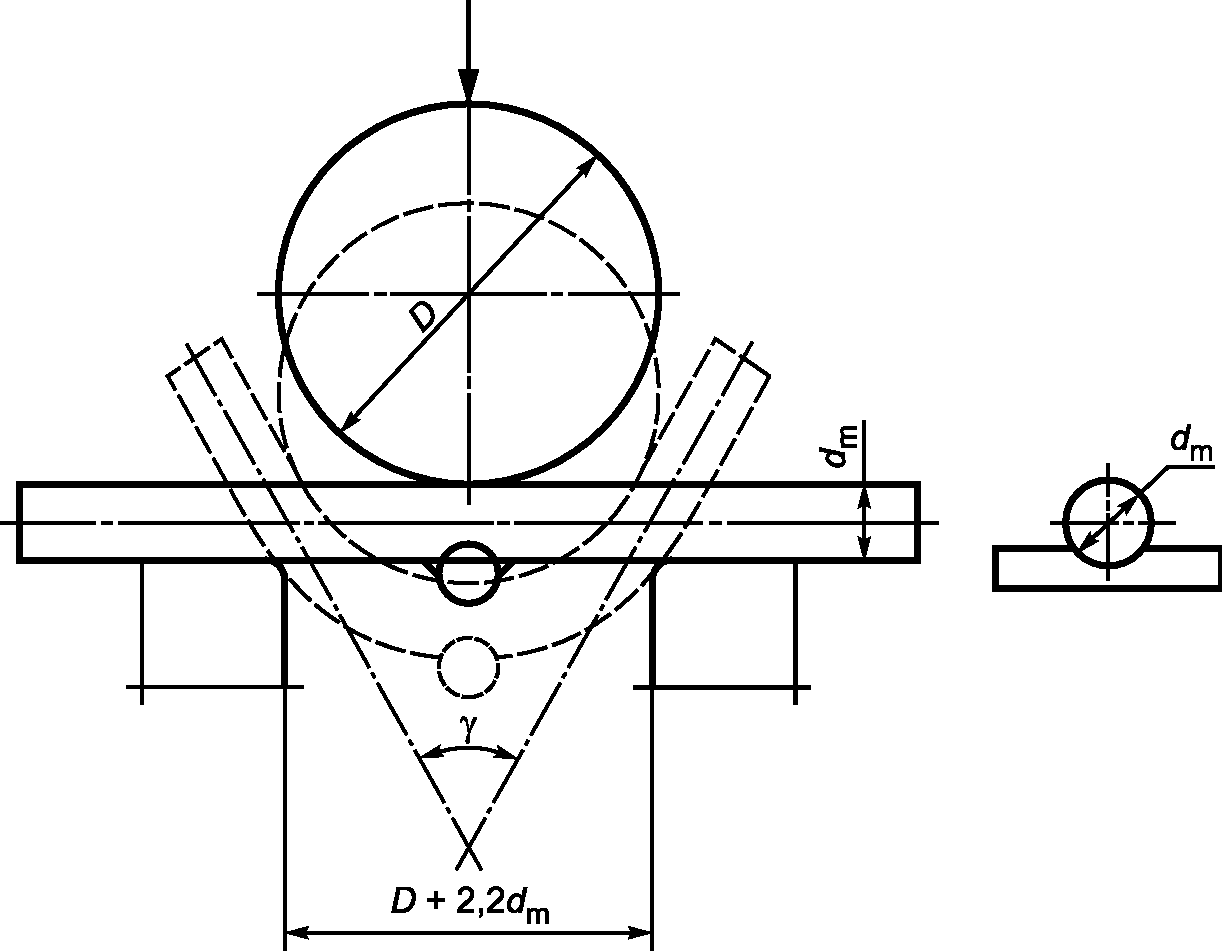
приложением Б.
5.7.4 После испытаний проката на изгиб или изгиб с разгибом на образцах не должно быть трещин и разрывов, видимых без применения увеличительных приборов.
5.8 Маркировка и идентификация
5.8.1 Маркировка проката гладкого профиля класса А240 - в соответствии с
ГОСТ 7566.
5.8.2 В целях безошибочной идентификации класса проката и изготовителя, исключения пересортицы и путаницы при входном контроле, производстве арматурных работ и отслеживаемости в процессе эксплуатации на прокат периодического профиля наносят прокатную маркировку.
5.8.3 Прокатная маркировка должна содержать следующую обязательную информацию:
- класс проката;
- изготовитель (номер для маркировки, буквенная аббревиатура, полное наименование по
таблице В.2 или другая аутентичная маркировка).
Допускается включать в прокатную маркировку другую дополнительную информацию о прокате.
5.8.4 Прокатную маркировку допускается наносить на поверхность проката в виде:
- различных геометрических символов, утолщенных ребер, выемок, отсутствующих ребер, ребер с отличным от других наклоном и др.;
- группы знаков из букв и/или цифр;
- комбинации символов и знаков.
5.8.5 Геометрические символы и знаки из букв и цифр наносят на поверхность проката с периодичностью не более 1,8 м.
5.8.6 Допускается не наносить прокатную маркировку, в случае если форма профиля (конфигурация и расположение ребер) обеспечивает безошибочно идентификацию изготовителя и класс проката. Такая идентификация может быть подтверждена документом государственной регистрации (товарным знаком).
5.8.7 Рекомендуемая маркировка проката периодического профиля приведена в
приложении В.
5.8.8 При несоответствии механических свойств проката маркировке класса, нанесенной при прокатке, фактический класс проката должен быть указан в документе о качестве и отражен на ярлыке, прикрепляемом к каждой пачке или мотку.
5.8.9 Мотки, состоящие из двух отрезков, маркируют дополнительной информацией на товарных ярлыках словами: "два отрезка".
5.9 Упаковка
5.9.1 Общие требования к упаковке проката - по
ГОСТ 7566.
5.9.2 Прутки упаковывают в пачки массой от 2 до 10 т включительно. По требованию заказчика масса пачки может быть менее 2 т. По согласованию изготовителя с заказчиком допускается оговаривать другую максимальную массу пачки.
5.9.3 При поставке прутков мерной с немерной длиной (МД1) прутки немерной длины должны быть упакованы в одной пачке.
5.9.4 Количество обвязок пачек и материал для упаковки выбирает изготовитель.
5.9.5 Каждый моток должен быть обвязан по окружности не менее чем в трех местах, равномерно распределенных по периметру, холоднокатаной лентой по
ГОСТ 503, проволокой по
ГОСТ 3282, катанкой по
ГОСТ 30136 или по другим нормативным документам, согласованным между изготовителем и заказчиком. Концы мотков должны быть уложены и легко находимы.
6. Дополнительные технические требования к прокату,
устанавливаемые в заказе по согласованию
изготовителя с заказчиком
6.1 Дополнительный набор требований к прокату классов А400, А500 и А600, предназначенному для применения при армировании сборных ненапряженных железобетонных конструкций и при возведении монолитного железобетона
6.1.1 Сортамент
6.1.1.1 Поставка проката периодического профиля номинальным диаметром более 40 мм.
Номинальный диаметр, номинальная площадь, предельные отклонения, класс и другие требования к сортаменту проката согласовывают в заказе.
Предельные отклонения массы 1 м длины проката:
- для группы предельных отклонений ОМ1 - +/- 4,5%;
- для группы предельных отклонений ОМ2 - от минус 1% до минус 3%.
6.1.1.2 Допускается в партии прутков немерной длины наличие прутков длиной от 3 до 6 м в количестве не более 7%.
6.1.2 Допускается поставка проката всех классов с профилем другой формы, чем указано в
5.2, не ухудшающей требований к прокату, изложенных в настоящем стандарте.
6.1.3 Химический состав
6.1.3.1 Химический состав стали - по
таблице 4 со следующим дополнением:
- для проката классов А400, А500 и А600 допускается повышение массовой доли углерода (C) до 0,26 (0,28)% при условии выполнения требований механических свойств в соответствии с
таблицами 5 или
7.
6.1.4 Свариваемый прокат
6.1.4.1 Прокат класса А240С, изготовленный способом 1 по
таблице 3, гарантируется как свариваемый, а углеродный эквивалент (C
экв) не нормируется и не контролируется.
6.1.4.2 Гарантия прочности крестообразных соединений контактно-точечной сваркой проката классов А400, А500, А600 обеспечивается:
- удовлетворительными результатами испытаний на изгиб и на срез в соответствии с требованиями
приложения Г.
При оформлении заказа в этом случае в условном обозначении указывают ссылку на настоящий пункт.
6.1.4.3 Прокат классов А400С, А500С и А600С гарантируется как свариваемый одновременным выполнением следующих требований:
- введением в сталь для проката классов А500С и А600С одновременно, по отдельности или в любом сочетании легирующих элементов V, Nb, Mo в количестве до 0,10% для каждого элемента при их суммарной массовой доле не более 0,15%. Суммарная массовая доля легирующих элементов должна быть не менее 0,05%;
- значением углеродного эквивалента (Cэкв), %, не более, для проката класса:
А400С - 0,62 (0,64),
А500С, А600С - 0,50 (0,52).
Без скобок указано значение углеродного эквивалента, рассчитанного по массовой доле элементов по ковшовой пробе, в скобках - в готовом прокате;
- обеспечением прочностных свойств

сварных соединений при испытании на отрыв, составляющих не менее 90% значений

, установленных в
таблицах 5 и
7;
- удовлетворительными результатами испытаний на растяжение в соответствии с требованиями
приложения Г. При этом в документе о качестве указывают информацию о протоколе испытаний сварных соединений (номер протокола, дату, наименование и реквизиты испытательной лаборатории). Копию протокола испытаний сварных соединений предоставляют по требованию заказчика.
6.1.4.4 Для проката классов А500С и А600С допускается вместо введения в сталь легирующих элементов V, Nb, Mo гарантировать свариваемость значением углеродного эквивалента C
экв, %, в пределах:
для проката номинальным диаметром, мм:
до 12 включительно - 0,26 - 0,50 (0,52);
св. 12 " 18 " - 0,30 - 0,50 (0,52);
" 20 " 28 " - 0,35 - 0,50 (0,52);
" 32 " 40 " - 0,40 - 0,50 (0,52).
В этом случае в документе о качестве после величины углеродного эквивалента указывают слова: "с учетом
6.1.4.4".
Остальные требования - согласно
6.1.4.3.
6.1.5 Требования к механическим свойствам
6.1.5.1 Прокат с гарантией механических свойств по категориям пластичности H и E при испытании на растяжение - в соответствии с таблицей 7.
Таблица 7
Механические свойства проката с категориями
пластичности H и E при испытании на растяжение
Категория пластичности | Класс проката | Предел текучести  , Н/мм 2, не менее ( Cmin) | Временное сопротивление  , Н/мм 2, не менее ( Cmin) | Отношение фактических значений  | Относительное удлинение, %, не менее (Cmin) |
| |
H | А400 | 390 | 590 | Не менее 1,08 (Cmin) | 16 | 5 |
А500 | 500 | 600 |
А600 | 600 | 700 | 14 |
E | А400 | 390 | 590 | 1,15 - 1,35 (Cmin - Cmax) | 16 | 7 |
А500 | 500 | 600 |
А600 | 600 | 700 |
Примечания 1 Для проката класса А400, произведенного способом 2 по таблице 3, допускается снижение временного сопротивления  на 90 Н/мм 2. 2 Для проката класса А500, произведенного способом 3 по таблице 3, допускается снижение временного сопротивления  на 50 Н/мм 2. 3 Cmax - величина, соответствующая верхней границе отношения фактических значений  . |
6.1.6 Требования к выносливости проката при многократно повторяющихся циклических нагрузках
6.1.6.1 Прокат должен гарантировать обеспечение выносливости при многократно повторяющихся циклических нагрузках (У) в соответствии с таблицей 8.
Таблица 8
Требования к испытаниям проката на выносливость
при многократно повторяющихся циклических нагрузках
Параметр испытаний | Класс проката |
А400 | А500, А600 |
Число циклов до разрушения | Не менее 2 млн |
Максимальное напряжение  , Н/мм 2 | 270 | 300 |
Амплитуда напряжений  , Н/мм 2 | 150 |
Частота приложения усилия f, Гц | От 1 до 200 включ. |
Величина свободной (центральной) зоны образца проката, мм | Не менее 140 |
6.1.7 Прокат должен гарантировать обеспечение стойкости к коррозионному растрескиванию (К) в течение 40 ч.
6.2 Дополнительный набор требований к прокату классов Ап600, А800 и А1000, предназначенному для применения при армировании предварительно напряженных железобетонных конструкций
6.2.1 Поставка проката классов А800 и А1000 с профилем форм 1ф и 4ф.
6.2.2 Поставка проката всех классов с профилем другой формы, чем указано в
5.2, не ухудшающей требования к прокату, изложенные в настоящем стандарте.
6.2.3 Допустимость в партии прутков немерной длины наличия прутков длиной от 3 до 6 м в количестве не более 7%.
6.2.4 Требования свариваемости
6.2.4.1 При заказе свариваемого проката классов Ап600С, А800С и А1000С свариваемость гарантируется:
- значением углеродного эквивалента (Cэкв), %, не более 0,65 (0,67). Без скобок указано значение углеродного эквивалента, рассчитанного по массовой доле элементов по ковшовой пробе, в скобках - в готовом прокате;
- обеспечением прочностных свойств

сварных соединений при испытании на отрыв, составляющих не менее 90% значений

, установленных в
таблице 5.
6.2.5 Требования к механическим свойствам
6.2.5.1 Прокат класса Ап600 с гарантией механических свойств по категориям пластичности H и E при испытании на растяжение - в соответствии с
таблицей 7 для класса А600.
6.2.6 Прокат с гарантией обеспечения стойкости к коррозионному растрескиванию (К) в течение 100 ч.
6.2.7 Требования к релаксации напряжений и условному пределу упругости
6.2.7.1 Релаксация напряжений при температуре

не должна превышать 4% за 1000 ч при начальном усилии, равном 70% нормируемого минимального значения временного сопротивления

по
таблице 5.
6.2.7.2 Условный предел упругости

должен быть не менее 85% от нормируемого минимального значения предела текучести

по
таблице 5.
6.3 В заказе дополнительные требования указывают путем ссылки на соответствующие подпункты (например: "с учетом 6.2.7.2"), а также указывают норму и методику контроля, если она не установлена.
7. Примеры условных обозначений
Примеры условных обозначений проката, которые должны применяться при оформлении заказа, приведены в
приложении Д.
8.1 Правила приемки проката - по
ГОСТ 7566 со следующими дополнениями.
8.2 Прокат принимают партиями. Партия должна состоять из проката одной формы профиля, одного номинального диаметра, одного класса, одной плавки стали, изготовленного одним способом производства, и должна сопровождаться одним документом о качестве. Масса партии должна быть не более объема одной плавки.
Допускается предъявлять к приемке прокат сборными партиями, состоящими из проката не более чем четырех плавок стали. При этом в плавках, входящих в одну сборную партию, разница по массовой доле углерода не должна превышать 0,03%, по массовой доле марганца - 0,15%. Все нормируемые показатели проката сборной партии определяют по плавке, имеющей наименьшее значение углеродного эквивалента.
8.3 Прокат принимают с определением следующих характеристик:
- химического состава по ковшовой пробе или в готовом прокате. При заказе проката с гарантией свариваемости (C) - углеродного эквивалента;
- геометрических параметров (h, t);
- относительной площади смятия поперечных ребер периодического профиля или статистической надежности показателей в соответствии с
8.14 после наработки представительной выборки;
- кривизны прутков;
- массы 1 м длины;
- качества поверхности;
- механических свойств при растяжении, в том числе при заказе категорий пластичности (E и H) или статистической надежности показателей в соответствии с
8.14 после наработки представительной выборки;
- свойств при изгибе или изгибе с разгибом.
8.4 Отбор проб для контроля проката - в соответствии с таблицей 9.
Таблица 9
План отбора проб для испытаний проката
Контролируемый параметр | Количество проб [прутков (мотков) или образцов] от партии на каждый вид испытаний, не менее |
Приемка по гарантированным браковочным значениям | Оценка уровня качества при долговременном контроле <1> |
Химический состав, углеродный эквивалент | Одна проба от плавки или по одной пробе от каждой плавки, входящей в сборную плавку | Две пробы от плавки или по две пробы от каждой плавки, входящей в сборную плавку |
Масса 1 м длины проката <2> | 1 | 2 |
Качество поверхности | Не менее 5% прутков или мотков | Не проводится |
Кривизна прутков | Не менее 5% прутков | Не проводится |
Геометрия поверхности (профиля) <3> | 1 | 2 |
Предел текучести <2>, временное сопротивление  | 1 | 2 |
Отношение фактических значений <2> | 1 | 2 |
Относительное удлинение  и  или <2> | 1 | 2 |
Условный предел упругости  | 1 | 2 |
Релаксация напряжений при растяжении | 1 | 2 |
Изгиб или изгиб с разгибом | 1 | 2 |
<1> При включении в протокол испытаний результатов долговременного контроля уровня качества (входят пробы приемки по гарантированным браковочным значениям). <2> Измерения и испытания осуществляют минимум на одном образце, отобранном от каждых 70 т поставляемой партии, но не более чем на трех образцах от всей партии. <3> Для контроля геометрических параметров профиля формы 3ф пробы отбирают от 10% общего количества мотков (пачек) в партии, но не менее чем от трех мотков (пачек). |
8.5 Прутки (мотки) или образцы для испытаний согласно
таблице 9 должны быть отобраны случайно от одной партии.
8.6 Контроль геометрических параметров сечения периодического профиля, кривизны прутков, массы 1 м длины, механических свойств и качества поверхности проводят на расстоянии не менее трех метров от конца при поставке проката в мотках и на расстоянии не менее 150 мм - при поставке в прутках.
8.6.1 При поставке проката, изготовляемого способом 2 по
таблице 3 в мотках, допускается наличие переднего и заднего концов проката без гарантии механических свойств по
таблицам 5 и
7. Длину таких участков согласовывают в заказе между изготовителем и заказчиком.
8.7 Отбор проб для контроля химического состава - по
ГОСТ 7565.
8.8 Общие правила отбора проб для механических и технологических испытаний (на изгиб или изгиб с разгибом) - по
ГОСТ 7564.
8.9 Испытания на свариваемость осуществляют при постановке проката на производство в соответствии с
9.5, а затем не реже одного раза в год в соответствии с требованиями
приложения Г. В случае изменения технологии или способа производства цикл испытаний на свариваемость осуществляют заново в соответствии с
9.5.
8.10 Объем испытаний проката на свариваемость - в соответствии с
приложением Г.
8.11 Испытания на выносливость при многократно повторяющихся циклических нагрузках проводят на момент постановки проката с указанным требованием на производство, а затем не реже одного раза в год. Отбор образцов - в соответствии с
приложением Е.
В случае изменения технологии или способа производства испытания проводят заново.
8.12 Испытания стойкости проката к коррозионному растрескиванию проводят на момент постановки проката с указанным требованием на производство, а затем не реже одного раза в год. В случае изменения технологии и химического состава (марки стали) цикл испытаний на стойкость проката против коррозионного растрескивания осуществляют заново в соответствии с настоящим подразделом. Объем испытаний проката на стойкость против коррозионного растрескивания - в соответствии с
приложением Ж.
8.13 Приемка проката по гарантированным минимальным браковочным значениям.
8.13.1 Приемку по гарантированным браковочным значениям осуществляют для определения соответствия каждого нормируемого показателя проката требованиям настоящего стандарта по крайним (граничным) значениям: Cmin - минимальным и Cmax - максимальным.
8.13.2 Каждый единичный результат испытаний, кроме испытаний при растяжении, должен удовлетворять требованиям настоящего стандарта.
8.13.3 Значения результатов любых единичных испытаний "
X" при растяжении для определения механических характеристик

,

,

,

(

,

) на соответствие
таблице 5 или
7 должны соотноситься с нормативными значениями (C
min) как нижним пределом значений по формуле:
"X" >= Cmin + a1, (2)
где a1:
- 10 Н/мм
2 - для

и

,
- 0,01 - для

,
- 0,3% - для

,

,
- 1% - для

.
8.13.3.1 Значения результатов любых единичных испытаний "
X" при растяжении для определения характеристики
таблицы 7 должны соотноситься с нормативными значениями (C
max): все отдельные значения "
X" ниже или равны указанной характеристике (C
max).
8.13.4 Испытуемая партия, которая не соответствует техническим требованиям хотя бы по одному параметру, определяемому в
8.13.2 и
8.13.3, должна быть подвергнута повторным испытаниям. Для этого от партии для параметра, не прошедшего испытания, отбирают удвоенное количество образцов.
8.13.4.1 Если все результаты повторных испытаний соответствуют требованиям по испытуемому параметру, то партия соответствует требованиям настоящего стандарта. Если хотя бы один из результатов повторных испытаний не отвечает требованиям настоящего стандарта по испытуемому параметру, то вся партия не принимается.
8.14 Оценка уровня качества проката при долговременном контроле.
8.14.1 Оценку уровня качества проката при долговременном контроле проводят для определения достоверности соответствия настоящему стандарту показателя относительной площади смятия
fR и механических свойств для

,

,

и

(

или

) проката партии, нескольких партий и всего объема производства за установленный период времени по результатам единичных испытаний.
8.14.2 Для определения статистических показателей используют выборку результатов контрольных испытаний. Выборка, на основании которой проводят определение статистических показателей, должна быть представительной и охватывать длительный промежуток времени, не менее 6 мес (или последние 200 испытанных образцов), в течение которого технологический процесс производства проката оставался неизменным. Число партий (плавок) для формирования представительной выборки должно быть не менее 5.
8.14.3 Значения параметра
fR и механических свойств проката при растяжении для

,

,

,

и

считают достоверными для всего объема производства за установленный период времени, если вероятные значения их величин (обеспеченность
P = 0,95 для
fR,

,

и

и
P = 0,90 для

(

,

), рассчитанные по
формулам 3 и
4, не выходят за нижние (минимальные C
min) или верхние (максимальные C
max) значения параметров, установленных в
таблицах 5 и
7.
8.14.4 Для показателей
fR,

,

,

,

(

,

) должны удовлетворяться следующие требования:
где xср - среднее ожидаемое значение выборки;
k - коэффициенты, как функции количества испытаний n для достоверной частоты отказов:
- 5% (
P = 0,95) при вероятности 90% - приведены в
таблице 10 (для
fR,

,

и

);
- 10% (
P = 0,90) при вероятности 90% - приведены в
таблице 11 (для

(

или

));
s - стандартное отклонение результатов выборки;
C
min, C
max - величина, соответствующая нижним или верхним границам соответствующих параметров, приведенных в
таблицах 2,
5 и
7.
Таблица 10
Значение коэффициента
k в зависимости
от количества испытаний n для определения
достоверной частоты отказов, равной 5%
n | k | n | k | n | k | n | k |
5 | 3,40 | 13 | 2,40 | 30 | 2,08 | 150 | 1,82 |
6 | 3,09 | 14 | 2,36 | 40 | 2,01 | 200 | 1,79 |
7 | 2,89 | 15 | 2,33 | 50 | 1,97 | 250 | 1,78 |
8 | 2,75 | 16 | 2,30 | 60 | 1,93 | 300 | 1,77 |
9 | 2,65 | 17 | 2,27 | 70 | 1,90 | 400 | 1,75 |
10 | 2,57 | 18 | 2,25 | 80 | 1,89 | 500 | 1,75 |
11 | 2,50 | 19 | 2,23 | 90 | 1,87 | 1000 | 1,71 |
12 | 2,45 | 20 | 2,21 | 100 | 1,86 | | 1,64 |
Таблица 11
Значение коэффициента
k в зависимости
от количества испытаний n для определения
достоверной частоты отказов, равной 10%
n | k | n | k | n | k | n | k |
5 | 2,74 | 13 | 1,93 | 30 | 1,66 | 150 | 1,43 |
6 | 2,49 | 14 | 1,90 | 40 | 1,60 | 200 | 1,41 |
7 | 2,33 | 15 | 1,87 | 50 | 1,56 | 250 | 1,40 |
8 | 2,22 | 16 | 1,84 | 60 | 1,53 | 300 | 1,39 |
9 | 2,13 | 17 | 1,82 | 70 | 1,51 | 400 | 1,37 |
10 | 2,07 | 18 | 1,80 | 80 | 1,49 | 500 | 1,36 |
11 | 2,01 | 19 | 1,78 | 90 | 1,48 | 1000 | 1,34 |
12 | 1,97 | 20 | 1,77 | 100 | 1,47 | | 1,28 |
8.14.5 Оценка уровня качества при долговременном контроле базируется на предположении о нормальном распределении большого количества единичных результатов.
Примечание - Чтобы установить соответствие продукции с заданной достоверностью требованиям настоящего стандарта, можно использовать другие альтернативные статистические методы:
- графические;
- непараметрические.
8.14.6 В случае, если при долговременном контроле уровня качества требования параметров
fR,

,

и

и

(

или

) не соответствуют
8.14.4, то изготовитель обязан принять все необходимые технические, технологические или другие меры по устранению причин получения неудовлетворительных результатов.
8.14.7 Характер и объем принимаемых мер по устранению причин получения неудовлетворительных результатов определяет изготовитель, но обязательным условием должно быть увеличение частоты фиксированных контрольных испытаний для получения новой оценки долгосрочного уровня качества.
8.14.8 В период набора новых данных и до получения результатов долговременного контроля уровня качества, отвечающих требованиям
8.14.4, изготовитель обязан проводить приемочные испытания каждой партии проката в соответствии с
8.13.
8.14.9 Результаты оценки долговременного контроля уровня качества проката должны обновляться каждые шесть месяцев.
8.15 Каждая поставляемая партия проката должна сопровождаться документом о качестве, в котором указывают:
- наименование, товарный знак (при наличии), юридический адрес изготовителя;
- наименование заказчика;
- номер заказа;
- наименование продукции;
- номер вагона или другого транспортного средства;
- форму периодического профиля;
- номинальный диаметр;
- группу предельных отклонений по массе 1 м длины (ОМ1 или ОМ2);
- класс проката с указанием дополнительного набора технических требований в случае их заказа (С, Н, Е, К, У);
- данные конкретных испытаний (контроля):
а) относительную площадь смятия поперечных ребер (fR);
б) химический состав;
в) углеродный эквивалент (при заказе проката с гарантией свариваемости);
г) условия отбора и подготовки проб для проведения испытаний на растяжение и изгиб или изгиб с разгибом (И1 или И2);
д) физический или условный предел текучести (

или

);
е) временное сопротивление

;
ж) отношение фактических значений временного сопротивления

к физическому

или условному пределу текучести

[

];
и) относительное удлинение

;
к) равномерное относительное удлинение

или полное относительное удлинение

при максимальной нагрузке;
л) результаты испытаний на изгиб в холодном состоянии или на изгиб с разгибом;
м) гарантию обеспечения релаксации напряжений при растяжении для проката классов Ап600, А800, А1000 (при указании в заказе);
н) гарантию условного предела упругости для проката классов Ап600, А800, А1000 (при указании в заказе);
п) гарантию требований на выносливость при многократно повторяющихся циклических нагрузках (при указании в заказе);
р) гарантия требований на стойкость против коррозионного растрескивания (при указании в заказе);
- результаты оценки (заключение), подтверждающие статистическую надежность при долговременном контроле уровня качества после наработки представительной выработки (по требованию заказчика). В этом случае допускается конкретные результаты контроля характеристик:
fR,

,

,

,

(

,

) - в документе о качестве не приводить;
- количество мотков (пачек);
- номер партии;
- массу нетто партии;
- обозначение настоящего стандарта;
- штамп, свидетельствующий о проведении технического контроля и о приемке проката по качеству.
8.15.1 В случае привлечения сторонней организации для проведения испытаний изготовитель обязан прикладывать к документам о качестве копию заключения этой организации по результатам конкретного вида испытаний.
9. Методы контроля (испытаний)
9.1 Изготовитель при выпуске проката с набором дополнительных требований может осуществлять испытания проката самостоятельно с контролем и отражением результатов в сопроводительных документах о качестве или привлекать другие аккредитованные в установленном порядке организации для проведения соответствующего контроля и получать от них заключения по результатам для конкретных видов испытаний.
--------------------------------
<*> В Российской Федерации допускается использовать
ГОСТ Р 54153-2010 "Сталь. Метод атомно-эмиссионного спектрального анализа".
При разногласиях в оценке качества оценку проводят методами по указанным стандартам.
9.3 Величину углеродного эквивалента Cэкв рассчитывают по формуле
Cэкв = C + Mn/6 + (Cr + V + Mo)/5 + (Cu + Ni)/15, (5)
где C, Mn, Cr, V, Mo, Cu, Ni - фактическая массовая доля углерода, марганца, хрома, ванадия, молибдена, меди и никеля по ковшовой пробе или в готовом прокате, %.
9.4 Величину азотного эквивалента Nэкв вычисляют по формуле
Nэкв = 0,8(0,52Al + 0,29Ti + 0,27V + 0,15Nb), (6)
где Al, Ti, V, Nb - фактическая массовая доля алюминия, титана, ванадия и ниобия по ковшовой пробе или в готовом прокате, %.
9.5 Методы контроля и испытаний проката на свариваемость сварных соединений:
- классов А400, А400С, А500, А500С, А600, А600С и Ап600С - согласно
приложению Г;
- классов А800С и А1000С - по согласованию изготовителя с заказчиком.
9.6 Контроль качества поверхности проводят без применения увеличительных приборов.
9.7 Контроль размеров и геометрических параметров проводят стандартизованными средствами измерения и средствами допускового контроля.
9.8 Расчетные величины определяют в соответствии с
приложением А.
9.9 Массу 1 м длины проката определяют по
ГОСТ 12004.
9.10 Методы измерения отклонений формы - в соответствии с
ГОСТ 26877.
9.11 Контроль механических свойств, испытания на изгиб (изгиб с разгибом), испытания на выносливость, определение стойкости против коррозионного растрескивания, контроль параметров периодического профиля, массы 1 м длины проводят на выпрямленных образцах в состоянии поставки или после правки. Способ правки - по
ГОСТ 7564 и
ГОСТ 12004.
9.12 Испытание на растяжение проводят по
ГОСТ 12004 со следующими дополнениями.
9.12.1 При отсутствии площадки текучести определяют условный предел текучести

, исходя из напряжения, при котором остаточная деформация составляет 0,2%.
9.12.2 Для определения значений

и

для проката используют номинальную площадь поперечного сечения, приведенную в
таблице 1.
9.12.3 Методику нагрева образцов для контроля механических свойств проката классов Ап600, А800 и А1000 после нагрева устанавливают по согласованию изготовителя с заказчиком.
Допускается при определении механических свойств применение печного нагрева при температурах на 50 °C ниже указанных в
таблице 5 и выдержка образцов после их нагрева в течение 15 мин.
9.13 Испытание проката на изгиб проводят по
ГОСТ 14019.
9.14 Испытание проката на изгиб с разгибом проводят в соответствии с
приложением Б.
9.15 Испытание и контроль проката на выносливость при многократно повторяющихся циклических нагрузках проводят в соответствии с
приложением Е.
9.16 Стойкость проката к коррозионному растрескиванию контролируют в соответствии с
приложением Ж или по методике, согласовываемой между изготовителем и заказчиком
<**>.
--------------------------------
<**> В Российской Федерации допускается использовать
ГОСТ Р 52804-2007 "Защита бетонных и железобетонных конструкций от коррозии. Методы испытаний".
9.17 Испытания на релаксацию напряжений при растяжении проводят на цилиндрических образцах в соответствии с
ГОСТ 26007. Категорию точности, место отбора и длину образцов, температуру испытаний согласовывают при заказе.
9.18 Определение значений условного предела упругости

при растяжении - в соответствии с
ГОСТ 12004.
10. Транспортирование и хранение
10.1 Общие правила транспортирования и хранения проката - по
ГОСТ 7566.
10.2 Прокат транспортируют всеми видами крытого и открытого транспорта в соответствии с правилами перевозок, действующими на данном виде транспорта.
11. Требования по безопасности и охране окружающей среды
11.1 Во время изготовления проката должны соблюдаться общие требования безопасности производственных процессов по
ГОСТ 12.3.002.
11.2 Эффективная удельная активность любых радионуклидов в прокате, используемом для строительства производственных и жилых зданий и сооружений, не должна превышать 0,3 кБк/кг.
Допускается изготовителю гарантировать непревышение нормы эффективной активности радионуклидов технологией изготовления проката.
11.3 При производстве стали должны соблюдаться требования
[1]. Преднамеренное применение свинца, кадмия, шестивалентного хрома и ртути запрещено. Максимальная масса свинца, шестивалентного хрома и ртути не должна превышать 0,1% каждого элемента, массовая доля кадмия не должна превышать 0,01%.
Массовую долю свинца, кадмия, шестивалентного хрома и ртути в документе о качестве допускается не указывать, но гарантировать и привести информацию об отсутствии превышения указанных выше значений.
11.4 Во время изготовления проката на различных стадиях технологического процесса содержание вредных веществ в воздухе рабочей зоны не должно превышать предельно допустимых концентраций (ПДК) по
ГОСТ 12.1.005.
(обязательное)
ОПРЕДЕЛЕНИЕ ГЕОМЕТРИЧЕСКИХ ПАРАМЕТРОВ
ПЕРИОДИЧЕСКОГО ПРОФИЛЯ
А.1 Геометрические параметры периодического профиля проката контролируют измерительными инструментами, обеспечивающими измерения размеров с погрешностями, не превышающими установленных
ГОСТ 8.051, или другими методами, обеспечивающими необходимую точность.
А.2 Величину высоты поперечных ребер h периодического профиля рассчитывают как среднеарифметическое значение минимум трех измерений в месте максимальной высоты по длине ребер и для каждого ряда ребер, как показано на рисунке А.1 на примере профиля формы 1ф.
Рисунок А.1
А.3 Шаг поперечных ребер t определяют для каждого ряда ребер измерением участка проката, включающего в себя не менее пяти шагов поперечных ребер.
А.4 Суммарное расстояние между концами поперечных ребер

определяют как среднеарифметическое значение не менее трех измерений ширины продольного ребра 2·
b1 для профиля формы 1ф, 2·
e - для профиля формы 2ф, 3·
e - для профиля формы 3ф и 4·
e - для профиля формы 4ф.
А.5 Характеристику сцепления проката с бетоном - относительную площадь смятия поперечных ребер
fR для профилей форм 1ф, 2ф, 3ф и 4ф определяют по формулам (А.1) или
(А.3):

(А.1)
где K - число рядов поперечных ребер, равное:
для профилей форм 1ф и 2ф - 2;
для профиля формы 3ф - 3;
для профиля формы 4ф - 4.
F'R - фактическая площадь проекции одного ребра в зависимости от изготовляемой формы профиля (

,

и

);

- угол наклона поперечного ребра;
t - шаг поперечных ребер, мм;
dф - фактический диаметр проката, мм, определяемый по формуле

(А.2)
где m - масса исследуемого образца, г;
l - длина исследуемого образца, мм.
Рисунок А.2
А.6 При измерении высоты поперечного ребра в его середине h, а также в точках 1/4 (h1/4) и 3/4 (h3/4) (рисунок А.2), величину fR каждого ряда ребер профиля любой формы определяют по формуле А.3. Величину fR, определяемую по формуле А.3, принимают как среднеарифметическое значение при расчете этой величины для трех ребер.

(А.3)
где 2e - суммарное расстояние между концами поперечных ребер, мм;
h - высота поперечного ребра в его середине, мм;
h1/4, h3/4 - высота поперечного ребра в точках 1/4 и 3/4 его длины, мм;
dн - номинальный диаметр проката, принимаемый по
таблице 1.
А.7 Для поперечных ребер, имеющих серповидную форму (профили форм 2ф и 3ф), величину фактической площади одного поперечного ребра

допускается вычислять по формуле А.4 (см.
рисунок А.3).

(А.4)
где h - высота поперечного ребра в его середине, мм;
U - расстояние между крайними точками серповидного ребра.
А.7.1 Для определения расстояния между крайними точками серповидного ребра проката l проводят не менее трех измерений величины для каждого ряда поперечных ребер. Для расчета используют среднеарифметическое значение всех измерений.
А.8 Для поперечных ребер, имеющих кольцевую форму (профиль формы 1ф), величину фактической площади одного ряда поперечных ребер

допускается вычислять по формуле А.5 (см.
рисунок А.4)

(А.5)
где

, мм;
d - диаметр основного тела профиля в вертикальной плоскости, мм.
А.9 Для поперечных ребер, имеющих сегментную форму, фактическую площадь одного ряда поперечных ребер проката

допускается вычислять по формуле А.6 (см.
рисунок А.5)

(А.6)
А.10 Допускается вычислять значения

,

,

,
fR по другим формулам, согласованным между изготовителем и заказчиком. В этом случае информацию об использованных формулах изготовитель обязан включать в документ о качестве.
А.11 Рекомендуемые для построения калибров размеры и предельные отклонения геометрических параметров периодических профилей форм 1ф, 2ф, 3ф и 4ф приведены в таблицах А.1 -
А.4.
Таблица А.1
Размеры и предельные отклонения геометрических
параметров периодического профиля формы 1ф
Номинальный диаметр проката dн, мм | Параметр периодического профиля |
d, мм | h, мм | d1, d2, мм | t, мм | b, мм, не менее | b1, мм | h1, мм |  , не менее | |
номинальный | предельное отклонение | номинальная | предельное отклонение | номинальный | предельное отклонение, % | min | max |
6 | 5,75 | +0,3 -0,5 | 0,5 | +/- 0,25 | 6,75 | 5 | +/-15 | 0,5 | 1 | 0,5 | 45° | 35° | 90° |
8 | 7,5 | 0,75 | 9 | 7 | 0,75 | 1,25 | 0,75 |
10 | 9,3 | 1 | +/- 0,5 | 11,3 | 8 | 1 | 1,5 | 1 |
12 | 11 | 1,25 | 13,5 | 8 | 1 | 2 | 1,25 |
14 | 13 | 1,25 | 15,5 | 12 | 1 | 2 | 1,25 |
16 | 15 | 1,5 | 18 | 14 | 1,5 | 2 | 1,5 |
18 | 17 | 1,5 | 20 | 14 | 1,5 | 2 | 1,5 |
20 | 19 | 1,5 | 22 | 16 | 1,5 | 2 | 1,5 |
22 | 21 | +0,4 -0,5 | 1,5 | 24 | 18 | 1,5 | 2 | 1,5 |
25 | 24 | 1,5 | 27 | 20 | 1,5 | 2 | 1,5 |
28 | 26,5 | +0,4 -0,7 | 2 | +/- 0,7 | 30,5 | 20 | 1,5 | 2,5 | 2 |
32 | 30,5 | 2 | 34,5 | 20 | 2 | 3 | 2 |
36 | 34,5 | 2,5 | 39,5 | 24 | 2 | 3 | 2,5 |
40 | 38,5 | 2,5 | 43,5 | 24 | 2 | 3 | 2,5 |
Таблица А.2
Размеры и предельные отклонения геометрических
параметров периодического профиля формы 2ф
Номинальный диаметр проката dн, мм | Параметр периодического профиля |
d, мм | h, мм, не менее | d1, d2, мм | t, мм | b, мм, не менее | e, мм, не более |  , не менее | |
номинальный | предельное отклонение | номинальный | предельное отклонение, % | min | max |
6 | 5,8 | +0,3 -0,5 | 0,4 | 7,0 | 4 | +/- 15 | 0,6 | 1,9 | 45° | 35° | 75° |
8 | 7,7 | 0,6 | 9,3 | 5 | 0,8 | 2,5 |
10 | 9,5 | 0,8 | 11,5 | 6 | 1,0 | 3,1 |
12 | 11,3 | 1,0 | 13,7 | 7 | 1,2 | 3,8 |
14 | 13,3 | 1,1 | 15,9 | 8 | 1,4 | 4,4 |
16 | 15,2 | 1,2 | 18,0 | 9 | 1,6 | 5,0 |
18 | 17,1 | 1,3 | 20,1 | 10 | 1,8 | 5,6 |
20 | 19,1 | 1,4 | 22,3 | 11 | 2,0 | 6,3 |
22 | 21,1 | +0,4 -0,5 | 1,5 | 24,5 | 12 | 2,2 | 6,9 |
25 | 24,1 | 1,7 | 27,7 | 13 | 2,5 | 7,9 |
28 | 27,0 | +0,4 -0,7 | 1,9 | 31,0 | 15 | 2,8 | 8,8 |
32 | 30,7 | 2,2 | 35,1 | 16 | 3,2 | 10,0 |
36 | 34,5 | 2,4 | 39,5 | 18 | 3,6 | 11,3 |
40 | 38,4 | 2,7 | 43,8 | 20 | 4,0 | 12,5 |
Таблица А.3
Размеры и предельные отклонения геометрических
параметров периодического профиля формы 3ф
Номинальный диаметр проката dн, мм | Параметр периодического профиля |
h, мм, не менее | di, мм | t, мм | b, мм, не менее | e, мм, не более |  , не менее | |
номинальный | предельное отклонение | номинальный | предельное отклонение, % | min | max |
4 | 0,30 | 4,1 | +/- 0,2 | 3 | +/-15 | 0,3 | 1,0 | 45° | 35° | 75° |
4,5 | 0,34 | 4,6 | 3 | 0,3 | 1,1 |
5 | 0,36 | 5,1 | +/- 0,25 | 3,5 | 0,35 | 1,2 |
5,5 | 0,36 | 5,7 | 3,5 | 0,35 | 1,4 |
6 | 0,40 | 6,2 | +/- 0,3 | 4,5 | 0,4 | 1,5 |
6,5 | 0,40 | 6,7 | 4,5 | 0,4 | 1,6 |
7,0 | 0,46 | 7,3 | 5 | 0,5 | 1,8 |
7,5 | 0,46 | 7,8 | 5 | 0,5 | 1,9 |
8,0 | 0,56 | 8,3 | +/- 0,4 | 6 | 0,6 | 2,0 |
8,5 | 0,56 | 8,9 | 6 | 0,6 | 2,2 |
9,0 | 0,60 | 9,4 | 6 | 0,8 | 2,3 |
9,5 | 0,60 | 9,9 | 6 | 0,8 | 2,4 |
10,0 | 0,65 | 10,5 | +/- 0,5 | 7 | 0,8 | 2,5 |
11,0 | 0,80 | 11,6 | 8 | 1,0 | 2,8 |
12,0 | 0,90 | 12,6 | +/- 0,6 | 8 | 1,2 | 3,0 |
Таблица А.4
Размеры и предельные отклонения геометрических
параметров периодического профиля формы 4ф
Номинальный диаметр проката dн, мм | Параметр периодического профиля |
h, мм, не менее | d1, d2, мм | t, мм | b, мм, не менее | e, мм, не более |  , не менее | |
номинальный | предельное отклонение | номинальный | предельное отклонение, % | min | max |
4,0 | 0,32 | 4,23 | +/- 0,2 | 4 | +/- 15 | 0,4 | 0,75 | 45° | 35° | 75° |
4,5 | 0,33 | 4,72 | 4 | 0,4 | 0,85 |
5,0 | 0,36 | 5,24 | +/- 0,25 | 4 | 0,4 | 0,95 |
5,5 | 0,43 | 5,81 | 5 | 0,5 | 1,05 |
6,0 | 0,44 | 6,31 | +/- 0,3 | 5 | 0,6 | 1,15 |
6,5 | 0,50 | 6,86 | 5 | 0,6 | 1,25 |
7,0 | 0,51 | 7,35 | 5 | 0,6 | 1,35 |
7,5 | 0,59 | 7,92 | 6 | 0,6 | 1,45 |
8,0 | 0,60 | 8,41 | +/- 0,4 | 6 | 0,6 | 1,50 |
8,5 | 0,68 | 8,98 | 6 | 0,6 | 1,65 |
9,0 | 0,76 | 9,55 | 7 | 0,7 | 1,75 |
9,5 | 0,78 | 10,05 | 7 | 0,7 | 1,85 |
10,0 | 0,79 | 10,55 | +/- 0,5 | 7 | 0,8 | 1,90 |
11,0 | 0,98 | 11,74 | 8,5 | 0,9 | 2,15 |
12,0 | 1,00 | 12,72 | +/- 0,6 | 8,5 | 1,2 | 2,30 |
13,0 | 1,15 | 13,84 | 10 | 1,2 | 2,55 |
14,0 | 1,20 | 14,84 | +/- 0,7 | 10 | 1,2 | 2,70 |
15,0 | 1,24 | 15,98 | 10 | 1,2 | 2,90 |
16,0 | 1,30 | 17,00 | +/- 0,8 | 12 | 1,4 | 3,10 |
18,0 | 1,40 | 19,20 | 12 | 1,4 | 3,50 |
(обязательное)
К ИСПЫТАНИЮ ПРОКАТА НА ИЗГИБ С РАЗГИБОМ
Б.1 Испытание на изгиб с разгибом проводят на образцах с необработанной поверхностью, имеющих сечение, равное сечению контролируемого проката.
Б.2 Испытание на изгиб с последующим разгибом заключается:
- в пластической деформации образца проката путем изгиба до достижения заданного угла - 90°;
- в старении по режиму: нагрев испытуемого образца до температуры (100 +/- 10) °C, выдержка при данной температуре не менее 60 мин, охлаждение на спокойном воздухе при температуре

;
- в разгибе (обратном изгибе) под действием силы в направлении, противоположном первоначальному, до угла 20°.
Б.3 Испытание проводят на универсальных испытательных машинах или прессах, оборудованных устройствами для изгиба и разгиба. Схемы устройств и испытаний приведены на рисунках Б.1 -
Б.3.
Рисунок Б.1 - Схема устройства для изгиба
Рисунок Б.2 - Схема устройства для разгиба
1 - исходное состояние; 2 - положение после изгиба;
3 - положение после разгиба
Рисунок Б.3 - Схема испытания на разгиб до угла 20°
Б.4 Испытание проводят со скоростью не более 20 градусов/с таким образом, чтобы в зоне растяжения находились поперечные ребра образца.
Б.5 Оси двух опор при изгибе и последующем разгибе должны оставаться в плоскости, перпендикулярной к направлению действия силы.
Б.6 Расстояние между опорами l не должно изменяться при испытании и должно быть равно
l = D + 3,5dн, (Б.1)
dн - номинальный диаметр проката, мм.
Б.7 Углы изгиба

и разгиба

измеряют перед освобождением от нагрузки.
Б.8 Испытуемый образец проката изгибают вокруг оправки диаметром в соответствии с таблицей Б.1.
Таблица Б.1
Диаметр оправки для испытаний на изгиб с разгибом
В миллиметрах
Номинальный диаметр dн | Максимальный диаметр оправки D |
До 16 включ. | 5dн |
Св. 16 до 25 включ. | 8dн |
Св. 25 до 50 | 10dн |
Б.9 Допускается по согласованию изготовителя с заказчиком применять другие диаметры оправок для проведения испытаний на изгиб с разгибом.
(рекомендуемое)
МАРКИРОВКА ПРОКАТА ПЕРИОДИЧЕСКОГО ПРОФИЛЯ
В.1 Буквенно-цифровая маркировка
В.1.1 Маркировку класса проката, в том числе свариваемого, выполняют надписью, соответствующей классу проката по настоящему стандарту, непосредственно на прокате.
Маркировку реализованных в прокате дополнительных требований наносят в обязательном порядке на ярлык: для категорий пластичности - Н или Е; для проката, стойкого к коррозионному растрескиванию, - К; для проката с требованием к выносливости при многократно повторяющихся циклических нагрузках - У; для проката с требованиями по релаксации напряжений - Р. Пример маркировки проката класса А500, свариваемого, приведен на
рисунке В.1 а.
В.1.2 Маркировку изготовителя наносят буквами как аббревиатуру наименования предприятия, полное наименование предприятия или его товарный знак. Пример маркировки приведен на
рисунке В.1 б.
Допускается маркировку изготовителя наносить цифрами, соответствующими присвоенному номеру по
таблице В.2. Пример маркировки приведен на
рисунке В.1 в.
В.1.3 Маркировку класса проката наносят на одной стороне (в одном ряду) поперечных ребер. Маркировку изготовителя наносят на стороне, свободной от маркировки класса проката.
В.1.4 Допускается маркировку класса проката и изготовителя наносить на одной стороне проката при разделении маркировок не менее чем пятью поперечными ребрами.
В.2 Альтернативная маркировка
В.2.1 В качестве альтернативной маркировки класса и изготовителя проката может применяться нанесение маркировки проката сочетанием поперечных ребер обычного наклона с ребрами измененного наклона (см.
рисунки В.2 а и
В.2 б).
В.2.2 Допускается заменять измененный наклон ребра на измененную толщину ребра согласно
рисункам В.3 а и
В.3 б или на пропуски поперечных ребер.
В.2.3 Маркировку класса проката выполняют в зашифрованном виде на одной стороне ребер. Одно ребро с измененным углом наклона (
рисунок В.2 а) или одно утолщенное ребро (
рисунок В.3 а) определяют начало считывания маркировки класса проката. Далее следуют ребра с обычным углом наклона или ребра обычной толщины. Их количество показывает шифр класса в соответствии с
таблицей В.1. Окончание считывания маркировки класса проката определяют одним ребром с измененным углом наклона или одним утолщенным ребром.
В.2.4 Маркировку реализованных в прокате требований из дополнительного набора технических требований допускается не наносить при согласовании в заказе.
В.2.5 Маркировку изготовителя выполняют в зашифрованном виде на стороне, свободной от маркировки класса проката. Два ребра с измененным углом наклона подряд (
рисунок В.2 б) или два утолщенных ребра подряд (
рисунок В.3 б) определяют начало считывания маркировки изготовителя. Далее за ними следуют ребра с обычным углом наклона или обычной толщины. Их количество показывает номер изготовителя согласно присвоенным номерам, приведенным в
таблице В.2. Окончание считывания маркировки изготовителя определяется одним ребром с измененным углом наклона или одним утолщенным ребром.
В.2.6 При маркировке изготовителя присвоенным двузначным номером разделение знаков (десятков и единиц) осуществляется дополнительным ребром с измененным углом наклона или утолщенным ребром, как показано на примере в
таблицах В.3 и
В.4.
Рисунок В.1 - Маркировка проката надписью
Рисунок В.2 - Альтернативная маркировка проката
измененным наклоном поперечных ребер
Рисунок В.3 - Альтернативная маркировка проката
измененной толщиной поперечных ребер
Таблица В.1
Номера для маркировки класса проката
Класс проката | Количество ребер для маркировки классов | Класс проката | Количество ребер для маркировки классов |
А400 | 1 | Ап600 | 4 |
А500 | 2 | А800 | 5 |
А600 | 3 | А1000 | 6 |
Таблица В.2
Номера для маркировки изготовителей проката
Наименование изготовителя | Аббревиатура изготовителя | Номер для маркировки изготовителя |
ПАО "Северсталь" | - | 1 |
ОАО "Челябинский металлургический комбинат" | ЧМК | 2 |
ОАО "Западно-Сибирский металлургический комбинат" | ЗСМК | 3 |
ОАО "Белорусский металлургический завод - управляющая компания холдинга "Белорусская металлургическая компания" | - | 4 |
ОАО "Чусовской металлургический завод" | - | 5 |
ОАО "Магнитогорский металлургический комбинат" | ММК | 6 |
ОАО "Амурметалл" | - | 7 |
ОАО "Оскольский электрометаллургический комбинат" | ОЭМК | 8 |
ОАО "Сулинский металлургический завод" | - | 9 |
ОАО "Магнитогорский метизно-калибровочный завод "ММК-МЕТИЗ" (ОАО "ММК-МЕТИЗ") | ММК-МЕТИЗ | 10 |
ОАО "Салдинский металлургический завод" | - | 11 |
ОАО "Слуцкий металлургический завод" | - | 12 |
ОАО "Нижнесергинский метизно-металлургический завод" | - | 13 |
ОАО "Петровск-Забайкальский металлургический завод" | - | 14 |
ОАО "Ревякинский металлопрокатный завод" | - | 15 |
ОАО "Ижсталь" | - | 16 |
ОАО "Белорецкий металлургический комбинат" | - | 17 |
ПАО "Днепровский металлургический комбинат им. Ф.Э. Дзержинского" | ДМКД | 18 |
ОАО Металлургический завод "Электросталь" | - | 19 |
Филиал "Орловский" ОАО "Северсталь-метиз" | - | 20 |
ОАО "Северсталь-метиз" (г. Череповец) | - | 21 |
ОАО "Моспромжелезобетон" | - | 22 |
ЗАО НПО "Армстройметиз" | - | 23 |
ООО "Производственный комплекс А и М" | - | 24 |
ОАО "Металлургический завод им. А.К. Серова" | СМЗ | 25 |
ООО "ТУЛАЧЕРМЕТ-СТАЛЬ" | - | 26 |
ООО "Текс Плюс" | - | 29 |
ООО "Центрметалл - Метизы" | - | 31 |
ГУП г. Москвы "Литейно-прокатный завод" | - | 33 |
ООО "Абинский Электрометаллургический завод" | - | 34 |
ООО "Мечел-Сервис" | - | 35 |
ООО "РЭМЗ" (Ростовский электрометаллургический завод) | - | 36 |
ООО "НЛМК-Калуга" | НЛМК | 37 |
Филиал ООО "УГМК-Сталь" в г. Тюмени - "МЗ "Электросталь Тюмени" | ЭСТ | 38 |
ООО "Став-Сталь" | - | 39 |
АО "НЛМК-Урал" | - | 923 |
В.2.7 Примеры маркировки проката для изготовителя с номером 1 и 12 приведены в таблице В.3 и
В.4.
Таблица В.3
Пример маркировки изготовителя
проката измененным наклоном ребер
Номер изготовителя | Маркировка |
1 | |
12 | |
Таблица В.4
Пример маркировки изготовителя
проката измененной толщиной ребер
Номер изготовителя | Маркировка |
1 | |
12 | |
В.3 Допускаются другие виды прокатной маркировки класса проката и изготовителя, не снижающие эксплуатационные свойства проката и согласованные с заказчиком.
(обязательное)
МЕТОДЫ КОНТРОЛЯ И ИСПЫТАНИЙ ПРОКАТА НА СВАРИВАЕМОСТЬ
Г.1 Контроль свариваемости (пригодности к сварке) проката соответствующего номинального диаметра проводят путем испытания широко применяющихся в строительстве и в наибольшей степени влияющих на механические свойства сварных соединений в соответствии с таблицей Г.1.
Таблица Г.1
Способ сварки | Номинальный диаметр проката dн, мм | Количество образцов для испытаний на |
растяжение | срез | отрыв | изгиб |
Ручная дуговая сварка протяженными швами внахлестку | 10 - 25 | 6 | - | - | - |
Ванно-шовная сварка на стальной скобе-накладке | 20 - 40 | 6 | - | - | - |
Ручная дуговая сварка прихватками крестообразных соединений | 10 - 40 | 6 | - | - | 3 |
Контактно-точечная сварка | 6 - 40 | 6 | 3 | - | 3 |
Контактная стыковая сварка | 4 - 40 | 6 | - | - | - |
Дуговая сварка под флюсом тавровых соединений | 8 - 22 | - | - | 6 | 3 |
Примечание - Знак "-" означает, что испытание не проводят. |
Г.2 Испытаниям на свариваемость подвергают прокат минимального, среднего и максимального номинальных диаметров из набора диаметров (сортамента), производимого изготовителем. Прокат каждого номинального диаметра отбирают для испытаний от трех случайно выбранных плавок.
Г.3 Изготовление образцов сварных соединений
Г.3.1 Конструкции и размеры соединений для горячекатаного проката принимают такими же, как для проката класса А-III (А400) по
ГОСТ 14098. Для проката, изготовленного способом 2 по
таблице 3, конструкции и размеры соединений принимают такими же, как для арматуры А-III (А400) по
ГОСТ 14098, за исключением длины скобы-накладки при ванно-шовной сварке (по типу С15-Рс по
ГОСТ 14098), которая должна быть не менее (4
dн +
l1), где
l1 - зазор между свариваемыми стержнями.
Г.3.2 Применяемые для изготовления сварных образцов из горячекатаного проката оборудование, сварочные материалы, параметры режимов сварки и особенности технологии сварки должны быть такими же, как при сварке арматуры класса А-III (А400) в соответствии с требованиями руководящих технических материалов на сварку. При сварке образцов из проката, полученного способами 2, 3 и 4 по
таблице 3, дополнительно должно быть учтено:
- ручная дуговая сварка протяженными швами внахлестку (по типу С23-Рэ по
ГОСТ 14098) осуществляется наложением швов "от краев в середину", при этом каждый последующий шов накладывается после полного остывания предыдущего;
- при ванно-шовной сварке на стальной скобе-накладке (по типу С15-Рс по
ГОСТ 14098) фланговые швы, соединяющие скобу-накладку со стержнями, должны накладываться "от краев в середину" в шахматном порядке после полного остывания основного ("ванного") шва;
- контактная стыковая сварка (по типу С1-Ко по
ГОСТ 14098) должна осуществляться способом непрерывного оплавления без предварительного подогрева. Предварительный подогрев допускается только при сварке соединений стержней диаметром 32 мм и более.
Г.3.3 Конструкции и размеры образцов для испытаний в зависимости от типа соединения, способы испытаний и диаметры проката принимают по
ГОСТ 10922 такими же, как для арматуры класса А400.
Г.4 Порядок проведения испытаний и оценка их результатов
Г.4.1 Испытания сварных образцов для классов проката А400С, А500С, А600С, Ап600С на растяжение, срез и отрыв проводят по методикам и с применением приспособлений, предусмотренных
ГОСТ 10922 и
ГОСТ 12004 для арматуры класса А400.
Г.4.2 Результаты испытаний на растяжение образцов стыковых соединений считают удовлетворительными, если разрушение происходит вне места сварки или при разрушении в области сварного соединения при временном сопротивлении не менее 500 Н/мм
2 и не менее 600 Н/мм
2 для проката классов А400С и А500С соответственно и не менее 700 Н/мм
2 - для проката классов А600С и Ап600С. Разрушение в зоне сварного соединения должно быть пластичным, т.е. характеризоваться заметным сужением (типа "шейки"). Хрупкие разрушения (т.е. под углом 90° к оси стержня и без видимого сужения) не допускаются.
Г.4.3 Результаты испытаний на срез крестообразных соединений считают удовлетворительными, если усилие среза составляет не менее

,
где

- предел текучести проката (в соответствии с
таблицами 5 или
7);
Fн - номинальная площадь поперечного сечения более тонкого стержня в соединении, по оси которого прилагается нагрузка при испытаниях.
Г.4.4 Результаты испытания на отрыв тавровых соединений считают удовлетворительными, если полученные значения временного сопротивления для каждого испытанного образца составляют не менее 500 Н/мм2 для проката классов А400С и А500С и не менее 600 Н/мм2 - для проката классов А600С и Ап600С. При этом допускается разрушение испытуемых соединений как по арматуре на участке, расположенном в зоне термического влияния сварки, так и по зоне сплавления стержня с пластиной.
Г.4.5 Испытания на изгиб осуществляют:
- образцов крестообразных соединений - вокруг оправки диаметром
D, равным 5
dн - при диаметре рабочего стержня до 12 мм включительно или 6
dн - при диаметре рабочего стержня более 12 мм. Поперечный стержень (меньшего диаметра) при испытаниях на изгиб должен располагаться в зоне максимального изгибающего момента
(рисунок Г.1);
- образцов тавровых соединений стержней с пластинами - вручную с помощью трубы, надеваемой на приваренный отрезок стержня
(рисунок Г.2).
dm - максимальный диаметр поперечного
сечения испытуемого проката
Рисунок Г.1 - Схема испытаний на изгиб
крестообразных сварных соединений
dm - максимальный номинальный диаметр
поперечного сечения испытуемого проката
Рисунок Г.2 - Схема испытаний на изгиб
тавровых сварных соединений
Г.4.5.1 Результаты испытаний на изгиб соединений считают удовлетворительными, если до угла изгиба 60° образец не разрушился и не возникли видимые трещины. Отслоение поперечного стержня при испытаниях крестообразных соединений, выполненных контактной точечной и ручной дуговой сварками, браковочным признаком не является.
Г.4.6 Прокат считают свариваемым, если результаты испытаний образцов признаны удовлетворительными в соответствии с требованиями
Г.4.2 -
Г.4.5.
(обязательное)
ПРИМЕРЫ УСЛОВНЫХ ОБОЗНАЧЕНИЙ ПРОКАТА
Прокат гладкий, в прутках, мерной (МД) длины 9000 мм, диаметром 12 мм, класса А240:
Пруток МД-12 x 9000-А240 ГОСТ 34028-2016
Прокат периодического профиля формы 1ф, в прутках, мерной (МД) длины 11700 мм, диаметром 10 мм, с предельными отклонениями по массе 1 м длины для группы ОМ1, обычной точности овальности ОВ2, класса А500, со стандартными требованиями, с контролем равномерного относительного удлинения

, с условиями отбора и подготовки проб для проведения испытаний на растяжение и изгиб после искусственного старения (И2):
Прокат периодического профиля формы 1ф, в прутках, немерной (НД) длины, диаметром 10 мм, с предельными отклонениями по массе 1 м длины для группы ОМ1, обычной точности по овальности ОВ2, класса А500, со стандартными требованиями:
Пруток 1ф-НД-10-ОМ1-ОВ2-А500 ГОСТ 34028-2016
Прокат периодического профиля, формы 3ф, в мотках, диаметром 10 мм, с предельными отклонениями по массе 1 м длины для группы ОМ2, класса А500, свариваемый (С), повышенной категории пластичности (Н):
Моток 3ф-10-ОМ2-А500СН ГОСТ 34028-2016
Прокат периодического профиля формы 2ф, в мотках, диаметром 12 мм, с предельными отклонениями по массе 1 м длины для группы ОМ2, класса А500, с гарантированной прочностью крестообразных соединений контактно-точечной сваркой:
Моток 2ф-12-ОМ2-А500 ГОСТ 34028-2016 с учетом 6.1.4.2
| | ИС МЕГАНОРМ: примечание. Текст дан в соответствии с официальным текстом документа. | |
Прокат периодического профиля, формы 2ф, для армирования предварительно-напряженных железобетонных конструкций, в прутках, мерной 9000 мм с немерной длины (МД1), диаметром 15 мм, с предельными отклонениями по массе 1 м длины для группы ОМ1, класса Ап600, с требованием к стойкости против коррозионного растрескивания (К):
Пруток 2ф-МД1-15 x 9000-ОМ1-Ап600К ГОСТ 34028-2016
| | ИС МЕГАНОРМ: примечание. Текст дан в соответствии с официальным текстом документа. | |
Прокат периодического профиля, формы 2ф, для армирования предварительно-напряженных железобетонных конструкций, в прутках, мерной 9000 мм с немерной длины (МД1), диаметром 15 мм, с предельными отклонениями по массе 1 м длины для группы ОМ1, класса А600, свариваемый (С), высокой категории пластичности (Е), с требованиями к выносливости при многократно повторяющихся циклических нагрузках (У), с требованием к стойкости против коррозионного растрескивания (К):
Пруток 2ф-МД1-15 x 9000-ОМ1-А600СЕУК ГОСТ 34028-2016
(обязательное)
ИСПЫТАНИЙ ПРОКАТА НА ВЫНОСЛИВОСТЬ ПРИ МНОГОКРАТНО
ПОВТОРЯЮЩИХСЯ ЦИКЛИЧЕСКИХ НАГРУЗКАХ
Е.1 Для определения соответствия выносливости проката при многократно повторяющихся циклических нагрузках требованиям
таблицы 8 для проката классов А400, А500 и А600 и
таблицы 9 для проката классов Ап600, А800 и А1000 проводят испытания на выносливость при постановке проката на производство, а затем не реже одного раза в год.
Е.2 Для испытаний отбирают образцы проката минимального и максимального диаметров из набора диаметров (сортамента), производимого изготовителем, по три образца каждого диаметра, отобранных от случайно выбранных плавок стали.
Е.3 Испытания проводят при температуре

, при осевом растяжении на действие повторяющейся (пульсирующей) нагрузки, характеризуемой следующими параметрами в соответствии с
рисунком Е.1:
- максимальное усилие цикла

(Е.1)
- размах цикла усилий

(Е.2)
- частота приложения усилия

(Е.3)
Рисунок Е.1 - Обозначения параметров повторяющейся нагрузки
Е.4 Испытания проводят на испытательном оборудовании (пульсаторах) с контролем усилий при частоте приложения нагрузки f от 1 до 200 Гц. Испытания каждого образца продолжают до 2 млн циклов нагрузки или до обрыва образца, который должен располагаться по длине образца на расстоянии не менее 2dн от захватных приспособлений (где dн - номинальный диаметр проката).
Е.5 Прокат признается соответствующим требованиям настоящего стандарта по выносливости, если все испытуемые образцы выдерживают 2 млн циклов.
(рекомендуемое)
МЕТОД ОПРЕДЕЛЕНИЯ СТОЙКОСТИ ПРОКАТА
К КОРРОЗИОННОМУ РАСТРЕСКИВАНИЮ
Ж.1 Общие положения
Данный метод основан на выдержке нагруженных постоянной изгибающей нагрузкой образцов в горячем растворе азотнокислого кальция и аммония и определении времени до их разрушения.
Ж.2 Отбор и подготовка образцов
Испытания проводят не менее чем на трех образцах, отобранных от проката в состоянии поставки. Длину образцов устанавливают с учетом того, что длина их контактирующей с раствором части должна быть не менее 200 мм.
Образцы маркируют, обезжиривают ацетоном или этиловым спиртом и протирают фильтровальной бумагой.
Ж.3 Аппаратура
Применяют рычажную установку консольного типа, обеспечивающую постоянно приложенную изгибающую нагрузку в течение всего периода испытаний с погрешностью не более 2%. Схема установки приведена на рисунке Ж.1.
1 - нагревательный элемент; 2 - плита с отверстиями
для крепления испытуемого образца; 3 - рама для жесткой
подвески плиты и устойчивости установки; 4 - испытуемый
образец; 5 - емкость для коррозионного раствора;
6 - дозатор воды; 7 - рычаг; 8 - груз; L - горизонтальная
проекция плеча действующей силы P; l - длина рычага;
P - сила, действующая на испытуемый образец,
подвергая его изгибу
Рисунок Ж.1 - Схема установки для испытаний
проката на стойкость к коррозионному
растрескиванию в условиях изгиба
Ж.4 Материалы, реактивы и растворы
Спирт этиловый по нормативным документам
<*>.
--------------------------------
<*> В Российской Федерации допускается использовать
ГОСТ Р 51999-2002 "Спирт этиловый технический синтетический ректификованный и денатурированный. Технические условия".
Раствор для испытания: 600 массовых долей азотнокислого кальция и 50 массовых долей азотнокислого аммония растворяют в 350 массовых долях воды (см.
ГОСТ 23732).
Ж.5 Проведение испытания
Ж.5.1 Испытания проводят в растворе при температуре 98 °C - 100 °C, при напряжении

(по
таблицам 5,
7).
Ж.5.2 Изгибающий момент M, Н·м, вычисляют по формуле

(Ж.1)
где W - момент сопротивления поперечного сечения образца, м3, вычисленный по формуле

(Ж.2)
где d - диаметр образца, м.
Ж.5.3 Значение действующей силы P, Н, вычисляют по формуле

(Ж.3)
где L - горизонтальная проекция плеча силы, м.
Ж.5.4 Массу груза G, кг, вычисляют по формуле

(Ж.4)
где G0 - масса грузовой платформы и масса рычага, кг;
g - гравитационное ускорение, м·с-2.
После приложения груза массой
G уточняют значение горизонтальной проекции плеча силы
L и корректируют массу груза так, чтобы изгибающий момент соответствовал вычисленному по
формуле Ж.1.
Ж.5.5 В течение испытания с помощью автоматического устройства регистрируют время до разрушения испытуемого образца. Если в течение времени, указанного в
6.1.7 и
6.2.6 настоящего стандарта для соответствующего назначения проката, разрушения образца не происходит, испытания прекращают. Такой прокат считают стойким к коррозионному растрескиванию.
Ж.5.6 Статистическую оценку результатов испытаний проводят по
ГОСТ 8.207.
| | Директива Совета Европейского союза 2000/53/ЕС от 18 сентября 2000 г. "Об отработавших транспортных средствах" (определение термина "энергетическая утилизация") (Council Directive 2000/53/EC of 18 September 2000 on end-of-life vehicles (definition of energy recovery) |