Главная // Актуальные документы // ГОСТ (Государственный стандарт)СПРАВКА
Источник публикации
В данном виде документ опубликован не был.
Первоначальный текст документа опубликован в издании
М.: ИПК Издательство стандартов, 1997.
Информацию о публикации документов, создающих данную редакцию, см. в справке к этим документам.
Примечание к документу
Документ утратил силу с 1 февраля 2019 года в связи с изданием
Приказа Росстандарта от 22.08.2018 N 512-ст. Взамен введен в действие
ГОСТ 7566-2018.
С 1 июля 2003 года до вступления в силу технических регламентов акты федеральных органов исполнительной власти в сфере технического регулирования носят рекомендательный характер и подлежат обязательному исполнению только в части, соответствующей целям, указанным в
пункте 1 статьи 46 Федерального закона от 27.12.2002 N 184-ФЗ.
Изменение N 1 введено в действие с 1 января 2002 года Постановлением Госстандарта РФ от 05.04.2001 N 164-ст.
Взамен ГОСТ 7566-81.
Название документа
"ГОСТ 7566-94. Металлопродукция. Приемка, маркировка, упаковка, транспортирование и хранение"
(введен в действие Постановлением Госстандарта РФ от 21.05.1997 N 185)
(ред. от 05.04.2001)
"ГОСТ 7566-94. Металлопродукция. Приемка, маркировка, упаковка, транспортирование и хранение"
(введен в действие Постановлением Госстандарта РФ от 21.05.1997 N 185)
(ред. от 05.04.2001)
Утвержден и введен в действие
Постановлением Госстандарта РФ
от 21 мая 1997 г. N 185
МЕЖГОСУДАРСТВЕННЫЙ СТАНДАРТ
МЕТАЛЛОПРОДУКЦИЯ
ПРИЕМКА, МАРКИРОВКА, УПАКОВКА, ТРАНСПОРТИРОВАНИЕ И ХРАНЕНИЕ
Metal products. Acceptance, marking, packing,
transportation and storage
ГОСТ 7566-94
| | Список изменяющих документов Постановлением Госстандарта РФ от 05.04.2001 N 164-ст) | |
1. Разработан Украинским государственным научно-исследовательским институтом металлов.
Внесен Государственным комитетом Украины по стандартизации, метрологии и сертификации.
2. Принят Межгосударственным Советом по стандартизации, метрологии и сертификации 21 октября 1994 г.
За принятие проголосовали:
┌────────────────────────┬───────────────────────────────────────┐
│Наименование государства│ Наименование национального органа │
│ │ по стандартизации │
├────────────────────────┼───────────────────────────────────────┤
│Азербайджанская │Азгосстандарт │
│Республика │ │
│Республика Армения │Армгосстандарт │
│Республика Белоруссия │Госстандарт Белоруссии │
│Грузия │Грузстандарт │
│Республика Казахстан │Госстандарт Республики Казахстан │
│Киргизская Республика │Киргизстандарт │
│Республика Молдова │Молдовастандарт │
│Российская Федерация │Госстандарт России │
│Республика Узбекистан │Узгосстандарт │
│Украина │Госстандарт Украины │
└────────────────────────┴───────────────────────────────────────┘
3. Постановлением Государственного комитета Российской Федерации по стандартизации, метрологии и сертификации от 21 мая 1997 г. N 185 межгосударственный стандарт ГОСТ 7566-94 введен в действие непосредственно в качестве государственного стандарта Российской Федерации с 1 января 1998 г.
4. Взамен ГОСТ 7566-81.
Настоящий стандарт устанавливает требования к приемке, маркировке, упаковке, транспортированию и хранению блюмов, слябов, заготовок, в том числе литых и кованых, сортового, фасонного, калиброванного, холоднотянутого проката, проволоки, круглого проката со специальной отделкой поверхности (в том числе шлифованного), гнутых профилей, листового, широкополосного проката и ленты.
(в ред.
Изменения N 1, введенного в действие Постановлением Госстандарта РФ от 05.04.2001 N 164-ст)
В настоящем стандарте использованы ссылки на следующие стандарты:
ГОСТ 9.014-78 ЕСЗКС. Временная противокоррозионная защита изделий. Общие технические требования
ГОСТ 515-77. Бумага упаковочная битумированная и дегтевая. Технические условия
ГОСТ 2991-85. Ящики дощатые неразборные для грузов массой до 500 кг. Общие технические условия
ГОСТ 3282-74. Проволока стальная низкоуглеродистая общего назначения. Технические условия
| | ИС МЕГАНОРМ: примечание. Взамен ГОСТ 5530-81 Приказом Ростехрегулирования от 18.10.2005 N 244-ст с 1 января 2006 года введен в действие ГОСТ 5530-2004. | |
ГОСТ 5530-81. Ткани упаковочные и технического назначения. Технические условия
ГОСТ 6009-74. Лента стальная горячекатаная. Технические условия
ГОСТ 8828-89. Бумага-основа и бумага двухслойная водонепроницаемая упаковочная. Технические условия
ГОСТ 9998-86. Пленки поливинилхлоридные пластифицированные бытового назначения. Общие технические условия
ГОСТ 10198-91. Ящики деревянные для грузов массой св. 200 до 20000 кг. Общие технические условия
ГОСТ 16272-79. Пленка поливинилхлоридная пластифицированная техническая. Технические условия
ГОСТ 21650-76. Средства скрепления тарно-штучных грузов в транспортных пакетах. Общие требования
ГОСТ 26653-90. Подготовка генеральных грузов к транспортированию. Общие требования.
3.1. Металлопродукцию принимают партиями.
3.2. Определение партии и объем испытаний устанавливают в нормативной документации (НД) на конкретные виды металлопродукции. Проверку качества и приемку партии металлопродукции проводит предприятие-изготовитель. Приемку партии, для которой предусмотрен контроль качества поверхности и размеров каждого изделия, входящего в партию, допускается проводить по результатам технологического и инструментального контроля в процессе производства. В случае разногласий между потребителем и изготовителем приемку металлопродукции проводят в соответствии с требованиями стандартов на конкретные виды металлопродукции.
3.2. При контрольной проверке качества поверхности рулонного (бунтового) проката, листового проката с непрерывных станов, порезанного на листы, гнутых профилей партию считают соответствующей требованиям стандарта, если масса участков, не соответствующих требованиям стандарта к качеству поверхности, не превышает 2% массы партии.
По соглашению изготовителя с потребителем масса участков, не соответствующих требованиям стандарта к качеству поверхности, не должна превышать 5% массы партии.
При обнаружении дефектных участков поверхности проката у потребителя и их предъявлении изготовителю изготовитель должен компенсировать потребителю такое же количество качественного проката.
Массу вырезанных участков определяют взвешиванием. Допускается определение массы участков проката с дефектами поверхности по методике, приведенной в
Приложении А.
3.4. При получении неудовлетворительных результатов по какому-либо показателю по нему проводят повторные испытания.
Повторные испытания проводят:
- для металлопродукции, подвергаемой выборочному контролю, - на удвоенном количестве заготовок, блюмов, слябов, прутков, мотков, листов, полос или рулонов;
- для металлопродукции, подвергаемой сплошному (поштучному) контролю, - на удвоенном количестве образцов, отобранных от заготовки, блюма, сляба, прутка, мотка, листа, полосы или рулона, не выдержавших испытания.
(в ред.
Изменения N 1, введенного в действие Постановлением Госстандарта РФ от 05.04.2001 N 164-ст)
3.5. Результаты повторных испытаний распространяют на всю партию при выборочном контроле, а при сплошном - на заготовки, блюмы, слябы, прутки, листы, полосы, мотки и рулоны, не выдержавшие испытания.
3.6. При получении неудовлетворительных результатов повторных испытаний при выборочном контроле допускается изготовителю проводить сплошной контроль по показателям, по которым эти испытания не выдержаны.
3.7. Каждая партия сопровождается документом, содержащим:
- наименование и (или) товарный знак предприятия-изготовителя;
- наименование потребителя;
- номер заказа;
- дату оформления документа о качестве;
- марку стали, группу или класс прочности;
- номер плавки и номер партии, если плавка делится на партии;
- наименование металлопродукции, размеры, количество мест, их общую массу и, в случае поставки по сдаточной (теоретической) массе, знак "ТМ", коэффициент пересчета (для листового проката допускается вместо коэффициента пересчета указывать теоретическую массу одного листа или 1 м длины рулонного проката), сведения о группах и категориях проката по свойствам, качеству поверхности, назначению и другие требования, предусмотренные НД на прокат:
- номер НД;
- химический состав стали по ковшовой пробе или в готовом прокате;
- результаты всех испытаний, в том числе факультативные показатели по требованию потребителя. Допускается вместо результатов всех испытаний указывать: "Металлопродукция соответствует НД или сертификату";
- сведения о режиме термической обработки по требованию потребителя;
- штамп отдела технического контроля.
4.1. Маркировку наносят непосредственно на металлопродукцию, если она не подлежит упаковке, и на ярлыки, если металлопродукция упакована в пачки, мотки, рулоны, связки мотков или стопы рулонов.
4.2. Маркировку выполняют ударным способом - клеймением (ручным или машинным), электрографированием, наклеиванием ярлыков из водостойкой пленки, цветным лаком или несмываемым красящим составом, краской. В стандартах на конкретные виды металлопродукции может быть установлен способ нанесения дополнительной цветной маркировки.
(в ред.
Изменения N 1, введенного в действие Постановлением Госстандарта РФ от 05.04.2001 N 164-ст)
4.3. На металлопродукцию, которая не подлежит упаковке, маркировку наносят на расстоянии не более 200 мм от торца каждого прутка, заготовки (всех видов), полосы, листа или кромки листа либо на торце прутка, заготовки, листа или на наружном витке рулона.
Допускается при механизированной маркировке в потоке наносить маркировку на другом расстоянии от торца металлопродукции, от торца или кромки листа, но не более 500 мм.
4.4. На металлопродукцию, увязанную в пачки, навешивают два ярлыка, в мотки и рулоны - один. На металлопродукцию, увязанную в связки или в стопы рулонов, один ярлык навешивают на один из мотков или рулонов и один - на обвязку мотков или стопы рулонов.
Ярлыки прочно прикрепляют к обвязкам со стороны, удобной для просмотра, или помещают в специальный карман. В случае навешивания двух ярлыков последние прикрепляют к обвязкам пачки или мотка. Материал ярлыков и их крепление должны обеспечивать их сохранность при транспортировании и разгрузке. По соглашению изготовителя с потребителем на пачку навешивают один ярлык.
4.5. По требованию потребителя на двух противоположных сторонах ярлыка на расстоянии не менее 10 мм от края по оси могут быть расположены отверстия, через которые с помощью проволоки или ленты ярлык прикрепляют к обвязке.
4.6. При упаковке листов и широкополосного проката в пачки маркировку наносят на верхний лист и полосу каждой пачки или на маркировочную карту (ярлык), прочно прикрепленную к обвязкам пачки.
(в ред.
Изменения N 1, введенного в действие Постановлением Госстандарта РФ от 05.04.2001 N 164-ст)
При механизированном клеймении толстых листов и полос разрешается наносить маркировку на боковую кромку верхнего листа и полосы каждой пачки.
4.7. На листах, а по требованию потребителя и на другом прокате, место маркировки, нанесенное клеймением, должно быть обведено краской, цветным лаком или битумом.
4.8. Маркировка металлопродукции, не подлежащей упаковке, а также металлопродукции, увязанной в пачки с маркировкой каждого изделия размером (диаметр, сторона квадрата, толщина, номер профиля) 30 мм и более и листового проката толщиной 4 мм и более, должна содержать:
- наименование или (и) товарный знак предприятия-изготовителя;
- марку стали или ее условное обозначение с указанием расшифровки в документе о качестве;
(в ред.
Изменения N 1, введенного в действие Постановлением Госстандарта РФ от 05.04.2001 N 164-ст)
- номер плавки или ее условное обозначение с указанием расшифровки в документе о качестве;
- номер партии, если плавка делится на партии;
- размер (диаметр, сторона квадрата, толщина, длина, ширина, номер профиля).
4.9. Необходимость поштучной маркировки металлопродукции, увязанной в пачки, должна быть установлена в нормативной документации на металлопродукцию данного вида. В этом случае на пачку навешивают один ярлык.
4.10. Маркировка, наносимая на ярлык (маркировочную карту), верхний лист пачки, наружный конец рулона, должна содержать:
- наименование или (и) товарный знак предприятия-изготовителя;
- марку стали или ее условное обозначение с указанием расшифровки в документе о качестве, группу или класс прочности;
- номер плавки или ее условное обозначение с указанием расшифровки в документе о качестве;
(абзац введен
Изменением N 1, введенным в действие Постановлением Госстандарта РФ от 05.04.2001 N 164-ст)
- номер партии, если плавка делится на партии, размер (диаметр, сторона квадрата, толщина, длина, ширина, номер профиля);
- массу нетто (фактическую) пачки, мотка, рулона или связки мотков и стопы рулонов. По соглашению с потребителем массу не указывают;
- знак "ТМ" указывают при поставке металлопродукции по сдаточной (теоретической) массе;
- допускается в НД на конкретные виды металлопродукции устанавливать дополнительные реквизиты маркировки. Массу допускается указывать в дополнительном ярлыке.
4.11. Маркировку на ярлыке располагают вертикально или горизонтально в соответствии с 4.10. Последовательность нанесения дополнительных реквизитов маркировки должна быть указана в НД на конкретную металлопродукцию.
Абзац исключен с 1 января 2002 года. -
Изменение N 1, введенное в действие Постановлением Госстандарта РФ от 05.04.2001 N 164-ст.
(п. 4.11а введен
Изменением N 1, введенным в действие Постановлением Госстандарта РФ от 05.04.2001 N 164-ст)
4.12. Для маркировки применяют металлические, пластмассовые, деревянные ярлыки или из водостойкой пленки с рекомендуемыми отношениями сторон от 1:1 до 1:2 и площадью не менее 24 см2. По соглашению изготовителя с потребителем допускается применять ярлыки с другим отношением сторон.
4.13. Маркировка должна быть четкой, прочной и несмываемой. Цифры и буквы маркировки должны быть высотой 5 - 20 мм и шириной 3 - 12 мм. На ярлыках, прутках размером сечения менее 60 мм, лентах шириной менее 50 мм размеры цифр и букв маркировки должны быть высотой 4 мм и шириной 2 мм. При маркировке краской допускается высоту цифр и букв увеличивать до 100 мм и ширину - до 70 мм. Глубину маркировки (клеймения) металлопродукции устанавливают по соглашению изготовителя и потребителя.
(в ред.
Изменения N 1, введенного в действие Постановлением Госстандарта РФ от 05.04.2001 N 164-ст)
4.14. По соглашению изготовителя с потребителем производится дополнительная цветная маркировка краской.
Цветную маркировку краской наносят на торце или конце пачки металлопродукции в соответствии с требованиями стандартов на конкретные марки стали.
По требованию потребителя металлопродукцию дополнительно маркируют на расстоянии не менее 300 - 500 мм от торца пачки металлопроката из спокойной стали продольной полосой, а из полуспокойной - поперечной полосой цвета марки стали. Длина полосы 100 - 150 мм.
4.15. Маркировка металлопродукции, поставляемой на внешний рынок
4.15.1. Металлопродукцию маркируют прочной несмываемой краской, нанесенной с помощью трафарета, или ярлыком из водостойкой пленки; при отгрузке в страны, участвующие в Соглашении о международном грузовом сообщении (СМГС) - на русском, в остальные страны - на английском языке, если иное не предусмотрено контрактом-спецификацией или заказом-нарядом.
4.15.2. Маркировку наносят с двух торцевых сторон грузового места или, если маркировка на двух торцевых сторонах практически невозможна, на одной продольной стороне.
(в ред.
Изменения N 1, введенного в действие Постановлением Госстандарта РФ от 05.04.2001 N 164-ст)
Маркировку листового проката, упакованного в пачки, наносят на верхнем листе пачки, а листового проката без упаковки - на каждом листе.
4.15.3. Допускается маркировку наносить на металлическую маркировочную карту размером не менее 200 х 290 мм, которая прочно крепится не менее чем в двух местах к обвязке.
4.15.4. При отсутствии технической возможности произвести маркировку краской или прикрепить маркировочную карту непосредственно на грузовое место допускается навешивание металлических ярлыков (экспортный ярлык).
4.15.5. На металлопродукцию, увязанную в пачки длиной до 6 м, навешивают один ярлык, длиной более 6 м - два ярлыка - по одному на каждом конце пачки; на моток, связку мотков, рулон и стопу рулонов - по два ярлыка; на моток катанки - один ярлык.
4.15.6. Ярлыки изготовляют из белой жести, оцинкованного листового проката, тонколистового проката, не подверженного коррозии, а также из водостойкой пленки, нанесенной на металлическую или твердую основу. Размер ярлыков не менее 80 х 120 мм с отношением сторон 1:1,5.
4.15.7. Ярлык плотно прикрепляют к обвязке с помощью проволоки или ленты, продернутой через отверстия, расположенные на двух противоположных сторонах ярлыка по оси на расстоянии не менее 10 мм от края.
4.15.8. Маркировка, наносимая на прокат или ярлык, должна содержать:
- наименование изготовителя;
- наименование экспортирующей организации;
- контракт-спецификацию;
- страну назначения груза;
- размер поставляемой металлопродукции (диаметр, сторона квадрата, толщина, ширина, номер профиля, длина);
- марку стали, а также группу или класс прочности при нанесении маркировки на ярлык;
- номер плавки и номер партии, если плавка делится на партии;
- массу брутто и нетто, кг;
- номер места (дробью: числитель - порядковый номер данного места, знаменатель - общее количество мест в данной партии).
Примечание. Содержание маркировки может изменяться по соглашению потребителя с изготовителем.
Полную маркировку на сортовом, фасонном, листовом прокате или заготовке, отгружаемых поштучно, допускается наносить на каждую десятую штуку, но не менее чем на две штуки в вагоне. Номер плавки, марку стали, а на слябах габаритные размеры и теоретическую массу наносят клеймом или краской на каждом изделии.
4.15.9. Допускается при маркировке сортового и фасонного проката всех размеров, а также калиброванного, шлифованного круглого проката и круглого проката со специальной отделкой поверхности размером поперечного сечения до 24 мм включительно не указывать количество штук в месте и номер места; указывать ориентировочную массу вместо массы "брутто" и "нетто".
(в ред.
Изменения N 1, введенного в действие Постановлением Госстандарта РФ от 05.04.2001 N 164-ст)
Допускается не наносить номер грузового места и не указывать теоретическую массу "нетто" на толстолистовом прокате, отгружаемом поштучно.
4.15.10. По требованию потребителя дополнительно наносят цветную маркировку краской. Цветную маркировку наносят на упаковку грузового места или непосредственно на металлопродукцию в торце либо на верхний ряд прутков или листов, поставляемых в пачках, на расстоянии не менее 500 мм от торца.
Вид дополнительной цветной маркировки и ее цвет устанавливают по соглашению изготовителя с потребителем.
5.1. Сортовой, фасонный, калиброванный, холоднотянутый прокат, проволока и круглый прокат со специальной отделкой поверхности размерами поперечного сечения (толщина, диаметр, сторона квадрата, наибольший размер для фасонных профилей) до 50 мм включительно увязывают в пачки, мотки или связки мотков, а свыше 50 мм и заготовки всех видов увязывают в пачки по требованию потребителя. Гнутые профили увязывают в пачки.
5.2. Поперечное сечение пачек сортового, фасонного, калиброванного проката, проволоки и круглого проката со специальной отделкой поверхности, гнутых профилей в зависимости от размеров и формы поперечного сечения должно приближаться к кругу, прямоугольнику или шестиугольнику. По соглашению изготовителя с потребителем допускается иное поперечное сечение пачек.
5.3. При упаковке металлопродукции мерной длины торцы пачки должны быть выравнены с одной стороны, выступающие концы с другой стороны не должны превышать предельных отклонений по длине, установленных в нормативной документации (НД) на конкретные виды проката. По соглашению изготовителя с потребителем допускается упаковка без выравнивания торцов.
(в ред.
Изменения N 1, введенного в действие Постановлением Госстандарта РФ от 05.04.2001 N 164-ст)
5.4. Листы толщиной до 3,9 мм включительно увязывают в пачки, листы толщиной более 3,9 мм увязывают в пачки по требованию потребителя.
5.5. Каждая пачка или связка должна состоять из проката одной партии.
5.6. Масса пачки, рулона, а также масса неупакованного проката не должна превышать:
- при ручной погрузке и разгрузке - 80 кг;
- при механизированной погрузке и разгрузке в соответствии с заказом - 5, 10, 15, 20, 25, 30 и 35 т.
По соглашению потребителя с изготовителем устанавливают другую массу пачки, рулона, связки или неупакованного проката.
Ручную разгрузку оговаривают в заказе.
5.7. Прутки в пачке должны быть плотно уложены и прочно обвязаны в поперечном направлении через каждые 2 - 3 м, а по требованию потребителей - через 1 - 1,5 м.
Прутки длиной до 6 м включительно в пачке должны быть обвязаны не менее чем в двух местах.
5.8. Мотки должны быть обвязаны двумя диаметрально расположенными обвязками, а связки мотков прочно скреплены двумя-тремя обвязками.
5.9. Листы и полосы в пачке должны быть прочно обвязаны в продольном и поперечном направлениях. В местах огибания обвязками обрезных кромок листов и полос укладывают прокладки. При упаковке листов и полос в пачки пакетовязальными машинами, а также в пачки, упакованные в короба, прокладки можно не укладывать.
Количество поперечных обвязок в зависимости от длины листов и полос, а продольных - от ширины, должно соответствовать указанным в таблице 1.
┌─────────────────────┬───────────────────────────────────────────┐
│ Длина или ширина │ Минимальное количество обвязок, шт. │
│листа или полосы, мм ├─────────────────────┬─────────────────────┤
│ │ горячекатаного │горячекатаного трав- │
│ │ листа или полосы │леного и холодноката-│
│ │ │ного листа или полосы│
│ ├──────────┬──────────┼──────────┬──────────┤
│ │продольных│поперечных│продольных│поперечных│
├─────────────────────┼──────────┼──────────┼──────────┼──────────┤
│ До 800 включ.│1 │1 │1 │1 │
│Св. 800 " 2000 " │2 │2 │2 │2 │
│ " 2000 " 4000 " │2 │3 │3 │4 │
│ " 4000 " 6000 " │2 │4 │3 │6 │
│ " 6000 │3 │5 │4 │8 │
└─────────────────────┴──────────┴──────────┴──────────┴──────────┘
5.10 Допускается не обвязывать в продольном направлении пачки полос шириной менее 0,55 м, а широкополосный прокат - менее 1,0 м или длиной более 8 м, а по требованию потребителя - длиной более 4,5 м. При этом не допускается смещение полос в пачке при транспортировании.
(в ред.
Изменения N 1, введенного в действие Постановлением Госстандарта РФ от 05.04.2001 N 164-ст)
По требованию потребителя проводят продольную обвязку пачек полос длиной более 8 м в соответствии с
таблицей 1.
5.11. При механизированной упаковке в потоке допускается обвязка пачек горячекатаных листов только поперечными обвязками в количестве, равном сумме продольных и поперечных обвязок в соответствии с
таблицей 1.
5.12. Расстояние обвязки от конца пачки листов и полос должно быть до 0,5 м, а сортового и фасонного проката - от 0,2 до 1,0 м.
(в ред.
Изменения N 1, введенного в действие Постановлением Госстандарта РФ от 05.04.2001 N 164-ст)
5.13. К пачкам листов толщиной менее 2 мм и длиной более 2 м снизу должны быть прикреплены специальные деревянные (металлические) брусья или поддоны. Для листов других размеров брусья или поддоны прикрепляют к пачке по требованию потребителя.
5.14. Рулоны должны быть плотно смотаны и обвязаны одной-двумя круговыми или двумя-шестью радиальными обвязками, а стопа рулонов - двумя-тремя радиальными обвязками. Рулоны в стопу укладывают с прокладками. Рулоны резаной ленты, смотанные на одну моталку, допускается увязывать без прокладок между рулонами.
(в ред.
Изменения N 1, введенного в действие Постановлением Госстандарта РФ от 05.04.2001 N 164-ст)
Обвязку рулонов горячей смотки толщиной 4 мм и более при плотном прилегании наружного конца проводят по требованию потребителя. По соглашению изготовителя с потребителем допускается упаковка рулонов приваркой внешних концов точечной электросваркой без применения обвязочной ленты.
Количество обвязок рулонов горячей смотки толщиной менее 4 мм при плотном прилегании наружного конца допускается устанавливать изготовителем по соглашению с потребителем.
(абзац введен
Изменением N 1, введенным в действие Постановлением Госстандарта РФ от 05.04.2001 N 164-ст)
5.15. Для обвязки применяют металлическую ленту толщиной от 0,5 до 2,0 мм и шириной до 30 мм по
ГОСТ 6009 или другой НД, катанку или проволоку диаметром до 8 мм - по
ГОСТ 3282 или другой НД. Концы ленты при обвязке соединяют с помощью замков или двойного точечного сварного шва. Укрутка концов катанки или проволоки должна быть прочной, не менее чем в два-три оборота.
Обвязку с помощью вязальных машин проводят в один оборот, увязку концов катанки или проволоки соединяют с помощью контактной сварки или укруткой в один-два оборота, средства скрепления должны соответствовать требованиям
ГОСТ 21650.
Не допускается использование обвязок для застропки груза при перегрузочных работах.
5.16. Упаковка проката, поставляемого для внешнего рынка
5.16.1. В зависимости от вида металлопродукции, ее размеров и назначения применяют шесть видов упаковки в соответствии с таблицей 2. Вид упаковки указывают в заказе.
┌────────────────────────────┬───────────────────────────────────┐
│ Вид упаковки │ Наименование металлопродукции │
├────────────────────────────┼───────────────────────────────────┤
│1. Поштучно │ Сортовой и фасонный прокат разме- │
│ │ром поперечного сечения 200 мм и │
│ │более, блюмы, слябы, заготовки, а │
│ │листовой прокат толщиной более │
│ │12 мм │
│Госстандарта РФ от 05.04.2001 N 164-ст) │
│2. Обвязка │ Сортовой и фасонный прокат разме- │
│ │ром поперечного сечения 100 мм и │
│ │менее, гнутые профили, холоднотя- │
│ │нутые профили из горячекатаной │
│ │нетравленой заготовки, листовой │
│ │прокат и лента толщиной до 12 мм │
│ │включительно нетравленые │
│3. Промасливание и обвязка │ Гнутые профили из холоднокатаной │
│ │и травленой горячекатаной заготов- │
│ │ки, горячекатаный листовой прокат │
│ │и лента толщиной до 10 мм │
│ │включительно травленые │
│Госстандарта РФ от 05.04.2001 N 164-ст) │
│4. Промасливание, укладка │Листовой прокат и лента травленые │
│в тару и обвязка │ │
│Госстандарта РФ от 05.04.2001 N 164-ст) │
│5. Промасливание, обертка во│ Холоднокатаный листовой прокат и │
│влагонепроницаемую бумагу, │лента, горячекатаный листовой │
│укладка в тару и обвязка │прокат и лента травленые, прокат │
│ │калиброванный, шлифованный и │
│ │прокат круглый со специальной │
│ │отделкой поверхности │
│Госстандарта РФ от 05.04.2001 N 164-ст) │
│6. Обертка во влагонепро- │ Прокат калиброванный, шлифованный │
│ницаемую бумагу, укладка │и круглый со специальной отделкой │
│в тару и обвязка │поверхности из коррозионно-стойких │
│ │марок стали, горячекатаный листовой│
│ │прокат толщиной до 6 мм включитель-│
│ │но из коррозионно-стойкой стали │
│ │травленый, листовой прокат и лента │
│ │из электротехнической стали │
├────────────────────────────┴───────────────────────────────────┤
│ Примечание. Сортовой и фасонный прокат размером поперечного│
│сечения св. 100 до 200 мм и фасонный св. 200 мм поставляют│
│поштучно или с обвязкой. │
└────────────────────────────────────────────────────────────────┘
5.16.2. В качестве тары для упаковки проката применяют металлические пакеты (поддоны, ящики) или деревянные ящики, тарную ткань, синтетические пленки или другие материалы.
(в ред.
Изменения N 1, введенного в действие Постановлением Госстандарта РФ от 05.04.2001 N 164-ст)
Масса металлической упаковки не должна превышать 2,5% массы проката.
При массе пачки листов менее 2 т и длине листов менее 4 м допускается масса металлической упаковки до 60 кг, а при длине листов от 4 до 6 м - до 90 кг.
5.16.3. Деревянные ящики изготовляют в основном из древесины хвойных пород воздушной сушки. Направление волокон в пиломатериалах должно быть параллельным кромке. Не допускается применять доски со сквозными трещинами, сучками, непрочно сидящими в гнезде.
5.16.4. Толщина досок должна быть не менее:
12 мм - при массе упаковываемого проката до 0,5 т включ.;
18 мм " " " " св. 0,5 " 1,0 т ";
25 мм " " " " " 1,0 т.
5.16.5. Тип и конструкция ящиков для грузов массой до 0,5 т - по
ГОСТ 2991, для грузов более 0,5 т - по
ГОСТ 10198 и другим стандартам или специальным техническим условиям.
5.16.6. Металлические пакеты, применяемые для упаковки пачек листового проката, состоят из нижнего и верхнего упаковочных листов и швеллеров (упаковочных листов, изогнутых в виде швеллеров). Толщина упаковочных листов от 0,4 до 1,2 мм.
Швеллеры должны закрывать боковые и торцевые кромки листов в пачках. Ширина полок швеллеров должна быть не менее 100 мм.
5.16.7. Допускается вместо верхнего упаковочного листа применять короб с высотой борта не менее 2/3 высоты пачки. При этом с боков и торцов пачки устанавливают уголки с полками не менее 3/4 высоты и не менее 50 мм для подгибки под низ пачки. Допускается применять другие способы упаковки, обеспечивающие сохранность листов и товарный вид продукции.
При поставке горячекатаного тонколистового проката допускают верхний и нижний листы пачки использовать в качестве упаковки, при этом масса последней должна быть исключена из массы продукции.
5.16.8. Металлические пакеты, применяемые для упаковки рулонного холоднокатаного тонколистового проката и ленты, состоят из внешнего и внутреннего цилиндров размерами, равными соответственно внешнему и внутреннему диаметру рулона, и высотой, равной ширине листа и двух торцевых крышек.
Торцевые крышки имеют форму кольца с бортами по наружной и внутренней окружностям, с помощью которых должно быть обеспечено перекрытие не менее 100 мм.
5.16.9. Допускается для холоднокатаного листового проката шириной св. 500 до 1600 мм и холоднокатаной ленты в рулонах применять тару, состоящую из внешнего цилиндра или одного и более листов упаковочного металла.
При установке на поддон рулона в вертикальном положении допускается применять одну торцевую крышку, при установке в горизонтальном положении - две.
Допускается применение торцевых крышек без бортов по окружности при диаметре внешнего упаковочного цилиндра больше диаметра рулона на 50 мм с последующим гибом кромок цилиндра по окружности.
| | ИС МЕГАНОРМ: примечание. Взамен ГОСТ 5530-81 Приказом Ростехрегулирования от 18.10.2005 N 244-ст с 1 января 2006 года введен в действие ГОСТ 5530-2004. | |
5.16.10. Тарная ткань для упаковки должна соответствовать требованиям ГОСТ 5530.
5.16.11. Для обвязок пакетов, ящиков, пачек, рулонов и связок применяют упаковочную ленту толщиной от 0,6 до 2,0 мм, шириной от 18 до 30 мм. Выбор размера ленты зависит от объема и массы проката, подлежащего упаковке. Концы упаковочной ленты при обвязке следует соединять с помощью замков, двойного точечного сварного шва или любым другим способом, обеспечивающим прочность соединения. Натяжка упаковочных лент должна обеспечивать плотность упаковок и товарный вид скреплений.
(в ред.
Изменения N 1, введенного в действие Постановлением Госстандарта РФ от 05.04.2001 N 164-ст)
5.16.12. При упаковке сортового и фасонного проката применяют проволоку или катанку диаметром от 5 до 8 мм в два-три оборота или в две-три нитки с плотной укруткой.
Для обвязки прутков в пачки массой до 100 кг, ящиков и мягкой тары применяют упаковочную ленту толщиной 0,5 - 1,2 мм, проволоку диаметром 2 - 3 мм в два-три оборота или диаметром 4 мм в один-два оборота. Свободные концы проволоки после закрутки не должны быть более 150 мм. Концы обвязок проволоки пригибают к поверхности связки или пачки.
5.16.13. При упаковке пачек листов с обвязкой или с промасливанием и обвязкой под упаковочную ленту на ребра пачки должны быть положены предохранительные подкладки из листового проката толщиной 0,5 - 1,2 мм и шириной 100 - 150 мм. При упаковке рулонов подкладки не обязательны.
При механизированной упаковке листов допускается предохранительные подкладки не ставить.
5.16.14. Бумага, применяемая для обертки металлопродукции и выстилки жесткой тары, должна быть влагонепроницаемой, прочной и нейтральной (бесхлорной и бескислотной) по
ГОСТ 515,
ГОСТ 8828,
ГОСТ 9569 и другим или специальным техническим условиям.
5.17. Упаковка сортового и фасонного проката, поставляемого для внешнего рынка
5.17.1. Сортовой и фасонный прокат размером 100 мм и менее упаковывают в пачки массой от 0,1 до 10 т.
5.17.2. Упаковка сортового и фасонного проката размером 50 мм и менее осуществляется с предварительной увязкой его в пачки массой до 100 кг в соответствии с заказом.
5.17.3. Сортовой прокат размером до 20 мм включительно разрешается поставлять в мотках или связках из трех-пяти мотков.
5.17.4. В соответствии с заказом устанавливают массу грузового места. При отсутствии в заказе указания о массе грузового места ее устанавливает поставщик.
5.17.5. Количество обвязок пачки в зависимости от длины проката должно соответствовать таблице 3.
┌─────────────────────────┬──────────────────────────────────────┐
│ Масса упаковки │ Количество обвязок, шт., не менее, │
│ │ при длине проката, м │
│ ├────────┬─────────┬─────────┬─────────┤
│ │до 4 │св. 4 до │св. 6 до │св. 9 до │
│ │включ. │6 включ. │9 включ. │12 включ.│
├─────────────────────────┼────────┼─────────┼─────────┼─────────┤
│ Пачки массой 0,1 - 10 т │2 │3 │4 │5 │
│ │ │ │ │ │
│ │ n │ n │ n │ n │
│ Связки пачек массой от │(2 + 2)│(3 + 3) │(4 + 4) │(5 + 5) │
│0,1 до 10 т включ. с │ │ │ │ │
│предварительной упаковкой│ │ │ │ │
│в пачки массой до 100 кг │ │ │ │ │
├─────────────────────────┴────────┴─────────┴─────────┴─────────┤
│ Примечание. "n" - число пачек в связке, число перед "n" -│
│количество обвязок на пачке, "плюс число" - количество обвязок в│
│связке. │
└────────────────────────────────────────────────────────────────┘
5.17.6. Сортовой прокат сечением до 25 мм, длиной более 12 м допускается поставлять согнутым пополам - "шпилькой" согласно заказу.
5.17.7. Мотки массой до 150 кг обвязывают не менее чем в двух местах, а мотки свыше 150 кг и связки мотков - не менее чем в четырех местах.
Мотки массой свыше 150 кг допускается упаковывать двумя обвязками при доставке металла заказчику без перевалок, что должно быть указано в заказе.
5.17.8. Поперечное сечение пачки сортового и фасонного проката в зависимости от формы и размеров поперечного сечения профиля должно приближаться к кругу, прямоугольнику или шестиугольнику.
5.17.9. При поставке проката немерной длины, оставшегося от раскатов, прокат разной длины упаковывают с выравниванием торцов пачек с одной стороны.
5.17.10. При поставке проката мерной и кратной мерной длины торцы пачек выравнивают с одной стороны, выступающие концы с другой стороны не должны превышать предельные отклонения по длине, установленные НД на конкретные виды проката.
Для кованого металла допускаются выступающие концы с одной стороны пачки до 250 мм.
5.18. Упаковка калиброванного, холоднотянутого и шлифованного проката и круглого проката со специальной отделкой поверхности, поставляемых для внешнего рынка.
(в ред.
Изменения N 1, введенного в действие Постановлением Госстандарта РФ от 05.04.2001 N 164-ст)
5.18.1. Калиброванный, холоднотянутый и шлифованный прокат и круглый прокат со специальной отделкой поверхности размерами поперечного сечения до 24 мм включительно упаковывают в деревянные ящики, а размером свыше 24 мм - по требованию потребителя. Масса одного грузового места не должна превышать 1 т.
(в ред.
Изменения N 1, введенного в действие Постановлением Госстандарта РФ от 05.04.2001 N 164-ст)
Для широкополосных шлифованных листов и рулонов масса одного грузового места устанавливается по соглашению изготовителя с потребителем.
Прокат размером свыше 24 мм увязывают в пачки и упаковывают в тару. Масса одной пачки не должна превышать 5 т. Масса пачки указывается в заказе.
(в ред.
Изменения N 1, введенного в действие Постановлением Госстандарта РФ от 05.04.2001 N 164-ст)
Калиброванный и холоднотянутый прокат, поставляемый в мотках, упаковывают в тару. По соглашению изготовителя с потребителем масса одного грузового места должна быть не более 2,5 т.
(в ред.
Изменения N 1, введенного в действие Постановлением Госстандарта РФ от 05.04.2001 N 164-ст)
Допускается упаковка калиброванного или холоднотянутого проката в мотках в одну поливинилхлоридную пленку по ГОСТ 9998,
ГОСТ 16272 или в полиэтиленовую пленку по
ГОСТ 10354.
При этом способ упаковки должен гарантировать сохранность продукции при транспортировании и хранении во всех климатических условиях, в том числе тропических.
По соглашению с экспортирующими организациями допускается калиброванный прокат в прутках диаметром до 24 мм упаковывать и отгружать в упаковке - синтетической пленке.
(в ред.
Изменения N 1, введенного в действие Постановлением Госстандарта РФ от 05.04.2001 N 164-ст)
5.18.2. Количество обвязок в зависимости от длины упаковочного места должно соответствовать требованиям
таблицы 3, а для проката в мотках и связках - 5.17.7.
(в ред.
Изменения N 1, введенного в действие Постановлением Госстандарта РФ от 05.04.2001 N 164-ст)
5.19. Упаковка листового проката и ленты, поставляемых для внешнего рынка
5.19.1. Листовой прокат поставляют поштучно, в пачках и рулонах. Ленту поставляют в отрезках, увязанных в пачки, рулонах и связках рулонов.
Вид упаковки должен соответствовать требованиям
таблицы 2.
5.19.2. Листовой прокат толщиной свыше 10 мм поставляют поштучно или в пачках по усмотрению поставщика. По соглашению изготовителя с потребителем листовой прокат толщиной свыше 6 мм поставляют поштучно или в пачках.
Масса пачки не должна превышать 5 т, высота - 600 мм.
Массу пачки менее 5 т указывают в заказе.
Масса пачки широкополосного проката не должна превышать 10 т и устанавливается поставщиком при отсутствии указания в заказе.
5.19.3. По соглашению изготовителя с потребителем листовой прокат толщиной 6 мм и более поставляют поштучно или в пачках массой до 10 т.
5.19.4. Пачки холоднокатаного и горячекатаного травленого тонколистового проката и ленты массой до 5 т перед укладкой в жесткую тару обвязывают поперечными обвязками в двух местах упаковочной лентой, а свыше 5 т - в трех местах.
5.19.5. Металлические пакеты и деревянные ящики с листовым прокатом или лентой плотно обвязывают упаковочной лентой.
Количество обвязок холоднокатаного листового проката должно быть не менее указанного в таблице 4.
┌──────────────┬────────────┬───────────────────────┬────────────┐
│Ширина листа, │ Количество │ Длина листа, мм │ Количество │
│ мм │ продольных │ │ поперечных │
│ │обвязок, шт.│ │обвязок, шт.│
├──────────────┼────────────┼───────────────────────┼────────────┤
│До 1000 включ.│2 │ До 1000 включ.│2 │
│Св. 1000 │3 │Св. 1000 " 2000 " │3 │
│ │ │ " 2000 " 4000 " │4 │
│ │ │ " 4000 " 6000 " │6 │
└──────────────┴────────────┴───────────────────────┴────────────┘
По соглашению изготовителя с потребителем допускается аналогичная упаковка ручным способом с применением специальных машинок, обеспечивающих надежную прочность упаковки и замыкания концов обтягивающей ленты прочными металлическими замками.
5.19.6. Количество обвязок пачек горячекатаного травленого листового проката в зависимости от длины должно быть не менее указанного в таблице 5.
┌─────────────────────────────┬───────────────────────────────────┐
│ Длина, мм │ Количество обвязок, шт. │
│ ├─────────────────┬─────────────────┤
│ │ поперечных │ продольных │
├─────────────────────────────┼─────────────────┼─────────────────┤
│ До 4000 включ. │3 │2 │
│Св. 4000 " 6000 " │4 │2 │
│ " 6000 │5 │3 │
└─────────────────────────────┴─────────────────┴─────────────────┘
5.19.7. При механизированной упаковке в потоке допускается обвязка пачек горячекатаных нетравленых листов только поперечными обвязками в количестве, равном сумме продольных и поперечных обвязок в соответствии с
таблицей 5.
5.19.8. Металлические пачки с холоднокатаными листами толщиной менее 3 мм и горячекатаными травлеными листами толщиной менее 2 мм (по соглашению изготовителя с потребителем - менее 5 мм), а также пачки горячекатаных нетравленых листов толщиной менее 2 мм, шириной 1 м и более или длиной 1,5 м и более крепят на деревянные салазки с продольными и поперечными брусьями сечением (от 7 до 110) х (от 70 до 130) мм со скосами. Длина брусьев должна быть равна или меньше на 140 - 200 мм упакованного листа.
(в ред.
Изменения N 1, введенного в действие Постановлением Госстандарта РФ от 05.04.2001 N 164-ст)
При упаковке холоднокатаного листа на салазках с поперечными досками допускается длина продольных брусьев короче упаковочного листа до 100 мм.
(абзац введен
Изменением N 1, введенным в действие Постановлением Госстандарта РФ от 05.04.2001 N 164-ст)
Количество продольных и поперечных брусьев принимают равным минимальному количеству продольных и поперечных обвязок пакета или пачки, указанному в
таблицах 4 и
5.
При ширине листов менее 1 м и длине менее 1,5 м количество поперечных и продольных брусьев должно быть не менее двух.
При постановке листов других размеров брусья прикрепляют по требованию потребителя.
Допускается применять доски сечением (от 20 до 40) х (от 100 до 150) мм вместо поперечных брусьев. При этом длина продольных брусьев должна быть равна длине листа.
5.19.9. Холоднокатаный тонколистовой прокат и ленты в рулонах упаковывают в жесткую тару. Ленты из электротехнической стали в рулонах допускается упаковывать в мягкую тару.
5.19.10. Холоднокатаный и горячекатаный прокат в рулонах должен быть прочно обвязан стальной упаковочной лентой по окружности рулона и в радиальном направлении. Количество обвязок по окружности должно быть не менее указанных в таблице 6, а в радиальном направлении - в
таблице 7.
Таблица 6
┌────────────────────────────────┬────────────────────────────────┐
│ Ширина рулона, мм │ Количество обвязок, шт. │
├────────────────────────────────┼────────────────────────────────┤
│ До 500 включ. │1 │
│Св. 500 " 1250 " │2 │
│ " 1250 │3 │
├────────────────────────────────┴────────────────────────────────┤
│ Примечание. Для горячекатаных рулонов массой до 7,5 кг 1 мм│
│ширины допускается 1 - 2 обвязки по окружности. │
│Постановлением Госстандарта РФ от 05.04.2001 N 164-ст) │
└─────────────────────────────────────────────────────────────────┘
┌─────────────────────────────────┬───────────────────────────────┐
│ Внутренний диаметр рулона, мм │ Количество обвязок, шт. │
├─────────────────────────────────┼───────────────────────────────┤
│До 600 включ. │2 - 3 │
│Св. 600 │3 - 4 │
├─────────────────────────────────┴───────────────────────────────┤
│ Примечание. Для горячекатаных рулонов массой до 7,5 кг 1 мм│
│ширины допускается 2 - 6 радиальных обвязок. │
│Постановлением Госстандарта РФ от 05.04.2001 N 164-ст) │
└─────────────────────────────────────────────────────────────────┘
5.19.11. При механизированной упаковке рулонов допускается обвязка рулонов только в радиальном направлении, количество обвязок должно равняться сумме обвязок по окружности и в радиальном направлении.
5.19.12. Ленту в рулонах упаковывают в стопы. Между рулонами холоднокатаной ленты укладывают кольцевые прокладки.
Количество радиальных обвязок стопы должно соответствовать
таблице 7. Рулоны из разрезной ленты, смотанные на одну моталку, упаковывают без прокладок.
5.19.13. Упакованные рулоны холоднокатаного и горячекатаного травленого тонколистового проката и стопы рулонов устанавливают на деревянные поддоны или салазки в горизонтальном или вертикальном положении и прочно прикрепляют к поддону или салазкам упаковочной лентой:
- при горизонтальном положении рулонов - тремя обвязками по наружному диаметру и двумя обвязками в радиальном направлении в очко;
- при вертикальном положении рулона и стопы - четырьмя обвязками в очко.
5.20. Защита от коррозии металлопроката, поставляемого для внешнего рынка
5.20.1. Для защиты проката от коррозии, если это предусмотрено НД на конкретные виды металлопродукции, применяют масла, смазки и ингибиторы в соответствии с
ГОСТ 9.014, индустриальное масло по
ГОСТ 20799.
По соглашению изготовителя с потребителем допускается применять другие масла, смазки и ингибиторы, обеспечивающие сохранность металла от коррозии.
5.20.2. Прокат, подлежащий промасливанию, по соглашению изготовителя с потребителем можно поставлять без промасливания или с промасливанием только торцов рулона, связки или пачки.
Прокат из стали и сплавов коррозионно-стойких марок промасливают по усмотрению изготовителя.
5.21. Защита металлопродукции, поставляемой на внутренний рынок, от коррозии должна соответствовать НД на конкретные виды проката.
5.22. Дополнительные требования к упаковке и формированию грузовых мест должны соответствовать НД на конкретные виды металлопродукции.
5.23. При упаковке металлопродукции в контейнеры контейнеры подлежат возврату.
6. ТРАНСПОРТИРОВАНИЕ И ХРАНЕНИЕ
6.1. Подготовка металлопродукции к транспортированию должна соответствовать
ГОСТ 26653.
6.2. Металлопродукцию транспортируют всеми видами транспорта в соответствии с правилами перевозки, действующими на данном виде транспорта, и техническими условиями погрузки и крепления грузов.
6.3. Металлопродукцию транспортируют в вагонах открытого и закрытого типов.
Дополнительные требования к транспортированию и хранению устанавливаются в нормативной документации (НД) на конкретные виды металлопродукции.
6.4. При транспортировании металлопродукции воздушным транспортом необходимо учитывать требования по допустимой удельной нагрузке на пол грузовой кабины воздушного судна.
6.5. Прокат хранят в закрытых и открытых складах.
(рекомендуемое)
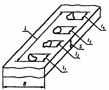
МЕТОДИКА ОПРЕДЕЛЕНИЯ МАССЫ УЧАСТКОВ
ПРОКАТА С ДЕФЕКТАМИ ПОВЕРХНОСТИ
Масса участков проката с дефектами поверхности определена при периодичности появления дефектов более и менее 3 метров.
Периодичность появления дефектов 3 м выбрана из условия возможного использования проката после вырезки дефектов.
Рисунок А.1
А.1. Массу участков проката при периодичности появления дефектов более 3 м определяют по формуле

, (А.1)
(в ред.
Изменения N 1, введенного в действие Постановлением Госстандарта РФ от 05.04.2001 N 164-ст)
где B - ширина листового проката, мм;
S - толщина листового проката, мм;

- максимальный размер дефекта, мм;
(в ред.
Изменения N 1, введенного в действие Постановлением Госстандарта РФ от 05.04.2001 N 164-ст)
n - количество дефектов;

- плотность стали, г/см3.
А.2. Массу участков проката при периодичности появления дефектов менее 3 м определяют по формуле

, (А.2)
где L - расстояние от начала первого дефекта до конца последнего, мм.