Главная // Актуальные документы // ГОСТ (Государственный стандарт)СПРАВКА
Источник публикации
М.: ИПК Издательство стандартов, 2002
Примечание к документу
С 1 июля 2003 года до вступления в силу технических регламентов акты федеральных органов исполнительной власти в сфере технического регулирования носят рекомендательный характер и подлежат обязательному исполнению только в части, соответствующей целям, указанным в
пункте 1 статьи 46 Федерального закона от 27.12.2002 N 184-ФЗ.
Документ
введен в действие с 1 января 1997 года.
Взамен ГОСТ 27809-88.
Название документа
"ГОСТ 27809-95. Межгосударственный стандарт. Чугун и сталь. Методы спектрографического анализа"
(введен в действие Постановлением Госстандарта России от 19.06.1996 N 405)
"ГОСТ 27809-95. Межгосударственный стандарт. Чугун и сталь. Методы спектрографического анализа"
(введен в действие Постановлением Госстандарта России от 19.06.1996 N 405)
Постановлением
Комитета Российской Федерации
по стандартизации,
метрологии и сертификации
от 19 июня 1996 г. N 405
МЕЖГОСУДАРСТВЕННЫЙ СТАНДАРТ
ЧУГУН И СТАЛЬ
МЕТОДЫ СПЕКТРОГРАФИЧЕСКОГО АНАЛИЗА
Cast iron and steel.
Methods of spectrographic analysis
ГОСТ 27809-95
| | ИС МЕГАНОРМ: примечание. В официальном тексте документа, видимо, допущена опечатка: ГОСТ 27809-95 введен в действие с 1 января 1997 года, а не с 1 июля 1997 года. | |
Дата введения
1 июля 1997 года
1 РАЗРАБОТАН Украинским научно-исследовательским институтом металлов
ВНЕСЕН Государственным комитетом Украины по стандартизации, метрологии и сертификации
2 ПРИНЯТ Межгосударственным Советом по стандартизации, метрологии и сертификации (протокол N 7 от 26 апреля 1995 г.)
За принятие проголосовали:
Наименование государства | Наименование национального органа по стандартизации |
Азербайджанская Республика | Азгосстандарт |
Республика Белоруссия | Белстандарт |
Республика Грузия | Грузстандарт |
Республика Таджикистан | Таджикский государственный центр по стандартизации, метрологии и сертификации |
Российская Федерация | Госстандарт России |
Украина | Госстандарт Украины |
3 Постановлением Комитета Российской Федерации по стандартизации, метрологии и сертификации от 19 июня 1996 г. N 405 межгосударственный стандарт ГОСТ 27809-95 введен в действие непосредственно в качестве государственного стандарта Российской Федерации с 1 января 1997 г.
4 ВЗАМЕН ГОСТ 27809-88
5 ПЕРЕИЗДАНИЕ. Январь 2002 г.
Настоящий стандарт устанавливает спектрографические методы определения в чугуне и стали массовой доли элементов:
- кремний - | от | 0,002 | до | 5,0 | %; |
- марганец | " | 0,01 | " | 5,0 | " |
- хром | " | 0,01 | " | 5,0 | " |
- никель | " | 0,01 | " | 5,0 | " |
- алюминий | " | 0,002 | " | 2,0 | " |
- титан | " | 0,001 | " | 1,0 | " |
- медь | " | 0,01 | " | 2,0 | " |
- молибден | " | 0,01 | " | 5,0 | " |
- вольфрам | " | 0,02 | " | 5,0 | " |
- ванадий | " | 0,01 | " | 1,0 | " |
- магний | " | 0,005 | " | 0,1 | " |
- бор | " | 0,001 | " | 0,1 | " |
- церий | " | 0,01 | " | 0,1 | " |
- ниобий | " | 0,01 | " | 1,0 | " |
- цирконий | " | 0,005 | " | 0,2 | " |
- мышьяк | " | 0,005 | " | 0,2 | ". |
Метод основан на возбуждении атомов элементов чугуна или стали электрическим разрядом дуги переменного тока при атмосферном или пониженном давлении воздуха, разрядом высоковольтной искры при атмосферном давлении воздуха, разложении излучения в спектр, регистрации спектра на фотопластинке, измерении плотности почернения спектральных аналитических линий контролируемых элементов и линий сравнения железа, вычислении разности плотностей почернения этих линий и последующем определении массовой доли элементов с помощью градуировочных графиков.
Стандарт пригоден для целей сертификации.
В настоящем стандарте использованы ссылки на следующие стандарты:
ГОСТ 8.010-90 <*> ГСИ. Методики выполнения измерений
--------------------------------
ГОСТ 8.326-89 <**> Метрологическое обеспечение разработки, изготовления и эксплуатации нестандартизированных средств измерения. Основные положения
--------------------------------
ГОСТ 12.1.019-79 ССБТ. Электробезопасность. Общие требования и номенклатура видов защиты
ГОСТ 4784-97 Алюминий и сплавы алюминиевые деформируемые. Марки
ГОСТ 6456-82 Шкурка шлифовальная бумажная. Технические условия
ГОСТ 7565-81 Чугун, сталь и сплавы. Методы отбора проб для определения химического состава
ГОСТ 21400-75 Стекло химико-лабораторное. Технические требования. Методы испытаний
ГОСТ 27068-86 Натрий серноватистокислый (натрий тиосульфат) 5-водный. Технические условия
3.1 При проведении анализа применяют спектрографы, дуговые, искровые источники возбуждения спектра, микрофотометры и другую аппаратуру, обеспечивающую точность результатов анализа, предусмотренную настоящим стандартом. Нестандартизованные средства измерения должны быть аттестованы по ГОСТ 8.326.
3.2 Градуировочные графики строят по методу "трех эталонов" или другими методами, откладывая по оси абсцисс логарифм массовой доли элемента, а по оси ординат - разность плотности почернения аналитической линии и линии сравнения для стандартных образцов.
3.3 Для каждой спектрограммы, соответствующей пробе, по каждому элементу с помощью градуировочного графика, построенного в соответствии с
3.2, определяют значения массовой доли элемента. Среднее значение массовой доли по двум (трем) спектрограммам принимают за результат спектрального анализа.
Численное значение результата анализа пробы и стандартного образца должно содержать последнюю значащую цифру в том же разряде, в котором она стоит в соответствующем значении погрешности

.
4 ОТБОР И ПОДГОТОВКА ПРОБ
4.2 Поверхность пробы, подготовленную для анализа, затачивают на плоскость. На поверхности не допускаются раковины, шлаковые включения, цвета побежалости и другие дефекты.
5 АППАРАТУРА, МАТЕРИАЛЫ И РЕАКТИВЫ
5.1 Кварцевый спектрограф средней или высокой дисперсии, позволяющий получать спектр в диапазоне длин волн от 230 до 420 нм.
Кварцевый ступенчатый ослабитель.
Генератор дуги переменного тока (режим дуги переменного тока).
Генератор высоковольтной искры (режим высоковольтной искры).
Микрофотометр.
Спектропроектор.
Отрезные станки.
Точильно-шлифовальный (обдирочно-наждачный) станок.
Электрокорундовые абразивные круги с керамической связкой, твердостью СТ-2, размером 300 x 40 x 70 мм по
ГОСТ 2424.
Шкурка шлифовальная бумажная типа ШБ-200 зернистостью 40 - 50 по
ГОСТ 6456.
Универсальный станок для заточки электродов.
Токарно-винторезный станок.
Постоянные электроды - угольные спектрально чистые стержни диаметром 6 мм марок С2, С3, прутки медные диаметром 6 мм по
ГОСТ 1535 марок М00, М1, М2 по
ГОСТ 859, стержни алюминиевые диаметром 6 мм марки АД-1 по
ГОСТ 4784, прутки вольфрамовые диаметром 4 - 8 мм.
Стеклянные и металлические шаблоны толщиной 1,5; 2,0 мм.
Комплекты стандартных образцов - ГСО, ОСО, СОП.
Камера-штатив - установка конструкции УкрНИИМет для анализа при пониженном давлении воздуха. Схема и описание установки приведены в
приложении Б.
Вакуумный насос типа ВНВР-5ДН.
Мановакуумметр.
Вакуумные краны двухходовые и трехходовые.
Фотопластинки спектрографические типов 1, 2, 3, ЭС, УФШ, ПФС-02.
Натрий сернистокислый безводный по
ГОСТ 195.
Метол (параметиламинофенол).
Натрий серноватистокислый (натрия тиосульфат) 5-водный по
ГОСТ 27068.
Проявитель:
Раствор 1
Метол, г ......................................................................... | 1,0 |
Натрий сернистокислый безводный, г ....................... | 26,0 |
Гидрохинон, г ............................................................... | 5,0 |
Калий бромистый, г ..................................................... | 1,0 |
Вода дистиллированная, см3 ....................................... | до 500 |
Раствор 2
Натрий углекислый, г .................................................. | 20,0 |
Вода дистиллированная, см3 ....................................... | до 500 |
Раствор 1 и 2 смешивают в равных объемах.
Закрепитель:
Натрий серноватистокислый, г .................................. | 200,0 |
Аммоний хлористый, г ................................................ | 27,0 |
Вода дистиллированная, см3 ....................................... | до 500 |
5.2 Допускается применение другой аппаратуры, оборудования и материалов, обеспечивающих точность анализа, предусмотренную настоящим стандартом.
6 ПОДГОТОВКА К ИЗМЕРЕНИЯМ
6.1 Подготовку аппаратуры к выполнению измерений проводят согласно инструкции по обслуживанию и эксплуатации аппаратуры.
6.2 Постоянные электроды затачивают на усеченный конус под углом 90° с диаметром площадки 1,5 - 2,0 мм или на полусферу с радиусом кривизны 3 - 4 мм.
6.3 Градуировочные графики строят по методу "трех эталонов" или контрольного эталона с применением стандартных образцов категории ГСО, ОСО, СОП, соответствующих пробам по составу и физико-химическим свойствам и аттестованных по
ГОСТ 8.315 или однородных проб, проанализированных стандартизованными или аттестованными методиками химического анализа с известными показателями точности. Допускается при градуировке использование СО, отличающихся от анализируемых проб по физико-химическим свойствам, при условии внесения поправок в результаты анализа.
7.1 Пробу или стандартный образец и постоянный электрод закрепляют в электрододержателях. Расстояние между ними устанавливают с помощью шаблона, теневой проекции или путем отсчета по шкале маховичка от момента касания электродов.
7.2 Щель спектрографа освещают источником света с помощью трехлинзовой или однолинзовой системы.
При необходимости перед щелью спектрографа ставят кварцевый ступенчатый ослабитель.
7.3 При работе по методу "трех эталонов" фотографируют в одинаковых условиях по два (три) раза на спектрографе спектры проб и стандартных образцов (эталонов) на одной фотопластинке. Порядок фотографирования спектров рандомизируют.
7.4 При работе по методу контрольного эталона многократно на одной или нескольких фотопластинках в одинаковых условиях фотографируют спектры стандартных образцов (эталонов), один из которых служит контрольным. Спектры проб и контрольного эталона фотографируют по два (три) раза на другой фотопластинке.
7.5 В спектрограмме на фотопластинке находят нужную область спектра, спектральные линии элементов и с помощью микрофотометра измеряют плотность их почернения. Длины волн рекомендуемых спектральных линий и интервал значений массовых долей определяемых элементов приведены в
таблице 1.
Линию Si 250,69 нм применяют в отсутствие ванадия, а Si 251,61 нм - в отсутствие ванадия и титана.
Определяемый элемент | Длина волны, нм | Интервал массовой доли, % |
определяемого элемента | элемента сравнения железа |
Дуга | Искра | Дуга | Искра |
Кремний | 288,16 | | 288,06 | | 0,002 - 0,010 |
288,16 | | 288,08 | | 0,002 - 0,400 |
250,69 | | 250,78 | | 0,1 - 1,0 |
251,61 | | 251,81 | | 0,1 - 0,4 |
| 250,69 | | 250,78 | 0,4 - 5,0 |
| 251,61 | | 251,81 | 0,4 - 5,0 |
| 288,16 | | 286,93 | 0,4 - 5,0 |
Марганец | 280,11 | | 280,45 | | 0,01 - 0,30 |
293,31 | | 292,66 | | 0,20 - 1,00 |
| 293,31 | | 292,66 | 0,20 - 2,00 |
| 293,31 | | 292,07 | 0,20 - 2,00 |
| 293,31 | | 293,69 | 0,20 - 2,00 |
| 293,93 | | 292,66 | 0,20 - 2,00 |
| 257,60 | | 257,79 | 2,0 - 5,0 |
| 265,10 | | 264,95 | 2,0 - 5,0 |
Хром | 267,71 | | 267,90 | | 0,01 - 0,50 |
267,71 | | 268,92 | | 0,1 - 1,5 |
| 267,71 | | 268,92 | 0,1 - 5,0 |
| 283,04 | | 282,33 | 0,1 - 5,0 |
Никель | 341,47 | | 341,31 | | 0,01 - 0,50 |
305,08 | | 305,52 | 341,31 | 0,01 - 0,50 |
| 341,47 | | 344,38 | 0,1 - 1,5 |
| 341,47 | | 241,33 | 1,0 - 5,0 |
| 241,61 | | | 1,0 - 5,0 |
Алюминий | 396,15 | | 398,39 | | 0,002 - 0,010 |
308,21 | | 305,52 | | 0,01 - 0,10 |
308,21 | | 308,37 | | 0,04 - 1,00 |
| 308,21 | | 308,37 | 0,5 - 2,0 |
Титан | 334,90 | | 336,69 | | 0,001 - 0,100 |
336,12 | 336,12 | 336,69 | 336,69 | 0,001 - 0,300 |
| 308,80 | | 325,59 | 0,1 - 1,0 |
| 334,90 | | 325,58 | 0,1 - 1,0 |
Медь | | 327,39 | | 328,67 | 0,01 - 2,00 |
Молибден | 317,03 | | 317,13 | | 0,01 - 1,00 |
317,03 | | 309,82 | | 0,01 - 0,50 |
313,25 | | 317,54 | | 0,01 - 1,00 |
| 281,61 | | 282,86 | 0,01 - 1,00 |
| 277,54 | | 277,21 | 1,0 - 5,0 |
Вольфрам | 289,60 | | 289,94 | | 0,02 - 0,30 |
330,08 | | 329,81 | | 0,2 - 2,0 |
| 239,71 | | 239,67 | 1,0 - 2,0 |
| 239,71 | | 239,67 | 2,0 - 5,0 |
Ванадий | 318,40 | | 317,80 | | 0,01 - 0,10 |
311,07 | | 311,66 | | 0,01 - 0,10 |
| 311,07 | | 308,37 | 0,10 - 1,00 |
Магний | 280,27 | 280,27 | 279,92 | 280,70 | 0,005 - 0,100 |
Бор | 208,96 | | 209,09 | | 0,001 - 0,100 |
249,67 | | 249,82 | | 0,001 - 0,100 |
Церий | 320,17 | | 320,25 | | 0,02 - 0,10 |
399,92 | | 399,80 | | 0,01 - 0,10 |
Ниобий | 313,08 | | 311,66 | | 0,01 - 0,10 |
| 309,42 | | 304,76 | 0,10 - 1,0 |
| 309,42 | | 308,37 | 0,1 - 1,0 |
| 309,42 | | 309,16 | 0,1 - 1,0 |
Цирконий | 360,12 | | 359,70 | | до 0,005 |
343,01 | | 341,55 | | 0,02 - 0,20 |
| 327,30 | | 325,59 | 0,02 - 0,20 |
| 343,82 | | 333,93 | 0,02 - 0,20 |
Мышьяк | 234,98 | | 235,04 | | 0,005 - 0,200 |
При определении бора в стали применяют линию сравнения Fe 249,65 нм, в чугуне - 249,82 нм. При определении церия в стали применяют линию сравнения Fe 320,25 нм, в чугуне - Fe 319,11 нм. Линию Ce 320,17 нм применяют при отсутствии титана и ванадия, линию Ce 399,92 нм - при массовой доле титана меньше 0,2%. Линию молибдена 281,6 нм применяют при массовой доле алюминия не более 0,1%.
7.6 Выполнение анализа с применением электрического разряда дуги переменного тока при атмосферном давлении воздуха
7.6.1 Проводят измерения массовых долей элементов:
- кремния - | от | 0,002 | до | 1,0 | %; |
- марганца | " | 0,01 | " | 1,0 | " |
- хрома | " | 0,01 | " | 1,0 | " |
- никеля | " | 0,01 | " | 1,0 | " |
- алюминия | " | 0,002 | " | 1,0 | " |
- титана | " | 0,01 | " | 1,0 | " |
- мышьяка | " | 0,005 | " | 0,2 | " |
- ванадия | " | 0,02 | " | 1,0 | " |
- бора | " | 0,001 | " | 0,1 | " |
- молибдена | " | 0,01 | " | 1,0 | " |
- вольфрама | " | 0,02 | " | 2,0 | " |
- циркония | " | 0,005 | " | 2,02 | ". |
Условия проведения анализа приведены в приложении А
(таблица А.1).
7.7 Выполнение анализа с применением электрического разряда дуги переменного тока при пониженном давлении воздуха
7.7.1 Проводят измерения массовых долей элементов:
- бора - | " | 0,001 | " | 0,100 | %; |
- церия | " | 0,01 | " | 0,10 | " |
- ниобия | " | 0,01 | " | 1,00 | " |
- циркония | " | 0,005 | " | 0,200 | ". |
7.7.2 Описание установки для проведения анализа с применением электрического разряда дуги переменного тока при пониженном давлении воздуха приведено в
приложении Б.
7.7.3 Условия проведения анализа приведены в приложении А
(таблица А.2).
7.8 Выполнение анализа с применением электрического разряда высоковольтной искры при атмосферном давлении воздуха
7.8.1 Проводят измерения массовых долей элементов:
- кремния - | от | 0,10 | до | 5,00 | %; |
- марганца | " | 0,10 | " | 5,00 | " |
- хрома | " | 0,10 | " | 5,00 | " |
- никеля | " | 0,10 | " | 5,00 | " |
- молибдена | " | 0,10 | " | 5,00 | " |
- вольфрама | " | 0,50 | " | 5,00 | " |
- меди | " | 0,01 | " | 2,00 | " |
- циркония | " | 0,02 | " | 0,10 | " |
- магния | " | 0,005 | " | 0,100 | " |
- алюминия | " | 0,50 | " | 2,00 | " |
- ванадия | " | 0,10 | " | 1,00 | " |
- титана | " | 0,50 | " | 1,00 | ". |
7.8.2 Условия проведения анализа приведены в приложении А
(таблица А.3).
8.1 Для каждого элемента по каждой спектрограмме проб и стандартных образцов вычисляют разность плотности почернения аналитической линии Sэл и линии сравнения SFe

. (1)
8.2 По спектрограммам стандартных образцов для каждого элемента вычисляют среднее арифметическое

двух (трех) значений

.
8.3 По средним значениям

для стандартных образцов и логарифмам массовой доли элемента lg
C строят градуировочный график по методу трех эталонов или по методу контрольного эталона.
8.4 По каждой спектрограмме пробы с помощью градуировочного графика определяют значение массовой доли каждого элемента. Среднее значение двух (трех) параллельных измерений принимают за результат анализа.
Допускается проводить предварительное усреднение разностей плотностей почернений, вычисленных для отдельных спектрограмм пробы, с последующим определением результата анализа по этим средним значениям с помощью градуировочного графика, построенного в соответствии с
7.3. При определении массовой доли элементов по средним значениям разности плотности почернений

допускаемое расхождение параллельных измерений должно быть выражено в единицах плотности почернений с помощью градуировочного графика.
8.5 Значение массовой доли элемента в пробе чугуна или стали, представленной тремя образцами, находят как среднее арифметическое трех измерений, полученных по одному измерению (одной спектрограмме) от каждого образца. Допускаемое расхождение между результатами этих измерений не должно превышать
d3 (
таблицы 2,
3). В случае превышения
d3 определяют значение массовой доли элемента по двум (трем) параллельным измерениям для каждого образца. Результаты выдаются для каждого образца в отдельности.
Определяемый элемент | Массовая доля, % |  , % | Допускаемые расхождения, % |  , % | dx-c, % |
dв | d2 | d3 |
Кремний | От 0,002 до 0,005 включ. | 0,002 | 0,003 | 0,002 | 0,003 | 0,002 | 0,002 |
Св. 0,005 " 0,010 " | 0,004 | 0,005 | 0,004 | 0,005 | 0,003 | 0,004 |
" 0,010 " 0,020 " | 0,007 | 0,008 | 0,007 | 0,008 | 0,004 | 0,006 |
" 0,02 " 0,05 " | 0,011 | 0,014 | 0,012 | 0,014 | 0,007 | 0,011 |
" 0,05 " 0,10 " | 0,015 | 0,020 | 0,016 | 0,020 | 0,010 | 0,019 |
" 0,10 " 0,20 " | 0,020 | 0,025 | 0,020 | 0,025 | 0,013 | 0,021 |
" 0,20 " 0,50 " | 0,035 | 0,040 | 0,035 | 0,040 | 0,020 | 0,034 |
" 0,5 " 1,0 " | 0,05 | 0,06 | 0,05 | 0,06 | 0,03 | 0,05 |
" 1,0 " 2,0 " | 0,09 | 0,10 | 0,09 | 0,10 | 0,06 | 0,08 |
" 2,0 " 5,0 " | 0,13 | 0,17 | 0,14 | 0,17 | 0,09 | 0,13 |
Марганец | От 0,01 до 0,02 включ. | 0,006 | 0,007 | 0,006 | 0,007 | 0,004 | 0,006 |
Св. 0,02 " 0,05 " | 0,007 | 0,009 | 0,008 | 0,009 | 0,005 | 0,008 |
" 0,05 " 0,10 " | 0,009 | 0,011 | 0,009 | 0,011 | 0,006 | 0,010 |
" 0,10 " 0,20 " | 0,013 | 0,017 | 0,014 | 0,017 | 0,009 | 0,016 |
" 0,20 " 0,50 " | 0,020 | 0,025 | 0,020 | 0,025 | 0,013 | 0,024 |
" 0,5 " 1,0 " | 0,04 | 0,05 | 0,04 | 0,05 | 0,03 | 0,04 |
" 1,0 " 2,0 " | 0,05 | 0,07 | 0,06 | 0,07 | 0,04 | 0,06 |
" 2,0 " 5,0 " | 0,08 | 0,10 | 0,08 | 0,10 | 0,06 | 0,09 |
Хром | От 0,01 до 0,02 включ. | 0,005 | 0,006 | 0,005 | 0,006 | 0,003 | 0,005 |
Св. 0,02 " 0,05 " | 0,008 | 0,010 | 0,008 | 0,010 | 0,005 | 0,008 |
" 0,05 " 0,10 " | 0,012 | 0,015 | 0,012 | 0,015 | 0,008 | 0,012 |
" 0,10 " 0,20 " | 0,020 | 0,025 | 0,020 | 0,025 | 0,013 | 0,020 |
" 0,20 " 0,50 " | 0,03 | 0,04 | 0,03 | 0,04 | 0,02 | 0,03 |
" 0,5 " 1,0 " | 0,05 | 0,06 | 0,05 | 0,06 | 0,03 | 0,05 |
" 1,0 " 2,0 " | 0,07 | 0,08 | 0,07 | 0,08 | 0,04 | 0,06 |
" 2,0 " 5,0 " | 0,09 | 0,11 | 0,09 | 0,11 | 0,06 | 0,09 |
Никель | От 0,01 до 0,02 включ. | 0,006 | 0,008 | 0,006 | 0,008 | 0,004 | 0,006 |
Св. 0,02 " 0,05 " | 0,011 | 0,014 | 0,011 | 0,014 | 0,007 | 0,011 |
" 0,05 " 0,10 " | 0,016 | 0,020 | 0,016 | 0,020 | 0,010 | 0,016 |
" 0,10 " 0,20 " | 0,024 | 0,030 | 0,025 | 0,030 | 0,015 | 0,024 |
" 0,20 " 0,50 " | 0,040 | 0,050 | 0,040 | 0,050 | 0,026 | 0,040 |
" 0,5 " 1,0 " | 0,06 | 0,08 | 0,07 | 0,08 | 0,04 | 0,06 |
" 1,0 " 2,0 " | 0,08 | 0,10 | 0,08 | 0,10 | 0,06 | 0,08 |
" 2,0 " 5,0 " | 0,11 | 0,14 | 0,11 | 0,14 | 0,07 | 0,11 |
Алюминий | От 0,002 до 0,005 включ. | 0,002 | 0,002 | 0,002 | 0,002 | 0,001 | 0,002 |
Св. 0,005 " 0,010 " | 0,004 | 0,005 | 0,004 | 0,005 | 0,003 | 0,004 |
" 0,010 " 0,020 " | 0,006 | 0,008 | 0,006 | 0,008 | 0,004 | 0,007 |
" 0,02 " 0,05 " | 0,012 | 0,015 | 0,012 | 0,015 | 0,008 | 0,012 |
" 0,05 " 0,10 " | 0,020 | 0,025 | 0,020 | 0,025 | 0,013 | 0,022 |
" 0,10 " 0,20 " | 0,03 | 0,04 | 0,03 | 0,04 | 0,02 | 0,04 |
" 0,20 " 0,50 " | 0,05 | 0,06 | 0,05 | 0,06 | 0,03 | 0,06 |
" 0,5 " 1,0 " | 0,11 | 0,14 | 0,11 | 0,14 | 0,07 | 0,11 |
" 1,0 " 2,0 " | 0,15 | 0,19 | 0,16 | 0,19 | 0,10 | 0,15 |
Титан | От 0,001 до 0,002 включ. | 0,0008 | 0,0010 | 0,0008 | 0,001 | 0,0005 | 0,0007 |
Св. 0,002 " 0,005 " | 0,0016 | 0,0020 | 0,0016 | 0,0020 | 0,0010 | 0,0020 |
" 0,005 " 0,010 " | 0,005 | 0,006 | 0,005 | 0,006 | 0,003 | 0,005 |
" 0,01 " 0,02 " | 0,007 | 0,009 | 0,007 | 0,009 | 0,005 | 0,007 |
" 0,02 " 0,05 " | 0,014 | 0,011 | 0,014 | 0,011 | 0,007 | 0,012 |
" 0,05 " 0,10 " | 0,020 | 0,025 | 0,020 | 0,025 | 0,013 | 0,020 |
" 0,1 " 0,2 " | 0,03 | 0,04 | 0,03 | 0,04 | 0,02 | 0,03 |
" 0,2 " 0,5 " | 0,04 | 0,05 | 0,04 | 0,05 | 0,03 | 0,04 |
" 0,5 " 1,0 " | 0,05 | 0,06 | 0,05 | 0,06 | 0,03 | 0,05 |
Медь | От 0,010 до 0,020 включ. | 0,006 | 0,008 | 0,006 | 0,008 | 0,004 | 0,006 |
Св. 0,020 " 0,050 " | 0,011 | 0,014 | 0,011 | 0,014 | 0,007 | 0,011 |
" 0,050 " 0,10 " | 0,016 | 0,020 | 0,016 | 0,020 | 0,010 | 0,016 |
" 0,10 " 0,20 " | 0,024 | 0,030 | 0,025 | 0,030 | 0,015 | 0,026 |
" 0,20 " 0,50 " | 0,04 | 0,05 | 0,04 | 0,05 | 0,03 | 0,04 |
" 0,5 " 1,0 " | 0,05 | 0,06 | 0,05 | 0,06 | 0,03 | 0,05 |
" 1,0 " 2,0 " | 0,08 | 0,10 | 0,08 | 0,10 | 0,06 | 0,08 |
Молибден | От 0,01 до 0,02 включ. | 0,006 | 0,008 | 0,007 | 0,008 | 0,004 | 0,006 |
Св. 0,02 " 0,05 " | 0,015 | 0,012 | 0,015 | 0,012 | 0,008 | 0,012 |
" 0,05 " 0,10 " | 0,020 | 0,025 | 0,020 | 0,025 | 0,013 | 0,019 |
" 0,10 " 0,20 " | 0,03 | 0,04 | 0,03 | 0,04 | 0,02 | 0,03 |
" 0,20 " 0,50 " | 0,04 | 0,05 | 0,04 | 0,05 | 0,03 | 0,04 |
" 0,5 " 1,0 " | 0,05 | 0,06 | 0,06 | 0,05 | 0,03 | 0,05 |
" 1,0 " 2,0 " | 0,08 | 0,10 | 0,08 | 0,10 | 0,06 | 0,08 |
" 2,0 " 5,0 " | 0,11 | 0,14 | 0,11 | 0,14 | 0,07 | 0,12 |
Вольфрам | От 0,02 до 0,05 включ. | 0,009 | 0,011 | 0,009 | 0,011 | 0,006 | 0,011 |
Св. 0,05 " 0,10 " | 0,013 | 0,017 | 0,014 | 0,017 | 0,009 | 0,017 |
" 0,10 " 0,20 " | 0,020 | 0,025 | 0,020 | 0,025 | 0,013 | 0,025 |
" 0,20 " 0,50 " | 0,04 | 0,05 | 0,04 | 0,05 | 0,03 | 0,04 |
" 0,5 " 1,0 " | 0,06 | 0,08 | 0,07 | 0,08 | 0,04 | 0,07 |
" 1,0 " 2,0 " | 0,11 | 0,14 | 0,11 | 0,14 | 0,07 | 0,11 |
" 2,0 " 5,0 " | 0,16 | 0,20 | 0,16 | 0,20 | 0,10 | 0,16 |
Ванадий | От 0,01 до 0,02 включ. | 0,008 | 0,010 | 0,008 | 0,010 | 0,005 | 0,008 |
Св. 0,02 " 0,05 " | 0,011 | 0,014 | 0,011 | 0,014 | 0,007 | 0,011 |
" 0,05 " 0,10 " | 0,020 | 0,025 | 0,020 | 0,025 | 0,013 | 0,019 |
" 0,10 " 0,20 " | 0,03 | 0,04 | 0,03 | 0,04 | 0,02 | 0,03 |
" 0,20 " 0,50 " | 0,04 | 0,05 | 0,04 | 0,05 | 0,03 | 0,04 |
" 0,5 " 1,0 " | 0,06 | 0,08 | 0,07 | 0,08 | 0,04 | 0,07 |
Магний | От 0,005 до 0,010 включ. | 0,003 | 0,004 | 0,004 | 0,005 | 0,003 | - |
Св. 0,010 " 0,020 " | 0,008 | 0,010 | 0,008 | 0,010 | 0,005 | - |
" 0,02 " 0,05 " | 0,011 | 0,014 | 0,011 | 0,014 | 0,007 | - |
" 0,05 " 0,10 " | 0,020 | 0,025 | 0,020 | 0,025 | 0,013 | - |
Бор | От 0,001 до 0,002 включ. | 0,0008 | 0,0010 | 0,0008 | 0,0010 | 0,0005 | 0,0009 |
Св. 0,002 " 0,005 " | 0,0020 | 0,0025 | 0,0020 | 0,0025 | 0,0010 | 0,0021 |
" 0,005 " 0,010 " | 0,003 | 0,004 | 0,003 | 0,007 | 0,002 | 0,003 |
" 0,010 " 0,020 " | 0,005 | 0,006 | 0,005 | 0,006 | 0,003 | 0,005 |
" 0,02 " 0,05 " | 0,007 | 0,009 | 0,007 | 0,009 | 0,005 | 0,007 |
" 0,05 " 0,10 " | 0,011 | 0,014 | 0,011 | 0,014 | 0,007 | 0,012 |
Церий | От 0,01 до 0,02 включ. | 0,006 | 0,008 | 0,007 | 0,008 | 0,004 | 0,007 |
Св. 0,02 " 0,05 " | 0,012 | 0,015 | 0,012 | 0,015 | 0,008 | 0,013 |
" 0,05 " 0,10 " | 0,020 | 0,025 | 0,020 | 0,025 | 0,013 | 0,022 |
Ниобий | От 0,01 до 0,02 включ. | 0,006 | 0,008 | 0,007 | 0,008 | 0,004 | 0,007 |
Св. 0,02 " 0,05 " | 0,012 | 0,015 | 0,012 | 0,015 | 0,008 | 0,012 |
" 0,05 " 0,10 " | 0,020 | 0,025 | 0,020 | 0,025 | 0,013 | 0,020 |
" 0,10 " 0,20 " | 0,03 | 0,04 | 0,03 | 0,04 | 0,02 | 0,03 |
" 0,20 " 0,50 " | 0,05 | 0,06 | 0,05 | 0,06 | 0,03 | 0,05 |
" 0,5 " 1,0 " | 0,08 | 0,10 | 0,08 | 0,10 | 0,05 | 0,08 |
Цирконий | От 0,005 до 0,010 включ. | 0,004 | 0,005 | 0,004 | 0,005 | 0,003 | 0,004 |
Св. 0,010 " 0,020 " | 0,005 | 0,006 | 0,005 | 0,006 | 0,003 | 0,005 |
" 0,02 " 0,05 " | 0,008 | 0,009 | 0,008 | 0,009 | 0,005 | 0,008 |
" 0,05 " 0,10 " | 0,011 | 0,014 | 0,011 | 0,014 | 0,007 | 0,013 |
" 0,10 " 0,20 " | 0,016 | 0,020 | 0,016 | 0,020 | 0,010 | 0,018 |
Мышьяк | От 0,005 до 0,010 включ. | 0,003 | 0,004 | 0,003 | 0,004 | 0,002 | 0,003 |
Св. 0,010 " 0,020 " | 0,005 | 0,006 | 0,005 | 0,006 | 0,003 | 0,005 |
" 0,02 " 0,05 " | 0,007 | 0,009 | 0,007 | 0,009 | 0,005 | 0,008 |
" 0,05 " 0,10 " | 0,012 | 0,015 | 0,012 | 0,015 | 0,008 | 0,013 |
" 0,10 " 0,20 " | 0,020 | 0,025 | 0,020 | 0,025 | 0,013 | 0,020 |
Определяемый элемент | Массовая доля, % |  , % | Допускаемые расхождения, % |  , % | dx-c, % |
dв | d2 | d3 |
Кремний | От 0,10 до 0,20 включ. | 0,03 | 0,04 | 0,03 | 0,04 | 0,02 | 0,03 |
| Св. 0,20 " 0,50 " | 0,04 | 0,05 | 0,04 | 0,05 | 0,03 | 0,04 |
| " 0,5 " 1,0 " | 0,05 | 0,07 | 0,06 | 0,07 | 0,04 | 0,06 |
| " 1,0 " 2,0 " | 0,09 | 0,12 | 0,10 | 0,12 | 0,07 | 0,09 |
| " 2,0 " 5,0 " | 0,13 | 0,17 | 0,14 | 0,17 | 0,09 | 0,13 |
Марганец | От 0,10 до 0,20 включ. | 0,020 | 0,025 | 0,020 | 0,025 | 0,013 | 0,020 |
| Св. 0,20 " 0,50 " | 0,04 | 0,05 | 0,04 | 0,05 | 0,03 | 0,04 |
| " 0,5 " 1,0 " | 0,05 | 0,06 | 0,05 | 0,06 | 0,03 | 0,05 |
| " 1,0 " 2,0 " | 0,08 | 0,10 | 0,08 | 0,10 | 0,06 | 0,08 |
| " 2,0 " 5,0 " | 0,30 | 0,40 | 0,30 | 0,40 | 0,20 | 0,28 |
<*> Остальные элементы - по таблице 2 |
9 НОРМЫ ТОЧНОСТИ ИЗМЕРЕНИЙ И ОПЕРАТИВНЫЙ КОНТРОЛЬ ИХ СОБЛЮДЕНИЯ
9.1 Погрешность результата анализа (при доверительной вероятности 0,95) не превышает предела

, приведенного в
таблицах 2 и
3, при выполнении условий: расхождение результатов двух (трех) параллельных измерений не должно превышать (при доверительной вероятности 0,95) значения
d2 (
d3), приведенного в
таблицах 2 и
3; воспроизведенное в стандартном образце значение массовой доли элемента не должно отличаться от аттестованного более чем на допускаемое (при доверительной вероятности 0,85) значение

, приведенное в
таблицах 2 и
3.
При невыполнении одного из вышеуказанных условий измерения прекращают и проводят повторное установление параметров градуировочной характеристики.
Расхождение двух средних результатов анализа, выполненных в различных условиях (например, при внутрилабораторном контроле воспроизводимости), не должно превышать (при доверительной вероятности 0,95) значения
dв, приведенного в
таблицах 2 и
3.
9.2 Нормы точности измерений массовой доли элементов в чугуне и стали (кроме кремния и марганца в чугуне) приведены в
таблице 2.
9.3 Нормы точности измерений массовой доли кремния и марганца в чугуне приведены в
таблице 3.
9.4 Контроль стабильности результатов анализа
Для контроля положения градуировочного графика при выполнении анализа по методу контрольного эталона вычисляют среднее значение

для контрольного эталона на основной фотопластинке и

на фотопластинке, где сфотографированы спектры проб с учетом контрастности.
Если разность

, выраженная в единицах массовой доли элемента, не превышает допускаемое значение 0,5
dв (
таблицы 2,
3), измерение проводят по основному графику. Если эта разность больше 0,5
dв, измерение проводят по параллельному градуировочному графику, проведенному через точку со значением

.
9.5 Контроль воспроизводимости результатов анализа
9.5.1 Контроль воспроизводимости результатов спектрографического анализа проводят повторным определением массовой доли контролируемых элементов в проанализированных ранее пробах не реже одного раза в квартал.
9.5.2 Число повторных определений должно быть не менее 0,3% общего числа определений.
9.5.3 Если расхождение результатов первичного и повторного анализа превышает допускаемое значение
dв (
таблицы 2,
3) не более чем в 5% случаев, воспроизводимость измерений считают удовлетворительной.
9.6 Контроль правильности результатов анализа
| | ИС МЕГАНОРМ: примечание. ГОСТ 8.010-90 утратил силу на территории Российской Федерации с 1 июля 1997 года в связи с введением в действие ГОСТ Р 8.563-96 (Постановление Госстандарта России от 23.05.1996 N 329). | |
9.6.1 Контроль правильности результатов спектрографического анализа проводят выборочным сравнением с результатами химического анализа, выполняемого стандартизованными или аттестованными в соответствии с ГОСТ 8.010 методиками не реже одного раза в квартал.
9.6.2 Число контролируемых результатов спектрального анализа устанавливают в соответствии с
9.5.2.
9.6.3 Правильность определений считают удовлетворительной, если число расхождений спектрографического и химического анализа, превышающих допускаемое значение
dx-c (
таблицы 2,
3), не более 5%.
Допускается выполнять контроль правильности фотоэлектрическим спектральным и рентгеноспектральным методами анализа. При этом допускаемое расхождение не должно превышать
dв (
таблицы 2,
3).
Допускается выполнять контроль правильности методом спектрографического анализа на основе воспроизведения значений массовой доли компонента в ГСО, ОСО, СОП, соответствующих пробам по химическому составу и физико-химическим свойствам. При этом воспроизведенное в ГСО, ОСО, СОП значение массовой доли компонента не должно отличаться от аттестованного более чем на допускаемое значение

(
таблицы 2,
3).
При разногласии в оценке качества стали и чугуна контроль правильности спектрографического анализа проводят сравнением с результатами химического анализа.
10 ТРЕБОВАНИЯ БЕЗОПАСНОСТИ
(рекомендуемое)
УСЛОВИЯ ПРОВЕДЕНИЯ АНАЛИЗА
Контролируемые параметры | Генератор дуги переменного тока при атмосферном давлении воздуха |
Напряжение, В | 220 +/- 10 |
Частота, Гц | 50 |
Сила тока, А | 8 - 12, при определении 0,001 - 0,100% массовой доли элемента 4 - 6, при определении 0,10 - 2,00% массовой доли элемента |
Аналитический промежуток, мм | 1,5 - 2,0 |
Ширина щели спектрографа, мм | 0,01 - 0,015 |
Время предварительного обжига, с | 10 или 0 (при определении бора) |
Экспозиция | В соответствии с чувствительностью фотопластинки |
Электроды | Постоянный алюминиевый электрод, заточенный на усеченный конус с диаметром площадки 1,5 мм при определении бора; медный электрод, заточенный на полусферу, усеченный конус или угольный, заточенный на усеченный конус с диаметром площадки 1,5 мм при определении других элементов |
Контролируемые параметры | Генератор дуги переменного тока при пониженном давлении воздуха |
Напряжение, В | 220 +/- 10 |
Частота, Гц | 50 |
Давление воздуха, мм рт. ст. (Па) | 300 (40000) при определении бора, 200 (27000) при определении других элементов |
Сила тока, А | 16 - 18 |
Аналитический промежуток, мм | 1,5 |
Ширина щели спектрографа, мм | 0,008 - 0,010 |
Время предварительного обжига | Без обжига |
Экспозиция | В соответствии с чувствительностью фотопластинки |
Электроды | Постоянный медный электрод, заточенный на полусферу или усеченный конус при определении церия, бора и угольный электрод, заточенный на усеченный конус с диаметром площадки 1,5 мм при определении других элементов |
Контролируемые параметры | Генератор высоковольтной искры при атмосферном давлении воздуха |
Напряжение, В | 220 +/- 10 |
Частота, Гц | 50 |
Емкость, мкФ | 0,01 - 0,02 |
Индуктивность, мГн | 0,01 - 0,05 |
Сила тока, А | Регулируют для получения одного стабильного пробоя в полупериод тока |
Аналитический промежуток, мм | 1,5 - 2,0 |
Ширина щели спектрографа, мм | 0,010 - 0,020 |
Время предварительного обжига, с | 30 - 60 |
Экспозиция | В соответствии с чувствительностью фотопластинки |
Электроды | Постоянные электроды: угольный, заточенный на усеченный конус с диаметром площадки 1,5 мм; медный, вольфрамовый, заточенные на полусферу или усеченный конус |
(рекомендуемое)
УСТАНОВКА ДЛЯ ВЫПОЛНЕНИЯ АНАЛИЗОВ
ПРИ ПОНИЖЕННОМ ДАВЛЕНИИ ВОЗДУХА
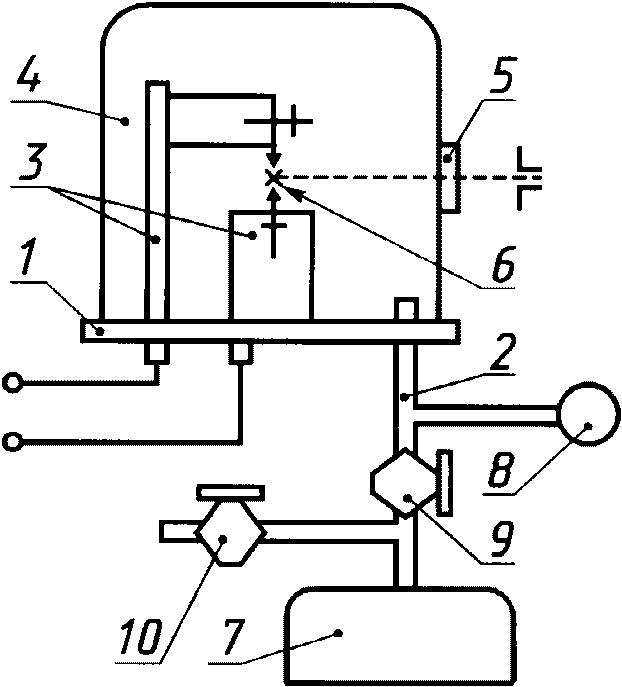
Элементами установки являются: камера-штатив конструкции Украинского научно-исследовательского института металлов, вакуумный насос, мановакуумметр. Схема установки приведена на
рисунке Б.1. Камера-штатив состоит из металлического стола
1 с отводом для откачки воздуха
2, стойки
3 с электрододержателями и стеклянного или металлического колпака
4. В стенку колпака впаяно кварцевое окно
5 для пропускания излучения от источника
6, расположенного на оптической оси прибора. Колпак стеклянный с рантом и кнопкой, изготовленный из стекла XV-II по
ГОСТ 21400 следующих размеров: диаметр колпака 200 мм, высота 250 мм или диаметр 250 мм, высота 260 мм. Размеры металлического колпака те же, что и стеклянного.
Рисунок Б.1 - Схема установки для выполнения анализов
при пониженном давлении воздуха
Камеру-штатив устанавливают на рельсе спектрографа. Стол-штатив с пробой и электродом
(рисунок Б.1) накрывают колпаком, открывают кран
9 и включают вакуумный насос
7. В камере создают заданное разрежение. После достижения заданного разрежения камеру отключают от вакуумной системы, перекрывая вакуумный кран
9, и фотографируют спектры. Затем насос выключают и открывают кран
10 для поступления воздуха в насос. Разрежение воздуха в камере контролируют с помощью мановакуумметра
8.