Скачать Комментарии к Правилам устройства и безопасной эксплуатации грузоподъемных кранов-манипуляторов (ПБ 10-257-98)

Дата актуализации: 01.01.2021

Комментарии к Правилам устройства и безопасной эксплуатации грузоподъемных кранов-манипуляторов (ПБ 10-257-98)

Статус:действует
Название рус.:Комментарии к Правилам устройства и безопасной эксплуатации грузоподъемных кранов-манипуляторов (ПБ 10-257-98)
Дата добавления в базу:01.09.2013
Дата актуализации:01.01.2021
Область применения:Документ предназначен для руководителей и специалистов организаций, занимающихся проектированием, изготовлением, ремонтом и эксплуатацией кранов-манипуляторов, и может быть полезен преподавателям учебных центров, занимающихся подготовкой специалистов и персонала, обслуживающего краны-манипуляторы, а также инженерно-техническим работникам по надзору за безопасной эксплуатацией кранов-манипуляторов на предприятиях и инспекторам территориальных органов Ростехнадзора.
Оглавление:1. Общие положения
2. Проектирование
   2.1 Общие требования
   2.2 Грузозахватные органы
   2.3 Канаты
   2.5 Барабаны, блоки и звездочки
   2.6 Тормоза
   2.9 Приборы и устройства безопасности
   2.10 Кабины и пульты управления
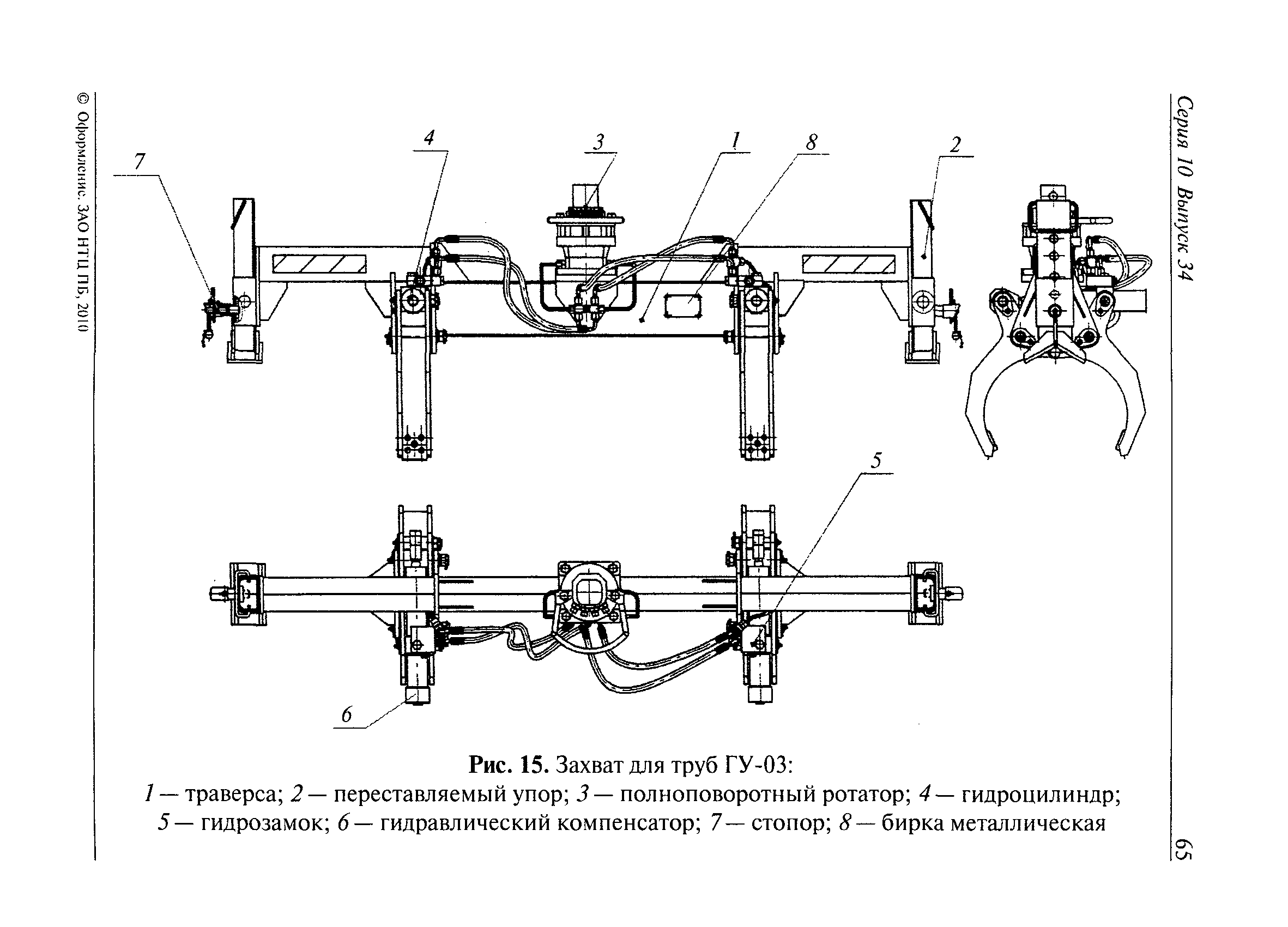
   2.13 Грузозахватные приспособления
   3.1 Изготовление
   3.2 Реконструкция и ремонт
   3.3 Материалы
   3.4 Сварка металлоконструкций
   3.5 Контроль качества сварных соединений
5. Эксплуатация кранов-манипуляторов
   5.1 Регистрация
   5.2 Разрешение на пуск в работу
   5.3 Техническое освидетельствование
   5.4 Надзор и обслуживание
   5.5 Производство работ
6. Порядок расследования аварий и несчастных случаев
8. Заключительные положения
Разработан: ЗАО Научно-технический центр исследований проблем промышленной безопасности
Издан: ЗАО Научно-технический центр исследований проблем промышленной безопасности (2010 г. (Выпуск 34))
Нормативные ссылки: