Главная // Актуальные документы // ГОСТ (Государственный стандарт)СПРАВКА
Источник публикации
М.: ИПК Издательство стандартов, 2003
Примечание к документу
Документ утратил силу с 01.05.2020 в связи с изданием
Приказа Росстандарта от 06.09.2019 N 639-ст. Взамен введен в действие
ГОСТ 19710-2019.
Документ включен в
Перечень веществ, разрешенных главным санитарно-эпидемиологическим Управлением Минздрава СССР СССР для использования в рецептурах чистящих средств (по состоянию на 1 июня 1987 г.) (
Письмо от 05.06.1987 N 123-6/216а-7).
С 01.07.2003 до вступления в силу технических регламентов акты федеральных органов исполнительной власти в сфере технического регулирования носят рекомендательный характер и подлежат обязательному исполнению только в части, соответствующей целям, указанным в
пункте 1 статьи 46 Федерального закона от 27.12.2002 N 184-ФЗ.
Документ
введен в действие с 01.07.1984.
Взамен ГОСТ 19710-74.
Название документа
"ГОСТ 19710-83. Межгосударственный стандарт. Этиленгликоль. Технические условия"
(утв. и введен в действие Постановлением Госстандарта СССР от 25.07.1983 N 3432)
(ред. от 01.06.1992)
"ГОСТ 19710-83. Межгосударственный стандарт. Этиленгликоль. Технические условия"
(утв. и введен в действие Постановлением Госстандарта СССР от 25.07.1983 N 3432)
(ред. от 01.06.1992)
Утвержден и введен в действие
Постановлением Государственного
комитета СССР по стандартам
от 25 июля 1983 г. N 3432
МЕЖГОСУДАРСТВЕННЫЙ СТАНДАРТ
ЭТИЛЕНГЛИКОЛЬ
ТЕХНИЧЕСКИЕ УСЛОВИЯ
Ethylene glycol.
Specifications
ГОСТ 19710-83
| | Список изменяющих документов (в ред. Изменения N 1, утв. в апреле 1985 г., Изменения N 2, утв. в декабре 1988 г., Изменения N 3, утв. в июне 1992 г.) | |
Группа Л21
МКС 71.080.60
ОКП 24 2212
Дата введения
1 июля 1984 года
1. Разработан и внесен Министерством химической промышленности СССР.
2. Утвержден и введен в действие Постановлением Государственного комитета СССР по стандартам от 25.07.83 N 3432.
3. Взамен ГОСТ 19710-74.
4. Ссылочные нормативно-технические документы:
Обозначение НТД, на который дана ссылка | Номер пункта |
| |
| |
| |
| |
| |
| |
| |
| |
| |
| |
| |
| |
| |
| |
| |
| |
ГОСТ 8751-72 | |
| |
| |
| |
| |
| |
| |
| |
| |
| |
| |
| |
| |
| |
| |
| |
| |
ГОСТ 24104-88 | |
| |
| |
| |
| |
| |
| |
| |
| |
| |
| |
ТУ 6-09-3331-78 | |
ТУ 51-940-80 | |
5. Ограничение срока действия снято Постановлением Госстандарта от 18.06.92 N 552.
6. Издание (июль 2003 г.) с Изменениями N 1, 2, 3, утвержденными в апреле 1985 г., декабре 1988 г., июне 1992 г. (ИУС 7-85, 3-89, 9-92).
Настоящий стандарт распространяется на этиленгликоль, получаемый гидратацией окиси этилена, и устанавливает требования к этиленгликолю, изготовляемому для нужд народного хозяйства и экспорта.
Этиленгликоль применяют в производстве синтетических волокон, смол, растворителей, низкозамерзающих и гидравлических жидкостей и для других целей.
По внешнему виду этиленгликоль представляет собой прозрачную жидкость.
Формула:

Относительная молекулярная масса (по международным атомным массам 1987 г.) - 62,07.
(Измененная редакция, Изм. N 2, 3).
1. ТЕХНИЧЕСКИЕ ТРЕБОВАНИЯ
1.1. Этиленгликоль должен быть изготовлен в соответствии с требованиями настоящего стандарта по технологическому регламенту, утвержденному в установленном порядке.
1.2. По физико-химическим показателям этиленгликоль должен соответствовать требованиям и нормам, указанным в таблице.
Наименование показателя | Норма |
Высший сорт ОКП 24 2212 0120 | 1-й сорт ОКП 24 2212 0130 |
1. Массовая доля этиленгликоля, %, не менее | 99,8 | 98,5 |
2. Массовая доля диэтиленгликоля, %, не более | 0,05 | 1,0 |
| (0,10) | |
3. Цвет в единицах Хазена, не более: | | |
в обычном состоянии | 5 | 20 |
после кипячения с соляной кислотой | 20 | Не нормируется |
4. Массовая доля остатка после прокаливания, %, не более | 0,001 | 0,002 |
5. Массовая доля железа (Fe), %, не более | 0,00001 | 0,0005 |
6. Массовая доля воды, %, не более | 0,1 | 0,5 |
7. Массовая доля кислот в пересчете на уксусную, %, не более | 0,0006 | 0,005 |
| (0,001) | |
8. Показатель преломления при 20 °C | 1,431 - 1,432 | 1,430 - 1,432 |
9. Пропускание в ультрафиолетовой области спектра, %, не менее, при длинах волн, нм: | | |
220 | 75 | Не нормируется |
275 | 95 | То же |
350 | 100 | " |
Примечание. Допускалось выпускать продукт с нормой, указанной в скобках, до 01.07.91.
(Измененная редакция, Изм. N 2, 3).
2. ТРЕБОВАНИЯ БЕЗОПАСНОСТИ
2.1. Этиленгликоль обладает наркотическим действием. При попадании внутрь может вызвать хроническое отравление с поражением жизненно важных органов (действует на сосуды, почки, нервную систему). Этиленгликоль может проникать через кожные покровы.
2.2. Предельно допустимая концентрация (ПДК) этиленгликоля в воздухе рабочей зоны - 5 мг/м3. Этиленгликоль относится к третьему классу опасности
(ГОСТ 12.1.005). Из-за низкой упругости паров этиленгликоль не представляет опасности острых отравлений при вдыхании.
2.1; 2.2. (Измененная редакция, Изм. N 3).
2.3. Этиленгликоль горюч. Температура вспышки паров 120 °C. Температура самовоспламенения 380 °C. Температурные пределы воспламенения паров в воздухе, °C:
нижний 112,
верхний 124.
Пределы воспламенения паров в воздухе, % (по объему):
нижний 3,8,
верхний 6,4.
2.4. Помещения, в которых проводятся работы с этиленгликолем, должны быть оборудованы приточно-вытяжной вентиляцией. Оборудование должно быть герметичным.
2.5. Производственный персонал должен быть обеспечен специальной одеждой согласно отраслевым нормам и средствами защиты: фартук из пленочной ткани, резиновые перчатки и сапоги, противогаз по
ГОСТ 12.4.034 или марки БКФ.
2.6. Доврачебная помощь. При попадании продукта в организм человека через рот необходимо промыть желудок обильным количеством воды или насыщенным раствором питьевой соды, обеспечить пострадавшему покой, тепло и немедленно доставить в медсанчасть.
2.7. Этиленгликоль, пролитый на землю или оборудование, необходимо смыть обильной струей воды.
2.8. При попадании этиленгликоля на кожу следует снять одежду и обмыть облитые участки кожи теплой водой с мылом.
2.9. Все производственные помещения должны быть обеспечены средствами пожаротушения в соответствии с табелем, утвержденным в установленном порядке.
2.10. При загорании следует применять тонкораспыленную воду, пену и инертные газы.
3.1. Этиленгликоль принимают партиями. Партией считают любое количество продукта, однородного по показателям качества, но не более 800 т, сопровождаемое одним документом о качестве, содержащим следующие данные:
наименование предприятия-изготовителя и его товарный знак;
наименование продукта и его сорт;
номер партии и дату изготовления;
номера цистерн, входящих в партию;
массу нетто и брутто;
количество грузовых мест в партии;
результаты проведенных анализов или подтверждение соответствия качества продукта требованиям настоящего стандарта;
подтверждение о нанесении на упаковку знака опасности по
ГОСТ 19433; обозначение настоящего стандарта.
При поставке продукции на экспорт партией считают каждую цистерну.
(Измененная редакция, Изм. N 2, 3).
3.2. Для проверки качества этиленгликоля отбирают пробы из 2% бочек, но не менее чем из двух бочек, или из каждой четвертой цистерны одной партии, но не менее чем из двух цистерн.
Допускается у изготовителя отбор проб из хранилища.
3.3. Цветность после кипячения с соляной кислотой определяют только для этиленгликоля, предназначенного для производства синтетических волокон и смол для пленок.
3.4. Массовую долю железа и массовую долю остатка после прокаливания изготовитель определяет периодически, не реже одного раза в квартал.
3.5. Показатель преломления изготовитель определяет по требованию потребителя.
3.6. Пропускание в ультрафиолетовой области спектра определяют только в этиленгликоле, предназначенном для экспорта.
3.7. При получении неудовлетворительных результатов анализа хотя бы по одному из показателей проводят повторный анализ по всем показателям на удвоенной выборке бочек и цистерн, взятых от той же партии, или вновь отобранной пробе из хранилища. Результаты повторного анализа распространяются на всю партию.
3.2 - 3.7. (Измененная редакция, Изм. N 2).
4.1. Точечные пробы для анализа отбирают по
ГОСТ 2517.
При этом точечную пробу из железнодорожной цистерны отбирают переносным пробоотборником с уровня, расположенного на высоте 0,33 диаметра цистерны от нижней внутренней образующей.
Пробу из хранилища отбирают с любого уровня (нижнего, среднего, верхнего). Перед отбором пробы продукт в хранилище перемешивают.
(Измененная редакция, Изм. N 2).
4.2. Точечные пробы соединяют, перемешивают и объединенную пробу помещают в склянку с пришлифованной пробкой или в банку с навинчивающейся крышкой.
На склянку наклеивают этикетку с указанием наименования продукта и его сорта, обозначения настоящего стандарта, номера партии, даты отбора пробы, фамилии лица, отобравшего пробу.
Объем пробы для анализа должен быть не менее 1 дм3.
4.3. Общие указания по проведению анализа - по
ГОСТ 27025.
Допускается использование аппаратуры с техническими и метрологическими характеристиками, а также реактивов по качеству не ниже указанных в настоящем стандарте.
Результаты анализа округляют до того десятичного знака, который указан в таблице технических требований.
4.4. Определение массовой доли этиленгликоля и диэтиленгликоля
Массовую долю этиленгликоля определяют по разности, вычитая из 100% массовые доли воды, диэтиленгликоля и триэтиленгликоля.
Массовые доли диэтиленгликоля и триэтиленгликоля определяют методом газовой хроматографии в изотермическом режиме с использованием колонки I или колонки II. Определение проводят методом "внутреннего эталона".
4.4.1. Аппаратура, реактивы
Хроматограф аналитический газовый лабораторный с пламенно-ионизационным детектором.
Колонка газохроматографическая стальная или стеклянная длиной 1 м, внутренним диаметром 3 мм.
Весы лабораторные 2-го и 3-го классов точности по ГОСТ 24104 <*> с наибольшими пределами взвешивания 200 и 500 г.
--------------------------------
Линейка измерительная металлическая по
ГОСТ 427 с ценой деления 1 мм.
Термометр любого типа, обеспечивающий измерение температуры в интервале от 40 °C до 60 °C, от 140 °C до 200 °C.
Секундомер.
Лупа типа ЛИ по
ГОСТ 25706 с ценой деления 0,1 мм.
Интегратор электронный.
Микрошприц МШ-10.
Стакан по
ГОСТ 25336 типа В вместимостью 50 и 100 см3.
Чашка выпарительная по
ГОСТ 9147 N 4 или N 5.
Полисорб-1 с частицами размером 0,250 - 0,315 мм или инертон супер с частицами размером 0,16 - 0,20 или 0,250 - 0,315 мм. Допускается применение других твердых носителей, обеспечивающих разделение и определение массовой доли примесей с погрешностью не более чем на указанных твердых носителях.
Полиэтиленгликоль с молекулярной массой 20000 (ПЭГ-20М).
Гелий газообразный марки А по ТУ 51-940 или азот газообразный по
ГОСТ 9293.
Водород технический марки А или Б по
ГОСТ 3022 или водород электролизный от генератора СГС-2.
Воздух сжатый для питания контрольно-измерительных приборов.
Спирт этиловый ректификованный технический по
ГОСТ 18300 высшего сорта.
Вода дистиллированная по
ГОСТ 6709 или вода эквивалентной чистоты.
Эфир этиловый.
Нонанол-1, ч., по ТУ 6-09-3331.
Триэтиленгликоль с массовой долей основного вещества не менее 98%.
Спирт бензиловый по ГОСТ 8751, ч.
Этиленгликоль по настоящему стандарту высшего сорта.
4.2 - 4.4.1. (Измененная редакция, Изм. N 2, 3).
4.4.2. Подготовка к анализу
(Измененная редакция, Изм. N 2).
4.4.2.1. Приготовление насадки и заполнение хроматографической колонки
Перед нанесением неподвижной фазы полисорб-1 (инертон супер) отсеивают с помощью металлических сит и отбирают необходимую фракцию. Полисорб-1 переносят на воронку типа ВФО и последовательно промывают ацетоном, этиловым спиртом, взятыми в 3 - 5-кратном объеме от объема полисорба-1, затем сушат при комнатной температуре в вытяжном шкафу.
Насадку готовят следующим образом: полиэтиленгликоль, взятый в количестве 3% от массы полисорба-1 (насадка I) или 5% от массы инертона супер (насадка II), и полисорб-1 (инертон супер) взвешивают. Результаты взвешиваний в граммах записывают до второго десятичного знака. Полиэтиленгликоль растворяют в хлороформе, полученный раствор при непрерывном перемешивании приливают к полисорбу-1 (инертону супер), помещенному в выпарительную чашку. Количество раствора должно быть таким, чтобы полисорб-1 (инертон супер) был полностью смочен раствором. Выпарительную чашку помещают на водяную баню, нагретую до 40 °C - 60 °C, и, непрерывно перемешивая ее содержимое, испаряют растворитель до сыпучего состояния сорбента.
Хроматографические колонки промывают водой, ацетоном и сушат, после этого колонку I из нержавеющей стали заполняют раствором ПЭГ-20М в ацетоне с массовой долей 0,5%. Через 5 мин раствор сливают и колонку осторожно высушивают сжатым воздухом. Стеклянная колонка и стальная колонка II в такой обработке не нуждаются.
Затем в колонку вносят небольшими порциями насадку и уплотняют ее с помощью вибратора (или постукиванием) и водоструйного насоса, подсоединенного к противоположному от ввода насадки концу колонки. Концы заполненной колонки закрывают стекловатой или стеклотканью. Заполненную колонку устанавливают в термостат хроматографа, не присоединяя к детектору, и продувают ее газом-носителем в течение 8 - 10 ч, постепенно повышая температуру от комнатной до 200 °C, затем в течение 18 - 20 ч при 200 °C.
Монтаж, наладку и вывод хроматографа на рабочий режим проводят в соответствии с инструкцией, прилагаемой к прибору.
4.4.2.2. Режим градуировки и работы хроматографа
Хроматографический анализ и градуировку прибора проводят при следующих условиях:
| Колонка I | Колонка II |
Объемный расход газа-носителя, см3/мин | 30 - 35 | 35 |
Соотношение объемных расходов газа-носителя и водорода | 1:1 | 1:1 |
Соотношение объемных расходов газа-носителя и воздуха | 1:10 | 1:10 |
Скорость движения диаграммной ленты, мм/ч | 240 | 240 - 600 |
Температура термостата колонок, °C | 190 - 200 | 140 |
Температура испарителя, °C | 290 | 290 |
Температура термостата детектора, °C | 300 | 300 |
Шкала записи хроматограммы: | | |
А |  , |  , |
| |  , |
| | |
Ом | | |
| | |
Объем вводимой пробы, мм3 | 1 | 1 |
Число эффективных теоретических тарелок хроматографической колонки | >= 300 | >= 700 |
Число эффективных теоретических тарелок (N) вычисляют по формуле
где l - расстояние на хроматограмме от точки ввода пробы до максимума пика диэтиленгликоля, см;

- ширина пика диэтиленгликоля на половине его высоты, см.
В зависимости от модели применяемого хроматографа и партии адсорбента в режим работы хроматографа могут быть внесены некоторые изменения с целью достижения полного хроматографического разделения примесей и контроля их содержания с погрешностью, указанной в настоящем стандарте.
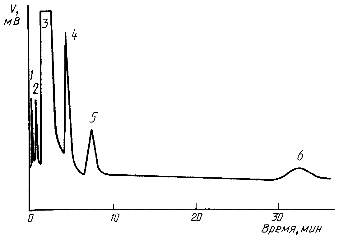
Типовые хроматограммы этиленгликоля с использованием колонок I и II приведены на
черт. 1 и
2, соответственно. Методика с использованием колонки I является арбитражной.
Типовая хроматограмма этиленгликоля
с использованием колонки I
1 - этиленгликоль; 2 - диэтиленгликоль;
3 - нонанол-1; 4 - триэтиленгликоль
Типовая хроматограмма этиленгликоля
с использованием колонки II
1, 2 - неидентифицированные примеси; 3 - этиленгликоль;
4 - бензиловый спирт ("внутренний эталон");
5 - диэтиленгликоль; 6 - триэтиленгликоль
4.4.3. Градуировка хроматографа
Массовую долю органических примесей в этиленгликоле определяют методом "внутреннего эталона" с учетом градуировочных коэффициентов. В качестве "внутреннего эталона" для колонки I используют нонанол-1, для колонки II - бензиловый спирт. Градуирование хроматографа осуществляют по 4 - 5 градуировочным смесям, приготовленным гравиметрическим способом.
В стаканчик для взвешивания помещают последовательно этиленгликоль и "внутренний эталон", взятый в количестве 0,05% - 0,20% от массы этиленгликоля. Результаты взвешиваний в граммах записывают до четвертого десятичного знака.
Смесь перемешивают, отбирают микрошприцем не менее двух раз необходимый объем и вводят в испаритель хроматографа для проверки хроматографической чистоты этиленгликоля. Далее к этой смеси добавляют 0,05% - 1,0% диэтиленгликоля и триэтиленгликоля.
Полученную градуировочную смесь перемешивают и хроматографируют не менее двух раз.
Относительная погрешность приготовления градуировочных смесей не должна превышать +/- 10% для каждого примесного компонента и "внутреннего эталона".
Градуировочный коэффициент

вычисляют по формуле
где

,

- массы определяемого компонента и "внутреннего эталона", соответственно, введенные в градуировочную смесь, г;

,

- площади пика "внутреннего эталона" на хроматограмме градуировочной смеси и исходного этиленгликоля, соответственно, мм2;

,

- площади пика определяемого компонента на хроматограмме градуировочной смеси и исходного этиленгликоля, соответственно, мм2.
При отсутствии определяемых примесных компонентов в этиленгликоле, используемом для приготовления градуировочных смесей, принимают

.
Площадь пика вычисляют как произведение высоты пика на его ширину, измеренную на середине высоты, с учетом масштаба записи.
Допускается определять площадь пика с помощью электронного интегратора.
Градуировочный коэффициент определяемой примеси определяют как среднеарифметическое результатов всех определений, вычисленных с точностью до второго десятичного знака. Градуировочный коэффициент неидентифицированных примесей принимают равным 1.
Градуировку хроматографа проводят после проведения около 400 анализов, а также при смене насадки и изменении условий хроматографического определения.
4.4.4. Проведение анализа
Около 10 г этиленгликоля взвешивают в стаканчике для взвешивания, добавляют к нему 0,05% - 0,20% "внутреннего эталона" от массы анализируемого продукта. Результаты взвешиваний записывают в граммах с точностью до четвертого десятичного знака. Смесь тщательно перемешивают, микрошприцем отбирают 1 мм3 и вводят в испаритель хроматографа не менее двух раз.
4.4.5. Обработка результатов
Массовую долю определяемой примеси

в процентах вычисляют по формуле
где

- градуировочный коэффициент определяемой примеси;

- площадь пика определяемой примеси, мм2;

- масса навески "внутреннего эталона", г;

- площадь пика "внутреннего эталона", мм2;
m - масса навески этиленгликоля, взятая для анализа, г.
За результат анализа принимают среднеарифметическое результатов двух параллельных определений диэтиленгликоля, абсолютное расхождение между которыми не превышает допускаемое расхождение, равное 0,02% для продукта высшего сорта и 0,15% для продукта первого сорта.
Допускаемая абсолютная суммарная погрешность результата определения диэтиленгликоля +/- 0,01% и +/- 0,15%, этиленгликоля +/- 0,02% и +/- 0,17% для продуктов высшего и первого сортов, соответственно, при доверительной вероятности P = 0,95.
Массовую долю этиленгликоля (X) в процентах вычисляют по формуле
где

- сумма массовых долей диэтиленгликоля и триэтиленгликоля, %;

- массовая доля воды, определяемая по
п. 4.8, %.
4.4.2.1 - 4.4.5. (Измененная редакция, Изм. N 2, 3).
4.5. Определение цвета в единицах Хазена
4.5.1. Цвет в обычном состоянии определяют по
ГОСТ 29131.
4.5.2. Определение цвета в единицах Хазена после кипячения с соляной кислотой
4.5 - 4.5.2. (Измененная редакция, Изм. N 3).
4.5.2.1. Аппаратура, реактивы
Пипетка вместимостью 1 см3.
Секундомер.
4.5.2.2. Проведение анализа
100 см3 этиленгликоля помещают в коническую колбу, добавляют 1 см3 соляной кислоты. К колбе присоединяют холодильник и ставят на предварительно нагретую песчаную баню или электроплитку. Содержимое колбы доводят до кипения за время не более 10 мин и выдерживают кипящим (30 +/- 3) с.
Колбу охлаждают до комнатной температуры.
Допускается для сокращения времени анализа охлаждать колбу водой, а затем на воздухе до комнатной температуры.
Цвет продукта после кипячения с соляной кислотой определяют по
ГОСТ 29131.
4.6. Определение массовой доли остатка после прокаливания
Массовую долю остатка после прокаливания определяют по ГОСТ 27184
(п. 2.2). При этом 199,5 - 200,5 г анализируемого продукта выпаривают по частям в кварцевой
(ГОСТ 19908) или платиновой
(ГОСТ 6563) чашке.
За результат анализа принимают среднеарифметическое результатов двух параллельных определений, абсолютное допускаемое расхождение между которыми не превышает:
для высшего сорта - 0,0003%;
для первого сорта - 0,0006%
при доверительной вероятности P = 0,95.
Допускаемая абсолютная суммарная погрешность результата определения +/- 0,0006% при доверительной вероятности P = 0,95.
Остаток после прокаливания используют для определения массовой доли железа.
4.5.2.1 - 4.6. (Измененная редакция, Изм. N 2, 3).
4.7. Определение массовой доли железа
4.7.1. Массовую долю железа определяют по
ГОСТ 10555 фотометрически сульфосалициловым методом. При этом к остатку, полученному после прокаливания
(п. 4.6), прибавляют 5 см3 раствора соляной кислоты с массовой долей 25% и нагревают до полного растворения осадка (раствор А).
Для продукта высшего сорта полученный раствор (раствор А) переносят количественно в мерную колбу исполнения 1 или 2 вместимостью 50 см3 по
ГОСТ 1770, прибавляют 2 см3 раствора сульфосалициловой кислоты и перемешивают. Затем прибавляют 6 см3 раствора аммиака и далее определяют по
ГОСТ 10555.
Для продукта первого сорта раствор А переносят количественно в мерную колбу вместимостью 50 см3, доводят объем раствора водой до метки и перемешивают (раствор Б).
1 см3 полученного раствора (раствор Б) помещают в мерную колбу вместимостью 50 см3, прибавляют 2 см3 раствора сульфосалициловой кислоты и перемешивают. Затем прибавляют 5 см3 раствора аммиака и далее определяют по
ГОСТ 10555.
Одновременно проводят контрольный опыт с теми же количествами реактивов и в тех же условиях, как при определении железа в анализируемой пробе.
4.7, 4.7.1. (Измененная редакция, Изм. N 2).
4.7.2. Обработка результатов
Массовую долю железа

в процентах вычисляют по формулам:
для продукта высшего сорта
для продукта первого сорта
где m - масса железа, найденная по градуировочному графику, мг;

- масса навески продукта, взятая для определения остатка после прокаливания
(п. 4.6), г.
За результат анализа принимают среднеарифметическое результатов двух параллельных определений, абсолютное допускаемое расхождение между которыми не превышает:
для продукта высшего сорта - 0,000003%;
для продукта первого сорта - 0,00015%
при доверительной вероятности P = 0,95.
Допускаемая абсолютная суммарная погрешность результатов определения

для продукта высшего сорта и

для продукта первого сорта при доверительной вероятности P = 0,95.
4.8. Определение массовой доли воды
Определение массовой доли воды проводят по
ГОСТ 14870 реактивом Фишера визуальным или электрометрическим титрованием.
При титровании используют бюретки исполнения 7 вместимостью 3 или 10 см3.
За результат анализа принимают среднеарифметическое результатов двух параллельных определений, абсолютное расхождение между которыми не превышает допускаемое, равное 0,01% для продукта высшего сорта и 0,05% для продукта первого сорта.
Допускаемая абсолютная суммарная погрешность результата определения +/- 0,01% для продукта высшего сорта и +/- 0,05% для продукта первого сорта при доверительной вероятности P = 0,95.
При возникновении разногласий в оценке качества продукта массовую долю воды определяют электрометрическим титрованием.
4.7.2, 4.8. (Измененная редакция, Изм. N 2, 3).
4.9. Определение массовой доли кислот в пересчете на уксусную кислоту
(Измененная редакция, Изм. N 2).
4.9.1. Аппаратура, реактивы, растворы
Весы лабораторные 3-го класса точности по
ГОСТ 24104 с наибольшим пределом взвешивания 500 г.
Секундомер.
Бюретка исполнения 1 или 2 вместимостью 2 или 5 см3.
Коническая колба вместимостью 250 см3 по
ГОСТ 25336.
Бромтимоловый синий (индикатор), водно-спиртовой раствор с массовой долей 1%; готовят по
ГОСТ 4919.1.
Натрия гидроокись по
ГОСТ 4328, раствор концентрации c (NaOH) = 0,01 моль/дм3 (0,01 н.); готовят по
ГОСТ 25794.1.
Вода дистиллированная, не содержащая углекислоты; готовят по
ГОСТ 4517.
Спирт этиловый ректификованный технический по
ГОСТ 18300 высшего сорта.
(Измененная редакция, Изм. N 2, 3).
4.9.2. Проведение анализа
99,50 - 100,50 г анализируемого продукта помещают в коническую колбу, прибавляют 100 см3 воды, 3 - 5 капель раствора бромтимолового синего и титруют раствором гидроокиси натрия до появления синей окраски, устойчивой в течение 30 с.
Одновременно в тех же условиях и с теми же количествами реактивов проводят контрольное титрование.
(Измененная редакция, Изм. N 2).
4.9.3. Обработка результатов
Массовую долю кислот в пересчете на уксусную кислоту

в процентах вычисляют по формуле
где V - объем раствора гидроокиси натрия концентрации точно 0,01 моль/дм3, израсходованный на титрование пробы, см3;

- объем раствора гидроокиси натрия концентрации точно 0,01 моль/дм3, израсходованный на контрольное титрование, см3;
0,0006 - масса уксусной кислоты, соответствующая 1 см3 раствора гидроокиси натрия концентрации точно 0,01 моль/дм3, г;
m - масса навески анализируемого продукта, г.
За результат анализа принимают среднеарифметическое результатов двух параллельных определений, абсолютное расхождение между которыми не превышает допускаемое, равное 0,0002% для высшего сорта и 0,001% для первого сорта.
Допускаемая абсолютная суммарная погрешность результата определения +/- 0,0002% для высшего сорта и +/- 0,001% для первого сорта при доверительной вероятности P = 0,95.
(Измененная редакция, Изм. N 2, 3).
4.10. Определение показателя преломления
4.11. Определение пропускания в ультрафиолетовой области спектра
4.11.1. Аппаратура, реактивы
Спектрофотометр любого типа, позволяющий измерить пропускание в диапазоне 210 - 370 нм.
4.10 - 4.11.1. (Измененная редакция, Изм. N 2).
4.11.2. Проведение анализа
Пропускание анализируемого продукта измеряют в кварцевых кюветах толщиной поглощающего свет слоя 10 мм относительно дистиллированной воды при трех длинах волн: 220, 275 и 350 нм.
За результат анализа принимают результат одного определения. Допускаемая абсолютная суммарная погрешность результата определения +/- 1,1% при доверительной вероятности P = 0,95.
(Измененная редакция, Изм. N 2, 3).
5. УПАКОВКА, МАРКИРОВКА, ТРАНСПОРТИРОВАНИЕ И ХРАНЕНИЕ
5.1. Этиленгликоль заливают в алюминиевые бочки по
ГОСТ 21029 типа 1 вместимостью 110 и 275 дм3 или в бочки из коррозионно-стойкой стали по
ГОСТ 26155 вместимостью 110 - 250 дм3.
По согласованию с потребителем этиленгликоль допускается заливать в стальные неоцинкованные бочки по
ГОСТ 6247 вместимостью 100 - 275 дм3 или по
ГОСТ 13950 типа 1 вместимостью 100, 200 дм3.
5.2. Бочки перед заполнением продуктом должны быть промыты и высушены.
5.3. Транспортная маркировка - по
ГОСТ 14192 с нанесением манипуляционного знака "Герметичная упаковка", знака опасности по
ГОСТ 19433 (класс 6, подкласс 6.1, черт. 6а, классификационный шифр 6162) и серийного номера ООН 2810.
Маркировка упакованной продукции должна содержать следующие дополнительные данные:
наименование предприятия-изготовителя и (или) товарный знак;
наименование продукта и его сорт;
номер партии и дату изготовления;
массу брутто и нетто;
обозначение настоящего стандарта.
5.4. Упаковка продукта для экспорта должна соответствовать
ГОСТ 26319 и требованиям настоящего стандарта.
Маркировка должна соответствовать рекомендациям по перевозке опасных грузов ООН и правилам перевозок грузов на данном виде транспорта.
5.1 - 5.4. (Измененная редакция, Изм. N 2).
5.5. Этиленгликоль, упакованный в бочки, транспортируют в крытых транспортных средствах всеми видами транспорта, а также наливом в железнодорожных цистернах в соответствии с правилами перевозок грузов, действующими на данном виде транспорта.
Железнодорожным транспортом этиленгликоль, упакованный в бочки, перевозят повагонно и мелкими отправками.
При транспортировании наливом - в железнодорожных цистернах изготовителя (потребителя) с котлами из алюминия или коррозионно-стойкой стали.
По согласованию с потребителем - в специально выделенных железнодорожных цистернах с верхним сливом и цистернах изготовителя (потребителя) с котлами из углеродистой стали.
Наливные люки цистерн и горловины бочек закрывают крышками, которые герметизированы прокладками, и пломбируют.
Прокладки изготовляют из материала, стойкого к воздействию продукта.
Степень (уровень) заполнения цистерн (бочек) вычисляют с учетом максимального использования грузоподъемности (вместимости) цистерн (бочек) и объемного расширения продукта при возможном перепаде температур в пути следования.
(Измененная редакция, Изм. N 2, 3).
5.7. Этиленгликоль хранят в герметичных емкостях из алюминия, коррозионно-стойкой стали или алюминированной стали.
Этиленгликоль в бочках хранят в крытых неотапливаемых складских помещениях.
Не допускается хранение продукта высшего сорта в бочках из углеродистой стали.
5.8. Бочки с этиленгликолем должны храниться вертикально. Высота штабеля бочек не должна превышать три яруса.
5.6 - 5.8. (Измененная редакция, Изм. N 2).
6.1. Изготовитель гарантирует соответствие качества этиленгликоля требованиям настоящего стандарта при соблюдении условий транспортирования и хранения.
6.2. Гарантийный срок хранения этиленгликоля высшего сорта - один год, первого сорта - три года со дня изготовления.
(Измененная редакция, Изм. N 2).