Главная // Актуальные документы // ГОСТ (Государственный стандарт)СПРАВКА
Источник публикации
М.: Стандартинформ, 2013
Примечание к документу
Отдельные положения данного документа включены в
Перечень международных и региональных (межгосударственных) стандартов, а в случае их отсутствия - национальных (государственных) стандартов, в результате применения которых на добровольной основе обеспечивается соблюдение требований технического
регламента Таможенного союза "О безопасности машин и оборудования" (ТР ТС 010/2011) и в
Перечень международных и региональных (межгосударственных) стандартов, а в случае их отсутствия - национальных (государственных) стандартов, содержащих правила и методы исследований (испытаний) и измерений, в том числе правила отбора образцов, необходимые для применения и исполнения требований технического
регламента Таможенного союза "О безопасности машин и оборудования" (ТР ТС 010/2011) и осуществления оценки соответствия объектов технического регулирования (
Решение Коллегии Евразийской экономической комиссии от 09.03.2021 N 28).
Документ
введен в действие с 1 января 2014 года.
Название документа
"ГОСТ 31525-2012 (EN 12268:2003). Межгосударственный стандарт. Машины и оборудование для пищевой промышленности. Пилы ленточные. Технические условия"
(введен в действие Приказом Росстандарта от 20.11.2012 N 947-ст)
"ГОСТ 31525-2012 (EN 12268:2003). Межгосударственный стандарт. Машины и оборудование для пищевой промышленности. Пилы ленточные. Технические условия"
(введен в действие Приказом Росстандарта от 20.11.2012 N 947-ст)
по техническому регулированию
и метрологии
от 20 ноября 2012 г. N 947-ст
МЕЖГОСУДАРСТВЕННЫЙ СТАНДАРТ
МАШИНЫ И ОБОРУДОВАНИЕ ДЛЯ ПИЩЕВОЙ ПРОМЫШЛЕННОСТИ
ПИЛЫ ЛЕНТОЧНЫЕ
ТЕХНИЧЕСКИЕ УСЛОВИЯ
Food processing machinery. Band saw machines.
Specifications
(EN 12268:2003, MOD)
ГОСТ 31525-2012
(EN 12268:2003)
Дата введения
1 января 2014 года
Цели, основные принципы и порядок проведения работ по межгосударственной стандартизации установлены
ГОСТ 1.0-92 "Межгосударственная система стандартизации. Основные положения" и
ГОСТ 1.2-2009 "Межгосударственная система стандартизации. Стандарты межгосударственные, правила и рекомендации по межгосударственной стандартизации. Правила разработки, принятия, применения, обновления и отмены".
1. Подготовлен Федеральным государственным унитарным предприятием "Всероссийский научно-исследовательский институт стандартизации и сертификации в машиностроении" (ВНИИНМАШ).
2. Внесен Федеральным агентством по техническому регулированию и метрологии.
3. Принят Межгосударственным советом по стандартизации, метрологии и сертификации (Протокол от 24 мая 2012 г. N 41).
За принятие проголосовали:
Краткое наименование страны по МК (ИСО 3166) 004-97 | Код страны по МК (ИСО 3166) 004-97 | Сокращенное наименование национального органа по стандартизации |
Азербайджан | AZ | Азстандарт |
Армения | AM | Минэкономики Республики Армения |
Беларусь | BY | Госстандарт Республики Беларусь |
Грузия | GE | Грузстандарт |
Казахстан | KZ | Госстандарт Республики Казахстан |
Кыргызстан | KG | Кыргызстандарт |
Молдова | MD | Молдова-Стандарт |
Российская Федерация | RU | Росстандарт |
Таджикистан | TJ | Таджикстандарт |
Туркменистан | TM | Главгосслужба "Туркменстандартлары" |
Узбекистан | UZ | Узстандарт |
Украина | UA | Госпотребстандарт Украины |
4.
Приказом Федерального агентства по техническому регулированию и метрологии от 20 ноября 2012 г. N 947-ст межгосударственный стандарт ГОСТ 31525-2012 (EN 12268:2003) введен в действие в качестве национального стандарта Российской Федерации с 1 января 2014 г.
5. Настоящий стандарт модифицирован по отношению к европейскому региональному стандарту EN 12268:2003 Food processing machinery - Band saw machines - Safety and hygiene requirements (Оборудование для пищевой промышленности. Ленточные пилы. Требования по безопасности и гигиене).
Текст измененных положений, элементов выделен в стандарте курсивом или заключен в рамку.
Ссылки на международные стандарты, которые приняты в качестве межгосударственных стандартов, заменены в
разделе "Нормативные ссылки" и тексте стандарта ссылками на соответствующие идентичные и модифицированные межгосударственные стандарты.
Сравнение структуры европейского регионального стандарта со структурой настоящего стандарта приведено в
Приложении ДГ.
Степень соответствия - модифицированная (MOD).
6. Введен впервые.
Информация о введении в действие (прекращении действия) настоящего стандарта публикуется в ежемесячно издаваемом информационном указателе "Национальные стандарты".
Информация об изменениях к настоящему стандарту публикуется в ежегодно издаваемом информационном указателе "Национальные стандарты", а текст изменений и поправок - в ежемесячно издаваемом информационном указателе "Национальные стандарты". В случае пересмотра или отмены настоящего стандарта соответствующая информация будет опубликована в ежемесячно издаваемом информационном указателе "Национальные стандарты".
Настоящий стандарт содержит требования, предъявляемые к конструкции, изготовлению, хранению, транспортированию, монтажу, эксплуатации и безопасности ленточных пил (лентопильных машин), применяемых для разделки мяса и рыбы в производстве колбасных изделий, мясных и рыбных полуфабрикатов.
Настоящий стандарт не распространяется на пилы, используемые:
- в линиях первичной переработки скота для разделки туш скота на полутуши;
- для переработки дерева или подобных материалов;
- для бытового использования.
Настоящий стандарт применим только к машинам, которые изготовлены после даты издания настоящего стандарта.
В настоящем стандарте использованы нормативные ссылки на следующие межгосударственные стандарты: |
ГОСТ 2.601-2006 Единая система конструкторской документации. Эксплуатационные документы |
ГОСТ 9.032-74 Единая система защиты от коррозии и старения. Покрытия лакокрасочные. Группы, технические требования и обозначения |
ГОСТ 9.104-79 Единая система защиты от коррозии и старения. Покрытия лакокрасочные. Группы условий эксплуатации |
ГОСТ 12.1.003-83 Система стандартов безопасности труда. Шум. Общие требования безопасности |
ГОСТ 12.1.012-2004 Система стандартов безопасности труда. Вибрационная безопасность. Общие требования |
ГОСТ 12.1.019-79 <*> Система стандартов безопасности труда. Электробезопасность. Общие требования и номенклатура видов защиты |
-------------------------------- |
|
ГОСТ 12.1.030-81 Система стандартов безопасности труда. Электробезопасность. Защитное заземление, зануление |
ГОСТ 12.1.050-86 Система стандартов безопасности труда. Методы измерения шума на рабочих местах |
ГОСТ 12.2.007.0-75 Система стандартов безопасности труда. Изделия электротехнические. Общие требования безопасности |
ГОСТ 12.2.022-80 Система стандартов безопасности труда. Конвейеры. Общие требования безопасности |
ГОСТ 12.2.124-2013 Система стандартов безопасности труда. Оборудование продовольственное. Общие требования безопасности |
ГОСТ 12.2.135-95 Оборудование для переработки продукции в мясной и птицеперерабатывающей промышленности. Общие требования безопасности, санитарии и экологии |
ГОСТ 15.001-88 <*> Система разработки и постановки продукции на производство. Продукция производственно-технического назначения. Порядок разработки и постановки продукции на производство |
-------------------------------- |
|
ГОСТ 15.309-98 Система разработки и постановки продукции на производство. Испытания и приемка выпускаемой продукции. Основные положения |
ГОСТ 27.410-87 <*> Надежность в технике. Методы контроля показателей надежности и планы контрольных испытаний на надежность |
-------------------------------- |
|
ГОСТ 427-75 Линейки измерительные металлические. Технические условия |
ГОСТ 2789-73 Шероховатость поверхности. Параметры и характеристики |
|
ГОСТ 5632-72 Стали высоколегированные и сплавы коррозионно-стойкие, жаростойкие и жаропрочные. Марки |
ГОСТ 14254-96 (МЭК 529-89) Степени защиты, обеспечиваемые оболочками (код IP) |
ГОСТ 15150-69 Машины, приборы и другие технические изделия. Исполнения для различных климатических районов. Категории, условия эксплуатации, хранения и транспортирования в части воздействия климатических факторов внешней среды |
ГОСТ 21130-75 Изделия электротехнические. Зажимы заземляющие и знаки заземления. Конструкция и размеры |
ГОСТ 21786-76 Система "Человек-машина". Сигнализаторы звуковые неречевых сообщений. Общие эргономические требования |
ГОСТ 21829-76 Система "Человек-машина". Кодирование зрительной информации. Общие эргономические требования |
ГОСТ 23170-78 Упаковка для изделий машиностроения. Общие требования |
ГОСТ 26582-85 Машины и оборудование продовольственные. Общие технические условия |
ГОСТ 28693-90 Оборудование технологическое для мясной и птицеперерабатывающей промышленности. Санитарные требования |
ГОСТ 30146-95 Машины и оборудование для производства колбасных изделий и мясных полуфабрикатов. Общие технические условия |
ГОСТ 31277-2002 <*> Шум машин. Определение уровней звуковой мощности источников шума по звуковому давлению. Ориентировочный метод с использованием измерительной поверхности над звукоотражающей плоскостью |
-------------------------------- |
|
ГОСТ 31319-2006 (ЕН 14253:2003) Вибрация. Измерение общей вибрации и оценка ее воздействия на человека. Требования к проведению измерений на рабочих местах |
ГОСТ МЭК 60204-1-2002 <*> Безопасность машин. Электрооборудование машин и механизмов. Часть 1. Общие требования |
-------------------------------- |
|
Примечание. При пользовании настоящим стандартом целесообразно проверить действие ссылочных стандартов в информационной системе общего пользования - на официальном сайте Федерального агентства по техническому регулированию и метрологии в сети Интернет или по ежегодно издаваемому информационному указателю "Национальные стандарты", который опубликован по состоянию на 1 января текущего года, и по соответствующим ежемесячно издаваемым информационным указателям, опубликованным в текущем году. Если ссылочный стандарт заменен (изменен), то при пользовании настоящим стандартом следует руководствоваться заменяющим (измененным) стандартом. Если ссылочный стандарт отменен без замены, то положение, в котором дана ссылка на него, применяется в части, не затрагивающей эту ссылку. |
В настоящем стандарте применены следующие термины с соответствующими определениями:
3.1. Панель для разделения на порции: панель, расположенная параллельно полотну пилы и имеющая свойство регулироваться в соответствии с толщиной загружаемого куска.
3.2. Нижнее колесо: шкив, расположенный под рабочим столом и предназначенный для приведения в движение полотна пилы.
3.3. Рычаг полотна пил: устройство, приводящее в движение полотно пилы.
3.4. Устройство, регулирующее степень натяжения полотна пилы: устройство, увеличивающее и уменьшающее натяжение полотна пилы.
3.5. Защитный кожух: приспособление, защищающее верхние конечности тела от попадания в режущую зону.
3.6. Толкатель продукта: подвижное устройство для подачи сырья в зону разрезания.
3.7. Устройство для разрезания последней порции: панель для подачи последней части продукта.
3.8. Полотно пилы: режущее устройство в виде замкнутой зубчатой ленты.
3.9. Защитная планка: устройство, закрывающее неиспользуемую часть полотна и расположенное над режущей зоной.
3.10. Высота резки: толщина продукта, которая может быть получена при переработке на данных пилах.
3.11. Ограничитель подающего стола (полка): приспособление на подвижном подающем столе, с помощью которого продукт удерживается и затем проталкивается к режущей зоне.
3.12. Верхнее колесо: шкив, обеспечивающий реверс полотна пилы над столом.
3.13. Линия разделки мяса: комплект оборудования для переработки полутуш, четвертин, отрубов охлажденного и замороженного мяса на установленные порции, снабженный конвейерной транспортной системой подачи сырья на обработку и отвода готовой продукции.
3.14. Подающий стол: плоская поверхность, на которую вручную выкладывается порция сырья.
3.15. Подвижный подающий стол: подвижная плоская поверхность с задней стенкой для подачи продукта.
4. УСТРОЙСТВО И ПРИНЦИП ДЕЙСТВИЯ
4.1. Настоящий стандарт устанавливает следующие типы пил:
4.1.1. Тип I. Напольные пилы на колесах, оснащенные подающим столом и фиксированным толкателем продукта (см.
рисунок 1б). Допускается изготовление пил без стола (см.
рисунок 1а).
1 - переключатель "ВКЛ./ВЫКЛ.";
2 - толкатель продукта;
3 - порционная панель;
4 - крышка стола
1 - переключатель "ВКЛ./ВЫКЛ.";
2 - толкатель продукта;
3 - порционная панель;
4 - стол
A - расстояние от пола до верхней поверхности подающего стола (800 - 1050 мм); A1 - расстояние A1 между толкателем продукта и рабочим столом должно быть менее 6 мм; SH - высота резки менее 250 мм
4.1.2. Тип II. Ленточная пила с защитной планкой и фиксированным подающим столом, устанавливаемая на поверхности пола (см.
рисунок 2).
A - расстояние от пола до верхней поверхности подающего стола (800 - 1050 мм); SH - высота полотна пилы не менее 250 мм, но менее 420 мм; 1 - переключатель "ВЫКЛ./ВКЛ."; 2 - дверь; 3 - защитная планка/толкатель продукта; 4 - подающий стол; 5 - полка (нижний кожух)
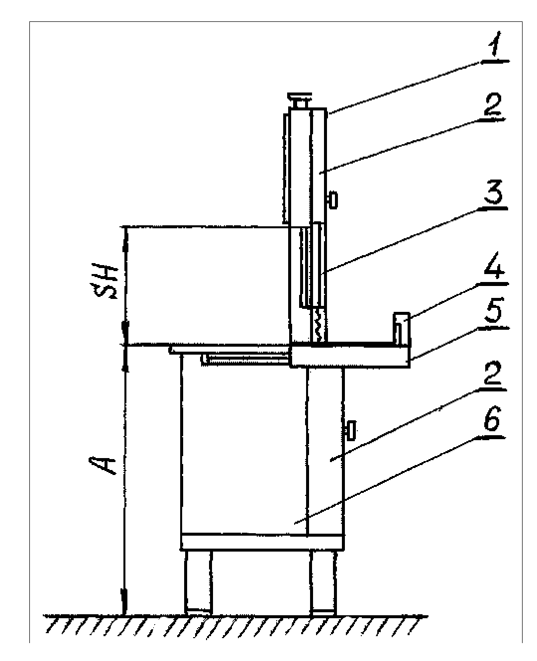
4.1.3. Тип III. Ленточная пила с защитной планкой и перемещающимся подающим столом (см.
рисунок 3).
A - расстояние от пола до верхней поверхности перемещающегося подающего стола (800 - 1050 мм); SH - высота полотна пилы не менее 250 мм, но менее 420 мм; 1 - переключатель "ВЫКЛ./ВКЛ."; 2 - дверь; 3 - защитная планка/толкатель продукта; 4 - перемещающийся подающий стол; 5 - полка; 6 - нижний кожух
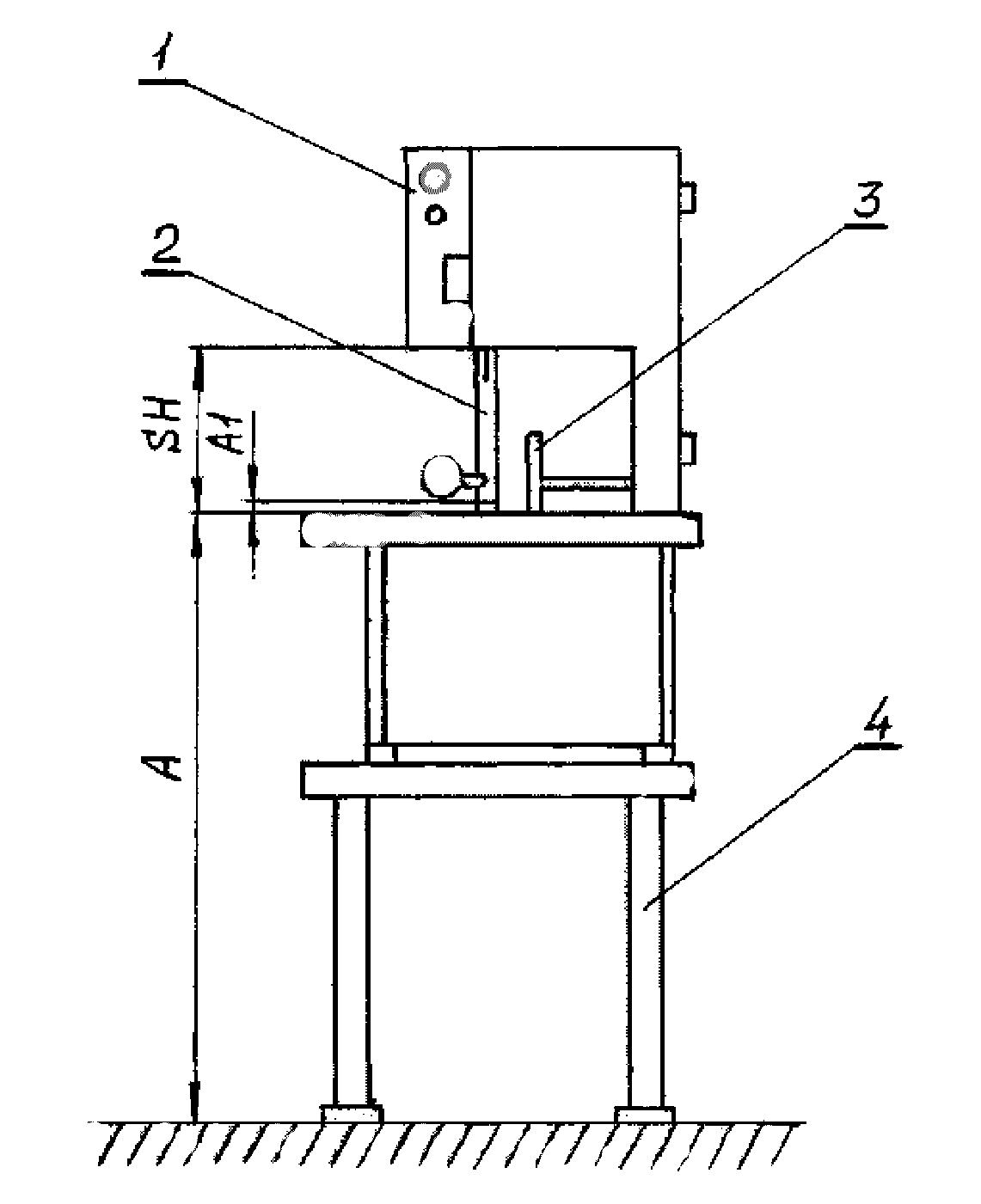
4.1.4. Тип IV. Напольная ленточная пила с устройством подачи и удаления продукта в виде, например,
роликового или ленточного конвейера, встроенного в пилу (см.
рисунок 4).
A - расстояние от пола до подающего стола (800 - 1050 мм); SH - высота резки не более 550 мм; 1 - роликовый или ленточный конвейер
Пила типа IV состоит из:
корпуса;
неподвижного или подвижного рабочего стола;
роликового конвейера или конвейерной ленты;
защитной планки, регулируемой по высоте;
верхнего и нижнего колеса;
полотна пилы;
верхней и нижней направляющих полотна пилы;
устройства, регулирующего натяжение полотна пилы;
приводного механизма;
электрических компонентов, индивидуальных для каждого типа машин.
Требования к конструкции, которым должны соответствовать автоматические загрузочные и разгрузочные системы, конвейеры и т.д., в настоящем стандарте не рассматриваются.
В напольных пилах продукт, который необходимо переработать, вручную загружают на неподвижный или подвижный подающий стол, затем продукт подается к режущей части полотна пилы посредством толкателя продукта, ограничителя стола, роликового конвейера или конвейерной ленты, а затем распиливается.
5. ТЕХНИЧЕСКИЕ ТРЕБОВАНИЯ |
|
5.1. Требования к конструкции |
|
5.1.2. Основными параметрами ленточных пил являются: |
- техническая производительность, кг/ч; |
- толщина и ширина ленточного полотна; |
- ход натяжения полотна пилы; |
- линейная скорость ленточного полотна; |
- установленная мощность, кВт; |
- потребление электроэнергии, кВт/ч; |
- удельное потребление электроэнергии, кВт/ч/кг; |
- напряжение сети, В; |
- габаритные размеры, мм; |
- занимаемая площадь, м2; |
- масса, кг. |
Параметры конкретного вида и модификаций пил указывают в технических условиях (стандартах предприятия). |
5.1.3. Показателями надежности ленточных пил являются: |
- безотказная наработка не менее 20 ч; |
- срок службы до капитального ремонта при двухсменной эксплуатации не менее 3 лет; |
- полный срок службы не менее 10 лет; |
- коэффициент технического использования не менее 0,9. |
5.1.4. Конструкцией пил должно быть предусмотрено обеспечение качественной разделки мяса на порции установленных формы и величины. Разрез мышечной ткани должен быть ровным. Максимально допустимое количество отходов указывают в технических условиях (стандарте предприятия). |
5.1.5. Температура наружных поверхностей ленточных пил в период эксплуатации свыше 45 °C не допускается. |
5.1.6. Механизм натяжения ленточного полотна следует поставлять с отрегулированным угловым положением оси натяжного ролика. Использование дополнительных приспособлений, не предусмотренных конструкцией пилы, для натяжения полотна при эксплуатации не допускается. Усилие натяжения ролика регулировочного механизма в оптимальном рабочем режиме - 85 - 90 кг. Ход натяжения ленточного полотна - не менее 50 мм. |
Самопроизвольное ослабление крепежных деталей механизма натяжения не допускается. |
5.1.7. Конструкцией пилы должны быть предусмотрены плавная, без ударов и рывков работа ленточного полотна и предотвращение схода полотна пилы со шкива путем регулирования наклона натяжного ролика. |
5.1.8. Линейная скорость ленточного полотна должна составлять 14 - 20 м/с. |
5.1.9. Детали и сборочные единицы приводного механизма должны быть герметичны, а уплотнения подобраны из таких материалов и сконструированы таким образом, чтобы исключалось попадание моющих средств и смазочных материалов в механизм привода, а смазочных материалов - в продукт. |
5.1.10. Типы и конструкции сварных элементов - по ГОСТ 14771. В сварных швах не допускаются: трещины; прожоги; непровары; поры, расположенные в виде цепочки или сплошной сетки; скопление газовых пор и шлаковых включений. |
5.1.11. Управление пилой осуществляют кнопками "ВКЛ." и "ВЫКЛ.". |
5.1.12. Конструкцией ленточных пил должны быть обеспечены: |
- возможность доступа для осмотра, ремонта, санитарной обработки узлов и деталей, защита от внешних загрязнений; |
- исключение выброса продукта во внешнюю среду. |
5.1.13. Пилы следует изготовлять в климатическом исполнении УХЛ4 по ГОСТ 15150. |
5.2. Требования к материалам и комплектующим изделиям |
5.2.1. Для изготовления узлов и деталей, поверхности которых контактируют с пищевыми средами, следует использовать коррозионно-стойкие к химическим воздействиям стали и сплавы по ГОСТ 5632 и другие материалы, разрешенные для применения Федеральным органом исполнительной власти, осуществляющим функции надзора в сфере защиты прав потребителей и благополучия человека. |
5.2.2. Для изготовления ленточного полотна следует применять углеродистую инструментальную сталь. Термическая обработка должна обеспечивать установленную твердость зубьев режущей кромки при сохранении пластичной структуры остальной его части во избежание появления трещин и разломов в процессе эксплуатации. |
Поверхность ленточного полотна допускается анодировать. |
5.2.3. Для защиты наружных поверхностей ленточных пил, подлежащих покрытию, могут быть использованы материалы, обеспечивающие класс покрытия и группу условий эксплуатации покрытия в особых средах по ГОСТ 9.032 и группу условий эксплуатации покрытия в зависимости от климатических факторов по ГОСТ 9.104. |
5.3. Требования к электрооборудованию |
Электрооборудование и электротехнические изделия должны соответствовать требованиям настоящего стандарта, ГОСТ МЭК 60204-1 (раздел 14). |
5.4. Требования к упаковке |
|
Допускается упаковывать пилы в герметичный мешок из полиэтиленовой пленки толщиной от 0,07 до 0,10 мм с закреплением на транспортном поддоне. |
Полотна пилы свертывают в кольца и покрывают временной противокоррозионной защитой. |
5.5. Требования к транспортированию и хранению |
5.5.1. Транспортирование и хранение пил - по настоящему стандарту и ГОСТ 12.2.124. |
5.5.2. Пилы в упаковке, соответствующие требованиям 5.4, допускается транспортировать железнодорожным, автомобильным и речным транспортом, при этом следует соблюдать правила перевозки грузов, установленные Федеральным органом исполнительной власти, осуществляющим функции, связанные с работой транспорта. Погрузка, транспортирование и хранение должны соответствовать требованиям к перевозкам. |
5.5.3. Пилы следует хранить в складских помещениях или под навесом в упакованном виде. Условия хранения - по ГОСТ 15150. Условия транспортирования и хранения в части воздействия механических факторов - по ГОСТ 23170 для средних C условий транспортирования. |
5.6. Требования к монтажу |
Проведение монтажных работ - по настоящему стандарту и ГОСТ 12.2.124. |
В инструкции по монтажу следует предусмотреть обязательную информацию: |
- номер настоящего стандарта; |
- напряжение электропитания, частоту, количество фаз; |
- установленную мощность, кВт; |
- монтажно-технологическую схему, описание монтажных и наладочных работ и последовательность их выполнения; |
- принципиальную электрическую схему. |
Примечание. Раздел 5 введен дополнительно в интересах экономики с целью применения единых правил установления требований к продукции (включая обеспечение потребительских свойств и параметров безопасности на уровне современных требований) и связанных с ними процессов проектирования, производства, монтажа, хранения, перевозки на всех стадиях жизненного цикла оборудования. |
Раздел 6 и
Приложение B содержат перечень опасностей и опасные ситуации, которые идентифицированы при оценке рисков как
специфичные и существенные для ленточных пил, требующие принятия мер по снижению рисков. Прежде чем применить стандарт на практике, важно провести оценку риска пил, чтобы выявить возможность возникновения опасных ситуаций, описанных в данном разделе.
6.1. Механические опасности
Механические опасности пил типов I - IV (см.
рисунок 5).
1 - зона 1; 2 - зона 2; 3 - зона 3; 4 - зона 4;
5 - зона 5; 6 - зона 6; 7 - зона 7
Рисунок 5. Ленточная пила. Опасные зоны
6.1.1. Зона пилы:
зона 1 - полотно пилы вне режущей зоны. Может стать причиной порезов или отрезания пальцев;
зона 2 - полотно пилы в режущей зоне. Может стать причиной порезов или отрезания пальцев;
зона 3 - место защемления на нижнем и верхнем колесах. Опасность перелома пальцев;
зона 4 - спицы на верхнем и нижнем колесах. Опасность ушибов рук;
зона 5 - подвижный рабочий стол. Выпадение стола из механизма направляющей планки. Может стать причиной переломов или ушибов рук или ног.
6.1.2. Приводные механизмы:
зона 6 - приводные механизмы для верхнего и нижнего колес. Опасность повреждения пальцев или рук.
6.2. Опасность потери устойчивости
Зона 7 относится к пилам, снабженным колесами, и к пилам, устанавливаемым на крышке стола. Опрокидывание пилы в результате сильного толчка или удара может привести к травмам.
6.3. Опасность поражения электрическим током
6.3.1. Прямой или непрямой контакт с открытыми частями тела. Опасность получения электрошока.
6.3.2. Применение электрических компонентов с недостаточным уровнем безопасности. Опасность телесных повреждений.
6.4.
Опасность превышения санитарных норм по уровню звукового давления
Сверхнормативный шум может привести к постоянной потере слуха, звону в ушах, переутомлению, стрессу и т.д.
6.5. Опасность несоблюдения эргономических принципов
Последствиями несоблюдения эргономических норм при разработке ленточных пил являются:
- неправильно занимаемое оператором положение или чрезмерное физическое усилие;
- неадекватная оценка анатомии человека (строения рук и ног) при проектировании рабочих мест;
- опасность физического повреждения операторов.
6.6. Опасность несоблюдения гигиенических требований
Вследствие нарушения норм производственной гигиены и санитарии при разработке, производстве и эксплуатации ленточных пил могут возникнуть серьезные риски нанесения ущерба здоровью обслуживающего персонала и потребителей продукции, вырабатываемой с использованием ленточных пил.
Микробиологические причины:
- порча мясных продуктов;
- нанесение вреда здоровью потребителя через зараженные продукты;
- заражение оператора.
Химические причины - отравление продуктов питания остатками моющих и дезинфицирующих средств.
Физические причины - опасными для оператора могут быть выброшенные и/или застрявшие в зубьях ленточного полотна при его вращении и других подвижных частей ленточной пилы компоненты сырья и другие предметы.
7. ТРЕБОВАНИЯ БЕЗОПАСНОСТИ
Требования безопасности к роликовым и ленточным конвейерам приведены в ГОСТ 12.2.022.
При снижении риска физическими мерами или положением центра тяжести ленточной пилы изготовитель должен включить в информацию для пользователя ссылки на указанные меры.
Когда снижение риска осуществляется системой безопасной работы машины, производитель должен включить в информацию для пользователя детали системы и элементы обучения персонала.
7.2. Требования по обеспечению механической безопасности
В данном подразделе приведены требования к конструкции машин для снижения опасностей, детализированных в 6.1. Выделены следующие опасные зоны:
7.2.1. Ленточные пилы типов I - IV
Зона 1. Защита полотна пилы
Доступ к полотну пилы с внешней стороны режущей кромки должен быть предотвращен применением следующих мер:
- внутреннюю часть машины следует закрыть корпусом;
- дверцы корпуса и съемный или откидной подающий стол защитить с помощью блокировок. Требования к блокирующим системам указаны в 7.2.2. При срабатывании блокирующей системы в случае открывания дверей корпуса или подающего стола более чем на 10 мм полотно пилы должно останавливаться не позднее чем через 4 с.
7.2.2. Блокирующие устройства
Блокирующие устройства следует встраивать в корпус пилы.
Блокирующие системы должны обеспечивать следующие функции:
- автоматический останов пилы в случае нарушения режима эксплуатации и попадания посторонних предметов;
- защиту от механических повреждений;
- воздействия чистящих и дезинфицирующих веществ (воды).
В зависимости от области использования пилы и вида перерабатываемого продукта в руководстве по эксплуатации производителю следует указывать на необходимость регулярной проверки блокировочных устройств и частоту проверки.
7.2.3. Пилы типа I с неподвижным рабочим столом и высотой резки
SH не более 250 мм
Зона 2. Доступ к режущей зоне полотна пилы
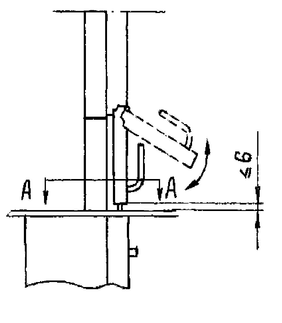
Для предотвращения доступа к режущей зоне полотна пилу следует укомплектовывать:
- подвижным толкателем продукта (см.
рисунок 1). Толкатель продукта должен быть сконструирован таким образом, чтобы автоматически возвращаться в исходное положение под действием собственной массы. Расстояние A1 между толкателем продукта и рабочим столом - не более 6 мм (см.
рисунок 1). Пример приведен на
рисунке 6;
A-A
1 - полотно пилы
Рисунок 6. Толкатель продукта
- регулируемой откидной и съемной панелью для разделения продукта на порции, расположенной горизонтально на высоте более 60 мм. В конструкции пилы следует предусмотреть возможность замены полотна пилы без удаления толкателя продукта.
7.2.4. Пилы с неподвижным рабочим столом типа II и с подвижным рабочим столом типа III с высотой резки от 250 до 420 мм
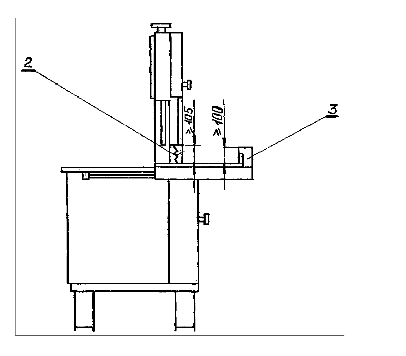
7.2.4.1. Зона 2. Доступ к части полотна пилы, не используемой для резки
Для предотвращения доступа пилу
следует оснастить регулируемой по высоте защитной
планкой (см.
рисунки 2,
3). Максимальная длина части полотна пилы, не прикрытой защитной
планкой, опущенной в крайнее нижнее положение, не должна превышать 105 мм (см.
рисунки 2,
7).
B-B
1 - полотно пилы
Рисунок 7. Защитная планка
7.2.4.2. Зона 2. Тип III. Подвижный рабочий стол
Подвижный рабочий стол следует оборудовать задней стенкой с кожухом. Высота задней стенки - не менее 60 мм, высота защитного кожуха - не менее 100 мм, ширина - не менее 50 мм. Сужение задней стенки кожуха кверху допустимо до 25 мм. Кожух предназначен для перекрывания полотна пилы при нахождении подвижного стола в крайнем переднем положении на не менее чем 10 мм (см.
рисунки 8,
9).
2 - полотно пилы; 3 - барьер для защиты пальцев
Рисунок 8. Пилы типа III с защитной планкой типа II
и подвижным рабочим столом
1 - задняя стенка; 2 - полотно пилы; 3 - барьер для защиты
пальцев в максимально продвинутом вперед положении
Рисунок 9. Защитные приспособления на подвижном столе
пилы типа III
В случаях блокирования или наклона подвижного подающего стола следует предусмотреть возможность:
- установки в этих положениях всей поверхности стола;
- наклона задней стенки стола с помощью защитного барьера для пальцев, вследствие чего подвижный подающий стол будет застопорен.
Конструкцией пилы должна быть предусмотрена горизонтальная регулируемая откидная и/или съемная панель для разрезания продукта на порции высотой не менее 60 мм.
7.2.4.3. Пилу следует укомплектовывать стационарным или съемным устройством для разрезания последней порции продукта высотой не менее 150 мм. Устройство может иметь выступы на стороне, обращенной в сторону полотна пилы.
7.2.4.4. Допускается оснащение пилы съемным толкателем продукта.
7.2.5. Зона 5. Тип III. Конструкцией подвижного рабочего стола должно быть предусмотрено исключение его схода или соскальзывания с направляющих планок.
7.2.6. Верхнее и нижнее колеса приводного механизма полотна пилы типов I - IV
Зоны 3 и 4. Конструкцией должно быть предусмотрено исключение возможности доступа внутрь корпуса пилы к месту возможного защемления частей тела в верхнем и нижнем колесах (зона 3) и к выступам верхнего и нижнего колес (зона 4) (см.
7.2.1).
7.2.7. Ленточные пилы типа IV, установленные в линию разделки
Зона 1. Требования приведены в
7.2.1.
Зона 2. Требования, относящиеся к
защитной планке, приведены в
7.2.4.
Длина незащищенного участка полотна пилы не должна быть более 550 мм.
Наличие толкателя продукта и порционной доски необязательно.
Зоны 3 и 4. Требования, которым должен соответствовать корпус пилы, приведены в
7.2.1 и
7.2.6.
7.2.8. Ленточные пилы типов I - IV. Система привода
Зона 6. Доступ в опасные зоны приводной системы следует исключить за счет следующих мер:
- приводные механизмы следует закрывать предохранительными устройствами (например, дверцами), которые могут быть фиксированными или блокированными;
- при необходимости чистки ленточной пилы или внесении изменений в технологический процесс съемные предохранительные приспособления блокируются.
Требования к блокировке предохранительных
устройств приведены в
7.2.2.
7.3. Требования по обеспечению электрической безопасности
7.3.1. Общие требования
Электрооборудование, силовые электрические цепи и цепи защиты должны соответствовать требованиям безопасности
ГОСТ 12.2.135, ГОСТ МЭК 60204-1 (разделы 5 - 16), ГОСТ 12.2.007.0, ГОСТ 12.1.019 и нижеперечисленным требованиям.
7.3.2. Электрооборудование должно быть защищено от воздействия крови и других отходов, образующихся в процессе разделки продукта, а также воды и моющих средств - при мойке и санитарной обработке.
7.3.3. Переключающие устройства с функцией остановки
Переключающие устройства с функцией остановки должны соответствовать категории 0 по ГОСТ МЭК 60204-1 (пункт 9.2.2).
Выключатель (ВЫКЛ.) должен быть легко доступен оператору с его рабочего места.
7.3.4.1. Степени защиты пилы
Пилы следует изготовлять со степенью защиты не менее IP 54 по ГОСТ 14254.
7.3.4.2. Степени защиты электрических компонентов
Электрические компоненты должны соответствовать следующим степеням защиты:
защита от прямого и непрямого воздействия потока воды:
код IP X5 внешние электрические компоненты на пиле, панели управления пилой, панели управления, расположенные в производственном помещении,
код IP X3 внутренние электрические компоненты в пилах с закрытым корпусом, имеющим степень защиты код IP X5 и открытую нижнюю поверхность;
защита от конденсата воды:
код IP X2 внутренние электрические компоненты в панели управления пил с полностью закрытым корпусом, имеющим степень защиты код IP X5,
код IP X0 внутренние электрические компоненты в пилах с полностью закрытым корпусом со степенью защиты код IP X5. При этом также должна быть гарантирована защита пальцев и рук.
Для пил, которые возможно очищать водой под давлением, доступ воды во внешние компоненты электрического управления следует исключить путем оснащения их съемным или перемещающимся кожухом.
Закрытый кожух не должен ограничивать возможность нажатия кнопки "ВЫКЛ." (см.
рисунок 10).
Конструкцией должен быть предусмотрен легкий доступ к выключателю оператора с его рабочего места для быстрой остановки ленточного полотна в аварийной ситуации.
1 - "ВЫКЛ."; 2 - "ВКЛ."; 3 - защитный кожух
Рисунок 10. Кнопки "ВКЛ." и "ВЫКЛ." с кожухом
Рекомендации по защите внешних элементов управления пилой следует изложить в руководстве по эксплуатации.
Примечание. При оснащении ленточной пилы мембранным переключателем или подобным ему устройством необходимость в кожухе отпадает.
7.3.5. Пила должна быть снабжена кнопками "ВКЛ." и "ВЫКЛ.", смонтированными на рабочей стороне ленточной пилы (см.
рисунки 1,
2). Кнопка "ВКЛ." должна быть защищена от непреднамеренного включения защитной втулкой.
7.3.6. Электрокоммутирующую аппаратуру целесообразно размещать в отдельном отсеке с подводкой электропроводов внутри труб к корпусу и непосредственно к электродвигателю. Конструкцией пилы должны быть предусмотрены заземляющий зажим и знак заземления по ГОСТ 21130. |
7.3.7. Требования к защитному заземлению - по ГОСТ 12.2.007.0 и ГОСТ 12.1.030. Сопротивление между заземляющим зажимом и доступной прикасанию нетоковедущей металлической частью пилы, которая может оказаться под напряжением - не более 0,1 Ом. Сопротивление изоляции проводников - не менее 1,0 МОм. |
7.3.8. Электрическая прочность изоляции должна обеспечить отсутствие пробоев и поверхностного перекрытия изоляции при испытательном напряжении 1000 В в течение 1 мин. |
7.3.9. Дверь электрического шкафа следует снабжать запирающим устройством. На внутренней поверхности двери следует прикреплять табличку с электромонтажной схемой и знаком заземления, на наружной поверхности - табличку со знаком электрического напряжения. |
Пилы допускается выпускать в двух вариантах питания электропривода с напряжением 380 и 220 В. |
7.3.10. Напряжение питания цепей управления пилы - не более 277 В в случае, когда цепь питается от трансформатора (ГОСТ МЭК 60204-1, пункт 9.1.2). |
Примечание. Допускается выпуск пил с напряжением питания 42 В. |
|
7.3.11. Следует предусмотреть защиту от самопроизвольного включения при восстановлении прерванной подачи электроэнергии. Пусковую кнопку следует защитить двумя ограничителями. |
Примечание. В 7.3.6 - 7.3.11 приведены дополнительные по отношению к EN 12268:2003 требования электробезопасности, обязательные для применения при проектировании и производстве ленточных пил. |
7.3.12. Дополнительные требования электрической безопасности к напольным пилам, не закрепляемым на фундаменте и оснащенным колесами
Изготовителю следует предусмотреть в руководстве по эксплуатации:
- необходимость обесточивания и отключения сетевого кабеля перед перемещением пилы;
- принятие меры предосторожности с тем, чтобы исключить повреждение электрического кабеля;
- надежное удерживание пилы за ручки во время перемещения.
7.4. Требования к устойчивости
При проектировании пил следует предусматривать технические решения, исключающие возможность их скольжения, опрокидывания, переворачивания при любом режиме работы. Напольные ленточные пилы допускается снабжать колесами.
Если напольная пила не закреплена на полу, то конструкцией должно быть предусмотрено обеспечение естественной устойчивости, например расположением центра тяжести. Пилы на колесах следует оснащать двумя опорными роликами (или двумя ножками) и двумя вращающимися роликами с блокирующими устройствами, предотвращающими самопроизвольное вращение и качение.
В руководстве по эксплуатации изготовитель должен предоставить информацию об установке и использовании блокирующего устройства, а также требования к качеству поверхности пола.
Пила не должна скользить, опрокидываться или переворачиваться, если она прошла проверку в соответствии с
таблицей 3.
7.5.
Санитарно-гигиенические требования
7.5.1. Общие требования
Определены три гигиенические зоны, обозначенные на
рисунке 11.

- пищевая зона;

- зона разбрызгивания;

- непищевая зона.
Рисунок 11. Гигиенические зоны пилы
Точные границы между зонами зависят от конструкции машины.
7.5.2. Пищевая зона
К пищевой зоне относят следующие компоненты:
- полотно пилы;
- защитную планку;
- верхнюю поверхность неподвижного рабочего стола и/или подвижного рабочего стола;
- роликовый конвейер;
- толкатель продукта;
- устройство для разрезания последней порции;
- панель для установки толщины порции;
- кожух пилы, расположенный на траектории движения режущего полотна;
- верхнее и нижнее колеса привода ленточного полотна;
- сборник разделанных частей продукта.
7.5.3. Зона разбрызгивания
К зоне разбрызгивания относят следующие компоненты:
- нижнюю поверхность неподвижного рабочего стола и/или подвижного рабочего стола;
- внешний и внутренний корпуса ленточной пилы.
7.5.4. Непищевая зона
Непищевая зона включает в себя все остальные поверхности.
7.5.5. Шероховатость поверхности
Шероховатость поверхности Ra нержавеющей стали, контактирующей с продуктом, должна быть не менее 2,5 мкм по ГОСТ 2789.
Для изготовления пил следует использовать коррозионно-устойчивую сталь, устойчивую к коррозии при сварочных работах. Все стыки должны быть отшлифованы, а прочность швов и их устойчивость к коррозии - не ниже чем у основного металла.
7.5.6. Санитарная обработка и чистка ленточных пил
Все поверхности в пищевой зоне должны легко очищаться и дезинфицироваться, а моющие средства и реагенты свободно и без остатка стекать вниз по поверхностям. Непромываемые и остаточные участки на поверхности пил не допускаются.
Принципы конструктивного исполнения ленточных пил, обеспечивающие возможность их эффективной санитарной обработки и чистки, приведены в Приложении A.
В инструкцию для пользователя следует включать информацию:
- о рекомендуемых методах чистки поверхностей в пищевой зоне, особенно защитных кожухов, толкателей продукта и полотна пилы.
- об основных методах чистки и соответствующего удаления остатков чистящих и дезинфицирующих средств и химических реагентов.
7.5.7. Защита оператора
Изготовителю следует включать в руководство по эксплуатации рекомендации по применению индивидуальных средств защиты, которыми рекомендуется пользоваться оператору.
7.6. Требования к соблюдению санитарных норм по уровню шума
7.6.1. Снижение шума на этапе проектирования
При проектировании пил следует учитывать источники и причины возникновения шума при работе ленточных пил: вибрацию движущихся частей; воздушный поток в полотне пилы, состояние полотна пилы.
┌─────────────────────────────────────────────────────────────────────────┐
│ 7.6.2. Уровни звукового давления для машин в октавных полосах не│
│должны превышать значений, приведенных в таблице 1 в соответствии с ГОСТ│
│ │
│ Таблица 1│
│ │
│ Допустимый уровень шума на рабочих местах │
│ │
│┌─────────────────────────────────────────────────────┬─────────────────┐│
││ Уровни звукового давления, дБ, в октавных полосах со│ Уровень звука и ││
││ среднегеометрическими частотами, Гц │ эквивалентный ││
│├──────┬──────┬─────┬───────┬─────┬────┬────┬────┬────┤ уровень звука, ││
││ 31,5 │ 63 │ 125 │ 250 │ 500 │1000│2000│4000│8000│ дБА ││
│├──────┼──────┼─────┼───────┼─────┼────┼────┼────┼────┼─────────────────┤│
││ 107 │ 95 │ 87 │ 82 │ 78 │ 75 │ 73 │ 71 │ 69 │ 80 ││
│└──────┴──────┴─────┴───────┴─────┴────┴────┴────┴────┴─────────────────┘│
│ │
│ 7.6.3 Требования к соблюдению санитарных норм по уровню вибрации │
│ Значения виброскорости на рабочем месте следует рассчитывать в│
│соответствии с
ГОСТ 12.1.012, однако они не должны превышать приведенных│
│в таблице 2 значений. │
│ │
│ Таблица 2│
│ │
│ Допустимый уровень вибрации на рабочих местах │
│ │
│┌────────────────────┬───────┬───────┬───────┬────────┬────────┬────────┐│
││Среднегеометрическая│ 2,0 │ 4,0 │ 8,0 │ 16,0 │ 31,5 │ 63,0 ││
││частота полос, Гц │ │ │ │ │ │ ││
│├────────────────────┼───────┼───────┼───────┼────────┼────────┼────────┤│
││Допустимое значение │ 108 │ 99 │ 93 │ 92 │ 92 │ 92 ││
││виброскорости, дБ │ │ │ │ │ │ ││
│└────────────────────┴───────┴───────┴───────┴────────┴────────┴────────┘│
│ │
│ Примечание. Введен
7.6.2, в котором указаны предельные шумовые│
│характеристики, а также дополнительно по отношению к EN 12268:2000│
│-
7.6.3 - вибрационные характеристики. │
└─────────────────────────────────────────────────────────────────────────┘
7.7. Требования к эргономическим характеристикам
Информация для пользователя, необходимая для соблюдения эргономических требований, должна содержаться в руководстве по эксплуатации.
Неудобные положения тела, возникающие при эксплуатации и очистке пил, должны быть исключены.
Органы управления пилой следует размещать на расстоянии, доступном для оператора.
8. ПРОВЕРКА СООТВЕТСТВИЯ ТРЕБОВАНИЯМ БЕЗОПАСНОСТИ,
САНИТАРИИ И ГИГИЕНЫ
Проверка требований безопасности может проводиться посредством осмотра, расчета или тестирования. Эти меры применяют к пилам, полностью готовым к эксплуатации, но может потребоваться частичный, не влияющий на результаты проверки демонтаж с целью выполнения некоторых проверок. Критерии тестирования приведены в таблице 3.
Пункты настоящего стандарта | Метод тестирования |
Защита полотна пилы (см. 7.2.1) | Проверка режущей зоны и корпуса ленточной пилы. |
Измерение времени торможения. |
Функциональный контроль рабочего стола. |
Проверка схемы электрических соединений. |
Блокирующие устройства (см. 7.2.2) | Измерение размеров. |
Функциональный тест с толкателем продукта. |
Функциональный тест с кнопкой "Вкл."/"Выкл.". |
Визуальный контроль. |
Особый визуальный контроль блокирующих систем на дверцах корпуса и рабочего стола. |
Доступ к режущей зоне полотна пилы (см. 7.2.3) | Измерение размеров. |
Функциональный тест с защитной планкой. |
Функциональный тест с кнопкой "Вкл."/"Выкл.". |
Визуальный контроль. |
| Измерение размеров. |
Измерение времени торможения. |
Функциональный тест с кнопкой "Вкл."/"Выкл.". |
Электрические опасности (см. 7.3) | Тесты в соответствии с ГОСТ МЭК 60204-1 (раздел 18) следует проводить на каждой ленточной пиле. |
Функциональный тест с кожухом. |
|
Требования к устойчивости (см. 7.4) | Расчет или тест на устойчивость на поверхности с наклоном в 10°. Колеса должны быть заблокированы и находиться в невыгодном положении. В этом положении должен быть проведен функциональный тест путем загрузки продукта максимального размера и проталкивания его к полотну пилы. |
Визуальный контроль. |
Шероховатость поверхности (см. 7.5.5) | Измерение шероховатости поверхности, радиусов и выемок. |
Визуальный контроль сварных швов. |
| |
| |
9. ИНФОРМАЦИЯ
ДЛЯ ПОТРЕБИТЕЛЯ
9.1. Информация
для потребителя должна удовлетворять требованиям
ГОСТ 2.601.
В объем поставки должна входить следующая эксплуатационная документация:
- паспорт;
- руководство по эксплуатации.
9.2. В эксплуатационной документации устанавливают следующий минимальный объем информации:
9.2.1. Инструкция по монтажу, пуску, регулированию и обкатке машин
Инструкция по монтажу, пуску, регулированию и обкатке машин должна содержать:
- номер настоящего стандарта;
- напряжение электропитания, частоту тока, количество фаз;
- установленную мощность, кВт;
- сведения об опасных зонах при монтаже и рекомендации по предотвращению доступа к ним;
- монтажные схемы;
- перечень инструментов и приспособлений, необходимых для проведения монтажных работ;
- техническую документацию (компоновочные и рабочие чертежи, необходимые для монтажа, наладки, эксплуатации и ремонту машин).
9.2.2. Руководство по эксплуатации
Руководство по эксплуатации содержит следующий минимум информации:
- правила транспортировки, хранения и установки пилы, в том числе ленточного полотна;
- потребность в производственных площадях для установки пилы;
- допустимые нормы влажности, температуры и освещения в производственном помещении;
- условия монтажа и сборки ленточной пилы;
- описание конструкции пилы, предохранительных и защитных устройств;
- перечень опасностей, особенно подробно в режущей зоне, которые не могут быть полностью устранены защитными устройствами;
- правила регулирования толщины реза на панели для разделения на порции;
- описание приемов выполнения технологических операций с применением подвижного и неподвижного рабочего стола; устройства для разрезания последней порции и толкателя продукта;
- предупреждение о запрещении использования пилы без применения толкателя продукта;
- принципиальную электрическую схему, включая цепи управления, схемы соединений;
- указание на необходимость регулярных проверок блокирующих устройств и определения частоты проверок в зависимости от области использования пилы и вида перерабатываемого продукта;
- описание процедуры и частоты профилактических осмотров, текущего и капитального ремонтов;
- рисунки, используемые для этих целей;
- перечень и описание запасных частей;
- рекомендации по использованию индивидуальных средств защиты;
- техническую документацию (схемы и эскизы, необходимые для монтажа, наладки, эксплуатации и ремонта пилы и оборудования).
9.2.3. Инструкция по санитарной обработке и очистке
В инструкции следует предусмотреть описание:
- метода очистки;
- чистящих реагентов со ссылкой на данные производителя о безопасности его использования;
- метода дезинфекции;
- дезинфицирующего реагента со ссылкой на данные производителя о безопасности его использования;
- ополаскивателей и времени их применения во избежание отравления;
- действий операторов во время чистки и дезинфекции и использования индивидуальных средств защиты персонала;
- применения кожухов над внешними электрическими компонентами при чистке пилы водой под давлением, методов чистки деталей пилы, расположенных под кожухом, порядка снятия и установки защитных устройств при чистке.
Примечание. Инструкция по санитарной обработке и чистке может быть включена в руководство по эксплуатации.
Оператор должен быть обучен всем опасностям, связанным с использованием и чисткой ленточных пил, и мерам предосторожности.
Примечание. Рекомендуется, чтобы персонал был проинструктирован во время монтажа пилы представителем производителя или поставщика ленточной пилы.
11. ТРЕБОВАНИЯ К МАРКИРОВКЕ
11.1. На видном месте пилы прикрепляют табличку с информацией для потребителя по ГОСТ 12969. Форма таблички - прямоугольная по ГОСТ 12971.
11.2. Табличка включает следующий минимальный объем информации
по ГОСТ 26582:
- товарный знак;
- наименование предприятия-изготовителя;
- обозначение типа, марки (модели) и, при необходимости, исполнения пилы;
- заводской (серийный) номер;
- дату выпуска (год, месяц);
- обозначение настоящего стандарта;
- основные технические характеристики, включая параметры источников энергоснабжения (напряжение, частоту тока, количество фаз);
- установленную мощность.
|
|
12.1. Изготовленные пилы должны быть подвергнуты следующим видам испытаний: приемо-сдаточным; периодическим; контрольным на надежность и типовым. |
12.2. Комплектующие изделия и материалы должны быть проверены до сборки пилы на соответствие их конструкторской документации и требованиям настоящего стандарта и технических условий (стандарта предприятия). |
12.3. Собранная и укомплектованная пила должна быть подвергнута приемо-сдаточным испытаниям. |
12.4. Порядок проведения приемо-сдаточных испытаний |
┌─────────────────────────────────────────────────────────────────────────┐
│ 12.4.1. Приемо-сдаточным испытаниям подвергают каждую пилу на│
│предприятии-изготовителе в соответствии с требованиями настоящего│
│стандарта и
ГОСТ 15.309. Перед проведением приемо-сдаточных испытаний│
│должна быть проведена обкатка каждой пилы на холостом ходу. При обкатке│
│не должно быть посторонних звуков: скрипов, ударов и т.п. │
│ Минимальный объем проверок приведен в таблице 4. │
│ │
│ Таблица 4│
│ │
│┌────────────┬──────────────────────────────────────────────────────────┐│
││ Пункт │ Наименование проверок ││
││ настоящего │ ││
││ стандарта │ ││
│├────────────┼──────────────────────────────────────────────────────────┤│
││
5.1 │ Проверка на соответствие конструкторской документации и││
││ │внешнего вида ││
│├────────────┼──────────────────────────────────────────────────────────┤│
││
5.1.2 │ Контроль соответствия хода натяжения пильного полотна. ││
││ │ Проверка толщины и ширины ленточного полотна ││
│├────────────┼──────────────────────────────────────────────────────────┤│
││
5.1.10 │ Контроль соответствия сварных соединений ││
│├────────────┼──────────────────────────────────────────────────────────┤│
││
7.2.2 │ Проверка наличия блокировок ││
│├────────────┼──────────────────────────────────────────────────────────┤│
││
7.3.3,
7.3.5│ Проверка кнопок включения и выключения ││
│├────────────┼──────────────────────────────────────────────────────────┤│
││
7.3.4.3 │ Проверка отключения при открывании кожуха ││
│├────────────┼──────────────────────────────────────────────────────────┤│
││
7.3.7 │ Проверка значения сопротивления между болтом заземления││
││ │и нетоковедущей металлической частью пилы. ││
││ │ Проверка электрического сопротивления изоляции ││
│├────────────┼──────────────────────────────────────────────────────────┤│
││
7.3.8 │ Проверка электрической прочности изоляции ││
│├────────────┼──────────────────────────────────────────────────────────┤│
││
7.3.9 │ Проверка наличия замка и ключа к электрическим шкафам ││
││ │(при наличии в комплекте). ││
││ │ Наличие знака электрического напряжения ││
│├────────────┼──────────────────────────────────────────────────────────┤│
││
7.3.11 │ Проверка защиты от самовключения ││
│├────────────┼──────────────────────────────────────────────────────────┤│
││
11 │ Проверка маркировки ││
│└────────────┴──────────────────────────────────────────────────────────┘│
└─────────────────────────────────────────────────────────────────────────┘
12.4.2. Пилу, не выдержавшую приемо-сдаточных испытаний, возвращают для выяснения причин и анализа несоответствия ее настоящему стандарту и конструкторской документации с целью разработки и проведения мероприятий по их устранению и повторному предъявлению на испытания. |
12.4.3. После устранения несоответствий пила должна быть подвергнута повторным приемо-сдаточным испытаниям. При положительных результатах повторных испытаний пилу считают принятой. |
12.4.4. При получении положительных результатов испытаний оформляют "Свидетельство о приемке" в техническом паспорте или руководстве по эксплуатации. |
12.5. Порядок проведения периодических испытаний |
12.5.1. Проведение и оформление результатов периодических испытаний осуществляют по ГОСТ 15.309. Периодические испытания следует проводить на соответствие всем требованиям настоящего стандарта. |
Испытания проводят один раз в три года в условиях эксплуатации. |
Цель периодических испытаний: |
- периодический контроль качества и безопасности пил; |
- контроль стабильности технологического процесса в период между предшествующими и очередными испытаниями; |
- подтверждение возможности продолжения изготовления и приемки пил по действующей документации. |
12.5.2. С целью проведения периодических испытаний проводят отбор образцов изделий из партии, изготовленной в контролируемом периоде и выдержавших приемо-сдаточные испытания. |
12.5.3. Если пила не выдержала периодические испытания, приемку и отгрузку изготовленных пил приостанавливают до выявления причин возникновения дефектов, их устранения и получения положительных результатов повторных испытаний. |
12.5.4. Повторные периодические испытания проводят на доработанной или вновь изготовленной пиле после проведения мероприятий по устранению дефектов и причин, их вызывающих. Повторные периодические испытания проводят в полном объеме. |
12.6. При внесении изменений в конструкцию или технологию изготовления пил, влияющих на технические характеристики и параметры, указанные в настоящем стандарте, проводят типовые испытания. |
12.7. Порядок проведения испытаний на надежность |
Для подтверждения значений безотказной наработки, коэффициента технического использования, установленных настоящим стандартом, следует проводить испытания по ГОСТ 27.410 одной или нескольких пил с периодичностью один раз в четыре года. |
12.8. Порядок проведения испытаний на транспортабельность |
12.8.1. Испытаниям на транспортабельность подвергают упакованную пилу, прошедшую приемо-сдаточные испытания по ГОСТ 26582 (пункт 5.4). После испытаний пилу распаковывают и проверяют в объеме приемо-сдаточных испытаний. |
12.8.2. Выявленные недостатки должны быть устранены, после чего пилу необходимо подвергнуть повторным испытаниям. |
Результаты повторных испытаний являются окончательными для оценки сохранения работоспособности после транспортирования в упаковке. |
12.8.3. Периодичность испытаний на транспортабельность - одна пила один раз в пять лет. |
12.9. Порядок проведения климатических испытаний |
12.9.1. Климатическим испытаниям подвергают упакованную пилу, прошедшую приемо-сдаточные испытания. Допускается подвергать климатическим испытаниям снятые с пилы сборочные единицы и детали (электрооборудование, резино-технические изделия), упакованные в соответствии с требованиями настоящего стандарта. |
После испытаний пилу собирают и проверяют в объеме приемо-сдаточных испытаний. |
12.9.2. Выявленные недостатки должны быть устранены, после чего пилу необходимо подвергнуть повторным испытаниям. |
Результаты повторных испытаний являются окончательными для оценки сохранения работоспособности после транспортирования в упаковке. |
|
|
|
13.1. Все испытания проводят в нормальных климатических условиях при: |
- температуре окружающего воздуха 15 °C - 35 °C; |
- относительной влажности воздуха 45% - 80%; |
- атмосферном давлении 645 - 795 мм рт. ст. |
Напряжение питания трехфазной сети - 380 В + 10%, - 15%. |
Напряжение питания двухфазной сети - 220 В + 10%, -15%. |
13.2. Высоту резки проверяют рулеткой (см. раздел 4). |
13.3. Техническую производительность (см. 5.1.2) контролируют прямым взвешиванием массы переработанного продукта за 1 ч. |
13.4. Толщину и ширину ленточного полотна (см. 5.1.2) измеряют штангенциркулем. |
13.5. Проверку установленной мощности (см. 5.1.2) проводят расчетным путем: сложением мощностей элементов оборудования, входящих в состав пилы. Значения мощностей элементов указаны в паспортах, на этикетках или промаркированы на этих элементах. |
13.6. Потребление электроэнергии пилы (см. 5.1.2) измеряют с помощью счетчика электрической энергии. |
13.7. Удельное потребление электроэнергии (см. 5.1.2) вычисляют по формуле |
|
|
|
где  - удельное потребление электроэнергии, кВт · ч/кг; |
W - электроэнергия, потребляемая за 1 ч, кВт · ч; |
n - количество обработанных отрубов за 1 ч, кг. |
13.8. Габаритные размеры пилы (см. 5.1.2) определяют с помощью рулетки. |
13.9. Массу пилы (см. 5.1.2) определяют с помощью динамометра. |
┌─────────────────────────────────────────────────────────────────────────┐
│ 13.10. Установленную безотказную наработку (см.
5.1.3) подтверждают│
│методом статистического анализа с использованием коэффициентов,│
│приведенных в таблице 5. │
│ │
│ │
│┌───────────────────────────────────────────────────────┬───────────────┐│
││ Наименование параметра │ Коэффициент ││
│├───────────────────────────────────────────────────────┼───────────────┤│
││ Риск поставщика │ 0,20 ││
│├───────────────────────────────────────────────────────┼───────────────┤│
││ Риск потребителя │ 0,20 ││
│├───────────────────────────────────────────────────────┼───────────────┤│
││ Приемочный уровень вероятности безотказной работы │ 0,96 ││
│├───────────────────────────────────────────────────────┼───────────────┤│
││ Браковочный уровень вероятности безотказной работы │ 0,90 ││
│└───────────────────────────────────────────────────────┴───────────────┘│
└─────────────────────────────────────────────────────────────────────────┘
13.11. Испытания с целью подтверждения коэффициента технического использования (см. 5.1.3) следует проводить методом последовательного контроля. Исходные данные приведены в таблице 5. |
13.12. Качество резания и количество отходов проверяют взвешиванием на товарных весах (см. 5.1.4). |
13.13. Проверку нагрева наружных поверхностей (см. 5.1.5) проводят термометром. К наружной поверхности пилы с использованием кремнийорганической теплопроводной пасты крепят термометр. Через 1 ч снимают показания термометра. |
13.14. Ход натяжения ленточного полотна (см. 5.1.6) определяют путем измерения расстояния между длиной ленточного полотна, находящегося в свободном состоянии, и после его натяжения регулировочным механизмом с установленным усилием (ходом полотна) линейкой по ГОСТ 427. |
13.15. Линейную скорость ленточного полотна измеряют тахометром (см. 5.1.8) или вычисляют по формуле: |
|
|
|
где D - диаметр ведущего ролика; |
n - число оборотов ведущего ролика. |
13.16. Контроль соответствия сварных соединений (см. 5.1.10) осуществляют по ГОСТ 3242. Сварные швы не должны иметь наплывов, прожогов, следов флюса, трещин. |
13.17. Проверку органов управления визуально (см. 5.1.11, 7.3.3, 7.3.5) следует проводить нажатием кнопок "ВКЛ.", "ВЫКЛ." не менее пяти раз каждой. Проводят выполнение функций, соответствующих указаниям мнемознаков. |
13.18. Проверку возможности доступа для осмотра, ремонта, санитарной обработки узлов и деталей, защиты от внешних загрязнений (см. 5.1.12) проводят визуально. |
13.19. Проверку соответствия качества материалов и комплектующих изделий требованиям Федерального органа исполнительной власти, осуществляющего надзор в сфере защиты прав потребителей и благополучия человека (см. 5.2) осуществляют по сопроводительным документам, визуально и, при необходимости, путем лабораторного анализа. |
13.20. Проверку упаковки машины (см. 5.4) осуществляют путем сличения имеющейся тары с указанной в конструкторской документации. |
13.21. Наличие кожуха, двери и блокировки (см. 7.2.1) проверяют визуально. |
13.22. Надежность работы блокировки (см. 7.2.2) контролируют пуском пилы в работу и последующим нарушением блокировки путем открывания двери до зазора величиной 10 - 15 мм и кожуха при работающей пиле. Двигатель должен отключиться. Отказы не допускаются. |
13.23. Проверку конструкции пилы в отношении предотвращения доступа к режущей зоне полотна (см. 7.2.3) выполняют визуально и путем имитации создания опасной ситуации с функциональным тестом с защитной планкой и кнопкой "ВКЛ."/"ВЫКЛ." |
13.24. Проверка степени защиты электрооборудования от попадания воды (см. 7.3.4) - по ГОСТ 14254. |
13.25. Проверку наличия болта заземления, его условного изображения (см. 7.3.7) проводят визуально. |
13.26. Проверку значения сопротивления между болтом заземления и нетоковедущей металлической частью пил, которая может оказаться под напряжением (см. 7.3.7) проводят по ГОСТ МЭК 60204-1. |
13.27. Проверку электрического сопротивления изоляции между корпусом пилы и цепями электромонтажа (см. 7.3.7) проводят с помощью мегомметра по ГОСТ МЭК 60204-1. |
13.28. Проверку электрической прочности изоляции (см. 7.3.8) осуществляют по ГОСТ МЭК 60204-1 путем испытания на пробойной установке. |
13.29. Наличие замка и ключа к электрошкафам (при наличии в комплекте), а также наличие электрических схем (см. 7.3.9) контролируют визуально. |
13.30. Наличие знака электрического напряжения (см. 7.3.9) контролируют визуально. |
13.31. Напряжение питания цепей управления (см. 7.3.10) контролируют вольтметром. Степень защиты - по ГОСТ 14254. |
13.32. Проверку защиты от самовключения при восстановлении прерванной подачи электроэнергии (см. 7.3.11) проводят отключением кабеля питания работающей пилы, после чего кабель питания подключается вновь. Работа пилы возобновляется только после нажатия на кнопку "ВКЛ.". |
|
|
13.35. При проверке маркировки (см. 11) проверяют: |
- содержание надписей, четкость шрифта на табличке и надежность ее крепления - визуально; |
- стойкость маркировочной надписи протиркой таблички тампоном, смоченным в бензине; |
- монтажные знаки и маркировку упаковки - на соответствие документации мест их нанесения, размеров, формы и стойкости к воздействию влаги протиркой знаков смоченным в воде тампоном. |
Примечание. Разделы 11 и 12 введены дополнительно по отношению к EN 12268:2003 с целью установления типовых правил приемки продукции и методов контроля. |
(обязательное)
ПРИНЦИПЫ КОНСТРУИРОВАНИЯ ДЛЯ ОБЕСПЕЧЕНИЯ ВОЗМОЖНОСТИ
ЧИСТКИ ЛЕНТОЧНЫХ ПИЛ
A.1. Определения
A.1.1. Легкоочищаемые поверхности
Поверхности, спроектированные и изготовленные так, чтобы обеспечить удаление загрязнений простой промывкой (например, вручную с помощью губки).
A.1.2. Пищевая зона
Зона, включающая поверхности, которые контактируют с пищевым продуктом, а также поверхности, с которыми пищевой продукт может контактировать при нормальных условиях эксплуатации, а затем возвратиться в основной поток продукта (см.
рисунок 11).
A.1.3. Зона разбрызгивания
Зона, включающая поверхности, на которые могут попасть брызги или на которых могут образоваться подтеки от пищевого продукта при нормальных условиях эксплуатации (см.
рисунок 11).
A.1.4. Непищевая зона: все другие поверхности, не перечисленные выше (см.
рисунок 11).
Зона, включающая поверхности, которые не контактируют с пищевым продуктом.
A.1.5. Объединенные поверхности
Поверхности, между которыми частицы продукта не застревают в мелких трещинах, что затрудняло бы их удаление и обусловливало опасность загрязнения.
A.1.6. Удобство очистки
Пилы должны быть разработаны и сконструированы таким образом, чтобы было возможно удалять грязь простым способом, например моющим средством и водой под давлением (см. рисунок A.1).
1 - пищевая зона
A.2. Конструкционные материалы
A.2.1. Общие положения
Конструкционные материалы должны соответствовать требованиям, изложенным в
5.2.
A.2.2. Типы материалов
A.2.2.1. Материалы для пищевой зоны
Материалы, применяемые для изготовления узлов и деталей, поверхности которых контактируют с пищевыми продуктами и пищевой средой, должны быть разрешены для применения органом исполнительной власти, осуществляющим надзор в сфере защиты прав потребителей и благополучия человека.
A.2.2.2. Материалы для зоны разбрызгивания
Материалы, применяемые для конструирования и изготовления деталей и узлов, находящихся в зоне разбрызгивания, должны соответствовать требованиям
5.2.
A.2.2.3. Материалы для непищевой зоны
Материалы, применяемые для конструирования и изготовления деталей и узлов, находящихся в непищевой зоне, должны соответствовать требованиям
5.2.
A.3. Конструкция
A.3.1. Сочленение внутренних поверхностей
Качество покрытий, используемых на поверхностях конструкционных материалов, должно обеспечивать легкую чистку в соответствующих условиях. Шероховатость поверхности Rz - согласно ГОСТ 2789.
Сочленения должны иметь те же параметры шероховатости, что и соединяемые поверхности. Они должны быть сконструированы таким образом, чтобы исключить любую возможность возникновения неочищаемых зон.
A.3.2. Сочленение внутренних поверхностей для пищевой зоны
Две поверхности должны соединяться в соответствии со следующим требованием:
создается закругленная кромка, имеющая радиус R не менее 3,2 мм, путем:
- механической обработки (нарезки внутри массы материала);
- сгибания листового металла (сгибания и формовки);
- конструирования (в формах - с помощью литья, выдавливания и выдувания (см. рисунок A.2);
Рисунок A.2. Пищевая зона
- сварного соединения с последующей шлифовкой и полировкой (см. рисунок A.3).
Рисунок A.3. Пищевая зона
Меньшие радиусы допускаются, если нет возможности изготовить деталь в соответствии с
рисунками A.2 и A.3 из-за действующей на предприятии-изготовителе технологии производства или по экономическим причинам.
Для компонентов пил, например ленточное полотно, верхние и нижние колеса, устройство для разрезания последней порции и направляющая полотна пилы, допускается иметь углубления (впадины), канавки и углы с малыми диаметрами, необходимые для обработки продукта. Компоненты должны иметь легкоочищаемые поверхности.
Для внутреннего угла не менее 135° специальные требования к радиусу отсутствуют (см. рисунок A.4). Расстояние между двумя углами должно быть не менее 8 мм (см. рисунок A.4).
Рисунок A.4. Пищевая зона
Если угол формируется пересечением трех плоскостей, то сформированные внутренние углы должны быть не менее 90°, а радиус - не менее 6,4 мм. Допускаются соединения без радиусов с внутренними углами не менее 135° (см.
рисунок A.5).
1 - поверхность 1; 2 - поверхность 2; 3 - поверхность 3
Рисунок A.5. Соединение поверхностей в пищевой зоне
Канавки допускаются, если внутренний радиус не менее 3,2 мм и глубина меньше 0,7 радиуса.
Стыки и швы должны быть сварены или скреплены и быть такими же гладкими, как и соединенные поверхности (см.
рисунок A.1).
Шероховатость поверхности Rz должна быть не более 25 мкм. В тех зонах, где это технически возможно, шероховатость Rz должна быть менее 16 мкм.
A.3.3. Сочленение внутренних поверхностей для зоны разбрызгивания
Внутренний угол, сформированный в результате пересечения двух поверхностей, должен быть не менее 80° и иметь радиус не менее 3,2 мм.
Если угол формируется пересечением трех поверхностей, то угол, сформированный пересечением двух поверхностей, должен иметь радиус не менее 6,4 мм. Специальные требования к радиусу в местах соединения третьей поверхности отсутствуют.
Углы не менее 110° допускаются без радиуса (см.
рисунок A.4).
Образование канавок возможно, если внутренний радиус не менее 3,2 мм и глубина меньше 1,0 радиуса.
Наличие щелей допускается, если они проходят прямо через зазор и имеют диаметр не менее 16 мм. Зазоры допускаются при условии, что они имеют ширину не менее 16 мм, а глубину - не более 16 мм, при этом зазор открыт.
Стыки и швы должны быть сварены и прочно скреплены. Это требование не применяется, если стыки формируются наложением металлических поверхностей сверху донизу в вертикальной плоскости таким образом, что отсутствуют горизонтальные углы, в которых может собираться грязь. Значение наложения должно быть не менее 12 мм. Стыки, которые не накладываются друг на друга, должны легко разделяться для проведения санитарной обработки.
A.3.4 Крепежные соединения в пищевой зоне и зоне разбрызгивания Использование в конструкции винтов, болтов, заклепок с низкопрофильными головками типов, указанных на
рисунке A.6, допускается только, когда другие методы соединения невозможны. При этом изготовитель в руководстве по эксплуатации должен гарантировать, что такие соединения поддаются чистке при проведении санитарной обработки пилы.
1 - круглая головка; 2 - овальная головка;
3 - полупотайная головка; 4 - потайная головка;
5 - шестигранная головка; 6 - шестигранная головка
с фланцем; 7 - шестигранная куполовидная головка
Рисунок A.6. Допустимые скрепления - профиль головок
Крепежные системы могут быть авторизованы только в том случае, если они являются цельными и стандартными. Изготовитель может устанавливать метод контроля, чтобы обеспечить соответствие этим требованиям.
Использование в конструкции винтов с крестообразным углублением под ключ на головке, винтов с цилиндрической головкой и шестигранным углублением под ключ, а также винтов диаметром менее 3 мм не допускается.
Шероховатость поверхности Rz должна быть не более 25 мкм. В тех зонах, где это технически возможно, шероховатость Rz должна быть менее 16 мкм.
A.3.5. Сочленение внутренних поверхностей для непищевой зоны
Поверхности конструктивных элементов пил должны быть гладкими, не должны иметь, насколько это возможно, впадин, углов, отверстий, зазоров и стыков. Закрытые полости должны быть достаточно широкие с тем, чтобы можно было провести их санитарную обработку или дезинфекцию.
A.3.6. Ленточные пилы напольного типа
Ленточные пилы на колесах.
При изготовлении ленточной пилы на колесах изготовитель должен при выборе шарниров (колес) предусмотреть возможность их санитарной обработки (см.
рисунок A.7).
b <= 25 мм, a >= 3,5 мм; b > 25 мм, a >= 6 мм; b - наибольший размер рамки на окружности шарнира
Рисунок A.7. Шарниры. Примеры размеров
(обязательное)
ОБЩИЕ РИСКИ ДЛЯ МАШИН ПИЩЕВОЙ ПРОМЫШЛЕННОСТИ И СНИЖЕНИЕ
ТРЕБОВАНИЙ, УСТАНОВЛЕННЫХ ДЛЯ ЛЕНТОЧНЫХ ПИЛ
B.1. Опасность разрезания
B.1.1. Обработка полотна пилы
Полотно необходимо периодически снимать с соблюдением мер предосторожности. Для режущих полотен при проектировании необходимо предусмотреть надежные средства для крепления полотна во избежание контактов с рукой, а также кожух или чехол, защищающие от острых краев полотна пилы во время обработки и транспортирования.
B.1.2. Метод проверки: визуальный контроль пилы и сопроводительной документации изготовителя.
B.2. Опасность при чистке
B.2.1. В мясоперерабатывающей промышленности риск при очистке возрастает вследствие того, что перед оператором часто встает необходимость очистки опасных зон, удаления засоров для обеспечения движения продукта, уборки между переработкой двух разных продуктов в течение рабочего дня, а также необходимость доступа в течение рабочего дня к деталям пилы для проведения тщательной обработки с целью выполнения гигиенических требований.
При проектировании следует провести оценку: рисков, связанных с требованиями по очистке; рисков для операторов от различных вариантов чистки, а также рисков последующего заражения продукта.
B.2.2. Метод проверки: визуальный контроль пилы и сопроводительной документации изготовителя.
B.3. Внешнее воздействие на электрическое оборудование
B.3.1. Многие пилы не имеют надежной защиты от влаги в окружающей среде, а методы влажной уборки только усиливают риск оператора получения электрического шока.
Проектировщик должен следовать стратегии, обеспечивающей электробезопасность и сводить к минимуму воздействие воды на электрическое оборудование путем соблюдения требований настоящего стандарта, ГОСТ МЭК 60204-1.
B.3.2. Метод проверки: испытания или анализ документации.
B.4. Возобновление подачи электропитания после остановки
Опасность от деталей пилы, самопроизвольно возобновивших работу, существует во всех машинах, где есть доступ в опасные зоны.
В ГОСТ МЭК 60204-1 предусмотрены устройства, предотвращающие неожиданный запуск пилы после прекращения подачи электроэнергии. В машинах для мясоперерабатывающей промышленности применение таких устройств всегда должно быть обязательным, поскольку риск от механических опасностей и частота приближений к опасным зонам высоки.
Метод проверки: визуальный контроль.
B.5. Опасность от моющих веществ
В большинстве случаев опасность возникает от самого процесса уборки или же от веществ, которые используют при выполнении гигиенических мероприятий, необходимых для переработки продуктов. На случай применения опасных химикатов, например концентрированных едких растворов, должны быть созданы условия переноса, перелива и использования этих веществ в закрытых системах, исключающие контакт с оператором.
Метод проверки: изучение документации.
B.6. Опасность пренебрежительного отношения к использованию индивидуальных средств защиты персонала
Для работы с оборудованием для персонала следует предусматривать индивидуальные средства защиты, чтобы исключить остаточные риски, например:
- перчатки для очистки и удаления полотна пилы;
- фартуки для уборки;
- перчатки для работы с замороженными продуктами.
В руководстве по эксплуатации следует включать информацию о необходимости выбора и применения подходящих индивидуальных средств защиты.
Метод проверки: изучение документации.
B.7. Уменьшение опасности от воздействия на операторов шума путем:
- проектирования пилы с учетом технического прогресса и наличия доступных средств снижения шума, позволяющих сводить к минимуму риски, возникающие от шума, передающегося по воздуху;
- превентивными мерами по отношению к источнику шума (например, отгораживанием);
- рекомендациями в руководстве по эксплуатации.
Метод проверки: изучение документации.
(справочное)
СИСТЕМА ПРАВИЛ АНАЛИЗА ШУМА ДЛЯ ЛЕНТОЧНЫХ ПИЛ. ВТОРОЙ
КЛАСС ТОЧНОСТИ
ДА.1. Определение уровня распространения звукового давления
А - взвешенный уровень распространения звукового давления на рабочей станции должен быть определен в соответствии с EN ISO 11204, с требованиями для второго класса точности.
Для определения уровня распространения звукового давления необходимо установить микрофон напротив ленточной пилы в том месте, где обычно стоит оператор, и направить его к машине. Микрофон должен быть расположен на высоте 1,5 м от пола, на расстоянии 0,4 м от переднего края полотна пилы и на плоскости, которая находится на расстоянии 0,2 м от левой стороны плоскости полотна.
ДА.2. Определение уровня акустической мощности
А - взвешенный уровень акустической мощности должен быть определен в соответствии с EN ISO 3744 с помощью поверхности в виде параллелепипеда.
ДА.3. Условия установки и монтажа
Ленточные пилы, которые необходимо протестировать, должны быть установлены на зеркальную поверхность в условиях испытания, в соответствии с требованиями для ступени 2 по EN ISO 11204 и EN ISO 3744.
Настольные ленточные пилы (см. EN 12268:2003, рисунок 1) должны быть установлены в испытательном комплексе, описанном в EN ISO 11204:1995 (Приложение B). Условия установки и монтажа должны быть идентичными для определения как уровня распространения звукового давления, так и уровня акустической мощности.
ДА.4. Условия работы
Ленточная пила должна быть испытана без нагрузки и с нагрузкой. Уровень шума при отсутствии нагрузки измеряется, когда машина работает на максимальной скорости, готовая к испытанию под нагрузкой.
Для того чтобы имитировать нагруженное состояние, необходимо по горизонтали распилить кусок материала размером 600 x 600 x 19 мм на полоски толщиной примерно 10 мм и шириной 400 мм. Подающая сила должна быть достаточной, чтобы распилить их с быстрым шагом. Рабочие условия должны быть идентичными для определения как уровня распространения звукового давления, так и уровня акустической мощности.
ДА.5. Измерения
Средства измерения должны соответствовать EN ISO 11204:1995 (раздел 5 или п. 10.2.1).
Продолжительность испытаний без нагрузки должна составлять не менее 15 с. Поскольку распространение шума с нагрузкой имеет тенденцию варьироваться, то испытание необходимо повторить, по крайней мере, 3 раза; при каждом испытании время, которое нужно установить, равняется времени распиливания материала. Результат измерения равен среднеарифметическому значению.
ДА.6. Информация для записи
Информация, которую необходимо зафиксировать, касается всех технических требований к методам испытания на шум. Любые отступления от методов испытания на шум и/или от основных стандартов измерения шумового излучения должны быть зафиксированы вместе с техническим обоснованием таких отступлений.
ДА.7. Информация для отчета
Информация в отчете, необходимая для производителя для подготовки декларации о шуме или для пользователя с целью проверки заявленных значений. Как минимум следующая информация должна быть включена:
- опознавательный знак компании-производителя, тип машины, модель, серийный номер и год выпуска;
- ссылка на основной стандарт замера шумового излучения;
- описание рабочих условий и условий установки во время измерения;
- определение месторасположения микрофона;
- полученные величины шумового излучения;
- подтверждение того, что все требования данного метода испытаний выполнены, в противном же случае все требования, которые не были соблюдены, должны быть указаны.
ДА.8. Декларация и проверка значений выделяемого шума
Декларация значений выделяемого шума
L 
, определенного в условиях наличия и отсутствия нагрузки, и соответствующие коэффициенты отклонения
K должны быть выполнены с обоими значениями в соответствии с EN ISO 4871. Ожидаемые значения отклонений

равны 3дБ для обоих условий работы. Значение выделяемого шума должно быть округлено до ближайшего целого значения.
В декларации о выделяемом шуме должно быть четко изложено, что значения излучения были получены путем измерения в соответствии с техническими условиями методов контроля шума, а также с EN ISO 11204 и EN ISO 3744. Если данное утверждение не является верным, то в декларации о шуме должны быть четко указаны отступления от норм, регулирующих уровень шума и/или от основных стандартов.
Проверка должна быть проведена в соответствии с EN ISO 4871 при помощи того же монтажа, установки и в том же режиме, при котором первоначально проводилось определение величин шумового излучения.
Примечание. В данную декларацию могут быть включены дополнительные значения выделяемого шума.
Примечание. Текст настоящего Приложения совпадает с текстом Приложения A (нормативное) "Система правил анализа шума для ленточных пил. Второй класс точности" EN 12268:2003 и приводится как справочное, т.к. исключено из стандарта, поскольку в стандарте применены правила анализа шума и методы измерения звукового давления, изложенные в соответствующих стандартах ГОСТ 12.1.003-83, ГОСТ 12.1.050-86 и ГОСТ 31277-2002.
(справочное)
УСЛОВИЯ НАСТОЯЩЕГО ЕВРОПЕЙСКОГО СТАНДАРТА, СОДЕРЖАЩИЕ
НЕОБХОДИМЫЕ ТРЕБОВАНИЯ ИЛИ ДРУГИЕ УСЛОВИЯ ДИРЕКТИВ ЕС
Этот документ разработан по поручению, данному CEN Европейской комиссией и Европейской ассоциацией свободной торговли, и поддерживает необходимые требования директив ЕС:
Соответствие с этим документом обеспечивает один из способов подтверждения соответствия со специфическими важнейшими требованиями директив, касающихся и связанных с правилами EFTA.
ПРЕДУПРЕЖДЕНИЕ. Другие требования и другие директивы ЕС могут применяться к продукту (продуктам), входящим в область применения настоящего документа.
Примечание. Текст настоящего Приложения совпадает с текстом Приложения ZA (информативное) "Условия настоящего Европейского стандарта, содержащие необходимые требования или другие условия директив ЕС" EN 12268:2003, и приводится как справочное, т.к. исключено, поскольку оно действует только для государств - членов Европейского союза.
(справочное)
СВЕДЕНИЯ О СООТВЕТСТВИИ МЕЖГОСУДАРСТВЕННЫХ СТАНДАРТОВ
ССЫЛОЧНЫМ МЕЖДУНАРОДНЫМ СТАНДАРТАМ
Таблица ДВ.1
Обозначение и наименование ссылочного международного стандарта | Степень соответствия | Обозначение и наименование ссылочного межгосударственного стандарта |
ISO 3746:1995 Акустика. Определение уровней звуковой мощности источников шума по звуковому давлению. Ориентировочный метод с использованием измерительной поверхности над звукоотражающей плоскостью | IDT | ГОСТ 31277-2002 (ИСО 3746:1995) Шум машин. Определение уровней звуковой мощности источников шума по звуковому давлению. Ориентировочный метод с использованием измерительной поверхности над звукоотражающей плоскостью |
IEC 60204-1:2005 Безопасность машин и механизмов. Электрооборудование промышленных машин. Часть 1. Общие требования | IDT | ГОСТ МЭК 60204-1-2002 Безопасность машин. Электрооборудование машин и механизмов. Часть 1. Общие требования |
IEC 529:89 Степени защиты, обеспечиваемые оболочками. (Код IP) | IDT | ГОСТ 14254-96 (МЭК 529-89) Степени защиты, обеспечиваемые оболочками, (код IP) |
EN 14253:2006 Вибрация. Измерение общей вибрации и оценка ее воздействия на человека. Практическое руководство | MOD | ГОСТ 31319-2006 (ЕН 14253:2003) Вибрация. Измерение общей вибрации и оценка ее воздействия на человека. Требования к проведению измерений на рабочих местах |
Примечание. В настоящей таблице использованы следующие условные обозначения степени соответствия стандартов: |
- IDT - идентичные стандарты; |
- MOD - модифицированные стандарты. |
(рекомендуемое)
СРАВНЕНИЕ СТРУКТУРЫ ЕВРОПЕЙСКОГО РЕГИОНАЛЬНОГО СТАНДАРТА
СО СТРУКТУРОЙ МЕЖГОСУДАРСТВЕННОГО СТАНДАРТА
Таблица ДГ.1
Структура европейского регионального стандарта | Структура межгосударственного стандарта |
Подраздел | Пункт | Подпункт | Подраздел | Пункт | Подпункт |
- | |
- | |
- | - | - | | - | - |
- | - | - | | - | - |
- | - | - | | - | - |
- | - | - | | - | - |
- | - | - | | - | - |
| | | | - | - |
Раздел 4 | |
4.1 | - | - | - | - | - |
- | 4.1.1 | - | | - | - |
4.2 | - | - | | - | - |
4.3 | - | - | | - | - |
4.4 | - | - | | - | - |
4.5 | - | - | | - | - |
4.6 | - | - | | - | - |
Раздел 5 | |
5.1 | - | - | | - | - |
5.2 | - | - | | - | - |
5.3 | - | - | | - | - |
5.4 | - | - | | - | - |
5.5 | - | - | | - | - |
5.6 | - | - | | - | - |
5.7 | - | - | | - | - |
Раздел 6 | |
Раздел 7 | |
7.1 | - | - | | - | - |
- | 7.1.2 | - | - | | - |
7.2 | - | - | |
Раздел 8 | |
- | |
- | |
Приложение | A | Приложение | |
B | |
C | |
ZA | |
- | |
- | |
Примечание. Сравнение структур стандартов приведено начиная с раздела 4, так как предыдущие разделы стандартов и их иные структурные элементы (за исключением предисловия) идентичны. |