Главная // Актуальные документы // ГОСТ Р (Государственный стандарт)СПРАВКА
Источник публикации
М.: Стандартинформ, 2018
Примечание к документу
Документ утратил силу с 01.07.2024 в связи с изданием
Приказа Росстандарта от 28.05.2024 N 670-ст. Взамен введен в действие
ГОСТ Р 56674-2024.
Документ
введен в действие с 1 декабря 2018 года.
Название документа
"ГОСТ Р 56674-2018. Национальный стандарт Российской Федерации. Посуда кухонная с противопригорающим покрытием литая из алюминиевых сплавов. Общие технические условия"
(утв. и введен в действие Приказом Росстандарта от 03.07.2018 N 379-ст)
"ГОСТ Р 56674-2018. Национальный стандарт Российской Федерации. Посуда кухонная с противопригорающим покрытием литая из алюминиевых сплавов. Общие технические условия"
(утв. и введен в действие Приказом Росстандарта от 03.07.2018 N 379-ст)
Утвержден и введен в действие
агентства по техническому
регулированию и метрологии
от 3 июля 2018 г. N 379-ст
НАЦИОНАЛЬНЫЙ СТАНДАРТ РОССИЙСКОЙ ФЕДЕРАЦИИ
ПОСУДА КУХОННАЯ С ПРОТИВОПРИГОРАЮЩИМ ПОКРЫТИЕМ
ЛИТАЯ ИЗ АЛЮМИНИЕВЫХ СПЛАВОВ
ОБЩИЕ ТЕХНИЧЕСКИЕ УСЛОВИЯ
Casting cookware of aluminum alloys
with non-stick coating. General specifications
ГОСТ Р 56674-2018
Дата введения
1 декабря 2018 года
1 РАЗРАБОТАН Акционерным обществом "Нева металл посуда"
2 ВНЕСЕН Техническим комитетом по стандартизации ТК 147 "Посуда металлическая с покрытиями и без покрытий"
3 УТВЕРЖДЕН И ВВЕДЕН В ДЕЙСТВИЕ
Приказом Федерального агентства по техническому регулированию и метрологии от 3 июля 2018 г. N 379-ст
Правила применения настоящего стандарта установлены в
статье 26 Федерального закона от 29 июня 2015 г. N 162-ФЗ "О стандартизации в Российской Федерации". Информация об изменениях к настоящему стандарту публикуется в ежегодном (по состоянию на 1 января текущего года) информационном указателе "Национальные стандарты", а официальный текст изменений и поправок - в ежемесячном информационном указателе "Национальные стандарты". В случае пересмотра (замены) или отмены настоящего стандарта соответствующее уведомление будет опубликовано в ближайшем выпуске ежемесячного информационного указателя "Национальные стандарты". Соответствующая информация, уведомление и тексты размещаются также в информационной системе общего пользования - на официальном сайте Федерального агентства по техническому регулированию и метрологии в сети Интернет (www.gost.ru)
Настоящий стандарт распространяется на бытовую литую из алюминиевых сплавов кухонную посуду с противопригорающим покрытием (далее - кухонная посуда), предназначенную для приготовления продуктов питания, и устанавливает технические требования к ней.
Обязательные требования к посуде, направленные на обеспечение ее безопасности для жизни и здоровья населения, изложены в
5.2,
5.3.1,
5.3.5,
5.6.5,
5.6.7 (в части прочности крепления ручек),
5.6.9, 6.4.1 (
таблица 13, в части прочности крепления ручек и выделения вредных для здоровья веществ),
7.1.7,
7.1.8,
7.4.
В настоящем стандарте использованы нормативные ссылки на следующие стандарты:
ГОСТ 9.031 Единая система защиты от коррозии и старения (ЕСЗКС). Покрытия анодно-окисные полуфабрикатов из алюминия и его сплавов. Общие требования и методы контроля
ГОСТ 9.032 Единая система защиты от коррозии и старения. Покрытия лакокрасочные. Группы, технические требования и обозначения
ГОСТ 9.301 Единая система защиты от коррозии и старения (ЕСЗКС). Покрытия металлические и неметаллические неорганические. Общие требования
ГОСТ 9.302 Единая система защиты от коррозии и старения. Покрытия металлические и неметаллические неорганические. Методы контроля
ГОСТ 166 Штангенциркули. Технические условия
ГОСТ 427 Линейки измерительные металлические. Технические условия
ГОСТ 1583 Сплавы алюминиевые литейные. Технические условия
ГОСТ 1770 (ИСО 1042-83, ИСО 4788-88) Посуда мерная лабораторная стеклянная. Цилиндры, мензурки, колбы, пробирки. Общие технические условия
ГОСТ 2695 Пиломатериалы лиственных пород. Технические условия
ГОСТ 2789 Шероховатость поверхности. Параметры и характеристики
ГОСТ 2991 Ящики дощатые неразборные для грузов массой до 500 кг. Общие технические условия
ГОСТ 4765 Материалы лакокрасочные. Метод определения прочности при ударе
ГОСТ 4976 Лаки марок НЦ-218, НЦ-222, НЦ-243 мебельные и НЦ-223. Технические условия
ГОСТ 5233 Материалы лакокрасочные. Метод определения твердости по маятниковому прибору
ГОСТ 5470 Лаки марок ПФ-283 и ГФ-166. Технические условия
ГОСТ 5556 Вата медицинская гигроскопическая. Технические условия
ГОСТ 5959 Ящики из листовых древесных материалов неразборные для грузов массой до 200 кг. Общие технические условия
ГОСТ 6709 Вода дистиллированная. Технические условия
ГОСТ 7933 Картон для потребительской тары. Общие технические условия
ГОСТ 8273 Бумага оберточная. Технические условия
ГОСТ 9078 Поддоны плоские. Общие технические условия
ГОСТ 9142 Ящики из гофрированного картона. Общие технические условия
ГОСТ 9347 Картон прокладочный и уплотнительные прокладки из него. Технические условия
ГОСТ 9359 Массы прессовочные карбамидо- и меламиноформальдегидные. Технические условия
ГОСТ 9396 Ящики деревянные многооборотные. Общие технические условия
| | ИС МЕГАНОРМ: примечание. ГОСТ 9421-80 утратил силу с 1 июля 2014 года в части картона для изготовления тары для пищевой продукции в связи с введением в действие ГОСТ 32096-2013 (Приказ Росстандарта от 01.08.2013 N 471-ст). | |
ГОСТ 9421 Картон тарный плоский склеенный. Технические условия
ГОСТ 9557 Поддон плоский деревянный размером 800 x 1200 мм. Технические условия
ГОСТ 10299 Заклепки с полукруглой головкой классов точности B и C. Технические условия
ГОСТ 10300 Заклепки с потайной головкой классов точности B и C. Технические условия
ГОСТ 10301 Заклепки с полупотайной головкой классов точности B и C. Технические условия
ГОСТ 10302 Заклепки с полукруглой низкой головкой классов точности B и C. Технические условия
ГОСТ 10905 Плиты поверочные и разметочные. Технические условия
ГОСТ 12082 Обрешетки дощатые для грузов массой до 500 кг. Общие технические условия
ГОСТ 12301 Коробки из картона, бумаги и комбинированных материалов. Общие технические условия
ГОСТ 14806 Дуговая сварка алюминия и алюминиевых сплавов в инертных газах. Соединения сварные. Основные типы, конструктивные элементы и размеры
ГОСТ 14919 Электроплиты, электроплитки и жарочные электрошкафы бытовые. Общие технические условия
ГОСТ 15140 Материалы лакокрасочные. Методы определения адгезии
ГОСТ 15150 Машины, приборы и другие технические изделия. Исполнения для различных климатических районов. Категории, условия эксплуатации, хранения и транспортирования в части воздействия климатических факторов внешней среды
ГОСТ 21631 Листы из алюминия и алюминиевых сплавов. Технические условия
ГОСТ 21650 Средства скрепления тарно-штучных грузов в транспортных пакетах. Общие требования
ГОСТ 24788 Посуда хозяйственная стальная эмалированная. Общие технические условия
ГОСТ 25336 Посуда и оборудование лабораторные стеклянные. Типы, основные параметры и размеры
ГОСТ 25951 Пленка полиэтиленовая термоусадочная. Технические условия
ГОСТ 26381 Поддоны плоские одноразового использования. Общие технические условия
ГОСТ 26663 Пакеты транспортные. Формирование с применением средств пакетирования. Общие технические требования
ГОСТ 28804 Материалы фенольные формовочные. Общие технические условия
ГОСТ 29298 Ткани хлопчатобумажные и смешанные бытовые. Общие технические условия
ГОСТ 31149 (ISO 2409:2013) Материалы лакокрасочные. Определение адгезии методом решетчатого надреза
ГОСТ 33781 Упаковка потребительская из картона, бумаги и комбинированных материалов. Общие технические условия
ГОСТ Р 9.905 (ИСО 7384:2001, ИСО 11845:1995) Единая система защиты от коррозии и старения. Методы коррозионных испытаний. Общие требования
ГОСТ Р 52901 Картон гофрированный для упаковки продукции. Технические условия
ГОСТ Р 53228 Весы неавтоматического действия. Часть 1. Метрологические и технические требования. Испытания
ГОСТ Р 54586 (ИСО 15184:1998) Материалы лакокрасочные. Метод определения твердости покрытия по карандашу
Примечание - При пользовании настоящим стандартом целесообразно проверить действие ссылочных стандартов в информационной системе общего пользования - на официальном сайте Федерального агентства по техническому регулированию и метрологии в сети Интернет или по ежегодному информационному указателю "Национальные стандарты", который опубликован по состоянию на 1 января текущего года, и по выпускам ежемесячного информационного указателя "Национальные стандарты" за текущий год. Если заменен ссылочный стандарт, на который дана недатированная ссылка, то рекомендуется использовать действующую версию этого стандарта с учетом всех внесенных в данную версию изменений. Если заменен ссылочный стандарт, на который дана датированная ссылка, то рекомендуется использовать версию этого стандарта с указанным выше годом утверждения (принятия). Если после утверждения настоящего стандарта в ссылочный стандарт, на который дана датированная ссылка, внесено изменение, затрагивающее положение, на которое дана ссылка, то это положение рекомендуется применять без учета данного изменения. Если ссылочный стандарт отменен без замены, то положение, в котором дана ссылка на него, рекомендуется принять в части, не затрагивающей эту ссылку.
В настоящем стандарте применены следующие термины с соответствующими определениями:
3.1 кухонная посуда: Посуда в форме емкости, предназначенная для приготовления продуктов питания на плите, варочной поверхности или в духовке; может иметь крышку.
3.2 кастрюля: Предмет кухонной посуды, предназначенный для приготовления продуктов питания методом варки или тушения.
Примечание - Кастрюля должна иметь две ручки.
3.3 сковорода: Предмет кухонной посуды, предназначенный для приготовления продуктов питания методом жарки.
3.4 сотейник: Предмет кухонной посуды, совмещающий в себе функции кастрюли и сковороды, имеющий высокие стенки и предназначенный для варки, тушения, пассерования, приготовления кулинарных кремов и соусов.
3.5 ковш: Предмет кухонной посуды, совмещающий в себе функции кастрюли и сотейника, с высокими стенками, одной ручкой, который чаще всего используют для подогрева жидкостей.
3.6 ручки к посуде: Часть кухонной посуды, предназначенная для того, чтобы облегчить перенос или держание изделия при обычном использовании.
3.7 крепежные детали ручек: Детали для крепления ручек к посуде.
3.8 съемная ручка: Ручка к посуде, которую можно удалить или прикрепить к корпусу кухонной посуды без применения инструмента.
3.9 ручка крышки: Часть кухонной посуды, цельнолитая или прикрепленная к крышке, которая служит для облегчения закрытия корпуса кухонной посуды крышкой или снятия крышки при обычном использовании.
3.10 противопригорающее (антипригарное) покрытие: Покрытие на основе полимеров, обладающих противопригорающими (антипригарными) свойствами, нанесенное на внутреннюю поверхность кухонной посуды для создания противопригорающего (антипригарного) эффекта во время приготовления продуктов питания.
Примечание - Противопригорающее (антипригарное) покрытие облегчает уход за поверхностью кухонной посуды.
3.11 диаметр дна: Измеренный по наружной стороне дна диаметр максимальной окружности контактной поверхности, образующейся при соприкосновении с плоской поверхностью.
3.12 плоские изделия: Кухонная посуда глубиной 1/3 диаметра изделия или менее.
3.13 абразивная износоустойчивость противопригорающего (антипригарного) покрытия: Устойчивость противопригорающего (антипригарного) покрытия к воздействию абразивного материала с применением раствора бытового моющего средства для посуды.
3.14 термостойкость противопригорающего (антипригарного) покрытия: Устойчивость противопригорающего (антипригарного) покрытия к воздействию растительного масла, нагретого до высокой температуры, в течение длительного времени.
3.15 ударопрочность противопригорающего (антипригарного) покрытия: Устойчивость противопригорающего (антипригарного) покрытия к ударам падающего груза определенной массы с заданной силой.
3.16 теплостойкость пластмассовых ручек: Устойчивость ручек к посуде из аминопластов и пластмасс, а также пластмассовых деталей ручек к воздействию температуры.
4 Типы, основные параметры и размеры
4.1 Кухонную посуду подразделяют на типы:
а) кастрюли;
б) сковороды:
1) круглые,
2) прямоугольные,
3) квадратные;
в) сотейники;
г) утятницы, гусятницы;
д) ковши;
е) казаны;
ж) противни;
и) формы для выпечки.
Допускаются изделия типов "Кастрюли", "Сотейники", "Утятницы", "Гусятницы" под наименованием "Жаровня".
Допускаются плоские изделия типа "Сковороды", специально предназначенные для приготовления определенных кулинарных изделий, под наименованием "Сковорода для блинов" или "Блинница", "Сковорода для пиццы".
Допускаются изделия типа "Сковороды", имеющие не гладкое, а ребристое дно, под наименованием "Сковорода-гриль".
Сковороды могут изготовляться с перегородками и углублениями на дне (для пончиков, оладьев, глазуньи и др.).
Высоту сковороды H определяют с учетом углублений.
4.2 Конструкция кухонной посуды настоящим стандартом не регламентируется.
4.3 Для кухонной посуды устанавливают следующий ряд внутренних размеров (диаметр, длина, ширина): 80, 100, 120, 140, 160, 180, 200, 220, 240, 260, 280, 300, 320, 340, 360, 380, 400, 450, 500, 550, 600, 650, 700, 750, 800, 850 мм.
Допускается изготовление посуды с промежуточными значениями внутренних размеров.
4.4 Для кухонной посуды устанавливают ряд вместимостей в литрах: 0,25; 0,30; 0,35; 0,40; 0,5; 0,6; 0,75; 0,8; 1,0; 1,2; 1,5; 1,7; 1,8; 2,0; 2,5; 3,0; 3,5; 4,0; 4,5; 5,0; 6,0; 6,5; 7,0; 8,0; 10,0; 11,0; 12,0; 13,0; 15,0; 20,0; 30,0; 40,0; 50,0.
Вместимость посуды указана при номинальных размерах корпуса.
Допускается изменение вместимости в пределах отклонений на линейные размеры, указанных в
4.9.
Допускается изготавливать посуду с промежуточными значениями вместимостей.
4.5 Кухонная посуда должна удовлетворять следующим требованиям:
- толщина дна корпусов после механической обработки должна быть не менее 2,5 мм;
- толщина крышки после механической обработки должна быть не менее 1,5 мм;
- допускается специальная рельефная подготовка внутренней и наружной поверхностей абразивными и/или окрасочными материалами с произвольным направлением неровностей (выступов и впадин) для придания поверхности после нанесения покрытия различных визуальных эффектов.
4.6 Ручки могут быть цельнолитыми, несъемными (жесткофиксированными) или съемными.
4.7 Условное обозначение посуды должно включать следующие элементы:
- тип посуды (кастрюля, сковорода и т.п.);
- размер или вместимость посуды;
- номер таблицы;
- вид покрытия внутренней и наружной поверхностей:
1) Пр - противопригорающее (антипригарное);
- вид покрытия наружной поверхности:
1) Д - декоративное (эмалевое силикатное, кремнийорганическое, фторполимерное, лакокрасочное и другие покрытия)
или
- наличие механической обработки наружной поверхности:
1) М - механически обработанная поверхность (полированная, крацованная, шлифованная, галтованная, вибронакатанная и другая механическая обработка наружной поверхности);
- конструкция дна:
1) без обозначения - обычное,
2) У - утолщенное;
- конструкция ручки:
1) без обозначения - несъемная ручка,
2) с/р - съемная ручка;
- обозначение стандарта.
4.8 Условное обозначение проставляют по следующей схеме:
Тип посуды (кастрюля, сковорода и т.д.) | X | - | X | X | X | У | с/р | ГОСТ Р 56674 |
Размер (мм) или вместимость (л) | |
Тире | |
Номер таблицы | |
Вид покрытия внутренней и наружной поверхности | |
Вид покрытия наружной поверхности или наличие механической обработки наружной поверхности | |
Конструкция дна | |
Конструкция ручки | |
Обозначение стандарта | |
4.9 Типы, основные параметры, размеры и вместимость кухонной посуды должны соответствовать указанным на
рисунках 1 -
10 и в
таблицах 1 -
10.
Кухонная посуда может быть других типов, форм, размеров и другой вместимости.
Отклонения по размерам регламентируются конструкторской документацией на изделия.
Допускаются отклонения на следующие линейные размеры: по диаметру
D +/- 2 мм, по высоте

, по длине

и ширине

.
Таблица 1
Основные параметры кастрюли
Вместимость, л | Толщина, мм |
дна S | стенки S1 |
0,5 - 2,5 | 2,5 - 4,0 | 2,0 - 4,0 |
3,0 - 6,0 | 2,5 - 5,0 | 2,0 - 5,0 |
Примечания 1 Допускаются кастрюли с утолщенным дном 6 - 7 мм. 2 Кастрюли должны иметь крышки. 3 Кастрюли должны иметь две ручки. |
Пример условного обозначения кастрюли вместимостью 5 л, с внутренним противопригорающим (антипригарным) покрытием, наружным декоративным покрытием, с утолщенным дном:
Кастрюля 5 л - 1ПрДУ ГОСТ Р 56674
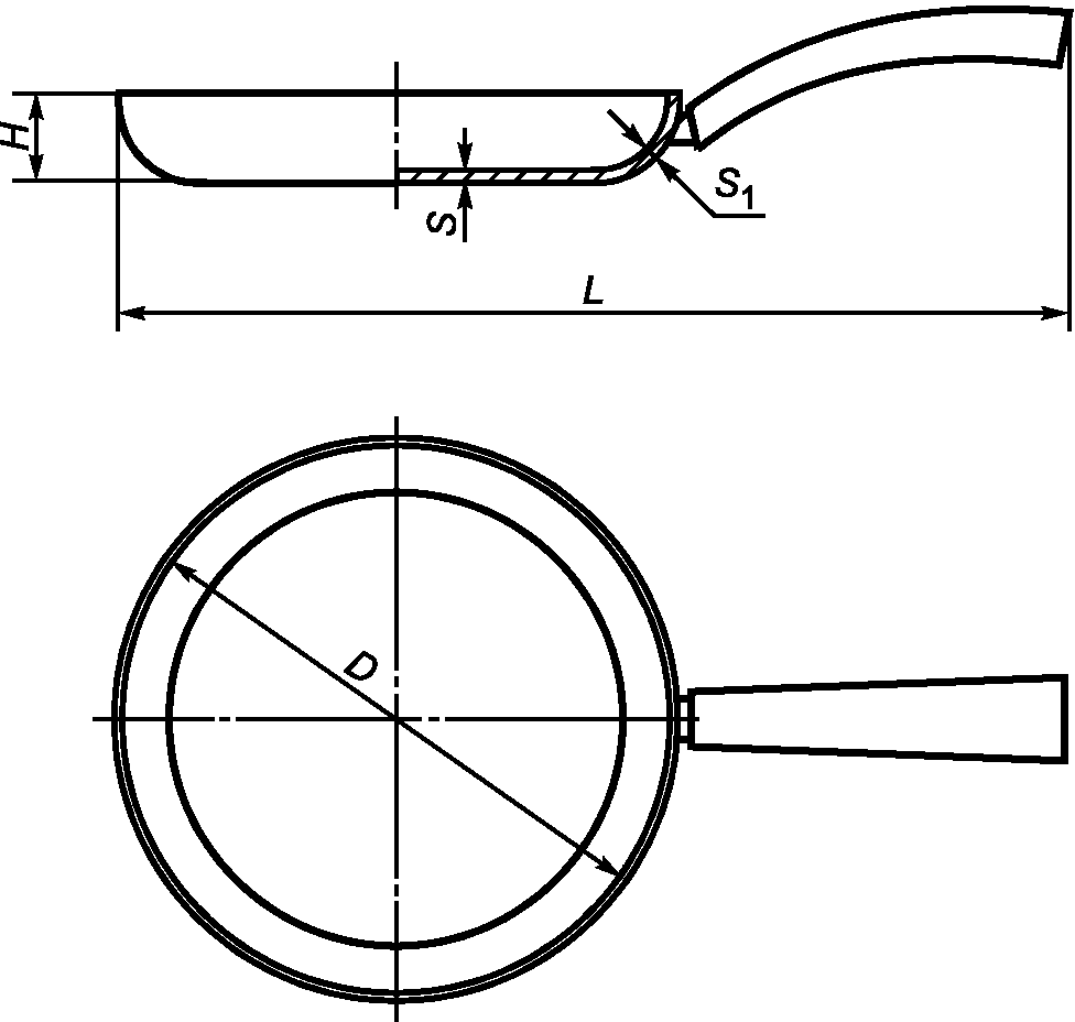
Рисунок 2 - Круглая сковорода с одной ручкой
Таблица 2
Основные параметры круглой сковороды с одной ручкой
В миллиметрах
Диаметр D | Высота H | Длина L | Толщина |
дна S | стенки S1 |
160 - 380 | 10 - 75 | 300 - 620 | 2,5 - 5,0 | 2,0 - 5,0 |
Примечания 1 Допускаются круглые сковороды с утолщенным дном 6 - 7 мм. 2 Круглые сковороды могут быть без ручек, с одной ручкой или с двумя ручками. 3 Круглые сковороды могут быть с крышками. |
Пример условного обозначения сковороды круглой диаметром 260 мм, с внутренним противопригорающим (антипригарным) покрытием, с наружным декоративным покрытием, с утолщенным дном:
Сковорода 260 мм - 2ПрДУ ГОСТ Р 56674
Рисунок 3 - Прямоугольная сковорода с одной ручкой
Таблица 3
Основные параметры прямоугольной сковороды с одной ручкой
В миллиметрах
Сторона A | Сторона B | Высота H | Длина L | Толщина |
дна S | стенки S1 |
260 - 300 | 220 - 260 | 40 - 60 | 410 - 450 | 2,5 - 5,0 | 2,0 - 5,0 |
Примечания 1 Допускаются прямоугольные сковороды с утолщенным дном 6 - 7 мм. 2 Прямоугольные сковороды могут быть без ручек, с одной ручкой или с двумя ручками. 3 Прямоугольные сковороды могут быть с крышками. |
Пример условного обозначения сковороды прямоугольной размером 240 x 280 мм, с внутренним и наружным противопригорающим (антипригарным) покрытием:
Сковорода прямоугольная 240 x 280 мм - 3Пр ГОСТ Р 56674
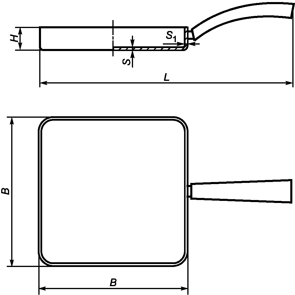
Рисунок 4 - Квадратная сковорода с одной ручкой
Таблица 4
Основные параметры квадратной сковороды с одной ручкой
В миллиметрах
Сторона B | Высота H | Длина L | Толщина |
дна S | стенки S1 |
220 - 280 | 40 - 60 | 410 - 470 | 2,0 - 5,0 | 2,0 - 5,0 |
Примечания 1 Допускаются квадратные сковороды с утолщенным дном 6 - 7 мм. 2 Квадратные сковороды могут быть без ручек, с одной ручкой или с двумя ручками. 3 Квадратные сковороды могут быть с крышками. |
Пример условного обозначения сковороды квадратной размером 260 x 260 мм, с внутренним и наружным противопригорающим (антипригарным) покрытием:
Сковорода квадратная 260 x 260 мм - 4Пр ГОСТ Р 56674
Рисунок 5 - Сотейник с одной ручкой
Таблица 5
Основные параметры сотейника с одной ручкой
В миллиметрах
Диаметр D | Высота H | Длина L | Толщина |
дна S | стенки S1 |
180 - 380 | 50 - 100 | 350 - 620 | 2,0 - 5,0 | 2,0 - 5,0 |
Примечания 1 Допускаются сотейники с утолщенным дном 6 - 7 мм. 2 Сотейники могут быть без ручек, с одной ручкой или с двумя ручками. 3 Сотейники могут быть с крышками. |
Пример условного обозначения сотейника диаметром 280 мм с внутренним и наружным противопригорающим (антипригарным) покрытием:
Сотейник 280 мм - 5Пр ГОСТ Р 56674
Рисунок 6 - Утятница и гусятница
Таблица 6
Основные параметры утятницы и гусятницы
Вместимость, л | Толщина, мм |
дна S | стенки S1 |
1,5 - 6,0 | 3,0 - 5,0 | 2,0 - 5,0 |
Примечания 1 Допускаются утятницы и гусятницы с утолщенным дном 6 - 7 мм. 2 Утятницы и гусятницы должны иметь крышки. 3 Утятницы и гусятницы должны иметь две ручки. |
Пример условного обозначения гусятницы вместимостью 3 л, с внутренним и наружным противопригорающим (антипригарным) покрытием:
Гусятница 3 л - 6Пр ГОСТ Р 56674
Рисунок 7 - Ковш
Таблица 7
Основные параметры ковша
В миллиметрах
Диаметр D | Высота H | Длина L | Толщина |
дна S | стенки S1 |
160 - 240 | 100 - 150 | 350 - 370 | 2,5 - 5,0 | 2,0 - 5,0 |
Примечания 1 Ковши могут быть с крышками. 2 Ковши должны быть с одной ручкой. |
Пример условного обозначения ковша диаметром 200 мм, с внутренним и наружным противопригорающим (антипригарным) покрытием, со съемной ручкой:
Ковш 200 мм - 7Пр с/р ГОСТ Р 56674
Рисунок 8 - Казан
Таблица 8
Основные параметры и вместимость казана
Вместимость, л | Толщина, мм |
дна S | стенки S1 | крышки S2 |
3,0 - 5,0 | 3,0 - 5,0 | 2,0 - 4,0 | 1,5 - 4,0 |
6,0 - 10,0 | 4,0 - 6,0 | 3,0 - 5,0 |
Более 10,0 | 5,0 - 7,0 | 4,0 - 6,0 |
Примечания 1 Казаны должны иметь крышки с одной или двумя ручками. 2 Казаны должны иметь две ручки. |
Пример условного обозначения казана вместимостью 7 л, с внутренним и наружным противопригорающим (антипригарным) покрытием:
Казан 7 л - 8Пр ГОСТ Р 56674
Рисунок 9 - Противень
Таблица 9
Основные параметры противня
В миллиметрах
Сторона B | Сторона L | Высота H | Толщина дна S |
160 - 460 | 240 - 630 | 30 - 70 | 2,5 - 5,0 |
Пример условного обозначения противня размером 190 x 310 мм, с внутренним противопригорающим (антипригарным) покрытием и наружной механически обработанной поверхностью:
Противень 190 x 310 мм - 9ПрМ ГОСТ Р 56674
Рисунок 10 - Форма для выпечки
Таблица 10
Основные параметры формы для выпечки
В миллиметрах
Диаметр D | Высота H | Толщина дна S |
80 - 280 | 30 - 100 | 2,5 - 5,0 |
Примечание - Форма для выпечки может быть: 1 гладкая; 2 фасонная; 3 гофрированная. |
Пример условного обозначения формы для выпечки фасонной диаметром 200 мм, с внутренним противопригорающим (антипригарным) и наружным декоративным покрытиями:
Форма для выпечки фасонная 200 мм - 10ПрД ГОСТ Р 56674
5 Общие технические требования
5.1 Все материалы, применяемые для изготовления кухонной посуды, контактирующие с пищевыми продуктами, должны соответствовать требованиям действующих санитарных норм и правил, гигиеническим нормативам, не изменять органолептические свойства пищевых продуктов, контактирующих с посудой, не выделять в них вредные вещества в количествах, превышающих гигиенические нормативы.
Химические вещества, используемые для обработки внутренней поверхности кухонной посуды, не должны привносить в посуду высокотоксичные вещества и ухудшать свойства материалов, из которых она изготовлена, в части изменения органолептических свойств пищевых продуктов, контактирующих с посудой, и выделения в них вредных веществ в количествах, превышающих гигиенические нормативы.
5.2 Кухонная посуда не должна выделять в контактирующие с ней модельные растворы, имитирующие пищевые продукты, вредные вещества в количествах, превышающих: свинец - 0,03 мг/дм
3, мышьяк - 0,05 мг/дм
3, медь - 1,0 мг/дм
3, цинк - 1,0 мг/дм
3, фтор-ион (суммарно) - 0,5 мг/дм
3.
5.3 Требования к корпусам и крышкам
5.3.1 Корпуса и крышки кухонной посуды должны быть из литейных алюминиевых сплавов марок АК5М2, АК7, АК9, АК12 с химическим составом по
ГОСТ 1583.
Допускается изготовлять кухонную посуду из других литейных алюминиевых сплавов, разрешенных государственными органами и учреждениями санитарно-эпидемиологического надзора для контакта с пищевыми продуктами.
5.3.2 На поверхности кухонной посуды не допускаются пригар, ужимы, складчатость, вскипы, плены, трещины, неслитины, недоливы, коробления, остатки литника, газовая пористость.
5.3.3 На внутренней поверхности дна и радиусном переходе корпуса кухонной посуды не допускаются любые дефекты.
5.3.4 На поверхности кухонной посуды допускаются:
- штрихи, риски глубиной не более 0,2 мм, длиной не более 3 мм в количестве не более 2 шт.;
- на внутренней боковой поверхности корпуса - раковины глубиной до 0,2 мм и диаметром до 1,0 мм не более 3 шт.;
- на наружной поверхности корпуса - раковины глубиной до 0,2 мм и диаметром до 1,0 мм не более 3 шт. и мелкие дефекты в виде выступов высотой до 0,2 мм и наибольшим размером до 1 мм не более 2 шт.;
- на внутренней поверхности крышки - раковины глубиной до 0,2 мм и диаметром до 1,0 мм не более 3 шт. и мелкие дефекты в виде выступов высотой до 0,2 мм и наибольшим размером до 1 мм не более 2 шт.;
- на наружной поверхности крышки - раковины глубиной до 0,2 мм и диаметром до 1,0 мм в количестве не более 3 шт. и мелкие дефекты в виде выступов высотой до 0,2 мм и наибольшим размером до 1 мм не более 2 шт.
5.3.5 Корпуса и крышки кухонной посуды должны быть без заусенцев и острых кромок.
5.3.6 Кухонная посуда, предназначенная для использования на индукционных плитах, должна иметь на дне теплораспределительный слой, обладающий ферромагнитными свойствами.
Теплораспределительный слой должен быть прочно и надежно соединен с дном без зазоров.
5.3.7 Форма дна кухонной посуды (за исключением посуды со сферической поверхностью дна) должна быть плоской и обеспечивать устойчивость изделия на горизонтальной поверхности.
Для изделий, подвергающихся нагреву на плите, допускается вогнутость дна, не превышающая 0,5% наружного диаметра плоской части дна, а для остальных изделий - 1%, если вогнутость не предусмотрена конструкцией.
Выпуклость дна не допускается.
5.3.8 Кухонная посуда должна быть водонепроницаемой. При наполнении водой посуда не должна давать течи.
5.3.9 Крышки кухонной посуды должны свободно входить и легко поворачиваться (для изделий круглой формы) в корпусе.
Зазор между фиксирующим бортом вкладной крышки и корпусом не должен превышать 1% внутреннего диаметра корпуса. Зазор между опорной плоскостью накладной крышки и кромкой борта не должен превышать 1,0 мм.
5.3.10 Крышки кухонной посуды могут иметь отверстия для выхода пара.
5.3.11 Допускается комплектовать кухонную посуду крышками из термостойкого стекла.
5.4 Требования к противопригорающим покрытиям
5.4.1 Противопригорающие (антипригарные) покрытия должны быть на основе полимеров, обладающих противопригорающими (антипригарными) свойствами и способных длительно сохранять комплекс эксплуатационных свойств.
Противопригорающие (антипригарные) покрытия должны быть нанесены на внутреннюю поверхность посуды.
Противопригорающие (антипригарные) покрытия должны быть нанесены равномерно по всей поверхности посуды, без пропусков, наплывов и подтеков.
Противопригорающие (антипригарные) покрытия могут быть различной цветовой гаммы.
5.4.2 На каждом изделии допускаются незначительные отклонения противопригорающего (антипригарного) покрытия в соответствии с
таблицей 11.
Примечание - Под незначительными отклонениями противопригорающего (антипригарного) покрытия понимают отклонения, размеры и количество которых не оказывают существенного влияния на товарный вид изделий и не препятствуют использованию посуды по назначению.
Таблица 11
Допустимые отклонения на противопригорающем
(антипригарном) покрытии посуды
Наименование отклонения | Норма |
Включения | Допускаются незначительные |
Разнооттеночность | Допускается |
5.4.3 Противопригорающие (антипригарные) покрытия на кухонной посуде должны иметь:
- толщину не менее 20 мкм на корпусах, не менее 10 мкм на крышках;
- сплошность;
- прочность сцепления с металлом (адгезия к металлу);
- термостойкость;
- противопригорающие (антипригарные) свойства (неприлипаемость пищевых продуктов);
- абразивную износоустойчивость;
- эксплуатационные свойства;
- коррозионную стойкость;
- стойкость к открытому пламени огня (при нанесении покрытия на части посуды, контактирующие с открытым огнем).
5.4.4 Поверхность посуды с противопригорающими (антипригарными) покрытиями должна быть однородной, сплошной, без трещин и пузырей.
5.4.5 Прочность сцепления противопригорающих (антипригарных) покрытий с металлом (адгезия к металлу) должна соответствовать 1 баллу по методу решетчатых надрезов в соответствии с
таблицей 12.
На всех контролируемых участках поверхности с противопригорающим (антипригарным) покрытием не должно быть отрыва покрытия ни в одном квадрате решетки.
Таблица 12
Прочность сцепления противопригорающих (антипригарных)
покрытий с металлом (адгезия к металлу)
Балл | Описание поверхности | Внешний вид |
1 | Нет отрыва покрытия ни в одном квадрате решетки | |
2 | Имеются отрывы покрытия не более чем в двух квадратах решетки | |
3 | Имеются отрывы покрытия более чем в двух квадратах решетки | |
5.4.6 Противопригорающие (антипригарные) покрытия могут быть с обычной и повышенной абразивной износоустойчивостью.
Абразивная износоустойчивость обычных противопригорающих (антипригарных) покрытий должна быть не менее 1500 циклов.
Противопригорающие (антипригарные) покрытия с повышенной абразивной износоустойчивостью должны выдерживать не менее 3000 циклов.
5.4.7 Противопригорающие (антипригарные) покрытия должны быть термостойкими.
5.4.8 Противопригорающие (антипригарные) покрытия на основе кремнийорганических полимеров должны быть ударопрочными. После испытания на ударопрочность (прочность при ударе) на покрытии не должно быть сколов, отслаиваний и растрескиваний.
5.5 Требования к обработке и покрытиям наружной поверхности
5.5.1 Наружная поверхность посуды может быть механически обработанной (полированной, шлифованной, крацованной, галтованной, вибронакатанной).
Шероховатость механически обработанной наружной поверхности кухонной посуды должна быть не более:
Ra 0,32 мкм - для полированной,
Ra 0,63 мкм - для шлифованной,
Rz 80 мкм - для крацованной,
Rz 160 мкм - для галтованной по
ГОСТ 2789.
5.5.2 Поверхность посуды после механической обработки не должна иметь вмятин, острых кромок, местной волнистости, посторонних включений, пятен, штрихов, рисок, заусенцев, забоин, раковин, отслоений, царапин, потертостей, темных и белесых налетов, следов обрабатывающих материалов.
На полированной, шлифованной, крацованной, галтованной и вибронакатанной поверхности кухонной посуды допускаются незначительные, не влияющие на товарный вид следы обработки, размеры и количество которых не оказывают существенного влияния на товарный вид изделий и не препятствуют использованию посуды по назначению.
5.5.3 Наружная поверхность посуды может иметь декоративное покрытие (эмалевое силикатное, кремнийорганическое, фторполимерное, лакокрасочное и другие покрытия).
Декоративное покрытие на посуде должно иметь:
- толщину не менее 20 мкм на корпусах и не менее 10 мкм на крышках;
- прочность сцепления с металлом (адгезия к металлу);
- термостойкость;
- стойкость к открытому пламени огня (при нанесении покрытия на части посуды, контактирующие с открытым огнем).
Дополнительно декоративное покрытие на посуде должно иметь:
1) на основе лакокрасочных материалов:
- твердость не менее 0,5 условных единиц по
ГОСТ 5233, твердость по карандашу не менее HB по
ГОСТ Р 54586 (ИСО 15184:1998);
- ударопрочность (прочность при ударе) не менее 4,0 Дж (40,0 кгс·см);
2) на основе эмалево-силикатных и кремнийорганических материалов:
- ударопрочность (прочность при ударе) не менее 0,2 Дж (2,0 кгс·см).
5.5.4 Декоративное покрытие кухонной посуды должно быть равномерно нанесено по всей поверхности, без пропусков, наплывов, подтеков, видимых трещин и пузырей.
Допускается сочетать разные виды покрытий и обработки наружных поверхностей корпусов и крышек посуды.
На декоративном покрытии допускаются отклонения в виде включений незначительного размера, количество которых не оказывает существенного влияния на товарный вид изделий и не препятствует использованию посуды по назначению.
5.5.5 Наружная поверхность кухонной посуды может быть полностью или частично, кроме дна, покрыта противопригорающим (антипригарным) покрытием.
Требования к противопригорающим (антипригарным) покрытиям, нанесенным на наружную поверхность посуды, - в соответствии с
5.5.3 -
5.5.4, методы контроля - в соответствии с
7.3.
5.5.6 Декоративные и противопригорающие (антипригарные) покрытия, нанесенные на всю наружную поверхность, должны быть стойкими к прямому контакту с пламенем огня для посуды, предназначенной для использования на плите, варочной поверхности или в духовке с прямым контактом наружной поверхности посуды с пламенем огня.
Декоративные и противопригорающие (антипригарные) покрытия, нестойкие к прямому контакту с пламенем огня, допускается использовать на всей наружной поверхности для посуды, предназначенной для приготовления продуктов питания на плите, варочной поверхности или в духовке без прямого контакта с пламенем огня.
Декоративные и противопригорающие (антипригарные) покрытия, нестойкие к прямому контакту с пламенем огня, могут быть частично, кроме дна, нанесены на наружную поверхность для посуды, предназначенной для приготовления продуктов питания на плите, варочной поверхности или в духовке с прямым контактом наружной поверхности посуды с пламенем огня.
Информация об ограничениях использования посуды с наружной поверхностью, полностью покрытой нестойким к действию открытого пламени декоративным и противопригорающим (антипригарным) покрытием, на плите, варочной поверхности или в духовке с прямым контактом наружной поверхности с пламенем огня, должна быть доведена до потребителя.
На наружной поверхности дна в технологических углублениях и на выступах при декорировании должны быть только стойкие к прямому контакту с пламенем огня покрытия для посуды, предназначенной для использования на плите, варочной поверхности или в духовке с прямым контактом наружной поверхности посуды с пламенем огня.
Допускаются на наружной поверхности дна в технологических углублениях и на выступах при декорировании нестойкие к прямому контакту с пламенем огня покрытия для посуды, предназначенной для использования на плите, варочной поверхности или в духовке без прямого контакта наружной поверхности посуды с пламенем огня.
5.6 Требования к ручкам
5.6.1 Ручки к посуде, а также крепежные детали ручек являются частью кухонной посуды.
Детали крепежа, имеющие контакт с пищевыми продуктами, должны изготовляться из материалов, применяемых для изготовления посуды.
5.6.2 Ручки, ушки, дужки и другие детали арматуры должны изготовляться из литейных алюминиевых сплавов по
ГОСТ 1583, из пиломатериалов твердых лиственных пород по
ГОСТ 2695 или из аминопласта класса Б по
ГОСТ 9359.
Допускаются ручки и крепежные детали ручек из нержавеющих сталей, сталей с защитно-декоративными покрытиями или из листов алюминия и алюминиевых сплавов по
ГОСТ 21631, из пиломатериалов твердых лиственных пород по
ГОСТ 2695, из карбамидо- и меламиноформальдегидных прессовочных масс (аминопластов) по
ГОСТ 9359, из пластических масс (пластмасс) на основе фенолоальдегидных смол (фенопласт по
ГОСТ 28804), керамики и других материалов, не ухудшающих эксплуатационные свойства и внешний вид изделий.
5.6.3 Ручки из карбамидо- и меламиноформальдегидных прессовочных масс (аминопластов) и пластических масс (пластмасс) на основе фенолоальдегидных смол не должны иметь трещин, сколов, вздутий, усадочных раковин и инородных включений.
Теплостойкость ручек из аминопластов и пластмасс, а также пластмассовых деталей ручек должна быть не менее (150 +/- 5) °C для изделий, подвергающихся нагреву.
5.6.4 Ручки из древесины должны быть без сучков, трещин, грибковых поражений. Поверхность должна быть шлифованной и покрыта лаком по
ГОСТ 4976,
ГОСТ 5470 или другими лаками, разрешенными государственными органами и учреждениями санитарно-эпидемиологического надзора для контакта с пищевыми продуктами.
Внешний вид лакового покрытия должен быть не ниже IV класса по
ГОСТ 9.032.
5.6.5 Ручки должны быть без заусенцев и острых кромок.
Заклепки и винты с потайной головкой не должны выступать над поверхностью посуды.
Допускается заливка металлической арматуры в корпус посуды.
5.6.7 Крепление ручек к посуде (клепка, сварка, пайка, развальцовка, крепление винтами или комбинированное крепление) должно быть прочным и плотным, без наплывов и брызг после пайки или сварки. Швы сварных соединений должны быть выполнены в соответствии с
ГОСТ 14806. В сварных швах не допускаются раковины, непровары, прожоги и другие дефекты.
На спаиваемых поверхностях не должно быть оплавления основного металла, трещин.
5.6.8 Ручки на посуде должны быть расположены симметрично по отношению к продольной оси. Отклонение в расположении ручек от оси симметрии не должно превышать 2% диаметра изделия или длины утятницы (гусятницы).
5.6.9 Съемные ручки должны свободно входить в гнездо переходных элементов и надежно удерживать изделие при наклоне на угол 60° к горизонтальной плоскости с закрепленным на корпусе грузом, масса которого в два раза превышает массу вмещаемой воды.
Для плоских изделий масса груза должна в два раза превышать собственную массу изделия.
6.1 Кухонную посуду следует принимать партиями.
6.2 При приемке изделий изготовителем партией считают количество изделий одного типоразмера и вида покрытия наружной и внутренней поверхностей, изготовленных за смену при неизменной технологии производства.
6.3 При приемке изделий покупателем партией считают количество изделий, одновременно отправляемое покупателю по сопроводительным документам (транспортная накладная) и сопровождаемое декларацией о соответствии, подтверждающей соответствие посуды установленным требованиям настоящего стандарта и зарегистрированной государственным органом по сертификации продукции.
6.4 Приемка изделий изготовителем
6.4.1 При приемке изделий изготовителем посуду подвергают: приемо-сдаточным, периодическим и типовым испытаниям. Порядок проведения приемо-сдаточных и периодических испытаний и объем выборки - в соответствии с
таблицей 13. Отбор образцов посуды для испытаний проводят методом случайной выборки.
6.4.2 При получении неудовлетворительных результатов приемо-сдаточных испытаний хотя бы по одному из показателей настоящего стандарта по данному показателю проводят повторную проверку на удвоенной выборке, отобранной от той же партии.
Результаты повторной проверки распространяют на всю партию.
6.4.3 Периодические испытания посуды проводят на партии изделий, прошедшей приемо-сдаточные испытания.
6.4.4 При получении неудовлетворительных результатов периодических испытаний хотя бы по одному из показателей настоящего стандарта периодические испытания переводят в категорию приемо-сдаточных испытаний до получения устойчивых положительных результатов не менее чем на трех партиях изделий.
Таблица 13
Порядок проведения приемо-сдаточных
и периодических испытаний посуды
Показатель качества | Раздел, подраздел, пункт настоящего стандарта | Периодичность контроля | Объем выборки |
Приемо-сдаточные испытания |
Тип посуды, конструкция дна, комплектность, наличие крышки, количество ручек, тип ручки, маркировка, информация об изделии, упаковка, гарантия изготовителя | | - | Каждое изделие (набор) |
Внешний вид изделия. Соответствие образцу-эталону | | - | Каждое изделие (набор) |
Толщина противопригорающего (антипригарного) покрытия | | Один раз в смену | Два изделия |
Толщина покрытия наружной поверхности | |
Прочность сцепления противопригорающего (антипригарного) покрытия с металлом (адгезия к металлу) | |
Прочность сцепления декоративного покрытия с металлом (адгезия к металлу) | |
Отсутствие трещин противопригорающего (антипригарного) покрытия | |
Форма дна изделий | |
Прочность крепления ручек | |
Периодические испытания |
Противопригорающие (антипригарные) свойства покрытия | | Один раз в квартал | Три изделия |
Термостойкость противопригорающего (антипригарного) покрытия | |
Термостойкость декоративного покрытия | |
Ударопрочность (прочность при ударе) противопригорающего (антипригарного) покрытия на основе кремнийорганических полимеров | |
Твердость и ударопрочность декоративного покрытия на основе лакокрасочных материалов | |
Ударопрочность декоративного покрытия на основе эмалево-силикатных и кремнийорганических материалов | |
Выделение вредных для здоровья веществ | |
Прочность сцепления теплораспределительного слоя с дном изделия | |
Установка крышек | | При постановке продукции на производство, при применении новых видов материалов, при изменении технологии производства | Два изделия каждого типоразмера |
Теплостойкость пластмассовых ручек | |
Размер или вместимость | |
6.4.5 Типовые испытания проводят на соответствие показателей требованиям настоящего стандарта при постановке продукции на производство, при применении новых видов материалов, при изменении технологии производства.
При проведении типовых испытаний проверяют показатели, входящие в приемо-сдаточные и периодические испытания.
Дополнительно проверяют эксплуатационные свойства, абразивную износоустойчивость и коррозионную стойкость противопригорающего (антипригарного) покрытия, а также стойкость к открытому пламени огня покрытия, нанесенного на всю наружную поверхность.
Изделия для испытаний отбирают от партии не менее 10 шт.
6.4.6 При неудовлетворительных результатах типовых испытаний приемку изделий прекращают до установления и устранения причин образования выявленных дефектов.
6.5 Приемка изделий покупателем
6.5.1 Покупатель проводит приемку закупленной посуды с целью проверки соответствия изделий установленным требованиям настоящего стандарта и предупреждения допуска в эксплуатацию несоответствующей продукции.
Закупленная покупателем посуда должна сопровождаться декларацией о соответствии, подтверждающей соответствие посуды установленным требованиям настоящего стандарта.
Декларация о соответствии должна быть зарегистрирована государственным органом по сертификации продукции.
6.5.2 Организации, осуществляющие импорт кухонной посуды, должны проводить декларирование импортируемой посуды с целью проверки соответствия изделий установленным требованиям настоящего стандарта в государственных органах по сертификации продукции.
6.5.3 Проверку изделий покупателем для подтверждения соответствия посуды требованиям настоящего стандарта проводят на 2% изделий от каждой партии, но не менее 5 шт. от каждого типоразмера в соответствии с методами контроля, установленными настоящим стандартом.
При получении неудовлетворительных результатов проверки хотя бы по одному из показателей настоящего стандарта проводят повторную проверку на удвоенном количестве изделий, взятых от той же партии. Результаты повторной проверки распространяются на всю партию.
7.1 Методы контроля корпусов, крышек и ручек
7.1.1 Внешний вид, качество сборки и отделки посуды, а также комплектность изготовления проверяют визуально.
7.1.2 Вместимость посуды проверяют наполнением ее водой комнатной температуры с помощью мерной посуды по
ГОСТ 1770 или другой калиброванной емкости. Недолив воды у посуды с крышкой должен быть 5 - 10 мм до плоскости соприкосновения крышки с корпусом, у посуды без крышки - 6 - 11 мм до верхней кромки борта.
Допускается проверять вместимость посуды наполнением ее водой комнатной температуры на платформенных весах не ниже III класса точности по
ГОСТ Р 53228.
7.1.3 Размеры посуды, отклонения, люфты и зазоры проверяют универсальными измерительными инструментами по
ГОСТ 427,
ГОСТ 166, универсальным щупом или специальными шаблонами.
7.1.4 Качество установки крышек проверяют опробованием на изделии.
7.1.5 Плоскостность дна проверяют установкой изделия на поверочную плиту по
ГОСТ 10905. Изделие должно плотно прилегать к поверочной плите и обеспечивать устойчивость изделия на горизонтальной поверхности.
7.1.6 Прочность сцепления теплораспределительного слоя с дном изделия проверяют путем последовательного нагрева и охлаждения посуды не менее 50 раз. Посуду нагревают на электроплитке в сухом состоянии до температуры (200 +/- 5) °C, затем заполняют на 1/5 вместимости водой температурой (15 +/- 5) °C. После этого посуду снимают с электроплитки и резким погружением в емкость с холодной водой охлаждают до температуры (20 +/- 5) °C.
Перед каждым процессом нагревания посуды электроплитка должна быть охлаждена.
После 50 циклов испытаний не должно быть видимых изменений поверхности теплораспределительного слоя и зоны его сцепления с дном изделия.
7.1.7 Прочность крепления и жесткость арматуры посуды с одной ручкой проверяют, нагружая ручку на расстоянии не более 30 мм от свободного конца массой, равной массе воды, эквивалентной удвоенной вместимости.
Прочность крепления и жесткость арматуры посуды с двумя ручками проверяют путем нагружения изделия массой, равной массе воды, эквивалентной удвоенной вместимости, и легким встряхиванием ее с грузом. Количество встряхиваний изделия должно быть не менее 5 раз.
После испытаний не должно быть деформации ручек, ослабления крепления соединительных деталей ручек, повреждений противопригорающего или декоративного покрытия в месте соединения ручек и корпуса.
7.1.8 Надежность соединения съемной ручки с корпусом проверяют поворотом изделия за ручку относительно оси симметрии ручки на угол 60° к горизонтальной плоскости с закрепленным на корпусе грузом, масса которого в два раза превышает массу вмещаемой воды.
Для плоских изделий масса груза должна в два раза превышать собственную массу изделия.
При этом не должно происходить саморазъединения корпуса с ручкой.
7.1.9 Теплостойкость ручек из аминопластов и пластических масс (пластмасс), а также пластмассовые детали ручек проверяют, устанавливая изделие с ручкой в предварительно нагретый до температуры (150 +/- 5) °C сушильный шкаф и выдерживая в нем в течение 60 мин. Поверхность ручек после испытания не должна иметь трещин, вздутий, сколов, деформации и других видимых изменений.
7.2 Методы контроля противопригорающих покрытий
7.2.1 Внешний вид противопригорающих покрытий проверяют визуально, осматривая покрытие невооруженным глазом.
Поверхность противопригорающего (антипригарного) покрытия должна быть однородной, без вздутий и повреждений.
На каждом изделии допускаются незначительные отклонения противопригорающего (антипригарного) покрытия в соответствии с 5.4.2,
таблицей 11.
7.2.2 Толщину противопригорающих (антипригарных) покрытий проверяют методом вихревых токов по
ГОСТ 9.302 на плоских поверхностях изделий или образцов, изготовленных одновременно с партией изделий.
7.2.3 Сплошность противопригорающих (антипригарных) покрытий на основе фторопластовых и кремнийорганических полимеров определяют под оптическим микроскопом при 20-кратном увеличении.
Покрытие должно быть однородным, не иметь пузырей и трещин.
Наличие микротрещин на поверхности покрытия не допускается.
7.2.4 Прочность сцепления противопригорающих (антипригарных) покрытий с металлом (адгезия к металлу) определяют методом решетчатых надрезов.
На покрытие наносят решетку с единичным квадратом размером 2 x 2 мм.
Прочность сцепления противопригорающих (антипригарных) покрытий с металлом (адгезия к металлу) должна соответствовать 1 баллу по методу решетчатых надрезов в соответствии с 5.4.5,
таблицей 12.
На всех контролируемых участках поверхности с противопригорающим (антипригарным) покрытием не должно быть отрыва покрытия ни в одном квадрате решетки.
Аппаратура и материалы:
- лента липкая бесцветная шириной 25 мм с адгезионной прочностью от 2,4 до 4,0 Н/см по
ГОСТ 31149;
- шаблон для нанесения решетчатых надрезов;
- термометр инфракрасный;
- ванна с кипящей водой;
- секундомер;
- вода питьевая водопроводная.
Проведение испытания
Перед тестированием изделие кипятят в воде в течение 15 мин. После обработки кипящей водой изделие охлаждают (не следует охлаждать принудительно) до комнатной температуры (25 +/- 5) °C и вытирают насухо.
На испытуемом участке поверхности с противопригорающим (антипригарным) покрытием режущим инструментом по шаблону делают не менее 10 параллельных надрезов до металла длиной не менее 20 мм на расстоянии 2 мм друг от друга. Режущий инструмент следует держать перпендикулярно к испытуемой поверхности. Аналогичным образом делают надрезы в перпендикулярном направлении. В результате на покрытии образуется решетка из квадратов одинакового размера.
Проводят контроль не менее двух участков покрытия на изделиях, диаметр которых составляет 240 мм и более.
На изделиях, диаметр которых составляет менее 240 мм, проводят контроль одного участка покрытия по центру.
На испытуемую поверхность параллельно одному из направлений надрезов накладывают полоску липкой ленты и плотно прижимают, оставив один конец свободным. Цвет покрытия, видимый через ленту, является показателем полного и плотного контакта ленты с покрытием. Затем быстрым движением ленту отрывают от покрытия. Аналогичным образом повторяют процедуру в перпендикулярном направлении.
Повторяют процедуру 10 раз, каждый раз меняя направление рывка и накладывая свежую полоску липкой ленты.
Перед испытанием проверяют режущую кромку и поддерживают ее в рабочем состоянии с помощью заточки или замены инструмента.
7.2.5 Термостойкость противопригорающих (антипригарных) покрытий проверяют нагревом изделия с маслом до температуры (205 +/- 5) °C в течение 3 ч и последующим охлаждением на воздухе до температуры (20 +/- 2) °C.
Аппаратура и материалы:
- термометр инфракрасный;
- секундомер;
- масло подсолнечное рафинированное;
- лента липкая бесцветная шириной 25 мм с адгезионной прочностью от 2,4 до 4,0 Н/см по
ГОСТ 31149;
- шаблон для нанесения решетчатых надрезов.
Проведение испытания
Изделие с противопригорающим покрытием заполняют на 2/3 вместимости подсолнечным маслом и нагревают на электрической плитке до температуры (205 +/- 5) °C. Температуру масла в изделии поддерживают в течение 3 ч. Контроль температуры проводят контактным термометром. Затем масло сливают и изделие охлаждают на воздухе до температуры (20 +/- 2) °C. После этого внутреннюю поверхность изделия тщательно промывают теплой водой с мылом и выдерживают в течение 2 ч при температуре (20 +/- 2) °C. Проводят визуальный осмотр внешнего вида покрытия и определяют прочность сцепления покрытия с металлом методом решетчатого надреза.
Оценка результата
После испытания должны сохраниться первоначальный внешний вид и прочность сцепления покрытия с металлом.
Не допускаются изменения окраски, вздутия, пузыри, отслоения покрытия.
Прочность сцепления противопригорающих (антипригарных) покрытий с металлом (адгезия к металлу) должна соответствовать 1 баллу в соответствии с 5.4.5,
таблицей 12.
7.2.6 Противопригорающие (антипригарные) свойства покрытий (неприлипаемость пищевых продуктов)
Следует считать, что покрытие обладает противопригорающими (антипригарными) свойствами при условии положительных результатов в трех тестах.
Тесты проводят на одном изделии друг за другом. Перед новым тестом изделие должно быть вымыто с применением моющего средства и вытерто насухо.
Аппаратура и материалы:
- масло растительное рафинированное;
- яйцо куриное;
- шпатель пластиковый или деревянный;
- термометр инфракрасный;
- секундомер;
- вода питьевая водопроводная.
Проведение испытания
Смазывают тестируемую поверхность изделия растительным маслом, затем промывают изделие водой с моющим средством и вытирают насухо. Нагревают изделие до (160 +/- 10) °C. Температуру контролируют инфракрасным термометром в нескольких местах тестируемого изделия. Разбивают яйцо и равномерно распределяют его шпателем по всей тестируемой поверхности. Жарят 8 - 9 мин, не добавляя дополнительно масло или жир.
Оценка результата
Яйцо должно удалиться с тестируемой поверхности полностью без прилипания остатков или при легком покачивании изделия, или при легком поднятии краев яйца.
7.2.6.2 Тест "Удаление обуглившегося молока"
Аппаратура и материалы:
- термометр инфракрасный;
- молоко жирностью (3,5 +/- 0,5)%;
- вода питьевая водопроводная;
- губка мягкая для мытья посуды.
Проведение испытания
Нагревают тестируемое изделие до (165 +/- 15) °C. Температуру контролируют инфракрасным термометром в нескольких местах тестируемого изделия. Заливают молоко по всей тестируемой поверхности и продолжают нагрев до обугливания (темно-коричневое окрашивание). Затем изделие с подгоревшим молоком подставляют под струю воды. Молочная обугленная пленка должна полностью сняться под действием струи воды.
В случае если молочная обугленная пленка не удаляется под действием струи воды, остатки удаляют мягкой губкой для мытья посуды.
Оценка результата
Покрытие считают качественным, если обугленное молоко легко удаляется с поверхности изделия.
Состав теста:
- 500 г пшеничной муки;
- 5 куриных яиц;
- 1,65 л молока (3,5 +/- 0,5)% жирности;
- 1,5 г соли (нейодированной).
Аппаратура и материалы:
- термометр инфракрасный;
- секундомер;
- шпатель пластиковый или деревянный.
Проведение испытания
Смешивают ингредиенты и замешивают однородное тесто. Оставляют на 30 мин (тесто, приготовленное более 8 ч назад, не используют). Тестируемое изделие нагревают до (205 +/- 5) °C (температуру контролируют инфракрасным термометром в нескольких местах тестируемого изделия). Выдерживают 5 мин. Выливают тесто из расчета 60 - 70 г на один блин и равномерно распределяют по всей тестируемой поверхности. Выпекают блин с одной стороны, не переворачивая, при (205 +/- 5) °C в течение 7 мин. Снимают сковороду с плиты.
Оценка результата
Возможные результаты:
а) после покачивания изделия блин выпадает из изделия, следы прилипания блина к тестируемой поверхности отсутствуют;
б) после легкого поднятия лопаткой краев блина блин снимают с тестируемой поверхности без прилипания;
в) снимают блин, не оставив кусков теста на тестируемой поверхности, только с помощью шпателя;
г) блин с трудом удаляют шпателем с тестируемой поверхности. Остаются крупные следы теста;
д) блин нельзя удалить шпателем с тестируемой поверхности.
Тест имеет положительный результат, если он соответствует требованиям, перечисленным в
подпунктах а) -
в).
Следует подтвердить результат выпеканием всей массы теста, но не менее 15 блинов.
Положительный результат каждый раз подтверждают.
7.2.7 Абразивную износоустойчивость противопригорающего (антипригарного) покрытия проверяют на плоских поверхностях изделий или образцов, изготовленных одновременно с партией изделий.
Аппаратура и материалы:
- аппарат для проверки абразивной износоустойчивости. Механизм аппарата обеспечивает возвратно-поступательный ход прижимной лапки 100 - 150 мм со скоростью 6 - 9 м/мин. На прижимной лапке закреплен груз массой 1,5 кг;
- губка абразивная Scotch-BriteTM зернистостью A VFN (где A - оксид алюминия; VFN - очень тонкое зерно), размеры: ширина - 25 - 30 мм, длина - 75 - 80 мм или аналогичная;
- средство моющее для посуды с pH 8 - 11;
- вода питьевая водопроводная;
- полотенце хлопчатобумажное.
Проведение испытания
Приготавливают 3%-ный раствор моющего средства.
Тестируемое изделие с противопригорающим (антипригарным) покрытием устанавливают в зажимный механизм аппарата. Внутрь изделия заливают 50 - 100 мл раствора моющего средства. Дно изделия должно быть полностью закрыто раствором. На прижимную лапку аппарата закрепляют абразивную губку. Включают аппарат и начинают процесс истирания поверхности. Возвратно-поступательный ход прижимной лапки с закрепленной абразивной губкой должен быть 100 - 150 мм в зависимости от размера тестируемой поверхности. Абразивная губка делает 250 циклов возвратно-поступательных движений, и процесс истирания прерывают. После остановки аппарата абразивную губку необходимо перевернуть на обратную сторону и заново закрепить в прижимной лапке. Включают аппарат и продолжают процесс истирания поверхности с противопригорающим (антипригарным) покрытием. После процесса истирания следующих 250 циклов абразивную губку необходимо заменить на новую. В течение всего процесса истирания следует следить, чтобы раствор моющего средства всегда присутствовал внутри изделия. Под одним циклом истирания следует понимать одно возвратно-поступательное движение прижимной лапки с закрепленной абразивной губкой. Процесс истирания противопригорающего (антипригарного) покрытия проводят до достижения необходимого количества циклов, требуемого для испытуемого покрытия в соответствии с
5.4.6. Процесс истирания прекращают. Тестируемое изделие извлекают из зажимного механизма аппарата, смывают водой моющее средство с тестируемой поверхности, поверхность насухо вытирают полотенцем. Износ противопригорающего (антипригарного) покрытия оценивают визуально. Появление на тестируемой поверхности металлического блеска материала корпуса свидетельствует об износе противопригорающего (антипригарного) покрытия.
Оценка результата
Отсутствие металлического блеска - противопригорающее (антипригарное) покрытие выдержало испытание на абразивную износоустойчивость, наличие металлического блеска - противопригорающее (антипригарное) покрытие не выдержало испытание на абразивную износоустойчивость.
7.2.8 Ударопрочность (прочность при ударе) противопригорающих (антипригарных) покрытий на основе кремнийорганических полимеров проверяют путем воздействия на образец удара свободно падающего шарика силой не менее 0,2 Дж 2,0 кгс·см).
Аппаратура и материалы:
- шарик стальной массой 55 - 60 г;
- кольцо стальное наружным диаметром 60 мм, внутренним диаметром 50 мм, с закругленными кромками радиусом 1 мм;
Проведение испытания
При проведении испытаний используют плоские образцы с односторонним покрытием размером 100 x 100 мм (толщина образца соответствует толщине дна или боковой стенки корпуса изделия), изготовленные одновременно с производственной партией изделий, или плоские поверхности посуды.
Испытуемый образец или изделие устанавливают на стальное кольцо покрытием вверх. Затем проводят удар свободно падающим стальным шариком массой 55 - 60 г с высоты 330 - 350 мм, придерживая изделие на кольце. Испытание проводят в двух точках, расположенных на расстоянии не менее 40 мм одна от другой.
Оценка результата
После испытания не должно быть отколов, отслаиваний и растрескиваний покрытия.
7.2.9 Проверка эксплуатационных свойств противопригорающего (антипригарного) покрытия
При проверке эксплуатационных свойств противопригорающего (антипригарного) покрытия проводят ускоренные испытания покрытия с нагрузкой, которая имитирует процесс эксплуатации.
7.2.9.1 Требования
Для испытаний берут два изделия от одной партии.
Первое изделие подвергают испытаниям в объеме
тестов 1) -
15).
Тесты 1) -
15) проводят в указанной последовательности друг за другом.
На втором изделии проверяют абразивную износоустойчивость покрытия,
тест 16.
7.2.9.2 Перечень шестнадцати тестов для оценки качества и эксплуатационных свойств покрытия:
1) Тест на внешний вид.
2) Тест на сплошность покрытия:
- сплошность покрытия (микроскоп) и ударопрочность покрытия.
Примечание - Только для противопригорающих (антипригарных) покрытий на основе кремнийорганических полимеров;
- сплошность покрытия (микроскоп).
Примечание - Только для противопригорающих (антипригарных) покрытий на основе фторопластовых полимеров;
3) Тест на прочность сцепления (адгезия к металлу) - контроль первого участка покрытия.
4) Тест "Яичница".
5) Тест "Удаление обуглившегося молока".
6) Сахарный тест.
7) Тест с поваренной солью.
8) Тест с томатной пастой.
9) Тест "уксус - масло".
10) Тест на термостойкость.
11) Тест на устойчивость к моющим средствам.
12) Тест на закаливание.
13) Тест на прочность сцепления (адгезия к металлу) - контроль второго участка покрытия.
Примечание - Только для изделий, диаметр которых составляет 240 мм и более;
14) Тест на прочность сцепления (адгезия к металлу) - повторный контроль первого участка покрытия.
15) Тест "Блины".
16) Тест на абразивную износоустойчивость покрытия.
Методика испытаний и критерии оценки
1) Тест на внешний вид покрытия - в соответствии с
7.2.1.
2) Тест на сплошность покрытия:
- в соответствии с
7.2.3.
3) Тест на прочность сцепления (адгезия к металлу) - контроль первого участка покрытия.
Аппаратура и материалы, методика испытания и оценка результата - в соответствии с
7.2.4.
4) Тест "Яичница" - в соответствии с
7.2.6.1.
5) Тест "Удаление обуглившегося молока" - в соответствии с
7.2.6.2.
6) Сахарный тест.
Аппаратура и материалы:
- термометр инфракрасный;
- сахар;
- вода питьевая водопроводная.
Проведение испытания
На разогретую до (160 +/- 10) °C поверхность изделия (температуру контролируют инфракрасным термометром в нескольких местах тестируемого изделия) насыпают (12 +/- 3) г сахарного песка, распределяют по тестируемой поверхности. Нагревают сахар до полного плавления и приобретения темно-коричневой окраски. Заливают в изделие 100 - 200 г воды температурой (22 +/- 2) °C (в зависимости от размера изделия) и кипятят до полного растворения сахара. По окончании кипячения раствор выливают и проводят оценку результатов тестирования.
Оценка результата
Не должно быть изменения цвета покрытия и пригара сахара на поверхности.
Допускается на посуде со светлым покрытием появление светло-коричневых оттенков на дне.
7) Тест с поваренной солью.
Аппаратура и материалы:
- 5%-ный NaCl (соль нейодированная);
- крышка для посуды;
- секундомер;
- вода питьевая водопроводная.
Проведение испытания
Тестируемое изделие заливают на 1/2 высоты стенки раствором 5%-ного NaCl. Изделие закрывают крышкой и помещают на электрическую плитку. Кипятят раствор (не допуская сильного кипения) в течение 3 ч, поддерживая первоначальный уровень (отсчет времени начинают с момента начала закипания раствора). Потери на испарение восполняют, доливая воду.
Допускается колебание уровня воды в пределах 15 мм.
Оценка результата
Смывают остатки соли и накипи. Осматривают образец на отсутствие следов коррозии, вздутий, пузырей.
8) Тест с томатной пастой.
Аппаратура и материалы:
- секундомер;
- соль NaCl (нейодированная);
- паста томатная;
- средство моющее для посуды с pH 8 - 11;
- вода питьевая водопроводная.
Проведение испытания
Разводят томатную пасту с водой в соотношении 1:1 и добавляют 10 - 15 г соли на 1 л смеси. Полученную смесь заливают в тестируемое изделие. Изделие помещают на электрическую плитку. Смесь кипятят в течение 1 ч (не допуская сильного кипения), добавляя воду для возмещения потерь на испарение (отсчет времени начинают с момента начала закипания раствора). После испытаний промывают моющим средством для посуды.
Оценка результата
Осматривают изделие. Не допускаются изменение окраски и наличие вздутий, пузырей, следов коррозии.
Допускается на посуде со светлым покрытием появление светло-оранжевого оттенка по уровню жидкости.
9) Тест "уксус - масло".
Аппаратура и материалы:
- секундомер;
- средство моющее для посуды с pH 8 - 11;
- вода питьевая водопроводная.
Готовят смесь:
- 700 г воды;
- 200 г столового 9%-ного уксуса;
- 100 г растительного рафинированного масла;
- 50 г NaCl (соль нейодированная).
Проведение испытания
Заливают смесь в тестируемое изделие не менее чем на 1/2 высоты стенки. Изделие помещают на электрическую плитку. Кипятят в течение 1 ч +/- 5 мин (не допуская сильного кипения). Отсчет времени начинают с момента начала закипания раствора. Добавляют воду для возмещения потерь на испарение. После испытаний промывают моющим средством для посуды.
Оценка результата
Осматривают тестируемое изделие. Не допускаются изменение окраски, наличие вздутий, пузырей, следов коррозии.
10) Тест на термостойкость - в соответствии с
7.2.5.
11) Тест с моющим средством.
Аппаратура и материалы:
- секундомер;
- средство моющее для посуды с pH 8 - 11;
- вода питьевая водопроводная.
Проведение испытания
Готовят 3%-ный раствор моющего средства. Заливают 3%-ный раствор моющего средства в тестируемое изделие до уровня 1/2 высоты борта. Кипятят 1 ч +/- 5 мин. Поддерживают уровень постоянным. Добавляют воду для возмещения потерь на испарение.
Оценка результата
Осматривают тестируемое изделие. Не допускаются изменение окраски, наличие вздутий, пузырей, следов коррозии.
12) Тест на закаливание.
Аппаратура и материалы:
- термометр инфракрасный;
- вода питьевая водопроводная.
Проведение испытания
Тестируемый образец нагревают до температуры (165 +/- 15) °C (температуру измеряют инфракрасным термометром в нескольких местах тестируемого изделия) и быстро помещают под холодную воду. Повторяют операцию дважды.
Оценка результата
Осматривают изделие. Не допускаются вздутия, отслоения, пузыри.
13) Тест на прочность сцепления (адгезия к металлу) - контроль второго участка покрытия.
Аппаратура, материалы, методика проведения испытания и оценка результата - в соответствии с
7.2.4.
14) Тест на прочность сцепления (адгезия к металлу) - повторный контроль первого участка покрытия.
Материалы:
- лента липкая бесцветная шириной 25 мм с адгезионной прочностью от 2,4 до 4,0 Н/см по
ГОСТ 31149.
Проведение испытания
На участке, который тестировали в тесте 3
(7.2.9.2), проводят повторное тестирование адгезии 10 раз, каждый раз меняя направление рывка (вертикально - горизонтально) и используя новую полоску липкой ленты.
Оценка результата
Не должно быть отрыва покрытия ни в одном квадрате решетки.
15) Тест "Блины" - в соответствии с
7.2.6.3.
16) Тест на абразивную износоустойчивость противопригорающего (антипригарного) покрытия - в соответствии с
7.2.7.
7.2.10 Коррозионную стойкость противопригорающих (антипригарных) покрытий проверяют по
ГОСТ Р 9.905 на изделиях или образцах, изготовленных одновременно с партией изделий.
7.2.11 Стойкость к открытому пламени огня и методы контроля задают производители окрасочного материала.
7.3 Методы контроля декоративных покрытий
7.3.1 Внешний вид декоративных покрытий проверяют визуально, осматривая покрытие невооруженным глазом.
Поверхность декоративного покрытия должна быть однородной, без вздутий и повреждений.
На декоративном покрытии допускаются незначительные отклонения в виде включений.
Примечание - Под незначительными отклонениями декоративного покрытия понимают отклонения, размеры и количество которых не оказывают существенного влияния на товарный вид изделий и не препятствуют использованию посуды по назначению.
7.3.2 Толщину декоративных покрытий проверяют методом вихревых токов по
ГОСТ 9.302 на плоских поверхностях изделий или образцов, изготовленных одновременно с партией изделий.
7.3.3 Прочность сцепления декоративных покрытий с металлом (адгезия к металлу) проверяют в соответствии с
7.2.4 на плоских поверхностях изделий или образцов, изготовленных одновременно с партией изделий.
7.3.4 Термостойкость декоративных покрытий
Аппаратура:
- шкаф сушильный;
- секундомер;
- щипцы технические.
Проведение испытания
Для испытаний выделяют два изделия от одной партии. Первое изделие подвергают испытаниям. Второе изделие является контрольным образцом.
Требование к испытуемому изделию - изделие должно быть без пластмассовых ручек.
Испытуемое изделие выдерживают в течение 20 мин в сушильном шкафу, предварительно нагретом до температуры (250 +/- 5) °C. Затем щипцами изделие извлекают из шкафа, охлаждают на воздухе до температуры (20 +/- 2) °C и проводят осмотр внешнего вида декоративного покрытия путем сравнения с контрольным образцом, который не подвергался нагреву. Цикл повторяют три раза.
Оценка результата
Декоративное покрытие должно по внешнему виду соответствовать контрольному образцу.
7.3.5 Стойкость к открытому пламени огня декоративных покрытий и методы контроля задают производители окрасочного материала.
7.3.6 Твердость декоративных покрытий на основе лакокрасочных материалов проверяют по
ГОСТ 5233, по маятниковому прибору с использованием подложки из алюминиевых сплавов.
Допускается для гладких лакокрасочных покрытий определение твердости покрытия по карандашу, используя для проведения теста карандаши со степенью твердости не ниже HB и руководствуясь
ГОСТ Р 54586 (ИСО 15184:1998).
7.3.7 Ударопрочность (прочность при ударе) декоративных покрытий на основе лакокрасочных материалов проверяют по
ГОСТ 4765.
7.3.8 Ударопрочность (прочность при ударе) декоративных покрытий на основе эмалево-силикатных и кремнийорганических материалов проверяют путем воздействия на образец свободно падающего шарика, с работой удара не менее 0,2 Дж (2,0 кгс·см).
Аппаратура, материалы, методика проведения испытания и оценка результата - в соответствии с
7.2.8.
7.4 Методы контроля вредных для здоровья веществ
Содержание свинца, мышьяка, меди, цинка, фтор-иона (суммарно) в вытяжках контролируют по методическим материалам, утвержденным государственными органами и учреждениями санитарно-эпидемиологического надзора.
8.1 Информация для потребителя каждого изделия (набора) должна содержать:
- наименование товара;
- наименование страны-изготовителя;
- наименование предприятия-изготовителя;
- основное (или функциональное) предназначение товара или область его применения;
- правила и условия безопасного хранения, транспортирования и использования;
- основные потребительские свойства или характеристики;
- юридический адрес предприятия-изготовителя и/или продавца;
- состав (комплектность);
- товарный знак (товарную марку) изготовителя (при наличии);
- обозначение нормативного документа или технической документации, по которой изготовляют товар;
- клеймо (штамп) технического контроля.
Способ размещения на изделии информации для потребителя устанавливает изготовитель продукции.
8.2 Информация по эксплуатации изделия
К каждому изделию должна быть приложена соответствующая инструкция по эксплуатации, которая содержит:
- рекомендацию по первичной подготовке перед первым использованием;
- рекомендацию по очистке после использования;
- специальные указания по уходу за противопригорающим покрытием при наличии;
- специальные указания по использованию полностью покрытой наружной поверхности кухонной посуды при наличии;
- рекомендацию по обращению с ручками при наличии;
- специальные указания по безопасности при наличии;
- гарантию предприятия-изготовителя с указанием негарантийных случаев;
- наименование и контактный адрес предприятия-изготовителя или импортера.
Информация, изложенная в инструкции по эксплуатации, должна быть доведена до потребителя в составе изделия.
8.3 На потребительской упаковке указывают:
- наименование или товарный знак предприятия-изготовителя;
- наименование изделия или набора посуды;
- количество изделий (при наборах посуды);
- размер или вместимость изделий;
- обозначение настоящего стандарта;
- дату изготовления;
- клеймо (штамп) технического контроля.
8.4 Транспортная маркировка - по
ГОСТ 14192 с нанесением манипуляционных знаков "Хрупкое. Осторожно", "Беречь от влаги" и "Верх" непосредственно на транспортную упаковку или на ярлыки, прикрепляемые к транспортной упаковке.
9 Упаковка, транспортирование и хранение
9.1 Посуду (отдельные изделия и наборы) упаковывают в потребительскую упаковку:
- коробки по
ГОСТ 12301 или пачки по ГОСТ 12303 из картона и комбинированных материалов;
- термоусадочную полиэтиленовую пленку по
ГОСТ 25951;
- термоусадочную полиолефиновую пленку по нормативной документации производителя.
9.2 Посуду, упакованную в потребительскую упаковку, укладывают в транспортную упаковку - коробки из гофрированного картона по
ГОСТ Р 52901, ящики из гофрированного картона по
ГОСТ 9142, дощатые ящики по
ГОСТ 2991, ящики из листовых древесных материалов по
ГОСТ 5959, деревянные ящики по
ГОСТ 9396, дощатые обрешетки по
ГОСТ 12082.
| | ИС МЕГАНОРМ: примечание. ГОСТ 9421-80 утратил силу с 1 июля 2014 года в части картона для изготовления тары для пищевой продукции в связи с введением в действие ГОСТ 32096-2013 (Приказ Росстандарта от 01.08.2013 N 471-ст). | |
9.3 Для укладки посуды в транспортную упаковку применяют вспомогательные материалы - оберточную бумагу по
ГОСТ 8273, тарный плоский склеенный картон по ГОСТ 9421, прокладочный картон по
ГОСТ 9347.
9.4 Допускается посуду, уложенную в транспортные коробки и ящики, формировать в транспортные пакеты по
ГОСТ 26663. Для формирования транспортных пакетов используют плоские поддоны по
ГОСТ 9078,
ГОСТ 26381,
ГОСТ 9557. Применяемые средства скрепления в транспортных пакетах - по
ГОСТ 21650.
9.5 Посуду, уложенную в транспортную упаковку, транспортируют всеми видами транспорта по правилам перевозки грузов, действующим на данном виде транспорта.
9.6 Посуду, уложенную в транспортные коробки и ящики, а также сформированную в транспортные пакеты, транспортируют в крытых автомашинах.
9.7 Допускается транспортировать посуду, уложенную в контейнеры, в открытых автомашинах.
9.8 Транспортирование посуды железнодорожным, речным и морским транспортом следует проводить в контейнерах.
9.9 Допускается транспортировать посуду, уложенную в транспортные коробки и ящики, а также сформированную в транспортные пакеты, железнодорожным транспортом повагонными отправками.
9.10 Условия хранения посуды в части воздействия климатических факторов - по группе 3
ГОСТ 15150.
Допускаются условия при транспортировании посуды в части воздействия климатических факторов - по группе 2
ГОСТ 15150.
10.1 Предприятие-изготовитель гарантирует соответствие выпускаемых изделий требованиям настоящего стандарта при соблюдении покупателем условий хранения, транспортирования и эксплуатации.
10.2 Гарантийный срок на посуду с противопригорающим (антипригарным) покрытием должен быть не менее 12 мес со дня продажи через розничную торговую сеть.
10.3 Гарантийный срок на посуду с противопригорающим (антипригарным) покрытием должен быть указан в инструкции по эксплуатации.