Главная // Актуальные документы // ГОСТ Р (Государственный стандарт)
СПРАВКА
Источник публикации
М.: Стандартинформ, 2019
Примечание к документу
Документ введен в действие с 01.08.2020.
Название документа
"ГОСТ Р 58620-2019. Национальный стандарт Российской Федерации. Магистральный трубопроводный транспорт нефти и нефтепродуктов. Оборудование резервуарное. Устройства приемо-раздаточные для резервуаров. Общие технические условия"
(утв. и введен в действие Приказом Росстандарта от 01.11.2019 N 1079-ст)

"ГОСТ Р 58620-2019. Национальный стандарт Российской Федерации. Магистральный трубопроводный транспорт нефти и нефтепродуктов. Оборудование резервуарное. Устройства приемо-раздаточные для резервуаров. Общие технические условия"
(утв. и введен в действие Приказом Росстандарта от 01.11.2019 N 1079-ст)


Содержание


Утвержден и введен в действие
Приказом Федерального
агентства по техническому
регулированию и метрологии
от 1 ноября 2019 г. N 1079-ст
НАЦИОНАЛЬНЫЙ СТАНДАРТ РОССИЙСКОЙ ФЕДЕРАЦИИ
МАГИСТРАЛЬНЫЙ ТРУБОПРОВОДНЫЙ ТРАНСПОРТ
НЕФТИ И НЕФТЕПРОДУКТОВ
ОБОРУДОВАНИЕ РЕЗЕРВУАРНОЕ.
УСТРОЙСТВА ПРИЕМО-РАЗДАТОЧНЫЕ ДЛЯ РЕЗЕРВУАРОВ
ОБЩИЕ ТЕХНИЧЕСКИЕ УСЛОВИЯ
Trunk pipeline transport of oil and oil products.
Storage tank equipment. Receiving and distributing devices.
General specifications
ГОСТ Р 58620-2019
ОКС 75.200
ОКПД2 25.29
Дата введения
1 августа 2020 года
Предисловие
1 РАЗРАБОТАН Обществом с ограниченной ответственностью "Научно-исследовательский институт трубопроводного транспорта" (ООО "НИИ Транснефть")
2 ВНЕСЕН Подкомитетом ПК 7 "Магистральный трубопроводный транспорт нефти и нефтепродуктов" Технического комитета по стандартизации ТК 023 "Нефтяная и газовая промышленность"
3 УТВЕРЖДЕН И ВВЕДЕН В ДЕЙСТВИЕ Приказом Федерального агентства по техническому регулированию и метрологии от 1 ноября 2019 г. N 1079-ст
4 ВВЕДЕН ВПЕРВЫЕ
Правила применения настоящего стандарта установлены в статье 26 Федерального закона от 29 июня 2015 г. N 162-ФЗ "О стандартизации в Российской Федерации". Информация об изменениях к настоящему стандарту публикуется в ежегодном (по состоянию на 1 января текущего года) информационном указателе "Национальные стандарты", а официальный текст изменений и поправок - в ежемесячном информационном указателе "Национальные стандарты". В случае пересмотра (замены) или отмены настоящего стандарта соответствующее уведомление будет опубликовано в ближайшем выпуске ежемесячного информационного указателя "Национальные стандарты". Соответствующая информация, уведомление и тексты размещаются также в информационной системе общего пользования - на официальном сайте Федерального агентства по техническому регулированию и метрологии в сети Интернет (www.gost.ru)
1 Область применения
Настоящий стандарт распространяется на приемо-раздаточные устройства, предназначенные для вертикальных цилиндрических стальных резервуаров номинальным объемом до 120000 м3 и применяемые на объектах магистрального трубопровода для транспортировки нефти и нефтепродуктов.
2 Нормативные ссылки
В настоящем стандарте использованы нормативные ссылки на следующие стандарты:
ГОСТ 2.503 Единая система конструкторской документации. Правила внесения изменений
ГОСТ 8.051 (СТ СЭВ 303-76) Государственная система обеспечения единства измерений. Погрешности, допускаемые при измерении линейных размеров до 500 мм
ГОСТ 8.549 (СТ СЭВ 3292-81) Государственная система обеспечения единства измерений. Погрешности, допускаемые при измерении линейных размеров до 500 мм с неуказанными допусками
ГОСТ 9.005 Единая система защиты от коррозии и старения. Металлы, сплавы, металлические и неметаллические неорганические покрытия. Допустимые и недопустимые контакты с металлами и неметаллами
ГОСТ 9.014 Единая система защиты от коррозии и старения. Временная противокоррозионная защита изделий. Общие требования
ГОСТ 9.032 Единая система защиты от коррозии и старения. Покрытия лакокрасочные. Группы, технические требования и обозначения
ГОСТ 9.402 Единая система защиты от коррозии и старения. Покрытия лакокрасочные. Подготовка металлических поверхностей к окрашиванию
ГОСТ 12.1.004 Система стандартов безопасности труда. Пожарная безопасность. Общие требования
ГОСТ 12.1.010 Система стандартов безопасности труда. Взрывобезопасность. Общие требования
ГОСТ 12.2.003 Система стандартов безопасности труда. Оборудование производственное. Общие требования безопасности
ГОСТ 12.2.049 Система стандартов безопасности труда. Оборудование производственное. Общие эргономические требования
ГОСТ 12.3.002 Система стандартов безопасности труда. Процессы производственные. Общие требования безопасности
ГОСТ 12.3.009 Система стандартов безопасности труда. Работы погрузочно-разгрузочные. Общие требования безопасности
ГОСТ 12.3.020 Система стандартов безопасности труда. Процессы перемещения грузов на предприятиях. Общие требования безопасности
ГОСТ 15.309 Системы разработки и постановки продукции на производство. Испытания и приемка выпускаемой продукции. Основные положения
ГОСТ 17.1.1.04 Охрана природы. Гидросфера. Классификация подземных вод по целям водопользования
ГОСТ 27.003 Надежность в технике. Состав и общие правила задания требований по надежности
ГОСТ 305 Топливо дизельное. Технические условия
ГОСТ 380 Сталь углеродистая обыкновенного качества. Марки
ГОСТ 481 Паронит и прокладки из него. Технические условия
ГОСТ 1050 Металлопродукция из нелегированных конструкционных качественных и специальных сталей. Общие технические условия
ГОСТ 2084 Бензины автомобильные. Технические условия
ГОСТ 2991 Ящики дощатые неразборные для грузов массой до 500 кг. Общие технические условия
ГОСТ 5264 Ручная дуговая сварка. Соединения сварные. Основные типы, конструктивные элементы и размеры
ГОСТ 8273 Бумага оберточная. Технические условия
ГОСТ 8731 Трубы стальные бесшовные горячедеформированные. Технические требования
ГОСТ 9569 Бумага парафинированная. Технические условия
ГОСТ 10198 Ящики деревянные для грузов массой св. 200 до 20000 кг. Общие технические условия
ГОСТ 10227 Топлива для реактивных двигателей. Технические условия
ГОСТ 12082 Обрешетки дощатые для грузов массой до 500 кг. Общие технические условия
ГОСТ 14192 Маркировка грузов
ГОСТ 14771 Дуговая сварка в защитном газе. Соединения сварные. Основные типы, конструктивные элементы и размеры
ГОСТ 15150 Машины, приборы и другие технические изделия. Исполнения для различных климатических районов. Категории, условия эксплуатации, хранения и транспортирования в части воздействия климатических факторов внешней среды
ГОСТ 16037 Соединения сварные стальных трубопроводов. Основные типы, конструктивные элементы и размеры
ГОСТ 18321 (СТ СЭВ 1934-79) Статистический контроль качества. Методы случайного отбора выборок штучной продукции
ГОСТ 18617 Ящики деревянные для металлических изделий. Технические условия
ГОСТ 19281 Прокат повышенной прочности. Общие технические условия
ГОСТ 20295 Трубы стальные сварные для магистральных газонефтепроводов. Технические условия
ГОСТ 21140 Тара. Система размеров
ГОСТ 21752 Система "Человек-машина". Маховики управления и штурвалы. Общие эргономические требования
ГОСТ 23170 Упаковка для изделий машиностроения. Общие требования
ГОСТ 24297 Верификация закупленной продукции. Организация проведения и методы контроля
ГОСТ 25129 Грунтовка ГФ-021. Технические условия
ГОСТ 28338 Соединения трубопроводов и арматура. Номинальные диаметры. Ряды
ГОСТ 30546.1 Общие требования к машинам, приборам и другим техническим изделиям и методы расчета их сложных конструкций в части сейсмостойкости
ГОСТ 30546.2 Испытания на сейсмостойкость машин, приборов и других технических изделий. Общие положения и методы испытаний
ГОСТ 30852.5 (МЭК 60079-4:1975) Электрооборудование взрывозащищенное. Часть 4. Метод определения температуры самовоспламенения
ГОСТ 30852.9 (МЭК 60079-10:1995) Электрооборудование взрывозащищенное. Часть 10. Классификация взрывоопасных зон
ГОСТ 30852.11 (МЭК 60079-12:1978) Электрооборудование взрывозащищенное. Часть 12. Классификация смесей газов и паров с воздухом по безопасным экспериментальным максимальным зазорам и минимальным воспламеняющим токам
ГОСТ 33259 Фланцы арматуры, соединительных частей и трубопроводов на номинальное давление до PN 250. Конструкция, размеры и общие технические требования
ГОСТ Р 8.568 Государственная система обеспечения единства измерений. Аттестация испытательного оборудования. Основные положения
ГОСТ Р 15.301 Система разработки и постановки продукции на производство. Продукция производственно-технического назначения. Порядок разработки и постановки продукции на производство
ГОСТ Р 18.12.02 Технологии авиатопливообеспечения. Оборудование типовых схем авиатопливообеспечения. Общие технические требования
ГОСТ Р 51672 Метрологическое обеспечение испытаний продукции для целей подтверждения соответствия. Основные положения
ГОСТ Р 51858 Нефть. Общие технические условия
Примечание - При пользовании настоящим стандартом целесообразно проверить действие ссылочных стандартов в информационной системе общего пользования - на официальном сайте Федерального агентства по техническому регулированию и метрологии в сети Интернет или по ежегодному информационному указателю "Национальные стандарты", который опубликован по состоянию на 1 января текущего года, и по выпускам ежемесячного информационного указателя "Национальные стандарты" за текущий год. Если заменен ссылочный стандарт, на который дана недатированная ссылка, то рекомендуется использовать действующую версию этого стандарта с учетом всех внесенных в данную версию изменений. Если заменен ссылочный стандарт, на который дана датированная ссылка, то рекомендуется использовать версию этого стандарта с указанным выше годом утверждения (принятия). Если после утверждения настоящего стандарта в ссылочный стандарт, на который дана датированная ссылка, внесено изменение, затрагивающее положение, на которое дана ссылка, то это положение рекомендуется применять без учета данного изменения. Если ссылочный стандарт отменен без замены, то положение, в котором дана ссылка на него, рекомендуется принять в части, не затрагивающей эту ссылку.
3 Термины и определения
В настоящем стандарте применены следующие термины с соответствующими определениями:
3.1 приемо-раздаточное устройство: Устройство, предназначенное для формирования или регулирования потока продукта при откачке/закачке, присоединяемое к приемо-раздаточному патрубку резервуара.
Примечание - Под продуктом понимают нефть/нефтепродукт, нефтесодержащие стоки, воду.
3.2 отвод: Соединительная деталь, предназначенная для изменения направления оси трубопровода в вертикальной/горизонтальной плоскости.
3.3 зонт: Устройство, предназначенное для направления потока продукта к рассекателю и/или днищу резервуара, присоединяемое к отводу параллельно рассекателю.
Примечание - Под продуктом понимают нефть/нефтепродукт, нефтесодержащие стоки, воду.
3.4 рассекатель: Устройство, предназначенное для распределения потока продукта вдоль днища резервуара, устанавливаемое на днище резервуара перпендикулярно к потоку.
Примечание - Под продуктом понимают нефть/нефтепродукт, нефтесодержащие стоки, воду.
4 Обозначения и сокращения
В настоящем стандарте применены следующие обозначения и сокращения:
КД - конструкторский документ;
ОТК - отдел технического контроля или иное специализированное подразделение изготовителя, осуществляющее технический контроль продукции;
ПД - проектная документация;
ПРП - приемо-раздаточный патрубок;
ПРУ - приемо-раздаточное устройство;
DN - номинальный диаметр, мм;
HПРУ - расстояние от верхней образующей патрубка приемо-раздаточного устройства до днища резервуара, мм;
Hф - расстояние от днища резервуара до верхней образующей соединительного фланца приемо-раздаточного устройства, мм;
H - расстояние от оси приемо-раздаточного устройства/патрубка до днища резервуара, мм;
Hстойки - расстояние от днища резервуара до верха стойки, мм;
hщ - высота щели между зонтом и рассекателем, мм.
5 Классификация
5.1 Классификация ПРУ приведена в таблице 1.
Таблица 1
Классификация приемо-раздаточных устройств
Тип
Конструктивный параметр
Исполнение
1
2
3
Придонный (сниженный)
Щель
Нерегулируемая
Регулируемая
Патрубок
Нерегулируемый по высоте
Регулируемый по высоте (с эксцентриковой вставкой)
Поворотный затвор
С внутренним расположением
С внешним расположением
Диффузорный
-
С односторонним выходом рабочей среды
С двухсторонним выходом рабочей среды
Специальный
-
С направляющим отводом
С направляющим отводом и хлопушкой
С установкой сопел, эжекторов
С установкой плавающего заборного устройства
Концевое для резервуаров аварийного сброса
5.2 Схема условного обозначения ПРУ приведена на рисунке 1.
XX- XX- XX- XX-
─┬─ ─┬─ ─┬─ ─┬─
│ │ │ │ Вид климатического исполнения по ГОСТ 15150
│ │ │ └──────────────────────────────────────────────
│ │ │ Номинальное давление PN, МПа (кгс/см2)
│ │ └────────────────────────────────────────────────────
│ │ Номинальный диаметр DN по ГОСТ 28338
│ └──────────────────────────────────────────────────────────
│ Тип ПРУ:
│ - ПРУ-П - ПРУ придонный (сниженное);
│ - ПРУ-Д - ПРУ диффузорный;
│ - ПРУ-С - ПРУ специальный
└────────────────────────────────────────────────────────────────
Рисунок 1 - Схема условного обозначения
приемо-раздаточного устройства
По требованию заказчика в условном обозначении указывают обозначение технического документа и/или другие технические характеристики ПРУ.
Пример условного обозначения ПРУ придонного (сниженного) типа номинального диаметра DN 200 на номинальное давление PN 1,0 МПа, вид климатического исполнения УХЛ1 по ГОСТ 15150 (для макроклиматических районов с умеренно-холодным климатом с размещением на открытом воздухе) по документу <1>
"ПРУ-П-200-1,0-УХЛ1 по ___________ <1>".
--------------------------------
<1> Указывают обозначение документа.
5.3 Описание и общий вид ПРУ приведен в приложении А.
6 Характеристики продукции
6.1 Основные показатели и характеристики
6.1.1 Назначение
6.1.1.1 ПРУ используют при закачке/откачке продукта из резервуара по технологическим трубопроводам резервуарного парка.
6.1.1.2 Рабочая среда:
- нефть по ГОСТ Р 51858 (кроме типа 4);
- нефтепродукты по ГОСТ 2084, ГОСТ 305, ГОСТ 10227;
- нефтесодержащие стоки;
- вода по ГОСТ 17.1.1.04.
6.1.1.3 ПРУ предназначено для:
- увеличения полезного объема резервуаров за счет уменьшения уровня допустимого минимального уровня при откачке продукта из резервуара;
- предотвращения воронкообразования в резервуаре за счет низкого расположения и конфигурации входной/выходной щели ПРУ;
- уменьшения интенсивности накопления донных отложений в резервуаре за счет их размыва;
- формирования направления движения потока продукта;
- оперативного перекрытия приемного/откачивающего трубопровода при нештатных ситуациях;
- регулировки производительности закачки/откачки продукта;
- снижения механического воздействия газовоздушных пробок и потока из трубопровода на понтоны и плавающие крыши резервуаров;
- перемешивания продукта в резервуаре;
- обеспечения качества откачиваемого продукта (исключения забора подтоварной воды);
- снижения уровня образования статического электричества и времени закачки в резервуар продукта открытой струей при заполнении пустого резервуара;
- размыва донных отложений;
- отбора продукта из верхних слоев в целях сохранения качества.
6.1.2 Надежность
6.1.2.1 По возможности восстановления работоспособного состояния после отказа в процессе эксплуатации ПРУ относят к восстанавливаемым изделиям.
6.1.2.2 Номенклатура показателей надежности и безопасности - в соответствии с ГОСТ 27.003 и требованиями заказчика.
6.1.2.3 Срок службы - не менее 50 лет.
6.1.2.4 Межремонтный интервал - не менее 10 лет.
6.1.2.5 Срок сохраняемости в консервации изготовителя под навесом - не менее 2 лет.
6.1.3 Стойкость к внешним воздействиям и живучесть
6.1.3.1 Сейсмические воздействия
ПРУ сохраняют прочность и герметичность во время и после сейсмического воздействия до 9 баллов включительно по шкале MSK-64 [1].
6.1.3.2 Сейсмостойкость подтверждают расчетами, а по требованию заказчика дополнительно подтверждают испытаниями.
6.1.3.3 Климатическое воздействие
ПРУ предназначены для эксплуатации в макроклиматических районах с умеренно-холодным климатом, категория размещения - 1 или 2 по ГОСТ 15150.
6.1.3.4 Воздействие среды
ПРУ применяют во взрывоопасных зонах класса 1 по ГОСТ 30852.9, в которых возможно образование взрывоопасных смесей категории IIA, IIB по ГОСТ 30852.11 группы Т3 по ГОСТ 30852.5.
6.1.4 Конструктивные параметры
6.1.4.1 ПРУ изготавливают номинальным диаметром от DN 100 до DN 800 по ГОСТ 28338 на номинальное давление от PN 1,0 (10) до PN 1,6 (16) МПа (кгс/см2) для присоединения к ПРП резервуара. По согласованию с заказчиком возможна поставка ПРУ других номинальных диаметров для присоединения к соответствующим ПРП.
6.1.4.2 Конструкция ПРУ соответствующего типоразмера определяется ПД и обеспечивает технологичность монтажа внутри соответствующих резервуаров номинальным объемом до 120000 м3 включительно.
6.1.4.3 Масса, габаритные и присоединительные размеры ПРУ - в соответствии с КД.
6.1.4.4 Конструкция ПРУ обеспечивает возможность присоединения внутри резервуара к ПРП с ответными фланцами типа 01 по ГОСТ 33259. Диаметр патрубка ПРУ соответствует диаметру ПРП резервуара.
6.1.4.5 Вариант расположения ПРУ выбирают с учетом конструкции днища и расстояния от окраечного листа днища резервуара до оси ПРП.
6.1.4.6 При установке ПРУ в резервуаре, смонтированном с отклонениями от ПД, ПРУ изготавливают по данным, указанным заказчиком в опросном листе.
6.1.4.7 Монтаж ПРУ номинальным диаметром от DN 100 до DN 400 по ГОСТ 28338 осуществляют через овальные люки-лазы размерами 600 x 900 мм, расположенные в первом поясе стенки резервуара.
6.1.4.8 Монтаж ПРУ номинальным диаметром от DN 500 до DN 800 по ГОСТ 28338 осуществляют через монтажный люк диаметром 1000 мм в крыше резервуара.
6.1.4.9 В конструкции ПРУ придонного типа предусматривают регулируемые упоры, позволяющие выполнять регулировку и установку ПРУ с учетом ориентации уклона днища в резервуарах для обеспечения полного и устойчивого опирания на днище резервуара в четырех точках. Конструкция регулируемых упоров обеспечивает отсутствие искрообразования.
6.1.4.10 Регулировку высоты щели hщ между зонтом и рассекателем осуществляют с помощью регулировочных шпилек.
6.1.4.11 Расстояние между приемным и раздаточным устройством (в свету) внутри резервуара предусматривают не менее 250 мм с целью размещения между ними опорных стоек плавающей крыши/понтона. Конструктивные размеры ПРУ в плане учитывают при привязке положений опорных стоек плавающей крыши/понтона.
6.1.4.12 Высоту щели между зонтом и рассекателем определяют исходя из соблюдения следующего условия: площадь сечения щели между зонтом и рассекателем одного ПРУ - не менее площади сечения одного ПРП резервуара.
6.1.4.13 Ширина полки зонта, создающей веерную направленную струю жидкости, - от 75 до 150 мм.
6.1.4.14 Герметичность поворотного затвора - в соответствии с КД.
6.1.4.15 Образование и накопление статического электричества не допускается.
6.1.4.16 Для исключения накопления электростатических зарядов и заноса высоких потенциалов все узлы ПРУ, в том числе и соединение зонт-рассекатель, имеют металлическую связь с ПРП при помощи гибких шунтирующих перемычек на фланцевых разъемах.
6.1.4.17 Электропроводную связь ПРУ с металлической стенкой резервуара выполняют по присоединительным фланцам гибкой перемычкой из медного одножильного многопроволочного кабеля сечением не менее 16 мм2, оконцованного посредством пайки кабельными наконечниками с обеспечением переходного сопротивления не более 0,03 Ом на каждый контакт.
6.1.4.18 В конструкции ПРУ, предназначенного для эксплуатации в резервуаре для авиационного топлива, в соответствии с руководящим документом [2] применяют шунтирующие перемычки, изготовленные из нержавеющей ленты/проволоки общим сечением не менее 24 мм2.
6.1.4.19 Методы защиты от контактной коррозии ПРУ и допустимые контакты с металлами - по ГОСТ 9.005.
6.1.4.20 Конструкция ПРУ обеспечивает ремонтопригодность и возможность проведения замены/ремонта любых составных частей, поставляемых изготовителем, внутри резервуара.
6.1.5 Эргономика
6.1.5.1 ПРУ в части эргономики соответствуют ГОСТ 12.2.049, ГОСТ 21752.
6.1.5.2 Соединение ПРУ с ПРП обеспечивают без применения специального инструмента.
6.2 Сырье, материалы, покупные изделия
6.2.1 Материалы и покупные изделия выбирают в соответствии с настоящим стандартом, другими национальными стандартами Российской Федерации, межгосударственными стандартами, международными стандартами и/или техническими условиями на материалы и покупные изделия, а также требованиями заказчика.
6.2.2 Качество и технические характеристики всех материалов и покупных изделий, используемых для изготовления ПРУ, при проведении входного контроля по ГОСТ 24297 подтверждают паспортами/сертификатами соответствия или протоколами/актами лабораторных испытаний, проводимых аккредитованной лабораторией.
6.2.3 Материалы и покупные изделия, используемые для изготовления ПРУ, без предоставления паспортов/сертификатов соответствия к сборке не допускают.
6.2.4 Патрубок, зонт, рассекатель ПРУ изготавливают из стальных сварных труб по ГОСТ 20295 или стальных бесшовных труб по ГОСТ 8731, стального проката из сталей марок Ст3сп5 по ГОСТ 380, 20 и 10Г2 по ГОСТ 1050 или 09Г2С по ГОСТ 19281 в соответствии с КД.
6.2.5 Фланцы изготавливают по ГОСТ 33259 из стали марок, указанных в ГОСТ 33259, или из стали марки 09Г2С по ГОСТ 19281 в соответствии с КД.
6.2.6 На фланцевых соединениях ПРУ применяют прокладки фланцевые из армированного терморасширенного графита или паронита по ГОСТ 481.
6.2.7 Категория прочности крепежных изделий - в соответствии с КД.
6.2.8 Болты и гайки для соединительных фланцев изготавливают из сталей марок по ГОСТ 33259 в соответствии с условиями их эксплуатации. Остальные крепежные изделия изготавливают из сталей марок Ст3сп5 по ГОСТ 380, 20 по ГОСТ 1050, 09Г2С по ГОСТ 19281 в соответствии с КД.
6.2.9 Материал упоров для регулирования ПРУ по высоте и уклону днища подбирают с учетом рабочей среды.
6.2.10 На крепежные изделия наносят гальваническое покрытие, защищающее от коррозии. В конструкции ПРУ, предназначенного для эксплуатации в резервуарах с авиационным топливом, применяют крепежные изделия из коррозионно-стойкой стали.
6.2.11 Для изготовления ПРУ, предназначенных для эксплуатации в резервуарах с авиационным топливом по ГОСТ Р 18.12.02, в конструкции элементов, имеющих непосредственный контакт с авиационным топливом, применение материалов, содержащих медь, цинк, кадмий и их сплавы, не допускается.
6.2.12 Заглушки, применяемые при транспортировании ПРУ, изготавливают из материала, обеспечивающего стойкость к песку, пыли, грязи и воздействию окружающей среды в соответствующих климатических условиях по ГОСТ 15150.
6.2.13 По согласованию с заказчиком допускается замена материала на другие марки, свойства которых не ухудшают качества деталей и ПРУ в целом.
6.2.14 Замену материалов и внесение изменений в технические документы осуществляет изготовитель ПРУ согласно ГОСТ 2.503.
6.3 Изготовление
6.3.1 Все сварные соединения выполняют механизированной сваркой в среде защитных газов по ГОСТ 14771 или ручной электродуговой сваркой по ГОСТ 16037, ГОСТ 5264. Прожоги, трещины и другие дефекты, указанные в КД, в сварных швах не допускаются.
6.3.2 Конкретные указания по технологии и режимам сварки при изготовлении ПРУ устанавливают в технологических картах на сварку с учетом марки стали, диаметров трубных элементов, толщины металла и пространственного положения сварного стыка.
6.3.3 Применяемые технологии сварки и сварочное оборудование аттестуют в установленном порядке. Сварочные работы выполняют аттестованные сварщики.
6.3.4 Расположение элементов, геометрические размеры, количество регулировочных болтов и упоров - в соответствии с КД.
6.3.5 Детали, имеющие механические повреждения, загрязнения, следы коррозии, к сборке не допускаются.
6.4 Антикоррозионная защита
6.4.1 Металлические поверхности сборочных единиц ПРУ покрывают грунтовкой по ГОСТ 25129, кроме рабочих поверхностей фланцев. Подготовку металлических поверхностей к окрашиванию выполняют по ГОСТ 9.032, ГОСТ 9.402.
6.4.2 ПРУ в резервуаре, в том числе под авиационное топливо, покрывают таким же антикоррозионным покрытием, что и внутреннюю поверхность резервуара.
6.5 Комплектность
6.5.1 В комплект поставки ПРУ входят:
- ПРУ в соответствии с техническими условиями;
- сопроводительные документы.
По согласованию с заказчиком ПРУ с учетом конструкции дополнительно комплектуют:
- регулируемыми упорами для опирания на днище резервуара;
- ответными фланцами, уплотнительными прокладками, крепежными деталями;
- шунтирующими перемычками;
- другими изделиями.
6.5.2 В комплект сопроводительных документов входят:
- паспорт;
- руководство по эксплуатации;
- инструкция по монтажу;
- монтажный/сборочный чертеж (допускается в составе инструкции по монтажу);
- копия декларации соответствия [3];
- копия сертификата соответствия [4] (для комплектующих изделий электрооборудования);
- сертификаты соответствия, а при их отсутствии протоколы лабораторных испытаний материалов, применяемых для изготовления;
- упаковочный лист;
- комплектовочная ведомость.
Примечание - Допускается объединять руководство по эксплуатации с инструкцией по монтажу.
6.6 Маркировка
6.6.1 Нанесение маркировки выполняют в доступном для обзора и прочтения при монтаже и эксплуатации месте. Маркировку наносят способом, обеспечивающим сохранность и четкость надписей в течение всего срока службы ПРУ.
6.6.2 Маркировка содержит следующие данные:
- наименование или товарный знак изготовителя;
- обозначение ПРУ;
- номинальный диаметр;
- заводской номер и дату изготовления;
- массу, кг;
- клеймо ОТК.
6.6.3 На каждое грузовое место наносят транспортную маркировку в соответствии с ГОСТ 14192, содержащую основные, дополнительные и информационные надписи, а также манипуляционные знаки. Транспортную маркировку наносят на ярлыки или непосредственно на тару по трафарету черной, не смываемой водой краской или другими методами, обеспечивающими четкость и сохранность маркировки.
6.6.4 Бумажные, картонные, фанерные или металлические ярлыки для нанесения транспортной маркировки - по ГОСТ 14192.
6.7 Упаковка
6.7.1 ПРУ после приемки упаковывают согласно ГОСТ 23170 и КД.
6.7.2 ПРУ относят к группе изделий I-3 по ГОСТ 9.014.
6.7.3 Все обработанные поверхности, не имеющие защитных покрытий, подвергающиеся коррозии в атмосферных условиях, консервируют по ГОСТ 9.014. Средство временной защиты - по КД.
6.7.4 Варианты внутренней упаковки по ГОСТ 9.014:
- для ПРУ - ВУ-1 (с упаковочными средствами УМ-1, УМ-3);
- для сопроводительных документов - ВУ-2 (с упаковочными средствами УМ-1 и УМ-4).
6.7.5 Упаковка обеспечивает сохранность ПРУ при транспортировании и хранении при условиях и в течение сроков, установленных в настоящем стандарте и эксплуатационных документах.
6.7.6 Категория упаковки в части воздействия климатических факторов - согласно КД в соответствии с ГОСТ 23170.
6.7.7 Крепежные изделия упаковывают в оберточную или парафинированную бумагу по ГОСТ 9569, ГОСТ 8273.
6.7.8 Тип и конструкция транспортной тары - по ГОСТ 10198, ГОСТ 12082, ГОСТ 18617 или ГОСТ 2991. Размеры тары - по ГОСТ 21140.
6.7.9 Сопроводительные документы, прилагаемые к ПРУ, упаковывают по ГОСТ 23170.
6.7.10 Тару изготавливают по КД изготовителя.
7 Безопасность
7.1 Конструктивная безопасность
Конструктивная безопасность - в соответствии с федеральными законами [5] и [6], техническими регламентами [3] и [4], ГОСТ 12.2.003, ГОСТ 12.3.002 и настоящим стандартом.
7.2 Безопасность при эксплуатации
7.2.1 Монтаж, эксплуатация, техническое диагностирование и ремонт ПРУ - в соответствии с Федеральными законами [5] и [6], ГОСТ 12.1.004, ГОСТ 12.1.010, правилами [7] и [8].
7.2.2 К монтажу/демонтажу, техническому диагностированию и ремонту ПРУ допускается квалифицированный персонал не моложе 18 лет, имеющий аттестацию (проверку знаний) по вопросам безопасности в необходимых областях для выполнения работ, прошедший обязательные предварительные (при поступлении на работу) и периодические (в течение трудовой деятельности) медицинские осмотры (обследования), не имеющий медицинских противопоказаний и признанный годным к выполнению работ, прошедший обучение безопасным методам и приемам выполнения работ, инструктаж по охране труда, стажировку на рабочем месте, проверку знаний требований охраны труда, методов оказания первой помощи пострадавшим, а также изучивший:
- устройство ПРУ;
- инструкцию по монтажу и руководство по эксплуатации.
7.2.3 Организация процесса производства ПРУ - по ГОСТ 12.3.002.
7.3 Безопасность при транспортировании, погрузочно-разгрузочных работах и хранении
7.3.1 Безопасность при погрузочно-разгрузочных работах - по ГОСТ 12.3.009 и ГОСТ 12.3.020.
7.3.2 Строповку ПРУ выполняют в соответствии со схемой строповки, приведенной в КД и руководстве по эксплуатации.
7.3.3 Для упаковки и консервации необходимо применять безопасные для людей и окружающей среды материалы и вещества.
8 Охрана окружающей среды
8.1 Материалы, применяемые при монтаже, техническом обслуживании и техническом диагностировании ПРУ, не причиняют вреда окружающей среде и здоровью человека.
8.2 ПРУ (его составные части), вышедшие из строя и отработавшие свой ресурс, передают на утилизацию, обезвреживание или дальнейшее размещение специализированным предприятиям, имеющим лицензию на осуществление деятельности по сбору, транспортированию, обработке, утилизации, обезвреживанию, размещению отходов в соответствии с Федеральным законом [9].
8.3 Материалы, применяемые для упаковки и консервации, утилизируют после утраты ими потребительских свойств в соответствии с Федеральным законом [9].
9 Правила приемки
9.1 Общие указания
9.1.1 Испытания ПРУ проводят по ГОСТ Р 15.301, ГОСТ 15.309 и настоящему стандарту.
9.1.2 Все виды испытаний, кроме приемо-сдаточных, проводит комиссия, назначенная в соответствии с ГОСТ Р 15.301 и ГОСТ 15.309.
Приемо-сдаточные испытания проводит ОТК. По требованию заказчика (по условию договора) приемо-сдаточные испытания проводят с участием представителя заказчика силами и средствами изготовителя.
9.1.3 Изготовитель проводит следующие виды контрольных испытаний:
а) на этапе разработки продукции:
- предварительные;
- приемочные;
б) готовой продукции:
- квалификационные;
- приемо-сдаточные;
- периодические;
- типовые.
9.1.4 По требованиям заказчика допускается подвергать ПРУ дополнительным видам испытания.
9.1.5 На этапе разработки ПРУ изготовитель проводит испытания по программе и методике испытаний, разработанной и утвержденной изготовителем.
9.1.6 Испытания готовой продукции проводят по программе и методике испытаний, разработанной и утвержденной изготовителем, согласованной в установленном порядке.
9.1.7 Порядок проведения повторных испытаний и условия окончательного забракования - по ГОСТ 15.309.
9.2 Виды испытаний
9.2.1 Предварительные
Предварительные испытания проводят в соответствии с ГОСТ Р 15.301, программой и методикой предварительных испытаний, разработанной и утвержденной изготовителем.
9.2.2 Приемочные
Приемочные испытания проводят в соответствии с ГОСТ Р 15.301, программой и методикой приемочных испытаний, разработанной и утвержденной изготовителем.
9.2.3 Квалификационные
Квалификационные испытания проводят в соответствии с ГОСТ Р 15.301, программой и методикой квалификационных испытаний, разработанной и утвержденной изготовителем, согласованной с заказчиком.
9.2.4 Приемо-сдаточные испытания
9.2.4.1 Приемо-сдаточные испытания проводят в соответствии с ГОСТ 15.309, программой и методикой приемо-сдаточных испытаний, разработанной и утвержденной изготовителем, согласованной в установленном порядке.
9.2.4.2 Приемо-сдаточным испытаниям подвергают каждое ПРУ.
9.2.4.3 Результаты приемо-сдаточных испытаний оформляют протоколом приемо-сдаточных испытаний по ГОСТ 15.309.
9.2.5 Периодические испытания
9.2.5.1 Периодические испытания проводят в соответствии с ГОСТ 15.309, программой и методикой периодических испытаний, разработанной и утвержденной изготовителем, согласованной в установленном порядке.
9.2.5.2 Периодические испытания проводят не реже 1 раза в 5 лет, если иное не определено заказчиком.
9.2.5.3 Периодическим испытаниям подвергают одно ПРУ каждого типоразмера, отобранное методом случайного отбора по ГОСТ 18321 из партии, изготовленное в контролируемый период и прошедшее приемо-сдаточные испытания.
9.2.5.4 Результаты периодических испытаний оформляют актом периодических испытаний по ГОСТ 15.309.
9.2.6 Типовые испытания
9.2.6.1 Типовые испытания проводят в соответствии с ГОСТ 15.309, программой и методикой типовых испытаний, разработанной и утвержденной изготовителем, согласованной в установленном порядке.
9.2.6.2 Результаты типовых испытаний оформляют актом типовых испытаний по ГОСТ 15.309.
9.3 Средства измерений и испытательное оборудование
9.3.1 Испытания ПРУ проводит изготовитель на специально отведенном и оборудованном участке, оснащенном необходимыми средствами испытаний (средствами измерений).
9.3.2 Метрологическое обеспечение испытаний - по ГОСТ Р 51672.
9.3.3 Испытания проводят на испытательном оборудовании, аттестованном в соответствии с ГОСТ Р 8.568, имеющем действующее свидетельство об аттестации, укомплектованном средствами защиты и приборами, имеющими эксплуатационные документы.
9.3.4 При проведении испытаний применяют средства измерений утвержденного типа и внесенные в Федеральный информационный фонд по обеспечению единства измерений, имеющие действующие отметки о поверке.
9.3.5 При выборе средств измерений значения допускаемых погрешностей измерений принимают по ГОСТ 8.051 и ГОСТ 8.549.
10 Методы контроля
10.1 ПРУ подвергают следующим испытаниям и проверкам:
- проверка комплектности и содержания сопроводительных документов;
- измерения геометрических параметров;
- проверка габаритных и присоединительных размеров;
- визуальный и измерительный контроль сварных соединений;
- проверка качества антикоррозионной защиты;
- проверка массы;
- проверка комплектности, маркировки и упаковки;
- проверка на герметичность ПРУ (при необходимости);
- проверка на герметичность поворотного затвора (при наличии);
- проверка работоспособности приводов поворотного затвора ПРУ (при наличии);
- проверка работоспособности регулируемых упоров (при наличии).
10.2 В методику испытаний включают:
- схемы испытаний (измерений);
- описание метода испытаний (измерений);
- формулы расчета (при необходимости);
- номограммы, диаграммы, графики зависимости отдельных параметров изделия от состояния внешней среды, других параметров, необходимые для определения показателей (характеристик) ПРУ (при необходимости).
10.3 Стойкость ПРУ к сейсмическим воздействиям подтверждают расчетом по ГОСТ 30546.1 или испытаниями на сейсмостойкость по ГОСТ 30546.2.
10.4 По требованию заказчика ПРУ подвергают дополнительным видам испытаний и проверок.
11 Транспортирование и хранение
11.1 ПРУ транспортируют железнодорожным, автомобильным, водным и воздушным транспортом в соответствии с правилами перевозки грузов и техническими условиями на перевозку и крепление грузов, действующими на каждом виде транспорта.
11.2 Условия транспортирования и хранения в части воздействия климатических факторов - 5 (ОЖ4) по ГОСТ 15150.
11.3 Условия транспортирования в части воздействия механических факторов - жесткие (Ж) по ГОСТ 23170.
11.4 Погрузку, транспортирование, выгрузку и хранение ПРУ производят, соблюдая меры, обеспечивающие предохранение от механических повреждений и попадания влаги.
11.5 ПРУ хранят в закрытом помещении или под навесом, в штабелях высотой не более 2,5 м. При хранении под навесом ПРУ укладывают на деревянные подкладки и защищают от прямого воздействия атмосферных осадков.
11.6 При хранении свыше 2 лет или обнаружении дефектов временной противокоррозионной защиты при контрольных осмотрах в процессе хранения проводят переконсервацию по ГОСТ 9.014.
12 Указания по эксплуатации
12.1 Эксплуатацию, техническое диагностирование и ремонт ПРУ выполняют согласно руководству по эксплуатации и инструкции по монтажу ПРУ.
12.2 Монтаж ПРУ проводят в соответствии с монтажным чертежом, руководством по эксплуатации или инструкцией по монтажу изготовителя с соблюдением требований безопасности, указанных в разделе 7, и требований охраны окружающей среды, указанных в разделе 8.
12.3 В конструкции ПРУ необходимо предусматривать возможность проведения технического обслуживания и ремонта с заменой деталей, сборочных единиц в зачищенном от донных отложений и дегазированном резервуаре.
13 Гарантии изготовителя
13.1 Изготовитель гарантирует соответствие ПРУ настоящему стандарту и КД при соблюдении условий транспортирования, хранения, монтажа и эксплуатации.
13.2 Гарантийный срок эксплуатации - не менее 12 мес со дня ввода в эксплуатацию или не менее 18 мес с момента отгрузки потребителю.
Приложение А
(справочное)
ОПИСАНИЕ И ОБЩИЙ ВИД ПРИЕМО-РАЗДАТОЧНОГО УСТРОЙСТВА
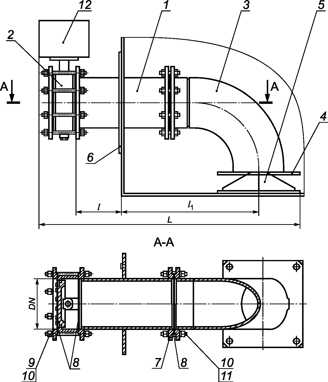
А.1 ПРУ придонного (сниженного) типа представляет собой патрубок с отводом, направленным к днищу резервуара, на нижнем торце которого установлены зонт и рассекатель параллельно днищу резервуара. Допускается комплектовать ПРУ поворотными затворами с ручным или электрическим приводом. Поворотный затвор устанавливают как снаружи, так и внутри резервуара. Общий вид ПРУ придонного (сниженного) типа приведен на рисунке А.1.
а) При высоком расположении
приемо-раздаточного патрубка (HПРУ < Hф)
б) При сниженном расположении
приемо-раздаточного патрубка (HПРУ >= Hф)
1 - зонт с полкой; 2 - отвод; 3 - шпилька зонта;
4 - шунтирующая перемычка; 5 - ПРП резервуара; 6 - стенка
резервуара; 7 - регулируемые упоры; 8 - рассекатель
Рисунок А.1 - Общий вид приемо-раздаточного устройства
придонного (сниженного) типа
А.2 Общий вид ПРУ с внутренним расположением затвора приведен на рисунке А.2.
1 - патрубок; 2 - затвор дисковый; 3 - отвод; 4 - зонт;
5 - рассекатель; 6 - лист усиливающий; 7 - тяга;
8 - рычаг; 9 - проводной узел; 10 - прокладка;
11 - шпилька; 12 - гайка; 13 - привод
Рисунок А.2 - Общий вид приемо-раздаточного устройства
с внутренним расположением затвора
А.3 Общий вид ПРУ с внешним расположением затвора приведен на рисунке А.3.
1 - патрубок; 2 - затвор дисковый; 3 - отвод;
4 - зонт; 5 - рассекатель; 6 - лист усиливающий;
7 - фланец; 8 - прокладка; 9 - шпилька;
10 - гайка; 11 - болт; 12 - привод
Рисунок А.3 - Общий вид приемо-раздаточного устройства
с внешним расположением затвора
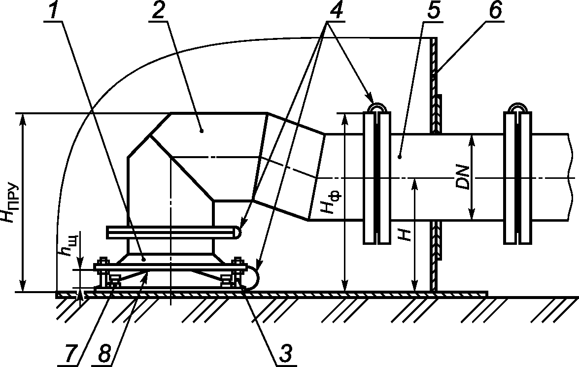
А.4 ПРУ диффузорного типа представляет собой патрубок, направленный к центру резервуара, устанавливаемый на уровне ПРП и имеющий в стенке с одной или двух сторон одно или несколько отверстий. ПРУ диффузорного типа устанавливают на впускных ПРП резервуаров с понтоном/плавающей крышей. Общий вид ПРУ диффузорного типа приведен на рисунке А.4.
1 - заглушка; 2 - шунтирующая перемычка; 3 - стойка;
4 - технологические отверстия; 5 - обечайка; 6 - сливное
отверстие; 7 - стенка резервуара; 8 - накладка на днище
Рисунок А.4 - Общий вид приемо-раздаточного устройства
диффузорного типа
А.5 Общий вид ПРУ специального типа с плавающим заборным устройством приведен на рисунке А.5.
1 - поплавок; 2 - труба заборная; 3 - жесткая связь;
4 - кронштейны; 5 - трос; 6 - стойка
Рисунок А.5 - Общий вид приемо-раздаточного устройства
специального типа с плавающим заборным устройством
БИБЛИОГРАФИЯ
[1]
MSK-64
Шкала сейсмической интенсивности MSK-1964
[2]
Инструкция по устройству молниезащиты зданий и сооружений
[3]
Технический регламент Таможенного союза
О безопасности машин и оборудования
[4]
Технический регламент Таможенного союза
О безопасности оборудования для работы во взрывоопасных средах
[5]
Федеральный закон от 22 июля 2008 г. N 123-ФЗ "Технический регламент о требованиях пожарной безопасности"
[6]
Федеральный закон от 21 июля 1997 г. N 116-ФЗ "О промышленной безопасности опасных производственных объектов"
[7]
Правила проектирования, изготовления и приемки сосудов и аппаратов стальных сварных
[8]
Правила противопожарного режима в Российской Федерации (утверждены постановлением Правительства Российской Федерации 25 апреля 2012 г. N 390)
[9]
Федеральный закон от 24 июня 1998 г. N 89-ФЗ "Об отходах производства и потребления"
УДК 624.873:006.354
ОКС 75.200
ОКПД2 25.29
Ключевые слова: приемо-раздаточное устройство, резервуар, безопасность, методы контроля и испытаний