Код классификационной группировки кресел-колясок по ГОСТ Р ИСО 9999 (номер вида кресел-колясок в соответствии с [1]) | Наименование классификационной группировки (вида) кресел-колясок |
Вспомогательные средства для персональной мобильности | |
Кресла-коляски с ручным приводом. Этот подкласс включает, например, кресла-коляски: - типа stand-up; - с ручным приводом из полулежачего положения; - для передвижения по снегу; - для передвижения по морскому берегу | |
Кресла-коляски с двуручным приводом колес. Эта группа включает, например, кресла-коляски с двуручным приводом: - на передние колеса кресла-коляски и - задние колеса кресла-коляски | |
Кресла-коляски с двуручным рычажным приводом | |
Кресла-коляски с односторонним ручным приводом. Эта группа включает, например, кресла-коляски с рычажной системой привода одной рукой | |
Кресла-коляски с ручным приводом и дополнительным электроприводом | |
Кресла-коляски с ножным приводом | |
Кресла-коляски с ручным приводом, управляемые сопровождающим лицом (кресла-каталки) | |
Кресла-коляски со вспомогательным приводом, управляемые сопровождающим лицом | |
12 22 22 | Кресла-коляски с ручным приводом комнатные (для инвалидов и детей-инвалидов). Эта группа включает в себя кресла-коляски с ручным приводом: |
- с дополнительной фиксацией (поддержкой) головы и тела, в том числе для больных ДЦП, комнатные (для инвалидов и детей-инвалидов); | |
- комнатные для управления одной рукой (для инвалидов и детей-инвалидов) | |
12 22 23 | Кресла-коляски с ручным приводом прогулочные (для инвалидов и детей-инвалидов). Эта группа включает в себя кресла-коляски: |
- с ручным приводом с дополнительной фиксацией (поддержкой) головы и тела, в том числе для больных ДЦП, прогулочные (для инвалидов и детей-инвалидов); | |
- прогулочные с двуручным рычажным приводом (для инвалидов и детей-инвалидов); | |
- с ручным приводом для управления одной рукой прогулочные (для инвалидов и детей-инвалидов) | |
12 22 24 | Кресла-коляски с ручным приводом активного типа (для инвалидов и детей-инвалидов) |
Кресла-коляски с силовым приводом. Этот подкласс включает, например, кресла-коляски: - с силовым приводом типа stand-up; - управляемые пользователями, находящимися в полулежачем положении; - с поднимающимися или наклоняющимися сиденьями; - для передвижения по снегу; - для передвижения по морскому берегу | |
12 23 01 | Кресла-коляски с электроприводом (для инвалидов и детей-инвалидов). Эта группировка включает в себя кресла-коляски с электроприводом с дополнительной фиксацией (поддержкой) головы и тела, в том числе для больных ДЦП (для инвалидов и детей-инвалидов) |
Кресла-коляски с электроприводом и ручным управлением | |
12 23 04 | Скутеры |
Кресла-коляски с электроприводом и электронным управлением | |
12 23 07 | Балансирующие кресла-коляски |
Кресла-коляски с приводом от двигателя внутреннего сгорания | |
Кресла-коляски с электроприводом, управляемые сопровождающим лицом | |
Кресла-коляски с силовым приводом, перемещающиеся вверх по лестнице | |
12 23 16 | Малогабаритные кресла-коляски (для инвалидов и детей-инвалидов) |
Принадлежности кресел-колясок, которые включают, например: - ненательные средства для абсорбирования мочи и фекалий одноразового использования (код 09 30 42 по ГОСТ Р ИСО 9999); - ненательные средства для абсорбирования мочи и фекалий, пригодные к стирке (код 09 30 45 по ГОСТ Р ИСО 9999); - вспомогательные средства для перемещения человека, сидящего в кресле-коляске, при посадке в транспортное средство или высадке из него (код 12 12 18 по ГОСТ Р ИСО 9999); - вспомогательные средства для погрузки порожнего кресла-коляски на транспортное средство или внутрь него (код 12 12 21 по ГОСТ Р ИСО 9999); - вспомогательные средства для фиксации (закрепления) кресла-коляски в транспортном средстве (код 12 12 24 по ГОСТ Р ИСО 9999); - лестничные подъемники (код 12 17 03 по ГОСТ Р ИСО 9999) | |
Системы управления и контроля для кресел-колясок | |
12 24 04 | Система рулевого управления креслом-коляской |
Силовые блоки [энергетические агрегаты] для кресел-колясок с ручным управлением | |
Приборы осветительные и аварийной сигнализации для кресел-колясок включают, например, задние сигнальные маячки, рефлекторы (отражатели) | |
Рабочая система торможения кресел-колясок, которая включает, например, рабочие тормоза | |
12 24 19 | Стояночная система торможения кресла-коляски, которая включает, например, стояночный тормоз |
Шины и колеса для кресел-колясок, которые включают, например: - самоориентирующиеся колеса; - полозья для снега | |
Аккумуляторные батареи и зарядные устройства для кресел-колясок | |
Устройства для чистки кресла-коляски или его определенной части | |
Устройства для защиты кресел-колясок и их пользователей от воздействия солнечных лучей и осадков, которые включают, например, зонтики и навесы для кресел-колясок | |
Устройства подсоединения кресла-коляски к велосипеду | |
Устройства, которые прикрепляют к креслам-коляскам для облегчения перемещения вверх и вниз по лестнице | |
Устройства, прикрепляемые к креслам-коляскам для удержания и перевозки предметов (вещей), включающие, например, мешочки, корзины и кейсы, которые крепят к креслу-коляске, держатели тростей и костылей, и багажники для обуви | |
Устройства для контроля (наблюдения) за средой, окружающей кресло-коляску, которые включают, например, зеркала заднего вида, камеру наблюдения |
кресло-коляска (Нрк. инвалидное кресло-коляска, инвалидная коляска): Техническое средство реабилитации на колесах, оснащенное системой поддержки сиденья и предназначенное для персонального передвижения одного человека (пользователя) с ограниченной подвижностью. [ГОСТ Р 51083-2015, пункт 3.1] | en wheelchair |
кресло-коляска с ручным приводом: Кресло-коляска, рассчитанное на применение мускульной силы пользователя или сопровождающего при его использовании. [ГОСТ Р ИСО 7176-26-2011, статья 4.1.2] | en manual wheelchair |
Примечание - Технические требования и методы испытаний кресел-колясок определены в ГОСТ Р 51083. | |
stand-up manual wheelchair | |
reeling manual wheelchair | |
snow wheelchair | |
beach wheelchair | |
bimanual handrim-drive wheelchair | |
кресло-коляска с ободом ручного привода: Кресло-коляска с двуручным приводом, которое приводится в движение и направляется за счет использования ободов ручного привода. [ГОСТ Р ИСО 7176-26-2011, статья 4.1.3] | en handrims-drive wheelchair |
bimanual level-drive wheelchair | |
single-side manual drive wheelchair | |
handrim-activated power-assisted wheelchair | |
foot-propelled wheelchair | |
кресло-каталка: Кресло-коляска с ручным приводом, приводимое в движение за счет толкающего усилия сопровождающего. [ГОСТ Р ИСО 7176-26-2011, статья 4.1.6] | en push wheelchair |
кресло-коляска для перемещения в проходах: Кресло-каталка, предназначенное для использования в узких проходах, например таких, как в самолетах. [ГОСТ Р ИСО 7176-26-2011, статья 4.1.7] | en aisle wheelchair |
5.15 кресло-коляска со вспомогательным силовым приводом, управляемое сопровождающим лицом: Кресло-коляска, приводимое в движение сопровождающим лицом, толкающим кресло-коляску обеими руками за поручни, и оснащенное одним или двумя электрическими механизмами, помогающими вращать одно или оба колеса кресла-коляски. | power-assisted push wheelchair |
powered wheelchair | |
5.17 кресло-коляска с электроприводом [Нрк. электрическое кресло (кресло-коляска), кресло (кресло-коляска) с механизированным приводом]: Кресло-коляска, оснащенное электрической силовой установкой с возможностью быть управляемым вручную или механической силой. Примечание - Частные технические требования и методы испытаний кресел-колясок с электроприводом и скутеров определены: | electrically powered wheelchair |
electrically powered wheelchair with manual direct steering | |
скутер: Кресло-коляска с электроприводом и рулевым рычагом для прямого рулевого управления движением. [ГОСТ Р ИСО 7176-26-2011, статья 4.1.9] | en scooter |
electrically powered wheelchair with electronic steering | |
combustion powered wheelchair | |
assistant-controlled electrically powered wheelchair | |
stair-climbing powered wheelchair | |
кресло-коляска с жесткой рамой: Кресло-коляска с элементами рамы под сиденьем, которые закреплены и не могут быть сложены. [ГОСТ Р ИСО 7176-26-2011, статья 4.1.13] | en wheelchair underframes |
(само)балансирующее кресло-коляска: Кресло-коляска с электроприводом, равновесие которого поддерживается электронной системой. [ГОСТ Р ИСО 7176-26-2011, статья 4.1.12] | en (self)-balancing wheelchair |
5.26 кресло-коляска в сложенном состоянии: Кресло-коляска со снятыми компонентами, которые можно снять без использования специальных инструментов, полностью сложенное и/или разобранное для уменьшения его размеров таким образом, как это делают для целей хранения или транспортирования без использования инструментов в соответствии с рекомендациями производителя. | stowage wheelchair |
5.27 загруженное кресло-коляска: Кресло-коляска, загруженное пользователем или испытательным манекеном. Примечание - Требования к испытательным манекенам определены в ГОСТ Р ИСО 7176-11. | loaded wheelchair |
складное кресло-коляска: Кресло-коляска с элементами рамы под сиденьем, которые могут быть сложены. [ГОСТ Р ИСО 7176-26-2011, статья 4.1.14] | en folding wheelchair |
active wheelchair | |
кресло-коляска для душа: Кресло-коляска, предназначенное для использования в душе. [ГОСТ Р ИСО 7176-26-2011, статья 4.1.15] | en shower wheelchair |
кресло-коляска с гигиеническим отверстием: Кресло-коляска, предназначенное для использования в туалете. [ГОСТ Р ИСО 7176-26-2011, статья 4.1.16] | en toilet wheelchair |
multifunction wheelchair | |
steering and control system for wheelchairs | |
assistive product for steering of wheelchair | |
контроллер: Устройство, преобразующее входные сигналы от пользователя в выходные сигналы, приводящие в действие элементы силовой установки кресла-коляски. [ГОСТ Р ИСО 7176-26-2011, статья 4.4.2] | en controller |
силовой блок: Часть кресла-коляски с электроприводом, которая включает в себя систему привода, батарею аккумуляторов и колеса и может быть отделена от системы сиденья. [ГОСТ Р ИСО 7176-26-2011, статья 4.4.3] | en powerbase |
propulsion system | |
propulsion unit for manual wheelchairs | |
battery and battery charger for wheelchairs | |
steering system | |
рабочая система торможения кресла-коляски: Совокупность элементов конструкции кресла-коляски, предназначенных для остановки или замедления движения кресла-коляски, включая, например, рабочий тормоз. [ГОСТ Р 51083-2015, пункт 3.10] | en running braking system |
стояночная система торможения кресла-коляски: Совокупность элементов конструкции кресла-коляски, предназначенных для удержания кресла-коляски в неподвижном состоянии с пользователем или без него, которые не требуют применения постоянно действующей силы со стороны оператора и потребления энергии от кресла-коляски. [ГОСТ Р 51083-2015, пункт 3.11] | en parking braking system |
running brake for wheelchair | |
parking brake for wheelchair | |
drive wheel | |
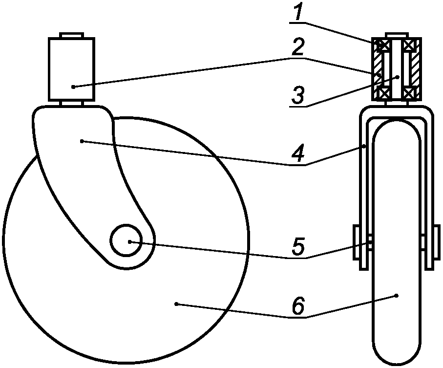
5.46 самоориентирующееся колесо: Колесо с горизонтальной осью вращения, которое может свободно вращаться относительно вертикальной оси. Примечание - См. рисунок 1. | castor wheel |

body support system | |
- сиденье; | seat |
- опору спины; | back support |
- подлокотник; | arm support |
- сборочный узел опоры нижней части ноги. | support assembly |
Примечание - См. рисунок 2. |

5.48 система сиденья кресла-коляски: Совокупность поверхности сиденья и опоры спины пользователя вместе с подсоединяющими их устройствами, а также аксессуары, необходимые для размещения пользователя. Примечание - Частные требования и методы контроля отдельных элементов системы сиденья определены в ГОСТ Р ИСО 16840-2 и ГОСТ Р ИСО 16840-3. | seating system |
система удержания пользователя креслом-коляской: Совокупность устройств (приспособлений), предназначенных для удержания пользователя креслом-коляской в транспортном средстве при столкновении, чтобы предотвратить его выброс и/или минимизировать взаимодействие с внутренними компонентами транспортного средства или с другими пассажирами. [ГОСТ Р 51083-2015, пункт 3.9] | en occupant restraint |
device for cleaning wheelchairs or any part of wheelchair | |
device to protect wheelchairs and their occupants from sunlight or precipitation | |
device to connect a wheelchair to a bicycle | |
device to which a wheelchair is attached, that facilitate movement up and down stairs | |
device attached to wheelchair to hold or carry objects | |
half-hand-bike | |
light and safety signaling device for wheelchair | |
Примечание - Включает, например, зеркало заднего вида, камеру наблюдения. | device to check surrounding of wheelchair |
5.58 габаритная длина кресла-коляски L: Расстояние между самой передней и самой задней точками незагруженного кресла-коляски, включая подножку и опору стопы, полностью подготовленного к использованию по назначению, измеренное параллельно продольной оси кресла-коляски. Примечания 2 Метод измерения определен в ГОСТ Р ИСО 7176-5. | overall length |
5.59 габаритная ширина кресла-коляски B: Расстояние между самыми выступающими боковыми деталями незагруженного кресла-коляски, полностью подготовленного к использованию по назначению, измеренное по горизонтали в направлении, перпендикулярном продольной оси кресла-коляски. Примечания 1 См. рисунок 3. 2 Метод измерения определен в ГОСТ Р ИСО 7176-5. | overall width |
5.60 габаритная высота кресла-коляски H: Расстояние по вертикали от дорожного покрытия (испытательной плоскости) до самой верхней точки, подготовленного к использованию по назначению незагруженного кресла-коляски, с опорой спины в поднятом положении. Примечания 2 Метод измерения определен в ГОСТ Р ИСО 7176-5. | overall height |

5.61 длина кресла-коляски в сложенном состоянии: Расстояние между самой передней и самой задней точками кресла-коляски в сложенном состоянии, измеренное параллельно продольной оси кресла-коляски. Примечание - Метод измерения определен в ГОСТ Р ИСО 7176-5. | stowage length |
5.62 ширина кресла-коляски в сложенном состоянии: Расстояние между двумя наиболее выступающими с боков точками кресла-коляски в сложенном состоянии, измеренное перпендикулярно продольной оси кресла-коляски. Примечание - Метод измерения определен в ГОСТ Р ИСО 7176-5. | stowage width |
5.63 высота кресла-коляски в сложенном состоянии: Вертикальное расстояние от дорожного покрытия (испытательной плоскости) до самой верхней точки кресла-коляски в сложенном состоянии. Примечание - Метод измерения определен в ГОСТ Р ИСО 7176-5. | stowage height |
5.64 центральная точка кресла-коляски: Средняя точка на линии, соединяющей центры фиксированных колес. Примечание - См. рисунок 4. | wheelchair centre-point |
5.65 продольная ось кресла-коляски: Воображаемая горизонтальная линия, проходящая через центральную точку кресла-коляски, совпадающая с прямой линией, соответствующей направлению движения вперед-назад. Примечание - См. рисунок 4. | wheelchair longitudinal axis |

5.66 клиренс кресла-коляски: Наименьшее расстояние между дорожным покрытием (испытательной поверхностью) и любой точкой загруженного кресла-коляски, кроме колес. Примечания 1 См. рисунок 5. 2 Метод измерения определен в ГОСТ Р ИСО 7176-5. | ground clearance |

общая масса кресла-коляски: Масса кресла-коляски, подготовленного к использованию, но не загруженного. [ГОСТ Р ИСО 7176-26-2011, статья 4.3.12] | en total mass |
5.68 колесная база кресла-коляски: Продольное расстояние между точками контакта с дорожным покрытием (испытательной поверхностью) переднего и заднего колес с любым из рулевых колес, развернутых в сторону движения. Примечания 1 См. рисунок 6. 2 Метод измерения определен в ГОСТ Р ИСО 7176-5. | wheelbase |

5.69 прямое [обратное] схождение колес кресла-коляски: Положение (разворот) колес, при котором передние [задние] части колес ближе друг к другу, чем задние (y > x) [чем передние (x > y)] Примечания 1 См. рисунок 7. 2 Метод измерения углов прямого и обратного схождения колес определен в ГОСТ Р 51083. | direct convergence of wheelchair |


5.70 развал колес кресла-коляски: Отклонение плоскостей вращения колес кресла-коляски от вертикальной плоскости. Примечания 1 См. рисунок 8. 2 Положительный развал колес, если отклонение плоскости вращения колеса направлено наружу. 3 Отрицательный развал колес, если отклонение плоскости вращения колеса направлено внутрь. | camber of wheelchair |

mobility of wheelchair | |
5.72 диаметр поворота кресла-коляски: Диаметр наименьшей окружности, в которую вписывается загруженное кресло-коляска при повороте на 360°. Примечание - Метод измерения и расчетов определен в ГОСТ Р ИСО 7176-5. | turning diameter |
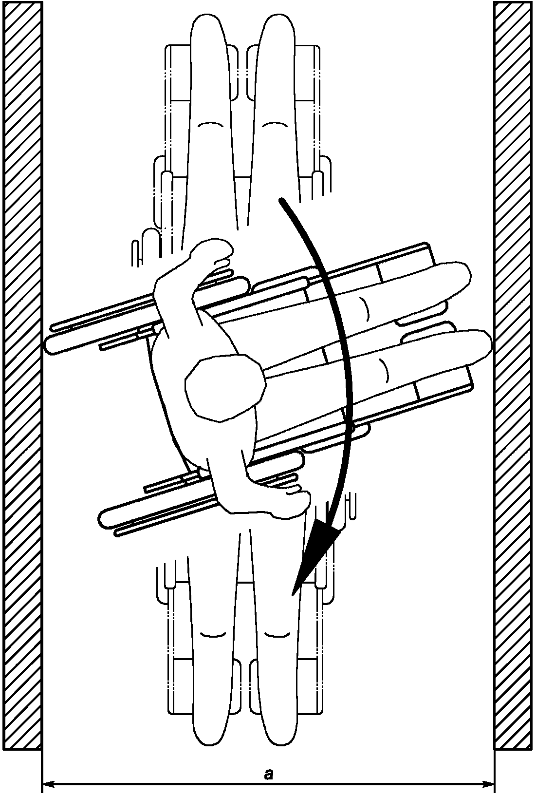
5.73 ширина разворота кресла-коляски: Минимальная ширина коридора, которая требуется загруженному креслу-коляске для разворота на 180°, не касаясь стен, при условии, что допустимо движение кресла-коляски как вперед, так и назад. Примечания 1 См. рисунок 9. 2 Метод измерения определен в ГОСТ Р ИСО 7176-5. | reversing width |

5.74 ширина вращения (поворота) кресла-коляски: Минимальная ширина коридора, которая требуется загруженному креслу-коляске для разворота на 180° при условии, что не может быть использовано движение назад. Примечания 1 См. рисунок 10. 2 Метод измерения определен в ГОСТ Р ИСО 7176-5. | pivot width |

5.75 статическая устойчивость кресла-коляски: Способность кресла-коляски в загруженном положении сохранять контакт колес с наклонным дорожным покрытием, по которому совершает движение это кресло-коляска. Примечание - Статическая устойчивость оценивается предельным углом наклона кресла-коляски, метод измерения которого определен в ГОСТ Р ИСО 7176-1. | static stability of wheelchair |
5.76 предельный угол наклона кресла-коляски: Максимально возможный угол наклона испытательной плоскости, при котором сила давления колеса кресла-коляски, находящегося вверху на плоскости, на опорную поверхность становится равной нулю. Примечание - Метод измерения определен в ГОСТ Р ИСО 7176-1. | wheelchair tipping angle |
5.77 динамическая устойчивость кресла-коляски: Устойчивость напряженно-деформированного состояния конструкции загруженного кресла-коляски при действии на него динамических нагрузок. Примечание - Метод измерения динамической устойчивости кресел-колясок с электроприводом определен в ГОСТ Р ИСО 7176-2. | dynamic stability of wheelchair |
5.78 статическая прочность кресла-коляски: Способность кресла-коляски воспринимать однократно приложенные максимальные внешние силы, не разрушаясь и не получая недопустимых остаточных деформаций. Примечание - Требования и методы испытаний кресел-колясок на статическую прочность определены в ГОСТ Р ИСО 7176-8. | static strengths of wheelchair |
5.79 ударная прочность кресла-коляски: Прочность кресла-коляски при приложении к нему ударной нагрузки. Примечание - Требования и методы испытаний кресел-колясок на ударную прочность определены в ГОСТ Р ИСО 7176-8. | impact strengths of wheelchair |
5.80 усталостная прочность кресла-коляски: Свойство материала кресла-коляски не разрушаться с течением времени под действием изменяющихся рабочих нагрузок. Примечание - Требования и методы испытаний кресел-колясок на усталостную прочность определены в ГОСТ Р ИСО 7176-8. | repetitive load strengths of wheelchair |
база кресла-коляски колесная | |
батарея аккумуляторная для кресел-колясок | |
блок силовой | |
блок для кресел-колясок с ручным управлением силовой | |
высота кресла-коляски в сложенном состоянии | |
высота кресла-коляски габаритная | |
диаметр поворота кресла-коляски | |
длина кресла-коляски в сложенном состоянии | |
длина кресла-коляски габаритная | |
клиренс кресла-коляски | |
колесо кресла-коляски ведущее | |
колесо самоориентирующееся | |
коляска инвалидная | |
контроллер | |
кресло с механизированным приводом | |
кресло электрическое | |
кресло-каталка | |
кресло-коляска | |
кресло-коляска | |
кресло-коляска активного типа | |
кресло-коляска балансирующее | |
кресло-коляска в сложенном состоянии | |
кресло-коляска для душа | |
кресло-коляска для перемещения в проходах | |
кресло-коляска загруженное | |
кресло-коляска инвалидное | |
кресло-коляска многофункциональное | |
кресло-коляска с вертикализатором | |
кресло-коляска с гигиеническим отверстием | |
кресло-коляска с двуручным приводом колес | |
кресло-коляска с двуручным рычажным приводом | |
кресло-коляска с жесткой рамой | |
кресло-коляска с механизированным приводом | |
кресло-коляска с ножным приводом | |
кресло-коляска с ободом ручного привода | |
кресло-коляска с односторонним ручным приводом | |
кресло-коляска с приводом от двигателя внутреннего сгорания | |
кресло-коляска с ручным приводом | |
кресло-коляска с ручным приводом и дополнительным электроприводом | |
кресло-коляска с ручным приводом типа stand-up | |
кресло-коляска с ручным приводом, предназначенное для передвижения по снегу | |
кресло-коляска с ручным приводом, приводимое в движение пользователем из полулежачего положения | |
кресло-коляска с силовым приводом | |
кресло-коляска с электроприводом | |
кресло-коляска с электроприводом и ручным управлением | |
кресло-коляска с электроприводом и силовым электронным управлением | |
кресло-коляска с электроприводом, управляемое сопровождающим лицом | |
кресло-коляска самобалансирующееся | |
кресло-коляска складное | |
кресло-коляска со вспомогательным силовым приводом, управляемое сопровождающим лицом | |
кресло-коляска электрическое | |
кресло-коляска, перемещающееся по лестнице | |
кресло-коляска, предназначенное для передвижения по морскому берегу | |
маневренность кресла-коляски | |
масса кресла-коляски общая | |
ось кресла-коляски продольная | |
приборы сигнализации для кресел-колясок осветительные или аварийные | |
приставка с ручным приводом велосипедная | |
прочность кресла-коляски статическая | |
прочность кресла-коляски ударная | |
прочность кресла-коляски усталостная | |
развал колес кресла-коляски | |
система опоры тела пользователя креслом-коляской | |
система рулевого управления креслом-коляской | |
система сиденья кресла-коляски | |
система торможения кресла-коляски рабочая | |
система торможения кресла-коляски стояночная | |
система удержания пользователя креслом-коляской | |
система управления и контроля для кресел-колясок | |
скутер | |
средство для чистки кресел-колясок или определенной части кресла-коляски | |
средство управления креслом-коляской | |
схождение колес кресла-коляски обратное | |
схождение колес кресла-коляски прямое | |
тормоз для кресла-коляски рабочий | |
тормоз для кресла-коляски стояночный | |
точка кресла-коляски центральная | |
угол наклона кресла-коляски предельный | |
установка кресла-коляски силовая | |
устойчивость кресла-коляски динамическая | |
устойчивость кресла-коляски статическая | |
устройство для защиты кресел-колясок и их пользователей от солнечных лучей и осадков | |
устройство для контроля за средой, окружающей кресло-коляску | |
устройство для кресел-колясок зарядное | |
устройство для подсоединения кресла-коляски к велосипеду | |
устройство, прикрепляемое к креслу-коляске для обеспечения перемещения его вверх и вниз по лестнице | |
устройство, прикрепляемое к креслу-коляске для удержания и перевозки вещей | |
устройство, прикрепляемое к креслу-коляске для удержания и перевозки предметов | |
ширина вращения кресла-коляски | |
ширина кресла-коляски в сложенном состоянии | |
ширина кресла-коляски габаритная | |
ширина поворота кресла-коляски | |
ширина разворота кресла-коляски | |
B | |
H | |
L |
active wheelchair | |||||
aisle wheelchair | |||||
arm support | |||||
assistant-controller electrically powered wheelchair | |||||
assistive product for steering of wheelchair | |||||
back support | |||||
balancing wheelchair | |||||
battery and battery charger for wheelchairs | |||||
beach wheelchair | |||||
bimanual handrim-drive wheelchair | |||||
bimanual level-drive wheelchair | |||||
body support system | |||||
| |||||
camber of wheelchair | |||||
castor wheel | |||||
combustion powered wheelchair | |||||
controller | |||||
devices attached to wheelchair to hold or carry objects | |||||
devices for clearing wheelchair or any art of wheelchair | |||||
devices to check surrounding of wheelchair | |||||
devices to connect a wheelchair to a bicycle | |||||
devices to protect wheelchair from sunlight or precipitation | |||||
devices to which a wheelchair is attached that facilitate movement up and down stairs | |||||
direct convergence of wheelchair | |||||
drive wheel | |||||
dynamic stability of wheelchair | |||||
electrically powered wheelchair | |||||
electrically powered wheelchair with electronic steering | |||||
electrically powered wheelchair with manual direct steering | |||||
folding wheelchair | |||||
foot-propelled wheelchair | |||||
ground clearance | |||||
| |||||
half-hand-bike | |||||
handrim-activated power-assisted wheelchair | |||||
handrims-drive wheelchair | |||||
Impact strength of wheelchair | |||||
light and safety signaling device for wheelchair | |||||
loaded wheelchair | |||||
manual wheelchair | |||||
mobility of wheelchair | |||||
multifunctional wheelchair | |||||
occupant restraint | |||||
overall height | |||||
overall length | |||||
overall width | |||||
parking brake for wheelchair | |||||
parking braking system | |||||
pivot width | |||||
power-assisted push wheelchair | |||||
powerbase | |||||
powered wheelchair | |||||
propulsion system | |||||
propulsion unit for manual wheelchair | |||||
push wheelchair | |||||
reeling manual wheelchair | |||||
| |||||
repetitive load strengths of wheelchair | |||||
reversing width | |||||
running brakes for wheelchair | |||||
running braking system | |||||
scooter | |||||
seat | |||||
seating system | |||||
shower wheelchair | |||||
single-side manual drive wheelchair | |||||
snow wheelchair | |||||
stair-climbing powered wheelchair | |||||
stand-up manual wheelchair | |||||
static stability of wheelchair | |||||
static strengths of wheelchair | |||||
steering and control system for wheelchair | |||||
steering system | |||||
stowage height | |||||
stowage length | |||||
stowage wheelchair | |||||
stowage width | |||||
support assembly | |||||
swiveling wheel | |||||
toilet wheelchair | |||||
total mass | |||||
turning diameter | |||||
wheelbase | |||||
wheelchair | |||||
wheelchair centre-point | |||||
wheelchair longitudinal axis | |||||
wheelchair tipping angle | |||||
wheelchair underframes | |||||
А.1 | ||
вспомогательное средство: Любое средство (включая устройство, оборудование, инструмент и средство программного обеспечения), специально изготовленное или общедоступное для людей с ограничением жизнедеятельности: - для участия (пользования, общения); - для предотвращения повреждений, ограничения деятельности или ограничения участия (общения). [ГОСТ Р ИСО 9999-2014, пункт 2.3] | en | assistive product |
А.2 | ||
вспомогательное средство для персональной мобильности: Вспомогательное средство, предназначенное для обеспечения лица с ограниченной подвижностью способностью передвигаться внутри и снаружи жилого помещения, перемещаться из одного места в другое или использовать персональный или общественный транспорт. [ГОСТ Р ИСО 9999-2014, раздел 6, класс 12] | en | assistive product for activities and participation relating to personal mobility |
А.3 | ||
ограничение жизнедеятельности: Полная или частичная утрата лицом способности и возможности осуществлять самообслуживание, самостоятельно передвигаться, ориентироваться, общаться, контролировать свое поведение, обучаться, заниматься трудовой деятельностью. | en | disability |
А.4 человек с ограничениями жизнедеятельности: Лицо, которое имеет нарушение здоровья со стойким или обратимым расстройством функций организма, обусловленное заболеваниями, последствиями травм или дефектами, приводящее к ограничению жизнедеятельности и вызывающее необходимость социальной защиты или помощи. | en | person with disability |
А.5 | ||
инвалид: Лицо, которое имеет нарушение здоровья со стойким расстройством функций организма, обусловленное заболеваниями, последствиями травм или дефектами, приводящее к ограничению жизнедеятельности и вызывающее необходимость его социальной защиты. | ||
А.6 | ||
техническое средство реабилитации инвалидов; ТСР: Устройство (вспомогательное), содержащее технические решения, в том числе специальные, используемые для компенсации или устранения стойких ограничений жизнедеятельности инвалидов. Примечание - ТСР включают, например, в том числе специальные средства для передвижения (кресла-коляски). | en | technical assistive product for rehabilitee of persons with disability |
А.7 | ||
оператор: Лицо, управляющее креслом-коляской. Примечание - Оператором может быть как пользователь, так и сопровождающий. [ГОСТ Р ИСО 7176-26-2011, статья 4.2.1] | en | operator |
А.8 | ||
пользователь (Нрк. потребитель): Лицо, поддерживаемое системой сиденья кресла-коляски. [ГОСТ Р ИСО 7176-26-2011, статья 4.2.2] | en | occupant |
А.9 | ||
сопровождающий (Нрк. провожающий): Лицо, не являющееся пользователем, которое управляет креслом-коляской. [ГОСТ Р ИСО 7176-26-2011, статья 4.2.3] | en | assistant |
А.10 | ||
способность самостоятельно передвигаться: Способность самостоятельно перемещаться в пространстве, преодолевать препятствия, сохранять равновесие тела в рамках выполняемой бытовой, общественной, профессиональной деятельности. [Постановление Министерства труда России и Министерства здравоохранения [4] от 29 января 1997 г. N 1/30] | ||
А.11 | ||
испытательный манекен: Устройство, используемое для нагрузки кресла-коляски при испытании. [ГОСТ Р ИСО 7176-11-2015, пункт 3.7] | en | test dummy |
Примечание - Технические характеристики приведены в ГОСТ Р ИСО 7176-11-2015. | ||
А.12 | ||
клиническая оценка кресла-коляски: Средство, подтверждающее соответствие или несоответствие кресла-коляски требованиям Директивы ЕС 93/42/ЕЭС. Примечание - Клиническая оценка может включать в себя набор клинических данных научной литературы и по возможности результатов проведенных клинических обследований с учетом соответствующих согласованных стандартов. | ||
А.13 реабилитационный эффект кресла-коляски: Совокупность показателей эффективности (полезности) применения кресла-коляски в целях устранения или компенсации ограничения жизнедеятельности пользователя креслом-коляской и реализации его реабилитационного потенциала. | ||
А.14 | ||
реабилитационный потенциал: Комплекс биологических и психофизиологических характеристик человека, а также социально-средовых факторов, позволяющих в той или иной степени реализовать его потенциальные способности. [ГОСТ Р 15.111-2015, пункт 3.1.7] | ||
| |||||
"Федеральный перечень реабилитационных мероприятий, технических средств реабилитации и услуг, предоставляемых инвалиду", утвержденный распоряжением Правительства Российской Федерации от 10 декабря 2005 г. N 2347р (собрание законодательства Российской Федерации 2006, N 4, ст. 453; 2010, N 47, ст. 6186; 2013, N 12 ст. 1319; 2014, N 38, ст. 5096; 2017, N 49, ст. 4731) | |||||
| |||||
Приказ Минтруда России "Об утверждении перечня показаний и противопоказаний для обеспечения инвалидов техническими средствами реабилитации" от 29 декабря 2017 г. N 888н | |||||
Федеральный закон Российской Федерации "О социальной защите инвалидов в Российской Федерации" от 24 ноября 1995 г. N 181-ФЗ | |||||
Постановление Министерства труда России и Министерства здравоохранения России от 29 января 1997 г. N 1/30 "Об утверждении классификации и временных критериев, используемых при осуществлении медико-социальной экспертизы" | |||||
МКФ, ВОЗ. Женева, 2001. Международная классификация функционирования ограничения жизнедеятельности и здоровья (ICF. WHO Geneva 2001. International classification of functioning, disability and health) | |||||
Директива 93/42/ЕЭС от 14 июня 1993 г. "О медицинских продуктах (изделиях)" (Richtlinie 93/42/EWG vom 14 June uber Medizinprodukte 1993) | |||||